Snapper 21351 Users Manual PartsManual
!! 7006041 Tecumseh Lawn Mower Manuals - Lawn Mower Manuals – The Best Lawn Mower Manuals Collection
Preview ! 7006041 Tecumseh Lawn Mower Manuals - Lawn Mower Manuals – The Best Lawn Mower Manuals Collection
21351D to the manual c678a7c9-641e-43ca-8708-8d9ec03cf6d5
2015-01-24
: Snapper Snapper-21351-Users-Manual-226444 snapper-21351-users-manual-226444 snapper pdf
Open the PDF directly: View PDF
.
Page Count: 52

Parts Manual fo
r
Revision 3,
21" STEEL DECK WALK MOWERS
SERIES 1 & 5
COPYRIGHT
©
2005
McDonough, GA, 30253 U.S.A.
TP 400-5124-3-WB-N
10/14/2005
Manual No. 7006041
SNAPPER PRODUCTS, INC.
ALL RIGHTS RESERVED.
(
1982 to 1989
)
PUSH MODELS PROPELLED
MODELS
21351 21351P
21351D 21351PD
21351S 21351PS
21355 21355P
21401 21401P
21401S 21401PD-
2
21405 21401PS
21405-
2
21405P
21405S 21405P-2
214X1 21405PS
214XR 214X1P
214X1
S
214X1PR
214X5 214X1PR-2
214X5-2 214X1PS
214X5
R
214X5P
21RX1 214X5P-
2
214X5R-
2
214X5PR
21RX1P 214X5PR-2
G21355 214X5PS
G21405 21RX1P
G214X5-2 G21405P
G21405P
S
G214X5P-
2

Table Of Content
s
TP 400-5124-3-WB-N
Manual No. 700604121" STEEL DECK WALK MOWERS
SERIES 1 & 5 3
PAGE GROUP
4Handles & Controls (Series 1)
8Handles & Controls (Series 5)
12 Cutting Deck, Blade, Interlock
14 Front Wheels, Bracket, Latches
16 Rear Wheels, Brackets, Latches
20 Drive System-Self-Propelled
24 Transmission (Differential) ('88 Models & Earlier)
26 Transmission (Differential) ('89 Models & Later)
28 Side Chute, Adapter
30 Grass Catcher
32 Grass Bag
34 Decals
36 Throttle Controls & Engine Specs
40 Electric Start ('84 Models & Earlier)
42 Electric Start ('85 Models & Later)
44 Mulcherizer
46 Snapperizer
48 Thatcherizer

Handles & Controls (Series 1)
TP 400-5124-3-WB-N
Manual No. 7006041 21" STEEL DECK WALK MOWERS
SERIES 1 & 5
4

Handles & Controls (Series 1)
Footnotes:
TP 400-5124-3-WB-N
Manual No. 700604121" STEEL DECK WALK MOWERS
SERIES 1 & 5 5
Part No Descri
p
tionItem Qt
y
Note
1 7033444 HANDLE, Upper Used On ; Push Models
7036133 HANDLE, Upper Used On ; Push Electric Start
7033444 HANDLE, Upper Used On ; Self-Propelled
2 7036037 HANDLE, Middle
3 7038247 HANDLE, Lower L.H.
4 7038246 HANDLE, Lower R.H.
5 7019714 CONTROL, Blade
6 7033904 CLIP, Blade Control (Same either side)
7 7014305 CABLE, Blade Control For Briggs Engines
7018561 CABLE, Blade Control For Tecumseh Engines
7023093 CABLE, Blade Control For Robin Engines
8 7032826 HANDLE, Wheel Drive Used On ; Self-propelled
9 7014307 GRIP, Handle Used On ; Self-propelled
10 7023134 CABLE, Clutch Pull Used On ; Self-propelled
11 7012121 COVER, Vinyl Used On ; Self-prop.(part of item
10)
12 7012122 SPRING, Clutch Used On ; Self-propelled
13 7038478 SECTOR, Speed Used On ; Self-propelled
14 7012317 LEVER, Speed Control Used On ; Self-propelled
15 7012093 SPRING, Speed Control Used On ; Self-propelled
16 7090188 WASHER, 3/8" Flat
17 7023801 GRIP, Speed Contr. Handle Used On ; Self-propelled
18 7032830 ANCHOR, Speed Control Used On ; Self-propelled
19 7032408 GUIDE, Lower(V-Belt) Used On ; Self-propelled
20 7012255 ROD, Transfer Used On ; Self-propelled
21 7010937 CLIP, Transfer Rod Used On ; Self-propelled
22 7090895 TEE-NUT, 5/16-18 Used On ; Self-propelled
23 7012114 BUSHING, Differential Used On ; Self-propelled
24 7090595 BOLT, 5/16-18x1" Hex Flange Lock Used On ; Self-propelled
25 7090238 CAPSCREW, 5/16-24x1 Used On ; Self-propelled
26 7090799 BOLT,5/16x18x5/8 Carr.
27 7090189 LOCKWASHER, 5/16 I.E.Tooth
28 7091601 NUT, 5/16-18 Hex Flange Lock Was 90585
29 7090222 NUT, 5/16-24 Center Lock Used On ; Self-propelled
30 7090552 CAPSCREW, 1/4-28x1-3/8 Used On ; Grade 5
31 7090053 LOCKWASHER, 1/4 Int. Tooth
32 7090095 NUT, 1/4-28 Hex
33 7090111 CAPSCREW, 1/4-28x1-3/4

Handles & Controls (Series 1)
TP 400-5124-3-WB-N
Manual No. 7006041 21" STEEL DECK WALK MOWERS
SERIES 1 & 5
6

Handles & Controls (Series 1)
Footnotes:
TP 400-5124-3-WB-N
Manual No. 700604121" STEEL DECK WALK MOWERS
SERIES 1 & 5 7
Part No Descri
p
tionItem Qt
y
Note
34 7090950 BOLT, 1/4-20x1-7/8" Carriage Used On ; Push
35 7015693 WING-NUT, 1/4-20 Was 14207, Used On ; Push
36 7014343 BUSHING
37 7091020 PUSH-NUT Was 90489
38 7023792 PIN, Clutch Handle Was 11886 Used On ; Self-
propelled
39 NA DECAL, Blade Control Was 14310
40 7023813 CLIP, Cable/Wiring Was 14374
41 7014734 PUSH-NUT Used On ; Self-propelled
42 7014733 PIN, 3/16x1-3/4" Clevis Used On ; Self-propelled
43 7090010 WASHER, #10 Flat (2) Used On ; Self-propelled

Handles & Controls (Series 5)
TP 400-5124-3-WB-N
Manual No. 7006041 21" STEEL DECK WALK MOWERS
SERIES 1 & 5
8

Handles & Controls (Series 5)
Footnotes:
TP 400-5124-3-WB-N
Manual No. 700604121" STEEL DECK WALK MOWERS
SERIES 1 & 5 9
Part No Descri
p
tionItem Qt
y
Note
1 7036200 HANDLE, Upper Was 36199 Used On ; Push
7036200 HANDLE, Upper Used On ; Self-Propelled
2 7036202 HANDLE, Middle
3 7046502 HANDLE, Lower Left Hand
4 7035342 HANDLE, Lower Right Hand
5 7019714 CONTROL, Blade
6 7033904 CLIP, Blade Control (Same either side)
7 7014305 CABLE, Blade Control Briggs & Stratton Engines
7015636 CABLE, Blade Control Tecumseh Engines (2-cycle)
7015601 CABLE, Blade Control Tecumseh Engines (4-cycle)
7023093 CABLE, Blade Control Robin Engines (was 01-5258)
8 7032826 HANDLE, Wheel Drive Was 32237, Self-propelled
9 7014307 GRIP, Wheel Drive Handle Used On ; Self-propelled
10 7023134 CABLE, Clutch Pull (includes #11) Was 51672, Used On ; Self-
propelled
7023134 CABLE, Clutch Pull (89 Models, Z-BEND) Used On ; Self-propelled
11 7012121 COVER, Vinyl (included on #10) Used On ; Self-propelled
12 7012122 SPRING, Clutch Used On ; Self-propelled
13 7038478 SECTOR, Speed Used On ; Self-propelled
14 7023795 LEVER, Speed Control Used On ; Self-propelled
15 7012093 SPRING, Speed Control Used On ; Self-propelled
16 7090188 WASHER, 3/8" Flat Used On ; All-different locations
17 7023801 GRIP, Speed Control Handle Used On ; Self-propelled
18 7032830 ANCHOR, Speed Control Used On ; Self-propelled
19 7032408 GUIDE, Lower V-Belt Used On ; Self-propelled
20 7012255 ROD, Transfer Used On ; Self-propelled
21 7010937 CLIP, Transfer Rod Used On ; Self-propelled
22 7090895 TEE-NUT, 5/16-18 Used On ; Self-propelled
23 7012114 BUSHING, Differential Used On ; Self-propelled
24 7090595 BOLT, 5/16-18x3/4 Flange Lock Used On ; Self-propelled
25 7090238 CAPSCREW, 5/16-24x1 Used On ; Self-propelled
26 7090799 BOLT, 5/16-18x5/8 Carriage Used On ; All (different locations)
27 7091601 NUT, 5/16-18 Hex Flange Lock Was 90585
28 7090222 NUT, 5/16-24 Center Lock Used On ; Self-propelled
29 7023813 CLIP Cable/Wiring Was 14374, Used On ; All
30 7090965 SCREW, 1/4Cx1-7/8 Curved Head Used On ; All
31 7015693 WING-NUT, 1/4C Used On ; All
32 7090552 CAPSCREW, 1/4-28x1-3/8 Used On ; Self-propelled

Handles & Controls (Series 5)
TP 400-5124-3-WB-N
Manual No. 7006041 21" STEEL DECK WALK MOWERS
SERIES 1 & 5
10

Handles & Controls (Series 5)
Footnotes:
TP 400-5124-3-WB-N
Manual No. 700604121" STEEL DECK WALK MOWERS
SERIES 1 & 5 11
Part No Descri
p
tionItem Qt
y
Note
33 7090053 LOCKWASHER, 1/4 Internal Tooth Used On ; All (different locations
34 7090095 NUT, 1/4-20 Hex Used On ; All (different locations)
35 7090111 CAPSCREW, 1/4-28x1-3/4 Used On ; All (throttle control)
36 7014343 BUSHING Used On ; All
37 7023792 PIN, Clutch Handle Was 11886 Used On ; Self-
propelled
38 7091020 PUSH-NUT (for handle pin) Was 90489 (Used On ; Self-
propelled)
39 7014733 PIN, 1-3/4 LG (Clutch cable) Used On ; Self-propelled
40 7090010 WASHER, #10 Flat Used On ; Self-propelled
41 7014734 PUSH-NUT(for clutch pin) Used On ; Self-propelled
42 NA DECAL, Blade Control Was 14310

Cutting Deck, Blade, Interlock
TP 400-5124-3-WB-N
Manual No. 7006041 21" STEEL DECK WALK MOWERS
SERIES 1 & 5
12

Cutting Deck, Blade, Interlock
Footnotes:
TP 400-5124-3-WB-N
Manual No. 700604121" STEEL DECK WALK MOWERS
SERIES 1 & 5 13
Part No Descri
p
tionItem Qt
y
Note
1 7057663 DECK, Mower Was 51369 (Includes painted
deck with decals)
7057663 DECK, Mower (Robin)('86 Model Year Only) Was 51605 (Includes painted
deck with decals)
2 7091601 12 NUT, 5/16-18 Hex Flange Lock Was 90585
3 7090731 9 BOLT, 5/16-18x1/2" Short Neck Carriage (Gr.)
4 7091303 BOLT, 5/16-18x1" Short Neck Carriage Was 90383
5 7090324 2 SCREW, 3/8-16x1" Self-tapping (Engine Mounting)
7090595 BOLT, 5/16-18x3/4" Hex Flange Lock
6 7032417 SPRING, Wheel Bracket Type Interlock
7 7032416 BRACKET, Wheel Bracket Type Interlock
8 7012048 INSULATOR, Interlock
9 7091122 2 SCREW, 1/4-20x1/2" Self-tapping Was 90539
10 7090385 WASHER, #8Tab Internal Tooth Lock
11 7090379 SCREW, #8-18x3/4" Hex Head Machine
12 7090167 SCREW, 3/8-24x2" Hex Head Cap (Gr. 5)
13 7012063 WASHER, Cone
14 7026691 BLADE, Cutter(For 3-1/2 HP only) Was 17002
14 7019795 BLADE, Cutter, (4 HP ENGINES)(Replaces 1-9710 & 1-9702)
15 7012927 HUB, Blade Drive (7/8" Dia. I.D.)
7015626 HUB, Blade Drive (25mm Dia. I.D.)
16 7010783 2 KEY, Hi-Pro
17 7090201 SCREW, 5/16-18x5/16" Hex Socket Set
18 7021707 PULLEY, Engine (7/8" I.D. x 1-718" O.D.) (Briggs & Tec.)(Self-Propelled)
7021764 PULLEY, Engine (7/8" I.D. x 2-1/8" O.D.) (Robin & Briggs I.C.)(Self-
Propelled)
7015780 PULLEY, Engine (25mm I.D. x 2-1/8" O.D.) (Briggs 2 Cycle)(Self-Propelled)
19 7031968 SHIELD, Belt Opening Cover (Push Models Only)
20 7012135 BUSHING, Interlock Wire
21 7090700 2 BOLT, 5/16-18x1 1/2" Hex Flange Lock Used on Robin Engines Only.
22 7090188 2 WASHER, 5/16 Flat Used on Robin Engines Only.
23 7090187 2 WASHER, 5/16 Split Lock Used on Robin Engines Only.
24 7091511 2 NUT, 5/16-18 Hex Used on Robin Engines Only.
25 7060785 KIT, air Lift (Includes items 26, 27, 28 & 29)
26 7032558 2 LIFT, Air Included in 7060785 Kit
27 7090391 4 LOCKWASHER
28 7091297 4 NUT, 5/16-24 Hex Was 90223
29 7090228 4 SCREW, 5/16-24 Machine
NOTE: Used on Robin Engines Only.

Front Wheels, Bracket, Latches
TP 400-5124-3-WB-N
Manual No. 7006041 21" STEEL DECK WALK MOWERS
SERIES 1 & 5
14

Front Wheels, Bracket, Latches
Footnotes:
TP 400-5124-3-WB-N
Manual No. 700604121" STEEL DECK WALK MOWERS
SERIES 1 & 5 15
Part No Descri
p
tionItem Qt
y
Note
ARM ASSEMBLY, Right Wheel (Consists of items 8,9,10,
11B,12)
1 7031121 HUB-CAP (Steel Wheels)
7031961 HUB-CAP (Plastic Wheels)
2 7090377 NUT, 7/16-20 Hex Center Lock Was 90394
3 7021119 AXLE
4 7012309 2 BUSHING, Axle
5A 7018189 2 WHEEL, Front 7 x 1.50 Plastic Rim
5B 7012347 2 WHEEL, Front 7 x 1.75 Steel Rim (214 X 1 & 21R X 1 Series)
6 7031961 3 WASHER, Steel
7 7052538 ARM ASSEMBLY, Right Wheel (Consists of items 8,9,10,
11B,12)
Was 50760
7052537 ARM ASSEMBLY, Left Wheel (Consists of items 8,9,10,11A,12) Not shown, Was 50761
8 7015761 BOLT, 5/16-18 Shoulder
9 7012325 LATCH, Height
10 7011093 GRIP
11 7031017 ARM, Right Wheel
11 7031016 ARM, Left Wheel Not shown
12 7011791 RETAINER, 5/16 Bolt
13 7090391 WASHER, 5/16 Internal Tooth Lock
14 7091511 NUT, 5/16-18 Hex Was 90196
15 7047815 BRACKET, Front Wheel

Rear Wheels, Brackets, Latches
TP 400-5124-3-WB-N
Manual No. 7006041 21" STEEL DECK WALK MOWERS
SERIES 1 & 5
16

Rear Wheels, Brackets, Latches
Footnotes:
TP 400-5124-3-WB-N
Manual No. 700604121" STEEL DECK WALK MOWERS
SERIES 1 & 5 17
Part No Descri
p
tionItem Qt
y
Note
1A 7012603 WHEEL, 9 x 1.75 Steel Rim (214 x 1 & 21R x 1 Push Models)
1B 7012345 WHEEL, 9 x 1.95 Steel Rim (214 x 1P4 & 21R x 1P Self
Propelled Models)
1C 7022796 Wheel, 9 x 1.75 Plastic Rim (Push Models) Was 12579
1D 7014604 WHEEL, 9 x 1.75 Steel Rim (Self-Propelled Models)
1E 7022797 WHEEL, 9 x 1.75 Plastic Rim (21355P Self-Propelled) Was 15708
2 7031960 4 HUB-CAP, Deep Dish
3 7090377 NUT, 7/16-20 Hex Center Lock Was 90394
4 7031961 2 WASHER, Steel
5 7091601 NUT, 5/16-18 Hex Flang Lock Was 90585
6 7052538 WHEEL ARM ASSEMBLY (Front Left & Rear Right) Square
opening
Was 50760 Includes items
10,14,15,16,17
7 7052537 WHEEL ARM ASSEMBLY (Front Right & Rear Left) Round
opening
Was 50761 Includes items
11,14,15,16,17
8 7054246 ASSEMBLY, Wheel Arm (Rear Right "P" Models) Was 57402 (Includes
13,14,15,16, & 17)
9 7054247 ASSEMBLY, Wheel Arm (Rear Left "P" Models) Was 57401 (Includes
13,14,15,16, & 17)
10 7031016 ARM (Square Axle End)
11 7031017 ARM (Round Axle End)
12 7052078 ARM & BEARING ASSEMBLY, Rear Right "P" Models Was 51558
13 7052077 ARM & BEARING ASSEMBLY, Rear Left "P" Models Was 51557
14 7015761 BOLT, 5/16-18 x 1 Shoulder
15 7011791 RETAINER, 5/16 Bolt
16 7012325 LATCH, Height Adjusting
17 7011093 GRIP, Latch
18 7036050 BRACKET, Right Rear Wheel (Push Models)
19 7036049 BRACKET, Left Rear Wheel (Push Models)
20 7036048 BRACKET, Right Rear Wheel (Self-prop. "P" Models)
21 7036242 BRACKET, Left Rear Wheel (Self-prop. "P" Models)
22 7021119 AXLE, (Rear on Push Models also front on all)
23 7011780 2 RING (Push Models)
24 7026166 GUARD, Rear Foot Was 37765 (Push Models)
7026166 GUARD, Rear Foot (Push Models) (Plastic) ('89 Models & Later) Was 19068
25 7091809 2 COTTER PIN, 1/8 x 1-1/2 (Steel)('88 Models & Earlier) Was 90297
26 7019522 GUARD, Rear Foot(Self-prop. "P" Models)
27 7012616 SUPPORT, Foot Guard
28 7091604 BOLT, 1/4-20 x 1/2 Short Neck Carriage Gr.5 Was 90005
29 7090053 WASHER, 1/4 Int. Tooth Lock
30 7091576 NUT, 1/4-20 Hex Was 90063
31 7010996 RING
32 7090391 WASHER, 5/16 Int. Tooth Lock

Rear Wheels, Brackets, Latches
TP 400-5124-3-WB-N
Manual No. 7006041 21" STEEL DECK WALK MOWERS
SERIES 1 & 5
18

Rear Wheels, Brackets, Latches
Footnotes:
TP 400-5124-3-WB-N
Manual No. 700604121" STEEL DECK WALK MOWERS
SERIES 1 & 5 19
Part No Descri
p
tionItem Qt
y
Note
33 7091511 NUT, 5/16-18 Hex Was 90196
34 7090731 BOLT, 5/16-18 x 1/2 Short Neck Carriage
35 7012309 BUSHING, Axle (Used within 1A & 1C)
36 7032722 ARM, Wheel Rear Right "P" Models ('89 Models & Later)
37 7032723 ARM, Wheel Rear Left "P" Models ('89 Models & Later)
38 7046983 BEARING Was 18767
39 7040981 3 SCREW, #10-32 x 1/4 Self-Tapping (3)

Drive System-Self-Propelled
TP 400-5124-3-WB-N
Manual No. 7006041 21" STEEL DECK WALK MOWERS
SERIES 1 & 5
20

Drive System-Self-Propelled
Footnotes:
TP 400-5124-3-WB-N
Manual No. 700604121" STEEL DECK WALK MOWERS
SERIES 1 & 5 21
Part No Descri
p
tionItem Qt
y
Note
1 7012354 BELT, Poly-Vee
2 7034179 LINK, Differential Was 31880
7051921 ASSEMBLY, Clutch Idler Was 50706 (Includes items 3
thru 7)
3 7032832 ARM, Clutch Idler Was 31877
4 7012124 PULLEY, Idler
5 7090552 CAPSCREW, 1/4-28 x 1-3/6" Hex Head
6 7090303 NUT, 1/4-28 Hex Lock
7 7012117 2 BUSHING, 3/8 I.D. Nylon
8 7072284 SHAFT, Hex Was 21745
9 7024521 PULLEY Was 12140
10 7012316 WASHER
11 7012126 SPRING, Torsion
12 7012111 STUD
13 7031873 HOLDER, Bearing (Inner Half)
14 7028014 BEARING, Ball Was 12304
15 7011025 0-RING
16 7090289 NUT, 3/8 Hex Center Lock
17 7031809 HOLDER, Bearing (Outer Half)
18 7010937 CLIP, 1/4 Right Arc (Transfer Rod)
19 7012255 ROD, Transfer
20 7012508 BELT, Engine Drive
7053225 ASSEMBLY, Driven Disc Was 57444 (Includes 21 thru 28)
21 7038486 PLATE, Thrust Was 38154
22 7010746 RING, Retaining
23 7026693 BEARING, Ball Was 15474
24 7090981 4 SCREW, #10-32 x 1/4" Self-Tapping Machine
25 7061276 ASSEMBLY, Hub Was 51616 (Includes 11108
Bushing & 90913 Screws)
26 7023364 RING, Driven (Rubber Disc) Was 10927
27 7031013 PLATE, Ring Retaining
28 7090913 5 SCREW, #10-24 x 1/2" Hex Washer Self-Tap (Torx)
29 7012125 GUIDE, Thrust Plate
30 7090390 2 WASHER, 3/8 Internal Tooth Lock
31 7090122 3 WASHER, 3/8" Flat
32 7091630 3 NUT, 3/8-24 Hex Was 90155
33 7091511 NUT, 5/16-18 Hex Was 90196
34 7090187 WASHER, 5/16 Split Lock
35 7090316 BOLT, 5/16-18 x 3/4 Carriage

Drive System-Self-Propelled
TP 400-5124-3-WB-N
Manual No. 7006041 21" STEEL DECK WALK MOWERS
SERIES 1 & 5
22

Drive System-Self-Propelled
Footnotes:
TP 400-5124-3-WB-N
Manual No. 700604121" STEEL DECK WALK MOWERS
SERIES 1 & 5 23
Part No Descri
p
tionItem Qt
y
Note
36 7032831 CONNECTOR, Transfer Rod Was 31874
37 ASSEMBLY, Drive-Disc NOTE: Order Kit #6-0710 for
replacement.
38 BUSHING NOTE: Order Kit #6-0710 for
replacement.
39 7029025 2 SPRING (Wheel Drive & Idler) Was 13694
40 7032116 ARM, Idler
41 7013847 RETAINER, 3/8 Bolt
42 7090078 BOLT, 1/4-20 x 1-1/4" Carriage
43 7090372 NUT, 1/4-20 Hex Center Lock
7050751 ASSEMBLY, Deck Bracket (Includes items 44 thru 46)
44 7033774 BRACKET, Deck Was 31919 (Now 17696 +
33774)
45 7012306 2 BUSHING, Flange
46 7021758 SPACER
47 7090534 SCREW, 5/16-18 x 1/2" Hex Head Cap
48 7090391 WASHER, 5/16 Internal Tooth Lock
49 7011079 WASHER, Spring
50 7091597 COTTER-PIN, 3/32 x 1/2" Was 90555
51 7091122 SCREW, 1/4-20 x 1/2" Self-Tapping Was 90539
52 7090731 2 BOLT, 5/16-18 x 5/8" Short Neck Carriage
53 7091601 2 NUT,5/16-18 Hex Flange Lock Was 90585
54 7012122 SPRING, Clutch
55 7015752 LINK, Transfer ('89 Models & Later)
56 7015753 JOINT, Ball ('89 Models & Later)
57 7090095 NUT,1/4-28 Hex('89 Models & Later)
58 7091294 WASHER, 1/4 Flat ('89 Models & Later) Was 90055
59 7090053 WASHER, 1/4 internal Tooth Lock ('89 Models & Later)

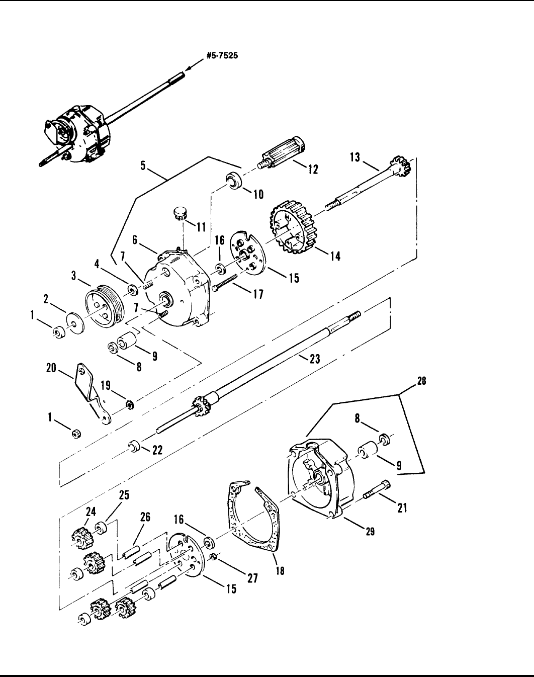
Transmission (Differential) ('88 Models & Earlier)
TP 400-5124-3-WB-N
Manual No. 7006041 21" STEEL DECK WALK MOWERS
SERIES 1 & 5
24

Transmission (Differential) ('88 Models & Earlier)
Footnotes:
TP 400-5124-3-WB-N
Manual No. 700604121" STEEL DECK WALK MOWERS
SERIES 1 & 5 25
Part No Descri
p
tionItem Qt
y
Note
-- 7059070 ASSEMBLY, Transmission Was 57291 (Includes 1 thru 31)
1 7092062 3 NUT, 5/16-24 Hex Lock Was 11201
2 7011132 WASHER, Spring
3 7019213 PULLEY, Poly-Vee Belt Was 12109
4 7011724 WASHER, Spring
5 7051908 HOUSING ASSEMBLY, Right Was 57290 (Includes 6,7,8,9,10)
6 7051908 HOUSING, Right Side Was 18512
7 7014155 SCREW, 5/16-24 x 1-1/8 Rib Neck
8 7012314 2 SEAL, 5/8" ID
9 7012507 2 BEARING, Differential
10 7073963 BEARING, Ball Was 11767
11 7016544 PLUG, Housing Was 11133
12 7050767 GEAR, Input
13 7050830 AXLE, Short
14 7012495 GEAR, Differential, 46 Tooth (Included In Kit, Transmission
Gear, P/N 6-0337)
15 7031970 2 PLATE (Included In Kit, Transmission
Gear, P/N 6-0337)
16 7031965 2 WASHER, Thrust (Included In Kit, Transmission
Gear, P/N 6-0337)
17 7090557 4 SCREW, 10-32 x 1-1/2" Hex Head Cap (Included In Kit, Transmission
Gear, P/N 6-0337)
18 7090303 NUT, 1/4-28 Hex Lock
19 7090189 WASHER, 5/16" Internal External Tooth Lock
20 7040474 BRACKET, Differential
21 7090552 4 SCREW, 1/4-28 x 1-3/8 Hex Head Cap
22 7012543 SPACER, Axle Gear (Included In Kit, Transmission
Gear, P/N 6-0337)
23 7050831 AXLE, Long
24 7021115 4 GEAR, Pinion, 12 Tooth (Included In Kit, Transmission
Gear, P/N 6-0337)
25 7012500 4 SPACER, Pinion Gear (Included In Kit, Transmission
Gear, P/N 6-0337)
26 7011110 4 SHAFT, Pinion (Included In Kit, Transmission
Gear, P/N 6-0337)
27 7090376 4 NUT, 10-32 Hex Lock (Included In Kit, Transmission
Gear, P/N 6-0337)
28 7011774 GASKET, Housing
29 7012512 2 PIN, 3/8-7/16" Roll
30 7053939 HOUSING ASSEMBLY, Left Was 57245 (Includes 8,9,31)
31 7018216 HOUSING, Left Side
-- 7060337 KIT, Transmission Gear (Includes items 14 thru 17 & 22
& 24 thru 27)

Transmission (Differential) ('89 Models & Later)
TP 400-5124-3-WB-N
Manual No. 7006041 21" STEEL DECK WALK MOWERS
SERIES 1 & 5
26

Transmission (Differential) ('89 Models & Later)
Footnotes:
TP 400-5124-3-WB-N
Manual No. 700604121" STEEL DECK WALK MOWERS
SERIES 1 & 5 27
Part No Descri
p
tionItem Qt
y
Note
-- 7059070 ASSEMBLY, Transmission Was 57525 (Includes 1 thru 29)
1 7092062 3 NUT, 5/16-24 Hex Lock, GR C Was 11201
2 7011132 WASHER, Spring
3 7019213 PULLEY, Poly-Vee Belt Was 12109
4 7011724 WASHER, Spring
5 7051908 HOUSING ASSEMBLY, Right Was 57522 (lncludes 6,7,8,9,10)
6 7017014 HOUSING, Right Side
7 7014155 2 SCREW, 5/16-24 x 1-1/8" Rib Neck
8 7012314 2 SEAL, 5/8" ID
9 7012507 2 BEARING, Differential
10 7073963 BEARING, Ball Was 11767
11 7016544 PLUG, Housing Was 11133
12 7050767 GEAR, Input
13 7050830 AXLE, Short
14 7012495 GEAR, Differential, 46 Tooth
15 7031970 2 PLATE
16 7031965 2 WASHER, Thrust
17 7090557 4 SCREW, Cap, 10-32 x 1-1/2"
18 7011774 GASKET, Housing
19 7090189 WASHER, 5/16" Internal External Tooth Lock
20 7040474 BRACKET, Differential
21 7090911 4 SCREW, 1/4-20 x 1-1/4 Self-Tapping
22 7012543 SPACER, Axle Gear
23 7050831 AXLE, Long
24 7021115 4 GEAR, Pinion, 12 Tooth
25 7012500 4 SPACER, Pinion Gear
26 7011110 4 SHAFT, Pinion
27 7090376 4 LOCKNUT, 10-32
28 7053939 HOUSING ASSEMBLY, Left Was 57523 (Includes 8, 9 & 29)
29 7057634 HOUSING, Left Side Was 17015

Side Chute, Adapter
TP 400-5124-3-WB-N
Manual No. 7006041 21" STEEL DECK WALK MOWERS
SERIES 1 & 5
28

Side Chute, Adapter
Footnotes:
TP 400-5124-3-WB-N
Manual No. 700604121" STEEL DECK WALK MOWERS
SERIES 1 & 5 29
Part No Descri
p
tionItem Qt
y
Note
1 -- KIT, Side Chute Was 60542 and includes ten of
item 2
2 7042965 CHUTE, Side Was 19953
3 7016027 ADAPTER, Grass Bag Deck (Replaces 1-9942) Was 19942 or 16027
4 7090951 3 NUT, 5/16-18 Hex Flange Lock

Grass Catcher
TP 400-5124-3-WB-N
Manual No. 7006041 21" STEEL DECK WALK MOWERS
SERIES 1 & 5
30

Grass Catcher
Footnotes:
TP 400-5124-3-WB-N
Manual No. 700604121" STEEL DECK WALK MOWERS
SERIES 1 & 5 31
Part No Descri
p
tionItem Qt
y
Note
-- 7060791 KIT, Grass Catcher (Includes items 1 thru
5)(Replaces Kit 6-0354)
1 7074734 BAG, Grass Was 12320
2 7050711 ASSEMBLY, Rope & Slider
3 7016027 ADAPTER, Bag (Replaces #1-9942)
4 7047876 CONNECTOR, Bag
5 7019247 WIRE, Bag Connector Was 31128
6 7090951 3 NUT, 5/16-18 Hex Flange Lock
7 7090457 WASHER, 1" internal Tooth Lock (used with item 8)
8 7038391 SHIELD, Exhaust Heat ('88 Models & Earlier) Was 37351
9 7038391 KIT, Exhaust Shield Was 60866 (Includes 10 & 11)
10 7038391 SHIELD, Exhaust Heat ('89 Models & Later)
11 7090531 3 SCREW, #10-16 x 1/2" Self-Tapping
NOTE: ITEMS 7 & 8 Required on B&S 3.5 & 4 HP Engines-'88 & earlier models
NOTE: Items 9, 10, 11 required on B&S 3.5 & 4 HP Engines-'89 & later models

Grass Bag
TP 400-5124-3-WB-N
Manual No. 7006041 21" STEEL DECK WALK MOWERS
SERIES 1 & 5
32

Grass Bag
Footnotes:
TP 400-5124-3-WB-N
Manual No. 700604121" STEEL DECK WALK MOWERS
SERIES 1 & 5 33
Part No Descri
p
tionItem Qt
y
Note
-- 7061153 KIT, KWIK-N-EZY Catcher Was 60856 (Includes 1 thru 5)
1 7051583 ASSEMBLY, Grass Bag (Incl. items 2 and 3)
2 7016005 BAG, KWIK-N-EZY
3 7051889 ASSEMBLY, Bag Wire Was 51577
4 7047876 CONNECTOR, Grass Bag
5 7016027 ADAPTER, Bag

Decals
TP 400-5124-3-WB-N
Manual No. 7006041 21" STEEL DECK WALK MOWERS
SERIES 1 & 5
34

Decals
Footnotes:
TP 400-5124-3-WB-N
Manual No. 700604121" STEEL DECK WALK MOWERS
SERIES 1 & 5 35
Part No Descri
p
tionItem Qt
y
Note
1 7013010 DECAL, Danger
2 7013312 DECAL, Caution
3 -- DECAL, 2-cycle No longer available
4 -- DECAL, Blade Control No longer available
5 7016191 DECAL, Electric Start Was 14348
6 7023870 DECAL, Manual Start Was 14345
7 7015026 DECAL, Extra Tough
8 7015024 DECAL, 4 H.P.
9 7015025 DECAL, 4 H.P. Electric Start

Throttle Controls & Engine Specs
TP 400-5124-3-WB-N
Manual No. 7006041 21" STEEL DECK WALK MOWERS
SERIES 1 & 5
36

Throttle Controls & Engine Specs
Footnotes:
TP 400-5124-3-WB-N
Manual No. 700604121" STEEL DECK WALK MOWERS
SERIES 1 & 5 37
Part No Descri
p
tionItem Qt
y
Note
1 7015175 CONTROL, Throttle (Briggs 4 cycle, 45.25”) Was 18758, 18850, or 60916
1 7018186 CONTROL, Throttle (Briggs 4 cycle, 46.5”)
1 7015635 CONTROL, Throttle (Tecumseh 2 cycle, 62.0”)
1 7018187 CONTROL, Throttle (Tecumseh 4 cycle, 42.5”)
1 7015767 CONTROL, Throttle (Tecumseh 4 cycle, 44.5”)
1 7018839 CONTROL, Throttle (Robin 4 cycle, 40.75”)
1 7018840 CONTROL, Throttle (Robin 2 cycle, 42.75”)
2 -- ENGINE, Briggs (Model 90702-3080-01) 3.5 HP
2 -- ENGINE, Briggs (Model 90702-3105-01) 3.5 HP
2 -- ENGINE, Briggs (Model 92902-3176-01) 3.5 HP
2 -- ENGINE, Briggs (Model 92902-3271-01) 3.5 HP
2 -- ENGINE, Briggs (Model 92902-3912-01) 3.5 HP
2 -- ENGINE, Briggs (Model 92902-3914-01) 3.5 HP
2 -- ENGINE, Briggs (Model 110902-3189-01) 4 HP
2 -- ENGINE, Briggs (Model 110902-3911-01) 4 HP
2 -- ENGINE, Briggs (Model 110902-3914-01) 4 HP
2 -- ENGINE, Briggs (Model 110907-3913-01) 4 HP Electric Start
2 -- ENGINE, Briggs (Model 111702-3047-01) 4 HP
2 -- ENGINE, Briggs (Model 111702-3057-01) 4 HP
2 -- ENGINE, Briggs (Model 111707-3048-01) 4 HP Electric Start
2 -- ENGINE, Briggs (Model 111707-3058-01) 4 HP Electric Start
2 -- ENGINE, Briggs (Model 114702-3030-01) 4 HP IC
2 -- ENGINE, Briggs (Model 114702-3031-01) 4 HP IC Electric Start
2 -- ENGINE, Briggs (Model 114707-3031-01) 4 HP XL
2 -- ENGINE, Briggs (Model 114902-3137-01) 4 HP
2 -- ENGINE, Briggs (Model 114902-3150-01) 4 HP IC
2 -- ENGINE, Briggs (Model 114902-3156-01) 4 HP
2 -- ENGINE, Briggs (Model 131922-0169-01) 4 HP IC
2 -- ENGINE, Briggs (Model 96722-3206-01) 4 HP 2 Cycle
2 -- ENGINE, Tecumseh (Model TVS90-43179D) 3.5 HP
2 -- ENGINE, Tecumseh (Model TVS90-43180D) 3.5 HP Electric
Start
2 -- ENGINE, Tecumseh (Model TVS90-43248D) 3.5 HP
2 -- ENGINE, Tecumseh (Model TVS90-43249D) 3.5 HP Electric
Start
2 -- ENGINE, Tecumseh (Model TVS105-53069D) 4 HP
2 -- ENGINE, Tecumseh (Model TVS105-53072D) 4 HP
2 -- ENGINE, Tecumseh (Model TVS105-53072E) 4 HP
2 -- ENGINE, Tecumseh (Model TVS105-53073D) 4 HP Electric Start
NOTE: Purchase engine parts from engine manufacturer dealer.

Throttle Controls & Engine Specs
TP 400-5124-3-WB-N
Manual No. 7006041 21" STEEL DECK WALK MOWERS
SERIES 1 & 5
38

Throttle Controls & Engine Specs
Footnotes:
TP 400-5124-3-WB-N
Manual No. 700604121" STEEL DECK WALK MOWERS
SERIES 1 & 5 39
Part No Descri
p
tionItem Qt
y
Note
2 -- ENGINE, Tecumseh (Model TVS105-53105F) 4 HP Electric Start
2 -- ENGINE, Tecumseh (Model TVS105XL-54018B) 4 HP Electric
Start
2 -- ENGINE, Tecumseh (Model TVS105XL-54018C) 4 HP Electric
Start
2 -- ENGINE, Tecumseh (Model TVXL105-54022B) 4 HP
2 -- ENGINE, Tecumseh (Model TVS840-8011A) 4 HP 2 Cycle
2 -- ENGINE, Tecumseh (Model TVS840-8011B) 4 HP 2 Cycle
2 -- ENGINE, Robin (Model W1-145V) 4 HP
2 -- ENGINE, Robin (Model W1-185V) 4 HP
2 -- ENGINE, Robin (Model WT1-125V) 4 HP 2 Cycle
NOTE: Purchase engine parts from engine manufacturer dealer.

Electric Start ('84 Models & Earlier)
TP 400-5124-3-WB-N
Manual No. 7006041 21" STEEL DECK WALK MOWERS
SERIES 1 & 5
40

Electric Start ('84 Models & Earlier)
Footnotes:
TP 400-5124-3-WB-N
Manual No. 700604121" STEEL DECK WALK MOWERS
SERIES 1 & 5 41
Part No Descri
p
tionItem Qt
y
Note
-- -- KIT, Electric Start (Includes items 1 thru 10) ('84
Models & Earlier)
1 7057303 ASSEMBLY, Bracket (Includes Decals 1-4249 & 1-
4863)
2 7090552 SCREW, 1/4-28 x 1 3/8" Hex Head Cap
3 7011167 KEY (Set of 2)
4 7090098 NUT, 1/4-28 Wing
5 7090487 SCREW, 1/4-28 x 3 1/4" Hex Head Cap
6 7012551 COVER, Switch
7 7011139 SWITCH, Ignition (Includes items 3 & 13)
8 7090053 WASHER, 1/4 Internal Tooth Lock
9 7090095 NUT, 1/4-28 Hex
10 7018215 BATTERY, 12 Volt, 2.5 AMP
11 7061188 CHARGER, Battery (60 Hertz) ('86 & Earlier Models)
12 7018576 HARNESS, Wiring (Complete with Terminals)
13 7023813 CLIP, Wiring Harness Was 14374
Note: 60547 Kit is no longer available

Electric Start ('85 Models & Later)
TP 400-5124-3-WB-N
Manual No. 7006041 21" STEEL DECK WALK MOWERS
SERIES 1 & 5
42

Electric Start ('85 Models & Later)
Footnotes:
TP 400-5124-3-WB-N
Manual No. 700604121" STEEL DECK WALK MOWERS
SERIES 1 & 5 43
Part No Descri
p
tionItem Qt
y
Note
-- 7067012 KIT, Battery (Includes items 1,2,3,&
4)(Replaces 6-7011)
1 7067012 BATTERY, 12 Volt Was 19763
2 7015488 HARNESS, Battery (For '88 & earlier, use with item 21)
3 7043977 2 SCREW, #10-24 x 1/2" Hex Head Cap
4 7090932 2 NUT, #10-24 Square
-- ASSEMBLY, Switch/Bracket No longer available
5 7011167 KEY, (Set of 2)
6 7015207 ASSEMBLY, Seal & Face Nut
7 7038485 BRACKET, Ignition Switch Was 38179
8 7012551 COVER, Switch
9 7015206 NUT, 3/4-20 Lock
10 7011139 SWITCH, Ignition Was 15205
11 7090552 2 SCREW, 1/4-28 x 1 3/8 Hex Head Cap
12 7090053 2 WASHER, 1/4 Internal Tooth Lock
13 7090095 2 NUT, 1/4-28 Hex
14 7018833 HARNESS, Wiring (For '88 & earlier, use with item 21)
15 7036002 BRACKET, Battery (Self-Propelled Models)('88 & earlier)
7036002 BRACKET, Battery (Push Models) Was 36131
7032906 BRACKET, Battery (Self-Propelled Models) ('89 Models & Later) Was 36250
16 7036129 COVER, Battery (Self-Propelled Models)
7036132 COVER, Battery (Push Models)
17 7090731 3 BOLT, 5/16-18 x 112" Carriage
18 7091601 3 NUT, 5/16-18 Hex Flange Lock Was 90585
19 7012652 CLIP, Wiring
20 7061188 CHARGER, Battery (60 Hertz) ('86 & Earlier Models) Was 11789
7061188 CHARGER, Battery (60 Hertz) ('88 Models & Later) Was 18834
21 7015921 ADAPTER, Wiring to Battery Harness (Required for '88 & earlier); (Not
shown)

Mulcherizer
TP 400-5124-3-WB-N
Manual No. 7006041 21" STEEL DECK WALK MOWERS
SERIES 1 & 5
44

Mulcherizer
Footnotes:
TP 400-5124-3-WB-N
Manual No. 700604121" STEEL DECK WALK MOWERS
SERIES 1 & 5 45
Part No Descri
p
tionItem Qt
y
Note
-- -- KIT, Mulcherizer Was 60842 No longer available
-- 7061200 KIT, Mulcherizer Was 60420 (Includes 1 thru 8)
1 7019814 3 LINER
2 7013870 HUB, 7/8" I.D.
7015936 HUB (25mm I.D.)
3 7019521 BLADE, Mulcherizer
4 7090483 SCREW, 3/8-24 x 1 3/4" Hex Head Cap (Gr.5)
5 7012063 2 WASHER, Cone
6 7090100 3 SCREW, 1/4-28 x 5/8" Hex Head Cap (Gr.5)
7 7091294 6 WASHER, 1/4 Flat Was 90055
8 7090303 3 NUT, 1/4-28 Hex Lock

Snapperizer
TP 400-5124-3-WB-N
Manual No. 7006041 21" STEEL DECK WALK MOWERS
SERIES 1 & 5
46

Snapperizer
Footnotes:
TP 400-5124-3-WB-N
Manual No. 700604121" STEEL DECK WALK MOWERS
SERIES 1 & 5 47
Part No Descri
p
tionItem Qt
y
Note
-- 7060440 KIT, Snapperizer (Includes items 1 thru 5)
1 7051243 SCREEN, Fastener Assembly
2 7039759 RING, Bottom
3 7091297 3 NUT, 5/16-24 Hex Was 90223
4 7090187 3 WASHER, 5/16 Split Lock
5 7012587 3 SPRING

Thatcherizer
TP 400-5124-3-WB-N
Manual No. 7006041 21" STEEL DECK WALK MOWERS
SERIES 1 & 5
48

Thatcherizer
Footnotes:
TP 400-5124-3-WB-N
Manual No. 700604121" STEEL DECK WALK MOWERS
SERIES 1 & 5 49
Part No Descri
p
tionItem Qt
y
Note
7061256 KIT, Thatcherizer Was 60476 (Includes 1 thru 27)
1 7014113 2 LATCH, Frame Attachment
2A 7060965 BAR, Mount (Right Hand) Was 18497
2B 7018498 BAR Mount (Left Hand)
3 7018499 2 ROD, Tine
4 7018700 SUPPORT, Wheel
5 7019948 TRAY, Tine
6 7018496 6 SPRING, Tine Thatching In Hardware Bag, # 6-0574
7 7014100 BUSHING, Wheel Adj. (Included In Hardware Bag, P/N
6-0555)
8 7018493 AXLE, Wheel
9 7018189 WHEEL, Gage 7 x 1.50
10 7091705 10 LOCKNUT, 1/4-20 Hex Was 90761, In Hardware Bag, #
6-0554
11 7091098 4 WASHER, 1/4 SAE Was 90598, In Hardware Bag, #
6-0554
12 7014114 2 SPRING, Compression (Included In Hardware Bag, P/N
6-0555)
13 7090825 2 BOLT, 1/4-20 x 1-1/4 Hex In Hardware Bag, 6-0554
14 7091576 2 NUT, 1/4-20 Hex Was 90063, In Hardware Bag, #
6-0554
15 7014111 2 CAP, Vinyl (Included In Hardware Bag, P/N
6-0555)
16 7090015 2 BOLT, 1/4-20 x 1-3/4 Carriage In Hardware Bag, 6-0554
17 7091303 6 BOLT, 5/16-18 x 1 Carriage Was 90383, In Hardware Bag, #
6-0554
18 7091530 2 BOLT, 1/4-20 x 3/4 Carriage Was 90074, In Hardware Bag, #
6-0554
19 7014098 6 WASHER, Reinforcing In Hardware Bag # 6-0554
20 7090187 6 LOCKWASHER, 5/16 In Hardware Bag # 6-0554
21 7091511 6 NUT, 5/16-18 Hex Was 90196, In Hardware Bag #
6-0554
22 7014101 2 PUSH NUT, 1/2 In Hardware Bag, # 6-0555
23 7014342 4 BEARING, Nyliner In Hardware Bag, # 6-0555
24 7014103 SETSCREW, 5/16 x 1/4 In Hardware Bag, # 6-0555
25 7090250 2 WASHER, 1/2 In Hardware Bag # 6-0554
26 7014115 DECAL, Adjustment (Not Shown)
27 7014062 DECAL, Thatcherizer (Not Shown)
7060554 Hardware Bag (Includes Ref. Nos. 10, 11, 13,
14, 16, 17, 18, 19, 20, 21 & 25)
7060555 Hardware Bag (Includes Ref. Nos. 7, 12, 15,
22, 23 & 24)
7018496 Hardware Bag (6 Spring In Bag) Was 60574 (Includes Ref. No. 6)

Parts Manual fo
r
21" STEEL DECK WALK MOWERS
SERIES 1 & 5
IT IS THE POLICY OF SNAPPER TO IMPROVE ITS PRODUCTS
WHENEVER IT IS POSSIBLE AND PRACTICAL TO DO SO. WE
RESERVE THE RIGHT TO MAKE CHANGES OR ADD IMPROVEMENTS
AT ANY TIME WITHOUT INCURRING ANY OBLIGATION TO MAKE
SUCH CHANGES ON PRODUCTS MANUFACTURED PREVIOUSLY.
Revision 3,
COPYRIGHT
©
2005
TP 400-5124-3-WB-N
10/14/2005
Manual No. 7006041
SNAPPER PRODUCTS, INC.
ALL RIGHTS RESERVED.
McDonough, GA, 30253 U.S.A.
(
1982 to 1989
)