Snapper 84871 Parts Manual ManualsLib Makes It Easy To Find Manuals Online!
2014-12-11
: Snapper Snapper-84871-Parts-Manual-121436 snapper-84871-parts-manual-121436 snapper pdf
Open the PDF directly: View PDF
.
Page Count: 72

Not for
Reproduction
Parts Manual fo
r
28" & 33" Hi-Vac
SERIES 23
REAR ENGINE RIDER
Revision: B 12/6/2010
Briggs & Stratton Yard Power Products Group
Manual No. 7006279
535 Macon Road
McDonough, GA, 30253 U.S.A.
800-935-2967
Descri
p
tionModel No.
84871 281023BVE
780010
2
281123BV
8487
2
281123BV
8494
0
281123BV
84874 281123BVE
84883 281123HVE
708494
0
2811523BV
780064
7
2811523BV
8562
2
2812253BVE
708562
2
2812523BVE
780010
4
2812523BVE
7800649 2812523BVE
8487
6
281323BVE
708562
4
2813523BVE
85624 2813523BVE
8488
5
331323HVE
8487
8
331523BVE
7084879 331523KVE
780010
6
331523KVE
84879 331523KVE
708495
4
331723BVE
780010
7
331723BVE
84954 331723BVE
780025
4
3317523BVE
780065
2
3317523BVE
84881 W280923BV
84884 W281023BVE
Not for
Reproduction

Not for
Reproduction
Table Of Contents
TP 400-5457-B-RE-N
28" & 33" Hi-Vac
SERIES 23 3
Manual No. 7006279
PAGE GROUP
4 WHEELS, FRONT & REAR
6 FRONT END, STEERING
8 MAIN CASE & L.H. FENDER
12 LEFT HAND FENDER & BEARING
14 DIFFERENTIAL, R. H. FENDER
16 YOKE LIFT COMPONENTS
18 PRIMARY CHAIN CASE & SMOOTH CLUTCH
20 GEAR SHIFTER ASSEMBLY
22 FUEL TANK & SEAT
24 ENGINE, MUFFLER & DRIVE DISC
26 CUTTING DECKS & DEFLECTOR (28" & 33" Hi-Vac)
28 BELTS, BRAKES & INTERLOCK
30 RAILS, LIFT ARMS & CAM LIFT
32 BLADE STOP PEDALS
34 SPINDLE
36 DECALS
38 ELECTRICAL SYSTEMS (Briggs Magneto Ground)
40 ELECTRICAL SYSTEMS (For 9, 11 & 11.5HP Briggs Recoil)
42 ELECTRICAL SYSTEMS (For 10, 11, 12, 12.5 & 13HP Briggs)
44 ELECTRICAL SYSTEMS (For 13.5, 15, 16, 17 & 17.5HP Briggs)
46 ELECTRICAL SYSTEMS (For 11 & 13HP Honda)
48 ELECTRICAL SYSTEMS (For 15HP Kohler)
50 ELECTRICAL SYSTEMS (Kohler Magneto Ground)
52 WIRING SCHEMATIC (9, 11 & 11.5HP Recoil Start Briggs)
54 WIRING SCHEMATIC (10, 11, 12, 12.5 & 13 HP Briggs)
56 WIRING SCHEMATIC (13.5, 15, 16, 17 & 17.5HP Briggs Engines)
58 WIRING SCHEMATIC (11 & 13 HP Honda Engines)
60 WIRING SCHEMATIC (14 & 15 HP Kohler Engines)
62 HARDWARE BAGS
66 ACCESSORIES & ATTACHMENTS

Not for
Reproduction
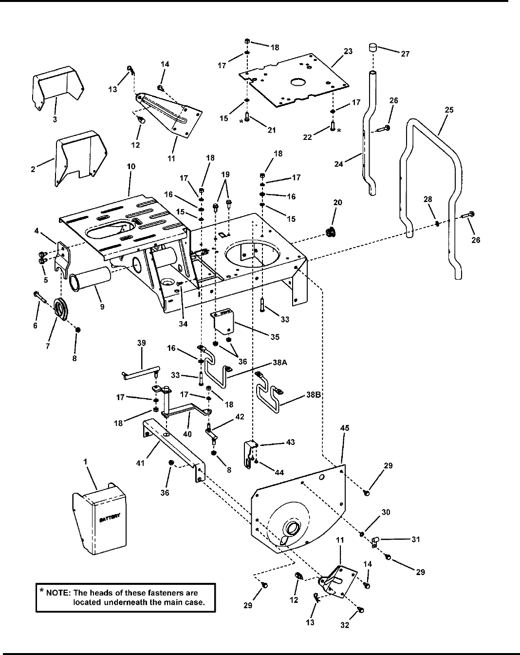
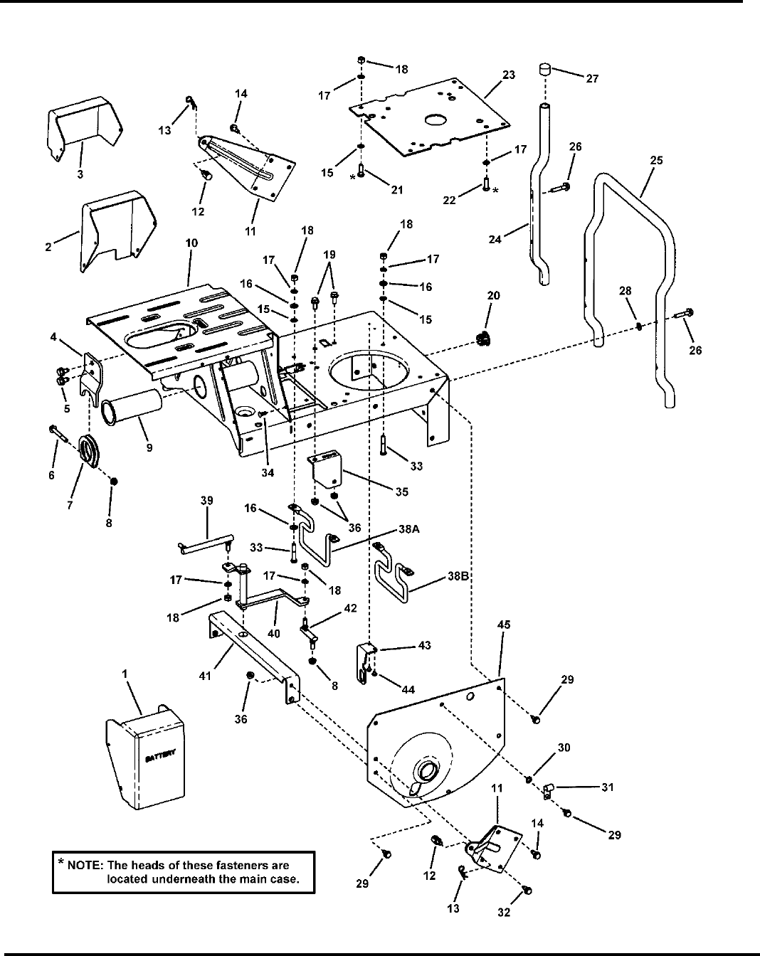
Manual No. 7006279 28" & 33" Hi-Vac
SERIES 23
4
WHEELS, FRONT & REAR

Not for
Reproduction
Footnotes:
Manual No. 700627928" & 33" Hi-Vac
SERIES 23 5
WHEELS, FRONT & REAR
Part No Descri
p
tionItem Qty
1 7058943 2 ASSEMBLY, Front Tire & Rim (Complete) (Includes Items 2, 3, 4, 5 & 6)
2 7073563 1 TIRE, 11 x 4.00-4 (Kenda)
3 7017146 1 RIM (For 4.10/3.50 x 4 Tire)
4 7011807 2 BALL BEARING, Flange (3/4” I.D.)
5 7012234 1 VALVE STEM, Snap In
6 7014669 1 * LUBE Fitting, Straight (for 3/16" hole)
6 7076998 1 * LUBE Fitting, Straight (for 1/4" hole)
6 7010909 1 * LUBE Fitting, 90 Degree, Ball Check (for 1/4" hole)
6 7104428 1 * LUBE Fitting, 90 Degree, Ball Check (for 5/16" hole)
7 7031038 1 CAP, Dust
8 7011032 1 FELT SEAL
9 7010935 3 WASHER, .77 x 1.13 x .06 Flat
10 7011022 1 HUB CAP
11 7091516 1 COTTER PIN, 5/32 x 1”
12 7010821 1 TUBE, Inner (For 4.10/3.50 x 4 Tire)
13 7058951 2 ASSEMBLY, Rear Tire & Rim (28” & 33” Models) (Includes Items 5, 14 & 15)
14 7073584 1 TIRE, 16-6.50 x 8
15 7012163 1 RIM, Extra Wide (For 16/7.50 x 8 Tire) (33” Models) was 7017147
16 7040434 1 HUB, Rear Wheel LH, 3 Hole 3/4" ID
17 7040433 1 HUB, Rear Wheel RH, 3 Hole 1" ID
18 7011035 1 AXLE BOLT, Left Hand (5/16-24 x 1-5/8” Tapered)
19 7092062 1 NUT, Wheel Bolt, 5/16-24 Hex Center Lock was 7011201
20 7023522 1 CAP, Hub, L. H. (Long Axle)
21 7011013 1 WHEEL BOLT, Right Hand (5/16-24 x 2” Tapered)
22 7023895 1 CAP, Hub
23 7011817 1 SEAL, 1.22” ID x 1.875” OD CAP, Seal 1.0” ID x 1.67” OD
24 7031732 1 CAP, Seal 1.0” ID x 1.67” OD, Right Hand (8 & 10 HP)
25 7012332 1 CLAMP, Right Hand 2” (used on 8, 10, 11.5, 12.5, 13 & 17 HP)
25 7014542 1 CLAMP, Right Hand 2.69” (used on 12, 14 & 15 HP)
26 7091502 3 BOLT, 1/2-20 x 3/4” Lug, GR 5
NOTE* Different size holes used, measure hole for proper fit.

Not for
Reproduction
Manual No. 7006279 28" & 33" Hi-Vac
SERIES 23
6
FRONT END, STEERING

Not for
Reproduction
Footnotes:
Manual No. 700627928" & 33" Hi-Vac
SERIES 23 7
FRONT END, STEERING
Part No Descri
p
tionItem Qty
1 7058030 1 ASSEMBLY, Steering Wheel (for 5/8” shaft) (Includes item 2)
2 7023781 1 LOGO, Steering Wheel
3 7013862 1 ROLL PIN, 1/4 x 1-1/2”
4 7023667 1 FOAM COVER, Steering Shaft
5 7023671 1 COVER, Steering Shaft
6 7090296 1 PIN, 3/16 x 1” Cotter
7 7090183 2 WASHER, .66 x 1.31 x .09 Flat
8 7046158 1 BUSHING, Nylon
9 7101192 1 CABLE, Brake, Snap-In (replaces 7072648)
10 7022449 1 CABLE, Clutch/Brake (54.32” long) (used on 25” & 28” Decks)
10 7074131 1 CABLE, Clutch/Brake (55” long) (used on 33” Decks)
11 7090372 1 NUT, 1/4-20 Hex Center Lock, GR 5 or B
12 7034174 2 CONNECTOR, Cable
13 7091495 1 SCREW, 1/4-20 x 3/4” Hex Head Cap, GR 5
14 7054378 1 WELDMENT, Front Axle, Narrow (used on 25” & 28” Decks)
14 7053266 1 WELDMENT, Front Axle, Wide (used on 33” Decks)
15 7074561 1 BOTTLE, Water
16 7074560 1 HOLDER, Bottle (Wire)
17 7090913 2 SCREW, #10-24 x 1/2” Hex Washer Self-Tap (Torx)
18 7011714 1 HAIR PIN 2-1/4”
19 7038243D 1 LATCH, Parking Brake
20 7015444 1 SPRING, Parking Brake Latch
21 7014049 2 FOOT PAD, Short (5.5” x 4.7”)
21 7014048 2 FOOT PAD, Long (5.5” x 9.5”)
22 7010776 1 RING, 1/2” External Retaining (Heavy Duty)
23 7047888BM 1 WELDMENT, Clutch Pedal
24 7011815 1 PAD, Pedal
25 7010694 1 BUSHING, Nylon
26 7046232 1 WELDMENT, Steering Shaft
27 7091515 1 PIN, 3/16 x 1-1/2” Cotter (Was 7090753)
28 7010746 2 RING, 5/8” External Retaining
29 7010935 6 WASHER, .77 x 1.13 x .06 Flat
30 7010986 4 BEARING, Nylon
31 7091516 2 PIN, 5/32 x 1” Cotter Was 7090364)
32 7090122 4 WASHER, 3/8” Flat SAE
33 7013321 4 BUSHING, Tie Rod
34 7041687 1 WELDMENT, King Pin, Left Hand
35 7041688 1 WELDMENT, King Pin, Right Hand
36 7091598 2 PIN, 1/8 x 3/4” Cotter (Was 7090365)
37 7013023 1 TIE ROD, Left Hand (7.41” long)
37 7012541 1 TIE ROD, Left Hand (9.91” long)
38 7012933 1 TIE ROD, Right Hand (7.41” long)
38 7012540 1 TIE ROD, Right Hand (9.91” long)

Not for
Reproduction
Manual No. 7006279 28" & 33" Hi-Vac
SERIES 23
8
MAIN CASE & L.H. FENDER

Not for
Reproduction
Footnotes:
Manual No. 700627928" & 33" Hi-Vac
SERIES 23 9
MAIN CASE & L.H. FENDER
Part No Descri
p
tionItem Qty
1 7028990 1 COVER, Battery
2 7028989 1 COVER, Switch
3 7073268 1 COVER, Solenoid
4 7074210 1 BRACKET, Belt Adjuster
5 7091198 2 SCREW, 3/8-16 x 5/8” Hex Washer Self-Tap
6 7090358 1 SCREW, 5/16-24 x 2-1/2” Hex Head Cap, GR 5
7 7031100 1 TUBE CLAMP
8 7010969 2 NUT, 5/16-24 Flange Lock (Large)
9 7074650 1 BUSHING, Pivot (Was 7022509)
10 7053697 1 WELDMENT, Main Case (Standard) (shown)
11 7034299 2 WING, Rear
12 7028200 2 SWIVEL, Adjustable
13 7091503 2 HAIR PIN, 3/32 x 1-1/2”
14 7090793 4 SCREW, 5/16-18 x 3/4” Hex Washer Self-Tap
15 7011791 4 RETAINER, 5/16” Bolt
16 7091296 4 WASHER, 5/16” Flat
17 7091315 7 WASHER, .32 x .58 x .08 Split Lock
18 7091297 7 NUT, 5/16-24 Hex, GR 5
19 7090595 2 BOLT, 5/16-18 x 3/4” Hex Flange Lock, GR 5
20 7024998 3 PLUG, 1” Hole (Used on Euro models only)
21 7090238 4 SCREW, 5/16-24 x 1” Hex Head Cap, GR 5
22 7077692 4 BOLT, M8-1.25 x 25mm, Self-Tap (Kohler)
23 7074946 1 PLATE, Engine (Kohler Engine)
24 7030798 2 BUMPER, Rear
25 7036367 1 BUMPER (1-Piece) (33” Deck)
26 7090484 4 SCREW, 5/16-18 x 1-1/2” Hex Washer Self-Tap
27 7010153 2 CAP, Bumper
28 7090188 2 WASHER, 11/32” Flat
29 7090361 14 SCREW, 5/16-18 x 5/8” Hex Washer Self-Tap
30 7090391 1 WASHER, 5/16” Internal Tooth Lock
31 7012652 1 CLIP, Wire
32 7091318 1 SCREW, 5/16-18 x 3/4” Hex Head Cap, GR 5 (Was 7090206)
33 7091513 4 SCREW, 5/16-24 x 1-3/4” Hex Head Cap, GR 5
34 7091272 7 FASTENER, 1/4” Ratchet
35 7047189 1 BRACKET, Drive Support
36 7090585 6 NUT, 5/16-18 Hex Flange Lock, GR 5
38A 7017653 1 BELT GUIDE, 25 & 28 (5.74” Bolt Pattern, 4.74” Belt Gap)
38B 7036418 1 BELT GUIDE, 33” (5.74” Bolt Pattern, 5.0” Belt Gap) (used on 7800107 & 7800254 models)
39 7023676 1 SHIFT LINK, Long (5/16-24 both ends)
40 7041384 1 WELDMENT, Shift Arm
41 7033799 1 CROSS BRACE
42 7011018 1 SHIFT LINK, Short (5/16-24 thread)
43 7073735 1 BRACKET, Switch
44 7090981 2 SCREW, #10-32 x 1/4” Hex Washer Self-Tap

Not for
Reproduction
Manual No. 7006279 28" & 33" Hi-Vac
SERIES 23
10
MAIN CASE & L.H. FENDER

Not for
Reproduction
Footnotes:
Manual No. 700627928" & 33" Hi-Vac
SERIES 23 11
MAIN CASE & L.H. FENDER
Part No Descri
p
tionItem Qty
45 7037285 1 FENDER, Left Hand (1.628” I. D. Hole)

Not for
Reproduction
Manual No. 7006279 28" & 33" Hi-Vac
SERIES 23
12
LEFT HAND FENDER & BEARING

Not for
Reproduction
Footnotes:
Manual No. 700627928" & 33" Hi-Vac
SERIES 23 13
LEFT HAND FENDER & BEARING
Part No Descri
p
tionItem Qty
1 7012332 2 BOOT CLAMP, 2”
2 7075115 1 BOOT, Rear Axle, Thick Flange
3 7011072 1 WASHER, Thrust
4 7011071 1 THRUST WASHER
5 7052827 1 ASSEMBLY, DX Bearing (incl. next 3 items shown below)
6 7074182 2 BEARING, DX
7 7074500 1 SEAL, Axle (Dust/Grease)
8 7075848 1 FITTING, Lube, 45 Degree, 3/16” w/Hex (long shank) (or 7013324)
9 7011070 1 TIE ROD (5/16-24 thread - both ends)
10 7037285 1 FENDER, Left Hand (1.628” I. D. Hole)
11 7010969 1 NUT, 5/16-24 Flange Lock (Large)
12 7012271 1 WASHER, Shim (or quantity as required)

Not for
Reproduction
Manual No. 7006279 28" & 33" Hi-Vac
SERIES 23
14
DIFFERENTIAL, R. H. FENDER

Not for
Reproduction
Footnotes:
Manual No. 700627928" & 33" Hi-Vac
SERIES 23 15
DIFFERENTIAL, R. H. FENDER
Part No Descri
p
tionItem Qty
1 7091819 13 SCREW, 1/4-20 x 5/8” Hex Washer Head Self-Tap (Was 7090362)
2 7012296 1 BEARING, Axle (R. H. Fender)
2 7054372 1 BEARING-DX, Axle (R. H. Fender) (includes 1-1/8” I.D. (DX) bearing)
3 7010969 1 NUT, 5/16-24 Flange Lock (Large)
4 7031079 1 WASHER, Thrust
5 7038067 1 PLATE, Differential (Note: 4 holes offset - align properly to prevent binding.)
6 7022115 4, 8 SPACER, Pinion
7 7021127 4, 8 GEAR, Differential Pinion (12T 12P)
8 7011072 1 WASHER, Thrust
9 7051584 1 * ASSEMBLY, Drive Hex Tube
10 7010988 1 WASHER, Nylon
11 7200128 1 GEAR, 11 Tooth, 10 Pitch (Was 7010964)
12 7010941 1 CHAIN, 46 Pitch (#35 Endless)
13 7021129 1 SPROCKET, 34T, 3/8P
14 7010965 1 RING, 1-3/16” External Retaining
15 7021128 1 SPACER, Differential Case
16 7012332 2 BOOT CLAMP, 2”
17 7075115 1 BOOT, Oil Seal (Short Axle)
18 7011024 2 PLUG, 1/2” Cup Insert
19 7037279 1 CASE, Transmission
20 7028762 1 GASKET, Transmission Case
21 7037280 1 FENDER, Right Hand (1.62” Dia. Hole)
22A 7021158 1 GEAR, 63 Tooth 10 Pitch (4 Hole)
22B 7027644 1 GEAR, 63 Tooth 10 Pitch (8 Hole)
23 7047763 1 KIT, Long Axle Structure (Includes spacer 7074431) (Was 7047763)
24 7074431 1 SPACER, Differential Case
25 7057398 1 ASSEMBLY, Short Axle, 23T (Includes Gear)
26 7012333 4, 8 BOLT, 5/16-24 x 1-5/8” Hex Special Lock (Vibresist)
27 7011156 2 O-RING, 5/16”
28 7011782 2 WASHER, 5/16” Belleville
29 7090395 1 WASHER, 5/16” External Tooth Lock
30 7090188 1 WASHER, .34 x .69 x .08 Flat
31 7011042 1 SCREW, 5/16-24 x 2-5/8” Hex Head Cap
32 7090361 11 SCREW, 5/16-18 x 5/8” Hex Washer Self-Tap
35 7061017 GREASE, Transmission (24 oz. Required)
7060411 1 KIT, Differential (4 Pinion)
7060662 1 KIT, Differential (8 Pinion w/DX Bearing)
7060412 1 KIT, Long & Short Axle (Includes items 23, 24, & 25)
Note: * Assembly includes two bearings inside hex tube (p/n 7015140, not shown) & one nylon washer (p/n 7010988, item
10).

Not for
Reproduction
Manual No. 7006279 28" & 33" Hi-Vac
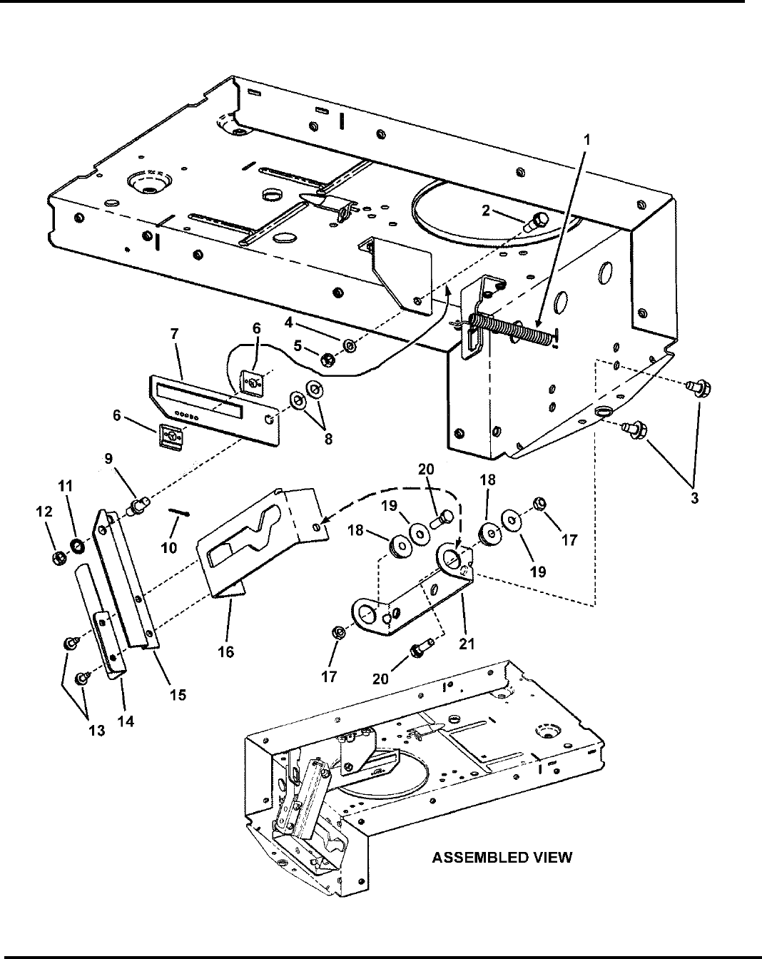
SERIES 23
16
YOKE LIFT COMPONENTS

Not for
Reproduction
Footnotes:
Manual No. 700627928" & 33" Hi-Vac
SERIES 23 17
YOKE LIFT COMPONENTS
Part No Descri
p
tionItem Qty
1 7013885 1 SPRING, Clutch & Brake
2 7014664 1 BOLT, 5/16-18 Shoulder
3 7091198 2 SCREW, 3/8-16 x 5/8” Hex Washer Self-Tap
4 7090187 1 WASHER, 5/16” Split Lock
5 7091511 1 NUT, 5/16-18 Hex, GR 5 or B (Was 7090196)
6 7014663 2 SLIDE HALF
7 7047190 1 BRACKET, Slide
8 7090122 2 WASHER, 3/8” Flat SAE
9 7015464 1 STUD, Clutch Link (3/8-24 thread)
10 7091597 1 PIN, 3/32 x 3/4” Cotter (Was 7090037)
11 7090390 1 WASHER, 3/8” Internal Tooth Lock
12 7091630 1 NUT, 3/8-24 Hex, GR 5 or B (Was 7090155)
13 7091122 2 SCREW, 1/4-20 x 1/2” Hex Washer Self-Tap (Was 7090539)
14 7059068 1 ASSEMBLY, Leaf Spring
15 7073733 1 ARM, Yoke
16 7046162 1 LIFT, Yoke
17 7092062 2 NUT, 5/16-24 Hex Center Lock (Was 7011201)
18 7011048 2 BEARING, Yoke
19 7011763 2 FENDER WASHER, 5/16”
20 7090238 2 SCREW, 5/16-24 x 1” Hex Head Cap, GR 5
21 7033291 1 COLLAR, Yoke

Not for
Reproduction
Manual No. 7006279 28" & 33" Hi-Vac
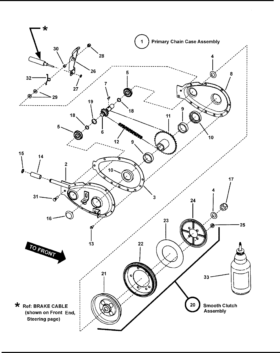
SERIES 23
18
PRIMARY CHAIN CASE & SMOOTH CLUTCH

Not for
Reproduction
Footnotes:
Manual No. 700627928" & 33" Hi-Vac
SERIES 23 19
PRIMARY CHAIN CASE & SMOOTH CLUTCH
Part No Descri
p
tionItem Qty
1 7052683 1 ASSEMBLY, Primary Chain Case (Includes the following 16 items)
2 7041136 1 WELDMENT, Primary Chain Case Half, Right Hand
3 7028761 1 GASKET, Primary Chain Case
4 7011121 2 WASHER, 5/8” Belleville
5 7010756 2 BEARING, .625 x 1.37 x .435
6 7018963 1 WELDMENT, Sprocket & Shaft
7 7010614 1 KEY, #5 Woodruff
8 7039778 1 PRIMARY CHAIN CASE HALF, Left Hand
9 7010942 2 BEARING, Needle 1.355” ID x 1.6245” OD x .5” Wide
10 7011086 2 THRUST WASHER, Nylon
11 7040355 1 WELDMENT, Hub & Sprocket
12 7010941 1 CHAIN, 46 Pitch (#35 Endless)
13 7090917 10 SCREW, 10-24 x 1/2” Hex Washer Self-Tap (Was 7090307)
14 7022785 1 ROLLER, 1-3/8 Long
15 7010776 1 RING, 1/2” External Retaining (Heavy Duty)
16 7011024 1 PLUG, 3/4” Cup Insert
17 7091505 1 NUT, 5/8-18 Hex Nyloc
18 7019260 2 O-RING, 1/2 x 5/8”
19 7027981 1 WASHER, Shim .625 x .875
20 7053114 1 ASSEMBLY, Smooth Clutch (non-asbestos) (Includes the following 5 items)
21 7059443 1 HUB, Driven Disc (assembly) (Was 7054243)
22 7053103 1 DISC, Driven (rubber tire bonded to rim)
23 7014523 1 THRUST WASHER
24 7032331 1 PLATE, Drive Disc
25 7092081 4 NUT, 5/16-24 Hex Flange Lock (Was 7090480, center lock flange nut)
26 7052497 1 ASSEMBLY, Brake Lever (Includes brake pad & rivet)
27 7012313 1 RING, 3/8” External Retaining
28 7090303 1 NUT, 1/4-28 Hex Top Lock
29 7091294 2 WASHER, .28 x .63 x .06 Flat, GR 5
30 7072593 1 * SPACER, Brake Arm Pivot (.418/.403 long) (Was 7010916 (.300/.285 long))
31 7091504 1 SCREW, 1/4-28 x 1” Hex Head Cap, (Washer Face) GR 5
32 7072406 1 * SPRING, Torsional Brake Return
33 7061017 ** GREASE, Transmission (Use 2 oz. Maximum)
Note: * Brake return replacement kit (7061197) is made of items 30 & 32.
NOTE: ** Maximum capacity of chain case before causing leakage at bearing is 2 oz. DO NOT OVERFILL!

Not for
Reproduction
Manual No. 7006279 28" & 33" Hi-Vac
SERIES 23
20
GEAR SHIFTER ASSEMBLY

Not for
Reproduction
Footnotes:
Manual No. 700627928" & 33" Hi-Vac
SERIES 23 21
GEAR SHIFTER ASSEMBL
Y
Part No Descri
p
tionItem Qty
1 7023656 1 GRIP, Shift Handle
2 7059212 1 WELDMENT, Shift Handle
3 7023914 1 PIN, 1/4 x 1-3/4” Tapered Clevis
4 7091597 1 PIN, 3/32 x 3/4” Cotter (Was 7090037)
5 7031036 2 WASHER, Thrust
6 7019245 1 BUSHING, 3/4 x 1.62 Flange (Nylon)
7 7091298 1 NUT, 5/16-18 Hex Nyloc
8 7090361 1 SCREW, 5/16-18 x 5/8” Hex Washer Self-Tap
9 7058763 1 * ASSEMBLY, Speed Adjustment Latch
10 7026292 1 SPRING (part of Speed Adjustment Latch Ass'y)
11 7091511 1 NUT, 5/16-18 Hex, GR 5 or B (Was 7090196)
12 7010754 1 SPRING, Shift Detent
13 7073289 1 LEVER, Over-Ride
14 7091595 1 WASHER, .47 x .92 x .065 Flat
15 7015761 1 SHOULDER BOLT, 5/16-18
16 7019246 1 BUSHING, 3/4 x I.O. Flange (Nylon)
17A 7040598 1 WELDMENT, Arm, Shift Handle
17B 7043201 1 WELDMENT, Arm, Shift Handle (w/grease ftg. Hole)
18 7010817 1 LUBE FITTING, 3/16” Press-In (used with 7043201)
19 7091315 1 WASHER, .32 x .58 x .08 Split Lock
20 7091297 1 NUT, 5/16-24 Hex, GR 5
Note: * Assembly is comprised of: Shift Detent Weldment (7041232), Shoulder Rivet (7029022), Reverse Stop (7073218) &
item 10.

Not for
Reproduction
Manual No. 7006279 28" & 33" Hi-Vac
SERIES 23
22
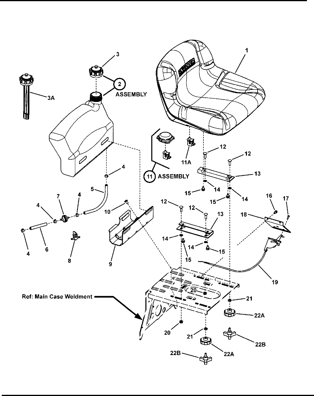
FUEL TANK & SEAT

Not for
Reproduction
Footnotes:
Manual No. 700627928" & 33" Hi-Vac
SERIES 23 23
FUEL TANK & SEAT
Part No Descri
p
tionItem Qty
1 7075071 1 SEAT, Operator (11.58” tall) (shown) (Michigan V-2400 Series) (used on 12HP & Higher Models)
1 7075376 1 SEAT, Operator (9.30” tall) (Michigan V-2300 Series) (used on 7084840 (2811523BV)
2 7051905 1 ASSEMBLY, Fuel Tank (Includes item 3) (used on 9, 10 & 11.5HP Models)
2 7052435 1 ASSEMBLY, Fuel Tank with Gauge (Includes item 3A) (used on 12, 12.5, 15, 17 & 17.5 HP
Models)
3 7012515 1 CAP, Fuel Tank
3A 7019377 1 CAP, Fuel Tank w/Gauge
4 7029900 4 CLAMP, Fuel Line (replaces 7012222 clamp)
5 1734994 1 HOSE, Fuel (1/4” I.D. x 8-1/2” long) (used on Briggs 8-17.5 HP; Was 7076272)
5 7012912 1 HOSE, Fuel (1/4” I.D. x 12-1/2” long) (used on Kohler Models only)
5 7041996 1 HOSE, Fuel (1/4” I.D. x 6-1/2” long) (used on Kohler Models only)
6 7077351 1 HOSE, Fuel (1/4” I.D. x 3-1/2” long)
7 7014359 1 FILTER, Fuel (In-Line)
8 7024507 1 VALVE, Fuel Shut-Off (Accessory)
9 7033377 1 BRACKET, Fuel Tank (Rear)
10 7091542 2 SCREW, 5/16-18 x 1/2” Pan Head Self-Tap (Torx #T-40)
11 7029211 1 SWITCH, Seat, Quick Mount (NC) (used on seat, p/n 7028650)
11A 7023354 1 SWITCH, Seat (NC)
12 7091303 4 BOLT, 5/16-18 x 1” Square Neck Carriage, GR 5 YZ (Was 7091714)
13 7075018 2 BRACKET, Seat
14 7011791 4 RETAINER, 5/16” Bolt
15 7091038 2 BOLT, 5/16-18 x 1/2” Hex Flange Nyloc
16 7091122 2 SCREW, 1/4-20 x 1/2” Hex Washer Self-Tap (Was 7090539)
17 7090913 2 SCREW, #10-24 x 1/2” Hex Washer Self-Tap (Torx)
18 7033470 1 PLATE, Throttle Control
19 7022751 1 CONTROL, Throttle (23.6” long) (Briggs Engines)
19 7074320 1 CONTROL, Throttle (34.6” long) (Kohler Engines)
19 7075089 1 CONTROL, Throttle (34.6” long) (Honda Engines)
20 7090672 2 NUT, 5/16-18 Hex Flange Top Lock (or 7090951)
21 7013849 2 SPACER, .33 x .63 x .156
22A 7023735 2 KNOB, Fluted, 5/16-18 internal thread (2.15 O.D.)
22B 7023191 2 KNOB, 3-Prong, 5/16-18 x 3/4” external thread (used on seat, p/n 7028650)

Not for
Reproduction
Manual No. 7006279 28" & 33" Hi-Vac
SERIES 23
24
ENGINE, MUFFLER & DRIVE DISC

Not for
Reproduction
Footnotes:
Manual No. 700627928" & 33" Hi-Vac
SERIES 23 25
ENGINE, MUFFLER & DRIVE DISC
Part No Descri
p
tionItem Qty
1 28B702-1154-E1 1 * ENGINE, 9HP Briggs (Mod 28B702-1154-E1) (recoil start)
1 214707-0113-E1 1 * ENGINE, 10HP Briggs (Mod 214707-0113-E1) (electric start)
1 21A902-0127-E1 1 * ENGINE, 11HP Briggs (Mod 21A902-0127-E1) (recoil start)
1 21A907-0124-E1 1 * ENGINE, 11HP Briggs (Mod 21A907-0124-E1) (electric start)
1 GXV340-K2DET3 1 * ENGINE, 11HP Honda (Mod GXV340, Type K2DET3) (electric start)
1 217802-0113-E1 1 * ENGINE, 11.5HP Briggs (Mod 217802-0113-E1) (recoil start)
1 219907-0131-B1 1 * ENGINE, 12.5HP Briggs (Mod 219907-0131-E1) (electric start)
1 219977-0174-B1 1 * ENGINE, 12.5HP Briggs (Mod 219977-0174-B1) (electric start)
1 21A907-0128-E1 1 * ENGINE, 13HP Briggs (Mod 21A907-0128-E1) (electric start)
1 GXV39K-1DET3 1 * ENGINE, 13HP Honda (Mod GXV39K, Type 1DET3) (electric start)
1 21B907-0137-E1 1 * ENGINE, 13.5HP Briggs (Mod 21B907-0137-E1) (electric start)
1 CV15ST, PS-4158 1 * ENGINE, 15HP Kohler (Mod CV15ST, Type PS-41584) (electric start)
1 21B907-0137-E1 1 * ENGINE, 15HP Briggs (Mod 284H07-0115-E1) (electric start)
1 31F777-0115-E1 1 * ENGINE, 16 or 17HP Briggs (Mod 31F777-0115-E1) (electric start)
1 31G777-0297-B1 1 * ENGINE, 17.5HP Briggs Intek w/AVS (Mod 31G777-0297-B1) (electric start)
2 7027972 1 ASSEMBLY, Oil Valve
3 7015352 1 GASKET, Exhaust
4 7091819 2 SCREW, 1/4-20 x 5/8” Hex Washer Head Self-Tap (Was 7090362)
5A 7074453 1 MUFFLER, w/Heat Shield (Briggs 11 thru 17.5HP)
5B 7019358 1 MUFFLER, (Kohler 14 & 15HP)
6 7091738 2 SET SCREW, 5/16-18 x 3/4” Socket Head, GR8
7 7010210 1 KEY,1/4” Square x 2” Long
8 7090132 2 SET SCREW, HRSS, 3/8-16 x 3/8”
9A 7072658 1 WELDMENT, 5.75” O.D. Drive Disc (used on 28” Decks)
9B 7074187 1 WELDMENT, 5.25” O.D. Drive Disc (used on 33” Deck Models)
10 7090585 2 NUT, 5/16-18 Hex Flange Lock, GR 5
11 7091495 1 SCREW, 1/4-20 x 3/4” Hex Head Cap, GR 5
12 7013849 1 SPACER, .33 x .63 x .156
13 7091065 1 NUT, 1/4-20 Hex Flange Lock
14 7091576 1 NUT, 1/4-20 Hex, GR 5 or B (not shown) (attaches to starter terminal on Briggs 12.5, 17 &
17.5HP)
Note: * Purchase engine parts from engine manufacture dealer.

Not for
Reproduction
Manual No. 7006279 28" & 33" Hi-Vac
SERIES 23
26
CUTTING DECKS & DEFLECTOR (28" & 33" Hi-Vac)

Not for
Reproduction
Footnotes:
Manual No. 700627928" & 33" Hi-Vac
SERIES 23 27
CUTTING DECKS & DEFLECTOR (28" & 33" Hi-Vac)
Part No Descri
p
tionItem Qty
1 7073434 1 COVER, Spindle
2 7091015 2 SCREW, 1/4-20 x 3-1/2” Hex Head w/Free Spinning Washer
3 7091016 4 SCREW, 1/4-20 x 5/8” Hex Head w/Free Spinning Washer
4A 7061970 1 DECK, 28” Replacement (Painted deck w/decals & wheel bracket fasteners)
4B 7061972 1 DECK, 33” Replacement (Painted deck with decals)
5 7090731 6 BOLT, 5/16-18 x 1/2” Short Neck Carriage, GR 5
6 7091601 8 NUT, 5/16-18 Hex Flange Lock, GR 5 (Was 7091070)
7 7033570D 1 BRACKET, Gage Wheel (Front)
8 7091532 3 SCREW, 3/8-24 x 3-3/4” Hex Head Cap, GR 5
9 7091518 3 NUT, 3/8-24 Hex Nyloc
10 7019190 3 WHEEL, Gage
11 7015272 3 SPACER
12 7033571D 2 BRACKET, Gage Wheel (Rear)
13 7091508 2 BOLT, 5/16-18 x 3/4” Short Neck Carriage, GR 5 (or 7090001)
14 7016983 1 COVER, 28” Mulcher
14 7016984 1 COVER, 33” Mulcher
15 7026233 1 DEFLECTOR, Discharge, 28” & 33”
15A 7500484 1 ASSEMBLY, Discharge Deflector, 28” & 33” (without decal) (Incl. items 15, 16, 18, 19, & 20)
16 7026483 2 PUSH NUT, 1/4”
17 7091811 3 BOLT, 5/16-18 x 5/8” Hex Flange Lock, GR 5 (or 7091811)
18 7026234 1 PIN, Hinge
19 7016341 1 SPRING, Hinge
20 7300886BM 1 HINGE, Deflector (Deck side) (Was 7033780)
21 7091296 2 WASHER, 5/16” Flat
22 7013010 1 DECAL, Danger, (Cut Finger) (or 7026831)
23 7104196BM 1 BLADE, 28” Hat Shaped Hi-Lift (standard equipment (Was 7035635)
23 7034168 1 BLADE, 33” Hat Shaped Hi-Lift (standard equipment)
24 7026453 1 BLADE, Ninja, 28” (or 7104083BM)
24 7024741 1 BLADE, Ninja, 33”
25 7019515 1 BLADE, 28”
25 7019523 1 BLADE, 33”
26 7091537 2 NUT, 5/16-18 Wing (Was 7090492)
27 7091939 2 NUT, 1/2-20 Hex, GR 5 or B (Was 7090559, Hex Jam Nut)
28 7090509 2 WASHER, 1/2” Internal Tooth Lock
29 7091619 9 NUT, 3/8-16 Hex Flange Lock (Was 7090613)
30 7091588 3 BOLT, 3/8-16 x 3/4” Hex Flange Lock (Was 7090612)
31 7090491 2 SCREW, 1/2-20 x 1-1/4” Hex Head Cap, GR 5 (Was 7090392)
32 7060480 1 KIT, Air Lift, Hi-Vac (Includes items 33, 34, 35 & 36) (used on 28” & 33” Decks)
33 7037723 2 AIR LIFT, Hi-Vac (3 hole)
34 7090228 6 SCREW, 5/16-24 x 11/16” Oval Head Machine
35 7090391 6 WASHER, 5/16” Internal Tooth Lock
36 7090223 6 NUT, 5/16-24 Hex

Not for
Reproduction
Manual No. 7006279 28" & 33" Hi-Vac
SERIES 23
28
BELTS, BRAKES & INTERLOCK

Not for
Reproduction
Footnotes:
Manual No. 700627928" & 33" Hi-Vac
SERIES 23 29
BELTS, BRAKES & INTERLOCK
Part No Descri
p
tionItem Qty
1 7043844 1 * BELT, Drive (73.75” AA Section) (used on 33” Deck Models)
1 7022252 1 * BELT, Drive (72.75” AA Section) (used on 25” & 28” Decks)
2 7074467 1 NUT, 3/4-16 Hex Jam, GR 8
3 7032027 2 WASHER, 49/64” I.D. x 1-1/2” O.D. Flat
4 7018781 1 PULLEY, Deck
5 7015290 1 PULLEY, Hub (Powdered Metal)
6 7091299 2 NUT, 3/8-16 Hex Nyloc
7 7029624 2 IDLER PULLEY, 4” Idler
8 7091497 2 SCREW, 3/8-16 x 1-1/2” Hex Head Cap, GR 5
9 7035728 1 BRACKET, Fixed Idler (used on 33” Deck Models only)
10 7036526 1 BRACE, Fixed Idler Bracket (used on 33” Deck Models only)
11 7090858 5 SCREW, 5/16-18 x 1/2” Hex Washer Self-Tap
12 7046567BM 1 HANDLE, Blade Engagement (Flip)
13 7010740 2 RING, 2” External Retaining
14 7091597 3 PIN, 3/32 x 3/4” Cotter (Was 7090037)
15 7036521 1 SPRING, Extension, 4” x 1/2” Diameter
16 7047787 1 WELDMENT, Idler Arm
17 7014314 1 SPACER, .39 x 1.0 x .31 Nylon
18 7046874 1 GRIP, Handle
19 7091514 2 WASHER, 3/8” Flat
20 7035378 1 DRUM, Brake Spindle
21 7014304 1 PIN, 1/4 x 1-5/8” Clevis
22 7034852 1 BAND, Brake (Formed)
23 7090122 2 WASHER, 3/8” Flat SAE
24 7090055 4 WASHER, 1/4” Flat
25 7046677 1 EYE-BOLT, 1/4-20 x 4”
26 7046648 1 SPRING, Torsion, Flip Handle
27 7091974 1 PIN, 3/16 x 1” Clevis
28 7059254 1 WELDMENT, Blade Engagement Handle
29 7014168 1 SPRING, Blade Handle
30 7012055 1 ROD, Idler Control
31 7090299 1 SCREW, #10-32 x 1” Hex Washer Head Self-Tap
32 7018524 1 SWITCH, Deck Interlock (NO)
33 7038021 1 MOUNT, Handle/Switch
34 7091819 2 SCREW, 1/4-20 x 5/8” Hex Washer Head Self-Tap (Was 7090362)
35 7090555 1 PIN, 3/32 x 1/2” Cotter
36 7091705 1 NUT, 1/4-20 Hex Top Lock (Was 7090761)
37 7014343 1 BUSHING, Flange .27 x .35 x .4
38 7046782 1 SPRING, Rectangular Wire Die, Blue
39 7032111 1 RESTRICTOR, Belt
Note: * Belt part numbers are printed on belts.

Not for
Reproduction
Manual No. 7006279 28" & 33" Hi-Vac
SERIES 23
30
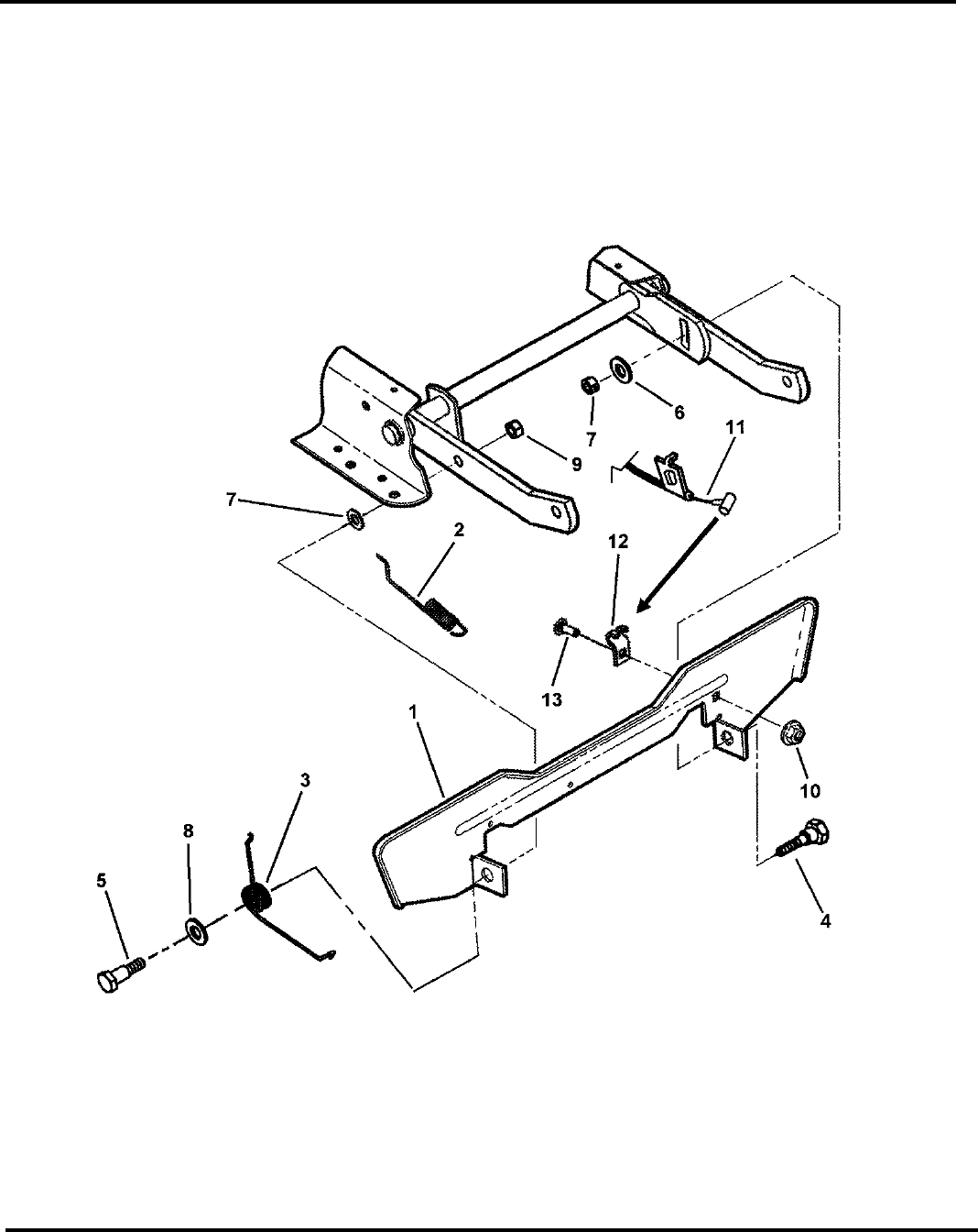
RAILS, LIFT ARMS & CAM LIFT

Not for
Reproduction
Footnotes:
Manual No. 700627928" & 33" Hi-Vac
SERIES 23 31
RAILS, LIFT ARMS & CAM LIF
T
Part No Descri
p
tionItem Qty
1 7091503 2 HAIR PIN, 3/32 x 1-1/2”
2 7028200 2 SWIVEL, Adjustable
3 7028728 2 ADJUSTER, Chain (5/16-18 thread)
4 7091297 2 NUT, 5/16-24 Hex (Was 7090223)
5 7090854 1 NUT, 3/8-24 Hex Nyloc
6 7090122 1 WASHER, 3/8” Flat SAE
7 7034213 1 PIVOT, Leveling
8 7059324 1 WELDMENT, Rear Lift Arm
9 7090483 1 SCREW, 3/8-24 x 1-3/4” Hex Head Cap, GR 5
10 7032030 2 WASHER, 13/32 x 1-1/4” Flat
11 7046155 1 LEVER, Height of Cut
12 7090289 1 NUT, 3/8-24 Hex Center Lock
13 7046159 1 SPRING, Lever
14 7012068 2 RING, Rear Lift Arm (Blue)
15 7031855 1 GUIDE, Belt
16 7046163 2 SPRING, Assist
17 7031838 1 BRACE, Top
18 7016122 1 ROD, Leveling (3/4-24 thread)
19 7090361 1 SCREW, 5/16-18 x 5/8” Hex Washer Self-Tap
20 7058969 1 ASSEMBLY, Clutch Plate
21 7036430 1 RAIL, Deck Lift, Right Hand (Was 7043848)
22 7073269 1 RAIL, Deck Lift, Left Hand
23 7046157 1 DETENT, Height Adjust
24 7090324 2 SCREW, 3/8-16 x 1” Hex Washer Self-Tap
25 7046217 1 SPACER, Detent
26 7091198 3 SCREW, 3/8-16 x 5/8” Hex Washer Self-Tap
27 7026420 1 GRIP, Height Adjustment Lever
28 7012067 2 RING, Front Lift Arm (Red)
29 7032997 1 ARM, Front Lift
30 7058041 1 WELDMENT, Front Lift Arm
31 7091598 1 PIN, 1/8 x 3/4” Cotter (Was 7090365)
32 7022717 1 ROD, Deck Support (Front Lift Arm to Front End)
33 7017847 1 RING, .438 External Retaining
34 7090858 2 SCREW, 5/16-18 x 1/2” Hex Washer Self-Tap
35 7071920 2 SPACER, Deck Lift
36 7092051 1 BOLT, #10-24 x 1” Flat Head Square Neck
37 7091290 1 NUT, #10-24 Hex Nyloc
38 7032243 1 ANCHOR
39 7090233 2 SCREW, 5/16-24 x 3/4” Hex Head Cap, GR 5
40 7090391 2 WASHER, 5/16” Internal Tooth Lock

Not for
Reproduction
Manual No. 7006279 28" & 33" Hi-Vac
SERIES 23
32
BLADE STOP PEDALS

Not for
Reproduction
Footnotes:
Manual No. 700627928" & 33" Hi-Vac
SERIES 23 33
BLADE STOP PEDALS
Part No Descri
p
tionItem Qty
1 7073267 1 FOOT PEDAL, Blade Stop Control
2 7074649 1 SPRING, Latching (.072 dia.) (replaces 7035669 (.062 dia.)
3 7015448 1 SPRING, Pedal
4 7015495 1 SHOULDER BOLT, 3/8-24 w/Nylon Patch, GR 5
5 7015446 1 SHOULDER BOLT, 3/8-24 x 9/16”
6 7032030 1 WASHER, Flat 13/32” ID x 1.25” x 1/8” Thick ZP (Was 7012063)
7 7091630 1 NUT, 3/8-24 Hex, GR B (Was 7090155)
8 7091587 2 WASHER, 1/2” Flat SAE (Was 7090250)
9 7090289 1 NUT, 3/8-24 Hex Center Lock
10 7091584 1 NUT, 1/4-20 Hex Flange Lock, GR 5
11 7073216 1 CABLE ASSEMBLY, No Reverse in Mow
12 7073217 1 CLIP, Cable
13 7091530 1 BOLT, 1/4-20 x 3/4” Square Neck Carriage, GR 5 (Was 7091776)

Not for
Reproduction
Manual No. 7006279 28" & 33" Hi-Vac
SERIES 23
34
SPINDLE

Not for
Reproduction
Footnotes:
Manual No. 700627928" & 33" Hi-Vac
SERIES 23 35
SPINDLE
Part No Descri
p
tionItem Qty
1 7054531 1 ASSEMBLY, Spindle Housing (Incl. items 2 thru 9A & 10 thru 13) (used on 33” deck)
1 7058049 1 ASSEMBLY, Spindle Housing (Incl. items 2 thru 8 & 9B thru 11) (used on 28” decks)
2 7012491 2 RING, 1.85” Internal Retaining
3 7013313 2 BEARING, Spindle
4 7050696 1 WELDMENT, Spindle Housing (includes 7010817 fitting)
5 7010817 1 LUBE FITTING, 3/16” Press-In
6 7044785 1 SPINDLE, Rider (10.327” overall length)
7 7010935 1 WASHER, .77 x 1.13 x .06 Flat
8 7014407 1 WASHER, Spindle
9A 7037751 1 HOLDER, Blade (used on 33” deck)
9B 7031184 1 HOLDER, Blade (used on 28” decks)
10 7044782 1 SPACER, Blade Centering
11 7090356 1 NUT, 5/8-18 Hex Center Lock Jam
12 7090491 2 SCREW, 1/2-20 x 1-1/4” Hex Head Cap, GR 5
13 7091939 2 NUT, 1/2-20 Hex, GR 5 or B

Not for
Reproduction
Manual No. 7006279 28" & 33" Hi-Vac
SERIES 23
36
DECALS

Not for
Reproduction
Footnotes:
Manual No. 700627928" & 33" Hi-Vac
SERIES 23 37
DECALS
Part No Descri
p
tionItem Qty
1 7071916 1 DECAL, SNAPPER
2 7023982 1 DECAL, OHV (33” Kohler Engine Models)
3 7023980 1 DECAL, Back-Up Recoil (33” Kohler Engine Models)
4 7046218 1 DECAL, Height of Cut
5 7026831 1 DECAL, Danger (CPSC)
6 7046720 1 DECAL, Chute/Deflector Warning
7 7023996 1 DECAL, 28 Inch (Hi-Vac)
8 7022991 1 DECAL, 33 Inch (Hi-Vac)
9 7015691 1 DECAL, Battery Caution
10 7012358 1 DECAL, Battery
11 7029113 1 DECAL, Caution, Fuel (English)
12 7074481 1 DECAL, No Mow in Reverse
13 7046440 1 DECAL, Safety Instructions
14 7101111 1 DECAL, Warning, Safety Panel
15 7075607 1 DECAL, Service Parts, Domestic
16 7101109 1 DECAL, Remove Battery
17 7101112 1 DECAL, Danger, Safety Panel
18 7101107 1 DECAL, Caution, Fuel
19 7101108 1 DECAL, Caution, Battery
20 7101110 1 DECAL, Danger, Deck

Not for
Reproduction
Manual No. 7006279 28" & 33" Hi-Vac
SERIES 23
38
ELECTRICAL SYSTEMS (Briggs Magneto Ground)

Not for
Reproduction
Footnotes:
Manual No. 700627928" & 33" Hi-Vac
SERIES 23 39
ELECTRICAL SYSTEMS (Briggs Magneto Ground)
Part No Descri
p
tionItem Qty
View shows engine magneto ground connection on throttle plate

Not for
Reproduction
Manual No. 7006279 28" & 33" Hi-Vac
SERIES 23
40
ELECTRICAL SYSTEMS (For 9, 11 & 11.5HP Briggs Recoil)

Not for
Reproduction
Footnotes:
Manual No. 700627928" & 33" Hi-Vac
SERIES 23 41
ELECTRICAL SYSTEMS (For 9, 11 & 11.5HP Briggs Recoil)
Part No Descri
p
tionItem Qty
1 7028606 1 INTERLOCK MODULE, Briggs
2 7028386 1 HARNESS (Deck Interlock Wiring)
3 7018524 1 SWITCH, Deck Interlock (NO)
4 7090880 1 WASHER, 5/8” Internal Tooth Lock
5 7015438 1 NUT, 5/8-32 Hex
6 7011138 1 IGNITION KEY, Pair
7 7073714 1 HARNESS, Ground (Recoil Start)
8 7012080 3 CABLE TIE, 7”
9A 7029211 1 SWITCH, Seat, Quick Mount (NC) (used on 11 & 13 HP Engines)
9B 7023354 1 SWITCH, Seat (NC) (used on 11-1/2 HP Engines)
10 7017817 1 SWITCH, Ignition (2-Pole) (Recoil Start)
11 7022886 1 SWITCH, Operator Presence Control (OPC) Traction (NC/NO)
12 7028607 1 HARNESS, Operator Presence Control (OPC) Wire

Not for
Reproduction
Manual No. 7006279 28" & 33" Hi-Vac
SERIES 23
42
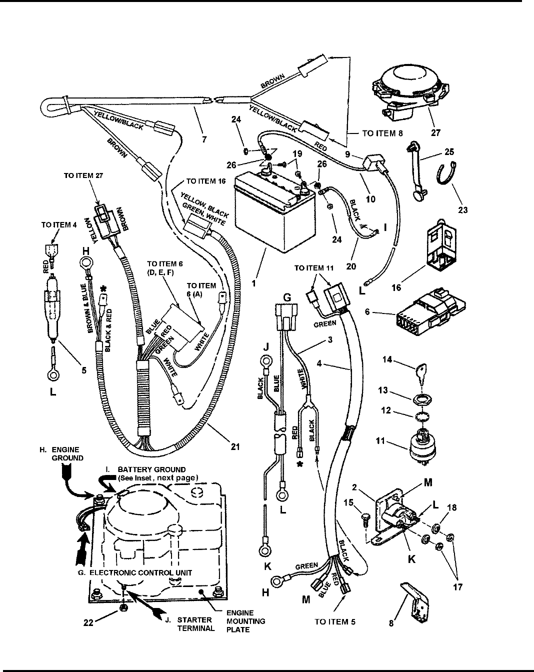
ELECTRICAL SYSTEMS (For 10, 11, 12, 12.5 & 13HP Briggs)

Not for
Reproduction
Footnotes:
Manual No. 700627928" & 33" Hi-Vac
SERIES 23 43
ELECTRICAL SYSTEMS (For 10, 11, 12, 12.5 & 13HP Briggs)
Part No Descri
p
tionItem Qty
1 7060753 1 KIT, Battery, 12V, U-1-7RS, 220CCA Dry Charge Snapper No Spill
2 7075671 1 SOLENOID, Super-Trombetta (Was 7018817)
3 7022788 1 HARNESS, Starter Wiring (Briggs Engines)
4 7073715 1 HARNESS, Ignition Wiring (Briggs Engines)
5 7016168 1 HOLDER, Fuse (Includes Fuse)
7016169 1 FUSE, 10 Amp (Not shown)
6 7028606 1 INTERLOCK MODULE, Briggs
7 7028386 1 HARNESS (Deck Interlock Wiring)
8 7018524 1 SWITCH, Deck Interlock (NO)
9 7012444 1 COVER, Battery Cable
10 7019326 1 WIRE, Positive (Red, 17” long)
11 7073797 1 SWITCH, Ignition, 4 Terminal, Indak
12 7090880 1 WASHER, 5/8” Internal Tooth Lock
13 7015438 1 NUT, 5/8-32 Hex
14 7011138 1 IGNITION KEY, Pair
15 7091122 3 SCREW, 1/4-20 x 1/2” Hex Washer Self-Tap (Was 7090539)
16 7022886 1 SWITCH, Operator Presence Control (OPC) Traction (NC/NO)
17 7091576 4 NUT, 1/4-20 Hex, GR 5 or B
18 7090053 2 WASHER, 1/4” Internal Tooth Lock
19 7090072 2 SCREW, 1/4-20 x 5/8” Hex Head Cap. GR 5 (Was 7027172)
20 7028027 1 WIRE, Negative, Black (15” long)
21 7028607 1 HARNESS, Operator Presence Control (OPC) Wire
22 7091576 1 NUT, 1/4-20 Hex, GR 5 or B
23 7012080 2 CABLE TIE, 7”
24 7090372 2 NUT, 1/4-20 Hex Center Lock, GR 5 or B
25 7014451 1 CABLE TIE
26A 7029211 1 SWITCH, Seat (NC) (used on 11 & 13HP Engines)
26B 7023354 1 SWITCH, Seat (NC) (used on 12.5 & 13 HP Briggs only)

Not for
Reproduction
Manual No. 7006279 28" & 33" Hi-Vac
SERIES 23
44
ELECTRICAL SYSTEMS (For 13.5, 15, 16, 17 & 17.5HP Briggs)

Not for
Reproduction
Footnotes:
Manual No. 700627928" & 33" Hi-Vac
SERIES 23 45
ELECTRICAL SYSTEMS (For 13.5, 15, 16, 17 & 17.5HP Briggs)
Part No Descri
p
tionItem Qty
1 7060753 1 KIT, Battery, 12V, U-1-7RS, 220CCA Dry Charge Snapper No Spill
2 7075671 1 SOLENOID, Super-Trombetta
3 7022788 1 HARNESS, Starter Wiring (Briggs)
4 7074406 1 HARNESS, Ignition Wiring (Briggs)
5 7016168 1 HOLDER, Fuse (Includes Fuse)
7016169 1 FUSE, 10 Amp
6 7028606 1 INTERLOCK MODULE, Briggs & Kohler
7 7028386 1 HARNESS (Deck Interlock Wiring)
8 7018524 1 SWITCH, Deck Interlock (NO)
9 7012444 1 COVER, Battery Cable
10 7019326 1 WIRE, Positive (Red, 17” long)
11 7026343 1 SWITCH, Ignition-Afterfire Solenoid
12 7090880 1 WASHER, 5/8” Internal Tooth Lock
13 7015438 1 NUT, 5/8-32 Hex
14 7011138 1 IGNITION KEY, Pair
15 7091122 3 SCREW, 1/4-20 x 1/2” Hex Washer Self-Tap (Was 7090539)
16 7022886 1 SWITCH, Operator Presence Control (OPC) Traction (NC/NO)
17 7091576 8 NUT, 1/4-20 Hex, GR 5 or B
18 7090053 2 WASHER, 1/4” Internal Tooth Lock
19 7090072 2 SCREW, 1/4-20 x 5/8” Hex Head Cap, GR 5 (Was 7027172)
20 7028027 1 WIRE, Negative, Black (15” long)
21 7028675 1 HARNESS, Operator Presence Control (OPC) Wire
22 7023354 1 SWITCH, Seat (NC) (for use with 7075071 seat)
23 7012080 2 CABLE TIE, 7”
24 7090372 2 NUT, 1/4-20 Hex Center Lock, GR 5 or B
25 7014451 1 CABLE TIE
26 7012485 2 RETAINER, 1/4” Bolt

Not for
Reproduction
Manual No. 7006279 28" & 33" Hi-Vac
SERIES 23
46
ELECTRICAL SYSTEMS (For 11 & 13HP Honda)

Not for
Reproduction
Footnotes:
Manual No. 700627928" & 33" Hi-Vac
SERIES 23 47
ELECTRICAL SYSTEMS (For 11 & 13HP Honda)
Part No Descri
p
tionItem Qty
1 7060753 1 KIT, 12V Dry Charge Battery
2 1 SOLENOID (not shown, part of engine) (No Snapper part number. Purchase from engine
manufacturer.)
3 7054589 1 HARNESS, Starter Wiring (Honda)
4 7074962 1 HARNESS, Ignition Wiring
5 7014451 1 CABLE TIE, 3.19” long
6 7028606 1 INTERLOCK MODULE, Briggs & Kohler
7 7028386 1 HARNESS (Deck Interlock Wiring)
8 7018524 1 SWITCH, Deck Interlock (NO)
9 7012444 1 COVER, Battery Cable
10 7023354 1 SWITCH, Seat (NC)
11 7073797 1 SWITCH, Ignition, 4 Terminal, Indak
12 7090880 1 WASHER, 5/8” Internal Tooth Lock
13 7015438 1 NUT, 5/8-32 Hex
14 7011138 1 IGNITION KEY, Pair
16 7022886 1 SWITCH, Operator Presence Control (OPC) Traction (NC/NO)
19 7090072 2 SCREW, 1/4-20 x 5/8” Hex Head Cap. GR 5 (Was 7027172)
20 7028027 1 WIRE, Negative, Black (15” long)
21 7074963 1 HARNESS, Operator Presence Control (OPC) Wire
23 7012080 2 CABLE TIE, 7”
24 7090372 2 NUT, 1/4-20 Hex Center Lock, GR 5 or B
25 7012485 2 RETAINER, 1/4” Bolt

Not for
Reproduction
Manual No. 7006279 28" & 33" Hi-Vac
SERIES 23
48
ELECTRICAL SYSTEMS (For 15HP Kohler)

Not for
Reproduction
Footnotes:
Manual No. 700627928" & 33" Hi-Vac
SERIES 23 49
ELECTRICAL SYSTEMS (For 15HP Kohler)
Part No Descri
p
tionItem Qty
1 7060753 1 KIT, 12 Volt Dry Charge Battery
2 7075671 1 SOLENOID, Super-Trombetta (Was 7018817)
3 7019321 1 HARNESS, Starter Wiring (Kohler Engines)
4 7074405 1 HARNESS, Ignition Wiring (15HP Kohler Engines)
5 7016168 1 HOLDER, Fuse (Includes Fuse)
7016169 1 FUSE, 10 Amp
6 7028606 1 INTERLOCK MODULE, Briggs & Kohler
7 7028386 1 HARNESS (Deck Interlock Wiring)
8 7018524 1 SWITCH, Deck Interlock (NO)
9 7012444 1 COVER, Battery Cable
10 7019326 1 WIRE, Positive (Red, 17” long)
11 7073797 1 SWITCH, Ignition, 4 Terminal, Indak
12 7090880 1 WASHER, 5/8” Internal Tooth Lock
13 7015438 1 NUT, 5/8-32 Hex
14 7011138 1 IGNITION KEY, Pair
15 7091122 3 SCREW, 1/4-20 x 1/2” Hex Washer Self-Tap (Was 7090539)
16 7022886 1 SWITCH, Operator Presence Control (OPC) Traction (NC/NO)
17 7091576 1 NUT, 1/4-20 Hex, GR 5 or B
18 7090053 2 WASHER, 1/4” Internal Tooth Lock
19 7090072 2 SCREW, 1/4-20 x 5/8” Hex Head Cap, GR 5 (Was 7027172)
20 7028027 1 WIRE, Negative, Black (15” long)
21 7028678 1 HARNESS, Operator Presence Control (OPC) Wire
22 7091576 1 NUT, 1/4-20 Hex, GR 5 or B
23 7012080 2 CABLE TIE, 7”
24 7090372 2 NUT, 1/4-20 Hex Center Lock, GR 5 or B
25 7014451 1 CABLE TIE, 3.19” long
26 7012485 2 RETAINER, 1/4” Bolt
27 7029211 1 SWITCH, Seat (NC)

Not for
Reproduction
Manual No. 7006279 28" & 33" Hi-Vac
SERIES 23
50
ELECTRICAL SYSTEMS (Kohler Magneto Ground)

Not for
Reproduction
Footnotes:
Manual No. 700627928" & 33" Hi-Vac
SERIES 23 51
ELECTRICAL SYSTEMS (Kohler Magneto Ground)
Part No Descri
p
tionItem Qty
View shows engine magneto ground area

Not for
Reproduction
Manual No. 7006279 28" & 33" Hi-Vac
SERIES 23
52
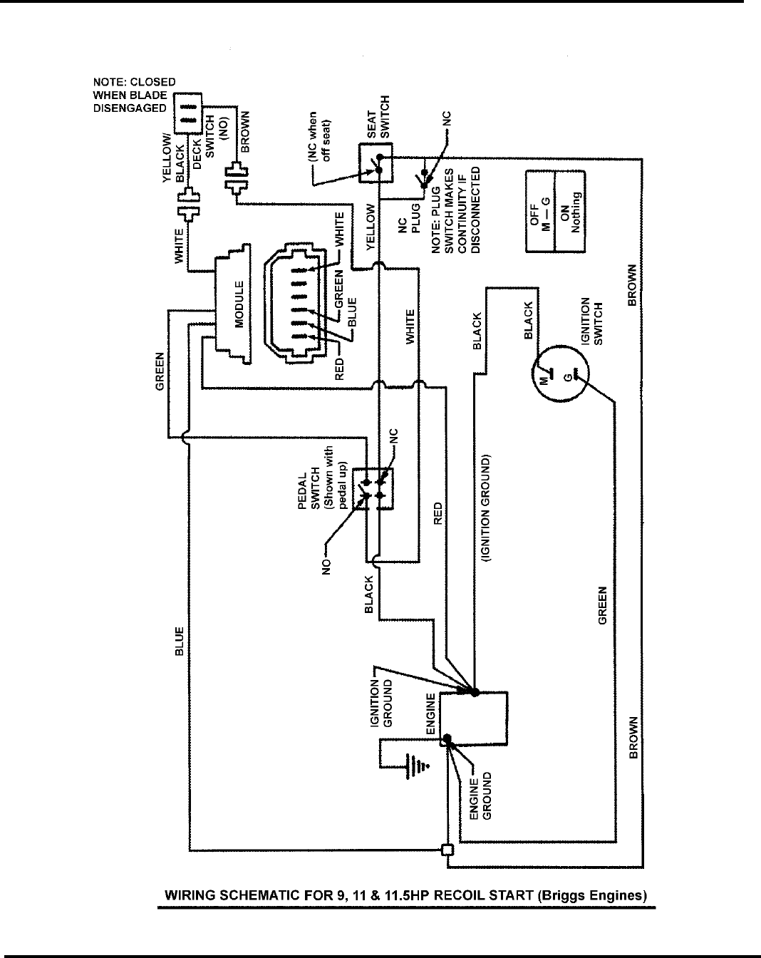
WIRING SCHEMATIC (9, 11 & 11.5HP Recoil Start Briggs)

Not for
Reproduction
Footnotes:
Manual No. 700627928" & 33" Hi-Vac
SERIES 23 53
WIRING SCHEMATIC (9, 11 & 11.5HP Recoil Start Briggs)
Part No Descri
p
tionItem Qty
Wiring Schematic incl. harness #'s 7028386, 7073714 & 7028607

Not for
Reproduction
Manual No. 7006279 28" & 33" Hi-Vac
SERIES 23
54
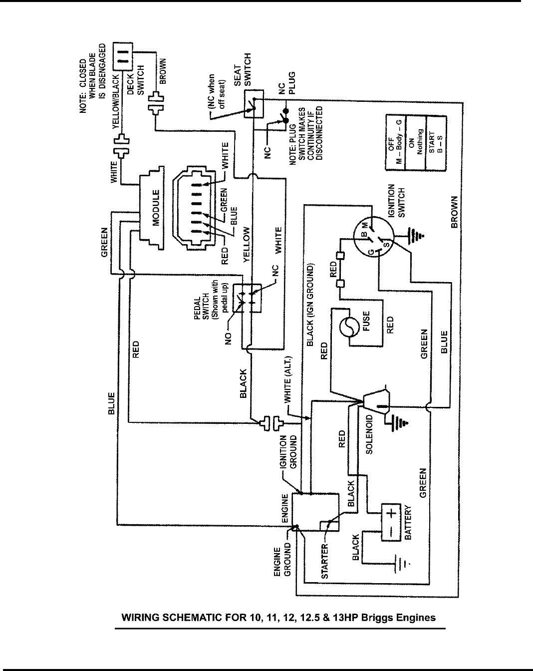
WIRING SCHEMATIC (10, 11, 12, 12.5 & 13 HP Briggs)

Not for
Reproduction
Footnotes:
Manual No. 700627928" & 33" Hi-Vac
SERIES 23 55
WIRING SCHEMATIC (10, 11, 12, 12.5 & 13 HP Briggs)
Part No Descri
p
tionItem Qty
Wiring Schematic incl. harness #'s 7022788, 7073715 & 7028607

Not for
Reproduction
Manual No. 7006279 28" & 33" Hi-Vac
SERIES 23
56
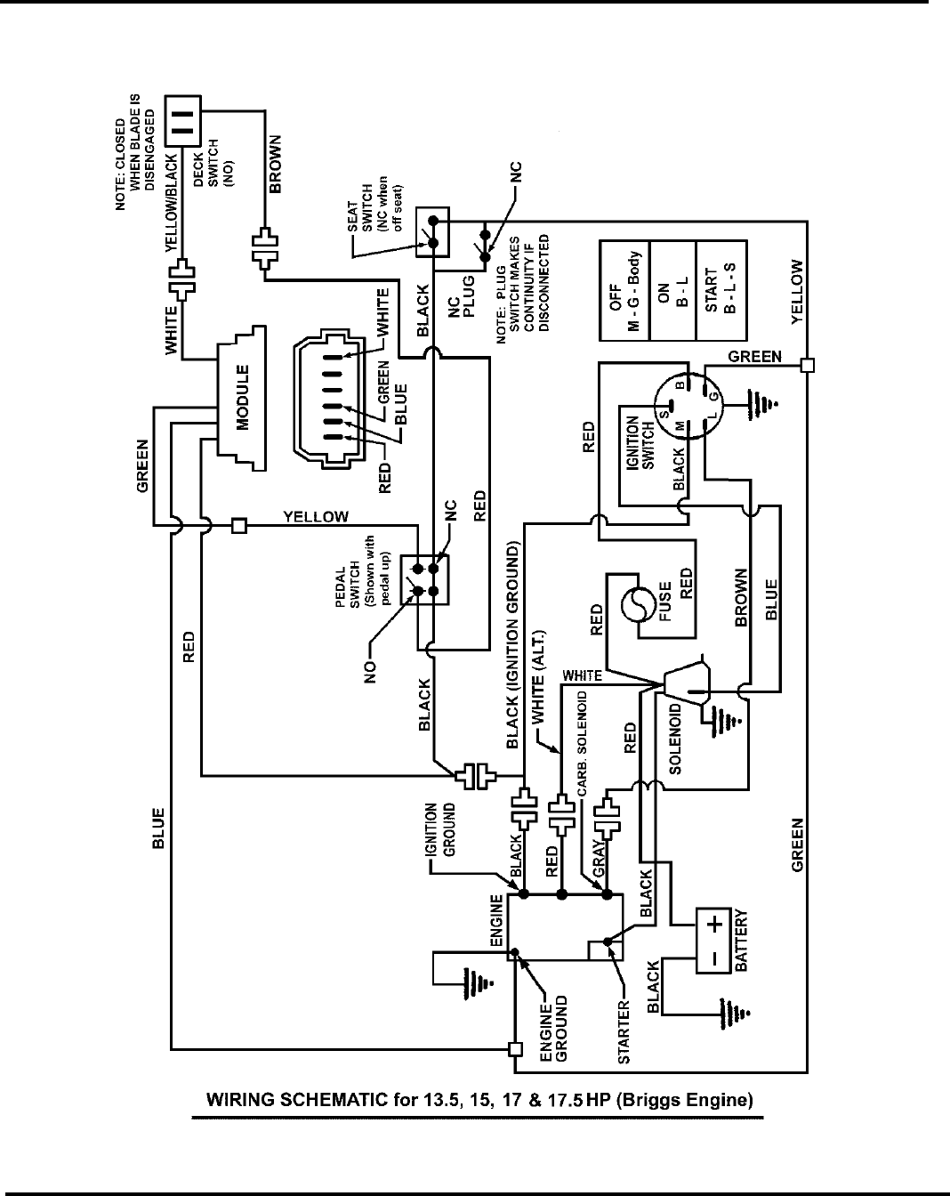
WIRING SCHEMATIC (13.5, 15, 16, 17 & 17.5HP Briggs Engines)

Not for
Reproduction
Footnotes:
Manual No. 700627928" & 33" Hi-Vac
SERIES 23 57
WIRING SCHEMATIC (13.5, 15, 16, 17 & 17.5HP Briggs Engines)
Part No Descri
p
tionItem Qty
Wiring Schematic incl. harness #'s 7022788, 7074406, 7028675 & 7015430

Not for
Reproduction
Manual No. 7006279 28" & 33" Hi-Vac
SERIES 23
58
WIRING SCHEMATIC (11 & 13 HP Honda Engines)

Not for
Reproduction
Footnotes:
Manual No. 700627928" & 33" Hi-Vac
SERIES 23 59
WIRING SCHEMATIC (11 & 13 HP Honda Engines)
Part No Descri
p
tionItem Qty
Wiring Schematic incl. harness #'s 7054589, 7074962, 7028386 & 7074963

Not for
Reproduction
Manual No. 7006279 28" & 33" Hi-Vac
SERIES 23
60
WIRING SCHEMATIC (14 & 15 HP Kohler Engines)

Not for
Reproduction
Footnotes:
Manual No. 700627928" & 33" Hi-Vac
SERIES 23 61
WIRING SCHEMATIC (14 & 15 HP Kohler Engines)
Part No Descri
p
tionItem Qty
Wiring Schematic incl. harness #'s 7019321, 7074405, 7028386 & 7028678

Not for
Reproduction
Manual No. 7006279 28" & 33" Hi-Vac
SERIES 23
62
HARDWARE BAGS

Not for
Reproduction
Footnotes:
Manual No. 700627928" & 33" Hi-Vac
SERIES 23 63
HARDWARE BAGS
Part No Descri
p
tionItem Qty
7063039 1 HARDWARE BAG (Incl. the 17 items below) (for manual start models)
7011024 2 PLUG, 1/2” Cup Insert
7013321 2 BUSHING, Tie Rod
7013849 2 SPACER, .33 x .63 x .156
7013862 1 ROLL PIN, 1/4 x 1-1/2”
7023667 1 FOAM COVER, Steering Shaft
7023671 1 COVER, Steering Shaft
7090372 2 NUT, 1/4-20 Hex Center Lock, GR 5 or B
7091038 4 BOLT, 5/16-18 x 1/2” Hex Flange Nyloc
7091516 2 PIN, 5/32 x 1” Cotter
7090296 1 PIN, 3/16 x 1” Cotter
7090122 2 WASHER, 3/8” Flat SAE
7075018 2 BRACKET, Seat
7091714 4 BOLT, 5/16-18 x 1” Square Neck Carriage, GR 5
7023735 2 KNOB, Seat Adjusting, 5/16-18 thread
7011791 4 RETAINER, 5/16” Bolt
7023354 1 SWITCH, Seat (NC)
7090951 2 NUT, 5/16-18 Hex Large Flange Center Lock
7061872 1 HARDWARE BAG (Includes the 15 items below)
7011024 2 PLUG, 1/2” Cup Insert
7013321 1 BUSHING, Tie Rod
7013849 2 SPACER, .33 x .63 x .156
7013862 1 ROLL PIN, 1/4 x 1-1/2”
7023667 1 FOAM COVER, Steering Shaft
7023671 1 COVER, Steering Shaft
7090372 2 NUT, 1/4-20 Hex Center Lock, GR 5 or B
7091038 2 BOLT, 5/16-18 x 1/2” Hex Flange Nyloc
7091516 2 PIN, 5/32 x 1” Cotter
7090296 1 PIN, 3/16 x 1” Cotter
7090122 1 WASHER, 3/8” Flat SAE
7090913 2 SCREW, #10-24 x 1/2” Hex Washer Self-Tap (Torx)
7023191 2 KNOB, Seat Adjusting (5/16-18 thread)
7028395 2 SPACER, Pivot
7029211 1 SEAT SWITCH, Quick Mount (NC)
7063292 1 HARDWARE BAG (Incl. items 1-12 above & the 6 items below)
7023735 2 KNOB, Seat Adjusting, 5/16-18 thread
7023354 1 SWITCH, Seat (NC)
7075018 2 BRACKET, Seat
7091714 4 BOLT, 5/16-18 x 1” Square Neck Carriage, GR 5
7011791 4 RETAINER, 5/16” Bolt
7090951 2 NUT, 5/16-18 Hex Large Flange Center Lock
7061093 1 HARDWARE BAG (Incl. the 9 items below)
7017176 1 DECAL, Recycling Speeds
7017328 1 DECAL, Height of Recycling Cut

Not for
Reproduction
Manual No. 7006279 28" & 33" Hi-Vac
SERIES 23
64
HARDWARE BAGS

Not for
Reproduction
Footnotes:
Manual No. 700627928" & 33" Hi-Vac
SERIES 23 65
HARDWARE BAGS
Part No Descri
p
tionItem Qty
7022325 1 DECAL, Cut Height
7090001 3 BOLT, 5/16-18 x 3/4” Short Neck Carriage, GR 5
7090188 3 WASHER, 5/16” Flat
7090392 2 SCREW, 1/2-20 x 1” Hex Head Cap, GR 5
7091537 3 WING NUT, 5/16-18 (Was 7090492)
7090509 2 WASHER, 1/2” Internal Tooth Lock
7090559 2 NUT, 1/2-20 Hex Jam

Not for
Reproduction
Manual No. 7006279 28" & 33" Hi-Vac
SERIES 23
66
ACCESSORIES & ATTACHMENTS

Not for
Reproduction
Footnotes:
Manual No. 700627928" & 33" Hi-Vac
SERIES 23 67
ACCESSORIES & ATTACHMENTS
Part No Descri
p
tionItem Qty
7060325 KIT, Drive Disc Puller (used on All RER Aluminum Drive Discs)
7060697 KIT, Dump Cart
1692125 KIT, Dump Cart (10 Cu. Ft.)
7061400 KIT, Gage Wheel (28” & 33”)
7060794 KIT, Gage Wheel (41” & 42”)
7060941 KIT, Single Bag Catcher (25”)
7060942 KIT, Single Bag Catcher (26” & 30”)
7060943 KIT, Single Bag Catcher (28” & 33”)
7060944 KIT, Single Bag Catcher (41” & 42”)
7063281 KIT, Twin Bag Catcher (28” & 33”)
7061414 KIT, Twin Bag Catcher (European 28” & 33”)
7060945 KIT, Twin Bag Catcher (41” & 42”)
7063125 KIT, Clamshell Bagger (28” & 33”)
7060947 KIT, Bag-N-Wagon (28” & 33”)
7060948 KIT, 28” Thatcherizer (used on All series 7 & Newer Models)
7060964 KIT, Wagon Cover (28” & 33”)
7072416 KIT, Front Weight (used on All series 7 & Newer Models)
7060959 KIT, 36” Dozer Blade
7060653 KIT, Tire Chains (16 x 6.50-8 Tires)
7060049 KIT, Tire Chains (16 x 4.50-8 Tires)
7061823 KIT, Ninja Recycling Cover (25”) (includes 7029143 (25” Ninja blade)
7061049 KIT, Recycling Cover (25”) (includes 7016967 (25” mulching blade)
7061253 KIT, Ninja Recycling Cover (28”)
7061254 KIT, Ninja Recycling Cover (30”)
7061255 KIT, Ninja Recycling Cover (33”)
7061987 KIT, Ninja Recycling Cover (41” & 42”)
7061915 KIT, 24” x 36” Tow Behind Poly Lawn Roller

Not for
Reproduction

Not for
Reproduction

Not for
Reproduction

Not for
Reproduction

Not for
Reproduction
Parts Manual fo
r
28" & 33" Hi-Vac
SERIES 23
IT IS THE POLICY OF BRIGGS & STRATTON CORP TO IMPROVE ITS
PRODUCTS WHENEVER IT IS POSSIBLE AND PRACTICAL TO DO SO.
WE RESERVE THE RIGHT TO MAKE CHANGES OR ADD
IMPROVEMENTS AT ANY TIME WITHOUT INCURRING ANY
OBLIGATION TO MAKE SUCH CHANGES ON PRODUCTS
REAR ENGINE RIDER
Revision: B 12/6/2010
Manual No. 7006279
Cop
y
ri
g
ht
©
2010
Milwaukee, WI USA. All Rights Reserved
Bri
gg
s & Stratton Corporation
www.snapper.com
Briggs & Stratton Yard Power Products Group
535 Macon Road
McDonough, GA, 30253 U.S.A.
800-935-2967