Snapper Hwps26700Bv Users Manual 7 5510D
HWPS26700BV 5154583b-bb34-44b9-832a-c4f9b0807ee0
2015-01-24
: Snapper Snapper-Hwps26700Bv-Users-Manual-225319 snapper-hwps26700bv-users-manual-225319 snapper pdf
Open the PDF directly: View PDF
.
Page Count: 29

Safety Instructions & Operator’s Manual for
26” STEEL DECK
HIGH WHEEL
WALK MOWER
SERIES 0
MODEL
HWPS26700BV
MODEL NUMBER EXPLANATION
HW
P S 26
70
0 B V
MODEL DESIGNATION ENGINE OPTIONS
CUTTING WIDTH ENGINE TYPE
ENGINE HP SERIES DESIGNATION
HW - High Wheel Model 26 - 26” Cutting Deck 0 - Series Designation B – Briggs Engine
P - Self-Propelled Machine 70 – 7.0 HP Engine V - Over Head Valve
S - Swivel Front Wheels
Thank you for buying a SNAPPER Product! Before operating your machine, read this manual carefully and pay
particular attention to the “IMPORTANT SAFETY INSTRUCTIONS” on Pages 2 & 3. Remember that all power
equipment can be dangerous if used improperly. Also keep in mind that SAFETY requires careful use in
accordance with the operating instructions and common sense!
COPYRIGHT © 2003
SNAPPER PRODUCTS INC.
ALL RIGHTS RESERVED MANUAL No. 7-5510 (I.R. 7/7/03)

2
IMPORTANT SAFETY INSTRUCTIONS
WARNING: This powerful cutting machine is capable of amputating hands and feet and can throw objects that
can cause injury and damage! Failure to comply with the following SAFETY instructions could result in serious
injury or death to the operator or other persons. The owner of the machine must understand these instructions
and must allow only persons who understand these instructions to operate machine. Each person operating the
machine must be of sound mind and body and must not be under the influence of any substance, which might
impair vision, dexterity or judgment. If you have any questions pertaining to your machine which your dealer
cannot answer to your satisfaction, call or write the Customer Service Department at SNAPPER, McDonough,
Georgia 30253. Phone: (1-800-935-2967).
PROTECTION FOR CHILDREN
Tragic accidents can occur if the operator is not
alert to the presence of children. Children are often
attracted to the machine and the mowing activity.
Never assume that children will remain where you
last saw them.
1. KEEP children out of the mowing area and
under the watchful care of a responsible adult.
2. DO NOT allow children in yard when machine is
operated and turn machine OFF if anyone
enters the area.
3. DO NOT allow pre-teenage children to operate
machine.
4. ALLOW only responsible adults & teenagers
with mature judgment under close adult
supervision to operate machine.
5. DO NOT pull mower backwards unless
absolutely necessary. LOOK and SEE behind
and down for children, pets and hazards before
and while backing.
6. USE EXTRA CARE when approaching blind
corners, shrubs, trees, or other objects that may
obscure vision.
SLOPE OPERATION
1. Slopes are a major factor related to slip and fall
accidents, which can result in severe injury. All
slopes require extra caution. If you feel uneasy
on a slope, DO NOT mow it.
2. Mow across slopes, never up-and-down.
Exercise extreme CAUTION when changing
directions on slopes. DO NOT mow steep
slopes or other areas where stability or traction
is in doubt.
3. Use extra care with grass catchers or other
attachments; these affect the handling and the
stability of the machine.
PREPARATION
1. Read, understand, and follow instructions and
warnings in this manual and on the mower,
engine and attachments. Know the controls and
the proper use of the mower before starting.
2. Only mature, responsible persons shall operate
the machine and only after proper instruction.
PREPARATION
(Continued From Previous Column)
3. Data indicates that operators age 60 and above,
are involved in a large percentage of mower-
related injuries. These operators should
evaluate their ability to operate the mower
safely enough to protect themselves and others
from serious injury.
4. Handle fuel with extra care. Fuels are flammable
and vapors are explosive. Use only an approved
fuel container. DO NOT remove fuel cap or add
fuel with engine running. Add fuel outdoors
only with engine stopped and cool. Clean
spilled fuel and oil from machine. DO NOT
smoke.
5. Check the area to be mowed and remove all
objects such as toys, wire, rocks, limbs and
other objects that could cause injury if thrown
by blade or interfere with mowing. Also note the
location of holes, stumps, and other possible
hazards.
6. Keep people and pets out of the mowing area.
Immediately, STOP Blade, Stop engine and Stop
mower if anyone enters the area.
7. Check shields, deflectors, switches, blade
controls and other safety devices frequently for
proper operation and location.
8. Make sure all safety decals are clearly legible.
Replace if damaged.
9. Protect yourself when mowing and wear safety
glasses, long pants and substantial footwear.
DO NOT mow barefooted or with sandals.
10. Know how to STOP blade and engine quickly in
preparation for emergencies.
11. Use extra care when loading or unloading the
machine into a trailer or truck.
12. Check grass catcher components frequently for
signs of wear or deterioration and replace as
needed to prevent injury from thrown objects
going through weak or torn spots.
SAFE HANDLING OF GASOLINE
To avoid personal injury or property damage, use
extreme care in handling gasoline. Gasoline is
extremely flammable and the vapors are explosive
1. Extinguish all cigarettes, cigars, pipes and other
sources of ignition.
2. Use only an approved fuel container.

3
IMPORTANT SAFETY INSTRUCTIONS
SAFE HANDLING OF GASOLINE
(Continued From Previous Page)
3. DO NOT remove fuel cap or add fuel with the engine
running. Allow the engine to cool before refueling.
4. DO NOT refuel the machine indoors.
5. DO NOT store the machine or fuel container inside
where there is an open flame, spark or pilot light
such as on a water heater or other appliances.
6. DO NOT fill fuel containers inside a vehicle or on a
truck or trailer bed with a plastic liner. Always place
the containers on the ground away from the vehicle
before filling.
7. Remove gas-powered equipment from the vehicle
or trailer and refuel it on the ground. If this is not
possible, then refuel equipment using a portable
container, rather than a gasoline dispenser nozzle.
8. DO NOT start gas powered equipment in enclosed
vehicles or trailers.
9. Keep the nozzle in contact with the rim of the fuel
tank or container opening at all times until fueling is
complete. DO NOT use a nozzle lock-open device
10. If fuel is spilled on clothing, change clothing
immediately.
11. DO NOT overfill a fuel tank. Replace fuel cap and
tighten securely.
OPERATION
1. DO NOT put hands or feet near or under rotating
parts. Keep clear of discharge area while engine is
running.
2. STOP engine when crossing gravel drives, walks, or
roads, and under any conditions where thrown
objects might be a hazard.
3. Mow only in daylight or good artificial light.
4. DO NOT operate mower while under the influence
of alcohol or drugs.
5. After striking a foreign object or if mower vibrates
abnormally, STOP the engine, disconnect and
secure spark plug wire. Inspect the mower for any
damage and repair the damage.
6. DO NOT mow near drop offs, ditches or
embankments. Operator could lose footing or
balance.
7. STAY ALERT for holes and other hidden hazards.
Tall grass can hide obstacles. Keep away from
ditches, washouts, culverts, fences and protruding
objects.
8. DO NOT mow on wet grass. Always be sure of your
footing. Keep a firm hold on the handle and walk,
never run. Slipping could cause injury.
9. DO NOT leave the machine with the engine running.
STOP BLADE and STOP ENGINE before leaving the
operators position for any reason.
10. Before cleaning, repairing or inspecting make
certain engine, blade and all moving parts have
STOPPED. Disconnect and secure spark plug wire
away from plug to prevent accidental starting.
OPERATION
(Continued From Previous Column)
11. STOP engine and wait until the blade comes to
complete STOP before removing grass bag and/or
clearing grass.
12. DO NOT operate mower without the entire grass
catcher or guards in place. DO NOT point discharge
at people, passing cars, windows or doors.
13. Slow down before turning.
14. Watch out for traffic when near or crossing
roadways.
15. DO NOT operate engine in enclosed areas. Engine
exhaust gases contain carbon monoxide, a deadly
poison.
MAINTENANCE AND STORAGE
1. DO NOT store mower or fuel container inside where
fumes may reach an open flame, spark or pilot light
such as in a water heater, furnace, clothes dryer or
other gas appliance. Allow engine to cool before
storing machine in an enclosure. Store fuel
container out of reach of children in a well
ventilated, unoccupied building.
2. Keep mower and engine free of grass, leaves or
excess grease to reduce fire hazard and engine
overheating.
3. When draining fuel tank, drain fuel into an approved
container outdoors and away from open flame.
4. Keep all bolts, especially blade bolts, nuts and
screws properly tight. Check that all cotter pins are
in proper position.
5. Always provide adequate ventilation when running
engine. Engine exhaust gases contain carbon
monoxide, a deadly poison.
6. Service engine and make adjustments only when
engine is stopped. Removed spark plug wire from
spark plug and secure wire away from spark plug to
prevent accidental starting.
7. DO NOT change engine governor speed settings or
overspeed engine.
8. Check grass bag assembly frequently for wear or
deterioration to avoid thrown objects and exposure
to moving parts. Replace with new bag if loose
seams or tears are evident. Replace slider or bag
adapter if broken or cracked.
9. Mower blades are sharp and can cut. Wrap the
blades or wear heavy leather gloves and use
CAUTION when handling them.
10. DO NOT test for spark by grounding spark plug
next to spark plug hole; spark plug could ignite gas
exiting engine.
11. Have machine serviced by an authorized SNAPPER
dealer at least once a year and have the dealer
install any new safety devices.
12. Use only genuine SNAPPER replacement parts to
assure that original standards are maintained.
4
TABLE OF CONTENTS
IMPORTANT SAFETY INSTRUCTIONS ........................................................................2-3
TABLE OF CONTENTS ..................................................................................................... 4
SECTION 1 - FAMILIARIZATION ...................................................................................... 5
SECTION 2 - OPERATING INSTRUCTIONS .................................................................6-9
Pre-start Checklist......................................................................................................... 6
Starting & Stopping Engine & Blades ...................................................................... 6-7
Starting & Stopping Wheel Drive ................................................................................. 7
Handle Height Adjustment............................................................................................ 8
Cutting Height Adjustment .......................................................................................... .8
Swivel Wheel Lock and Unlock.................................................................................... 9
Recycling Operation...................................................................................................... 9
SECTION 3 - MAINTENANCE INSTRUCTIONS ........................................................ 10-11
Service – After First 5 Hours....................................................................................... 10
Change Engine Oil.................................................................................................... 10
Service Engine.......................................................................................................... 10
Grease Front Caster Bushings ............................................................................... 10
Grease Deck / Blade Spindle................................................................................... 10
Check Blade Brake................................................................................................... 10
Check Engine to Deck Belt...................................................................................... 10
Check Wheel Drive Belts ......................................................................................... 10
Check Mower Blade ................................................................................................. 11
Check Wheel Drive Control ..................................................................................... 11
Service – Every 25 Operating Hours.......................................................................... 11
Service - Annually ....................................................................................................... 11
Engine........................................................................................................................ 11
Air Filter..................................................................................................................... 11
Engine Oil.................................................................................................................. 11
Storage Procedure....................................................................................................... 11
SECTION 4 - ADJUSTMENTS AND REPAIR............................................................. 12-18
Mower Blade Replacement ......................................................................................... 12
Blade Sharpening ........................................................................................................ 12
Wheel Drive Control Adjustment................................................................................ 13
Driven Disc Service ..................................................................................................... 13
Cleaning Drive Disc and Driven Disc ..................................................................... 13
Drive Spring Repair/Replacement .......................................................................... 13
Driven Disc Adjustment........................................................................................... 14
Replacing Driven Disc Rubber Ring....................................................................... 15
Replacing Bearing in Driven Disc........................................................................... 15
Replacement of Bearing on Pulley End of Hex Shaft ........................................... 16
Wheel Drive Belt Service............................................................................................. 16
Engine to Drive Disc Belt Replacement ................................................................. 16
Transmission Poly-V Belt Tension Adjustment ................................................... 16
Transmission Poly-V Belt Replacement................................................................. 17
Engine To Deck Belt Tension Adjustment............................................................. 17
Engine to Deck Belt Replacement .......................................................................... 17
Blade Brake Adjustment ............................................................................................. 18
TROUBLESHOOTING ..................................................................................................... 19
SERVICE SCHEDULE...................................................................................................... 20
WARRANTY & PRODICT REGISTRATION ............................................................... 21-22
PRIMARY MAINTENANCE ......................................................................................... 23-26

5
Section 1 - FAMILIARIZATION
FIGURE 1.1
1.1 INTRODUCTION
This manual has been prepared for the operators of the
SNAPPER WALK BEHIND MOWERS. Its purpose,
aside from recommending operating and routine service
requirements, is to promote safety through the use of
accepted operating practices. Read, Understand and
Follow the “IMPORTANT SAFETY INSTRUCTIONS” on
Pages 2 & 3 of this manual and all safety messages on
the mower and attachments before operating the mower.
IMPORTANT: This machine is equipped with a blade
brake clutch (BBC). The engine can be started and
operated without engaging the blade. The blade can
be disengaged (stopped) without stopping engine.
1.2 NOMENCLATURE
The nomenclature drawing above, Figure 1.1, shows the
essential parts of the SNAPPER WALK BEHIND
MOWERS. It is recommended that all operators of the
mower become thoroughly familiar with the controls,
parts and operation of the mower before operating.
Specific details involving the engine are found in the
separate engine owner’s manual. Study these manuals
before operating and keep both handy for future
reference.
BLADE CONTROL
WHEEL
DRIVE
CONTROL
ENGINE SPEED CONTROL
GROUND SPEED CONTROL
SWIVEL WHEEL
LOCK CONTROL
REAR HEIGHT
ADJUSTMENT
LEVER
FUEL TANK
DEFLECTOR
ENGINE OIL
DIP STICK

6
Section 2 - OPERATING INSTRUCTIONS
2.1 PRE-START CHECK LIST
Familiarize yourself with all controls, instructions and
warnings on this machine before attempting to operate it.
Know how to stop the wheel drive, stop the blade and stop
the engine before starting the engine. Make the following
checks and perform the service required before each start-
up. 2.1.1. Check guards, deflectors, grass bag, adapter
and covers to make sure all are in place and securely
tightened.
2.1.2. Check blade control and wheel drive control to
insure they work freely. See Figure 2.1.
FIGURE 2.1
2.1.3. Check cutting height. Adjust to desired height.
2.1.4. Check engine oil and add oil as needed to bring
level up to the full mark. Refer to Engine Owner’s
Manual for oil specifications. See Figure 2.2.
FIGURE 2.2
2.1.5. Add fuel to tank after pushing the mower
outside where fumes can safely dissipate. Make sure
cap is tightened after refueling. Refer to Engine
Owners Manual for specifications.
2.1.6. Clean exterior surfaces of cutting deck and
engine of any accumulation of spilled fuel, dirt, grass,
oil, etc. Keep engine air intake screen and cooling
fins clear at all times.
WARNING
DO NOT leave machine with engine running.
DO NOT place your hands or feet near the blade
while the engine is running!
DO NOT attempt any adjustments, maintenance or
service with engine running. STOP blade.
STOP engine.
DO NOT park machine on slopes.
2.2 STARTING & OPERATION
2.2.1. TO START ENGINE:
1. First, complete Pre-Start Check List.
2. Move engine speed control to the “choke” position.
See Figure 2.3. Refer to Familiarization Page.
IMPORTANT: Blade control must be in the released
“OFF/DISENGAGED” position. DO NOT attempt to start
the engine with the blade control engaged. Stop the blade
by releasing the blade control. Stop the engine by moving
the engine speed control to the stop position.
FIGURE 2.3
(Continued on Next Page)
WHEEL DRIVE
CONTROL
BLADE CONTROL
ADD FUEL TO
FUEL TANK
CHECK ENGINE
OIL
ENGINE
SPEED
CONTROL
FAST
(RABBIT)
POSITION SLOW
(TURTLE)
POSITION
STOP
ENGINE
POSITION
CHOKE
POSITION

7
Section 2 - OPERATING INSTRUCTIONS
2.2 STARTING & OPERATION
2.2.1. TO START ENGINE
(Continued From Previous Page)
3. Stabilize the machine by placing your left foot on
the left rear wheel. Machine should be on flat
surface where footing is secure.
4. Pull rope start handle to crank engine. Guide
rope back into engine. DO NOT let it snap back.
5. After engine starts, move engine speed control
away from the choke position to the “Fast” (Rabbit)
position. See Figure 2.3.
6. Allow a brief warm-up until engine runs smooth.
2.2.2. BLADE
NOTE: The blade control requires two motions to
engage the blade.
1. To engage blade, Lift up on the blade control.
While lifting up, pull blade control back against
handle. Blade will engage (rotate). See Figure 2.4.
2. Stop blade by releasing blade control.
FIGURE 2.4
2.2.3. PROPELLING MOWER (WHEEL DRIVE)
1. Move ground speed control to the desired speed
position. See Figure 2.5.
2. Move wheel drive control against handle to
engage wheel drive and propel mower forward.
Forward speed can be adjusted while the mower is
moving by changing position of the ground speed
control. See Figure 2.5.
3. Stop wheel drive by releasing the wheel drive
control.
FIGURE 2.5
2.3 STOPPING
2.3.1. WHEEL DRIVE
Stop wheel drive by releasing wheel drive control.
Engine and blade will continue to operate when
wheel drive control is released.
2.3.2. BLADE
Stop blade by releasing blade control. Engine will
continue to operate when blade control is released.
The engine and the wheel drive can be operated
with the blade disengaged (OFF).
WARNING
The blade should come to a complete stop in 3
seconds or less after the blade control is released. If
the blade continues to rotate after 3 seconds, the
blade brake must be adjusted. DO NOT operate
machine if blade brake is not functioning properly.
2.3.3. ENGINE
Stop the engine by moving the engine speed control
back to the STOP position.
WARNING
DO NOT leave machine with engine running. STOP
blade. STOP engine. DO NOT park machine on
slopes.
WHEEL
DRIVE
CONTROL
(OFF)
RELEASED
DISENGAGED
POSITION
(ON)
ENGAGED
POSITION
GROUND SPEED
CONTROL
BLADE
CONTROL
PULL BLADE
CONTROL UP
& THEN BACK
TO HANDLE
TO ENGAGE

8
Section 2 - OPERATING INSTRUCTIONS
WARNING
DO NOT attempt any adjustments, maintenance or
service with the engine or blade running. STOP
blade. STOP engine. Remove spark plug wire from
spark plug and secure wire away from spark plug.
Engine and components can be extremely hot. Avoid
burns by allowing engine and components sufficient
time to cool.
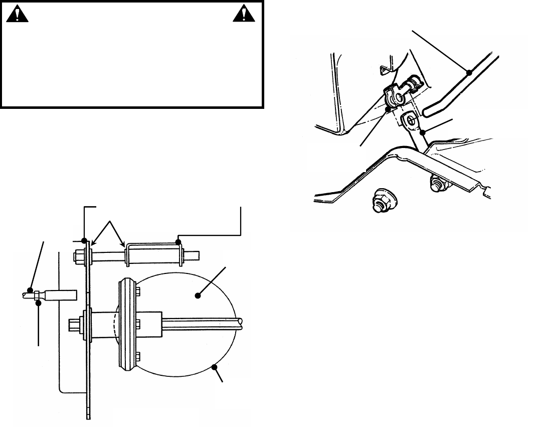
2.4 HANDLE HEIGHT ADJUSTMENT
The height of the mower handle can be adjusted as
follows:
1. Loosen the nuts on each lower handle bracket as
shown in Figure 2.6.
FIGURE 2.6
2. Move upper handle up or down until the desired
position is achieved.
3. Tighten the lower nuts securely (12 to 22 ft. lbs.)
on each lower handle bracket to maintain desired
position.
2.5 CUTTING HEIGHT ADJUSTMENT
(Rear Wheels)
1. Pull the rear height adjusting latch outward and
move to desired cutting height. See Figure 2.7.
FIGURE 2.7
2.5 CUTTING HEIGHT ADJUSTMENT
(Front Wheels)
2. Remove hair pin and clevis pin. Install pin in
highest hole for lowest cutting height and lowest
hole for highest cutting height. See Figure 2.8.
FIGURE 2.8
MOVE DOWN OR
UP TO DESIRED
CUTTING HEIGHT
CUTTING HEIGHT REAR
ADJUSTING LATCH
MOVE
OUTWARD
LOWEST
CUTTING
HEIGHT
HIGHEST
CUTTING
HEIGHT
LOWER
HANDLE
BRACKET
MOVE HANDLE
UP OR DOWN
TO DESIRED
POSITION
LOOSEN BOTH
NUTS REMOVE HAIR PIN
& CLEVIS PIN.
MOVE UP OR DOWN
TO DESIRED
CUTTING HEIGHT.
REINSTALL HAIR
PIN & CLEVIS PIN.

9
Section 2 - OPERATING INSTRUCTIONS
WARNING
Cutting on slopes is dangerous. Exercise extreme
caution. Loss of footing can result in serious injury.
Cut across slopes - never up and down. Practice on
slopes with blade off.
2.6 SWIVEL WHEEL LOCK and UNLOCK
IMPORTANT: Engage the lock on the swivel wheel to
maintain better control of machine when operating on
slopes.
1. Stand in the operator’s position. Push machine
forward until swivel wheel is positioned in the
forward direction. Wheel must be positioned in a
forward direction to engage swivel wheel lock.
2. Push wheel lock lever forward to lock swivel
wheel in place. Swivel wheel will stay in the forward
direction position. See Figure 2.9.
3. Pull wheel lock lever rearward to unlock swivel
wheel. In the unlocked position, the swivel wheel
will rotate 360 degrees.
FIGURE 2.9
2.7 RECYCLING OPERATION (OPTIONAL)
Recycling operation requires an optional accessory.
Contact your local Snapper dealer for details.
NOTE: For best recycling results, cut up to a maximum
of 1/3 of grass blade length and recycle ONLY when
grass is dry.
1. Set all wheels in the highest cutting position
(Notch 6).
2. Move engine speed control to “FAST” (Rabbit)
position.
3. Move ground speed control to slowest speed
setting.
4. Proceed mowing slowly. If grass is very dense,
lower each rear wheel latch one notch lower than
the front wheel to improve recycling performance.
SWIVEL
WHEEL IN
LOCKED
POSITION
SWIVEL
WHEEL LEVER
IN UNLOCKED
POSITION
SWIVEL WHEEL
LOCK LEVER
SWIVEL LOCK
SHOWN IN
LOCKED
POSITION
PUSH LEVER
FORWARD TO LOCK

10
Section 3 - MAINTENANCE
3.1 INTRODUCTION
To retain the quality of the mower, use genuine
SNAPPER replacement parts only. Contact a local
SNAPPER dealer for parts and service assistance.
For the correct part or information for a particular
mower, always mention model and serial number.
WARNING
DO NOT attempt any adjustments, maintenance or
service with the engine or blade running. STOP
blade. STOP engine. Remove spark plug wire from
spark plug and secure wire away from spark plug.
Engine and components can be extremely hot. Avoid
burns by allowing engine and components sufficient
time to cool.
3.2 SERVICE - AFTER FIRST 5 HOURS
3.2.1. CHANGE ENGINE OIL
The easiest and cleanest method to drain the engine
oil requires the machine to be tipped, RIGHT side
up. The oil can then be quickly drained from the
engine oil filler tube. Tipping the machine can
produce fuel leakage. To avoid the fire and
explosion hazards of spilled fuel the tank must be
empty or carefully drained before tipping machine.
WARNING
Before tipping machine, run engine until fuel tank is
empty or drain fuel tank. Fuels are flammable and
vapors are explosive. When draining fuel tank, drain
fuel into an approved container outdoors and away
from open flame and all sources of ignition.
1. Run engine until fuel tank is empty or drain fuel
tank. When cool, remove spark plug wire from spark
plug and secure away from spark plug.
2. Tip machine with right side of machine up.
3. Place shallow 2 quart drain pan below the oil dip
stick cap.
4. Remove dip stick and allow engine oil to drain
into pan.
5. Move pan so that it is below the engine oil filter.
6. Remove oil filter and allow oil to drain into pan.
7. Install new oil filter. Refer to Engine Operator’s
manual for specifications.
8. Place machine back on four wheels.
9. Fill engine crankcase to proper level. Refer to
Engine Operator’s manual for proper oil
specifications.
10. Install dip stick and tighten cap.
11. Dispose of drained oil properly.
12. Attach spark plug wire to spark plug.
NOTE: Wipe up any spilled oil off machine before
operating.
3.2.2. SERVICE ENGINE
Service engine air cleaner. Refer to engine owner’s
manual for proper air filter specification and
maintenance procedure.
3.2.3. GREASE FRONT CASTER BUSHINGS
Grease front caster bushing with three shots of general
purpose grease from a grease gun.
3.2.4. GREASE DECK/BLADE SPINDLE
Grease deck/blade spindle with three shots of general
purpose grease from a grease gun.
WARNING
The blade should come to a complete stop in 3
seconds or less after the blade control is released. If
the blade continues to rotate after 3 seconds, the
blade brake must be adjusted. DO NOT operate
machine if blade brake is not functioning properly.
3.2.5. CHECK BLADE BRAKE
Check blade brake for proper function. Blade should
stop in 3 seconds or less after releasing blade control.
Refer to Section “BLADE BRAKE ADJUSTMENT” in
this manual for adjustment procedure.
3.2.6. CHECK ENGINE to DECK BELT
Visually check engine to deck belt for cracking,
fraying, severed or belt strands exposed. Replace belt
before operating mower. Verify proper belt tension.
Refer to Section "ENGINE TO DECK BELT SERVICE"
in this manual for belt tension adjustment and engine to
deck belt replacement.
3.2.7. CHECK WHEEL DRIVE BELTS
Visually check belts for cracking, fraying, severed or
belt strands exposed. Replace belts before operating
mower. Verify proper belt tension. Refer to Section
“WHEEL DRIVE BELT SERVICE" for belt tension
adjustment and wheel drive belt replacement
instructions.
(Continued on Next Page)

11
Section 3 - MAINTENANCE
WARNING
DO NOT attempt any adjustments, maintenance or
service with the engine or blade running. STOP
blade. STOP engine. Remove spark plug wire from
spark plug and secure wire away from spark plug.
Engine and components can be extremely hot. Avoid
burns by allowing engine and components sufficient
time to cool. Wear heavy leather gloves when
handling or working around cutting blades. Blades
are extremely sharp and can cause severe injury.
3.2 SERVICE - AFTER FIRST 5 HOURS
(Continued From Previous Page)
3.2.8. CHECK MOWER BLADE
1. Disconnect spark plug wire and secure end away
from plug.
2. Tilt mower up on its rear wheels for access to
the blade bolts. Do not tilt mower with spark plug or
carburetor down. See Figure 3.1.
3. Check torque of blade retaining bolts.
Recommended torque is 30 to 40 ft. lbs. See Figure
3.3.
4. Check blade for sharpness, wear and damage. See
Section on Blade Wear Limits.
FIGURE 3.1
3.2.9. CHECK WHEEL DRIVE CONTROL
The wheel drive requires periodic adjustment to
maintain belt tension and proper wheel drive
function. The adjustment is accomplished through
the spring attached to the end of the wheel drive
control cable. Refer to Section “WHEEL DRIVE
CONTROL ADJUSTMENT” for the procedure to
perform this adjustment.
3.3 SERVICE – EVERY 25 OPERATING HOURS
Perform all service described in Section “SERVICE –
AFTER FIRST 5 HOURS", and all maintenance required
in “Service Schedule”.
3.4 SERVICE - ANNUALLY
Perform all maintenance as described in the
maintenance schedule.
3.4.1. Engine
Service engine according to engine owner’s manual.
3.4.2. Air Filter
Refer to engine owner’s manual for service instructions.
3.4.3. Engine Oil
Refer to engine owner’s manual for service
instructions.
3.5 STORAGE PROCEDURE
Refer to the Engine Owner’s Manual for directions
regarding engine storage preparations. Prepare the
mower for “End of Season” storage as follows:
1. Drain fuel from fuel tank and let engine run until all
fuel is out of the carburetor. Turn fuel valve off.
2. Disconnect and remove the spark plug wire
away from spark plug before any other
preparations are made!
3. Tape all openings closed to prevent spraying water
into exhaust or air intakes during washing.
4. Tilt mower up on its rear wheels and thoroughly
clean the underside of the deck. Do not tilt mower with
spark plug or carburetor down. Scrape away any
accumulation of grass with a putty knife and or wire
brush.
5. Lubricate all exposed metal with a light coating of oil
to prevent corrosion.
CHECK TORQUE OF BLADE BOLTS

12
Section 4 - REPAIR & ADJUSTMENTS
WARNING
DO NOT attempt any adjustments, maintenance or
service with the engine or blade running. STOP
blade. STOP engine. Remove spark plug wire from
spark plug and secure wire away from spark plug.
Engine and components can be extremely hot. Avoid
burns by allowing engine and components sufficient
time to cool. Wear heavy leather gloves when
handling or working around cutting blades. Blades
are extremely sharp and can cause severe injury.
4.1 MOWER BLADE REPLACEMENT
4.1.1. STANDARD BLADE WEAR LIMIT
1. Inspect blade frequently for signs of excessive wear
or damage. See Figure 4.1.
FIGURE 4.1
2. Replace the blade if it is badly chipped, bent,
noticeably out of balance or has cracks or notch in
either tip. See Figure 4.1. Replace with new blade.
WARNING
DO NOT use a cutting blade that shows signs of
excessive wear or damage. Refer to Section
“MOWER BLADE REPLACEMENT” for proper blade
inspection and service procedures.
4.1.2. BLADE SHARPENING
1. Disconnect spark plug wire and secure end away
from plug.
2. Tilt mower up on its rear wheels. Do not tilt
mower with spark plug or carburetor down.
3. Remove blade. See Figure 4.2.
FIGURE 4.2
4. Sharpen blade on a grinding wheel at an angle of
22 to 28 degrees. DO NOT sharpen beyond original
cutting edge. See Figure 4.3.
FIGURE 4.3
5. Check blade for balance. If necessary, correct
balance by grinding heavy end of blade.
6. Reinstall blade. See Figure 4.2. Check torque of
blade retaining bolts. Recommended torque should be
30 to 40 ft. lbs.
WEAR LIMIT
(NOTCH STARTS)
NEW
BLADE
DANGEROUS CONDITION!
DO NOT USE ON MOWER!
REPLACE WITH NEW BLADE.
REMOVE BLADE
RETAINING
BOLTS TO
REMOVE BLADE
DO NOT SHARPEN BEYOND
ORIGINAL CUTTING EDGE
END VIEW
OF BLADE
ORIGINAL CUTTING EDGE
22
°
To 28
°

13
Section 4 - REPAIR & ADJUSTMENTS
WARNING
DO NOT attempt any adjustments, maintenance or
service with the engine or blade running. STOP
blade. STOP engine. Remove spark plug wire from
spark plug and secure wire away from spark plug.
Engine and components can be extremely hot. Avoid
burns by allowing engine and components sufficient
time to cool. Wear heavy leather gloves when
handling or working around cutting blades. Blades
are extremely sharp and can cause severe injury.
4.2 WHEEL DRIVE CONTROL ADJUSTMENT
IMPORTANT: There should always be some slack in
the wheel drive control cable when the wheel drive
control is released.
The Wheel Drive Control requires periodic
adjustment to maintain proper belt tension on the
transmission poly-v belt. Verify proper tension by
checking the extension of the spring located at the
end of the wheel drive control cable.
1. Stop engine and allow sufficient time to cool.
2. Engage wheel drive control. The length of the
spring located at the end of the drive control cable
should increase between ½” and ¾”. See Figure 4.4.
If the spring does not increase between ½” and ¾”,
adjustment is required.
3. To adjust the amount the spring extends (belt
tension) slide the black spring cover up to expose
the spring. Unhook the cable eyelet from the spring.
4. Grip the hook on the spring and turn either
Clockwise or Counter-clockwise. Clockwise
increases spring extension and belt tension
Counter-clockwise decreases spring extension and
belt tension.
5. Attach the control cable eyelet to the spring and
recheck spring extension. If spring extension is
correct slide the spring cover down over the spring.
Start engine, and with blade control released (blade
stopped) verify the wheel drive functions properly. If
spring extension is not correct turn spring
Clockwise / Counter-clockwise.
6. If drive problems persist after adjusting the spring
extension Refer to Section “TROUBLESHOOTING”
of this manual or contact your local Snapper Dealer
for assistance.
FIGURE 4.4
4.3 DRIVEN DISC SERVICE
Note: Slippage may be due to improper adjustment
of clutch cable, worn belts, oily belts or broken
springs. If the mower does not propel itself properly,
check for the following problems:
1. Grease & oil on drive disc causing slippage.
2. Broken or disconnected drive spring.
3. Driven disc is out of adjustment.
4. Driven disc rubber ring is worn - does not contact
drive disc properly.
5. Worn Poly-V Belt or engine drive belt.
NOTE: If any of the above (1 thru 5) are causing
problems, service as follows:
4.3.1. Cleaning Drive Disc & Driven Disc.
If oil or grease on the drive disc or driven disc is
causing slippage, clean discs as follows:
1. Wipe away any oil or grease with a clean cloth.
2. Use either an approved grease solvent or hot,
soapy water to clean drive disc or driven disc.
3. Rinse components with clean water.
4. Dry components with a clean cloth.
4.3.2. Drive Spring Repair/Replacement
If drive spring is disconnected, reinstall onto thrust
plate. If spring is broken, replace with new spring.
WHEEL DRIVE
CONTROL CABLE
THERE SHOULD BE SOME
SLACK IN CABLE.
NOTE: GAP BETWEEN CABLE
EYELET & SPRING HOOK.

14
Section 4 - REPAIR & ADJUSTMENTS
WARNING
DO NOT attempt any adjustments, maintenance or
service with the engine or blade running. STOP
blade. STOP engine. Remove spark plug wire from
spark plug and secure wire away from spark plug.
Engine and components can be extremely hot. Avoid
burns by allowing engine and components sufficient
time to cool.
4.3.3. DRIVEN DISC ADJUSTMENT
The driven disc position is set at the factory and
should not require adjustment. The proper
adjustment is displayed in Figure 4.5. If adjustment
is required proceed as follows.
1. Loosen jam nut from ball joint on transfer rod.
FIGURE 4.5
2. Remove transfer rod retaining clip. See Figure
4.6.
FIGURE 4.6
3. Remove driven disc spring.
4. Place ground speed control in the 1st speed
position.
5. The thrust plate and deck bracket should touch in
1st gear.
6. Adjust transfer rod by rotating clockwise or
counter-clockwise as needed until it will just slide
into hole on ground speed control rod.
7. Attach transfer rod to speed control rod and
install retaining clip.
8. Tighten jam nut on transfer rod ball joint.
9. Attach spring to thrust plate.
(SHOWN IN 6
th
)
GROUND SPEED
CONTROL ROD
RETAINING
CLIP
TRANSFER ROD
TRANSFER
ROD
LOOSEN
JAM NUT
DRIVE
DISC
OUTER
EDGE
THRUST PLATE AND DECK BRACKET
SHOULD TOUCH IN 1st GEAR.

15
Section 4 - REPAIR & ADJUSTMENTS
WARNING
DO NOT attempt any adjustments, maintenance or
service with the engine or blade running. STOP
blade. STOP engine. Remove spark plug wire from
spark plug and secure wire away from spark plug.
Engine and components can be extremely hot. Avoid
burns by allowing engine and components sufficient
time to cool.
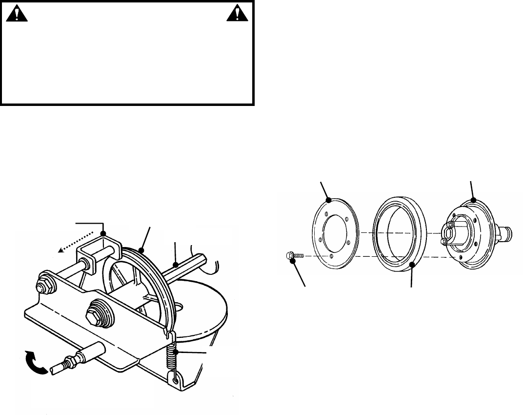
4.3.4. Replacing Driven Disc Rubber Ring
If the rubber ring is badly chunked or worn down to
within 1/16” of the metal rim of the driven disc hub,
it must be replaced.
1. Remove the clip from the transfer rod. Then
remove the transfer rod from the clip and the speed
control rod and swing rod towards driven ring. See
Figure 4.7.
FIGURE 4.7
2. Remove belt guide for the engine to deck belt.
3. Unhook the driven disc spring and slide the
driven disc assembly off the hex shaft. See Figure 4.7.
4. Remove the five machine screws and plate that
secures the rubber ring to the driven disc hub. See
Figure 4.8.
5. Install new rubber ring.
6. Reverse above procedures for reassembly and
installation.
NOTE: When reinstalling belt guide, position the guide
1/8” from belt with belt in the engaged position.
4.3.5. Replacing Bearing In Driven Disc
If the driven disc bearing fails, remove the driven
disc assembly and replace bearing as follows:
1. Remove snap ring.
2. Slide the hub assembly out of the bearing.
3. Remove the four screws.
4. Remove bearing and replace with new bearing.
5. Reassemble components in reverse order.
FIGURE 4.8
SLIDE
ASSEMBLY OFF
DRIVEN DISC
HUB
MACHINE SCREW
PLATE
RUBBER RING
DRIVEN RING
HEX SHAFT
UNHOOK
SPRING
SWING TRANSFER ROD
TOWARD DRIVEN RING

16
Section 4 - REPAIR & ADJUSTMENTS
WARNING
DO NOT attempt any adjustments, maintenance or
service with the engine or blade running. STOP
blade. STOP engine. Remove spark plug wire from
spark plug and secure wire away from spark plug.
Engine and components can be extremely hot. Avoid
burns by allowing engine and components sufficient
time to cool.
4.3.6. Replacement Of Bearing On Pulley End Of
Hex Shaft
To replace the bearing on the pulley end of the hex
shaft, proceed as follows:
1. Hold the hex shaft with an adjustable wrench
held next to the pulley.
2. Remove the 3/8” hex lock nut, which is located
on the outside of the right wheel bracket. See
Figure 4.10.
3. Remove holder, O-ring and bearing.
4. Install new bearing.
5. Carefully install new O-ring over the outside of the
new bearing.
6. Install bearing holder and secure with screws.
7. Install 3/8” hex lock nut.
FIGURE 4.10
4.4. WHEEL DRIVE BELT SERVICE
On this machine, the engine belt transmits power from
the engine to the drive disc. The drive disc powers the
poly-v belt, which engages the transmission that
powers the rear wheels. Should these belts become
worn, they could cause slippage. The condition of the
engine belt and poly-v belt should be checked after
every 25 hours of mower operation.
4.4.1. Engine to Drive Disc Belt Replacement
1. Empty the fuel tank.
2. Unhook the idler spring and driven disc spring.
See Figure 4.7.
3. Roll belt off of engine pulley
4. Remove belt from drive disc pulley groove and slide
underneath driven disc
5. Reverse procedure to install new belt.
NOTE: The engine to drive disc belt does not require
tension adjustment.
4.4.2. Transmission Poly-V Belt Tension
Adjustment (Wheel Drive Control)
The transmission poly-v belt is tensioned by the
spring on the end of the wheel drive control cable.
Engaging the wheel drive control extends the spring
applying tension to the belt, causing the drive to
propel the mower. When engaged the spring should
extend between ½” & ¾”. If extension falls out of
this range adjustment is required. Refer to Section
“WHEEL DRIVE CONTROL ADJUSTMENT” for the
procedure.
REMOVE
BOLTS
REMOVE
BEARING
RETAINER

17
Section 4 - REPAIR & ADJUSTMENTS
WARNING
DO NOT attempt any adjustments, maintenance or
service with the engine or blade running. STOP
blade. STOP engine. Remove spark plug wire from
spark plug and secure wire away from spark plug.
Engine and components can be extremely hot. Avoid
burns by allowing engine and components sufficient
time to cool.
4.4.3. Transmission Poly-V Belt Replacement
1. Remove the driven disc. Refer to Section
“REPLACING DRIVEN DISC RUBBER RING” for
procedure.
2. Note the routing of the old belt around the three
pulleys before removing it. See Figure 4.11.
FIGURE 4.11
3. Remove poly-v belt from transmission pulley by
turning belt sideways and slipping between nut and
differential bracket.
4. Slip belt off of belt idler.
5. Remove belt from hex shaft pulley.
6. Place new Poly-V Belt over end of hex shaft and
onto driven pulley.
7. Work belt onto top of idler pulley.
8. Twist belt sideways and pull it upward between
the differential bracket and drive pulley and then
down into the pulley groove. Make sure the Poly-V
Belt is above belt guide.
4.5 Engine To Deck Belt Service
4.5.1. Engine To Deck Belt Tension Adjustment
The engine to deck belt transmits power from the
engine to blade. This belt during normal service will
require periodic tension adjustment.
1. Remove spindle cover.
2. Locate blade control spring. See Figure 4.12.
3. With engine off, engage blade control. The length
of the spring should increase by 1/4" to 3/8" for
proper belt tension.
4. To obtain proper tension, turn the thumb screw
located on the upper left handle until the spring
extension is 1/4" to 3/8".
5. Install spindle cover.
4.5.2. Engine to Deck Belt Replacement
1. Remove the engine to drive disc belt as
described in Section on Wheel Drive Belt Service.
2. Remove spindle cover.
3. Remove belt from spindle pulley.
4. Loosen idler pulley and remove belt from
between guide and idler pulley.
5. Remove drive disc belt from engine pulley.
6. Remove deck belt from engine pulley.
7. Reverse to install new belt.
NOTE: Check to make sure belt is routed inside the
belt guides. Verify proper belt tension by engaging
blade control. Adjust thumb screw until spring is
extended 1/4” to 3/8”.
FIGURE 4.12
TRANSMISSION
POLY-V BELT
HEX SHAFT PULLEY
DIFFERENTIAL
BRACKET
BLADE CONTROL
ADJUSTING WHEEL
BLADE CONTROL
SPRING
1/4” TO 3/8” EXTENDED

18
Section 4 - REPAIR & ADJUSTMENTS
WARNING
DO NOT attempt any adjustments, maintenance or
service with the engine or blade running. STOP
blade. STOP engine. Remove spark plug wire from
spark plug and secure wire away from spark plug.
Engine and components can be extremely hot. Avoid
burns by allowing engine and components sufficient
time to cool.
WARNING
DO NOT use machine if blade brake does not
function properly.
4.6 BLADE BRAKE ADJUSTMENT
The blade should come to a complete stop in 3
seconds or less after releasing the blade control. If
the blade continues to rotate after 3 seconds
perform the following adjustment.
1. Remove spindle cover.
2. Rotate blade brake eye bolt nut one full turn
CLOCKWISE to increase brake tension. See Figure
4.13.
3. Recheck blade stop time. If blade continues to
rotate after 3 seconds turn eye bolt nut an additional
one full turn CLOCKWISE.
4. Recheck blade stop time. If still over 3 seconds—
DO NOT OPERATE MACHINE. Contact an
authorized Snapper dealer for assistance.
5. Reinstall deck cover.
IMPORTANT: DO NOT turn eye bolt nut more than
two turns. Over tightening brake can cause damage to
other components and improper function of blade belt
drive.
FIGURE 4.13
BLADE
BRAKE
BLADE BRAKE
EYEBOLT
ROTATE NUT: CLOCKWISE TO
INCREASE BRAKE TENSION

19
TROUBLESHOOTING
PROBLEM PROBABLE CAUSE CORRECTIVE ACTION
Engine Will Not Start
1. Fuel tank empty or fuel valve OFF. 1. Fill fuel tank with fresh fuel. Turn valve ON.
Using Recoil Starter 2. Engine needs choking. 2. Move choke control to “CHOKE” position.
3. Spark plug wire disconnected. 3. Place spark plug wire onto spark plug.
4. Engine speed control in STOP position. 4. Move control to choke or fast position.
Engine Stalls or Stops
After Running 1. Choke control in the “CHOKE” position. 1. Move choke control to “OFF” position.
2. Fuel tank empty. 2. Fill with fuel to proper level.
3. Engine air pre-cleaner and or air cleaner dirty. 3. Clean free of all debris.
4. Spark plug defective or gap set improperly. 4. Service spark plug.
5. Water, debris or stale fuel in fuel system. 5. Drain and clean fuel system.
Engine Loses Power 1. Engine air pre-cleaner or air cleaner dirty. 1. Clean or replace filters.
2. Spark plug faulty. 2. Service spark plug.
3. Water, debris or stale fuel in fuel system. 3. Drain and clean fuel system.
Excessive Vibration 1. Damaged, out of balance or bent mower blades. 1. Service mower blade(s).
2. Loose blade components. 2. Service and tighten loose parts.
3. Loose or missing air lift (if equipped). 3. Replace air lifts. Tighten to proper torque.
4. Lumpy or frayed belt. 4. Replace belt.
5. Bent Idler pulley. 5. Replace pulley.
Mower Will Not Move
1. Damaged transmission. 1. Contact authorized
SNAPPER
dealer.
Loss Of Traction 2. Traction drive belt requires replacement. 2. Replace traction drive belt.
(Self-Propelled Models)
3. Driven disc slipping. 3. Clean or replace driven disc.
Cutting Grass 1. Cutting height too low or high. 1. Adjust cutting height.
Improperly 2. Engine speed too slow. 2. Move engine speed control to “FAST” position.
3. Forward ground speed too fast. 3. Move ground speed control to a slower speed.
4. Terraced cut, side to side. 4. Adjust height of cut with height adjust levers.
5. Excessive deck pitch, front to rear. 5. Adjust height of cut with height adjust levers.
6. Cutting blade(s) dull or damaged. 6. Sharpen cutting edges or replace blade(s).
Poor Grass Discharge
1. Engine speed too slow. 1. Move engine speed control to “FAST” position.
2. Forward speed too fast. 2. Move ground speed control to a slower speed.
3. Grass is wet. 3. Mow when grass is dry.
4. Excessively worn or damaged blade(s). 4. Service mower blade(s).
5. Build up of grass clippings and debris under deck. 5. Clean deck.
6. Improper blade(s) installed on deck. 6. Install proper SNAPPER blades.
7. Blade(s) installed improperly on deck. 7. Install blades properly.
Oil Leaking 1. Leaking engine case. 1. Contact authorized SNAPPER dealer.
2. Check and tighten drain plug.
3. Make sure dip stick or oil filler cap is securely
in place.

20
SERVICE SCHEDULE
ITEM SERVICE PERFORMED
REF. EACH
USE 5
HRS 25
HRS 50
HRS 100
HRS EACH
SEASON
Engine Oil Check Oil Level Engine Manual X
Initial Oil Change Page 10 X
Periodic Oil Change Page 10 X*
Oil Filter Replace with Oil Change Engine Manual X*
Air Pre-Cleaner Clean Sponge Element Engine Manual
X**
Air Cleaner Clean or Replace Engine Manual. X**
Spark Plug Replace Engine Manual.
X
Engine Cooling
System Clean Shroud & Fins Engine Manual X**
Drive Belts Check For Wear And
Tension Page 10 & 17 X X X
Mower Blades Check For Wear, Damage
& Replacement Page 12 X
Mower Deck Clean Debris
Accumulation Page 6 X
Drive Disc Check for Wear Damage
& Replacement Page 13-15 X
Blade Brake Check Blade Brake
Function Page 10 X
Blade Spindle Lubricate Page 10
X
Front Caster
Bushings Lubricate Page 10
X
* Change oil every 25 hours when operating under heavy load or high temperatures.
**Clean more often under dusty conditions or when air debris is present.

21
2 YEAR LIMITED WARRANTY
For two (2) years from purchase date for the original purchaser's residential, non-commercial use, SNAPPER, through
any authorized SNAPPER dealer will replace, free of charge (except for taxes where applicable), any part or parts found
upon examination by the factory at McDonough, Georgia, to be defective in material or workmanship or both.
For ninety (90) days from purchase date for the original purchaser's commercial, rental, or other non-residential use,
SNAPPER, through any authorized SNAPPER dealer will replace, free of charge, any part or parts found upon
examination by the factory at McDonough, Georgia, to be defective in material or workmanship or both.
All transportation costs incurred by the purchaser in submitting material to an authorized SNAPPER dealer for
replacement under this warranty must be paid by the purchaser.
This warranty does not apply to certain transmissions, to engines and their components, and batteries, as these items
are warranted separately. This warranty does not apply to parts that have been damaged by accident, alteration, abuse,
improper lubrication, normal wear, or other cause beyond the control of SNAPPER. This warranty does not cover any
machine or component part that has been altered or modified changing safety, performance, or durability.
Batteries have a one (1) year warranty period with free replacement if required for one (1) year from the original
purchase date. SNAPPER will not be responsible for any installation cost incurred. The battery warranty only covers
original equipment batteries and does not cover damage to the battery or machine caused by neglect or abuse,
destruction by fire, explosion, freezing, overcharging, improper maintenance, or use of improper electrolyte.
There is no other express warranty.
DISCLAIMER OF WARRANTY
Implied warranties, including those of merchantability and fitness for a particular purpose, are limited to two (2)
years from purchase date for the original purchaser's residential or other non-commercial use, and ninety (90)
days from purchase for the original purchaser's commercial, rental or other non-residential use, and to the
extent permitted by law, any and all implied warranties are excluded. This is the exclusive remedy. Liabilities for
consequential damages, under any and all warranties are excluded.
Some states do not allow limitations on how long an implied warranty lasts, or do not allow the exclusion or
limitation of incidental or consequential damages, so the above limitation or exclusion may not apply to you.
This warranty gives you specific legal rights, and you may also have other rights which vary from state to state.
WARNING: THE USE OF REPLACEMENT PARTS OTHER THAN GENUINE SNAPPER PARTS MAY IMPAIR THE
SAFETY OF SNAPPER PRODUCTS AND WILL VOID ANY LIABILITY AND WARRANTY BY SNAPPER
ASSOCIATED WITH THE USE OF SUCH PARTS.
IMPORTANT: Please fill out the attached SNAPPER Product Registration Card immediately and mail to:
Snapper’s Product Registration Center, P.O. Box 1379, McDonough, Georgia 30253

22
SNAPPER PRODUCT REGISTRATION FORM
IMPORTANT: KEEP THIS INFORMATION FOR YOUR PERSONAL RECORDS
(Complete the following information on your Snapper purchase)
Model Number ____________________________________________________________
Serial Number _____________________________________________________________
Date of Purchase ___________________________________________________________
Retailer ___________________________________________________________________
Retailer’s Phone Number____________________________________________________
It is very important that you register your purchase with Snapper to ensure
warranty coverage. Please mail your product registration card to:
Snapper at P.O. Box 777, McDonough, Georgia 30253.
Or you may register on line at www.snapper.com.
You can contact us at our web site or if you would like to speak with a Customer
Service Representative. Call us at the Snapper Customer Relations Center. For
faster service please have your Serial Number and Model Number available.
Call the Snapper Customer Relations Center at 1-800-935-2967.
Eastern Standard Time
Monday through Friday from 8am to 6pm.
Saturday from 9am to 1pm.

23
PRIMARY MAINTENANCE

24
PRIMARY MAINTENANCE

25
PRIMARY MAINTENANCE

26
PRIMARY MAINTENANCE
27
SERVICE NOTES
______________________________________________________________________________
______________________________________________________________________________
______________________________________________________________________________
______________________________________________________________________________
______________________________________________________________________________
______________________________________________________________________________
______________________________________________________________________________
______________________________________________________________________________
______________________________________________________________________________
______________________________________________________________________________
______________________________________________________________________________
______________________________________________________________________________
______________________________________________________________________________
______________________________________________________________________________
______________________________________________________________________________
______________________________________________________________________________
______________________________________________________________________________
______________________________________________________________________________
______________________________________________________________________________
______________________________________________________________________________
______________________________________________________________________________
______________________________________________________________________________
______________________________________________________________________________
______________________________________________________________________________
______________________________________________________________________________
______________________________________________________________________________
______________________________________________________________________________
______________________________________________________________________________
______________________________________________________________________________
______________________________________________________________________________
______________________________________________________________________________
______________________________________________________________________________
______________________________________________________________________________
______________________________________________________________________________
______________________________________________________________________________
______________________________________________________________________________
______________________________________________________________________________
______________________________________________________________________________
______________________________________________________________________________
______________________________________________________________________________
______________________________________________________________________________
______________________________________________________________________________
______________________________________________________________________________
______________________________________________________________________________
______________________________________________________________________________
______________________________________________________________________________
______________________________________________________________________________
______________________________________________________________________________
28
SERVICE NOTES
______________________________________________________________________________
______________________________________________________________________________
______________________________________________________________________________
______________________________________________________________________________
______________________________________________________________________________
______________________________________________________________________________
______________________________________________________________________________
______________________________________________________________________________
______________________________________________________________________________
______________________________________________________________________________
______________________________________________________________________________
______________________________________________________________________________
______________________________________________________________________________
______________________________________________________________________________
______________________________________________________________________________
______________________________________________________________________________
______________________________________________________________________________
______________________________________________________________________________
______________________________________________________________________________
______________________________________________________________________________
______________________________________________________________________________
______________________________________________________________________________
______________________________________________________________________________
______________________________________________________________________________
______________________________________________________________________________
______________________________________________________________________________
______________________________________________________________________________
______________________________________________________________________________
______________________________________________________________________________
______________________________________________________________________________
______________________________________________________________________________
______________________________________________________________________________
______________________________________________________________________________
______________________________________________________________________________
______________________________________________________________________________
______________________________________________________________________________
______________________________________________________________________________
______________________________________________________________________________
______________________________________________________________________________
______________________________________________________________________________
______________________________________________________________________________
______________________________________________________________________________
______________________________________________________________________________
______________________________________________________________________________
______________________________________________________________________________
______________________________________________________________________________
______________________________________________________________________________
______________________________________________________________________________

29
Safety Instructions & Operator’s Manual for
26” STEEL DECK
WALK MOWERS
SERIES 0
IMPORTANT
Snapper products are built using engines that meet or exceed all applicable emissions requirements on the
date manufactured. The labels on those engines contain very important emissions information and critical
safety warnings. Read, Understand, and Follow all warnings and instructions in this manual, the engine
manual, and on the machine, engine and attachments. If you have any questions about your Snapper product,
contact your local authorized Snapper dealer or contact Snapper Customer Service at Snapper, McDonough,
GA. 30253. Phone: (1-800-935-2967).
COPYRIGHT © 2003
SNAPPER PRODUCTS INC.
ALL RIGHTS RESERVED MANUAL No. 7-5510 (I.R. 7/7/03)
WARNING
ENGINE EXHAUST, SOME OF ITS CONSTITUENTS, AND CERTAIN VEHICLE COMPONENTS CONTAIN OR
EM
IT CHEMICALS KNOWN TO THE STATE OF CALIFORNIA TO CAUSE CANCER OR OTHER
REPRODUCTIVE HARM.
WARNING
BATTERY POSTS, TERMINALS AND RELATED ACCESSORIES CONTAIN LEAD AND LEAD COMPOUNDS,
CHEMICALS KNOWN TO THE STATE OF CA
LIFORNIA TO CAUSE CANCER AND BIRTH DEFECTS OR OTHER
REPRODUCTIVE HARM. WASH HANDS AFTER HANDLING.