Snapper Hzs14331Bve Hzs14381Bve Hzs15421Kve Hzs15422Kve Hzs18482Bve Users Manual 4 6352D
2015-01-24
: Snapper Snapper-Hzs14331Bve-Hzs14381Bve-Hzs15421Kve-Hzs15422Kve-Hzs18482Bve-Users-Manual-226947 snapper-hzs14331bve-hzs14381bve-hzs15421kve-hzs15422kve-hzs18482bve-users-manual-226947 snapper pdf
Open the PDF directly: View PDF
.
Page Count: 32

Safety Instructions & Operator’s Manual for
YARD CRUISER
HYDRO DRIVE
SERIES 1 & 2
MODELS
HZS14331BVE
HZS14381BVE
HZS15421KVE
HZS15422KVE
HZS18482BVE
MODEL NUMBER EXPLANATION
H Z S 14
33
1 B V E
MODEL DESIGNATION ENGINE OPTIONS
DRIVE SYSTEM TYPE ENGINE TYPE
MODEL BODY TYPE ENGINE MODEL
ENGINE HORSE POWER SERIES DESIGNATION
CUTTING WIDTH
H – Yard Cruiser
Z – Zero Turning Radius
S – Steel Body Panels
14 – 14 HP Engine
15 – 15 HP Engine
18 – 18 HP Engine
33 - 33” Cutting Deck
38 - 38” Cutting Deck
42 - 42” Cutting Deck
48 - 48” Cutting Deck
1 - Series Designation
2 - Series Designation B - Briggs Engine
K - Kohler Engine V – Over Head Valve
E - Electric Start
Thank you for buying a SNAPPER Product! Before operating your YARD CRUISER, read this manual carefully
and pay particular attention to the “IMPORTANT SAFETY INSTRUCTIONS” on Pages 2 & 3. Remember that all
power equipment can be dangerous if used improperly. Also keep in mind that SAFETY requires careful use in
accordance with the operating instructions and common sense!
COPYRIGHT © 1999
SNAPPER INC.
ALL RIGHTS RESERVED MANUAL No. 4-6352 (REV. 2, 8/23/99)
2
IMPORTANT SAFETY INSTRUCTIONS
WARNING: This powerful cutting machine is capable of amputating hands and feet and can throw objects that
can cause injury and damage! Failure to comply with the following SAFETY instructions could result in serious
injury or death to the operator or other persons. The owner of the machine must understand these instructions
and must allow only persons who understand these instructions to operate machine. Each person operating the
machine must be of sound mind and body and must not be under the influence of any substance, which might
impair vision, dexterity or judgment. If you have any questions pertaining to your machine which your dealer
cannot answer to your satisfaction, call or write the Customer Service Department at SNAPPER , McDonough,
Georgia 30253. Phone: (1-800-935-2967).
PROTECTION FOR CHILDREN
Tragic accidents can occur if the operator is not alert
to the presence of children. Children are often
attracted to the machine and the mowing activity.
Never assume that children will remain where you last
saw them.
1. KEEP children out of the mowing area and under
the watchful care of a responsible adult.
2. DO NOT allow children in yard when machine is
operated (even with the blade OFF).
3. DO NOT allow children or other passengers to ride
on machine or on attachments (even with the
blade OFF). They may fall and be seriously injured.
4. DO NOT allow pre-teenage children to operate
machine.
5. ALLOW only responsible adults & teenagers with
mature judgment under close adult supervision to
operate machine.
6. BE SURE the area is clear of others before
mowing and turn machine OFF if anyone enters
the area.
7. DO NOT operate blades in reverse. STOP BLADES.
Look and See behind and down for children, pets
and hazards before and while backing.
8. USE EXTRA CARE when approaching blind
corners, shrubs, trees, or other objects that may
obscure vision.
PROTECTION AGAINST TIPOVERS
Slopes are a major factor related to loss-of-control
and tip-over accidents, which can result in severe
injury or death. All slopes require extra CAUTION. If
you cannot back up the slope or if you feel uneasy on
it, DO NOT mow it. Use extra care with grass catchers
or other attachments; these can change the stability
of the machine.
1. DO NOT operate machine on slopes exceeding 15
degrees (27% grade).
2. Exercise EXTREME CAUTION on slopes above 10
degrees (18% grade). Turn blade OFF when
traveling uphill. Use first speed and avoid sudden
or sharp turns.
3. DO NOT mow back and forth across face of
slopes. Mow up and down.
PROTECTION AGAINST TIPOVERS
(Continued From Previous Column)
4. AVOID uphill starts. If machine stops going uphill
or tires lose traction, turn blade OFF and back
slowly down the slope.
5. STAY ALERT for holes and other hidden hazards.
Tall grass can hide obstacles. Keep away from
ditches, washouts, culverts, fences and
protruding objects.
6. KEEP A SAFE DISTANCE (at least 3 feet) away
from edge of ditches and other drop offs. The
mower could turn over if an edge caves in.
7. Always begin forward motion in the #1 speed
position.
8. Use weights or a weighted load carrier in accordance
with instructions supplied with a grass catcher. DO
NOT operate machine on slopes exceeding 10
degrees (18% grade) when equipped with grass
catcher.
9. DO NOT put your foot on the ground to try to
stabilize the machine.
10. DO NOT mow on wet grass. Reduced traction
could cause sliding.
11. DO NOT mow under any condition where traction,
steering or stability is doubtful without first test
driving over the terrain with blade OFF.
PREPARATION
1. Read this manual, get to know where all controls
are located and practice how to use them before
starting for the first time, and at the beginning of
each season. Read and follow Warnings and
Instructions on engine and machine. Read and
follow operator’s manual and instructions
furnished with attachments.
2. Only mature, responsible persons shall operate
the machine and only after proper instruction.
3. Data indicates that operators age 60 and above,
are involved in a large percentage of mower-
related injuries. These operators should evaluate
their ability to operate the mower safely enough to
protect themselves and others from serious injury.
3
IMPORTANT SAFETY INSTRUCTIONS
PREPARATION
(Continued From Previous Page)
4. Handle fuel with extra care. Fuels are flammable
and vapors are explosive. Use only an approved
fuel container. Never remove fuel cap or add fuel
with engine running. Add fuel outdoors only with
engine stopped and cool. Clean spilled fuel from
machine. DO NOT smoke.
5. Practice operation of machine with BLADE OFF to
learn controls and develop skills.
6. Check the area to be mowed and remove all
objects such as toys, wire, rocks, limbs and other
objects that could cause injury if thrown by blade
or interfere with mowing.
7. Keep people and pets a safe distance from
machine.
8. Check shields, deflectors, switches, blade controls
and other safety devices frequently for proper
operation and location.
9. Make sure all safety decals are clearly legible.
Replace if damaged.
10. Protect yourself when mowing and wear safety
glasses, long pants and substantial footwear.
11. Know how to STOP blade and engine quickly in
preparation for emergencies.
12. Use extra care when loading or unloading the
machine into a trailer or truck.
13. Check grass catcher components frequently for
signs of wear or deterioration and replace as
needed to prevent injury from thrown objects
going through weak or worn spots.
OPERATION
1. Mount and dismount machine from left side.
2. Start engine from operator's seat, if possible. Make
sure blade is OFF and parking brake is set.
3. STOP blade, STOP engine, set parking brake and
remove key when leaving machine.
4. DO NOT operate machine unless properly seated
with feet on feet rests or pedal(s).
5. STOP BLADE and ENGINE and make sure blade
has stopped before removing grass catcher or
unclogging mower to prevent loss of fingers or
hand.
6. Blade must be OFF except when cutting grass. Set
blade in highest position when mowing over rough
ground.
7. Keep hands and feet away from rotating blade
underneath deck. NEVER place foot on ground
while BLADE is ON or machine is in motion.
8. Deflector or entire grass catcher must be in place.
NEVER point discharge at people, passing cars,
windows or doors.
9. Slow down before turning.
10. Watch out for traffic when near or crossing
roadways.
11. STOP engine immediately after striking an
obstruction. Inspect machine and repair damage
before resuming operation.
OPERATION
(Continued From Previous Column)
12. Mow only in daylight or with good artificial light.
13. Move joystick (if equipped) SLOWLY to
maintain control during speed and directional
changes.
14. Exercise CAUTION when pulling loads. Limit
loads to those you can safely control and attach
loads to hitch plate as specified with SNAPPER
attachment instructions.
MAINTENANCE
1. Never store machine or fuel container inside
where fumes may reach an open flame, spark or
pilot light such as in a water heater, furnace,
clothes dryer or other gas appliance. Allow
engine to cool before storing machine in an
enclosure. Store fuel container out of the reach
of children in a well ventilated, unoccupied
building.
2. Keep engine free of grass, leaves or excess
grease to reduce fire hazard and engine
overheating.
3. When draining fuel tank, drain fuel into an
approved container outdoors and away from
open flame.
4. Check brakes frequently; adjust, repair or
replace as needed.
5. Keep all bolts, nuts and screws properly tight.
Check that all cotter pins are in proper position.
6. Always provide adequate ventilation when
running engine indoors. Exhaust gases contain
carbon monoxide, an odorless and deadly
poison.
7. Disconnect negative (black) cable from battery
before performing maintenance or service.
Cranking engine could cause injury.
8. Never work under machine without safety
blocks.
9. Service engine and make adjustments only
when engine is stopped. Remove spark plug
wire(s) from spark plug(s) and secure wire(s)
away from spark plug(s).
10. DO NOT change engine governor speed
settings or overspeed engine.
11. Lubricate machine at intervals specified in
manual to prevent controls from binding.
12. Mower blades are sharp and can cut. Wrap the
blades or wear heavy leather gloves and use
CAUTION when handling them.
13. NEVER test for spark by grounding spark plug
next to spark plug hole; spark plug could ignite
gas exiting engine.
14. Have machine serviced by an authorized
SNAPPER dealer at least once a year and have
the dealer install any new safety devices.
15. Use only genuine SNAPPER replacement parts
to assure that original standards are
maintained.
4
TABLE OF CONTENTS
IMPORTANT SAFETY INSTRUCTIONS.........................................................................2-3
TABLE OF CONTENTS......................................................................................................4
SECTION 1 - FAMILIARIZATION.......................................................................................5
SECTION 2 - OPERATING INSTRUCTIONS..................................................................6-9
Pre-start Checklist ............................................................................................6-7
Rolling Machine w/o Engine Running................................................................6
Starting & Stopping Engine, Propelling Mower .............................................7-8
Starting & Stopping Mower Blades ....................................................................8
Starting & Stopping Wheel Drive........................................................................8
Setting & Releasing Parking Brake.....................................................................8
Adjusting Cutting Height .....................................................................................9
SECTION 3 - MAINTENANCE INSTRUCTIONS ........................................................10-13
Changing Engine Oil..........................................................................................10
Checking Mower Blade......................................................................................10
Checking Mower Drive Belt...............................................................................11
Checking Belt Tension.......................................................................................11
After Every 25 Operating Hours........................................................................11
Check Mower Components ...............................................................................11
Mower Blade Spindle Lubrication.....................................................................12
Front Wheel Bearings Lubrication....................................................................12
Front Caster Wheel Pivot Shaft.........................................................................12
Annually (End of Each Season) ........................................................................13
Engine ..............................................................................................................13
Air Filter............................................................................................................13
Oil Filter............................................................................................................13
Engine Oil.........................................................................................................13
Transaxle..........................................................................................................13
Fuel Filter .........................................................................................................13
SECTION 4 - ADJUSTMENTS AND REPAIR.............................................................14-21
Neutral Position Adjustments ...........................................................................14
Mower Deck Belt Adjustment............................................................................14
Mower Drive Belt Replacement.........................................................................14
Blade Brake Adjustment ....................................................................................15
Mower Blade Adjustment..............................................................................15-16
Mower Deck Adjustment (Levelness - Side to side 48” Deck).......................15
Mower Deck Adjustment (Front to Rear Pitch 48” Deck) ...............................16
Mower Deck Adjustment (Side to Side, 33”, 38” & 42” Decks)......................17
Mower Deck Adjustment (Front to Rear Pitch 33” Deck) ...............................17
Mower Deck Adjustment (Front to Rear Pitch, 38”, 42” Decks).....................18
Mower Deck Timing Rod....................................................................................18
Wheel Brake Adjustment ...................................................................................18
Mower Blade Repair/Replacement...............................................................18-19
Battery Removal .................................................................................................19
Battery Installation .............................................................................................19
Battery Service & Charging..........................................................................20-21
New Battery Preparation....................................................................................20
Battery Testing ..............................................................................................20-21
TROUBLESHOOTING.................................................................................................21-22
Maintenance/Replacement Parts ......................................................................22
SERVICE SCHEDULE ......................................................................................................23
WARRANTY......................................................................................................................24
PRIMARY MAINTENANCE..........................................................................................25-28

5
Section 1 - FAMILIARIZATION
FIGURE 1.1
1.1 INTRODUCTION
This manual has been prepared for the operator’s of the
SNAPPER YARD CRUISER. Its purpose, aside from
recommending standard operating procedures and routine
service requirements, is to promote SAFETY through the
use of accepted operating practices. Read, Understand and
Follow the IMPORTANT SAFETY INSTRUCTIONS on
Pages 2 and 3 of this manual and All SAFETY messages
on the YARD CRUISER and its attachments before
operating. SNAPPER recommends returning the YARD
CRUISER to an authorized SNAPPER dealer annually for
inspection and addition of any new devices which might
upgrade the safety of the mower.
1.2 NOMENCLATURE
The nomenclature drawing above, Figure 1.1, shows the
essential parts of the SNAPPER YARD CRUISER. It is
recommended that all operator’s of this equipment
become thoroughly familiar with the controls,
components, and operation of this machine before
operating. Specific details involving the engine are found
in the separate engine owner’s manual. Study these
manuals before operating and keep both handy for future
reference. For the nearest SNAPPER dealer in your
area, check the yellow pages under the heading LAWN
MOWERS. For engine parts and service, look for the
engine manufacturer’s dealers under the heading,
ENGINES - gasoline.
KEY
SWITCH JOYSTICK
CONTROL
HANDLE
RIGHT CONSOLE VIEW
OPERATOR’S
SEAT
FUEL
TANK
PARKING
BRAKE
BRAKE
RELEASE
BUTTON
CHOKE
CONTROL
BLADE
SWITCH ENGINE
SPEED
CONTROL
LEFT CONSOLE VIEW
DECK LIFT
HANDLE
CHUTE
DEFLECTOR

6
Section 2 - OPERATING INSTRUCTIONS
2.1 PRE-START CHECK LIST
Make the following checks and perform the service
required before each start-up.
2.1.1. Check tires and add or release air as needed
to bring pressure to 12 psi in front and 12 psi in rear
tires.
2.1.2. Check guards, deflectors and covers to make
sure all are in place and securely tightened.
2.1.3. Check engine oil and add oil as needed to
bring level up to the FULL mark. Refer to engine
owner’s manual for oil specifications. See Figure 2.1.
FIGURE 2.1
2.1.4. Check Blade switch to insure it works freely.
Switch is pulled “OUT” into the “ON” position for
blade engagement or pushed back “IN” into the
“OFF” position for blade disengagement. See
Figure 2.2. IMPORTANT: Disengagement stops the
blades rotation.
FIGURE 2.2
2.1.5. Clean exterior surfaces of cutting deck and
engine of any accumulation of dirt, grass, oil, etc.
Keep engine air intake screen and cooling fins clear
at all times.
2.1.6. Add fuel to tank of the YARD CRUISER
outside where fumes can safely dissipate. Make
sure fuel filler cap is tight and vent is open after
refueling. Turn fuel shut off valve to the “OPEN”
position. See Figure 2.3. Refer to engine owner’s
manual for fuel specifications.
FIGURE 2.3
IMPORTANT: To roll the machine without the engine
running, pressure within the hydraulic pumps must be
released. Tilt seat up and move control lever down to
release pressure. NOTE: Control lever must be in the
“UP” position to drive machine. See Figure 2.4.
FIGURE 2.4
SAFE LEVEL
AREA
ENGINE OIL DIPSTICK
PUSH “IN” TO DISENGAGE
PULL “OUT” TO ENGAGE
BLADE SWITCH
FUEL SHUT
OFF VALVE
LOCATED AT
THE BOTTOM
LEFT SIDE
OF FUEL
TANK
OFF
ON
FUEL CAP VENT CLOSED
FUEL CAP
FUEL CAP VENT OPEN
MOVE CONTROL
LEVER UP TO
DRIVE MACHINE
CONTROL
LEVER
MOVE CONTROL LEVER
DOWN TO ROLL MACHINE
BATTERY

7
Section 2 - OPERATING INSTRUCTIONS
IMPORTANT: This YARD CRUISER is equipped with
hydrostatic drive. The forward, rearward and steering
movement of the machine is controlled by a joystick lever.
Joystick operations should be performed only from the
operator’s position in the seat. A small movement of the
joystick can cause the machine to move instantly. Move
joystick very carefully and slowly.
1. Always move the joystick to the center position to “STOP”
machine. IMPORTANT: To stop machine always return the
joystick with hand assistance to the neutral position. Always
engage parking brake when leaving operator’s seat.
2. Move the joystick forward to propel the machine forward.
3. Move the joystick rearward to propel the machine
backward.
4. Move the joystick to the right to rotate the front of the
machine in circular motion to the right, as in turning around
to go in a different direction.
5. Move the joystick to the left to rotate the front of the
machine in circular motion to the left, as in turning around to
go in a different direction.
2.2 STARTING & OPERATION
2.2.1. ENGINE (ELECTRIC START)
IMPORTANT: When the ignition key is turned to
“START”, the engine will not turn over and will not start
unless the Parking Brake is engaged and the Blade
Switch is in the “Off” position. The operator should be
in the seat. Start engine as follows:
1. Move joystick lever to (N) Neutral position. See
Figure 2.5.
2. Make certain the blade switch is in the “Off”
position. See Figure 2.6.
3. Make certain the parking brake is engaged. See
Figure 2.5.
4. Open vent on fuel filler cap by turning
counterclockwise. IMPORTANT: Failure to open
vent on the fuel filler cap can cause engine to stall.
Refer to Figure 2.3.
5. Turn fuel shut off valve to the open position.
Refer to Figure 2.3.
6. Move engine speed/choke control to the choke
position or pull choke control to choke position. See
Figure 2.6.
7. Turn key to the “START” position until engine
starts. See Figure 2.5. NOTE: If after 5 seconds of
cranking the engine and it does not start, release the
key. Attempt starting again after waiting for
approximately 20 seconds.
8. After engine starts, move engine speed/choke
control to the “FAST” position or push choke control in
to the “OFF” position, allow a brief warm-up until
engine runs smooth.
WARNING
DO NOT leave machine with engine running. STOP
engine. STOP blades. Engage park brake. Remove
key. DO NOT park machine on slopes.
FIGURE 2.5
FIGURE 2.6
(Continued on Next Page)
RUN
POSITION TURN KEY TO
START
POSITION
JOYSTICK IS IN NEUTRAL POSITION
DECAL VIEWED FROM
OPERATOR’S POSITION
PARKING BRAKE
ENGAGED
PULL CHOKE CONTROL
OUT TO START ENGINE
MOVE ENGINE
SPEED CONTROL TO
FAST POSITION
PARKING BRAKE
ENGAGED
MOVE ENGINE SPEED/CHOKE
CONTROL TO CHOKE POSITION.
AFTER WARMUP MOVE CONTROL
AWAY FROM CHOKE POSITION TO
(RABBIT) “FAST” POSITION.
CONTROL SHOWN
IN CHOKE POSITION

8
Section 2 - OPERATING INSTRUCTIONS
2.2.2. ENGINE (MANUAL START)
IMPORTANT: When the ignition key is turned to
“RUN”, the engine will not start unless the Parking
Brake is engaged and the Blade Switch is in the “Off”
position. The operator should be in the seat. Start
engine as follows:
1. Move joystick lever to (N) Neutral position. Refer
to Figure 2.5.
2. Make certain the blade switch is in the “Off”
position. Refer to Figure 2.6.
3. Make certain the parking brake is engaged.
Refer to Figure 2.5.
4. Open vent on fuel filler cap by turning
counterclockwise. IMPORTANT: Failure to open
vent on the fuel filler cap can cause engine to stall.
Refer to Figure 2.3.
5. Turn fuel shut off valve to the open position.
Refer to Figure 2.3.
6. Move engine speed/choke control to the choke
position or pull choke control to choke position. Refer
to Figure 2.6.
7. Pull starter rope with a smooth even motion until
engine starts. Guide rope back to recoil housing.
8. After engine starts, move engine speed/choke
control to the “FAST” position or push choke control in
to the “OFF” position, allow a brief warm-up until
engine runs smooth.
2.2.3. MOWER BLADE
1. With engine running, move engine speed control to
the Rabbit or “fast” position.
2. Pull the blade switch out into the “ON” position to
engage the mower blades. See Figure 2.7.
FIGURE 2.7
3. Release the parking brake. See Figure 2.7.
WARNING
DO NOT operate blades in reverse. STOP BLADES.
LOOK and SEE behind and down for children, pets
and hazards before and while backing.
4. Move joystick carefully in the desired direction to
propel the machine. A small movement of the joystick
can cause the machine to move instantly. Move
joystick carefully and slowly.
2.3 STOPPING
2.3.1. ENGINE
1. Stop engine by turning key to the “OFF” position.
See Figure 2.8.
FIGURE 2.8
WARNING
DO NOT leave machine running. STOP engine. STOP
blades. Engage parking brake. Remove key. DO NOT
park machine on slopes.
2.3.2. WHEEL DRIVE
1. Stop motion of riding mower by moving joystick
to neutral (N) position. Refer to Figure 2.8.
2.3.3. MOWER BLADE
1. Push the blade switch in to “OFF” position to
disengage or stop the mower blades. Refer to Figure
2.7.
WARNING
Once blades are disengaged, they should come to a
complete stop in 5 seconds. If the blades continue to
rotate after 5 seconds, the electric clutch should be
checked. Replacement of electric clutch may be
necessary. DO NOT continue to operate mower if
blades fail to stop in 5 seconds.
2.3.4. PARKING BRAKE
1. Manually position joystick in the neutral position.
2. Engage parking brake by pushing button at the top
of lever and then pulling the parking brake lever slowly
back to the “ON” position.
3. Release parking brake by pushing button at the
top of lever and moving brake lever forward to the
“OFF” position. Refer Figure. 2.7.
DISENGAGE PARKING
BRAKE
PULL BLADE SWITCH
OUT TO THE “ON”
POSITION
ENGINE SPEED
CONTROL IN THE
“FAST” POSITION
TURN KEY TO “OFF”
OR STOP POSITION
DECAL VIEWED FROM
OPERATOR’S
POSITION

9
Section 2 - OPERATING INSTRUCTIONS
2.3.5. CUTTING HEIGHT ADJUSTMENT
This machine has seven different cutting height
positions. IMPORTANT: When positioning the cutting
deck into a higher cutting position, pull up on the deck
lift handle only, it is not necessary to pull up on the
release lever at the same time. Use the release lever
when moving deck cutting height to a lower cutting
position.
1. Grasp both handles together to disengage
latch.
2. Raise or lower handles to desired height.
3. Release lower handle to engage latch. See
Figure 2.9.
FIGURE 2.9
WARNING
DO NOT park machine on slopes.
DECK LIFT
HANDLE DECK LIFT HANDLE SHOWN
IN HIGHEST NOTCH.
RELEASE
LEVER
DETENT
PLATE
CONNECTING BAR OMITTED IN THIS
VIEW FOR CLARITY

10
Section 3 - MAINTENANCE
3.1 INTRODUCTION
To retain the quality of the YARD CRUISER, use
genuine SNAPPER replacement parts only. Contact a
local SNAPPER dealer for parts and service assistance.
For the correct part or information for a particular mower,
always mention the model and serial number.
3.2 SERVICE - AFTER FIRST 5 HOURS
WARNING
DO NOT attempt any adjustments, maintenance,
service or repairs with the engine running. STOP
engine. STOP blade. Engage parking brake. Remove
key. Remove spark plug wire from spark plug and
secure away from plug. Engine and components are
HOT. Avoid serious burns, allow all parts to cool
before working on machine. Fuel Filler Cap and vent
must be closed securely to prevent fuel spillage.
3.2.1. CHANGE ENGINE OIL
1. Place bricks or wooden blocks under the front
wheels to lower rear of engine.
2. Place a 4 quart minimum capacity container
under the end of the oil drain.
3. Loosen or remove oil fill cap on engine.
4. Install the drain hose (Supplied in hardware bag)
onto drain plug nipple and place hose into drain
container.
5. Rotate drain plug counter-clockwise and pull out
to open and allow oil to drain out. See Figure 3.1.
FIGURE 3.1
6. After all the oil has drained, close the drain by
pushing in and rotating clockwise to close. Wipe up
any oil that may have spilled. Dispose of drained oil
properly. See Figure 3.1.
7. Change oil filter at every oil change. Refer to your
engine owner’s manual for service instructions.
8. Fill engine crankcase with new oil. Refer to your
engine owner’s manual for oil specifications.
3.2.2. CHECK MOWER BLADE
1. Make sure fuel cap is on tight and vent is closed.
Turn fuel shut off valve to the “CLOSED” position. Start
engine and allow it to run until engine runs out of fuel.
Close vent on fuel filler cap. See Figure 2.3, Page 6.
2. Apply parking brake.
3. Turn key to “OFF” position and remove key from
ignition switch.
WARNING
Wear heavy leather gloves when handling or working
around cutting blades. Blades are extremely sharp and
can cause severe injury. DO NOT use a cutting blade
that shows signs of excessive wear or damage.
Refer to Section MOWER BLADE REPLACEMENT for
proper blade inspection and service procedures.
4. Carefully stand YARD CRUISER on rear bumper.
It may be necessary to have help to stand unit up.
5. Check torque of blade mounting bolts. Torque to:
33”, & 42” Decks -- 30 to 40 ft. lbs.
38” Deck -- 80 to 90 ft. lbs.
48” Deck – 60 to 70 ft. lbs.
See Figure 3.2.
6. Check blade for sharpness, wear and damage. See
Section on BLADE WEAR LIMITS.
FIGURE 3.2
7. Check blade for straightness.
INSTALL HOSE
ONTO OIL DRAIN
NIPPLE
OIL DRAIN
ROTATE 1/4 TURN
COUNTERCLOCKWISE
AND PULL OUT TO
DRAIN ENGINE OIL.
TORQUE BLADE MOUNTING
BOLTS TO 30 TO 40 FT. LBS.
SINGLE BLADE DECK
TORQUE BLADE MOUNTING BOLTS
TWIN & TRIPLE BLADE DECK

11
Section 3 - MAINTENANCE
3.2.3. CHECK MOWER DRIVE BELT
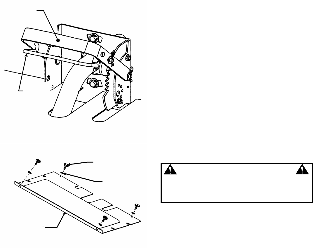
1. Footrest Removal
a. Pull deck lift handle to highest cutting
position.
b. Remove the knobs that secure the corners of
the footrest.
c. Remove footrest. See Figure 3.3.
FIGURE 3.3
2. Checking Mower Belt Tension
The idler and spring provide proper belt tension and
require no adjustment. If belt is frayed, slit, severed
or belt strands exposed, replace belt before
operating mower.
3.2.4. CHECK TRANSAXLE DRIVE BELT
1. Checking Transaxle Belt Tension
The transaxle drive belt requires no adjustment. If
belt is frayed, slit, severed or belt strands exposed,
replace belt before operating mower.
3.3 SERVICE EVERY 25 OPERATING HOURS
3.3.1. ENGINE
1. Engine Cooling System
The engine cooling system consists of an engine
shroud and engine fins. These should be kept clean
and free of debris as needed or cleaned.
2. Engine Oil
Change engine oil. See Section on CHANGE ENGINE
OIL. Refer to engine owner’s manual for oil
specifications.
3. Oil Filter
Change engine oil filter. Refer to engine owner’s
manual for filter specifications.
4. Air Filter
Refer to engine owner’s manual for service
instructions.
5. Fuel Filter
Refer to engine owner’s manual for service
instructions.
3.3.2. MOWER COMPONENTS
1. Mower Drive Belt
Check belt for proper tension. No adjustment required.
Replace belt as needed.
2. Mower Blade
Check blade for sharpness, wear, damage, and
torque. See the section on Mower Blade
Replacement/Repair.
3. Mower Deck Levelness
Check mower deck for proper levelness. Adjust as
required. See section on Mower Deck Adjustment -
Levelness.
WARNING
Lifting or letting down the machine unassisted can
cause severe injury. Always have assistance from
another person when supporting the weight of
machine.
4. Cleaning Mower Deck
a. Make sure fuel cap is on tight. Turn fuel shut
off valve to the “CLOSED” position. Start engine
and allow it to run until engine runs out of fuel.
Close vent on fuel filler cap. See Figure 2.3,
Page 6.
b. Remove key from ignition switch.
c. Remove spark plug wire(s) and secure away
from spark plug(s).
d. Carefully stand YARD CRUISER on rear
bumper.
e. Clean underside of mower deck, removing all
accumulation of grass clippings and debris.
f. Lower YARD CRUISER to ground. Clean top
of deck, removing all grass clippings and debris.
DECK LIFT HANDLE
SHOWN POSITIONED IN
HIGHEST NOTCH.
RELEASE
LEVER
DECK LIFT
HANDLE
LOCK
WASHERS
KNOBS
FLOOR PLATE
(FOOTREST)
HZS MODEL SERIES 1 FOOTREST SHOWN

12
Section 3 - MAINTENANCE
3.3.2. MOWER COMPONENTS (Continued)
5. Mower Blade Spindle - Lubrication
a. Lubricate spindle bearings with three shots of
general purpose grease from grease gun. See
Figure 3.4.
FIGURE 3.4
IMPORTANT: 48” Decks Only
48” Deck spindle assemblies are equipped with a grease
vent located underneath the deck. To be properly
lubricated, spindles must be full of grease. Grease will
purge from vent when full.
6. Mower Deck Linkage - Lubrication
Lubricate all mower deck linkage pivot points with a
light coat of motor oil.
3.3.3. YARD CRUISER - LUBRICATION
1. Front Wheel Bearings
Lubricate front wheel bearings with five shots of
general purpose grease from grease gun. See
Figure 3.5.
FIGURE 3.5
2. Front Caster Wheel Pivot Shaft
The front frame cover will not have to be removed to
lubricate the pivot shaft. The access hole is at the rear
of the front structure underneath frame cover.
a. The pivot shaft grease fitting can be accessed
through a hole at the rear of the front structure.
Lubricate pivot shaft with three shots of general
purpose grease from grease gun. See Figure 3.6.
FIGURE 3.6
3. Parking Brake Pivot Bushings
a. Make sure fuel cap is on tight. Turn fuel shut
off valve to the “CLOSED” position. Start engine
and allow it to run until engine runs out of fuel.
Close vent on fuel filler cap.
b. Remove key from ignition switch.
c. Remove spark plug wire(s) and secure away
from spark plug(s).
d. Carefully stand YARD CRUISER on rear
bumper.
e. Lubricate both pivot bushings with three shots
general purpose grease from grease gun. See
Figure 3.7
FIGURE 3.7
LUBRICATE
SPINDLE
BEARINGS
TOP VIEW OF 48” DECK
DECK PULLEYS
LUBRICATE
SPINDLE
ASSEMBLIES
LUBRICATE FRONT WHEEL BEARINGS
FRONT STRUCTURE ACCESS HOLE
LUBRICATE PIVOT
SHAFTS
FRONT COVER
IS REMOVED
YARD CRUISER SHOWN WITH DECK
REMOVED. DECK REMOVAL NOT
NECESSARY FOR LUBRICATION.
LUBRICATE BOTH
PIVOT BUSHINGS

13
Section 3 - MAINTENANCE
3.4 ANNUALLY (END OF EACH SEASON)
Perform all maintenance as described in the maintenance
schedule.
3.4.1. Engine
Service engine according to engine owner’s manual.
3.4.2. Air Filter
Refer to engine owner’s manual for service
instructions.
3.4.3. Oil Filter
Refer to engine owner’s manual for service
instructions.
3.4.4. Engine Oil
Refer to engine owner’s manual for service
instructions.
3.4.5. Transaxle
IMPORTANT: DO NOT try to open reservoir cap at
any time. The transaxle is maintenance free. The
transaxle does not require any fluid or any service.
If there is any problem: leakage, malfunction or
etc. return the Yard Cruiser immediately to the
nearest authorized Snapper dealer for service.
3.4.6. Fuel Filter
Service fuel filter as instructed below. Turn key to
“OFF” position. Engine MUST be stopped and
MUST be cold before removing filter. Turn fuel shut
off valve to the “CLOSED” position or perform filter
change when fuel tank and fuel line are empty.
1. Remove hose clamps from fuel filter.
2. Remove fuel lines from filter. Discard filter.
3. Install new fuel filter. Reinstall hose clamps. See
Figure 3.8.
FIGURE 3.8
3.5 STORAGE (OUT OF SEASON)
If desired, the YARD CRUISER can be stored on the
rear bumper. Perform the following procedures to insure
the YARD CRUISER will operate properly when taken
out of storage.
3.5.1. Thoroughly clean the YARD CRUISER by
removing all grass clippings and debris.
3.5.2. Perform maintenance and lubrication as
described in the previous sections.
3.5.3. Drain fuel from fuel tank.
3.5.4. Start engine and allow it to run until engine
runs out of fuel. This allows the carburetor and fuel
system to remain clean during storage.
3.5.5. Remove battery. See Section on Battery
Removal and Storage.
3.5.6. Close vent on fuel filler cap. Remove key.
3.5.7. Carefully stand YARD CRUISER on rear
bumper in desired location for storage.
NEW FUEL
FILTER
HOSE
CLAMPS

14
Section 4 - ADJUSTMENTS & REPAIR
WARNING
Before attempting any adjustments or repairs, STOP
the engine, remove the key, remove the spark plug
wire(s) from the spark plug(s) and secure wire(s)
away from plug(s).
4.1 ENGINE ADJUSTMENTS & REPAIR
Refer to the engine owner’s manual for those adjustments
and/or repairs that can be made by the owner.
4.2 MOWER DECK & COMPONENT ADJUSTMENTS
The following mower deck and component adjustments
and repairs can be made by the owner. However, if
there is difficulty in achieving these adjustments and
repairs, it is recommended that these repairs be made by
an authorized SNAPPER dealer.
4.2.1. MOWER DRIVE BELT ADJUSTMENT
The 33”, 38”, 42” and 48”mower deck drive belts do
not require any adjustment. If the belt does not drive
blade properly, replace belt as needed. See Section
on Belt Replacement. Belt routing shown on this
page. See Figure 4.1.
FIGURE 4.1
4.2.2. MOWER DRIVE BELT REPLACEMENT
Inspect mower drive belt. Replace belt if signs of
excessive wear and/or damage are present.
4.2.3. BELT REMOVAL
1. Remove foot rest.
2. Remove old belt.
4.2.4. BELT REPLACEMENT
1. Route new belt around electric clutch pulley. See
Figure 4.2.
FIGURE 4.2
2. Route belt around stationary idler.
3. Remove spring that is connected to idler pulley.
Loosen nut and bolt that secures idler pulley to idler
arm. Route belt between belt guide and idler pulley.
4. Route belt onto spindle pulley. Make sure belt is
inside spindle pulley belt guide.
5. Reinstall idler pulley spring. See Figure 4.3.
NOTE: The idler belt guide should be positioned so
the locator tab fits into the corresponding hole found
on the idler arm. See Figure 4.3. Tighten bolt
securely.
6. Reinstall front frame cover.
NOTE: FOR ALL BELT REPLACEMENT PARTS
IDENTIFICATION NUMBERS SEE PAGE 22.
SPINDLE
PULLEY
IDLER
PULLEY
ELECTRIC CLUTCH
PULLEY
SPINDLE PULLEY SPINDLE PULLEY
IDLER PULLEY STATIONARY
PULLEY
ELECTRIC CLUTCH
PULLEY
33” DECK
38” & 42” DECKS
ELECTRIC
CLUTCH
PULLEY
SPINDLE
PULLEY
STATIONARY
PULLEY
IDLER
PULLEY
SPINDLE
PULLEY
48” DECK
ROUTE MOWER BELT AROUND
ELECTRIC CLUTCH PULLEY
MOWER
BELT
ELECTRIC
CLUTCH
VIEW SHOWN FROM UNDERNEATH WITH DECK
REMOVED, DECK REMOVAL IS NOT NECESSARY
FOR MOWER BELT REPLACEMENT.

15
Section 4 - ADJUSTMENTS & REPAIR
WARNING
Before attempting any adjustments or repairs, STOP
the engine, remove the key, remove the spark plug
wire(s) from the spark plug(s) and secure wire(s)
away from plug(s).
FIGURE 4.3
4.2.5. BLADE BRAKE
The blade switch engages the electric clutch when
pulled out to the “ON” position. When the blade switch
is in the “ON” position the cutting blade(s) are
engaged. The blade switch disengages the electric
clutch when the blade switch is pushed in to the “OFF”
position. When the blade switch is in the “OFF”
position the cutting blade(s) are disengaged. The
electric clutch is non-adjustable. The blade(s) should
stop rotation in 5 seconds. If the electric clutch fails to
stop the blade(s) rotation in 5 seconds, contact an
authorized SNAPPER dealer to repair or replace.
WARNING
DO NOT operate machine if blade(s) fail to stop in 5
seconds or less.
4.2.6. MOWER DECK ADJUSTMENT (LEVELNESS)
Side-To-Side (48” Decks)
Before making deck leveling adjustments, check
the tire pressure. Add or release air as needed to
bring pressure to 10 PSI in front and 10 PSI in rear
tires. If tires are properly inflated and mowing is still
uneven, adjust side-to-side deck levelness first as
follows:
1. Place YARD CRUISER on a smooth level
surface.
2. Remove floor pan.
3. Rotate outside blades so tips are pointed to
the sides of deck. See Figure 4.4. Measure the
distance from blade tips to floor. If the
measurement is within 1/8” from side-to-side, the
deck levelness is satisfactory. If the difference from
side-to-side is greater than 1/8”, continue to Step 4
for adjustment.
4. Remove hair pin from pivot rod and pull rod
out of lift arm.
5. Rotate pivot rod up or down to achieve the
proper levelness. See Figure 4.5.
6. Reinstall hair pin into pivot rod.
7. Reinstall floor pan.
FIGURE 4.4
IDLER ARM AND BELT
GUIDE DETAIL
42” DECK SHOWN TAB MUST GO
INTO HOLE
LOCATOR TAB
BELT GUIDE
MOWER
BELT
IDLER PULLEY
IDLER
ARM
BELT
GUIDE
STATIONARY
PULLEY
FRONT OR REAR VIEW OF DECK
TRIPLE BLADE DECK
X X - 1/8”
SI
DE
SIDE

16
Section 4 - ADJUSTMENTS & REPAIR
WARNING
Before attempting any adjustments or repairs, STOP
the engine, remove the key, remove the spark plug
wire(s) from the spark plug(s) and secure wire(s)
away from plug(s).
4.2.7. MOWER DECK ADJUSTMENT (LEVELNESS)
Front to Rear Deck Pitch (48” Deck)
Before making deck leveling adjustments, check the
tire pressure. Add or release air as needed to bring
pressure to 10 PSI in front and 10 PSI in rear tires. If
tires are properly inflated and mowing is still uneven,
check side-to-side deck levelness first then proceed
to front to rear adjustment. Adjust front to rear deck
levelness as follows:
FIGURE 4.5
1. Place YARD CRUISER on a smooth level
surface.
2. Remove floor pan.
3. Rotate outside blades so tips are pointed to the
front and rear of deck. Measure the distance from
blade tips to floor. The distance should be the
same, or the rear 1/4” lower than the front. If the
rear blade tip is higher or is more than 1/4” lower
than the front, proceed to Step 4 for adjustment.
4. Remove the hair pin from pivot rod on one side
of deck at a time.
5. Rotate each pivot rod up or down the same
number of rotations to achieve the proper
levelness.
6. Reinstall both hair pins into pivot rods. See
Figure 4.5.
IMPORTANT: The mower deck, over a long period of
time the deck may not adjust to a 4” cutting height. If
this occurs, remove plate located underneath the
front lift bracket. Support the front of deck, remove
this spacer plate, reinstall the front lift bracket, and
tighten bolts securely. Proceed to front to rear
levelness section.
FIGURE 4.6
HAIRPIN
LIFT ARM
PIVOT ROD
R.H. FRONT LIFT
BRACKET
L.H. FRONT
LIFT
BRACKET
CARRIAGE BOLTS
HEX FLANGE
LOCK NUTS
48” DECK

17
Section 4 - ADJUSTMENTS & REPAIR
4.2.8. MOWER DECK ADJUSTMENT (LEVELNESS)
1. Side-To-Side (33”, 38”, 42” & 48” Decks)
Before making deck leveling adjustments, check
the tire pressure. Check tires and add or release air
as needed to bring pressure to 12 psi in front and 12
psi in rear tires. If tires are properly inflated and
mowing is still uneven, adjust side-to-side deck
levelness as follows:
a. Place YARD CRUISER on a smooth level
surface.
b. Turn engine off and remove key, remove
spark plug wire(s) from spark plug(s) and secure
wire(s) away from plug(s).
c. Place a piece of angle iron, pipe, or similar
object under center of deck at the rear.
d. Remove rear hanger chains and allow center,
rear of deck to rest on angle iron.
e. Measure the distance from blade tips to floor. If
the measurement is within 1/8” from side-to-side,
the deck levelness is satisfactory. If the difference
from side-to-side is greater than 1/8”, continue to
the next page for adjustment. See Figure 4.7.
FIGURE 4.7
f. Loosen the shoulder bolt that retains the
eccentric.
g. Turn eccentric “UP” or “DOWN” as required
until blade tips are within 1/8” of the same
distance from the floor. See Figure 4.8.
h. Tighten shoulder bolt loosened in Step “f”.
i. Readjust rear hanger chain pivots to align
with holes in support brackets.
j. Reconnect hanger chains, remove angle iron,
pipe, etc. and recheck side to side level. Adjust
either chain as needed to result in blade tips
being within 1/8” of the same distance from the
floor.
k. Proceed to check front to rear deck pitch.
FIGURE 4.8
2. Front to Rear Deck Pitch (33” Deck)
With the YARD CRUISER on a smooth, level
surface, rotate blade until blade tips are at front and
rear of deck. Measure the distance from blade tips
to floor. The distance should be the same, or the
rear 1/4” lower than the front. If the rear blade tip is
higher or is more than 1/4” lower than the front,
proceed with adjustment.
a. Remove rear hanger chains.
b. Turn each hanger pivot the same number of
rotations on the eye-bolt to raise or lower the
rear of the deck. See Figure 4.9.
c. Reinstall rear hanger chains and measure
blade tips again.
d. Repeat steps “a” through “c” until proper
levelness is obtained.
FIGURE 4.9
FRONT OR REAR VIEW OF DECK
TWIN BLADE DECK
ANGLE
IRON
X - 1/8”
X
SIDE SIDE
SINGLE BLADE DECK
SIDE
SIDE X - 1/8”
ANGLE IRON
X
42” DECK SHOWN
UP
DOWN
FRONT
LIFT ARM
ECCENTRIC
LOOSEN
SHOULDER
BOLT
SIDE VIEW OF DECK
FRONT REAR
ROTATE HANGER
PIVOT:
UP TO RAISE DECK
OR DOWN TO
LOWER DECK.
REAR LIFT
ARM

18
Section 4 - ADJUSTMENTS & REPAIR
3. Front to Rear Deck Pitch (38”, & 42” Decks)
With the YARD CRUISER on a smooth, level
surface, rotate blades until blade tips are at front
and rear of deck. Measure the distance from blade
tips to floor. The distance should be the same, or
the rear 1/4” higher than the front. If the rear blade
tip is lower or is more than 1/4” higher than the
front, proceed with adjustment.
a. Remove rear hanger chains.
b. Turn each hanger pivot the same number of
rotations on the eye-bolt to raise or lower the
rear of the deck. See Figure 4.10.
c. Reinstall rear hanger chains and measure
blade tips again.
d. Repeat steps “a” through “c” until proper
levelness is obtained.
FIGURE 4.10
4.2.9. MOWER DECK TIMING ROD
The mower deck timing rod is preadjusted at the
factory. It is set to maintain the deck in the same
attitude through all heights of cut. If the timing rod
requires adjustment, contact an authorized SNAPPER
dealer for service. See Figure 4.11.
FIGURE 4.11
4.2.10. WHEEL BRAKE ADJUSTMENT
Adjust the wheel brake if wheels turn when parking
brake is engaged. Adjust the wheel brake by turning
wheel brake adjusting nut clockwise to increase
braking action or counter clockwise to decrease
braking action. See Figure 4.12.
FIGURE 4.12
WARNING
Before attempting any adjustments or repairs, STOP
the engine, remove the key, remove the spark plug
wire(s) from the spark plug(s) and secure wire(s)
away from plug(s). Never use a cutting blade that
shows signs of excessive wear or damage. Wear
heavy leather gloves when handling or working
around cutting blades. Blades are extremely sharp
and can cause severe injury.
4.3 MOWER BLADE REPAIR/REPLACEMENT
4.3.1. BLADE WEAR LIMITS
1. Inspect blade frequently for signs of excessive wear
or damage. See Figure 4.13.
FIGURE 4.13
X + 1/4”
X
FRONT
REAR
ROTATE HANGER PIVOT:
UP TO RAISE DECK OR
DOWN TO LOWER DECK.
ADJUSTING
NUT DO NOT ADJUST
TIMING
ROD
42” DECK SHOWN
UNDERSIDE VIEW OF MACHINE
ELECTRIC
CLUTCH
WHEEL
BRAKE ROD
ADJUST
CLOCKWISE TO
INCREASE
BRAKE
ADJUST
COUNTER-
CLOCKWISE TO
DECREASE
BRAKE
NEW BLADE
WEAR LIMIT
(NOTCH STARTS)
DANGEROUS CONDITION!
DO NOT USE ON MOWER!
REPLACE WITH NEW BLADE.

19
Section 4 - ADJUSTMENTS & REPAIR
4.3.2. BLADE SHARPENING
1. Make sure fuel cap is on tight. Turn fuel shut off
valve to the “CLOSED” position. Start engine and
allow it to run until engine runs out of fuel. Close
vent on fuel filler cap. See Figure 2.3.
2. Remove key from ignition switch.
3. Remove spark plug wire(s) and secure away from
spark plug(s).
4. Carefully stand YARD CRUISER on rear bumper.
5. Remove blade(s). See Figure 4.14.
6. Inspect condition of blade. Refer to Figure 4.13.
7. If blade is in good condition, sharpen at 22 to 28
degrees. DO NOT sharpen beyond existing cutting
edge. See Figure 4.15.
8. Check blade balance after sharpening. If
necessary, correct blade balance by grinding the heavy
end of blade.
9. Reinstall blade. See Figure 4.14. Torque blade
mounting bolts to recommended range of:
33” Deck - 30 to 40 ft. lbs.
38” Deck - 80 to 90 ft. lbs.
42” Deck - 30 to 40 ft. lbs.
48” Deck - 60 to 70 ft. lbs.
FIGURE 4.14
FIGURE 4.15
WARNING
Never use a cutting blade that shows signs of excessive
wear or damage. Wear heavy leather gloves when
handling or working around cutting blades. Blades are
extremely sharp and can cause severe injury.
4.3.3. BLADE REPLACEMENT
1. Remove blade(s). Refer to 4.14. Replace
blade(s) if it shows signs of excessive wear or
damage.
NOTE: FOR ALL CUTTING BLADE REPLACEMENT
PARTS IDENTIFICATION NUMBERS SEE PAGE 22.
WARNING
Before attempting any adjustments or repairs, STOP the
engine, remove the key, remove the spark plug wire(s) from
the spark plug(s) and secure wire(s) away from plug(s). Never
attempt to service or charge the battery while it is installed on
the YARD CRUISER. Shield the positive terminal with terminal
cover located on battery harness. This prevents metal from
touching the positive terminal, which could cause sparks.
Cables must be connected to battery terminals in the proper
position as shown in Figure 4.16.
4.4 BATTERY
4.4.1. BATTERY REMOVAL
1. Tilt seat up to gain access to battery.
2. Observe and note cable positions on battery.
See Figure 4.16.
3. Disconnect cables from battery terminals,
disconnecting BLACK (Negative) cable first.
Disconnect RED (Positive) battery cable. Slide
battery from battery cradle.
4. Retain mounting bolts and nuts for future use.
4.4.2. BATTERY INSTALLATION
1. Slide battery into battery cradle.
2. Connect cables to battery terminals. Connect
RED (Positive) cable first. Connect BLACK
(Negative) cable. See Figure 4.16.
3. Place the positive (+) terminal insulator over
positive terminal and cable. See Figure 4.16.
FIGURE 4.16
33” DECK
38” DECK
42” DECK
48” DECK
DO NOT SHARPEN
BEYOND ORIGINAL
CUTTING EDGE
BLADE TIP
ORIGINAL CUTTING EDGE
22º TO 28º
BLACK
NEGATIVE (-)
CABLE
RED
POSITIVE (+)
CABLE

20
Section 4 - ADJUSTMENTS & REPAIR
WARNING
The electrolyte (acid) produces a highly explosive gas.
Keep all sparks, flame and fire away from area when
charging battery or when handling electrolyte or battery.
Electrolyte (acid) is a highly corrosive liquid. Wear eye
protection. Wash affected areas immediately after
having eye or skin contact with electrolyte (acid). Battery
acid is corrosive. Rinse empty acid containers with
water and mutilate before discarding. If acid is spilled on
battery, bench, or clothing, etc., Flush with clear water
and neutralize with baking soda. Never attempt to
charge battery while installed on the YARD CRUISER.
Never use “BOOST” chargers on the battery.
4.4.3. BATTERY SERVICE
1. Remove battery. See Section on Battery
Removal
2. Place battery in a well ventilated area on a level
surface.
3. Using distilled water, refill cells as required to
cover cell plates of which can also be visualized
through the plastic battery case.
4. With cell caps removed, connect battery charger
to battery terminals. Red to positive (+) terminal
and black to negative (-) terminal.
5. Slow charge battery at 1 amp for 10 hours.
6. If battery will not accept charge or is partially
charged after 10 hours of charging at 1 amp,
replace with new battery, Part Number 6-0753.
4.4.4. BATTERY STORAGE
If YARD CRUISER is to be stored out of season on
its rear bumper, it is recommended the battery be
removed, charged and stored.
1. Remove battery. (See 4.4.1., Battery Removal)
2. Perform battery service.
3. Bring battery to full charge, if required.
4. Store battery in an area away from the YARD
CRUISER on a wood surface. DO NOT STORE
BATTERY ON A CONCRETE SURFACE.
4.4.5. NEW BATTERY PREPARATION
1. Remove battery from carton.
2. Place battery in a well ventilated area on a level
non-concrete surface.
3. Remove battery cell caps. Fill cells as required
with electrolyte (purchased separately) to proper
level. Fill to 3/16” above cell plates. Filling battery
with electrolyte will bring the battery to 80% charged
state.
4. With cell caps removed, connect battery charger to
battery terminals; RED to positive (+) and BLACK to
negative (-) terminal.
IMPORTANT: 3/16” above cell plates is the recommended
level. However do not try to measure this dimension. Never
place anything in battery other than specified electrolyte.
WARNING
DO NOT OVERFILL! Never attempt to charge battery
while installed on the Yard Cruiser. Never use
“BOOST” chargers on the battery.
5. Slow charge the battery at 1 amp for 2 hours to
bring the battery to full charge.
6. After charging, check level of electrolyte and add
as needed to bring level to 3/16” above cell plates.
7. Reinstall cell caps.
8. Install battery into power unit. Connect over flow
tube.
9. Connect positive (+) cable (red) first, from wiring
harness to the positive terminal (+) on battery using
bolt and nut provided in hardware bag. Connect
negative (-) cable (black) last, to negative terminal
(-) on battery using bolt and nut. Apply a small
amount of grease over terminals to prevent
corrosion.
WARNING
Shield the positive terminal with terminal cover
located on battery harness. This prevents metal
from touching the positive terminal which could
cause sparks.
4.4.6. BATTERY TESTING
There are two types of battery tests: Unloaded and
Loaded. The unloaded test is the procedure that will
be discussed. It’s the simplest and most commonly
used. An unloaded test is made on a battery without
discharging current. To perform unloaded testing,
check charge condition using either a hydrometer or
voltmeter.
1. Using a voltmeter, voltage readings appear
instantly to show the state of charge. Remember to
hook the positive lead to the battery’s positive
terminal, and the negative lead to the negative
terminal.
2. A hydrometer measures the specific gravity of
each cell. The specific gravity tells the degree of
charge; generally, a specific gravity of about 1.265
to 1.280 indicates full charge. A reading of 1.230 to
1.260 indicates the battery should be charged. The
chart on the next page shows the charge level as
measured by syringe float hydrometer, digital
voltmeter and five ball hydrometer.
(Continued on Next Page)

21
Section 4 - ADJUSTMENTS & REPAIR
4.4.6. BATTERY TESTING
Battery Condition Chart
State of Charge Syringe Hydrometer Digital Voltmeter Five Ball Hydrometer
100% Charged w/ Sulfate Stop 1.280 12.80v Five Balls Floating
100% Charged 1.265 12.60v Four Balls Floating
75% Charged 1.210 12.40v Three Balls Floating
50% Charged 1.160 12.10v Two Balls Floating
25% Charged 1.120 11.90v One Ball Floating
0% Charged Less than 1.100 Less than 11.80v Zero Balls Floating
TROUBLESHOOTING
PROBLEM PROBABLE CAUSE CORRECTIVE ACTION
Starter Will Not Crank
1. Battery dead. 1. Service battery.
Engine 2. Blown fuse. 2. Replace fuse.
3. Electrical connections loose or corroded. 3. Clean and check connections for good contact.
4. Defective ignition switch. 4. Contact authorized SNAPPER dealer.
5. Blade engagement switch in the “ON” position. 5. Move blade engagement switch to “OFF”.
6. Park brake not engaged. 6. Engage park brake.
7. Faulty parking brake, blade or ignition switch. 7. Contact authorized SNAPPER dealer.
8. Faulty engine starter. 8. Replace engine starter.
9. Faulty starter solenoid 9. Replace starter solenoid.
Engine Will Crank But
1. Fuel tank empty or fuel shut-off valve closed. 1. Fill fuel tank with fresh fuel & open fuel valve.
Not Start 2. Engine needs choking. 2. Move choke control to “CHOKE” position.
3. Spark plug wire disconnected. 3. Place spark plug wire onto spark plug.
4. Battery weak or dead. 4. Service battery.
5. Faulty parking brake, blade or ignition switch. 5. Contact authorized SNAPPER dealer.
Engine Will Not Start
1. Blade engagement switch in the “ON” position. 1. Move blade engagement switch to “OFF”.
Using Recoil Starter 2. Park brake not engaged. 2. Engage park brake.
3. Fuel tank empty or fuel shut-off valve closed.. 3. Fill fuel tank with fresh fuel & open fuel valve.
4. Engine needs choking. 4. Move choke control to “CHOKE” position.
5. Blown Fuse. 5. Replace with new 20 AMP fuse.
6. Faulty relay switch. 6. Contact authorized SNAPPER dealer.
7. Faulty parking brake or blade switch. 7. Contact authorized SNAPPER dealer.
Engine Stalls After 1. Operator not in seat. 1. Sit in operator’s seat.
Running 2. Choke control in the “CHOKE” position. 2. Move choke control to “OFF” position.
3. Fuel tank empty. 3. Fill with fuel to proper level.
4. Engine air pre-cleaner and or air cleaner dirty. 4. Clean free of all debris.
5. Spark plug defective or gap set improperly. 5. Service spark plug.
6. Fuel filter stopped up. 6. Replace fuel filter.
7. Water, debris or stale fuel in fuel system. 7. Drain and clean fuel system.
Engine Loses Power 1. Excessive load on engine. 1. Lessen load.
2. Engine air pre-cleaner or air cleaner dirty 2. Clean or replace filters.
3. Spark plug faulty. 3. Service spark plug.
4. Water, debris or stale fuel in fuel system. 4. Drain and clean fuel system.
5. Debris build up on engine cooling screen. 5. Clean all debris from engine cooling screen.
Engine Backf
ires When
Turned To “STOP”
1. Throttle control set too “FAST”. 1. Set throttle control to “SLOW” and allow engine to
idle. Then, turn key to “OFF”.
Excessive Vibration 1. Damaged, out of balance or bent mower blades. 1. Service mower blade(s).
2. Loose blade components. 2. Service and tighten loose parts.
3. Loose or missing airlift (if equipped). 3. Replace air lifts. Tighten to proper torque.
4. Lumpy or frayed belt 4. Replace belt.
5. Bent Idler, stationary or spindle pulley 5. Replace pulley.
(Trouble Shooting Continued on Next Page)

22
TROUBLESHOOTING
PROBLEM
PROBABLE CAUSE
CORRECTIVE ACTION
Rider Will Not Move Or
1. Joystick in the neutral “N” position. 1. Place joystick in desired speed position.
Loss Of Traction 2. Roll release lever is in “ROLL” position. 2. Move roll release lever to the engaged position.
3. Low transmission hydraulic oil level. 3. Contact authorized SNAPPER dealer.
4. Parking Brake engaged. 4. Move parking brake to disengaged position..
5. Traction drive belt requires replacement 5. Replace traction drive belt.
Blade(s) Not Cutting
1. Blade engagement switch in the “OFF” position. 1. Move blade switch to the “ON” position.
2. Clutch belt slipping. 2. Replace clutch belt.
3. Mower belt slipping. 3. Replace mower belt.
4. Electric clutch not functioning. 4. Contact authorized SNAPPER dealer.
Cutting Grass
1. Uneven tire pressure. 1. Bring to proper pressure.
Improperly 2. Cutting height too low or high. 2. Adjust cutting height.
3. Engine speed too slow. 3. Move throttle control to “FAST” position.
4. Forward speed too fast. 4. Move joystick to a slower speed.
5. Terraced cut, side to side. 5. Adjust side to side level
6. Excessive deck pitch, front to rear. 6. Adjust front to rear pitch.
7. Cutting blade(s) dull or damaged. 7. Sharpen cutting edges or replace blade(s).
8. Blade belt slipping. 8. Replace blade belt.
9. Check electric clutch. 9. Adjust to proper specifications. (33” Deck Only)
10. Check clutch belt. 10. Replace clutch belt.
Poor Grass Discharge
1. Engine speed too slow. 1. Move throttle control to “FAST” position.
2. Forward speed too fast. 2. Move joystick to a slower speed.
3. Grass is wet. 3. Mow when grass is dry.
4. Excessively worn or damaged blade(s). 4. Service mower blade(s)
5. Build up of grass clippings and debris under deck. 5. Clean deck.
6. Improper blade(s) installed on deck. 6. Install proper SNAPPER blades.
7. Blade(s) installed improperly on deck. 7. Install blades properly.
Battery Will Not Char
ge
1. Poor cable connections. 1. Clean cables and battery terminals.
2. Bad battery cell(s) 2. Replace with new battery.
3. Faulty alternator. 3. Contact engine manufacturer’s dealer.
Oil Leaking
1. Leaking hose fittings, clamps or reservoir. 1. Verify fittings and hose clamps are tight.
4.7. MAINTENANCE/REPLACEMENT PARTS
MAINTENANCE/REPLACEMENT PARTS
Engine Speed Control Cable (Briggs 14 HP) 2-4642
Engine Speed Control Cable (Kohler 15 HP) 3-6506
Engine Speed Control Cable (Kohler 18 HP) 4-2992
Choke Control Cable (Kohler 15 HP) 2-4185
Choke Control Cable (Kohler 18 HP) 2-4185
33” Cutter Deck Blade 3-4168
38” Cutter Deck Blade (2 Blades Required) 4-2998
42” Cutter Deck Blade (2 Blades Required) 2-6691
48” Cutter Deck Blade (3 Blades Required) 2-9247
33” Cutter Deck Belt (Electric Clutch to Cutting Deck) 3-5389
38” Cutter Deck Belt (Electric Clutch to Cutting Deck) 2-9308
42” Cutter Deck Belt (Electric Clutch to Cutting Deck) 3-6585
48” Cutter Deck Belt (Electric Clutch to Cutting Deck) 4-2997
Wheel Drive Belt (Engine to Hydro Transaxle) 4-1823
Wheel Drive Belt (Engine to Hydro Transaxle) (48” Deck Only) 4-1829
Mower Drive Belt (Engine to Electric Clutch) 2-9117
Mower Drive Belt (Engine to Electric Clutch) (48” Deck Only) 4-6997
Parts Manual for Yard Cruiser Series 1 & 2 06109

23
SERVICE SCHEDULE
ITEM SERVICE PERFORMED
REF. EACH
USE 5
HRS 25
HRS 50
HRS 100
HRS EACH
SEASON
Engine Oil Check Oil Level Page 6 X
Initial Oil Change Page 10 X
Periodic Oil Change Page 11 X*
Oil Filter Initial Oil Change Engine Manual
& Page 10 X
Periodic Oil Change Engine Manual
& Page 10 X*
Air Pre-Cleaner Clean Sponge Element Engine Manual. X**
Air Cleaner Clean or Replace Engine Manual. X**
Spark Plug Replace Engine Manual.
X
Fuel Filter Replace Engine Manual.
X
Engine Cooling
System Clean Shroud & Fins Engine Manual
& Page 11 X**
Battery Check Electrolyte Page 20 X X
Charge Battery Page 20 X
Testing Battery Pages 20-21 X
Tires Check Pressures Page 6 X X
Drive Belts Check For Wear And
Tension Page 14-15 X X X
Mower Blades Check For Wear, Damage
& Replacement Pages 18-19 X
Mower Deck Clean Debris
Accumulation Page 11 X
Mower Deck Clean Outside and
Underside Page 11 X
Lubrication
Points Grease or Oil Pages 12 X X
* Change oil every 25 hours when operating under heavy load or high temperatures.
**Clean more often under dusty conditions or when air debris is present

24
3 YEAR LIMITED WARRANTY
For three (3) years from purchase date for the original purchaser's residential, non-commercial use, SNAPPER, through
any authorized SNAPPER dealer will replace, free of charge (except for taxes where applicable), any part or parts found
upon examination by the factory at McDonough, Georgia, to be defective in material or workmanship or both.
For ninety (90) days from purchase date for the original purchaser's commercial, rental, or other non-residential use,
SNAPPER, through any authorized SNAPPER dealer will replace, free of charge, any part or parts found upon
examination by the factory at McDonough, Georgia, to be defective in material or workmanship or both.
All transportation costs incurred by the purchaser in submitting material to an authorized SNAPPER dealer for
replacement under this warranty must be paid by the purchaser.
This warranty does not apply to engines and their components, and batteries, as these items are warranted separately.
This warranty does not apply to parts that have been damaged by accident, alteration, abuse, improper lubrication,
normal wear, or other cause beyond the control of SNAPPER. This warranty does not cover any machine or component
part that has been altered or modified changing safety, performance, or durability.
Batteries have a one (1) year prorated warranty period with free replacement if required during the first ninety (90) days
from the original purchase date. SNAPPER will not be responsible for any installation cost incurred. The battery warranty
only covers original equipment batteries and does not cover damage to the battery or machine caused by neglect or
abuse, destruction by fire, explosion, freezing, overcharging, improper maintenance, or use of improper electrolyte.
There is no other express warranty.
DISCLAIMER OF WARRANTY
Implied warranties, including those of merchantability and fitness for a particular purpose, are limited to three
(3) years from purchase date for the original purchaser's residential or other non-commercial use, and ninety
(90) days from purchase for the original purchaser's commercial, rental or other non-residential use, and to the
extent permitted by law, any and all implied warranties are excluded. This is the exclusive remedy. Liabilities for
consequential damages, under any and all warranties are excluded.
Some states do not allow limitations on how long an implied warranty lasts, or do not allow the exclusion or
limitation of incidental or consequential damages, so the above limitation or exclusion may not apply to you.
This warranty gives you specific legal rights, and you may also have other rights which vary from state to state.
WARNING: THE USE OF REPLACEMENT PARTS OTHER THAN GENUINE SNAPPER PARTS MAY IMPAIR THE
SAFETY OF SNAPPER PRODUCTS AND WILL VOID ANY LIABILITY AND WARRANTY BY SNAPPER
ASSOCIATED WITH THE USE OF SUCH PARTS.
IMPORTANT: Please fill out the attached SNAPPER Product Registration Card immediately and mail to:
Snapper’s Product Registration Center, P.O. Box 1379, McDonough, Georgia 30253

25
PRIMARY MAINTENANCE

26
PRIMARY MAINTENANCE

27
PRIMARY MAINTENANCE

28
PRIMARY MAINTENANCE
29
SERVICE NOTES
___________________________________________________________
___________________________________________________________
___________________________________________________________
___________________________________________________________
___________________________________________________________
___________________________________________________________
___________________________________________________________
___________________________________________________________
___________________________________________________________
___________________________________________________________
___________________________________________________________
___________________________________________________________
___________________________________________________________
___________________________________________________________
___________________________________________________________
___________________________________________________________
___________________________________________________________
___________________________________________________________
___________________________________________________________
___________________________________________________________
___________________________________________________________
___________________________________________________________
___________________________________________________________
___________________________________________________________
___________________________________________________________
___________________________________________________________
___________________________________________________________
___________________________________________________________
___________________________________________________________
___________________________________________________________
___________________________________________________________
___________________________________________________________
___________________________________________________________
___________________________________________________________
___________________________________________________________
___________________________________________________________
30
SERVICE NOTES
___________________________________________________________
___________________________________________________________
___________________________________________________________
___________________________________________________________
___________________________________________________________
___________________________________________________________
___________________________________________________________
___________________________________________________________
___________________________________________________________
___________________________________________________________
___________________________________________________________
___________________________________________________________
___________________________________________________________
___________________________________________________________
___________________________________________________________
___________________________________________________________
___________________________________________________________
___________________________________________________________
___________________________________________________________
___________________________________________________________
___________________________________________________________
___________________________________________________________
___________________________________________________________
___________________________________________________________
___________________________________________________________
___________________________________________________________
___________________________________________________________
___________________________________________________________
___________________________________________________________
___________________________________________________________
___________________________________________________________
___________________________________________________________
___________________________________________________________
___________________________________________________________
___________________________________________________________
___________________________________________________________
31
SERVICE NOTES
___________________________________________________________
___________________________________________________________
___________________________________________________________
___________________________________________________________
___________________________________________________________
___________________________________________________________
___________________________________________________________
___________________________________________________________
___________________________________________________________
___________________________________________________________
___________________________________________________________
___________________________________________________________
___________________________________________________________
___________________________________________________________
___________________________________________________________
___________________________________________________________
___________________________________________________________
___________________________________________________________
___________________________________________________________
___________________________________________________________
___________________________________________________________
___________________________________________________________
___________________________________________________________
___________________________________________________________
___________________________________________________________
___________________________________________________________
___________________________________________________________
___________________________________________________________
___________________________________________________________
___________________________________________________________
___________________________________________________________
___________________________________________________________
___________________________________________________________
___________________________________________________________
___________________________________________________________
___________________________________________________________

32
Safety Instructions & Operator’s Manual for
YARD CRUISER
HYDRO DRIVE
SERIES 1 & 2
WARNING: The engine exhaust from this product contains chemicals known to the State
of California to cause cancer, birth defects or other reproductive harm.
COPYRIGHT © 1999
SNAPPER INC.
ALL RIGHTS RESERVED
(REV. 2, 8/23/99) MANUAL No. 4-6352