Snapper Le3170E Users Manual PartsManual
LE3171R, LE3191R, LE3191E jdgrsDS9ZhXwH8
LE3190E to the manual e90e7d15-f6ca-b704-71d7-8907f0685b43
2015-01-24
: Snapper Snapper-Le3170E-Users-Manual-226851 snapper-le3170e-users-manual-226851 snapper pdf
Open the PDF directly: View PDF
.
Page Count: 30

Parts Manual fo
r
Revision M,
(
L.E.
)
SINGLE STAG
E
SERIES 0 & 1
McDonough, GA, 30253 U.S.A.
TP 400-5024-M-LE-N
11/7/2007
Manual No. 7006026
SNOW THROWER
Copyright © 2007
Briggs & Startton Yard Power Products Group
Milwaukee, WI USA. All Rights Reserved
Briggs & Startton Corporation
MODEL
ELE3190R (84675)
LE3170E (80488)
LE3170R (80370)
LE3170R (84362)
LE3170R (84559)
LE3171R (7085660)
LE3171R (85660)
LE3190E (80371)
LE3190E (84364)
LE3190E (84561)
LE3190R (80487)
LE3190R (84363)
LE3190R (84560)
LE3191E (7085662)
LE3191E (85662)
LE3191R (7085661)
LE3191R (85661)

Table Of Content
s
TP 400-5024-M-LE-N
Manual No. 7006026(L.E.) SINGLE STAGE
SERIES 0 & 1 3
PAGE GROUP
4HANDLES, AUGER CONTROL
6DISCHARGE CHUTE, DEFLECTOR, CONTROL HANDLE
8AUGER HOUSING, DRIVE SYSTEM, CHASSIS
12 COVERS, ENGINE
16 DECALS (94 MODEL YEAR & EARLIER)
18 DECALS (95 MODEL YEAR & LATER) Pt. 1
20 DECALS (95 MODEL YEAR & LATER) Pt. 2
22 HARDWARE BAGS
24 ACCESSORIES- ELECTRIC START KIT
26 ACCESSORIES- FLITE SHOE KITS

TP 400-5024-M-LE-N
Manual No. 7006026 (L.E.) SINGLE STAGE
SERIES 0 & 1
4

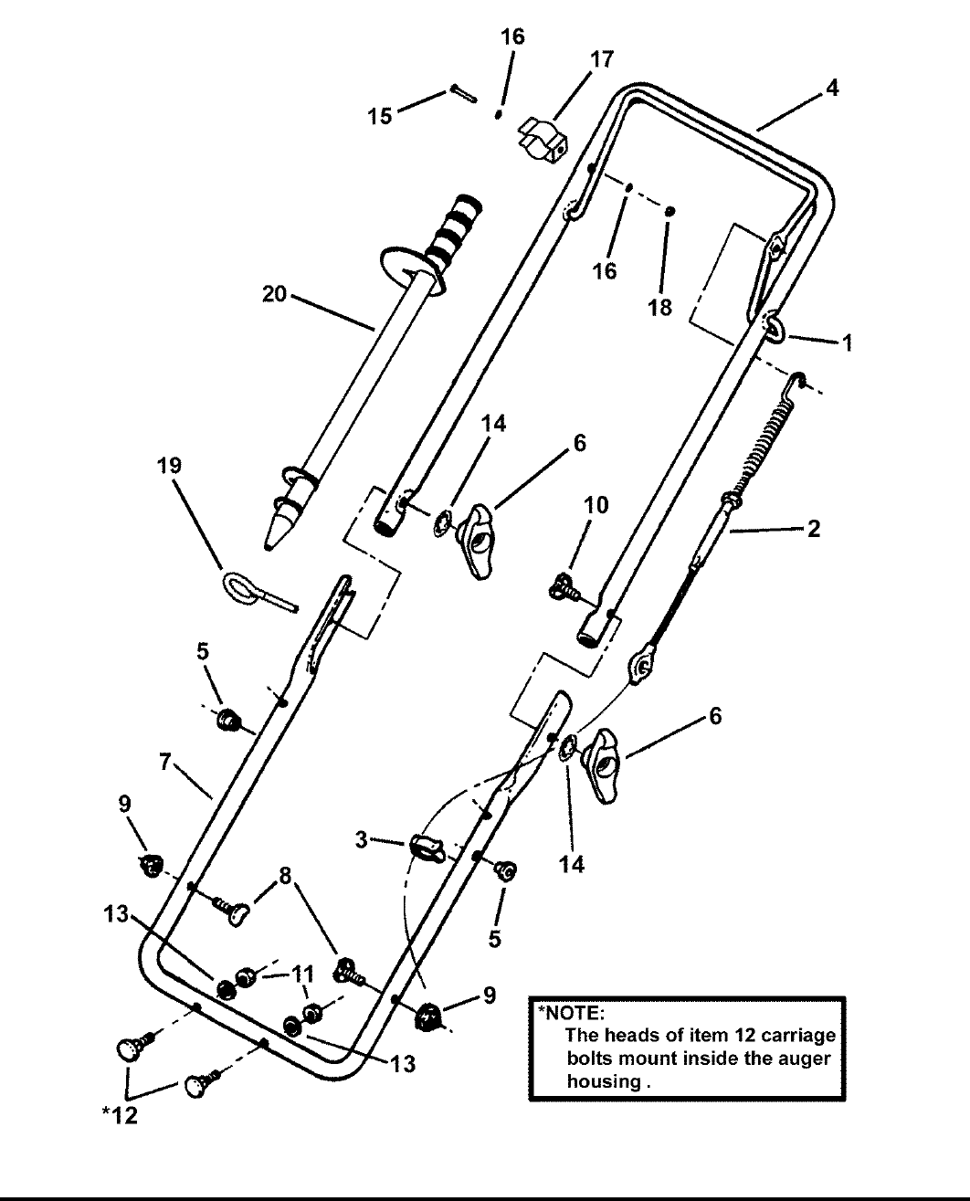
HANDLES, AUGER CONTROL
Footnotes:
TP 400-5024-M-LE-N
Manual No. 7006026(L.E.) SINGLE STAGE
SERIES 0 & 1 5
Part No Descri
p
tionItem Qt
y
Note
1 7024645 1 BAIL, Drive Control
2 7024662 1 CABLE, Drive Control
3 7023813 1 CLIP, Wiring Harness
4 7033496 1 HANDLE, Upper
5 7091182 2 INSERT, Nylon
6 7035744 2 KNOB, 5/16-18 Wing (Black)
7 7036570 1 HANDLE, Lower
8 7091190 2 BOLT, 5/16-18 x 1-3/8” Curved Head
9 7091601 2 NUT, 5/16-18 Hex Flange Lock, GR 5 Was 91070
10 7091013 2 BOLT, 5/16-18 x 2” Curved Head, GR 2
11 7091511 2 NUT, 5/16-18 Hex Was 90196
12 7091612 2 * BOLT, 5/16-18 x 1-1/2” Square Neck Carriage, GR 5 Was 90582
13 7090187 2 WASHER, 5/16” Split Lock
14 7090391 2 WASHER, 5/16” Internal Tooth Lock
15 7091757 1 SCREW, #10-24 x 1-1/4” Hex Head Cap, GR 5
16 7090011 2 WASHER, #10 Flat
17 7071895 1 HOLDER, Snostik, Upper
18 7091267 1 NUT, #10-24 Hex Center Lock
19 7075342 1 HOLDER, Snostik, Lower (5/16-18 thread)
20 7075909 1 SNOW STICK
Note* The heads of item 12 carriage bolts are inside the auger housing.

DISCHARGE CHUTE, DEFLECTOR, CONTROL HANDLE
TP 400-5024-M-LE-N
Manual No. 7006026 (L.E.) SINGLE STAGE
SERIES 0 & 1
6

DISCHARGE CHUTE, DEFLECTOR, CONTROL HANDLE
Footnotes:
TP 400-5024-M-LE-N
Manual No. 7006026(L.E.) SINGLE STAGE
SERIES 0 & 1 7
Part No Descri
p
tionItem Qt
y
Note
1 7052973 1 CHUTE, Discharge w/inserts Was 59232 (Model ELE3190R;
shown)
1 7052973 1 CHUTE, Discharge w/inserts (incl. decal # 24845) Models LE3170R, LE3190R &
LE3190E
1 7052973 1 CHUTE, Discharge w/inserts Was 52978, Models 3190M,
3190E & all Series 1
2 7059231 1 DEFLECTOR, Chute (incl. decal # 24106) Model ELE3190R
2 7052975 1 DEFLECTOR, Chute (incl. decal # 24844) Models LE3170R, LE3190R,
LE3190E, 3190M, 3190E & all
Series 1
3 7091318 2 SCREW, 5/16-18 x 3/4” Hex Head Cap, GR 2 Was 90206
4 7091303 1 BOLT, 5/16-18 x 1” Short Neck Carriage, GR 5 Was 91072
5 7091076 3 WASHER, 5/16” Flat
6 7091606 1 NUT, 5/16-24 Hex Center Lock, GR B Was 91074
7 7035744 1 KNOB, 5/16-18 Wing (Black)
8 7091021 2 SCREW, 5/16-24 x 3/4” Hex Head Cap, GR 5
9 7046340 1 HANDLE, Chute Control
10 7091612 2 BOLT, 5/16-18 x 1-1/2” Square Neck Carriage, GR 5 Was 90582
11 7091601 3 NUT, 5/16-18 Hex Flange Lock, GR 5 Was 91070
12 7090316 1 BOLT, 5/16-18 x 3/4” Short Neck Carriage, GR 5 Was 91097
13 7019692 1 WIRE, Safety
14 7023673 2 FASTENER, Push On, .156 Internal Diameter
15 7074198 3 CLIP, Guard Tinnerman # C2980
16 7092077 3 SCREW, #8-32 x 1/2” Pan Head Cross Recess
17 7092078 3 NUT, #8-32 Hex (w/free spinning external lock washer)

AUGER HOUSING, DRIVE SYSTEM, CHASSIS
TP 400-5024-M-LE-N
Manual No. 7006026 (L.E.) SINGLE STAGE
SERIES 0 & 1
8

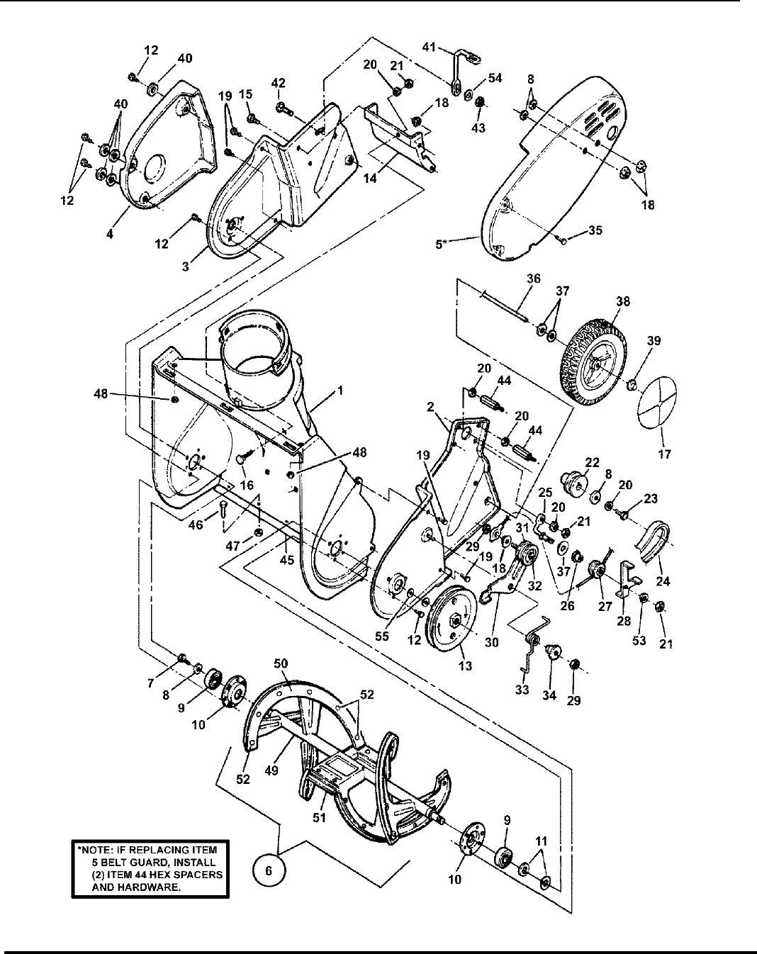
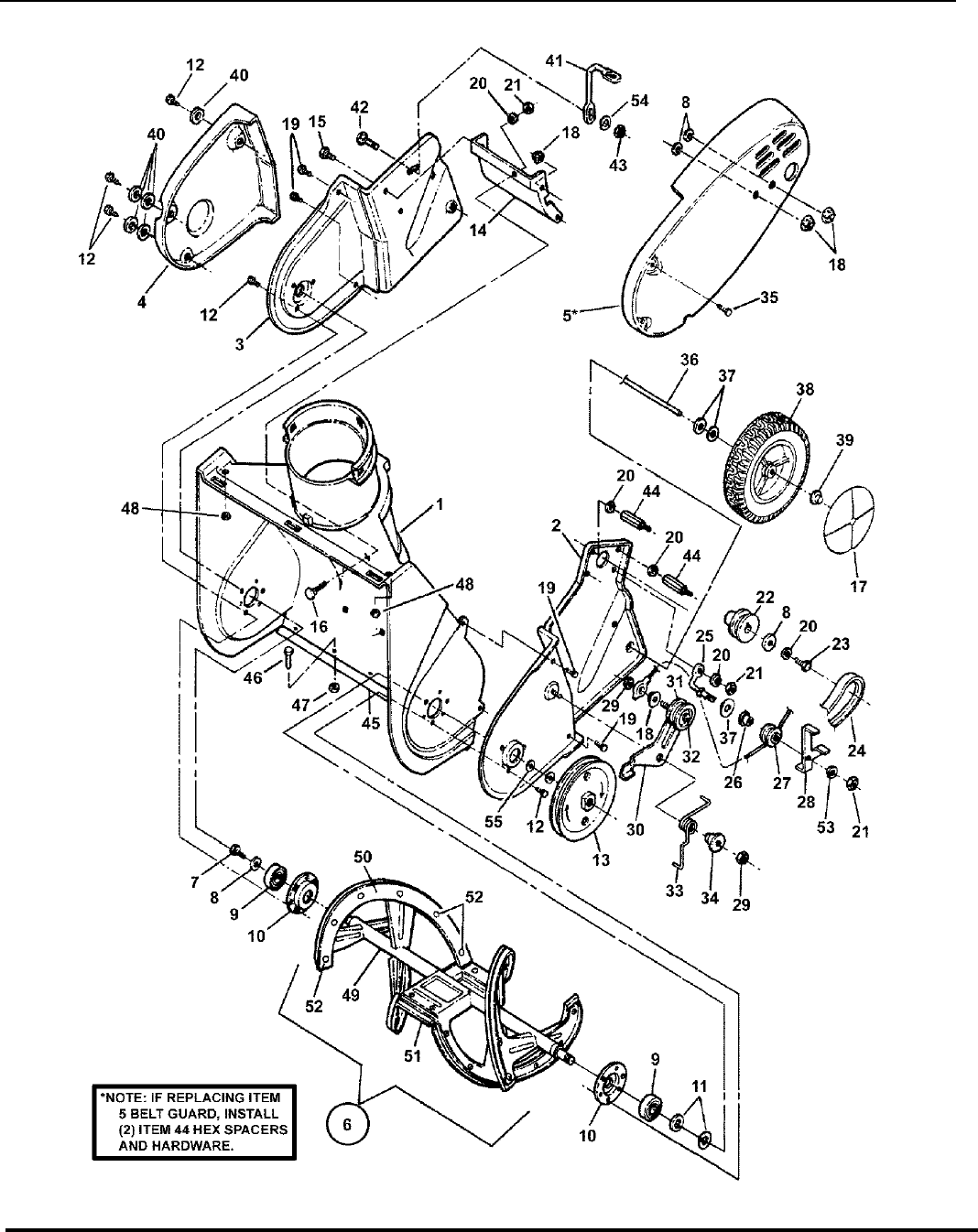
AUGER HOUSING, DRIVE SYSTEM, CHASSIS
Footnotes:
TP 400-5024-M-LE-N
Manual No. 7006026(L.E.) SINGLE STAGE
SERIES 0 & 1 9
Part No Descri
p
tionItem Qt
y
Note
1 7052968 1 * ASSEMBLY, Auger Housing 17” Models
1 7052969 1 ASSEMBLY, Auger Housing 19” Non-Euro Models
1 7059233 1 ASSEMBLY, Auger Housing Model ELE3190R
2 7052963 1 ASSEMBLY, End Frame, L.H. 17” Models
2 7052964 1 ASSEMBLY, End Frame, L.H. 19” Models
3 7041335 1 FRAME, End, R.H. 17” Models
3 7041333 1 FRAME, End, R.H. 19” Models
4 7026116 1 COVER, R.H. Side 17” Models
4 7026117 1 COVER, R.H. Side 19” Models
5 7034327 1 ** GUARD, Belt Drive fits all models
6 7052939 1 ASSEMBLY, Auger (incl. items 49 thru 52) 17” Models
6 7052940 1 ASSEMBLY, Auger (incl. items 49 thru 52) 19” Models
7 7090361 1 SCREW, 5/16-18 x 5/8” Hex Washer Self-Tap
8 7014098 3 WASHER, 5/16” Flat
9 7014608 2 BALL BEARING
10 7034385 2 RETAINER, 1-3/4” O.D. Bearing
11 7010935 2 WASHER, 3/4” Shim
12 7091012 9 SCREW, #10-32 x 3/8” Hex Washer Self-Tap (Torx)
13 7018635 1 PULLEY
14 7033457 1 BRACE, Engine
15 7091084 2 SCREW, 1/4-20 x 3/8” Hex Washer Self-Tap
16 7090316 1 BOLT, 5/16-18 x 3/4” Short Neck Carriage, GR 5 Was 91097
17 7019381 2 COVER, Wheel 94 Model Year & earlier
18 7091601 4 NUT, 5/16-18 Hex Flange Lock, GR 5 Was 91070
19 7091081 4 SCREW, 1/4-15 x 1” Hex Washer Self-Tap
20 7090187 7 WASHER, 5/16” Split Lock
21 7091511 5 NUT, 5/16-18 Hex Was 90196
22 7022179 1 PULLEY, Engine
23 7090233 1 SCREW, 5/16-24 x 3/4” Hex Head Cap, GR 5
24 7024618 1 V-BELT, 3L Section, 34.27” effective length Snapper part no. printed on part
25 7024800 1 GUIDE, Cable 17” Models
25 7024743 1 GUIDE, Cable 19” Models
26 7012306 1 BUSHING, Flange
27 7024228 1 PULLEY, Nylon
28 7033729 1 GUIDE, Belt
29 7091575 2 NUT, 5/16-18 Hex Center Lock Was 91067
30 7033695 1 BRACKET, Idler Pivot
Note* Riveted housing, throat & ring assembly with scraper installed
Note** 1994 & earlier models use a different belt guard & one hex spacer. If replacing item 5 belt guard, install (2) item 44
hex spacers & hardware.

AUGER HOUSING, DRIVE SYSTEM, CHASSIS
TP 400-5024-M-LE-N
Manual No. 7006026 (L.E.) SINGLE STAGE
SERIES 0 & 1
10

AUGER HOUSING, DRIVE SYSTEM, CHASSIS
Footnotes:
TP 400-5024-M-LE-N
Manual No. 7006026(L.E.) SINGLE STAGE
SERIES 0 & 1 11
Part No Descri
p
tionItem Qt
y
Note
31 7024626 1 PULLEY, Idler 19” Models
31 7027460 1 PULLEY, Single Flange Idler 17” Models
32 7090669 1 SCREW, 5/16-18 x 1-3/4” Hex Head Cap, GR 5
33 7024621 1 SPRING, Idler Torsion
34 7024620 1 BUSHING, Pivot
35 7091195 3 SCREW, #10-16 x 3/4” Pan Head Self-Tap
36 7033692 1 AXLE, 3/8” Dia. Wheel
37 7014098 4 WASHER, 3/8” Flat
38 7026160 2 WHEEL, 7 x 1.50
38 7026240 2 WHEEL, 7” Models 3190M, 3190E & Series
1
39 7014667 2 PUSH NUT, 3/8”
40 7090010 5 WASHER, #10 Flat
41 7024852 1 SUPPORT, Fuel Tank
42 7091573 1 BOLT, 1/4-20 x 5/8” Short Neck Carriage, GR 5 Was 90666
43 7090372 1 NUT, 1/4-20 Hex Nyloc
44 7027924 2 SPACER, Hex (2.69” long) 17” Models
44 7027925 2 SPACER, Hex (3.69” long) 19” Models
45 7035947 1 BLADE, Scraper 17” Models
45 7035948 1 BLADE, Scraper 19” Models
46 7091148 4 SCREW, 1/4-20 x 1/2” Pan Head Machine (Torx)
47 7090372 4 NUT, 1/4-20 Hex Nyloc
48 7090372 2 NUT, 1/4-20 Hex Center Lock Was 91099
49 7047026 1 WELDMENT, Auger 17” Models
49 7047025 1 WELDMENT, Auger 19” Models
50 7029566 4 SHOE, Flite 17” Models
51 7018638 4 SHOE, Flite 19” LE Models
51 7029565 4 SHOE, Flite Models 3190M, 3190E & 19”
Series 1
51 7014612 2 SHOE, Center Flite
52 7091286 24 SCREW, #10-24 x 1/2” Hex Washer Self-Tap Sems
53 7090391 1 WASHER, 5/16” Internal Tooth Lock
54 7090052 1 WASHER, 1/4” Split Lock
55 7010935 2 WASHER, 3/4” Flat
Note* Riveted housing, throat & ring assembly with scraper installed
Note** 1994 & earlier models use a different belt guard & one hex spacer. If replacing item 5 belt guard, install (2) item 44
hex spacers & hardware.

COVERS, ENGINE
TP 400-5024-M-LE-N
Manual No. 7006026 (L.E.) SINGLE STAGE
SERIES 0 & 1
12

COVERS, ENGINE
Footnotes:
TP 400-5024-M-LE-N
Manual No. 7006026(L.E.) SINGLE STAGE
SERIES 0 & 1 13
Part No Descri
p
tionItem Qt
y
Note
1 7052977 1 COVER, Top (includes Eyelet # 24636) all Models except 3190M &
3190E
1 7058013 1 COVER, Top (includes Eyelet # 24636) 3190M & 3190E
2 7052974 1 ASSEMBLY, Fuel Tank (includes Cap # 24495)
3 7016132 1 SPACER
4 7023506 1 BEZEL
5 7012685 1 NUT, 5/8-32 Hex
6 7091584 1 NUT, 1/4-20 Hex Flange lock Was 91065
7 7011138 1 KEY (Pair)
8 7017817 1 SWITCH, Ignition
9 7014638 1 PRIMER
10 7014639 1 HOSE, Primer .126/.141 I.D. x 9-1/2” long
11 7091183 1 PLUG, Hole
12 7029900 2 CLAMP, Fuel Hose
13 7076272 2 HOSE, Fuel 1/4” I.D. x 8-1/2” long
14 1 * ENGINE, 3 HP Tecumseh (HSK 600-1683T) 17” Models (Engine Crank Shaft:
2.21” long)
14 1 * ENGINE, 3 HP Tecumseh (HSK 600-1691T) 19” Models (Engine Crank Shaft:
3.21” long)
14 1 * ENGINE, 3 HP Tecumseh (HSK 600-1702T) 19” Electric Start Models
(Engine Crank Shaft: 3.21” long)
14 1 * ENGINE, 3 HP Tecumseh (TH098SA-1732E) 17” Series 1
14 1 * ENGINE, 3 HP Tecumseh (TH098SA-1733E) 19” Series 1
14 1 * ENGINE, 3 HP Tecumseh (TH098SA-1734E) 19” Euro Series 1
15 7010783 1 KEY, 5/32 x 5/8” Woodruff
16 7023978 1 COVER, Bottom Recoil Start Models
16 7024923 1 COVER, Bottom Electric Start Models
17 7090913 2 SCREW, #10-24 x 1/2" Hex Washer Self-Tap (Torx)
18 7024478 1 HANDLE, Pull Rope 94 Model Year and Earlier
19 7028201 1 HANDLE, Pull Rope 95 Model Year and Later
19 7025063 1 HANDLE, Pull Rope 3190M, 3190E & Series 1
Models (not shown)
20 7091196 2 SCREW, #8 x 1-1/4” Hi-Lo Self-Tap
21 7091546 1 WASHER, 5/8” Internal Tooth Lock Was 90880
22 7014359 1 FILTER, In-Line
23 7091495 3 SCREW, 1/4-20 x 3/4” Hex Head Cap, GR 5 Was 90073
24 7027910 1 ISOLATOR, Fuel Tank/Cover
25 7027911 1 SPACER
26 7090010 4 WASHER, #10 Flat Electric Start Models only
27 7090052 1 WASHER, 1/4” Split Lock
28 7028202 1 INSERT, Starter Handle 95 Model Year and Later
29 7027945 2 MUFFLER STUD LE317
Note * Purchase engine & engine parts other than those listed, from engine service outlets.

COVERS, ENGINE
TP 400-5024-M-LE-N
Manual No. 7006026 (L.E.) SINGLE STAGE
SERIES 0 & 1
14

COVERS, ENGINE
Footnotes:
TP 400-5024-M-LE-N
Manual No. 7006026(L.E.) SINGLE STAGE
SERIES 0 & 1 15
Part No Descri
p
tionItem Qt
y
Note
30 7024640 2 MUFFLER STUD LE319 (not shown)
31 7028599 1 KNOB, Red
Note * Purchase engine & engine parts other than those listed, from engine service outlets.

DECALS (94 MODEL YEAR & EARLIER)
TP 400-5024-M-LE-N
Manual No. 7006026 (L.E.) SINGLE STAGE
SERIES 0 & 1
16

DECALS (94 MODEL YEAR & EARLIER)
Footnotes:
TP 400-5024-M-LE-N
Manual No. 7006026(L.E.) SINGLE STAGE
SERIES 0 & 1 17
Part No Descri
p
tionItem Qt
y
Note
1 7024848 1 DECAL, Panel Instructions Recoil Start Models
2 7024851 1 DECAL, Panel Instructions Electric Start Models only
3 7024846 1 DECAL, 17” Models Electric Start Models only
3 7026851 1 DECAL, 17” Models Electric Start Models only
4 7024850 1 DECAL, 19” Models Electric Start Models only
4 7026850 1 DECAL, 19” Models Recoil Start Models
7 7024845 1 DECAL, Safety Instruction
8 7024844 1 DECAL, Danger
9 7026091 1 DECAL, SNAPPER (Top Cover)
10 7026092 1 DECAL, SNAPPER (Belt Cover)
11 7024849 1 DECAL, Primer Instruction
12 7024983 1 LOGO, SNAPPER

DECALS (95 MODEL YEAR & LATER) Pt. 1
TP 400-5024-M-LE-N
Manual No. 7006026 (L.E.) SINGLE STAGE
SERIES 0 & 1
18

DECALS (95 MODEL YEAR & LATER) Pt. 1
Footnotes:
TP 400-5024-M-LE-N
Manual No. 7006026(L.E.) SINGLE STAGE
SERIES 0 & 1 19
Part No Descri
p
tionItem Qt
y
Note
1 7028292 1 DECAL, Panel Instructions Electric Start Models only
2 7073463 1 DECAL, Panel Instructions Was 28291 Recoil Start Models
3 7074199 1 DECAL, Panel Instructions Euro Models
4 7073463 1 DECAL, Panel Instructions Recoil Start Models
5 7073466 1 DECAL, Panel Instructions Electric Start Models only
6 7072883 1 DECAL, Auger Control
7 7074137 1 DECAL, Auger Control Euro Models
8 7027733 1 DECAL, Ear Protection
9 7028284 1 DECAL, SNAPPER (Belt Cover) 13” long
9 7028290 1 DECAL, SNAPPER (Belt Cover) 15” long
10 7024983 1 LOGO, SNAPPER
11 7028285 1 DECAL, L.E. Model
12 7028286 1 DECAL, 17” Model
13 7028287 1 DECAL, 19” Model
14 7024845 1 DECAL, Chute, Safety Instructions
15 7074197 1 DECAL, Chute Euro Models
16 7024844 1 DECAL, Danger, Chute Deflector
17 7028700 1 DECAL, Deflector, Read Manual Euro Models
18 7074329 1 DECAL, Sound (110 dB)
19 7074136 1 DECAL, Sound (105 dB)

DECALS (95 MODEL YEAR & LATER) Pt. 2
TP 400-5024-M-LE-N
Manual No. 7006026 (L.E.) SINGLE STAGE
SERIES 0 & 1
20

DECALS (95 MODEL YEAR & LATER) Pt. 2
Footnotes:
TP 400-5024-M-LE-N
Manual No. 7006026(L.E.) SINGLE STAGE
SERIES 0 & 1 21
Part No Descri
p
tionItem Qt
y
Note
20 7073461 1 DECAL, Warning Safety Instructions
21 7028288 1 DECAL, Primer Instruction
22 7074209 1 DECAL, Primer Instruction Euro Models
23 7073844 1 DECAL, Fuel Safety
24 7029776 1 DECAL, Euro Community
25 7028711 1 DECAL, Foot/Danger Euro Models
26 7046276 1 DECAL, Tecumseh 3HP Carb/EPA Certified Tecumseh p/n 64-1654-64
27 7074548 1 DECAL, 2002 Year of Manufacture (Not shown)
27 7075378 1 DECAL, 2003 Year of Manufacture
28 7016134 1 DECAL, Caution Tag
29 7026218 1 DECAL, Panel Instructions Electric Start Models only
30 7026217 1 DECAL, Panel Instructions Recoil Start Models
31 7026241 1 DECAL, Top Cover, Left Hand
32 7024565 1 DECAL, Top Cover, Right Hand
33 7028315 1 DECAL, Primer Instruction/Key Switch
34 7028004 1 DECAL, Top Cover, Front
35 7044999 1 DECAL, Tecumseh 3HP Carb/EPA Certified Tecumseh p/n 64-2128-105
36 1716532 1 DECAL, Danger, Auger
37 7026733 1 DECAL, Warning Safety Instructions

HARDWARE BAGS
TP 400-5024-M-LE-N
Manual No. 7006026 (L.E.) SINGLE STAGE
SERIES 0 & 1
22

HARDWARE BAGS
Footnotes:
TP 400-5024-M-LE-N
Manual No. 7006026(L.E.) SINGLE STAGE
SERIES 0 & 1 23
Part No Descri
p
tionItem Qt
y
Note
7063186 1 HARDWARE BAG (includes Items 1 thru 6) Model ELE3190R
7061217 1 HARDWARE BAG (includes Items 1, 2, 3 & 5) Models LE3170R, LE3190R,
LE3190E, 3190M, 3190E & all
Series 1
1 7091318 2 SCREW, 5/16-18 x 3/4” Hex Head Cap, GR 2 Was 90206
2 7091928 2 BOLT, 5/16-18 x 1-1/4” Square Neck Carriage Was 90978
3 7091601 3 NUT, 5/16-18 Hex Flange Lock, GR 5 Was 91070
4 7092077 1 SCREW, #8-32 x 1/2” Pan Head Cross Recess
5 7090316 1 BOLT, 5/16-18 x 3/4” Short Neck Carriage, GR 5 Was 91097
6 7092078 1 NUT, #8-32 Hex (w/free spinning external lock washer)

ACCESSORIES- ELECTRIC START KIT
TP 400-5024-M-LE-N
Manual No. 7006026 (L.E.) SINGLE STAGE
SERIES 0 & 1
24

ACCESSORIES- ELECTRIC START KIT
Footnotes:
TP 400-5024-M-LE-N
Manual No. 7006026(L.E.) SINGLE STAGE
SERIES 0 & 1 25
Part No Descri
p
tionItem Qt
y
Note
7063186 BAG, Hardware (Incl. items 1 thru 6)
1 7090206 2 SCREW, 5/16-18 x 3/4” Hex Head Cap GR5 discharge chute, item 3
2 7090978 2 BOLT, 5/16-18 x 1-1/4” Sq. Neck Carriage GR5 handles, item 11
3 7091070 3 NUT, 5/16-18 Hex Flange Lock GR5 discharge chute, item 11
4 7092077 1 SCREW, #8-32 x 1/2” Pan Head Cross Recess discharge chute, item 16
5 7091097 1 BOLT, 5/16-18 x 3/4” Sq. Neck Carriage GR5 discharge chute, item 12
6 7092078 1 NUT, #8-32 Hex w/External Tooth Washer discharge chute, item 17

ACCESSORIES- FLITE SHOE KITS
TP 400-5024-M-LE-N
Manual No. 7006026 (L.E.) SINGLE STAGE
SERIES 0 & 1
26

ACCESSORIES- FLITE SHOE KITS
Footnotes:
TP 400-5024-M-LE-N
Manual No. 7006026(L.E.) SINGLE STAGE
SERIES 0 & 1 27
Part No Descri
p
tionItem Qt
y
Note
7061215 1 KIT, 17” Flite Shoe (incl. Items 1A, 2, 3 & 4)
7061213 1 KIT, 19” Flite Shoe (incl. Items 1B, 2, 3 & 4)
1A 7029566 4 SHOE, 17” Flite Auger
1B 7029565 4 SHOE, 19” Flite Auger
2 7014612 2 SHOE, Flite Center
3 7091148 24 * SCREW, 1/4-20 x 1/2” Machine 28 used in 19” kit
4 7090372 24 * NUT, 1/4-20 Hex Center Lock, GR 5 or B 28 used in 19” kit
Note: * Items 3 & 4 were used on early models, but were replaced by self-tapping screws (91286) on later models.

Parts Manual fo
r
(
L.E.
)
SINGLE STAGE
SERIES 0 & 1
IT IS THE POLICY OF BRIGGS & STRATTON CORP TO IMPROVE ITS
PRODUCTS WHENEVER IT IS POSSIBLE AND PRACTICAL TO DO SO.
WE RESERVE THE RIGHT TO MAKE CHANGES OR ADD
IMPROVEMENTS AT ANY TIME WITHOUT INCURRING ANY
OBLIGATION TO MAKE SUCH CHANGES ON PRODUCTS
Revision M, TP 400-5024-M-LE-N
11/7/2007
Manual No. 7006026
McDonough, GA, 30253 U.S.A.
SNOW THROWER
Copyright © 2007
Briggs & Startton Yard Power Products Group
Milwaukee, WI USA. All Rights Reserved
Briggs & Startton Corporation