Snapper Ro21380 Users Manual PartsManual
2015-01-24
: Snapper Snapper-Ro21380-Users-Manual-226229 snapper-ro21380-users-manual-226229 snapper pdf
Open the PDF directly: View PDF .
Page Count: 16

Parts Manual fo
r
Revision 1,
21" OPENING PRICE POIN
T
SERIES 0
COPYRIGHT
©
2005
McDonough, GA, 30253 U.S.A.
TP 400-5123-1-WB-N
10/11/2005
Manual No. 7006048
SNAPPER PRODUCTS, INC.
ALL RIGHTS RESERVED.
WALK BEHIND MOWER
MODEL
RO21380

Table Of Content
s
TP 400-5123-1-WB-N
Manual No. 700604821" OPENING PRICE POINT
SERIES 0 3
PAGE GROUP
4Handles & Controls
6Cutting Deck, Blade, Interlock
8Wheels, Guards, Axles
10 Side Chute, Adapter
12 Decals

Handles & Controls
TP 400-5123-1-WB-N
Manual No. 7006048 21" OPENING PRICE POINT
SERIES 0
4

Handles & Controls
Footnotes:
TP 400-5123-1-WB-N
Manual No. 700604821" OPENING PRICE POINT
SERIES 0 5
Part No Descri
p
tionItem Qt
y
Note
1 7074384 HANDLE, Upper Was 33473
2 7033406 HANDLE, Middle
3 7091022 2 SCREW, 1/4-28 x 1-3/4" Hex Head Cap
4 7090053 WASHER, 1/4 Internal Tooth Lock Was 91023
5 7017072 CONTROL, Blade
6 7033904 CLIP, Blade Control
7 7016707 CABLE, Blade Control
8 7014343 BUSHING
9 7023813 CLIP, Wiring Harness
10 7026141 GUIDE, Pull Rope
11 7090095 NUT, 1/4-28 Hex Was 91024
12 7016544 2 PLUG
13 7091508 4 BOLT, 5/16-18 x 3/4" Short Neck Carriage Was 90001
14 7091601 4 NUT, 5/16-18 Hex Flange Lock Was 91070
15 7024211 DECAL, Blade Control

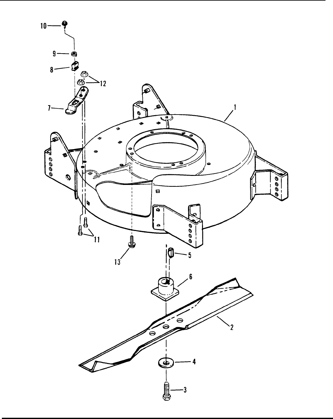
Cutting Deck, Blade, Interlock
TP 400-5123-1-WB-N
Manual No. 7006048 21" OPENING PRICE POINT
SERIES 0
6

Cutting Deck, Blade, Interlock
Footnotes:
TP 400-5123-1-WB-N
Manual No. 700604821" OPENING PRICE POINT
SERIES 0 7
Part No Descri
p
tionItem Qt
y
Note
1 7053271 DECK, Mower (Includes painted deck with
decals)
2 7017168 BLADE, Cutter
3 7090167 SCREW, 3/8-24 x 2" Hex Head Cap (Gr. 5)
4 7012063 WASHER, Cone
5 7010783 KEY, Hi-Pro
6 7012927 HUB, Blade Drive
7 7033408 SPRING, Interlock
8 7012048 INSULATOR, Interlock
9 7090385 WASHER, #8 Tab
10 7090379 SCREW, #8-18 x 3/4" Self-Tapping
11 7090071 2 SCREW, 1/4-20 x 3/4" Hex Head Cap
12 7091584 2 NUT, 1/4-20 Hex Flange Was 90583
13 7090324 3 SCREW, 3/8-16 x 1" Self-Tapping

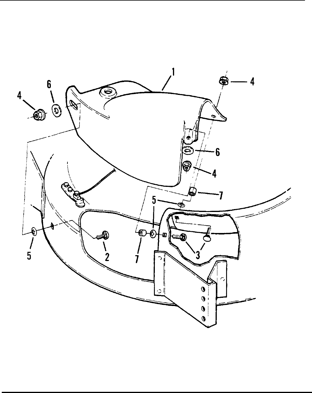
Wheels, Guards, Axles
TP 400-5123-1-WB-N
Manual No. 7006048 21" OPENING PRICE POINT
SERIES 0
8

Wheels, Guards, Axles
Footnotes:
TP 400-5123-1-WB-N
Manual No. 700604821" OPENING PRICE POINT
SERIES 0 9
Part No Descri
p
tionItem Qt
y
Note
1 7022374 2 WHEEL, Front & Rear 8 x 2.00
2 7026667 GUARD, Rear Foot
3 7026643 SUPPORT, Foot Guard
4 7090913 2 SCREW, #10-24 x 1/2" Hex Washer Self-Tap (Torx)
5 7091221 4 BOLT, 3/8-16 x 2-7/16" Shoulder
6 7011121 4 WASHER, 5/8 Belleville
7 7091220 4 WASHER, 9/16 x 1-1/16" O.D. Thrust
8 7091619 4 NUT, 3/8-16 Hex Flange Lock Was 90613

Side Chute, Adapter
TP 400-5123-1-WB-N
Manual No. 7006048 21" OPENING PRICE POINT
SERIES 0
10

Side Chute, Adapter
Footnotes:
TP 400-5123-1-WB-N
Manual No. 700604821" OPENING PRICE POINT
SERIES 0 11
Part No Descri
p
tionItem Qt
y
Note
1 7026560 COVER, Recycling
2 7091508 BOLT, 5/16-18 x 3/4" Short Neck Carriage Was 90001
3 7091303 2 BOLT, 5/16-18 x 1" Short Neck Carriage Was 91072
4 7090951 3 NUT, 5/16-18 Center Lock
5 7011791 3 RETAINER, 5/16 Bolt
6 7091076 3 WASHER, 5/16 Flat
7 7024340 2 SPACER

Decals
TP 400-5123-1-WB-N
Manual No. 7006048 21" OPENING PRICE POINT
SERIES 0
12

Decals
Footnotes:
TP 400-5123-1-WB-N
Manual No. 700604821" OPENING PRICE POINT
SERIES 0 13
Part No Descri
p
tionItem Qt
y
Note
1 7026388 LOGO, SNAPPER (Recycling / Mulching)
2 7024211 DECAL, Blade Control
3 7013010 DECAL, Danger

Parts Manual fo
r
21" OPENING PRICE POIN
T
SERIES 0
IT IS THE POLICY OF SNAPPER TO IMPROVE ITS PRODUCTS
WHENEVER IT IS POSSIBLE AND PRACTICAL TO DO SO. WE
RESERVE THE RIGHT TO MAKE CHANGES OR ADD IMPROVEMENTS
AT ANY TIME WITHOUT INCURRING ANY OBLIGATION TO MAKE
SUCH CHANGES ON PRODUCTS MANUFACTURED PREVIOUSLY.
Revision 1,
COPYRIGHT
©
2005
TP 400-5123-1-WB-N
10/11/2005
Manual No. 7006048
SNAPPER PRODUCTS, INC.
ALL RIGHTS RESERVED.
McDonough, GA, 30253 U.S.A.
WALK BEHIND MOWER