Snapper Rp2167519Bdv Users Manual
2015-01-24
: Snapper Snapper-Rp2167519Bdv-Users-Manual-226389 snapper-rp2167519bdv-users-manual-226389 snapper pdf
Open the PDF directly: View PDF
.
Page Count: 28

Safety Instructions & Operator’s Manual for
21” STEEL DECK
RECYCLING
WALK MOWERS
SERIES 19
MODEL NUMBER EXPLANATION
R P 21 675 19 B D V
MODEL DESIGNATION ENGINE OPTION
CUTTING WIDTH ENGINE DESIGNATION
ENGINE POWER * SERIES DESIGNATION
R – Recycling Model 21 – 21” Cutting Width 19 - Series Designation DV – Direct Overhead Valve
P – Self Propelled Model 675 – 6.75 (Engine Power) B – Briggs & Stratton
Thank you for buying a SNAPPER Product! Before operating your Walk Behind, read this manual carefully and pay
particular attention to the “IMPORTANT SAFETY INSTRUCTIONS” on Pages 2 - 4. Remember that all power
equipment can be dangerous if used improperly. Also keep in mind that SAFETY requires careful use in accordance
with the operating instructions and common sense.
NOTE: Specifications are correct at time of printing and are subject to change without notice.
* Actual sustained engine power will likely be lower due to operating limitations and environmental factors. See ‘Engine Power Rating
Information’ on page 4 for further details.
COPYRIGHT © 2006
SNAPPER – A DIVISION OF SIMPLICITY MFG., INC.
ALL RIGHTS RESERVED MANUAL No. 7100977 (I.R. 10/6/2006)
TP 100-5209-IR-WB-N
MODELS
RP2167519BDV
2
IMPORTANT SAFETY INSTRUCTIONS
WARNING: This powerful cutting machine is capable of amputating hands and feet and can throw objects that
can cause injury and damage! Failure to comply with the following SAFETY instructions could result in serious
injury or death to the operator or other persons. The owner of the machine must understand these instructions
and must allow only persons who understand these instructions to operate machine. Each person operating
the machine must be of sound mind and body and must not be under the influence of any substance, which
might impair vision, dexterity or judgment. If you have any questions pertaining to your machine which your
dealer cannot answer to your satisfaction, call or write the Customer Service Department at SNAPPER,
McDonough, Georgia 30253. Phone: (1-800-935-2967).
PROTECTION FOR CHILDREN
Tragic accidents can occur if the operator is not alert to
the presence of children. Children are often attracted to
the machine and the mowing activity. Never assume
that children will remain where you last saw them.
1. KEEP children out of the mowing area and under
the watchful care of a responsible adult other than
the operator.
2. DO NOT allow children in yard when machine is
operated and turn machine OFF if anyone enters
the area.
3. DO NOT allow pre-teenage children to operate
machine.
4. ALLOW only responsible adults & teenagers with
mature judgment under close adult supervision to
operate machine.
5. DO NOT pull mower backwards unless absolutely
necessary. LOOK and SEE behind and down for
children, pets and hazards before and while
backing.
6. USE EXTRA CARE when approaching blind
corners, shrubs, trees, or other objects that may
obscure vision.
SLOPE OPERATION
1. Slopes are a major factor related to slip and fall
accidents, which can result in severe injury. All
slopes require extra caution. If you feel uneasy on
a slope, DO NOT mow it.
2. Mow across slopes, never up-and-down. Exercise
extreme CAUTION when changing directions on
slopes. DO NOT mow steep slopes or other areas
where stability or traction is in doubt.
3. Use extra care with grass catchers or other
attachments; these affect the handling and the
stability of the machine.
PREPARATION
1. Read, understand, and follow instructions and
warnings in this manual and on the mower, engine
and attachments. Know the controls and the
proper use of the mower before starting.
2. Only mature, responsible persons shall operate the
machine and only after proper instruction.
PREPARATION
(Continued From Previous Column)
3. Data indicates that operators age 60 and above, are
involved in a large percentage of mower-related
injuries. These operators should evaluate their
ability to operate the mower safely enough to
protect themselves and others from serious injury.
4. Handle fuel with extra care. Fuels are flammable
and vapors are explosive. Use only an approved
fuel container. DO NOT remove fuel cap or add fuel
with engine running. Add fuel outdoors only with
engine stopped and cool. Clean spilled fuel and oil
from machine. DO NOT smoke.
5. Check the area to be mowed and remove all
objects such as toys, wire, rocks, limbs and other
objects that could cause injury if thrown by blade
or interfere with mowing. Also note the location of
holes, stumps, and other possible hazards.
6. Keep people and pets out of the mowing area.
Immediately, STOP Blade, Stop engine and Stop
mower if anyone enters the area.
7. Check shields, deflectors, switches, blade controls
and other safety devices frequently for proper
operation and location.
8. Make sure all safety decals are clearly legible.
Replace if damaged.
9. Protect yourself when mowing and wear safety
glasses, long pants and substantial footwear. DO
NOT mow barefooted or with sandals.
10. Know how to STOP blade and engine quickly in
preparation for emergencies.
11. Use extra care when loading or unloading the
machine into a trailer or truck.
12. Check grass catcher components frequently for
signs of wear or deterioration and replace as
needed to prevent injury from thrown objects
going through weak or torn spots.
SAFE HANDLING OF GASOLINE
To avoid personal injury or property damage, use
extreme care in handling gasoline. Gasoline is
extremely flammable and the vapors are explosive
1. Extinguish all cigarettes, cigars, pipes and other
sources of ignition.
2. Use only an approved fuel container.

3
IMPORTANT SAFETY INSTRUCTIONS
SAFE HANDLING OF GASOLINE
(Continued From Previous Page)
3. DO NOT remove fuel cap or add fuel with the engine
running. Allow the engine to cool before refueling.
4. DO NOT refuel the machine indoors.
5. DO NOT store the machine or fuel container inside
where there is an open flame, spark or pilot light
such as on a water heater or other appliances.
6. DO NOT fill fuel containers inside a vehicle or on a
truck or trailer bed with a plastic liner. Always place
the containers on the ground away from the vehicle
before filling.
7. Remove gas-powered equipment from the vehicle or
trailer and refuel it on the ground. If this is not
possible, then refuel equipment using a portable
container, rather than a gasoline dispenser nozzle.
8. DO NOT start gas powered equipment in enclosed
vehicles or trailers.
9. Keep the nozzle in contact with the rim of the fuel
tank or container opening at all times until fueling is
complete. DO NOT use a nozzle lock-open device
10. If fuel is spilled on clothing, change clothing
immediately.
11. DO NOT overfill a fuel tank. Replace fuel cap and
tighten securely.
OPERATION
1. DO NOT put hands or feet near or under rotating
parts. Keep clear of discharge area while engine is
running.
2. STOP engine when crossing gravel drives, walks, or
roads, and under any conditions where thrown
objects might be a hazard.
3. Mow only in daylight or good artificial light.
4. DO NOT operate mower while under the influence of
alcohol or drugs.
5. After striking a foreign object or if mower vibrates
abnormally, STOP the engine, disconnect and
secure spark plug wire. Inspect the mower for any
damage and repair the damage before starting.
6. DO NOT mow near drop offs, ditches or
embankments. Operator could lose footing or
balance.
7. STAY ALERT for holes and other hidden hazards.
Tall grass can hide obstacles. Keep away from
ditches, washouts, culverts, fences and protruding
objects.
8. DO NOT mow on wet grass. Always be sure of your
footing. Keep a firm hold on the handle and walk,
never run. Slipping could cause injury.
9. ALWAYS stay behind handle when engine (motor) is
running.
10. DO NOT leave the machine with the engine running.
STOP BLADE and STOP ENGINE before leaving the
operators position for any reason.
OPERATION
(Continued From Previous Column)
11. Before cleaning, repairing or inspecting make
certain engine, blade and all moving parts have
STOPPED. Disconnect and secure spark plug wire
away from plug to prevent accidental starting.
12. STOP engine and wait until the blade comes to
complete STOP before removing grass bag and/or
clearing grass.
13. DO NOT operate mower without the entire grass
catcher, discharge guard, rear guard or other safety
devices in place and working. DO NOT point
discharge at people, passing cars, windows or
doors.
14. DO NOT discharge material against a wall or
obstruction. Material may ricochet back towards the
operator.
15. Slow down before turning.
16. Watch out for traffic when near or crossing
roadways.
17. DO NOT operate engine in enclosed areas. Engine
exhaust gases contain carbon monoxide, a deadly
poison.
18. Only use accessories approved by the
manufacturer. See manufacturer’s instructions for
proper operation and installation of accessories.
MAINTENANCE AND STORAGE
1. DO NOT store mower or fuel container inside where
fumes may reach an open flame, spark or pilot light
such as in a water heater, furnace, clothes dryer or
other gas appliance. Allow engine to cool before
storing machine in an enclosure. Store fuel
container out of reach of children in a well
ventilated, unoccupied building.
2. Keep mower and engine free of grass, leaves or
excess grease to reduce fire hazard and engine
overheating.
3. When draining fuel tank, drain fuel into an approved
container outdoors and away from open flame.
4. Keep all bolts, especially blade bolts, nuts and
screws properly tight. Check that all cotter pins are
in proper position.
5. Always provide adequate ventilation when running
engine. Engine exhaust gases contain carbon
monoxide, a deadly poison.
6. Service engine and make adjustments only when
engine is stopped. Removed spark plug wire from
spark plug and secure wire away from spark plug to
prevent accidental starting.
7. DO NOT change engine governor speed settings or
overspeed engine.
8. Check grass bag assembly frequently for wear or
deterioration to avoid thrown objects and exposure
to moving parts. Replace with new bag if loose
seams or tears are evident. Replace slider or bag
adapter if broken or cracked.

4
IMPORTANT SAFETY INSTRUCTIONS
MAINTENANCE AND STORAGE
(Continued From Previous Page)
9. Mower blades are sharp and can cut. Wrap the
blades or wear heavy leather gloves and use
CAUTION when handling them.
10. DO NOT test for spark by grounding spark plug next
to spark plug hole; spark plug could ignite gas
exiting engine.
11. Have machine serviced by an authorized SNAPPER
dealer at least once a year and have the dealer install
any new safety devices.
12. Use only genuine SNAPPER replacement parts to
assure that original standards are maintained.
Engine Power Rating Information
The gross power rating labels for individual gas engine models meet or exceed SAE (Society of Automotive
Engineers) code J1940 (Small Engine Power & Torque Rating Procedure) and rating performance has been
obtained and corrected in accordance with SAE J1995 (Revision 2002-05). Actual gross engine power may be
lower and is affected by, but not limited to, ambient operating conditions and engine to engine variability. Given
both the wide array of products on which engines are placed, and the variety of environmental issues applicable
to operating the equipment, the gas engine will not develop the rated gross power when used in a given piece
of power equipment (actual “on-site” or net horsepower). This difference is due to a variety of factors including,
but not limited to, accessories (air cleaner, exhaust, charging, cooling, carburetor, fuel pump, etc.), application
limitations, ambient operating conditions (temperature, humidity, altitude), and engine to engine variability.
This manual contains safety information to make you aware of the hazards
and risks associated with the machine and how to avoid them. This machine
is designed and intended to be used and maintained according to the
manual for finish cutting of established lawns and is not intended for any
other purpose. It is important that you read and understand these
instructions thoroughly before attempting to start or operate this equipment.

5
TABLE OF CONTENTS
IMPORTANT SAFETY INSTRUCTIONS...................................................................... 2 - 4
STATEMENT OF USAGE...................................................................................................4
ENGINE POWER RATING INFORMATION.......................................................................4
TABLE OF CONTENTS......................................................................................................5
SECTION 1 - FAMILIARIZATION.......................................................................................6
SECTION 2 - OPERATING INSTRUCTIONS............................................................... 7-10
Pre-start Checklist................................................................................................7
Starting & Stopping Engine & Blade..................................................................7
Starting & Stopping Wheel Drive........................................................................8
Handle Height Adjustment ..................................................................................8
Cutting Height Adjustment.............................................................................. 8-9
Recycling Operation.............................................................................................9
Installation of Side Discharge Deflector ............................................................9
Installation of Grass Bag Assembly.................................................................10
SECTION 3 - MAINTENANCE INSTRUCTIONS ....................................................... 11-12
Change Engine Oil..............................................................................................11
Check Transmission Grease.............................................................................11
Check Mower Blade ...........................................................................................12
Check Engine Drive Belt....................................................................................12
Check Transmission Poly-V Belt ......................................................................12
Service - Annually ..............................................................................................12
Engine ..............................................................................................................12
Air Filter............................................................................................................12
Engine Oil.........................................................................................................12
Storage Procedure .............................................................................................12
SECTION 4 - ADJUSTMENTS AND REPAIR............................................................ 13-19
Mower Blade Replacement................................................................................13
Blade Sharpening......................................................................................... 13-14
Wheel Drive Control Adjustment ......................................................................14
Driven and Drive Disc Service .................................................................... 15-18
Cleaning Drive Disc and Driven Disc............................................................15
Drive Spring Repair/Replacement.................................................................15
Driven Disc Adjustment............................................................................ 15-16
Driven Disc Replacement......................................................................... 16-17
Driven Disc Bearing Replacement ................................................................17
Hex Shaft Bearing Replacement....................................................................18
Belt Service................................................................................................... 18-19
Engine Drive Belt Replacement............................................................... 18-19
Transmission Poly-V Belt Replacement .......................................................19
TROUBLESHOOTING......................................................................................................20
SERVICE SCHEDULE......................................................................................................21
Maintenance/Replacement Parts......................................................................21
WARRANTY......................................................................................................................22
PRIMARY MAINTENANCE ........................................................................................ 23-26
PRODUCT REGISTRATION FORM.................................................................................27
! IMPORTANT !
The figures and illustrations in this manual are provided for reference only and may differ from your specific
model. Contact your local SNAPPER dealer if you have questions.

6
Section 1 - FAMILIARIZATION
FIGURE 1.1
1.1 INTRODUCTION
This manual has been prepared for the operators of
the SNAPPER WALK BEHIND MOWERS. Its
purpose, aside from recommending operating and
routine service requirements, is to promote safety
through the use of accepted operating practices.
Read, Understand and Follow the “IMPORTANT
SAFETY INSTRUCTIONS” on Pages 2 - 4 of this
manual and all safety messages on the mower and
attachments before operating the mower.
1.2 NOMENCLATURE
The nomenclature drawing above, Figure 1.1, shows
the essential parts of the SNAPPER WALK BEHIND
MOWERS. It is recommended that all operators of
the mower become thoroughly familiar with the
controls, parts and operation of the mower before
operating. Specific details involving the engine are
found in the separate engine owner’s manual. Study
these manuals before operating and keep both
handy for future reference.
WHEEL DRIVE
CONTROL BLADE
CONTROL
GROUND SPEED
CONTROL
ROPE
START
HANDLE
REAR HEIGHT
ADJUSTMENT
LATCH
RECYCLING COVER
FRONT HEIGHT
ADJUSTMENT
LATCHES
OIL FILL
A
ND DIPSTICK
FUEL FILL
FAST/
CHOKE
SLOW
BRIGGS
ENGINE
SPEED
CONTROL
ENGINE
SPEED
CONTROL/
CHOKE

7
Section 2 - OPERATING INSTRUCTIONS
2.1 PRE-START CHECK LIST
Make the following checks and perform the service
required before each start-up.
2.1.1. Check guards, deflectors, grass bag, adapter
and covers to make sure all are in place and securely
tightened.
2.1.2. Check blade control, wheel drive control, and
engine speed control to insure they work freely. See
Figure 2.1.
FIGURE 2.1
2.1.3. Check cutting height. Adjust to desired height.
Refer to Section “OPERATING INSTRUCTIONS –
CUTTING HEIGHT ADJUSTMENT”.
2.1.4. Check engine oil and add as needed to bring
level up to ‘full’ mark on dipstick. See Figure 2.2. Refer
to Engine Owner’s Manual for oil specifications.
2.1.5. Add fuel to tank. See Figure 2.2. Fuel mower
outside where fumes can safely dissipate. Make sure
cap is tightened after refueling. Refer to Engine
Owners Manual for fuel specifications.
FIGURE 2.2
2.1.6. Clean exterior surfaces of cutting deck and
engine of any accumulation of spilled fuel, dirt,
grass, oil, etc. Keep engine air intake screen and
cooling fins clear at all times.
2.2 STARTING & OPERATION
2.2.1. ENGINE & BLADE
1. Move engine speed control past “Fast” (Rabbit)
position to ‘CHOKE’. See Figure 2.3 and
“FAMILIARIZATION”.
2. Pull blade control against handle.
3. Pull rope start handle to crank engine.
FIGURE 2.3
4. After engine starts, reduce engine speed and
allow a brief warm-up until engine runs smooth.
NOTE: Stop the engine (and blade) by releasing the
blade control.
WHEEL
DRIVE
CONTROL
BLADE
CONTROL
ENGINE
SPEED
CONTROL/
CHOKE
OIL FILL/
DIPSTICK
BLADE
CONTROL
ROPE START
HANDLE
ENGINE SPEED
CONTROL
FUEL
FILL

8
Section 2 - OPERATING INSTRUCTIONS
2.2 STARTING & OPERATION
2.2.3. PROPELLING MOWER
1. Start engine. Refer to Section “Starting &
Operation”.
2. Move ground speed control to the desired speed
position. See Figure 2.4.
3. Move wheel drive control against handle to
engage wheel drive and propel mower forward.
Forward speed can be adjusted while the mower is
moving by changing position of the ground speed
control. See Figure 2.4.
FIGURE 2.4
2.3 STOPPING
Stop forward motion of mower by releasing the
wheel drive control. Stop engine and blade by
releasing the blade control.
2.4 HANDLE HEIGHT ADJUSTMENT
The height of the mower handle can be adjusted as
follows:
1. Loosen the lower nuts on each lower handle as
shown in Figure 2.5.
FIGURE 2.5
2. Move upper mower handle up or down until the
desired position is achieved.
3. Tighten the lower nuts on each lower handle to
maintain desired position.
WARNING
STOP engine and mower blade by releasing the
blade control before adjusting cutting height or
handle height.
2.5 CUTTING HEIGHT ADJUSTMENT
1. Pull the height adjusting latch outward and move
to desired cutting height. See Figure 2.6.
FIGURE 2.6
GROUND
SPEED
CONTROL
WHEEL
DRIVE
CONTROL
ENGAGE
FASTER
SLOWER
HIGHER
LOWER
LOOSEN LOWER
NUTS ON EACH
LOWER HANDLE
LOWER
HANDLE
LOWEST CUTTING
HEIGHT
1LATCH
HIGHEST
CUTTING
HEIGHT
7
2
1
3
4
5
6
7

9
Section 2 - OPERATING INSTRUCTIONS
2. Set all wheels at the same cutting height. The
highest cutting position is Notch 7. The lowest
cutting position is Notch 1. See Figures 2.6 & 2.7.
FIGURE 2.7
2.6 RECYCLING OPERATION
NOTE: For best recycling results, cut up to a maximum of 1/3
of grass blade length and recycle ONLY when grass is dry.
1. Set all wheels in the highest cutting position (Notch
7). Refer to Section “Cutting Height Adjustment”.
2. Move engine speed control to “FAST” (Rabbit)
position.
3. Move ground speed control to slowest speed
setting.
4. Proceed mowing slowly. If grass is very dense,
lower each rear wheel latch one notch lower than the
front wheel latches to improve recycling performance.
NOTE: The recycling cover is designed to remain
on the machine at all times, unless alternate
discharge operations are desired, such as side
discharging or bagging. Recycling cover can be
removed to accommodate alternate discharge
components.
TO REMOVE RECYCLING COVER:
Remove knob nuts and internal/external tooth lock
washers securing rear of recycling cover to mower deck.
Remove cover. See Figure 2.8.
FIGURE 2.8
WARNING
DO NOT attempt any maintenance, adjustments or
service with engine and blade running. STOP
engine and blade. Disconnect spark plug wire and
secure away from spark plug. Engine and
components are HOT. Avoid serious burns, allow
sufficient time for all components to cool.
2.7 INSTALLATION OF SIDE DISCHARGE
DEFLECTOR
STEP 1: Remove recycling cover. Refer to Section
“Recycling Operation”.
STEP 2: Install deflector to deck in place of recycling
cover, making sure that: 1) hole on outside front of
deflector fits onto stud in front of discharge opening where
front of recycling cover was originally installed, 2) slot on
top of deflector slips under restraining nut on top of deck
(under right front corner of engine), and 3) slot on inside
rear of deflector slips onto stud behind rear of discharge
opening, where rear of recycling cover was originally
secured. See Figure 2.9. Install internal/external tooth lock
washers and knob nuts onto studs and tighten securely.
FIGURE 2.9
LATCH
POSITION
CUTTING HEIGHT SETTINGS
FRONT
SLOT
UNDER NUT
REAR SLOT
OVER STUD ;
INSTALL LOCK
WASHER AND
KNOB NUT
FRONT HOLE
OVER STUD;
INSTALL LOCK
WASHER AND
KNOB NUT
REMOVE
KNOB NUTS
AND LOCK
WASHERS

10
Section 2 - OPERATING INSTRUCTIONS
WARNING
DO NOT attempt any maintenance, adjustments or
service with engine and blade running. STOP
engine and blade. Disconnect spark plug wire and
secure away from spark plug. Engine and
components are HOT. Avoid serious burns, allow
sufficient time for all components to cool.
2.8 INSTALLATION OF GRASS BAG ADAPTER
(Optional Accessory on Some Models)
STEP 1: Remove recycling cover. Refer to Section
“Recycling Operation”.
STEP 2: Install grass bag adapter to the deck in place of
recycling cover, making sure that: 1) hole on outside front
of adapter fits onto stud in front of discharge opening
where front of recycling cover was originally installed, 2)
slot on top of adapter slips under restraining nut on top of
deck (under right front corner of engine), and 3) slot on
bottom rear of adapter slips onto stud behind rear of
discharge opening, where rear of recycling cover was
originally secured. See Figure 2.10. Install
internal/external tooth lock washers and knob nuts on
studs and tighten securely.
STEP 3: Route recoil rope around outside of rope guide
pulley. See Figure 2.10. (NOTE: Recoil rope may need to
be slackened. Refer to “Handle Assembly”.)
FIGURE 2.10
2.9 INSTALLATION OF GRASS BAG
(Door Type Bag)
STEP 1: Install grass bag adapter. Refer to Section
“Installation of Grass Bag Adapter”.
STEP 2: Install grass bag by sliding connector over
adapter flange. See Figure 2.11.
STEP 3: Attach grass bag hooks over middle handle
cross bar. See Figure 2.11.
FIGURE 2.11
WARNING
DO NOT operate without entire Grass Catcher or
guard in place. Grass Catcher components are
subject to deterioration during normal use. Inspect
frequently and replace worn or damaged
components immediately.
WARNING
Grass Catcher bags used on SNAPPER products
are made of woven fabric, and are subject to
deterioration and wear during normal usage.
Check condition of bag before each use.
Immediately replace worn or damaged catcher bags
with only bags recommended by SNAPPER. The
grass catcher is optional equipment on some
models.
ROUTE RECOIL ROPE
AROUND PULLEY
HOOK TO MIDDLE
HANDLE CROSS BAR
SLIDE
CONNECTOR
OVER FLANGE
SECURE
ADAPTER
TO DECK

11
Section 3 – MAINTENANCE
3.1 INTRODUCTION
To retain the quality of the mower, use genuine
SNAPPER replacement parts only. Contact a local
SNAPPER dealer for parts and service assistance.
For the correct part or information for a particular
mower, always mention model and serial number.
WARNING
DO NOT attempt any maintenance, adjustments or
service with engine and blade running. STOP engine
and blade. Disconnect spark plug wire and secure
away from spark plug. Engine and components are
HOT. Avoid serious burns, allow sufficient time for
all components to cool.
3.2 SERVICE - AFTER FIRST 5 HOURS
3.2.1. CHANGE ENGINE OIL
IMPORTANT: Drain fuel tank before tipping machine.
DO NOT tip machine with carburetor or spark plug down.
Oil from crankcase will saturate the air filter and cause the
engine to be hard to start or not start at all. If
contamination does occur, the air filter will have to be
replaced.
1. Refer to Engine Manual for proper oil
specifications, procedures and proper service
intervals.
2. For simplest/cleanest oil change, loosen lower
handle nuts and fold handles. Stand mower up on
lower handle brackets as shown in Figure 3.1. Drain
oil through dipstick tube into a container. Allow
sufficient time for all oil to drain. NOTE: Drive control
rod on self-propelled models prohibits handles from
folding. Simply tip mower on its side to drain oil.
FIGURE 3.1
3. Dispose of drain oil properly.
4. Fill engine with oil as specified in Engine Manual.
Do Not overfill.
NOTE: Check specific model engine owner’s manual for
changing engine oil procedure and oil specifications.
3.2.2. CHECK GREASE LEVEL IN TRANSMISSION
1. Remove transmission fill plug. Roll machine
forward or backward while looking down into plug
hole.
2. If liquid grease IS NOT visible on the input gear
(the small gear below the plug hole), add an
amount, to cover gear, of Snapper “00” grease. See
Figure 3.2.
FIGURE 3.2
NOTE: Snapper “00” Grease (Part No. 7029443) is
available at your SNAPPER dealer.
NOTE: Do not spill grease or oil on surface of drive disc.
See Figure 3.3.
3. Reinstall transmission plug.
4. Check grease level after each 25 hours of
operation.
FIGURE 3.3
IMPORTANT: Drain fuel tank before tipping mower.
DO NOT tip machine with carburetor or spark plug down. Oil
from crankcase will saturate the air filter and cause the
engine to be hard to start or not start at all. If contamination
does occur, the air filter will have to be replaced.
FILL PLUG
KEEP DRIVE DISC CLEAN !

12
Section 3 – MAINTENANCE
WARNING
DO NOT attempt any maintenance, adjustments or
service with engine and blade running. STOP engine
and blade. Disconnect spark plug wire and secure
away from spark plug. Engine and components are
HOT. Avoid serious burns, allow sufficient time for
all components to cool. Wear heavy leather gloves
when handling or working around cutting blades.
Blades are extremely sharp and can cause severe
injury.
3.2.3. CHECK MOWER BLADE
1. Disconnect spark plug wire and secure end
away from plug.
2. Tilt mower up on its rear wheels for access to
the blade cap screw. Do not tilt mower with spark
plug or carburetor down. See Figure 3.4.
3. Check torque of blade retaining cap screw.
Recommended torque should be 40 ft. lbs. See
Figure 3.4.
4. Check blade for sharpness, wear and damage.
Refer to Section “Blade Wear Limits”.
3.2.4. CHECK ENGINE DRIVE BELT
1. Visually check engine drive belt for cracking,
fraying, severed or belt strands exposed. If worn or
damaged, replace belt before operating mower.
3.2.5. CHECK TRANSMISSION POLY-V BELT
1. Visually check poly-v belt for cracking, fraying,
severed or belt strands exposed. If worn or
damaged, replace belt before operating mower.
FIGURE 3.4
3.3 SERVICE - ANNUALLY
Perform all maintenance as described in the “Service
Schedule” section of this manual.
3.3.1. Engine
Service engine according to engine owner’s manual.
3.3.2. Air Filter
Refer to engine owner’s manual for service instructions.
3.3.3. Engine Oil
Refer to engine owner’s manual for service instructions.
3.4 STORAGE PROCEDURE
Refer to the Engine Owner’s Manual for directions
regarding engine storage preparations. Prepare the
mower for “end of season” storage as follows:
1. Drain fuel from fuel tank and let engine run until
all fuel is out of the carburetor.
2. Disconnect and remove the spark plug wire
away from spark plug before any other
preparations are made!
3. Tape all openings closed to prevent spraying
water into exhaust or air intakes during washing.
4. Tilt mower up on its rear wheels and thoroughly
clean the underside of the deck. Do not tilt mower
with spark plug or carburetor down. Scrape away
any accumulation of grass with a putty knife and or
wire brush.
5. Lubricate all exposed metal with a light coating
of oil to prevent corrosion.
6. On self-propelled models disconnect transfer
rod clip and remove ground speed control rod
before folding handles.
7. Loosen handle knobs. Carefully fold the handles
forward, “flexing” the control cables to prevent
cable damage.
8. Store the mower in a shed or other dry area,
protected from weather.
RECOMMENDED
BLADE RETAINING
CAP SCREW
TORQUE VALUE
SHOULD BE 40 FT.
LBS.

13
Section 4 - REPAIR & ADJUSTMENTS
WARNING
DO NOT attempt any maintenance, adjustments or
service with engine and blade running. STOP engine
and blade. Disconnect spark plug wire and secure
away from spark plug. Engine and components are
HOT. Avoid serious burns, allow sufficient time for
all components to cool. Wear heavy leather gloves
when handling or working around cutting blades.
Blades are extremely sharp and can cause severe
injury.
4.1 MOWER BLADE REPLACEMENT
4.1.1. STANDARD BLADE WEAR LIMIT
1. Inspect blade frequently for signs of excessive
wear or damage. See Figure 4.1.
FIGURE 4.1
4.1.1.A. NINJA BLADE WEAR LIMIT
1. Inspect blade frequently for signs of excessive
wear or damage. See Figure 4.2.
FIGURE 4.2
2. Replace the blade if it is badly chipped, bent,
noticeably out of balance or has cracks or notch in
either tip. See Figure 4.1 & 4.1A. Replace with new
blade.
WARNING
DO NOT use a cutting blade that shows signs of
excessive wear or damage. Refer to Section
“MOWER BLADE REPLACEMENT” for proper blade
inspection and service procedures.
4.1.2. BLADE SHARPENING
1. Disconnect spark plug wire and secure end away
from plug.
IMPORTANT: Drain fuel tank before tipping mower.
DO NOT tip machine with carburetor or spark plug down.
Oil from crankcase will saturate the air filter and cause the
engine to be hard to start or not start at all. If
contamination does occur, the air filter will have to be
replaced.
2. Tilt mower up on its rear wheels. Do not tilt
mower with spark plug or carburetor down.
3. Remove blade. See Figure 4.3.
FIGURE 4.3
BLADE
HUB
MAKE SURE THAT
BLADE HUB IS
SEATED
BETWEEN
FLANGES
FLANGE
BLADE
CONE WASHER
(Concave Side Up)
CAPSCREW
NEW BLADE
WEAR LIMIT
(NOTCH STARTS)
DANGEROUS CONDITION !
DO NOT USE ON MOWER !
REPLACE WITH NEW
BLADE.
NEW BLADE WEAR LIMIT.
CRACKS OR
NOTCHES
BEGIN TO
APPEAR ON TIP
DANGEROUS !
DO NOT USE A BLADE IN
THIS CONDITION !

14
Section 4 - REPAIR & ADJUSTMENTS
WARNING
DO NOT attempt any maintenance, adjustments or
service with engine and blade running. STOP engine
and blade. Disconnect spark plug wire and secure
away from spark plug. Engine and components are
HOT. Avoid serious burns, allow sufficient time for
all components to cool.
4. Sharpen blade on a grinding wheel at an angle of
22 to 28 degrees. DO NOT sharpen blade beyond
original cutting edge. See Figure 4.4.
FIGURE 4.4
5. Check blade for balance. If necessary, correct
balance by grinding heavy end of blade.
6. Reinstall blade. See Figure 4.3. Check torque of
blade retaining cap screw. Recommended torque
should be 40 ft. lbs.
NOTE: The following sections 4.2 through
4.4 are for self-propelled models only.
4.2 WHEEL DRIVE CONTROL ADJUSTMENT
1. The wheel drive control is properly adjusted
when there is 1/16” to 1/8” clearance between the
inside of the spring hook and the inside of the clutch
cable eye with the wheel drive control released. See
Figure 4.5.
FIGURE 4.5
2. To adjust, unhook upper spring from cable eye
and rotate spring in direction required to extend or
shorten spring length.
3. Rehook upper spring to cable eye and check
clearance. Repeat procedure if required.
NOTE: The vinyl spring cover should be kept over the
spring at all times except for adjustments.
4. If the wheel drive control fails to return quickly to
the “OFF” position when released, check for binding
at the cable holdings located on the side of the right
handle. The upper clip should be located 2” below
the upper knob; the lower clip should be 4” above
the lower knob. The cable should slide freely with
the clips installed at these locations.
CLUTCH CABLE
V
INYL SPRING
1/16” TO 1/8”
CLEARANCE
UPPER
SPRING
LOWER
SPRING
CLUTCH CABLE
EYE
SPRING HOOK
CABLE
CLUTCH CABLE EYE
SPRING
DO NOT SHARPEN
BEYOND ORIGINAL
CUTTING EDGE 22-28º
BLADE TIP
END VIEW OF
BLADE ASSEMBLY
ORIGINAL CUTTING EDGE

15
Section 4 - REPAIR & ADJUSTMENTS
WARNING
DO NOT attempt any maintenance, adjustments or
service with engine and blade running. STOP engine
and blade. Disconnect spark plug wire and secure
away from spark plug. Engine and components are
HOT. Avoid serious burns, allow sufficient time for
all components to cool.
4.3 DRIVEN AND DRIVE DISC SERVICE
If the mower does not propel itself properly, See
Figure 4.6. Check for the following problems:
FIGURE 4.6
1. Grease on drive disc causing slippage.
2. Broken or disconnected drive spring.
3. Driven disc is out of adjustment.
4. Driven disc rubber is worn - does not contact
drive disc properly.
5. Worn Poly-V Belt or engine drive belt.
NOTE: If any of the above (1 thru 5) are causing
problems, service as follows:
4.3.1. Cleaning Drive Disc & Driven Disc.
If oil or grease on the drive disc or driven disc is
causing slippage, clean discs as follows:
1. Wipe away any oil or grease with a clean cloth.
2. Use either an approved grease solvent or hot,
soapy water to clean drive disc or driven disc.
3. Rinse components with clean water.
4. Dry components with a clean cloth.
4.3.2. Drive Spring Repair/Replacement
If drive spring is loose, reconnect as shown in
Figure 4.7. If spring is broken, replace with new
spring.
IMPORTANT: If machine drive system continues
slipping see Trouble Shooting section.
FIGURE 4.7
4.3.3. DRIVEN DISC ADJUSTMENT
If the drive disc and driven disc are clean and the
mower drive is still slipping, adjust the driven disc as
follows:
1. Move ground speed control into the ‘fast’
position. See Figure 4.8.
FIGURE 4.8
USE
NEEDLE
NOSE
PLIERS TO
INSTALL
DRIVE
SPRING
DRIVE
SPRING
MOVE GROUND
SPEED CONTROL TO
FAST POSITION
DRIVEN DISC &
RUBBER RING
POLY-V
BELT
DRIVE
SPRING
ENGINE
DRIVE
BELT
DRIVE
DISC

16
Section 4 - REPAIR & ADJUSTMENTS
WARNING
DO NOT attempt any maintenance, adjustments or
service with engine and blade running. STOP engine
and blade. Disconnect spark plug wire and secure
away from spark plug. Engine and components are
HOT. Avoid serious burns, allow sufficient time for
all components to cool.
4.3.3. DRIVEN DISC ADJUSTMENT
(Continued From Previous Page)
2. Remove driven disc spring from driven disc
assembly. Also remove pin and washer from transfer
rod, and remove end of transfer rod from hole in
driven disc assembly. See Figure 4.9.
FIGURE 4.9
3. Slide driven disc assembly over to 1/8” from
outside edge of drive disc. See Figure 4.10.
4. Loosen jam nut securing transfer rod to ball joint
on pivot bracket. See Figure 4.11.
5. Turn rod in or out of ball joint until end of rod aligns
with hole in driven disc assembly from which rod was
removed. NOTE: Do not move pivot bracket.
6. Reinstall rod as removed in step 2. Move ground
speed control to ‘slow’ position, then back to ‘fast’
position. Recheck the 1/8” measurement described
previously. Readjust as needed. Tighten nut when
finished.
7. Reinstall driven disc spring to driven disc
assembly.
FIGURE 4.10
FIGURE 4.11
(Continued On Next Page)
4.3.4. Replacing Rubber Driven Disc
If the rubber is badly chunked or worn it must be
replaced. Install new Driven Disc as follows:
1. Remove pin and washer from transfer rod, and
remove end of transfer rod from hole in driven disc
assembly. See Figure 4.9.
DRIVEN DISC
ASSEMBLY
DRIVE
DISC
REMOVE
DRIVEN DISC
SPRING
REMOVE END
OF TRANSFER
ROD FROM
DRIVEN DISC
ASSY
BALL JOINT
TURN ROD IN
OR OUT UNTIL
END ALIGNS
WITH HOLE
PIVOT
BRACKET
1/8” MEASUREMENT TO
OUTSIDE EDGE OF DRIVE
DISC
DRIVE
DISC
SLIDE DRIVEN
DISC ASSEMBLY
TOWARD OUTSIDE
EDGE
OUTSIDE
EDGE
REMOVE
PIN AND
WASHER
FROM ROD
LOOSEN NUT

17
Section 4 - REPAIR & ADJUSTMENTS
WARNING
DO NOT attempt any maintenance, adjustments or
service with engine and blade running. STOP engine
and blade. Disconnect spark plug wire and secure
away from spark plug. Engine and components are
HOT. Avoid serious burns, allow sufficient time for
all components to cool.
4.3.4. Replacing Rubber Driven Disc
(Continued from previous page)
2. Using needle nose pliers, unhook the drive
spring and slide the driven disc assembly off the
hex shaft. See Figure 4.12.
3. Remove the two snap rings which secure the
rubber driven disc to the driven disc assembly. See
Figure 4.13.
4. Install new rubber driven disc onto driven disc
assembly with retaining rings.
5. Reverse above procedures for reassembly and
installation of driven disc assembly.
FIGURE 4.12
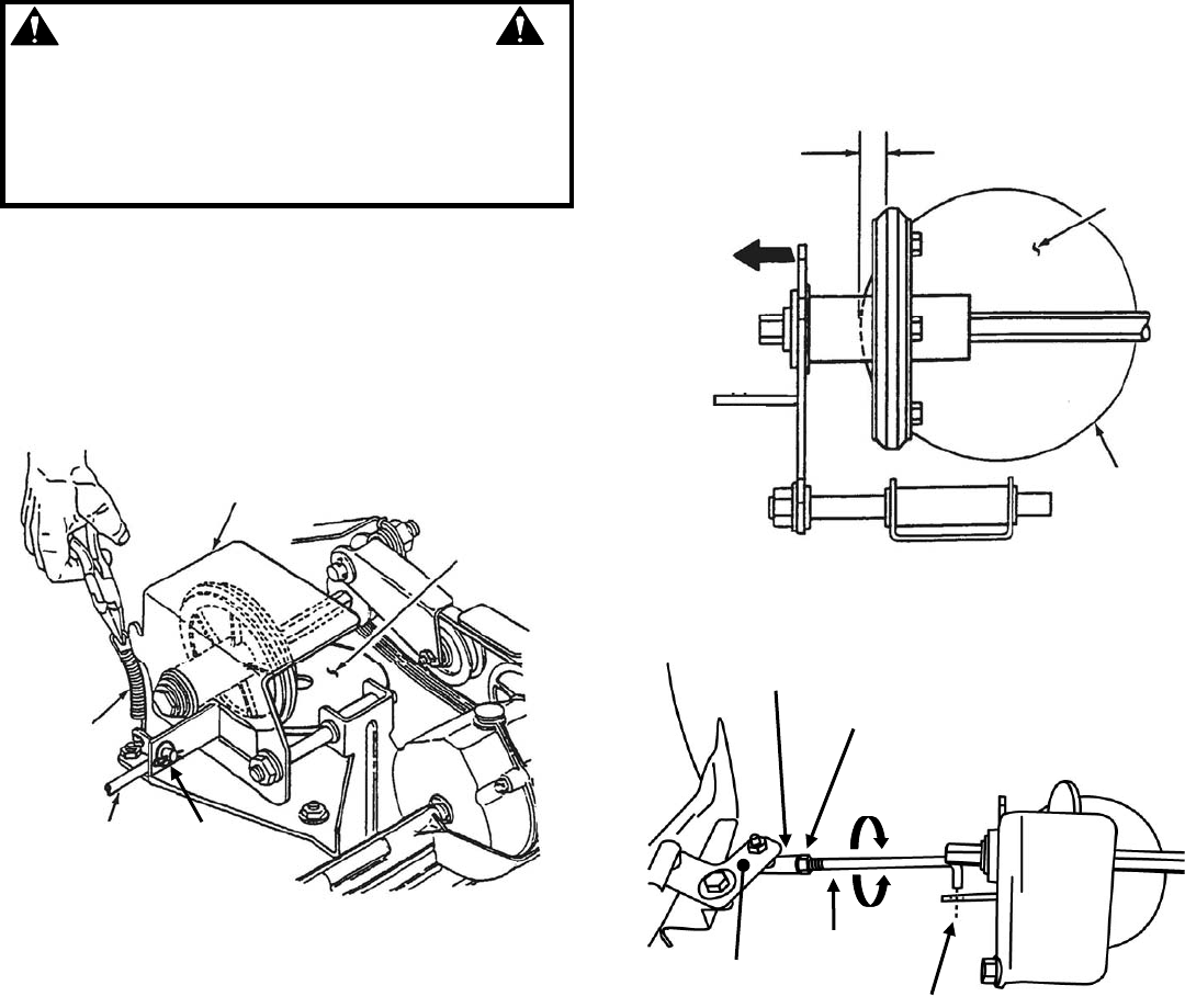
4.3.5. Replacing Bearing In Driven Disc Assembly
IMPORTANT: The bearing on these machines is staked
into the thrust plate. The bearing will have to be driven
out with a mallet and a large punch. A new bearing with
four retaining screws will have to be purchased to
replace existing bearing.
If the driven disc bearing requires replacement,
remove the driven disc assembly and replace
bearing as follows:
1. Remove pin and washer from transfer rod, and
remove end of transfer rod from hole in driven disc
assembly. See Figure 4.9.
2. Using needle nose pliers, unhook the drive
spring and slide the driven disc assembly off the
hex shaft. See Figure 4.12.
3. Remove both snap rings that secure rubber
driven disc hub to thrust plate. See Figure 4.13.
4. Slide the rubber driven disc hub out of the
bearing.
5. Drive out existing bearing.
6. Install new bearing and secure to thrust plate
with four retaining screws. Tighten screws securely.
7. Reassemble components in reverse order.
FIGURE 4.13
REMOVE
SPRING INSTALL NEW
DRIVEN DISC
SNAP
RINGS
REMOVE
DRIVEN DISC
ASSEMBLY

18
Section 4 - REPAIR & ADJUSTMENTS
WARNING
DO NOT attempt any maintenance, adjustments or
service with engine and blade running. STOP engine
and blade. Disconnect spark plug wire and secure
away from spark plug. Engine and components are
HOT. Avoid serious burns, allow sufficient time for
all components to cool.
4.3.6. Replacement Of Bearing On Pulley End Of
Hex Shaft
To replace the bearing on the pulley end of the hex
shaft, proceed as follows:
1. Hold the hex shaft with an adjustable wrench
held next to the pulley.
2. Remove the 3/8” hex lock nut which is located
on the outside of the right wheel bracket. See
Figure 4.14.
3. Remove holder, O-ring and bearing.
4. Install new bearing.
5. Carefully install new O-ring over the outside of the
new bearing.
6. Install bearing holder and secure with screws.
7. Install 3/8” hex lock nut.
FIGURE 4.14
4.4 BELT SERVICE
On self-propelled mowers, the engine belt transmits
power from engine to drive disc. The drive disc
powers the poly-v belt, which engages the
transmission that powers the rear wheels. Should
these belts become worn, they could cause slippage,
which would impair mower performance. The
condition of the engine belt and poly-v belt should be
checked after every 25 hours of mower operation.
4.4.1. Engine Drive Belt Replacement
(Stretch Type Belts)
1. Empty the fuel tank.
2. Note the belt routing in Figure 4.15. There is no
idler pulley on these models to disconnect. See
Figure 4.15.
TOP VIEW OF STRETCH TYPE BELT ROUTING
FIGURE 4.15
(Continued On Next Page)
BALL BEARING
“O” RING
3/8”
LOCK NUT
BALL BEARING
HOLDER
DRIVE DISC
DRIVE BELT
ENGINE DRIVE
PULLEY

19
Section 4 - REPAIR & ADJUSTMENTS
WARNING
DO NOT attempt any maintenance, adjustments or
service with engine and blade running. STOP engine
and blade. Disconnect spark plug wire and secure
away from spark plug. Engine and components are
HOT. Avoid serious burns, allow sufficient time for
all components to cool.
4.4.1. Engine Drive Belt Replacement
(Stretch Type Belts)
(Continued From Previous Page)
IMPORTANT: Drain fuel tank before tipping mower.
DO NOT tip machine with carburetor or spark plug down.
Oil from crankcase will saturate the air filter and cause the
engine to be hard to start or not start at all. If
contamination does occur, the air filter will have to be
replaced.
3. Remove the driven disc. Refer to Section
“Replacing Rubber Driven Disc” for driven disc
removal procedure.
4. Drain fuel tank before tipping mower. Do not tilt
mower with spark plug or carburetor down. Tilt
mower up on its rear wheels and remove blade and
blade hub. Assistance from another person may be
necessary to hold mower in the tilted position.
5. Hold the slotted end of the drive disc bolt with a
screwdriver and remove the nut and internal tooth
lock washer. See Figure 4.16.
6. Remove the belt cover located under deck.
7. Lift the drive disc up and remove worn belt.
8. Loop one end of new belt over engine pulley and
insert the other end through slot in deck. Refer to
Figure 4.15.
9. Loop the belt around the pulley on the bottom of
the drive disc.
10. Reinstall drive disc and retaining hardware.
IMPORTANT: 1) The square shoulder of the drive
disc bolt must fit into the square hole of the bushing.
2) The square end of bushing must fit into the
bracket slot.
11. Reinstall belt cover and tighten bolts securely.
12. Reinstall blade hub and cutter blade.
Recommended torque for blade cap screw is 40 ft. lbs.
PULLEY POSITION
FIGURE 4.16
4.4.2. Transmission Poly-V Belt Replacement
1. Remove the driven disc. Refer to Section on
“Replacing Driven Disc Rubber Ring” for procedure.
2. Note the routing of the old belt around the three
pulleys before removing it. See Figure 4.17.
3. Place new Poly-V Belt over end of hex shaft and
onto drive pulley.
4. Work belt onto top of idler pulley.
5. Twist belt sideways and pull it upward between
the differential bracket and driven pulley and then
down into the pulley groove. Make sure the Poly-V
Belt is above belt guide. See Figure 4.17.
FIGURE 4.17
IDLER
PULLEY
DRIVE
PULLEY
DIFFERENTIAL
BRACKET
POLY-V
BELT
DRIVEN
PULLEY
BELT GUIDE
HEX SHAFT
ROUTING OF POLY-V BELT
DRIVE DISC
SLOT IN END
OF DRIVE DISC
BOLT BUSHING
BOLT RETAINER
DECK BRACKET
(PARTIALLY SHOWN)
INTERNAL TOOTH
LOCKWASHER
NUT

20
TROUBLESHOOTING
PROBLEM PROBABLE CAUSE CORRECTIVE ACTION
Engine Will Not Start 1. Fuel tank empty. 1. Fill fuel tank with fresh fuel.
2. Engine needs choking or priming. 2. Choke/Prime. Check Engine Manual for
Instructions.
3. Spark plug wire disconnected. 3. Place spark plug wire onto spark plug.
Engine Stalls or Stops
After Running 1. Blade control is released or is not being held securely
against handle. 1. Blade control should be held securely against
handle at all times during operation of mower.
2. Fuel tank empty. 2. Fill with fuel to proper level.
3. Engine air pre-cleaner and or air cleaner dirty. 3. Clean free of all debris.
4. Spark plug defective or gap set improperly. 4. Service spark plug.
5. Water, debris or stale fuel in fuel system. 5. Drain and clean fuel system.
Engine Loses Power 1. Engine air pre-cleaner or air cleaner dirty 1. Clean or replace filters.
2. Spark plug faulty. 2. Service spark plug.
3. Water, debris or stale fuel in fuel system. 3. Drain and clean fuel system.
Excessive Vibration 1. Damaged, out of balance or bent mower blade. 1. Service mower blade.
2. Loose blade components. 2. Service and tighten loose parts.
3. Loose or missing air lift (if equipped). 3. Replace air lifts. Tighten to proper torque.
4. Lumpy or frayed belt 4. Replace belt.
Mower Will Not Move 1. Damaged transmission 1. Contact authorized SNAPPER dealer.
Loss Of Traction 2. Traction drive belt requires replacement 2. Replace traction drive belt.
(Self-Propelled Models) 3. Driven disc slipping 3. Clean or replace driven disc.
Cutting Grass 1. Cutting height too low or high. 1. Adjust cutting height.
Improperly 2. Engine speed too slow. 2. Move engine speed control to “FAST” position.
3. Forward ground speed too fast. 3. Move ground speed control to a slower speed.
4. Terraced cut, side to side. 4. Adjust height of cut with height adjust levers.
5. Excessive deck pitch, front to rear. 5. Adjust height of cut with height adjust levers.
6. Cutting blade dull or damaged. 6. Sharpen cutting edges or replace blade.
Poor Grass Discharge 1. Engine speed too slow. 1. Move engine speed control to “FAST” position.
2. Forward speed too fast. 2. Move ground speed control to a slower speed.
3. Grass is wet. 3. Mow when grass is dry.
4. Excessively worn or damaged blade. 4. Service mower blade.
5. Build up of grass clippings and debris under deck. 5. Clean deck.
6. Improper blade installed on deck. 6. Install proper SNAPPER blade.
7. Blade installed improperly on deck. 7. Install blade properly.
Oil Leaking 1. Leaking engine case. 1. Contact authorized SNAPPER dealer.
2. Check and tighten drain plug.
3. Make sure dip stick or oil filler cap is securely
in place.

21
SERVICE SCHEDULE
ITEM SERVICE PERFORMED REF. EACH
USE 5
HRS 25
HRS 50
HRS 100
HRS EACH
SEASON
Engine Oil Check Oil Level Page 7 X
Initial Oil Change Page 11 X
Periodic Oil Change Page 12 X*
Air Pre-Cleaner Clean Sponge Element Engine Manual
X**
Air Cleaner Clean or Replace Engine Manual
X**
Spark Plug Replace Engine Manual
X
Engine Cooling
System Clean Shroud & Fins Engine Manual X**
Drive Belts Check For Wear And
Tension Page 18-19 X X X
Mower Blade Check For Wear, Damage
& Replacement Page 13-14 X
Mower Deck Clean Debris
Accumulation Page 7 X
Transmission
Grease Check Grease Level Pages 11 X X
Periodic Grease Check Pages 11 X
Drive Disc Check for Wear Damage
& Replacement Page 15-17 X
*Change oil every 25 hours when operating under heavy load or high temperatures.
**Clean more often under dusty conditions or when air debris is present
4.6 MAINTENANCE/REPLACEMENT PARTS
MAINTENANCE PARTS
Engine Speed Control 7100975
Blade Control Cable 7100976
Clutch Pull Cable (See Parts Manual) 7034604
Cutter Blade (Air Lift Compatible) 7019795
Cutter Blade (Mulching) 7017168
Cutter Blade (Not Air Lift Compatible) 7026691
Cutter Blade (Ninja - Quad Edge) 7026407
Wheel Drive Pulley to Transmission Pulley Belt 7012354
Engine to Drive Disc Belt 7046784
Cantilever Drive Tire Assembly 7073528
Rubber Drive Tire 7041855
Parts Manual for 21” Steel Deck Recycling Walk Mower Series 19 7006149

22
2 YEAR LIMITED WARRANTY
For two (2) years from purchase date for the original purchaser's residential, non-commercial use, SNAPPER, through
any authorized SNAPPER dealer will replace, free of charge (except for taxes where applicable), any part or parts
found upon examination by the factory at McDonough, Georgia, to be defective in material or workmanship or both.
For ninety (90) days from purchase date for the original purchaser's commercial, rental, or other non-residential use,
SNAPPER, through any authorized SNAPPER dealer will replace, free of charge, any part or parts found upon
examination by the factory at McDonough, Georgia, to be defective in material or workmanship or both.
All transportation costs incurred by the purchaser in submitting material to an authorized SNAPPER dealer for
replacement under this warranty must be paid by the purchaser.
This warranty does not apply to certain transmissions, to engines and their components, and batteries, as these items
are warranted separately. This warranty does not apply to parts that have been damaged by accident, alteration,
abuse, improper lubrication, normal wear, or other cause beyond the control of SNAPPER. This warranty does not
cover any machine or component part that has been altered or modified changing safety, performance, or durability.
Batteries have a one (1) year warranty period with free replacement if required for one (1) year from the original
purchase date. SNAPPER will not be responsible for any installation cost incurred. The battery warranty only covers
original equipment batteries and does not cover damage to the battery or machine caused by neglect or abuse,
destruction by fire, explosion, freezing, overcharging, improper maintenance, or use of improper electrolyte.
There is no other express warranty.
DISCLAIMER OF WARRANTY
Implied warranties, including those of merchantability and fitness for a particular purpose, are limited to two (2)
years from purchase date for the original purchaser's residential or other non-commercial use, and ninety (90)
days from purchase for the original purchaser's commercial, rental or other non-residential use, and to the
extent permitted by law, any and all implied warranties are excluded. This is the exclusive remedy. Liabilities
for consequential damages, under any and all warranties are excluded.
Some states do not allow limitations on how long an implied warranty lasts, or do not allow the exclusion or
limitation of incidental or consequential damages, so the above limitation or exclusion may not apply to you.
This warranty gives you specific legal rights, and you may also have other rights which vary from state to state.
WARNING: THE USE OF REPLACEMENT PARTS OTHER THAN GENUINE SNAPPER PARTS MAY IMPAIR THE
SAFETY OF SNAPPER PRODUCTS AND WILL VOID ANY LIABILITY AND WARRANTY BY SNAPPER
ASSOCIATED WITH THE USE OF SUCH PARTS.
IMPORTANT: Please fill out the attached SNAPPER Product Registration Card immediately and mail to:
Snapper’s Product Registration Center, P.O. Box 1379, McDonough, Georgia 30253

23
PRIMARY MAINTENANCE

24
PRIMARY MAINTENANCE

25
PRIMARY MAINTENANCE

26
PRIMARY MAINTENANCE

27
SNAPPERPRODUCTREGISTRATIONFORM
IMPORTANT:KEEPTHISINFORMATIONFORYOURPERSONALRECORDS
(CompletethefollowinginformationonyourSnapperpurchase)
ModelNumber_____________________________________________________________
SerialNumber _____________________________________________________________
DateofPurchase ___________________________________________________________
Retailer____________________________________________________________________
Retailer’sPhoneNumber____________________________________________________
ItisveryimportantthatyouregisteryourpurchasewithSnappertoensure
warrantycoverage.Pleasemailyourproductregistrationcardto:
SnapperatP.O.Box777,McDonough,Georgia30253.
Oryoumayregisteronlineatwww.snapper.com.
YoucancontactusatourwebsiteorifyouwouldliketospeakwithaCustomer
ServiceRepresentative.CallusattheSnapperCustomerRelationsCenter.For
fasterservicepleasehaveyourSerialNumberandModelNumberavailable.
CalltheSnapperCustomerRelationsCenterat1‐800‐935‐2967.

28
Safety Instructions & Operator’s Manual for
21” STEEL DECK
RECYCLING
WALK MOWERS
SERIES 19
IMPORTANT
Snapper products are built using engines that meet or exceed all applicable emissions requirements on the
date manufactured. The labels on those engines contain very important emissions information and critical
safety warnings. Read, Understand, and Follow all warnings and instructions in this manual, the engine
manual, and on the machine, engine and attachments. If you have any questions about your Snapper
product, contact your local authorized Snapper dealer or contact Snapper Customer Service at Snapper,
McDonough, GA. 30253. Phone: (1-800-935-2967).
COPYRIGHT © 2006
SNAPPER – A DIVISION OF SIMPLICITY MFG., INC.
ALL RIGHTS RESERVED
MANUAL No. 7100977 (I.R. 10/6/2006)
TP 100-5209-IR-WB-N
WARNING
ENGINE EXHAUST, SOME OF ITS CONSTITUENTS, AND CERTAIN VEHICLE COMPONENTS CONTAIN OR
EMIT CHEMICALS KNOWN TO THE STATE OF CALIFORNIA TO CAUSE CANCER OR OTHER
REPRODUCTIVE HARM.
WARNING
BATTERY POSTS, TERMINALS AND RELATED ACCESSORIES CONTAIN LEAD AND LEAD COMPOUNDS,
CHEMICALS KNOWN TO THE STATE OF CALIFORNIA TO CAUSE CANCER AND BIRTH DEFECTS OR
OTHER REPRODUCTIVE HARM. WASH HANDS AFTER HANDLING.