Snapper Series 20 Users Manual PartsManual
2015-01-24
: Snapper Snapper-Series-20-Users-Manual-225787 snapper-series-20-users-manual-225787 snapper pdf
Open the PDF directly: View PDF
.
Page Count: 36

Not for
Reproduction
Parts Manual fo
r
Revision: F
21"STEEL DECK WALK BEHIND MOWERS
SERIES 20
7/18/2011
Briggs & Stratton Yard Power Products Group
535 Macon Road
McDonough, GA, 30253 U.S.A.
800-935-2967 Manual No. 7006477
Descri
p
tionModel No.
780042
8
2167520B
780059
6
217020B
780043
7
N2167520B
780060
0
N217020B
780043
8
NP2167520B
7800601 NP217020B
780069
2
NP2187520
7800771 NP2187520
7800439 NP2187520BV
7800429 P2167520B
780059
7
P217020B
780055
4
P2187520
780075
8
P2187520
780043
0
P2187520BV
780043
2
P2187520BVE
780055
5
P2187520E
7800759 P2187520E
780060
2
RP217020
780042
4
RP217020BDV
780075
4
RP2187520
780042
5
RP2187520BV
780055
2
RP2187520
780049
2
RP2187520BV2N1
780042
7
RP2187520BVE
780055
3
RP2187520E
Not for
Reproduction

Not for
Reproduction
Table Of Content
s
21"STEEL DECK WALK BEHIND MOWERS
SERIES 20 3
Manual No. 7006477
PAGE GROUP
4Handles and Controls
8Engine, Cutting Deck & Blade
10 Wheels Front and Rear
12 Wheel Brackets & Latches (Push)
14 Wheel Brackets & Latches (Self-Propelled)
16 Drive System Self-Propelled
20 Transmission (Differential)
22 Decals
24 Side Chute, Adapter
26 Grass Bag Components
28 Accessory Recycling Kits
30 Accessory Snapperizer
32 Electric Start Components

Not for
Reproduction
21"STEEL DECK WALK BEHIND MOWERS
SERIES 20
4
Manual No. 7006477
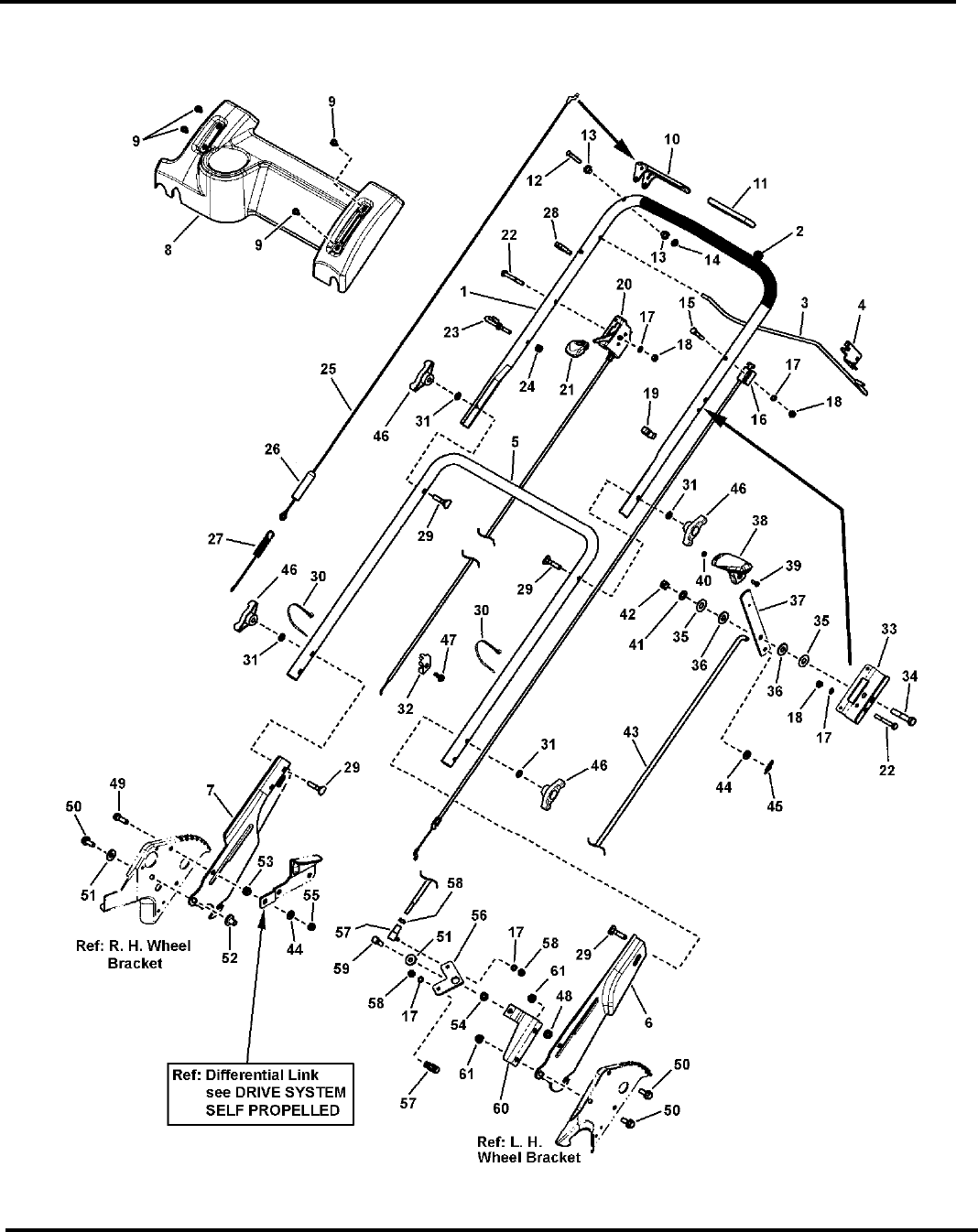
Handles and Controls

Not for
Reproduction
Footnotes:
Manual No. 700647721"STEEL DECK WALK BEHIND MOWERS
SERIES 20 5
Handles and Controls
NOTE: * Part number and revision is stamped on cable.
Part No Descri
p
tionItem Qty
1 7074411 1 HANDLE, Upper
2 7023810 1 FOAM GRIP, 18.75” long
3 7074418 1 BAIL, OPC Control
4 7034872 1 CLIP, Zone Control
5 7074156 1 HANDLE, Middle
6 7033985 1 HANDLE, Lower LH (Adjustable)
7 7033986 1 HANDLE, Lower RH (Adjustable)
8 7074140 1 CONTROL PANEL (w/o Electrical Switch Hole) (Used on Manual Start Models)
8 7074469 1 CONTROL PANEL (w/Electrical Switch Hole) (Used on Electric Start models)
8 7073826 1 CONTROL PANEL (w/o wheel drive slot) (used on 7800428 & 7800437)
9 7091200 4 SCREW, 1/4-20 x 1/2” Pan Head Self-Tap (Torx)
10 7074473 1 HANDLE, Clutch
11 7028407 1 GRIP, International Symbol
12 7023792 1 PIN, 1/4 x 1-1/2”
13 7014343 2 BUSHING, .27 x .35 x .4 Flange
14 7091020 1 PUSH-NUT, 1/4”
15 7079577 1 SCREW, 1/4-20 x 1-1/2” Hex Head Cap GR 5
16 7034608 1 * CABLE, Zone Control (52-63/64” Long) (used on 7800425, 7800428, 7800429, 7800437,
7800596, 7800597 & 7800602)
16 7102593 1 * CABLE, Zone Control (52-21/32” Long) (used on 7800424, 7800552, 7800553, 7800554,
7800555, 7800754, 7800758, 7800759 & 7800771)
16 7078078 1 * CABLE, Zone Control (50-31/64” Long) (used on 7800427 & 7800432 models only)
17 7090053 5 WASHER, 1/4” Internal Tooth Lock (was 7091023)
18 7091576 3 NUT, 1/4-20 Hex (was 7091100)
19 7023813 1 CLIP, Wiring Harness
20 7074460 1 THROTTLE CONTROL, (48.5”) (used on all models except for those shown below)
20 7100975 1 THROTTLE CONTROL, RP, D.O.V. Engine (50.0”) (used on 7800424 model)
20 7102594 1 THROTTLE CONTROL, (62.0”) (used on 7800552, 7800554, 7800555, 7800553, 7800754,
7800758, 7800759 & 7800771)
21 7075308 1 THROTTLE KNOB, (Red)
22 7090505 2 SCREW, 1/4-20 x 2” Hex Head Cap, GR 5
23 7028488 1 GUIDE, Rope (1/4-20 thread)
24 7076978 1 NUT, 1/4-28 Hex GR 5 or B
25 7034604 1 CABLE, Clutch Control (41-1/4” Long)
26 7012121 1 COVER, Vinyl
27 7012122 1 SPRING, Clutch - 21S
28 7026219 1 CLAMP, 7/8” Double Cable
29 7091189 4 SCREW, 5/16-18 x 1-7/8” Curved Head GR 2 (was 7091740)
30 7012080 2 CABLE-TIE, 7”
31 7090391 4 WASHER, 5/16” Internal Tooth Lock
32 7023153 1 CLAMP, Casing
33 7074003 1 BRACKET, Shift
34 7091305 1 SCREW, 3/8-16 x 2” Hex Head Cap, GR 5
35 7031961 2 WASHER, 7/16” Flat
36 7028465 2 WASHER, Nylon
37 7074113 1 LEVER, Shift

Not for
Reproduction
21"STEEL DECK WALK BEHIND MOWERS
SERIES 20
6
Manual No. 7006477
Handles and Controls

Not for
Reproduction
Footnotes:
Manual No. 700647721"STEEL DECK WALK BEHIND MOWERS
SERIES 20 7
Handles and Controls
NOTE: * Part number and revision is stamped on cable.
Part No Descri
p
tionItem Qty
38 7075182 1 KNOB, Shift (Red)
39 7091167 1 SCREW, #8-32 x 1/2” Cross Recess Filister Head Machine
40 7091018 1 NUT, #8-32 Hex
41 7028568 1 WASHER, Belleville
42 7091585 1 NUT, 3/8-16 Hex Center Lock
43 7074133 1 ROD, Speed Control (1/4-28 thread)
44 7090188 2 WASHER, 11/32” Flat
45 7034162 1 COTTER PIN, 5/16 Self Lock
46 7035744 4 KNOB, 5/16-18 Wing (Black) (was 720727)
47 7023154 1 SCREW, #10-32 x 5/8” Self-Tap
48 7091575 1 NUT, 5/16-18 Hex Center Lock (was 7091067)
49 7090238 1 SCREW, 5/16-24 x 1” Hex Head Cap GR 5
50 7090595 3 BOLT, 5/16-18 x 3/4” Hex Flange Lock GR 5
51 7091130 2 WASHER, .33 x .88 x .09 Flat
52 7090538 1 TEENUT, 5/16-18 (or 7090895)
53 7012114 1 BUSHING, Differential, .328 x .625 x .41
54 7013849 1 SPACER, .33 x .63 x .156
55 7091606 1 NUT, 5/16-24 Hex Center Lock GR 5 (was 7091074)
56 7073913 1 BELL CRANK
57 7015753 2 BALL JOINT, 1/4-28
58 7090095 3 NUT, 1/4-28 Hex
59 7091904 1 SCREW, 5/16-18 x 7/8” Hex Head Cap, GR 5
60 7073822 1 BRACKET, Bell Crank
61 7091601 2 NUT, 5/16-18 Hex Flange Lock, GR 5 (was 7090585 or 7091070)

Not for
Reproduction
21"STEEL DECK WALK BEHIND MOWERS
SERIES 20
8
Manual No. 7006477
Engine, Cutting Deck & Blade

Not for
Reproduction
Footnotes:
Manual No. 700647721"STEEL DECK WALK BEHIND MOWERS
SERIES 20 9
Engine, Cutting Deck & Blade
NOTE: * Purchase engine parts from engine manufacturer dealer.
Part No Descri
p
tionItem Qty
1 7500081 1 WELDMENT, Deck, 21” Non-Adjust Air (red, w/o decals) (used on “R” (recycling) models)
1 7400029 1 WELDMENT, Deck, 21” Push, HV, Core Model (red, w/o decals) (used on 7800428 & 7800437
(push) models)
1 7500549 1 WELDMENT, Deck, Part Sales, Hi-Vac, ES (red, w/decals) (used on self-propelled (non-
recycling) models)
2 7091508 1 BOLT, 5/16-18 x 3/4” Short Neck Carriage GR 5 (was 7090001)
3 7091601 2 NUT, 5/16-18 Hex Flange Lock, GR 5 (was 7091070)
4 7046780 2 PLUG, Hole, Polyethylene
5 7090324 3 SCREW, 3/8-16 x 1” Self-Tapping (engine mount bolts)
6 7074568 1 COVER, Belt
7 7091214 1 KEY, Woodruff #HP-506 Hi-Pro
8 7015780 1 PULLEY, Engine (25mm I. D. x 2-1/8” O.D.)
9 7090201 1 SET SCREW, 5/16-18 x 5/16” Hex Socket (or 7092086 (SET SCREW, 5/16-18 x 1/2” Hex
Recess))
10 7101414 1 HUB, Blade, 21” WBM, RD, 2 Position
11 7026691 1 BLADE, 21” Standard Lift
12 7012063 2 WASHER, Cone 3/8”
13 7090167 1 SCREW, 3/8-24 x 2” Hex Head Cap, GR 5
14 7015626 1 HUB, Blade Drive, 25 mm I.D.
15 7026407 1 BLADE, 21” Ninja (Quad Edge) (Used on Recycling Models)
16 7029149 1 COVER, 21” Deck
17 7090189 2 WASHER, 5/16” Internal/External Lock
18 7101022 2 KNOB, Fluted, 5/16-18 x 1/2”
19 7011791 1 RETAINER, 5/16” Bolt
20 7024340 1 SPACER,.316 ID x .375 OD x .310 thick
21 7090951 1 NUT, 5/16-18 Hex Large Flange Center Lock
22 7091169 1 BOLT, 5/16-18 x 1-1/8” Round Head Short Square Neck, GR 5, ZP
23 7044770 3 SPACER, Blade Hub (Used on 7800427 & 7800553)
24 100602-0155-B8 1 * ENGINE, B&S DOV 700 Series (used on 7800424 (RP217020BDV))
24 121Q72-0110-F1 1 * ENGINE, B&S 875 Professional Series, California Compliant (used on 7800692 (NP2187520))
24 126L02-4113-F1 1 * ENGINE, B&S 675 Series (used on 7800437 & 7800438
24 126T02-0267-B1 1 * ENGINE, B&S 675 Series (used on 7800428 & 7800429)
24 128L02-0114-F1 1 * ENGINE, B&S 700 Series, California Compliant (used on 7800600 & 7800601)
24 12S502-0112-B1 1 * ENGINE, B&S 875 Series, Intek (used on 7800425, 7800430 & 7800492)
24 12S507-0115-B1 1 * ENGINE, B&S 875 Series, Intek (used on 7800432 & 7800427)
24 12S602-0110-F1 1 * ENGINE. B&S 875 Series, Snapper, XIC, F1 (used on 78000439 (NP2187520BV))
24 12S902-0126-B1 1 * ENGINE, B&S 875 Series, W14 (used on 7800552 & 7800554)
24 12S907-0127-B1 1 * ENGINE, B&S 875 Series, W14, ES (used on 7800553 & 7800555)
24 12S972-0152-B1 1 * ENGINE, B&S, 875 Series, W14 w/oil fltr, 49 ST (used on 7800754 & 7800758)
24 12S977-0153-B1 1 * ENGINE, B&S, 875 Series, W14 w/oil fltr (used on 7800759)
24 121S72-0111-F1 1 * ENGINE, 875 Series, Snapper California Compliant (used on 7800771)

Not for
Reproduction
21"STEEL DECK WALK BEHIND MOWERS
SERIES 20
10
Manual No. 7006477
Wheels Front and Rear

Not for
Reproduction
Footnotes:
Manual No. 700647721"STEEL DECK WALK BEHIND MOWERS
SERIES 20 11
Wheels Front and Rea
r
Part No Descri
p
tionItem Qty
1 7501092 2 ASSY, Wheel, 10 x 2” Idle, BB, Snapper Tread (push) (incl. two 1-1/8” O.D. Flanged Ball
Bearings (p/n 7101380))
2 7501078 2 ASSY, Wheel, 10 x 2” Drive w/metal insert Snapper Tread (used on all self-propelled models
except RP2187520BVE)
3 7029011 2 WHEEL, 10 x 1.75” Plastic (self-propelled) (used on RP2187520BVE (7800427))
4 7102625 2 HUBCAP, 10” Wheel, Spoked- Snapper Cool Gray
5 7017829 4 PLUG, Wheel
6 7091585 2 NUT, 3/8-16 Hex Center Lock
7 7090377 4 NUT, 7/16-20 Hex Center Lock Jam
8 722604 2 WASHER, .387 x 1” O.O. Flat
9 7031961 2 WASHER, 7/16” Flat
10 7500540 2 ASSY, Wheel, 8 x 2” Idle, Snapper Tread, Charcoal Gray (incl. two 1-1/8” O.D. Flanged Ball
Bearings (p/n 7101380))
11 7029010 2 WHEEL, 8 x 1.75” Plastic (used on RP2187520BVE (7800427) only)
12 7101350 2 HUBCAP, 8” Wheel, Spoked- Snapper Cool Gray (used on 7500540 wheel)
13 7012309 2 BUSHING, Axle
14 7100585 4 WASHER, Shim, .875 x .531 x .060 (qty. 2 on self-propelled)

Not for
Reproduction
21"STEEL DECK WALK BEHIND MOWERS
SERIES 20
12
Manual No. 7006477
Wheel Brackets & Latches (Push)

Not for
Reproduction
Footnotes:
Manual No. 700647721"STEEL DECK WALK BEHIND MOWERS
SERIES 20 13
Wheel Brackets & Latches (Push)
Part No Descri
p
tionItem Qty
1 7500038 1 ASSEMBLY, Left Wheel Arm (.512” Square Hole)
2 7051886 1 ASSEMBLY, Right Wheel Arm
3 7501119 1 ASSEMBLY, Wheel Arm, Left Rear Long (Push)
4 7054228 1 ASSEMBLY, Wheel Arm, Right Rear (Push)
5 7011393 1 WHEEL ARM, L.H. Front (.512” Square Hole)
6 7015761 2 BOLT, 5/16-18 x 3/4” Hex Washer Face Shoulder
7 7011791 4 RETAINER, 5/16” Bolt
8 7012325 2 LATCH, Height
9 7100633 4 GRIP, Height Latch
10 7031017 1 WHEEL ARM, R.H. Front (Round Hole)
11 7102587 1 ARM, Wheel, Left Rear
12 7011078 2 BOLT, 5/16-18 x 1” Hex Washer Face Shoulder
13 7035717 2 LATCH, Height Adjusting (long)
14 7033776 1 ARM, Wheel, Right Rear
15 7100752 2 AXLE, Front, Easy Line (3/8-16 Threads)
16 7091601 4 NUT, 5/16-18 Hex Flange Lock, GR 5 (was 7090585 or 7091070)
17 7900018 2 SCREW, Round Washer Head Torx, Hi-Lo
18 7100196 1 COVER, Front 21” walk
19 7103210 1 GUARD, Rear (21 Push)

Not for
Reproduction
21"STEEL DECK WALK BEHIND MOWERS
SERIES 20
14
Manual No. 7006477
Wheel Brackets & Latches (Self-Propelled)

Not for
Reproduction
Footnotes:
Manual No. 700647721"STEEL DECK WALK BEHIND MOWERS
SERIES 20 15
Wheel Brackets & Latches (Self-Propelled)
Part No Descri
p
tionItem Qty
1 7500038 1 ASSEMBLY, Front Left Wheel Arm (.512” Square Hole)
1 7051885 1 ASSEMBLY, Front Left Wheel Arm (.453” Square Hole) (used on 7800427 only)
2 7051886 1 ASSEMBLY, Front Right Wheel Arm
3 7054247 1 ASSEMBLY, Wheel Arm Left Rear Long SP21S
4 7054246 1 ASSEMBLY, Wheel Arm, Right Rear (S.P.)
5 7011393 1 WHEEL ARM, L.H. Front (.512” Square Hole)
5 7031016 1 WHEEL ARM, L.H. Front (.453” Square Hole) (used on 7800427 only)
6 7015761 2 BOLT, 5/16-18 x 3/4” Hex Washer Face Shoulder
7 7011791 4 RETAINER, 5/16” Bolt
8 7012325 2 LATCH, Height
9 7100633 4 GRIP, Height Latch
10 7031017 1 WHEEL ARM, R.H. Front (Round Hole)
11 7032723 1 ARM, Wheel, Left Rear
12 7011078 2 BOLT, 5/16-18 x 1” Hex Washer Face Shoulder
13 7035717 2 LATCH, Height Adjusting (long)
14 7032722 1 ARM, Wheel, Right Rear
15 7100752 1 AXLE, Front, Easy Line (3/8-16 Threads)
15 7021119 1 AXLE, Front, (7/16-20 Threads) (used on 7800427 only)
16 7091601 4 NUT, 5/16-18 Hex Flange Lock, GR 5 (was 7090585 or 7091070)
17 7900018 2 SCREW, Round Washer Head Torx, Hi-Lo
18 7100196 1 COVER, Front 21” walk
19 7012312 2 BEARING, 9/16” I.D.
20 7091012 6 SCREW, #10-32 x 3/8” Hex Washer Self-Tap

Not for
Reproduction
21"STEEL DECK WALK BEHIND MOWERS
SERIES 20
16
Manual No. 7006477
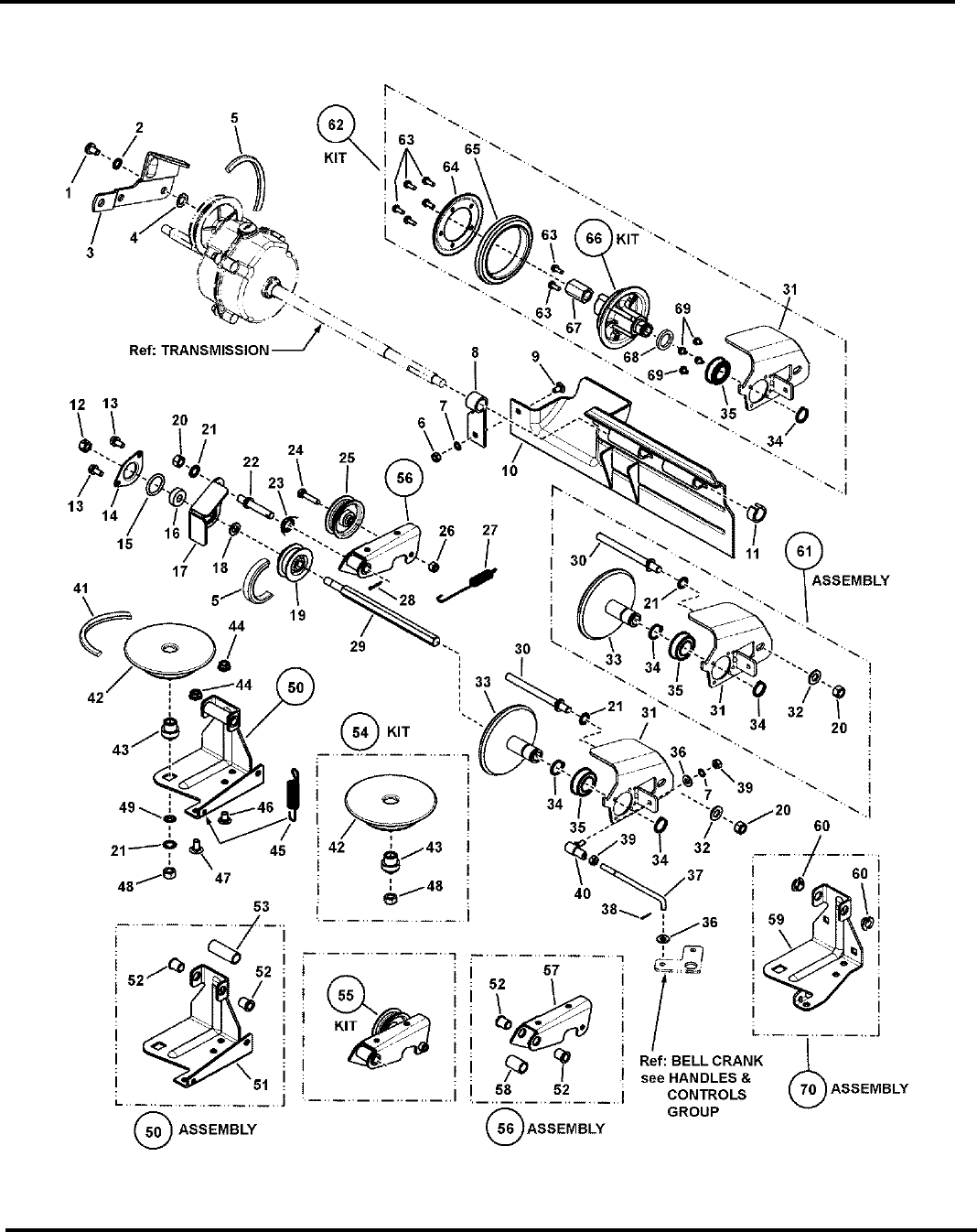
Drive System Self-Propelled

Not for
Reproduction
Footnotes:
Manual No. 700647721"STEEL DECK WALK BEHIND MOWERS
SERIES 20 17
Drive System Self-Propelle
d
Part No Descri
p
tionItem Qty
1 7091542 1 SCREW, 5/16-18 x 1/2” Pan Head Self-Tap (Torx)
2 7090391 1 WASHER, 5/16” Internal Tooth Lock
3 7034179A 1 LINK, Differential (Comm.)
4 7011724 1 WASHER, 44 x .78 x .025 Curved
5 7012354 1 BELT, Poly-V
6 7091576 1 NUT, 1/4-20 Hex, GR 5 (was 7090063)
7 7090053 1 WASHER, 1/4” Internal Tooth Lock (was 7091023)
8 7012616 1 SUPPORT, Foot Guard
9 7091604 1 BOLT, 1/4-20 x 1/2” Short Neck Carriage GR 5 (was 7090005)
10 7029008 1 FOOT GUARD, Rear
11 7023791 1 RING, Split (Black)
12 7090289 1 NUT, 3/8-24 Hex Center Lock, GR 5
13 7091122 2 SCREW, 1/4-20 x 1/2” Hex Flange Self-Tap (was 7090539)
14 7031809 1 HOLDER, Bearing (Outer Half)
15 7011025 1 O-RING, V21
16 7028014 1 BALL BEARING, Spherical O.D., .38 I.D.
17 7031873 1 HOLDER, Bearing (Inner Half)
18 7012316 1 WASHER, .390 I.D. Flat
19 7024521 1 PULLEY, Poly-V (2” O.D.)
20 7091630 2 NUT, 3/8-24 Hex
21 7090390 3 WASHER, 3/8” Internal Tooth Lock
22 7012111 1 STUD, Idler (3/8-24 thread)
23 7012126 1 SPRING, Idler- Torsion
24 7091025 1 SCREW, 1/4-28 x 1-3/8” Hex Head Cap, GR 5
25 7012124 1 PULLEY, Idler, V21
26 7090303 1 NUT, 1/4-28 Hex Top Lock
27 7012122 1 SPRING, Clutch - 21S
28 7091597 1 COTTER PIN, 3/32 x 1/2” (was 7090555)
29 7072284 1 SHAFT, Hex Drive
30 7012125 1 GUIDE, Thrust Plate (3/8-24 thread)
31 7300977A 1 THRUST PLATE, Short (was 7034281)
32 7090122 1 WASHER, 3/8” Flat
33 7041855 1 DISC, Driven (Cantilever) (ref: 7074139, Driven Disc Ass'y)
34 7010746 2 RETAINING RING, .625 External
35 7026693 1 BALL BEARING, 3/4” Bore (was 7029027)
36 7091294 1 WASHER, .28 x .63 x .06 Flat
37 7074145 1 LINK, Transfer (1/4-28 thread)
38 7090673 1 COTTER PIN, .06 x .50 YZ (was 7091629)
39 7090095 2 NUT, 1/4-28 Hex (see Handles & Controls page (item 58))
40 7015753 1 BALL JOINT, 1/4-28 (also shown on Handles & Controls Group page)
41 7046784 1 BELT, Engine Drive (Stretch)
42 7073528 1 DRIVE DISC, Steel
43 7013893 1 BUSHING, Powdered Metal (used for 1992 and earlier models)
43 7017696 1 BUSHING, Powdered Metal (used for 1993 and later models)

Not for
Reproduction
21"STEEL DECK WALK BEHIND MOWERS
SERIES 20
18
Manual No. 7006477
Drive System Self-Propelled

Not for
Reproduction
Footnotes:
Manual No. 700647721"STEEL DECK WALK BEHIND MOWERS
SERIES 20 19
Drive System Self-Propelle
d
Part No Descri
p
tionItem Qty
44 7090585 4 NUT, 5/16-18 Hex Flange Lock, GR 5 ZP (or 7091601)
45 7029025 1 SPRING, Wheel Drive
46 7090731 1 BOLT, 5/16-18 x 1/2”, Short Neck Carriage, GR 5
47 7090799 1 BOLT, 5/16-18 x 5/8” Short Neck Carriage GR 5 (was 7091026)
48 7091302 1 NUT, 3/8-16 Hex
49 7013847 1 RETAINER, 3/8” Bolt
50 7052987A 1 ASSEMBLY, Deck Bracket (Incl. items 52, 53 & 59)
51 7031919 1 BRACKET, Deck - Replaced (use Items 59 & 60 or Items 51, 52 & 53)
52 7012306 2, 4 BUSHING, Flange, .381 x .625 x .62
53 7021758 1 SPACER, .500 x .65 x 1.75
54 7061275 KIT, Drive Disc Assembly (Includes Items 42, 43 & 48)
55 7051913 1 ASSEMBLY, Clutch Idler (Includes Items 24, 25, 26 & 56)
56 7500154 1 ASSEMBLY, Idler Arm (Includes Items 52, 57 & 58)
57 7032832 1 ARM, Clutch Idler
58 7100447 1 SPACER, Idler Arm
59 7033774 1 BRACKET, Deck, P21S
60 7012117 4 BUSHING, 3/8” I.D. Nylon
61 7074139 1 ASSEMBLY, Driven Disc (includes items 20, 21, & 30 thru 35)
62 7600109 1 ASS'Y, Driven Disc, Short, Commercial (Incl. same items as Kit 7061276 plus items 20, 21, 30
& 32)
-- 7501000 ASS'Y, Driven Disc- Commercial (can be used instead of items 20, 21, 30, 31, 32, 33, 34, 35 &
71)
63 7090913 7 SCREW, #10-24 x 1/2” Hex Washer Self-Tap (Torx)
64 7031013 1 SIDE PLATE, Drive Tire
65 7023364 1 DRIVEN RING (was 7010927)
66 7061276 1 KIT, Hub & Bushing (Incl. Items 20, 21, 30, 31, 32, 34, 35, 63, 64, 65, 67, 68 & 69) (was
7053217)
67 7011108 1 BUSHING, Drive, Hex
68 7010121 1 WASHER, Shim, .75 x 1.0 x .021
69 7090981 4 SCREW, #10-32 x 1/4” Hex Washer Self-Tap
70 7059462 1 ASSEMBLY, Deck Bracket (Incl. items 59 & 60)
71 7501961 1 ASSEMBLY, Thrust Plate & Bearing (includes items 31 & 35)
72 7051921 1 ASSEMBLY, Clutch Idler (Includes Items 24, 25, 26, 52 & 57)

Not for
Reproduction
21"STEEL DECK WALK BEHIND MOWERS
SERIES 20
20
Manual No. 7006477
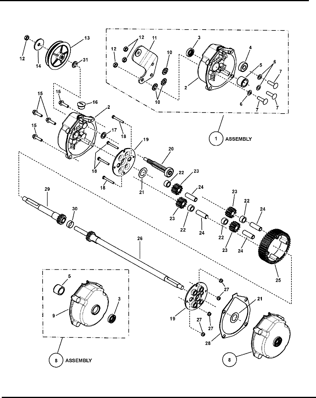
Transmission (Differential)

Not for
Reproduction
Footnotes:
Manual No. 700647721"STEEL DECK WALK BEHIND MOWERS
SERIES 20 21
Transmission (Differential)
NOTE: * Maximum capacity of transmission before causing leakage is 4 oz. DO NOT OVERFILL!
Part No Descri
p
tionItem Qty
-- 7053943 1 ASSEMBLY, Transmission (Incl. items 1 thru 31)
1 7053942 1 ASSEMBLY, Right Housing (Incl. items 2 thru 7) (or 7051908)
2 7029034 1 HOUSING, Right Side
3 7012314 2 SEAL, 5/8” Internal Diameter
4 7073963 1 BALL BEARING, 7/16 I.D., 1/1/8” O.D.
5 7029035 2 BEARING, Tapered (Differential Housing)
6 7024442 3 GASKET, 5/8” O. D.
7 7014155 3 SCREW, 5/16-24 x 1-1/8” Rib Neck, GR 5
8 7053939 1 ASSY, Left Housing (Incl. items 3, 5 & 9) (was 7053938)
9 7029033 1 HOUSING, Left
10 7090189 3 WASHER, 5/16” Internal/External Tooth Lock
11 7051903 1 WELDMENT, Differential Bracket
12 7092062 4 NUT, 5/16-18 Hex Lock (was 7011201)
13 7019213 1 PULLEY, Poly-V Belt (3.5” O.D.)
14 7092063 1 WASHER, Cone
15 7091825 4 SCREW, 1/4-20 x 1” Hex washer Self-Tap (was 7092064)
16 7016544 1 PLUG, Transmission Housing
17 7091720 1 WASHER, .453 x .75 x .073 Flat, YZ
18 7090557 4 SCREW, #10-32 x 1-1/2” Hex Head Cap GR 5
19 7031970 2 PLATE, 46T Gear
20 7050767 1 ASSEMBLY, Input Gear
21 7031965 2 WASHER, Thrust, 3/4” I.D.
22 7012500 4 SPACER, Pinion Gear
23 7021115 4 GEAR, Pinion (12 tooth)
24 7011110 4 SHAFT, Pinion
25 7012495 1 GEAR, Differential (46 Tooth)
26 7050831 1 ASSEMBLY, Long Axle (was 7051933)
27 7090376 4 NUT, #10-32 Hex Nyloc
28 7011774 1 GASKET, Housing
29 7050830 1 ASSEMBLY, Short Axle (was 7051932)
30 7012543 1 SPACER, Axle Gear
31 7011724 1 WASHER, 44 x .78 x .025 Curved
-- 7061017 4 oz. * “00” Grease, 32 oz bottle (not shown)

Not for
Reproduction
21"STEEL DECK WALK BEHIND MOWERS
SERIES 20
22
Manual No. 7006477
Decals

Not for
Reproduction
Footnotes:
Manual No. 700647721"STEEL DECK WALK BEHIND MOWERS
SERIES 20 23
Decals
Part No Descri
p
tionItem Qty
1 7102940 1 DECAL, Easy Speed, Control Panel
2 7102974 1 DECAL, Snapper Control Panel
3 7100183 1 DECAL, Easy Speed, Control Panel
4 7075471 1 DECAL, Speed Shift
5 7102151 1 DECAL, Briggs Engine, 675 Series
5 7103682 1 DECAL, Briggs Engine, 700 Series
5 278401 1 DECAL, Briggs Engine 8.75T/190cc Professional Series
6 7102746 1 DECAL, Spart Arrestor
7 7100984 1 DECAL, Warning/Danger Walk-Behind Mowers
8 7100410 1 DECAL, NINJA Mulching System
9 7100185 1 DECAL, SNAPPER, Steel Decks
10 7104851 1 DECAL, Ninja Mulching, Front Cover
11 7102939 1 DECAL, Front Cover, Ninja Mulching System
12 7104853 1 DECAL, Front Cover, Hi-Vac
13 7102938 1 DECAL, Front Cover, Hi-Vac
14 7013010 1 DECAL, Danger, Cut Finger
15 7102153 1 DECAL, Briggs Engine, Snapper
16 7104148 1 DECAL, Logo, Snapper, 7.88” long
17 7046720 1 DECAL, Chute/Deflector
18 7075532 1 DECAL, Throttle Control, B&S
19 7029782 1 DECAL, OPC Bail (International Symbol)
20 7075688 1 DECAL, Ignition Switch

Not for
Reproduction
21"STEEL DECK WALK BEHIND MOWERS
SERIES 20
24
Manual No. 7006477
Side Chute, Adapter

Not for
Reproduction
Footnotes:
Manual No. 700647721"STEEL DECK WALK BEHIND MOWERS
SERIES 20 25
Side Chute, Adapte
r
Part No Descri
p
tionItem Qty
1 7047081 1 ADAPTER, Grass Bag (see Grass Bag Accessory page)
2 7042965 1 CHUTE, 21” Side
3 7029149 1 COVER, 21” Deck
4 7091169 2 BOLT, 5/16-18 x 1-1/8” Short Neck Carriage GR 5 ZP
5 7011791 1 RETAINER, 5/16” Bolt
6 7024340 1 SPACER, .316 I.D. x .375 O.D. x .310 thick
7 7090951 1 NUT, 5/16-18 Hex Large Flange Center Lock
8 7090189 2 WASHER, 5/16” Internal/External Tooth Lock
9 7101022 2 KNOB, Fluted, 5/16-18 x 1/2”
10 7091508 1 BOLT, 5/16-18 x 3/4” Short Neck Carriage GR 5 (was 7090001)

Not for
Reproduction
21"STEEL DECK WALK BEHIND MOWERS
SERIES 20
26
Manual No. 7006477
Grass Bag Components

Not for
Reproduction
Footnotes:
Manual No. 700647721"STEEL DECK WALK BEHIND MOWERS
SERIES 20 27
Grass Bag Components
Part No Descri
p
tionItem Qty
1 7500153 1 BAG ASSEMBLY, (Door) (includes items 2, 3 & 4)
2 7100433 1 GRASS BAG, (Door) No Graphics
3 7042489 1 CONNECTOR, Grass Bag (weldment)
4 7051906 1 ASSEMBLY, Bag Wire (12” Wide)
5 7090189 2 WASHER, 5/16” Internal/External Tooth Lock
6 7091527 1 SCREW, 5/16-18 x 1-1/4” Hex Head Cap (was 7091984)
7 7047082 1 BRACKET, Rope Guide
8 7091601 2 NUT, 5/16-18 Hex Flange Lock, GR 5 (was 7091070)
9 7072107 3 WASHER, 15/32” Flat
10 7013860 3 RIVET, 3/16 x .344
11 7012306 1 BUSHING, Flange, .381 x .625 x .62
12 7091508 3 BOLT, 5/16-18 x 3/4” Short Neck Carriage GR 5
13 7011791 3 RETAINER, 5/16” Bolt
14 7024340 1 SPACER, .316 I.D. x .375 O.D. x .310 thick
15 7090951 1 NUT, 5/16-18 Hex Large Flange Center Lock
16 7047081 1 ADAPTER, Grass Bag
17 7101022 2 KNOB, Fluted, 5/16-18 x 1/2”
18 7024228 1 PULLEY, Nylon
19 7058037 1 ASSY, Grass Bag Adapter (includes items 6, 7, 8, 9, 10, 11, 16 & 18)
20 7016814 1 PLUG, Chute Adapter

Not for
Reproduction
21"STEEL DECK WALK BEHIND MOWERS
SERIES 20
28
Manual No. 7006477
Accessory Recycling Kits

Not for
Reproduction
Footnotes:
Manual No. 700647721"STEEL DECK WALK BEHIND MOWERS
SERIES 20 29
Accessory Recycling Kits
Part No Descri
p
tionItem Qty
-- 7061200 KIT, Recycling Cover (Includes items 1 & 3 shown below) (for 4HP & above engines)
-- 7061201 KIT, Recycling Plug (Incl. items 2 & 3 shown below) (for 4HP & above engines)
1 7029149 1 COVER, 21” Deck
2 7016814 1 PLUG, Chute Adapter
3 7026407 1 BLADE, 21” Quad Edge Ninja

Not for
Reproduction
21"STEEL DECK WALK BEHIND MOWERS
SERIES 20
30
Manual No. 7006477
Accessory Snapperizer

Not for
Reproduction
Footnotes:
Manual No. 700647721"STEEL DECK WALK BEHIND MOWERS
SERIES 20 31
Accessory Snapperize
r
Part No Descri
p
tionItem Qty
-- 7063041 KIT, Snapperizer (Incl. items 1 thru 5) (for “FR” & “M” type outlip decks)
1 7051243 1 SCREEN, Fastener Assembly
2 7072002 1 RING, Bottom (22.60” Inside Diameter)
3 7091297 3 NUT, 5/16-24 Hex, GR 5
4 7090187 3 WASHER, 5/16” Split Lock
5 7012587 3 SPRING

Not for
Reproduction
21"STEEL DECK WALK BEHIND MOWERS
SERIES 20
32
Manual No. 7006477
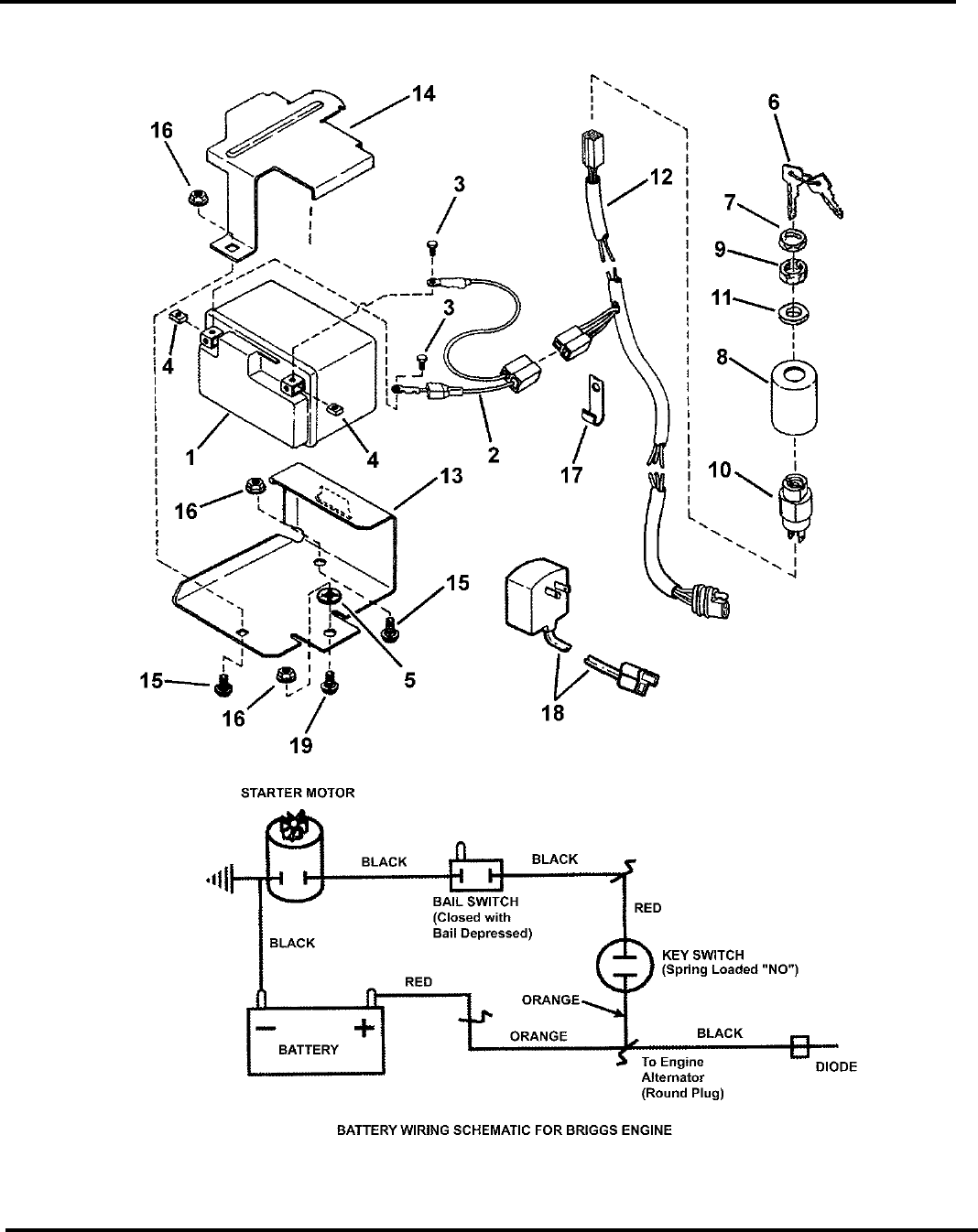
Electric Start Components

Not for
Reproduction
Footnotes:
Manual No. 700647721"STEEL DECK WALK BEHIND MOWERS
SERIES 20 33
Electric Start Components
Part No Descri
p
tionItem Qty
1 7067012 1 KIT, BATTERY, 12 Volt, 35 CCA (includes items #1 and 2)
2 7015488 1 HARNESS, Battery
3 7043977 2 SCREW, #10-24 x 1/2” Pan Head Machine
4 7090932 2 NUT, #10-24 Square
5 7011791 1 RETAINER, 5/16” Bolt
6 7011138 1 KEY, (Set of Two) (7041710, Switch Assembly, includes items 6 through 11.)
7 7023506 1 BEZEL, (Seal & Face Nut)
8 7029080 1 COVER, Switch
9 7012685 1 NUT, 5/8-32 Hex Lock
10 7028765 1 SWITCH, Ignition (spring loaded ON/OFF 2 prong)
11 7016132 1 SPACER
12 7078025 1 WIRING HARNESS, B&S WBM
13 7032906 1 BRACKET, Battery
14 7036132 1 COVER, Battery
15 7090731 2 BOLT, 5/16-18 x 1/2” Short Neck Carriage GR 5
16 7090585 3 NUT, 5/16-18 Hex Flange Lock, GR 5 YZ (or 7091601)
17 7012652 1 CLIP, Wiring
18 206838YP 1 CHARGER, Battery (120 Volt; 60 Hertz) (order Kit # 206838: Kit, Battery Charger)
19 7090799 1 BOLT, 5/16-18 x 5/8” Short Neck Carriage GR 5 (was 7091026)
Not for
Reproduction

Not for
Reproduction

Not for
Reproduction
Parts Manual fo
r
21"STEEL DECK WALK BEHIND MOWERS
SERIES 20
IT IS THE POLICY OF BRIGGS & STRATTON CORP. TO IMPROVE ITS
PRODUCTS WHENEVER IT IS POSSIBLE AND PRACTICAL TO DO SO.
WE RESERVE THE RIGHT TO MAKE CHANGES OR ADD
IMPROVEMENTS AT ANY TIME WITHOUT INCURRING ANY OBLIGATION
TO MAKE SUCH CHANGES ON PRODUCTS MANUFACTURED
Revision: F 7/18/2011
Manual No. 7006477
Copyright © 2011
Milwaukee, WI USA. All Rights Reserved
Briggs & Stratton Corporation
www.sna
pp
er.com
Briggs & Stratton Yard Power Products Group
535 Macon Road
McDonough, GA, 30253 U.S.A.
800-935-2967