Sony Group FFS-R RF glow-stick receiver User Manual FreFlow
Sony Engineering Corporation RF glow-stick receiver FreFlow
Users manual

FreFlow_GB_4_20130515
FreFlow® Instruction Manual
©2013 Sony Engineering Corporation Printed in Vietnam
Before operating the product, please read this manual thoroughly and retain it for future reference.
Design and specifications are subject to change without notice.
Information
This device complies with Part 15 of the FCC Rules.
Operation is subject to the following two conditions: (1)
this device may not cause harmful interference, and (2)
this device must accept any interference received,
including interference that may cause undesired
operation.
You are cautioned that any changes or modifications not
expressly approved in this manual could void the user’s
authority to operate the equipment.
Note:
This equipment has been tested and found to comply
with the limits for a Class B digital device, pursuant to
part 15 of the FCC Rules. These limits are designed to
provide reasonable protection against harmful
interference in a residential installation. This equipment
generates, uses and can radiate radio frequency energy
and, if not installed and used in accordance with the
instructions, may cause harmful interference to radio
communications. However, there is no guarantee that
interference will not occur in a particular installation. If
this equipment does cause harmful interference to radio
or television reception, which can be determined by
turning the equipment off and on, the user is
encouraged to try to correct the interference by one or
more of the following measures:
ē Reorient or relocate the receiving antenna.
ē Increase the separation between the equipment and
receiver.
ē Connect the equipment into an outlet on a circuit
different from that to which the receiver is connected.
ē Consult the dealer or an experienced radio/TV
technician for help.
FCC Label is placed in the battery compartment.
Notes on Use
ˎ Do not put small parts or batteries in your mouth.
Doing so may lead to choking or serious injury.
ˎ Keep out of reach of children as there is a risk of
choking or serious injury due to accidental swallowing.
ˎ If batteries are swallowed, seek medical treatment
immediately.
ˎ Material leaked from batteries getting in the eyes, on
skin, or on clothing may lead to loss of sight or other
injury. Flush any battery material with large volumes of
water, and consult a physician.
ˎ Do not look into the light from the product or shine it
directly at eyes. Doing so may lead to vision disorders.
ˎ Do not disassemble or modify the product. Doing so
may lead to fire, injury, etc.
ˎ The product is not waterproof. Do not allow it to get
wet nor use it in water. Doing so may lead to electrical
shock or damage to the product.
ˎ Do not apply strong impact or swing the product
around. Doing so may lead to injury or damage to the
product.
ˎ Do not use the product if malfunctioning or damaged.
Doing so may lead to shock or injury.
ˎ Immediately remove the batteries and discontinue use
if...
ē the product is dropped or subjected to an impact in
which the interior is exposed.
ē the product emits a strange smell, heat, or smoke.
ˎ When dirty, this unit may be cleaned with a clean, dry
cloth.
Do not allow this unit to come in contact with alcohol
or other chemicals.
ˎ Signal reception may be impaired in some wireless
operating environments.
ˎ If you feel ill while using the product, turn off the
power and discontinue use.
How to Use
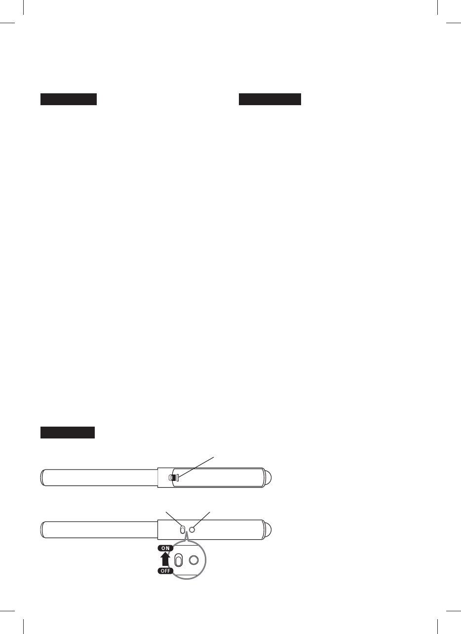
ʓ Pull out insulation sheet.
Insulation sheet
ʔ Slide to power switch to the ON position, to turn on the light. It may take a few seconds to light up.
Color change buttonPower switch
ʕ The light color set will change each time the color change button is pressed.
U-000

FreFlow_GB_4_20130515
Operation With a FreFlow® Wireless System
ʓ Wait with the power switch set to ON. You do not need to make any special operations. Operation will start
automatically when a wireless signal is received.
ʔ Light color will change by wireless command only in a venue where a FreFlow® wireless system is set up. Light color
may not change when used in a venue other than that where the product was purchased. This does not indicate a
malfunction.
ʕ Light color cannot be changed by the color change button while a wireless signal is being received.
ʖ When a wireless signal is no longer received, you can operate the product as you like.
How to Replace Batteries
ʓ Push the tab in the direction indicated by the arrow, and remove the battery box cover.
Tab Cover
ʔ Insert the batteries, making sure the + and - terminals are in the correct direction, and close the cover securely.
<Improper use of batteries may lead to leaking, excessive heating, rupture, or damage. Please
follow the cautions below.>
ˎ Set the batteries with the + and - terminals in the correct direction.
ˎ Remove the batteries when they are depleted or when not using for a long period of time.
ˎ Do not use or leave in places with intense direct sunlight or in hot locations such as a car in the sun.
ˎ Use new batteries when replacing the batteries. Do not mix with old batteries, different types of batteries, etc.
ˎ Do not subject batteries to fire or high temperatures.
ˎ Tape over battery contacts to avoid short-circuit when disposing of batteries, and follow local regulations for battery
disposal.
Specifications
ˎ Model Number: FFS-R
ˎ Materials
Grip, cover: ABS / Cylinder: PET
ˎ Power Requirement
Two size AAA (LR03) alkaline batteries: 3.0 V DC
ˎ Battery life
Approx. 4.5 hr. *1
*1 Time may vary, depending on the temperature or conditions of use.
MADE IN VIETNAM
[For inquires]
TBD
FreFlow® and its logo are trademarks or registered trademarks of Sony Engineering Corporation.