Sony Group UTXB2 UHF Synthesized Transmitter (Wireless Microphone) User Manual 00UWPV1
Sony Corporation UHF Synthesized Transmitter (Wireless Microphone) 00UWPV1
Users Manual

Wireless Microphone 
Package
3-870-284-11 (1)
Operating Instructions
UWP-V1/V2/V6
UWP-X7/X8
©2008 Sony Corporation
The supplied CD-ROM includes the Operating Instructions for the UWP-V1/
V2/V6/X7/X8 Wireless Microphone System (English, French, German, Italian, 
and Spanish versions). For more details, see “Using the CD-ROM Manual” on 
page 34.

2
For the UTX-B2/H2/P1 
Transmitters
Owner’s Record
The model and serial numbers are located at 
the rear or on the bottom of the unit. Record 
the model and serial numbers in the space 
provided below.
Refer to these numbers whenever you call 
upon your Sony dealer regarding this 
product.
Model No. _____________________
Serial No. ______________________
WARNING
Batteries shall not be exposed to excessive 
heat such as sunshine, fire or the like.
IMPORTANT
The name plate is located on the bottom and 
the serial number is located inside the 
battery compartment (UTX-P1).
AVERTISSEMENT
N’exposez pas les batteries à une chaleur 
excessive, au soleil ou près d’un feu par 
exemple.
IMPORTANT
La plaquette signalétique est posée sur le 
dessous de l’appareil et le numéro de série 
dans le logement des piles (UTX-P1).
WARNUNG
Akkus dürfen keinesfalls übermäßiger 
Wärmeeinwirkung ausgesetzt werden, wie 
z.B. Sonneneinstrahlung, Feuer o. ä.
WICHTIG
Am Boden des Geräts befindet sich das 
Typenschild und die Seriennummer 
befindet sich innen im Batteriefach (UTX-
P1).
AVVERTENZA
Le batterie non devono essere esposte a 
fonti di calore eccessivo come luce solare 
diretta, fuoco, ecc.
IMPORTANTE
La targhetta con il nome si trova sul fondo e 
il numero di serie si trova all’interno del 
vano pile (UTX-P1).
ADVERTENCIA
No se deben exponer las baterías a una 
fuente de calor excesivo como la luz del sol, 
el fuego o similar.
IMPORTANTE
La placa de caracteristicas se encuentra en 
la parte inferior y el número de serie está en 
el interior del compartimiento de pilas 
(UTX-P1).
Notice for customers in the 
U.S.A.
Use of Sony wireless devices is regulated 
by the Federal Communications 
Commission as described in Part 74 subpart 
H of the FCC regulations and users 
authorized thereby are required to obtain an 
appropriate license.
You are cautioned that any changes or 
modifications not expressly approved in 
this manual could void your authority to 
operate this equipment.
IMPORTANT NOTE: To comply with 
the FCC RF exposure compliance 
requirements, no change to the antenna or 
the device is permitted.
Any change to the antenna or the device 
could result in the device exceeding the RF 
exposure requirements and void user’s 
authority to operate this device.
This device complies with FCC radiation 
exposure limits set forth for uncontrolled 
equipment and meets the FCC radio 
frequency (RF) Exposure Guidelines in 
Supplement C to OET65. This device has 
very low levels of RF energy that it is 
deemed to comply without testing of 
specific absorption ratio (SAR).

3
Notice for customers in Canada:
Use of Sony wireless devices is regulated 
by the Industry Canada as described in their 
Radio Standard Specification RSS-123.
A licence is normally required. The local 
district office of Industry Canada should 
therefore be contacted. When the operation 
of the device is within the broadcast band, 
the licence is issued on no-interference, 
noprotection basis with respect to broadcast 
signals.
Operation is subject to the following two 
conditions: (1) this device may not cause 
interference, and (2) this device must accept 
any interference, including interference that 
may cause undesired operation of the 
device.
The term “IC” before the radio certification 
number only signifies that Industry Canada 
technical specifications were met.
Remarque à l’intention des 
utilisateurs au Canada:
L’usage des appareils sans fil Sony est 
réglementé par l’Industrie Canada comme 
décrit dans leur Cahier des Normes 
Radioélectriques CNR-123.
Une licence est normalement requise.
Le bureau de l’Industrie Canada doit être 
contacté. Lorsque le fonctionnement de 
l’appareil respecte les limites de la bande de 
radiodiffusion, la licence est accordée sur la 
base d’une non-interférence, non-
protection pour les signaux de 
radiodiffusion.
L’utilisation doit répondre aux deux 
conditions suivantes : (1) ce matériel ne doit 
pas provoquer de brouillage et (2) il doit 
accepter tout brouillage, même celui qui est 
susceptible d’affecter son fonctionnement.
La mention « IC: » devant le numéro de 
certification/ homologation signifie 
uniquement que les spécifications 
techniques d’Industrie Canada sont 
remplies.
Für Kunden in Deutshland (UTX-
B2/H2/P1)
Entsorgungshinweis: Bitte werfen Sie nur 
entladene Batterien in die Sammelboxen 
beim Handel oder den Kommunen. 
Entladen sind Batterien in der Regel dann, 
wenn das Gerät abschaltet und signalisiert 
“Batterie leer” oder nach längerer 
Gebrauchsdauer der Batterien “nicht mehr 
einwandfrei funktioniert”. Um 
sicherzugehen, kleben Sie die Batteriepole 
z.B. mit einem Klebestreifen ab oder geben 
Sie die Batterien einzeln in einen 
Plastikbeutel.
Notice for customers in Europe
Hereby, Sony Corporation, declares that 
this UTX-B2/H2/P1 is in compliance with 
the essential requirements and other 
relevant provisions of the Directive 1999/5/
EC. 
For details, please access the following 
URL: http://www.compliance.sony.de/
This product is intended to be used in the 
following countries : United Kingdom, 
Germany, Norway, Luxembourg, Belgium, 
Denmark, France, Italy, Sweden, 
Switzerland, Finland, Iceland, and Turkey.
U.K. 470 - 862 MHz
Germany 470 - 606 MHz, 614 - 
862 MHz
Norway 800 - 820 MHz
Luxembourg 470 - 862 MHz
Belgium 470 - 862 MHz
Denmark 800.100 - 819.900 MHz
France 470 - 830 MHz
Italy 470 - 854 MHz
Sweden 470 - 862 MHz
Switzerland 790 - 862 MHz
Finland 790.100 - 821.900 MHz, 
854 - 862 MHz
Iceland 470 - 862 MHz
Turkey 470 - 862 MHz

4
Note:
In some countries additional frequency 
bands may be used with the agreement of 
the national authority.
Notification aux clients 
européens
Par la présente Sony Corporation déclare 
que l'appareil UTX-B2/H2/P1 est conforme 
aux exigences essentielles et aux autres 
dispositions pertinentes de la directive 
1999/5/CE. 
Pour toute information complémentaire, 
veuillez consulter l’URL suivante:
http://www.compliance.sony.de/
Ce produit est prévu pour être utilisé dans 
les pays suivants: Royaume-Uni, 
Allemagne, Norvège, Luxembourg, 
Belgique, Danemark, France, Italie, Suède, 
Suisse, Finlande, Islande et Turquie.
Remarque:
Dans certains pays, des bandes de 
fréquences additionnelles pourront être 
utilisées avec l’accord des autorités 
nationales.
Hinweis für die Kunden in 
Europa
Hiermit erklärt Sony Corporation, dass sich 
das Gerät UTX-B2/H2/P1 in 
Übereinstimmung mit den grundlegenden 
Anforderungen und den übrigen 
einschlägigen Bestimmungen der Richtlinie 
1999/5/EG befindet.
Weitere Informationen erhältlich unter:
http://www.compliance.sony.de/
Dieses Produkt ist für den Gebrauch in den 
folgenden Ländern vorgesehen: Vereinigtes 
Königreich, Deutschland, Norwegen, 
Luxemburg, Belgien, Dänemark, 
Frankreich, Italien, Schweden, Schweiz, 
Finnland, Island und Türkei.
Hinweis:
In manchen Ländern ist mit Genehmigung 
der zuständigen Behörden u.U. die Nutzung 
weiterer Frequenzbänder möglich.
Avvertenza per gli utilizzatori in 
Europa
Con la presente Sony Corporation dichiara 
che questo UTX-B2/H2/P1 è conforme ai 
requisiti essenziali ed alle altre disposizioni 
pertinenti stabilite dalla direttiva 1999/5/
CE.
Per ulteriori dettagli, si prega di consultare 
il seguente URL:
http://www.compliance.sony.de/
Questo prodotto è destinato all’uso nei 
seguenti paesi: Regno Unito, Germania, 
Norvegia, Lussemburgo, Belgio, 
Danimarca, Francia, Italia, Svezia, 
Svizzera, Finlandia, Islanda e Turchia.
Nota:
In alcuni paesi possono essere usate bande 
di frequenza supplementari con il permesso 
delle autorità nazionali.
Aviso para los clientes de 
Europa
Por medio de la presente Sony Corporation 
declara que el UTX-B2/H2/P1 cumple con 
los requisitos esenciales y cualesquiera 
otras disposiciones aplicables o exigibles de 
la Directiva 1999/5/CE.
Para mayor información, por favor consulte 
el siguiente URL:
http://www.compliance.sony.de/
Este producto está destinado a utilizarse en 
los siguientes países: Reino Unido, 
Alemania, Noruega, Luxemburgo, Bélgica, 
Dinamarca, Francia, Italia, Suecia, Suiza, 
Finlandia, Islandia y Turquía.
Nota:
En algunos países pueden utilizarse bandas 
de frecuencia adicionales de acuerdo con la 
autoridad nacional.

5
Voor de klanten in Europa
Hierbij verklaart Sony Corporation dat het 
toestel UTX-B2/H2/P1 in 
overeenstemming is met de essentiële eisen 
en de andere relevante bepalingen van 
richtlijn 1999/5/EG.
Nadere informatie kunt u vinden op:
http://www.compliance.sony.de/
Dit product is bedoeld om in volgende 
landen gebruikt te worden: Verenigd 
Koninkrijk, Duitsland, Noorwegen, 
Luxemburg, België, Denemarken, 
Frankrijk, Italië, Zweden, Zwitserland, 
Finland, IJsland en Turkije.
Opmerking:
In bepaalde landen kan er gebruik gemaakt 
worden van aanvullende frequentiebanden, 
mits toegestaan door de nationale 
instanties.
For kunder i Europa
Härmed intygar Sony Corporation att denna 
UTX-B2/H2/P1 står I överensstämmelse 
med de väsentliga egenskapskrav och 
övriga relevanta bestämmelser som framgår 
av direktiv 1999/5/EG.
För ytterligare information gå in på följande 
hemsida:  http://www.compliance.sony.de/
Den här produkten är avsedd för 
användning i följande länder: 
Storbritannien, Tyskland, Norge, 
Luxembourg, Belgien, Danmark, 
Frankrike, Italien, Sverige, Schweiz, 
Finland, Island och Turkiet.
Observera:
I vissa länder kan det hända att ytterligare 
frekvensband används efter 
överenskommelse med det landets 
myndigheter.
Para os clientes da Europa
Sony Corporation declara que este UTX-
B2/H2/P1 está conforme com os requisitos 
essenciais e outras disposições da Directiva 
1999/5/CE.
Para mais informacoes, por favor consulte a 
seguinte URL: 
http://www.compliance.sony.de/
Este produto destina-se a ser usado nos 
seguintes países: Reino Unido, Alemanha, 
Noruega, Luxemburgo, Bélgica, 
Dinamarca, França, Itália, Suécia, Suíça, 
Finlândia, Islândia e Turquia.
Obs.:
Em alguns países uma faixa adicional de 
frequências pode ser utilizada com 
autorização do governo nacional.
For kunder i Europa
Undertegnede Sony Corporation erklærer 
herved, at følgende udstyr UTX-B2/H2/P1 
overholder de væsentlige krav og øvrige 
relevante krav i direktiv 1999/5/EF.
For yderligere information gå ind på 
følgende hjemmeside: 
http://www.compliance.sony.de/
Dette produkt er beregnet til brug i de 
følgende lande: Storbritannien, Tyskland, 
Norge, Luxembourg, Belgien, Danmark, 
Frankrig, Italien, Sverige, Schweiz, 
Finland, Island og Tyrkiet.
Bemærk:
I nogle land kan yderligere frekvensbånd 
blive anvendt med de nationale autoriteters 
samtykke.
Euroopassa oleville asiakkaille
Sony Corporation vakuuttaa täten että 
UTX-B2/H2/P1 tyyppinen laite on 
direktiivin 1999/5/EY oleellisten 
vaatimusten ja sitä koskevien direktiivin 
muiden ehtojen mukainen.
Halutessasi lisätietoja, käy osoitteessa:
http://www.compliance.sony.de/
Tämä tuote on tarkoitettu käytettäväksi 
seuraavissa maissa: Yhdistynyt 
kuningaskunta, Saksa, Norja, Luxemburg, 
Belgia, Tanska, Ranska, Italia, Ruotsi, 
Sveitsi, Suomi, Islanti ja Turkki.

6
Huom!
Joissakin maissa lisätaajuuskaistoja 
voidaan käyttää viranomaisten 
suostumuksella.
For kundene i Europa
Sony Corporation erklærer herved at 
utstyret UTX-B2/H2/P1 er i samsvar med 
de grunnleggende krav og øvrige relevante 
krav i direktiv 1999/5/EF. 
For flere detaljer, vennligst se: 
http://www.compliance.sony.de/
Dette produktet er ment for bruk i følgende 
land: Storbritannia, Tyskland, Norge, 
Luxemburg, Belgia, Danmark, Frankrike, 
Italia, Sverige, Sveits, Finland, Island og 
Tyrkia.
Merk:
I enkelte land kan det brukes ytterligere 
frekvensbånd hvis myndighetene har gitt 
tillatelse til dette.
Για τους πελάτες στην Eυρώπη
Με την παρούσα η Sony Corporation 
δηλώνει τι UTX-B2/H2/P1 
συμμορφώνεται προς της ουσιώδεις 
απαιτήσεις και τις λοιπές σχετικές 
διατάξεις της οδηγίας 1999/5/ΕΚ..
Για λεπτομέρειες παρακαλούμε 
πως ελένξετε την ακλουθη 
σελίδα του διαδικτύου:
http://www.compliance.sony.de/
Το προϊν προορίζεται για χρήση 
στις εξής χώρες: Ηνωμένο Βασίλειο, 
Γερμανία, Νορβηγία, 
Λουξεμβούργο, Βέλγιο, Δανία, 
Γαλλία, Ιταλία, Σουηδία, Ελβετία, 
Φινλανδία, Ισλανδία και Τουρκία.
Pro zákazníky v Evropě
Sony Corporation tímto prohlašuje, že 
tento UTX-B2/H2/P1 je ve shodě se 
základními požadavky a dalšími 
příslušnými ustanoveními směrnice 
1999/5/ES.
Podrobnosti lze získat na následující 
URL:
http://www.compliance.sony.de/
Tento produkt je určen k použití v 
následujících zemích: Spojené 
království, Německo, Norsko, 
Lucembursko, Belgie, Dánsko, Francie, 
Itálie, Švédsko, Švýcarsko, Finsko, 
Island a Turecko.
Poznámka:
V některých zemích mohou být se 
souhlasem příslušného národního úřadu 
použita další frekvenční pásma.
Euroopa klientidele
Sony Corporation kinnitab käesolevaga 
seadme UTX-B2/H2/P1 vastavust 1999/5/

7
EÜ direktiivi põhinõuetele ja nimetatud 
direktiivist tulenevatele teistele 
asjakohastele sätetele.
Üksikasjalikum info: 
http://www.compliance.sony.de/.
See toode on ettenähtud kasutamiseks 
järgmistes riikides: Suurbritannia, 
Saksamaa, Norra, Luksemburg, Belgia, 
Taani, Prantsusmaa, Itaalia, Rootsi, Šveits, 
Soome, Island ja Türgi.
Märkus:
Mõnedes riikides võib kokkuleppel riiklike 
ametitega kasutada lisa sagedusalasid.
Európai vásárlóink fi gyelmébe
Alulírott, Sony Corporation 
nyilatkozom, hogy a(z) UTX-B2/H2/P1 
megfelel a vonatkozó alapvető 
követelményeknek és az 1999/5/EC 
irányelv egyéb előírásainak.
További információkat a következő 
weboldalon találhat:
http://www.compliance.sony.de/
Ez a termék a következő országokban 
használható: Egyesült Királyság, 
Németország, Norvégia, Luxemburg, 
Belgium, Dánia, Franciaország, 
Olaszország, Svédország, Svájc, 
Finnország, Izland és Törökország.
Megjegyzés:
Egyes országokban a nemzeti hatóságok 
jóváhagyásával további frekvenciasávok 
is használhatók.
Dotyczy klientów z Europy
Niniejszym Sony Corporation 
oświadcza, że UTX-B2/H2/P1 jest 
zgodne z zasadniczymi wymaganiami 
oraz innymi
stosownymi postanowieniami 
Dyrektywy 1999/5/WE.
Szczegółowe informacje znaleźć można 
pod następującym adresem URL:
http://www.compliance.sony.de/
Ten produkt jest przeznaczony do 
użytku w następujących krajach: 
Wielkiej Brytanii, Niemczech, Norwegii, 
Luksemburgu, Belgii, Danii, Francji, 
Włoszech, Szwecji, Szwajcarii, Finlandii, 
Islandii i Turcji.

8
Uwaga:
W niektórych krajach za zgodą władz 
rządowych używane mogą być 
dodatkowe pasma częstotliwości.
Pentru clienţii din Europa
Prin prezenta, Sony Corporation declară 
că acest UTX-B2/H2/P1 respectă 
cerinţele esenţiale și este în 
conformitate cu prevederile Directivei 
1995/5/EC.
Pentru detalii, vă rugăm accesaţi 
următoarea adresă:
http://www.compliance.sony.de/
Acest produs este destinat utilizării în 
următoarele ţări:  Regatul Unit, 
Germania, Norvegia, Luxemburg, 
Belgia, Danemarca, Franţa, Italia, 
Suedia, Elveţia, Finlanda, Islanda și 
Turcia.
Notă:
În anumite ţări se pot utiliza benzi de 
frecvenţă suplimentare cu acordul 
autorităţii naţionale de reglementare.
Pre zákazníkov v Európe
Sony Corporation týmto vyhlasuje, že 
UTX-B2/H2/P1 spĺňa základné 
požiadavky a všetky príslušné 
ustanovenia Smernice 1999/5/ES.
Podrobnosti získate na nasledovnej 
webovej adrese:
http://www.compliance.sony.de/
Tento produkt je určený na používanie v 
nasledovných krajinách:  Veľká 
Británia, Nemecko, Nórsko, 
Luxembursko, Belgicko, Dánsko, 
Francúzsko, Taliansko, Švédsko, 
Švajčiarsko, Fínsko, Island a Turecko.
Poznámka:
V niektorých krajinách sa môžu na 
základe súhlasu kompetentnej inštitúcie 
používat’ aj dodatočné frekvenčné 
pásma.
Za stranke v Evropi
Sony Corporation izjavlja, da je ta UTX-
B2/H2/P1 v skladu z bistvenimi 
zahtevami in ostalimi relevantnimi 
določili direktive 1999/5/ES.
Za podrobnosti vas naprošamo, če 
pogledate naURL:
http://www.compliance.sony.de/
Izdelek je namenjen za uporabo v 
naslednjih državah: Veliki Britaniji, 
Nemčiji, Norveški, Luksemburgu, 
Belgiji, Danski, Franciji, Italiji, Švedski, 
Švici, Finski, Islandiji in Turčiji.
Opomba:
V nekaterih državah se lahko z 
dovoljenjem pooblaščenih organov 
uporabljajo dodatna frekvenčna 
območja.
Note for customer in UK:
The use of this equipment is subject to 
individual license granted by the National 
Frequency Administration Authority.
Hinweis für Kunden in 
Großbritannien:
Der Gebrauch dieses Geräts unterliegt einer 
entsprechenden Lizenz von der nationalen 
Frequenzverwaltungsbehörde.
Merknad for kundene i 
Storbritannia:
Bruken av dette utstyret er underlagt en 
spesiell lisens som utstedes av nasjonale 
frekvensforvaltningsmyndigheter.
Remarque pour les clients 
résidant au Royaume-Uni:
L’utilisation de cet équipement est soumise 
à la licence individuelle accordée par les 
autorités d’administration des fréquences 
nationales.
Opmerking voor klanten in het 
Verenigd Koninkrijk:
Het gebruik van deze apparatuur is 
onderhevig aan een afzonderlijke licentie 

9
die is verleend door de nationale autoriteit 
voor frequentiebeheer.
Bemærkning til kunder i 
Storbritannien:
Brugen af dette udstyr er underlagt 
individuel licens givet at 
telemyndighederne.
Nota per i clienti nel Regno 
Unito:
L’uso di questo apparecchio è soggetto ad 
una licenza individuale accordata 
dall’Autorità per l’amministrazione delle 
frequenze nazionali..
För kunder i Storbritannien:
Användandet av den här utrustningen sker 
under enskilda licenser som utfärdas av den 
nationella myndighet som handhar 
frekvenstillstånd.
Ilmoitus Yhdistyneessä 
kuningaskunnassa asuville 
asiakkaille:
Laitteiston käyttöön tarvitaan paikallisen 
viestintäviranomaisen myöntämä 
henkilökohtainen lupa.
Note for customer in Germany:
According to German regulation this 
equipment can only operate in channels 
(specify which channels are allowed).
The use of this equipment is subject to 
individual license granted by the National 
Frequency Administration Authority.
Hinweis für Kunden in 
Deutschland:
.Gemäß den Vorschriften in Deutschland 
kann dieses Gerät nur auf bestimmten 
Kanälen betrieben werden (zulässige 
Kanäle angeben). 
Der Gebrauch dieses Geräts unterliegt einer 
entsprechenden Lizenz von der nationalen 
Frequenzverwaltungsbehörde.
Merknad for kundene i Tyskland:
I henhold til tyske forskrifter kan dette 
utstyret kun brukes i kanal (angi hvilke 
kanaler som er tillatt).
Bruken av dette utstyret er underlagt en 
spesiell lisens som utstedes av nasjonale 
frekvensforvaltningsmyndigheter.
Remarque pour les clients 
résidant en Allemagne:
Conformément à la réglementation 
allemande, cet équipement fonctionne 
uniquement avec des canaux (spécifiez les 
canaux autorisés).
L’utilisation de cet équipement est soumise 
à la licence individuelle accordée par les 
autorités d’administration des fréquences 
nationales.
Opmerking voor klanten in 
Duitsland:
Volgens de Duitse wetgeving mag deze 
apparatuur alleen werken in kanalen 
(opgeven welke kanalen zijn toegestaan).
Het gebruik van deze apparatuur is 
onderhevig aan een afzonderlijke licentie 
die is verleend door de nationale autoriteit 
voor frequentiebeheer.
Bemærkning til kunder i 
Tyskland:
I henhold til tysk lovgivning kan dette 
udstyr kun fungere i kanaler (angiv, hvilke 
kanaler, der er tilladt).
 Brugen af dette udstyr er underlagt 
individuel licens givet at 
telemyndighederne.

10
Nota per i clienti in Germania:
In base alle norme vigenti in Germania, il 
presente apparecchio può essere utilizzato 
solo su canali (specificare i canali 
consentiti).
L’uso di questo apparecchio è soggetto ad 
una licenza individuale accordata 
dall’Autorità per l’amministrazione delle 
frequenze nazionali.
För kunder i Tyskland:
Enligt tysk lagstiftning får den här 
utrustningen endast användas med följande 
kanaler (ange vilka kanaler som är tillåtna).
Användandet av den här utrustningen sker 
under enskilda licenser som utfärdas av den 
nationella myndighet som handhar 
frekvenstillstånd.
Ilmoitus Saksassa asuville 
asiakkaille:
Saksassa voimassa olevien määräysten 
mukaan tätä laitetta saa käyttää ainoastaan 
kanavilla (ilmoita sallitut kanavat).
Laitteiston käyttöön tarvitaan paikallisen 
viestintäviranomaisen myöntämä 
henkilökohtainen lupa.
Note for customer in Norway:
According to Norwegian regulation this 
equipment can only operate in channels 
(specify which channels are allowed) with a 
maximum RF output power of 20mW.
The use of this equipment is subject to 
individual license granted by the National 
Frequency Administration Authority.
Hinweis für Kunden in 
Norwegen:
Gemäß den Vorschriften in Norwegen kann 
dieses Gerät nur auf bestimmten Kanälen 
betrieben werden (zulässige Kanäle 
angeben), und zwar mit einer maximalen 
HF-Ausgangsleistung von 20 mW.
Der Gebrauch dieses Geräts unterliegt einer 
entsprechenden Lizenz von der nationalen 
Frequenzverwaltungsbehörde.
Merknad for kundene i Norge:
I henhold til norske forskrifter kan dette 
utstyret kun brukes i kanal (angi hvilke 
kanaler som er tillatt) med maksimal RF-
utgangseffekt på 20 mW.
Bruken av dette utstyret er underlagt en 
spesiell lisens som utstedes av nasjonale 
frekvensforvaltningsmyndigheter.
Remarque pour les clients 
résidant en Norvège:
Conformément à la réglementation 
norvégienne, cet équipement fonctionne 
uniquement avec des canaux (spécifiez les 
canaux autorisés) ayant une puissance de 
sortie RF maximale de 20 mW.
L’utilisation de cet équipement est soumise 
à la licence individuelle accordée par les 
autorités d’administration des fréquences 
nationales.
Opmerking voor klanten in 
Noorwegen:
Volgens de Noorse wetgeving mag deze 
apparatuur alleen werken in kanalen 
(opgeven welke kanalen zijn toegestaan) 
met een maximaal RF-uitgangsvermogen 
van 20 mW.
Het gebruik van deze apparatuur is 
onderhevig aan een afzonderlijke licentie 
die is verleend door de nationale autoriteit 
voor frequentiebeheer.

11
Bemærkning til kunder i Norge:
I henhold til norsk lovgivning kan dette 
udstyr kun fungere i kanaler (angiv, hvilke 
kanaler, der er tilladt) med en maksimal RF-
udgangseffekt på 20 mW.
Brugen af dette udstyr er underlagt 
individuel licens givet at 
telemyndighederne.
Nota per i clienti in Norvegia:
In base alle norme vigenti in Norvegia, il 
presente apparecchio può essere utilizzato 
solo su canali (specificare i canali 
consentiti) con una potenza di uscita RF 
massima di 20mW.
L’uso di questo apparecchio è soggetto ad 
una licenza individuale accordata 
dall’Autorità per l’amministrazione delle 
frequenze nazionali.
För kunder i Norge:
Enligt norsk lagstiftning får den här 
utrustningen endast användas med följande 
kanaler (ange vilka kanaler som är tillåtna) 
med en maximal RF-uteffekt på 20 mW.
Användandet av den här utrustningen sker 
under enskilda licenser som utfärdas av den 
nationella myndighet som handhar 
frekvenstillstånd.
Ilmoitus Norjassa asuville 
asiakkaille:
Norjassa voimassa olevien määräysten 
mukaan tätä laitetta saa käyttää ainoastaan 
kanavilla (ilmoita sallitut kanavat) ja siten, 
että RF-lähetysten enimmäisteho on 20 
mW.
Laitteiston käyttöön tarvitaan paikallisen 
viestintäviranomaisen myöntämä 
henkilökohtainen lupa.
Note for customer in 
Luxembourg:
The use of this equipment is subject to 
individual license granted by the National 
Frequency Administration Authority.
Hinweis für Kunden in 
Luxemburg:
Der Gebrauch dieses Geräts unterliegt einer 
entsprechenden Lizenz von der nationalen 
Frequenzverwaltungsbehörde.
Merknad for kundene i 
Luxemburg:
Bruken av dette utstyret er underlagt en 
spesiell lisens som utstedes av nasjonale 
frekvensforvaltningsmyndigheter.
Remarque pour les clients 
résidant au Luxembourg:
L’utilisation de cet équipement est soumise 
à la licence individuelle accordée par les 
autorités d’administration des fréquences 
nationales.
Opmerking voor klanten in 
Luxemburg:
Het gebruik van deze apparatuur is 
onderhevig aan een afzonderlijke licentie 
die is verleend door de nationale autoriteit 
voor frequentiebeheer.
Bemærkning til kunder i 
Luxembourg:
Brugen af dette udstyr er underlagt 
individuel licens givet at 
telemyndighederne.

12
Nota per i clienti in 
Lussemburgo:
L’uso di questo apparecchio è soggetto ad 
una licenza individuale accordata 
dall’Autorità per l’amministrazione delle 
frequenze nazionali.
För kunder i Luxemburg:
Användandet av den här utrustningen sker 
under enskilda licenser som utfärdas av den 
nationella myndighet som handhar 
frekvenstillstånd.
Ilmoitus Luxemburgissa asuville 
asiakkaille:
Laitteiston käyttöön tarvitaan paikallisen 
viestintäviranomaisen myöntämä 
henkilökohtainen lupa.
Note for customer in Belgium:
The use of this equipment is subject to 
individual license granted by the National 
Frequency Administration Authority.
Hinweis für Kunden in Belgien:
Der Gebrauch dieses Geräts unterliegt einer 
entsprechenden Lizenz von der nationalen 
Frequenzverwaltungsbehörde.
Merknad for kundene i Belgia:
Bruken av dette utstyret er underlagt en 
spesiell lisens som utstedes av nasjonale 
frekvensforvaltningsmyndigheter.
Remarque pour les clients 
résidant en Belgique:
L’utilisation de cet équipement est soumise 
à la licence individuelle accordée par les 
autorités d’administration des fréquences 
nationales.
Opmerking voor klanten in 
België:
Het gebruik van deze apparatuur is 
onderhevig aan een afzonderlijke licentie 
die is verleend door de nationale autoriteit 
voor frequentiebeheer.
Bemærkning til kunder i Belgien:
Brugen af dette udstyr er underlagt 
individuel licens givet at 
telemyndighederne.
Nota per i clienti in Belgio:
L’uso di questo apparecchio è soggetto ad 
una licenza individuale accordata 
dall’Autorità per l’amministrazione delle 
frequenze nazionali.
För kunder i Belgien:
Användandet av den här utrustningen sker 
under enskilda licenser som utfärdas av den 
nationella myndighet som handhar 
frekvenstillstånd.
Ilmoitus Belgiassa asuville 
asiakkaille:
Laitteiston käyttöön tarvitaan paikallisen 
viestintäviranomaisen myöntämä 
henkilökohtainen lupa.
Note for customer in Denmark:
According to Danish regulation this 
equipment can only operate in channels 
(specify which channels are allowed).

13
The use of this equipment is subject to 
individual license granted by the National 
Frequency Administration Authority.
Hinweis für Kunden in 
Dänemark:
Gemäß den Vorschriften in Dänemark kann 
dieses Gerät nur auf bestimmten Kanälen 
betrieben werden (zulässige Kanäle 
angeben).
Der Gebrauch dieses Geräts unterliegt einer 
entsprechenden Lizenz von der nationalen 
Frequenzverwaltungsbehörde.
Merknad for kundene i Danmark:
I henhold til danske forskrifter kan dette 
utstyret kun brukes i kanal (angi hvilke 
kanaler som er tillatt).
Bruken av dette utstyret er underlagt en 
spesiell lisens som utstedes av nasjonale 
frekvensforvaltningsmyndigheter.
Remarque pour les clients 
résidant au Danemark:
Conformément à la réglementation danoise, 
cet équipement fonctionne uniquement 
avec des canaux (spécifiez les canaux 
autorisés).
L’utilisation de cet équipement est soumise 
à la licence individuelle accordée par les 
autorités d’administration des fréquences 
nationales.
Opmerking voor klanten in 
Denemarken:
Volgens de Deense wetgeving mag deze 
apparatuur alleen werken in kanalen 
(opgeven welke kanalen zijn toegestaan).
Het gebruik van deze apparatuur is 
onderhevig aan een afzonderlijke licentie 
die is verleend door de nationale autoriteit 
voor frequentiebeheer.
Bemærkning til kunder i 
Danmark
I henhold til dansk lovgivning kan dette 
udstyr kun fungere i kanaler (angiv, hvilke 
kanaler, der er tilladt).
Brugen af dette udstyr er underlagt til 
individuel licens givet at 
telemyndighederne.
Nota per i clienti in Danimarca:
In base alle norme vigenti in Danimarca, il 
presente apparecchio può essere utilizzato 
solo su canali (specificare i canali 
consentiti).
L’uso di questo apparecchio è soggetto ad 
una licenza individuale accordata 
dall’Autorità per l’amministrazione delle 
frequenze nazionali.
För kunder i Danmark:
Enligt dansk lagstiftning får den här 
utrustningen endast användas med följande 
kanaler (ange vilka kanaler som är tillåtna).
Användandet av den här utrustningen sker 
under enskilda licenser som utfärdas av den 
nationella myndighet som handhar 
frekvenstillstånd.
Ilmoitus Tanskassa asuville 
asiakkaille:
Tanskassa voimassa olevien määräysten 
mukaan tätä laitetta saa käyttää ainoastaan 
kanavilla (ilmoita sallitut kanavat).
Laitteiston käyttöön tarvitaan paikallisen 
viestintäviranomaisen myöntämä 
henkilökohtainen lupa.

14
Note for customer in Italy:
According to Italian regulation this 
equipment can only operate in channels 
(specify which channels are allowed).
The use of this equipment is subject to 
individual license granted by the National 
Frequency Administration Authority.
Hinweis für Kunden in Italien:
Gemäß den Vorschriften in Italien kann 
dieses Gerät nur auf bestimmten Kanälen 
betrieben werden (zulässige Kanäle 
angeben).
Der Gebrauch dieses Geräts unterliegt einer 
entsprechenden Lizenz von der nationalen 
Frequenzverwaltungsbehörde.
Merknad for kundene i Italia:
I henhold til italienske forskrifter kan dette 
utstyret kun brukes i kanal (angi hvilke 
kanaler som er tillatt).
Bruken av dette utstyret er underlagt en 
spesiell lisens som utstedes av nasjonale 
frekvensforvaltningsmyndigheter.
Remarque pour les clients 
résidant en Italie:
Conformément à la réglementation 
italienne, cet équipement fonctionne 
uniquement avec des canaux (spécifiez les 
canaux autorisés).
L’utilisation de cet équipement est soumise 
à la licence individuelle accordée par les 
autorités d’administration des fréquences 
nationales.
Opmerking voor klanten in Italië:
Volgens de Italiaanse wetgeving mag deze 
apparatuur alleen werken in kanalen 
(opgeven welke kanalen zijn toegestaan).
Het gebruik van deze apparatuur is 
onderhevig aan een afzonderlijke licentie 
die is verleend door de nationale autoriteit 
voor frequentiebeheer.
Bemærkning til kunder i Italien:
I henhold til italiensk lovgivning kan dette 
udstyr kun fungere i kanaler (angiv, hvilke 
kanaler, der er tilladt).
Brugen af dette udstyr er underlagt 
individuel licens givet at 
telemyndighederne.
Nota per i clienti in Italia:
In base alle norme vigenti in Italia, il 
presente apparecchio può essere utilizzato 
solo su canali (specificare i canali 
consentiti).
L’uso di questo apparecchio è soggetto ad 
una licenza individuale accordata 
dall’Autorità per l’amministrazione delle 
frequenze nazionali.
För kunder i Italien:
Enligt italiensk lagstiftning får den här 
utrustningen endast användas med följande 
kanaler (ange vilka kanaler som är tillåtna).
Användandet av den här utrustningen sker 
under enskilda licenser som utfärdas av den 
nationella myndighet som handhar 
frekvenstillstånd.
Ilmoitus Italiassa asuville 
asiakkaille:
Italiassa voimassa olevien määräysten 
mukaan tätä laitetta saa käyttää ainoastaan 
kanavilla (ilmoita sallitut kanavat).
Laitteiston käyttöön tarvitaan paikallisen 
viestintäviranomaisen myöntämä 
henkilökohtainen lupa.

15
Note for customer in Sweden:
According to Swedish regulation this 
equipment can only operate in channels 
(specify which channels are allowed).
The use of this equipment is subject to 
individual license granted by the National 
Frequency Administration Authority.
Hinweis für Kunden in 
Schweden:
Gemäß den Vorschriften in Schweden kann 
dieses Gerät nur auf bestimmten Kanälen 
betrieben werden (zulässige Kanäle 
angeben).
Der Gebrauch dieses Geräts unterliegt einer 
entsprechenden Lizenz von der nationalen 
Frequenzverwaltungsbehörde.
Merknad for kundene i Sverige:
I henhold til svenske forskrifter kan dette 
utstyret kun brukes i kanal (angi hvilke 
kanaler som er tillatt).
Bruken av dette utstyret er underlagt en 
spesiell lisens som utstedes av nasjonale 
frekvensforvaltningsmyndigheter.
Remarque pour les clients 
résidant en Suède:
Conformément à la réglementation 
suédoise, cet équipement fonctionne 
uniquement avec des canaux (spécifiez les 
canaux autorisés).
L’utilisation de cet équipement est soumise 
à la licence individuelle accordée par les 
autorités d’administration des fréquences 
nationales.
Opmerking voor klanten in 
Zweden:
Volgens de Zweedse wetgeving mag deze 
apparatuur alleen werken in kanalen 
(opgeven welke kanalen zijn toegestaan).
Het gebruik van deze apparatuur is 
onderhevig aan een afzonderlijke licentie 
die is verleend door de nationale autoriteit 
voor frequentiebeheer.
Bemærkning til kunder i Sverige:
I henhold til svensk lovgivning kan dette 
udstyr kun fungere i kanaler (angiv, hvilke 
kanaler, der er tilladt).
Brugen af dette udstyr er underlagt 
individuel licens givet at 
telemyndighederne.
Nota per i clienti in Svezia:
In base alle norme vigenti in Svezia, il 
presente apparecchio può essere utilizzato 
solo su canali (specificare i canali 
consentiti).
L’uso di questo apparecchio è soggetto ad 
una licenza individuale accordata 
dall’Autorità per l’amministrazione delle 
frequenze nazionali.
För kunder i Sverige:
Enligt svensk lagstiftning får den här 
utrustningen endast användas med följande 
kanaler (ange vilka kanaler som är tillåtna).
Användandet av den här utrustningen sker 
under enskilda licenser som utfärdas av den 
nationella myndighet som handhar 
frekvenstillstånd.
Ilmoitus Ruotsissa asuville 
asiakkaille:
Ruotsissa voimassa olevien määräysten 
mukaan tätä laitetta saa käyttää ainoastaan 
kanavilla (ilmoita sallitut kanavat).
Laitteiston käyttöön tarvitaan paikallisen 
viestintäviranomaisen myöntämä 
henkilökohtainen lupa.

16
Note for customer in 
Switzerland:
According to Swiss regulation this 
equipment can only operate in channels 
(specify which channels are allowed).
The use of this equipment is subject to 
individual license granted by the National 
Frequency Administration Authority.
Hinweis für Kunden in der 
Schweiz:
Gemäß den Vorschriften in der Schweiz 
kann dieses Gerät nur auf bestimmten 
Kanälen betrieben werden (zulässige 
Kanäle angeben).
Der Gebrauch dieses Geräts unterliegt einer 
entsprechenden Lizenz von der nationalen 
Frequenzverwaltungsbehörde.
Merknad for kundene i Sveits:
I henhold til sveitsiske forskrifter kan dette 
utstyret kun brukes i kanal (angi hvilke 
kanaler som er tillatt).
Bruken av dette utstyret er underlagt en 
spesiell lisens som utstedes av nasjonale 
frekvensforvaltningsmyndigheter.
Remarque pour les clients 
résidant en Suisse:
Conformément à la réglementation suisse, 
cet équipement fonctionne uniquement 
avec des canaux (spécifiez les canaux 
autorisés).
L’utilisation de cet équipement est soumise 
à la licence individuelle accordée par les 
autorités d’administration des fréquences 
nationales.
Opmerking voor klanten in 
Zwitserland:
Volgens de Zwitserse wetgeving mag deze 
apparatuur alleen werken in kanalen 
(opgeven welke kanalen zijn toegestaan).
Het gebruik van deze apparatuur is 
onderhevig aan een afzonderlijke licentie 
die is verleend door de nationale autoriteit 
voor frequentiebeheer.
Bemærkning til kunder i 
Schweiz:
I henhold til schweizisk lovgivning kan 
dette udstyr kun fungere i kanaler (angiv, 
hvilke kanaler, der er tilladt).
Brugen af dette udstyr er underlagt 
individuel licens givet at 
telemyndighederne.
Nota per i clienti in Svizzera:
In base alle norme vigenti in Svizzera, il 
presente apparecchio può essere utilizzato 
solo su canali (specificare i canali 
consentiti).
L’uso di questo apparecchio è soggetto ad 
una licenza individuale accordata 
dall’Autorità per l’amministrazione delle 
frequenze nazionali.
För kunder i Schweiz:
Enligt schweizisk lagstiftning får den här 
utrustningen endast användas med följande 
kanaler (ange vilka kanaler som är tillåtna).
Användandet av den här utrustningen sker 
under enskilda licenser som utfärdas av den 
nationella myndighet som handhar 
frekvenstillstånd.
Ilmoitus Sveitsissä asuville 
asiakkaille:
Sveitsissä voimassa olevien määräysten 
mukaan tätä laitetta saa käyttää ainoastaan 
kanavilla (ilmoita sallitut kanavat).
Laitteiston käyttöön tarvitaan paikallisen 
viestintäviranomaisen myöntämä 
henkilökohtainen lupa.

17
Note for customer in Finland:
According to Finnish regulation this 
equipment can only operate in channels 
(specify which channels are allowed).
The use of this equipment is subject to 
individual license granted by the National 
Frequency Administration Authority.
Hinweis für Kunden in Finnland:
Gemäß den Vorschriften in Finnland kann 
dieses Gerät nur auf bestimmten Kanälen 
betrieben werden (zulässige Kanäle 
angeben).
Der Gebrauch dieses Geräts unterliegt einer 
entsprechenden Lizenz von der nationalen 
Frequenzverwaltungsbehörde.
Merknad for kundene i Finland:
I henhold til finske forskrifter kan dette 
utstyret kun brukes i kanal (angi hvilke 
kanaler som er tillatt).
Bruken av dette utstyret er underlagt en 
spesiell lisens som utstedes av nasjonale 
frekvensforvaltningsmyndigheter.
Remarque pour les clients 
résidant en Finlande
Conformément à la réglementation 
finlandaise, cet équipement fonctionne 
uniquement avec des canaux (spécifiez les 
canaux autorisés).
L’utilisation de cet équipement est soumise 
à la licence individuelle accordée par les 
autorités d’administration des fréquences 
nationales.
Opmerking voor klanten in 
Finland:
Volgens de Finse wetgeving mag deze 
apparatuur alleen werken in kanalen 
(opgeven welke kanalen zijn toegestaan).
Het gebruik van deze apparatuur is 
onderhevig aan een afzonderlijke licentie 
die is verleend door de nationale autoriteit 
voor frequentiebeheer.
Bemærkning til kunder i Finland:
I henhold til finsk lovgivning kan dette 
udstyr kun fungere i kanaler (angiv, hvilke 
kanaler, der er tilladt).
Brugen af dette udstyr er underlagt 
individuel licens givet at 
telemyndighederne.
Nota per i clienti in Finlandia:
In base alle norme vigenti in Finlandia, il 
presente apparecchio può essere utilizzato 
solo su canali (specificare i canali 
consentiti).
L’uso di questo apparecchio è soggetto ad 
una licenza individuale accordata 
dall’Autorità per l’amministrazione delle 
frequenze nazionali.
För kunder i Finland:
Enligt finsk lagstiftning får den här 
utrustningen endast användas med följande 
kanaler (ange vilka kanaler som är tillåtna).
Användandet av den här utrustningen sker 
under enskilda licenser som utfärdas av den 
nationella myndighet som handhar 
frekvenstillstånd.
Ilmoitus suomalaisille 
kuluttajille:
Suomessa voimassa olevien määräysten 
mukaan tätä laitetta saa käyttää ainoastaan 
kanavilla (ilmoita sallitut kanavat). 
Laitteiston käyttöön tarvitaan 
Viestintäviraston myöntämä 
henkilökohtainen lupa. .

18
Note for customer in Iceland:
The use of this equipment is subject to 
individual license granted by the National 
Frequency Administration Authority.
Hinweis für Kunden in Island:
Der Gebrauch dieses Geräts unterliegt einer 
entsprechenden Lizenz von der nationalen 
Frequenzverwaltungsbehörde.
Merknad for kundene på Island:
Bruken av dette utstyret er underlagt en 
spesiell lisens som utstedes av nasjonale 
frekvensforvaltningsmyndigheter.
Remarque pour les clients 
résidant en Islande:
L’utilisation de cet équipement est soumise 
à la licence individuelle accordée par les 
autorités d’administration des fréquences 
nationales.
Opmerking voor klanten in 
IJsland:
Het gebruik van deze apparatuur is 
onderhevig aan een afzonderlijke licentie 
die is verleend door de nationale autoriteit 
voor frequentiebeheer.
Bemærkning til kunder i Island:
Brugen af dette udstyr er underlagt 
individuel licens givet at 
telemyndighederne.
Nota per i clienti in Islanda:
L’uso di questo apparecchio è soggetto ad 
una licenza individuale accordata 
dall’Autorità per l’amministrazione delle 
frequenze nazionali.
För kunder i Island:
Användandet av den här utrustningen sker 
under enskilda licenser som utfärdas av den 
nationella myndighet som handhar 
frekvenstillstånd.
Ilmoitus Islannissa asuville 
asiakkaille:
Laitteiston käyttöön tarvitaan paikallisen 
viestintäviranomaisen myöntämä 
henkilökohtainen lupa.
For the URX-P2/M2 
Tuners
Owner’s Record
The model and serial numbers are located at 
the rear or on the bottom of the unit. Record 
the model and serial numbers in the space 
provided below.
Refer to these numbers whenever you call 
upon your Sony dealer regarding this 
product.
Model No. _____________________
Serial No. _____________________
You are cautioned that any changes or 
modifications not expressly approved in 
this manual could void your authority to 
operate this equipment.

19
All interface cables used to connect 
peripherals must be shielded in order to 
comply with the limits for Part 15 of FCC 
Rules.
WARNING
Batteries shall not be exposed to excessive 
heat such as sunshine, fire or the like.
AVERTISSEMENT
N’exposez pas les batteries à une chaleur 
excessive, au soleil ou près d’un feu par 
exemple.
WARNUNG
Akkus dürfen keinesfalls übermäßiger 
Wärmeeinwirkung ausgesetzt werden, wie 
z.B. Sonneneinstrahlung, Feuer o. ä.
AVVERTENZA
Le batterie non devono essere esposte a 
fonti di calore eccessivo come luce solare 
diretta, fuoco, ecc.
ADVERTENCIA
No se deben exponer las baterías a una 
fuente de calor excesivo como la luz del sol, 
el fuego o similar.
For the customers in the U.S.A.
If you have any questions about this 
product, you may call;
Sony Customer Information Service Center 
1-800-222-7669 or 
http://www.sony.com/
For the customers in Canada
Operation is subject to the following two 
conditions: (1) this device may not cause 
interference, and (2) this device must accept 
any interference, including interference that 
may cause undesired operation of the 
device.
The term “IC” before the radio certification 
number only signifies that Industry Canada 
technical specifications were met.
Pour les utilisateurs au Canada
L’utilisation doit répondre aux deux 
conditions suivantes : (1) ce matériel ne doit 
pas provoquer de brouillage et (2) il doit 
accepter tout brouillage, même celui qui est 
susceptible d’affecter son fonctionnement.
La mention « IC: » devant le numéro de 
certification/ homologation signifie 
uniquement que les spécifications 
techniques d’Industrie Canada sont 
remplies.
Für Kunden in Deutshland (URX-
P2)
Entsorgungshinweis: Bitte werfen Sie nur 
entladene Batterien in die Sammelboxen 
beim Handel oder den Kommunen. 
Entladen sind Batterien in der Regel dann, 
Declaration of Conformity
Trade Name: SONY
Model No.: URX-P2/M2
Responsible Party: Sony Electronics 
Inc.
Address: 16530 Via Esprillo, San 
Diego, CA 92127 U.S.A.
Telephone No.: 858-942-2230
This device complies with part 15 of the 
FCC Rules. Operation is subject to the 
following two conditions: (1) this device 
may not cause harmful interference, 
and (2) this device must accept any 
interference received, including 
interference that may cause undesired 
operation.

20
wenn das Gerät abschaltet und signalisiert 
“Batterie leer” oder nach längerer 
Gebrauchsdauer der Batterien “nicht mehr 
einwandfrei funktioniert”. Um 
sicherzugehen, kleben Sie die Batteriepole 
z.B. mit einem Klebestreifen ab oder geben 
Sie die Batterien einzeln in einen 
Plastikbeutel
Notice for customers in Europe
Hereby, Sony Corporation, declares that 
this URX-P2/M2 is in compliance with the 
essential requirements and other relevant 
provisions of the Directive 1999/5/EC. 
For details, please access the following 
URL: http://www.compliance.sony.de/
This product is intended to be used in the 
following countries : United Kingdom, 
Germany, Norway, Luxembourg, Belgium, 
Denmark, France, Italy, Sweden, 
Switzerland, Finland, Iceland, and Turkey.
Notification aux clients 
européens
Par la présente Sony Corporation déclare 
que l'appareil URX-P2/M2 est conforme 
aux exigences essentielles et aux autres 
dispositions pertinentes de la directive 
1999/5/CE. 
Pour toute information complémentaire, 
veuillez consulter l’URL suivante:
http://www.compliance.sony.de/
Ce produit est prévu pour être utilisé dans 
les pays suivants: Royaume-Uni, 
Allemagne, Norvège, Luxembourg, 
Belgique, Danemark, France, Italie, Suède, 
Suisse, Finlande, Islande et Turquie.
Hinweis für die Kunden in 
Europa
Hiermit erklärt Sony Corporation, dass sich 
das Gerät URX-P2/M2 in 
Übereinstimmung mit den grundlegenden 
Anforderungen und den übrigen 
einschlägigen Bestimmungen der Richtlinie 
1999/5/EG befindet.
Weitere Informationen erhältlich unter:
http://www.compliance.sony.de/
Dieses Produkt ist für den Gebrauch in den 
folgenden Ländern vorgesehen: Vereinigtes 
Königreich, Deutschland, Norwegen, 
Luxemburg, Belgien, Dänemark, 
Frankreich, Italien, Schweden, Schweiz, 
Finnland, Island und Türkei.
Avvertenza per gli utilizzatori in 
Europa
Con la presente Sony Corporation dichiara 
che questo URX-P2/M2 è conforme ai 
requisiti essenziali ed alle altre disposizioni 
pertinenti stabilite dalla direttiva 1999/5/
CE.
Per ulteriori dettagli, si prega di consultare 
il seguente URL:
http://www.compliance.sony.de/
Questo prodotto è destinato all’uso nei 
seguenti paesi: Regno Unito, Germania, 
Norvegia, Lussemburgo, Belgio, 
Danimarca, Francia, Italia, Svezia, 
Svizzera, Finlandia, Islanda e Turchia.
Aviso para los clientes de 
Europa
Por medio de la presente Sony Corporation 
declara que el URX-P2/M2 cumple con los 
requisitos esenciales y cualesquiera otras 
U.K. 470 - 862 MHz
Germany 470 - 606 MHz, 614 - 
862 MHz
Norway 800 - 820 MHz
Luxembourg 470 - 862 MHz
Belgium 470 - 862 MHz
Denmark 800.100 - 819.900 MHz
France 470 - 830 MHz
Italy 470 - 854 MHz
Sweden 470 - 862 MHz
Switzerland 790 - 862 MHz
Finland 790.100 - 821.900 MHz, 
854 - 862 MHz
Iceland 470 - 862 MHz
Turkey 470 - 862 MHz

21
disposiciones aplicables o exigibles de la 
Directiva 1999/5/CE.
Para mayor información, por favor consulte 
el siguiente URL:
http://www.compliance.sony.de/
Este producto está destinado a utilizarse en 
los siguientes países: Reino Unido, 
Alemania, Noruega, Luxemburgo, Bélgica, 
Dinamarca, Francia, Italia, Suecia, Suiza, 
Finlandia, Islandia y Turquía.
Voor de klanten in Europa
Hierbij verklaart Sony Corporation dat het 
toestel URX-P2/M2 in overeenstemming is 
met de essentiële eisen en de andere 
relevante bepalingen van richtlijn 1999/5/
EG.
Nadere informatie kunt u vinden op:
http://www.compliance.sony.de/
Dit product is bedoeld om in volgende 
landen gebruikt te worden: Verenigd 
Koninkrijk, Duitsland, Noorwegen, 
Luxemburg, België, Denemarken, 
Frankrijk, Italië, Zweden, Zwitserland, 
Finland, IJsland en Turkije.
For kunder i Europa
Härmed intygar Sony Corporation att denna 
URX-P2/M2 står I överensstämmelse med 
de väsentliga egenskapskrav och övriga 
relevanta bestämmelser som framgår av 
direktiv 1999/5/EG.
För ytterligare information gå in på följande 
hemsida:  http://www.compliance.sony.de/
Den här produkten är avsedd för 
användning i följande länder: 
Storbritannien, Tyskland, Norge, 
Luxembourg, Belgien, Danmark, 
Frankrike, Italien, Sverige, Schweiz, 
Finland, Island och Turkiet.
Para os clientes da Europa
Sony Corporation declara que este URX-
P2/M2 está conforme com os requisitos 
essenciais e outras disposições da Directiva 
1999/5/CE.
Para mais informacoes, por favor consulte a 
seguinte URL: 
http://www.compliance.sony.de/
Este produto destina-se a ser usado nos 
seguintes países: Reino Unido, Alemanha, 
Noruega, Luxemburgo, Bélgica, 
Dinamarca, França, Itália, Suécia, Suíça, 
Finlândia, Islândia e Turquia.
For kunder i Europa
Undertegnede Sony Corporation erklærer 
herved, at følgende udstyr URX-P2/M2 
overholder de væsentlige krav og øvrige 
relevante krav i direktiv 1999/5/EF.
For yderligere information gå ind på 
følgende hjemmeside: 
http://www.compliance.sony.de/
Dette produkt er beregnet til brug i de 
følgende lande: Storbritannien, Tyskland, 
Norge, Luxembourg, Belgien, Danmark, 
Frankrig, Italien, Sverige, Schweiz, 
Finland, Island og Tyrkiet.
Euroopassa oleville asiakkaille
Sony Corporation vakuuttaa täten että 
URX-P2/M2 tyyppinen laite on direktiivin 
1999/5/EY oleellisten vaatimusten ja sitä 
koskevien direktiivin muiden ehtojen 
mukainen.
Halutessasi lisätietoja, käy osoitteessa:
http://www.compliance.sony.de/
Tämä tuote on tarkoitettu käytettäväksi 
seuraavissa maissa: Yhdistynyt 
kuningaskunta, Saksa, Norja, Luxemburg, 
Belgia, Tanska, Ranska, Italia, Ruotsi, 
Sveitsi, Suomi, Islanti ja Turkki.
For kundene i Europa
Sony Corporation erklærer herved at 
utstyret URX-P2/M2 er i samsvar med de 
grunnleggende krav og øvrige relevante 
krav i direktiv 1999/5/EF. 
For flere detaljer, vennligst se: 
http://www.compliance.sony.de/
Dette produktet er ment for bruk i følgende 
land: Storbritannia, Tyskland, Norge, 
Luxemburg, Belgia, Danmark, Frankrike, 
Italia, Sverige, Sveits, Finland, Island og 
Tyrkia.

22
Για τους πελάτες στην Eυρώπη
Με την παρούσα η Sony Corporation 
δηλώνει τι UTX-B2/H2/P1 
συμμορφώνεται προς της ουσιώδεις 
απαιτήσεις και τις λοιπές σχετικές 
διατάξεις της οδηγίας 1999/5/ΕΚ..
Για λεπτομέρειες παρακαλούμε 
πως ελένξετε την ακλουθη 
σελίδα του διαδικτύου:
http://www.compliance.sony.de/
Το προϊν προορίζεται για χρήση 
στις εξής χώρες: Ηνωμένο Βασίλειο, 
Γερμανία, Νορβηγία, 
Λουξεμβούργο, Βέλγιο, Δανία, 
Γαλλία, Ιταλία, Σουηδία, Ελβετία, 
Φινλανδία, Ισλανδία και Τουρκία.
Pro zákazníky v Evropě
Sony Corporation tímto prohlašuje, že 
tento URX-P2/M2 je ve shodě se 
základními požadavky a dalšími 
příslušnými ustanoveními směrnice 
1999/5/ES.
Podrobnosti lze získat na následující 
URL:
http://www.compliance.sony.de/
Tento produkt je určen k použití v 
následujících zemích: Spojené 
království, Německo, Norsko, 
Lucembursko, Belgie, Dánsko, Francie, 
Itálie, Švédsko, Švýcarsko, Finsko, 
Island a Turecko.
Euroopa klientidele
Sony Corporation kinnitab käesolevaga 
seadme URX-P2/M2 vastavust 1999/5/EÜ 
direktiivi põhinõuetele ja nimetatud 
direktiivist tulenevatele teistele 
asjakohastele sätetele.
Üksikasjalikum info: 
http://www.compliance.sony.de/.
See toode on ettenähtud kasutamiseks 
järgmistes riikides: Suurbritannia, 
Saksamaa, Norra, Luksemburg, Belgia, 
Taani, Prantsusmaa, Itaalia, Rootsi, Šveits, 
Soome, Island ja Türgi.
Európai vásárlóink fi gyelmébe
Alulírott, Sony Corporation 
nyilatkozom, hogy a(z) URX-P2/M2 
megfelel a vonatkozó alapvető 
követelményeknek és az 1999/5/EC 
irányelv egyéb előírásainak.
További információkat a következő 
weboldalon találhat:
http://www.compliance.sony.de/
Ez a termék a következő országokban 
használható: Egyesült Királyság, 
Németország, Norvégia, Luxemburg, 
Belgium, Dánia, Franciaország, 
Olaszország, Svédország, Svájc, 
Finnország, Izland és Törökország.

23
Dotyczy klientów z Europy
Niniejszym Sony Corporation 
oświadcza, że URX-P2/M2 jest zgodne z 
zasadniczymi wymaganiami oraz innymi
stosownymi postanowieniami 
Dyrektywy 1999/5/WE.
Szczegółowe informacje znaleźć można 
pod następującym adresem URL:
http://www.compliance.sony.de/
Ten produkt jest przeznaczony do 
użytku w następujących krajach: 
Wielkiej Brytanii, Niemczech, Norwegii, 
Luksemburgu, Belgii, Danii, Francji, 
Włoszech, Szwecji, Szwajcarii, Finlandii, 
Islandii i Turcji.
Pentru clienţii din Europa
Prin prezenta, Sony Corporation declară 
că acest URX-P2/M2 respectă cerinţele 
esenţiale și este în conformitate cu 
prevederile Directivei 1995/5/EC.
Pentru detalii, vă rugăm accesaţi 
următoarea adresă:
http://www.compliance.sony.de/
Acest produs este destinat utilizării în 
următoarele ţări:  Regatul Unit, 
Germania, Norvegia, Luxemburg, 
Belgia, Danemarca, Franţa, Italia, 
Suedia, Elveţia, Finlanda, Islanda și 
Turcia.
Pre zákazníkov v Európe
Sony Corporation týmto vyhlasuje, že 
URX-P2/M2 spĺňa základné požiadavky 
a všetky príslušné ustanovenia Smernice 
1999/5/ES.
Podrobnosti získate na nasledovnej 
webovej adrese:
http://www.compliance.sony.de/
Tento produkt je určený na používanie v 
nasledovných krajinách:  Veľká 
Británia, Nemecko, Nórsko, 
Luxembursko, Belgicko, Dánsko, 
Francúzsko, Taliansko, Švédsko, 
Švajčiarsko, Fínsko, Island a Turecko.
Za stranke v Evropi
Sony Corporation izjavlja, da je ta 
URX-P2/M2 v skladu z bistvenimi 
zahtevami in ostalimi relevantnimi 
določili direktive 1999/5/ES.
Za podrobnosti vas naprošamo, če 
pogledate naURL:
http://www.compliance.sony.de/
Izdelek je namenjen za uporabo v 
naslednjih državah: Veliki Britaniji, 
Nemčiji, Norveški, Luksemburgu, 
Belgiji, Danski, Franciji, Italiji, Švedski, 
Švici, Finski, Islandiji in Turčiji.
WARNING
Excessive sound pressure from earphones 
and headphones can cause hearing loss.
In order to use this product safely, avoid 
prolonged listening at excessive sound 
pressure levels.
AVERTISSEMENT
Une pression acoustique excessive en 
provenance des écouteurs ou du casque 
peut provoquer une baisse de l’acuité 
auditive.
Pour utiliser ce produit en toute sécurité, 
évitez l’écoute prolongée à des pressions 
sonores excessives.

24
WARNUNG
Zu hoher Schalldruck von Ohrhörern und 
Kopfhörern kann Gehörschäden 
verursachen.
Um dieses Produkt sicher zu verwenden, 
vermeiden Sie längeres Hören bei sehr 
hohen Schalldruckpegeln.
AVVERTENZA
Un’eccessiva pressione sonora da 
auricolari e cuffie può causare la perdita 
dell’udito.
Per usare questo prodotto in maniera 
sicura, evitare l’ascolto prolungato a 
livelli eccessivi di pressione sonora.
ADVERTENSIA
Una excesiva presión de sonido de los 
auriculares y cascos auriculares puede 
provocar una pérdida de percepción de 
sus oídos.
Para utilizar este producto con seguridad, 
no escuche durante mucho tiempo con 
niveles de presión de sonido excesivos.

25
Table of Contents
Table of Contents
Configuration of the Packages ...  27
UWP-V1 ................................ 27
UWP-V2 ................................ 28
UWP-V6 ................................ 29
UWP-X7 ................................ 30
UWP-X8 ................................ 31
Features ........................................ 32
UWP-V1 ................................ 32
UWP-V2 ................................ 32
UWP-V6 ................................ 32
UWP-X7 ................................ 33
UWP-X8 ................................ 33
Using the CD-ROM Manual ....... 34
Preparations ........................... 34
Reading the CD-ROM 
manual ................................... 34
Reading the Sony Wireless 
Microphone System Frequency 
List ......................................... 34
Parts Identification ...................... 35
Body-pack transmitter (UTX-
B2) ......................................... 35
Hand-held microphone (UTX-
H2) ......................................... 36
Plug-on transmitter (UTX-P1) 38
Portable diversity tuner (URX-
P2) ......................................... 39
Diversity tuner module (URX-
M2) ........................................ 41
Power Supply  ............................... 42
Inserting the batteries  ............ 42
Attachment and Installation 
Procedures .................................... 44
Attaching the supplied 
accessories to the body-pack 
transmitter (UTX-B2) ............ 44
Attaching the supplied accessory 
to the hand-held microphone 
(UTX-H2) ...............................46
Inserting the plug-on transmitter 
(UTX-P1) into the supplied soft 
case .........................................46
Attaching the optional accessory 
to the plug-on transmitter (UTX-
P1) ..........................................46
Attaching the supplied 
accessories to the portable 
diversity tuner (URX-P2) .......47
Installing a diversity tuner module 
(URX-M2) ..............................48
Operation ......................................49
Tuner Settings  ..............................50
Setting the reception channel .50
Searching the available channels 
within the group (Clear Channel 
Scan) .......................................52
Selecting the channels on multiple 
tuners automatically  ...............52
Setting the monitor level ........53
Resetting the accumulated use 
time indication ........................53
Transmitter Settings  ....................54
Setting the transmission 
channel ...................................54
Setting the RF output power 
level ........................................55
Setting the attenuation level of the 
audio input ..............................56
Resetting the accumulated use 
time indication ........................56
System Configurations................. 57
Configuration examples of the 
UWP-V1/V2/X7/X8 ...............57
Configuration example of the 

26 Table of Contents
UWP-V6 ................................ 60
Error Messages............................  61
Troubleshooting...........................  62
Important Notes on Use  .............. 64
On usage and storage ............. 64
On cleaning ............................ 64
Specifications ............................... 65
Transmitters (UTX-B2/H2/P1) 65
Tuners (URX-P2/M2) ............ 67

27
Configuration of the Packages
Configuration of the Packages
This manual is for the UWP-V1/V2/V6/X7/X8 Wireless Microphone Packages. The contents 
of each package are described below.
UWP-V1
The UWP-V1 consists of a body-pack transmitter (UTX-B2), a portable diversity tuner 
(URX-P2), and their accessories. When used in conjunction with a compact camcorder, the 
UWP-V1 makes a mobile system for ENG (Electronic News Gathering) or EFP (Electronic 
Field Production) purposes.
Body-pack transmitter (UTX-B2) (1) Portable diversity tuner (URX-P2) (1)
Supplied accessories
Omni-directional lavalier 
microphone (1)
Shoe mount adapter (1)
Operating Instructions (1)
CD-ROM (1) (for U30, U42, CE62, and CE67 models)
Warranty card (1) (for U30 and U42 models)
Belt clip (2)
Wind screen (3) Holder clip (1)
Stereo mini plug-BMP 
conversion cable (1)
XLR-BMP conversion output cable 
for the URX-P2 (1)

28 Configuration of the Packages
UWP-V2
The UWP-V2 consists of a hand-held microphone (UTX-H2), a portable diversity tuner 
(URX-P2), and their accessories. When used in conjunction with a compact camcorder, the 
UWP-V2 makes a mobile system for ENG (Electronic News Gathering) or EFP (Electronic 
Field Production) purposes.
Hand-held microphone (UTX-H2) (1) Portable diversity tuner (URX-P2) (1)
Supplied accessories
Microphone holder (1)
Shoe mount adapter (1)
Operating Instructions (1)
CD-ROM (1) (for U30, U42, CE62, and CE67 models)
Warranty card (1) (for U30 and U42 models)
Belt clip (1)
Stereo mini plug-BMP 
conversion cable (1)
XLR-BMP conversion output cable 
for the URX-P2 (1)

29
Configuration of the Packages
UWP-V6
The UWP-V6 consists of a plug-on transmitter (UTX-P1), a body-pack transmitter (UTX-
B2), a portable diversity tuner (URX-P2), and their accessories. When used in conjunction 
with a compact camcorder, the UWP-V6 makes a mobile system for ENG (Electronic News 
Gathering) or EFP (Electronic Field Production) purposes.
Body-pack transmitter 
(UTX-B2) (1)
Portable diversity tuner 
(URX-P2) (1)
Supplied accessories
Soft case (1)
Plug-on transmitter 
(UTX-P1) (1)
Shoe mount adapter (1) Belt clip (2)
Wind screen (3) Holder clip (1)
Stereo mini plug-BMP 
conversion cable (1)
Operating Instructions (1)
CD-ROM (1) (for U30, U42, CE62, and CE67 models)
Warranty card (1) (for U30 and U42 models)
XLR-BMP conversion output cable for the 
URX-P2 (1)
Omni-directional lavalier 
microphone (1)

30 Configuration of the Packages
UWP-X7
The UWP-X7 consists of a body-pack transmitter (UTX-B2), a diversity tuner module (URX-
M2), and their accessories. By installing the tuner module into the tuner base unit or the 
powered mixer, the system construction to meet the desired purpose of use and required 
system scale becomes possible.
Body-pack transmitter (UTX-B2) (1) Diversity tuner module (URX-M2) (1)
Supplied accessories
Unidirectional lavalier 
microphone (1)
Wind screen (1) Holder clip (1)
Belt clip (1) Operating Instructions (1)
CD-ROM (1) (for U30, U42, CE62, and CE67 models)
Warranty card (1) (for U30 and U42 models)

31
Configuration of the Packages
UWP-X8
The UWP-X8 consists of a hand-held microphone (UTX-H2), a diversity tuner module 
(URX-M2), and their accessories. By installing the tuner module into the tuner base unit or 
the powered mixer, the system construction to meet the desired purpose of use and required 
system scale becomes possible.
Diversity tuner module (URX-M2) (1)
Supplied accessories
Operating Instructions (1)
CD-ROM (1) (for U30, U42, CE62, and CE67 models)
Warranty card (1) (for U30 and U42 models)
Hand-held microphone (UTX-H2) (1)
Microphone holder (1)

32 Features
Features
Each of the UWP-V1/V2/V6/X7/X8 
wireless microphone packages (referred to 
as the UWP series packages hereafter) 
combines a transmitter (body-pack 
transmitter (UTX-B2) or hand-held 
microphone (UTX-H2)) and a receiver 
(portable diversity tuner (URX-P2) or 
diversity tuner module (URX-M2)). (An 
additional transmitter (plug-on transmitter 
(UTX-P1) is provided for the UWP-V6 
only.) The UWP series packages can be 
used with a compact camcorder for ENG 
(Electronic News Gathering) purposes, and 
with a powered mixer for AV presentations 
or as a PA (public address) system.
The UWP series packages are not 
compatible with conventional WRT series 
transmitters, WRR series tuners, or WRU 
series tuner units.
The featured components of the package are 
described below.
UWP-V1
Body-pack transmitter (UTX-
B2)
This is a small and lightweight transmitter 
with a crystal-controlled PLL (phase lock 
loop) synthesized system and a BMP-type 
microphone input connector. The RF power 
output can be set at 30 mW or at 5 mW. The 
MIC/LINE input selector is equipped to 
accept wide range of input signals.
Portable diversity tuner (URX-
P2)
This tuner employs a space diversity system 
with little signal dropout and two angle-
adjustable antennas. It comes with an 
adapter for mounting the tuner on the 
compact camcorder (PMW-EX1, HDR-Z7, 
etc.). The Clear Channel Scan function is 
also provided to search available channels 
with easy operation.
UWP-V2
Hand-held microphone (UTX-
H2)
This microphone is equipped with a built-in 
antenna and a unidirectional dynamic 
microphone unit. The RF power output can 
be set at 30 mW or at 5 mW.
Portable diversity tuner (URX-
P2)
This tuner employs a space diversity system 
with little signal dropout and two angle-
adjustable antennas. It comes with an 
adapter for mounting the tuner on the 
compact camcorder (PMW-EX1, HDR-Z7, 
etc.). The Clear Channel Scan function is 
also provided to search available channels 
with easy operation.
UWP-V6
Plug-on transmitter (UTX-P1)
This is a small and lightweight plug-on 
transmitter with a crystal-controlled PLL 
(phase lock loop) synthesized system and 
an XLR-type microphone input connector. 
The RF power output is set at 50 mW.
Note

33
Features
Body-pack transmitter (UTX-
B2)
This is a small and lightweight transmitter 
with a crystal-controlled PLL (phase lock 
loop) synthesized system and a BMP-type 
microphone input connector. The RF power 
output can be set at 30 mW or at 5 mW. The 
MIC/LINE input selector is equipped to 
accept wide range of input signals.
Portable diversity tuner (URX-
P2)
This tuner employs a space diversity system 
with little signal dropout and two angle-
adjustable antennas. It comes with an 
adapter for mounting the tuner on the 
compact camcorder (PMW-EX1, HDR-Z7, 
etc.). The Clear Channel Scan function is 
also provided to search available channels 
with easy operation.
UWP-X7
Body-pack transmitter (UTX-
B2)
This is a small and lightweight transmitter 
with a crystal-controlled PLL (phase lock 
loop) synthesized system and a BMP-type 
microphone input connector. The RF power 
output can be set at 30 mW or at 5 mW. The 
MIC/LINE input selector is equipped to 
accept wide range of input signals.
Diversity tuner module (URX-
M2)
This tuner module can be incorporated into 
the MB-X6 Tuner Base Unit or SRP-X500P 
Powered Mixer.
UWP-X8
Hand-held microphone (UTX-
H2)
This microphone is equipped with a built-in 
antenna and a unidirectional dynamic 
microphone unit. The RF power output can 
be set at 30 mW or at 5 mW.
Diversity tuner module (URX-
M2)
This tuner module can be incorporated into 
the MB-X6 Tuner Base Unit or SRP-X500P 
Powered Mixer.

34 Using the CD-ROM Manual
Using the CD-
ROM Manual
The supplied CD-ROM includes Operating 
Instructions for the UWP series (English, 
French, German, Italian, and Spanish 
versions).
Preparations
The following program must be installed on 
your computer in order to read the 
Operating Instructions contained on the 
CD-ROM.
• Adobe Reader Version 6.0 or higher
If Adobe Reader is not installed, you can 
download it from the following URL:
http://www.adobe.com/
Adobe and Adobe Reader are trademarks of 
Adobe Systems Incorporated in the United States 
and/or other countries.
Reading the CD-ROM 
manual
To read the operation manuals contained on 
the CD-ROM, do the following.
1Insert the CD-ROM in your CD-ROM 
drive.
A cover page appears automatically in 
your browser.
If it does not appear automatically in 
the browser, double-click on the 
index.htm file on the CD-ROM.
2Select and click on the Operating 
Instructions that you want to read.
This opens the PDF file of the 
operation manuals.
The files may not be displayed properly, 
depending on the version of Acrobat 
Reader. In such a case, install the latest 
version you can download from the URL 
mentioned in “Preparations”  above.
If you have lost or damaged the CD-ROM, 
you can purchase a new one to replace it. 
Contact your Sony service representative.
Reading the Sony Wireless 
Microphone System 
Frequency List
The frequency lists for U30 and U42 
models (for the U.S.A.) and CE62 and 
CE67 models (for Europe) are contained in 
the CD-ROM disc. To read the frequency 
lists, do the following.
1Insert the CD-ROM in your CD-ROM 
drive.
A cover page appears automatically in 
your browser.
2Select and click on the frequency list 
that you want to read.
This opens the PDF file of the 
frequency list.
Note

35
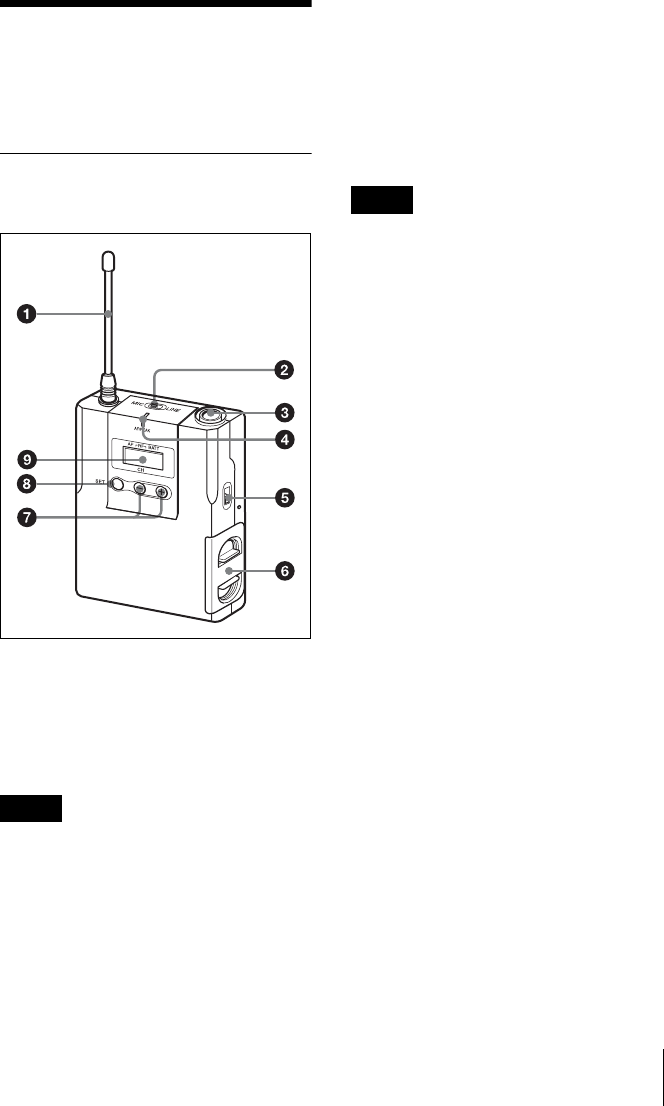
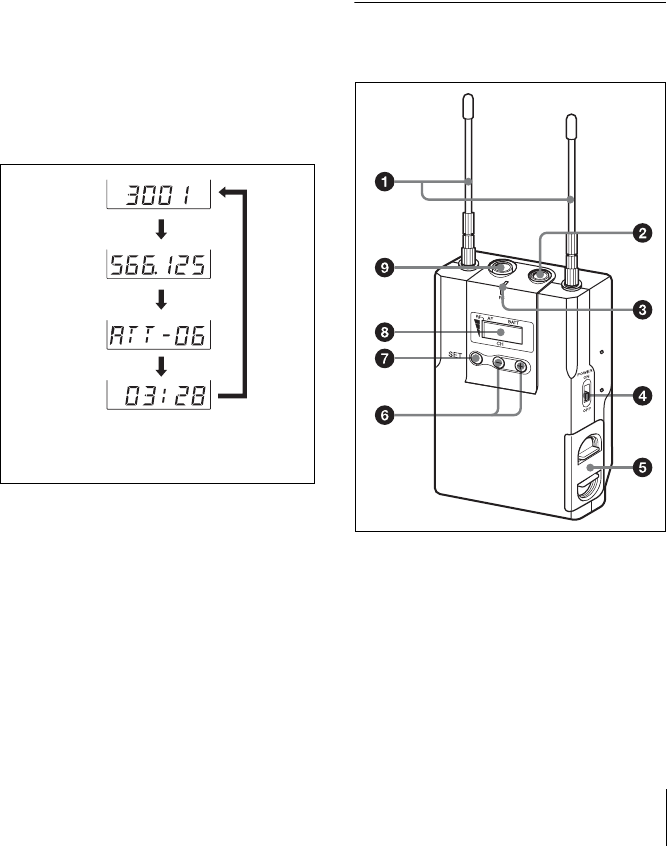
Parts Identification
Parts 
Identification
Body-pack transmitter 
(UTX-B2)
aAntenna
bMIC/LINE (microphone/line) input 
selector
Set according to the equipment connected 
to the audio input connector.
Do not set the MIC/LINE input selector to 
MIC position while the audio signal is 
being input from the audio mixer, etc. 
Doing so may cause excessive audio input, 
resulting in distorted playback or recorded 
sound or damage to the playback or 
recording equipment.
cAudio input connector
Connect the supplied lavarier microphone 
here. By using a commercially available 
XLR-BMP conversion input cable, UTX-
B2, the line output connector of the audio 
mixer or the microphone which does not 
require the external power supply can also 
be connected.
• When the MIC/LINE input selector is set 
to MIC position, a power voltage for the 
supplied lavarier microphone is applied 
to the audio input connector. For this 
purpose, a special electrical wiring is 
used inside this connector. Be sure to use 
a commercially available XLR-BMP 
conversion input cable to connect the 
equipment other than the supplied 
lavarier microphone.
• Note that the proper performance may 
not be obtained if a lavarier microphone 
which is not supplied with the UWP 
series package is used.
dAF/PEAK (audio frequency/peak 
level) indicator
Turns on or off according to the audio input 
level as follows.
On (red): Audio input level is too high. If 
the sound is distorted, decrease the 
attenuation level of the audio input (see 
page 56).
On (green): Audio input level is 
appropriate.
Off: There is no audio input or input level is 
too low.
ePOWER switch
Turns the power of the transmitter ON or 
OFF.
fBattery compartment
Accommodates two LR6 (size AA) alkaline 
batteries.
Note
Notes

36 Parts Identification
For details on how to insert the batteries, see 
“Power Supply” on page 42.
g+ (+ selection) / – (– selection/reset) 
buttons
Press these buttons to set the transmission 
channel, frequency, or attenuation level of 
the input signal.
The “–” button resets the accumulated use 
time to “00:00”.
hSET button
Press to change and enter display 
parameters.
For details, see “Transmitter Settings” on page 54.
iDisplay section
AAF (audio frequency) indication
Appears whenever the input audio signal is 
stronger than the reference level.
BRF (radio frequency) indication
Appears during signal transmission from 
the antenna.
CRF (radio frequency) level 
indication
Shows the RF output level setting.
For details, see “Setting the RF output power level” 
on page 55.
DBATT (battery) indication
Shows the battery condition.
For details, see “Battery indication” on page 43.
ECH (channel) indication
Shows the transmission channel. Each time 
you press the SET button in transmission 
mode, the channel indication changes as 
follows.
For details, see “Transmitter Settings” on page 54.
Hand-held microphone 
(UTX-H2)
The channel indication (E) for U30 
model is shown.
Transmission 
channel
Transmission 
frequency
Accumulated 
use time
Attenuation 
level of the 
input signal
The channel/frequency indications for 
U30 model are shown.
Press 
the 
SET 
button.
The rear side of 
the battery 
compartment

37
Parts Identification
aPower indicator
Lights up green when the microphone is 
turned on.
bPOWER switch
Turns the power of the microphone ON or 
OFF.
cBattery compartment
Accommodates two LR6 (size AA) alkaline 
batteries.
For details on how to insert the batteries, see 
“Power Supply” on page 42.
dDisplay section
AAF (audio frequency) indication
Appears whenever the input audio signal is 
stronger than the reference level.
BRF (radio frequency) indication
Appears during signal transmission from 
the antenna.
CRF (radio frequency) level 
indication
Shows the RF output level setting.
For details, see “Setting the RF output power level” 
on page 55.
DBATT (battery) indication
Shows the battery condition.
For details, see “Battery indication” on page 43.
ECH (channel) indication
Shows the transmission channel. Each time 
you press the SET button in transmission 
mode, the channel indication changes as 
follows.
For details, see “Transmitter Settings” on page 54.
e+ (+ selection) / – (– selection/reset) 
buttons
Press these buttons to set the transmission 
channel, frequency, or attenuation level of 
the input signal.
The “–” button resets the accumulated use 
time to “00:00”.
fSET button
Press to change and enter display 
parameters.
For details, see “Transmitter Settings” on page 54.
The channel indication (E) for U30 
model is shown.
Transmission 
channel
Transmission 
frequency
Accumulated 
use time
Attenuation 
level of the 
input signal
The channel/frequency indications for 
U30 model are shown.
Press 
the 
SET 
button.

38 Parts Identification
Plug-on transmitter (UTX-
P1)
aAudio input connector (XLR type)
Connect a microphone or a line output 
connector of an audio mixer, etc.
bAF/PEAK (audio frequency/peak 
level) indicator
Turns on or off according to the audio input 
level as follows.
cINPUT (input signal) selector
Set this selector to MIC when a microphone 
is connected to the audio input connector; 
set it to LINE when an audio mixer, etc. is 
connected to the audio input connector.
• The UTX-P1 does not support external 
power supply. Do not connect a 
microphone which requires external 
power supply.
• Do not set the INPUT selector to MIC 
position while the audio signal is being 
input from the audio mixer, etc. Doing so 
may cause excessive audio input, 
resulting in distorted playback or 
recorded sound or damage to the 
playback or recording equipment.
dDisplay section
Front side
Bottom side
Audio input level INPUT selector 
position
MIC LINE
+8 dBV or more — On (red)
–9 dBV or more 
and less than +8 
dBV
—On 
(green)
Less than –9 dBV  — Off
–40 dBV or more On (red) —
–60 dBV or more 
and less than –40 
dBV
On 
(green)
—
Less than –60 dBV  Off —
Notes
The channel indication (D) for U30 
model is shown.

39
Parts Identification
AAF (audio frequency) indication
Appears whenever the input audio signal is 
stronger than the reference level.
BRF (radio frequency) indication
Appears during signal transmission from 
the antenna.
CBATT (battery) indication
Shows the battery condition.
For details, see “Battery indication” on page 43.
DCH (channel) indication
Shows the transmission channel. Each time 
you press the SET button in transmission 
mode, the channel indication changes as 
follows.
For details, see “Transmitter Settings” on page 54.
e+ (+ selection) / – (– selection/reset) 
buttons
Press these buttons to set the transmission 
channel, frequency, or attenuation level of 
the input signal.
The “–” button resets the accumulated use 
time to “00:00”.
fSET button
Press to change and enter display 
parameters.
For details, see “Transmitter Settings” on page 54.
gPOWER switch
Turns the power of the microphone ON or 
OFF.
hBattery compartment
Accommodates two LR6 (size AA) alkaline 
batteries.
For details on how to insert the batteries, see 
“Power Supply” on page 42.
Portable diversity tuner 
(URX-P2)
aAntennas
bMONITOR connector (3.5-mm 
diameter stereo mini jack)
To monitor the tuner output, connect the 
headphones to this connector.
Transmission 
channel
Transmission 
frequency
Accumulated 
use time
Attenuation 
level of the 
input signal
The channel/frequency indications for 
U30 model are shown.
Press 
the 
SET 
button.

40 Parts Identification
Do not connect headphones with a 
monaural mini jack. This may lead to short-
circuiting of the headphone output, 
resulting in distorted sound output.
cRF (radio frequency) indicator
The color indicates the strength of the RF 
input signal.
On (green): RF input is 15 dBµ1) or more.
Off: RF input is less than 15 dBµ1).
1) 0 dBµ = 1 µVEMF
dPOWER switch
Turns the power of the tuner ON or OFF.
eBattery compartment
Accommodates two LR6 (size AA) alkaline 
batteries.
For details on how to insert the batteries, see 
“Power Supply” on page 42.
f+ (+ selection) / – (– selection/reset) 
buttons
Press these buttons to set the transmission 
channel, frequency, or attenuation level of 
the input signal.
The “–” button resets the accumulated use 
time to “00:00”.
gSET button
Press to change and enter display 
parameters.
For details, see “Tuner Settings” on page 50.
hDisplay section
ARF (radio frequency) indications
The number of dots indicates the RF input 
level.
BAF (audio frequency) indication
Appears whenever the output audio signal 
is stronger than the reference level.
CBATT (battery) indication
Shows the battery condition.
For details, see “Battery indication” on page 43.
DCH (channel) indication
Shows the reception channel group and 
channel number. Each time you press the 
SET button, the channel indication changes 
as follows.
For details, see“Tuner Settings” on page 50.
Note
The channel indication (C) for U30 
model is shown.
Reception 
channel group 
and number
Reception 
frequency
The channel/frequency indications for 
U30 model are shown.
Press 
the 
SET 
button.
Accumulated 
use time

41
Parts Identification
iOUTPUT (audio output) connector 
(3.5-mm diameter stereo mini jack)
Connect one end of the supplied XLR-BMP 
conversion output cable for the URX-P2 or 
the stereo mini plug-BMP conversion cable 
here and the other end to the microphone 
input on a camcorder, mixer, or amplifier. If 
the microphone input connector on the 
device connected to the tuner is a stereo 
mini jack, connect the straight (BMP) plug 
to the tuner and the L-shaped (stereo mini) 
plug to the microphone input connector on 
the device.
To prevent damaging the tuner, do not 
apply power voltage to this connector 
through the connection to external devices.
Diversity tuner module 
(URX-M2)
aSET button
Press to change and enter display 
parameters.
For details, see “Tuner Settings” on page 50.
bRF (radio frequency) indicator
The color indicates the strength of the RF 
input signal.
On (green): RF input is 25 dBµ1) or more.
Off: RF input is less than 25 dBµ1).
1) 0 dBµ = 1 µVEMF
cDisplay section
ARF (radio frequency) indications
The number of dots indicates the RF input 
level.
BAF (audio frequency) indication
Appears whenever the output audio signal 
is stronger than the reference level.
CGP (group)/CH (channel) indication
Shows the reception channel group and 
channel number. Each time you press the 
SET button, the channel indication changes 
as follows.
For details, see“Tuner Settings” on page 50.
d+ (+ selection) / – (– selection/reset) 
buttons
Press these buttons to set the reception 
channel and frequency.
Note
The channel indication (C) for U30 
model is shown.
Reception 
channel group 
and number
Reception 
frequency
The channel/frequency indications for 
U30 model are shown.
Press 
the 
SET 
button.

42 Power Supply
Power Supply
This section explains the power supply for 
each component.
Diversity tuner module (URX-
M2)
When incorporated into another component 
(e.g., MB-X6, SRP-X500P, etc.), the tuner 
module draws its power from that 
component.
For details on the power supply to the diversity tuner 
module, refer to the operating instructions of the 
component in which the diversity tuner module is 
installed.
Body-pack transmitter (UTX-
B2), hand-held microphone 
(UTX-H2), plug-on transmitter 
(UTX-P1), and portable 
diversity tuner (URX-P2)
These components can be powered by two 
LR6 (size AA) alkaline batteries. Details on 
inserting the batteries and the battery 
condition indication are given below:
The manganese batteries cannot draw 
sufficient performance from the 
component. Be sure to use the alkaline 
batteries.
Inserting the batteries
Body-pack transmitter (UTX-
B2)/portable diversity tuner 
(URX-P2)
The procedure below uses the body-pack 
transmitter (UTX-B2) in the illustrations. 
Batteries can also be inserted in the portable 
diversity tuner (URX-P2) in the same 
manner.
1Slide the battery-compartment catches 
inward (in the direction of the arrows b 
B) to take out the battery holder.
2Match the polarities and insert the 
batteries, then set the battery 
compartment in the original position.
Taking out the battery compartment during 
signal transmission may cause high noise. 
Be sure to turn off the component before 
taking out the battery compartment.
Hand-held microphone (UTX-
H2)
1Turn the grip in the direction of the 
arrow to open the battery 
compartment.
Note
Note

43
Power Supply
2Align two new LR6 (size AA) alkaline 
batteries with the polarity markings 
and insert them into the battery 
compartment.
3Turn the grip in the direction opposite 
to the arrow in step 1 to close the 
battery compartment.
If you open the battery compartment during 
signal transmission, the noise may occur. 
Be sure to turn the microphone off before 
opening the battery compartment.
Plug-on transmitter (UTX-P1)
1Slide the battery cover to release the 
lock and open the battery 
compartment.
2Align two new LR6 (size AA) alkaline 
batteries with the polarity markings 
and insert them into the battery 
compartment, and then close the cover.
Battery indication
When you turn the power on, the battery 
condition is shown by the BATT indication 
in the display section.
When the indication in column 4 starts to 
flash, replace the batteries with new ones. 
Be sure to check the expiration date printed 
on the new batteries before using them.
Note
BATT 
indication
Battery status
1Lights 
Good
2Lights 
Less than 50% 
charged

44 Attachment and Installation Procedures
The indicated battery condition may not be 
correct if the batteries were not new when 
installed. If you plan to use the component 
for a long period, it is recommended that 
you replace the batteries with brand new 
ones.
Notes on battery
Batteries may leak or explode if mistreated. 
Be sure to follow these instructions.
• Be sure to install the batteries with the 
correct polarity.
• Always replace the two batteries 
together.
• Do not use different types of batteries or 
old and new one together.
• The batteries are not rechargeable.
• When not using the component for a long 
period of time, remove the batteries to 
avoid leakage. If the batteries do leak, 
clean all leakage from the battery 
compartment and the component. 
Leakage left in the compartment and the 
component may cause poor battery 
contact. If there seems to be poor battery 
contact, consult your Sony dealer.
Attachment and 
Installation 
Procedures
This section describes the procedures for 
attaching the supplied accessories to the 
components and the installation of the 
diversity tuner module (URX-M2) into the 
MB-X6 Tuner Base Unit or SRP-X500P 
Powered Mixer.
Attaching the supplied 
accessories to the body-
pack transmitter (UTX-B2)
To attach the microphone
Be sure to attach or remove the microphone 
after turning off the transmitter.
3Lights 
Less than 20% 
charged
4 Flashes Almost drained
Note
BATT 
indication
Battery status
Note
Microphone (supplied)
For a secure connection, be sure to turn 
and lock the connector cover.

45
Attachment and Installation Procedures
To attach the holder clip to 
the microphone
To take the slack out of the 
microphone cable
To attach the wind screen to 
the microphone
To attach the belt clip
To remove the belt clip
Push the holder clip against the bottom 
of the microphone until the holder clip 
clicks into place.
Run the cable through the clamping 
part of the holder clip.
Insert the microphone into the hole at 
the bottom of the windscreen.
Insert one end of the belt clip into one of 
two holes on either side of the 
transmitter, and then insert the other end 
into the hole on the other side.
Insert a pointed object such as a ballpoint 
pen between the belt clip and the 
transmitter to make some space between 
them, and then remove the end of the belt 
clip from the hole on the side of the 
transmitter.

46 Attachment and Installation Procedures
Attaching the supplied 
accessory to the hand-held 
microphone (UTX-H2)
To attach the microphone 
holder
Inserting the plug-on 
transmitter (UTX-P1) into 
the supplied soft case
Attaching the optional 
accessory to the plug-on 
transmitter (UTX-P1)
To attach a microphone or a 
cable
To detach a microphone or a cable
Insert the bottom 
part of the 
microphone into 
the holder.
Insert the UTX-P1 into the supplied soft 
case with the rear side up, and close the 
flap.
Push the microphone or cable 
connector (XLR-3-12C connector) 
against the audio input connector of 
the UTX-P1 until it clicks into place.
Press the release button and pull off 
the microphone or cable slowly.
Release button
Microphone or 
cable connector

47
Attachment and Installation Procedures
Attaching the supplied 
accessories to the portable 
diversity tuner (URX-P2)
To connect the supplied 
conversion cable to the 
OUTPUT connector
To attach the belt clip
See “To attach the belt clip” on page 45.
To attach the shoe mount 
adapter
Before attaching the shoe mount adapter, 
attach the belt clip (see page 45).
Example: XLR-BMP conversion output 
cable for the URX-P2 (supplied)
For a secure connection, be sure to turn 
and lock the connector cover.
While pushing the bottom of the belt 
clip to make some space between the 
belt clip and the tuner (1), align the 
vertical parts of the belt clip with the 
two vertical grooves on the shoe 
mount adapter. Then, push the shoe 
mount adapter in the direction of the 
arrow (2). Push it fully until the 
horizontal groove on the shoe mount 
adapter holds the horizontal part of 
the belt clip in place.

48 Attachment and Installation Procedures
To remove the shoe mount adapter
Installing a diversity tuner 
module (URX-M2) 
• Before installing the diversity tuner 
module (URX-M2), make sure the unit 
into which the tuner module will be 
installed is turned off. Do not install or 
uninstall the tuner module while the unit 
into which the tuner module will be 
installed is turned on, as this may damage 
the connector or cause noise.
• Do not put your fingers on the connectors 
on the rear panel of the tuner module or 
into the slot on the unit into which the 
tuner module will be installed.
• Keep the tuner module away from static 
electricity.
To install a diversity tuner 
module (URX-M2) into the 
MB-X6 Tuner Base Unit
The MB-X6 Tuner Base Unit can 
accommodate up to 6 diversity tuner 
modules (URX-M2).
For details on installation procedure, refer to the 
Operating Instructions supplied with the MB-X6.
Hold the tuner module by the side and insert 
it into the slot until you hear a click.
To install two or more tuner 
modules
Before installing the tuner modules, detach 
the necessary number of blank panels from 
the front cover of the MB-X6.
To uninstall a tuner module
After removing the front cover of the MB-
X6, hold the tuner unit by the top and 
bottom, then pull it out of the slot.
Notes
While pushing on the “PUSH” marking 
on the shoe mount adapter (1), 
disengage the horizontal part of the belt 
clip from the horizontal groove on the 
shoe mount adapter (2). Then, push 
the shoe mount adapter in the direction 
of the arrow (3).

49
Operation
To install a diversity tuner 
module (URX-M2) into the 
SRP-X500P Powered Mixer
The SRP-X500P Powered Mixer can 
accommodate up to two diversity tuner 
modules (URX-M2).
For details on installation procedure, refer to the 
Operating Instructions supplied with the SRP-
X500P.
Remove the protection panel (large) from 
the SRP-X500P. Inspect the top and bottom 
sides of the diversity tuner module and 
insert it into the slot.
To uninstall the tuner module
Pull the latch securing the tuner module to 
the side and pull out the tuner module.
Operation
The procedure below is the same 
for all UWP series transmitters 
(UTX-B2/H2/P1) and tuners (URX-
P2/M2).
1Make all necessary connections on the 
tuner.
For examples of UWP series component 
connections, see “System Configurations” on 
page 57.
2Turn on the tuner.
The parameters that were in the display 
section when the tuner was last turned 
off appear again.
Noise will be produced when the tuner 
is turned on. Before turning on the 
tuner, turn down the volume of the 
equipment connected to the tuner.
3Set the reception channel on the tuner.
Switch the channel on the tuner with 
the transmitter turned off and select the 
channel where the RF indicator does 
not turn on.
For details on setting the reception channel, 
see “Setting the reception channel” on 
page 50.
4Set the transmission channel on the 
transmitter, and then turn off the unit.
For details on setting the transmission 
channel, see “Setting the transmission 
channel” on page 54.
5Turn on the transmitter.
Latch
Note

50 Tuner Settings
If noise is heard
Depending on the environment where the 
UWP series components are installed, 
external noise or radio waves may disrupt 
transmission on certain channels.
When selecting a channel under these 
circumstances, turn off the transmitter.
Then, on the tuner, select a channel for 
which the RF indicator does not light up 
(i.e., a channel free from noise or radio 
wave interference). Set the same channel on 
the transmitter.
To prevent interference or noise, please 
take the following precautions.
• Do not use two or more transmitters with 
the same wireless channels.
• When operating two or more UWP series 
packages simultaneously, set each 
package to a different channel within the 
same channel group.
• Keep the reception antenna and the 
transmitter separated more than 3 meters 
(9 feet 11 inches).
• When operating two or more UWP series 
packages simultaneously with different 
channel groups, make sure that they are at 
least 100 meters (330 feet) apart, if they 
are used within clear sight of each other. 
(The actual distance may differ 
depending on the circumstances.)
Tuner Settings
Setting the reception 
channel
The procedure below is the same 
for all UWP series tuners (URX-P2/
M2).
Refer to the pdf files “Sony Wireless Microphone 
System Frequency List” on the supplied CD-ROM 
for details on the selectable channel groups and 
channels (for U30, U42, CE62, and CE67 models).
1Press down the SET button for more 
than one second.
Keep pressing the SET button until the 
display section parameters start to 
flash.
2Press the SET button repeatedly until 
the channel group and the channel 
number indications appear.
The channel group indication starts to 
flash.
3Press the + or – button to select the 
channel group.
Pressing the + button cycles the 
indication in the order shown in the 
tables in the pdf files “Sony Wireless 
Microphone System Frequency List” 
on the supplied CD-ROM (for U30, 
U42, CE62, and CE67 models).
Pressing the – button cycles the 
indications in the opposite direction.
Note

51
Tuner Settings
Hold down the + or – button to change 
the channel group faster.
4When the desired channel group 
number appears, press the SET button.
The selected group is entered.
The right four digits start to flash to 
allow the selection of the channel 
number.
5Press the + or – button to select the 
channel number.
The channel indication changes in the 
order shown in the tables in the pdf 
files “Sony Wireless Microphone 
System Frequency List” on the 
supplied CD-ROM (for U30, U42, 
CE62, and CE67 models).
6When the desired channel number 
appears, leave the tuner for about 10 
seconds or press down the SET button 
for more than one second.
The selected channel number stops 
flashing and the selection is stored in 
memory.
To select the channel by 
frequency indication
1Press the SET button for more than one 
second.
Keep pressing the SET button until the 
display section parameters start to 
flash.
2Press the SET button repeatedly until 
the frequency indication appears and 
starts flashing.
3Press the + or – button to select the 
frequency.
4When the desired frequency appears, 
leave the tuner for about 10 seconds or 
press down the SET button for more 
than one second.
The selected channel number stops 
flashing and the selection is stored in 
memory.
• Even when you are setting the reception 
channel, the tuner can be used to receive 
signals.
• Do not remove the batteries while setting 
the reception channel. If they are 
inadvertently removed, re-insert them 
immediately and redo the procedure 
“Setting the reception channel”  from 
step 1.
• Make sure that the selected channel is the 
same on the transmitter and tuner being 
used in the same system.
• If you turn off the tuner and then 
immediately turn it on right after setting 
the reception channel, the unit may not 
Example: When the channel group 00 is 
selected
Notes

52 Tuner Settings
operate normally. Wait a few seconds 
before turning it on again.
Searching the available 
channels within the group 
(Clear Channel Scan)
The procedure below can be 
performed with the portable 
diversity tuner (URX-P2) only.
Available channels within the specified 
channel group can be searched.
Before performing this procedure, select 
the channel group.
For details on channel group selection, see “Setting 
the reception channel” on page 50.
1While pressing down the SET button, 
press the + button.
Keep both buttons pressed down.
2Release the SET button and the + 
button after “SCAN  +” appears and 
starts flashing.
3Press the + button.
The tuner starts to scan through the 
selected channel group. When 
available channels are found, the first 
channel number among the available 
channels flashes in the display.
To display the next available 
channel number
Press the + button.
To cancel searching
Press the – button. The display shows 
the flashing “SCAN  +” again.
To re-select the channel group
Press the SET button again to display 
the flashing channel group indication, 
then select the channel group. And 
then, start from step 1.
4While the desired channel number is 
flashing, leave the tuner for about 10 
seconds or press down the SET button 
for more than one second.
Search finishes. The selected channel 
number stops flashing and the 
selection is stored in memory.
To start searching while 
performing settings
While the display section parameters are 
flashing, press the SET button repeatedly 
until “SCAN  +” appears and starts flashing. 
Then, start from step 3 above.
Selecting the channels on 
multiple tuners 
automatically
The procedure below can be 
performed with the diversity tuner 
module (URX-M2) only.
When multiple diversity tuner modules 
(URX-M2) are installed into the MB-X6 to 
perform simultaneous multiple-channel 
operation, select the channel group on the 
tuner module installed into the slot 1 of 
the MB-X6, then all the tuner modules 
installed into the MB-X6 can be set to 
different channels within the selected 
channel group.
1Turn off all the microphones and 
transmitters.

53
Tuner Settings
2Select the channel group on the tuner 
module installed into the slot 1 of the 
MB-X6.
3After confirming that the channel 
group indication has stopped flashing 
(about 10 seconds after you have 
selected the channel group), keep 
pressing the + button on the tuner 
module installed into the slot 1 of the 
MB-X6.
All the tuner modules installed into the 
MB-X6 are set to the available 
channels within the selected channel 
group.
After the automatic detection and 
selection of available channels finish, 
you can change the group and channel 
on each tuner module manually.
• Do the automatic detection and selection 
of available channels with the channel 
group other than channel group 00.
• When there are unavailable channels due 
to extraneous radio wave and the channel 
could not be selected on some tuner 
modules, “NO CH” appears on the 
display of those tuner modules. If this 
happens, select the channel group with no 
interference from extraneous radio wave, 
and repeat the procedure above.
Setting the monitor level
The procedure below can be 
performed with the portable 
diversity tuner (URX-P2) only.
You can set the monitor level for 
monitoring the tuner output within the 
range of 01 to 24.
1While the parameters on the display 
section are not flashing, press the + or 
– button once.
The monitor level indication appears in 
the display section.
2Press the + button to increase the 
monitor level, or press the – button to 
decrease the level.
When you leave the tuner for about 
two seconds or more or press down the 
SET button for more than one second, 
current monitor level setting is stored 
in memory and the normal display 
resumes. Note that monitor level 
setting is effective after you turn off 
the tuner, then turn it on again.
Resetting the accumulated 
use time indication
The procedure below can be 
performed with the portable 
diversity tuner (URX-P2) only.
The accumulated use time is the total time 
(in hours and minutes) that the tuner has 
been used. It is recorded whenever the tuner 
is on.
If you reset the indication to “00:00” when 
you replace the batteries, this shows the 
accumulated battery use time.
1Press down the SET button for more 
than one second.
Keep pressing the SET button until the 
display section parameters start to 
flash.
2Press the SET button repeatedly until 
the accumulated time indication 
appears in the display section.
Notes

54 Transmitter Settings
3Press the – button.
The time indication resets to “00:00.”
While “00:00” is still displayed, you 
can return to previous value by 
pressing the + button.
4Leave the tuner for about 10 seconds or 
press down the SET button for more 
than one second.
The time indication stops flashing and 
the results are stored in memory.
Transmitter 
Settings
Setting the transmission 
channel
The procedure below is the same 
for all UWP series transmitters 
(UTX-B2/H2/P1).
Refer to the pdf files “Sony Wireless Microphone 
System Frequency List” on the supplied CD-ROM 
for details on the selectable channel groups and 
channels (for U30, U42, CE62, and CE67 models).
1Turn on the transmitter while pressing 
down the SET button.
Keep pressing the SET button until the 
display section parameters that were 
displayed when the unit was last turned 
off start to flash.
2Press the SET button repeatedly until 
the channel number (or frequency) 
indication appears.
3Press the + or – button to select the 
channel number (or frequency).
Pressing the + button cycles the 
indication in the order shown in the 
tables in the pdf files “Sony Wireless 
Microphone System Frequency List” 
on the supplied CD-ROM (for U30, 
U42, CE62, and CE67 models).
Pressing the – button cycles the 
indications in the opposite direction.
Hold down the + or – button to change 
the channel number (or frequency) 
faster.

55
Transmitter Settings
Select the group number before 
selecting the channel number as 
follows.
1) While the left two digits are 
flashing, select the group number 
by pressing the + or – button.
2) While the desired group number 
appears, press the SET button.
The right four digits start to flash to 
allow the selection of the channel 
number.
3) Select the channel number by 
pressing the + or – button.
4When the desired channel number (or 
frequency) appears, set the POWER 
switch to OFF to complete the setting, 
or press the SET button to set other 
items.
The results are stored in memory. The 
stored channel number (or frequency) 
will appear in the display section the 
next time you turn on the transmitter 
by setting the POWER switch to ON.
• When you are setting the transmission 
channel, the transmitter cannot be used to 
transmit signals.
• Do not remove the batteries while setting 
the transmission channel. If they are 
inadvertently removed, re-insert them 
immediately and redo the procedure 
“Setting the transmission channel”  from 
step 1.
• Make sure that the selected channel is the 
same on the transmitter and tuner being 
used in the same system.
• If you turn off the transmitter and then 
immediately turn it on right after setting 
the transmission channel, the unit may 
not operate normally. Wait a few seconds 
before turning it on again.
Setting the RF output 
power level
The procedure below can be 
performed with the body-pack 
transmitter (UTX-B2) and the hand-
held microphone (UTX-H2).
You can select the RF output power level 
from “H” (30 mW) or “L” (5 mW) in setting 
mode Set the RF output level to L (5 
mW) for simultaneous operation of 
multiple channels, and set it to H (30 
mW) for long-distance operation.
1Turn on the transmitter while pressing 
down the SET button.
2Press the SET button repeatedly until 
the RF output level indication appears 
in the display section.
3Press the + button to select “H” (30 
mW), or press the – button to select 
“L” (5 mW).
Notes on the European model
Notes
Channel 
selection
Group, channel, and frequency 
selection examples for CE62 model 
are shown.
Frequency 
selection
v: – button
Group 
selection
V: + button

56 Transmitter Settings
4Set the POWER switch to OFF to 
complete the setting, or press the SET 
button to set other items.
The results are stored in memory.
The change becomes effective the next 
time you turn on the transmitter by 
setting the POWER switch to ON.
Setting the attenuation 
level of the audio input
The procedure below is the same 
for all UWP series transmitters 
(UTX-B2/H2/P1).
The attenuation level can be set during 
signal transmission.
When the MIC/LINE input selector of the 
UTX-B2 or the INPUT selector of the 
UTX-P1 is set to LINE position, attenuation 
level of the audio input is always 0 dB and 
cannot be reset. In this case, adjust the 
output level on the audio source device.
1Do the following while there is 
no signal transmission.
Turn on the transmitter while pressing 
down the SET button, and press the 
SET button repeatedly until the 
attenuation level indication appears in 
the display section.
Do the following while there is 
signal transmission.
Press the SET button repeatedly until 
the attenuation level indication appears 
in the display section.
2Press the + or – button to select the 
attenuation level.
The selectable range is from 0 dB to 21 
dB in steps of 3 dB (the factory setting 
is 0 dB).
3Do the following while there 
is no signal transmission.
Set the POWER switch to OFF to 
complete the setting, or press the SET 
button to set other items.
The results are stored in memory.
The change becomes effective the next 
time you turn on the transmitter by 
setting the POWER switch to ON.
Resetting the accumulated 
use time indication
The procedure below is the same 
for all UWP series transmitters 
(UTX-B2/H2/P1).
1Turn on the transmitter while pressing 
down the SET button.
2Perform step 2 and 3 in “Resetting the 
accumulated use time indication” on 
page 53.
3Set the POWER switch to OFF to 
complete the setting, or press the SET 
button to set other items.
The results are stored in memory.
The change becomes effective the next 
time you turn on the transmitter by 
setting the POWER switch to ON.
Note

57
System Configurations
System Configurations
Production of the peripheral and relating devices may have been discontinued. Upon selecting 
the devices to be used with this product, consult your nearest Sony representative or the dealer 
from whom you purchased the product.
Configuration examples of the UWP-V1/V2/X7/X8
Sample configuration for ENG (Electronic News Gathering) or 
EFP (Electronic Field Production) with a camcorder
Note
Portable diversity tuner (URX-P2) (with the belt 
clip and the shoe mount adapter attached)
XDCAM EX/HDV camcorder 
(PMW-EX1, HVR-Z7, etc.)
Body-pack 
transmitter 
(UTX-B2)
1 XLR-BMP conversion output cable for the URX-P2
Hand-held 
microphone 
(UTX-H2)
Or

58 System Configurations
Sample configuration for AV presentations
SRP-X500P Powered Mixer
To DVD player, PC, or VTR, 
etc.
Body-pack 
transmitter 
(UTX-B2)
AN-820A UHF 
antenna
Diversity tuner 
module (URX-M2)
1 BNC cable
2 XLR cable or pin cable
Hand-held 
microphone 
(UTX-H2)

59
System Configurations
Sample configuration of a PA system
SRP-X500P Powered Mixer
To DVD player, PC, or 
VTR, etc.
Body-pack transmitter 
(UTX-B2)
AN-820A UHF 
antenna
MB-X6 Tuner Base Unit
WD-820A Antenna Divider
Diversity tuner 
module (URX-M2)
SRP-X100 Audio Mixer
1 BNC cable
2 XLR cable
3 XLR cable or pin cable
Hand-held microphone 
(UTX-H2)
Diversity tuner 
module (URX-M2)

60 System Configurations
Configuration example of the UWP-V6
DMX-P01 Digital 
Portable Mixer
1 XLR cable
2 XLR cable with the stereo mini plug-BMP conversion cable (supplied)
Portable diversity 
tuner (URX-P2)
XDCAM EX/HDV camcorder 
(PMW-EX1, HVR-Z7, etc.)
Portable diversity tuner 
(URX-P2) (with the belt clip 
and the shoe mount adapter 
attached)
DMX-P01 Digital 
Portable Mixer
Plug-on transmitter 
(UTX-P1)
Or
Or F-112 Dynamic 
Microphone

61
Error Messages
Error Messages
When a problem occurs, one of the following error messages may appear on the display.
1) Body-pack transmitter (UTX-B2)/hand-held microphone (UTX-H2)/plug-on transmitter (UTX-P1)/ 
portable diversity tuner (URX-P2) only.
Messages Meanings Remedy
Err 01 An error has occurred in the backup 
memory data.
Contact your Sony dealer.
Err 02 The PLL synthesized circuit is 
abnormal.
Restart the unit. If the message 
appears again, contact your Sony 
dealer.
Err 031) The battery voltage exceeds the 
allowable limit.
Use the specified battery.

62 Troubleshooting
Troubleshooting
If you have any problem using the UWP series components, use the following checklist.
Should any problem persist, consult your Sony dealer.
Symptom Meanings Remedy
The unit does 
not turn on.1)
The polarity orientation of the 
batteries in the battery 
compartment is incorrect.
Insert the batteries with the correct 
polarity orientation.
The batteries are exhausted. Replace the batteries with new ones.
The battery terminals in the 
transmitter are dirty.
Clean the + and – terminals with a 
cotton swab.
The batteries 
become 
drained 
quickly.1)
The batteries are exhausted. Replace the batteries with new ones.
Manganese batteries are being 
used. 
Use alkaline batteries. The battery 
life of a manganese battery is less 
than half that of an alkaline battery.
The UWP series components is 
being used under cold 
conditions.
The batteries drain quickly under 
cold conditions.
The channel 
cannot be 
changed.
An attempt was made to 
change the channel by pressing 
the SET button only.
Restart the unit while holding down 
the SET button. Then change the 
channel with the + and – buttons.
There is no 
sound.
The channel setting on the 
transmitter is different from that 
on the tuner.
Use the same channel setting on 
both the transmitter and tuner.
The RF indicator on the tuner 
does not turn on.
Confirm that the transmitter is turned 
on.
The line input is selected on the 
transmitter.2)
Select the microphone input on the 
transmitter.
The sound is 
weak.
The attenuation level on the 
transmitter is too high.
The input level of the transmitter is 
low. Press the + button on the 
transmitter in attenuation level 
setting mode to decrease the 
attenuation level.
The volume on the amplifier or 
mixer is low.
Adjust the volume.
The line input is selected on the 
transmitter.2)
Select the microphone input on the 
transmitter.

63
Troubleshooting
1) Body-pack transmitter (UTX-B2)/hand-held microphone (UTX-H2)/plug-on transmitter (UTX-P1)/ 
portable diversity tuner (URX-P2) only
2) Body-pack transmitter (UTX-B2) only
3) Portable diversity tuner (URX-P2) only
There is 
distortion in 
the sound.
The attenuation level of the 
transmitter is too low.
The input level of the tuner is 
extremely high. Press the – button on 
the transmitter in attenuation level 
setting mode to raise the attenuation 
level.
The transmitter and the tuner 
are set to different channels.
Set the transmitter to the same 
channel.
Headphones with a monaural 
mini jack is used.3)
Use the headphones with a stereo 
mini jack.
There is sound 
interruption or 
noise.
The transmitter and the tuner 
are set to different channels.
Set the transmitter to the same 
channel as the tuner.
Two or more transmitters are 
set to the same channel.
Set each transmitter to a different 
channel.
The transmitters are not set to 
the channels within the
same channel group.
The channel plan which the UWP 
series components use is set so that 
no signal interference occurs when 2 
or more transmitters are used 
simultaneously. Set each transmitter 
to a different channel within the 
same channel group.
Two or more UWP series 
packages are operated at close 
channels.
•Select a channel from the channel 
group 01 to 09.
•Use the channels at least 2-
channel intervals (250 kHz).
The RF 
indications on 
the tuner 
appear (the 
RF indicator 
lights up) even 
when the 
transmitter is 
off.
Jamming radio waves are being 
received.
Determine which channels are 
usable (i.e., channels for which the 
RF indications on the tuner do not 
appear (or for which the RF indicator 
on the tuner does not light up)) and 
set the tuner and transmitter to the 
same usable channel. When two or 
more transmitters are used 
simultaneously, use another channel 
group that is unaffected by jamming 
radio waves.
Symptom Meanings Remedy

64 Important Notes on Use
Important Notes 
on Use
On usage and storage
• Operating the UWP series components 
near electrical equipment (motors, 
transformers, or dimmers) may cause it to 
be affected by electromagnetic induction. 
Keep the UWP series components as far 
from such equipment as possible.
• The presence of the lighting equipment 
may produce electrical interference over 
the entire frequency range. Position the 
UWP series components so that 
interference is minimized.
• To avoid degradation of the signal to- 
noise ratio, do not use the UWP series 
components in noisy places or in 
locations subject to vibration, such as the 
following:
- near electrical equipment, such as 
motors, transformers or dimmers
- near air conditioning equipment or 
places subject to direct air flow from 
an air conditioner
- near public address loudspeakers
- where adjacent equipment might 
knock against the tuner
Keep the UWP series components as far 
from such equipment as possible or use 
buffering material.
On cleaning
Clean the surface and the connectors of the 
UWP series components with a dry, soft 
cloth. Never use thinner, benzene, alcohol 
or any other chemicals, since these may mar 
the finish.
To prevent electromagnetic 
interference from portable 
communication devices
The use of portable telephones and 
other communication devices near 
the UWP series components may 
result in malfunction and interference 
with audio signals. It is recommended 
that portable communication devices 
near the UWP series components be 
turned off.

65
Specifications
Specifications
Design and specifications are subject to 
change without notice.
Transmitters (UTX-B2/H2/
P1)
Items common to all 
transmitters
Oscillator type
Crystal-controlled PLL synthesizer
Carrier frequencies
Model available in USA: 566 to 590 
MHz (U30 model), 638 to 662 
MHz (U42 model)
Model available in Europe: 798 to 
822 MHz (CE62 model), 838 to 
862 MHz (CE67 model)
Model available in Australia: 792 to 
806 MHz (AU66 model)
Operating frequency band
Model available in USA and 
Europe: 24 MHz BW
Model available in Australia: 14 
MHz BW
Pre-emphasis
50 µs
Distortion
1.0% or less (–60 dBV, 1 kHz 
input)
Signal-to-noise ratio
60 dB or more
Tone signal
32 kHz
Attenuation
0 to 21 dB, in 3-dB steps
Display
Channel, frequency, audio level, 
RF level, accumulated use time
Power requirements
3.0 V DC (two LR6/AA size 
alkaline batteries)
Operating temperature
 0°C to 50°C (32°F to 122°F)
Storage temperature
–20°C to +55°C (–4°F to +131°F)
Body-pack transmitter (UTX-
B2)
Antenna
1/4λ wave length wire
Audio input connector
3.5-mm dia. mini jack
Reference audio input level
–60 dBV (at 0 dB attenuation level)
RF output level
30 mW/5 mW selectable
Reference deviation
±7 kHz (–60 dBV, 1 kHz input)
Frequency response
40 Hz to 18 kHz
Indicator
AF/PEAK level
Battery life
Approx. 8 hours (measured with 
two Sony LR6/AA size alkaline 
batteries at 25°C (77°F), with 
output power of 30 mW)
Note
Always verify that the unit is operating 
properly before use. SONY WILL NOT 
BE LIABLE FOR DAMAGES OF ANY 
KIND INCLUDING, BUT NOT 
LIMITED TO, COMPENSATION OR 
REIMBURSEMENT ON ACCOUNT 
OF THE LOSS OF PRESENT OR 
PROSPECTIVE PROFITS DUE TO 
FAILURE OF THIS UNIT, EITHER 
DURING THE WARRANTY PERIOD 
OR AFTER EXPIRATION OF THE 
WARRANTY, OR FOR ANY OTHER 
REASON WHATSOEVER.

66 Specifications
Dimensions
63 × 82.5 × 18.7 mm (2 1/2 × 3 1/4 
× 3/4 inches) (w/h/d) (excluding 
the antenna)
Mass Approx. 145 g (5.1 oz) including 
batteries
Hand-held microphone (UTX-
H2)
Microphone unit
Dynamic
Directivity
Unidirectional
Antenna
1/4λ wave length wire (internal)
RF output level
30 mW/5 mW selectable
Reference deviation
±7 kHz (–60 dBV, 1 kHz input)
Frequency response
50 Hz to 18 kHz
Indicator
Power on
Battery life
Approx. 8 hours (measured with 
two Sony LR6/AA size alkaline 
batteries at 25°C (77°F), with 
output power of 30 mW)
Dimensions
φ 49 × 253 mm (1 15/16 × 10  inches) 
(dia/length)
Mass Approx. 308 g (11 oz) including 
batteries
Plug-in transmitter (UTX-P1)
RF output level
50 mW
Reference deviation
±10 kHz
Reference audio input level
MIC: –60 dBV
LINE: +4 dBu
Audio input connector
XLR-3-11 type
Indicator
AF/PEAK level
Battery life
Approx. 6 hours (measured with 
two Sony LR6/AA size alkaline 
batteries at 25°C (77°F))
Frequency response
50 Hz to 18 kHz
Unit: mm
Unit: mm

67
Specifications
Dimensions
44 × 99 × 36 mm (1 3/4 × 4 × 1 7/16 
inches) (w/h/d) (including the 
audio input connector)
Mass Approx. 185 g (6.5 oz) including 
batteries
Tuners (URX-P2/M2)
Items common to all tuners
Type of reception
Space diversity
Oscillator type
Crystal-controlled PLL synthesizer
Reception frequencies
Model available in USA: 566 to 590 
MHz (U30 model), 638 to 662 
MHz (U42 model)
Model available in Europe: 798 to 
822 MHz (CE62 model), 838 to 
862 MHz (CE67 model)
Model available in Australia: 792 to 
806 MHz (AU66 model)
Operating frequency band
Model available in USA and 
Europe: 24 MHz BW
Model available in Australia: 14 
MHz BW
Signal-to-noise ratio
60 dB or more
De-emphasis
50 µs
Reference deviation
±5 kHz
Distortion
1.0% or less at 1 kHz modulation
Tone signal
32 kHz
Indicator
RF input level
Operating temperature
 0°C to 50°C (32°F to 122°F)
Storage temperature
–20°C to +55°C (–4°F to +131°F)
Portable diversity tuner (URX-
P2)
Antenna
1/4λ wave length wire
Squelch level
15 dBµ
Audio output level
–58 dBm
Audio output connector
3.5 mm dia. mini jack
Headphones output level
5 mW (16 ohms)
Display
Channel, frequency, audio level, 
RF level, accumulated use time, 
monitor level
Power requirements
3.0 V DC (two LR6/AA size 
alkaline batteries)
Battery life
Unit: mm

Approx. 6 hours (measured with 
two Sony LR6/AA size alkaline 
batteries at 25 °C (77°F))
Reference deviation
±5 kHz (at 1 kHz modulation)
Frequency response
40 Hz to 18 kHz
Dimensions
63 × 104.5 × 22 mm (2 1/2 × 4 1/8 × 
7/8  inches) (w/h/d) (excluding 
the antennas)
Mass Approx. 205 g (7.2 oz) including 
batteries
Diversity tuner module (URX-
M2)
Squelch level
25 dBµ
Display
Channel, frequency
Reference deviation
±5 kHz (at 1 kHz modulation)
Frequency response
50 Hz to 18 kHz
Dimensions
57 × 26 × 121 mm (21/4 × 1 1/16 ⋅ 
4 7/8 inches) (w/h/d)
Mass Approx. 150 g (5 oz)
Unit: mm
Unit: mm
Sony Corporation
Printed in Korea