Sony Manual 4564744131
here Manual_4564744131 Sony- 6 of 215 - Deai Manual Database
HDR-CX405CX440PJ410PJ440 to the manual 22f955a4-9618-4f8e-aa46-b59a20ebeb82
User Manual: Sony Manual Sony HDR-CX440 Operating Instructions | Manual Device
Open the PDF directly: View PDF
.
Page Count: 36

4-564-744-13(1)
HDR-CX405/CX440/PJ410/PJ440
Getting started
Recording/Playback
Saving images
Customizing your
camcorder
Others
Digital HD Video
Camera Recorder
Operating Guide
http://rd1.sony.net/help/cam/1440/h_zz/
“Help Guide” (Web manual)
Refer to “Help Guide” for
in-depth instructions on the
many functions of the camera.

GB
2
Read this first
Before operating the unit, please
read this manual thoroughly, and
retain it for future reference.
Owner’s Record
The model and serial numbers are
located on the bottom. Record the
serial number in the space provided
below. Refer to these numbers
whenever you call your Sony dealer
regarding this product.
Model No. HDR-
Serial No. _________________________
Model No. AC- ____________________
Serial No. _________________________
To reduce the risk of fire or
electric shock,
1) do not expose the unit to
rain or moisture.
2) do not place objects filled
with liquids, such as vases, on
the apparatus.
Do not expose the batteries to
excessive heat such as
sunshine, fire or the like.
SAVE THESE
INSTRUCTIONS.
DANGER - TO REDUCE
THE RISK OF FIRE OR
ELECTRIC SHOCK,
CAREFULLY FOLLOW
THESE
INSTRUCTIONS.
• Read these instructions.
• Keep these instructions.
• Heed all warnings.
• Follow all instructions.
• Do not use this apparatus near
water.
• Clean only with dry cloth.
• Do not block any ventilation
openings. Install in accordance with
the manufacturer's instructions.
• Do not install near any heat sources
such as radiators, heat registers,
stoves, or other apparatus
(including amplifiers) that produce
heat.
• Do not defeat the safety purpose of
the polarized or grounding-type
plug. A polarized plug has two
blades with one wider than the
other. A grounding type plug has
two blades and a third grounding
prong. The wide blade or the third
prong are provided for your safety.
If the provided plug does not fit into
your outlet, consult an electrician
WARNING
IMPORTANT
SAFETY
INSTRUCTIONS

GB
3
for replacement of the obsolete
outlet.
• Protect the power cord from being
walked on or pinched particularly at
plugs, convenience receptacles,
and the point where they exit from
the apparatus.
• Only use attachments/accessories
specified by the manufacturer.
• Use only with the cart, stand, tripod,
bracket, or table specified by the
manufacturer, or sold with the
apparatus. When a cart is used, use
caution when moving the cart/
apparatus combination to avoid
injury from tip-over.
• Unplug this apparatus during
lightning storms or when unused
for long periods of time.
• Refer all servicing to qualified
service personnel. Servicing is
required when the apparatus has
been damaged in any way, such as
power-supply cord or plug is
damaged, liquid has been spilled or
objects have fallen into the
apparatus, the apparatus has been
exposed to rain or moisture, does
not operate normally, or has been
dropped.
• If the shape of the plug does not fit
the power outlet, use an
attachment plug adaptor of the
proper configuration for the power
outlet.
Battery pack
If the battery pack is mishandled, the
battery pack can burst, cause a fire or
even chemical burns. Observe the
following cautions.
• Do not disassemble.
• Do not crush and do not expose the
battery pack to any shock or force
such as hammering, dropping or
stepping on it.
• Do not short circuit and do not allow
metal objects to come into contact
with the battery terminals.
• Do not expose to high temperature
above 60°C (140°F) such as in direct
sunlight or in a car parked in the
sun.
• Do not incinerate or dispose of in
fire.
• Do not handle damaged or leaking
lithium ion batteries.
• Be sure to charge the battery pack
using a genuine Sony battery
charger or a device that can charge
the battery pack.
• Keep the battery pack out of the
reach of small children.
• Keep the battery pack dry.
• Replace only with the same or
equivalent type recommended by
Sony.
• Dispose of used battery packs
promptly as described in the
instructions.
AC Adaptor
Do not use the AC Adaptor placed in a
narrow space, such as between a wall
and furniture.
Use the nearby wall outlet (wall
socket) when using the AC Adaptor.
Disconnect the AC Adaptor from the
wall outlet (wall socket) immediately
if any malfunction occurs while using
the apparatus.
Even if your camcorder is turned off,
AC power source (mains) is still
supplied to it while connected to the
wall outlet (wall socket) via the AC
Adaptor.
CAUTION

GB
4
RECYCLING LITHIUM-ION
BATTERIES
Lithium-Ion batteries
are recyclable.
You can help
preserve our
environment by
returning your used
rechargeable batteries to the
collection and recycling location
nearest you.
For more information regarding
recycling of rechargeable batteries,
call toll free
1-800-822-8837, or visit http://
www.call2recycle.org/
Caution: Do not handle damaged or
leaking Lithium-Ion batteries.
Battery pack/AC Adaptor
This device complies with Part 15 of
the FCC Rules. Operation is subject to
the following two conditions:
(1) This device may not cause harmful
interference, and (2) this device must
accept any interference received,
including interference that may cause
undesired operation.
CAN ICES-3 B/NMB-3 B
This equipment complies with FCC/IC
radiation exposure limits set forth for
an uncontrolled environment and
meets the FCC radio frequency (RF)
Exposure Guidelines and RSS-102 of
the IC radio frequency (RF) Exposure
rules.
This equipment has very low levels of
RF energy that are deemed to comply
without testing of specific absorption
ratio (SAR).
If you have any questions about this
product, you may call:
Sony Customer Information Center
1-800-222-SONY (7669).
The number below is for the FCC
related matters only.
Regulatory Information
This equipment must not be co-
located or operated in conjunction
with any other antenna or transmitter.
CAUTION
You are cautioned that any changes
or modifications not expressly
approved in this manual could void
your authority to operate this
equipment.
For Customers in the
U.S.A. and Canada
For Customers in the
U.S.A.
Declaration of Conformity
Trade Name: SONY
Model No.: HDR-CX405, HDR-
CX440, HDR-PJ440
Responsible Party: Sony
Electronics Inc.
Address: 16530 Via Esprillo,
San Diego, CA 92127
U.S.A.
Telephone No.: 858-942-2230
This device complies with Part15 of
the FCC Rules. Operation is subject
to the following two conditions: (1)
This device may not cause harmful
interference, and (2) this device
must accept any interference
received, including interference
that may cause undesired
operation.

GB
5
Note:
This equipment has been tested and
found to comply with the limits for a
Class B digital device, pursuant to
Part 15 of the FCC Rules.
These limits are designed to provide
reasonable protection against
harmful interference in a residential
installation. This equipment
generates, uses, and can radiate
radio frequency energy and, if not
installed and used in accordance with
the instructions, may cause harmful
interference to radio
communications. However, there is
no guarantee that interference will
not occur in a particular installation. If
this equipment does cause harmful
interference to radio or television
reception, which can be determined
by turning the equipment off and on,
the user is encouraged to try to
correct the interference by one or
more of the following measures:
– Reorient or relocate the receiving
antenna.
– Increase the separation between
the equipment and receiver.
– Connect the equipment into an
outlet on a circuit different from
that to which the receiver is
connected.
– Consult the dealer or an
experienced radio/TV technician
for help.
The supplied interface cable must be
used with the equipment in order to
comply with the limits for a digital
device pursuant to Subpart B of Part
15 of FCC Rules.
This device complies with Industry
Canada licence-exempt RSS
standard(s).
Operation is subject to the following
two conditions: (1) this device may
not cause interference, and (2) this
device must accept any interference,
including interference that may cause
undesired operation of the device.
Notice for the customers in
the countries applying EU
Directives
Manufacturer: Sony Corporation, 1-7-1
Konan Minato-ku Tokyo, 108-0075
Japan
For EU product compliance: Sony
Deutschland GmbH, Hedelfinger
Strasse 61, 70327 Stuttgart, Germany
Hereby, Sony Corporation, declares
that this equipment (HDR-CX440/
HDR-PJ410/HDR-PJ440) is in
compliance with the essential
requirements and other relevant
provisions of Directive 1999/5/EC. For
details, please access the following
URL:
http://www.compliance.sony.de/
Notice
If static electricity or
electromagnetism causes data
transfer to discontinue midway (fail),
restart the application or disconnect
and connect the communication
cable (USB, etc.) again.
For Customers in Canada
For Customers in Europe

GB
6
This product has been tested and
found compliant with the limits set
out in the EMC regulation for using
connection cables shorter than 3
meters (9.8 feet).
The electromagnetic fields at the
specific frequencies may influence
the picture and sound of this unit.
Disposal of waste batteries
and electrical and electronic
equipment (applicable in the
European Union and other
European countries with
separate collection systems)
This symbol on the
product, the battery or
on the packaging
indicates that the
product and the
battery shall not be
treated as household waste. On
certain batteries this symbol might be
used in combination with a chemical
symbol. The chemical symbols for
mercury (Hg) or lead (Pb) are added if
the battery contains more than
0.0005% mercury or 0.004% lead. By
ensuring these products and
batteries are disposed of correctly,
you will help prevent potentially
negative consequences for the
environment and human health
which could otherwise be caused by
inappropriate waste handling. The
recycling of the materials will help to
conserve natural resources.
In case of products that for safety,
performance or data integrity reasons
require a permanent connection with
an incorporated battery, this battery
should be replaced by qualified
service staff only. To ensure that the
battery and the electrical and
electronic equipment will be treated
properly, hand over these products at
end-of-life to the applicable
collection point for the recycling of
electrical and electronic equipment.
For all other batteries, please view the
section on how to remove the battery
from the product safely. Hand the
battery over to the applicable
collection point for the recycling of
waste batteries. For more detailed
information about recycling of this
product or battery, please contact
your local Civic Office, your household
waste disposal service or the shop
where you purchased the product or
battery.
For Customers in
Singapore
For Customers in U.A.E.

GB
7
Table of Contents
Read this first ............................ 2
Learning more about the
camcorder (Help Guide) .......7
Getting started .............8
Supplied items .......................... 8
Charging the battery pack ....... 9
Turning the power on ...............11
Inserting a memory card ......... 12
Recording/Playback ... 14
Recording ................................. 14
Playback ....................................16
Viewing images at a larger size
..............................................18
Saving images ............ 19
Using PlayMemories Home™
.............................................. 19
Connecting an external media
device ................................. 20
Using the Wi-Fi function (HDR-
CX440/PJ410/PJ440) .......... 21
Customizing your
camcorder ..................26
Using the menus ..................... 26
Others ........................ 27
Precautions ...............................27
Specifications .......................... 29
Parts and controls ................... 33
Learning more
about the
camcorder (Help
Guide)
Help Guide is an on-line manual.
Refer to it for in-depth instructions on
the many functions of the camcorder.
This manual describes 1080 60i-
compatible devices and 1080
50i-compatible devices.
To check whether your camera
is a 1080 60i-compatible device
or 1080 50i compatible device,
check for the following marks on
the bottom of the camera.
1080 60i-compatible device: 60i
1080 50i-compatible device: 50i
Access the Sony support
page.
http://rd1.sony.net/help/cam/
1440/h_zz/
You will find further information such
as the following functions in Help
Guide.
• Highlight Movie Maker
• Live Streaming
• Multi Camera Control

GB
8
Getting started
Supplied items
The numbers in ( ) indicate the
supplied quantity.
•Camcorder (1)
•AC Adaptor (1)
The shape of the AC Adaptor differs
depending on the countries/
regions.
• USB connection support cable (1)
The USB connection support cable
is designed for use with this
camcorder only. Use this cable
when the Built-in USB Cable of the
camcorder is too short for
connection.
•HDMI cable (1)
• Rechargeable battery pack NP-
BX1 (1)
• “Operating Guide” (This manual)
(1)

GB
9
Getting started
Charging the battery pack
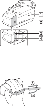
1Turn off your camcorder by closing the LCD monitor.
2Slide the battery cover in the direction of the arrow,
and open it.
3Insert the battery pack while pressing and holding
the battery release lever.
4Close the battery cover and slide it back securely.
5Pull out the Built-in USB Cable.
Battery release lever
Battery pack

GB
10
• Turn off your camcorder before you remove the battery pack.
Charging the battery using your computer
Turn off your camcorder and connect the camcorder to a running
computer using the Built-in USB Cable.
To use your camcorder connected to the wall outlet
(wall socket)
Connect the camcorder to the wall outlet (wall socket) in the same
way as “Charging the battery pack.”
• Insert the battery pack to the camcorder.
• The battery pack may be consumed even if the camcorder is connected
to the wall outlet (wall socket).
6Connect the AC Adaptor and the camcorder with the
USB connection support cable, and connect the AC
Adaptor to the wall outlet (wall socket).
• The POWER/CHG (charge) lamp turns orange.
• The POWER/CHG (charge) lamp turns off when the battery pack is
fully charged. Disconnect the USB connection support cable from the
camcorder.
• The shape of the AC Adaptor differs depending on the countries/
regions.
Built-in USB Cable
USB connection
support cable AC Adaptor
Wall outlet (wall socket)

GB
11
Getting started
Turning the power on
• To set the date and time again, select [Setup] [Clock
Settings] [Date & Time Setting]. (In case you haven’t used your
camcorder for several months)
• To turn off the operating sound, select [Setup]
[ General Settings] [Beep] [Off].
1Open the LCD monitor of your camcorder and turn
the power on.
2Select the language, the geographical area, Daylight
Savings or Summer Time, date format, and the date
and time.
Move the multi-selector towards /// to select the desired
item, and then press the center of the selector to complete the
selection.
• To turn off the power, close the LCD monitor.

GB
12
Inserting a memory card
• To select a memory card as the recording medium, select
[Setup] [ Media Settings] [Media Select] [Memory Card].
(HDR-CX440/PJ440)
• To eject the memory card, open the cover and lightly push the memory
card in once.
Types of memory card you can use with your
camcorder
Recording images in the XAVC S format
1Open the cover, and insert the memory card until it
clicks.
• The [Preparing image database file. Please wait.] screen appears if
you insert a new memory card. Wait until the screen disappears.
• Insert the memory card straight in the right direction so that the
camcorder can recognize it.
SD Speed Class Capacity (operation
verified)
microSDXC memory card Class 10 or faster Up to 64 GB
microSD memory card Memory Stick Micro™ (M2)
media
Printed
surface
Terminal

GB
13
Getting started
Recording images in a format other than XAVC S
SD Speed Class Capacity (operation
verified)
microSD memory card/
microSDHC memory card/
microSDXC memory card
Class 4 or faster Up to 64 GB
Memory Stick Micro (Mark2)
media
–Up to 16GB

GB
14
Recording/Playback
Recording
• In the default setting, movies are recorded with AVCHD and MP4 format
simultaneously (Dual Video REC). MP4 format is easy for playing back
your movies on a smartphone, for uploading to a network, or for
uploading to the Web.
• You can check the recording time of a medium on the LCD monitor in the
shooting mode.
• To change the image quality of the movies you record, select
[Image Quality/Size] [REC Mode].
• You can change the recording format by selecting [Image
Quality/Size] [ File Format].
Recording movies
1Open the lens cover.
2Open the LCD monitor, and press START/STOP to
start recording.
• To stop recording, press START/STOP again.
• You can record photos during movie recording by pressing PHOTO
(Dual Capture) except when [ SteadyShot] is set to [Intelligent
Active].
Power zoom lever

GB
15
Recording/Playback
Shooting photos
1Open the lens cover.
2Open the LCD monitor and select [MODE]
(Photo).
3Press PHOTO lightly to adjust the focus, then press it
fully.
• When the focus is adjusted properly, AE/AF lock indicator appears
on the LCD monitor.
Power zoom lever

GB
16
Playback
1Open the LCD monitor and press the (View
Images) button on the camcorder to enter the
playback mode.
2Select / to move the desired event to the
center, and then select the part circled () in the
figure.
* Highlight Movie Maker will be displayed when Movie format is set to
AVCHD.
• To select the XAVC S movies or AVCHD movies you want to play, edit,
or copy to other devices, select [Image Quality/Size]
[File Format].
To the MENU
screen
Event name
To the
previous event
To the next
event
Time-line bar
Change Event Scale button
Events
Change to the
movie/photo
recording
mode
Highlight Movie
Maker*
Switch Movie
Format
button (HD/
MP4)

GB
17
Recording/Playback
Playback operations
To select the format of the movie you want to play,
edit, or copy to other devices
In step 2, select at the top right of the LCD monitor [HD
Quality] or [ MP4].
3Select the image.
Volume / Previous/Next
Delete / Fast-reverse/Fast-forward
Context / Play/Pause
Stop Play/Stop slide show
Motion Shot Video Motion Interval ADJ
To go back to
the Event View
screen
Previous
Next
Change to the
movie/photo
recording
mode
Event name
Recorded time/
number of photos
Movie
Photo
Last played image
Switch
Image Type
button

GB
18
Viewing images at a larger size
Connecting the camcorder to a TV
1Connect the HDMI OUT jack of the camcorder to the
HDMI IN jack of a TV using the HDMI cable supplied.
• If your TV does not have an HDMI jack, connect the Multi Terminal of
the camcorder to the video/audio input jacks of the TV using an AV
cable (sold separately).
Using the built-in projector (HDR-PJ410/PJ440)
1Press the PROJECTOR button (page 33).
2Select [Image Shot on This Device].
3Follow the operating guide on the LCD monitor, and
then select [Project].
*1 Adjust the focus of the projected image.
*2 Use the power zoom lever to move the selection frame that appears
on the projected image, then press the PHOTO button. You can also
use the multi-selector for this operation.
Signal flow
Power zoom lever/PHOTO*2
PROJECTOR FOCUS lever*1

GB
19
Saving images
Saving images
Using PlayMemories Home™
PlayMemories Home allows you to import movies and photos to your
computer to use them in a variety of ways.
To download PlayMemories Home
PlayMemories Home can be downloaded from the following URL.
www.sony.net/pm/
To check the computer system
You can check the computer requirements for the
software at the following URL.
www.sony.net/pcenv/
What you can do with PlayMemories Home
Viewing
images on
Calendar
Sharing images on
PlayMemories
Online™
Import images from the camcorder.
Creating
movie
discs
Uploading
images to
network services
Playing back
imported images
For Windows, the following functions are
also available.

GB
20
Connecting an external media device
Recorder without a USB jack
Connect a recorder to the Multi Terminal of your camcorder using an
AV cable (sold separately).
Signal flow
Insert the battery pack to the camcorder.
Connect the AC Adaptor (supplied) to the camcorder.
Connect the AV cable (sold separately) to the camcorder.
• Movies are copied with standard definition image quality.
How to connect the device

GB
21
Saving images
Using the Wi-Fi
function (HDR-
CX440/PJ410/
PJ440)
For the latest information and
more detailed information on
the functions of PlayMemories
Mobile, visit the following URL.
http://www.sony.net/pmm/
Android OS
Install PlayMemories Mobile
from Google play.
• Android 4.0 or higher is required
to use One-Touch functions
(NFC).
iOS
Install PlayMemories Mobile
from App Store.
• One-touch functions (NFC) are
not available with iOS.
•You may not be able to
download PlayMemories Mobile
from Google play or App store
depending on the country or the
region.
In that case, search for
“PlayMemories Mobile”.
• If PlayMemories Mobile is already
installed in your smartphone,
update the software to the latest
version.
• The Wi-Fi function described here
is not guaranteed to work on all
smartphones and tablets.
• The Wi-Fi function of the
camcorder cannot be used
connected to a public wireless
LAN.
• To use the One-touch functions
(NFC) of the camcorder, a
smartphone or tablet supporting
the NFC function is required.
• The operation methods and
display screens for the
application are subject to change
without notice by future
upgrades.
Installing PlayMemories
Mobile™ on your
smartphone Notes

GB
22
One-touch connection
with an Android
supporting NFC
• Cancel the sleep mode or unlock
the screen on the smartphone
beforehand.
• Make sure that is displayed
on the LCD monitor of the
camcorder and the smartphone.
• Continue touching the
camcorder to the smartphone
without moving until
PlayMemories Mobile starts (1 to
2 seconds).
• If the camcorder cannot be
connected with the smartphone
by NFC, see “Connection without
using NFC” (page 22).
Connection without
using NFC
Transferring MP4 movies
and photos to your
smartphone
1On the smartphone, select
[Settings], then, select
[More...] to check that [NFC]
is enabled.
2On the camcorder, play back
an image to be sent to the
smartphone.
•You can transfer MP4 movies
and photos only.
•Select “Switch Movie Format
button” in Step 2 of “Playback”,
to select MP4 movies when you
play back movies (page 16).
3Touch the camcorder to the
smartphone.
Notes
1Press the (View Images)
button, then select
[Wireless] [Function]
[Send to Smartphone]
[Select on This Device]
image type.

GB
23
Saving images
You can record with the
camcorder using your
smartphone as a wireless
remote commander.
2Select the image you want to
transfer, and add , and
then select
.
•The SSID and a password are
displayed, and the camcorder is
ready to be connected with the
smartphone.
3Connect the camcorder to
the smartphone, and
transfer images.
Start up PlayMemories
Mobile and select the SSID of
the camcorder.
Input the password
displayed on the camcorder
(first time only).
Select [Settings] [Wi-Fi]
the SSID displayed on the
camcorder.
Input the password
displayed on the camcorder
(first time only).
Confirm that the SSID
displayed on the camcorder
is selected.
Android
iPhone/iPad
Return to Home, and start up
PlayMemories Mobile.
Using your smartphone
as a wireless remote
commander
1On your camcorder, select
[Wireless]
[ Function] [Ctrl with
Smartphone].
2On your smartphone,
perform in the same way as
in step 3 in “Connection
without using NFC”
(page 22).
When you use NFC, display the
recording screen on your
camcorder, and touch on the
camcorder to on the
smartphone.
3Operate the camcorder on
your smartphone.

GB
24
• Depending on local electrical
interference or the smartphone’s
capabilities, the live view images
may not be displayed smoothly.
Connect your computer to a
wireless access point or wireless
broadband router in advance.
Notes
Saving movies and
photos to your computer
via Wi-Fi
1Install the dedicated
software in your computer
(first time only).
Windows: PlayMemories Home
www.sony.net/pm/
Mac: Wireless Auto Import
http://www.sony.co.jp/imsoft/
Mac/
•If the software is already
installed in your computer,
update the software to the latest
version.
2Connect your camcorder to
an access point as follows
(first time only).
If you cannot register, refer to the
instruction of the access point, or
contact the person who set up the
access point.
If the wireless access point
has a WPS button
On your camcorder, select
[Wireless]
[ Setting] [WPS Push].
Press the WPS button on the
access point you want to
register.
If you know the SSID and
the password of your
wireless access point
On your camcorder, select
[Wireless]
[ Setting] [Access point
settings].
Select the access point you
want to register, enter the
password, then select [Next].
3If your computer is not
started, turn on the
computer.

GB
25
Saving images
4Start sending images from
the camcorder to the
computer.
Press the (View Images)
button on your camcorder.
Select [Wireless]
[ Function] [Send to
Computer].
• Images are automatically
transferred to and saved on
the computer.
• Only newly recorded images
are transferred. Importing
movies and multiple photos
may take time.

GB
26
Customizing your camcorder
Using the menus
• Select to finish setting the
menu or to return to the previous
menu screen.
1Select .
2Select a category.
Number of the category
which is displayed depends
on the model.
3Select a desired menu
item.
Scroll the menu items
up or down.

GB
27
Others
Others
Precautions
AC Adaptor
Do not short-circuit the battery
terminal with any metallic objects.
This may cause a malfunction.
Playing back images with
other devices
You may not be able to play back
images that were recorded on your
camcorder with other devices
normally. Also, you may not be able
to play back images recorded on
other devices with your camcorder.
Recording and playback
•Avoid rough handling,
disassembling, modifying, physical
shock, or impact such as
hammering, dropping or stepping
on the product. Be particularly
careful with the lens.
•To ensure stable operation of the
memory card, it is recommended to
format the memory card with your
camcorder before the first use.
Formatting the memory card will
erase all the data stored on it and
the data will be irrecoverable. Save
your important data on your PC, etc.
•Confirm the direction of the
memory card. If you forcibly insert
the memory card in the wrong
direction, the memory card,
memory card slot, or image data
may be damaged.
•Before starting to record, test the
recording function to make sure the
image and sound are recorded
without any problems.
•Television programs, films, video
tapes, and other materials may be
copyrighted. Unauthorized
recording of such materials may be
violate to the copyright laws.
•Compensation for the content of
recordings cannot be provided,
even if recording or playback is not
possible due to a malfunction of the
camcorder, recording media, etc.
•The camcorder is not dustproofed,
dripproofed or waterproofed.
•Do not let your camcorder get wet,
for example, from rain or sea water.
If your camcorder gets wet, it may
malfunction. Sometimes this
malfunction cannot be repaired.
•Do not aim the camcorder at the
sun or strong light. Doing so may
cause your camcorder to
malfunction.
•Do not use the camcorder near
strong radio waves or radiation. The
camcorder may not be able to
record or play back images
properly.
•Do not use the camcorder on a
sandy beach or anywhere dusty.
Doing so may cause your
camcorder to malfunction.
•If moisture condensation occurs,
stop using the camcorder until
moisture evaporates.
•Do not subject the camcorder to
mechanical shock or vibration. If
you do so, the camcorder may
operate incorrectly or may not
record images. In addition, the
recording medium or recorded data
may be damaged.
LCD monitor
The LCD monitor is manufactured
using extremely high-precision
technology, so over 99.99% of the
pixels are operational for effective
use. However, there may be some
tiny black points and/or bright points
(white, red, blue, or green in color)
that appear constantly on the LCD
monitor. These points are normal
results of the manufacturing process
and do not affect the recording in any
way.

GB
28
Camcorder temperature
If you use the camcorder
continuously for a long time, the
camcorder gets very warm. This is not
a malfunction.
Overheat protection
Depending on the camcorder and
battery temperature, you may be
unable to record movies or the power
may turn off automatically to protect
the camcorder. A message will be
displayed on the LCD monitor before
the power turns off or you can no
longer record movies. In this case,
leave the power off and wait until the
camcorder and battery temperature
goes down. If you turn on the power
without letting the camcorder and
battery cool enough, the power may
turn off again or you may be unable
to record movies.
Deactivating wireless LAN
(Wi-Fi, NFC, etc.) temporarily
(HDR-CX440/PJ410/PJ440)
When you board an airplane, you can
deactivate the Wi-Fi function
temporarily. Select
[Wireless] [ Setting]
[Airplane Mode] [On].
Wireless LAN (HDR-CX440/
PJ410/PJ440)
We assume no responsibility
whatsoever for any damage caused
by unauthorized access to, or
unauthorized use of, destinations
loaded on the camcorder, resulting
from loss or theft.
Notes on security when using
wireless LAN products (HDR-
CX440/PJ410/PJ440)
•Always make sure that you are
using a secure wireless LAN to avoid
hacking, access by malicious third
parties, or other vulnerabilities.
•It is important that you set the
security settings when using a
wireless LAN.
•If a security problem arises because
no security precautions are in place
or due to any inevitable
circumstances when using a
wireless LAN, Sony bears no
responsibility for the loss or
damage.
If you run into any problems using
your camcorder:
•Check your camcorder referring to
Help Guide (page 7).
•Disconnect the power source,
attach the power source again after
about 1 minute, and turn the
camcorder on.
•Initialize your camcorder.
All settings, including the clock
setting, are reset.
•Contact your Sony dealer or local
authorized Sony service facility.
Troubleshooting

GB
29
Others
Specifications
System
Signal format:
NTSC color, EIA standards (1080
60i compatible models)
PAL color, CCIR standards (1080
50i compatible models)
HD TV
Movie recording format:
XAVC S (XAVC S format)
Video: MPEG-4 AVC/H.264
Audio: MPEG-4 Linear PCM 2ch
(48 kHz/16 bit)
AVCHD (AVCHD format Ver.2.0
compatible):
Video: MPEG-4 AVC/H.264
Audio: Dolby Digital 2ch
Dolby Digital Stereo Creator*1
MP4:
Video: MPEG-4 AVC/H.264
Audio: MPEG-4 AAC-LC 2ch
*1 Manufactured under license
from Dolby Laboratories.
Photo file format:
DCF Ver.2.0 Compatible
Exif Ver.2.3 Compatible
MPF Baseline Compatible
Recording media (Movie/Photo):
Internal memory
HDR-CX440/PJ440: 8 GB*2
AVCHD, Photo
Memory Stick Micro (Mark2)
media
microSD card (Class 4 or faster)
XAVC S
microSDXC card (Class 10 or
faster)
*2 The capacity that a user can
use (Approx.) 7.76 GB
1 GB equals 1 billion bytes, a
portion of which is used for
system management and/or
application files. Only
preinstalled demonstration
movie may be deleted.
Image device:
3.1 mm (1/5.8 type) CMOS Sensor
Recording pixels (photo, 16:9):
Max. 9.2 mega pixels (4 032 ×
2272)
*3
Gross: Approx. 2 510 000 pixels
Effective (movie, 16:9)*4:
Approx. 2 290 000 pixels
Effective (photo, 16:9):
Approx. 2 290 000 pixels
Effective (photo, 4:3):
Approx. 1 710 000 pixels
Lens:
ZEISS Vario-Tessar Lens
30× (Optical)*4, 60× (Clear Image
Zoom, while recording movies)*5,
350× (Digital)
F1.8 - F4.0
Focal length:
f=1.9 mm - 57.0 mm (3/32 in. -
21/4 in.)
When converted to a 35 mm still
camera
For movies*4: 26.8 mm -
804.0 mm
(1 1/16 in. - 31 3/4 in.) (16:9)
For photos: 26.8 mm - 804.0 mm
(1 1/16 in. - 31 3/4 in.) (16:9)
Color temperature: [Auto], [One
Push], [Indoor], [Outdoor]
Minimum illumination:
6 lx (lux) (in default setting,
shutter speed 1/30 second (1080
60i compatible models) or
1/25 second (1080 50i compatible
models))
3 lx (lux) ([Low Lux] is set to [On],
shutter speed 1/30 second (1080
60i compatible models) or
1/25 second (1080 50i compatible
models))
*3 The unique image processing
system of Sony’s BIONZ-X
allows still image resolution
equivalent to the sizes
described.
*4 [ SteadyShot] is set to
[Standard] or [Off].
*5 [ SteadyShot] is set to
[Active].

GB
30
Input/Output connectors
HDMI OUT jack: HDMI micro
connector
PROJECTOR IN jack (HDR-PJ410/
PJ440): HDMI micro connector
USB jack: Type A (Built-in USB)
USB connector is only for output (For
customers in Europe).
Multi Terminal
LCD monitor
Picture: 6.7 cm (2.7 type, aspect ratio
16:9)
Total number of pixels:
230 400 (960 × 240)
Projector (HDR-PJ410/PJ440)
Projection type: DLP
Light source: LED (R/G/B)
Focus: Manual
Throw Distance: 0.5 m (1.6 feet) or
over
Contrast ratio: 1 500:1
Resolution (output): 640 × 360
Continuous projection time (when
using the supplied battery pack):
Approx. 1 h. 10 min.
Wireless LAN (HDR-CX440/PJ410/
PJ440)
Supported standard:
IEEE 802.11 b/g/n
Frequency: 2.4 GHz
Supported security protocols: WEP/
WPA-PSK/WPA2-PSK
Configuration method: WPS (Wi-Fi
Protected Setup)/manual
Access method: Infrastructure Mode
NFC: NFC Forum Type 3 Tag
compliant
General
Power requirements: DC 3.6 V
(battery pack), DC 5 V 1 500 mA
(AC Adaptor)
USB Charging: DC 5 V 800 mA
Average power consumption:
During camera recording using LCD
monitor at normal brightness:
HDR-CX405/CX440: 2.1 W
HDR-PJ410/PJ440: 2.2 W
Operating temperature: 0 °C to 40 °C
(32 °F to 104 °F)
Storage temperature: –20 °C to
+60 °C (–4 °F to +140 °F)
Dimensions (approx.):
HDR-CX405/CX440:
54.0 mm × 59.5 mm × 128.0 mm
(2 1/4 in. × 2 3/8 in. × 5 1/8 in.) (w/
h/d) including the projecting
parts
54.0 mm × 59.5 mm × 128.0 mm
(2 1/4 in. × 2 3/8 in. × 5 1/8 in.) (w/
h/d) including the projecting
parts, and the supplied
rechargeable battery pack
inserted
HDR-PJ410/PJ440:
59.0 mm × 59.5 mm × 128.0 mm
(2 3/8 in. × 2 3/8 in. × 5 1/8 in.)
(w/h/d) including the projecting
parts
59.0 mm × 59.5 mm × 128.0 mm
(2 3/8 in. × 2 3/8 in. × 5 1/8 in.)
(w/h/d) including the projecting
parts, and the supplied
rechargeable battery pack
inserted
Mass (approx.)
HDR-CX405/CX440:
190 g (6.7 oz) main unit only
215 g (7.6 oz) including the
supplied rechargeable battery
pack
HDR-PJ410/PJ440:
210 g (7.4 oz) main unit only
235 g (8.3 oz) including the
supplied rechargeable battery
pack
AC Adaptor AC-UUD11/
AC-UD10
Power requirements: AC 100 V -
240V, 50Hz/60Hz
Power consumption: 11 W
Output voltage: DC 5.0 V, 1 500 mA

GB
31
Others
Rechargeable battery
pack NP-BX1
Used battery: Lithium-ion battery
Maximum voltage: DC 4.2 V
Nominal voltage: DC 3.6 V
Maximum charge voltage: DC 4.2 V
Maximum charge current: 1.89 A
Capacity: 4.5 Wh (1 240 mAh)
Design and specifications of your
camcorder and accessories are
subject to change without notice.
HDR-CX405/CX440
HDR-PJ410/PJ440
•The charging times are measured
when charging the camcorder at a
room temperature of 25 °C (77 °F)
without using the USB Connection
support cable.
•The recording and playback times
are measured when using the
camcorder at 25 °C (77 °F).
•The recording times are measured
when recording movies with the
default settings ([ REC Mode]:
[High Quality ], [Dual Video
REC]: [On]).
•Typical recording time shows the
time when you repeat recording
start/stop, switching the [Shooting
Mode], and zooming.
Trademarks
•AVCHD, AVCHD Progressive, AVCHD
logotype and AVCHD Progressive
logotype are trademarks of
Panasonic Corporation and Sony
Corporation.
•XAVC S and are
registered trademarks of Sony
Corporation.
•Memory Stick and are
trademarks or registered
trademarks of Sony Corporation.
•Blu-ray Disc™ and Blu-ray™ are
trademarks of the Blu-ray Disc
Association.
•Dolby and the double-D symbol are
trademarks of Dolby Laboratories.
Estimated time of
charging, recording, and
playback using the
supplied battery pack
Charging time (minutes)
AC Adaptor
(supplied)
155
Computer 275
Recording time (minutes)
Continuous 115
Typical 55
Playback time (minutes) 210
Charging time (minutes)
AC Adaptor
(supplied)
155
Computer 275
Recording time (minutes)
Continuous 110
Typical 55
Playback time (minutes) 210
GB
32
•The terms HDMI and HDMI High-
Definition Multimedia Interface, and
the HDMI Logo are trademarks or
registered trademarks of HDMI
Licensing LLC in the United States
and other countries.
•Microsoft, Windows, and Windows
Vista are either registered
trademarks or trademarks of
Microsoft Corporation in the United
States and/or other countries.
•Mac and Mac OS are registered
trademarks of Apple Inc. in the
United States and other countries.
•Intel, Intel Core, and Pentium are
trademarks of Intel Corporation in
the U.S. and/or other countries.
•microSDXC logo is a trademark of
SD-3C, LLC.
•Android, Google Play are
trademarks of Google Inc.
•iOS is a registered trademark or
trademark of Cisco Systems, Inc.
•Wi-Fi, the Wi-Fi logo, Wi-Fi
PROTECTED SET-UP are registered
trademarks of the Wi-Fi Alliance.
•The N Mark is a trademark or
registered trademark of NFC Forum,
Inc. in the United States and in other
countries.
•Facebook and the “f” logo are
trademarks or registered
trademarks of Facebook, Inc.
•YouTube and the YouTube logo are
trademarks or registered
trademarks of Google Inc.
•iPhone and iPad are trademarks of
Apple Inc., registered in the U.S. and
other countries.
All other product names mentioned
herein may be the trademarks or
registered trademarks of their
respective companies. Furthermore,
™ and ® are not mentioned in each
case in this manual.

GB
33
Others
Parts and controls
Figures in ( ) are reference
pages.
Power zoom lever (14, 15)
PHOTO button (15)
N mark (22) (HDR-CX440/
PJ410/PJ440)
NFC: Near Field
Communication
LENS COVER switch (14, 15)
Lens (ZEISS lens)
Built-in microphone
PROJECTOR FOCUS lever (18)
(HDR-PJ410/PJ440)
Multi-selector (11)
(View Images) button (16)
PROJECTOR button (18)
(HDR-PJ410/PJ440)
LCD monitor
Projector lens (HDR-PJ410/
PJ440)
Speaker
Memory card slot (12)
Memory card access lamp
(12)
HDMI OUT jack (18)
PROJECTOR IN jack (HDR-
PJ410/PJ440)
POWER/CHG (charge) lamp
(10)
START/STOP button (14)
Loop for a shoulder belt
Multi Terminal
This terminal does not support
VMC-AVM1 Adaptor Cable (sold
separately). You cannot use
accessories via an A/V remote
connector.
Grip belt
Built-in USB Cable (9)

GB
35
Others

