Sony PEG SL10 SL10/SJ20/SJ30 User Manual Operating Instructions (primary Manual) PEGSL10
PDF Sony CLIE PEG-SL10 Handheld T E X T F I L E S
Sony CLIE PEG-SL10 Handheld Sony CLIE PEG-SL10 Handheld
User manual PEGSL10 Sony PEG-SL10 CLIE Handheld Device User Manuals and Instruction Guides
Sony CLIE PEG-SL10 Handheld Operating Manual docget Troubleshoot Sony CLIE PEG-SL10 Handheld |
User Manual: Sony PEG-SL10 Operating Instructions (primary manual)
Open the PDF directly: View PDF
.
Page Count: 222 [warning: Documents this large are best viewed by clicking the View PDF Link!]
- Table of contents
- About this manual
- Chapter 1: Basic operations of your Sony CLIÉ Handheld
- Chapter 2: Using basic applications
- Chapter 3: Exchanging and updating data using a HotSync® operation
- Chapter 4: Communicating using your Sony CLIÉ Handheld
- Beaming between your Sony CLIÉ Handheld and another Palm OS® PDA
- Using Memory Stick® media
- What is Memory Stick® media?
- Inserting and removing Memory Stick media
- Protecting the data in Memory Stick media
- Starting an application in Memory Stick media
- Starting an application automatically when Memory Stick media is inserted
- Viewing information of the inserted Memory Stick media (Card Info)
- Formatting Memory Stick media
- Exchanging data via Memory Stick® media
- Starting the Memory Stick® Gate (MS Gate) application
- Copying your CLIÉ handheld data to Memory Stick media
- Copying data in Memory Stick media to your CLIÉ handheld
- Deleting data in Memory Stick media
- Using the Memory Stick Gate menus
- Installing applications to/from Memory Stick media without using the Memory Stick Gate application
- Chapter 5: Customizing your Sony CLIÉ Handheld (Preferences)
- What you can do with Preferences
- Changing the Buttons preferences
- Changing the Jog Dial™ navigator preferences
- Setting the display format of the time, date, and numbers (Formats)
- Setting the Date & Time preferences
- Setting the General preferences
- Entering owner information
- Creating Graffiti® ShortCuts
- Changing the Network preferences
- Setting the High Resolution Assist function
- Chapter 6: Additional information

© 2002 Sony Corporation
Operating
Instructions
Chapter 1
Chapter 2
Chapter 3
Chapter 4
Chapter 5
Chapter 6
Personal Entertainment Organizer
PEG-SL10/PEG-SJ20/PEG-SJ30
Basic operations of your
Sony CLIÉ Handheld
Using basic applications
Exchanging and updating
data using a HotSync®
operation
Communicating using
your Sony CLIÉ Handheld
Customizing your Sony
CLIÉ Handheld
(Preferences)
Additional information
A-B8F-100-11(2)

2
Continued on next page
About this manual .................................5
Differences between the PEG-SL10,
PEG-SJ20, and PEG-SJ30 ......................... 6
Chapter 1
Basic operations of your Sony CLIÉ
Handheld
Turning your Sony CLIÉ Handheld
on and off ..............................................8
Using the stylus......................................9
Using the Jog Dial™ navigator............11
Entering data into your Sony CLIÉ
Handheld..............................................12
Using Graffiti® writing to enter data..... 12
Using the onscreen keyboard ................ 21
Using your computer keyboard.............. 23
Adjusting the screen ............................24
Resetting your Sony CLIÉ Handheld.....25
Performing a soft reset .......................... 25
Performing a hard reset......................... 26
Chapter 2
Using basic applications
Managing schedules and events
(Date Book) .................................28
Scheduling an event .............................. 28
Checking schedules ............................... 35
Editing Date Book events ...................... 41
Using the Date Book menus .................. 46
Managing addresses and phone
numbers (Address Book).............48
Creating a new Address Book entry ...... 48
Table of contents
Viewing Address Book entries ............... 50
Editing Address Book entries................. 54
Using the Address Book menus ............. 60
Managing tasks and things to do
(To Do List)..................................62
Creating To Do List items ...................... 62
Viewing To Do List items ....................... 63
Checking off a To Do List item............... 64
Working with To Do List ........................ 65
Using the To Do List menus ................... 69
Creating memos (Memo Pad) ......70
Creating a new memo ........................... 70
Reviewing memos ................................. 72
Editing memos....................................... 75
Using the Memo Pad menus.................. 77
Using Calculator (Calc)..................78
Calculating with Calculator ................... 78
Using the Calculator buttons ................. 79
Using the Calculator menus................... 79
Performing common tasks ...................80
Using the Application Launcher............. 80
Categorizing records.............................. 84
Finding records ...................................... 87
Protecting your data (Security) .............. 91
Attaching notes ..................................... 97
Purging records ..................................... 98
Using the Edit menu .............................. 99
Choosing fonts .................................... 100
Chapter 3
Exchanging and updating data
using a HotSync® operation

3
Table of contents
Continued on next page
What is a HotSync® operation? .........102
Performing a local HotSync® operation
with the USB cable.............................103
Using the Palm™ Desktop for CLIÉ
software.............................................105
Starting the Palm™ Desktop for CLIÉ
software .............................................. 105
Basic operations of the Palm
Desktop for CLIÉ software ................... 105
Locating the Palm Desktop for CLIÉ
components......................................... 106
Advanced HotSync® operations ........107
Setting the HotSync® setup options .... 107
Customizing HotSync application
settings (Conduit) ................................ 109
Conducting an IR HotSync operation... 111
Conducting a HotSync operation
via modem........................................... 114
Conducting a HotSync operation
via a network....................................... 120
Importing data from a Windows
application........................................... 125
Synchronizing with external data
(File Link)............................................. 127
Chapter 4
Communicating using your
Sony CLIÉ Handheld
Beaming between your Sony CLIÉ
Handheld and another Palm OS
®
PDA
....129
What you can do with beaming........... 129
Beaming information........................... 130
Receiving beamed information............ 131
Tips on beaming information............... 131
Using Memory Stick® media..............132
What is Memory Stick® media? .......... 132
Inserting and removing Memory
Stick media .......................................... 133
Protecting the data in Memory
Stick media .......................................... 135
Starting an application in Memory
Stick media .......................................... 136
Starting an application automatically
when Memory Stick media is inserted
.... 136
Viewing information of the inserted
Memory Stick media (Card Info) .......... 137
Formatting Memory Stick media.......... 138
Exchanging data via Memory Stick®
media .................................................140
Starting the Memory Stick®
Gate (MS Gate) application ................. 140
Copying your CLIÉ handheld data to
Memory Stick media............................ 143
Copying data in Memory Stick media to
your CLIÉ handheld.............................. 145
Deleting data in Memory Stick media.. 148
Using the Memory Stick Gate menus... 150
Installing applications to/from
Memory Stick media without using
the Memory Stick Gate application ..... 151
Chapter 5
Customizing your Sony CLIÉ
Handheld (Preferences)
What you can do with Preferences
..................................................154
Changing the Buttons preferences ....156
Assigning applications to buttons ....... 156
Changing the full-screen pen stroke
activities .............................................. 157

4
Table of contents
Assigning applications to HotSync®
buttons ................................................ 158
Changing the Jog Dial™ navigator
preferences ........................................159
Setting the display format of the time,
date, and numbers (Formats).............160
Selecting a region default.................... 160
Selecting the time, date, and numbers
formats ................................................ 161
Setting the Date & Time preferences
...162
Setting the date................................... 162
Setting the time................................... 163
Setting the time zone and
daylight saving time ............................ 164
Setting the General preferences........165
Setting the automatic shut-off time..... 165
Setting sounds..................................... 166
Turning the Alarm LED on or off
(PEG-SJ20/PEG-SJ30) ........................... 167
Turning the Beam Receive feature
on or off............................................... 168
Entering owner information ..............169
Creating Graffiti® ShortCuts .............170
Changing the Network preferences...172
Selecting a service ............................... 172
Entering a user name........................... 173
Entering a password............................ 173
Selecting a connection......................... 174
Adding telephone settings................... 174
Creating additional service templates
.... 175
Adding detailed information to a
service template .................................. 177
Creating log in scripts.......................... 178
Using the Network preferences menus
... 181
Setting the High Resolution Assist
function..............................................182
Chapter 6
Additional information
Backing up data of your Sony CLIÉ
Handheld............................................184
Backing up data to your computer
through a HotSync® operation ............ 184
Backing up all CLIÉ data to a Memory
Stick® media (using the Memory Stick
Backup application)............................. 185
Backing up CLIÉ handheld data to
a Memory Stick media using the
Memory Stick Gate application............ 187
Using data of another Sony CLIÉ
Handheld............................................189
Using the Palm™ Desktop for CLIÉ
software to transfer data..................... 189
Using Memory Stick® media
to transfer data.................................... 191
Performing a HotSync® operation between
your old CLIÉ handheld and the new
Palm Desktop for CLIÉ software .......... 193
Precautions ........................................194
Notes on use ....................................... 194
Battery considerations (PEG-SL10) ...... 195
Battery considerations
(PEG-SJ20/PEG-SJ30) ........................... 198
Troubleshooting – Frequently Asked
Questions ...........................................200
If you still cannot perform a HotSync®
operation ............................................. 213
Getting Help.......................................214
Specifications.....................................215
Index ..................................................217

5
About this manual
Welcome to the Sony Personal Entertainment Organizer (referred to as the
“CLIÉ handheld” in this manual).
Your CLIÉ handheld comes with three manuals:
Read This First
Read This First provides an overview of your CLIÉ handheld’s features,
hardware and software setup, installation instructions, and other important
details. Before reading the other manuals, read the Read This First manual.
Operating Instructions (this manual)
This manual describes all you need to know about how to use your CLIÉ
handheld and the Personal Information Management applications that come
with it.
The manual shows you how to:
■Turn your CLIÉ handheld on and off, reset your CLIÉ handheld, and
enter data (Chapter 1)
■Use Personal Information Management applications: Date Book, Address
Book, To Do List, Memo Pad, and Calculator (Chapter 2)
■Perform a HotSync® operation with your computer (Chapter 3)
■Exchange data with another handheld by beaming or via Memory Stick®
media (Chapter 4)
■Personalize your CLIÉ handheld with your own preferences settings
(Chapter 5)
■Maintain your CLIÉ handheld and work with the Troubleshooting
section and other technical information (Chapter6)
Add-on Application Guide
The Add-on Application Guide describes how to install and use the supplied
add-on applications, including:
■PictureGear Pocket and PictureGear 4.6Lite
■PhotoStand
■ CLIÉ Paint
■gMovie player
■World Alarm Clock
■Memory Stick Autorun (MS Autorun)
■
Memory Stick Import (MS Import) and Memory Stick Export (MS Export)

6
About this manual
Differences between the PEG-SL10, PEG-SJ20, and PEG-SJ30
This manual describes the operation of three CLIÉ handheld models: PEG-
SL10, PEG-SJ20, and PEG-SJ30.
Following is the major differences in these models:
PEG-SL10
•Two AAA (LR03) batteries
•Monochrome LCD
PEG-SJ20
•Built-in rechargeable battery
•Monochrome LCD
PEG-SJ30
•Built-in rechargeable battery
•Color LCD
Illustrations used in this manual
All illustrations of the unit and screen images are of the PEG-SJ30, unless
specified otherwise. Differences between the three models are described at
relevant points throughout the manual.
Note
Some models described in this manual are unavailable in some areas.

Chapter 1
Basic operations of your Sony CLIÉ Handheld
This chapter describes how to turn your CLIÉ handheld on and off, enter data, and
perform other basic operations.
Contents
Turning your Sony CLIÉ Handheld on and off.............................. 8
Using the stylus........................................................................... 9
Using the Jog Dial™ navigator ................................................. 11
Entering data into your Sony CLIÉ Handheld............................. 12
Using Graffiti® writing to enter data.................................... 12
Using the onscreen keyboard............................................... 21
Using your computer keyboard ............................................ 23
Adjusting the screen ................................................................. 24
Resetting your Sony CLIÉ Handheld .......................................... 25
Performing a soft reset ........................................................ 25
Performing a hard reset ....................................................... 26

Chapter 1 Basic operations of your Sony CLIÉ Handheld 8
Turning on your CLIÉ handheld
Press the POWER button.
Your CLIÉ handheld is turned on, and the last screen you viewed is
displayed.
When you turn on your CLIÉ handheld for the first time, the Setup screen
appears.
Tip
You can set the power to turn on/off with the BACK button. For details, see
page 159.
Turning off your CLIÉ handheld
Press the POWER button again.
The power is turned off. You do not have to save data, quit an application or
perform any of the other shutdown procedures that your computer requires.
Note
If you press the POWER button and hold it down for two seconds or longer, you can
turn the backlight on the screen on or off.
Turning your Sony CLIÉ Handheld on and off
Press the POWER button.
BACK button

Chapter 1 Basic operations of your Sony CLIÉ Handheld 9
With your CLIÉ handheld, you can use the supplied stylus to enter
characters or specify an application you want to run.
Taking out the stylus
The stylus is stored in the holder on the back panel of your CLIÉ handheld.
Pull it out when using your CLIÉ handheld.
To avoid losing the stylus, always put it back in its holder on your CLIÉ
handheld after use.
Tapping
When you enter characters on the onscreen keyboard of your CLIÉ
handheld, open an application, or select an item, press lightly on the desired
button or icon with the stylus.
This action is called “tapping.”
Using the stylus
Take out the stylus.
Press lightly (tap) on the screen.

Chapter 1 Basic operations of your Sony CLIÉ Handheld 10
Dragging
Just as you can drag the mouse to select (and drag) text or move objects on
your computer, you can also use the stylus to drag an item on the screen of
your CLIÉ handheld. Press the stylus lightly on the item and move it along
the screen surface.
Examples of dragging:
To display data above or below the current viewing area on the screen, use
the stylus to drag the slider of any scroll bar.
To select multiple characters or items together, use the stylus to drag along
the desired characters or items.
Full-screen dragging
By default, full-screen dragging from the bottom of the writing area to the
top of the screen displays the Graffiti® Help on the screen. You can assign
the full-screen dragging to another activity. See page 157 for details.
Using the stylus
Touch the desired item on the screen
with the stylus and move it along the
screen surface (drag).

Chapter 1 Basic operations of your Sony CLIÉ Handheld 11
Using the Jog Dial™ navigator
Your CLIÉ handheld is equipped with a Jog Dial™
navigator, which allows you to perform all major
operations without the stylus. You can operate your
CLIÉ handheld using the Jog Dial navigator with just
one hand.
The icon of any application that supports Jog Dial
navigator operations is marked with the Jog Dial
navigator mark*.
For applications not supporting the Jog Dial navigator operations, you can use
the JogAssist function to enable Jog Dial navigator operations. For details, see
“Changing the Jog Dial™ navigator preferences” on page 159.
*The World Alarm Clock icon and PhotoStand icon and CLIÉ Paint icon do
not have the mark, but supports the Jog Dial navigator operations.
Rotating the Jog Dial navigator
Rotate the Jog Dial navigator to select various items
in succession or to select an application to start.
The operations you can perform by rotating the Jog
Dial navigator differ depending on the application
you are using. For details, refer to the instructions for
each application.
Pressing the Jog Dial navigator
Press the Jog Dial navigator to highlight the item
selected by rotating the Jog Dial navigator, or to run
the selected application.
The operations you can perform by pressing the Jog
Dial navigator differ depending on the application
you are using. For details, refer to the instructions for
each application.
Rotating while holding down the Jog Dial navigator
Some applications support operations executed by rotating and pressing the
Jog Dial navigator. For details, refer to the instructions for each application.
mark

Chapter 1 Basic operations of your Sony CLIÉ Handheld 12
Entering data into your Sony CLIÉ Handheld
Using Graffiti® writing to enter data
This section describes the procedures for creating letters, numbers,
punctuation, and symbols, and teaches you some Graffiti® tips and tricks.
What is Graffiti writing?
Most people find they can enter text quickly and accurately with only
minutes of practice. Graffiti writing includes any character you can type on a
standard keyboard. The Graffiti strokes closely resemble the upper case
letters of the regular alphabet, which makes Graffiti writing easy to learn.
There are four basic concepts for success with Graffiti writing:
•If you draw the character shape exactly as shown in the Writing Graffiti
alphabet table in this chapter, and as shown below, you can achieve 100%
accuracy.
•The heavy dot on each shape shows where to begin the stroke. Certain
characters have similar shapes, but different beginning and end points.
Always begin the stroke at the heavy dot (you should not create the heavy
dot; it is only there to show you where to begin the stroke).
•Most characters require only a single stroke. When you lift the stylus from
the Graffiti writing area, your CLIÉ handheld recognizes and displays the
text character immediately.
To allow you to write an entire character with a single stroke, some
Graffiti strokes are portions of the regular alphabet equivalents.
•The Graffiti writing area is divided into two parts: one for writing the
letters of the alphabet and one for writing numbers. The small marks at
the top and bottom of the Graffiti writing area separate the two areas.
Graffiti writing examples:
A, B, C, D, and E
Division marks
Write letters here Write numbers here

Chapter 1 Basic operations of your Sony CLIÉ Handheld 13
Entering data into your Sony CLIÉ Handheld
Writing Graffiti letters
1Tap where you want your text to go.
Note
You need to tap above the Graffiti writing area, and you must see a flashing cursor
before you write the text.
2Use the tables on the following pages to find the stroke
shape for the letter you want to create. For example, the
stroke shown below creates the letter “n.”
Note
There are two different stroke shapes available for some letters. For these letters,
choose the one that’s easiest for you.
As you will see later, you use the same shape to create both the upper
case and lower case version of a letter.
3Position the stylus in the left-hand side of the Graffiti writing
area.
4Start your stroke at the heavy dot and draw the stroke shape
as it appears in the tables.
5Lift the stylus from the screen at the end of the stroke shape.
That is all there is to it. When you lift the stylus from the screen, your
CLIÉ handheld recognizes your stroke immediately and prints the letter
at the insertion point on the screen.
As soon as you lift the stylus from the screen, you can begin the stroke for
the next character you want to write.
Lift stylus here
Start stroke at heavy dot
Position the stylus
Continued on next page

Chapter 1 Basic operations of your Sony CLIÉ Handheld 14
Entering data into your Sony CLIÉ Handheld
Note
You must begin the character strokes in the Graffiti writing area. If you do not
make Graffiti strokes in the Graffiti writing area, your CLIÉ handheld does not
recognize them as text characters.
Tips
•Accuracy improves when you write large characters. You should draw strokes that
nearly fill the Graffiti writing area.
•To delete characters, simply set the insertion point to the right of the character you
want to delete and make the backspace stroke (a line from right to left) in the Graffiti
writing area.
• Write at natural speed. Writing too slowly can generate recognition errors.
•Do not write on a slant. Vertical strokes should be parallel to the sides of the Graffiti
writing area.
•Press firmly.
To display the Graffiti onscreen help
Drag the stylus from the bottom of the writing area to the top of the screen. Graffiti
Help opens a series of screens that show the complete Graffiti character set.

Chapter 1 Basic operations of your Sony CLIÉ Handheld 15
Entering data into your Sony CLIÉ Handheld
Writing Graffiti alphabet
Write Graffiti letters corresponding to the letters of the alphabet, as shown
below, in the left-hand side of the Graffiti writing area.
A N
B O
C P
D Q
E R
F S
G T
H U
I V
J W
K X
L Y
M Z
Space Back Space
Carriage Return Period Tap twice
Continued on next page

Chapter 1 Basic operations of your Sony CLIÉ Handheld 16
Entering data into your Sony CLIÉ Handheld
To write capital letters
Shift to caps and then you can make capital letters with the same stroke
shapes as the basic alphabet characters.
•To draw the first letter of a word as a capital letter
Use the Caps Shift stroke .
To return to the lower case, use the Backspace stroke .
Note
When you create a new sentence or a new record (by tapping New or a blank line),
the first letter is automatically capitalized.
•To enter only capital letters (Caps Lock)
Use the Caps Lock stroke .
To return to the lower case, use the Caps Shift stroke .
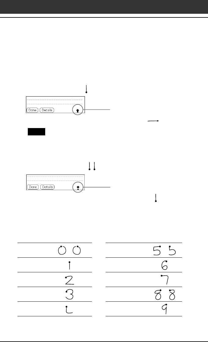
Writing numbers
Write the following Graffiti numbers on the right-hand side (numbers side)
of the Graffiti writing area.
0 5
1 6
2 7
3 8
4 9
Caps Shift
Caps Lock

Chapter 1 Basic operations of your Sony CLIÉ Handheld 17
Entering data into your Sony CLIÉ Handheld
Writing punctuation marks
Make a single tap on the Graffiti writing area to activate Punctuation Shift.
The next stroke you make anywhere in the Graffiti area (the letters or
numbers side) creates a punctuation mark.
(.) Period (—) Dash
(,) Comma ( ( ) Left Paren
(‘) Apostrophe ( ) ) Right Paren
(?) Question (/) Slash
(!) Exclamation ($) Dollar
(@) At (\) Back slash
(#) Number ({) Left brace
(%) Percent (}) Right brace
(^) Circumflex ([) Left square bracket
(&) Ampersand (]) Right square bracket
(*) Asterisk (-) Swung dash
(<) Left angle bracket
(\) Grave accent
(>) Right angle bracket
(;) Semicolon
(_) Under bar (:) Colon
(“) Ditto Tab
Punctuation Shift

Chapter 1 Basic operations of your Sony CLIÉ Handheld 18
Entering data into your Sony CLIÉ Handheld
Symbol Shift
Writing symbols and extended characters
Make a Symbol Shift stroke on the Graffiti writing area to activate Symbol
Shift. The next stroke you make creates a symbol or extended character.
(•) Bullet x
(™) Trademark ÷
(®) Registered =
(©) Copyrighted (¢) Cent
(‘) Left single quotation
(¥) Yen
(’) Right single quotation
(£) Pound
(“) Left double quotation
() Euro
(”) Right double quotation
¿
(§) Section ¡
(º) Degree ß
+ µ
– ƒ
ø

Chapter 1 Basic operations of your Sony CLIÉ Handheld 19
Entering data into your Sony CLIÉ Handheld
Writing accented characters and non-English characters
To create accented characters, draw the stroke normally used to create the
letter, followed by an accent stroke. Graffiti writing then adds the accent to
the letter.
To enter “é,” for example, draw and then .
à è ì ò ù á é í ó ú ´y
â ê î ô û ã õ ñ
ä ï ö ü ÿ å
To write non-English characters
You can write the following characters without any special punctuation or
shifting:
ç æ
Note
You must write these non-English characters on the left side of the Graffiti writing area.

Chapter 1 Basic operations of your Sony CLIÉ Handheld 20
Entering data into your Sony CLIÉ handheld
Using Navigation strokes
In addition to character symbols, Graffiti writing includes special strokes
that you can use to navigate within text or fields in your applications.
Move cursor right
Move cursor left
Go to the previous field (Address Book only)
Go to the next field (Address Book only)
Open Address Record (Address Book only)
Using Graffiti ShortCuts
Graffiti ShortCuts, similar to the glossary or autotext features of some word
processors, allow you to enter commonly used words or phrases quickly and
easily. In addition to the following predefined ShortCuts, you can create
your own ShortCuts for your name or the header of a memo (page 170).
Each ShortCut can represent up to 45 characters.
To use a ShortCut, draw the ShortCut stroke followed by the ShortCut
characters. When you draw the ShortCut stroke, the ShortCut symbol
appears at the insertion point to show that you are in ShortCut mode.
When you enter and dts ( ,
, and ), you can enter date and time
stamps.
Date stamp ds Breakfast br
Time stamp ts Lunch lu
Date/time stamps dts Dinner di
Meeting me

Chapter 1 Basic operations of your Sony CLIÉ Handheld 21
Entering data into your Sony CLIÉ Handheld
Using the onscreen keyboard
You can open the onscreen keyboard any time you need to enter text or
numbers into your CLIÉ handheld. Note that you cannot enter Graffiti
characters while using the onscreen keyboard.
To use the onscreen keyboard:
1Open any application (such as Memo Pad).
2Tap any record, or tap New.
3Tap “a” to open the alphabetic keyboard, or tap “1” to open
the numeric keyboard.
The selected keyboard is displayed.
Tap here for the
numeric keyboard
Tap here for the
alphabetic keyboard
Continued on next page

Chapter 1 Basic operations of your Sony CLIÉ Handheld 22
Entering data into your Sony CLIÉ Handheld
4Select the desired keyboard and tap the characters to enter
text and numbers.
You can use the onscreen keyboard in the same way as in the keyboard of
your computer. To enter capital letter, tap cap and then tap the character
button. To delete a character, tap B.
5After you finish, tap Done to close the onscreen keyboard
and place the text in the record.
Tab
Caps shift
Caps lock
Backspace
Tap here to display alphabetic keyboard
Tap here to display international
keyboard
Tap here to display numeric
keyboard
Carriage return
Alphabetic
Numeric International

Chapter 1 Basic operations of your Sony CLIÉ Handheld 23
Entering data into your Sony CLIÉ Handheld
Using your computer keyboard
If you have a lot of data to enter, or prefer to use the computer keyboard,
you can use the Palm™ Desktop for CLIÉ software or any other supported
personal information manager (PIM), such as Microsoft Outlook®, to enter
information. You can then perform a HotSync® operation to synchronize the
information on your computer with the information on your CLIÉ handheld.
All the main applications on your CLIÉ handheld are also available in the
Palm Desktop for CLIÉ software and in most PIMs, so you don’t need to
learn different applications.
Refer to the Palm Desktop for CLIÉ software online Help for more
information on entering data on your computer.
To import data from your computer or another handheld
If you have data stored in computer applications such as spreadsheets, databases, or if
you want to import data from another handheld, you can transfer the data to your CLIÉ
handheld and use it without entering data manually. Save the data in a compatible file
format (.csv, .txt, .tab, .tsv, .dba, .aba, .tda, .mpa), import it into your Palm Desktop for
CLIÉ software, and then perform a HotSync operation to transfer the data to your CLIÉ
handheld. For details, see “Chapter 3: Exchanging and updating data using a HotSync®
operation.”

Chapter 1 Basic operations of your Sony CLIÉ Handheld 24
Adjusting the screen
You can turn the backlight on or off, and adjust the contrast (PEG-SL10/
PEG-SJ20) or brightness (PEG-SJ30) according to the lighting conditions or
temperature of the environment where you use your CLIÉ handheld.
Turning the backlight off and on
Press and hold down the POWER button for more than two seconds to turn
the backlight off or on.
Adjusting the contrast or brightness
Using the onscreen contrast (PEG-SL10/PEG-SJ20) or brightness (PEG-SJ30)
control, adjust the screen contrast or brightness as follows:
1Tap 6 for PEG-SL10/PEG-SJ20 or 8 for PEG-SJ30.
The adjustment control screen is displayed.
2To change the level in small increments, tap to the left or
right.
To change the brightness/contrast level in larger increments,
drag the slider to the left or right.
Tip
You can also press the scroll button or rotate the Jog Dial navigator to move the
slider incrementally.
3Tap Done.
Note
If the digitizer is not configured correctly, you may not be able to make the
adjustments properly. For details, see “Turning on your Sony CLIÉ Handheld for
the first time” in the Read This First manual.
Tap this icon.
Tap this icon.
PEG-SJ30
PEG-SL10/PEG-SJ20

Chapter 1 Basic operations of your Sony CLIÉ Handheld 25
Resetting your Sony CLIÉ Handheld
Under normal circumstances, you do not have to reset your CLIÉ handheld.
On rare occasions, however, your CLIÉ handheld may no longer respond to
buttons or the screen due to insufficient memory or other reasons. In this
case, you need to perform a reset to get your CLIÉ handheld running again.
Performing a soft reset
A soft reset tells your CLIÉ handheld to stop what it’s doing and start over
again. All records and entries stored in your CLIÉ handheld are retained in
a soft reset.
1Take out the reset tip by unscrewing the metal barrel from
the stylus quill.
2Use the reset tip to gently press the reset button inside the
hole on the back panel of your CLIÉ handheld.
The system shuts down and then restarts.
After restarting, the system displays “palm powered,” “CLIÉ,” and
“SONY,” followed by the preferences screen for setting the time and
date.

Chapter 1 Basic operations of your Sony CLIÉ Handheld 26
Resetting your Sony CLIÉ Handheld
Performing a hard reset
If the soft reset does not solve the problem, you need to perform a hard reset
to restart your CLIÉ handheld.
Note
With a hard reset, all records and entries stored in your CLIÉ handheld are
erased. Perform a hard reset only if a soft reset does not solve your problem.
You can restore your CLIÉ handheld data if you save a back-up on your
computer or Memory Stick media. For details on how to save a back-up, see
“Backing up data of your Sony CLIÉ handheld” on page 184.
1Hold down the POWER button on your CLIÉ handheld.
2While holding down the POWER button, use the reset tip to
gently press and release the reset button.
The Palm Powered logo screen is displayed.
3After 3 seconds, release the POWER button.
A message warning that you are about to erase all the data stored on your
CLIÉ handheld is displayed.
4Press the scroll button on the front panel of your CLIÉ
handheld upwards.
Your CLIÉ handheld undergoes a hard reset.
After a hard reset, only the current date and time are retained. Formats,
Preferences, and other settings are restored to their factory default
settings.
Note
If the scroll button was used just prior to hard-resetting, the hard-reset may not be
performed.

Chapter 2
Using basic applications
This chapter describes how to perform tasks that are specific to the basic applications
of your CLIÉ handheld: Date Book, Address Book, To Do List, Memo Pad, and
Calculator.
Contents
Managing schedules and events (Date Book)..................... 28
Scheduling an event ............................................................ 28
Checking schedules ............................................................. 35
Editing Date Book events..................................................... 41
Using the Date Book menus ................................................ 46
Managing addresses and phone numbers
(Address Book)................................................................... 48
Creating a new Address Book entry ..................................... 48
Viewing Address Book entries.............................................. 50
Editing Address Book entries ............................................... 54
Using the Address Book menus ........................................... 60
Managing tasks and things to do (To Do List).................... 62
Creating To Do List items..................................................... 62
Viewing To Do List items ..................................................... 63
Checking off a To Do List item ............................................. 64
Working with To Do List ...................................................... 65
Using the To Do List menus ................................................. 69
Creating memos (Memo Pad)............................................. 70
Creating a new memo ......................................................... 70
Reviewing memos ............................................................... 72
Editing memos .................................................................... 75
Using the Memo Pad menus................................................ 77
Using Calculator (Calc)....................................................... 78
Calculating with Calculator.................................................. 78
Using the Calculator buttons ............................................... 79
Using the Calculator menus................................................. 79
Performing common tasks......................................................... 80
Using the Application Launcher ........................................... 80
Categorizing records............................................................ 84
Finding records.................................................................... 87
Protecting your data (Security) ............................................. 91
Attaching notes................................................................... 97
Purging records ................................................................... 98
Using the Edit menu............................................................ 99
Choosing fonts.................................................................. 100

Chapter 2 Using Basic applications 28
Managing schedules and events (Date Book)
Date Book lets you quickly and easily schedule appointments or any activity
associated with a date, or a date and time. A record in Date Book is called an
“event.”
Scheduling an event
Scheduling an event for the current date
1Press the Date Book button on the front panel.
Date Book starts up. Today’s schedule is displayed with a list of times for
a standard business day.
Tip
Press the Date Book button repeatedly to cycle through the Day, Week, Month, and
Agenda views. The Date Book views are displayed at the bottom left of the screen.
2Tap the time line that corresponds to the beginning of the
event.
Continued on next page

Chapter 2 Using Basic applications 29
Managing schedules and events (Date Book)
3Enter a description of the event.
You can enter a description or a note of up to 255 characters in length.
4If the event is one hour long, skip to step 7. If the event is
longer or shorter than one hour, tap the time of the event to
open the Set Time dialog box.
5Perform one of the following to set the duration of the
event:
•Tap the time columns on the right side of the Set Time dialog box to
set the Start Time, and tap the End Time box. Then tap the time
columns to set the End Time.
•Tap All Day to automatically insert the start and end time of the event
as defined in your Date Book preferences.
6Tap OK.
7Tap a blank area of the screen to deselect the event.
A vertical line appears next to the time, indicating the duration of the
event.
Continued on next page

Chapter 2 Using Basic applications 30
Managing schedules and events (Date Book)
Tip
You can open the Set Time dialog box (to select a start time) by writing a number on the
number side of the Graffiti writing area and making sure no event is selected.
To schedule an untimed event
In step 5, tap No Time. A new untimed event is displayed in the first line in
Date Book with a ♦ mark.
Scheduling a timed event for another date
1Press the Date Book button on the front panel.
Date Book starts up.
2Do one of the following to select the date you want for the
event:
•Tap the day of the week on top of the Date Book screen.
To move to another week, tap one of the scroll arrows of either side of
the day of the week area.
•Tap Go To at the bottom of the screen.
The Go To Date dialog box appears. Select a date by tapping a year,
month, and day in the calendar.
3Follow the steps for “Scheduling an event for the current
date.”
Continued on next page

Chapter 2 Using Basic applications 31
Managing schedules and events (Date Book)
Tip
You can also use the scroll button on the front panel to move forward or backward one
day or one month at a time.
To schedule an untimed event
In step 3, tap New and then tap No Time. Then follow the steps for
“Scheduling an event for the current date.”
Tip
You can create a new untimed event by making sure no event is selected and then
writing letters in the Graffiti writing area. When you start writing, the untimed event
appears at the top of the screen.
Scheduling repeating or continuous events
The Repeat function lets you schedule events that recur at regular intervals
or extend over a period of consecutive days.
Examples of repeating or continuous events
•Birthday: an event that repeats annually
•Weekly guitar lesson: an event that falls on the same day of the week and
the same time of day
•Business trip or vacation: a continuous event
1Press the Date Book button on the front panel.
Date Book starts up.
2Tap the description of the event.
3Tap Details.
The Event Details dialog box appears.
Continued on next page

Chapter 2 Using Basic applications 32
Managing schedules and events (Date Book)
4Tap the Repeat box.
The Change Repeat dialog box appears.
5Tap Day, Week, Month, or Year to set how often the event
repeats.
For a continuous event, tap Day.
6Enter a number that corresponds to how often you want the
event to repeat on the Every line.
•When you tap Week: Tap a letter representing each day of the week
on Repeat on line to specify the day you want the event to repeat.
Continued on next page

Chapter 2 Using Basic applications 33
Managing schedules and events (Date Book)
• When you tap Month: On the Repeat by line, tap Day to repeat the
event on the specified day of the same week each month, or tap Date
to repeat the event on the specified date each month.
7To specify an end date for the repeating or continuous event,
tap the arrow V next to End on to display the drop-down list
and tap Choose Date.
The Ending On screen appears.
8Tap the end date on the screen.
The Change Repeat screen appears again.
9Tap OK.
The Event Details screen appears again.
Continued on next page

Chapter 2 Using Basic applications 34
Managing schedules and events (Date Book)
10
Tap OK.
The Date Book screen is displayed again.
Make sure that the repeat icon is displayed to the far right of the
event.
Notes
•If you change the start date of a repeating event, your CLIÉ handheld
calculates the number of days you moved the event. Your CLIÉ handheld
then automatically changes the end date to maintain the duration of the
repeating event.
•If you change the repeat interval (e.g., daily to weekly) of a repeating
event, past occurrences (prior to the day on which you change the setting)
are not changed, and your CLIÉ handheld creates a new repeating event.
•If you change the date of an occurrence of a repeating event (e.g., from
January 14 to January 15) and apply the change to all occurrences, the new
date becomes the start date of the repeating event. Your CLIÉ handheld
adjusts the end date to maintain the duration of the event.
•If you change other repeat settings (e.g., time, alarm, private) of a
repeating event and apply the change to all occurrences, your CLIÉ
handheld creates a new event. The start date of this new event is the day
on which the setting is changed. Past occurrences (prior to the day of the
change) are not changed.
•If you apply a change to a single occurrence of a repeating event (e.g.,
time), that occurrence no longer shows the repeat icon.

Chapter 2 Using Basic applications 35
Managing schedules and events (Date Book)
Checking schedules
Displaying the Day view
You can display and check the events for a specific day.
1Press the Date Book button on the front panel.
Date Book starts. Today’s schedule is displayed.
2Rotate the Jog Dial™ navigator to display the events for
yesterday or tomorrow.
You can display the schedule for a specific day and time.
To change the Date Book view
In addition to displaying the time list for a specific day, you can also display
a whole week, a month, or an agenda.
To display the next view, press the Jog Dial navigator repeatedly.
Tip
You can also select the Date Book view by tapping an icon on the Date Book screen.
Tap one of the following icons to rotate to the corresponding calendar view:
• : Day view
• : Week view
• : Month view
• : Agenda view
Tap the desired view icon.

Chapter 2 Using Basic applications 36
Managing schedules and events (Date Book)
Displaying the Week view
Week view displays a calendar of your events for an entire week. This view lets
you quickly review your appointments and available time slots. In addition, the
graphical display helps you spot overlaps and conflicts in your schedule.
1Press the Date Book button on the front panel.
Date Book starts up.
2Press the Jog Dial navigator repeatedly or tap the Week
view icon.
The Week view appears. Untimed events are also displayed in the Week view.
3Rotate the Jog Dial navigator to select the day that you want
to review.
To select the next day, rotate the Jog Dial navigator.
4Press the Jog Dial navigator.
The details of the selected day are displayed.
Tips
•To reschedule an event while in the Week view, tap and drag the event to a different
time or day.
•Tap a blank time on any day to move to that day and have the time selected for a new
event.
•Tap any day or date that appears at the top of the Week view to move directly to that
day without selecting an event.
•The Week view displays the time span defined by the Start Time and End Time in the
Date Book Preferences settings. If you have an event before or after this time span, a
bar appears at the top or bottom of that day’s column. Use the onscreen scroll arrows
to scroll to the event.
Continued on next page

Chapter 2 Using Basic applications 37
Managing schedules and events (Date Book)
To view the detail of an event
Tap each time bar to view the detail of that event.
To spot event conflicts
An event conflict (time overlap) appears in the Week view as overlapping
time bars and in the Day view as overlapping brackets to the left of the
conflicting times.
b

Chapter 2 Using Basic applications 38
Managing schedules and events (Date Book)
Displaying the Month view
The Month view screen shows which days have events scheduled. Dots and
lines in the Month view indicate events, repeating events, and untimed
events.
1Press the Date Book button on the front panel.
Date Book starts up.
2Press the Jog Dial navigator repeatedly or tap the Month
view icon.
The Month view screen appears.
3Rotate the Jog Dial navigator to select the day that you want
to review.
To select the next day, rotate the Jog Dial navigator.
4Press the Jog Dial navigator.
The details of the selected day are displayed.
Tips
•Tap a day in the Month view to display that day in the Day view.
•Tap the scroll arrows in the upper right corner to move forward or backward a
month.
•Tap Go To to open the Go To Date dialog box to select a different month.
•Use the scroll buttons on the front panel of your CLIÉ handheld to move between
months. Press the scroll button upwards to display the previous month, or
downwards to display the next month.

Chapter 2 Using Basic applications 39
Managing schedules and events (Date Book)
Displaying the Agenda view
The Agenda view shows you your appointments, untimed events, and To
Do List items in a single screen. As well as checking the detailed information
of an event, you can also use the Agenda view to check off completed To Do
List items.
1Press the Date Book button on the front panel.
Date Book starts up.
2Press the Jog Dial navigator repeatedly or tap the Agenda
view icon.
The Agenda view screen appears. Today’s schedule and To Do List is
displayed.
3Rotate the Jog Dial navigator to select the day that you want
to review.
To select the next day, rotate the Jog Dial navigator.
Tips
•Tap any appointment while in Agenda view to display the Day view of the
appointment.
•Check off completed To Do List items in the Agenda view, or tap a description of an
item to go directly into the To Do List application.

Chapter 2 Using Basic applications 40
Managing schedules and events (Date Book)
Changing Date and Time view
Tap and hold the date in the title bar of Date Book.
The current time appears.
When you release the stylus, the menu bar appears. If you want to avoid
displaying the menu when releasing the stylus, drag the stylus away from
the date indication after the current time appears.
b

Chapter 2 Using Basic applications 41
Managing schedules and events (Date Book)
Editing Date Book events
Changing a date or time for an event
1On the Date Book screen, tap the event you want to edit.
2Tap Details.
The Event Details dialog box appears.
3•To change the time, tap the Time box and select a new
time.
The Set Time dialog box appears. Tap the Start Time and the End
Time.
•To change the date, tap the Date box and select a new
date.
The Set Date dialog box appears. Specify the year, month, and day in
the calendar.
4Tap OK.

Chapter 2 Using Basic applications 42
Managing schedules and events (Date Book)
Changing a timed event to an untimed event
1On the Date Book screen, tap the event you want to edit.
2Tap Details.
3Tap the Time box.
The Set Time screen appears.
4Tap No Time.
The Event Details screen appears.
5Tap OK.
The untimed event is displayed in the first line with the untimed ◆ mark.

Chapter 2 Using Basic applications 43
Managing schedules and events (Date Book)
Setting an alarm for an event
The Alarm setting enables you to set an audible alarm for events in your
Date Book. The default Alarm setting is 5 minutes before the time of the
event, but you can change this to any number of minutes, hours, or days.
When you set an alarm, an alarm icon appears to the far right of the event
with the alarm.
Tip
You can also set your CLIÉ handheld to flash its LED for an event instead of, or in
addition to, an audible alarm. For details, see “Turning the LED alarm on or off (PEG-
SJ20/PEG-SJ30)” on page 167.
1On the Date Book screen, tap the event to which you want to
assign an alarm.
2Tap Details.
The Event Details dialog box appears.
3Tap the Alarm check box to select it.
The alarm is set.
4Tap the arrow V to select the time unit from among Minutes,
Hours, or Days.
5Tap the “5” next to the Alarm check box and enter any
number from 0 to 99 as the number of time units.
6Tap OK.
Continued on next page

Chapter 2 Using Basic applications 44
Managing schedules and events (Date Book)
Setting an alarm for an untimed event
You can set a silent alarm for an untimed event. In this case, the alarm
triggers at the specified period of minutes, hours, or days before midnight
(beginning) of the day of the untimed event. No audible alarm sounds for an
untimed event. The reminder message appears onscreen instead.
Example: When you set an alarm for an untimed event that occurs on
February 4 and if the alarm is set for 5 minutes, the reminder message
appears at 11:55 PM on the night of February 3. The reminder remains
onscreen until you turn on your handheld and tap OK to erase it.
Making an event private
You can hide records that you mark as private. If you define a password for
your CLIÉ handheld, you must enter it to display private records.
1On the Date Book screen, tap the event you want to mark as
private.
2Tap Details.
The Event Details dialog box appears.
3Tap the Private check box.
4Tap OK.
The event is marked as private. For hiding or masking private events, see
“Protecting your data (Security)” on page 91.

Chapter 2 Using Basic applications 45
Managing schedules and events (Date Book)
Deleting events
You can delete existing events in Date Book.
Note
If you delete the contents of a reoccurring event, all the related events will be deleted.
When deleting an event in Delete Event dialog box, you can delete a single event as an
exception or all the related events.
1On the Date Book screen, tap the event you want to delete.
2Tap Details.
3Tap Delete.
The Delete Event dialog box appears.
4Tap OK to delete the event.
The selected event is deleted. To cancel deletion, tap Cancel.
Tip
If you select the “Save archive copy on PC” check box, the deleted event will be
saved onto the Palm™ Desktop for CLIÉ software on your computer during the
next HotSync® operation.

Chapter 2 Using Basic applications 46
Managing schedules and events (Date Book)
Continued on next page
Using the Date Book menus
This section describes the menu commands specific to Date Book. For the
Edit menu, see “Using the Edit menu” on page 99.
Record menus
New Event Creates a new event. The Set Time dialog box for
selecting the start and end times is displayed.
Delete Event Deletes the currently selected event. The Delete Event
dialog box appears.
Attach Note Attaches notes to the current event. A dialog box for
entering comments appears.
Delete Note Deletes notes from the current event. The Delete Note
dialog box is displayed.
Purge You can specify a certain period based on the current
date and discard any events that were formed before the
specified date. Use this function to save memory space.
Notes
•A reoccurring event will not be deleted.
•By default, the events that you purge will be saved in
the Palm Desktop for CLIÉ software on your
computer at the next HotSync® operation. To delete
the events completely, deselect the check box ( ) for
“Save archive copy on PC” in the Purge dialog box.
Beam Event Sends the current event to another CLIÉ handheld via the
infrared communications port.
Options menus
Font You can select a desired font in the Select Font dialog
box.

Chapter 2 Using Basic applications 47
Managing schedules and events (Date Book)
Preferences •Start/End Time: Defines the start and end times for
Date Book screens. If the time slots you select do not
fit on one screen, you can tap the scroll arrows to
scroll up and down.
•Alarm Preset: Automatically sets an alarm for each
new event. The silent alarm for untimed events is
defined by minutes, days, or hours before midnight of
the date of the event.
•Alarm Sound: Selects the sound that is played as the
alarm.
•Remind Me: Defines how many times the alarm
sounds. The choices are Once, Twice, 3 Times, 5
Times, and 10 Times.
•Play Every: Defines how often the alarm sounds. The
choices are a Minute, 5 minutes, 10 minutes, and 30
minutes.
Display Options Changes the Date Book’s appearance and which events
display.
•Show Time Bars: Activates the time bars that appear
in the Day view. The time bars show the duration of
an event and illustrate event conflicts.
•Compress Day View: Controls how times appear in
the Day view. When Compress Day view is off, all
time slots are displayed. When it is on, start and end
times display for each event, but blank time slots
toward the bottom of the screen disappear to
minimize scrolling.
•Month View settings: These check boxes apply to the
Month view of Date Book. You can activate any or all
of these settings to show that you have Timed,
Untimed, or Daily Repeating events in the Month
view only.
Phone Lookup The Phone Number Lookup screen appears. If there is an
Address Book entry, you can look up the phone number
of the selected item.
Security Hides the current item unless the password is entered.
You can select the view option among Show Records,
Mask Records, or Hide Records.
About Date Book Shows version information for Date Book.

Chapter 2 Using Basic applications 48
Managing addresses and phone numbers
(Address Book)
Address Book lets you keep names, addresses, telephone numbers, and
other information about your personal or business contacts.
An item in Address Book is called an “entry.”
Creating a new Address Book entry
1Press the Address Book button on the front panel.
The Address screen is displayed.
Note
Press the Address Book button repeatedly to cycle through the categories in which
you have entries.
2Tap New.
The Address Edit screen appears.
3Enter the last name of the person you want to add to Address
Book.
The first letter of each field (except numeric and e-mail fields) is
automatically capitalized.
4Tap First name.
The cursor shifts to the first name field.
You can also use Graffiti® writing to move the cursor to the next field by
entering .
Continued on next page
b

Chapter 2 Using Basic applications 49
Managing addresses and phone numbers (Address Book)
5Enter the first name in the First name field.
6Repeat steps 4 and 5 to enter the other items of information
that you want to include.
You can tap the scroll arrow V next to each item to display the list of
choices and then tap the desired item in the list.
7To move to the next page of information, tap the scroll arrow
V on the bottom-right corner of the screen.
8After you finish entering all the necessary information, tap
Done.
The Address screen is displayed again.
Tip
You can also use the Palm™ Desktop for CLIÉ software to create entries on your
computer and then download them to your CLIÉ handheld with your next HotSync®
operation. See “Performing a local HotSync® operation with the USB cable” on page 103
for details.

Chapter 2 Using Basic applications 50
Managing addresses and phone numbers (Address Book)
Viewing Address Book entries
1Press the Address Book button on the front panel.
The Address screen is displayed, listing your current entries.
2Rotate the Jog Dial™ navigator to select the address entry
you want to view.
If the desired address entry is not displayed, rotate the Jog Dial navigator
further to scroll up or down the entire list.
3Press the Jog Dial navigator.
The Address View screen of the selected entry is displayed.
4To return to the list of address entries, press the Jog Dial
navigator again or press the BACK button.
The Address screen is displayed again.
Tips
•If there are multiple pages of information, the scroll button moves up or down an
address list or the Address View screen. If you hold down the scroll button, you
accelerate the scrolling and display every third screen.
•You can also use the stylus to tap the onscreen scroll arrows to scroll to the entry.
To view an image pasted to an address entry
Tap an image on the Address View screen. The image is displayed across the
whole screen. To return the Address View screen, tap the image again.
To view the next page of the Address View screen
Rotate the Jog Dial navigator. The next or previous page within the data is
displayed.

Chapter 2 Using Basic applications 51
Managing addresses and phone numbers (Address Book)
Viewing addresses by category
Press the Jog Dial navigator when the address list is displayed but
none of the listed entries are selected.
Each time you press the Jog Dial navigator, the display toggles through all
the available categories.
To select category from the categories list
Tap the arrow V at the upper right corner of the screen to display the
category list. You can select the desired category from the list.

Chapter 2 Using Basic applications 52
Managing addresses and phone numbers (Address Book)
Sorting the address entries in the list
You can sort the address entries in your desired order: listing by last and
then first name, or listing by company and then last name. The address
entries will be displayed in the selected order when you start Address Book.
Any changes in the address order, however, do not affect the original
address entries.
1Press the Address Book button on the front panel.
The Address screen is displayed, listing your current entries.
2Tap the Menu icon.
Address Book menu is displayed.
3Tap Options, and tap Preferences.
The Address Book Preferences dialog box appears.
4Tap the desired order of the address entries in the List By
field.
Select the desired order in which the address entries are to be listed when
Address Book starts.
5Tap OK.
The address entries are sorted in the selected order.
Notes
•When you tap Last Name, First Name, the address entries are sorted in
alphabetical order of an individual’s last name and then first name.
•When you tap Company, Last Name, the address entries are sorted in
alphabetical order of the company name, and then an individual’s last name.

Chapter 2 Using Basic applications 53
Managing addresses and phone numbers (Address Book)
Looking up an address entry
The Look Up feature helps you to quickly scroll to any of your address
entries.
1On the Address Book list screen, enter the first letter of the
entry you want to find.
The list scrolls to the first entry that begins with that letter. If you write
another letter, the list scrolls to the first entry that starts with those two
letters.
For example, writing an “s” scrolls to “Sands,” and writing “sm” scrolls
further to “Smith.” If you sort the list by company name, the Look Up
feature scrolls to the first letter of the company name.
2Tap the entry you want to view or press the Jog Dial
navigator.
The entry you selected is shown.

Chapter 2 Using Basic applications 54
Managing addresses and phone numbers (Address Book)
Editing Address Book entries
Pasting an image to an address entry
You can paste an image to the address entry. Paste a photograph of a person
or restaurant, for example, as a reminder of an address entry.
To paste an image, you must first ready an image on your CLIÉ handheld
with the PictureGear™ Pocket application. For details, see “Viewing image
files (Picture Gear Pocket)” in the Add-on Application Guide.
1Tap the address entry in the address list to which you want to
paste an image.
The Address View screen of the selected address record appears.
2Tap Edit.
The Address Edit screen appears.
3Tap No Image in the upper right of the screen.
The Select Image(s) screen appears.
Continued on next page
Tap No Image.

Chapter 2 Using Basic applications 55
Managing addresses and phone numbers (Address Book)
4Tap the image you want to paste.
The image you selected is pasted to the address entry.
5Tap Done.
The Address screen is displayed again.
A camera icon is attached to the entry that has the pasted image.
Note
If you use the Palm Desktop for CLIÉ software to change the category of the
address entry that has a pasted image, the image will no longer be associated with
the address entry after the next HotSync® operation. To edit an address entry with
a pasted image, use the Address Book application in your CLIÉ handheld.
To change the image
Tap the pasted image in the Address Edit screen. The Select image(s) screen
appears. Tap to select another image.
To remove the image
Tap the pasted image in the Address Edit screen. The Select image(s) screen
appears. Tap No images.
A camera icon

Chapter 2 Using Basic applications 56
Managing addresses and phone numbers (Address Book)
Modifying an address entry
You can modify part of the address entry.
1On the Address Book list screen, tap the entry you want to
modify.
The Address View screen of the selected entry appears.
2Tap Edit.
The Address Edit screen appears.
3Tap the field that you want to edit.
You can edit the tapped field.
4Edit the entry.
5When modification is complete, tap Done.
The Address screen is displayed again.
To select types of phone numbers
You can select the types of phone numbers or e-mail addresses that you
associate with an Address Book entry. Any changes you make apply only to
the current entry. To select other types of phone numbers in an entry, tap the
arrow V and select the desired label from the drop-down list.

Chapter 2 Using Basic applications 57
Managing addresses and phone numbers (Address Book)
Duplicating an address entry
You can copy existing address entries you have created. This feature is
useful when you use the address of one person or edit part of the address for
another person.
1On the Address Book list screen, tap the entry you want to
copy.
The Address View screen of the selected record appears.
2Tap the Menu icon.
The Address Book menu is displayed.
3Tap Duplicate Address from the Record menu.
The entry you selected in step 2 is copied.
The word “Copy” is added to the end of the name field of the copied
information.
4Tap Done.
The Address screen is displayed again.
Note
The pasted image is not duplicated.

Chapter 2 Using Basic applications 58
Managing addresses and phone numbers (Address Book)
Deleting an address entry
1On the Address Book list screen, tap the entry you want to
delete.
The Address View screen of the selected record appears.
2Tap Edit.
The Address Edit screen appears.
3Tap Details.
The Address Entry Details dialog box appears.
4Tap Delete.
The Delete Address dialog box appears.
5Tap OK to delete the entry.
The selected entry is deleted. To cancel deletion, tap Cancel.
Tip
If you select the “Save archive copy on PC” check box, the deleted data will be
saved onto the Palm Desktop for CLIÉ software on your computer during the next
HotSync® operation.

Chapter 2 Using Basic applications 59
Managing addresses and phone numbers (Address Book)
Changing the address entry details
You can change the type of information that appears in the address list
screen, categorize an entry, and hide an entry for security reasons. You can
also delete entries.
1
On the Address Book list screen, tap the entry you want to change.
The Address View appears.
2Tap Edit.
The Address Edit screen appears.
3Tap Details.
The Address Entry Details dialog box appears.
4Change desired settings.
Show in List: Select which type of entries or other information appears in
the Address list screen. Tap the arrow V and select from Work, Home,
Fax, Other, or E-mail.
Category: Assign the entry to a category.
Private: Select the Private check box to hide the current entry when
Security is turned on. For details on Security, see “Protecting your data
(Security)” on page 91.
5Tap OK.
The address entry details are saved.

Chapter 2 Using Basic applications 60
Managing addresses and phone numbers (Address Book)
Using the Address Book menus
This section describes the menu commands specific to Address Book. For the
Edit menu, see “Using the Edit menu” on page 99. The Record and Options
menus differ depending on whether you are displaying the Address List
screen or the Address View screen.
Record menus
Delete Address Deletes the current address entry. The Delete Address dialog
box appears.
Notes
•
By default, the entry that you delete will be saved onto the
Palm Desktop for CLIÉ software on your computer during
the next HotSync
®
operation. To delete the entry completely,
deselect the check box ( ) for “Save archive copy on PC” in
the Delete Address dialog box.
•
If the current entry has an image pasted, the image will not be deleted.
Duplicate Address
Makes a copy of the current entry and displays the copy in Address
Edit so you can make changes to the copied entry. The copy has the
same category and attached notes as the original entry.
Beam Address Sends all the address entries in the currently selected
category to another CLIÉ handheld via the infrared
communications port.
Beam Category Sends all the Address Book entries in the currently selected
category to another CLIÉ handheld via the infrared
communications port.
Attach Note Adds comments to the current address entry. Choosing this
menu opens up a screen for entering comments.
Delete Note Deletes comments from the current address entry. Choosing
this menu opens up the Delete Note dialog box. Tap Yes to
delete comments and No to cancel the delete function.
Select Business Card Defines the current address entry on a business card. A
business card icon ( ) is displayed when you set an entry
as a business card.
Beam Business Card
Sends the current business card to another CLIÉ handheld via
the infrared communications port.
Tip
You can also send a business card via the infrared
communications port by pressing and holding down the
Address Book button for longer than 2 seconds.

Chapter 2 Using Basic applications 61
Managing addresses and phone numbers (Address Book)
Options menus
Font
You can select a desired font in the Select Font dialog box.
Preferences Remember last category: Determines how Address
Book appears when you return to it from another
application. If you select this check box, Address Book
shows the last category you selected. If you clear it,
Address Book displays the All category.
Rename Custom Fields These custom fields appear at the end of the Address Edit
screen. Rename them to identify the kind of information
you enter in them. The names you give the custom fields
appear in all entries.
Security Hides the current record unless the password is entered.
You can select the view option among Show Records,
Mask Records, or Hide Records.
About Address Book Shows the version information for Address Book.

Chapter 2 Using Basic applications 62
Managing tasks and things to do
(To Do List)
A To Do List is a reminder of some task you have to complete. A record in
To Do List is called an “item.”
Creating To Do List items
1Press the To Do List button on the front panel.
To Do List opens and displays the category of items you last viewed.
Note
Press the To Do List application button repeatedly to cycle through the categories
in which you have items.
2Tap New.
A new To Do item is added to To Do List.
3Enter the text of the To Do item.
You can enter multiple lines of text.
4Tap anywhere onscreen to deselect the To Do List item.
The item is deselected and the new item is recorded to To Do List.
Tips
•If no To Do List item is currently selected, writing in the Graffiti® writing area
automatically creates a new item.
•To display text that does not fit on the screen, tap the text line.
b

Chapter 2 Using Basic applications 63
Managing tasks and things to do (To Do List)
Viewing To Do List items
You can check the items you recorded in To Do List.
1Press the To Do List button on the front panel.
The To Do screen appears.
2Rotate the Jog Dial™ navigator to select the To Do List item
that contains the note you want to view.
3Press the Jog Dial navigator.
The notes of the selected item are displayed. If the item does not fit on the
screen, rotate the Jog Dial navigator to scroll the screen.
4Press the Jog Dial navigator.
The To Do List box reappears.
Viewing To Do List items by category
Press the Jog Dial navigator when To Do List is displayed but no
To Do item is selected.
Each time you press the Jog Dial navigator, the display toggles through all
the available categories.
To select the desired category from the categories list
Tap the arrow V at the upper right corner of the screen to display the
category list. You can select the desired category from the list.

Chapter 2 Using Basic applications 64
Managing tasks and things to do (To Do List)
Checking off a To Do List item
You can check off a To Do List item to remind you that you’ve completed it.
You can set To Do List to record the date that you completed the To Do item,
and you can choose to show or hide completed items. For details, see
“Changing the appearance of To Do List” on page 68.
1Press the To Do List button on the front panel.
The To Do screen appears.
2Tap to select the check box on the left side of the item.
The check box changes to .

Chapter 2 Using Basic applications 65
Managing tasks and things to do (To Do List)
Working with To Do List
Setting the priority of an item
The priority setting for items lets you arrange the tasks in your To Do List
according to their importance or urgency. The default setting for To Do List
is to arrange items by priority and due date, with priority 1 items at the top.
If you have a number of items in your list, changing an item’s priority
setting may move its position in the list.
On the To Do List screen, tap the Priority number on the left side of the item
and then tap the desired Priority number.
You can select the Priority numbers 1 through 5, with 1 being the most
important.
Tip
You can also set the priority from the To Do Item Details dialog box.
b

Chapter 2 Using Basic applications 66
Managing tasks and things to do (To Do List)
Setting the due date for an item
You can associate a due date with any To Do List item. You can also sort the
items that appear in the list based on their due date.
1On the To Do List screen, tap the text of the item whose due
date you want to set.
2Tap Details.
3Tap the arrow V next to Due Date, and tap a desired due
date from the drop-down list.
You can select one of the following options:
• Today: Assigns the current date.
• Tomorrow: Assigns the next day’s date.
•One week later: Assigns the date exactly one week from the current
date.
•No Date: Assigns no due date.
•Choose Date: Opens the Due Date screen, where you can choose any
date from the calendar.
4Tap OK.
Tip
If you turn on the Show Due Dates option in the To Do Preferences dialog box, you can
tap directly on the due date in To Do List to select a desired due date.

Chapter 2 Using Basic applications 67
Managing tasks and things to do (To Do List)
Deleting an item
You can delete items from To Do List.
1On the To Do List screen, tap the item you want to delete.
2Tap Details.
The To Do Item Details dialog box appears.
3Tap Delete.
The Delete To Do dialog box appears.
4Tap OK to delete the item.
The selected event is deleted. To cancel deletion, tap Cancel.
Tip
If you check the “Save archive copy on PC” check box, the deleted item will be
saved onto the Palm Desktop for CLIÉ software on your computer during the next
HotSync® operation.

Chapter 2 Using Basic applications 68
Managing tasks and things to do (To Do List)
Changing the appearance of To Do List
The To Do Preferences dialog box enables you to change the appearance of
To Do List.
1On the To Do List screen, tap Show.
The To Do Preferences dialog box appears.
2Change the To Do Preferences settings.
You can choose any of the following settings:
•Show Completed Items: Displays your completed items in To Do
List. If you turn off this setting, your To Do items disappear from the
list when you complete (check) them.
•Show Only Due Items: Shows only the items that are currently due,
past due, or have no due date specified. When this setting is active,
items that are not yet due do not appear in the list until their due date.
•Record Completion Date: Replaces the due date with the actual date
when you complete (check) the item. If you do not assign a due date
to an item, the completion date still records when you complete the
item.
•Show Due Dates: Displays the due dates associated with items in To
Do List and displays an exclamation mark next to items that remain
incomplete after the due date passes.
•Show Priorities: Shows the priority setting for each item.
•Show Categories: Shows the category for each item.
3Tap OK.

Chapter 2 Using Basic applications 69
Managing tasks and things to do (To Do List)
Using the To Do List menus
This section describes the menu commands specific to To Do List. For the
Edit menu, see “Using the Edit menu” on page 99.
Record menus
Delete Item Deletes the current To Do item. The Delete To Do dialog
box appears.
Attach Note Adds comments to the current To Do item. Choosing this
menu item opens up a screen for entering comments.
Delete Note
Deletes comments from the current To Do item. Choosing
this menu item opens up the Delete Note dialog box.
Purge Allows you to delete any completed items from To Do
List. Run this command to save memory if you find too
many recorded To Do items in your CLIÉ handheld.
Note
By default, the items that you purge will be saved onto
the Palm Desktop for CLIÉ software on your computer
during the next HotSync® operation. To delete the items
completely, deselect the check box ( ) for “Save archive
copy on PC” in the Purge dialog box.
Beam Item Sends the current To Do item to another CLIÉ handheld
via the infrared communications port.
Beam Category Sends all the To Do items in the currently selected
category to another CLIÉ handheld via the infrared
communications port.
Options menus
Font
You can select a desired font in the Select Font dialog box.
Phone Lookup The Phone Number Lookup screen appears. If there is an
Address Book entry, you can look up the phone number
of the selected item.
Security Hides the current item unless the password is entered.
You can select the view option among Show Records,
Mask Records, or Hide Records.
About To Do List Shows the version information for To Do List.

Chapter 2 Using Basic applications 70
Creating memos (Memo Pad)
You can use Memo Pad to create brief memos on your CLIÉ handheld. You
can also display TXT or CSV (Comma Separated Value) document files
created on your computer (page 125). A record in Memo Pad is called a
“memo.”
Creating a new memo
A memo can contain up to 4,000 characters. The number of memos you can
store is limited only by the memory available on your CLIÉ handheld.
1Press the Memo Pad button on the front panel.
Memo Pad starts up. Memo Pad opens to display the last Memo Pad
screen that you viewed.
Tip
Press the Memo Pad button repeatedly to cycle through the categories in which
you have memos.
2Tap New.
A new memo is created.
Continued on next page

Chapter 2 Using Basic applications 71
Creating memos (Memo Pad)
3Enter the text you want to appear in the memo.
To move down to a new line, tap the Enter key when using the onscreen
keyboard or write when using Graffiti® writing.
4Tap Done or press the BACK button when you finish.
The first line of the memo is displayed.
Tips
•You can also create a new memo by beginning your memo in the Graffiti writing area
on the Memo screen. The first letter is automatically capitalized and begins your new
memo.
•While entering text, the text may overlap the Done or Details buttons. After you
finish entering the text, the overlap disappears.

Chapter 2 Using Basic applications 72
Creating memos (Memo Pad)
Reviewing memos
The first line of a memo appears in the Memo List. This makes it easy to
locate and review your memos.
1Press the Memo Pad button on the front panel.
Memo Pad starts and the Memo List is displayed.
2Rotate the Jog Dial™ navigator to select the memo you want
to view.
If the desired memo is not displayed, rotate the Jog Dial navigator further
to scroll up or down the memo list.
3Press the Jog Dial navigator.
The contents of the selected memo are displayed. If the memo text does
not fit on the screen, rotate the Jog Dial navigator to scroll the screen.
4Press the Jog Dial navigator.
The Memo list is displayed again.

Chapter 2 Using Basic applications 73
Creating memos (Memo Pad)
Viewing memos by category
Press the Jog Dial navigator when the memo list is displayed but
no memo is selected.
Each time you press the Jog Dial navigator, the display toggles through all
the available categories.
Selecting the desired category from the categories list
Tap the arrow V at the upper right corner of the screen to display the
category list. You can select the desired category from the list.
Sorting memos
You can change the order in which Memo Pad shows your memos.
1Press the Memo Pad button on the front panel.
Memo Pad starts and the Memo list is displayed.
2Tap the Menu icon.
A menu of commands appears.
3Tap Options, and tap Preferences.
The Memo Preferences dialog box appears.
Continued on next page

Chapter 2 Using Basic applications 74
Creating memos (Memo Pad)
4Tap the desired order of the memos in the Sort by field.
•Manual: Sorts the memos manually.
•Alphabetic: Sorts the memos in numerical and then alphabetical
order.
5Tap OK.
To sort the memos manually
In step 4, select Manual to activate manual sorting.
Tap the memo you want to move in the Memo screen and drag it to the
desired location. The memo is placed where you released the stylus.
The memos are renumbered accordingly.

Chapter 2 Using Basic applications 75
Creating memos (Memo Pad)
Editing memos
Deleting a memo
You can delete an unnecessary memo from Memo Pad.
1On the Memo Pad screen, tap the memo you want to delete.
The contents of the memo you tapped appears.
2Tap Details.
The Memo Details dialog box appears.
3Tap Delete.
The Delete Memo dialog box appears.
4Tap OK to delete the memo.
The selected record is deleted. To cancel deletion, tap Cancel.
Tip
If you select the “Save archive copy on PC” check box, the deleted memo will be
saved onto the Palm Desktop for CLIÉ software on your computer during the next
HotSync® operation.

Chapter 2 Using Basic applications 76
Creating memos (Memo Pad)
Categorizing a memo
You can categorize your memo. In step 2 of “Deleting a memo,” tap the
arrow V next to Category to display the list of available categories and then
tap the desired category for the memo.
Making a memo private
You can hide a memo that you mark as private. If you define a password for
your CLIÉ handheld, you must enter it to display private records.
1On the Memo Pad screen, tap the memo you want to mark as
private.
2Tap Details.
The Memo Details dialog box appears.
3Tap and select the Private check box.
4Tap OK.
The memo is marked as private. For details on hiding or masking private
events, see “Protecting your data (Security)” on page 91.

Chapter 2 Using Basic applications 77
Creating memos (Memo Pad)
Using the Memo Pad menus
This section describes the menu commands specific to Memo Pad. For the
Edit menu, see “Using the Edit menu” on page 99. The Record and Options
menus differ depending on the screen displayed.
Record menus
Beam Category Sends all the memos in the currently selected category to
another CLIÉ handheld via the infrared communications
port.
New Memo Creates a new memo.
Delete Memo Deletes the current memo. The Delete Memo dialog box
appears.
Note
By default, the memos that you delete will be saved onto
the Palm Desktop for CLIÉ software on your computer
during the next HotSync® operation. To delete the
memos completely, deselect the check box ( ) for “Save
archive copy on PC” in the Delete Memo dialog box.
Beam Memo Sends the current memo to another CLIÉ handheld via
the infrared communications port.
The Options menus
Font You can select a desired font in the Select Font dialog
box.
Phone Lookup Phone Number Lookup screen appears. If there is an
Address Book entry, you can look up the phone number
of the selected memo.
Preferences Specifies how the memos are displayed. The Memo
Preferences screen appears.
Security Hides the current memo unless the password is entered.
You can select the view option among Show Records,
Mask Records, or Hide Records.
About Memo Pad Shows the version information for Memo Pad.

Chapter 2 Using Basic applications 78
Using Calculator (Calc)
Calculating with Calculator
1Perform either of the following to start the Calculator:
•Tap the Calculator icon.
•Rotate the Jog Dial™ navigator to select Calc and press the
Jog Dial navigator.
•Tap the Calc icon on the Application Launcher screen.
The Calculator screen appears.
2Perform calculations using Calculator.
To use Calculator, tap the numbers and symbol icons on the screen with
the stylus.

Chapter 2 Using Basic applications 79
Using Calculator (Calc)
Using the Calculator buttons
Calculator has several buttons to help you perform calculations.
CE Clears the last number you entered. Use this button if
you make a mistake while entering a number in the
middle of a calculation. This button enables you to re-
enter the number without starting the calculation over.
CClears the entire calculation and enables you to begin a
new calculation.
+/– Toggles the current number between a negative and
positive value. If you want to enter a negative number,
enter the number first and then press the +/– button.
M+ Places the current number in memory. Each new number
you enter with the M+ button is added to the total stored
in memory. The number that you add can be either a
calculated value or any number you enter by pressing the
number buttons. Pressing this button has no effect on the
current calculation (or series of calculations); it merely
places the value into memory until it is recalled.
MR Recalls the stored value from memory and inserts it in
the current calculation.
MC Clears any value that is stored in the Calculator memory.
Calculates the square root of the entered number. Tap the
button after entering the number.
Using the Calculator menus
Copy, Paste Copies a number from Calculator and pastes it into
another application. Similarly, you can also paste
numeric values you copied from another application
such as Memo Pad into Calculator.
Recent Calculations You can review the last series of calculations.
About Calculator Shows the version information for Calculator.

Chapter 2 Using Basic applications 80
Performing common tasks
This section describes how to perform tasks that you can do in most or all of
the basic applications.
Using the Application Launcher
This section describes how to switch between applications, how to change
application settings so they are customized to your work methods, and how
to categorize applications so you view them in related groups.
1To open the Application Launcher screen, tap the Home
icon.
Tip
In addition to providing a way for you to open applications, the Application Launcher
screen displays the current time, battery level, and the application category.
Selecting applications
To open an application, choose from the following options:
•Tap the icon of the application you want to open. If you have many
applications installed on your CLIÉ handheld, tap the scroll bar to see all
the available applications.
•Rotate the Jog Dial™ navigator to select the application. Push the Jog Dial
navigator to launch the selected application.
•Press an application button , , , or on the front panel to display
the corresponding application immediately.

Chapter 2 Using Basic applications 81
Performing common tasks
Categorizing applications
The category feature enables you to manage the number of application icons
that appear in the Application Launcher screen. You can assign an application
to a category and then display a single category or all your applications.
To categorize an application
1Tap the Home icon.
2Tap the Menu icon.
3Tap Category from the App menu.
The Category screen appears.
4Tap the arrow V next to each application to select a category
from the drop-down list.
Tip
To create a new category for an application, tap Edit Categories from the drop-
down list. Tap New, enter the category name, and tap OK to add the category. Tap
OK again.
5Tap Done.
To display applications by category
1Tap the Home icon.
2Do one of the following:
•Tap the Home icon repeatedly to cycle through all the categories.
•Tap the arrow V in the upper right corner of the screen and tap the desired
category from the drop-down categories list.
•Push the Jog Dial navigator repeatedly while no applications are highlighted.
Continued on next page

Chapter 2 Using Basic applications 82
Note
If you have a Memory Stick® media inserted in your CLIÉ handheld, a Card icon
appears at the bottom of the drop-down categories list. For details on how to use the
Memory Stick media, see page 136.
Changing the Application Launcher display
By default, the Application Launcher displays each application as an icon.
Alternatively, you can display applications in a list format, or in a smaller icon/list.
You can also choose to view the same category of applications each time you
open the Application Launcher screen.
To change the view of applications
1Tap the Home icon.
2Tap the Menu icon.
The menu is displayed.
3Tap Options, and tap Preferences.
The Preferences screen is displayed.
4 Tap the arrow V next to View By, and tap to select from List, List
(Small), or Icon (Small).
5Tap OK.
The applications are displayed in the selected format.
Continued on next page
Performing common tasks
List view List (Small) view Icon (Small) view

Chapter 2 Using Basic applications 83
To open the Application Launcher screen to the last-opened category
or the last-used application
1Tap the Home icon.
2Tap the Menu icon.
The menu is displayed.
3Tap Options, and tap Preferences.
The Preferences screen is displayed.
4Tap the Remember Last Category check box to select it or the
Remember Last Used App to select it.
5Tap OK.
Note
Only applications opened from the Application Launcher screen are recognized as the
last opened applications.
To display the Pop-up application menu with the Jog Dial navigator
In step 4, tap the arrow V next to Jog Select and tap PopUp.
Performing common tasks

Chapter 2 Using Basic applications 84
Performing common tasks
Categorizing records
You can categorize records in Address Book, To Do List, and Memo Pad
applications for easy retrieval. (Date Book does not have categories.) When
you create a record, it is automatically assigned to the currently displayed
category. For example, if the All category is displayed, the record is assigned
to the Unfiled category. A record can remain unfiled or it can be assigned to
a category at any time.
System-defined and user-defined categories
By default, your CLIÉ handheld includes system-defined categories, such as
All and Unfiled, and user-defined categories, such as Business and Personal.
You cannot modify the system-defined categories, but you can rename or
delete the user-defined categories. In addition, you can create your own
user-defined categories. You can have a maximum of 15 user-defined
categories in each application.
Tip
Address Book contains the QuickList user-defined category, in which you can store the
names, addresses, and phone numbers that you might need in emergencies (doctors,
fire department, lawyers, etc.).

Chapter 2 Using Basic applications 85
Performing common tasks
Moving a record into a category
1Tap the record that you want to categorize.
2Address Book only: Tap Edit.
The Address Edit screen appears.
3Tap Details.
4Tap the arrow V next to Category to display the list of
available categories.
5Tap the desired category for the item.
6Tap OK.
Displaying the category of records
1Tap the arrow V at the upper right corner of the screen.
A list of available categories appears.
2Tap the category you want to view.
The list screen now displays only the records assigned to that category.

Chapter 2 Using Basic applications 86
Performing common tasks
Defining a new category
1Tap the arrow V at the upper right corner of the screen.
A list of available categories appears.
2Tap Edit Categories.
The Edit Categories screen is displayed.
3Tap New.
The Edit Categories dialog box is displayed.
4Enter a new category name and tap OK.
You can assign any of your entries to the new category.

Chapter 2 Using Basic applications 87
Performing common tasks
Finding records
Your CLIÉ handheld lets you find information by entering text in the Find
option dialog box or searching for a phone number using the Phone Lookup
option. These two options are available for all the basic CLIÉ applications.
Each application offers ways to find information:
•Date Book, To Do List, Memo Pad: Phone Lookup displays the Address
List screen and lets you add the information that appears in this list to a
record.
•Address Book: The Look Up line lets you enter the first letters of a name
to scroll immediately to that name.
Using the Find option
The Find option lets you locate any text you specify in any application. For
example, if the text appears in Address Book and Date Book, the Find option
displays both occurrences in the Find dialog box.
1Tap the Find icon.
The Find dialog box appears.
2Enter the text you want to find.
You can enter letters, symbols, or numbers.
Continued on next page

Chapter 2 Using Basic applications 88
Performing common tasks
3Tap OK.
Find searches for the text in records and notes and displays the results.
4Tap the text in the find result list that you want to review.
The application associated with the data automatically starts to display
the data.
To stop searching midway
Tap Stop. To resume the search, tap Find More.
Note
The Find option is not case sensitive; searching for “sony” also finds “Sony.”
Tip
Select text in an application before tapping the Find icon to automatically place the text
in the Find dialog box.

Chapter 2 Using Basic applications 89
Performing common tasks
Using the Phone Lookup option
The Phone Lookup option lets you find a telephone number from the
Address list screen and lets you add the information that appears in this list
to a record. For example, you can add a telephone number from the Address
list to an entry in Memo Pad.
1Display the record in which you want to insert a phone
number.
The record can be in Date Book, To Do List, or Memo Pad.
2Tap the Menu icon.
The menu of the application appears.
3Tap Options, and tap Phone Lookup.
The Phone Number Lookup screen appears.
4Tap the phone number you want to add.
Tip
To quickly find a phone number, enter the first few letters of the name you want to
find in the Look Up field in the lower screen.
Continued on next page

Chapter 2 Using Basic applications 90
Performing common tasks
5Tap Add.
The Phone Lookup closes and the name and phone number are added to
the record you displayed in step 1.
To activate Phone Lookup with Graffiti®
Write the Graffiti® Command stroke to activate Phone Lookup.
Phone Lookup using text
Drag and highlight text and then write the Graffiti Command stroke .
The selected text is replaced with the found name and phone number.
If multiple records are found, the Phone Number Lookup screen appears.

Chapter 2 Using Basic applications 91
Performing common tasks
Protecting your data (Security)
Your CLIÉ handheld includes a Security application that allows you to
protect your data from unauthorized users.
In Security, you can do the following:
•Lock and turn off your CLIÉ handheld so that it does not operate until you
enter the correct password.
•Set the CLIÉ handheld to automatically lock at/after a preset time, or
whenever you turn it off.
•Mask all records that you mark as private so the information appears
greyed out.
•Hide all records that you mark as private so they do not appear on any
screen.
Tip
All private records can be masked or hidden, with or without a password. Without a
password, the masked record will be unmasked when you tap it. With a password, you
must enter the password to view the private records.
Assigning a password
You can assign a password to protect your private records and to lock your
CLIÉ handheld.
1Rotate the Jog Dial navigator to select Security and press the
Jog Dial navigator. Or tap the Security icon on the
Application Launcher screen.
The Security screen appears.
Continued on next page

Chapter 2 Using Basic applications 92
Performing common tasks
2Tap Unassigned.
The Password dialog box appears.
3Enter a password and a hint to remember it, then tap OK.
The dialog box for verifying the password appears.
4Enter the same password again to verify it and tap OK.
Your password is assigned. In Password, “-Assigned-” is displayed.
To lock your CLIÉ handheld with this password, see page 94.
Changing or deleting a password
1Rotate the Jog Dial navigator to select Security and press the
Jog Dial navigator. Or tap the Security icon on the
Application Launcher screen.
The Security screen appears.
2Tap -Assigned-.
The Password dialog box appears.
3Enter the current password and tap OK.
The dialog box used to enter a new password appears.
Continued on next page

Chapter 2 Using Basic applications 93
Performing common tasks
4•To change the password, enter a new password and tap
OK.
•To delete the password, tap Unassign.
If you forget your password
If you forget your password, you can delete it. Note, however, that deleting
a forgotten password also deletes all entries and records marked as Private.
(If you synchronize with your computer before deleting a forgotten
password, you can restore your private records at the next HotSync®
operation.)
1Tap Lost Password in step 3.
The Delete Password dialog box appears.
2Tap Yes.
Your password and private records are deleted.

Chapter 2 Using Basic applications 94
Performing common tasks
Locking your CLIÉ handheld with a password
You can lock your CLIÉ handheld so that you have to enter your password
to operate it.
Note
If you lock your CLIÉ handheld, you must enter the exact password to restart your CLIÉ
handheld. If you forget the password, you must perform a hard reset to resume using your
CLIÉ handheld. Performing a hard reset deletes all the records in your CLIÉ handheld;
however, you can restore all synchronized data at the next HotSync® operation.
1Perform a HotSync operation to synchronize the data
between your CLIÉ handheld and your computer.
See “Chapter 3: Exchanging and updating data using a HotSync®
operation” for more information.
2Assign a password and a hint to remember it.
Follow the steps described in “Assigning a password” on page 91.
3Rotate the Jog Dial navigator to select Security and press the
Jog Dial navigator. Or tap the Security icon on the
Application Launcher screen.
The Security screen appears.
4Tap Lock & Turn Off.
The System Lockout dialog box appears.
Continued on next page

Chapter 2 Using Basic applications 95
Performing common tasks
5Tap Off & Lock.
Your CLIÉ handheld is turned off and locked.
To start your CLIÉ handheld, turn it on and enter the password.
Setting your CLIÉ handheld to lock automatically
You can set your CLIÉ handheld to lock whenever you turn it off.
1Back up your data and assign a password.
Follow the steps described in “
Assigning a password
” on page 91.
2Tap Never.
The Password screen appears.
3Enter your password, and tap OK.
The Lock Handheld screen appears.
4Tap your choice from the list.
•Never: Your CLIÉ handheld will not lock automatically. To lock it
manually, you must tap Lock & Turn Off in the Security screen.
•On power off: Your CLIÉ handheld will lock when it is turned off.
•At a preset time: The Set Time dialog box appears. Set a time so your
CLIÉ handheld will lock at that preset time.
•After a preset delay: Set your CLIÉ handheld to lock if inactive for a
preset time. Enter the time, and tap the arrow V next to it to select
minute(s) or hour(s).
5Tap OK.

Chapter 2 Using Basic applications 96
Performing common tasks
Making records private
In all basic applications, you can make individual records private. Private
records remain visible and accessible, until you select the Security setting to
hide all private records.
To mask or hide private records
You can mask or hide your private records. To view the masked or hidden
records, you need to enter the password.
1Rotate the Jog Dial navigator to select Security or tap the
Security icon on the Application Launcher screen.
The Security screen appears.
2Tap the arrow V next to Current Privacy to select Mask Records
or Hide Records from the drop-down list.
•Mask Records: Masked records appear as grey placeholders in their
position with a lock mark.
•Hide Records: Hidden records disappear completely from the screen.
3Tap OK.
To display private records
In step 2, select Show Records.
If you have a password, the Show Records screen appears. Enter the
password and tap OK.
When you select Hide RecordsWhen you select Mask Records

Chapter 2 Using Basic applications 97
Performing common tasks
Attaching notes
In all basic applications except Memo Pad, you can attach a note to a record. A
note can be up to several thousand characters long. For example, for an
appointment in Date Book, you can attach a note with directions to a location.
1Tap the record to which you want to add a note.
2Address Book only: Tap Edit.
The Address Edit screen appears.
3Tap Details.
4Tap Note.
5Enter your note.
6Tap Done.
A small note icon appears at the right side of any item that has a note.
Tip
To display the note, tap the note icon. You can review or edit the note. To delete
the note, tap Delete, and tap Yes.
Note icon

Chapter 2 Using Basic applications 98
Performing common tasks
Purging records
If outdated records of Date Book or To Do List take up memory on your
CLIÉ handheld, it’s a good idea to remove them by using Purge. If you think
Date Book or To Do List records might prove useful later, you can save them
in an archive file on your computer. Purging is not available in Address
Book or Memo Pad, so delete outdated records from these applications.
1Open the application.
2Tap the Menu icon.
3Tap Purge from the Record menu.
The Purge screen appears.
4Tap the arrow V and select how old a record must be to be
purged.
5If you want to save a copy of the purged records on your
computer, select the “Save archive copy on PC” check box.
If you want to delete the records completely, clear it.
6Tap OK.
If you chose to save a copy of the purged records, your CLIÉ handheld
transfers them to an archive file on your computer the next time you
perform a HotSync® operation.
Note
Purging does not happen automatically. You must tap the command to make it happen.

Chapter 2 Using Basic applications 99
Performing common tasks
Using the Edit menu
The Edit menu is available with any screen where you enter or edit text. In
general, commands available in the Edit menu apply to the text that you
select in an application.
Selecting text in an application
1Tap the beginning of the text that you want to select.
2Drag the stylus over the text to highlight it.
Notes
•You can also double tap to select a word, or triple tap to select a line of text.
• You can also drag across the text to select additional words, or drag down to select a
group of lines.
Edit menu
To display the Edit menu, tap the Menu icon and select Edit.
Undo Reverses the action of the last edit command. For
example, if you used Cut to remove text, Undo restores
the text you removed. Undo also reverses deletions done
by using backspace.
Cut Removes the selected text and stores it temporarily in the
memory of your CLIÉ handheld. You can paste the text
you cut into another area of the current application or
into a different application.
Copy Copies the selected text and stores it temporarily in the
memory of your CLIÉ handheld. You can paste the text
that you copy into another area of the current application
or into a different application.
Paste Inserts the text that you cut or copied at the selected
point in a record. The text you paste replaces any selected
text. If you did not previously cut or copy text, Paste does
nothing.
Select All Selects all of the text in the current record or screen. This
enables you to cut or copy all of the text and paste it
elsewhere.
Keyboard Opens the onscreen keyboard. When you finish with the
onscreen keyboard, tap Done.
Graffiti Help
Opens screens that show all the Graffiti
®
character strokes.
Use this command any time you forget a stroke for a
character.

Chapter 2 Using Basic applications 100
Performing common tasks
Choosing fonts
In all basic applications, you can change the font style to make the text easier
to read. You can choose a different font style for each application.
1Open an application.
2Tap the Menu icon.
The menu is displayed.
3Tap Options, and tap Font.
4Tap the font style you want to use.
You can select small, bold, or large font.
5Tap OK.
The text in the application is displayed in the selected font style.

Chapter 3
Exchanging and updating data
using a HotSync® operation
This chapter describes how to select HotSync® operation options and how to perform
a HotSync operation via USB cable, infrared communications port, or network. Other
advanced HotSync operations include how to use file link functions and how to
import data from Windows applications.
Contents
What is a HotSync® operation? .............................................. 102
Performing a local HotSync® operation with the USB cable ... 103
Using the Palm™ Desktop for CLIÉ software.......................... 105
Starting the Palm™ Desktop for CLIÉ software .................. 105
Basic operations of the Palm Desktop for CLIÉ software ..... 105
Locating the Palm Desktop for CLIÉ components................ 106
Advanced HotSync® operations.............................................. 107
Setting the HotSync® setup options................................... 107
Customizing HotSync application settings (Conduit) ........... 109
Conducting an IR HotSync operation.................................. 111
Conducting a HotSync operation via modem ...................... 114
Conducting a HotSync operation via a network .................. 120
Importing data from a Windows application....................... 125
Synchronizing with external data (File Link)........................ 127

Chapter 3 Exchanging and updating data using a HotSync® operation 102
What is a HotSync® operation?
A HotSync® operation is a one-step operation that allows you to
synchronize data between your CLIÉ handheld and your computer. With
just one press on the HotSync button, you can synchronize your CLIÉ
handheld application data with the Palm™ Desktop for CLIÉ software data
on your computer, back up the data of your CLIÉ handheld on your
computer, or install add-on applications.
1Synchronize the Date Book, Address Book, To Do List, and Memo Pad
data on your CLIÉ handheld and your computer. The Palm Desktop for
CLIÉ software can manage the data of multiple CLIÉ handhelds
independently.
2Back up the data stored on your CLIÉ handheld onto your computer.
Synchronization ensures that your data is always safe and up-to-date. In
case you need to perform a hard reset, a HotSync operation allows you to
restore the data.
3Import the data on your computer or install add-on applications onto
your CLIÉ handheld.

Chapter 3 Exchanging and updating data using a HotSync® operation 103
Performing a local HotSync® operation with
the USB cable
This section describes how to perform a HotSync® operation using the USB
cable (local HotSync), assuming that you have performed all the necessary
preparations and installations for your CLIÉ handheld and your computer.
For the required preparations and software installation, and for information
on performing a HotSync for the first HotSync operation, see the Read This
First manual.
1Connect the CLIÉ handheld to the USB cable.
2On your CLIÉ Handheld, rotate the Jog Dial™ navigator to
select HotSync and then press the Jog Dial navigator. Or tap
the HotSync icon on the Application Launcher screen.
The HotSync screen appears on your CLIÉ handheld.
3Tap the HotSync icon.
The HotSync operation starts.
When the HotSync operation is complete, a message showing the
HotSync completion is displayed on your CLIÉ handheld.
Note
Do not disconnect your CLIÉ handheld from the USB cable until the HotSync operation
is complete. Otherwise, the Palm Desktop for CLIÉ software may not quit normally.
If the HotSync operation does not start
Make sure that the HotSync icon is displayed in the Windows task tray on your
computer screen and Local Serial is not selected from the shortcut menu. If the HotSync
icon is not shown in the task tray, click Start, point to Programs (All Programs in
Windows® XP), Sony Handheld, and click HotSync Manager. Tap the HotSync icon
on your CLIÉ handheld to start the HotSync operation.
Continued on next page

Chapter 3 Exchanging and updating data using a HotSync® operation 104
Performing a local HotSync® operation with the USB cable
If a message stating that the selected COM port is not available is
displayed
Follow the procedures below. If the same message appears again, uninstall
the Palm Desktop for CLIÉ software and re-install it.
1Click the HotSync icon in the Windows® task tray
(bottom-right corner of the taskbar).
A shortcut menu is displayed.
2Make sure that Local USB is selected.
If it is not selected, click Local USB to select it.
Notes
•Do not disconnect your CLIÉ handheld from the USB cable during a HotSync
operation.
• Do not press the HotSync button during a HotSync® operation. It might cause errors
and force the operation to quit.
•Do not enter power saving mode during a HotSync operation. If your computer
enters power saving mode during a HotSync operation, the HotSync Manager will be
forced to quit.
To change the user name
1In the Palm™ Desktop for CLIÉ window, click Users from the
Tools menu.
The Users dialog box is displayed.
2Click the user name you want to change in the list box and
click Rename.
The Rename User dialog box is displayed.
3Enter a new user name and click OK.
Your CLIÉ handheld user name is changed at the next HotSync operation.

Chapter 3 Exchanging and updating data using a HotSync® operation 105
Using the Palm™ Desktop for CLIÉ software
The Palm™ Desktop for CLIÉ software duplicates Date Book, Address Book,
To Do List, and Memo Pad applications on your CLIÉ handheld, so you can
view, enter, and modify data stored on your CLIÉ handheld with your
computer. You can also import data from Windows software onto your CLIÉ
handheld.
Starting the PalmTM Desktop for CLIÉ software
Double-click the Palm Desktop for CLIÉ software icon on the
Windows desktop or click Start, select Programs (All Programs in
Windows XP), Sony Handheld, and click Palm Desktop for CLIÉ.
The Palm Desktop for CLIÉ software starts.
To quit the Palm Desktop for CLIÉ software
Click the close button in the upper right of the screen or click File, and
then Exit.
Basic operations of the Palm Desktop for CLIÉ software
Click the icon of the application that you want to use. The screen switches to
the selected application screen.
Basic operations for each application are the same as those of the
corresponding CLIÉ application. For details, see the Palm Desktop online
help. To display the online help, click Help and then Palm Desktop Help.

Chapter 3 Exchanging and updating data using a HotSync® operation 106
Using the Palm™ Desktop for CLIÉ software
Locating the Palm Desktop for CLIÉ components
1List pane
Displays the records in the current Desktop application.
2Application Launch bar
Provides one-click access to each Desktop application. Click an icon to
open its associated application.
3Install Tool icon
Displays the Install Tool dialog box to select the application you want to
install on your CLIÉ handheld the next time you perform a HotSync®
operation.
4User name display
Displays the user name of the owner of the information being displayed.
5Record pane
Displays full details of the record that is selected in the List pane. The
information displayed here is the same as that displayed on your CLIÉ
handheld’s Details screen.

Chapter 3 Exchanging and updating data using a HotSync® operation 107
Advanced HotSync® operations
Setting the HotSync® setup options
You can change how to start the HotSync® Manager or make the local
HotSync settings.
1Click the HotSync icon in the Windows® task tray
(bottom-right corner of the taskbar) and select Setup from
the shortcut menu.
The Setup dialog box appears.
2Click the General tab to select one of the following options.
If you are not sure which option to use, keep the default setting: (Always
available)
•Always available: Adds the HotSync Manager to the Startup folder
and starts the HotSync Manager to monitor the USB port as soon as
Windows is started. This allows you to perform a HotSync operation
even when the Palm Desktop for CLIÉ software is not running.
•Available only when the Palm Desktop is running: Starts the
HotSync Manager when you start the Palm Desktop for CLIÉ
software.
•Manual: Starts the HotSync Manager only when you select HotSync
Manager from the Windows Start menu.
Continued on next page

Chapter 3 Exchanging and updating data using a HotSync® operation 108
Advanced HotSync® operations
3Click the Modem tab to display the modem settings and
adjust the options as needed.
See “Conducting a HotSync® operation via modem” on page 114 for more
information.
4If you are attached to a network, click the Network tab to
display the network settings and adjust the options as
needed.
See “Conducting a HotSync® operation via a network” on page 120 for
more information.
5Click OK.

Chapter 3 Exchanging and updating data using a HotSync® operation 109
Advanced HotSync® operations
Customizing HotSync application settings (Conduit)
What is a “Conduit”?
For each application, you can define a set of options that determine how
records are handled during synchronization. These options are called a
“conduit.” By default, a HotSync® operation synchronizes all files between
your CLIÉ handheld and the Palm Desktop for CLIÉ software.
In general, you should leave the settings as they are to synchronize all files.
The only reason you might want to change these settings is to overwrite data
on either your CLIÉ handheld or the Palm Desktop for CLIÉ software, or to
avoid synchronizing a particular type of file because you do not use it.
In addition to the conduits for Date Book, Address Book, To Do List, and
Memo Pad, the Palm Desktop for CLIÉ software offers System and Install
conduits. The System conduit backs up the system information stored on
your CLIÉ handheld. The Install conduit installs add-on applications to your
CLIÉ handheld.
1Click the HotSync icon in the Windows task tray (bottom-
right corner of the taskbar) and select Custom from the
HotSync Manager menu.
Or, select Custom from the HotSync menu of the Palm Desktop for CLIÉ
software.
The Custom dialog box appears.
2Select the appropriate user name you are using on your CLIÉ
handheld from the drop-down list.
3Select an application in the Conduit list.
Continued on next page

Chapter 3 Exchanging and updating data using a HotSync® operation 110
Advanced HotSync® operations
4Click Change.
The Change HotSync Action dialog box appears.
5Click the direction in which you want to write data, or click
Do nothing.
6Click OK.
7Repeat steps 2 through 6 to change conduit settings for other
applications (or users).
8Click Done.
Notes
• Any change in the HotSync setting from the default affects only the next HotSync
operation. Thereafter, the HotSync Actions revert to their default settings. To use a
new setting on an ongoing basis, check the Set as default box.
• To restore the default settings, click Default in the Custom dialog box.

Chapter 3 Exchanging and updating data using a HotSync® operation 111
Advanced HotSync® operations
Conducting an IR HotSync operation
You can use the IR (infrared) port of your CLIÉ handheld to perform an IR
HotSync® operation with a computer equipped with an IrDA (Infrared Data
Association) IR port. An IR HotSync operation allows you to perform a
HotSync operation without using the USB cable.
Before you start performing an IR HotSync operation
Check the following:
•Your computer is equipped with an infrared port supporting the IrDA
standards.
•The infrared port of your computer is enabled for Windows use.
To enable the IR port with Windows, see the manual of the computer you
are using or the Windows online help.
•Which port number is allocated to the infrared port.
Check the infrared port number in the Infrared Monitor in the Control
Panel. For information on the Infrared Monitor, see the manual of the
computer you are using or the Windows online help.
Preparing your computer
To perform an IR HotSync operation, you have to allocate a virtual port to
an IR HotSync operation.
Windows 2000 Professional/Windows XP users:
1Click the HotSync icon in the Windows task tray (bottom-
right corner of the taskbar), and select IR from the shortcut
menu.
Your computer is ready to perform an IR HotSync operation.
Windows 98/98 Second Edition/Me users:
1Click the HotSync icon in the Windows task tray (bottom-
right corner of the taskbar) and select Local Serial from the
shortcut menu.
2Click the HotSync icon in the Windows task tray again
and select Setup from the shortcut menu.
The setup dialog box is displayed.
Continued on next page

Chapter 3 Exchanging and updating data using a HotSync® operation 112
Advanced HotSync® operations
3Click the Local tab to change the setting for an IR HotSync
operation as needed.
•Serial Port: Specifies a virtual port for an infrared port. If you are not
sure of the connection port, see the Infrared Monitor in the Windows
Control Panel.
•Speed: Determines the speed at which data is transferred. Try the “As
Fast As Possible” rate first, and adjust downward if you experience
problems.
4Tap OK.
Your computer is ready to perform an IR HotSync operation.
Note
When performing a local HotSync operation with the USB cable after you make the
HotSync Setup settings for an IR HotSync operation, you should restore the local
HotSync settings. For details, see “To restore the local HotSync settings” on page 113.
Performing an IR HotSync operation
After you prepare your computer and your CLIÉ handheld, and select your
Conduit Setup options, you are ready to perform an IR HotSync operation.
1Rotate the Jog Dial™ navigator to select HotSync and press
the Jog Dial navigator. Or tap the HotSync icon on the
Application Launcher screen.
The HotSync dialog box appears.
2Tap Local.
3Tap the arrow V beneath the icon and select IR to a PC/
Handheld from the drop-down list.
4Point the IR port of your CLIÉ handheld directly at the IR port
of the receiving computer.
Tip
For best results, your computer and your CLIÉ handheld should be 4 to 8 inches
(approximately 10 to 20 centimeters) apart, and the path between your CLIÉ
handheld and the computer must be clear of obstacles.
Continued on next page

Chapter 3 Exchanging and updating data using a HotSync® operation 113
Advanced HotSync® operations
5Tap the icon.
The HotSync operation starts. Wait for the message showing that the
HotSync operation is complete.
To restore the local HotSync settings
1Connect the USB cable to your computer.
2Click the HotSync icon in the Windows task tray and clear
the check mark of Local Serial from the shortcut menu.
3Click the HotSync icon in the Windows task tray again and
select Setup from the shortcut menu.
The setup dialog box is displayed.
4Click the Local tab to display the setting for a local HotSync
operation as needed.
5Click OK.
Your computer is now ready to perform a local HotSync operation.

Chapter 3 Exchanging and updating data using a HotSync® operation 114
Advanced HotSync® operations
Conducting a HotSync operation via modem
You can use a modem to synchronize your CLIÉ handheld when you are
away from your computer. A HotSync® operation via modem allows you to
back up your CLIÉ data to your computer away from your computer.
Notes
• The first HotSync operation must be local, using the USB cable. After that, you can
perform a modem HotSync operation.
•It may take many minutes to complete a HotSync operation via modem. To minimize
the time required to synchronize data with a modem, define the files and/or
applications you synchronize during a modem HotSync operation in advance. For
details, see “To select the conduits for a modem HotSync operation” on page 118.
Before you start performing a HotSync operation via modem
Verify the following:
•A modem or terminal adapter is connected to your computer.
•The Palm Desktop for CLIÉ software is properly configured for use with
the modem.
modem
+
A HotSync operation
with the PC at home
Your CLIÉ handheld
away from your PC

Chapter 3 Exchanging and updating data using a HotSync® operation 115
Advanced HotSync® operations
Preparing your computer
The following few steps must be performed to prepare your computer for a
modem HotSync operation. Be sure to perform these steps before you leave
your office or home so that your computer is ready to receive a call from
your CLIÉ handheld.
1Verify the following, to prepare your computer for a modem
HotSync operation:
•The computer modem is connected to your computer and both the
modem and computer are turned on.
•No communication applications, such as fax or telephony software,
are running on the COM port.
•The computer is disconnected from all online services. This helps to
avoid conflicts with the COM port.
2Click the HotSync icon in the Windows task tray (bottom-
right corner of the taskbar) and select Modem from the
shortcut menu.
3Click the HotSync icon in the Windows task tray again
and select Setup from the shortcut menu.
The Setup dialog box is displayed.
4Click the Modem tab.
Continued on next page

Chapter 3 Exchanging and updating data using a HotSync® operation 116
Advanced HotSync® operations
5Adjust the following options as needed.
•Serial Port: Identifies the port for the modem. If you are unsure of the
port assignment, look at the Modem Properties in the Windows
Control Panel.
•Speed: Determines the speed at which data is transferred. Try the “As
Fast As Possible” rate first, and adjust downward if you experience
problems. This setting allows the Palm Desktop for CLIÉ software and
your CLIÉ handheld to find and use the fastest speed.
•Modem: Identifies the modem type or manufacturer. Refer to your
modem manual or face plate for its type or settings. If you are not sure
of your modem type or your modem does not match any that appear
in the list, select Hayes Basic.
•Setup String: Identifies the setup string for your particular modem.
Not all modems require a setup string. Refer to your modem manual
and enter a setup string if recommended by the manufacturer.
6Click OK.
Preparing your CLIÉ handheld
Follow the procedures below to prepare your CLIÉ handheld for a modem
HotSync operation.
1Rotate the Jog Dial navigator to select HotSync and press the
Jog Dial navigator. Or tap the HotSync icon on the
Application Launcher screen.
The HotSync dialog box appears.
2Tap Modem.
Continued on next page

Chapter 3 Exchanging and updating data using a HotSync® operation 117
Advanced HotSync® operations
3Tap the Enter phone # field.
The Phone Setup dialog box is displayed.
4Change the following settings if necessary:
1Enter the telephone number used to access the modem connected to
your computer.
If necessary, enter a dial prefix (such as “9”) to access an outside line,
and tap the Dial prefix check box. You can enter a comma in the field
to introduce a “pause” in the dialing sequence. Each comma equals a
two second pause.
2If the phone line you are using for your CLIÉ handheld has Call
Waiting, select the “Disable call waiting” check box to avoid an
interruption during the modem HotSync operation.
3If you want to use a calling card to place the call, select the “Use
calling card” check box and enter the calling card number.
Note
If you plan to connect to your company’s dial-in server (network modem) instead
of connecting to a computer modem, see “Conducting a HotSync operation via a
network” on page 120.
5Tap OK.
The HotSync screen is displayed again.
Continued on next page

Chapter 3 Exchanging and updating data using a HotSync® operation 118
To select the conduits for a modem HotSync operation
The Conduit Setup dialog box on your CLIÉ handheld enables you to define
which files and/or applications synchronize during a modem HotSync
operation. You can use these settings to minimize the time required to
synchronize your data when using a modem.
To change the Conduit Setup for a modem HotSync operation:
1Rotate the Jog Dial navigator to select HotSync and press the
Jog Dial navigator. Or tap the HotSync icon on the
Application Launcher screen.
The HotSync screen appears.
2Tap the Menu icon.
3Tap Options, and tap Conduit Setup.
The Conduit Setup screen is displayed.
4Tap the check boxes to clear the selection of the files and
applications that you do not want to synchronize during a
modem HotSync operation.
The default setting is to synchronize all files.
Note
Applications that do not have a database (such as games) do not synchronize,
even if you select the item in the Conduit Setup dialog box.
5Tap OK.
Advanced HotSync® operations

Chapter 3 Exchanging and updating data using a HotSync® operation 119
Performing a HotSync operation via modem
After you prepare your computer and your CLIÉ handheld, and select your
Conduit Setup options, you are ready to perform a modem HotSync
operation.
1Rotate the Jog Dial navigator to select HotSync and press the
Jog Dial navigator, or tap the HotSync icon on the
Application Launcher screen.
The HotSync screen appears.
2Tap the icon.
A HotSync operation starts. Wait for the message showing that the
HotSync operation is complete.
Advanced HotSync® operations

Chapter 3 Exchanging and updating data using a HotSync® operation 120
Advanced HotSync® operations
Conducting a HotSync operation via a network
When you use the Network HotSync® application, you can take advantage
of the LAN and WAN connectivity available in many office environments.
The Network HotSync application enables you to perform a HotSync
operation by dialing in to a network (Network Modem Sync) or by using a
USB cable that is connected to any computer on your LAN or WAN (LAN
Sync) (provided that the computer connected to the USB cable also has the
Network HotSync application installed, your computer is on, and the
HotSync Manager is running).
To connect to your company’s dial-in server
The Network HotSync application requires the following:
•Your computer has TCP/IP support installed.
•Both your company’s network system and its remote access server support
TCP/IP.
•You have a remote access account.
Everything you need to connect to your company’s dial-in server (network
modem) is included in the Palm Desktop for CLIÉ software and your CLIÉ
handheld. You need to activate certain features, however, on both the Palm
Desktop for CLIÉ software and your CLIÉ handheld.
Preparing your computer
1Click the HotSync icon in the Windows task tray and
select Network from the shortcut menu.
2Click the HotSync icon in the Windows task tray again
and select Setup from the shortcut menu.
The Setup screen is displayed.
3Click the Network tab and make sure your user name has a
check mark next to it. If the check mark is not there, click the
check box next to your user name.
4Click OK.
Continued on next page

Chapter 3 Exchanging and updating data using a HotSync® operation 121
Advanced HotSync® operations
5Connect your CLIÉ handheld to the USB cable and perform a
HotSync operation.
This HotSync operation records the network information about your
computer onto your CLIÉ handheld.
6Check if your computer‘s network information (Primary PC
name and Primary PC address) is entered in your CLIÉ
handheld:
1Rotate the Jog Dial navigator to select HotSync and press the Jog
Dial navigator. Or tap the HotSync icon on the Application
Launcher screen.
The HotSync screen appears.
2Tap the Menu icon.
3Tap Primary PC Setup from the Options menu.
The Primary PC Setup screen is displayed.
4On your computer, click the HotSync icon in the Windows task
tray and select Setup from the shortcut menu.
5Click the Network tab, then click TCP/IP Settings to open the TCP/
IP Settings screen.
6Confirm that the Primary PC name and Primary PC address on both
screens displayed in sub-steps 3 and 5 match. If they do not
match, change the Primary PC name and Primary PC address
entered in your CLIÉ handheld, then tap OK.
7On your computer, click OK to close the TCP/IP Settings screen and
the Setup screen.
Preparing your CLIÉ handheld and performing a network HotSync
operation
When dialing into a network (Network Modem Sync)
1Rotate the Jog Dial navigator to select HotSync and press the
Jog Dial navigator. Or tap the HotSync icon on the
Application Launcher screen.
The HotSync screen appears.
2Tap the Menu icon.
Continued on next page

Chapter 3 Exchanging and updating data using a HotSync® operation 122
Advanced HotSync® operations
3Tap Modem Sync Prefs from the Options menu.
The Modem Sync Preferences screen is displayed.
4Tap Network.
5Tap OK.
The HotSync screen appears again.
6Tap Modem, and tap Select Service.
The Preferences screen is displayed.
Note
See “Changing the Network preferences” on page 172 for information on creating a
network connection.
7Tap the arrow V next to Service and select a service from the
drop-down list.
Continued on next page

Chapter 3 Exchanging and updating data using a HotSync® operation 123
Advanced HotSync® operations
8Tap Done.
9Tap the Menu icon.
10
Tap Conduit Setup from the Options menu.
Follow the instructions in “To select the conduits for a modem HotSync
operation ” on page 118.
11
Perform a HotSync operation via modem.
Follow the instructions in “Performing a HotSync operation via modem”
on page 119.
When connecting to the network computer via cable (LANSync)
1Rotate the Jog Dial navigator to select HotSync and press the
Jog Dial navigator. Or tap the HotSync icon on the
Application Launcher screen.
The HotSync screen appears.
2Tap the Menu icon.
3Tap LANSync Prefs from the Options menu.
The LANSync Preferences screen is displayed.
4Tap LANSync.
5Tap OK.
The HotSync screen appears again.
6Tap the Menu icon.
Continued on next page

Chapter 3 Exchanging and updating data using a HotSync® operation 124
Advanced HotSync® operations
7Tap Conduit Setup from the Options menu.
Follow the instructions in “To select the conduits for a modem HotSync
operation ” on page 118.
8Perform a local HotSync operation.
Follow the instructions in “Performing a local HotSync® operation with
the USB cable” on page 103.

Chapter 3 Exchanging and updating data using a HotSync® operation 125
Advanced HotSync® operations
Importing data from a Windows application
If you have data stored in Windows computer applications such as
spreadsheets and databases, you can transfer that data to your CLIÉ
handheld.
Importable file formats
Save data in one of the file formats listed below, import it into the Palm
Desktop for CLIÉ software, and perform a HotSync® operation to transfer
the data to your CLIÉ handheld.
The Palm Desktop for CLIÉ software can import data in the following file
formats:
•Comma delimited (*.csv, *.txt): Address Book and Memo Pad only
•Tab separated values (*.tab, *.tsv, *.txt): Address Book and Memo Pad
only
•vCard File (*.vcf): Address Book only
•CSV (Lotus Organizer 2.x/97 Mapping): Address Book only
•Text (*.txt): Memo Pad only
•Date Book archive (*.dba)
•vCal File (*.vcs): Date Book only
•Address Book archive (*.aba)
•To Do archive (*.tda)
•Memo Pad archive (*.mpa)
Archive formats can only be used with the Palm Desktop for CLIÉ software.
Use the archive file formats to share information with other people who use
a Palm OS® platform handheld or to create a copy of your Palm Desktop for
CLIÉ software information.

Chapter 3 Exchanging and updating data using a HotSync® operation 126
Advanced HotSync® operations
Importing data
1Start the Palm Desktop for CLIÉ software.
2Click the application into which you want to import data.
3If you are importing records that contain a field with
category names, select All in the Category box.
Be sure that the same categories that appear in the imported file also exist
in the application. If the categories do not exist, create them now;
otherwise, the records will be imported into the Unfiled category.
4Click Import from the File menu.
The Import dialog box is displayed.
5Select the file you want to import.
6Click Open.
7To import data into the correct Palm Desktop for CLIÉ fields,
drag the fields in the left-hand column so that they parallel
to the corresponding imported fields on the right.
8Clear the check box for the field that you do not want to
import.
9Click OK.
The imported data is highlighted in the application.
10
To add the imported data to your CLIÉ handheld, perform a
HotSync operation.
See the Palm Desktop for CLIÉ online Help for more information on
importing and exporting data.

Chapter 3 Exchanging and updating data using a HotSync® operation 127
Advanced HotSync® operations
Synchronizing with external data (File Link)
The File Link feature allows you to import Address Book and Memo Pad
information onto your CLIÉ handheld from a separate external file such as a
company phone list. HotSync® Manager stores the data in a separate
category on your Palm Desktop for CLIÉ software and your CLIÉ handheld.
You can set the File Link feature to check for changes to the external file
when you perform a HotSync operation.
With File Link, you can import data stored in any of the following file
formats:
•Comma-delimited (*.csv)
•Palm Desktop for CLIÉ software’s Memo Pad archive (*.mpa)
•Palm Desktop for CLIÉ software’s Address Book archive (*.aba)
•Text (*.txt)
For information on how to set up File Link, see the Desktop for CLIÉ online
help.

Chapter 4
Communicating using your Sony CLIÉ Handheld
This chapter describes how to communicate with another Palm OS® PDA device via
the infrared communications port or Memory Stick® media, how to handle Memory
Stick media, and how to use the Memory Stick Gate application for managing the
data in Memory Stick media.
Contents
Beaming between your Sony CLIÉ Handheld and another
Palm OS® PDA ........................................................................ 129
What you can do with beaming ......................................... 129
Beaming information......................................................... 130
Receiving beamed information........................................... 131
Tips on beaming information ............................................. 131
Using Memory Stick® media................................................... 132
What is Memory Stick® media?......................................... 132
Inserting and removing Memory Stick media ...................... 133
Protecting the data in Memory Stick media ........................ 135
Starting an application in Memory Stick media................... 136
Starting an application automatically when
Memory Stick media is inserted.......................................... 136
Viewing information of the inserted Memory Stick
media (Card Info) .............................................................. 137
Formatting Memory Stick media ........................................ 138
Exchanging data via Memory Stick® media............................ 140
Starting the Memory Stick® Gate (MS Gate) application..... 140
Copying your CLIÉ handheld data to Memory Stick media .. 143
Copying data in Memory Stick media to your CLIÉ handheld
......................................................................................... 145
Deleting data in Memory Stick media................................. 148
Using the Memory Stick Gate menus.................................. 150
Installing applications to/from Memory Stick
media without using the Memory Stick Gate application .... 151

Chapter 4 Communicating using your Sony CLIÉ Handheld 129
What you can do with beaming
Your CLIÉ handheld is equipped with an IR (infrared) port that you can use
to beam information to another Palm OS® PDA device that is close by and
also has an IR port. The IR port is located at the top of your CLIÉ handheld,
behind the small dark shield.
You can beam the following information between your CLIÉ handheld and
another Palm OS PDA:
•The record currently displayed in Address Book, Date Book, To Do List, or
Memo Pad.
•All records of the category currently displayed in Address Book, Date
Book, To Do List, or Memo Pad.
•A special Address Book entry that you designate as your business card.
•An application installed in RAM memory.
Note
Some applications are protected and cannot be beamed, as indicated by a lock icon
to the side of applications.
IR Port
Beaming between your Sony CLIÉ Handheld
and another Palm OS® PDA

Chapter 4 Communicating using your Sony CLIÉ Handheld 130
Beaming between your Sony CLIÉ Handheld and another Palm
OS® PDA
Beaming information
You can beam a record, business card, or category of records between your
CLIÉ handheld and another Palm OS PDA.
1Locate the record, business card, or category you want to
beam.
2Tap the Menu icon.
3Tap one of the following from the Record menu:
•The Beam command for an individual record
•In Address Book only: Beam Business Card
•Beam Category
4When the Beam dialog box appears, point the IR port directly
at the IR port of the receiving handheld.
Tip
For best results, your CLIÉ handheld and another Palm OS PDA should be 4 to 8
inches (approximately 10 to 20 centimeters) apart. The path between the two
handhelds must be clear of obstacles and shielded from fluorescent lighting.
Beaming distance to other Palm OS PDA handhelds may be different.
5Wait for the Beam dialog box to indicate that the transfer is
complete before you continue working on your CLIÉ
handheld.

Chapter 4 Communicating using your Sony CLIÉ Handheld 131
Beaming between your Sony CLIÉ Handheld and another Palm
OS® PDA
Receiving beamed information
1Turn on your CLIÉ handheld.
2Point the IR port directly at the IR port of the other Palm OS
PDA handheld transmitting the data.
The Beam dialog box is displayed. Beaming data starts.
You can select the category in which you save the data in a dialog box.
3Tap Yes.
The data is saved to the unfiled category.
Note
If Beam Receive in the Preferences menu is set to Off, you cannot receive data using the
beaming feature. Before beaming data, make sure to set Beam Receive to On.
Tips on beaming information
•Incoming data or application should be placed in the Unfiled category.
•You can press the Address Book button for about two seconds to beam
your business card.
•You can use Graffiti® writing to beam the current entry ( then , or
and then tap ).

Chapter 4 Communicating using your Sony CLIÉ Handheld 132
Using Memory Stick® media
What is Memory Stick® media?
Memory Stick® media is a new compact, portable and versatile Integrated
Circuit recording medium with a data capacity that exceeds a floppy disk.
Memory Stick media is specially designed for exchanging and sharing
digital data among Memory Stick media compatible products such as a
digital video camera. Because it is removable, Memory Stick media can also
be used for external data storage.
Memory Stick media allows you to exchange data between your CLIÉ
handheld and your computer or a digital camera that supports Memory
Stick media. To exchange data via Memory Stick media, your CLIÉ
handheld uses the supplied Memory Stick Gate (MS Gate) application.
Types of Memory Stick media
There are two types of Memory Stick media:
•MagicGate Memory Stick media, which is equipped with “MagicGate”
copyright protection technology.
•Memory Stick media, which is not equipped with “MagicGate” copyright
protection technology.
You can use both types of Memory Stick media with your CLIÉ handheld
(PEG-SL10, PEG-SJ20, or PEG-SJ30). Note, however, that your CLIÉ handheld
does not support the “MagicGate” copyright protection technology. You can
use MagicGate Memory Stick media with your CLIÉ handheld only as
standard Memory Stick media.
Note on using MagicGate Memory Stick media
If you use the Memory Stick Gate application or Windows® Explorer to handle a
protected file, such as copying it from a MagicGate Memory Stick media to your
computer, the file may be disabled. To handle copyright-protected files, use a
“MagicGate” compliant application such as the SonicStage LE software.

Chapter 4 Communicating using your Sony CLIÉ Handheld 133
Using Memory Stick® media
Inserting and removing Memory Stick media
Insert Memory Stick media into the Memory Stick slot as illustrated below.
The contents of the Memory Stick media is displayed automatically.
Note
Insert Memory Stick media in the right direction. If Memory Stick media is forced in the
wrong way, it may be damaged.
To remove Memory Stick media
Make sure that your CLIÉ handheld is not writing to or reading data from
Memory Stick media.
Push Memory Stick media gently into the slot and then release it so that
Memory Stick media pops out. Then pull it out from your CLIÉ handheld.
b
The Memory Stick indicator
lights in orange while your
CLIÉ handheld is accessing
Memory Stick media.
Push Memory Stick media in. Pull Memory Stick media out.
Continued on next page

Chapter 4 Communicating using your Sony CLIÉ Handheld 134
Using Memory Stick® media
Notes on using Memory Stick media
When you use Memory Stick media, follow these precautions:
•Avoid touching the terminal of Memory Stick media or contacting it with
a metal object.
•Do not drop, bend, or submit Memory Stick media to external shock.
•Do not disassemble or modify Memory Stick media.
•Avoid getting liquids on Memory Stick media.
•Avoid using or storing Memory Stick media in a location subject to:
–extremely high temperature such as the hot inside of a car, the
outdoors exposed to direct sunlight, or near a heater.
–direct sunlight – high humidity
–corrosive substances – excessive dust
–magnetic fields
•When storing and carrying Memory Stick media, keep it in its original case
to ensure protection of important data.
•Save a backup for important data.
•Avoid removing Memory Stick media from the insertion slot while data is
being written or read.
•To avoid damaging or erasing data, do not
– release Memory Stick media or unplug the AC power adapter while
formatting, or reading or writing data.
– use Memory Stick media in a location subject to static electricity or
electric noise.
•If the battery of your CLIÉ handheld is running out, an error message is
displayed and you cannot exchange data with Memory Stick media.
If this occurs;
-for PEG-SL10, replace the batteries with new ones.
-for PEG-SJ20/PEG-SJ30, connect the AC power adapter or fully charge
your CLIÉ handheld.
•Use the Memory Stick Gate application to format Memory Stick media you
use in your CLIÉ handheld. If you format it using another application,
further operation with your CLIÉ handheld is not guaranteed.
Continued on next page

Chapter 4 Communicating using your Sony CLIÉ Handheld 135
Using Memory Stick® media
LOCK
LOCK LOCK
Back side
Write Enable
Position Write Protect
Position
•If you insert Memory Stick media that has been formatted by another
application, a message prompting you to format it is displayed. To use
Memory Stick media in your CLIÉ handheld, follow the instructions to
format it. Note, however, that all stored data will be erased.
Protecting the data in Memory Stick media
To prevent accidental erasure of important data, you can use the write
protect tab of Memory Stick media. Slide the tab to the left or right to enable
or disable writing to Memory Stick media.
Write enable position
Slide the tab to the left to select the write enable position. You can read and
write data in the Memory Stick media.
Write protect position (LOCK)
Slide the tab to the right. You can only read the data in the Memory Stick
media. Select the write protect position when you do not want to overwrite
or delete the data in the inserted Memory Stick media.

Chapter 4 Communicating using your Sony CLIÉ Handheld 136
Using Memory Stick® media
Starting an application in Memory Stick media
To open an application in the Memory Stick media from the Application
Launcher screen, tap the arrow V in the upper-right corner of the
Application Launcher screen and select Card (or a category with the Card
icon). Then, tap the icon of the application you want to open.
Note
If the application you are about to open had been installed to the Memory Stick media
through a HotSync® operation, some Sony application may not start. For details, see
page 152.
Starting an application automatically when Memory Stick
media is inserted
The Memory Stick Autorun (MS Autorun) allows you to start a specified
application automatically when Memory Stick media is inserted into your
CLIÉ handheld. You can select your favorite application as the auto-run
application. For example, if you like watching still images, set PictureGear™
Pocket to start automatically.
See the supplied “Add-on Application Guide” for details.

Chapter 4 Communicating using your Sony CLIÉ Handheld 137
Using Memory Stick® media
Viewing information of the inserted Memory Stick media
(Card Info)
The Card Info gives you the outline (such as the remaining memory space)
of the Memory Stick media inserted into your CLIÉ handheld. You can also
give a name to each Memory Stick media, which comes in handy when you
have more than one Memory Stick media.
1Rotate the Jog Dial™ navigator to select Card Info and press
the Jog Dial navigator. Or tap the Card Info icon on the
Application Launcher screen.
The Card Info screen appears.
Attaching a name to a Memory Stick media
1Rotate the Jog Dial™ navigator to select Card Info and press
the Jog Dial navigator. Or tap the Card Info icon on the
Application Launcher screen.
The Card Info screen appears.
2Tap the Menu icon.
3Tap Rename Card.
The Rename Card dialog box appears.
Continued on next page

Chapter 4 Communicating using your Sony CLIÉ Handheld 138
Using Memory Stick® media
4Enter a new name for the inserted Memory Stick media.
5Tap Rename.
Formatting Memory Stick media
Commercially available Memory Stick media is already formatted and you
can use it as soon as you buy it. Follow the procedures below if you need to
format your Memory Stick media again:
1Rotate the Jog Dial™ navigator to select MS Gate and press
the Jog Dial navigator. Or tap the icon on the
Application Launcher screen.
The Memory Stick Gate application starts up.
2Tap the Menu icon.
The Menu screen appears.
3Tap Options, and tap Format.
The confirmation message appears.
4Tap OK.
Formatting starts.
Continued on next page

Chapter 4 Communicating using your Sony CLIÉ Handheld 139
Using Memory Stick® media
To cancel formatting
Tap Cancel in step 3.
To format a Memory Stick media in the Card Info screen
You can also format a Memory Stick media by tapping the Menu icon on
the Card Info screen, and selecting Format Card from the Card menu.
What is formatting?
Formatting defines the recording format for your Memory Stick media so that you can
access data with your CLIÉ handheld.
Notes
•If formatted, all the data previously recorded in Memory Stick media will be erased.
Make sure to check the data before formatting so that you do not delete important
data.
•To use Memory Stick media on your CLIÉ handheld, format it in your CLIÉ
handheld. You may not be able to write or read properly on Memory Stick media
formatted by the computer.
•If you remove or insert Memory Stick media during initialization, your Memory Stick
media is not recognized by your computer. In this case, remove Memory Stick media,
reinsert it, and start formatting again.

Chapter 4 Communicating using your Sony CLIÉ Handheld 140
Exchanging data via Memory Stick® media
Starting the Memory Stick® Gate (MS Gate) application
The Memory Stick Gate application allows you to copy, move, or delete data
in Memory Stick® media and in your CLIÉ handheld.
Rotate the Jog Dial™ navigator to select MS Gate and press the
Jog Dial navigator. Or tap the MS Gate icon on the
Application Launcher screen.
The Memory Stick Gate application starts up and data lists appear on your
CLIÉ handheld screen.
Tip
When the Memory Stick Gate application first recognizes the insertion of Memory Stick
media, it automatically creates a default folder in the Memory Stick media. The “default
folder” stands for the standard working folder where the Memory Stick Gate
application reads and writes data. A folder named “PALM/PROGRAMS/MSFILES” is
created in the inserted Memory Stick media.
When displaying the contents of your CLIÉ handheld
The currently opened folder on
the Memory Stick media card. Tap this icon to switch the view
between your CLIÉ handheld
and Memory Stick media.
Lock icon.
Tap here to switch the view.
size : File size
creator : Creator ID of the file
type : File type
version : Version of the file
none : no items displayed
Tap this icon to switch the view
between your CLIÉ handheld
and Memory Stick media.
Displays the files which belong
to the same creator (ID) as one
grouped item.
Tap this icon to display or hide the contents.
Tap this icon to sort in ascending or
descending order.
Continued on next page

Chapter 4 Communicating using your Sony CLIÉ Handheld 141
Exchanging data via Memory Stick® media
When displaying the contents of Memory Stick media
The following icons with explanations are displayed only when you view
the contents of Memory Stick media. For the other icons, see “When
displaying the contents of your CLIÉ handheld” (page 140).
: Tap this icon to display the contents of the folder.
: Tap this icon to display upper the folder.
Tap here to display “file name” to show the file name
with PC file extensions.
Continued on next page

Chapter 4 Communicating using your Sony CLIÉ Handheld 142
Exchanging data via Memory Stick® media
Notes on moving or copying data using the Memory Stick Gate
application
In some cases when you move or copy a specific file using the Memory Stick
Gate application, a CLIÉ application may not function properly. Sony is not
liable for any trouble with applications or data that arises out of your
deletion or moving of a file.
Do not move or delete the following files:
•Saved Preference: Saves the final operation status or settings for various
applications.
•Unsaved Preference: Saves the settings of various applications or user
information of your CLIÉ handheld. If this file is deleted, you may not be
able to synchronize correct information.
•NetworkDB: Saves network settings. If this file is deleted, network
connection is disabled.
•AddressDB: Saves the database for Address Book.*
•DatebookDB: Saves the database for Date Book.*
•MemoDB: Saves the database for Memo Pad.*
•MailDB: Saves the database for Mail.*
•ToDoDB: Saves the database for To Do List.*
* ) These database files can be copied to Memory Stick media for back-up. If you copy
them back to your CLIÉ handheld, the identical files in your CLIÉ handheld will be
overwritten with the information atthe time of back-up. Note that any added or
edited data in your CLIÉ handheld after the back-up will be erased.

Chapter 4 Communicating using your Sony CLIÉ Handheld 143
Exchanging data via Memory Stick® media
Copying your CLIÉ handheld data to Memory Stick media
The Memory Stick Gate application allows you to save data inside your
CLIÉ handheld to Memory Stick media.
Notes
•Since data copying consumes a lot of power, you cannot use Memory Stick media
when your CLIÉ handheld is short of battery power. Connect the AC adapter.
•If you receive infrared communication while copying data, the copying will be
terminated. Do not allow infrared communication while copying data.
1Insert Memory Stick media into your CLIÉ handheld.
The contents of the Memory Stick media are displayed.
2Tap the Home icon.
3Rotate the Jog Dial navigator to select MS Gate and press the
Jog Dial navigator. Or tap the MS Gate icon on the
Application Launcher screen.
The Memory Stick Gate application starts. The data in your CLIÉ
handheld is listed.
4Tap to select the data you want to copy to Memory Stick
media.
Tip
You can select multiple files.
Note
You cannot copy data marked with a lock icon.
Continued on next page

Chapter 4 Communicating using your Sony CLIÉ Handheld 144
Exchanging data via Memory Stick® media
5Tap COPY.
The Copy File dialog box is displayed.
6Tap OK.
The data selected in step 4 is copied to the default folder (“/PALM/
PROGRAMS/MSFILES“) in Memory Stick media.
To copy all the data at once
Tap Select All in step 4.
To cancel the selection
•To cancel all the selections, tap Clear All.
•To clear only specific items, tap one selected item at a time.
To change the destination folder
Tap the arrow V in the upper right corner to select MS from the drop-down
list. The contents of Memory Stick media are listed.
Tap or to select the destination folder. The folder display changes
and you can specify the destination folder.
You can only select a folder under the “PALM/PROGRAMS” or “PALM/
Launcher” folder. The other folders cannot be selected as destination.
Moving your CLIÉ handheld data to Memory Stick media
If your CLIÉ handheld is running out of memory space, move the data from
your CLIÉ handheld to Memory Stick media.
In step 5, tap Move.
The data on your CLIÉ handheld is deleted after being saved on Memory
Stick media.
Note
When a low battery error message is displayed while you are copying or moving data
from your CLIÉ handheld to Memory Stick media, data copying or moving may fail,
leaving invalid files in the Memory Stick media. If this occurs, replace the batteries with
new ones (PEG-SL10) or charge your CLIÉ handheld (PEG-SJ20/PEG-SJ30). Then try
copying or moving again. If an overwrite confirm message appears, tap Yes or Yes to all.

Chapter 4 Communicating using your Sony CLIÉ Handheld 145
Exchanging data via Memory Stick® media
Copying data in Memory Stick media to your CLIÉ handheld
Note
Make sure your CLIÉ handheld has enough space before copying.
1Insert Memory Stick media into your CLIÉ handheld.
The contents of the Memory Stick media are displayed.
2Tap the Home icon.
3Rotate the Jog Dial navigator to select MS Gate and press the
Jog Dial navigator. Or tap the MS Gate icon on the
Application Launcher screen.
The Memory Stick Gate application starts. The data in your CLIÉ
handheld is listed.
4Press the Jog Dial navigator to select MS.
You can also tap the arrow V in the upper right corner to select MS from
the drop-down list.
The data in the default folder (“/PALM/PROGRAMS/MSFILES“) in
Memory Stick media is listed.
You can also select MS by tapping .
Continued on next page

Chapter 4 Communicating using your Sony CLIÉ Handheld 146
Exchanging data via Memory Stick® media
5Tap to select the data you want to copy to your CLIÉ
handheld.
6Tap COPY.
The Copy File dialog box is displayed.
7Tap OK.
The data selected in step 5 is copied to your CLIÉ handheld.
To copy all the data at once
Tap Select All in step 5.
To cancel the selection
•To cancel all the selections, tap Clear All.
•To clear only specific items, tap one selected item at a time.
To change the folder to be copied
Tap or to select the folder that you want to copy. The folder display
changes and you can specify a folder to be copied.
You can only select a folder under the “PALM/PROGRAMS”
or “PALM/
Launcher
”
folder. The other folders cannot be selected.
To rename the file or folder name
Select the file or folder that you want to rename, and tap the Menu icon.
Tap Rename in the Tools menu. Rename the file or folder in the following
dialog box.
Note
You cannot rename a read-only file.

Chapter 4 Communicating using your Sony CLIÉ Handheld 147
Exchanging data via Memory Stick® media
Moving data in Memory Stick media to your CLIÉ handheld
You can also move data from Memory Stick media to your CLIÉ handheld.
Tap MOVE in step 6.
The data in Memory Stick media is deleted after being saved in your CLIÉ
handheld.
Notes
• Some data such as those copied from Memory Stick media to your CLIÉ handheld
will not be backed up during the next HotSync® operation.
•A read-only file cannot be deleted. If you attempt to move a read-only file, it will be
copied onto your CLIÉ handheld instead.

Chapter 4 Communicating using your Sony CLIÉ Handheld 148
Exchanging data via Memory Stick® media
Deleting data in Memory Stick media
The Memory Stick Gate application allows you do delete unnecessary data
from Memory Stick media.
1Insert Memory Stick media in your CLIÉ handheld.
The contents of the Memory Stick media are displayed.
2Tap the Home icon.
3Rotate the Jog Dial navigator to select MS Gate and press the
Jog Dial navigator. Or tap the MS Gate icon on the
Application Launcher screen.
The Memory Stick Gate application starts. The data in your CLIÉ
handheld is listed.
4Press the Jog Dial navigator to select MS.
You can also tap the arrow V in the upper right corner to select MS from
the drop-down list.
The data in the “/PALM/PROGRAMS/MSFILES“ folder of Memory
Stick media is listed.
5Tap to select the data that you want to delete.
6Tap DELETE.
The Delete File dialog box is displayed.
Continued on next page
You can also select MS by tapping .

Chapter 4 Communicating using your Sony CLIÉ Handheld 149
Exchanging data via Memory Stick® media
7Tap OK.
The data selected in step 5 is deleted from Memory Stick media.
To delete all data at once
Tap Select All in step 5.
To cancel the selection
•To cancel all the selections, tap Clear All.
•To clear only specific items, tap one selected item at a time.
To change the folder to be deleted
Tap or to select the folder that you want to delete. The folder display
changes and you can specify a folder to be deleted.
You can only select a folder under the “PALM/PROGRAMS”
or “PALM/
Launcher
”
folder. The other folders cannot be selected.
Note
You cannot delete a read-only file.

Chapter 4 Communicating using your Sony CLIÉ Handheld 150
Exchanging data via Memory Stick® media
Using the Memory Stick Gate menus
Memory Stick Gate menu commands allow you to exchange data between
your CLIÉ handheld and Memory Stick media.
Tools menus
The menu items differ depending on the screen being displayed.
Select All Selects all the data displayed in the selected tab.
Clear All Cancels the selection of the data.
Move Moves the selected data to your CLIÉ handheld or
Memory Stick media. The Move File screen appears.
Copy Copies the selected data to your CLIÉ handheld or
Memory Stick media. The Copy File screen appears.
Delete Deletes the selected data from your CLIÉ handheld or
Memory Stick media. The Delete File screen appears.
Rename Changes the name of the selected file or folder of
Memory Stick media.
Create Folder Creates a folder in the current folder.
Create Default Folder Creates the default folder (“/PALM/PROGRAMS/
MSFILES“) in Memory Stick media.
Change to Default Folder
Changes the current folder to default folder.
Options menus
Format Formats Memory Stick media inserted in your CLIÉ
handheld.
Media Information Displays the memory information of Memory Stick
media.
About MS Gate Shows the version information for Memory Stick Gate.

Chapter 4 Communicating using your Sony CLIÉ Handheld 151
Exchanging data via Memory Stick® media
Installing applications to/from Memory Stick media
without using the Memory Stick Gate application
You can copy and install applications to/from a Memory Stick media from/
to your CLIÉ handheld from the Application Launcher screen.
However, observe the following as malfunction may occur depending on the
application.
•You can only copy application files (files with extensions such as .prc,
.pdb) using the following procedure. Related files will not be copied
together at the same time.
•Data stored in the Memory Stick media (such as image files) will not be
displayed.
1Insert the Memory Stick media into the Memory Stick slot of
your CLIÉ handheld.
The contents of Memory Stick media are displayed.
2Tap the Menu icon on your CLIÉ handheld.
3Tap Copy from the drop-down list.
The Copy dialog box appears.
4Tap the arrow V next to Copy To, and select Handheld or
Card.
5Tap the arrow V next to From, and select Card or Handheld.
6Tap the application you want to install.
7Tap Copy.
The selected application is installed on your CLIÉ handheld or Memory
Stick media.
Tip
You do not have to install add-on applications on your CLIÉ handheld in order to use
them. If you want to save the CLIÉ handheld’s memory space, you can simply select the
card category in the Application Launcher screen and tap on the application icon.
(Note, that such applications can only be used while the Memory Stick media
containing the application is inserted in the CLIÉ handheld).
Continued on next page

Chapter 4 Communicating using your Sony CLIÉ Handheld 152
Exchanging data via Memory Stick® media
Notes on starting applications installed to/from the Memory Stick
media (without using the Memory Stick Gate application)
Observe the following when starting applications that were installed to/
from a Memory Stick media not by using the Memory Stick Gate application,
but by using a HotSync operation or by copying the applications from the
Application Launcher screen.
•You can only start application files (files with extensions such as .prc,
.pdb). Image files and movie files that come with the application cannot be
started (played).
If you cannot start the installed file data, move the file data to the CLIÉ
handheld using the Memory Stick Gate application, or delete the files. If you
do not use the Memory Stick Gate application when installing, applications
and data files are stored in the ”PALM/Launcher” folder.

Chapter 5
Customizing your Sony CLIÉ Handheld (Preferences)
This chapter describes how to customize your CLIÉ handheld by changing the
Preferences settings.
Contents
What you can do with Preferences ................................. 154
Changing the Buttons preferences .......................................... 156
Assigning applications to buttons ...................................... 156
Changing the full-screen pen stroke activities..................... 157
Assigning applications to HotSync® buttons ...................... 158
Changing the Jog Dial™ navigator preferences...................... 159
Setting the display format of the time, date, and
numbers (Formats) .................................................................. 160
Selecting a region default .................................................. 160
Selecting the time, date, and numbers formats................... 161
Setting the Date & Time preferences....................................... 162
Setting the date ................................................................ 162
Setting the time................................................................. 163
Setting the time zone and daylight saving time .................. 164
Setting the General preferences .............................................. 165
Setting the automatic shut-off time.................................... 165
Setting sounds .................................................................. 166
Turning the Alarm LED on or off (PEG-SJ20/PEG-SJ30) ....... 167
Turning the Beam Receive feature on or off........................ 168
Entering owner information .................................................... 169
Creating Graffiti® ShortCuts ................................................... 170
Changing the Network preferences......................................... 172
Selecting a service ............................................................. 172
Entering a user name ........................................................ 173
Entering a password.......................................................... 173
Selecting a connection....................................................... 174
Adding telephone settings................................................. 174
Creating additional service templates................................. 175
Adding detailed information to a service template.............. 177
Creating log in scripts........................................................ 178
Using the Network preferences menus............................... 181
Setting the High Resolution Assist function ............................ 182

154
Chapter 5 Customizing your Sony CLIÉ Handheld (Preferences)
The Preferences screen enables you to customize the configuration options
on your CLIÉ handheld.
•Buttons
Assign different applications to the buttons on the front panel of your
CLIÉ handheld and the HotSync® button on the cradle (not supplied), and
reassign the full-screen pen stroke command.
•Connection
Configure serial, modem, and infrared communication settings.
•Date & Time
Set the current date and time, the time zone of your present area, and turn
on/off the daylight saving.
•Digitizer
Calibrate the screen on your CLIÉ handheld. The same digitizer calibration
screen is displayed when you start your CLIÉ handheld for the first time.
You can recalibrate your screen after a hard reset or if you find that
“tapping” does not work as expected. For details, see “Step 2: Turning on
your Sony CLIÉ Handheld for the first time” in the Read This First manual.
•Formats
Set the region default and the formats for dates, times, calendar, and
numbers.
•General
Set the auto shut-off interval, system sound, alarm sound, alarm LED
feature (PEG-SJ20/PEG-SJ30 only), game sound, and the Beam Receive
feature.
•HiRes
Set the High Resolution Assist feature.
•Jog
Enable or disable the JogAssist feature.
•Network
Configure your CLIÉ handheld for use with a network.
•Owner
Assign your name, phone number, and other owner information.
•ShortCuts
Define a list of Graffiti® abbreviations.
•Web Clipping
Configure Internet connection and proxy server settings.
What you can do with Preferences

155
Chapter 5 Customizing your Sony CLIÉ Handheld (Preferences)
What you can do with Preferences
Viewing Preference
1Rotate the Jog Dial™ navigator to select Prefs and press the
Jog Dial navigator. Or tap the Prefs icon on the
Application Launcher screen.
The Preferences screen appears.
2Tap the arrow V in the upper right corner of the screen and
select the Preferences screen you want to view from the
drop-down list.

156
Chapter 5 Customizing your Sony CLIÉ Handheld (Preferences)
Assigning applications to buttons
The Buttons Preferences screen enables you to assign different applications
to the buttons on the front panel of your CLIÉ handheld.
For example, you can assign the To Do List button to start Date Book.
1
Tap Buttons from the drop-down list on the Preferences screen.
The Buttons Preferences screen is displayed.
2Tap the arrow V next to a button and tap the application
that you want to assign to the button.
To launch the original applications
When you have assigned another application to the button, you can start the
original application using the Application Launcher.
To reset to the default settings
Tap Default in step 2. All application buttons are reset to their factory settings.
Changing the Buttons preferences

157
Chapter 5 Customizing your Sony CLIÉ Handheld (Preferences)
Changing the Buttons preferences
Changing the full-screen pen stroke activities
The Buttons Preferences screen enables you to change the assignment of the
full-screen pen stroke. By default, the full-screen pen stroke activates the
Graffiti® Help.
1
Tap Buttons from the drop-down list on the Preferences screen.
The Buttons Preferences screen is displayed.
2Tap Pen.
3Tap the arrow V and select one of the following settings for
the full-screen pen stroke.
•Backlight: Turns on the backlight of your CLIÉ handheld without
using the POWER button.
•Brightness (PEG-SJ30 only): Opens the brightness adjustment
screen.
•Keyboard: Opens the onscreen keyboard for entering text.
•Graffiti Help: Opens a series of screens that show the complete
Graffiti character set.
•Turn Off & Lock: Turns off and locks your CLIÉ handheld. To lock
your CLIÉ handheld, assign a password. When locked, you need to
enter the password to use your CLIÉ handheld.
•Beam Data: Beams the current record to another Palm OS® PDA.
4Tap OK.
Drag the stylus from the
bottom of the writing area
to the top on the screen.

158
Chapter 5 Customizing your Sony CLIÉ Handheld (Preferences)
Assigning applications to HotSync® buttons
The Buttons Preferences screen also enables you to assign different
applications to the HotSync® buttons on the cradle (not supplied) and the
modem (if a HotSync button is equipped).
1Tap Buttons from the drop-down list on the Preferences
screen.
The Buttons Preferences screen is displayed.
2Tap HotSync.
The HotSync Buttons dialog box appears.
3Tap the arrow V next to each button and select the
application you want to assign to the button.
The HotSync button assignment is changed.
4Tap OK.
Any changes that you make in the HotSync Buttons screen become
effective immediately. You can activate the selected application by
pressing the HotSync button.
Changing the Buttons preferences

159
Chapter 5 Customizing your Sony CLIÉ Handheld (Preferences)
The Jog Preferences screen enables you to change the default Jog Dial™
navigator and BACK button functions, which are:
•Scroll the screen with the Jog Dial navigator.
•Select an item from a pop-up list with the Jog Dial navigator.
•Move back and forth between screens with the BACK button.
You can set the Jog Dial navigator to operate a third-party application that is
not designed to use Jog Dial navigator operations (JogAssist feature). You
can also change the BACK button function so your CLIÉ handheld turns on
or off when the BACK button is pressed/kept pressed.
Notes
•
The functions activated by the JogAssist feature differ depending on the application you use.
•In some applications with the Jog Dial navigator mark, part of functions may change
when the JogAssist feature is activated.
1Tap Jog from the drop-down list on the Preferences screen.
The Jog Preferences screen is displayed.
2To enable the JogAssist function, select Use JogAssist.
The Jog Dial navigator functions change.
3In order to set to turn on the power by pressing the BACK
button, select Power On with BACK button.
You need to keep the BACK button pressed for a several seconds to turn
on the power.
4To set to turn off the power by keeping the BACK button
pressed, select Power Off.
Display Cursor/Menu is selected by default ( ). You can display the
cursor or menu by keeping the BACK button pressed.
Changing the Jog Dial™ navigator preferences

160
Chapter 5 Customizing your Sony CLIÉ Handheld (Preferences)
The Formats Preferences screen enables you to set the region default, and
the display format of dates, times, and numbers on your CLIÉ handheld.
Selecting a region default
When you select the region where you use your CLIÉ handheld, the display
format of the time, date, the week start day, and numbers is adjusted. For
example, in England, time is expressed using a 24-hour clock; in the United
States, time is expressed using a 12-hour clock with an AM or PM suffix.
All your CLIÉ applications use the region default settings. However, you
can customize your own settings for time, date, week start day, or numbers.
1Tap Formats from the drop-down list on the Preferences
screen.
The Formats Preferences screen is displayed.
2Tap the arrow V next to “Preset to” and select a region
name.
3Tap OK.
Setting the display format of the time, date,
and numbers (Formats)

161
Chapter 5 Customizing your Sony CLIÉ Handheld (Preferences)
Selecting the time, date, and numbers formats
You can select the desired formats for the time, date, week start day, and
numbers. The selected formats apply to all your CLIÉ applications.
1On the Formats Preferences screen, tap the arrow V next to
Time and select the desired format from the drop-down list.
2Tap the arrow V next to Date and select the desired format
from the drop-down list.
3Tap the arrow V next to “Week starts” and select whether
you want the first day of the week to be Sunday or Monday.
This setting controls the Day, Week, Month, and Agenda views in Date
Book and all other aspects of your CLIÉ handheld that display a calendar.
4Tap the arrow V next to Numbers and select formats for the
decimal point and thousands separator.
Setting the display format of the time, date, and numbers
(Formats)

162
Chapter 5 Customizing your Sony CLIÉ Handheld (Preferences)
The Date & Time Preferences screen enables you to set the date, time, time
zone, and the on/off of daylight savings for your CLIÉ handheld. After you
set the local date and time of your home base, you can change the displayed
time (for example, during business trips) by simply switching the time zones.
Setting the date
1Tap Date & Time from the drop-down list on the Preferences
screen.
The Date & Time Preferences screen is displayed.
2Tap Set Date.
The Set Date screen appears.
3Tap the arrow b or B beside the year at the top of the screen
to set the year.
4Tap the current month.
5Tap the current date.
Setting the Date & Time preferences

163
Chapter 5 Customizing your Sony CLIÉ Handheld (Preferences)
Setting the time
1Tap Date & Time from the drop-down list on the Preferences
screen.
The Date & Time Preferences screen is displayed.
2Tap Set Time.
The Set Time screen appears.
3Tap the arrow V or v to set the hour.
4Tap the minute box and tap the arrow V or v to set the
minute.
5Tap AM or PM.
6Tap OK.
Setting the Date & Time preferences

164
Chapter 5 Customizing your Sony CLIÉ Handheld (Preferences)
Setting the time zone and daylight saving time
Setting the time zone
1Tap Date & Time from the drop-down list on the Preferences
screen.
The Date & Time Preferences screen is displayed.
2Tap the Set Time Zone field.
The Set Time Zone screen appears.
3Select the time zone that corresponds to where you are.
4Tap OK.
Setting the daylight saving time
1Tap Date & Time from the drop-down list on the Preferences
screen.
The Date & Time Preferences screen is displayed.
2Tap the arrow V next to Daylight saving.
3Tap and select On or Off.
Setting the Date & Time preferences

165
Chapter 5 Customizing your Sony CLIÉ Handheld (Preferences)
Setting the General preferences
The General Preferences screen enables you to set the auto shut-off interval,
alarm options and sounds for your CLIÉ handheld.
Setting the automatic shut-off time
Your CLIÉ handheld has an automatic shut-off feature that turns off the
power after a period of inactivity. This feature helps conserve battery power
in case you forget to turn off your CLIÉ handheld. If you find that your CLIÉ
handheld shuts itself off too early or too late, you can increase or decrease
the time setting for the automatic shut-off feature.
By default, your CLIÉ handheld will turn off after two minutes of inactivity.
1Tap General from the drop-down list on the Preferences
screen.
The General Preferences screen is displayed.
2Tap the arrow V next to Auto-off After and select the desired
time setting for the automatic shut-off feature.
You can select 30 seconds, 1 minute, 2 minutes, or 3 minutes.
If you want your CLIÉ handheld to stay ON while it is connected to
the cradle (not supplied) or the plug adapter (PEG-SJ20/PEG-SJ30
only)
Make sure that the check box next to “Stay on in Cradle” is selected. To have
it turn off automatically, clear the check box.

166
Chapter 5 Customizing your Sony CLIÉ Handheld (Preferences)
Setting sounds
Your CLIÉ handheld uses a variety of sounds. The System, Alarm, and
Game Sound settings enable you to turn the sounds on or off, and to adjust
the volume level.
1Tap General from the drop-down list on the Preferences
screen.
The General Preferences screen is displayed.
2Tap the arrow V next to System Sound and select the desired
sound level or Off from the drop-down list.
When you turn the System Sound off, you also turn off the “chime” tones
associated with the HotSync® operation.
3Tap the arrow V next to Alarm Sound and select the desired
sound level from the drop-down list.
4Tap the arrow V next to Game Sound and select the desired
sound level or Off from the drop-down list.
The Game Sound setting works only with the games that are
programmed to respond to this setting.
Setting the General preferences

167
Chapter 5 Customizing your Sony CLIÉ Handheld (Preferences)
Setting the General preferences
Turning the Alarm LED on or off (PEG-SJ20/PEG-SJ30)
You can set the CLIÉ handheld to flash its LED at the set time. If you turn
the Alarm Sound off and turn on the Alarm LED, you can make use of the
CLIÉ handheld’s alarm feature without disturbing other people around you.
1Tap General from the drop-down list on the Preferences
screen.
The General Preferences screen is displayed.
2Tap the arrow V next to Alarm LED and select On or Off from
the drop-down list.
• On: Enables the Alarm LED feature
• Off: Disables the Alarm LED feature

168
Chapter 5 Customizing your Sony CLIÉ Handheld (Preferences)
Turning the Beam Receive feature on or off
The Beam Receive is set to On, by default. You can turn off the Beam Receive
feature to prohibit anyone from beaming information to your CLIÉ
handheld, and to slightly save in battery power.
1Tap General from the drop-down list on the Preferences
screen.
The General Preferences screen is displayed.
2Tap the arrow V next to Beam Receive and select On or Off
from the drop-down list.
• On: Enables the Beam Receive feature.
• Off: Disables the Beam Receive feature.
Setting the General preferences

169
Chapter 5 Customizing your Sony CLIÉ Handheld (Preferences)
The Owner Preferences screen enables you to record a name, company
name, phone number, or any other information that you want to associate
with your CLIÉ handheld.
If you use the Security application to lock your CLIÉ handheld with a
password, the information that you enter in the Owner Preferences screen
appears the next time you turn on your CLIÉ handheld.
1Tap Owner from the drop-down list on the Preferences
screen.
The Owner Preferences screen is displayed.
2Enter your owner information.
If you enter more text than can fit on one screen, a scroll bar appears at
the right side of the screen.
To unlock the Owner Preferences screen
If you assigned a password in the Security application, the information in
the Owner Preferences screen cannot be changed. In this case, an Unlock
button is displayed at the bottom of the screen.
1Tap Unlock.
The Unlock Message dialog box appears.
2Enter your current password (the one you entered in the
Security application) and tap OK.
Entering owner information

170
Chapter 5 Customizing your Sony CLIÉ Handheld (Preferences)
The ShortCuts Preferences screen enables you to define abbreviations
(ShortCuts) for entering text with Graffiti® strokes. You can create a
ShortCut for any words, letters, or numbers. All ShortCuts you create appear
on the list in the ShortCut Preferences screen. All the ShortCuts are available
in any of your CLIÉ applications and are backed up on your computer when
you perform a HotSync® operation. See “Using Graffiti® writing to enter
data” on page 12 for more information on the use of ShortCuts.
1Tap ShortCut from the drop-down list on the Preferences
screen.
The ShortCut Preferences screen is displayed.
2Tap New.
The ShortCut Entry screen is displayed.
3On the ShortCut Name line, enter the letters you want to use
to activate the ShortCut.
4Tap the ShortCut Text area and enter the text that you want
to appear when you write the ShortCut characters.
5Tap OK.
Creating Graffiti® ShortCuts
Continued on next page

171
Chapter 5 Customizing your Sony CLIÉ Handheld (Preferences)
To Edit a ShortCut
1Tap the ShortCut you want to edit in the ShortCuts list and tap
Edit.
2Make the changes you want and tap OK.
To Delete a ShortCut
If you no longer need a ShortCut, you can delete it from the list of ShortCuts.
1Tap the ShortCut you want to delete in the ShortCuts list and
tap Delete.
The confirmation dialog box is displayed.
2Tap Yes.
Creating Graffiti® ShortCuts

172
Chapter 5 Customizing your Sony CLIÉ Handheld (Preferences)
In order to use your CLIÉ handheld with a network (such as using the Web
Clipping application or performing a network HotSync® operation), you
must set the Network Preferences settings.
Note
The Network preferences settings provides the ability to connect to your ISP (Internet
Service Provider) or dial-in (remote access) server with applications (e.g.Web Clipping)
that allow you to view the transmitted data.
Selecting a service
Use the Service setting to select the service template for your Internet
Service Provider or a dial-in server. Service templates are a set of ISP and
dial-in server configuration settings that you can create, save, and reuse.
1Tap Network from the drop-down list on the Preferences
screen.
The Network Preferences screen is displayed.
2Tap the arrow V next to Service and select the predefined
service template you want to use.
Changing the Network preferences

173
Chapter 5 Customizing your Sony CLIÉ Handheld (Preferences)
Entering a user name
The User Name setting identifies the name you use when you log into your
Internet Service Provider or your dial-in server.
1On the Network Preferences screen, tap User Name field.
2Enter your user name.
Notes
•Although this field can contain multiple lines of text, only two lines appear onscreen.
•Most dial-in servers do not accept spaces in the user name.
Entering a password
The Password box identifies the password you use to log into your server or
ISP. Your entry in this field determines whether your CLIÉ handheld
prompts you to enter a password each time you log into your network:
•If you do not enter a password, your CLIÉ handheld displays the word
“-Prompt-” in this field and asks you to enter a password during the log in
procedure.
•If you enter a password, your CLIÉ handheld displays the word
“-Assigned-” in this field and does not prompt you to enter a password
during the login procedure.
Note
If you are concerned about security, select the Prompt option and do not enter a
password.
1On the Network Preferences screen, tap the Password field.
2Enter the password you use to log into your server.
3Tap OK.
The Password field updates to display the word “-Assigned-.”
Changing the Network preferences

174
Chapter 5 Customizing your Sony CLIÉ Handheld (Preferences)
Selecting a connection
Use the Connection setting to select the method you want to use to connect
to your Internet Service Provider or a dial-in server.
On the Network Preferences screen, tap the arrow V next to
Connection and select Standard Modem.
Adding telephone settings
When you select the Phone field, your CLIÉ handheld opens a dialog box in
which you define the telephone number you use to connect with your ISP or
dial-in server. In addition, you can also define a prefix, disable Call Waiting,
and give special instructions for using a calling card.
Note
The Phone Setup dialog box works correctly for AT&T and Sprint long-distance
services. However, because MCI works differently, MCI customers need to put the
calling card number in the Phone # field and the phone number in the Use calling card
field.
1On the Network Preferences screen, tap the Phone field.
The Phone Setup screen appears.
2Enter the phone number for your ISP or dial-in server in the
Phone# field.
3Change the following settings if necessary:
1Enter the telephone number used to access the modem.
If necessary, enter a dial prefix (such as “9”) to access an outside
line, and tap the Dial prefix check box. You can enter a comma in
the field to introduce a “pause” in the dialing sequence. Each
comma equals a two second pause.
Changing the Network preferences
Continued on next page

175
Chapter 5 Customizing your Sony CLIÉ Handheld (Preferences)
2If the phone line you are using for your CLIÉ handheld has Call
Waiting, select the “Disable call waiting” check box to avoid an
interruption during a modem HotSync® operation or accessing a
Web Clipping site.
Note
Each telephone company assigns a code to disable Call Waiting. Contact your
local telephone company for the code that is appropriate for you.
3If you want to use a calling card to place the call, select the “Use
calling card” check box and enter the calling card number.
Tip
There is usually a delay before you enter your calling card number.
Consequently, add at least three commas before your calling card number to
compensate for the cue delay.
4Tap OK.
Creating additional service templates
You can create additional service templates from scratch or by duplicating
existing templates and editing the information. After you create a new or
duplicate template, you can add and edit settings.
To add a new service template
1On the Network Preferences screen, tap the Menu icon.
2Tap New from the Service menu.
An Untitled service template is added to the drop-down list for the
Service field.
Changing the Network preferences

176
Chapter 5 Customizing your Sony CLIÉ Handheld (Preferences)
To duplicate an existing service template
1On the Network Preferences screen, tap the arrow V next to
Service and select the predefined service template you want
to duplicate.
2Tap the Menu icon.
3Tap Duplicate from the Service menu.
A copy of the service template is added to the drop-down list for the
Service field.
To delete a service template
1On the Network Preferences screen, tap the arrow V next to
Service and select the predefined service template you want
to delete.
2Tap the Menu icon.
3Tap Delete from the Service menu.
The Delete Service dialog box is displayed.
4Tap OK.
The selected service template is deleted.
Changing the Network preferences

177
Chapter 5 Customizing your Sony CLIÉ Handheld (Preferences)
Adding detailed information to a service template
If you are using one of the predefined service templates, you probably only
need to enter your user name and telephone number. If you are creating a
new service template, you may need to provide additional information to
your ISP or dial-in server. You use the Details dialog box to add additional
information to a selected service template.
To select a connection type
1On the Network Preferences screen, tap the service field.
2Tap Details.
The Details screen is displayed.
3Tap the arrow V next to Connection type and select one of
the following connection types.
• PPP: Point-to-Point protocol
• SLIP: Serial Line Internet Protocol
• CSLIP: Compressed Serial Line Internet Protocol
Tip
If you are not sure, try PPP; if that doesn’t work, ask your Internet Service
Provider or your System Administrator for the correct connection type.
4Tap the arrow V next to Idle timeout and select one of the
following options.
•1 minute: Waits one minute for you to open another application before
it drops the connection.
•2 minutes: Waits two minutes.
•3 minutes: Waits three minutes.
•Never: Keeps your PPP or SLIP connection until you turn off your
CLIÉ handheld (or until it times out).
Note that this option will be more costly than others.
5Tap the Query DNS check box to deselect it.
Changing the Network preferences
Continued on next page

178
Chapter 5 Customizing your Sony CLIÉ Handheld (Preferences)
6Enter the IP address for the Primary and Secondary DNS
(Domain Naming System).
Ask your Internet Service Provider or System Administrator for the
correct Primary or Secondary DNS IP numbers.
7If you need to enter the CLIÉ handheld’s IP Address, tap the IP
Address check box to deselect it and display a permanent IP
address field below the check box.
Normally, you do not have to enter this IP address. If you are not sure,
select Automatic and go to step 9.
8Enter the CLIÉ handheld’s IP Address.
9Tap OK.
Creating log in scripts
A log in script is a series of commands that automates logging in to a
network server, such as your corporate network or your Internet Service
Provider (ISP). A log in script is something that you are likely to receive
from your IS System Administrator, if your company has a system in which
you log in to the corporate servers from your CLIÉ handheld using a modem
or network connection.
Note
You can also use non-ASCII and literal characters in your log in script. For more
information, see page 180.
1On the Network Preferences screen, tap the service field.
2Tap Details.
The Details screen is displayed.
3Tap Script.
The Log in Script screen is displayed.
Changing the Network preferences
Continued on next page

179
Chapter 5 Customizing your Sony CLIÉ Handheld (Preferences)
4Tap the arrow V next to End and select one of the following
commands. If the command requires additional information,
a field appears to the right of it for you to enter the
information.
• Wait For: Tells your CLIÉ handheld to wait for specific characters from
the TCP/IP server before executing the next command.
• Wait For Prompt: Detects a challenge-response prompt coming from
the server and displays the dynamically generated challenge value. You
then enter the challenge value into your token card, which in turn
generates a response value for you to enter on your CLIÉ handheld.
This command takes two arguments, separated by a vertical bar (|) on
the input line.
• Send: Transmits specific characters to the TCP/IP server to which you
are connecting.
• Send CR: Transmits a carriage return or LF character to the TCP/IP
server to which you are connecting.
• Send User ID: Transmits the User ID information entered in the User ID
field of the Network Preferences screen.
• Send Password: Transmits the password entered in the Password field
of the Network Preferences screen. If you did not enter a password, this
command prompts you to enter one. The Password command is
usually followed by a Send CR command.
• Delay: Tells your CLIÉ handheld to wait a specific number of seconds
before executing the next command in the login script.
• Get IP: Reads an IP address and uses it as the IP address for your CLIÉ
handheld. This command is used with SLIP connections.
• Prompt: Opens a dialog box and prompts you to enter text of some
kind (for example, a password or a security code).
• End: Identifies the last line in the log in script.
5Repeat step 4 until the log in script is complete.
6Tap OK.
7Tap OK.
Changing the Network preferences

180
Chapter 5 Customizing your Sony CLIÉ Handheld (Preferences)
Non-ASCII Characters for Log in Scripts
The following information enables you to create custom log in scripts that
require non-ASCII characters. It is provided for advanced users who
understand the use and requirements of such characters in a custom log in
script.
Use of ^char
You may use the caret ( ^ ) to transmit ASCII command characters. If you
send ^char, and the ASCII value of char is between @ and _, then the
character is automatically translated to a single-byte value between 0 and 31.
For example, ^M is converted to a carriage return.
If char is a value between a and z, then the character sequence is translated
to a single-byte value between 1 and 26. If char is any other value, then the
character sequence is not subject to any special processing. For example, the
string “Joe^M” transmits Joe, followed by a carriage return.
Carriage return and line feed
You may include carriage return and line feed commands as part of the log
in script, when entered in the following format.
• <cr> : Sends or receives a carriage return
• <lf> : Sends or receives a line feed
For example, the string “waitfor Joe<cr><lf>” waits to receive Joe followed
by a carriage return and line feed from the remote computer before
executing the next command in the script.
Literal characters
The backslash ( \ ) character defines that the next character is transmitted as
a literal character, and is not subject to any special processing ordinarily
associated with that character.
Examples:
• \^ : Includes a caret as part of the string
• \< : Includes a < as part of the string
• \\ : Includes a backslash as part of the string
Changing the Network preferences

181
Chapter 5 Customizing your Sony CLIÉ Handheld (Preferences)
Using the Network preferences menus
This section describes the menu commands specific to network preferences.
For the Edit menu, see “Using the Edit menu” on page 99.
Service menus
New Creates a new service template.
Delete Deletes the current service template.
The Delete Service dialog box appears.
Duplicate Duplicates the current service template.
Options menus
View Log Displays the Network Log. The Network Log lists all of
the communication that occurs between your modem
and your dial-in server during the log in procedure. The
information in the Network Log can help your ISP or
your System Administrator pinpoint where the log in
procedure communication fails and why.
Changing the Network preferences

182
Chapter 5 Customizing your Sony CLIÉ Handheld (Preferences)
The High Resolution Assist function enables the high resolution display of
an application that does not support the high resolution mode.
1Tap HiRes from the drop-down list on the Preferences screen.
The HiRes Preferences screen is displayed.
2To enable the High Resolution Assist function, select Enable
High Resolution Assist.
The confirmation dialog box is displayed.
3Tap OK.
4Select the application(s) that you do not want to display in
high resolution mode in the list box.
Note
In step 4, check an application when the following occurs in the high resolution mode:
• Performances are largely deteriorated (e.g. game).
•Display is divided into two, characters are distorted, or other operational
irregularities occur.
Setting the High Resolution Assist function

Chapter 6
Additional information
This chapter covers the following topics: backing up data of your CLIÉ handheld,
transferring data from one CLIÉ handheld to another, precautions taken when using
your CLIÉ handheld, troubleshooting your CLIÉ handheld, and other technical
information about your CLIÉ handheld.
Contents
Backing up data of your Sony CLIÉ Handheld ......................... 184
Backing up data to your computer through
a HotSync® operation ....................................................... 184
Backing up all CLIÉ data to a Memory Stick® media
(using the Memory Stick Backup application) ..................... 185
Backing up CLIÉ handheld data to a Memory Stick media
using the Memory Stick Gate application ........................... 187
Using data of another Sony CLIÉ Handheld............................. 189
Using the Palm™ Desktop for CLIÉ software
to transfer data ................................................................. 189
Using Memory Stick® media to transfer data ..................... 191
Performing a HotSync® operation between
your old CLIÉ handheld and the new
Palm Desktop for CLIÉ software......................................... 193
Precautions ............................................................................. 194
Notes on use..................................................................... 194
Battery considerations (PEG-SL10) ..................................... 195
Battery considerations (PEG-SJ20/PEG-SJ30)...................... 198
Troubleshooting – Frequently Asked Questions ...................... 200
If you still cannot perform a HotSync® operation................ 213
Getting Help............................................................................ 214
Specifications .......................................................................... 215
Index ....................................................................................... 217

184
Chapter 6 Additional information
Backing up data of your Sony CLIÉ Handheld
You can save a back-up copy of your CLIÉ handheld by performing either of
the following three methods:
•Backing up data to your computer through HotSync® operation
•Backing up all data to a Memory Stick® media using the Memory Stick
Backup application
•Backing up data to a Memory Stick® media using the Memory Stick Gate
application
Backing up data to your computer through a HotSync®
operation
By default, you can back-up the following data in your computer with a
HotSync operation:
•Memo Pad data files
•Address Book data files
•To Do List data files
•Date Book data files
•Preferences data files
•Network Setup information
•Applications files that have been installed using a HotSync operation
•User information files when you perform a HotSync operation
During the next HotSync operation, the back-up data is compared with the
data in your computer, and the newer one becomes effective.
If you perform a hard reset, all records and entries stored in your CLIÉ
handheld are erased and reset to the initial status. If you save a back-up of
your CLIÉ handheld data, you can restore any data previously synchronized
with your computer during the next HotSync operation.
Notes
•Some applications are not designed to be backed up. Therefore, you may not be able
to restore some applications and data. It is recommended that you re-install those
applications.
•If you change settings in the Change HotSync Action dialog box, you may not be
able to save a back-up. You cannot back-up an application or restore its data if you
select an option other than “Synchronize the files.” For details, see “Customizing
HotSync application settings (Conduit)” on page 109.

185
Chapter 6 Additional information
Backing up all CLIÉ data to a Memory Stick® media (using
the Memory Stick Backup application)
With the Memory Stick Backup application, you can back-up all the
following CLIÉ handheld application and data to a Memory Stick media
with a single tap.
To separately back-up applications and data to the Memory Stick media, use
the Memory Stick Gate application (see page 187).
•Memo Pad data files
•Address Book data files
•To Do List data files
•Date Book data files
•Preferences data files
•Network Setup information
•Applications files that have been installed using a HotSync operation
•User information files when you perform a HotSync operation
Backing up data with the Memory Stick Backup application
Note
When you back-up your CLIÉ data on a Memory Stick media, the data size of the back-
up may become larger than the total data size displayed in the Memory Stick Gate
application. This is not a malfunction. Make sure you have more space free on the
Memory Stick media than the displayed CLIÉ handheld data size before performing a
back-up.
Do not perform a backup when available memory of your CLIÉ handheld is low. If you
do, you will not be able to restore the back-up data to your CLIÉ handheld.
1Insert a Memory Stick media into the Memory Stick slot.
2Tap the Home icon.
3Rotate the Jog Dial navigator to select MS Backup and press
the Jog Dial navigator. Or tap the MS Backup icon
on the Application Launcher screen.
The Memory Stick Backup application starts up and the back-up list
appears.
Backing up data of your Sony CLIÉ Handheld
Continued on next page

186
Chapter 6 Additional information
Backing up data of your Sony CLIÉ Handheld
4Tap (Backup).
The Backup All Files dialog box appears.
5Tap OK.
The Backup Progress screen appears, and general information of the back-
up (its date, size, and number of contents) appears in the list.
Note
Do not make any changes to the directory tree on the Memory Stick after performing a
back-up. If you do, you will not be able to restore the back-up data to your CLIÉ
handheld.
Tips
•In most cases, the back-up will be finished within approximately a minute.
•In step 4, you can also select an existing file from the back-up list, then tap Backup to
overwrite it.
To delete back-up files from the Memory Stick media
Tap to select the back-up in the Backup list, and tap Delete. The selected file
is deleted from the Memory Stick media.
Restoring back-up data and applications to your CLIÉ handheld
Notes
•When you restore back-up data and applications to your CLIÉ handheld, the data
currently saved in your CLIÉ handheld will be overwritten with the back-up data.
Any data created or edited after you saved the back-up will be erased.
•You can only restore data to the CLIÉ handheld from which you took that back-up.
1Perform a hard reset on your CLIÉ handheld.
For details, refer to “Performing a hard reset” on page 26.
2Insert the Memory Stick media with the back-up files into the
Memory Stick slot.
3Tap the Home icon.
4Rotate the Jog Dial navigator to select MS Backup and press
the Jog Dial navigator. Or tap the MS Backup icon
on the Application Launcher screen.
The Memory Stick Backup application starts up and the back-up list
appears.
Continued on next page

187
Chapter 6 Additional information
Backing up data of your Sony CLIÉ Handheld
5In the Memory Stick Backup screen, tap to select the back-up
data that you want to restore from the list.
6Tap (Restore).
The Restore Confirm dialog box appears.
7Tap OK.
After the back-up data is restored, the CLIÉ handheld automatically shuts
itself down and restarts.
Backing up CLIÉ handheld data to a Memory Stick media
using the Memory Stick Gate application
The Memory Stick Gate application allows you to save a back-up of the
following data of your CLIÉ handheld to Memory Stick media. (The file
name after the colon is the name displayed in the Memory Stick Gate
application.)
•Address Book data files: AddressDB/Image Viewer Address Link
•Date Book data files: DatebookDB
•Memo Pad data files: MemoDB
•To Do List data files: ToDoDB
•Network setup information: NetworkDB
•Other application setting data files: SavedPreferences
•User information and other preferences data files: UnsavedPreferences
For details on how to use the Memory Stick Gate application, see “Copying
your CLIÉ handheld data to Memory Stick media” on page 143.
Notes
•Applications may not function properly if the necessary files are not backed up.
•Do not select Graffiti® ShortCuts, Net Prefs, and files, since they cannot be copied.
•You cannot copy data marked with a lock icon.
•You may not be able to back up full information since some data is locked or shared.

188
Chapter 6 Additional information
Backing up data of your Sony CLIÉ Handheld
Restoring back-up data and applications to your CLIÉ handheld
Note
When you restore (copy) back-up data and applications to your CLIÉ handheld, the
data currently saved in your CLIÉ handheld will be overwritten with the back-up data.
Any data created or edited after you saved the back-up will be erased.
Insert Memory Stick media storing the back-up data into your CLIÉ
handheld and use the Memory Stick Gate application to copy the data to
your CLIÉ handheld. For details, see “
Copying data in Memory Stick media to
your CLIÉ handheld” on page 145.
If an overwrite confirm message is displayed, tap Yes to all.
Notes
•If a delete or access error message is displayed while copying files, tap OK to
proceed to the next step in copying. Those files, however, will not be copied.
•Depending on the application configurations or file protection status, some
necessary files may not be copied. In such a case, an application may not function
properly.
•Some applications are not designed to be backed up. Therefore, you may not be able
to restore some applications and data. It is recommended that you re-install those
applications.

189
Chapter 6 Additional information
Using data of another Sony CLIÉ Handheld
Continued on next page
If you already own a Sony CLIÉ Handheld, you can use data of your old
CLIÉ handheld with your new CLIÉ handheld. You can transfer data from
your old CLIÉ handheld to your new CLIÉ handheld with either of the
following methods:
•Using Palm™ Desktop for CLIÉ to copy data: You can transfer data of
the Palm OS basic applications easily.
•Using Memory Stick® media to copy data: You can transfer all the
necessary data and settings information more securely than using the
Palm Desktop for CLIÉ software.
Note on add-on applications that you have installed
Install add-on applications using the same procedures as the previous CLIÉ handheld.
Some third-party applications may operate only on your old CLIÉ handheld.
Using the PalmTM Desktop for CLIÉ software to transfer data
For the Palm OS® basic applications data such as Address Book, Memo Pad,
To Do List, Date Book, you can use the Palm Desktop for CLIÉ software to
transfer data from your old CLIÉ handheld to your new CLIÉ handheld by
exporting and importing data.
Before you start, perform a HotSync® operation to the Palm Desktop for
CLIÉ software using your new CLIÉ handheld with a different user name
from that you have used with the old CLIÉ handheld.
1Start the Palm Desktop for CLIÉ software.
2Click the user name of your previous CLIÉ handheld from the
User name list in the upper right of the screen.
3Click the icon of the application whose data you want to copy
in the left panel of the screen.
4Click Export from the File menu.
5Enter the file names and click Export.
The data of your old CLIÉ handheld is exported. Change the destination
folder if necessary.

190
Chapter 6 Additional information
6Repeat steps 3 through 5 to export data of other
applications.
7Click the user name of your new CLIÉ handheld from the User
name list in the upper right of the screen.
If you have never performed a HotSync operation with your new CLIÉ
handheld, select Users from the Tools menu. Click New in the Users
screen and enter a new user name. Then select that new user name.
8Click Import from the File menu.
9Select the files you have exported in steps 3 through 6 and
click Open.
10
Connect your new CLIÉ handheld to the USB cable and
perform a HotSync operation.
The data exported from your old CLIÉ handheld is copied onto your new
CLIÉ handheld.
Notes on a HotSync operation
•Do not attempt to transfer data from your old CLIÉ handheld to your new CLIÉ
handheld by performing HotSync operations with the identical user name. Doing so
may cause a malfunction.
•When you perform a HotSync operation with your new CLIÉ handheld and the
New User dialog box is displayed, enter a different user name from that of your old
CLIÉ handheld. If you enter the identical user name, the Palm Desktop for CLIÉ
software may not be able to recognize the difference between your CLIÉ handhelds
and the data of both handhelds may be mixed up or deleted.
•If you copy UnsavedPreference, the user name is also copied. This prevents you
from managing the two CLIÉ handhelds with different user names.
Using data of another Sony CLIÉ Handheld

191
Chapter 6 Additional information
Using Memory Stick® media to transfer data
You can use Memory Stick media to transfer data of your old CLIÉ handheld
to your new CLIÉ handheld.
Notes
•Use Memory Stick media that has sufficient free memory space.
•Make sure that the write protect tab on the Memory Stick media is not set to LOCK.
1Insert Memory Stick media into your other CLIÉ handheld.
2Rotate the Jog Dial™ navigator to select MS Gate and press
the Jog Dial navigator. Or tap the MS Gate icon on the
Application Launcher screen.
The Memory Stick Gate application starts up. The data in your CLIÉ
handheld is listed.
3Tap to select the data of the application whose settings and
information you want to use with your new CLIÉ handheld.
You can select multiple files.
•Address Book: AddressDB
•Date Book: DatebookDB
•Memo Pad: MemoDB
•Mail: MailDB
•To Do List: ToDoDB
•Network setup information: NetworkDB
Notes
•You cannot copy data marked with the lock icon.
•You cannot copy Graffiti® ShortCuts and Net Prefs.
•Do not select UnSavedPreference. Your computer may not be able to
distinguish your new CLIÉ handheld from your old CLIÉ handheld.
4Tap COPY.
The File Overwrite confirmation message is displayed.
Using data of another Sony CLIÉ Handheld
Continued on next page

192
Chapter 6 Additional information
5Tap OK.
The data selected in step 3 is copied onto Memory Stick media.
6Remove the Memory Stick media from your other CLIÉ
handheld and insert it into your new CLIÉ handheld.
7Rotate the Jog Dial navigator to select MS Gate and press the
Jog Dial navigator. Or tap the MS Gate icon on the
Application Launcher screen.
The Memory Stick Gate application starts. The data in your CLIÉ
handheld is listed.
8Press the Jog Dial navigator to select MS.
You can also tap the arrow V in the upper right corner to select MS from
the drop-down list.
9Tap to select the applications and data you have previously
copied from the older device.
10
Tap COPY.
The File Overwrite confirmation message is displayed.
11
Tap OK.
12
If the file overwrite confirmation message is displayed, tap
Yes to All.
The data of your old CLIÉ handheld is copied onto your new CLIÉ
handheld.
Note
If a file-locked, access, or delete error message is displayed while copying files, tap OK
to proceed to the next step in copying. Those files, however, will not be copied.
Using data of another Sony CLIÉ Handheld

193
Chapter 6 Additional information
Performing a HotSync® operation between your old CLIÉ
handheld and the new Palm Desktop for CLIÉ software
If you already own a CLIÉ handheld before PEG-SL10/PEG-SJ20/PEG-SJ30,
you can perform a HotSync operation between that CLIÉ handheld and the
Palm Desktop for CLIÉ software supplied with the PEG-SL10/PEG-SJ20/
PEG-SJ30.
After setting up your CLIÉ handheld as indicated in the Read This First
manual, perform the HotSync operation as indicated on page 103.
If you have any trouble with the HotSync operation, perform the following.
• Check the Windows task tray to make sure that Local USB is selected.
• Check the Windows task tray to make sure that the USB Switcher is
running (PEG-S300, PEG-N710C only).
Note
The Palm Desktop for CLIÉ software supplied with the PEG-SL10/PEG-SJ20/PEG-SJ30
does not support “Expense.”
Using data of another Sony CLIÉ Handheld

194
Chapter 6 Additional information
Precautions
Notes on use
•Be sure not to scratch or damage your CLIÉ handheld’s screen or the
Graffiti® writing area. Always use the supplied stylus or a plastic-tipped
pointer to tap on the screen. Do not use a real pen, pencil, or other sharp
object on the screen.
•Do not expose your CLIÉ handheld to rain or moisture. Should water
enter the circuitry through the crevice around the front buttons, your
CLIÉ handheld may be damaged.
•Your CLIÉ handheld screen is made of glass. Do not drop or submit your
CLIÉ handheld to external shock. Do not carry your CLIÉ handheld in
your back pocket. If you sit down with your CLIÉ handheld in the back
pocket, the CLIÉ handheld may break.
•Avoid using or storing your CLIÉ handheld in locations subject to:
–extremely high temperature, such as inside a car left exposed to the
sun, or near a heater.
–direct sunlight
–high humidity
–excessive dust
•During a thunderstorm, do not touch the connection cord or AC adapter.
Touching them may cause an electric shock. (PEG-SJ20/PEG-SJ30 only)
•To prevent fire or shock hazard, do not expose the AC adapter to water or
moisture. (PEG-SJ20/PEG-SJ30 only)
Cleaning your CLIÉ handheld
Clean your CLIÉ handheld with a soft, dry cloth.
Cleaning the stylus
Using a stylus that is covered with dust can damage the screen.
Clean the stylus by wiping it with a soft cloth.

195
Chapter 6 Additional information
Precautions
Battery considerations (PEG-SL10)
Follow these precautions when you install or replace the batteries.
When replacing the batteries
•INSERT THE NEW BATTERIES WITHIN 1 MINUTE AFTER REMOVING
THE EXHAUSTED ONES. IF THE BATTERY IN YOUR CLIÉ HANDHELD IS
FULLY DISCHARGED OR REMOVED, ALL DATA STORED ON THE
SDRAM (MEMORY) IS LOST. IN SUCH A CASE, PERFORMING A
HOTSYNC® OPERATION ONCE THE BATTERIES ARE REPLACED CAN
RESTORE BACKED UP INFORMATION SAVED ON YOUR COMPUTER
(FROM THE LAST HOTSYNC OPERATION) TO YOUR CLIÉ HANDHELD.
FOR DETAILS, SEE “BACKING UP DATA TO YOUR COMPUTER
THROUGH A HOTSYNC® OPERATION” ON PAGE 184.
•Be sure to turn your CLIÉ handheld off, before removing/inserting
batteries.
•Be sure to replace both batteries with new ones.
General battery tips
•To avoid possible damage from battery leakage or corrosion, observe the
following:
-Be sure to insert the batteries with the +/– polarities matched to the
+/– marks.
-Do not charge dry batteries.
-Do not use a combination of new and old batteries.
-Do not use batteries other than the types specified.
- Do not use a combination of different types of batteries.
-Do not use leaking batteries.
•Batteries left in your CLIÉ handheld for an extended period of time will
run down, even if your CLIÉ handheld is not used.
•Do not use manganese batteries in your CLIÉ handheld.
•When you are not going to use your CLIÉ handheld for a long time,
remove the batteries to prevent damage from battery leakage and
corrosion.
Continued on next page

196
Chapter 6 Additional information
Charging the internal power source
To avoid losing data stored on your CLIÉ handheld, do not remove new
batteries during the first 1 hour after inserting them.
Your CLIÉ handheld has a small internal power source to maintain your
data while you switch batteries. This internal power source is charged from
the batteries when you first insert batteries into your CLIÉ handheld or
when you insert new batteries after a long period of not using your CLIÉ
handheld. Charging the internal power source takes about 1 hour. If you
remove the batteries before the internal power source is charged, your CLIÉ
handheld's memory will revert to the factory settings and any data you have
entered will be lost.
If batteries are leaking
•Carefully wipe off any liquid in the battery compartment before inserting
new batteries.
•If battery leakage comes in contact with your skin, wash it off
immediately.
•If battery leakage comes in contact with your eyes, immediately rinse
your eyes thoroughly with water and promptly seek medical attention.
Battery life
• With new alkaline batteries, you can use your CLIÉ handheld for
approximately 20 days*.
*Based on an average of 30 minutes use of PIMs per day, with the backlight off.
•Battery life varies depending on the conditions and environment where
you use your CLIÉ handheld.
•IF THE BATTERY IN YOUR CLIÉ HANDHELD IS FULLY DISCHARGED OR
REMOVED, ALL DATA STORED ON THE SDRAM (MEMORY) IS LOST. IN
SUCH A CASE, PERFORMING A HOTSYNC® OPERATION ONCE THE
BATTERIES ARE REPLACED CAN RESTORE BACKED UP INFORMATION
SAVED ON YOUR COMPUTER (FROM THE LAST HOTSYNC
OPERATION) TO YOUR CLIÉ HANDHELD. FOR DETAILS, SEE “BACKING
UP DATA TO YOUR COMPUTER THROUGH A HOTSYNC® OPERATION”
ON PAGE 184.
Precautions
Continued on next page

197
Chapter 6 Additional information
Precautions
Tips on conserving the battery
•Turn off the backlight under good lighting conditions. For turning off the
backlight, see “Adjusting the screen” on page 24.
•Change the automatic shut-off time setting so that your CLIÉ handheld
will automatically turn off after a short period of inactivity. For details,
see “Setting the automatic shut-off time” on page 165.
When your batteries become weak
•When the batteries become weak, a caution message appears on the
screen. If this occurs, perform a HotSync® operation to back-up all the
data of your CLIÉ handheld to your computer. Then replace the batteries
with new ones. This helps prevent accidental data loss.
•If your CLIÉ handheld does not turn on when you press the POWER
button, replace the batteries with new ones immediately.
•The remaining battery indicator does not always reflect the actual battery
amount. The battery is designed to provide years of service under normal
use. To prevent accidental data loss, replace the batteries with new ones
immediately
When using peripheral devices
If a message appears that your CLIÉ handheld is low on batteries, promptly
discontinue the use of your CLIÉ handheld and replace the batteries with
new ones.
If you continue to use the CLIÉ handheld without replacing the batteries,
data stored on your CLIÉ handheld may be lost.
When the remaining battery indicator reads zero
If your battery drains and you leave your CLIÉ handheld without replacing
the batteries for an extended period of time, all of the stored data will be
erased. Sony suggests you replace the batteries with new ones immediately.

198
Chapter 6 Additional information
Precautions
Continued on next page
Battery considerations (PEG-SJ20/PEG-SJ30)
Follow these precautions when you charge your CLIÉ handheld.
Battery safety
To prevent a battery from leaking, heating up, catching fire, bursting, etc., be
sure to follow the cautions below:
•Do not charge the battery in any other way than specified in this manual.
•Do not throw the battery into fire, short-circuit it, take it apart, or heat it
in an oven such as a microwave.
•Do not charge the battery near fire or in direct, bright sunlight, or do not
leave it in a car.
•Do not subject the unit to excessive shock.
Take care not to drop it, give pressure to it, or place any heavy objects on
it to prevent a malfunction.
•If you touch an electric leakage or have it in your eyes, bathe with clean
water immediately, and consult your doctor.
Charging your CLIÉ handheld
•It takes approximately four hours to charge your CLIÉ handheld when
the battery is empty.
•If you charge your CLIÉ handheld every day, it takes only a few minutes
to charge the battery.
•You can operate your CLIÉ handheld while it is being charged.
•IF THE BATTERY IN YOUR CLIÉ HANDHELD IS FULLY DISCHARGED, ALL
DATA STORED ON THE SDRAM (MEMORY) IS LOST. IN SUCH A CASE,
PERFORMING A HOTSYNC® OPERATION ONCE THE BATTERY IS
RECHARGED CAN RESTORE BACKED UP INFORMATION SAVED ON
YOUR COMPUTER (FROM THE LAST HOTSYNC OPERATION) TO YOUR
CLIÉ HANDHELD. FOR DETAILS, SEE “BACKING UP DATA TO YOUR
COMPUTER THROUGH A HOTSYNC® OPERATION” ON PAGE 184.

199
Chapter 6 Additional information
Precautions
Battery life
• With a fully-charged battery, you can use your PEG-SJ20 CLIÉ handheld
for approximately 15 days* or your PEG-SJ30 CLIÉ handheld for
approximately 12 days*.
*Based on an average of 30 minutes use of PIMs per day, with the backlight off.
•Battery life varies depending on the conditions and environment where
you use your CLIÉ handheld.
Tips on conserving the battery
•Turn off the backlight under good lighting conditions. For turning off the
backlight, see “Adjusting the screen” on page 24.
•Change the automatic shut-off time setting so that your CLIÉ handheld
will automatically turn off after a short period of inactivity. For details,
see “Setting the automatic shut-off time” on page 165.
When your battery becomes weak
•When the battery becomes weak, a caution message appears on the
screen. If this occurs, perform a HotSync® operation to back-up all the
data of your CLIÉ handheld to your computer. Then charge your CLIÉ
handheld. This helps prevent accidental data loss.
•If your CLIÉ handheld does not turn on when you press the POWER
button, charge your CLIÉ handheld immediately.
•The remaining battery indicator does not always reflect the actual battery
amount. The battery is designed to provide years of service under normal
use. To prolong the battery’s life, charge it frequently even when it is not
fully discharged.
•You do not have to replace batteries. When the remaining battery
indicator reads zero, charge your CLIÉ handheld immediately. Never
disassemble your CLIÉ handheld to take out the battery.
When using peripheral devices
If a message appears that your CLIÉ handheld is low on battery, promptly
discontinue the use of your CLIÉ handheld and charge it.
If you continue to use the CLIÉ handheld without charging it, data stored on
your CLIÉ handheld may be lost.
When the remaining battery indicator reads zero
If your battery drains and you leave your CLIÉ handheld in an uncharged
state for an extended period of time, all of the stored data will be erased.
Sony suggests you charge your CLIÉ handheld frequently.

200
Chapter 6 Additional information
Troubleshooting – Frequently Asked Questions
This section describes how to solve common problems you may encounter
when using your CLIÉ handheld. If a problem arises, replace the batteries
with new ones (PEG-SL10) or charge your CLIÉ handheld (PEG-SJ20/PEG-
SJ30). If the problem persists, review the following list of frequently asked
questions for possible solutions, before contacting Sony Customer
Information Service Center.
Note
Thousands of third-party add-on applications are available for the Palm OS® platform.
Sony does not support third-party applications. If you have a problem with a third-
party application, contact the developer or publisher of that software.
Operating problems
I do not see anything on my CLIÉ handheld’s screen.
,Replace the batteries with new ones (PEG-SL10) or recharge your
CLIÉ handheld (PEG-SJ20/PEG-SJ30). If your CLIÉ handheld still
does not operate, try a soft reset. See “Resetting your Sony CLIÉ
Handheld” (page 25).
I get a warning message telling me my CLIÉ handheld’s
memory is full.
,Purge records from Date Book and To Do List. This deletes To Do
List items and past Date Book events from the memory of your CLIÉ
handheld.
,Delete unused address entries, memos, and records. If necessary, you
can save a backup for these records. See explanations for each
application.
,If you have installed additional applications on your CLIÉ handheld,
remove them to recover memory. See “Removing add-on
applications” in the Read This First manual.
,Some applications may not operate properly if the memory is
insufficient.
Continued on next page

201
Chapter 6 Additional information
My CLIÉ handheld keeps turning itself off.
,Your CLIÉ handheld is designed to turn itself off after a period of
inactivity. This period can be set at one, two, or three minutes. See
“Setting the automatic shut-off time” (page 165).
My CLIÉ handheld is not making any sounds.
,Check the System Sound setting. See “Setting sounds” (page 166).
My CLIÉ handheld has frozen.
,Perform a soft reset. See “Resetting your Sony CLIÉ Handheld”
(page 25).
I performed a hard reset, but it does not solve my problem.
(PEG-SL10 only)
,Leave your CLIÉ handheld for more than 12 hours after removing
the batteries.
I cannot use the Jog Dial navigator.
,Check that the JogAssist feature is activated. See “Changing the Jog
Dial™ navigator preferences” (page 159).
An error message is displayed repeatedly.
,Follow the instructions of the message.
Backlight does not turn on when I am adjusting the
brightness level. (PEG-SJ30 only)
,When you are adjusting the brightness level, the LCD backlight turns
on. When the brightness is set to the lowest level, the backlight does
not turn on, but this is not a malfunction.
Troubleshooting – Frequently Asked Questions

202
Chapter 6 Additional information
Tapping and writing problems
When I tap the buttons or screen icons, my CLIÉ handheld
activates the wrong feature.
,Calibrate the screen. See “What you can do with Preferences”
(page 154).
When I tap the Menu icon, nothing happens.
,Not all applications or screens have menus. Try changing to a
different application.
I cannot get my CLIÉ handheld to recognize my handwriting.
,For your CLIÉ handheld to recognize handwriting input with the
stylus, you must use Graffiti® writing. See “Using Graffiti® writing to
enter data” (page 12).
,Make the Graffiti character strokes in the Graffiti writing area, not on
the display part of the screen.
,Write Graffiti strokes for letters on the left-hand side of the Graffiti
writing area, and the strokes for numbers on the right-hand side of
the same area.
,Make sure that Graffiti has not shifted into extended or punctuation
modes. See “Using Graffiti® writing to enter data” (page 12).
,For tips on successful Graffiti writing, see “Using Graffiti® writing to
enter data” (page 12).
Troubleshooting – Frequently Asked Questions

203
Chapter 6 Additional information
Application problems
I tapped the Today button, but it does not show the correct
date.
,Your CLIÉ handheld is not set to the current date. Make sure the Set
Date box in the Date & Time Preferences screen displays the current
date. See “Setting the Date & Time preferences” (page 162).
,Your CLIÉ handheld is not set to the correct time zone or the correct
daylight saving setting. Make sure the Set Time Zone box and the
Daylight Saving box in the Date & Time Preferences screen displays
the correct setting. See “Setting the Date & Time preferences” (page
162).
I know I entered some records, but they do not appear in the
application.
,Check the Categories drop-down list (upper-right corner). Choose
All to display all of the records for the application.
,Check Security and confirm that Current Privacy is set to Show
Records.
,
In To Do List, tap Show and see if “Show Only Due Items” is selected.
I am having problems listing memos the way I want to see them.
,If you cannot manually arrange the order of the memos in the list
screen, check the Memo Preferences setting. Make sure that Sort by is
set to Manual.
,If you choose to view your memos alphabetically on the Palm™
Desktop for CLIÉ software and then perform a HotSync® operation,
the memos on your CLIÉ handheld still appear in the order defined
in the Memo Preferences setting, since the sort settings you use with
the Palm Desktop for CLIÉ software are not transferred to your CLIÉ
handheld.
Troubleshooting – Frequently Asked Questions
Continued on next page

204
Chapter 6 Additional information
I created an event in Date Book, but it does not appear in the
Week view.
,In the Week view, you cannot select overlapping events that have the
same start time. If you have two or more events with the same start
time, choose the Day view to see overlapping events.
I cannot find an image pasted in an Address Book entry.
,If you use the Palm Desktop for CLIÉ software to change the
category of the Address Book entry, you may not be able to locate the
pasted image on your CLIÉ handheld. Change the category on your
CLIÉ handheld.
I cannot start applications installed in the Memory Stick
media.
,In order to open such applications from the Application Launcher
screen, a memory space exceeding the application size must be kept
free on your CLIÉ handheld.
,Check if the application files or data files (such as image files)
essential to starting the applications are stored under the “/PALM/
Launcher/” directory of the Memory Stick media. If so, the CLIÉ
handheld may not be able to access the data files or application files.
Copy or move the file data to the CLIÉ handheld using the Memory
Stick Gate application (page 145, 147).
,Verify that you installed application or data from your computer to
the CLIÉ handheld by a HotSync operation, and selected Memory
Stick as their destination. If you did, copy or move the data to your
CLIÉ handheld (page 145, 147).
Troubleshooting – Frequently Asked Questions

205
Chapter 6 Additional information
HotSync® operation problems
I cannot perform a HotSync® operation. What should I check
to make sure I am doing it correctly?
,Check that the operating system of your computer is Windows® 98
Second Edition/Me/2000 Professional/XP.
,Check the Windows task tray to make sure the HotSync Manager is
running. If it is not running, open the HotSync Manager from the
Start menu.
,Make sure that the USB cable is connected securely to the computer.
I performed a HotSync operation, but one of my applications
did not synchronize.
,Click the HotSync Manager and choose Custom. Check that the
correct conduit is active.
I am using Outlook® as my PIM, but I cannot perform a
HotSync operation.
,Click the HotSync Manager and choose Custom. Check that the
correct conduit is active.
,Check that the correct conduit is installed. Reinstall the HotSync
Manager and make sure the correct conduit is selected.
,Make sure that Intellisync Lite is installed. See “Step 4: Installing the
Palm Desktop for CLIÉ software on your computer” in the Read This
First manual for details.
I cannot launch the HotSync Manager.
,Make sure that you are not running another program, such as a
network or facsimile applications, that uses the serial port you
selected in the Setup dialog box.
,Back-up the Palm Desktop for CLIÉ software, uninstall it, then
reinstall it.
,Make sure that Local USB is selected.
Troubleshooting – Frequently Asked Questions
Continued on next page

206
Chapter 6 Additional information
I tried to perform a local HotSync operation, but it did not
complete successfully.
Try each of these in turn:
,Make sure that HotSync Manager is running. If HotSync Manager is
running, exit, and restart it.
,Make sure that Local Serial is not selected in the HotSync Manager
menu or the Palm Desktop for CLIÉ software menu.
,Check that the USB cable is properly connected to the USB connector
of your computer.
,Read the HotSync Log for the user account for which you are
performing a HotSync operation.
,Make sure your CLIÉ handheld is securely connected to the USB
cable.
,Make sure that the gold-plated connectors on the USB cable and your
CLIÉ handheld are clean. Use a pencil eraser to clean the connectors.
I cannot perform an IR HotSync operation.
,Make sure that the HotSync Manager is running and the Serial Port
for local operations is set to the simulated port for infrared
communication.
,On your CLIÉ handheld, make sure that the HotSync application is
set to IR to a PC/Handheld.
,Make sure that the IR port of your CLIÉ handheld is aligned directly
opposite to, and within a few inches of, the infrared device of your
computer.
,IR HotSync operations do not work after you have received a low
battery warning. Check the battery power of your CLIÉ handheld.
If necessary, replace the batteries with new ones (PEG-SL10) or
recharge your CLIÉ handheld (PEG-SJ20/PEG-SJ30).
,If you have problems using a specific speed, select Prefs, Connection,
IR to a PC/Handheld, Edit, then Details. Then select a lower speed in
the Details dialog box.
Troubleshooting – Frequently Asked Questions
Continued on next page

207
Chapter 6 Additional information
My CLIÉ handheld appears to freeze when I place it near my
computer.
,Move your CLIÉ handheld away from the computer’s infrared port.
,Make sure that you turn the Beam Receive function off.
My CLIÉ handheld displays the message “Waiting for sender”
when it is near my computer’s infrared port.
,Your computer’s infrared port may be set to search automatically for
the presence of other infrared devices. Do the following to turn off
this option:
1In the Windows task bar, select Start, point to Settings, and select
Control Panel.
2Double-click Infrared.
3Click the Options tab.
4Clear the selection of the option “Search for and provide status for
devices within range.”
5Click Apply and OK.
,Move your CLIÉ handheld away from the computer’s infrared port.
,Make sure that you turn the Beam Receive function off.
I cannot cancel a HotSync operation midway.
,You may not be able to cancel a job a few seconds after you start a
HotSync operation via a USB connection. Wait for a few seconds and
try again.
I cannot backup some data at a HotSync operation.
,Some data is designed not to be backed up by a HotSync operation.
Troubleshooting – Frequently Asked Questions
Continued on next page

208
Chapter 6 Additional information
When I tap the HotSync icon on the HotSync screen,
nothing happens on the Palm Desktop for CLIÉ software and
my CLIÉ handheld times out.
,Check the Palm Desktop for CLIÉ software HotSync Setup options to
confirm that you have the correct settings for local HotSync
operations.
,Make a copy of your Palm folder. Uninstall, and reinstall the Palm
Desktop for CLIÉ software.
,Turn on your CLIÉ handheld and tap the Home icon. Tap the
HotSync icon, then tap Local.
When I perform a HotSync operation, my information does
not transfer to the Palm Desktop for CLIÉ software.
,If you have performed a HotSync operation successfully, but you
cannot find the data from your CLIÉ handheld on the Palm Desktop
for CLIÉ software, check to see that you have the correct user name
selected for viewing data.
,Click the HotSync Manager and choose Custom. Check that all
conduits are set to synchronize files.
I want to synchronize my computer with more than one CLIÉ
handheld.
,When the computer running the Palm Desktop for CLIÉ software is
to synchronize with more than one CLIÉ handheld, each CLIÉ
handheld must have a unique user name. Assign a unique user name
to your CLIÉ handheld the first time you perform a HotSync
operation.
,Please be aware that synchronizing with more than one CLIÉ
handheld with the same user name causes unpredictable results, and
potentially, loss of your personal information.
Troubleshooting – Frequently Asked Questions

209
Chapter 6 Additional information
Connection problems
I have trouble establishing a network connection to my ISP or
dial-in server.
,Check the Expanded Service Connection Progress messages to
identify the point where the connection fails in the log in procedure.
Press the scroll button downwards at any point during log in to
display these messages.
,Check the information in the Network Log so your ISP or your
System Administrator can pinpoint where the log in procedure
communication fails and why.
To view the Network Log, open the Network Preferences screen and
tap the Menu icon. Tap Options, then View Log. Tap the up and
down arrows of the scroll bar to see the entire Network Log.
Beaming problems
I cannot beam data to another Palm OS PDA.
,Confirm that your CLIÉ handheld and the other Palm OS PDA are
between 4 inches (approximately 10 centimeters) and 8 inches
(approximately 20 centimeters) apart, and that the path between the
two handhelds is clear of obstacles. Beaming distance to other Palm
OS PDA may be different.
,Move your CLIÉ handheld closer to the receiving handheld.
,Make sure that the Beam Receive function of the other Palm OS PDA
is turned on.
Troubleshooting – Frequently Asked Questions
Continued on next page

210
Chapter 6 Additional information
When someone beams data to my CLIÉ handheld, I get a
message telling me it is out of memory.
,Your CLIÉ handheld requires a memory space of at least
approximately 1.1 times the data size that you are receiving.
,Perform a soft reset. See “Resetting your Sony CLIÉ Handheld”
(page 25) for more information.
I cannot beam Address Book data.
,You cannot beam images to a Palm OS PDA other than a Sony CLIÉ
handheld.
Recharging problems (PEG-SJ20/PEG-SJ30)
When I connect my CLIÉ handheld to the AC adapter, it does
not recharge.
Confirm that:
,Your CLIÉ handheld is connected securely to the AC adapter.
,Your AC adapter is plugged into an AC outlet.
,You are using the AC adapter that came with your CLIÉ handheld.
,Your CLIÉ handheld is turned off; otherwise, it will not fully charge.
Troubleshooting – Frequently Asked Questions

211
Chapter 6 Additional information
Password problems
I forgot the password, and my CLIÉ handheld is not locked.
,You can use Security to delete the password, but your CLIÉ
handheld deletes all records marked as private. To back up all data
including private records, perform a HotSync operation before you
delete the password. Then follow these steps to restore your private
records onto your CLIÉ handheld:
1Perform a HotSync operation to back up your data.
2Tap Forgotten Password in Security to remove the password and
delete all private records.
3Perform a HotSync operation to synchronize your data and restore
the private records by transferring them from your computer to
your CLIÉ handheld.
I forgot the password and my CLIÉ handheld is locked.
,If you assign a password and lock your CLIÉ handheld, you must
perform a hard reset to continue using your CLIÉ handheld. See
“Resetting your Sony CLIÉ Handheld” (page 25) for more
information.
Troubleshooting – Frequently Asked Questions

212
Chapter 6 Additional information
Memory Stick® media problems
I cannot copy/move data from Memory Stick® media to my
CLIÉ handheld.
,Your CLIÉ handheld requires a memory space of at least
approximately 1.1 times the data size that you are copying/moving.
I inserted Memory Stick media, but the message “Please
insert Memory Stick media” appears.
,Your Memory Stick media is not recognized by your CLIÉ handheld.
Remove it and reinsert it.
Troubleshooting – Frequently Asked Questions

213
Chapter 6 Additional information
Troubleshooting – Frequently Asked Questions
If you still cannot perform a HotSync® operation
If you have reviewed items in the troubleshooting list and the HotSync®
operation problem persists, review the following.
You cannot perform a HotSync operation before you install the
Palm Desktop for CLIÉ software on your computer
If you perform a HotSync operation before you install the CLIÉ drivers,
other drivers may be installed. Make sure to install the Palm Desktop for
CLIÉ software first and then perform a HotSync operation.
Do not use a USB hub
If you connect the USB cable to your computer via a USB hub, you may not
be able to perform a HotSync operation properly. Make sure to connect the
USB cable directly to a USB port of your computer.
Some computers have the hub function built into their internal circuity.
Contact your computer manufacturer if the USB port of your computer is
connected to an internal USB hub.
Check that the USB port of your computer is enabled
If you are using Windows 95 pre-installed computer or another old type of
computer equipped with a USB port, the USB port may be disabled by
default. If another device such as a USB mouse cannot be used, check the
BIOS setting of your computer.
Also check the Device Manager. Right-click on My Computer and select
Properties. Click Device Manager tab and check that USB controller is listed
in the Device Manager screen.

214
Chapter 6 Additional information
Getting Help
Sony offers several support options for your CLIÉ handheld. When you have
questions or trouble, please refer to one of the following for a solution:
■Read This First (supplied), Operating Instructions (this guide), and
Add-on Application Guide (supplied) describes how to use your CLIÉ
handheld.
■Your Sony CLIÉ Handheld support Web site
http://www.sony.com/peg/support/
Provides the latest information on your CLIÉ handheld. On this Web
site, you will find:
•Frequently Asked Questions (FAQs)
•Online Operating Instructions
•Installation information
•Software updates
•Online knowledge base
■The Sony e-mail support service answers your questions by e-mail.
Send your question, and a customer service representative will send you
a reply. You can use the e-mail form at
http://www.sony.com/peg/support/
■The Sony fax-back service provides you with answers to commonly
asked questions. You can use this automated service to access a list of
available topics and then select the topics that you want to receive. To
contact the Sony fax-back service, call
1-877-760-SONY (7669) .
■The Sony Customer Information Service Center offers information
about your CLIÉ handheld and other Sony products that work with
your computer. To contact the Sony Customer Information Service
Center, call
1-877-760-SONY (7669) .

215
Chapter 6 Additional information
Specifications
OS Palm OS ver. 4.1
CPU Dragonball VZ 33 MHz
Memory
PEG-SL10:
ROM 4MB
8MB (SDRAM),
User memory range
approx. 7MB
PEG-SJ20/PEG-SJ30:
ROM 4MB
16MB (SDRAM),
User memory range
approx. 15MB
External input/output
Interface connector
IrDA (1.2)
Memory Stick slot
Display
PEG-SL10/PEG-SJ20:
Monochrome LCD with
backlight, 320 ✕ 320 dots,
16 levels
PEG-SJ30:
TFT color LCD with backlight,
320 ✕ 320 dots, 65,536 colors
Power requirements
PEG-SL10:
Two AAA (LR03) alkaline
batteries: 3 VDC
PEG-SJ20/PEG-SJ30:
AC power adapter (supplied):
DC 5.2 V (dedicated connector)
Battery: Lithium ion battery
(built-in)
Battery life
PEG-SL10: 20 days*
(Using SONY Alkaline
batteries LR03 (SG))
PEG-SJ20: 15 days*
PEG-SJ30: 12 days*
*Based on an average of 30
minutes use of PIMs per day,
with the backlight off. The battery
life span varies depending on the
temperature and conditions of
use.
Continuous operation of
gMovie (with the backlight on)
PEG-SL10: 6 hours
(Using SONY Alkaline
batteries LR03 (SG))
PEG-SJ20: 5 hours
PEG-SJ30: 3 hours
Continued on next page

216
Chapter 6 Additional information
Dimensions
PEG-SL10:
Approx. 2 7/8 ✕ 4 1/8 ✕ 21/32
inches (71.8 x 104.0 x 16.5 mm)
(w/h/d)
(projecting parts not included)
PEG-SJ20/PEG-SJ30:
Approx. 2 7/8 ✕ 4 1/8 ✕ 11/16
inches (71.8 x 104.0 x 16.8 mm)
(w/h/d)
(projecting parts not included)
Mass PEG-SL10:
Approx. 3.6 oz (103 g)
(including the supplied stylus,
excluding alkaline batteries)
PEG-SJ20:
Approx. 4.5 oz (128 g)
(including the supplied stylus)
PEG-SJ30:
Approx. 4.8 oz (137 g)
(including the supplied stylus)
Operating temperature
41 ºF - 95 ºF (5 ºC - 35 ºC)
Design and specifications are subject
to change without notice.
Specifications

217
Chapter 6 Additional information
Index
A
Address Book
Editing ...................................................54
Entering a new entry ..............................48
Pasting an image ...................................54
Sorting entries........................................51
Using menus ..........................................60
Viewing entries ......................................50
Adjusting the screen............................ 24
Application
Categorizing ..........................................81
Launcher (home) screen .........................80
Selecting/Starting ...................................80
Setting applications to start
automatically .......................................136
Starting an application in
Memory Stick media.............................136
Troubleshooting ...................................203
Application buttons
Assigning applications to buttons .........156
Selecting applications.............................80
Attaching notes ................................... 97
Automatic shut-off time .................... 165
B
BACK button................................. 8, 159
Backing up data
By a HotSync operation (to computer)...184
By Memory Stick Backup
(to Memory Stick media).......................185
By Memory Stick Gate
(to Memory Stick media).......................187
Backlight
Adjusting the brightness.........................24
Turning on and off..................................24
Battery considerations
Tips and notes...............................195,198
Troubleshooting ...................................210
Battery life.................................. 196,198
Beam Receive feature........................ 168
Beaming
Between two handhelds.......................129
Receiving data .....................................131
Sending items or categories..................130
Tips on beaming...................................131
Troubleshooting ...................................209
C
Calculator
Using buttons ........................................79
Using calculator .....................................78
Using menus ..........................................79
Card Info ........................................... 137
Categories
Categorizing applications .......................81
Categorizing items ......................... 76, 84
New categories ......................................86
Viewing items by categories
....................................... 50, 63, 72, 85
Choosing fonts .................................. 100
Cleaning ............................................ 194
Contrast............................................... 24
Copying
From CLIÉ handheld to
Memory Stick media.............................143
From Memory Stick media to
CLIÉ handheld......................................145
Restoring back-up to your
CLIÉ handheld......................................186
Continued on next page

218
Chapter 6 Additional information
Index
D
Date Book
Agenda view..........................................39
Day view................................................35
Editing ...................................................41
Month view ...........................................38
Repeating or continuous events..............31
Scheduling an event ...............................28
Setting alarm .........................................43
Using menus ..........................................46
Week view .............................................36
Deleting
Data in the Memory Stick media ...........148
Items ........................ 45, 58, 67, 75, 98
Digitizer ............................................. 154
Dragging.............................................. 10
E
Edit menu ............................................ 99
Entering data
Computer keyboard................................23
Graffiti writing .......................................12
Onscreen keyboard.................................21
F
FAQ(Frequently Asked Questions) ...... 200
File Link ............................................. 127
Finding items
Find option ............................................87
Phone Lookup........................................89
Formats.............................................. 160
Formatting Memory Stick media........ 138
Full-screen dragging ................... 10, 157
G
Getting Help ...................................... 214
Graffiti® writing
Accented characters ...............................19
Alphabets ..............................................15
Basic procedures ....................................12
Letters/numbers writing area ..................12
Non-English characters...........................19
Numbers................................................16
Onscreen help ........................................14
Overview................................................12
Punctuation marks .................................17
ShortCuts..................................... 20, 170
Symbols and extended characters ...........18
H
Hard reset............................................ 26
HotSync operation
File Link ...............................................127
LANSync .................................... 120, 123
Network Modem Sync ..........................120
Overview..............................................102
Selecting Conduit .................................109
HotSync® button....................... 102, 158
HotSync® operation
Setting setup options ...........................107
Troubleshooting ...................................205
Via IR port............................................111
Via modem ..........................................114
Via network .........................................120
Continued on next page

219
Chapter 6 Additional information
Index
I
Importing data from a Windows
application......................................... 125
IR port ...................................... 111, 129
J
Jog Dial navigator
Changing preferences...........................159
Compatible applications .........................11
Displaying the Pop-up application menu
.............................................................83
How to use (pressing/rotating)................11
JogAssist function ................................159
JogAssist function.............................. 159
L
Locking your CLIÉ handheld ................ 94
Look up ............................................... 53
M
Making items private...... 44, 76, 91, 96
Memo Pad
Creating a new memo............................70
Editing memos .......................................75
Reviewing memos ..................................72
Using menus ..........................................77
Memory Stick Backup
Backing up all CLIÉ data to Memory Stick
media ..................................................185
Memory Stick Gate
Copying CLIÉ data to
Memory Stick media.............................143
Copying Memory Stick data to
CLIÉ handheld......................................145
Deleting data .......................................148
Formatting Memory Stick media ...........138
Notes on moving or copying data .........142
Starting................................................140
Transferring data between two CLIÉ
handhelds............................................191
Using menus ........................................150
Memory Stick® media
Attaching a name.................................137
Default folder.......................................140
Formatting ...........................................138
Inserting and removing.........................133
Installing applications without
Memory Stick Gate...............................150
Notes on using.....................................134
Overview..............................................132
Protecting data ....................................135
Starting an application .........................136
Troubleshooting ...................................212
Types ...................................................132
Viewing media information...................137
Continued on next page

220
Chapter 6 Additional information
Index
N
Network preferences ......................... 172
Log in script .........................................178
Password .............................................173
Selecting a connenction........................174
Selecting a service................................172
Service template...................................175
Telephone setting.................................174
User name ...........................................173
Using menus ........................................181
Notes on use ..................................... 194
O
Onscreen keyboard .............................. 21
Owner information ............................ 169
P
Palm Desktop for CLIÉ
Basic operations...................................105
Locating screen components.................106
Starting................................................105
Password
Deleting a password...............................92
Entering a password.............. 91, 95, 173
Locking your CLIÉ handheld....................94
Troubleshooting ...................................211
Phone Lookup...................................... 89
PIM (Personal Information Management)
Address Book.........................................48
Calc (Calculator).....................................78
Common tasks .......................................80
Date Book..............................................28
Edit menu ..............................................99
Memo Pad .............................................70
To Do List...............................................62
POWER button....................................... 8
Precautions........................................ 194
Preferences
Alarm ..................................................167
Beam Receive feature...........................168
Buttons................................................156
Date & Time preferences.......................162
Digitizer ...............................................154
Formats................................................160
Full-screen pen stroke activities ............157
General preferences .............................165
Graffiti ShortCuts .................................170
HotSync button ....................................158
Network preferences ............................172
Overview..............................................154
Owner information...............................169
Password .............................................173
Setting daylight saving time..................164
Setting the date ...................................162
Setting the time ...................................163
Setting the time zone ...........................164
Sounds.................................................166
Time, date, and number formats ...........161
User name ...........................................173
Protecting data.................................... 91
Purging records ................................... 98
R
Reset
Hard reset..............................................26
Reset button ....................................25, 26
Soft reset ...............................................25
Continued on next page

221
Chapter 6 Additional information
Index
S
Security................................................ 91
Selecting text in an application ........... 99
Setting
Alarm ..................................................167
Automatic shut-off time .......................165
Date ....................................................162
Daylight saving time.............................164
Number formats...................................161
Priorities ................................................65
Sounds.................................................166
Time ....................................................163
Time zone ............................................164
Soft reset ............................................. 25
Sorting items ................................ 52, 73
Specifications .................................... 215
Stylus
How to use ..............................................9
Taking out the reset tip...........................25
Synchronizing with external data ...... 127
T
Tapping.................................................. 9
To Do List
Changing appearance ............................68
Checking off items .................................64
Creating items .......................................62
Setting priorities.....................................65
Setting the due data...............................66
Using menus ..........................................69
Viewing items ........................................63
Transferring data between two
CLIÉ handhelds
Using Memory Stick media ...................191
Using Palm Desktop for CLIÉ ................189
Troubleshooting
Applications.........................................203
Beaming ..............................................209
Connection ..........................................209
HotSync operations ..............................205
Memory Stick media.............................212
Operations ...........................................200
Password .............................................211
Recharging...........................................210
Tapping and writing .............................202
Turning your CLIÉ handheld on and off
.............................................................. 8
U
User name ......................................... 173

For the latest support information,
check our official Sony CLIÉ Web site
http://www.sony.com/clie/
For information on accessories
http://www.sonystyle.com/micros/
clie/accessories/index.html