SparkLAN Communications OA200 Wireless Outdoor AP User Manual OA200AP QIG v1 0
SparkLAN Communications, Inc. Wireless Outdoor AP OA200AP QIG v1 0
Contents
- 1. Users Manual
- 2. Installation guide
Installation guide
OA200 Outdoor 802.11ag AP
Quick Installation Guide
Version 1.0
Content
1. Introduction .......................................................... 3
2. Operating Mode.................................................... 4
3. Hardware Installation........................................... 6
4. Quick Setup Guide............................................... 11
5. Waterproof RJ-45 Connector Assembly ........... 15
3
1. Introduction
1.1 Purpose
This document provides information and procedures on hardware installation,
setup and management of the IEEE 802.11ag AP Bridge.
1.2 Overview
Access Point with Rugged Housing for Application
OA200 Wireless11ag AP Bridge provides quality connectivity for
Wi-Fi networks. This device is ideal for rugged environments and
application.
Multiple Operating Modes
OA200 Wireless11ag AP Bridge provides 3 operating modes. There are
AP, AP Repeater and Wireless Client. When it is set to AP mode, it connects
wireless clients to a wired network. In AP Repeater mode, it can extend the
communication distance of wireless connection. Finally, in Wireless Wireless
client mode, AP auto scan for specific AP (remote AP's SSID), then set up
connection to it as a client.
Wi-Fi Compliant Device
OA200 is Wi-Fi compliant device which ensures the network compatibility.
High Performance for Wireless Coverage
OA200 designs to support large areas. This unit is built-in high power RF
module.
Installation
OA200 is very easy to install and set up. Power over Ethernet support offers
the power for this unit and decreases most effort on installation.

4
2. Operating Mode
OA200 provides 3 kinds of operating mode for application.
AP mode
AP Repeater mode
WDS mode
2.1 AP mode
In AP mode, it can connect multiple wireless clients to a wired network.
2.2 AP Repeater mode
AP Repeater mode allows OA200 to communicate with other 802.11ag APs
while functioning in AP mode, and to extend your Wireless Network coverage.
It is set by SSID

5
2.3 WDS mode
In this mode, it allows wireless connection between two or more wired and
wireless networks, such as two networks with the same sub-network in
different buildings. For building-to-building wireless connection, each building
should implement one OA200 as WDS. In this case, the OA200 can act as a
wireless bridge between the two wired and wireless networks. Please fill in
remote AP’s MAC address in “WDS links” space.
2.4 Wireless Client mode
AP auto scan for specific AP (remote AP's SSID), then set up connection to it as
a client.

6
3. Hardware Installation
3.1 LED Description
There are 3 LEDs on the right side of OA200.
1. LInk LED
Off: No LAN connection available
On: LAN connection OK
2. 11g LED
Off: no activity
Blinking: sending and receiving data
3. 11a LED
Off: no activity
Blinking: sending and receiving data

7
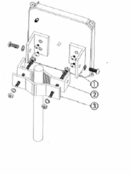
3.2 Mount Kit Installation
1. Assemble part
1
of the mount kit at the rear of OA200, shown in the above
figure.
2. If you are mounting the Access Point on a wall, first install the bracket
2
of
the mounting kit to a suitable position. Assemble the back of the OA200
housing to the bracket subsequently.
3. If you are mounting the OA200 to a pole, first install the bracket
2
and the clip
3
of the mounting kit to a strong pole. Assemble the rear of the OA200
housing to the bracket subsequently.
4. Insert the LAN cable to a Power over Ethernet socket. Make sure the power
LED and LAN link LED is light up.

8
3.3 Power over Ethernet Installation
1. Connect the Ethernet cable from the OA200 to PoE hub (LAN out).
2. Connect a second Ethernet cable from the LAN-IN port of the PoE adapter to
a free port of a switch or hub within the local network. Please refer to the
above figure.

9
3.4 Hardware Reset to default settings
You can reset the wireless bridge unit’s settings to factory defaults by pushing
reset button using reset bar. The reset button is located and hidden inside of the
rear panel as above figure. Please refer to the following steps to perform the
Hardware Reset.

10
1. Please unscrew the screw part as above figure.
2. Please use the reset bar to reach the reset button. Press it and hold on for
approx 10 seconds.
3. Release the reset button, the device will reboot and all configurations will be
set to factory default settings automatically.
3.5
Antenna installation on OA200
antenna inside box, so the external antenna is necessary for this unit. Please
find the RP-SMA Antenna connector on the rear side of this box. Usually, it should be a
low loss RF cable connected between OA200N and antenna.
For decrease the signal loss, we strongly suggest using RF cable with high
quality and the length should be as short as possible. There are two RP-SMA types
connector at the rear side. One is Antenna 1, the other is Antenna 2
OA200 is one 11ag AP series with external antenna.The cable with male to male
N-type connector will be use to connect withOA-200 physical utility. The cable
with female to female reverse N-type connector shall be used as extension cable
to establish connection with RSMA converter, The Antenna will be connecting to
RSMA converter.

11
4. Quick Setup Guide
AP Default Settings
The default settings are shown as the following:
User
Password admin
IP Address 192.168.1.250
Subnet Mask
255.255.255.0
RF ESSID A band: wlan-a G band: wlan-g
Channel A band: Auto G band: 6
Mode G band: Mixed
Encryption Disabled

12
Step1
START UP & LOGIN
In order to configure the OA200, you must use your web browser and manually
input http://192.168.1.250 into the Address Box and press Enter. The Main
Page will appear.
To start configure the OA200, you must input password “admin” on the
password section.
Once you have logged-in as administrator, it is ideal to change the
administrator password to ensure a secure protection to the Wireless 11ag AP.
Please refer to the Security Settings in the later section, which describes how to
change the password.
Once you have input the correct password and logged-in, the screen will
change to the Setup page screen.

13
Step2
Local Area Network: This is OA200 IP Address and Subnet Mask as
seen on the internal LAN. The default value is 192.168.1.250 for IP
Address and 255.255.255.0 for Subnet Mask.
Please Click “Apply” button to save your settings once you have any change.

14
Step3
Please select the antenna for each band.
After completed the setting and hardware installation, please adjust the
direction of OA200 to remote site OA200 for a high quality transmission.

15
5. Waterproof RJ-45 Connector Assembly
Recommendation:
Please prepare one CAT-5 or better quality Ethernet cable then get through the
parts of waterproof connector before this assembly.

16
The equipment has been tested and found to comply with FCC and CE Rules.Operation is
subject to the following two conditions:
(1) This device may not cause harmful interference.
(2) This device must accept any interference received including interference that may
cause undesired operation.
REMARK: 5150MHz~5250MHz, 5250MHz ~ 5350MHz frequency will be disabled by
firmware.
17
Federal Communication Commission Interference Statement
This equipment has been tested and found to comply with the limits for a Class B
digital device, pursuant to Part 15 of the FCC Rules. These limits are designed to
provide reasonable protection against harmful interference in a residential installation.
This equipment generates uses and can radiate radio frequency energy and, if not
installed and used in accordance with the instructions, may cause harmful interference
to radio communications. However, there is no guarantee that interference will not
occur in a particular installation. If this equipment does cause harmful interference
to radio or television reception, which can be determined by turning the equipment off
and on, the user is encouraged to try to correct the interference by one of the
following measures:
- Reorient or relocate the receiving antenna.
- Increase the separation between the equipment and receiver.
- Connect the equipment into an outlet on a circuit different from that to which
the receiver is connected.
- Consult the dealer or an experienced radio/TV technician for help.
This device complies with Part 15 of the FCC Rules. Operation is subject to the
following two conditions: (1) This device may not cause harmful interference, and (2)
this device must accept any interference received, including interference that may
cause undesired operation.
FCC Caution: Any changes or modifications not expressly approved by the party
responsible for compliance could void the user's authority to operate this equipment.
IMPORTANT NOTE:
FCC Radiation Exposure Statement:
This equipment complies with FCC radiation exposure limits set forth for an
uncontrolled environment. This equipment should be installed and operated with
minimum distance 20cm between the radiator & your body.
This transmitter must not be co-located or operating in conjunction with any other
antenna or transmitter.
The OA200 ( FCC ID: RYK-OA200 ) is limited in CH1~CH11 for 2.4 GHz by
specified firmware controlled in U.S.A.