Sterling Blender A0567659 Users Manual
A0567659 to the manual f694424c-4c31-46f4-955c-4c466149e79c
2015-02-04
: Sterling Sterling-Sterling-Blender-A0567659-Users-Manual-388737 sterling-sterling-blender-a0567659-users-manual-388737 sterling pdf
Open the PDF directly: View PDF
.
Page Count: 118 [warning: Documents this large are best viewed by clicking the View PDF Link!]


Page 2 of 118 SGB Batch Blender with Mitsubishi Controller
Model # Serial #
Write down your Blender ________________ ________________
serial numbers here _____________ _____________
for future reference ________________ ________________
________________ ________________
________________ ________________
________________ ________________
________________ ________________
________________ ________________
________________ ________________
________________ ________________
Sterling is committed to a continuing program of product improvement.
Specifications, appearance, and dimensions described in this manual
are subject to change without notice.
© Copyright Sterling 2003
All rights reserved. Revision: NEW
Part No. A0567659 Bulletin No. SM1-605M

SGB Batch Blender with Mitsubishi Controller Page 3 of 118
Table of Contents
Table of Contents.........................................................................................3
Safety Considerations ..................................................................................5
Annex B Information................................................................................7
1 General Information................................................................................8
1-1 Introduction ....................................................................................8
1-2 Equipment Function .......................................................................8
1-3 Accessories.....................................................................................8
1-4 Customer Service............................................................................8
1-5 Necessary Documents ....................................................................9
1-6 System Capabilities......................................................................... 9
1-7 Equipment Covered by this Manual.................................................. 9
1-8 “SGB” Series Weigh Blender Mechanical Features........................ 10
1-9 “SGB” Series Weigh Blender with Mitsubishi Touch-Screen Control
Features.......................................................................................11
1-10 SGB (-E) Series Specifications.................................................... 12
1-11 Model SGB Blender System Component Description ..................13
1-12 Pneumatic Slide Gate Below Mixer (Optional) ............................. 23
2 Safety ..................................................................................................24
2-1 Work Rules ..................................................................................24
2-2 Tools and Equipment Needed......................................................25
2-3 Mechanical Installation ................................................................. 25
2-4 Safety Considerations ..................................................................25
2-5 General Responsibility .................................................................26
2-6 Operator Responsibility................................................................27
2-7 Maintenance Responsibility .........................................................28
2-8 Safety........................................................................................... 29
2-9 Electric Safety Interlock Switch (All Models)................................32
3 Shipping Information ............................................................................33
3-1 Unpacking and Inspection............................................................ 33
3-2 In the Event of Shipping Damages...............................................34
3-3 If the Shipment is Not Complete...................................................35
3-4 If the Shipment is Not Correct ...................................................... 36
3-5 Returns ........................................................................................ 36
4 Installation & Setup ..............................................................................37
4-1 Chapter Description and Objectives ...............................................37
4-2 Site Requirements.......................................................................... 37
4-3 Installation Overview ..................................................................... 41
4-4 Mechanical Installation .................................................................. 41
4-5 Electrical Installation....................................................................... 42
4-6 Pneumatic Installation ....................................................................43
4-7 Blender Set-up ...............................................................................43

Page 4 of 118 SGB Batch Blender with Mitsubishi Controller
Table of Contents
5 Operation ...........................................................................................47
5-1 SGB Blender Sequence of Operation .......................................... 47
5-2 Quick Start Procedure.................................................................. 47
5-3 Recipe Entry Formats...................................................................48
5-4 SGB Series Control System Menu Structure................................ 51
5-5 Blender Calibration....................................................................... 52
5-6 Controller Mode Setup .................................................................54
5-7 Color Change............................................................................... 56
5-8 Additional Operation Features .....................................................58
5-9 Stroke Limiters for Metering Gates...............................................77
6 Maintenance.........................................................................................79
6-1 Work Rules...................................................................................78
6-2 Maintaining Blenders.................................................................... 78
6-3 Controller Setup ...........................................................................79
6-4 SGB Series Blender Menu Structure............................................ 80
6-5 Mechanical ...................................................................................81
6-6 Electrical....................................................................................... 82
6-7 Pneumatic System Maintenance..................................................84
7 Troubleshooting....................................................................................85
7-1 Description and Objectives.............................................................85
8 Blender Options....................................................................................89
9 Spare Parts ..........................................................................................90
9-1 Spare Parts List...............................................................................90
9-2 Model SGB Blender System Component Description ..................91
10 Technical Assistance............................................................................99
10-1 Contact Information for Technical Assistance ..............................99
10-2 Returned Material Policy ............................................................ 100
10-3 Warranty..................................................................................... 101
11 Safety Tag Information......................................................................102
11-1 SGB Blender Safety Tags .......................................................... 102
11-2 Pushbutton and Touchscreen Tags............................................ 103
11-3 Blender Identification (Serial Number) Tag ...............................104
12 Appendix ............................................................................................105
12-1 Addendum (Service Supervisor Information)..............................105
12-2 Passwords ................................................................................. 112
12-3 Default Values (factory defaults shown): .................................... 112

SGB Batch Blender with Mitsubishi Controller Page 5 of 118
Safety Considerations
Sterling equipment is designed to provide safe and reliable
operation when installed and operated within design
specifications, following national and local safety codes.
To avoid possible personal injury or equipment damage when
installing, operating, or maintaining this equipment, use good
judgment and follow these safe practices:
; Follow all SAFETY CODES.
; Wear SAFETY GLASSES and WORK GLOVES.
; Disconnect and/or lock out power before servicing or
maintaining the blender.
; Use care when LOADING, UNLOADING, RIGGING, or
MOVING this equipment.
; Operate this equipment within design specifications.
; UNPLUG OR OPEN, TAG, and LOCK ALL DISCONNECT
DEVICES before working on equipment. You should remove
the fuses and carry them with you.
; GROUND your equipment properly before applying power.
; Use extreme caution when working with your equipment.
Keep body parts, tools, clothing, and debris away from
vacuum inlets and moving parts.
; Do not jump or bypass any electrical safety components.
; Do not restore power until you remove all tools, test
equipment, etc., and the blender and related equipment are
fully reassembled.
; Only PROPERLY TRAINED personnel familiar with the
information in this manual should work on this equipment.

Page 6 of 118 SGB Batch Blender with Mitsubishi Controller
Sterling
“SGB-E” Series Blenders
This blender is manufactured by ACS, Inc. at the ACS-Wood Dale facility:
ACS, Inc.
801 AEC Drive
Wood Dale, IL 60191
Phone: 630.595.1060
Fax: 630.595.6641
The equipment is distributed in Europe by our European facility:
ACS-EUROPE
Daniels Industrial Estate
BATH ROAD
Stroud, Gloucestershire, England
GL5 3TJ
Phone: (44) 1453 768980
Fax: (44) 1453 768990

SGB Batch Blender with Mitsubishi Controller Page 7 of 118
Annex B Information
The following design information is provided for your reference:
1. No modifications are allowed to this equipment that could alter the CE compliance
2. Ambient temperature: 40 degrees Celsius – Maximum (104 degrees Fahrenheit)
3. Humidity range: 50% relative humidity
4. Altitude: Sea level
5. Environment: Clean, dust-free and non-explosive
6. Radiation: None
7. Vibration: Minimal, i.e. machine mounting
8. Special installation requirements: Clean, dry compressed air 1 cfm @ 60 psi
(1.7 m³/hr @ 4.14 bar)
9. Allowable voltage fluctuation: +/- 10%
10. Allowable frequency fluctuation: Continuous +/- 1%
Intermittent +/- 2%
11. Nominal supply voltage: 120/1/60 or 220/1/50/60 (Verify on serial number
tag)
12. Earth ground type: TN (system has one point directly earthed through
a protective conductor)
13. Power supply should include a neutral power connection.
14. Over-current protection is supplied in the blender, but additional protection should be
supplied by the user.
15. The plug on the power cord serves as the electrical disconnect device.
16. Unit is not equipped with three-phase motors.
17. N/A
18. Blender is not equipped with local lighting.
19. Functional identification
20. Blender is equipped with a CE mark
21. Blender is supplied with an operating manual in the language of the destination country.
22. Cable support may be required for power cord, depending on final installation.
23. No one is required to be in the interior of the electrical enclosure during the normal
operation of the unit. Only skilled electricians should be inside the enclosure for
maintenance.
24. Doors can be opened with a screwdriver, but no keys are required.
25. Two-hand control is not required or provided.
26. All blenders should be moved around and set in a place with a lift truck or equivalent.
27. There are no frequent repetitive cycles that require manual controlrepetitive functions
are automatic while the blender is operating.
28. An inspection report detailing the functional test is included with the blender.
29. The machine is not equipped with cableless controls.
30. Color-coded (harmonized) power cord is sufficient for proper installation.

Page 8 of 118 SGB Batch Blender with Mitsubishi Controller
1 General Information
1-1 Introduction
We are pleased to supply Sterling auxiliary equipment for your facility. We
manufacture a complete line of auxiliary equipment to satisfy all of your material
handling, process cooling, scrap reclaim, size reduction, and automation
requirements. Please feel free to contact your sales representative or our office
if you have any questions.
1-2 Equipment Function
All SGB blenders are designed to blend plastic pellets and regrind, and supply
the blended material to the processing machine. Standard equipment is not
designed to blend powder or any other materials.
1-3 Accessories
Sterling offers a variety of standard options for blenders including floor stands,
RAM feeders, loading equipment, etc. All accessories are designed and
manufactured by Sterling to ensure proper results for your application.
1-4 Customer Service
The intent of this manual is to familiarize the operator and maintenance
personnel with this equipment and help your organization get the maximum
service from your equipment. If you have any questions regarding installation,
service, repair, custom equipment, or applications, please do not hesitate to
contact us for the information required. Prices for additional equipment,
accessories, or repair parts will be furnished promptly upon request.
NOTICE: If you desire to use a blender for an application other than that for which it
was purchased, please contact your sales representative or our factory to
verify compatibility of the equipment with the new process. Misapplication of
the equipment could result in injury to the operator or damage to the
equipment.

SGB Batch Blender with Mitsubishi Controller Page 9 of 118
1-5 Necessary Documents
The documents listed below are necessary for proper installation, operation and
maintenance of SGB Series Gravimetric Batch Blenders. You can obtain
additional copies from the Service Department at Sterling or ACS Europe.
Make sure that appropriate personnel get familiar with these documents:
• This Operation, Installation, and Service manual
• Electrical schematic and connection diagrams
• Pneumatic circuit drawing
• Electric motor and controller information sheets (if equipped)
• Operation and Installation manuals for supplied options and
accessories
1-6 System Capabilities
Blending systems are as varied as the applications that they service. This
equipment is intended to blend the materials(s) specified at the time of purchase
at specific rates.
1-7 Equipment Covered by this Manual
SGB Blenders
• SGB-450
• SGB-900
• SGB-2500
• SGB-4000
• SGB-5000

Page 10 of 118 SGB Batch Blender with Mitsubishi Controller
1-8 “SGB” Series Weigh Blender Mechanical Features
SGB Slide Gate Blender
• Efficient Opti-Mixer® and “HC” mixer designs promote homogeneity
• Exclusive diamond design slide gate metering assemblies meter a large range for
free flowing pellet materials
• Slide gate stroke limiting restrictors provided for accurate metering of minor
ingredients
• Electro-polished 304 SS stainless steel weighing and blending components
• Precision 1/10% span accurate cantilever load cell weighing system
• Removable stainless steel weigh hopper
• Removable stainless steel mixer agitator and mixer wrap (Opti-Mixer® only)
• Mild steel material supply hoppers with clean-out doors and material drains
• Compressed air hose with nozzle for clean-out
• Safety-interlocked system shuts off compressed air and electricity if mixer is opened

SGB Batch Blender with Mitsubishi Controller Page 11 of 118
1-9 “SGB” Series Weigh Blender with Mitsubishi Touch-
Screen Control Features
• LCD touch-screen interface display operator control panel with 8’ cable
• Target vs. actual set point verification
• Inventory accumulation for all ingredients
• Audible and visual alarms
• Auxiliary alarm contact
• 50 recipe storage book
• Three (3) types of recipe entry procedures available:
9 Quick Set (up to 6-component) recipe entry. Color and additives are
metered as a percentage of the virgin material.
9 Percentage mode recipe entry. Ingredients are metered as a percentage
of the overall batch.
9 Parts mode recipe entry (i.e. 500:1) Ingredients are metered as a ratio to
each other within the batch
• Full control diagnostics
• RS-422 communications ports

Page 12 of 118 SGB Batch Blender with Mitsubishi Controller
1-10 SGB (-E) Series Specifications
SGB Series Specifications SGB-450 SGB-900 SGB-2500 SGB-4000 SGB-5000
Number of materials blended 4 2 to 6 2 to 5
Slide gate (adjustable, in (mm)) square 2 (50) 2.5 (63) 3 (76) 4 (101)
Supply hopper capacity, ft³ (l) 0.75 (21) 1 (28) 1.5 (42) 2 (56)
Weigh hopper capacity ft³ (l) 0.12 (3.4) 0.4 (11) 0.65 (18) 1.4 (39)
Typical batch size, lbs. (kg) 3 (1.3) 8 (3.6) 15 (6.8) 35 (16)
Mixer capacity, lbs. (kg) 6 (2.7) 20 (9) 30 (13.6) 75 (34)
Mixer motor size, HP (kW) 1/6 (.12) 1/2 (.37)
Mixer speed, rpm 30 16 22
Load cell capacity (2 per blender) 2 kg ea. 5 kg ea. 10 kg ea. 20 kg ea.
Blended material discharge opening, in (mm) 3 (76) 4 (101)
Maximum blending rate (approx.), lbs/hr (kg/hr) ➀ 350 (159) 700 (318) 1500(680) 3500 (1590) 4000 (1820) 5000 (2270)
Weight of machine (approx.), lbs (kg) 145 (66) 200 (91) 400 (185) 600 (275)
Shipping weight (approx.), lbs (kg) 200 (91) 400 (185) 600 (275) 850 (390)
➀ Based on 78% virgin, 20% regrind and 2% Color.
Note: SGB features and specifications are subject to change without notice.

SGB Batch Blender with Mitsubishi Controller Page 13 of 118
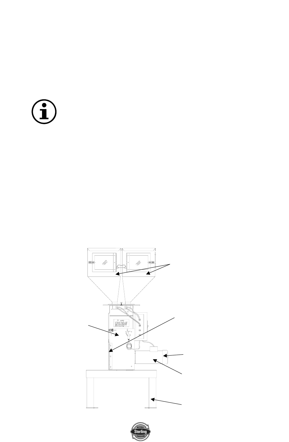
1-11 Model SGB Blender System Component Description
This section describes the various components of the blending system. The SGB
blending system is made up of the following components:
1-11-1 Material Supply Hoppers
1-11-2 Slide Gate Metering Assemblies
1-11-3 Weigh Hopper
1-11-4 Weigh Hopper Dump Valve
1-11-5 Mix Chamber
1-11-6 Operator Control Panel
SGB

Page 14 of 118 SGB Batch Blender with Mitsubishi Controller
1-11-1 Material Supply Hoppers
The material supply hoppers are located on top of the blender frame.
These hoppers store a supply of material for the individual metering
devices. They are sized based on the total throughput of the blender.
The SGB blending system does not include any level indication
devices on the unit. Optional low-level sensors are available. The
blender controller will alarm if it runs out of material while trying to
make a batch, but low-level sensors will alert floor personnel to the
problem sooner.
Each hopper is equipped with a sight glass and/or access door.
DRAIN PORT WITH PLUG
HINGED POLYCARBONATE
ACCESS DOOR
PNEUMATIC SAFETY SWITCH
(IF EQUIPPED- OLDER
MODELS ONLY)
DOOR LATCH
Typical Material Supply Hoppers
SIGHT GLASS (IF EQUIPPED)

SGB Batch Blender with Mitsubishi Controller Page 15 of 118
1-11-2 Slide Gate Metering Assemblies
Air operated slide gates are provided to meter the majority of pellet
ingredients on the SGB blender.
Important! The metering range assumes 1/8” diameter free-flowing plastic
pellets weighing approximately 35 lbs./cu. ft. This is meant to be
an approximate sizing recommendation and can vary with
different bulk density resins, pellet configuration, etc.
A stroke limiter (included) can be installed on the metering gates to
limit their travel. This device decreases the stroke of the gate and
reduces the metering orifice of the valve. The unique diamond gate
provides a square opening at any stroke length, providing more
consistent flow from smaller valve openings than conventional slide
gates. This stroke limiter may be necessary to accurately meter low
percentage ingredients.
The air cylinders operating the slide gate are rugged, stainless steel
cylinders designed for industrial use.
DIAMOND GATE CLOSED
DIAMOND GATE 3/4 CLOSED
DIAMOND GATE 1/2 CLOSED
DIAMOND GATE OPEN
WARNING!
Slide gates create a pinch-point hazard.
Always disconnect and lockout all electrical power and
pneumatic (i.e. compressed air) sources prior to
servicing or cleaning any blender, including all SGB
Series models. Failure to do so may result in serious
injury.
The unique Sterling diamond gate provides a constant
aspect opening that remains square regardless of the
stroke length of the cylinder. This design provides a wider
cross sectional opening when approaching a closed
position, and provides better flow of plastic pellets out of
the opening.

Page 16 of 118 SGB Batch Blender with Mitsubishi Controller
Each of the diamond gate air cylinders is actuated by a solenoid valve,
which are controlled by the blender.
When the solenoid valve is energized, it opens the metering valve
cylinder. When the solenoid valve is de-energized, it closes the
metering valve cylinder.
If the power is interrupted to the blender, the metering valves will return
to the closed position, to prevent material from over-filling the weigh
hopper/mix chamber.
Important! If the blender is in metering mode with one of the slide gates open,
do not open the front door of the blender!
The safety switch shuts off the air supply to the blender. An open
feeder slide gate stays open, and an overflow of the weigh hopper
can occur!

SGB Batch Blender with Mitsubishi Controller Page 17 of 118
1-11-3 Weigh Hopper
The weigh hopper on the SGB blender is used to weigh each batch of
material, and includes an air-operated discharge valve. After the batch
is weighed and the level sensor in the lower mix section is uncovered,
the valve will open and discharge the batch into the mixer with the
existing blended material. The discharge valve is also provided with a
quick disconnect so the weigh hopper can be removed for cleaning.
On an SGB blender, the weigh hopper rests on each side on a
precision cantilever load cell. To remove the weigh hopper, lift the
hopper from the bottom, hold the discharge valve closed, and slide it
out once clear of the locating tab on the bracket above the load cell.
Once the hopper has been cleaned, reposition it onto the load cell
brackets, using care not to damage the load cells. Position the hopper
as close to the center position between the load cells as possible.
Important! Use care when replacing the weigh hopper, since the load cells are
delicate weighing instruments and can be easily damaged. Do not
use force to push in the weigh hopper. If it is positioned properly,
it will slide in very easily.
Load cells, if damaged, will have to be sent back to the
manufacturer for testing and evaluation.
DISCHARGE VALVE
LOAD CELL LOAD CELL
WEIGH HOPPER
LOCATING TABS
A
IR CYLINDER

Page 18 of 118 SGB Batch Blender with Mitsubishi Controller
1-11-4 Weigh Hopper Discharge Valve
The weigh hopper discharge valve holds the material until it is dumped
into the mixing section. The cylinder is actuated by a solenoid in the
valve stack on the rear of the blender.
In looking at the pneumatic circuit, you can see that the air regulator
controls the flow of air to the valve stack. When the weigh hopper
discharge cylinder solenoid valve is not electrically energized, it will
provide air pressure to the air cylinder and hold the shaft in an
extended position, holding the dump valve closed.
When the air cylinder is actuated, the air pressure to the dump valve
will be removed, causing it to open.
The air cylinder on the weigh hopper includes a spring return to allow
the cylinder to retract in the absence of air pressure on the cylinder.
This will cause the dump valve to open.
CAUTION! The pneumatic system used on the SGB, like all pneumatic
systems, is highly sensitive to oily, dirty, wet or contaminated air.
If oil, dirt, water, or any other air-borne contaminates enter the
system, the components could be damaged and injury to the
operator could result. A proper air supply must be supplied to the
blender.
When the safety circuit is disabled, the air pressure to the cylinder will
drop off by shutting off all the air supply to the valve stack with the pilot
operated master air valve. This will also cause the weigh hopper
discharge door to open.

SGB Batch Blender with Mitsubishi Controller Page 19 of 118
1-11-5 Mix Chamber
All of the Sterling batch blenders are equipped with an integral mix
chamber. The mix chamber holds multiple batches of material so any
variations in a batch are averaged over time.
1-11-5-1 Opti-Mixer™
The Opti-mixer™ is designed to provide bi-directional
mixing action and can be easily taken apart for cleaning.
This design is standard on all SGB blenders.
1-11-5-2 “HC” Mixer
The “HC” Mixer features an open wheel design and is best
used for multiple regrind materials and rigid pellets. It is
optional on all SGB models.
WARNING!
Never reach into the mix section of the blender without
disconnecting the power or air supply.
Serious injury can result from getting your hand caught in the
rotating mixer!
1-11-6 Operator Control Panel
The operator control panel includes a 8 foot (2.4 m) cable and can be
remote mounted (not recommended) adjacent to the blender. The
panel can be unplugged and removed if necessary.
The controller includes an embedded computer. This design provides
excellent blender performance along with an easily replaceable
control panel in the unlikely failure of any computer or electronic part.
The display menu format is very simple. After installation and setup,
simply enter in the recipe and start the blender.
If it is desired to have a local display and control of the blender closer
to a remote operator station, an optional RS422 remote control panel
(RCP) is available.

Page 20 of 118 SGB Batch Blender with Mitsubishi Controller
Typical Setup Screens

SGB Batch Blender with Mitsubishi Controller Page 21 of 118
Typical Operator Screens

Page 22 of 118 SGB Batch Blender with Mitsubishi Controller
Note: The touch-screen panel display on your unit may be slightly different
than shown.

SGB Batch Blender with Mitsubishi Controller Page 23 of 118
1-12 Pneumatic Slide Gate Below Mixer (Optional)
The SGB blending system can be equipped with an optional pneumatic slide gate
below the mixing chamber. The gate is used in applications when the blender is
mounted above a large hopper, or for gaylord filling, etc. This gate holds the
material in the mixing section, to ensure that it is properly mixed. Control of the
mixer function is described below, and is determined by the position of the “knife
gate switch” located on the side of the back control panel.
Mixer Slide Gate Switch Positions
AUTO Slide gate functions are automatically
controlled by the blender controller
OPEN Slide gate open all the time
CLOSE Slide gate closed all the time
TYPICAL CENTRAL BLENDER LAYOUT

Page 24 of 118 SGB Batch Blender with Mitsubishi Controller
Safety 2
2-1 Work Rules
Install, operate, and maintain this equipment according to applicable work and
safety codes for your location. This includes OSHA, CE, NEC, CSA, SPI, and
many other local, national, and international regulations. Obey these specific
work rules:
Read and follow the instructions in this manual before installing, operating, or
maintaining any equipment. Additional copies are available from Sterling.
Only qualified persons should work on, or with, this equipment.
Work only with approved tools and devices.
Disconnect and lock out power while working on this equipment.
Supply Hoppers
Floor Stand
Take-off Compartment
Surge Bin
Blender
Pneumatic Slide Gate Below Mixer

SGB Batch Blender with Mitsubishi Controller Page 25 of 118
2-2 Tools and Equipment Needed
You’ll need the following:
• Hand tools
• Fork lift or overhead lift
• Wire, conduit, and fittings for wiring runs (if receptacle is not already in
place)
• Mounting bolts with nuts and washers
• Compressed air tubing and fittings
2-3 Mechanical Installation
Blenders may be mounted on the machine, a stand, or a mezzanine. Be sure it is
securely attached and additional bracing is used if necessary. The sections on
the following pages explain general installation rules.
Read manual thoroughly before installing
blender.
Use approved safety straps or chains to lift the
blender at the marked lifting points.
2-4 Safety Considerations
The terms NOTICE, CAUTION, WARNING, and DANGER have specific
meanings in this manual. See Section 11 for a complete list of specific safety
warning information.
A NOTICE is used to indicate a statement of company policy directly or
indirectly related to the safety of personnel or protection of property.
A CAUTION indicates a potentially hazardous situation which, if not
avoided, may result in minor or moderate injury.
A WARNING indicates a potentially hazardous situation which, if not
avoided could result in death or serious injury.
A DANGER indicates an imminently hazardous situation which, if not
avoided, will result in death or serious injury. This word will be limited
to the most serious situation(s).

Page 26 of 118 SGB Batch Blender with Mitsubishi Controller
The term IMPORTANT emphasizes areas where equipment damage
could result, or provides additional information to make a step or
procedure easier to understand. Disregarding information marked
IMPORTANT would not be likely to cause personal injury.
REPORTING A SAFETY DEFECT
NOTE: If you believe that your equipment has a defect which could cause
injury, you should immediately discontinue its use and inform Sterling,
at our address listed in this manual.
The principle factors which can result in injury are:
1. Failure to follow proper operating and clean-out procedures, i.e.
lockout/tagout.
2. Failure to maintain a clean and safe working environment.
2-5 General Responsibility
NO MATTER WHO YOU ARE…
Safety is important. Owners, operators, and maintenance personnel must realize
that every day, safety is a vital aspect of their jobs.
If your main concern is loss of productivity, remember this: Production is always
affected in a negative way following an accident. The following are some of
the reasons, which can affect your production:
• Loss of a skilled operator (temporarily or permanently)
• Breakdown of shop morale
• Costly damage to equipment
• Down-time
An effective safety program is responsible and economically sound.
Organize a safety committee or group, and hold regular meetings. Promote this
group from the management level. Through this group, the safety program can be

SGB Batch Blender with Mitsubishi Controller Page 27 of 118
continually reviewed, maintained, and improved. Keep minutes or a record of the
meetings.
Hold daily equipment inspections in addition to regular maintenance checks. You
will keep your equipment safe for production and exhibit your commitment to
safety.
Please read and use this manual as a guide to equipment safety. This manual
contains safety warnings throughout, specific to each function and point of
operation.
2-6 Operator Responsibility
The operator’s responsibility does not end with efficient production. The operator
usually has the most daily contact with the blender and intimately knows its
capabilities and limitations.
Plant and personnel safety is sometimes forgotten in the desire to meet incentive
rates, or through a casual attitude toward machinery formed over a period of
months or years. Your employer probably has established a set of safety rules in
your workplace. Those rules, this manual, or any other safety information will not
keep you from being injured while operating your equipment.
ONLY YOU can make safety work for you by constantly thinking about what is
safe and what is not. It is often the “just once” that an operator reaches into a
blender to remove material and it results in serious injury.
Learn and always use safe operation. Cooperate with co-workers to promote safe
practices. Immediately report any potentially dangerous situation to your
supervisor or appropriate person.
REMEMBER:
• NEVER place your hands or any part of your body in any dangerous
location.
• NEVER operate, service, or adjust the blender without appropriate
training and first reading and understanding this manual.
• NEVER try to pull material out of the blender with your hands while it is
running!
• Before you start the blender check the following:
• Remove all tools from the blender;
• Be sure no objects (tools, nuts, bolts, clamps, bars) are
laying in the metering or mixing area;
• If your blender has been inoperative or unattended, check all settings

Page 28 of 118 SGB Batch Blender with Mitsubishi Controller
before starting the unit.
• At the beginning of your shift and after breaks, verify that the controls
and other auxiliary equipment are functioning properly.
• Keep all safety guards in place and in good repair. NEVER attempt to
bypass, modify, or remove safety guards. Such alteration is not only
unsafe, but will void the warranty on your equipment.
• When changing control settings to perform a different mode of operation,
be sure selector switches are correctly positioned. Locking selector
switches should only be adjusted by authorized personnel and the keys
removed after setting.
• Report the following occurrences IMMEDIATELY:
• unsafe operation or condition
• unusual blender action
• leakage
• improper maintenance
• NEVER stand or sit where you could slip or stumble into the blender
while working on it.
• DO NOT wear loose clothing or jewelry, which can be caught while
working on a blender. In addition, cover or tie back long hair.
• Clean the blender and surrounding area DAILY, and inspect the
machine for loose, missing or broken parts.
• Shut off power to the blender when it is not in use. Turn the switch to
the OFF position, or unplug it from the power source.
2-7 Maintenance Responsibility
Safety is essential to the good health of both operator and machine. If you are a
maintenance worker, you must make safety a priority in order to effectively repair
and maintain equipment.
BEFORE REMOVING, ADJUSTING, OR REPLACING PARTS ON A MACHINE,
REMEMBER TO DO THE FOLLOWING:
• BLEED all air pressure from system components (refer to the Maintenance
Section of this manual.)
• TURN OFF all air and electric supplies and all accessory equipment at the
machine.
• DISCONNECT AND LOCK OUT electrical and pneumatic power, and attach
warning tags to the disconnect switch and air shutoff valve.

SGB Batch Blender with Mitsubishi Controller Page 29 of 118
When you need to perform maintenance or repair work on a blender above floor
level, use a solid platform or a hydraulic elevator. If there is a permanently
installed catwalk on your blender, use it. The work platform should have secure
footing and a place for tools and parts. DO NOT climb on blenders, machines, or
work from ladders.
If you need to repair a large component, use appropriate handling equipment.
Before you use handling equipment (portable “A” frames, electric boom trucks,
fork trucks, overhead cranes) be sure the load does not exceed the capacity of
the handling equipment or cause it to become unstable.
Carefully test the condition of lifting cables, chains, ropes, slings, and hooks
before using them to lift a load.
Be sure that all non-current carrying parts of electrical apparatus, electrical
component enclosures, and the blender frame are correctly connected to earth
ground with an electrical conductor that complies with current codes. Install in
accordance with national and local codes, which apply.
When you have completed the repair or maintenance procedure, check your work,
remove your tools, rigging, and handling equipment.
Do not restore power to the blender until all persons are clear of the area. Start
and run the blender until you are sure all parts are functioning correctly.
BEFORE you turn the blender over to the operator for production, verify all guards
and safety devices are in place and functioning properly.
2-8 Safety
2-8-1 Description and Objectives
This section includes information on safety devices and procedures that
are inherent to the SGB blending system. This manual is not intended to
supersede or alter safety standards established by the user of this
equipment. Instead, the material contained in this section is
recommended to supplement these procedures in order to provide a
safer working environment.
At the completion of this section, the operator and maintenance
personnel will be able to:
• Identify and locate specific safety devices.
• Understand the proper use of the safety devices provided.
• Describe the function of the safety devices.

Page 30 of 118 SGB Batch Blender with Mitsubishi Controller
2-8-2 Safety Circuit Standards
Safety circuits used in industrial systems protect the operator and
maintenance personnel from dangerous energy. They also provide a
means of locking out or isolating the energy for servicing equipment.
Various agencies have contributed to the establishment of safety
standards that apply to the design and the manufacture of automated
equipment. The Occupational Safety and Health Administration (OSHA)
and the Joint Industrial Council (JIC) are just a few of the organizations
that have joined with the plastics industry to develop safety standards.
Every effort has been made to incorporate these standards into the
design of the SGB blending system; however, it is the responsibility of
the personnel operating and maintaining the equipment to familiarize
themselves with the safety procedures and the proper use of any safety
devices.
2-8-3 Fail Safe Operation
If a safety device or circuit should fail, the design must be such that the
failure causes a “Safe” condition. As an example, a safety switch must
be a normally open switch. The switch must be held closed with the
device it is to protect. If the switch fails, it will go to the open condition,
tripping out the safety circuit.
At no time should the safety device fail and allow the operation to
continue. For example, if a safety switch is guarding a motor, and the
safety switch fails, the motor should not be able to run.
2-8-4 Safety Device Lock-Outs
Some safety devices disconnect electrical energy from a circuit. The
safety devices that are utilized on Sterling SGB models are primarily
concerned with the pneumatics and electrical power disconnection, and
the disabling of moving parts that may need to be accessed during the

SGB Batch Blender with Mitsubishi Controller Page 31 of 118
normal operation of the machine.
Some of the safety devices utilize a manual activator. This is the method
of initiating the safety lock out. This may be in the form of a plug,
disconnect plug, lever or a handle. Within this lockable handle, there may
be a location for a padlock. Personnel servicing the equipment should
place a padlock in the lockout handle.
WARNING! Always disconnect and lockout all electrical power and pneumatic
(i.e. compressed air) sources prior to servicing or cleaning any
Blend and Reclaim blender, including all SGB units. Failure to do
so may result in serious injury.
At no time must anyone remove the lockout or reconnect the twist
plug, other than the person who installed the lockout or who
unplugged the twist plug.
2-8-5 Lock-Outs, Plugs, and Other Safety Devices
The SGB blending system utilizes several types of safety devices.
The Line Cord Plug
This line cord plug allows the operator or maintenance personnel to
unplug the blending system from its power source and tag it out. This
plug may be tagged with any number of approved electrical lockout tags.
These tags are available at most electrical supply stores.
WARNING!
Disconnect both of these items to ensure optimum maintenance
personnel safety when cleaning or servicing this equipment.

Page 32 of 118 SGB Batch Blender with Mitsubishi Controller
Electrical Disconnect Plug
2-9 Electric Safety Interlock Switch (All Models)
A unique electric safety switch is used to shut off power to the blender any time the
mixer door is opened. Do not tamper or alter with this switch in any way.
Interlock Switch

SGB Batch Blender with Mitsubishi Controller Page 33 of 118
Electrical safety interlock switch
(Located on mixer door)
WARNING! Always disconnect and lockout all electrical power and pneumatic
(i.e. compressed air) sources prior to servicing or cleaning any
product, including all SGB Series blending systems. Failure to do
so may result in serious injury or death.
3 Shipping Information
3-1 Unpacking and Inspection
You should inspect your Sterling batch blender components for possible
shipping damage. If the container and packing materials are in re-usable
condition, save them for reshipment if necessary.
Thoroughly check the equipment for any damage that might have occurred in
transit, such as broken or loose wiring and components, loose hardware and
mounting screws, etc. In case of breakage, damage, shortage, or incorrect
shipment, refer to the following sections.

Page 34 of 118 SGB Batch Blender with Mitsubishi Controller
3-2 In the Event of Shipping Damages
Important!
According to the contract terms and conditions of the Carrier, the
responsibility of the Shipper ends at the time and place of shipment.
The Carrier then assumes full responsibility of the shipment.
; Notify the transportation company’s local agent if you discover
damage.
; Hold the damaged goods and packing material for the examining
agent’s inspection. Do not return any goods to Sterling before the
transportation company inspection and authorization.
; File a claim against the transportation company. Substantiate the
claim by referring to the agent’s report. A certified copy of our invoice
is available upon request. The original Bill of Lading is attached to our
original invoice. If the shipment was prepaid, write us for a receipted
transportation bill.
; Advise Sterling regarding your wish for replacement and to obtain an
RMA (return material authorization) number.

SGB Batch Blender with Mitsubishi Controller Page 35 of 118
Parcel Post Shipment
; Notify Sterling at once in writing, giving details of the loss or damage.
This information is required for filing a claim with our insurance
company.
; Hold the damaged goods with the container and packing materials for
possible inspection by postal authorities.
United Parcel Service Shipment
; Contact your local UPS office regarding damage and insurance claims.
; Retain the container and packing.
; Notify Sterling at once.
3-3 If the Shipment is Not Complete
Check the packing list. The apparent shortage may be intentional. Back-ordered
items are noted on the packing list. You should have:
; Sterling SGB gravimetric batch blender components
; Bill of lading
; Packing list
; Operating and Installation packet
; Electrical schematic and panel layout drawings
; Component instruction manuals
Re-inspect the container and packing material to see if you missed any smaller
items during unpacking. Determine that the item was not inadvertently taken
from the area before you checked in the shipment. Notify Sterling immediately of
the shortage.

Page 36 of 118 SGB Batch Blender with Mitsubishi Controller
3-4 If the Shipment is Not Correct
If the shipment is not what you ordered, contact Sterling immediately.
For shipments in the United States and Canada, call 1 (800) 233-4819; for
all other countries, call our international desk at 001 (630) 475-7491.
Include the order number and item. Hold the items until you receive
shipping instructions.
3-5 Returns
Important!
Do not return any damaged or incorrect items until you receive
shipping instructions from Sterling.
- Notes -

SGB Batch Blender with Mitsubishi Controller Page 37 of 118
Installation & Setup 4
4-1 Chapter Description and Objectives
It is the intent of this chapter to familiarize the reader with the proper site
requirements and installation procedures of the SGB blending system. The
information in this chapter is NOT meant to replace or supersede an established
local or company implemented procedures. It is meant to enhance them.
4-2 Site Requirements
This section describes site requirements in detail. These requirements are
broken down into mechanical mounting, electrical connections and pneumatic
connections. Since the SGB is available in several different mounting
arrangements, it is necessary for the reader to become familiar with the different
arrangements.
4-2-1 Mounting Configuration
The SGB System is available in (3) three basic mounting arrangements.
They are:
• Machine Mount
• Mezzanine Mount
• Floor Mount
4-2-1-1 Machine Mount
In a machine mounting application of the SGB unit, there are a
few items to review before placement and mounting of the
blending system begins.
First, verify the machine flange dimensions match the SGB
flange (if the optional pre-drilled holes were ordered). The SGB
can also be equipped with an optional cast throat section with a
drain port. This will bolt under the bottom plate of the blender.
Verify that the machine throat is physically capable of
supporting the SGB blending system with a full load of material
and vacuum loading equipment installed.
Important! While in operation, the SGB applies horizontal and vertical
pressures to the mounting flange. If there is a question as
to the mechanical stability of a mounting flange, contact
Sterling’s Engineering department.

Page 38 of 118 SGB Batch Blender with Mitsubishi Controller
Verify all clearances on the top and beside the processing
machine. This is to insure that all motors, hoppers, control
panels, etc. have adequate room for proper operation and
servicing.
Refer to the assembly drawing with the unit for actual height and
width dimensions.
Note: Allow at least 36” clearance around blender to provide
adequate room for cleaning, servicing, etc.
Using proper lifting equipment, lift the blender, using the lifting
lugs attached to the top plate of the blender. These lifting lugs
can also be used to fasten horizontal or angled braces to the
blender if more stability is needed.
Take care to insure proper orientation with adequate access to
operator controls, mix chamber, and metering units.
Important!
Never weld on the blender, support stand, machine or mezzanine
without first removing the control panel and verifying that the
blender is properly grounded.

SGB Batch Blender with Mitsubishi Controller Page 39 of 118
4-2-1-2 Mezzanine Mount
In a mezzanine mount application, review the following items
before installation begins. First, verify the SGB mounting
locations match the mezzanine supports. Verify that the
mezzanine is capable of supporting the blender with a full load
of material and vacuum loading equipment installed.
Important! While in operation, the SGB applies horizontal and vertical
pressures to the mounting flange. If there is a question as
to the mechanical stability of a mounting flange, contact
Sterling’s Mechanical Engineering department.
Ensure that the gravity feed tube is installed in a vertical
position, so that the materials will gravity flow to the extruder
hopper. Use aluminum tubing or smooth wall flex hose.
If possible, use rigid tubing. Some flex hose will tend to sag and
generate static that could cause de-mixing between the blender
and the extruder.
Make sure that adequate space is around the blender (36”
recommended) to allow proper cleaning, servicing, etc.
MEZZANINE (SUPPLIED BY
CUSTOMER)
OFC WITH RE-LOAD VALVE
(PURCHASED SEPARATELY)
GRAVIMETRIC BATCH BLENDER

Page 40 of 118 SGB Batch Blender with Mitsubishi Controller
4-2-1-3 Floor Mount (Central Blender)
In a floor mounting application, ensure adequate clearance for
all blender operations and maintenance. The operator and
maintenance personnel must have access to parts of the
blender. If necessary, it is the customer’s responsibility to
provide adequate, safe work platforms around the blender to
meet state and local safety codes. Using proper lifting
equipment, lift the SGB in place.
Important! The blender must be securely fastened to the floor before
operating.
Sterling assumes no responsibility for any damages
resulting from improper installation or improper handling
during installation.
Make sure that the blender is securely mounted to the floor
before installing loading equipment, loading with material and
starting.
Make sure that the blender location is adequately away from
high traffic aisles, and that fork trucks, etc. cannot damage the
blender. Ensure that normal day-to-day operations will not place
the blending system at risk of damage.
TYPICAL CENTRAL BLENDER LAYOUT
Supply Hoppers
Floor Stand
Take-off Compartment
Surge Bin
Blende
r
Pneumatic Slide Gate Below Mixer

SGB Batch Blender with Mitsubishi Controller Page 41 of 118
4-3 Installation Overview
This section will familiarize the reader with commonly used procedures for blender
installation. After reading this chapter, the reader will be familiar with the
installation requirements for all SGB blenders.
4-4 Mechanical Installation
The installation procedure should be used as a general guideline for the
proper installation steps required to install the SGB blending system.
1. Remove crate from around blender.
2. Secure strap of proper lifting capacity to both lifting lugs.
3. Lift blender until strap is taut.
4. Remove bolts attaching bottom of blender to shipping skid.
5. Lift blender and position over machine throat or floor stand.
6. Set in position and secure by tightening four bolts.
7. Remove lifting strap.
CAUTION!
Blender Lifting Lugs
(1 on each side)
8. Mount the material conveying system receivers on the top of the
blender supply hoppers.
9. Align the weigh hopper on the load cell brackets. Carefully adjust the
load cell brackets to ensure that the weigh hopper is centered on the
brackets without rocking. If for some reason the locating tabs do not
align with the weigh hopper, they can easily be loosened and adjusted.
Important!
Use extreme care when tightening bolts on top of the load cells so
you do not spring the load cells. The load cells are extremely
delicate and should be treated with care!
10. Check the slide gate metering assemblies to ensure they are not
damaged, and will slide back and forth freely. These are the most
important items on the blender, besides the load cell and weigh hopper
Lifting Lug

Page 42 of 118 SGB Batch Blender with Mitsubishi Controller
assemblies.
4-5 Electrical Installation
The standard Sterling SGB blending system is designed to operate on 120/1/60
supply voltage (220/1/50 CE models are also available). The current requirements
vary with the blender’s size and throughput rating. For exact current requirements,
check the blender serial number tag, located on the rear plate of the mixer
section.
If a step down transformer was provided, it should never be used to power
anything other than the blender. Loading equipment, etc. must be powered by
another power source. As well as possibly overloading the transformer, the
additional equipment may induce power line noise that may affect the operation of
the blending system.
The transformer will be mounted and wired by the customer or your installer. If
company or local codes require fusing or disconnects, these items must be
supplied, wired, and mounted by the customer.
Each Sterling blending system MUST be connected to a separate source of
power. Do not connect other electrical equipment, especially self-contained
hopper loaders, on the same line as the blending system.
Ensure that the power entrance location on the blender panel remains
unchanged. Make sure that the proper size wire and proper wire routing
techniques are used when installing the supply wiring to the control panel. Care
must be taken to ensure that the supply wiring does not interfere with the low
voltage DC wiring.
The blender is equipped with a plug that functions as the disconnect device. The
mating receptacle must be installed no higher than 5’ feet (1.6 m) above the floor.
Make sure your installation conforms to your regional electrical standards.
Power Receptacle Installation

SGB Batch Blender with Mitsubishi Controller Page 43 of 118
4-6 Pneumatic Installation
The SGB blending system uses plant-supplied compressed air to operate the
metering and dump valves on the blender.
CLEAN AND DRY air must be supplied to the blender. The air supply should be
filtered through a 5 micron air filter with a water separator. Oil should not be used
unless air dryers are installed on the compressed air supply. In this situation, an
oiler may be required on the blender to keep the air cylinder seals lubricated.
Important! As this blender uses air for blender metering functions, it is
very important to supply clean, dry air to the blender. Dirty or
oily air can affect blender accuracy, result in poor performance
and cause injury. Provide a 5-micron air filter on the air supply
to the blender, and be sure excess oil is removed.
5 MICRON
FILTER
DRY 60 psi COMPRESSED AIR LUBRICATOR PR ES SU R E
REGULATOR
OS/OA BLENDER
CUSTOMER-SUPPLIED COMPRESSED AIR COMPONENTS
Sterling provides all pneumatic lines on the blender piped to a single ¼” NPT
standard pipe thread fitting. The SGB blending system requires approximately 1
cfm (1.7 m³/hr) @ 60 psi (4.14 bar) maximum air pressure for proper operation.
The working pressure of the blender cylinders is not to exceed 60 psi (4.14 bar).
This is adjustable by the regulator supplied on the rear panel of the blender. It is
important to prevent fluctuation in the air pressure to the blender by not installing
the unit on an airline. If this is the case, an accumulator tank with a check valve
may have to be provided by the customer to ensure the blender a steady air
supply.
CAUTION!
To prevent damage to the equipment, do not exceed 60 psi (4.14
bar) air pressure.
Always disconnect the compressed air supply when working on
any part of the blender.
4-7 Blender Set-up
4-7-1 Description and Objectives
This section will discuss the mechanical setup and control system setup
of the SGB blending system. After reading this section, you should be
familiar with the mechanical setup and the electronic control setup of the
SGB

Page 44 of 118 SGB Batch Blender with Mitsubishi Controller
SGB blending system.
4-7-2 Weigh Hopper Installation
Remove the weigh hopper from the shipping box and install it in the
blender on the load cell brackets. Connect the airline and close the
mixer door, securing the latch.
4-7-3 Load Cell Adjustment
The mechanical setup of the SGB blending system involves the
adjustment of the weigh hopper load cells (Please refer to the figure on
the next page). This figure illustrates the proper adjustment of the load
cell mechanical stop bolt. The setting for the positive stop is necessary
to prevent the load cell from being “over-ranged” by excessive loading
on the weigh hopper. The setting for the load cell stop is forty
thousandths of an inch maximum (.040”). A feeler thickness gauge, with
the weigh hopper empty, should be used to set this.
If a feeler gauge is not available, the weigh hopper should be filled with
the material that is to be blended, and the stop adjusted so there is just a
very small gap (a couple of sheets of notebook paper) between the load
cell, and the blender base stop. This will allow the load cell to operate
without mechanical restrictions and provide an overload safety. To adjust
the stop, adjust the screw located on the bottom of the load cell. Adjust
the screw up to increase the gap and down to decrease the gap.
Important! THE WEIGH HOPPER ASSEMBLY MUST HANG FREELY AND BE
FREE FROM FRICTION, WITH NO MECHANICAL OBSTRUCTIONS
OTHER THAN THE LOAD CELL ITSELF.
LOAD CELL
.040" GAP
STOP ADJUSTMENT
BOLT
Load Cell Mechanical Stop Adjustment

SGB Batch Blender with Mitsubishi Controller Page 45 of 118
4-7-4 Final Setup
1. Connect the blender to the appropriate power source.
2. Connect the compressed air piping, ensuring that a 5-micron air
filter is installed, along with the proper water trap, and lubrication
unit, if required. Verify that 60 psi (4.14 bar) of clean, dry
compressed air is supplied to the blender.
Important! Again, make sure that proper air supply connections are made to
the blender, as dirty, contaminated, wet air can damage blender
components and can quickly cause poor performance and
accuracy!
Make sure that the blender is supplied with clean, dry,
60 psi (4.14 bar) compressed air.
3. After powering up the blender the following screen will be shown:
This screen displays the software version of both the PLC and the
F940. The Controller will stay on this screen for about 4 seconds,
then enter the Recipe Screen (Next Screen in sequence). The
software versions are also available on the F940 Configuration
Screen.

Page 46 of 118 SGB Batch Blender with Mitsubishi Controller
4. The screen shown below allows the operator to control the blender.
The blender can be started or stopped and the recipe values can
be changed. Other data shown on this screen consists of the mixer
status, recipe status, and feeder type data. The Recipe Screen
should startup in the “Quick Set” mode. If so, enter a valid recipe.
If not, the blender can be reconfigured for Quick Set, Percent, or
Parts by entering the Setup menu and pressing the Recipe Format
key. Then select the mode following the key prompt on the screen.
To access the Setup Menu to change the Recipe Mode and other
controller features, refer to the Appendix in Section 12 of this
manual.
5. The operator can startup the blender by selecting the button that
says, “Push to Start or Stop” (startup) on the left side of the Recipe
Screen, depending on whether the blender is currently running or is
stopped. Simply touch the button to either start or stop the blender.
If the operator selects “Stop Blender” then the current batch in
progress is first finished and then the blender will stop making new
batches.
To immediately stop the blender, the operator can touch “Abort
Current Batch.” This will cause the blender to stop making the
current batch immediately. Obviously, if the blender is stopped in
this method then the current batch will not be completed properly.
Recipe Entry Mode
Mixer Status
Start/Stop
Blender
Immediately
Stop Blender
Accept New Recipe Go To Recipe
Book
Go To Inventory
Screen
Feeder Type
Indicator
New Recipe
Input

SGB Batch Blender with Mitsubishi Controller Page 47 of 118
Operation 5
5-1 SGB Blender Sequence of Operation
1. Blender is started by turning system on or material dropping below level
switch in mix chamber.
2. Metering gates are opened to meter material into the weigh hopper in the
programmed order.
3. Each component is weighed then the batch is dumped into the mix chamber
(provided the mixer “High level” switch is not covered).
4. The material is mixed in the mix chamber and flows into the processing
machine.
5. The optional slide gate below the mixer may control the flow of material to
the molding machine or extruder.
5-2 Quick Start Procedure
1. Calibrate the weigh hopper before running the blender (This will improve
inventory accuracy.).
2. Ensure that all ingredient supply hoppers to be used are filled with material.
Virgin material should be loaded into hopper #1 and regrind into hopper #3.
Note: Hopper #3 is equipped with an oversized square gate to assist in the
feeding of the regrind material.
3. Enter the recipe menu on the LCD panel by turning on the Mitsubishi
controller (It will automatically default to this screen), and enter the blend
recipe desired following the steps listed below:
Touch the box (labeled 1-6) that shows the value you want to
change.
Enter in the new value (0 to 999.99) and hit the enter button (arrow).
After you have entered the new values for all hoppers (1-6), then
push the “Accept New Recipe” button and the recipe will be entered.
The blender monitors the operator’s entries and determines if the recipe entered
is valid before allowing the operator to accept the new recipe. If there is an error
(such as the recipe does not add up to 100% and the blender is in Percentage
Mode) then a message is shown on the Recipe screen to alert the operator of the
problem. The “Accept New Recipe” button is only shown if the recipe is valid and
different from what is currently running on the blender.

Page 48 of 118 SGB Batch Blender with Mitsubishi Controller
Recipes can also be changed while the blender is running. The new accepted
recipe is entered at the beginning of the next batch. This allows the operator to
modify the new recipe without affecting the blender until they hit the “Accept New
Recipe” button.
OR
4. The operator can load a previously stored recipe from the Recipe Book. The
Recipe book also allows the operators to save the current running recipe.
This can be done by performing the following steps:
Touch the Recipe Book icon located on the Recipe Screen.
Select a stored recipe by changing the number next to “Recipe #”
Touch “Load” and then “Done” (This will take you back to the
Recipe Screen.).
Touch “Accept New Recipe” to accept the loaded recipe into the
blender.
To Save a running recipe to the Recipe Book:
Go to the Recipe Book by touching the Recipe Book icon located on
the Recipe Page.
Select a stored recipe by changing the number next to “Recipe #”.
Touch “Save Running Recipe” and then “Done”.
5. Press “Push to Start or Stop” button to start blender.
5-3 Recipe Entry Formats
The Recipe Format screen allows the user to change many parameters
concerning the way that the recipe is entered by the operator. It
is accessed by touching the Sterling icon on either the Recipe
screen or the Inventory Screen. The user must enter in the User
Password to gain access (see User Password Setup for
details.). The following Recipe Modes are described below:
5-3-1 “Quick Set”
(Most common in injection molding)
In this mode, hopper #1 is configured as virgin, hopper #3 is configured
as regrind, and the others are configured as additives, i.e. color. The
operator enters in the percentage of regrind and additives, and the
virgin percentage is automatically calculated. The regrind percentage
represents a percentage of the total batch, and the additives are based
on a percentage of the virgin weight. This is useful because the
percentage of regrind can be changed without affecting the ratio of color
or additive to the virgin weight. Each percentage can be up to 100%,
but not greater. The virgin percentage is automatically calculated by

SGB Batch Blender with Mitsubishi Controller Page 49 of 118
the blender and the operator is not required to enter it.
The ingredient names selected will be displayed on the run mode
display so the operator will know what material is being blended.
Important! The #1 hopper (“NAT” - Virgin Material) recipe ingredient will not
be shown on the recipe setup menu.
ADD (Additive) designations will weigh the ingredient as a
percentage of natural material only.
RGD (Regrind) designations will weigh the ingredient as a
percentage of the total batch.
Virgin material must be loaded into hopper #1 and regrind into
hopper #3.
5-3-2 “Percentage” Mode
(Most common in extrusion and blow molding)
Extrusion processing often requires recipes in percentage format,
especially if regrind is not involved, i.e. blown or cast film.
In this mode, operators enter in values for each hopper up to 100%. The
total of all the hoppers must equal 100%. If they don’t, an error message
appears on the Recipe screen and prevents the recipe from being
accepted. All hoppers are a percentage of the total batch size.
Important!
All ingredients are weighed as a percentage of the total batch.
5-3-3 “Parts” Mode
(Often used in Compounding Applications)
The “Parts” recipe entry mode lets the operator enter in values based on
a parts ratio rather than a percentage. Each entry can be up to 999.99
and the total of all hoppers does not have to be 100. After all values are
entered, the total parts are calculated. The individual hopper target is
then calculated based on each hopper’s entered parts. These parts
represent ratios of the total batch. For instance: Hop 1=300 parts, Hop
2=100 parts, Hop 3=10 parts, Hop 4=5 parts. This would mean that if
the batch was divided into 415 parts, then Hop 1 would make up 300 of
those parts, Hop 2 would make up 100, Hop 3 10 parts, and Hop 4 5
parts.

Page 50 of 118 SGB Batch Blender with Mitsubishi Controller
The preset part will be divided by the total of all parts, with each part
representing the calculated weight for ratio control.
Example of a 5-component Blend in “Parts” Mode
Feeder Tag Preset Part Calculated Weight
(Ratio Control)
Virgin #1 7,200 7,200/10,000
Regrind #2 2,000 2,000/10,000
Color #3 500 500/10,000
Additive #4 300 300/10,000
Total: 10,000
5-3-4 Switching Modes
Recipe Modes can be switched while the blender is making a batch.
At any time the operator can switch the recipe entry mode without
affecting the current batch being made. The recipe mode is part of the
“New Recipe” and is separate from the running recipe.

SGB Batch Blender with Mitsubishi Controller Page 51 of 118
5-4 SGB Series Control System Menu Structure
“Recipe Book” Page
¾ Save the running recipe to the
book
¾ Delete a stored recipe
¾ Load a stored recipe
¾ Erase all stored recipes
¾ Modify the product ID for a
stored recipe
¾Return to the “Recipe” page
“Clean Out” Page
¾ Empty the blender hopper(s)
¾ Manually Operate the mixer,
weigh hopper dump gate, and
the slide gate below the mixer
¾ View and test all inputs and
outputs on the blender
¾ Return to the “Recipe” Page
“Inventory” Page
¾ View the accumulated
inventories
¾ View batch time
¾ View blender’s maximum
capacity
¾ View the average process rate
¾ Return to the “Recipe” Page
¾Lo
g
in / Lo
g
out
“Setup” Page
¾ Login by going to Inventory page,
touch “Login”, then enter your
password. Touch the Sterling
logo to access setup.
Report Setup
¾ Blender Number
¾ “Auto clear” option
¾ “Auto interval” setup
¾ Auto start time
Recipe Format
¾ Percentage, Parts, or Quick
Set
¾ Batch Size
¾ Inventory Shutdown
¾ “Batch ready” mode
¾ “Auto start” mode
Calibration
¾ Scale Calibration
¾ Direct Scale Readout
¾ Feeder Calibration
Mixer and Dump Setup
¾ Mixing Time
¾ Remix Time
¾ Dump Time
¾ Dump Delay
¾ Dump Cycles
¾ Mixer Dump Time
¾ Timed/Continuous Mixing
Option
F940 “Config”
¾ View software version
¾ Access F940 “Config” setup to
modify time settings
“Recipe” Page
(Start)
¾ Change Recipe Values by
touching the number you wish to
change
¾ Touch “Accept New Recipe”
button after you’ve made the
desired changes
¾ Start or stop the blender by
touching the “Push to Start” or
“Stop” button
¾ Access “Recipe Book” Page
¾ Access “Clean Out” Page
¾ Access “Inventory Page”
¾ Access “Setup” Page
Units
¾ Blender data units (lbs. or kgs.)
¾ Target vs. actual data units (lbs.
or kgs.)
Alarm Log
¾ View and clear the alarm log
Alarm Setup
¾ “Stop/Continue” when out of
material
¾ “Alarm/No Alarm” when out of
material
¾ “Alarm Silence” delay
User Interface Lock
¾ Lock the user interface to
prevent others from making
changes or viewing your blender,
be sure to logout after locking.

Page 52 of 118 SGB Batch Blender with Mitsubishi Controller
5-5 Blender Calibration
*NOTE: It is not necessary to calibrate the weight scale on a brand new
blender, although it is recommended that the calibration be
checked periodically to ensure that the reported inventory totals
are accurate. Remember that in most cases a bad calibration is
worse than no calibration.
5-5-1 Standard Calibration on a blender equipped with an OptiMix
style mixer (Recommended only if the calibration is out of spec)
1. Login by touching “login” from the Inventory Page and enter
“5413”, then touch the Sterling logo to access setup.
2. Touch “Calibration” and then “Scale Calibration”.
3. Remove the weigh hopper, clean it out and press “OK”.
4. Verify that the calibration weight is not touching anything other
than the load cell bracket.
5. Enter the number stamped on the calibration weight. Follow the
on-screen instructions by touching “OK” and then follow the
prompts.
6. The blender will evaluate the calibration and indicate if it is
properly calibrated.
7. Press “Done” key three (3) times and you will return to the main
menu.
5-5-2 Standard Calibration on a blender with an HC style mixer
(Recommended only if calibration is out of spec)
1. Login by touching “login” from the Inventory Page and enter
“5413”, then touch the Sterling logo to access setup.
2. Touch “Calibration” and then “Scale Calibration”.
3. Empty the hopper and press “OK”.
4. Place the test weight on the hopper and press “OK”.
5. The controller will communicate whether the calibration was
successful.
5-5-3 Additional settings that usually do not have to be changed:
1. Login by touching “login” from the Inventory Page and enter
“5413”, then touch the Sterling logo to access setup.
**NOTE: If the controller is set to Continuous Mixing, then the
blender will run continuously while the blender is
operating. If it is set to “Timed Mixing” then the mixer will
run for the “Mixing Time” setting when a batch is dumped
into the mixer.
2. Touch the “Mixer and Dump Setup” key to enter the amount of

SGB Batch Blender with Mitsubishi Controller Page 53 of 118
time the mixer will mix or the batch is dumped.
3. Enter a “Mixing Time” by pressing the number next to “sec”, this
is the amount of time to run the mixer after a batch is dumped
into the mixing chamber. Remember that if the mix time is too
long you may get material separation.
4. Press the number next to “sec” on the “Remix Time” to set “Re-
mix” off time. This allows the mixer to come on between
batches if the blender cycle time is very slow, i.e. if you want the
mixer to come on every minute, set this to 60 seconds. If you
don’t want to use this function, set the time to “0”.
5. Press the number next to “sec” on the “Dump Time” to set your
dump time (A value between “1” and “999” will need to be
entered.). This feature is the amount of time required to empty
the batch hopper. (Set the time so that all the material in the
weigh hopper has a chance to be evacuated.)
6. Press the number next to “sec” on the “Dump Delay” line for the
optional dump delay setting. This is the amount of time to start
the mixer prior to dumping material into the mixing chamber.
Set to “0” to disable this feature.
7. Press the number next to “Dump Cycles” to enter the number of
times that material will be dumped from the weigh hopper. This
allows the dump valve to open and shut repeatedly when the
weigh hopper is empty to shake lose any sticking material. If
this feature is set to “1” then the batch will dump normally.
8. Press the number next to “sec” on the “Mixer Dump Time” to
enter the amount of time that the mixer will run while dumping
material out of the knife gate below the mixer. This feature
assists in cleaning out the mixer.
9. Press “Done” to return to the “Setup” screen.
10. Press “Alarm Setup” on the “Setup” screen to look at the “Alarm
Flags & Feeder Setup screen.”
11. This screen allows you to change the way alarms on each
feeder function. Enter the feeder you wish to configure by
pressing the corresponding feeder number under “Select
Feeder”. You can select “Stop if “Out of Material” which means
if there is any kind of alarm on this feeder, the blender process
will stop (i.e. The feeder supply hopper is out of material.) You
can also set it to “Continue if “Out of Material.” This mode will
alarm but let the blender continue to operate or you can set it to
“No Alarm on Out of Material” mode. “No Alarm” mode does not
set off any alarms. In addition, an “Out of Material Alarm
Silence Delay” specifies the amount of time before an alarm will
be set off.
12. Press “Done” to return to the “Setup” screen.

Page 54 of 118 SGB Batch Blender with Mitsubishi Controller
5-5-4 Verifying Calibration (Recommended on a periodic basis to
ensure accuracy)
1. Login by touching “login” from the Inventory Page and enter
“5413”, then touch the Sterling logo to access setup.
2. Touch “Calibration” and then “Direct Scale Readout”.
3. Remove the weigh hopper.
4. Locate the weight display for each of the two load cells, directly
below “Current Bits.” Write down the displayed value.
5. Add the calibration weight to each load cell mounting bracket
and write down the value displayed in “weight”, as in step 4.
6. Subtract the values recorded in step 4 from step 5. This is the
measured weight. If the measured weight is within a 0.003
pounds of the weight stamped on the calibration weight, then
you are within spec. If not, follow the steps above to calibrate
the blender. (If your blender is frequently out of calibration,
verify the operator is being cautious removing the weigh hopper
for clean out.)
7. Press “Done” until you have reached the Recipe screen.
8. ***Anything in the Diagnostics Menu that is not covered here is
in the Detailed Controller Setup Section***
5-6 Controller Mode Setup
Setting up a recipe
1. Login by touching “login” from the Inventory Page and enter “5413”, then
touch the Sterling Logo to access setup.
2. Press “Recipe Format” and toggle through the EZ, Percentage or Parts
Modes.
3. While in the “Recipe Format” screen, the following areas will need to be
configured:
Batch Size: This allows the operator to change the size of the
batch to be made. A value will need to be entered
between 0.5 to 199.9. This can also be changed
while making a batch without affecting the current
running batch. If the size is changed then you will
need to touch “Accept New Recipe” on the Recipe
screen before the change takes place. This feature
allows stored recipes with different batch sizes to
easily be loaded without the operator having to
reconfigure the blender every time they want to load
a stored recipe.

SGB Batch Blender with Mitsubishi Controller Page 55 of 118
Inventory Shutdown: This feature allows the blender to make a certain
amount of material at a time. If this feature is set to
“0” then the feature will be disabled. If this option is
used, the blender will make the set amount of
material and will then shutdown and wait for the
operator to restart the blender. This feature is
useful when filling gaylord boxes. You no longer
have to be troubled by a proximity switch that hangs
in the box to sense when it is full. The following
screen is shown when the blender reaches the
Inventory Shutdown weight:
The Inventory Shutdown can also be configured
while the blender is making a batch. If the Inventory
Shutdown is changed, then you need to touch the
“Accept New Recipe” on the Recipe Screen before
the change happens. This allows the stored recipes
with different Inventory Shutdown settings to easily
be loaded without the operator having to reconfigure
the blender every time they want to load a stored
recipe.
Batch Ready Mode: This enables the blender to have a batch already
made in the weigh hopper while the mixer is full.
Enabling this feature dramatically increases the
maximum achievable blender rate.
AutoStart Feature: By enabling this feature, the blender accurately
finishes a batch that was interrupted by loss of
blender power. This option starts the blender if it
was running prior to power loss. It does not turn on
the blender if it was previously stopped prior to
power loss.
4. Press the “Done” key two (2) times until you return to the “Recipe” page.
5. When you are in the “Recipe” screen, touch the hopper box (1-6) that you
want to change.
6. Enter in the new value (0-999.99) and hit the enter button (arrow)
7. After you have entered the values for all of the hoppers, then hit “Accept
New Recipe” and the recipe will be entered.
Touch if you don’t
want to make
another batch.
Touch to
make another
box of
material.

Page 56 of 118 SGB Batch Blender with Mitsubishi Controller
**Note: The blender monitors the operator’s entries and determines if the
recipe is valid before accepting the new recipe. If there is an error
(such as the recipe does not add up to 100% and the blender is in
Percentage Mode.) then a message is shown on the Recipe screen to
alert the operator of the problem. The “Accept New Recipe” button is
only shown if the recipe is valid and different from what is currently
running on the blender.
Recipes can also be changed while the blender is running. The new
accepted recipe is entered at the beginning of the next batch. This
allows the operator to modify the new recipe without affecting the
blender until they hit the “Accept New Recipe” button.
8. Recipe entry is complete.
9. To start the blender press “Push to Start or Stop” button.
***Other questions regarding features are answered in the Detailed Control Setup
Section***
5-7 Color Change
The color change procedure is meant for use with the basic SGB Blender. This
procedure assumes that the color component of the blend is in an additive
ingredient hopper (#2, #4, #5, or #6).
Note: The blender must be stopped to make color changes. The processing
machine can operate on virgin material only during this procedure with an
optional quick color change bypass tube that can be installed to bypass the
blender. Contact the factory for details.
1. Disable and clean any color loading equipment. Please refer to the
loading equipment manual for any clean up recommendations.
2. Using the blender “Abort” or “Push to Start or Stop” key, put the blender
in stop mode. After the cycle has completed, switch “OFF” the main
power switch and unplug the blender power supply.
3. Open the upper mixer access door. This shuts off air to the blender circuit
by deactivating the master air valve. Then unplug the quick disconnect
from the air supply hose to the blender to further ensure that no air
pressure is supplied to the blender.
WARNING!
• Always unplug the main power cord.
• Always disconnect the air supply to the blender.
...prior to performing any operations inside any access areas of

SGB Batch Blender with Mitsubishi Controller Page 57 of 118
the blender where there are moving parts.
4. Remove the weigh hopper by unplugging the air line disconnect fitting,
holding the dump valve closed, lifting the hopper to clear the load cell
brackets, and gently pulling the weigh hopper out of the blender.
Important!
To reduce the chance for damage to delicate load cells, use care
when lifting the weigh hopper off load cell locating tabs and when
reinstalling the weigh hopper on load cell brackets.
5. If you want to catch the color, use a small plastic pail or chute to collect
the material from the slide gate assembly. Reach up inside the blender
to the color slide gate and push it open. At this point, there should be no
air pressure on the blender, and the slide gate should move easily. Drain
the color out in the bucket. Blend and Reclaim normally provides a JIT
(Just in time) approach to the minor ingredients, so that a minimum
amount of material is held in the blender so that color changes can be
made easily.
6. If any other ingredients need to be changed for the next recipe, simply
drain the larger hoppers with the drain tubes provided on the side of the
hoppers. When the material level is below the drain tube, open the slide
gate manually to dump the rest of the material. If you wish to speed the
emptying process, material can be manually drained out of the slide gate
assembly into a dump chute or bucket, while draining from the drain
tube.
7. Using a vacuum cleaner or air hose, clean out all the hoppers that have
been emptied. Always start at the uppermost part of the blender and
work downward to prevent dust and pellets from falling into an already
cleaned area.
8. Clean the weigh hopper and mixer assemblies on the blender using a
vacuum cleaner. The mixer agitator is removable for cleaning if desired.
9. Reinstall any metering units that were removed from the blender during
clean out.
10. Reinstall the weigh hopper using care to center the hopper on the load
cells on the weigh hopper bracket.
11. Load the blender with new material.
12. Restart the unit with the new recipe.
WARNING!
Always disconnect and lockout all electrical power and pneumatic
(i.e. compressed air) sources prior to servicing or cleaning any
Sterling product, including all SGB Series blending systems. Failure
to do so may result in serious injury or death.

Page 58 of 118 SGB Batch Blender with Mitsubishi Controller
5-8 Additional Operation Features
5-8-1 Display Description (LCD)
The SGB blending system utilizes a standardized menu format. Each
screen was designed to be user-friendly and provide the operator with
the necessary information to run the blender.
A typical menu is shown in the figure above. This display, which is
defaulted to when the controller is turned on, provides the operator with
the following information and options:
• The ability to change Recipe Values
• Accept a newly entered Recipe
• Start or Stop the blender
• Access to the Recipe Book
• Access to the Clean-out Screen
• Access to the Inventory Screen
• Access to the Controller Setup Screen
Please refer to the SGB menu structure in Section 5-4.
The menu tree shows the structure for a standard SGB blender.
When the unit is initially installed the Clean Out menu will be used. This
screen is primarily used for trouble shooting the blender. All outputs can
be controlled manually and all digital inputs from the proximity switches
can be viewed. Pressing the “Clean Out” key when in the “Recipe”
screen accesses this screen.
Warning
Message
Test Alarm
Output
Current Hopper
Weight
Go back to Setup
Directory
Open or Close
a F
eeder
Open or Close
the Weigh
Ho
pp
e
r
Start or Stop
Mix
e
r M
o
t
or
Open or Close
Mixer Knife
Gate
Mixer Proximity
S
tat
us
Low Level
Proximit
y
Status
Empty Entire
Blender

SGB Batch Blender with Mitsubishi Controller Page 59 of 118
5-8-2 Weigh Hopper (Load Cell) Calibration on blenders equipped with
an OptiMix mixer
Enter the Setup menu as described previously. See Section 5-3 for
menu tree.
The factory pre-calibrates the weigh hopper on the SGB blenders.
Button #3 on the Setup Menu is “Calibration”. Press it to enter the
screen (shown below) which will prompt you to enter the Calibration
area. Press the button marked “Scale Calibration” to enter the scale
calibration menu.
1.) Once in “Scale Calibration”, enter in the scale calibration weight
value stamped on the side of the weight.
2.) The controller will prompt you to remove the weight hopper and
press OK.
3.) After touching OK, the controller will display “PLEASE WAIT...”
4.) Next, the controller will ask you to hang the calibration weight on the
right loadcell bracket (loadcell A) and press OK.
5.) The controller will ask you to hang the calibration weight on the left
loadcell bracket (loadcell B) and press OK.
6.) Finally, the controller will ask you to replace the weigh hopper in the
blender and press OK to complete the calibration.
7.) The controller will verify that the calibration was done correctly by
showing “Calibration Successful.”
Go Back to Setup
Directory
Enter in the
Calibration Weight
Press here to
perform the
calibration
Go Back to the
Calibration
Directory
Current
Loadcell Bits
Follow
Instructions

Page 60 of 118 SGB Batch Blender with Mitsubishi Controller
5-8-3 Mix Timer
The mix timer is the amount of time that the mix motor will mix the
material after it has entered the mixing section of the SGB blender. The
timer has a range of 1 to 999 seconds.
To set the value of the mix timer, the user must gain access to the Setup
Menu. After entering the Setup menu, the user must select “Mixer and
Dump Setup.”
Selecting “Mixing Time” from the “Mixer and Dump Setup” menu will
allow the operator to view the current time setting for the mix timer and
to adjust it as needed.
The mix timer is set to a default time of 10 seconds. This time can be
adjusted up or down depending on the amount of mixing needed for the
materials being blended.
It is recommended that the mix time be held to the minimum, as
segregation can occur from over-mixing if the material bulk density and
pellet configuration varies with materials in the particular blend being
processed.
5-8-4 Re-Mix Timer
In some applications, the SGB blender will require the use of the re-mix
timer. Some materials tend to separate if they are mixed too long. This is
possible when a processing machine is running at a rate significantly
below the capacity of the blender.
With external vibration, the heavier pellets will tend to flow to the bottom
of the mix chamber before the lighter material. This will occur even
though the mixer is in a static mode. By re-mixing occasionally, this
situation will be prevented.
The re-mix timer will start another mixing cycle if the blender has been
idling long enough for the re-mix timer to time out. The re-mix timer may
be set on the “Mixer and Dump Setup” screen from 1 to 999 seconds.
Setting the re-mix timer to zero will disable this function.
If the re-mix timer is disabled, the controller will run only a single, timed
Go Back to
Setup Directory

SGB Batch Blender with Mitsubishi Controller Page 61 of 118
mix cycle after each dump of the weigh hopper.
To view and change the value of the re-mix timer, refer to the “Mixer and
Dump Setup” menu. All current values for Mixing and Remixing Times
will be shown on this screen. The re-mix timer default value is factory
preset at zero.
5-8-5 Mixer Options
Press the “Timed/Continuous Mixing” key (In the top right hand
corner) when in “Mixer and Dump Setup” screen to set the
following options:
Timed Mixing Option This mode of operation turns the mixer on only
during dumping and during the re-mix time set into the control to jog the
mixer during high level mixer operation.
Continuous Mixing Option This mode of operation turns the mixer on
after initial startup and will continue to run continuously, unless the remix
time is set to jog the mixer during high level mixer operation. This option
is used for sticky materials that tend to bridge and block off the mixer
discharge to the processing machine.
5-8-6 Weigh Hopper Dump Time
The weigh hopper dump time is the amount of time the weigh hopper’s
dump valve remains open to allow weighed material to exit the hopper
and enter the mixer.
To view and change the current weigh hopper dump time settings, enter
the Setup menu and select the “Mixer and Dump Setup” screen. Press
the field next to “Dump Time” to set the operation of the Dump Valve.
The dump timer on the dump valve has a default time of eight (8)
seconds. This time can be adjusted to optimize the blender cycle time.
The timer should be set to close the dump valve shortly after the material
has totally dumped from the weigh hopper. This time can vary due to
material flow characteristics, and the size of the batch that is
programmed into the blender control. Experimentation with this setting
can allow the operator to determine the best cycle for the material being
weighed.
5-8-7 Weigh Hopper Dump Delay Time
The dump delay time is the amount of time from the end of metering the
last ingredient until the start of the actual dump cycle. The start of the
dump cycle is marked by the opening of the weigh hopper dump valve.
This value has a range from 1 second to 999 seconds. To view and
change the current dump delay time, enter the Setup Menu, select “Mixer

Page 62 of 118 SGB Batch Blender with Mitsubishi Controller
and Dump Setup” screen, and then select “Dump Delay”.
The default time is factory set at zero seconds. This delay time is used to
start the mixer prior to dumping the material from the weigh hopper into
the mix chamber of the blender.
5-8-8 Weigh Hopper Dump Cycle
The dump cycle allows the weigh hopper dump valve to cycle, or open
and close, a number of times prior to commencing with the next batch
cycle. The setting allows from 1 to 9 dump cycles between batches
(open and closed cycles).
The normal and default factory setting is 1, meaning the weigh hopper
dump valve will open at the end of the weighed batch and close after
the batch is discharged into the mixer.
Setting the dump cycle to more than one cycle may be useful when
blending high static, dusty material or those that have sticky tendencies.
This will cycle the dump valve open and closed to allow any material
that may cling to the dump valve.
To enter the dump cycle menu, first enter the Setup menu by pressing
the “Sterling” icon from the main menu. Enter the password and press
enter. Next, press the button marked “Mixer and Dump Setup”. The
display will show the “Mixer and Dump Setup” menu. Press the “Dump
Cycle” key to enter a dump cycle value and press enter. Please refer to
the menu structure tree shown on page 51.
5-8-9 Feeder Alarm Setup & Flags
This screen allows the operator to configure the alarm settings for each
individual feeder. It can configure whether a feeder will retry during the
metering of a batch, and enable or disable the “Out of Material” alarm
for any feeder. If the alarm flag is set to “Stop”, the blender will not
continue. It stops on that component continuing to try and meter. The
optional low level proximity switches have their own separate alarm.
The alarm will sound, but does not stop the blender. To configure each
hopper do the following:
1.) Enter the Setup Menu.
2.) Once in the Setup menu, press “Alarm Setup.” This will take you to
the “Alarm Flags & Feeder Setup” screen.
Enable or Disable
Retries
Enable or Disable
Alarm
s
Go back to Setup
Directory
Change the Alarm
Silence Delay
Select a Feeder to
Configure

SGB Batch Blender with Mitsubishi Controller Page 63 of 118
3.) Select a feeder (1-6) by touching the “Select Feeder” box.
4.) The current settings for the hopper that you have chosen will now
be shown on the screen.
5.) Make the necessary adjustments to the “Stop/Continue if “Out of
Material,” Alarm/No Alarm on “Out of Material,” and Out of Material
Alarm Silence Delay (0-60 seconds) settings.” Once the settings
for these features have been set on the displayed feeder, select a
new feeder to configure as desired.
6.) Press the “Done” key at the bottom to exit this screen.
An alarm message will be shown if any alarm condition occurs. A
message will pop up on the screen until the alarm condition is
resolved. The operator can press “OK” on this pop-up to hide the
screen temporarily, but if the alarm condition is still unresolved, then
the message will reappear after a short delay. During an alarm
condition, not only will a visual alarm show up on the screen but also
an audible alarm will sound. The audible alarm will sound for 10
seconds and reappear every 30 seconds until the cause of the alarm is
resolved. The following is a list of all alarm names and descriptions:
• Hopper 1-6 Out of Material: This alarm indicates that a hopper is
out of material and signals the operator that they should check the
resin system.
• Max Hopper Weight Exceeded, check batch size: This alarm
indicates that the weight in the weigh hopper has exceeded the
maximum allowed weight. This alarm can happen if the operator
changes material density and does not perform a feeder calibration,
but will usually be automatically fixed after the first batch. As long
as this alarm doesn’t continue to reappear, then the operator should
not be concerned. If the alarm continues to occur, then the operator
should have maintenance check the blender.
MAX HOPPER WEIGHT
EXCEEDED
check batch size

Page 64 of 118 SGB Batch Blender with Mitsubishi Controller
• Calibration Error, Clean out hopper and check calibration: This
alarm indicates that the maximum empty weight for the weigh
hopper has been exceeded. The blender will automatically tare up
to 0.25 lbs of material, but if this weight is exceeded, then an alarm
will appear. This alarm is most commonly caused by a build up of
sticky material in the weigh hopper and can be corrected by simply
cleaning out the weigh hopper. If this does not correct the problem,
then the scale calibration should be checked by maintenance.
• Power Interruption while metering a Batch: This alarm indicates
that the blender’s power was turned off while the blender was
making a batch. The batch accuracy is not effected as long as the
blender is configured for “AutoStart.” The blender will finish the last
batch accurately even if the material was dumped into the mixer
when the power was turned off.
• PLC Battery Low: PLC battery is low and may cause the blender
to lose both the program and the blender configuration. Notify
Maintenance immediately.
• Inventory Cleared: This is only logged in the Alarm Log and does
not cause a pop-up message or audible alarm. Each time the
inventory is cleared, the time and date are logged to the Alarm Log.
An alarm will sound and a screen will pop up when Auto. Inventory
Shutdown has been reached.
CALIBRATION ERROR
Clean out hopper and
check calibration
POWER INTERRUPTION
While metering a
Batch
PLC BATTERY LOW

SGB Batch Blender with Mitsubishi Controller Page 65 of 118
• E-Stop Screen: The blender is equipped with an E-stop switch that
removes the power from all mechanical outputs. The E-Stop Screen
appears along with an audible alarm whenever the E-Stop is
activated. The operator can not access any screens until E-Stop is
deactivated. The Panel View will then put the screen back to the
display that the operator was on prior to hitting the E-Stop.
5-8-10 Additional Control Functions
The objective of this section is to familiarize the reader with the SGB
blender recipe menus, run mode operation, run mode menus and
displays. Upon the completion of this section, the reader will be familiar
with the recipes and run mode displays that are available on one
blender, including the recipe book and recipe storage facilities.
Topics covered in this section are:
• General Operation
• Recipe Menu
All personnel operating the SGB blending system should read this
section of the manual before operating the blending system.
5-8-11 General Operation
The general operation of the SGB blending system is as follows: Once
the system is properly installed and set up, the system will be ready for
operation. Please see the Installation and Setup chapter in this manual
for further information.
Once the SGB system is powered on, the unit will display the recipe
screen (the recipe format should be in “Quick Set” mode). Pressing the
highlighted box next to the feeder number, the operator can enter a
valid recipe or use a previously stored recipe from the recipe book.
5-8-12 Feeder Clean Out
Any feeder in the SGB blending system can be emptied and refilled with
a different material. To do a feeder clean out, the operator has to press
the “Clean Out” icon key from the recipe screen (the first screen that
appears on power up).

Page 66 of 118 SGB Batch Blender with Mitsubishi Controller
This screen will allow you to Open or Close the Feeder, Weigh Hopper,
Mixer Knife Gate, Empty the Entire Blender, Start or Stop the Mixer
Motor, Test the Alarm Output, Find out the Mixer Proximity Status and
monitor the Current Hopper Weight.
The dump valve opens as soon as the “Press to Open Feeder” key is
pressed. This easy feeder clean out option also serves as a means for
emptying a batch that is held in the weigh hopper if the “Press to Open
Weigh Hopper” key is pressed when the blender is stopped. Touch the
picture of the hopper you wish to open or close to select the feeder you
desire to empty and close the dump valve. Touch the “Done” key to
return to the recipe menu. After entering a recipe, the operator will
restart the blending system, putting it back in normal operation.
Important!
Before starting SGB blending systems, each ingredient hopper in
the current recipe must contain material! Virgin material must be
loaded in hopper #1 and hopper #3 should only be used for
regrind!!
Once the operator initiates the run mode of operation, the blending
system controller will begin monitoring the mixer high-level switch.
Nothing will happen until the mixer high-level switch is uncovered. This
tells the controller that the mixing chamber is capable of holding another
batch of material.
Once the mixer high-level switch is uncovered, and the weigh hopper
has dumped, the system will meter the ingredients from the supply
hoppers, through the metering units, into the weigh hopper. Each
component will be metered individually to allow accurate weighing of
the material.
Once the final ingredient specified in the recipe has been metered into
the weigh hopper, the controller will take a final weight reading of the
weigh hopper. This will start the “Dump Delay” timer. (See Section 5-8-
9). Once the dump delay timer has timed out, the controller will activate
the weigh hopper dump valve, initiating the weigh hopper dump cycle.
The open weigh hopper dump door will allow the material to drop into
Empty Entire
Bl
e
n
der
Test Alarm
Output
Current Hopper
Weight
Go back to
Setup Directory
Warning
Messa
g
e
Open or Close
F
eeder
Open or Close
Weigh Hopper
Start or Stop
Mix
e
r M
o
t
or
Open or Close
Mixer Knife
Gate Low Level
Pr
o
x
S
tat
us

SGB Batch Blender with Mitsubishi Controller Page 67 of 118
the mixer section of the blender. If the dump delay is set, the mixer will
start before the weigh hopper dump will open for the selected time.
The blender will sit at rest until the high-level sensor in the mixing
chamber is uncovered to start another weigh cycle. (Unless the Re-Mix
timer is set to a value other than 0 and times out to restart the mixer to
run for another mix cycle.)
The level sensor is located on the back wall of the mixer chamber. If the
sensor is covered with material, the indicator light on the back of the
sensor will be lit.
Once this sensor is uncovered, the indicator lamp on the back of the
level sensor will go out. This level sensor must be uncovered for
approximately 1 - 2 seconds to indicate to the controller that there is
room in the mixing section to accept a batch of material.
When the controller has determined that the mixer is ready for an
additional batch of material, the controller will begin metering material
into the weigh hopper assembly.
5-8-13 Standard Run Time Displays
While the blending system is in operation, there are a couple of displays
available to the operator. These displays are selected simply by
pressing the “NEXT” key when the unit is running. The default display
shown when the blender is in run mode is the Recipe Screen.
The Recipe Screen indicates by feeder number, the amount of material
metered into the weigh hopper assembly by that particular feeder. This
display is updated after each component dispenses its specified
amount. The ingredient weights (Unit Values) are in pounds, unless the
metric display is selected.
Pressing the “NEXT” key when in the default recipe mode display will
toggle to the next screen, which is the Inventory Display. This can be
done at any time, but if the blender is in a critical mode such as
dumping, and updating inventory, etc., it may ignore the keystroke.
Simply press the “NEXT” key again, the Inventory screen will be
displayed.

Page 68 of 118 SGB Batch Blender with Mitsubishi Controller
This display indicates the amount of material in pounds that has been
used by each feeder of the recipe. It is important to note that the
weights are rounded off to the closest pound. On minor ingredients,
several cycles may have to occur to show an inventory number.
In addition to showing the amount of material that has been used for
each feeder, this screen is also a summary display that shows the total
inventory, the time for the last batch, and the average rate of the
blender.
If the blender is run in “Percentage Mode” instead of “Quick Set” during
operation, the “Percentage Mode” will use the blender inventory
numbers shown on the Inventory screen to calculate the percentages
for each ingredient. It is important to zero the inventories when a recipe
is changed to have this screen accurately reflect the current
percentages of the recipe in-process.
Note: Blender inventories must be cleared when the current recipe is
started to show accurate percentages for the current recipe.
To clear inventories, press the “Clear Inventory” key on the
“Inventory” screen.
5-8-14 Recipe Menu
Note: Refer to the menu structure in section 5-4 for more information.
The SGB System contains several operator friendly recipe menus. This
section of the manual lists these recipe menus:
• Recipe Page (Start/Setup)
Inventory
T
o
tal
s
Go to Recipe
Page
Average
Bat
c
h Tim
e
Blender
Maximum Rate
Clear the
inventory
totals
Accumulated
N
umber of Batches Material
Usa
g
e Rate

SGB Batch Blender with Mitsubishi Controller Page 69 of 118
• Recipe Book Page
• Recipe Format
Upon Start Up, the blender controller will default to the “Recipe Menu”
screen.
The “Recipe Book” screen can be accessed in the “Recipe Page” and is
useful in storing and retrieving recipes.
The Recipe format option can be accessed in the Setup screen and is
used to select one of three available formats: “Quick Set”, Percentage
Mode or Parts Mode. (“Quick Set” is the default setting preset at the
factory.) In addition, every feeder in the blending system does not need
to have values entered (Percentage or Parts recipe formats), or a
material type (REGRIND, NATURAL, or ADDITIVE) in “Quick Set”
recipe format.
Recipe Format Menu:
• “Quick Set”, Percentage or Parts
• Batch Size
• Inventory Shutdown
• “Batch ready” mode
• “Auto start” mode
5-8-15 Current Recipe Menu
Throughout the menu structure, the top left corner of the display will list
the name of the current screen that you are in. Each individual button
will indicate instructions for keystrokes. In the Recipe Format menu
shown on the previous page, pressing on the mode button displayed at
the top of the screen will show the Current Recipe menu.
Note: The blender will always run the percentages shown in the Current
Recipe menu display.
5-8-16 “Quick Set” Menu
The “Quick Set” menu structure allows recipes to be entered and
adjusted by touching the buttons on the panel face (for 1 to 6
components). This is convenient for use in the injection molding
industry.
After an “Quick Set” is selected, the screen will display the label on the
Recipe screen.
The first (component #1) material hopper on the blender is always
designated “NAT” for natural (virgin) and cannot be changed. The other
ingredient labels can be scrolled by pressing the hopper number. They

Page 70 of 118 SGB Batch Blender with Mitsubishi Controller
can be scrolled to read “NAT” (natural), “RGD” (regrind), or “ADD”
(additive). The selected label will be displayed for the ingredient hopper
with an arrow next to the abbreviation.
Component #3 is designed to handle regrind and most models
come equipped with a larger, square gate to reduce the likelihood
of bridging. If regrind is being used, it should always be run
through component #3. If you don’t have regrind, another major
ingredient can be run through component #3.
The ingredient labels (names) selected will be displayed on the recipe
menu so the operators will know what material is being blended. The
natural or virgin (component #1) ingredient will not be shown on the
recipe menu.
If additive is designated, the weighed ingredient will be metered as a
percentage of the natural or virgin.
If regrind is designated (component #3), the ingredient will be metered
as a percentage of the total batch. It is assumed the regrind has been
generated from pre-blended production, and already contains the same
color and/or additives.
Please see next page for example calculations (setup).

SGB Batch Blender with Mitsubishi Controller Page 71 of 118
Example calculations of a five (5) -component blend in “Quick Set”
Virgin (NAT): ???
Additive1 (ADD): 5.00% - of virgin component
Regrind (RGD): 30.00% - of total batch
Additive2 (ADD): 2.00% - of virgin component
Additive3 (ADD): 1.00% - of virgin component
Batch Size: 10.00 lbs.
Total available: 100.00%
Regrind: 30.00%
Balance: 70.00%
Virgin + Additive 1 + Additive 2 + Additive 3 = 70.00%
Virgin + (5% of virgin) + (2% of virgin) + (1% of virgin) = 70.00%
Virgin + (5/100 x virgin) + (2/100 x virgin) + (1/100 x virgin) = 70/100
100 virgin + 5 virgin + 2 virgin + 1 virgin = 70
108 virgin = 70
Virgin = 70/108 = 64.81%
Virgin = 64.81% of batch
Additive1 = 5% of 64.81% = 3.24% of batch (5% of virgin)
Regrind = 30% of batch
Additive2 = 2% of 64.81% = 1.30% of batch (2% of virgin)
Additive3 = 1% of 64.81% = 0.65% of batch (1% of virgin)
Virgin + Additive 1 + Additive 2 + Additive 3 + Regrind = 100%
64.81% + 3.24% + 1.30% + 0.65% + 30.00% = 100%

Page 72 of 118 SGB Batch Blender with Mitsubishi Controller
Typical Batch Size
SGB-450 3 lbs.
SGB-900 8 lbs.
SGB-2500/4000/5000 35 lbs.
5-8-17 Batch Size Menu
The SGB blending system is a gravimetric batching system. The
blender will weigh a preprogrammed batch of material each cycle. This
batch size is determined by the blender’s weigh hopper size, the current
recipe, and the bulk density of the ingredients.
Because the blending systems must handle a wide variety of materials,
with varying bulk densities, the actual amount of weight of material the
weigh hopper will hold can vary dramatically from application to
application.
The weigh hopper size selected should be one that approaches the
maximum capacity of the load cells without over-filling the weigh
hopper. During the initial setup of each blender, the weigh hopper size
setting should be checked to ensure that the weigh hopper is not
overfilling due to a large percentage of light weight regrind, etc. The
batch size will vary from model to model. The bulk density of the
material being blended will also affect the batch size.
Important! If running a high percentage of lighter density regrind.
Set the batch size so that the mixer does not overfill, preventing
the weigh hopper from fully dumping when operating in “Batch
Ready Mode”.
5-8-18 Inventory Shutdown
In many applications, the user of the SGB System produces large runs
of blended material on the same recipe during production. An example
may be a 40,000-lb. run of a certain specification plastic extrusion.
Others may wish to fill a 1,000-lb. gaylord box in a central blending
application. In either case, Sterling has provided a means to
automatically stop the blending system when the blended material has
reached a preset total blended weight. This is known as Inventory
Shutdown.

SGB Batch Blender with Mitsubishi Controller Page 73 of 118
When the Inventory Shutdown value is reached, the blender will finish
the current batch of material. It will then stop and display to the operator
that the inventory value has been reached. Additionally, it will flash an
alarm and wait for operator attention. An example of this screen is
shown below:
To enable this feature, simply enter a desired shutdown weight value
(from 1 to 999999999) into the Inventory Shutdown display line of the
Recipe Format screen, under the Setup menu.
This feature can be configured while the blender is making a batch. If
the Inventory Shutdown is changed, then you will need to touch “Accept
New Recipe” on the Recipe screen before the change can take place.
This allows stored recipes with different Inventory Shutdown settings to
easily be loaded without the operator having to reconfigure the blender
every time they want to load a stored recipe.
To disable this feature, simply enter a zero (0) value.
5-8-19 Recipe Book (Storage) Menus
In many applications, it is favorable to hold several recipes in the
memory of the blending system. The SGB has provided for this by
incorporating Sterling’s recipe book software.
The recipe book is capable of holding 50 different recipes. These may
be stored and recalled by number. During this section of the manual,
the operator may wish to revert to the Menu Tree Diagram on page
51 of this manual.
It is important to note that the recipe book only stores and recalls
recipes. The blender will operate on the current recipe only, so a
recipe must be recalled from the book to the current recipe for it to be
active.
Each recipe stored in the recipe book may be displayed and/or
modified. Only the current recipe will be blended.
Touch if you don’t
want to make
another batch
Touch to make
another box of
material

Page 74 of 118 SGB Batch Blender with Mitsubishi Controller
Always verify that the Current Recipe is showing what you want to
run, and that the correct recipe has been downloaded from the
book.
The recipe book section contains the following Items:
• Save Running Recipe to the Book
• Load a Stored Recipe from the Book
• Display a Stored Recipe
• Erase One Recipe or the Entire Recipe Book
5-8-19-1 Save Running Recipe to the Book
The save current recipe to book function allows the operator to
save the contents of the current recipe to the recipe book
under a desired number.
Upon selecting this function, the operator will be prompted for
a reference recipe number. This may be any number from 1 to
50.
The assigned recipe number will be used for all further
references to this recipe until deleted. The operator should be
familiar with the recipe numbers used. We suggest keeping a
loose-leaf notebook with 50 tabbed pages as a reference to
what is kept in the blender so this can be the standard for all
blenders in the plant, etc. To save a running recipe to the
Recipe Book perform the following steps:
1. Enter the Recipe Book by touching the Recipe Book icon
located on the Recipe Screen.
2. Select a stored recipe by changing the number next to
“Recipe #.”
3. Touch “Save Running Recipe” and then “Done”.
Erase One
Stored Recipe
Select a
Stored Reci
p
e
Stored Recipe
D
e
tail
s
Erase Entire
B
ook
Load Stored
Recipe
Go to
Recipe Page

SGB Batch Blender with Mitsubishi Controller Page 75 of 118
5-8-19-2 Load a Saved Recipe from the Book
The load from book function allows the operator to retrieve a
previously stored recipe from the recipe book and install it into
the current recipe menu. This will overwrite the current recipe,
so make sure that it has been saved to the book before
installing a new recipe in its place. To load a previously stored
recipe from the Recipe Book:
1. Enter the Recipe Book by touching the Recipe Book icon
located on the Recipe Screen.
2. Select a stored recipe by changing the number next to
“Recipe #.”
3. Touch “Load” and then “Done” (this takes you back to the
Recipe Screen).
4. Touch “Accept New Recipe” to accept the loaded recipe
into the blender.
Note: If replacing the current recipe with one that is downloaded
from the Recipe Book, make sure that the previous recipe
has been saved, as it will be overwritten by the new
downloaded recipe.
5-8-19-3 Display Recipe Contents
The display recipe function is used to verify the contents of a
recipe number before it is loaded from the recipe book. In
order to view the desired recipe, the operator must enter the
number which contains the recipe he wishes to view. Once a
valid recipe number is entered, the display will indicate the
contents of the stored recipe in percentages.
5-8-19-4 Erase Recipe or Entire Book
The Erase Recipe or Entire Book function is used to eliminate
old or outdated recipes from the recipe book. If the operator
only wants to delete one recipe, the configuration for that
recipe should be currently displayed on the screen. The
controller will only prompt the operator if they want to erase
the entire book when that key is pressed. Once a recipe
number is deleted, the contents of that recipe are lost. The
recipe number may be used again in the future for new
recipes.

Page 76 of 118 SGB Batch Blender with Mitsubishi Controller
5-8-20 Controller Features
5-8-20-1 Display Time and Date
The display Time and Date item in the upper right corner of
the “F940 Config” menu is used to verify the current time and
date information.
5-8-20-2 Setting Date & Time
The Set Date & Time feature is located in the “Panel View
Config” menu of the Setup Screen. This feature allows the
operator to set the SGB’s internal time clock and date. The
clock data must be entered in the traditional Hours, Minutes,
and seconds. The date must be entered in Years, Months,
and Days. All values in this screen can be entered by
pressing on the related button and choosing the correct
number.
Go back to Setup
Directory
Press to Access
the F940
Config

SGB Batch Blender with Mitsubishi Controller Page 77 of 118
5-9 Stroke Limiters for Metering Gates
Stroke limiters are supplied on components 1 through 4 with all SGB blenders to
allow standard metering gates to meter small amounts of low percentage additive
materials.
Generally, the stroke limiter (Item 30) is not required on major ingredients (usually
number 1 and 3) and should be removed. If they are left in place, throughput of
the blender will be reduced.
To install the stroke limiter, drop it into the double slot on top of the gate assembly
and secure it in place with the socket head screw that is provided. Be sure to use
the lock washer to prevent the stroke limiter from coming loose.
Stroke Limiter

Page 78 of 118 SGB Batch Blender with Mitsubishi Controller
Maintenance 6
6-1 Work Rules
The installation, operation, and maintenance of this equipment must follow all
applicable work and safety codes for the location where it is used. This may
include, but is not limited to, OSHA, CSA, NEC, SPI, and other local, national,
and international regulations. In addition, you must observe the following
specific rules:
; Read and follow these instructions when installing, operating, and
maintaining your equipment. If the instructions become damaged or
unreadable, you can obtain additional copies from the Service
Department at Sterling.
; Only qualified people may work on or with this equipment.
; Work only with approved tools and devices.
; Turn off and lock out the power switch when maintaining or servicing
your blender system.
; Disconnect and lock out main power before servicing electrical
equipment.
6-2 Maintaining Blenders
Sterling blenders need periodic maintenance to provide long dependable
service. Check these elements regularly:
• Check functionality of safety circuit daily.
• Maintain proper air pressure and drain water from trap assembly on
regulator – as required.
• Periodically lubricate slide gate rails.
WARNING!
Always remove plug and disconnect power before servicing
blender.
Always read operating manual before operating or servicing
blender.

SGB Batch Blender with Mitsubishi Controller Page 79 of 118
6-3 Controller Setup
This section describes the proper setup of the SGB blending system control
parameters. These parameters are operator changeable; however, these items
should only require setup during the initial installation. Only authorized personnel
should change them. For security reasons, the menu that is used to access these
parameters is password protected.
Many of the variables and setup parameters have been preset at the factory and
do not need to be changed. However, this section of the manual will address all
of the SGB setup parameters that were available at the time of printing. The
purpose of this is to familiarize the reader with all the setup parameters and their
usage.
A complete listing of all default values is provided at the end of this manual.

Page 80 of 118 SGB Batch Blender with Mitsubishi Controller
6-4 SGB Series Blender Menu Structure
“Recipe Book” Page
Save the running recipe to the
book
¾ Delete a stored recipe
¾ Load a stored recipe
¾ Erase all stored recipes
¾ Modify the product ID for a
stored recipe
¾ Return to the “Recipe” page
“Clean Out” Page
¾ Empty the blender hopper(s)
¾ Manually Operate the mixer,
weigh hopper dump gate, and
the slide gate below the mixer
¾ View and test all inputs and
outputs on the blender
¾Return to the “Reci
p
e” Pa
g
e
“Inventory” Page
¾ View the accumulated
inventories
¾ View batch time
¾ View blender’s maximum
capacity
¾ View the average process
rate
¾ Return to the “Recipe” Page
“Setup” Page
¾ Login from the inventory page
by hitting “Login” and entering
in your password. Then
access setup by touching the
Sterling Logo.
Report Setup
¾ Blender Number
¾ “Auto clear” option
¾ “Auto interval” setup
¾ Auto start time
Recipe Format
¾ Percentage, Parts, or Quick
Set
¾ Batch Size
¾ Inventory Shutdown
¾ “Batch ready” mode
¾ “Auto start” mode
“Recipe” Page
(Start)
¾ Change Recipe Values by
touching the number you
wish to change
¾ Touch “Accept New Recipe”
button after you’ve made
the desired changes
¾ Start or stop the blender by
touching the “Push to Start”
or “Stop” button
¾ Access “Recipe Book” Page
¾ Access “Clean Out” Page
¾ Access “Inventory Page”
¾ Access “Setup” Page
F940 “Config”
¾ View software version
¾ Access F940 “Config” setup to
modify time settings
Units
¾ Blender data units (lbs. or
kgs.)
¾ Target vs. actual data units
(lbs. or kgs.)
Calibration
¾ Scale Calibration
¾ Direct Scale Readout
¾ Feeder Calibration
Mixer and Dump Setup
¾ Mixing Time
¾ Remix Time
¾ Dump Time
¾ Dump Delay
¾ Dump Cycles
¾ Mixer Dump Time
¾ Timed/Continuous Mixing
Option
Alarm Log
¾ View and clear the alarm log
Alarm Setup
¾ “Stop/Continue” when out of
material
¾ “Alarm/No Alarm” when out of
material
¾ “Alarm Silence” delay
User Interface Lock
¾ Lock the user interface to
prevent others from making
changes or viewing your
blender. Be sure to logout
after locking.

SGB Batch Blender with Mitsubishi Controller Page 81 of 118
6-5 Mechanical
The mechanical design of the blender is very simple and very little maintenance is
required. The only moving parts are the metering gates, weigh hopper dump
valve and mixer agitator. The following maintenance is suggested:
Daily
• Inspect blender for any loose parts-tighten them immediately.
• Verify quality of compressed air supply.
• Verify mixer door is properly latched.
Weekly
• Inspect metering gates for proper operation.
Monthy
• Inspect air regulator and air safety circuits, if equipped.
• Recalibrate blender only if necessary.
Typical Model SGB Assembly Overview

Page 82 of 118 SGB Batch Blender with Mitsubishi Controller
6-6 Electrical
6-6-1 Description and Objectives
This section is designed to give the operator an overview of the electrical
system that controls the SGB blending system. Since the SGB’s control
panel is a self-contained pluggable item, seldom will a maintenance
person be required to enter the control panel. For purposes of
understanding the system, it is advisable that the maintenance personnel
be familiar with not only the internal workings of the control panel, but
also with the input and output signals to the SGB unit.
This section includes the following:
• Internal components of the control panel
• Input signal to the control panel
• Output signals from the control panel
6-6-2 Internal Components of the Control Panel
Note: See Section 12-2 for complete electrical schematics.
This section describes the internal components of the SGB blending
system control panel. It is not the intent of this section to completely
familiarize the reader with the details on industrial control panel
construction or standards, but simply to familiarize the reader with the
major components inside the SGB control panel.
The customer must supply 120/1/50 or 60 (or 220/1/50 or 60) via wires
L1 & L2 (N). Please insure that the earth ground connection is properly
connected to an established earth ground.
“Power on” is indicated by a lighted on/off switch.
“Slide gate below mixer” switch controls position of optional slide gate.
“Safety Active” light displays status of safety interlock circuit. Audible
alarm horn alerts operator to blender fault.
6-6-3 Input Signals to Programmable Controller
The SGB blending system has two main input signals that it uses from
the blending process: the mix hopper high level signal and the weigh
hopper load cells. This, of course, does not include the operator
touchscreen input.
The mix hopper high level signal is generated by a proximity level sensor
located in the right hand portion of the mixer chamber (viewing from the
mixer door).
Load cells require +10 volts DC to operate. This is known as the load
cell’s excitation voltage.

SGB Batch Blender with Mitsubishi Controller Page 83 of 118
6-6-4 Output Signals from Programmable Controller
The SGB blending system uses several output control signals to control
the process. All of these are very similar in nature, the first of which is the
mixer motor control.
The mixer motor is controlled by a PLC output.
The weigh hopper dump valve output functions similar to the mix motor
output. Please refer back to the wiring diagram. The origin of the weigh
hopper dump signal is a PLC output.
Each SGB blending system includes an auxiliary customer alarm output.
This dry contact can be used to switch a remote alarm signal.
The customer alarm output is provided to actuate or energize a variety of
alarm horns, buzzers, strobe lights, and beacons. These are normally
provided by the customer, and care will have to be exercised not to
exceed the maximum current draw (3 amp maximum). The contacts will
close whenever the control detects a fault that will somehow inhibit the
blending system from properly blending the material.
Note: The customer alarm contact is open if the panel control power is
turned off.
This contact is for use with a customer supplied alarm device as
described above.
The alarm contact has a maximum load of 3 amps.

Page 84 of 118 SGB Batch Blender with Mitsubishi Controller
6-7 Pneumatic System Maintenance
The SGB blending system uses plant-supplied compressed air to operate the
metering and dump valves on the blender.
It is the user’s responsibility to provide CLEAN AND DRY air for the blender to be
connected to. The air supply should be filtered through a 5 micron air filter and
have a water separator installed. Oil should not be used unless air dryers are
installed on the compressed air supply. In this case, an oiler may be required on
the blender to keep the air cylinder seals lubricated.
Important! As this blender uses air for blender metering functions,
it is very important to supply clean, dry air to the
blender. Dirty air can affect blender accuracy, result in
poor performance and cause injury. Provide a 5-micron
air filter on the air supply to the blender and be sure
excess oil is removed.
5 MICRON
FILTER
DRY 60 psi COMPRESSED AIR LUBRICATOR PR ES SU R E
REGULATOR
OS/OA BLENDER
CUSTOMER-SUPPLIED COMPRESSED AIR COMPONENTS
Sterling provides all pneumatic lines on the blender piped to a single ¼” NPT
standard pipe thread fitting. The SGB blending system requires approximately 1
cfm @ 60 psi (1.7 m³/hr @ 4.14 bar) air pressure for proper operation.
The working pressure of the blender cylinders is 60 psi. This is adjustable by the
regulator supplied on the rear panel of the blender. (It is important that the air
pressure to the blender is not fluctuating by installing the unit on an air line with
other equipment using large volumes of air. If this is the case, an accumulator
tank with a check valve may have to be provided by the customer to ensure the
blender a steady air supply.)
WARNING!
Always disconnect the compressed air supply when working
on any part of the blender.
SGB

SGB Batch Blender with Mitsubishi Controller Page 85 of 118
7 Troubleshooting
7-1 Description and Objectives
This section provides basic troubleshooting procedures to common SGB blending
system problems. Any problem encountered that is not listed should be discussed
with an Sterling service technician.
Problem Possible solution
Check to make sure that air is hooked up and the regulator gauge reads
at precisely 60 PSI.
Check that the access door to the mixer is shut properly.
Nothing happens when I
push “Start Blender”
Look on the Recipe Screen. If you see “Mixer Full”, then check the mixer.
If the mixer is not full, then check that the mixer prox is adjusted properly
(small screw on back).
“E-STOP has been
Activated” is shown
Check the E-Stop located on the front of the blender panel.
“Interface has been
Locked” is shown
Click “Unlock” and enter in your User Password.
I’ve forgotten my User
Password
Contact Sterling’s Service Department.
POWER INTERRUPTION
ALARM
Power was lost during a batch. Check your power source unless you
intentionally killed the power during the batch.
PLC Battery Low Change out the PLC battery with your spare
Check the input power. Verify that 110 volts (or 220 volts) are ±10%. This
voltage must remain constant with all the motors starting and stopping.
Insure that the blender is on a “clean” circuit that does not have other
equipment on it. If the power is known to be intermittent and have
problems, set up the unit to run in “AutoStart” mode. See the factory
setup sheet at the end of this manual. In this mode, if a short power
interruption occurs, the blender will automatically restart.
Check the power supply. Make sure that it has +5 VDC output to the CPU
board. Adjust to +5 VDC, ±0.1 volt.
Check the display ribbon cable connection to the CPU board and the
display. See the electrical chapter for more information.
Check the contrast adjustment located on the display board.
Check keyboard ribbon cable connections.
PLC Module Loaded
Check the CPU board for “lockup”. To do so, reset the CPU board by
cycling the power off and on at the motor control panel.

Page 86 of 118 SGB Batch Blender with Mitsubishi Controller
Problem Possible solution
Check batch weight setting in the recipe menu. See the setup chapter for
more information.
Check the load cells and weigh hopper mounting for binding, etc.
Check to see that a pellet has not lodged under a load cell.
Check the ingredient supply hoppers to verify proper ventilation. If a
vacuum receiver has a leaking flapper valve and the supply hopper is not
vented, the blender computer can learn inaccurately and cause an overfill
condition on the next few cycles.
Weigh hopper occasionally
overfills.
Check the load cell connections to the panel.
Check the mix timer setting. This problem is normally due to over mixing.
See the mix timer section in the setup chapter. Reduce the time until the
problem is corrected.
Check the mixer drive to ensure that the agitator is turning properly.
Material tends to separate
in the mixing chamber.
Check the high level switch in the mixer to lower the level slightly.
Material sticks to the
flapper of the weigh
hopper and is not dumped.
Increase the Dump Cycles setting in Mixer and Dump Setup.
Too much material
remains in the mixer.
Increase the Mixer Dump Time in Mixer and Dump Setup.
The material is not being
mixed thoroughly.
Increase the Mixing Time in Mixer and Dump Setup. Actually if you over
mix material, you can have the same problem. If you have the blender
set for “Continuous Mixing” then change it to “Timed Mixing” and adjust
the Mixing Time appropriately.
Check the blender’s scale calibration and verify that the batch hopper is
not overfilling. If the hopper is overfilling, adjust your batch size. If this is
correct, then you are probably not accounting for material scrap or other
items in your process.
Recorded Inventory Totals
don’t match what I’ve
actually used
Some error can be introduced by not weighing every batch. Check the
Recipe Page.
Max Hopper Weight
Exceeded Alarm continues
to re-occur.
Stop the Blender and then Start it again. This causes the blender to
perform an automatic feeder calibration. If this doesn’t fix it, then
manually perform feeder calibrations and retest.
The blender intermittently dumps a batch of material with one or more of
the components incomplete.
Check the recipe information; ensure that both the percentages and batch
size are set properly.
Check the status of the alarm flags & Feeder Setup to ensure that all of
the feeders are set to Retry. In addition, if the blender is configured for
timed batches then this can cause error.
Blender occasionally
dumps an incorrect
batch.
Check supply hopper ventilation to prevent problem associated with leaky
vacuum receiver flappers.
Check the mixer high-level switch sensitivity. When the sensor is covered
by material, the indicator lamp on the back of the switch should be lit. To
adjust the sensitivity, use the small adjustment screwdriver that was
provided with the blender. The adjustment pot is located on the back of
the sensor. Rotate clockwise to increase the sensitivity (less material in
front of the switch to actuate it). Rotate counter clockwise to decrease the
sensitivity (more material covering the switch).
Blender keeps dumping
after mixer is full.
Check the mixer high-level sensor connection to the control panel.
Check the mixer high-level switch sensitivity. Fines may have coated the
level switch; it needs readjustment.
Check the proximity switch connection.
Make sure that the recipe is correct.
Blender will not batch with
empty mixer.
Check batch size.

SGB Batch Blender with Mitsubishi Controller Page 87 of 118
Problem Possible solution
Check the Mixer and Dump Setup to see if the mixer is configured for
“Continuous Mixing”. Set it to “Timed Mixing”.
Check the value of the mixer timer setting.
Check the value of the dump delay timer.
Check the mixer motor fuse. This is located in the control panel on the
SSR for the mixer motor. If the unit has two (2) power inlets with a
separate power inlet for the mix motor the overload fuse will be located in
the rear junction box on the blender frame.
Check the power source to the blender.
Check the load cell in diagnostics under direct scale readout. Place a
calibration weight on the weigh hopper; determine if the weight
corresponds.
Check the load cells to make sure that a pellet has not jammed under a
load cell.
Check the load cell connections to the control panel
Check the power supply voltage and readjust as necessary as described
earlier.
Mixer won’t shut off and
runs continuously.
Check the memory battery voltage on the CPU board. If the battery is
dead, the blender “forgets” settings when the power is off. Replace it with
a new battery. Order a spare CPU board; send the replaced one back to
the factory to have a new battery holder and battery installed. If this is
done in the field, the controller warranty will be voided.
Go to the Manual Control Page and check to see if “Hop Low” equals “1”.
If it does, then adjust the low-level prox until the value reads “0”.
Out of Material Alarm is
displayed, but there is
material in the hopper. Ensure that the material hopper is properly vented. If the vacuum
receiver is leaky, then this will cause the problem. To test this, fill up the
hopper and turn the loader off to prevent leaking.
If this isn’t the problem, then increase the “Out of Material Retry Limit”
found under Feed Algorithm Options (see manual).
I’m not getting Out of
Material Alarms
Check the Alarm Flags & Feeder Setup to see if the feeder is configured
to give you an alarm.
Calibration Weight
Exceeded
Clean out the hopper and retest. If this doesn’t fix the problem, then
perform a scale calibration. Also, check to sure that the Dump Time is
not set extremely low. If all else fails, check the value set for the Max
Empty Weight. This might need to be increased.
The feeder calibration
values are moving too
much.
First, check that the displayed actual dispensed weight is accurate. If this
is OK, then check to see if the hopper is properly vented. To do this, fill
hopper and turn off the loader and retest.
I can’t calibrate the Scale
without an error message.
This is caused by the difference in bits not being large enough. Using the
Direct Scale Readout, examine current loadcell bits with and without the
calibration weight. If the bits do not change significantly, then check for
pellets jamming the loadcells and check the loadcell circuit. You might
have a bad loadcell.
Do other feeders calibrate correctly? Is the feeder I’m trying to calibrate a
large gate? If these are true, then lower the Batch % for Feeder Cal
setting under Feed Calibration Options. This can be observed by looking
at the Hopper Weight display.
I can’t calibrate the feeder
without an error message.
None of the feeders calibrate? Check the Scale Calibration. If this is
correct, then lower the Batch% for Feeder Cal setting under Feed
Calibration Options for each feeder. This can be observed by looking at
the Hopper Weight display.

Page 88 of 118 SGB Batch Blender with Mitsubishi Controller
Weigh hopper does not
empty completely.
Check the dump time setting. It may be set too short.
If this does not correct the problem, clean the weigh hopper and recheck
the scale diagnostics readout. If not showing (0) zero when empty, re-
calibrate the scale.
Problem Possible solution
Blender does not make
rate.
Verify application is not exceeding blender capacity.
Verify additive percentage is not higher than designed, resulting in
excessive dispense time.
Verify all materials are feeding freely through the metering gates.
I have changed the recipe
entry mode, batch size,
inventory shutdown or
feeder type and alarm
flags, but the change
hasn’t taken place.
All of these settings are part of the current running recipe. This makes it
easy for the operator to load a stored recipe without having to reconfigure
all of these parameters for the new recipe. All you have to do is touch
“Accept New Recipe” to load these values into the running recipe.
A feeder always puts too
much material in the
batch.
Check that the Gate Cycle Time is set correctly. If it is then lower the
Initial % of Target to Meter. These are found under Feed Algorithm
Options. Make small adjustments and retest.
Increase the Gate Cycle Time. This is found under Feed Algorithm
Options. Make small adjustments and retest.
Increase the Allowed Underfeed value under Feed Algorithm Options.
A feeder is retrying more
than 2-4 times.
Decrease the Retries before Double Gate Time.
Other service problems or questions can be answered by
contacting the Sterling Service Department.

SGB Batch Blender with Mitsubishi Controller Page 89 of 118
8 Blender Options
The following is a list of options, which your blender may have been equipped with:
Regrind Auger Metering (RAM)
Used for feeding difficult regrind materials.
Low Level Sensors
Detects material supply problems before blender runs out.
Remote Touch Screen Interface
Allows control of blender from a second location up to 50 feet (30
meters) away.
Mezzanine & Floor Stands
Supports blenders in mezzanine mount and freestanding
applications.
Take-off Compartments
Allows material to be metered into a vacuum conveying system.
Slide Gate below Mixer
Ensures blend homogeneity.
CL-25 Pneumatic Loader for Additives
Compressed air loader to load low percentage additives into the
blender.

Page 90 of 118 SGB Batch Blender with Mitsubishi Controller
Spare Parts 9
9-1 Spare Parts List
SGB Series Gravimetric Batch Blending Systems
9 Please see Section 9-2 for parts identification and exploded views.
Model SGB-450
Part No. Description
53292 Air Cylinder (weigh hopper dump)
53272 2kg Load Cell
10220 Mixer Agitator (Opti-Mixer)
A0556548 Mixer High Level Sensor
35448 Slidegate Air Cylinder (3” stroke)
A0565882 Calex Module
A0569702 PLC
A0569708 SBG Graphics Panel
A0542200 1.5 Amp Fuse
A0542207 3.0 Amp Fuse
A0569106 Calibration Weight (~4 lbs.)
Model SGB-900
Part No. Description
35450 Air Cylinder (weigh hopper dump)
61-1010E-5kg 5kg Load Cell
10207 Mixer Agitator (Opti-Mixer)
A0556548 Mixer High Level Sensor
35448 Slidegate Air Cylinder (3” stroke)
A0565882 Calex Module
A0569702 PLC
A0569708 SBG Graphics Panel
A0542200 1.5 Amp Fuse
A0542207 3.0 Amp Fuse
A0569107 Calibration Weight (~10 lbs.)
Model SGB-2500, SGB-4000 & SGB-5000
Part No. Description
53243 Air Cylinder (weigh hopper dump)
A0564528 20kg Load Cell
10197 Mixer Agitator (Opti-Mixer)
A0556548 Mixer High Level Sensor
53266 Slidegate Air Cylinder (5” stroke) – SGB4000 only
35479 Slidegate Air Cylinder (6” stroke) – SGB5000 only
0801100

SGB Batch Blender with Mitsubishi Controller Page 91 of 118
A0565882 Calex Module
A0569702 PLC
A0569708 SGB Graphics Panel
A0542200 1.5 Amp Fuse
A0542207 3.0 Amp Fuse
A0569108 Calibration Weight (~25 lbs.)
9-2 Model SGB Blender System Component Description
This section describes the various components of the blending system. The SGB
blending system is made up of the following components:
• Ingredient Supply Hoppers
• Ingredient Weigh Hopper
• Ingredient Metering Slide Gate Assemblies
• Rotary Mixer
• Computer Control Panel
9-2-1 Overview
Component Identification and Location
This section will familiarize the reader with the components of the SGB
blending system. After reading this section, the reader will be able to:
• Identify the individual common components of the SGB
blending system.
Typical Model SGB Assembly Overview

Page 92 of 118 SGB Batch Blender with Mitsubishi Controller
9-2-2 Typical Mixer Section (Front)
Typical Opti-Mixer™ - Front Assembly Detail

SGB Batch Blender with Mitsubishi Controller Page 93 of 118
01 Nameplate and indicator mounting plate
02 Nameplate
03 Upper polycarbonate Opti-Mixer™ door
04 Door clamp
05 “Caution” label
06 Lower stainless steel Opti-Mixer™ door
07 Mixer agitator door bushing
08 Door hinge
09 Door hinge base
9-2-3 Typical Mixer Section (Rear)
Typical Opti-Mixer™ - Rear Assembly Detail

Page 94 of 118 SGB Batch Blender with Mitsubishi Controller
10 Opti-Mixer™ back plate
11 Cover plate
12 Back control panel
13 Cover plate
14 Proximity sensor (Mixer “high” level)
15 Mixer proximity sensor mounting plate
16 Mixer gear motor
17 Mixer agitator shaft coupling
9-2-4 Typical Mixer Frame

SGB Batch Blender with Mitsubishi Controller Page 95 of 118
Typical Opti-Mixer™ Frame Assembly
18 Hinge mounting bracket
19 Mixer door clamp
20 Load cell cover
21 Opti-Mixer™ top plate
22 Opti-Mixer™ frame
23 Warning label
24 Opti-Mixer™ frame side panel
25 Hinge mounting bracket

Page 96 of 118 SGB Batch Blender with Mitsubishi Controller
9-2-5 Typical Gate Assembly
Typical SGB Series Diamond Gate Assembly Detail
28 Slide gate guide rod
29 Stainless steel gate assembly base
30 Slide gate stop (stroke-limiter)
31 Retaining clip
32 Slide gate air cylinder
33 Slide gate air cylinder pneumatic connector fitting
34 Slide gate air cylinder pneumatic barb fitting
35 Slide gate assembly material chute (deflector)
36 Notice (warning) label
37 Pin
38 Diamond v-gate (metering slide gate)
9-2-6 Typical Supply Hopper

SGB Batch Blender with Mitsubishi Controller Page 97 of 118
Typical SGB-450 Series Hopper Assembly Detail
40 Mild steel hopper cover
41 Hopper insert (square to diamond-polyurethane)
42 Mild steel hopper
43 Gasketing
44 Polycarbonate access door
45 N/A
46 Polycarbonate hopper sight glass
47 Blow-off tool holder
48 Blow-off tool
49 Drain plug
50 Cleanout door clamp
51 Optional low level proximity sensor mount
9-2-7 Typical Weigh Hopper

Page 98 of 118 SGB Batch Blender with Mitsubishi Controller
Typical Weigh Hopper & Load Cell Detail
52 Left weigh hopper bracket
53 Inside mixer plate
54 Weigh Hopper
55 Weigh hopper discharge air cylinder pneumatic connector
56 Weigh hopper discharge air cylinder
57 Weigh hopper discharge air cylinder mounting bracket
58 Weigh hopper discharge hinge pin (bolt)
59 Weigh hopper discharge flapper
60 Right weigh hopper bracket
61 Spacer
62 Load cell(s)
63 Load cell mounting plate
Technical Assistance
Parts Department
Call toll-free 7am–5pm CST [800] 783-7835 or call [262] 641-8600, Fax [262] 641-8653
The ACS Customer Service Group will provide your company with genuine OEM quality parts
manufactured to engineering design specifications, which will maximize your equipment’s performance
and efficiency. To assist in expediting your phone or fax order, please have the model and serial
number of your unit when you contact us. A customer replacement parts list is included in this manual
for your convenience. ACS welcomes inquiries on all your parts needs and is dedicated to providing
excellent customer service.
Service Department
Call toll-free 8am–5pm CST [800] 783-7835 or call [262] 641-8600
Emergencies after 5pm CST, call [847] 439-5655
We have a qualified service department ready to help. Service contracts are available for most
products.
Sales Department
Call [262] 641-8600 Monday–Friday, 8am–5pm CST
Our products are sold by a world-wide network of independent sales representatives. Contact our Sales
Department for the name of the sales representative nearest you.
Contract Department
Call [262] 641-8600 Monday–Friday, 8am–5pm CST
Let us install your system. The Contract Department offers any or all of these services: project planning;
system packages including drawings; equipment, labor, and construction materials; and union or non-
union installations.

Page 100 of 118 SGB Batch Blender with Mitsubishi
Controller
10-2 Returned Material Policy
10-2-1 Credit Returns
1. Prior to the return of any material authorization must be given by
Sterling. A RMA number will be assigned for the equipment to be
returned.
2. Reason for requesting the return must be given.
3. ALL returned material purchased from Sterling returned is subject to 15%
($75.00 minimum) restocking charge.
4. ALL returns are to be shipped prepaid.
5. The invoice number and date or purchase order number and date must
be supplied.
6. No credit will be issued for material that is not within the manufacturer’s
warranty period and/or in new and unused condition, suitable for resale.
10-2-2 Warranty Returns
1. Prior to the return of any material, authorization must be given by
Sterling. A RMA number will be assigned for the equipment to be
returned.
2. Reason for requesting the return must be given.
3. All returns are to be shipped prepaid.
4. The invoice number and date or purchase order number and date must
be supplied.
5. After inspecting the material, a replacement or credit will be given, at
Sterling’s discretion. If the item is found to be defective in materials or
workmanship, and it was manufactured by Sterling, purchased
components are covered under their specific warranty terms.

SGB Batch Blender with Mitsubishi Controller Page 101 of 118
10-3 Warranty
Sterling warrants all equipment manufactured by it to be free from defects in
workmanship and material when used under recommended conditions. The
Company’s obligation is limited to repair or replace FOB the factory any parts that
are returned prepaid within one year of equipment shipment to the original
purchaser, and which, in the Company’s opinion, are defective. Any replacement
part assumes the unused portion of this warranty.
This parts warranty does not cover any labor charges for replacement of parts,
adjustment repairs, or any other work. This warranty does not apply to any
equipment which, in the Company’s opinion, has been subjected to misuse,
negligence, or operation in excess of recommended limits, including freezing or
which has been repaired or altered without the Company’s express authorization. If
the serial number has been defaced or removed from the component, the warranty
on that component is void. Defective parts become the property of the warrantor
and are to be returned.
The Company is not liable for any incidental, consequential, or special damages or
expenses. The Company’s obligation for parts not furnished as components of its
manufactured equipment is limited to the warranty of the manufacturers of said
parts.
Any sales, use, excise, or other tax incident to the replacement of parts under this
warranty is the responsibility of the purchaser.
The company neither assumes nor authorizes any other persons to assume for it
any liability in connection with the sale of its equipment not expressed in this
warranty.
Many types of Sterling equipment carry an additional one-year service policy.
Consult your Sterling sales representative for specific details.

Page 102 of 118 SGB Batch Blender with Mitsubishi
Controller
Safety Tag Information 11
11-1 SGB Blender Safety Tags
Pinch Point Read Operation
Slide Gate and Installation
Manual
Shear Point Earth Ground
Rotating Mixer
High Voltage PE Protected Earth
Inside Enclosure Ground
Shear Hazard
Rotating Auger
Lifting Point

SGB Batch Blender with Mitsubishi Controller Page 103 of 118
11-2 Pushbutton and Touchscreen Tags
Button Function
Turns power on to the blender controller.
(Found on back of controller.)
Power On
Turns power off to the blender controller.
(Found on back of controller.)
Power Off
Stops blender & re-starts controller.
Press to move back one screen level in
controller function.
Move forward one screen level in
controller function.
Start (or stop) blender with current
program parameters.
Can erase current settings for one
recipe or all recipes.
Stops blender operation after current
inventory shutdown (if used) is
completed (This screen will be
displayed.).

Page 104 of 118 SGB Batch Blender with Mitsubishi
Controller
11-3 Blender Identification (Serial Number) Tag
(Located on back of mixing chamber)
SGB Series Blender
Model Number SGB-900
Max Blend Capacity 318 KG/HR
220V Serial Number 060701R
1Ǿ Date of Manufacture 06/2002
4.5A
Over-current Protection Device (s) 4.5A Total
Frequency 50/60Hz
Compressed air supply 4.14 bar (60 psi)
Mixer Speed 16 RPM
Blender Mass 400 lbs/(180 KG)
Electrical Diagrams &
Pneumatic Diagram
5200 W. Clinton Ave Milwaukee, WI USA
(414) 354-0970

SGB Batch Blender with Mitsubishi Controller Page 105 of 118
12 Appendix
Important! Hidden, programmable features and hidden menu pages should
not be made available to floor operators. These pages include the
Service Supervisor Information addendum located in this section.
Unauthorized changes to these factory settings by inexperienced
operators may prevent the SGB unit from operating properly, and
may void part or all of the warranty.
12-1 Addendum Service Supervisor Information
Note: Should not be used by untrained personnel – blender
controller and/or program can be compromised!
12-1-1 Programmable Settings
SGB
The SGB Series blender software program has been designed to allow
some customizing to achieve certain desired operating parameters.
The following is a listing of the selections that are “field”
programmable, followed by the procedure for doing so.
This menu is accessed by pressing the Sterling icon when in the
“Setup” Directory Screen menu.
You must have logged in on the Inventory Page using the long
password 3145348 to gain access to the “Sterling Engineering Only”
screen. The screen similar to that shown below should be displayed
and use the keystrokes described herein to change or toggle the
parameters.
Touch this icon and
enter in the Service
Password to access
the Sterling
Engineering Only
Directory
Go back to
Setup
Directory

Page 106 of 118 SGB Batch Blender with Mitsubishi
Controller
12-1-2 Factory Setup Menu
Available Selections
Metering Test Screen This screen is useful in both R & D and
development purposes when testing the
metering performance of each feeder. The
user can perform a “Single Meter by Weight” to
evaluate the mechanical standard deviation of
the gate or auger. This test meters for the
calculated time based off the target weight
entered on this screen. The blender does not
retry or adjust the time of the meter to reach the
target, but instead always meters for the same
amount of time as long as the target weight has
not been changed. This allows you to open the
gate for several feeds using the same amount
of time. You can then record the Dispensed
Grams and plot the standard deviation of the
gate. The other purpose of this screen is to
verify that the dispensed weight displayed is
correct. You can perform a meter and then pull
the weigh hopper to weigh the material on a
gram scale. The value on the screen should
match the measurement on the gram scale. If it
does not, then either the weigh hopper is not
balanced correctly or the scale calibration is not
correct. Refer to the Troubleshooting Section of
this manual for additional details.
Advanced Weight
Options Screen This screen allows you to modify the weight
filter, adjust the mechanical time to settle the
weigh hopper after dumping, adjust the
mechanical time to settle after a feeder has
Select a Feeder
Target Weight
Meter Data
Stop the Meter
Change Method
Go back to Sterling
Engineering Only
Directory

SGB Batch Blender with Mitsubishi Controller Page 107 of 118
introduced material into the weigh hopper,
adjust the Maximum Empty Weight of the
hopper.
The weight filter is the specialized filter
algorithm that smoothes erroneous load cell
readings. The signal will be filtered more if this
value is increased and less if decreased. This
setting should not be modified except by the
developer except under unusual
circumstances.
Feed Algorithm This screen allows the user to configure how the
Options Screen blender metering algorithm works. The user can
adjust the Initial percentage of Target to Meter, the
Allowed Underfeed value, the number of retries
before Double Gate Time, the allowed Weight/Sec
Drop, and the Out of Material retry limit.
Weight Filter
Weight/Sec.
Filter
Adjust the limit for
“Hopper Over Max
Weight”
Adjust Settle Time
Go back to Sterling
Engineering Only
Directory
Go back to Sterling
Engineering Only
Directory

Page 108 of 118 SGB Batch Blender with Mitsubishi
Controller
Feed Calibration
Options Screen This screen allows you to perform the feeder
calibrations for each feeder (in weight per
second). This is useful when the feed calibration
is giving you an error message (most commonly
caused by overfilling the hopper during the
calibration). Select a feeder and then follow
instructions. An error is shown if the current
feeder calibration feed time was too short, the
feed time was too long, or if the hopper weight
exceeded 110% of the set batch weight. In the
case that the feeder exceeded 110% (maximum
hopper weight) due to a high rate hopper then the
“Batch % for Feeder Cal” setting might be set too
high. Consult Sterling if this problem arises. The
current feeder calibration values are also shown
on this page. It is not necessary to perform
feeder calibrations. The blender will
automatically learn these values during the
batch.
Mechanical This screen allows the user to change the number
Options Screen of hoppers, the predetermined gate cycle time,
and the mixer bump time for detecting high level.
The gate cycle time has been measured and set
at the factory, but might need to be adjusted if we
change the mechanical design of the gate,
solenoids, and air cylinders. This setting will vary
depending on whether you are using a gate.
Go back to Sterling
Engineering Only
Directory.
Go back to
Sterling
Engineering
Only Directory

SGB Batch Blender with Mitsubishi Controller Page 109 of 118
Feeder Setup This screen allows you to modify the type of each
feeder. In most cases, the user will want to keep
regrind on hopper 3 because that blender has
been specifically designed to handle the regrind.
These settings should only be modified under
special circumstances.
If the blender is configured in “Quick Set” then
one hopper must be configured for Regrind and
only one hopper must be configured for Virgin
material. If this is incorrect, a message will be
given on the Recipe Screen.
12-1-3 Customer Setup Menu
Units This screen allows the user to change the blender’s unit
of measurement. The entire blender can be configured in
either Kgs. or Lbs., while the Target vs. Actual data can
be configured for either regardless of the blender’s units.
Alarm This screen allows the user to configure the feeder type
Setup for each feeder; configure whether a feeder will retry
during the metering of a batch, and enable or disable the
“Out of Material” alarm for any feeder. If a hopper is set
to “Continue on Out of Material” then the blender will
continue to meter the rest of the batch even if this hopper
runs out of material. To configure each hopper, perform
the following steps:
1. Select a feeder by touching the “Select Feeder”
Go back to Sterling
Engineering Only
Directory.
Change Target vs.
Actual Units
Change
Blender’s
Units
Go back to
Setup
Director
y

Page 110 of 118 SGB Batch Blender with Mitsubishi
Controller
box.
2. The current settings for that hopper will be
shown.
3. Make the necessary adjustments and select a new
feeder to configure if desired.
4. Hit “Done” to exit.
Alarm This screen shows the last 100 stored alarms. The log
Log can be viewed and cleared.
Programmable Features (continued)
After all selections are made:
• Keep pressing the “Done” key until the unit returns to the
Recipe menu.
Important! Programmable features should not be accessed by
inexperienced operators or inexperienced plant
personnel. Unauthorized changes may prevent the
blender from operating properly and may void part or all
of the warranty.
Call the Sterling Service Department for assistance or
for further explanation of these or any other
programmable features, which may or may not be
shown in this manual.
Select a Feeder to
Configure
Change the Alarm
Silence Delay
Enable or Disable
Retries
Enable or Disable
Alarms
Go back to Setup
Directory
Clear Alarm
Log
Alarm Log
Go back to
Setup
Directory
Scroll Through
Alarm Log

SGB Batch Blender with Mitsubishi Controller Page 111 of 118
Information included in this manual is subject to change
without notice.
Remember: Blender controller default password is “5413”
Service Notes

Page 112 of 118 SGB Batch Blender with Mitsubishi
Controller
12-2 Passwords
User Password “5413”
Maintenance Password “3145348”
CAUTION! Maintenance password should only be supplied
to qualified personnel! The program can be
compromised.
12-3 Default Values (factory defaults shown):
SGB BLENDER CONFIGURATION PARAMETERS
Model Number/Type SGB-450 SGB-900 SGB-2500 SGB-4000 SGB-5000
RECIPE FORMAT
Recipe Entry Mode QUICK SET
Batch Size 3.5 7 35
Inventory Shutdown 0
Batch Ready Mode
AutoStart Mode Enabled
REPORT SETUP
Blender Number 1
SCALE CALIBRATION PERFORM A SCALE CALIBRATION ON ALL MANUFACTURED UNITS
DIRECT SCALE
READOUT
LOG THESE VALUES AFTER THE SCALE CAL WITH THE ORDER
INFORMATION
FEEDER CALIBRATION
Hop1 wt/sec 1 2 2 4
Hop2 wt/sec (WITH
STROKE LIMITER) 0.25 0.5 0.5
Hop3 wt/sec (WITH
SQUARE GATE) 1 4 8
Hop4 wt/sec (WITH
STROKE LIMITER) 0.25 0.5 0.5
Hop5 wt/sec (WITH
STROKE LIMITER)
Hop6 wt/sec (WITH
STROKE LIMITER)
0.25 0.25
MIXER AND DUMP SETUP
Mixing Time 4 6
Remix Time 0
Dump Time 4 6 5

SGB Batch Blender with Mitsubishi Controller Page 113 of 118
Dump Delay 0
Dump Cycles 2 1
Mixer Dump Time 4 6 5
Continuous/Timed Mixing TIMED
USER PASSWORD
User Password 5413
Maintenance Password 3145348
SGB BLENDER CONFIGURATION PARAMETERS Cont’d.
Model Number/Type SGB-450 SGB-900 SGB-2500 SGB-4000 SGB-5000
ALARM SETUP
Hop1 Continue/Stop on
Out of Material
Hop2 Continue/Stop on
Out of Material
Hop3 Continue/Stop on
Out of Material
Hop4 Continue/Stop on
Out of Material
Hop5 Continue/Stop on
Out of Material
Hop6 Continue/Stop on
Out of Material
STOP
Hop1 Alarm/No Alarm on
Out of Material
Hop2 Alarm/No Alarm on
Out of Material
Hop3 Alarm/No Alarm on
Out of Material
Hop4 Alarm/No Alarm on
Out of Material
Hop5 Alarm/No Alarm on
Out of Material
Hop6 Alarm/No Alarm on
Out of Material
ALARM
ADVANCED WEIGHT OPTIONS
Weight Filter 5
Wt/Sec Filter 1
% Above batch size for
max weight 45
Time to settle hopper after
batch dumped 5
FEED ALGORITHM OPTIONS
Hop1 Initial % of Target 99 100
Hop2 Initial % of Target 98 - -
Hop3 Initial % of Target 99 100
Hop4 Initial % of Target 98
Hop5 Initial % of Target
Hop6 Initial % of Target 98 99
Hop1 Allowed Underfeed 0.015 0.03
Hop2 Allowed Underfeed 0.004 0.004
Hop3 Allowed Underfeed 0.015 0.03
Hop4 Allowed Underfeed 0.004
Hop5 Allowed Underfeed
0.004
0.004

Page 114 of 118 SGB Batch Blender with Mitsubishi
Controller
Hop6 Allowed Underfeed
Double Gate Threshold 5
Out of Material Retry limit
before alarm
Batches for process rate
10
Process Rate Filter 3
SGB BLENDER CONFIGURATION PARAMETERS Cont’d.
Model Number/Type SGB-450 SGB-900 SGB-2500 SGB-4000 SGB-5000
FEED CAL OPTIONS
Hop1 Batch % for feeder
cal 25
Hop2 Batch % for feeder
cal 10 25
Hop3 Batch % for feeder
cal 10
Hop4 Batch % for feeder
cal 10 25
Hop5 Batch % for feeder
cal
Hop6 Batch % for feeder
cal
10
MECHANICAL OPTIONS
Hop1 Gate Cycle Time 0.05 0.1 0.15
Hop2 Gate Cycle Time 0.05 0.1
Hop3 Gate Cycle Time 0.1 0.2 0.25
Hop4 Gate Cycle Time
Hop5 Gate Cycle Time
Hop6 Gate Cycle Time
0.05 0.1
Hop1 Settle Time
Hop2 Settle Time
Hop3 Settle Time
Hop4 Settle Time
2 3
Hop5 Settle Time
Hop6 Settle Time 4 5
Mixer Bump Time to
Detect high level 0.25
Number of Hoppers for
display SEE ORDER
FEEDER SETUP
Hop1 Feeder Type VIRGIN
Hop2 Feeder Type ADDITIVE
Hop3 Feeder Type REGRIND
Hop4 Feeder Type
Hop5 Feeder Type
Hop6 Feeder Type
ADDITIVE

SGB Batch Blender with Mitsubishi Controller Page 115 of 118
Service Notes

Page 116 of 118 SGB Batch Blender with Mitsubishi
Controller
Service Notes

SGB Batch Blender with Mitsubishi Controller Page 117 of 118
Service Notes

Page 118 of 118 SGB Batch Blender with Mitsubishi
Controller