Stihl Ms251 231 Homeowner Chainsaw Instruction Manual MS 251
2014-07-06
: Stihl Ms251-231-Homeowner-Chainsaw-Instruction-Manual ms251-231-homeowner-chainsaw-instruction-manual stihl pdf
Open the PDF directly: View PDF
.
Page Count: 136 [warning: Documents this large are best viewed by clicking the View PDF Link!]

{
STIHL MS 251 Instruction Manual
Manual de instrucciones
Read and follow all safety precautions in
Instruction Manual – improper use can cause
serious or fatal injury.
Lea y siga todas las precauciones de
seguridad dadas en el manual de
instrucciones – el uso incorrecto puede causar
lesiones graves o mortales.
WARNING
To reduce the risk of kickback injury
use STIHL reduced kickback bar and
STIHL PM3, PS3, PD3 (3/8" Picco) or RM3,
RD3 (0.325") chain depending on sprocket
pitch or other available low kickback
components.
ADVERTENCIA
Para reducir el riesgo de lesionarse
como resultado de un culatazo, utilice
la barra de contragolpe reducido y la cadena
PM3, PS3, PD3 (Picco de 3/8 pulg) o RM3,
RD3 (0,325 pulg) de STIHL, dependiendo de
la rueda dentada usada y de otros
componentes reductores de contragolpe.

Original Instruction ManualPrinted on chlorine-free paper
Printing inks contain vegetable oils, paper can be recycled.
© ANDREAS STIHL AG & Co. KG, 2013
0458-737-8621-A. VA1.B13.
0000006312_002_GB
MS 251, MS 251 C
English
1
{This instruction manual is protected by copyright. All rights reserved, especially the rights to reproduce, translate and process
with electronic systems.
Contents
Allow only persons who fully understand
this manual to operate your chain saw.
To receive maximum performance and
satisfaction from your STIHL chain saw,
it is important that you read, understand
and follow the safety precautions and
the operating and maintenance
instructions in chapter "Safety
Precautions and Working Techniques"
before using your chain saw. For further
information you can go to
www.stihlusa.com.
Contact your STIHL dealer or the STIHL
distributor for your area if you do not
understand any of the instructions in this
manual.
WARNING
Because a chain saw is a high-speed
wood-cutting tool, some special safety
precautions must be observed as with
any other power saw to reduce the risk
of personal injury. Careless or improper
use may cause serious or even fatal
injury.
Guide to Using this Manual 2
Safety Precautions and Working
Techniques 3
Cutting Attachment 23
Mounting the Bar and Chain (side
chain tensioner) 24
Mounting the Bar and Chain (quick
chain tensioner) 25
Tensioning the Saw Chain (side
chain tensioner) 27
Tensioning the Saw Chain (quick
chain tensioner) 27
Checking Chain Tension 28
Fuel 28
Fueling 29
Chain Lubricant 32
Filling Chain Oil Tank 33
Checking Chain Lubrication 33
Chain Brake 34
Winter Operation 35
Starting / Stopping the Engine 35
Operating Instructions 40
Taking Care of the Guide Bar 41
Shroud 41
Air Filter System 42
Cleaning the Air Filter 42
Engine Management 43
Adjusting the Carburetor 43
Spark Arresting Screen in Muffler 44
Spark Plug 44
Replacing the Starter Rope and
Rewind Spring 46
Storing the Machine 49
Checking and Replacing the Chain
Sprocket 49
Maintaining and Sharpening the
Saw Chain 50
Maintenance and Care 54
Main Parts 56
Specifications 58
Special Accessories 59
Ordering Spare Parts 59
Maintenance and Repairs 60
Disposal 60
STIHL Incorporated Federal
Emission Control Warranty
Statement 60
Trademarks 62

MS 251, MS 251 C
English
2
Pictograms
The meanings of the pictograms
attached to or embossed on the
machine are explained in this manual.
Depending on the model concerned, the
following pictograms may be on your
machine.
Symbols in Text
Many operating and safety instructions
are supported by illustrations.
The individual steps or procedures
described in the manual may be marked
in different ways:
NA bullet marks a step or procedure.
A description of a step or procedure that
refers directly to an illustration may
contain item numbers that appear in the
illustration. Example:
NLoosen the screw (1).
NLever (2) ...
In addition to the operating instructions,
this manual may contain paragraphs
that require your special attention. Such
paragraphs are marked with the
symbols and signal words described
below:
DANGER
Indicates an imminent risk of severe or
fatal injury.
WARNING
Indicates a hazardous situation which, if
not avoided, could result in severe or
fatal injury.
NOTICE
Indicates a risk of property damage,
including damage to the machine or its
individual components.
Engineering Improvements
STIHL’s philosophy is to continually
improve all of its products. As a result,
engineering changes and improvements
are made from time to time. Therefore,
some changes, modifications and
improvements may not be covered in
this manual. If the operating
characteristics or the appearance of
your machine differs from those
described in this manual, please contact
your STIHL dealer for assistance.
Guide to Using this Manual
Fuel tank; fuel mixture of
gasoline and engine oil
Chain oil tank; chain oil
Engaging and disengag-
ing the STIHL Quickstop
chain brake
Direction of chain rotation
Ematic; chain oil quantity
control
Tension the chain
Intake air preheating for
winter operation
Intake air for summer
operation
Handle heating
Operate decompression
valve
Operate manual fuel
pump

MS 251, MS 251 C
English
3
WARNING
Reactive forces, including kickback, can
be dangerous. Pay special attention to
the section on reactive forces.
Have your STIHL dealer show you how
to operate your power tool. All safety
precautions that are generally observed
when working with an ax or a hand saw
also apply to the operation of chain
saws. Observe all applicable federal,
state and local safety regulations,
standards and ordinances. When using
a chain saw for logging purposes, for
instance, refer to the OSHA regulations
for "logging operations" at 29 Code of
Federal Regulations 1910.266.
WARNING
Do not lend or rent your power tool
without the instruction manual. Be sure
that anyone using it understands the
information contained in this manual.
WARNING
The use of this machine may be
hazardous.The saw chain has many
sharp cutters. If the cutters contact your
flesh, they will cut you, even if the chain
is not moving.
Use your chain saw only for cutting
wooden objects.
WARNING
Do not use it for other purposes, since
misuse may result in personal injury or
property damage, including damage to
the machine.
WARNING
Minors should never be allowed to use
this power tool. Bystanders, especially
children, and animals should not be
allowed in the area where it is in use.
WARNING
To reduce the risk of injury to bystanders
and damage to property, never let your
power tool run unattended. When it is
not in use (e.g. during a work break),
shut it off and make sure that
unauthorized persons do not use it.
Most of these safety precautions and
warnings apply to the use of all STIHL
chain saws. Different models may have
different parts and controls. See the
appropriate section of your instruction
manual for a description of the controls
and the function of the parts of your
model.
Safe use of a chain saw involves
1the operator
2the power tool
3the use of the power tool.
THE OPERATOR
Physical Condition
You must be in good physical condition
and mental health and not under the
influence of any substance (drugs,
alcohol, etc.) which might impair vision,
dexterity or judgment. Do not operate
this machine when you are fatigued.
WARNING
Be alert – if you get tired, take a break.
Tiredness may result in loss of control.
Working with any power tool can be
strenuous. If you have any condition that
might be aggravated by strenuous work,
check with your doctor before operating
this machine.
WARNING
Prolonged use of a power tool (or other
machines) exposing the operator to
vibrations may produce whitefinger
disease (Raynaud's phenomenon) or
carpal tunnel syndrome.
Safety Precautions and
Working Techniques
Because a chain saw is a
high-speed, fast-cutting
power tool, special safety
precautions must be
observed to reduce the
risk of personal injury.
It is important that you
read, fully understand
and observe the following
safety precautions and
warnings. Read the
instruction manual and
the safety instructions
periodically. Careless or
improper use may cause
serious or fatal injury.

MS 251, MS 251 C
English
4
These conditions reduce the hand's
ability to feel and regulate temperature,
produce numbness and burning
sensations and may cause nerve and
circulation damage and tissue necrosis.
All factors which contribute to white-
finger disease are not known, but cold
weather, smoking and diseases or
physical conditions that affect blood
vessels and blood transport, as well as
high vibration levels and long periods of
exposure to vibration are mentioned as
factors in the development of whitefinger
disease. In order to reduce the risk of
whitefinger disease and carpal tunnel
syndrome, please note the following:
–Most STIHL power tools are
available with an anti-vibration
("AV") system designed to reduce
the transmission of vibrations
created by the machine to the
operator's hands. An AV system is
recommended for those persons
using power tools on a regular or
sustained basis.
–Wear gloves and keep your hands
warm. Heated handles, which are
available on some STIHL
powerheads, are recommended for
cold weather use.
–Keep the AV system well
maintained. A power tool with loose
components or with damaged or
worn AV elements will tend to have
higher vibration levels. Keep the
saw chain sharp. A dull chain will
increase cutting time, and pressing
a dull chain through wood will
increase the vibrations transmitted
to your hands.
–Maintain a firm grip at all times, but
do not squeeze the handles with
constant, excessive pressure. Take
frequent breaks.
All the above-mentioned precautions do
not guarantee that you will not sustain
whitefinger disease or carpal tunnel
syndrome. Therefore, continual and
regular users should closely monitor the
condition of their hands and fingers. If
any of the above symptoms appear,
seek medical advice immediately.
WARNING
The ignition system of the STIHL unit
produces an electromagnetic field of a
very low intensity. This field may
interfere with some pacemakers. To
reduce the risk of serious or fatal injury,
persons with a pacemaker should
consult their physician and the
pacemaker manufacturer before
operating this tool.
Proper Clothing
WARNING
To reduce the risk of injury, the operator
should wear proper protective apparel.
Clothing must be sturdy
and snug-fitting, but allow
complete freedom of
movement. Wear long
pants made of heavy
material to help protect
your legs from contact
with branches or brush.
To reduce the risk of cut
injuries, wear pants or
chaps that contain pads
of cut retardant material.
Avoid loose-fitting jack-
ets, scarfs, neckties,
jewelry, flared or cuffed
pants, unconfined long
hair or anything that
could become caught on
branches, brush or the
moving parts of the unit.
Secure hair so it is above
shoulder level.
Good footing is very
important. Wear sturdy
boots with nonslip soles.
Steel-toed safety boots
are recommended.
Wear an approved safety
hard hat to reduce the
risk of injury to your head.
Chain saw noise may
damage your hearing.
Wear sound barriers (ear
plugs or ear mufflers) to
help protect your hearing.
Continual and regular
users should have their
hearing checked
regularly.

MS 251, MS 251 C
English
5
Be particularly alert and cautious when
wearing hearing protection because
your ability to hear warnings (shouts,
alarms, etc.) is restricted.
Never operate your power tool unless
wearing goggles or properly fitted
protective glasses with adequate top
and side protection complying with ANSI
Z 87.1 (or your applicable national
standard). To reduce the risk of injury to
your face STIHL recommends that you
also wear a face shield or face screen
over your goggles or protective glasses.
THE POWER TOOL
For illustrations and definitions of the
power tool parts see the chapter on
"Main Parts."
WARNING
Never modify this power tool in any way.
Only attachments supplied by STIHL or
expressly approved by STIHL for use
with the specific STIHL model are
authorized. Although certain
unauthorized attachments are useable
with STIHL power tools, their use may,
in fact, be extremely dangerous.
If this tool is subjected to unusually high
loads for which it was not designed (e.g.
heavy impact or a fall), always check
that it is in good condition before
continuing work. Check in particular that
the fuel system is tight (no leaks) and
that the controls and safety devices are
working properly. Do not continue
operating this machine if it is damaged.
In case of doubt, have it checked by your
STIHL servicing dealer.
THE USE OF THE POWER TOOL
Transporting the Power Tool
WARNING
To reduce the risk of injury from saw
chain contact, never carry or transport
your power tool with the saw chain
moving. Always engage the chain brake
when taking more than a few steps.
WARNING
Always switch off the engine, and fit the
chain guard (scabbard) over the chain
and guide bar before transporting the
power tool over longer distances. When
transporting it in a vehicle, properly
secure it to prevent turnover, fuel
spillage and damage to the unit.
It may be carried only in a horizontal
position. Grip the front handle in a
manner that the machine is balanced
horizontally. Keep the hot muffler away
from your body and the cutting
attachment behind you.
Fuel
Your STIHL power tool uses an oil-
gasoline mixture for fuel (see the
chapter on "Fuel" of your instruction
manual).
WARNING
Fueling Instructions
WARNING
Fuel your power tool in well-ventilated
areas, outdoors. Always shut off the
engine and allow it to cool before
refueling. Gasoline vapor pressure may
build up inside the fuel tank depending
on the fuel used, the weather conditions
and the tank venting system.
In order to reduce the risk of burns and
other personal injury from escaping gas
vapor and fumes, remove the fuel filler
cap on your power tool carefully so as to
Always wear gloves
when handling the
machine and the cutting
tool. Heavy-duty, nonslip
gloves improve your grip
and help to protect your
hands.
001BA115 KN
Gasoline is an extremely
flammable fuel. If spilled
and ignited by a spark or
other ignition source, it
can cause fire and seri-
ous burn injury or
property damage. Use
extreme caution when
handling gasoline or fuel
mix. Do not smoke or
bring any fire or flame
near the fuel or the power
tool. Note that combusti-
ble fuel vapor may
escape from the fuel
system.

MS 251, MS 251 C
English
6
allow any pressure build-up in the tank
to release slowly. Never remove the fuel
filler cap while the engine is running.
Select bare ground for fueling and move
at least 10 feet (3 m) from the fueling
spot before starting the engine. Wipe off
any spilled fuel before starting your
machine.
WARNING
WARNING
In order to reduce the risk of fuel spillage
and fire from an improperly tightened
fuel cap, correctly position and tighten
the fuel cap in the fuel tank opening.
Toolless cap with grip
To do this with this STIHL cap, raise the
grip on the top of the cap until it is upright
at a 90° angle. Insert the cap in the fuel
tank with the positioning mark on the
grip of the cap and the "open" mark on
the fuel tank opening lining up. Using the
grip, press the cap down firmly while
turning it clockwise as far as it will go
(approx. 1/4 turn). The positioning mark
on the cap should now line up with the
"cosed" mark on the tank.
Misaligned, damaged or broken cap
NIf the cap does not drop fully into the
opening when the positioning marks
line up and/or if the cap does not
tighten properly when twisted, the
base of the cap may be prematurely
rotated (in relation to the top) to the
closed position. Such misalignment
can result from handling, cleaning
or an improper attempt at
tightening.
NTo return the cap to the open
position for installation, turn the cap
(with the grip up) until it drops fully
into the tank opening. Next, twist the
cap counterclockwise as far as it will
go (approx. 1/4 turn) – this will twist
the base of the cap into the correct
Check for fuel leakage
while refueling and during
operation. If fuel leakage
is found, do not start or
run the engine until the
leak is fixed and any
spilled fuel has been
wiped away. Take care
not to get fuel on your
clothing. If this happens,
change your clothing
immediately. Fold the grip flush with
the top of the cap. Grip
the cap and check for
tightness. If the grip does
not lie completely flush
with the cap and the
detent on the grip does
not fit in the correspond-
ing recess in the filler
opening, or if the cap is
loose in the filler opening,
the cap is not properly
seated and tightened and
you must repeat the
above steps.
001BA234 KN
Left: Bottom of cap in closed posi-
tion – inner mark (1) in line
with outer mark.
Right: Bottom of cap in correct posi-
tion for installation – inner
mark is under the grip and
not in line with the outer
mark.
1
001BA238 KN
001BA239 KN

MS 251, MS 251 C
English
7
position for installation. Then, twist
the cap clockwise, closing it
normally.
NIf your cap still does not tighten
properly, it may be damaged or
broken; immediately stop use of the
unit and take it to your authorized
STIHL dealer for repair.
See also the "Fueling" chapter in your
Instruction Manual for additional
information.
Before Starting
Take off the chain guard (scabbard) and
inspect the saw for proper condition and
operation. (See the maintenance chart
near the end of the instruction manual.)
WARNING
Always check your power tool for proper
condition and operation before starting,
particularly the throttle trigger, throttle
trigger lockout, stop switch and cutting
tool. The throttle trigger must move
freely and always spring back to the idle
position. Never attempt to modify the
controls or safety devices.
WARNING
Never operate your power tool if it is
damaged, improperly adjusted or
maintained, or not completely or
securely assembled.
WARNING
Check that the spark plug boot is
securely mounted on the spark plug – a
loose boot may cause arcing that could
ignite combustible fumes and cause a
fire.
For proper assembly of the bar and
chain follow the procedure described in
the chapter "Mounting the Bar and
Chain" of your instruction manual.
STIHL Oilomatic chain, guide bar and
sprocket must match each other in
gauge and pitch. Before replacing any
bar and chain, see the chapter entitled
"Specifications" in the instruction
manual and the section "Kickback" and
the "ANSI B 175.1-2000 chain saw
chain saw kickback standard" below.
WARNING
Proper tension of the chain is extremely
important. In order to avoid improper
setting, the tensioning procedure must
be followed as described in your
manual. Always make sure the
hexagonal nut(s) for the sprocket cover
is (are) tightened securely after
tensioning the chain in order to secure
the bar. Never start the saw with the
sprocket cover loose. Check chain
tension once more after having
tightened the nut(s) and thereafter at
regular intervals (whenever the saw is
shut off). If the chain becomes loose
while cutting, shut off the engine and
then tighten. Never try to adjust the
chain while the engine is running!
Keep the handles clean and dry at all
times; it is particularly important to keep
them free of moisture, pitch, oil, fuel mix,
grease or resin in order for you to
maintain a firm grip and properly control
your power tool.
Starting
WARNING
To reduce the risk of fire and burn
injuries, start the engine at least 10 feet
(3 m) from the fueling spot, outdoors
only.
Start and operate your saw without
assistance. For specific starting
instructions, see the appropriate section
of the instruction manual. Proper starting
methods reduce the risk of injury.
WARNING
To reduce the risk of injury from chain
contact and / or reactive forces, the
chain brake must be engaged when
starting the saw.
WARNING
Do not drop start. This method is very
dangerous because you may lose
control of the saw.
There are two recommended methods
for starting your chain saw.
With the first recommended method, the
chain saw is started on the ground.
Make sure the chain brake is engaged
(see "Chain Brake" chapter in your
instruction manual) and place the chain
001BA113 KN

MS 251, MS 251 C
English
8
saw on firm ground or other solid surface
in an open area. Maintain good balance
and secure footing.
Grip the front handlebar of the saw firmly
with your left hand and press down. For
saws with a rear handle level with the
ground, put the toe of your right foot into
the rear handle and press down. With
your right hand pull out the starter grip
slowly until you feel a definite resistance
and then give it a brisk, strong pull.
The second recommended method for
starting your chain saw allows you to
start the saw without placing it on the
ground. Make sure the chain brake is
engaged, grip the front handle of the
chain saw firmly with your left hand.
Keep your arm on the front handle in a
locked (straight) position. Hold the rear
handle of the saw tightly between your
legs just above the knees. Maintain
good balance and secure footing. Pull
the starting grip slowly with your right
hand until you feel a definite resistance
and then give it a brisk, strong pull.
WARNING
Be sure that the guide bar and chain are
clear of you and all other obstructions
and objects, including the ground. When
the engine is started, the engine speed
with the starting throttle lock engaged
will be fast enough for the clutch to
engage the sprocket and, if the chain
brake is not activated, turn the chain. If
the upper quadrant of the tip of the bar
touches any object, it may cause
kickback to occur (see section on
reactive forces). To reduce this risk,
always engage the chain brake before
starting. Never attempt to start the chain
saw when the guide bar is in a cut or
kerf.
As soon as the engine is running,
immediately blip the throttle trigger,
which will disengage the starting throttle
lock and allow the engine to settle down
to idle.
WARNING
When you pull the starter grip, do not
wrap the starter rope around your hand.
Do not let the grip snap back, but guide
the starter rope to rewind it properly.
Failure to follow this procedure may
result in injury to your hand or fingers
and may damage the starter
mechanism.
Important Adjustments
WARNING
To reduce the risk of personal injury
from loss of control and / or contact with
the running cutting tool, do not use your
unit with incorrect idle adjustment. At
correct idle speed, the cutting tool
should not move. For directions on how
to adjust idle speed, see the appropriate
section of your instruction manual.
If you cannot set the correct idle speed,
have your STIHL dealer check your
power tool and make proper
adjustments and repairs.
During Operation
Holding and Controlling the Power Tool
Always hold the unit firmly with both
hands on the handles while you are
working. Wrap your fingers and thumbs
around the handles.
Your right hand should grip the rear
handle. This also applies to left-handers.
With your hands in this position, you can
best oppose and absorb the push, pull
and kickback forces of your saw without
losing control (see section on reactive
forces).
001BA114 KN
001BA087 LÄ

MS 251, MS 251 C
English
9
WARNING
WARNING
To reduce the risk of cut injuries, keep
hands and feet away from the cutting
tool. Never touch a moving cutting tool
with your hand or any other part of your
body.
WARNING
Keep proper footing and balance at all
times. Special care must be taken in
slippery conditions (wet ground, snow)
and in difficult, overgrown terrain. Watch
for hidden obstacles such as tree
stumps, roots, rocks, holes and ditches
to avoid stumbling. There is increased
danger of slipping on freshly debarked
logs. For better footing, clear away fallen
branches, scrub and cuttings. Be
extremely cautious when working on
slopes or uneven ground.
WARNING
Take extreme care in wet and freezing
weather (rain, snow, ice). Put off the
work when the weather is windy, stormy
or rainfall is heavy.
WARNING
To reduce the risk of injury from loss of
control, never work on a ladder or any
other insecure support. Never hold the
machine above shoulder height. Do not
overreach.
WARNING
Never work in a tree unless you have
received specific, professional training
for such work, are properly secured
(such as tackle and harness system or a
lift bucket), have both hands free for
operating the chain saw in a cramped
environment and have taken proper
precautions to avoid injury from falling
limbs or branches.
Position the chain saw in such a way
that your body is clear of the cutting
attachment whenever the engine is
running. Stand to the left of cut while
bucking.
Never put pressure on the saw when
reaching the end of a cut. The pressure
may cause the bar and rotating chain to
pop out of the cut or kerf, go out of
control and strike the operator or some
other object. If the rotating chain strikes
some other object, a reactive force may
cause the moving chain to strike the
operator.
Working Conditions
Operate and start your power tool only
outdoors in a well ventilated area.
Operate it under good visibility and
daylight conditions only. Work carefully.
To reduce the risk
of serious or fatal
injury to the opera-
tor or bystanders
from loss of con-
trol, never use the
saw with one
hand. It is more
difficult for you to
control reactive
forces and to pre-
vent the bar and
chain from skating
or bouncing along
the limb or log.
Even for those
compact saws
designed for use
in confined
spaces, one-
handed operation
is dangerous
because the oper-
ator may lose
control.
001BA031 KN
001BA082 KN

MS 251, MS 251 C
English
10
WARNING
Your chain saw is a one-person
machine. Do not allow other persons in
the general work area, even when
starting. Stop the engine immediately if
you are approached.
WARNING
Even though bystanders should be kept
away from the running saw, never work
alone. Keep within calling distance of
others in case help is needed.
WARNING
WARNING
Inhalation of certain dusts, especially
organic dusts such as mold or pollen,
can cause susceptible persons to have
an allergic or asthmatic reaction.
Substantial or repeated inhalation of
dust and other airborne contaminants, in
particular those with a smaller particle
size, may cause respiratory or other
illnesses. This includes wood dust,
especially from hardwoods, but also
from some softwoods such as Western
Red Cedar. Control dust at the source
where possible. Use good work
practices, such as always cutting with a
properly sharpened chain (which
produces wood chips rather than fine
dust) and operating the unit so that the
wind or operating process directs any
dust raised by the power tool away from
the operator. Follow the
recommendations of EPA / OSHA /
NIOSH and occupational and trade
associations with respect to dust
("particulate matter"). When the
inhalation of dust cannot be
substantially controlled, i.e., kept at or
near the ambient (background) level, the
operator and any bystanders should
wear a respirator approved by NIOSH /
MSHA for the type of dust encountered.
WARNING
Breathing asbestos dust is dangerous
and can cause severe or fatal injury,
respiratory illness or cancer. The use
and disposal of asbestos-containing
products have been strictly regulated by
OSHA and the Environmental Protection
Agency. If you have any reason to
believe that you might be cutting
asbestos, immediately contact your
employer or a local OSHA
representative.
Operating Instructions
WARNING
Do not operate your power tool using the
starting throttle lock, as you do not have
control of the engine speed.
As soon as the engine is
running, this product gen-
erates toxic exhaust
fumes containing chemi-
cals, such as unburned
hydrocarbons (including
benzene) and carbon
monoxide, that are
known to cause respira-
tory problems, cancer,
birth defects, or other
reproductive harm. Some
of the gases (e.g. carbon
monoxide) may be color-
less and odorless. To
reduce the risk of serious
or fatal injury / illness
from inhaling toxic fumes,
never run the machine
indoors or in poorly venti-
lated locations. If exhaust
fumes become concen-
trated due to insufficient
ventilation, clear obstruc-
tions from work area to
permit proper ventilation
before proceeding and /
or take frequent breaks to
allow fumes to dissipate
before they become
concentrated.

MS 251, MS 251 C
English
11
In the event of an emergency, switch off
the engine immediately – move the slide
control / stop switch to 0 or STOP.
WARNING
Always stop the engine before putting a
chain saw down.
WARNING
The saw chain continues to move for a
short period after the throttle trigger is
released (flywheel effect).
Accelerating the engine while the saw
chain is blocked increases the load and
will cause the clutch to slip continuously.
This may occur if the throttle is
depressed for more than a few seconds
when the chain is pinched in the cut or
the chain brake is engaged. It can result
in overheating and damage to important
components (e.g. clutch, polymer
housing components) – which can then
increase the risk of injury, e.g., from the
saw chain moving while the engine is
idling.
WARNING
Your chain saw is equipped with a chain
catcher. It is designed to reduce the risk
of personal injury in the event of a
thrown or broken chain. From time to
time, the catcher may be damaged or
removed. To reduce the risk of personal
injury, do not operate a chain saw with a
damaged or missing chain catcher.
WARNING
Inspect antivibration elements
periodically. Replace damaged, broken
or excessively worn antivibration
elements immediately, since they may
result in loss of control of the saw. A
"sponginess" in the feel of the saw,
increased vibration or increased
"bottoming" during normal operation
may indicate damage, breakage or
excessive wear. Antivibration elements
should always be replaced in sets. If you
have any questions as to whether the
antivibration elements should be
replaced, consult your STIHL servicing
dealer.
WARNING
Your saw is not designed for prying or
shoveling away limbs, roots or other
objects. Such use could damage the
cutting attachment or AV system.
WARNING
When sawing, make sure that the saw
chain does not touch any foreign
materials such as rocks, fences, nails
and the like. Such objects may be flung
off, damage the saw chain or cause the
saw to kickback.
WARNING
Never modify your muffler. Any
modification could cause an increase in
heat radiation, sparks or sound level,
thereby increasing the risk of fire, burn
injury or hearing loss. You may also
permanently damage the engine. Have
your muffler serviced and repaired by
your STIHL servicing dealer only.
WARNING
The muffler and other parts of the engine
(e.g. fins of the cylinder, spark plug)
become hot during operation and remain
hot for a while after stopping the engine.
To reduce risk of burns, do not touch the
muffler and other parts while they are
hot. Keep the area around the muffler
clean. Remove excess lubricant and all
debris such as pine needles, branches
or leaves. Let the engine cool down
sitting on concrete, metal, bare ground
or solid wood (e.g. the trunk of a felled
tree) away from any combustible
substances.
WARNING
An improperly mounted or damaged
cylinder housing or a
damaged/deformed muffler shell may
interfere with the cooling process of the
muffler. To reduce the risk of fire or burn
injury, do not continue work with a
damaged or improperly mounted
cylinder housing or a
damaged/deformed muffler shell.
Your muffler is furnished with a spark
arresting screen designed to reduce the
risk of fire from the emission of hot
particles. Never operate your unit with a
missing or damaged spark arresting
screen. If your gas/oil mix ratio is correct
(i.e., not too rich), this screen will
normally stay clean as a result of the
heat from the muffler and need no
service or maintenance. If you
experience loss of performance and you
suspect a clogged screen, have your
muffler maintained by a STIHL servicing
dealer. Some state or federal laws or
regulations may require a properly
maintained spark arrestor for certain
uses. See the "Maintenance, Repair and
Storing" section of these Safety
Precautions. Remember that the risk of
a brush or forest fire is greater in hot or
dry conditions.

MS 251, MS 251 C
English
12
WARNING
Reactive Forces including Kickback
WARNING
Reactive forces may occur any time the
chain is rotating. Reactive forces can
cause serious personal injury.
The powerful force used to cut wood can
be reversed and work against the
operator. If the rotating chain is suddenly
stopped by contact with any solid object
such as a log or branch or is pinched, the
reactive forces may occur instantly.
These reactive forces may result in loss
of control, which, in turn, may cause
serious or fatal injury. An understanding
of the causes of these reactive forces
may help you avoid the element of
surprise and loss of control. Sudden
surprise contributes to accidents.
The most common reactive forces are:
–kickback,
–pushback,
–pull-in.
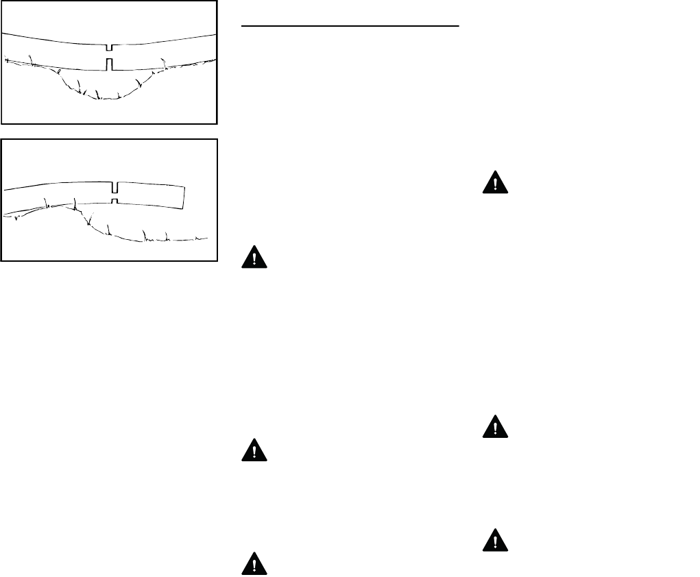
Kickback:
The reaction of the cutting force of the
chain causes a rotational force on the
chain saw in the direction opposite to the
chain movement. This may fling the bar
up and back in a lightning fast reaction in
an uncontrolled arc mainly in the plane
of the bar. Under some cutting
circumstances the bar moves towards
the operator, who may suffer severe or
fatal injury.
Kickback may occur, for example, when
the chain near the upper quadrant of the
bar nose contacts the wood or is
pinched during limbing or when it is
incorrectly used to begin a plunge or
boring cut.
The greater the force of the kickback
reaction, the more difficult it becomes for
the operator to control the saw. Many
factors influence the occurrence and
force of the kickback reaction. These
include chain speed, the speed at which
Some STIHL power tools
are equipped with a cata-
lytic converter, which is
designed to reduce the
exhaust emissions of the
engine by a chemical
process in the muffler.
Due to this process, the
muffler does not cool
down as rapidly as con-
ventional mufflers when
the engine returns to idle
or is shut off. To reduce
the risk of fire and burn
injuries when using a cat-
alytic converter, always
set your power tool down
in the upright position and
never locate it where the
muffler is near dry brush,
grass, wood chips or
other combustible materi-
als while it is still hot.
Kickback may occur
when the moving saw
chain near the upper
quadrant of the bar nose
contacts a solid object or
is pinched.
001BA093 LÄ
001BA035 KN

MS 251, MS 251 C
English
13
the bar and chain contact the object, the
angle of contact, the condition of the
chain and other factors.
The type of bar and saw chain you use
is an important factor in the occurrence
and force of the kickback reaction. Some
STIHL bar and chain types are designed
to reduce kickback forces. STIHL
recommends the use of reduced
kickback bars and low kickback chains.
ANSI B 175.1-2000 chain saw kickback
standard
§ 5.11 of ANSI standard B 175.1-2000,
sets certain performance and design
criteria related to chain saw kickback.
To comply with § 5.11 of ANSI
B175.1-2000:
a) Saws with a displacement of less
than 3.8 cubic inches (62 cm³)
–must, in their original condition,
meet a 45° computer derived
kickback angle when equipped with
certain cutting attachments,
–and must be equipped with at least
two devices to reduce the risk of
kickback injury, such as a chain
brake, low kickback chain, reduced
kickback bar, etc.
b) Saws with a displacement of
3.8 cubic inches (62 cm³) and
above
–must be equipped with at least one
device designed to reduce the risk
of kickback injury, such as a chain
brake, low kickback chain, reduced
kickback bar, etc.
The computer derived angles for saws
below 3.8 cubic inches (62 cm³)
displacement are measured by applying
a computer program to test results from
a kickback test machine.
WARNING
The computer derived angles of § 5.11
of ANSI B 175.1-2000 may bear no
relationship to actual kickback bar
rotation angles that may occur in real life
cutting situations.
In addition, features designed to reduce
kickback injuries may lose some of their
effectiveness when they are no longer in
their original condition, especially if they
have been improperly maintained.
Compliance with § 5.11 of ANSI
B 175.1-2000 does not automatically
mean that in a real life kickback the bar
and chain will rotate at most 45°.
WARNING
In order for powerheads below 3.8 cubic
inches (62 cm³) displacement to comply
with the computed kickback angle
requirements of § 5.11 of ANSI
B 175.1-2000 use only the following
cutting attachments:
–bar and chain combinations listed
as complying in the "Specifications"
section of the instruction manual or
–other replacement bar and chain
combinations marked in
accordance with the standard for
use on the powerhead or
–replacement chain designated "low
kickback saw chain."
See the section on "Low kickback saw
chain and reduced kickback bars."
Devices for Reducing the Risk of
Kickback Injury
STIHL recommends the use of the
STIHL Quickstop chain brake on your
powerhead with green labeled reduced
kickback bars and low kickback chains.
WARNING
To reduce the risk of injury, never use a
saw if the chain brake does not function
properly. Take the saw to your local
STIHL servicing dealer. Do not use the
saw until the problem has been rectified.
STIHL Quickstop Chain Brake
STIHL has developed a chain stopping
system designed to reduce the risk of
injury in certain kickback situations. It is
called a Quickstop chain brake.
All STIHL chain saws are equipped with
a Quickstop chain brake which can be
activated by inertia. If the forces of an
occurring kickback are sufficiently high,
001BA174 KN

MS 251, MS 251 C
English
14
the hand guard is accelerated towards
the bar nose even without hand contact.
See the chapter entitled "Chain Brake"
of your instruction manual.
WARNING
Never operate your chain saw without a
front hand guard. In a kickback situation
this guard helps protect your left hand
and other parts of your body. In addition,
removal of the hand guard on a saw
equipped with a Quickstop chain brake
will deactivate the chain brake.
WARNING
No Quickstop or other chain brake
device prevents kickback. These
devices are designed to reduce the risk
of kickback injury, if activated, in certain
kickback situations. In order for the
Quickstop to reduce the risk of kickback
injury, it must be properly maintained
and in good working order. See the
chapter of your instruction manual
entitled "Chain Brake" and the section
"Maintenance, Repair and Storing" at
the end of these Safety Precautions. In
addition, there must be enough distance
between the bar and the operator to
ensure that the Quickstop has sufficient
time to activate and stop the chain
before potential contact with the
operator.
WARNING
An improperly maintained chain brake
may increase the time needed to stop
the chain after activation, or may not
activate at all.
WARNING
Never run the chain saw above idle
speed for more than 3 seconds when the
chain brake is engaged or when the
chain is pinched or otherwise caught in
the cut. Clutch slippage can cause
excessive heat, leading to severe
damage of the motor housing, clutch
and oiler component and may interfere
with the operation of the chain brake. If
clutch slippage in excess of 3 seconds
has occurred, allow the motor housing to
cool before proceeding and check the
operation of your chain brake as
described in the chapter entitled "Chain
Brake" of your instruction manual. Also
make sure that the chain is not turning at
idle speed (see above at "Important
Adjustments").
Low Kickback Saw Chain and Reduced
Kickback Bars
STIHL offers a variety of bars and
chains. STIHL reduced kickback bars
and low kickback chains are designed to
reduce the risk of kickback injury. Other
chains are designed to obtain higher
cutting efficiency or sharpening ease but
may result in higher kickback tendency.
STIHL has developed a color code
system to help you identify the STIHL
reduced kickback bars and low kickback
chains. Cutting attachments with green
warning decals or green labels on the
packaging are designed to reduce the
risk of kickback injury. The matching of
green decaled powerheads under
3.8 cubic inches (62 cm³) displacement
with green labeled bars and green
labeled chains gives compliance with
the computed kickback angle
requirements of ANSI B 175.1-2000
when the products are in their original
condition. Products with yellow decals or
labels are for users with extraordinary
cutting needs and experience and
specialized training for dealing with
kickback.
STIHL recommends the use of its green
labeled reduced kickback bars, green
labeled low kickback chains and a
STIHL Quickstop chain brake for both
experienced and inexperienced chain
saw users.
Please ask your STIHL dealer to
properly match your powerhead with the
appropriate bar / chain combination to
reduce the risk of kickback injury. Green
labeled bars and chains are
recommended for all powerheads.
WARNING
Use of other, non-listed bar / chain
combinations may increase kickback
forces and the risk of kickback injury.
New bar / chain combinations may be
developed after publication of this
literature, which will, in combination with
certain powerheads, comply with § 5.11
of ANSI B 175.1-2000. Check with your
STIHL dealer for such combinations.
WARNING
Reduced kickback bars and low
kickback chains do not prevent
kickback, but they are designed to
reduce the risk of kickback injury. They
are available from your STIHL dealer.
WARNING
Even if your saw is equipped with a
Quickstop, a reduced kickback bar and /
or low kickback chain, this does not

MS 251, MS 251 C
English
15
eliminate the risk of injury by kickback.
Therefore, always observe all safety
precautions to avoid kickback situations.
Low Kickback Chain
Some types of saw chain have specially
designed components to reduce the
force of nose contact kickback. STIHL
has developed low kickback chain for
your powerhead.
"Low kickback saw chain" is a chain
which has met the kickback
performance requirements of § 5.11.2.4
of ANSI B 175.1-2000 (Gasoline-
Powered Chain Saws–Safety
Requirements) when tested in its
original condition on a selected
representative sample of chain saws
below 3.8 cubic inches (62 cm³)
displacement specified in ANSI
B175.1-2000.
WARNING
There are potential powerhead and bar
combinations with which low kickback
saw chains can be used which have not
been specifically certified to comply with
the 45° computer derived kickback
angle of § 5.11 of ANSI B 175.1-2000.
Some low kickback chains have not
been tested with all powerhead and bar
combinations.
WARNING
A dull or improperly sharpened chain
may reduce or negate the effects of the
design features intended to reduce
kickback energy. Improper lowering or
sharpening of the depth gauges or
shaping of the cutters may increase the
chance and the potential energy of a
kickback. Always cut with a properly
sharpened chain.
Reduced Kickback Bars
STIHL green labeled reduced kickback
bars are designed to reduce the risk of
kickback injury when used with STIHL
green labeled low kickback chains.
WARNING
When used with other, more aggressive
chains, these bars may be less effective
in reducing kickback.
WARNING
For a properly balanced saw and in
order to comply with § 5.12.1 of ANSI
B 175.1-2000, use only bar lengths
listed in the specifications chapter of the
instruction manual for your chain saw
powerhead.
Bow Guides
WARNING
Do not mount a bow guide on any STIHL
chain saw. Any chain saw equipped with
a bow guide is potentially very
dangerous. The risk of kickback is
increased with a bow guide because of
the increased kickback contact area.
Low kickback chain will not significantly
reduce the risk of kickback injury when
used on a bow guide.
To avoid Kickback
The best protection from personal injury
that may result from kickback is to avoid
kickback situations:
1. Hold the chain saw firmly with both
hands and maintain a secure grip.
Don’t let go.
2. Be aware of the location of the guide
bar nose at all times.
3. Never let the nose of the guide bar
contact any object. Do not cut limbs
with the nose of the guide bar. Be
especially careful near wire fences
and when cutting small, tough
limbs, small size brush and saplings
which may easily catch the chain.
4. Don't overreach.
5. Don't cut above shoulder height.
6. Begin cutting and continue at full
throttle.
7. Cut only one log at a time.
8. Use extreme caution when
reentering a previous cut.
9. Do not attempt to plunge cut if you
are not experienced with these
cutting techniques.
10. Be alert for shifting of the log or
other forces that may cause the cut
to close and pinch the chain.
11. Maintain saw chain properly. Cut
with a correctly sharpened, properly
tensioned chain at all times.
12. Stand to the side of the cutting path
of the chain saw.

MS 251, MS 251 C
English
16
A = Pull-in
Pull-in occurs when the chain on the
bottom of the bar is suddenly stopped
when it is pinched, caught or encounters
a foreign object in the wood. The
reaction of the chain pulls the saw
forward and may cause the operator to
lose control.
Pull-in frequently occurs when the
bumper spike of the saw is not held
securely against the tree or limb and
when the chain is not rotating at full
speed before it contacts the wood.
WARNING
Use extreme caution when cutting small
size brush and saplings which may
easily catch the chain, be whipped
towards you or pull you off balance.
To avoid Pull-in
1. Always start a cut with the chain
rotating at full speed and the
bumper spike in contact with the
wood.
2. The risk of pull-in may also be
reduced by using wedges to open
the kerf or cut.
B = Pushback
Pushback occurs when the chain on the
top of the bar is suddenly stopped when
it is pinched, caught or encounters a
foreign object in the wood. The reaction
of the chain may drive the saw rapidly
straight back toward the operator and
may cause loss of saw control.
Pushback frequently occurs when the
top of the bar is used for cutting.
To avoid Pushback
1. Be alert to forces or situations that
may cause material to pinch the top
of the chain.
2. Do not cut more than one log at a
time.
3. Do not twist the saw when
withdrawing the bar from a plunge
cut or underbuck cut because the
chain can pinch.
Cutting Techniques
Felling
Felling is cutting down a tree.
Before felling a tree, consider carefully
all conditions which may affect the
direction of fall.
WARNING
There are a number of factors that may
affect and change the intended direction
of fall, e.g. wind direction and speed,
lean of tree, surrounding trees and
obstacles, sloping ground, one-sided
limb structure, wood structure, decay,
snow load, etc. To reduce the risk of
severe or fatal injury to yourself or
others, look for these conditions prior to
beginning the cut, and be alert for a
change in direction while the tree is
falling.
WARNING
Always observe the general condition of
the tree. Inexperienced users should
never attempt to cut trees that are
decayed or rotted inside or that are
leaning or otherwise under tension.
There is an increased risk that such
trees could snap or split while being cut
and cause serious or fatal injury to the
operator or bystanders. Also look for
broken or dead branches which could
vibrate loose and fall on the operator.
When felling on a slope, the operator
should stand on the uphill side if
possible.
001BA037 KN
A
001BA038 KN
B

MS 251, MS 251 C
English
17
Felling Instructions
When felling, maintain a distance of at
least 2 1/2 tree lengths from the nearest
person.
When felling in the vicinity of roads,
railways and power lines, etc., take extra
precautions. Inform the police, utility
company or railway authority before
beginning to cut.
WARNING
The noise of your engine may drown any
warning call.
Escape Path
First clear the tree base and work area
from interfering limbs and brush and
clean its lower portion with an ax.
Then, establish two paths of escape (B)
and remove all obstacles. These paths
should be generally opposite to the
planned direction of the fall of the tree
(A) and about at a 45° angle. Place all
tools and equipment a safe distance
away from the tree, but not on the
escape paths.
Buttress Roots
If the tree has large buttress roots, cut
into the largest buttress vertically first
(horizontally next) and remove the
resulting piece.
Gunning Sight
When making the felling notch, use the
gunning sight on the shroud and housing
to check the desired direction of fall:
Position the saw so that the gunning
sight points exactly in the direction you
want the tree to fall.
001BA088 LÄ
2
/
12
11
/
12
B
001BA040 KN
A
45°
45°
B
001BA146 KN
001BA153 KN

MS 251, MS 251 C
English
18
Conventional Cut
Felling notch (C) – determines the
direction of the fall
For a conventional cut:
NProperly place felling notch
perpendicular to the line of fall,
close to the ground.
NCut down at approx. 45° angle to a
depth of about 1/5 to 1/4 of the trunk
diameter.
NMake second cut horizontal.
NRemove resulting 45° piece.
Open-face Technique
Felling notch (C) – determines the
direction of the fall
For an open-face cut:
NProperly place felling notch
perpendicular to the line of fall,
close to the ground.
NCut down at approx. 50° angle to a
depth of approx.1/5 to 1/4 of the
trunk diameter.
NMake second cut from below at
approx. 40 degree angle.
NRemove resulting 90° piece.
Making Sapwood Cuts
NFor medium sized or larger trees
make cuts at both sides of the trunk,
at same height as subsequent
felling cut.
NCut to no more than width of guide
bar.
This is especially important in softwood
in summer – it helps prevent sapwood
splintering when the tree falls.
001BA143 KN
C
C
001BA150 KN

MS 251, MS 251 C
English
19
D =Felling Cut
Conventional and open-face technique:
NBegin 1 to 2 inches (2,5 to 5 cm)
higher than center of felling notch.
NCut horizontally towards the felling
notch.
NLeave approx.1/10 of diameter
uncut. This is the hinge.
NDo not cut through the hinge – you
could lose control of the direction of
the fall.
Drive wedges into the felling cut where
necessary to control the fall.
WARNING
If the tip of the bar contacts a wedge, it
may cause kickback. Wedges should be
of wood or plastic – never steel, which
can damage the chain.
E = Hinge
NHelps control the falling tree.
NDo not cut through the hinge – you
could lose control of the direction of
the fall.
Felling Cut for Small Diameter Trees:
Simple Fan Cut
Engage the bumper spikes of the chain
saw directly behind the location of the
intended hinge and pivot the saw around
this point only as far as the hinge. The
bumper spike rolls against the trunk.
001BA144 KN
D
D
001BA145 KN
E
E
001BA147 KN

MS 251, MS 251 C
English
20
Felling Cut for Large Diameter Trees
WARNING
Felling a tree that has a diameter greater
than the length of the guide bar requires
use of either the sectioning felling cut or
plunge-cut method. These methods are
extremely dangerous because they
involve the use of the nose of the guide
bar and can result in kickback. Only
properly trained professionals should
attempt these techniques.
Sectioning Method
For the sectioning method make the first
part of the felling cut with the guide bar
fanning in toward the hinge. Then, using
the bumper spike as a pivot, reposition
the saw for the next cut.
Avoid repositioning the saw more than
necessary. When repositioning for the
next cut, keep the guide bar fully
engaged in the kerf to keep the felling
cut straight. If the saw begins to pinch,
insert a wedge to open the cut. On the
last cut, do not cut the hinge.
Plunge-cut Method
Timber having a diameter more than
twice the length of the guide bar requires
the use of the plunge-cut method before
making the felling cut.
First, cut a large, wide felling notch.
Make a plunge cut in the center of the
notch.
The plunge cut is made with the guide
bar nose. Begin the plunge cut by
applying the lower portion of the guide
bar nose to the tree at an angle. Cut until
the depth of the kerf is about the same
as the width of the guide bar. Next, align
the saw in the direction in which the
recess is to be cut.
With the saw at full throttle, insert the
guide bar in the trunk.
Enlarge the plunge cut as shown in the
illustration.
WARNING
There is an extreme danger of kickback
at this point. Extra caution must be taken
to maintain control of the saw. To make
the felling cut, follow the sectioning
method described previously.
If you are inexperienced with a chain
saw, plunge-cutting should not be
attempted. Seek the help of a
professional.
001BA148 KN
1
4
2

MS 251, MS 251 C
English
21
WARNING
In order to reduce the risk of personal
injury, never stand directly behind the
tree when it is about to fall, since part of
the trunk may split and come back
towards the operator (barber-chairing),
or the tree may jump backwards off the
stump. Always keep to the side of the
falling tree. When the tree starts to fall,
withdraw the bar, shut off the engine and
walk away on the preplanned escape
path. Watch out for falling limbs.
WARNING
Be extremely careful with partially fallen
trees which are poorly supported. When
the tree hangs or for some other reason
does not fall completely, set the saw
aside and pull the tree down with a cable
winch, block and tackle or tractor. If you
try to cut it down with your saw, you may
be injured.
Limbing
Limbing is removing the branches from a
fallen tree.
WARNING
There is an extreme danger of kickback
during the limbing operation. Do not
work with the nose of the bar. Be
extremely cautious and avoid contacting
the log or other limbs with the nose of the
guide bar.
Do not stand on a log while limbing it –
you may slip or the log may roll.
Start limbing by leaving the lower limbs
to support the log off the ground. When
underbucking freely hanging limbs, a
pinch may result or the limb may fall,
causing loss of control. If a pinch occurs,
stop the engine and remove the saw by
lifting the limb.
WARNING
Be extremely cautious when cutting
limbs or logs under tension (spring
poles). The limbs or logs could spring
back toward the operator and cause loss
of control of the saw and severe or fatal
injury to the operator.
Bucking
Bucking is cutting a log into sections.
WARNING
When bucking, do not stand on the log.
Make sure the log will not roll downhill. If
on a slope, stand on the uphill side of the
log. Watch out for rolling logs.
Cut only one log at a time.
Shattered wood should be cut very
carefully. Sharp slivers of wood may be
caught and flung in the direction of the
operator of the saw.
When cutting small logs, place log
through "V"-shaped supports on top of a
sawhorse. Never permit another person
to hold the log. Never hold the log with
your leg or foot.
001BA033 KN
001BA051 LÄ

MS 251, MS 251 C
English
22
Logs under strain:
Risk of pinching! Always start relieving
cut (1) at compression side.Then make
bucking cut (2) at tension side. If the saw
pinches, stop the engine and remove it
from the log.
Only properly trained professionals
should work in an area where the logs,
limbs and roots are tangled. Working in
"blow down" areas is extremely
hazardous. Drag the logs into a clear
area before cutting. Pull out exposed
and cleared logs first.
MAINTENANCE, REPAIR AND
STORING
Maintenance, replacement, or repair of
the emission control devices and
systems may be performed by any
nonroad engine repair establishment or
individual. However, if you make a
warranty claim for a component which
has not been serviced or maintained
properly or if nonapproved replacement
parts were used, STIHL may deny
coverage.
WARNING
Use only identical STIHL replacement
parts for maintenance and repair. Use of
non-STIHL parts may cause serious or
fatal injury.
Strictly follow the maintenance and
repair instructions in the appropriate
section of your instruction manual.
Please refer to the maintenance chart in
this manual.
WARNING
Always stop the engine and make sure
that the cutting tool is stopped before
doing any maintenance or repair work or
cleaning the power tool.
WARNING
Do not attempt any maintenance or
repair work not described in your
instruction manual. Have such work
performed by your STIHL servicing
dealer only. For example, if improper
tools are used to remove the flywheel or
if an improper tool is used to hold the
flywheel in order to remove the clutch,
structural damage to the flywheel could
occur and could subsequently cause the
flywheel to burst.
Wear gloves when handling or
performing maintenance on saw chains.
WARNING
Use the specified spark plug and make
sure it and the ignition lead are always
clean and in good condition. Always
press spark plug boot snugly onto spark
plug terminal of the proper size. (Note: If
terminal has detachable SAE adapter
nut, it must be securely attached.) A
loose connection between spark plug
terminal and the ignition wire connector
in the boot may create arcing that could
ignite combustible fumes and cause a
fire.
WARNING
Never test the ignition system with the
spark plug boot removed from the spark
plug or with a removed spark plug, since
uncontained sparking may cause a fire.
WARNING
Do not operate your power tool if the
muffler is damaged, missing or modified.
An improperly maintained muffler will
increase the risk of fire and hearing loss.
Your muffler is equipped with a spark-
arresting screen to reduce the risk of
fire; never operate your power tool if the
screen is missing, damaged or clogged.
Remember that the risk of a brush or
forest fire is greater in hot or dry
weather.
In California, it is a violation of § 4442 or
§ 4443 of the Public Resources Code to
use or operate gasoline-powered tools
on forest-covered, brush-covered or
grass-covered land unless the engine’s
exhaust system is equipped with a
complying spark arrester that is
maintained in effective working order.
The owner/operator of this product is
1
001BA151 KN
2
1
001BA152 KN
2

MS 251, MS 251 C
English
23
responsible for properly maintaining the
spark arrester. Other states or
governmental entities/agencies, such as
the U.S. Forest Service, may have
similar requirements. Contact your local
fire agency or forest service for the laws
or regulations relating to fire protection
requirements.
Keep the chain, bar and sprocket clean;
replace worn sprockets or chains. Keep
the chain sharp. You can spot a dull
chain when easy-to-cut wood becomes
hard to cut and burn marks appear on
the wood. Keep the chain at proper
tension.
Tighten all nuts, bolts and screws except
the carburetor adjustment screws after
each use.
WARNING
In order for the chain brake on your
STIHL chain saw to properly perform its
function of reducing the risk of kickback
and other injuries, it must be properly
maintained. Like an automobile brake, a
chain saw chain brake incurs wear each
time it is engaged.
The amount of wear will vary depending
upon usage, conditions under which the
saw is used and other factors. Excessive
wear will reduce the effectiveness of the
chain brake and can render it
inoperable.
For the proper and effective operation of
the chain brake, the brake band and
clutch drum must be kept free of dirt,
grease and other foreign matter which
may reduce friction of the band on the
drum.
For these reasons, each STIHL chain
saw should be returned to trained
personnel such as your STIHL servicing
dealer for periodic inspection and
servicing of the brake system according
to the following schedule:
Heavy usage – every three months,
Moderate usage – twice a year,
Occasional usage – annually.
The chain saw should also be returned
immediately for maintenance whenever
the brake system cannot be thoroughly
cleaned or there is a change in its
operating characteristics.
For any maintenance of the emission
control system please refer to the
maintenance chart and to the limited
warranty statement near the end of the
instruction manual.
Do not clean your machine with a
pressure washer. The solid jet of water
may damage parts of the machine.
Store chain saw in a dry place and away
from children. Before storing for longer
than a few days, always empty the fuel
tank (see chapter "Storing the Machine"
in the instruction manual).
STIHL is the only manufacturer in the
industry to produce its own chain saws,
guide bars, saw chains and chain
sprockets.
A cutting attachment consists of the saw
chain, guide bar and chain sprocket.
The cutting attachment that comes
standard is designed to exactly match
the chain saw.
–The pitch (t) of the saw chain (1),
chain sprocket and the nose
sprocket of the Rollomatic guide bar
must match.
–The drive link gauge (2) of the saw
chain (1) must match the groove
width of the guide bar (3).
If non-matching components are used,
the cutting attachment may be damaged
beyond repair after a short period of
operation.
Cutting Attachment
001BA248 KN
1
2
3
a

MS 251, MS 251 C
English
24
Chain scabbard
Your saw comes standard with a chain
scabbard that matches the cutting
attachment.
If you use guide bars of different lengths
on the saw, the length of the chain
scabbard must be matched to the guide
bar to help reduce the risk of injury. It
should cover the full length of the guide
bar.
The length of the matching guide bars is
marked on the side of the chain
scabbard.
Removing the chain sprocket cover
NUnscrew the nut and remove the
chain sprocket cover.
NTurn the screw (1)
counterclockwise until the tensioner
slide (2) butts against the left end of
the housing slot.
Disengage the chain brake.
NPull the hand guard towards the
front handle until there is an audible
click – the chain brake is
disengaged.
Fitting the chain
WARNING
Wear work gloves to protect your hands
from the sharp cutters.
NFit the chain – start at the bar nose.
001BA244 KN
Mounting the Bar and Chain
(side chain tensioner)
533BA001 KN
1
2
001BA185 KN
001BA186 KN
143BA003 KN

MS 251, MS 251 C
English
25
NFit the guide bar over the studs (1) –
the cutting edges on the top of the
bar must point to the right.
NEngage the peg of the tensioner
slide in the locating hole (2) –- place
the chain over the sprocket (3) at
the same time.
NTurn the tensioning
screw (4)clockwise until there is
very little chain sag on the
underside of the bar – and the drive
link tangs are engaged in the bar
groove.
NRefit the sprocket cover and screw
on the nut only fingertight.
NGo to chapter on "Tensioning the
Saw Chain"
Removing the chain sprocket cover
NSwing grip (1) into position (until it
engages)
NTurn the wing nut (2) to the left until
it hangs loosely in the chain
sprocket cover (3)
NRemove chain sprocket cover (3)
Mounting the tensioning gear
NRemove and reverse tensioning
gear (1)
NRemove screw (2)
NPosition tensioning gear (1) and
guide bar (3) relative to one another
NInsert and tighten screw (2)
31
1
24
001BA187 KN
Mounting the Bar and Chain
(quick chain tensioner)
1
2
3
2310BA013 KN
1
2310BA014 KN
2310BA015 KN
2
1
3
2310BA016 KN
2
2310BA017 KN

MS 251, MS 251 C
English
26
Releasing the chain brake
NPull hand guard towards the front
handle until it engages audibly –
chain brake is released
Fitting the saw chain
WARNING
Put on protective gloves – risk of injury
by the sharp cutters.
NFit the saw chain – starting at the
nose of the guide bar – pay attention
to the position of the tensioning gear
and the cutting edges
NTurn tensioning gear (1) to the right
as far as possible
NTurn the guide bar so that the
tensioning gear faces the user
NPlace the saw chain on the chain
sprocket (2)
NSlide the guide bar over the collar
screw (3); the head of the rear collar
screw must protrude into the oblong
hole
NGuide the drive link into the bar
groove (see arrow) and turn the
tensioning gear to the left as far as
possible
NFit chain sprocket cover, sliding the
guide lugs into the engine housing
openings
When fitting the chain sprocket cover,
the teeth of the adjusting wheel and the
tensioning gear must mesh; if
necessary,
001BA186 KN
1
181BA012 KN
2
3
181BA013 KN
135BA011 KN
4
5
2310BA018 KN

MS 251, MS 251 C
English
27
Nturn the adjusting wheel (4) a little
until the chain sprocket cover can
be slid completely against the
engine housing
NSwing grip (5) into position (until it
engages)
NFit wing nut and tighten lightly
NNext step: see "Tensioning the Saw
Chain"
Retensioning during cutting work:
NSwitch off the engine.
NLoosen the nut.
NHold the bar nose up.
NUse a screwdriver to turn the
tensioning screw (1) clockwise until
the chain fits snugly against the
underside of the bar.
NWhile still holding the bar nose up,
tighten down the nut firmly.
NGo to "Checking Chain Tension".
A new chain has to be retensioned more
often than one that has been in use for
some time.
NCheck chain tension frequently –
see chapter on "Operating
Instructions".
Retensioning during cutting work:
NShut off the engine.
NPull out the hinged clip and loosen
the wingnut.
NTurn the adjusting wheel (1)
clockwise as far as stop.
NTighten down the wingnut (2) firmly
by hand.
NFold down the hinged clip.
NGo to "Checking Chain Tension"
A new chain has to be retensioned more
often than one that has been in use for
some time.
NCheck chain tension frequently –
see chapter on "Operating
Instructions".
Tensioning the Saw Chain
(side chain tensioner)
1
142BA063 KN
Tensioning the Saw Chain
(quick chain tensioner)
1
2
001BA112 KN

MS 251, MS 251 C
English
28
NShut off the engine.
NWear work gloves to protect your
hands.
NThe chain must fit snugly against
the underside of the bar and it must
still be possible to pull the chain
along the bar by hand when the
chain brake is released.
NIf necessary, retension the chain.
A new chain has to be retensioned more
often than one that has been in use for
some time.
NCheck chain tension frequently –
see chapter on "Operating
Instructions".
This engine is certified to operate on
unleaded gasoline and the STIHL two-
stroke engine oil at a mix ratio of 50:1.
Your engine requires a mixture of high-
quality gasoline and two-stroke air
cooled engine oil.
Use mid-grade unleaded gasoline with a
minimum octane rating of 89 ((R+M)/2)
and no more than 10% ethanol content.
Fuel with a lower octane rating may
increase engine temperatures. This, in
turn, increases the risk of piston seizure
and damage to the engine.
The chemical composition of the fuel is
also important. Some fuel additives not
only detrimentally affect elastomers
(carburetor diaphragms, oil seals, fuel
lines, etc.), but magnesium castings and
catalytic converters as well. This could
cause running problems or even
damage the engine. For this reason
STIHL recommends that you use only
high-quality unleaded gasoline!
Gasoline with an ethanol content of
more than 10% can cause running
problems and major damage in engines
with a manually adjustable carburetor
and should not be used in such engines.
The ethanol content in gasoline affects
engine running speed – it may be
necessary to readjust the carburetor if
you use fuels with various ethanol
contents.
WARNING
To reduce the risk of personal injury
from loss of control and/or contact with
the running cutting tool, do not use your
unit with incorrect idle adjustment. At
correct idle speed, the cutting tool
should not move.
If your power tool shows an incorrect idle
adjustment, have your STIHL dealer
check your power tool and make proper
adjustments and repairs.
The idle speed and maximum speed of
the engine change if you switch from a
fuel with a certain ethanol content to
another fuel with a much higher or lower
ethanol content.
This problem can be avoided by always
using fuel with the same ethanol
content.
Use only STIHL two-stroke engine oil or
equivalent high-quality two-stroke
engine oils that are designed for use
only in air cooled two-cycle engines.
We recommend STIHL HP Ultra 2-Cycle
Engine Oil since it is specially
formulated for use in STIHL engines.
Do not use BIA or TCW rated (two-
stroke water cooled) mix oils or other
mix oils that state they are for use in both
water cooled and air cooled engines
(e.g., outboard motors, snowmobiles,
chain saws, mopeds, etc.).
WARNING
Take care when handling gasoline.
Avoid direct contact with the skin and
avoid inhaling fuel vapor. When filling at
the pump, first remove the container
from your vehicle and place the
Checking Chain Tension
142BA064 KN
Fuel

MS 251, MS 251 C
English
29
container on the ground before filling. To
reduce the risk of sparks from static
discharge and resulting fire and/or
explosion, do not fill fuel containers that
are sitting in or on a vehicle or trailer.
The container should be kept tightly
closed in order to limit the amount of
moisture that gets into the mixture.
The machine‘s fuel tank should be
cleaned as necessary.
Fuel mix ages
Only mix sufficient fuel for a few days
work, not to exceed 3 months of storage.
Store in approved fuel-containers only.
When mixing, pour oil into the container
first, and then add gasoline. Close the
container and shake it vigorously by
hand to ensure proper mixing of the oil
with the fuel.
Dispose of empty mixing-oil containers
only at authorized disposal locations.
Preparations
NBefore fueling, clean the filler cap
and the area around it to ensure that
no dirt falls into the tank.
Always thoroughly shake the mixture in
the canister before fueling your
machine.
NPosition the machine so that the
filler cap is facing up.
WARNING
In order to reduce the risk of fire and
other personal injury from escaping gas
vapor and fumes, remove the fuel filler
cap carefully so as to allow any pressure
build-up in the tank to release slowly
Filler cap markings
Filler caps and fuel tanks may be
marked in different ways.
Depending on the version, your unit may
be equipped with a filler cap and fuel
tank with or without symbols.
Filler cap without symbols
Opening
NRaise handle.
NTwist filler cap counterclockwise
(approx. 1/4 turn).
Gaso-
line
Oil (STIHL 50:1 or equiva-
lent high-quality oils)
US gal. US fl.oz.
12.6
2 1/2 6.4
512.8
Fueling
001BA229 KN
Left: Filler cap without symbols.
Right: Filler cap with markings and
symbols on cap and tank.
001BA240 KN
001BA218 KN
001BA219 KN

MS 251, MS 251 C
English
30
NRemove the filler cap.
Refueling
Take care not to spill fuel while fueling
and do not overfill the tank – leave
approx. 1/2" (13 mm) air space.
Closing
Handle is in an upright position:
NInsert the cap – positioning marks
on the cap and the fuel tank opening
must line up.
NThe cap should drop fully into the
opening in this position.
NPush the filler cap down and twist it
clockwise until it engages.
NFlip the handle down.
Checking for proper closure
NThe lug on the grip must engage
entirely in the recess (arrow), and
the grip must lie completely flush
with the top of the cap.
NGrip the cap and check for
tightness.
NIf the cap can be moved, it is not
properly installed.
Misalignment of the cap parts
NIf the cap does not drop fully into the
opening when the positioning marks
line up and/or if the cap does not
tighten properly when twisted, the
base of the cap may be rotated out
of position vis-à-vis the top.
NSuch misalignment can result from
handling, cleaning or an improper
attempt at tightening.
001BA224 KN
001BA220 KN
001BA221 KN
001BA222 KN
001BA223 KN
Left: Base of improperly aligned
cap (with open space)
Right: Base of cap correctly posi-
tioned for installation
001BA225 KN
001BA227 KN

MS 251, MS 251 C
English
31
NTo correct a misalignment, turn the
cap (with the grip up) until it drops
fully into the tank opening.
NTwist the cap counterclockwise as
far as it will go (approx. 1/4 turn) –
this will twist the base of the cap into
the correct position.
NTwist the cap clockwise, closing it
normally – see the sections
"Closing" and "Checking for proper
closure."
NIf your cap still does not tighten
properly, it may be damaged or
broken; immediately stop use of the
unit and take it to your authorized
STIHL dealer for repair.
Filler cap with markings and symbols
Opening
NRaise handle.
NTwist filler cap counterclockwise
(approx. 1/4 turn).
Markings on filler cap and housing must
align.
NRemove the filler cap.
Refueling
Take care not to spill fuel while fueling
and do not overfill the tank – leave
approx. 1/2" (13 mm) air space.
Closing
Handle is in an upright position:
NPosition filler cap – markings on filler
cap and housing must align.
NPush the filler cap down as far as it
will go.
NPush the filler cap down and twist it
clockwise until it engages.
Then the markings on filler cap and
housing will align.
001BA226 KN
001BA236 KN
001BA232 KN
001BA234 KN
001BA237 KN
001BA234 KN
001BA233 KN
001BA231 KN

MS 251, MS 251 C
English
32
NFlip the handle down.
Filler cap is now closed.
If the filler cap will not engage into the
tank housing
The base of the filler cap is rotated in
relation to the upper part.
NLook at the black alignment marks
on the top of the filler cap. NWith the filler cap in the filling neck,
twist it counterclockwise until it
drops into its seat.
NContinue to twist the filler cap
counterclockwise (approx. 1/4 turn)
– this will twist the base of the cap
into the correct position.
NWhile pushing down on the cap,
twist the filler cap clockwise and
close it – see section "Closing."
For automatic and reliable lubrication of
the chain and guide bar – use only an
environmentally compatible quality
chain and bar lubricant. Rapidly
biodegradable STIHL Bioplus is
recommended.
NOTICE
Biological chain oil must be resistant to
aging (e.g. STIHL Bioplus) since it will
otherwise quickly turn to resin. This
results in hard deposits that are difficult
to remove, especially in the area of the
chain drive and chain. It may even cause
the oil pump to seize.
The service life of the chain and guide
bar depends on the quality of the
lubricant. It is therefore essential to use
only a specially formulated chain
lubricant.
WARNING
Do not use waste oil. Renewed contact
with waste oil can cause skin cancer.
Moreover, waste oil is environmentally
harmful.
NOTICE
Waste oil does not have the necessary
lubricating properties and is unsuitable
for chain lubrication.
001BA235 KN
001BA241 KN
Left: Base of filler cap is rotated –
interior marking (1) is aligned
with the exterior marking.
Right: Base of filler cap is in the cor-
rect position – interior
marking is below the clip. It
does not align with the exte-
rior marking.
1
001BA238 KN
001BA239 KN
Chain Lubricant

MS 251, MS 251 C
English
33
Preparations
NThoroughly clean the oil filler cap
and the area around it to ensure that
no dirt falls into the tank.
NPosition the machine so that the
filler cap is facing up.
NOpen the filler cap.
Filling chain oil tank
NRefill the chain oil tank every time
you refuel.
Take care not to spill chain oil while
refilling and do not overfill the tank.
NClose the filler cap.
There must still be a small amount of oil
in the oil tank when the fuel tank is
empty.
If the oil level in the tank does not go
down, the reason may be a fault in the oil
supply system: Check chain lubrication,
clean the oilways, contact your dealer
for assistance if necessary STIHL
recommends that you have servicing
and repair work carried out exclusively
by an authorized STIHL servicing
dealer.
The saw chain must always throw off a
small amount of oil.
NOTICE
Never operate your saw without chain
lubrication. If the chain runs dry, the
whole cutting attachment will be
irretrievably damaged within a very short
time. Always check chain lubrication and
the oil level in the tank before starting
work.
Every new chain has to be broken in for
about 2 to 3 minutes.
After breaking in the chain, check chain
tension and adjust if necessary – see
"Checking Chain Tension".
Filling Chain Oil Tank
001BA158 KN
Checking Chain Lubrication
143BA024 KN

MS 251, MS 251 C
English
34
Locking chain with chain brake
–in an emergency
–when starting
–at idling speed
The chain is stopped and locked when
the hand guard is pushed toward the bar
nose by the left hand – or when brake is
activated by inertia in certain kickback
situations.
Releasing the chain brake
NPull the hand guard back toward the
front handle.
NOTICE
Always disengage chain brake before
accelerating engine and before starting
cutting work. The only exception to this
rule is when you check operation of the
chain brake.
High revs with the chain brake engaged
(chain locked) will quickly damage the
powerhead and chain drive (clutch,
chain brake).
The chain brake is designed to be
activated also by the inertia of the front
hand guard
if the forces are sufficiently high. The
hand guard is accelerated toward the
bar nose - even if your left hand is not
behind the hand guard, e.g. during a
felling cut. The chain brake will operate
only if it has been properly maintained
and the hand guard has not been
modified in any way.
Check operation of chain brake
Before starting work: Run engine at idle
speed, engage the chain brake (push
hand guard toward bar nose).
Accelerate up to full throttle for no more
than 3 seconds – the chain must not
rotate. The hand guard must be free
from dirt and move freely.
Chain brake maintenance
The chain brake is subject to normal
wear. It is necessary to have it serviced
and maintained regularly by trained
personnel, such as your STIHL servicing
dealer, at the following intervals:
Chain Brake
143BA011 KN
143BA012 KN
Full-time usage: every 3
months
Part-time usage: every 6
months
Occasional usage: every 12
months

MS 251, MS 251 C
English
35
Preheating the carburetor
NRemove the shroud – see "Shroud".
At temperatures below +50°F (+10°C)
NUse a screwdriver to pry the shutter
out of the summer position (s).
NFit the shutter in the winter
position (r) with its opening facing
the chain saw – the shutter must
engage audibly in position.
NInstall the shroud – see "Shroud".
Heated air is now drawn in from around
the cylinder to warm the carburetor – this
helps prevent carburetor icing.
At temperatures above +70°F (+20°C)
NAlways return the shutter to the
summer position (s ) to avoid
engine running problems and
overheating.
At temperatures below +14°F (-10°C)
NIf your saw is very cold (frost or ice
on machine), start the engine and
keep it at a high idle speed (with
chain brake disengaged) until it
reaches normal operating
temperature.
If idling behavior is erratic or
acceleration is poor:
NTurn the low speed screw (L) 1/4 of
a turn counterclockwise.
It is usually necessary to change the
setting of the idle speed screw (LA) after
every correction to the low speed
screw (L) – see "Adjusting the
Carburetor".
Filter system
NConvert the air filter if necessary –
see "Air Filter System".
Versions with Easy2Start
WARNING
This machine is extremely simple and
easy to start, even for children.
To reduce the risk of serious or fatal
injury:
–do not allow children or other
unauthorized persons to attempt to
start or otherwise use the machine
–never allow children or
unauthorized persons access to the
machine
–never leave the machine
unattended while working or during
work breaks
–after work, store in a safe, secure
location out of the reach of children
and other unauthorized persons
Winter Operation
2310BA000 KN
2310BA001 KN
Starting / Stopping the
Engine

MS 251, MS 251 C
English
36
Positions of Master Control lever
Stop 0 – engine off – the ignition is
switched off
Normal run position (F) – engine runs or
can fire.
Starting throttle (n) – this position is
used to start a warm engine. The Master
Control lever moves to the normal run
position as soon as the throttle trigger is
squeezed.
Choke shutter closed (l) – this position
is used to start a cold engine.
Setting the Master Control Lever
To move the Master Control lever from
the normal run position (F) to choke
closed (l), press down the throttle
trigger lockout and squeeze the throttle
trigger at the same time and hold them in
that position – now set the Master
Control lever.
To select the starting throttle
position (n), move the Master Control
lever to choke closed (l) first, then
push it into the starting throttle
position (n).
The Master Control lever must be in the
choke closed position (l) for the
changeover to the starting throttle
position (n).
The Master Control lever moves from
the starting throttle position (n) to the
run position (F) when you press down
the throttle trigger lockout and blip the
throttle trigger at the same time.
To switch off the engine, move the
Master Control lever to Stop (0).
Choke shutter closed (l)
–if the engine is cold
–If the engine stalls when you open
the throttle after starting.
–If the fuel tank was run until empty
(engine stopped).
Starting throttle position (n)
–If the engine is warm, i.e. if it has
been running for about one minute.
–when the engine begins to fire.
–after clearing a flooded combustion
chamber.
Fuel Pump
Press the fuel pump bulb several times –
even if the bulb is already filled with fuel:
–When starting for the first time.
–If the fuel tank was run until empty
(engine stopped).
Holding the Saw
There are two ways of holding the saw
when starting.
STOP
0
001BA140 KN

MS 251, MS 251 C
English
37
On the ground
NPlace your saw on the ground.
Make sure you have a firm footing –
check that the chain is not touching
any object or the ground.
NHold the saw firmly on the ground
with your left hand on the front
handle – your thumb should be
under the handle.
NPut your right foot into the rear
handle and press down.
Between knees or thighs
NHold the rear handle tightly between
your legs, just above the knees.
NHold the front handle firmly with
your left hand – your thumb should
be under the handle.
Cranking
Standard versions
NPull the starter grip slowly with your
right hand until you feel it engage –
and then give it a brisk strong pull
and push down the front handle at
the same time. Do not pull out the
starter rope to full length – it might
otherwise break. Do not let the
starter grip snap back. Guide it
slowly back into the housing so that
the starter rope can rewind properly.
Machines without additional manual fuel
pump: If the engine is new or after a long
out-of-service period, it may be
necessary to pull the starter rope several
times to prime the fuel system.
2310BA008 KN
2310BA009 KN
231BA010 KN

MS 251, MS 251 C
English
38
Versions with Easy2Start
The Easy2Start stores the energy
required to start the saw. For this reason
there may be a delay of a few seconds
between cranking the engine and it
actually starting.
There are two ways of starting machines
with Easy2Start:
NHold the starter grip with your right
hand and pull it out slowly and
steadily – or – hold the starter grip
with your right hand and give it
several short pulls, using only a
short length of rope for each pull.
NPush down the handle while
cranking. Do not pull out the rope to
its full length – it might otherwise
break.
NDo not let the starter grip snap back.
Guide it slowly back into the housing
so that the starter rope can rewind
properly.
Starting the saw
WARNING
Bystanders must be well clear of the
general work area of the saw.
NObserve safety precautions.
Versions with manual fuel pump
NPress the fuel pump bulb at least
five times – even if the bulb is
already filled with fuel.
All models
NPush the hand guard (1) forward –
the chain is locked.
NPress down the trigger lockout (2)
and pull the throttle trigger (3) at the
same time. Set Master Control
lever (4) to:
Choke shutter closed (l)
–If the engine is cold (also use this
position if the engine stopped when
you opened the throttle after
starting)
Starting throttle position (n)
–If the engine is warm, i.e. if it has
been running for about one minute.
NHold and start your saw as
described.
When Engine Begins to Fire
NSet the Master Control lever (4) to
the starting throttle position (n).
NHold and start your saw as
described.
2310BA021 KN
3
1
2
4
2310BA002 KN
0
4
2310BA003 KN
STOP
0

MS 251, MS 251 C
English
39
As Soon as Engine Runs
NPress down trigger trigger lockout
and the blip the throttle trigger (3) –
the Master Control lever (4) moves
to the run position (F) and the
engine settles down to idling speed.
NOTICE
As the chain brake is still engaged, the
engine must be returned to idling speed
immediately – or the engine housing and
chain brake might otherwise be
damaged.
NPull the hand guard back toward the
front handle.
The chain brake is now disengaged –
your saw is ready for operation.
NOTICE
Always disengage chain brake before
accelerating the engine. High revs with
the chain brake engaged (chain locked)
will quickly damage the clutch and chain
brake.
At very low outside temperatures
NAllow engine to warm up at part
throttle.
NChange over to winter operation if
necessary – see “Winter Operation”.
Shutting Off the Engine
NMove the Master Control lever to the
stop position (0).
If Engine Does Not Start
If you did not move the Master Control
lever from the choke closed
position (l) to the starting throttle
position (n) quickly enough after the
engine began to fire, the combustion
chamber may be flooded.
NMove the Master Control lever to the
stop position (0).
NRemove the spark plug – see
"Spark Plug".
NDry the spark plug.
NCrank the engine several times with
the starter to clear the combustion
chamber.
NRefit the spark plug – see "Spark
Plug".
NSet Master Control lever to the
starting throttle position (n) – even
if the engine is cold.
NNow start the engine.
3
4
2310BA004 KN
STOP
0
001BA186 KN

MS 251, MS 251 C
English
40
During the break-in period
A factory new machine should not be run
at high revs (full throttle off load) for the
first three tank fillings. This avoids
unnecessarily high loads during the
break-in period. As all moving parts
have to bed in during the break-in
period, the frictional resistances in the
shortblock are greater during this period.
The engine develops its maximum
power after about 5 to 15 tank fillings.
During work
NOTICE
Do not make the mixture leaner to
achieve an apparent increase in power –
this could damage the engine – see
"Adjusting the Carburetor".
NOTICE
Open the throttle only when the chain
brake is off. Running the engine at high
revs with the chain brake engaged
(chain locked) will quickly damage the
shortblock and chain drive (clutch, chain
brake).
Check chain tension frequently
A new saw chain must be retensioned
more frequently than one that has been
in use already for an extended period.
Chain cold
Tension is correct when the chain fits
snugly against the underside of the bar
but can still be pulled along the bar by
hand. Retension if necessary – see
"Tensioning the Saw Chain".
Chain at operating temperature
The chain stretches and begins to sag.
The drive links must not come out of the
bar groove on the underside of the bar –
the chain may otherwise jump off the
bar. Retension the chain – see
"Tensioning the Saw Chain".
NOTICE
The chain contracts as it cools down. If it
is not slackened off, it can damage the
crankshaft and bearings.
After a long period of full-throttle
operation
After a long period of full-throttle
operation, allow engine to run for a while
at idle speed so that the heat in the
engine can be dissipated by flow of
cooling air. This protects engine-
mounted components (ignition,
carburetor) from thermal overload.
After finishing work
NSlacken off the chain if you have
retensioned it at operating
temperature during work.
NOTICE
Always slacken off the chain again after
finishing work. The chain contracts as it
cools down. If it is not slackened off, it
can damage the crankshaft and
bearings.
Short-term storage
Wait for engine to cool down. Keep the
machine with a full tank of fuel in a dry
place, well away from sources of
ignition, until you need it again.
Long-term storage
See "Storing the machine"
Operating Instructions

MS 251, MS 251 C
English
41
NTurn the guide bar over – every time
you sharpen the chain and every
time you replace the chain – this
helps avoid one-sided wear,
especially at the nose and
underside of the bar.
NRegularly clean the oil inlet hole (1),
the oilway (2) and the bar groove
(3).
NMeasure the groove depth – with the
scale on the filing gauge (special
accessory) – in the area used most
for cutting.
If groove depth is less than specified:
NReplace the guide bar.
The drive link tangs will otherwise
scrape along the bottom of the groove –
the cutters and tie straps will not ride on
the bar rails.
Remove shroud
NMove the Master Control Lever to
the stop position 0
NPush the front hand guard forwards
– the saw chain is blocked
NLoosen screws (1)
NRemove the shroud (2)
Refitting the shroud
NRefit the shroud and tighten the
screws
Taking Care of the Guide Bar
2
3
1
143BA026 KN
Chain
type
Chain pitch Minimum
groove depth
Picco 1/4" P 0.16" (4.0 mm)
Rapid 1/4" 0.16" (4.0 mm)
Picco 3/8" P 0.20" (5.0 mm)
Rapid 3/8"; 0.325" 0.24" (6.0 mm)
Rapid 0.404" 0.28" (7.0 mm)
Shroud
1
1
1
2710BA003 KN
2

MS 251, MS 251 C
English
42
The air filter system can be adapted to
suit different operating conditions by
installing different filters. Changing the
filter is quick and simple.
Fleece filter
NFleece filter for normal operating
conditions and dry work areas.
HD2 filter
NHD2 filter (black filter frame, pleated
filter material) for extreme wintry
conditions (e.g. powder or drifting
snow) or very dusty work areas.
If there is a noticeable loss of engine
power
NRemove the shroud – see "Shroud"
Removing the air filter
NClean away loose dirt from around
the filter
NOTICE
Do not use tools to remove and install
the air filter – the air filter could be
damaged in the process.
NTurn air filter 1/4 turn
counterclockwise and remove in the
direction of the rear handle
NAlways replace a damaged filter
Cleaning the air filter
NKnock out the filter or blow it clear
with compressed air from the inside
outwards
If knocking-out or blowing-out does not
suffice, or in the case of stubborn dirt or
stuck filter fabric, the filter must be
subjected to a thorough cleaning.
Thorough filter cleaning
NWash the filter in STIHL special-
purpose cleaner (special
accessory) or a clean, non-
flammable cleaning liquid (e. g.,
warm soapy water) – rinse the filter
from inside to out under a water jet
– do not use high-pressure cleaners
NDry all filter parts – do not expose to
extreme heat
NDo not oil the filter
NReinstall filter
Installing the air filter
NFit air filter
NPress the air filter in the direction of
the filter housing and
simultaneously turn it clockwise
until the air filter engages – the
"STIHL" logo must be horizontal
NFit the shroud – see "Shroud"
Air Filter System
5902BA009 KN
5902BA008 KN
Cleaning the Air Filter
1.
2710BA000 KN
2.
2710BA001 KN
2. 1.

MS 251, MS 251 C
English
43
Exhaust emissions are controlled by the
design of the fundamental engine
parameters and components (e.g.
carburation, ignition, timing and valve or
port timing) without the addition of any
major hardware.
General Information
The carburetor comes from the factory
with a standard setting.
This setting provides an optimum fuel-air
mixture under most operating
conditions.
Standard Setting
NShut off the engine.
NCheck the air filter and clean or
replace if necessary.
NCheck the spark arresting screen
(not in all models, country-specific)
in the muffler and clean or replace if
necessary.
NTurn high speed screw (H)
counterclockwise as far as stop (no
more than 3/4 turn).
NTurn the low speed screw (L)
carefully clockwise as far as stop,
then turn it back 1/4 turn.
Adjusting Idle Speed
NCarry out the standard setting.
NStart and warm up the engine.
Engine stops while idling
NTurn the idle speed screw (LA)
clockwise until the chain begins to
run – then back it off 1 full
Saw chain runs while engine is idling
NTurn the idle speed screw (LA)
counterclockwise until the chain
stops moving – then turn it another
1 turn in the same direction.
WARNING
If the chain continues moving when the
engine is idling, have your saw checked
and repaired by your servicing dealer.
Erratic idling behavior, poor acceleration
(even though standard setting of low
speed screw is correct)
Idle setting is too lean
NTurn the low speed screw (L)
counterclockwise, no further than
stop, until the engine runs and
accelerates smoothly.
Engine Management Adjusting the Carburetor
2310BA027 KN
2310BA028 KN

MS 251, MS 251 C
English
44
It is usually necessary to change the
setting of the idle speed screw (LA) after
every correction to the low speed
screw (L).
Fine Tuning for Operation at High
Altitude
A slight correction of the setting may be
necessary if engine does not run
satisfactorily:
NCarry out the standard setting.
NWarm up the engine.
NTurn high speed screw (H) slightly
clockwise (leaner) – no further than
stop.
NOTICE
After returning from high altitude, reset
the carburetor to the standard setting.
If the setting is too lean there is a risk of
engine damage due to insufficient
lubrication and overheating.
In some countries, the muffler is fitted
with a spark arresting screen.
NIf engine performance deteriorates,
check the spark arresting screen in
the muffler
NLet the muffler cool down
NRemove screw (1)
NPull out spark arresting screen (2)
NClean the dirty spark arresting
screen, replace if damaged or
heavily carbonized
NRefit the spark arresting screen
NFit screw
If engine is down on power, difficult to
start or runs poorly at idling speed, first
check the spark plug.
Fit a new spark plug after approx. 100
operating hours or earlier if the
electrodes are badly eroded.
Wrong fuel mix (too much engine oil in
the gasoline), a dirty air filter and
unfavorable running conditions (mostly
at part throttle etc.) affect the condition
of the spark plug. These factors cause
deposits to form on the insulator nose
which may result in trouble in operation.
Removing the spark plug
NRemove the shroud – see "Shroud"
NPull off the spark plug boot
NUnscrew spark plug
Spark Arresting Screen in
Muffler
2310BA023 KN
2
1
Spark Plug
2310BA006 KN

MS 251, MS 251 C
English
45
Checking the Spark Plug
NClean dirty spark plug.
NCheck electrode gap (A) and
readjust if necessary – see
"Specifications."
NUse only resistor type spark plugs of
the approved range.
Rectify problems that have caused
fouling of spark plug:
–too much oil in fuel mix,
–dirty air filter,
–unfavorable running conditions, e.g.
operating at part load.
WARNING
To reduce the risk of fire and burn injury,
use only spark plugs authorized by
STIHL. Always press spark plug boot (1)
snugly onto spark plug terminal (2) of the
proper size. (Note: If terminal has
detachable SAE adapter nut, it must be
securely attached.) A loose connection
between spark plug boot and ignition
wire connector in the boot may create
arcing that could ignite combustible
fumes and cause a fire.
Installing the spark plug
NFit spark plug by hand
NTighten the spark plug and press on
the spark plug boot firmly
NFit the shroud – see "Shroud"
000BA039 KN
A
1
2
000BA071 KN
2310BA012 KN

MS 251, MS 251 C
English
46
Removing the fan housing
NRemove the shroud – see "Shroud".
NTake out the screws (1).
NPush the hand guard upwards.
NPull the underside of the fan
housing away from the crankcase
and remove it downwards.
Removing the Rope Rotor
Versions with Easy2Start
If suitable circlip pliers are not available,
have the starter rope or rewind spring
replaced by your servicing dealer.
NUse circlip pliers to carefully remove
the circlip (1).
NRemove the washer (2), carrier (3)
and spring housing (4).
All versions with one pawl
NUse a screwdriver or suitable pliers
to remove the spring clip (1) from
the starter post.
NCarefully remove the rope rotor with
washer (2) and pawl (3).
WARNING
The rewind spring may pop out and
uncoil during this operation – take care
to avoid the risk of injury.
All versions with two pawls
NUse a screwdriver or suitable pliers
to remove the spring clip (1) from
the starter post.
NCarefully remove the rope rotor with
washer (2) and pawls (3).
WARNING
The rewind spring may pop out and
uncoil during this operation – take care
to avoid the risk of injury.
Replacing a Broken Starter Rope
Standard versions
NRemove the remaining rope from
the rotor and starter grip.
NThread the new rope through the
starter grip and tie one of the knots
shown.
NPull the knot back into the grip.
Replacing the Starter Rope
and Rewind Spring
1
1
1
1
5902BA028 KN
1
5902BA017 KN
2
3
4
1
2
3
2710BA004 KN
2
33
5902BA018 KN
1
213BA018 KN

MS 251, MS 251 C
English
47
Models with ElastoStart
NPry the cap out of the starter grip.
NRemove the remaining rope from
the rotor and starter grip.
NThread the new rope through the
starter grip and tie a simple
overhand knot.
NPull the knot back into the grip.
NRefit the cap in the grip.
Versions with Easy2Start
NRemove the remaining rope from
the rotor and starter grip.
NThread the new rope through the
starter grip and tie one of the knots
shown.
Installing the Rope Rotor
NThread the end of the rope through
the top of the guide bushing (1) and
rope rotor (2) and secure it with a
simple overhand knot.
NCoat the rope rotor bearing bore
with non-resinous oil.
NSlip the rotor over the starter
post (3) – turn it back and forth to
engage the anchor loop of the
rewind spring.
5902BA019 KN
146BA018 KN
151BA021 KN
2
3
5902BA021 KN
1

MS 251, MS 251 C
English
48
Versions with one pawl
NRefit the pawl (3) in the rotor and fit
the washer (2) on the starter post.
NUse a screwdriver or suitable pliers
to install the spring clip (1) on the
starter post and engage it on the
pawl's pegs – the spring clip must
point clockwise as shown in the
illustration.
Versions with two pawls
NFit the pawls (3) in the rotor and fit
the washer (2) on the starter post.
NUse a screwdriver or suitable pliers
to install the spring clip (1) on the
starter post and engage it on the
pawls' pegs – the spring clip must
point clockwise as shown in the
illustration.
Tensioning the Rewind Spring
NMake a loop in the unwound starter
rope and use it to turn the rope rotor
six full revolutions in the direction of
the arrow.
NHold the rotor steady. Pull out and
straighten the twisted rope.
NRelease the rope rotor.
NRelease the rope slowly so that it
winds onto the rotor.
The starter grip must locate firmly in the
guide bushing. If the grip droops to one
side: Add one more turn on the rope
rotor to increase spring tension.
NOTICE
When the starter rope is fully extended it
must still be possible to rotate the rotor
another half turn. If this is not the case,
the spring is overtensioned and could
break.
NTake one turn of the rope off the
rotor.
Versions with Easy2Start
NFit the spring housing, driver and
washer on the starter post.
NUse circlip pliers to carefully install
the circlip in the starter post groove.
All models
NFit the fan housing and shroud.
Replacing a Broken Rewind Spring
NRemove the rope rotor as described
in "Replacing a broken starter rope".
WARNING
The bits of spring may still be under
tension and could fly apart when you
take them out of the fan housing. To
reduce the risk of injury, wear face
protection and work gloves.
NUse a screwdriver to carefully
remove the parts of the spring from
the housing.
NLubricate the new spring with a few
drops of non-resinous oil.
NPlace the new spring with frame in
position in the fan housing – the
anchor loop (arrow) must engage
the lug in the housing.
NApply suitable tools (screwdriver,
punch, etc.) to the recesses and
push the spring into its seat in the
fan housing – it slips out of the frame
in this process.
1
2
3
2710BA004 KN
2
33
5902BA018 KN
1
213BA021 KN
213BA022 KN

MS 251, MS 251 C
English
49
NFit the rope rotor and tension the
rewind spring.
NFit the fan housing and shroud. For periods of 3 months or longer
NDrain and clean the fuel tank in a
well ventilated area.
NDispose of fuel properly in
accordance with local
environmental requirements.
NRun the engine until the carburetor
is dry – this helps prevent the
carburetor diaphragms sticking
together.
NRemove the saw chain and guide
bar, clean them and spray with
corrosion inhibiting oil.
NThoroughly clean the machine – pay
special attention to the cylinder fins
and air filter.
NIf you use a biological chain and bar
lubricant, e.g. STIHL BioPlus,
completely fill the chain oil tank.
NStore the machine in a dry, high or
locked location, out of the reach of
children and other unauthorized
persons.
NRemove chain sprocket cover, saw
chain and guide bar.
NRelease chain brake – pull hand
guard against the front handle
Fit new chain sprocket
–after use of two saw chains or
earlier
–if the wear marks (arrows) are
deeper than 0.02 in (0.5 mm) –
otherwise the service life of the saw
chain is reduced – use check gauge
(special accessory) to test
Using two saw chains in alternation
helps preserve the chain sprocket.
Use only STIHL original chain sprockets
to help ensure reliable functioning of the
chain brake.
Storing the Machine Checking and Replacing the
Chain Sprocket
001BA121 KN

MS 251, MS 251 C
English
50
NUse a screwdriver to remove the E-
clip (1)
NRemove the washer (2)
NRemove rim sprocket (3) (if so
equipped), clutch drum (4) and
needle cage (6).
NInspect transport profile for rim
sprocket on the clutch drum (4) – if
there are also heavy signs of wear,
also replace the clutch drum
NRemove clutch drum with integrated
spur chain sprocket (5) (if so
equipped) including needle cage (6)
from the crankshaft – for
powerheads with Quickstop Plus
chain brake system, depress
throttle trigger lockout beforehand
Install spur chain sprocket / rim sprocket
NClean crankshaft stub and needle
cage and lubricate with STIHL
lubricant (special accessory)
NSlide needle cage onto the
crankshaft stub
NAfter refitting, turn the clutch drum
and/or spur chain sprocket approx.
1 full turn so that the carrier for the
oil pump drive engages
NRefit the rim sprocket – cavities
toward the outside
NRefit washer and E-clip on the
crankshaft
Sawing effortlessly with a properly
sharpened saw chain
A properly sharpened saw chain cuts
through wood effortlessly even with very
little pushing.
Never use a dull or damaged saw chain
– this leads to increased physical strain,
increased vibration load, unsatisfactory
cutting results and increased wear.
NClean the saw chain
NCheck the saw chain for cracks and
damaged rivets
NReplace damaged or worn chain
components and adapt these parts
to the remaining parts in terms of
shape and level of wear – rework
accordingly
Carbide-tipped (Duro) saw chains are
especially wear-resistant. For an optimal
sharpening result, STIHL recommends
STIHL servicing dealers.
WARNING
Compliance with the angles and
dimensions listed below is absolutely
necessary. An improperly sharpened
saw chain – especially depth gauges
that are too low – can lead to increased
kickback tendency of the chain saw –
risk of injury!
001BA122 KN
1
2
4
5
6
1
2
3
6
Maintaining and Sharpening
the Saw Chain

MS 251, MS 251 C
English
51
Chain pitch
The chain pitch marking (a) is embossed
in the area of the depth gauge of each
cutter.
The diameter of file to be used depends
on the chain pitch – see table
"Sharpening tools".
The angles of the cutter must be
maintained during resharpening.
Sharpening and side plate angles
ASharpening angle
STIHL saw chains are sharpened with a
30° sharpening angle. Ripping chains,
which are sharpened with a 10°
sharpening angle, are exceptions.
Ripping chains have an X in the
designation.
BSide plate angle
The correct side plate angle results
automatically when the specified file
holder and file diameter are used.
The angles must be identical for all
cutters in the saw chain. Varying angles:
Rough, uneven running of the saw
chain, increased wear – even to the
point of saw chain breakage.
File holder
NUse a file holder
Always use a file holder (special
accessory, see table "Sharpening tools")
when sharpening saw chains by hand.
File holders have markings for the
sharpening angle.
Use only special saw chain files! Other
files are unsuitable in terms of shape
and type of cutting.
To check the angles
STIHL filing gauge (special accessory,
see table "Sharpening tools") – a
universal tool for checking sharpening
and side plate angles, depth gauge
setting, and tooth length, as well as
cleaning grooves and oil inlet holes.
Marking (a) Chain pitch
Inches mm
7 1/4 P 6.35
1 or 1/4 1/4 6.35
6, P or PM 3/8 P 9.32
2 or 325 0.325 8.25
3 or 3/8 3/8 9.32
4 or 404 0.404 10.26
689BA027 KN
a
Tooth shapes Angle (°)
AB
Micro = semi-chisel tooth,
e. g., 63 PM3, 26 RM3,
36 RM
30 75
Super = full chisel tooth,
e. g., 63 PS3, 26 RS,
36 RS3
30 60
Ripping chain, e. g.,
63 PMX, 36 RMX
10 75
A
B
689BA021 KN
689BA025 KN
001BA203 KN

MS 251, MS 251 C
English
52
Proper sharpening
NSelect sharpening tools in
accordance with chain pitch
NClamp guide bar if necessary
NBlock saw chain – push the hand
guard forward
NTo advance the saw chain, pull the
hand guard toward the handlebar:
The chain brake is disengaged.
With the Quickstop Plus chain brake
system, additionally press the
throttle trigger lockout
NSharpen frequently, removing little
material – two or three strokes of the
file are usually sufficient for simple
resharpening
NGuide the file: horizontally (at a right
angle to the side surface of the
guide bar) in accordance with the
specified angle – according to the
markings on the file holder – rest the
file holder on the tooth head and the
depth gauge
NFile only from the inside outward
NThe file only sharpens on the
forward stroke – lift the file on the
backstroke
NDo not file tie straps and drive links
NRotate the file a little periodically in
order to avoid uneven wear
NTo remove file burr, use a piece of
hardwood
NCheck angle with file gauge
All cutters must be equally long.
With varying cutter lengths, the cutter
heights also vary and cause rough
running of the saw chain and chain
breakage.
NAll cutters must be filed down equal
to the length of the shortest cutter –
ideally, one should have this done
by a servicing dealer using an
electric sharpener
Depth gauge setting
The depth gauge determines the depth
to which the cutter penetrates the wood
and thus the chip thickness.
aRequired distance between depth
gauge and cutting edge
When cutting softwood outside of the
frost season, the distance can be
increased by up to 0.2 mm (0.008").
Lowering the depth gauges
The depth gauge setting is lowered
when the cutter is sharpened.
NCheck the depth gauge setting after
each sharpening
NLay the appropriate file gauge (1)
for the chain pitch on the saw chain
and press it against the cutter to be
checked – if the depth gauge
protrudes past the file gauge, the
depth gauge must be reworked
689BA018 KN
90°
689BA043 KN
689BA023 KN
a
Chain pitch Depth gauge
Distance (a)
Inches (mm) mm (Inches)
1/4 P (6.35) 0.45 (0.018)
1/4 (6.35) 0.65 (0.026)
3/8 P (9.32) 0.65 (0.026)
0.325 (8.25) 0.65 (0.026)
3/8 (9.32) 0.65 (0.026)
0.404 (10.26) 0.80 (0.031)
2
689BA061 KN
1

MS 251, MS 251 C
English
53
Saw chains with humped drive link (2) –
upper part of the humped drive link (2)
(with service mark) is lowered at the
same time as the depth gauge of the
cutter.
WARNING
The rest of the humped drive link must
not be filed; otherwise, this could
increase the tendency of the chain saw
to kick back.
NRework the depth gauge so that it is
flush with the file gauge
NAfterwards, dress the leading edge
of the depth gauge parallel to the
service mark (see arrow) – when
doing this, be careful not to further
lower the highest point of the depth
gauge
WARNING
Depth gauges that are too low increase
the kickback tendency of the chain saw.
NLay the file gauge on the saw chain
– the highest point of the depth
gauge must be flush with the file
gauge
NAfter sharpening, clean the saw
chain thoroughly, removing any
filings or grinding dust – lubricate
the saw chain thoroughly
NIn the event of extended periods of
disuse, store saw chains in cleaned
and oiled condition
689BA051 KN
689BA044 KN
689BA052 KN
Sharpening tools (special accessories)
Chain pitch Round file ^Round file File holder File gauge Taper square file Sharpening set
1)
Inches (mm) mm (Inches) Part number Part number Part number Part number Part number
1/4 P (6.35) 3.2 (1/8) 5605 771 3206 5605 750 4300 0000 893 4005 0814 252 3356 5605 007 1000
1/4 (6.35) 4.0 (5/32) 5605 772 4006 5605 750 4327 1110 893 4000 0814 252 3356 5605 007 1027
3/8 P (9.32) 4.0 (5/32) 5605 772 4006 5605 750 4327 1110 893 4000 0814 252 3356 5605 007 1027
0.325 (8.25) 4.8 (3/16) 5605 772 4806 5605 750 4328 1110 893 4000 0814 252 3356 5605 007 1028
3/8 (9.32) 5.2 (13/64) 5605 772 5206 5605 750 4329 1110 893 4000 0814 252 3356 5605 007 1029
0.404 (10.26) 5.5 (7/32) 5605 772 5506 5605 750 4330 1106 893 4000 0814 252 3356 5605 007 1030
1) consisting of file holder with round file, taper square file and file gauge

MS 251, MS 251 C
English
54
Maintenance and Care
The following intervals apply to normal operating conditions only. If your daily work-
ing time is longer or operating conditions are difficult (very dusty work area, resin-
rich wood, tropical wood, etc.), shorten the specified intervals accordingly. If you only
use the saw occasionally, extend the intervals accordingly.
before starting work
after finishing work or daily
after each refueling stop
weekly
monthly
every 12 months
if problem
if damaged
if required
Complete machine Visual inspection (condition, leaks) XX
Clean X
Throttle trigger, trigger interlock, Master
Control Check operation XX
Chain brake Check operation XX
Have checked by servicing dealer1)2) X
Pickup body/filter in fuel tank
Check X
Clean, replace filter element XX
Replace XXX
Fuel tank Clean X
Chain oil tank Clean X
Chain lubrication Check X
Saw chain
Inspect, also check sharpness XX
Check chain tension XX
Sharpen X
Guide bar
Check (wear, damage) X
Clean and turn over X
Deburr X
Replace XX
Chain sprocket Check X
Air filter Clean XX
Replace X
Antivibration Elements Check XX
Have replaced by dealer1) X

MS 251, MS 251 C
English
55
Cooling inlets Clean X
Air inlet on fan housing Clean XXX
Cylinder fins Clean XX X
Preseparator port and carburetor body Clean X
"Carb preheat" shutter and preheating port Clean (winter operation only) X
Carburetor
Check idle adjustment – chain must not
rotate XX
Readjust idle X
Spark plug Readjust electrode gap X
Replace after every 100 operating hours
All accessible screws and nuts (not adjust-
ing screws) 3) Retighten X
Spark arresting screen4) in muffler Check X
Clean or replace X
Chain catcher Check X
Replace X
Exhaust port Decoke after first 139 hours of opera-
tion, then every 150 hours X
Safety labels Replace X
1) STIHL recommends a STIHL servicing dealer.
2) see chapter on "Chain Brake"
3) Firmly tighten down the cylinder base screws of professional saws (3.4 kW or more) after 10 to 20 hours of operation.
4) not in all versions, market-specific
The following intervals apply to normal operating conditions only. If your daily work-
ing time is longer or operating conditions are difficult (very dusty work area, resin-
rich wood, tropical wood, etc.), shorten the specified intervals accordingly. If you only
use the saw occasionally, extend the intervals accordingly.
before starting work
after finishing work or daily
after each refueling stop
weekly
monthly
every 12 months
if problem
if damaged
if required

MS 251, MS 251 C
English
56
1Shroud Lock
2Carburetor Adjusting Screws
3Fuel Pump1)
4Shutter (Summer and Winter
Operation)
5Chain Brake
6Chain Sprocket
7Chain Sprocket Cover
8Chain Catcher
9Side Chain Tensioner1)
10 Bumper Spike
11 Guide Bar
12 Oilomatic Saw Chain
13 Adjusting Wheel1) for Quick Chain
Tensioner
14 Handle of Wingnut1) for Quick Chain
Tensioner
15 Oil Filler Cap
16 Muffler (with Spark Arresting
Screen)
17 Front Hand Guard
18 Front Handle (Handlebar)
19 Spark Plug Boot
20 Starter Grip
21 Fuel Filler Cap
22 Master Control Lever
23 Throttle Trigger
24 Throttle Trigger Lockout
25 Rear Handle
26 Rear Hand Guard
#Serial Number
Main Parts
4
8
21
10
15
16 1
1
#
13
2310BA007 KN
17
714
11
12
6
9
3
1
23
24
22
19
20
18
5
7
25
26
2
1) Depending on Model

MS 251, MS 251 C
English
57
Definitions
1 Shroud Lock
Lock for the shroud.
2 Carburetor Adjusting Screws
For tuning the carburetor.
3 Fuel Pump
Provides additional fuel feed for a
cold start.
4 Shutter (Summer and Winter
Operation)
With summer and winter positions.
Carburetor is heated in winter
position.
5Chain Brake
A device to stop the rotation of the
chain. Is activated in a kickback
situation by the operator's hand or
by inertia.
6 Chain Sprocket
The toothed wheel that drives the
saw chain.
7 Chain Sprocket Cover
Covers the sprocket.
8 Chain Catcher
Helps to reduce the risk of operator
contact by a chain when it breaks or
comes off the bar.
9 Side Chain Tensioner
Permits precise adjustment of chain
tension.
10 Bumper Spike
Toothed stop for holding saw steady
against wood.
11 Guide Bar
Supports and guides the saw chain.
12 Oilomatic Saw Chain
A loop consisting of cutters, tie
straps and drive links.
13 Adjusting Wheel for Quick Chain
Tensioner
Permits precise adjustment of chain
tension.
14 Handle of Wingnut for Quick Chain
Tensioner
Has to be released to tension chain
with adjusting wheel.
15 Oil Filler Cap
For closing the oil tank.
16 Muffler (with Spark Arresting
Screen)
Muffler reduces engine exhaust
noise and diverts exhaust gases
away from operator.
Spark arresting screen is designed
to reduce the risk of fire.
17 Front Hand Guard
Provides protection against
projecting branches and helps
prevent left hand from touching the
chain if it slips off the handlebar. It
also serves as the lever for chain
brake activation.
18 Front Handle (Handlebar)
Handlebar for the left hand at the
front of the saw.
19 Spark Plug Boot
Connects the spark plug with the
ignition lead.
20 Starter Grip
The grip of the pull starter, for
starting the engine.
21 Fuel Filler Cap
For closing the fuel tank.
22 Master Control Lever
Lever for choke control, starting
throttle, run and stop switch
position.
23 Throttle Trigger
Controls the speed of the engine.
24 Throttle Trigger Lockout
Must be depressed before the
throttle trigger can be activated.
25 Rear Handle
The support handle for the right
hand, located at the rear of the saw.
26 Rear Hand Guard
Gives added protection to
operator's right hand.
Guide Bar Nose
The exposed end of the guide bar.
(not illustrated, see chapter
"Tensioning the Saw Chain")
Clutch
Couples engine to chain sprocket
when engine is accelerated beyond
idle speed. (not illustrated)
Anti-Vibration System
The anti-vibration system includes a
number of anti-vibration elements
designed to reduce the
transmission of vibrations created
by the engine and cutting
attachment to the operator's hands.
(not illustrated)

MS 251, MS 251 C
English
58
EPA / CEPA
The Emission Compliance Period
referred to on the Emissions
Compliance Label indicates the number
of operating hours for which the engine
has been shown to meet Federal
emission requirements.
Category
Engine
STIHL single cylinder two-stroke engine
MS 251, MS 251 C
Ignition System
Electronic magneto ignition
Fuel System
All position diaphragm carburetor with
integral fuel pump
Chain Lubrication
Fully automatic, speed-controlled oil
pump with rotary piston
Weight
Cutting Attachment
Recommended cutting attachments
complying with Section 5.11 of ANSI B
175.1-2000.
Observe notes on ANSI B 175.1-2000
and definition of "low kickback chain" in
chapter on "Safety Precautions and
Working Techniques".
Rollomatic E 3/8" P guide bars
Rollomatic E .325" guide bars
3/8" P chain
.325" saw chains
Specifications
A = 300 hours
B = 125 hours
C = 50 hours
Displacement: 2.78 cu.in
(45.6 cm3)
Bore: 1.73 in (44 mm)
Stroke: 1.18 in (30 mm)
Engine power to
ISO 7293:
3.0 hp (2.2 kW) at
9,500 rpm
Idle speed: 2,800 rpm
High speed setting
when performing
repairs (with bar and
chain): 13,000 rpm
Spark plug (resistor
type): NGK CMR6H
Electrode gap: 0.02 in (0.5 mm)
Fuel tank capacity: 13.2 fl.oz (0.39 L)
Oil tank capacity: 6.7 fl.oz (0.2 L)
dry, without bar and chain
MS 251 11.0 lbs
(4.9 kg)
MS 251 C with quick chain
adjuster and
Easy2Start:
11.5 lbs
(5.2 kg)
Reduced kickback STIHL guide bar
(with green label)
Cutting lengths: 12, 14, 16, 18 in
(30, 35, 40, 45 cm)
Pitch: 3/8" P (9.32 mm)
Groove width: 0.050 in (1.3 mm)
Nose sprocket: 9-tooth
Reduced kickback STIHL guide bar
(with green label)
Cutting lengths: 14, 16, 18 in (35,
40, 45 cm)
Pitch: .325" (8.25 mm)
Groove width: 0.063 in (1.6 mm)
Nose sprocket: 11-tooth
Low kickback STIHL saw chains (with
green label)
Picco Micro 3 (63 PM3) Type 3636
Picco Super 3 (63 PS3) Type 3616
Picco Duro (63 PD3) Type 3612
Pitch: 3/8" P (9.32 mm)
Drive link gauge: 0.050 in (1.3 mm)
Low kickback STIHL saw chains (with
green label)
Rapid Micro 3 (26 RM3) Type 3634
Rapid Duro 3 (26 RD3) Type 3667
Pitch: .325" (8.25 mm)
Drive link gauge: 0.063 in (1.6 mm)

MS 251, MS 251 C
English
59
Chain sprockets
To ensure compliance with the kickback
properties required in Section 5.11 of
ANSI B 175.1-2000, only use
replacement chains that, when used
with this specific powerhead, comply
with Section 5.11 of the ANSI standard
or are classed as "low kickback" chains
according to ANSI B 175.1-2000.
Please ask your STIHL dealer for the
latest recommendations on new
bar/chain combinations developed after
publication of this instruction manual.
Contact your STIHL dealer for
information regarding special
accessories that may be available for
your product.
Please enter your saw model, serial
number as well as the part numbers of
the guide bar and saw chain in the
spaces provided. This will make re-
ordering simpler.
The guide bar and saw chain are subject
to normal wear and tear. When
purchasing these parts, always quote
the saw model, the part numbers and
names of the parts.
See "Specifications" in this manual for
the recommended reduced kickback
cutting attachments.
6-tooth for 3/8" (spur sprocket)
7-tooth for 0.325" (spur sprocket)
Special Accessories Ordering Spare Parts
Model
Serial number
Guide bar part number
Chain part number

MS 251, MS 251 C
English
60
Users of this unit should carry out only
the maintenance operations described
in this manual. Other repair work may be
performed only by authorized STIHL
service shops.
Warranty claims following repairs can be
accepted only if the repair has been
performed by an authorized STIHL
servicing dealer using original STIHL
replacement parts.
Original STIHL parts can be identified by
the STIHL part number, the {
logo and, in some cases, by the STIHL
parts symbol K. The symbol may
appear alone on small parts.
Observe all country-specific waste
disposal rules and regulations.
STIHL products must not be thrown in
the garbage can. Take the product,
accessories and packaging to an
approved disposal site for environment-
friendly recycling.
Contact your STIHL servicing dealer for
the latest information on waste disposal.
Your Warranty Rights and Obligations
The U.S. Environmental Protection
Agency (EPA) and STIHL Incorporated
are pleased to explain the Emission
Control System Warranty on your
equipment type engine. In the U.S. new
1997 and later model year small off-road
equipment engines must be designed,
built and equipped, at the time of sale, to
meet the U.S. EPA regulations for small
non road engines. The equipment
engine must be free from defects in
materials and workmanship which
cause it to fail to conform with U.S. EPA
standards for the first two years of
engine use from the date of sale to the
ultimate purchaser.
STIHL Incorporated must warrant the
emission control system on your small
off-road engine for the period of time
listed below provided there has been no
abuse, neglect or improper maintenance
of your small off-road equipment engine.
Your emission control system includes
parts such as the carburetor and the
ignition system. Also included may be
hoses, and connectors and other
emission-related assemblies.
Where a warrantable condition exists,
STIHL Incorporated will repair your
small off-road equipment engine at no
cost to you including diagnosis (if the
diagnostic work is performed at an
authorized dealer), parts and labor.
Maintenance and Repairs Disposal
000BA073 KN
STIHL Incorporated Federal
Emission Control Warranty
Statement

MS 251, MS 251 C
English
61
Manufacturer's Warranty Coverage
In the U.S., 1997 and later model year
small off-road equipment engines are
warranted for two years. If any emission-
related part on your engine is defective,
the part will be repaired or replaced by
STIHL Incorporated free of charge.
Owner's Warranty Responsibilities
As the small off-road equipment engine
owner, you are responsible for the
performance of the required
maintenance listed in your instruction
manual. STIHL Incorporated
recommends that you retain all receipts
covering maintenance on your small off-
road equipment engine, but STIHL
Incorporated cannot deny warranty
solely for the lack of receipts or for your
failure to ensure the performance of all
scheduled maintenance.
Any replacement part or service that is
equivalent in performance and durability
may be used in non-warranty
maintenance or repairs, and shall not
reduce the warranty obligations of the
engine manufacturer.
As the small off-road equipment engine
owner, you should be aware, however,
that STIHL Incorporated may deny you
warranty coverage if your small off-road
equipment engine or a part has failed
due to abuse, neglect, improper
maintenance or unapproved
modifications.
You are responsible for presenting your
small off-road equipment engine to a
STIHL service center as soon as a
problem exists. The warranty repairs will
be completed in a reasonable amount of
time, not to exceed 30 days.
If you have any questions regarding your
warranty rights and responsibilities,
please contact a STIHL customer
service representative at 1-800-467-
8445 or you can write to
STIHL Inc.,
536 Viking Drive, P.O. Box 2015,
Virginia Beach, VA 23450-2015
www.stihlusa.com
Coverage by STIHL Incorporated
STIHL Incorporated warrants to the
ultimate purchaser and each
subsequent purchaser that your small
off-road equipment engine will be
designed, built and equipped, at the time
of sale, to meet all applicable
regulations. STIHL Incorporated also
warrants to the initial purchaser and
each subsequent purchaser that your
engine is free from defects in materials
and workmanship which cause the
engine to fail to conform with applicable
regulations for a period of two years.
Warranty Period
The warranty period will begin on the
date the utility equipment engine is
purchased by the initial purchaser and
you have signed and sent back the
warranty card to STIHL.
If any emission-related part on your
engine is defective, the part will be
replaced by STIHL Incorporated at no
cost to the owner. Any warranted part
which is not scheduled for replacement
as required maintenance, or which is
scheduled only for regular inspection to
the effect of "repair or replace as
necessary" will be warranted for the
warranty period. Any warranted part
which is scheduled for replacement as
required maintenance will be warranted
for the period of time up to the first
scheduled replacement point for that
part.
Diagnosis
You, as the owner, shall not be charged
for diagnostic labor which leads to the
determination that a warranted part is
defective. However, if you claim
warranty for a component and the
machine is tested as non-defective,
STIHL Incorporated will charge you for
the cost of the emission test. Mechanical
diagnostic work will be performed at an
authorized STIHL servicing dealer.
Emission test may be performed either
at STIHL Incorporated or at any
independent test laboratory.
Warranty Work
STIHL Incorporated shall remedy
warranty defects at any authorized
STIHL servicing dealer or warranty
station. Any such work shall be free of
charge to the owner if it is determined
that a warranted part is defective.
Any manufacturer-approved or
equivalent replacement part may be
used for any warranty maintenance or
repairs on emission-related parts and
must be provided without charge to the
owner. STIHL Incorporated is liable for

MS 251, MS 251 C
English
62
damages to other engine components
caused by the failure of a warranted part
still under warranty.
The following list specifically defines the
emission-related warranted parts:
–Air Filter
–Carburetor (if applicable)
–Fuel Pump
–Choke (Cold Start Enrichment
System) (if applicable)
–Control Linkages
–Intake Manifold
–Magneto or Electronic Ignition
System (Ignition Module or
Electronic Control Unit)
–Fly Wheel
–Spark Plug
–Injection Valve (if applicable)
–Injection Pump (if applicable)
–Throttle Housing (if applicable)
–Cylinder
–Muffler
–Catalytic Converter (if applicable)
–Fuel Tank
–Fuel Cap
–Fuel Line
–Fuel Line Fittings
–Clamps
–Fasteners
Where to make a Claim for Warranty
Service
Bring the product to any authorized
STIHL servicing dealer and present the
signed warranty card.
Maintenance Requirements
The maintenance instructions in this
manual are based on the application of
the recommended 2-stroke fuel-oil
mixture (see also instruction "Fuel").
Deviations from this recommendation
regarding quality and mixing ratio of fuel
and oil may require shorter maintenance
intervals.
Limitations
This Emission Control Systems
Warranty shall not cover any of the
following:
Nrepair or replacement required
because of misuse, neglect or lack
of required maintenance,
Nrepairs improperly performed or
replacements not conforming to
STIHL Incorporated specifications
that adversely affect performance
and/or durability, and alterations or
modifications not recommended or
approved in writing by STIHL
Incorporated,
and
Nreplacement of parts and other
services and adjustments
necessary for required maintenance
at and after the first scheduled
replacement point.
STIHL Registered Trademarks
STIHL®
{
K
The color combination orange-grey
(U.S. Registrations #2,821,860;
#3,010,057, #3,010,058, #3,400,477;
and #3,400,476)
4-MIX®
AUTOCUT®
EASYSTART®
FARM BOSS®
iCademy®
MAGNUM®
MasterWrench Service®
MotoMix®
OILOMATIC®
STIHL Cutquik®
Trademarks

MS 251, MS 251 C
English
63
STIHL DUROMATIC®
STIHL Quickstop®
STIHL ROLLOMATIC®
STIHL WOOD BOSS®
TIMBERSPORTS®
WOOD BOSS®
YARD BOSS®
Some of STIHL’s Common Law
Trademarks
BioPlus ™
Easy2Start ™
EasySpool ™
ElastoStart ™
Ematic ™
FixCut ™
HT Plus ™
IntelliCarb ™
Master Control Lever ™
Micro ™
Pro Mark ™
Quad Power ™
Quiet Line ™
STIHL Arctic ™
STIHL Compact ™
STIHL HomeScaper Series ™
STIHL Interchangeable Attachment
Series ™
STIHL M-Tronic ™
STIHL MiniBoss ™
STIHL MotoPlus 4 ™
STIHL Multi-Cut HomeScaper Series ™
STIHL OUTFITTERS ™
STIHL PICCO ™
STIHL PolyCut ™
STIHL PowerSweep ™
STIHL Precision Series ™
STIHL Protech ™
STIHL RAPID ™
STIHL SuperCut ™
STIHL Territory ™
TapAction ™
TrimCut ™
This listing of trademarks is subject to
change.
Any unauthorized use of these
trademarks without the express written
consent of
ANDREAS STIHL AG & Co. KG,
Waiblingen is strictly prohibited.
TM
STIHL
Injection

Manual de instrucciones original Impreso en papel libre de cloro.
Las tintas contienen aceites vegetales, el papel es reciclable.
© ANDREAS STIHL AG & Co. KG, 2013
0458-737-8621-A. VA1.B13.
0000006312_002_EA
MS 251, MS 251 C
español / EE.UU
64
{Este manual de instrucciones está protegido por derechos de propiedad intelectual. Todos los derechos reservados, especial-
mente los derechos de reproducción, traducción y procesamiento con sistemas electrónicos.
Contenido
Permita que solamente las personas
que comprenden la materia tratada en
este manual manejen su motosierra.
Para obtener el rendimiento y
satisfacción máximos de la motosierra
STIHL, es importante que lea,
comprenda y respete las medidas de
seguridad y las instrucciones de uso y
mantenimiento dadas en el capítulo
"Medidas de seguridad y técnicas de
uso", antes de usar su motosierra. Para
obtener información adicional, visite
www.stihlusa.com.
Comuníquese con su representante de
STIHL o el distribuidor de STIHL para su
zona si no se entiende alguna de las
instrucciones dadas en el presente
manual.
ADVERTENCIA
Dado que la motosierra es una
herramienta para cortar madera que
funciona a gran velocidad, es necesario
tomar medidas especiales de seguridad
igual que con cualquier sierra
motorizada, para reducir el riesgo de
lesiones. El uso descuidado o
inadecuado puede causar lesiones
graves e incluso mortales.
Acerca de este manual de
instrucciones 65
Medidas de seguridad y técnicas
de manejo 66
Accesorio de corte 90
Montaje de la espada y cadena
(tensor lateral de la cadena) 90
Montaje de la espada y cadena
(tensor rápido de la cadena) 91
Tensado de la cadena de aserrado
(tensor lateral de la cadena) 93
Tensado de la cadena de aserrado
(tensor rápido de la cadena) 94
Revisión de tensión de la cadena 94
Combustible 94
Llenado de combustible 96
Lubricante de cadena 99
Llenado del tanque de aceite de la
cadena 100
Revisión de lubricación de la
cadena 100
Freno de la cadena 101
Manejo durante el invierno 102
Arranque / parada del motor 102
Instrucciones para el uso 107
Cuidado de la espada 108
Cubierta 108
Sistema de filtro de aire 109
Limpieza del filtro de aire 109
Gestión del motor 110
Ajuste del carburador 110
Chispero en el silenciador 111
Bujía 111
Sustitución de la cuerda de
arranque y del resorte de
rebobinado 113
Almacenamiento de la máquina 116
Revisión y sustitución del piñón de
cadena 116
Mantenimiento y afilado de la
cadena de aserrado 117
Información para mantenimiento 122
Componentes importantes 124
Especificaciones 126
Accesorios especiales 128
Pedido de piezas de repuesto 128
Información de reparación 128
Desecho 129
Declaración de garantía de STIHL
Incorporated sobre sistemas de
control de emisiones según normas
Federales 129
Marcas comerciales 132

MS 251, MS 251 C
español / EE.UU
65
Pictogramas
Todos los pictogramas que se
encuentran fijados o grabados en la
máquina se explican en este manual.
Según el modelo, los pictogramas
siguientes pueden aparecer en su
máquina.
Símbolos en el texto
Muchas de las instrucciones de uso y
seguridad vienen acompañadas de
ilustraciones.
Los pasos individuales o
procedimientos descritos en el manual
pueden estar señalados en diferentes
maneras:
NSe usa un punto para denotar un
paso o procedimiento.
Una descripción de un paso o
procedimiento que se refiere
directamente a una ilustración puede
contener números de referencia que
aparecen en la ilustración. Ejemplo:
NSuelte el tornillo (1).
NPalanca (2) ...
Además de las instrucciones de uso, en
este manual pueden encontrarse
párrafos a los que usted debe prestar
atención especial. Tales párrafos están
marcados con los símbolos y las
palabras identificadoras que se
describen a continuación.
PELIGRO
Indica un riesgo inminente de lesiones
graves o mortales.
ADVERTENCIA
Identifica una situación de peligro que,
al no evitarse, puede resultar en
lesiones graves o mortales.
INDICACIÓN
Indica el riesgo de daños a la propiedad,
incluyendo a la máquina o sus
componentes.
Mejoramientos técnicos
La filosofía de STIHL es mejorar
continuamente todos sus productos.
Como resultado de ello, periódicamente
se introducen cambios de diseño y
mejoras. Por lo tanto, es posible que
algunos cambios, modificaciones y
mejoras no se describen en este
manual. Si las características de
funcionamiento o la apariencia de su
máquina difieren de las descritas en
este manual, comuníquese con el
concesionario STIHL para obtener la
ayuda que requiera.
Acerca de este manual de
instrucciones
Tanque de combustible;
mezcla de gasolina y
aceite de motor
Depósito de aceite de
cadena; aceite de
cadena
Aplicación y soltado del
freno de la cadena STIHL
Quickstop
Sentido de rotación de la
cadena
Ematic; control de canti-
dad de aceite de cadena
Tensión de la cadena
Precalentamiento del aire
de admisión para funcio-
namiento en invierno
Aire de admisión para
funcionamiento en
verano
Calentador de manillar
Uso de válvula de
descompresión
Uso de bomba manual de
combustible

MS 251, MS 251 C
español / EE.UU
66
ADVERTENCIA
Las fuerzas reactivas, incluido el
contragolpe, pueden ser peligrosas.
Preste especial atención a la sección en
la que se habla de las fuerzas reactivas.
Pida a su concesionario STIHL que le
enseñe el manejo de la herramienta
motorizada. Todas las medidas de
seguridad que por lo general se toman
cuando se trabaja con un hacha o sierra
manual también son aplicables al
manejo de las motosierras Respete
todas las disposiciones, reglamentos y
normas de seguridad federales,
estatales y locales del caso. Por
ejemplo, cuando utilice una motosierra
para cortar troncos, consulte los
reglamentos de OSHA para "trabajos de
aprovechamiento forestal", en la
parte 29 del Código de Disposiciones
Federales 1910.266.
ADVERTENCIA
No preste ni alquile nunca su
herramienta motorizada sin entregar el
manual de instrucciones. Asegúrese
que todas las personas que utilicen la
máquina lean y comprendan la
información contenida en este manual.
ADVERTENCIA
El uso de esta máquina puede ser
peligroso. La cadena de aserrado tiene
muchos cortadores afilados. Si los
cortadores entran en contacto con
alguna parte del cuerpo del operador, le
causarán una herida, aunque la cadena
esté detenida.
Use la motosierra solamente para cortar
objetos de madera.
ADVERTENCIA
No debe usarse para ningún otro
propósito ya que el uso indebido puede
resultar en lesiones personales o daños
a la propiedad, incluso daños de la
máquina.
ADVERTENCIA
Nunca se debe permitir a los niños que
usen esta herramienta motorizada. No
se debe permitir la proximidad de otros,
especialmente niños y animales, donde
se esté utilizando la máquina.
ADVERTENCIA
Para reducir el riesgo de ocasionar
lesiones a las personas en la cercanía y
daños a la propiedad, nunca deje la
herramienta motorizada en marcha
desatendida. Cuando no está en uso
(por ejemplo durante el descanso),
apáguela y asegúrese de que las
personas no autorizadas no puedan
usarla.
La mayoría de las medidas de seguridad
y avisos contenidos en este manual se
refieren al uso de todas las motosierras
de STIHL. Los distintos modelos pueden
contar con piezas y controles diferentes.
Vea la sección correspondiente de su
manual de instrucciones para tener una
descripción de los controles y la función
de los componentes de su modelo.
El uso seguro de una motosierra atañe a
1el operador
2la herramienta motorizada
3el uso de la herramienta
motorizada.
EL OPERADOR
Condición física
Usted debe estar en buenas
condiciones físicas y psíquicas y no
encontrarse bajo la influencia de
ninguna sustancia (drogas, alcohol,
etc.) que le pueda restar visibilidad,
destreza o juicio. No maneje esta
máquina cuando está fatigado.
Medidas de seguridad y
técnicas de manejo
Dado que la motosierra
es una herramienta de
corte que funciona a gran
velocidad, es necesario
tomar medidas especia-
les de seguridad para
reducir el riesgo de
lesiones.
Es importante que usted
lea, comprenda bien y
respete las siguientes
advertencias y medidas
de seguridad. Lea el
manual de instrucciones
y las instrucciones de
seguridad
periódicamente. El uso
descuidado o inadecuado
puede causar lesiones
graves o incluso
mortales.

MS 251, MS 251 C
español / EE.UU
67
ADVERTENCIA
Esté alerta. Si se cansa, tómese un
descanso. El cansancio puede provocar
una pérdida del control. El uso de
cualquier herramienta motorizada es
fatigoso. Si usted padece de alguna
dolencia que pueda ser agravada por la
fatiga, consulte a su médico antes de
utilizar esta máquina.
ADVERTENCIA
El uso prolongado de una herramienta
motorizada (u otras máquinas) expone
al operador a vibraciones que pueden
provocar el fenómeno de Raynaud
(dedos blancos) o el síndrome del túnel
carpiano.
Estas condiciones reducen la capacidad
de las manos de sentir y regular la
temperatura, producen entumecimiento
y ardor y pueden provocar trastornos
nerviosos y circulatorios, así como
necrosis de los tejidos.
No se conocen todos los factores que
contribuyen a la enfermedad de
Raynaud, pero se mencionan el clima
frío, el fumar y las enfermedades o
condiciones físicas que afectan los
vasos sanguíneos y la circulación de la
sangre, como asimismo los niveles altos
de vibración.por períodos largos. Por lo
tanto, para reducir el riesgo de la
enfermedad de dedos blancos y del
síndrome del túnel carpiano, sírvase
notar lo siguiente:
–La mayor parte de las herramientas
motorizadas de STIHL se ofrecen
con un sistema antivibración ("AV")
cuyo propósito es reducir la
transmisión de las vibraciones
creadas por la máquina a las manos
del operador. Se recomienda el uso
del sistema AV a aquellas personas
que utilizan herramientas
motorizadas en forma constante y
regular.
–Use guantes y mantenga las manos
abrigadas. Para climas fríos se
recomienda usar mangos
calefaccionados, ofrecidos para
algunos de los motores de STIHL.
–Mantenga el sistema AV en buen
estado. Una herramienta
motorizada con los componentes
flojos o con elementos AV dañados
o desgastados también tendrá
tendencia a tener niveles más altos
de vibración. Mantenga afilada la
cadena de la sierra. Una cadena sin
filo aumentará el tiempo de corte, y
el presionar una cadena roma a
través de la madera aumentará las
vibraciones transmitidas a las
manos.
–Agarre firmemente los mangos en
todo momento, pero no los apriete
con fuerza constante y excesiva.
Tómese descansos frecuentes.
Todas las precauciones antes
mencionadas no le garantizan que va a
estar totalmente protegido contra la
enfermedad de Raynaud o el síndrome
del túnel carpiano. Por lo tanto, los
operadores constantes y regulares
deben revisar con frecuencia el estado
de sus manos y dedos. Si aparece
alguno de los síntomas arriba
mencionados, consulte inmediatamente
al médico.
ADVERTENCIA
El sistema de encendido de la máquina
STIHL produce un campo
electromagnético de intensidad muy
baja. El mismo puede interferir con
algunos tipos de marcapasos. Para
reducir el riesgo de lesiones graves o
mortales, las personas portadoras de
marcapasos deben consultar a sus
médicos y al fabricante del marcapasos
antes de usar esta máquina.
Vestimenta adecuada
ADVERTENCIA
Para reducir el riesgo de lesiones el
operador debe usar el equipo protector
adecuado.

MS 251, MS 251 C
español / EE.UU
68
Esté especialmente alerta y tenga
cuidado cuando se usa protectores de
oídos, ya que los mismos reducen la
posibilidad de oír señales de
advertencia (gritos, alarmas, etc.).
Nunca use una herramienta motorizada
a menos que se usen gafas de
seguridad bien colocadas con
protección superior y lateral adecuada,
que satisfagan la norma ANSI Z 87.1 (o
la norma nacional correspondiente).
Para reducir el riesgo de lesionarse la
cara, STIHL recomienda usar también
una careta o protector facial adecuado
sobre las gafas o anteojos de seguridad.
LA HERRAMIENTA MOTORIZADA
Para las ilustraciones y definiciones de
los componentes de la herramienta
motorizada, vea el capítulo sobre
"Piezas principales".
ADVERTENCIA
Nunca modifique, de ninguna manera,
esta herramienta motorizada. Utilice
únicamente los accesorios y repuestos
suministrados por STIHL o
expresamente autorizados por STIHL
para usarse con el modelo específico de
STIHL. Si bien es posible conectar a la
herramienta motorizada de STIHL
ciertos accesorios no autorizados, su
uso puede ser, en la práctica,
extremadamente peligroso.
Si la máquina experimenta cargas
excesivas para las cuales no fue
diseñada (por ejemplo, impactos
severos o una caída), siempre
asegúrese de que la máquina esté en
buenas condiciones antes de seguir con
el trabajo. Inspeccione específicamente
la integridad del sistema de combustible
(ausencia de fugas) y asegúrese de que
los controles y dispositivos de seguridad
funcionen como es debido. No siga
manejando esta máquina si está
dañada. En caso de dudas, pida que el
concesionario de servicio de STIHL la
revise.
La ropa debe ser de
confección fuerte y ajus-
tada, pero no tanto que
impida la completa liber-
tad de movimiento. Use
pantalones largos hechos
de un material grueso
para protegerse las pier-
nas contra el contacto
con ramas o matorrales.
Para reducir el riesgo de
lesiones, use pantalones
o perneras con almohadi-
llas de material resistente
a cortaduras. Evite el uso
de chaquetas sueltas,
bufandas, corbatas,
joyas, pantalones acam-
panados o con vueltas,
pelo largo suelto o cual-
quier cosa que pueda
engancharse en las
ramas, matorrales o pie-
zas en movimiento de la
máquina. Sujétese el
pelo de modo que quede
sobre los hombros.
Es muy importante tener
una buena superficie de
apoyo para los pies.
Póngase botas gruesas
con suela antideslizante.
Recomendamos las
botas de seguridad con
puntera de acero
Use un casco aprobado
para reducir el riesgo de
lesionarse la cabeza. El
ruido de la motosierra
puede dañar sus oídos.
Siempre use amortigua-
dores del ruido (tapones
u orejeras) para prote-
gerse los oídos. Los
usuarios constantes y
regulares deben some-
terse con frecuencia a un
examen o control
auditivo.
Siempre use guantes
cuando manipule la
máquina y la herramienta
de corte. Los guantes
gruesos y antideslizan-
tes mejoran el manejo y
ayudan a proteger las
manos.

MS 251, MS 251 C
español / EE.UU
69
USO DE LA HERRAMIENTA
MOTORIZADA
Transporte de la herramienta
motorizada
ADVERTENCIA
Para reducir el riesgo de sufrir lesiones
debido al contacto con la cadena de
aserrado, nunca transporte la
herramienta motorizada con la cadena
en marcha. Siempre aplique el freno de
la cadena al llevar la motosierra por más
de unos pocos pasos.
ADVERTENCIA
Siempre apague el motor y coloque la
funda sobre la cadena y la espada antes
de transportar la herramienta
motorizada por una distancia
considerable. Cuando transporte la
máquina en un vehículo, sujétela
firmemente para impedir su vuelco, el
derrame de combustible y el daño a la
máquina.
Puede acarrearse solamente en
posición horizontal. Agarre el mango
delantero de una manera que mantenga
la máquina equilibrada horizontalmente.
Mantenga el silenciador caliente lejos de
su cuerpo y el accesorio de corte detrás
de usted.
Combustible
La herramienta motorizada STIHL utiliza
una mezcla de aceite-gasolina como
combustible (vea el capítulo
"Combustible" en el manual del
propietario).
ADVERTENCIA
Instrucciones para el llenado de
combustible
ADVERTENCIA
Cargue de combustible su herramienta
motorizada en lugares al aire libre bien
ventilados. Siempre apague el motor y
deje que se enfríe antes de llenar de
combustible. Dependiendo del
combustible utilizado, de las
condiciones climáticas y del sistema de
ventilación del tanque, es posible que se
forme vapor de gasolina a presión
dentro del tanque de combustible.
Para reducir el riesgo de quemaduras,
así como otras lesiones corporales
ocasionadas por los escapes de vapor
de gasolina y otras emanaciones, quite
la tapa de llenado de combustible de la
herramienta motorizada
cuidadosamente de modo que la
presión que se pueda haber acumulado
en el tanque se disipe lentamente.
Nunca quite la tapa de llenado de
combustible mientras el motor esté
funcionando.
Elija una superficie despejada para
llenar el tanque y aléjese 3 m (10 pies)
por lo menos del lugar en que lo haya
llenado antes de arrancar el motor.
Limpie todo el combustible derramado
antes de arrancar la máquina.
ADVERTENCIA
001BA115 KN
La gasolina es un com-
bustible muy inflamable.
Si se derrama y arde a
causa de una chispa u
otra fuente de ignición,
puede provocar un incen-
dio y quemaduras graves
o daños a la propiedad.
Tenga sumo cuidado
cuando manipule gaso-
lina o la mezcla de
combustible. No fume
cerca del combustible o
la herramienta motori-
zada, ni acerque ningún
fuego o llama a ellos.
Puede escapar vapor
inflamable del sistema de
combustible.
Compruebe que no exis-
ten fugas de combustible
mientras llena el tanque y
durante el funciona-
miento de la máquina. Si
detecta alguna fuga de
combustible, no arran-
que el motor ni lo haga
funcionar sin antes repa-
rar la fuga y limpiar el
combustible derramado.
Tenga cuidado de no
mancharse la ropa con
combustible. Si la man-
cha, cámbiesela
inmediatamente.

MS 251, MS 251 C
español / EE.UU
70
ADVERTENCIA
Para reducir el riesgo de derramar
combustible y provocar un incendio
debido a una tapa de combustible mal
apretada, coloque la tapa en la posición
correcta y apriétela en la boca de
llenado del tanque.
Tapa sin herramientas con empuñadura
Para hacer esto con esta tapa STIHL,
levante la empuñadura en la parte
superior de la tapa hasta dejarla vertical
a un ángulo de 90°. Inserte la tapa en la
boca de llenado del tanque, alineando
las marcas de posición en la
empuñadura de la tapa con la marca de
"abierto" en la boca del tanque. Utilice la
empuñadura para oprimir la tapa
firmemente hacia abajo mientras la gira
en sentido horario hasta que tope
(aprox. un cuarto de vuelta). La marca
de posición de la tapa ahora deberá
estar alineada con la marca de "cerrado"
en el tanque.
Tapa desalineada, dañada o rota
NSi la tapa no encaja completamente
en la abertura cuando se alinean las
marcas de posición y/o si la tapa no
se aprieta debidamente al girarla, la
base de la tapa puede haber girado
prematuramente (con relación a la
parte superior) hasta la posición
cerrada. Tal desalineación puede
ser resultado de la manipulación,
limpieza o un intento incorrecto de
apriete.
NPara volver a colocar la tapa en
posición abierta para instalarla,
gírela (con la empuñadura hacia
arriba) hasta que caiga
completamente en la abertura del
tanque. A continuación, gire la tapa
en sentido contrahorario hasta que
tope (aprox. 1/4 de vuelta) – esto
gira la base de la tapa a la posición
correcta para la instalación. Luego
gire la tapa en sentido horario,
cerrándola de modo normal.
NSi aún no es posible apretar la tapa
de modo debido, la misma podría
estar averiada o rota; ponga la
001BA234 KN
Doble la empuñadura
dejándola a ras con la
parte superior de la tapa.
Sujete la tapa y com-
pruebe que esté bien
apretada. Si la
empuñadura no queda
completamente a ras con
la tapa y el tope de la
empuñadura no encaja
en la hendidura corres-
pondiente de la abertura
de llenado, o si la tapa
está suelta en la boca de
llenado, la tapa no está
debidamente asentada ni
apretada y es necesario
repetir los pasos previa-
mente descritos.
A
izquierd
a:
Parte inferior de tapa en
posición cerrada – la marca
interior (1) está alineada con
la exterior.
A
derecha:
Parte inferior de tapa en
posición correcta para la
instalación – la marca interior
está bajo el mango y no ali-
neada con la marca exterior.
1
001BA238 KN
001BA239 KN

MS 251, MS 251 C
español / EE.UU
71
máquina fuera de servicio de
inmediato y llévela a un
concesionario STIHL autorizado
para repararla.
Consulte también el capítulo
"Combustible" del Manual de
instrucciones para obtener información
adicional.
Antes de arrancar
Quite el protector de la cadena (la
funda) e inspeccione la motosierra para
verificar que está en buenas
condiciones de funcionamiento.
(Consulte la tabla de mantenimiento
cerca del final de este manual de
instrucciones.)
ADVERTENCIA
Siempre revise la herramienta
motorizada para comprobar que está en
buenas condiciones y que funciona
correctamente antes de arrancarla, en
particular el gatillo de aceleración y su
bloqueo, el interruptor de parada y la
herramienta de corte. El gatillo de
aceleración debe moverse libremente y
siempre debe regresar a la posición de
marcha en vacío por la acción de
resorte. Nunca intente modificar los
controles o los dispositivos de
seguridad.
ADVERTENCIA
No maneje nunca una herramienta
motorizada que esté dañada, mal
ajustada o mantenida o que no fue
armada completa y debidamente.
ADVERTENCIA
Asegúrese de que el casquillo de la
bujía esté firmemente colocado – un
casquillo suelto puede crear un arco
voltaico y encender los vapores del
combustible, provocando un incendio.
Para el armado de la espada y la
cadena, siga el procedimiento descrito
en el capítulo "Montaje de la espada y la
cadena" del manual de instrucciones. La
cadena Oilomatic, la espada y la rueda
dentada STIHL deben coincidir entre sí
en cuanto a calibre y paso. Antes de
cambiar la espada y la cadena, consulte
el capítulo "Especificaciones" en el
manual de instrucciones y la sección
"Contragolpe" y la "norma ANSI
B 175.1-2000 relativa a contragolpes de
las motosierras" más abajo.
ADVERTENCIA
La tensión adecuada de la cadena es
extremadamente importante. Para
evitar el ajuste inadecuado, ejecute los
procedimientos de tensado tal como se
describen en su manual. Para fijar la
espada en su lugar, siempre asegúrese
que la tuerca o tuercas hexagonales
para la cubierta del piñón quedan
firmemente apretadas después de
tensar la cadena. Nunca arranque la
sierra mientras la cubierta del piñón está
suelta. Compruebe la tensión de la
cadena una vez más después de
apretar la tuerca o tuercas y de allí en
adelante en intervalos regulares (cada
vez que se apague la sierra). Si durante
el corte la cadena llega a aflojarse,
apague el motor y ajuste la tensión.
¡Nunca trate de ajustar la cadena
mientras el motor está funcionando!
Mantenga los mangos limpios y secos
en todo momento; es particularmente
importante mantenerlos libres de
humedad, aceite, combustible, grasa o
resinas para garantizar que la máquina
pueda empuñarse firmemente para
mantenerla bajo control seguro.
Arranque
ADVERTENCIA
Para reducir la posibilidad de incendios
y lesiones por quemaduras, arranque el
motor al aire libre, por lo menos 3 m
(10 pies) del lugar en que lo haya
llenado.
Ponga en marcha y maneje su
motosierra sin ayuda de nadie. Para las
instrucciones específicas de arranque,
vea la sección correspondiente del
manual de instrucciones. Los métodos
correctos de arranque reducen el riesgo
de sufrir lesiones.
ADVERTENCIA
Para reducir el riesgo de sufrir lesiones
debido a las fuerzas de reacción y / o al
contacto con la cadena de aserrado,
aplique el freno de la cadena antes de
arrancar la motosierra.
ADVERTENCIA
Nunca arranque el motor por
lanzamiento de la máquina. Este
método es muy peligroso porque usted
puede perder el control de la motosierra.
Hay dos métodos recomendados para
arrancar la motosierra.

MS 251, MS 251 C
español / EE.UU
72
Con el primermétodo recomendado, la
motosierra se arranca apoyada en el
suelo. Asegúrese que el freno de la
cadena esté aplicado (vea el capítulo
"Freno de la cadena" en el manual de
instrucciones) y apoye la motosierra
sobre terreno firme u otra superficie
sólida en un lugar abierto. Mantenga el
equilibrio y elija un buen punto de apoyo
para los pies.
Agarre el mango delantero firmemente
con la mano izquierda y haga presión
hacia abajo. Para las sierras con mango
trasero que queda a nivel del suelo,
ponga la punta del pie derecho dentro
del mango trasero y haga presión hacia
abajo. Con la mano derecha tire
lentamente del mango de arranque
hasta que sienta una resistencia
definitiva y en seguida dele un tirón
fuerte y rápido.
El segundométodo recomendado para
arrancar la motosierra le permite hacerlo
sin colocarla en el suelo. Asegúrese que
el freno de la cadena esté aplicado,
sujete la manija delantera de la
motosierra firmemente con la mano
izquierda. Mantenga el brazo sobre el
mango delantero en posición firme
(recta). Sujete el mango trasero de la
motosierra bien apretado entre las
piernas un poco más arriba de las
rodillas. Mantenga el equilibrio y elija un
buen punto de apoyo para los pies. Con
la mano derecha tire lentamente del
mango de arranque hasta que sienta
una resistencia definitiva y en seguida
dele un tirón fuerte y rápido.
ADVERTENCIA
Asegúrese que la espada y la cadena
estén alejadas de su persona y de las
demás obstrucciones y objetos,
incluyendo el suelo. Después de
arrancar, la velocidad del motor con el
bloqueo de aceleración de arranque
activado será lo suficientemente rápida
para que el embrague engrane el piñón
y, si el freno de la cadena no está
activado, hará que gire la cadena. Si el
cuadrante superior de la punta de la
espada choca contra algún objeto, se
puede producir un contragolpe (vea la
sección sobre fuerzas reactivas). Para
reducir el riesgo, siempre active el freno
de la cadena antes de arrancar el motor.
Nunca intente arrancar la motosierra
mientras la espada está dentro de una
ranura de corte o entalla.
Tan pronto arranque, accione
inmediatamente por un breve momento
el gatillo de aceleración para
desconectarlo de la posición de
arranque y permitir que la velocidad del
motor se reduzca al valor de marcha en
vacío.
ADVERTENCIA
Cuando tire del mango de arranque, no
enrolle la cuerda de arranque alrededor
de la mano. No deje que el mango
retroceda bruscamente, sino guíe la
cuerda de arranque para que se enrolle
debidamente. Si no ejecuta este
procedimiento puede lastimarse la
mano o los dedos y también dañar el
mecanismo de arranque.
Ajustes importantes
ADVERTENCIA
Para reducir el riesgo de lesiones
personales debido a la pérdida de
control y / o al contacto con la
herramienta de corte en movimiento, no
use una máquina cuyo régimen de
marcha en vacío está mal regulado.
Cuando el ralentí está correctamente
regulado, la herramienta de corte no
debe moverse. Para instrucciones
acerca de cómo ajustar el régimen de
marcha en vacío, vea la sección
correspondiente del manual de
instrucciones.
Si no puede regular correctamente el
ralentí, pida a su concesionario STIHL
que revise la herramienta motorizada y
haga los ajustes o reparaciones
correspondientes.
Durante el trabajo
Sujeción y control de la herramienta
motorizada
Al trabajar, siempre sujete la máquina
firmemente con ambas manos en los
mangos. Cierre firmemente los dedos y
pulgares sobre los mangos.
001BA113 KN
001BA114 KN

MS 251, MS 251 C
español / EE.UU
73
La mano derecha debe sujetar el mango
trasero. Esto también corresponde a
personas zurdas. Con las manos en
esta posición, puede oponer y
amortiguar mejor las fuerzas de empuje
y tirones, así como las fuerzas de
contragolpe de la sierra, sin perder el
control (vea la sección sobre fuerzas
reactivas).
ADVERTENCIA
ADVERTENCIA
Para reducir el riesgo de lesionarse,
mantenga las manos y los pies alejados
de la herramienta de corte. No toque
nunca con las manos ni con cualquier
parte del cuerpo una herramienta de
corte en movimiento.
ADVERTENCIA
Mantenga los pies bien apoyados y
equilibrados en todo momento. Se debe
tener cuidado especial cuando las
condiciones del suelo son resbaladizas
(suelo húmedo, nieve) y en terreno difícil
y con mucha vegetación. Para evitar
tropezarse, esté atento a los obstáculos
ocultos tales como tocones, raíces,
hoyos y zanjas. Existe un peligro mayor
de resbalarse en los troncos recién
descortezados. Para obtener un punto
de apoyo seguro, quite las ramas
caídas, los matorrales y el material
cortado. Sea sumamente precavido
cuando trabaje en declives o terreno
irregular.
ADVERTENCIA
Proceda con sumo cuidado cuando
trabaje en condiciones climáticas
húmedas o frías (lluvia, nieve, hielo).
Interrumpa el trabajo cuando hay
condiciones de mucho viento, tormenta
o lluvia intensa.
001BA087 LÄ
Para reducir el
riesgo de lesiones
graves o mortales
para usted o los
espectadores
debido a la
pérdida de con-
trol, nunca maneje
la sierra con una
sola mano. Es
más difícil contro-
lar las fuerzas
reactivas y evitar
el patinaje o
rebote de la
espada y la
cadena sobre la
rama o tronco.
Incluso en el caso
de sierras com-
pactas diseñadas
para usarse en
espacios estre-
chos, el manejo
con una sola
mano es peli-
groso porque el
operador puede
perder el control
de la máquina.

MS 251, MS 251 C
español / EE.UU
74
ADVERTENCIA
Para reducir el riesgo de lesiones
causadas por la pérdida del control,
nunca trabaje sobre una escalera o
cualquier otra superficie de soporte
poco seguro. Nunca mantenga la
máquina a una altura más arriba de los
hombros. No trate de alcanzar más lejos
de lo debido.
ADVERTENCIA
Nunca trabaje en un árbol a menos que
tenga la capacitación profesional para
ese tipo de trabajo, disponga de la
seguridad adecuada (tal como un
sistema de aparejos y correas o una
plataforma aérea de trabajo), tenga las
dos manos libres para manejar la
motosierra en un espacio estrecho y
haya tomado las medidas de precaución
para evitar ser lesionado por las ramas
que caen.
Coloque la motosierra en una posición
tal que el cuerpo esté lejos del accesorio
de corte cuando el motor está
funcionando. Sitúese a la izquierda del
corte mientras está tronzando.
Nunca ejerza presión sobre la sierra
cuando llegue al final del corte. La
presión puede hacer que la espada y la
cadena en movimiento salten fuera de la
ranura de corte o entalla, perdiéndose el
control y golpeando al operador o algún
otro objeto. Si la cadena en movimiento
golpea contra otro objeto, una fuerza
reactiva puede hacer que la cadena
golpee al operador.
Condiciones de trabajo
Maneje y arranque su herramienta
motorizada solamente al aire libre en un
lugar bien ventilado. Manéjela
solamente en condiciones de buena
visibilidad y a la luz del día. Trabaje con
mucho cuidado.
ADVERTENCIA
La motosierra es una máquina para una
sola persona. No deje que otras
personas estén en el lugar de trabajo,
aun durante el arranque. Apague el
motor inmediatamente si se le aproxima
alguna persona.
ADVERTENCIA
Si bien es necesario mantener los
terceros lejos de la motosierra en
marcha, nunca trabaje solo.
Manténgase a una distancia que le
permita comunicarse con otras
personas en caso de necesitar ayuda.
001BA031 KN
001BA082 KN

MS 251, MS 251 C
español / EE.UU
75
ADVERTENCIA ADVERTENCIA
La inhalación de ciertos polvos,
especialmente los polvos orgánicos,
tales como el moho o polen, puede
provocar reacciones alérgicas o
asmáticas en las personas sensibles. La
inhalación repetida o de grandes
cantidades de polvo u otros
contaminantes del aire, especialmente
los de partículas pequeñas puede
causar enfermedades respiratorias o de
otro tipo. Esto incluye el polvo,
especialmente de las maderas duras,
pero también de algunas maderas
blandas, tales como el cedro rojo
occidental. Controle el polvo en su
fuente, siempre que sea posible. Utilice
buenas prácticas de trabajo, tal como
siempre cortar con una cadena bien
afilada (que produce virutas de madera
en vez de polvo fino) y trabajar de
manera que el viento o el proceso de
corte dirige el polvo producido por la
herramienta motorizado en sentido
opuesto del operador. Observe las
recomendaciones emitidas por
EPA/OSHA/NIOSH y las asociaciones
de trabajo y los sindicatos con respecto
al polvo ("materia particulada"). Cuando
sea imposible eliminar
significativamente la inhalación del
polvo, es decir mantener el nivel cerca
del valor ambiente, el operador y las
personas que se encuentren en la
cercanía siempre deberán usar un
respirador aprobado por NIOSH/MSHA
para el tipo de polvo presente en el
lugar.
ADVERTENCIA
La aspiración del polvo de asbesto es
peligrosa y puede causar lesiones
graves o mortales, enfermedades de las
vías respiratorias o cáncer. El uso y la
eliminación de los productos que
contienen asbesto están estrictamente
reglamentados por OSHA y el
Organismo para la Protección del Medio
Ambiente (EPA) de los EE.UU. Si por
cualquier motivo cree que está cortando
asbesto, póngase en contacto
inmediatamente con su empleador o un
representante de OSHA local.
Instrucciones de manejo
ADVERTENCIA
No maneje la herramienta motorizada
usando el bloqueo de acelerador para
arranque, pues no tendrá control de la
velocidad del motor.
En caso de emergencia, apague el
motor inmediatamente – mueva el
control deslizante / interruptor de parada
a 0 o STOP
ADVERTENCIA
Siempre apague el motor antes de
apoyar la motosierra en el suelo.
ADVERTENCIA
La cadena de aserrado sigue en marcha
por un rato después que se suelta el
gatillo de aceleración (efecto de
volante).
Al aumentar la velocidad del motor con
la cadena de aserrado bloqueada se
aumenta la carga y se provoca el
patinaje continuo del embrague. Esto
Tan pronto arranca, este
producto genera vapores
de escape tóxicos que
contienen productos
químicos (tales como
hidrocarburos sin quemar
y monóxido del carbono,
incluyendo el benceno)
considerados como cau-
santes de enfermedades
respiratorias, cáncer,
defectos de nacimiento u
otra toxicidad reproduc-
tora. Algunos de estos
gases (por ej., monóxido
de carbono) pueden ser
incoloros e inodoros.
Para reducir el riesgo de
sufrir lesiones graves o
mortales por respirar
gases tóxicos, nunca
haga funcionar la
máquina puertas adentro
o en lugares mal ventila-
dos. Si debido a la falta
de ventilación adecuada
los gases de escape se
concentran, elimine los
obstáculos de la zona de
trabajo para obtener
ventilación adecuada
antes de proceder y/o
tome descansos frecuen-
tes para permitir la
disipación de los gases
antes de que se puedan
concentrarse.

MS 251, MS 251 C
español / EE.UU
76
puede ocurrir si se acciona el acelerador
por más de unos pocos segundos con la
cadena aprisionada en la ranura de
corte o cuando el freno de la cadena
está aplicado. Esto puede causar
sobrecalentamiento y daño de los
componentes importantes (por ejemplo,
el embrague y las piezas de plástico
polimérico de la carcasa) – lo que a su
vez aumenta el riesgo de lesiones
causadas por el movimiento de la
cadena de sierra cuando el motor está a
velocidad de marcha en vacío.
ADVERTENCIA
Su motosierra está equipada con un
gancho retenedor para la cadena. Está
diseñado para reducir el riesgo de
lesiones personales en el caso de que la
cadena se desprenda o corte. De vez en
cuando el gancho puede dañarse o
salirse. Para reducir el riesgo de
lesiones personales, no maneje la
motosierra si el gancho de la cadena
está dañado o se ha perdido.
ADVERTENCIA
Inspeccione los elementos antivibración
periódicamente. Sustituya de inmediato
los que estén dañados, rotos o muy
desgastados, ya que pueden causar la
pérdida del control de la sierra. Si usted
siente una "esponjosidad" en la sierra,
aumento de la vibración o de tendencia
al "hundimiento" durante el manejo
normal, puede indicar algún daño, rotura
o exceso de desgaste. Los elementos
antivibración siempre deben sustituirse
en juegos. Ante cualquier duda acerca
de la sustitución de los elementos
antivibración, consulte a su
concesionario de servicio STIHL.
ADVERTENCIA
La motosierra no está diseñada para ser
utilizada como palanca o pala en las
ramas, raíces u otros objetos. El chocar
contra este tipo de objetos puede dañar
el accesorio de corte o el sistema AV.
ADVERTENCIA
Mientras está cortando con la sierra,
asegúrese que la cadena no toque
ninguna materia extraña como por
ejemplo rocas, cercas, clavos y cosas
por el estilo. Estos objetos pueden salir
lanzados al aire y dañar la cadena de la
sierra o hacer que ésta retroceda o
rebote.
ADVERTENCIA
Nunca modifique el silenciador. La
modificación del silenciador podría
causar el aumento del calor irradiado,
de las chispas y del nivel de ruido, lo que
aumentará el riesgo de incendios,
lesiones por quemadura o la pérdida
auditiva. Además, se podría dañar
permanentemente el motor. Haga
reparar el silenciador únicamente por el
concesionario de servicio STIHL.
ADVERTENCIA
El silenciador y otros componentes del
motor (por ej., aletas del cilindro, bujía)
se calientan durante el funcionamiento y
permanecen calientes por un buen rato
después de apagar el motor. Para
reducir el riesgo de quemaduras, no
toque el silenciador ni los otros
componentes mientras están calientes.
Mantenga limpia la zona alrededor del
silenciador. Quite el lubricante excesivo
y toda la basura tal como las agujas de
pinos, ramas u hojas. Deje que el motor
se enfríe apoyado sobre una superficie
de hormigón, metal, suelo raso o
madera maciza (por ej., el tronco de un
árbol caído) lejos de cualquier sustancia
combustible.
ADVERTENCIA
Una caja de cilindro dañada o mal
instalada, o una envuelta del silenciador
dañada o deformada, puede perjudicar
el proceso de enfriamiento del
silenciador. Para reducir el riesgo de
incendio o lesiones por quemadura, no
continúe trabajando con una caja de
cilindro dañada o mal instalada, o una
envuelta del silenciador dañada o
deformada.
El silenciador tiene un chispero
diseñado para reducir el riesgo de
incendio debido a la emisión de
partículas calientes. Nunca haga
funcionar la unidad sin tener instalado el
chispero. Si la mezcla de gasolina y
aceite está correcta (no es demasiado
rica), en condiciones normales el
chispero quedará limpio como resultado
del calor del silenciador y no necesitará
servicio ni mantenimiento. Si el
rendimiento de su máquina comienza a
disminuir y sospecha que las rejillas
están obstruidas, haga reparar el
silenciador por un concesionario de
servicio STIHL. Para ciertas
aplicaciones, las leyes o los
reglamentos estatales o federales
pueden requerir el uso de un chispero
en buenas condiciones. Consulte la
sección "Mantenimiento, Reparación y
Almacenamiento" de estas Medidas de
seguridad. Recuerde que el riesgo de

MS 251, MS 251 C
español / EE.UU
77
incendios de matorrales o forestales es
mayor durante las estaciones calurosas
y secas.
ADVERTENCIA
Fuerzas reactivas, incluido el
contragolpe
ADVERTENCIA
Las fuerzas reactivas pueden ocurrir en
cualquier momento mientras la cadena
está girando. Las fuerzas reactivas
pueden causar lesiones graves.
La gran fuerza utilizada para cortar
madera puede cambiar de sentido y
actuar contra el operador. Si una
cadena en movimiento se detiene
repentinamente al tocar un objeto sólido
como por ejemplo un tronco o rama, o
bien queda aprisionada, pueden
presentarse de inmediato las fuerzas
reactivas. Esas fuerzas reactivas
pueden causar la pérdida del control, lo
que a su vez puede causar lesiones
graves o mortales. Una buena
comprensión de las causas de estas
fuerzas reactivas puede ayudarle a
evitar el elemento de sorpresa y la
pérdida del control. Las sorpresas
repentinas contribuyen a los accidentes.
Las fuerzas reactivas más comunes
son:
–contragolpe,
–rechazo,
–tirón.
Contragolpe:
La reacción de la fuerza de corte de la
cadena causa una fuerza de rotación en
la motosierra en sentido contrario al
movimiento de la cadena. Esto puede
lanzar repentinamente la espada hacia
arriba y hacia atrás describiendo un arco
descontrolado, principalmente en el
plano de la espada. En algunas
circunstancias de corte, la espada se
desplaza hacia el operador causándole
lesiones graves o mortales.
Puede ocurrir un contragolpe, por
ejemplo,cuando la cadena cerca del
cuadrante superior de la punta de la
espada choca contra la madera o queda
Algunas herramientas
motorizadas STIHL están
equipadas con un con-
vertidor catalítico, el que
está diseñado para redu-
cir las emisiones de
escape del motor
mediante un proceso
químico en el silenciador.
Debido a este proceso, el
silenciador no se enfría
tan rápidamente como
los del tipo convencional
cuando el motor regresa
a marcha en vacío o es
apagado. Para reducir el
riesgo de incendios y
lesiones por quemadura
al usar un convertidor
catalítico, apoye siempre
su herramienta motori-
zada en posición vertical
y no la coloque nunca
donde el silenciador
quede cerca de material
seco como por ejemplo
matorrales, pasto, viru-
tas de madera u otros
materiales combustibles
mientras todavía está
caliente.
001BA093 LÄ
El contragolpe puede
ocurrir cuando la cadena
en movimiento cerca del
cuadrante superior de la
punta de la espada toca
un objeto sólido o queda
aprisionada.
001BA035 KN

MS 251, MS 251 C
español / EE.UU
78
aprisionada al cortar una rama, o si se la
usa incorrectamente al comenzar a
penetrar o avanzar en el corte.
Cuanto mayor la fuerza de la reacción
de rebote, tanto más difícil para el
operador controlar la sierra. Son
muchos los factores que afectan la
producción de contragolpes, así como
su intensidad. Estos incluyen la
velocidad de la cadena, la velocidad a la
que la espada y la cadena tocan el
objeto, el ángulo de contacto, la
condición de la cadena y otros factores.
El tipo de espada y de cadena de la
sierra es un factor importante en la
ocurrencia y la fuerza del contragolpe.
Algunos tipos de cadenas y espadas de
STIHL están diseñados para reducir las
fuerzas de contragolpe. STIHL
recomienda el uso de espadas de
contragolpe reducido y cadenas de bajo
contragolpe.
Norma ANSI B 175.1-2000 relativa al
contragolpe de las motosierras
La sección 5.11 de la norma ANSI
B 175.1-2000 establece ciertos criterios
de comportamiento y diseño con
respecto al contragolpe de las
motosierras.
Para cumplir con lo estipulado en la
sección 5.11 de la norma ANSI B 175.1-
2000:
a) las sierras con una cilindrada
inferior a 62 cm³ (3,8 pulg³).
–deben tener, en su condición
original, un ángulo de contragolpe
de 45° calculado por computadora
cuando están equipadas con ciertos
accesorios de corte,
–y deben tener por lo menos dos
dispositivos para reducir el riesgo
de lesiones por contragolpe, tales
como un freno de la cadena,
cadena de bajo contragolpe,
espada de contragolpe reducido,
etc.
b) las sierras con una cilindrada de
62 cm³ (3,8 pulg³) y más
–deben tener por lo menos un
dispositivo para reducir el riesgo de
lesiones por contragolpe, tal como
un freno de la cadena, cadena de
bajo contragolpe leve, espada de
contragolpe reducido, etc.
Los ángulos calculados por
computadora para las sierras con
cilindrada inferior a 62 cm³ (3,8 pulg³) se
miden aplicando un programa
informático para probar los resultados
de una máquina experimental de
contragolpes.
ADVERTENCIA
Los ángulos calculados por
computadora indicados en la
sección 5.11 de la norma ANSI B 175.1-
2000 pueden no tener ninguna relación
con los ángulos reales de rotación de
contragolpe de la espada que pueden
ocurrir en situaciones reales de corte.
Además, las características diseñadas
para reducir la posibilidad de lesiones
causadas por contragolpes pueden
perder algo de su eficiencia cuando no
están en sus condiciones originales,
especialmente si no han sido
mantenidas correctamente. El
cumplimiento de la sección 5.11 de la
norma ANSI B 175.1-2000 no significa
automáticamente que en el caso real de
contragolpe la espada y la cadena
girarán en un ángulo no mayor que 45°.
ADVERTENCIA
Para que los motores con una cilindrada
inferior a 62 cm³ (3,8 pulg³) cumplan con
los requisitos de ángulo calculado por
computadora de contragolpe indicados
en la sección 5.11 de la norma ANSI
B 175.1-2000, se deben utilizar
únicamente los accesorios de corte
siguientes:
–las combinaciones de espadas y
cadenas que aparecen en la
sección "Especificaciones" del
manual de instrucciones u
–otras combinaciones de espadas y
cadenas de repuesto marcadas de
acuerdo con la norma para usarse
con el motor o
–una cadena de repuesto designada
como "cadena de aserrado de bajo
contragolpe".
Consulte la sección sobre "Cadena de
aserrado de bajo contragolpe y espadas
de contragolpe reducido"
Dispositivos para reducir el riesgo de
lesiones por contragolpe
STIHL recomienda el uso del freno
rápido de cadena Quickstop STIHL en
las motosierras con espadas de
contragolpe reducido y cadenas de bajo
contragolpe con etiquetas verdes.

MS 251, MS 251 C
español / EE.UU
79
ADVERTENCIA
Para reducir el riesgo de lesionarse, no
usar la motosierra si el freno de la
cadena no funciona correctamente.
Lleve la motosierra a un centro de
servicio de STIHL en su localidad. No
use la sierra hasta haber corregido la
avería.
Freno rápido de la cadena Quickstop de
STIHL
STIHL ha desarrollado un sistema de
parada de la cadena para reducir el
riesgo de lesiones en ciertas situaciones
de contragolpe. Se llama freno rápido de
la cadena Quickstop.
Todas las motosierras STIHL están
provistas de un freno de cadena
Quickstop que puede activarse por
inercia. Si las fuerzas de contragolpe
son suficientemente altas, el protector
de mano se acelera hacia la punta de la
espada aun sin contacto con la mano.
Vea el capítulo titulado "Freno de la
cadena" en el manual de instrucciones.
ADVERTENCIA
Nunca maneje la motosierra sin tener
instalado el protector delantero de la
mano. En una situación de contragolpe
este protector ayuda a proteger la mano
izquierda y otras partes del cuerpo.
Además, al quitar el protector de la
mano en una sierra equipada con freno
de la cadena Quickstop éste quedará
desactivado.
ADVERTENCIA
Ni el freno Quickstop ni ningún otro
dispositivo de freno de la cadena impide
el contragolpe. Estos dispositivos están
diseñados para reducir el riesgo de
lesiones por contragolpe, si se activan,
en ciertas situaciones de contragolpe.
Para que el freno Quickstop reduzca el
riesgo de lesiones por contragolpe,
debe estar bien cuidado y en buenas
condiciones de funcionamiento. Vea el
capítulo del manual de instrucciones
intitulado "Freno de la cadena" y la
sección "Mantenimiento, reparación y
almacenamiento" al final de estas
precauciones de seguridad. Además,
debe haber distancia suficiente entre la
espada y el operador para que el freno
Quickstop tenga tiempo suficiente para
activarse y detener la cadena antes del
posible contacto con el operador.
ADVERTENCIA
Un freno de la cadena mal cuidado
puede aumentar el tiempo necesario
para detener la cadena después de la
activación, o simplemente puede no
activarse.
ADVERTENCIA
Nunca maneje la motosierra sobre la
velocidad de marcha en vacío durante
más de 3 segundos cuando el freno de
la cadena está activado, o si la cadena
está aprisionada o atrapada de otra
manera en la ranura de corte. El patinaje
del embrague puede causar calor
excesivo, con el consiguiente daño de la
carcasa del motor, embrague y
componente lubricador, y puede
obstaculizar el funcionamiento del freno
de la cadena. Si el embrague ha
patinado por más de 3 segundos, deje
que la carcasa del motor se enfríe antes
de proceder, y pruebe el funcionamiento
del freno de la cadena tal como se
describe en el capítulo "freno de la
cadena" del manual de instrucciones.
Asegúrese también que la cadena no
gira a la velocidad de marcha en vacío
(vea las instrucciones anteriores
"Ajustes importantes").
Cadena de aserrado de bajo
contragolpe y espadas de contragolpe
reducido
STIHL ofrece una variedad de espadas
y cadenas. Las espadas de contragolpe
reducido y las cadenas de bajo
contragolpe de STIHL están diseñadas
para reducir el riesgo de lesiones
causadas por contragolpe. Otras
cadenas están diseñadas para obtener
001BA174 KN

MS 251, MS 251 C
español / EE.UU
80
un rendimiento de corte mayor o para
facilitar el afilado, pero pueden producir
una mayor tendencia a los contragolpes.
STIHL desarrolló un sistema de
codificación por color para ayudar a
identificar las espadas de contragolpe
reducido y las cadenas de bajo
contragolpe. Los accesorios de corte
con etiquetas de aviso verdes o
etiquetas de color verde en el
empaquetado están diseñados para
reducir el riesgo de lesiones por
contragolpe. Al combinar motores
dotados de etiquetas verdes con una
cilindrada inferior a 62 cm³ (3,8 pulg³)
con espadas y cadenas con etiquetas
verdes se cumple con los
requerimientos de ángulo de
contragolpe calculado por computadora
estipulados en la norma ANSI B 175.1-
2000, cuando los productos se
encuentran en su condición original. Los
productos con etiquetas amarillas son
para los usuarios que tienen
necesidades de corte extraordinarias,
además de experiencia y capacitación
especializada para hacer frente a los
contragolpes.
STIHL recomienda el uso de sus
espadas de contragolpe reducido de
etiqueta verde, cadenas de bajo
contragolpe con etiqueta verde y un
freno rápido de cadena Quickstop
STIHL, tanto para los usuarios con
experiencia como para aquéllos que
carezcan de ella en la utilización de
motosierras.
Sírvase pedir a su concesionario STIHL
que le proporcione la combinación
apropiada de espada / cadena para el
motor de su motosierra, con el fin de
reducir las lesiones por contragolpe. Las
espadas y cadenas con etiquetas
verdes se recomiendan para todas las
motosierras.
ADVERTENCIA
El uso de otras combinaciones de
espadas / cadenas no indicadas puede
aumentar las fuerzas de contragolpe y
como consecuencia el riesgo de
lesiones por contragolpe. Existe la
posibilidad de que después de la
publicación de esta información se
desarrollen nuevas combinaciones de
espadas y cadenas, las que, en
combinación con ciertos motores,
cumplirán con lo estipulado en la
sección 5.11 de la norma ANSI B 175.1-
2000. Consulte a su concesionario
STIHL sobre dichas combinaciones.
ADVERTENCIA
Las espadas de contragolpe reducido y
las cadenas de bajo contragolpe no
impiden el contragolpe, sino están
diseñadas para reducir el riesgo de
lesiones por contragolpe. Las puede
adquirir a través de su concesionario
STIHL.
ADVERTENCIA
Aunque su sierra esté equipada con un
Quickstop, una espada de contragolpe
reducido y / o una cadena de bajo
contragolpe, eso no elimina el riesgo de
lesionarse por contragolpe. Por lo tanto,
respete siempre todas las medidas de
seguridad para evitar situaciones de
contragolpe.
Cadena de bajo contragolpe
Algunos tipos cadenas de aserrado
tienen componentes especialmente
diseñados para reducir la fuerza de
contragolpe al contacto de la punta.
STIHL ha desarrollado una cadena de
bajo contragolpe para su motosierra.
Una "cadena de bajo contragolpe" es
una cadena que satisface los
requerimientos de funcionamiento
referentes al contragolpe estipulados en
la sección 5.11.2.4 de la norma ANSI
B 175.1-2000 (requerimientos de
seguridad para las motosierras de
gasolina) cuando se prueba en un grupo
representativo de motosierras con
cilindrada inferior a 62 cm³ (3,8 pulg³),
como se especifica en la norma ANSI
B 175.1-2000.
ADVERTENCIA
Existen combinaciones posibles de
motor y espada con las que se puede
usar cadenas de aserrado de bajo
contragolpe y que no han sido
específicamente certificadas como
satisfactorias con respecto al ángulo de
contragolpe de 45° calculado por
computadora indicado en la
sección 5.11 de la norma ANSI B 175.1-
2000. Algunas cadenas de bajo
contragolpe no han sido probadas con
todas las combinaciones de motor y
espada posibles.
ADVERTENCIA
Una cadena roma o mal afilada puede
reducir o anular los efectos de las
características del diseño que deben
reducir la fuerza de contragolpe. Una
reducción o afilado incorrecto de los

MS 251, MS 251 C
español / EE.UU
81
calibradores de profundidad o la
alteración de la forma de las cuchillas
puede aumentar la posibilidad y la
fuerza potencial de un contragolpe.
Siempre corte con una cadena bien
afilada.
Espadas de contragolpe reducido
Las espadas de contragolpe reducido
STIHL con etiqueta verde están
diseñadas para reducir el riesgo de
lesiones por contragolpe cuando se
usan con las cadenas de bajo
contragolpe STIHL con etiqueta verde.
ADVERTENCIA
Cuando se usan con otras cadenas más
agresivas, estas espadas pueden ser
menos eficaces en reducir el
contragolpe.
ADVERTENCIA
Para tener una motosierra debidamente
equilibrada y cumplir con los requisitos
de la sección 5.12.1 de la norma ANSI
B 175.1-2000, utilice exclusivamente
espadas con las longitudes indicadas en
el capítulo de especificaciones del
manual de instrucciones para el motor
de su motosierra.
Guías en forma de arco
ADVERTENCIA
No instale una guía en forma de arco en
ninguna de las motosierras de STIHL.
Toda motosierra equipada con una guía
en forma de arco es potencialmente una
herramienta muy peligrosa. El riesgo de
contragolpe aumenta con una guía en
forma de arco debido a la mayor
superficie de contacto de contragolpe.
Cuando se usa una guía en forma de
arco, la cadena de bajo contragolpe no
reducirá significativamente el riesgo de
lesiones por contragolpe.
Para evitar el contragolpe
La mejor protección contra lesiones
personales como resultado de un
contragolpe es evitar las situaciones de
contragolpe:
1. Sujete la motosierra firmemente
con ambas manos. No la suelte.
2. Sea consciente de la ubicación de
la punta de la espada en todo
momento.
3. Nunca deje que la punta de la
espada haga contacto con ningún
objeto. No corte ramas con la punta
de la espada. Preste especial
atención al trabajar cerca de vallas
de alambre y cuando corte ramas
pequeñas y duras, matorrales
pequeños y arbolitos que pueden
fácilmente quedar enredados en la
cadena.
4. No extienda los brazos más allá de
lo necesario.
5. No corte más arriba de la altura de
los hombros.
6. Empiece a cortar y continúe
trabajando a máxima aceleración.
7. Corte solamente un tronco a la vez.
8. Tenga sumo cuidado cuando
vuelva a entrar a un corte
previamente iniciado.
9. No intente cortar por penetración de
la sierra si no tiene experiencia en
ese tipo de corte.
10. Esté alerta al desplazamiento del
tronco o a otras fuerzas que puedan
causar el cierre del corte y el
aprisionamiento de la cadena.
11. Cuide bien la cadena de la sierra.
Siempre corte con una cadena bien
afilada y correctamente tensada.
12. Sitúese a un lado de la trayectoria
de corte de la motosierra.
A = Tirón
El tirón ocurre cuando la cadena en la
parte inferior de la espada se detiene
repentinamente cuando queda
aprisionada, retenida o choca con algún
objeto extraño en la madera. Como
reacción, la cadena tira de la sierra
hacia adelante haciendo que el
operador pierda el control de la
máquina.
El tirón frecuentemente ocurre cuando
la púa de tope de la sierra no está
firmemente sujeta contra el árbol o
rama, y cuando la cadena no está
girando a velocidad máxima antes de
hacer contacto con la madera.
001BA037 KN
A

MS 251, MS 251 C
español / EE.UU
82
ADVERTENCIA
Tenga sumo cuidado cuando corte
arbolitos y matorrales pequeños que
pueden enredarse fácilmente en la
cadena, ser lanzados contra usted o
hacerle perder el equilibrio.
Para evitar los tirones
1. Siempre empiece el corte con la
cadena girando a velocidad máxima
y la púa de tope en contacto con la
madera.
2. El tirón también se puede reducir
colocando cuñas para abrir la
entalla o el corte.
B = Rechazo
El rechazo ocurre cuando la cadena en
la parte superior de la espada se detiene
repentinamente cuando queda
aprisionada, retenida o choca con algún
objeto extraño en la madera. Como
reacción, la cadena impulsa
repentinamente la sierra hacia atrás
contra el operador y puede causar la
pérdida del control de la sierra. El
rechazo frecuentemente ocurre cuando
se utiliza la parte superior de la espada
para hacer los cortes.
Para evitar el rechazo
1. Esté alerta a las fuerzas o
situaciones que pueden permitir
que el material aprisione la parte
superior de la cadena.
2. No corte más de un tronco a la vez.
3. No tuerza la sierra cuando retire la
espada de un corte con penetración
o un corte por debajo, porque la
cadena puede quedar aprisionada.
Técnicas de corte
Tala
La tala consiste en cortar un árbol hasta
que caiga.
Antes de talar, estudie cuidadosamente
todas las condiciones que pueden
afectar la dirección de la caída.
ADVERTENCIA
Existen varios factores que pueden
afectar y cambiar el sentido previsto de
caída, por ej., el sentido y la velocidad
del viento, la inclinación natural del
árbol, los árboles y obstáculos
adyacentes, el terreno en declive, la
estructura de ramas de un solo lado, la
estructura de la madera, la pudrición, el
peso de la nieve, etc. Para reducir el
riesgo de sufrir lesiones graves o
mortales, tanto para usted como para
los demás, examine en busca de estas
condiciones antes de comenzar el
trabajo y manténgase alerta a cualquier
cambio en el sentido durante la caída
del árbol.
ADVERTENCIA
Siempre observe la condición general
del árbol. Los usuarios sin experiencia
jamás deberán intentar cortar árboles
que tengan el interior podrido, que estén
inclinados o bajo tensión. Existe un gran
riesgo de que estos árboles se partan o
rasguen durante el corte y causen
lesiones graves o mortales al operador u
otras personas en las inmediaciones.
Siempre busque las ramas quebradas o
muertas que puedan soltarse con la
vibración y caerle encima. Cuando esté
talando en una ladera, siempre que sea
posible sitúese en el lado cuesta arriba.
Instrucciones para la tala
Durante la tala, mantenga una distancia
de por lo menos 2 veces y media de lo
largo del árbol con respecto a la persona
más cercana.
Cuando esté talando cerca de caminos,
vías férreas, cables eléctricos, etc.,
tome medidas de precaución
adicionales. Antes de comenzar los
trabajos de corte, avise a la policía,
empresas de servicios públicos o
autoridades del ferrocarril.
ADVERTENCIA
El ruido del motor puede apagar las
llamadas de advertencia.
001BA038 KN
B
001BA088 LÄ
2
/
12
11
/
12

MS 251, MS 251 C
español / EE.UU
83
Ruta de escape
Primero, despeje todas las ramas y
matorrales de la base del árbol y lugar
de trabajo y limpie la parte inferior con
un hacha.
Después, establezca dos rutas de
escape (B) y retire todos los obstáculos.
Estas rutas por lo general deben ser en
sentido contrario a la dirección prevista
de la caída del árbol (A) y en un ángulo
aproximado de 45°. Coloque todas las
herramientas y equipo a una distancia
segura lejos del árbol, pero no en las
rutas de escape.
Raíces de zancos grandes
Si el árbol tiene raíces de zancos
grandes, corte primero en el zanco más
grande verticalmente (después
horizontalmente) y retire el trozo
cortado.
Mira
Cuando corte la entalla de tala, use la
mira en el protector y la carcasa para
verificar el sentido de caída deseado:
Coloque la sierra de modo que la mira
apunte exactamente en la dirección que
usted desea que caiga el árbol.
Corte convencional
Entalla de tala (C) – determina el sentido
de caída del árbol
Para un corte convencional:
NColoque debidamente la entalla de
tala perpendicular a la línea de
caída, cerca del suelo.
NCorte hacia abajo en un ángulo de
unos 45° hasta una profundidad de
aproximadamente 1/5 a 1/4 del
diámetro del tronco.
NHaga un segundo corte horizontal.
NQuite el pedazo de 45° resultante.
B
001BA040 KN
A
45°
45°
B
001BA146 KN
001BA153 KN
001BA143 KN
C
C

MS 251, MS 251 C
español / EE.UU
84
Técnica de cara libre
Entalla de tala (C) – determina el sentido
de caída del árbol
Para un corte de cara libre:
NColoque debidamente la entalla de
tala perpendicular a la línea de
caída, cerca del suelo.
NCorte hacia abajo en un ángulo de
unos 50° hasta una profundidad de
aproximadamente 1/5 a 1/4 del
diámetro del tronco.
NHaga un segundo corte desde
abajo en un ángulo de unos 40°.
NQuite el pedazo de 90° resultante.
Para hacer cortes de albura
NEn árboles de tamaño mediano o
más grandes, haga cortes a ambos
lados del tronco, a la misma altura
que el corte de tala subsiguiente.
NCorte no más del ancho de la
espada.
Esto es especialmente importante en los
casos de la madera blanda durante el
verano; ayuda a evitar que se astille la
albura al caer el árbol.
D =Corte de tala
Técnica convencional y de cara libre:
NComience de 2,5 a 5 cm (1 a 2 pulg)
más arriba que el centro de la
entalla de tala.
NCorte horizontalmente hacia la
entalla de tala.
NDeje aprox. 1/10 del diámetro sin
cortar. Este es el eje de inclinación.
NNo corte a través del eje – podría
perder el control del sentido de la
caída.
Inserte cuñas en el corte de tala donde
sea necesario para controlar la caída.
ADVERTENCIA
Si la punta de la espada hace contacto
con una cuña, puede producirse un
contragolpe. Las cuñas deben ser de
madera o de plástico, pero jamás de
acero porque se dañaría la cadena.
001BA150 KN
001BA144 KN
D
D

MS 251, MS 251 C
español / EE.UU
85
E = Eje de inclinación
NAyuda a controlar la caída del árbol.
NNo corte a través del eje – podría
perder el control del sentido de la
caída.
Corte de tala para árboles de diámetro
pequeño: Corte en abanico sencillo
Enganche las púas de tope de la
motosierra directamente detrás del eje
de inclinación del árbol previsto y haga
girar la sierra alrededor de ese punto
solamente hasta el eje. La púa de tope
rueda contra el tronco.
Corte de tala para árboles de diámetro
grande
ADVERTENCIA
Para talar un árbol cuyo diámetro es
mayor que el largo de la espada es
necesario emplear el método de corte
de tala por secciones o de corte por
penetración. Estos métodos son
extremadamente peligrosos porque
implican el uso de la punta de la espada
y pueden causar contragolpe. Estas
técnicas deben ser empleadas
únicamente por profesionales
competentes.
Método de corte por secciones
Para el método de corte por secciones
haga la primera parte del corte de tala
moviendo la espada en abanico hacia el
eje de inclinación. Después, usando la
púa de tope como pivote, cambie de
posición la sierra para el próximo corte.
001BA145 KN
E
E
001BA147 KN
001BA148 KN
1

MS 251, MS 251 C
español / EE.UU
86
Evite reposicionar la sierra más de lo
necesario. Cuando cambie de posición
para el próximo corte, mantenga la
espada totalmente dentro de la entalla
para mantener un corte de tala recto. Si
la sierra empieza a quedar aprisionada,
inserte una cuña para abrir el corte. En
el último corte, no corte el eje de
inclinación del árbol.
Método de corte por penetración
La madera cuyo diámetro es más del
doble del largo de la espada requiere el
uso del método de corte por penetración
antes de hacer el corte de tala.
Primero, corte una entalla de tala
grande y ancha. Haga un corte por
penetración en el centro de la entalla.
El corte por penetración se hace con la
punta de la espada. Comience el corte
aplicando la parte inferior de la punta de
la espada contra el árbol en un ángulo.
Corte hasta que la profundidad de la
entalla sea casi igual que el ancho de la
espada. En seguida, alinee la sierra en
el sentido en que se va a cortar el
rebajo.
Con la sierra acelerada a fondo, inserte
la espada en el tronco.
Agrande el corte por penetración como
se muestra en la ilustración.
ADVERTENCIA
En este momento existe un gran peligro
de que ocurra contragolpe. Preocúpese
de mantener el control de la sierra. Para
hacer el corte de tala, emplee el método
de corte por secciones descrito
anteriormente.
Si no tiene experiencia en el manejo de
una motosierra, no intente hacer el corte
por penetración. Pida la ayuda de un
profesional.
ADVERTENCIA
Para reducir el riesgo de lastimarse, no
se sitúe nunca directamente detrás del
árbol cuando está listo para caer, ya que
parte del tronco puede rajarse y caer en
dirección del operador, o el árbol puede
saltar hacia atrás desprendiéndose del
tocón. Siempre sitúese a un lado del
árbol que va a caer. Cuando el árbol
empiece a caer, retire la espada,
apague el motor y aléjese por la ruta de
escape prevista. Esté atento a las ramas
que caen.
ADVERTENCIA
Tenga sumo cuidado con los árboles
parcialmente caídos que no tiene
buenos puntos de apoyo. Cuando el
árbol por alguna razón no se cae
completamente, deje a un lado la sierra
y tire el árbol abajo con un cabrestante
de cable, un polipasto y aparejo o un
tractor. Si trata de cortarlo con la sierra,
podría lesionarse.
Desrame
El desrame consiste en cortar las ramas
de un árbol caído.
ADVERTENCIA
Durante la operación de desrame existe
gran peligro de contragolpe. No corte
con la punta de la espada. Sea
precavido y evite tocar el tronco o las
ramas con la punta de la espada.
4
2

MS 251, MS 251 C
español / EE.UU
87
No se suba a un tronco mientras le está
cortando las ramas; puede resbalarse o
el tronco puede rodar.
Empiece a desramar dejando las ramas
inferiores para que sostengan el tronco
elevado del suelo. Cuando corte de
abajo hacia arriba las ramas que están
en el aire, la sierra puede quedar
aprisionada o la rama puede caerse,
causando la pérdida del control de la
máquina. Si la sierra queda aprisionada,
apague el motor y levante la rama para
poder retirar la sierra.
ADVERTENCIA
Sea precavido cuando corte ramas o
troncos que están bajo tensión (como
pértigas de salto). Las ramas o troncos
podrían saltar hacia el operador y
causar la pérdida de control de la sierra
y lesiones graves o mortales.
Tronzado
El tronzado consiste en cortar un tronco
en secciones.
ADVERTENCIA
Durante el tronzado, no se suba al
tronco. Asegúrese que el tronco no vaya
a rodar cerro abajo. Si se encuentra en
una ladera, sitúese cerro arriba del
tronco. Esté atento a los troncos que
pueden rodar.
Corte solamente un tronco a la vez.
La madera astillada deberá cortarse con
mucho cuidado. Las astillas afiladas
pueden atraparse y salir lanzadas hacia
el operador.
Cuando corte troncos pequeños,
colóquelos en soportes en forma de "V"
encima de un caballete. No permita que
otra persona sujete el tronco. No sujete
nunca el tronco con las piernas o pies.
001BA033 KN
001BA051 LÄ

MS 251, MS 251 C
español / EE.UU
88
Troncos bajo tensión:
¡Riesgo de aprisionamiento! Siempre
comience con un corte de distensión (1)
en el lado de compresión. Después
haga un corte de tronzado (2) en el lado
de tensión. Si la sierra queda
aprisionada, apague el motor y retírela
del tronco.
Unicamente los profesionales
capacitados deben trabajar en una zona
en que los troncos, ramas y raíces se
encuentran enredados. El trabajo en
zonas en las cuales se encuentran
árboles caídos por el viento es muy
arriesgado. Arrastre los troncos hasta
una zona despejada antes de comenzar
a cortar. Retire de la zona primero los
troncos aislados y despejados.
MANTENIMIENTO, REPARACIÓN Y
ALMACENAMIENTO
Los trabajos de mantenimiento,
reemplazo o reparación de los
dispositivos y sistemas de control de
emisiones de escape pueden ser
realizados por cualquier taller o técnico
de motores no diseñados para
vehículos. Sin embargo, si usted está
reclamando cobertura de garantía para
algún componente que no ha sido
reparado o mantenido debidamente, o
cuando se utilizan repuestos no
autorizados, STIHL puede denegar la
garantía.
ADVERTENCIA
Utilice solamente piezas de repuesto de
STIHL para el mantenimiento y la
reparación. El uso de piezas no
fabricadas por STIHL puede causar
lesiones graves o mortales.
Siga precisamente las instrucciones de
mantenimiento y reparación dadas en la
sección correspondiente del manual de
instrucciones. Consulte la tabla de
mantenimiento en este manual.
ADVERTENCIA
Siempre apague el motor y asegúrese
que la herramienta de corte está
detenida antes de hacer cualquier
trabajo de mantenimiento, reparación o
limpieza de la herramienta motorizada.
ADVERTENCIA
No intente hacer ningún trabajo de
mantenimiento o reparación que no esté
descrito en su manual de instrucciones.
Este tipo de trabajo debe ser realizado
únicamente por el concesionario de
servicio de STIHL. Por ejemplo, si se
utilizan herramientas inadecuadas para
retirar el volante del motor o para sujetar
el volante para retirar el embrague, se
puede causar daños estructurales en el
volante y, como consecuencia, el mismo
puede romperse durante el uso.
Use guantes para manipular o mantener
las cadenas de aserrado.
ADVERTENCIA
Use la bujía especificada y asegúrese
de que ella y el cable de encendido
estén limpios y en buen estado. Siempre
inserte el casquillo de la bujía bien
apretado en el borne de la bujía del
tamaño adecuado. (Nota: Si el borne
tiene una tuerca adaptadora SAE
desmontable, tiene que ser firmemente
instalada). Una conexión suelta entre el
borne de la bujía y el conector del cable
de encendido en el casquillo puede
crear un arco voltaico y encender los
vapores del combustible, provocando
un incendio.
ADVERTENCIA
No pruebe nunca el sistema de
encendido con el casquillo
desconectado de la bujía, o sin tener
instalada la bujía, ya que las chispas al
descubierto pueden causar un incendio.
ADVERTENCIA
Nunca maneje su herramienta
motorizada si el silenciador está
dañado, se ha perdido o si fue
modificado. Un silenciador mal cuidado
aumenta el riesgo de incendio y puede
1
001BA151 KN
2
1
001BA152 KN
2

MS 251, MS 251 C
español / EE.UU
89
causar pérdida de audición. El
silenciador está equipado con un
chispero para reducir el riesgo de
incendio; no maneje nunca su
herramienta motorizada si le falta el
chispero o está dañado. Recuerde que
el riesgo de incendios de matorrales o
forestales es mayor durante las
estaciones calurosas y secas.
En California, es una violación de los
acápites § 4442 o § 4443 o del Código
de Recursos Públicos el uso de
herramientas con motor de gasolina en
tierras cubiertas por bosques, arbustos
o pasto a menos que el sistema de
escape del motor cuente con un
chispero que satisfaga los requisitos
legales y que reciba el mantenimiento
adecuado para estar en buenas
condiciones de funcionamiento. El
propietario/operador de este producto
es responsable del mantenimiento
adecuado del chispero. Otras
entidades/agencias estatales o
gubernamentales, tales como el
Servicio Forestal de los EE.UU., pueden
tener requisitos similares. Comuníquese
con el cuerpo de bomberos de su
localidad o con el servicio forestal para
informarse en cuanto a las leyes y
reglamentos relacionados con los
requisitos de protección contra
incendios.
Mantenga limpias la cadena, la barra y
el piñón; sustituya las ruedas o cadenas
desgastadas. Mantenga afilada la
cadena. Podrá notar que la cadena está
desafilada cuando la madera fácil de
cortar exige gran esfuerzo y cuando
aparecen marcas de quemaduras en la
madera. Mantenga la cadena
correctamente tensada.
Apriete todas las tuercas, pernos y
tornillos, excepto los tornillos de ajuste
del carburador, después de cada uso.
ADVERTENCIA
Para que el freno de la cadena de su
motosierra STIHL ejecute
correctamente su función de reducir el
riesgo de contragolpe y otras lesiones,
tiene que estar bien cuidado. Igual que
el freno de un automóvil, el freno de la
cadena de una motosierra se desgasta
cada vez que se accione.
La cantidad de desgaste variará
dependiendo del uso, las condiciones
en que se utiliza la sierra y otros
factores. El desgaste excesivo reducirá
la eficacia del freno de la cadena y lo
puede dejar inoperante.
Para el funcionamiento correcto y eficaz
del freno de la cadena, tanto la banda de
freno como el tambor del embrague
deben mantenerse limpios, sin tierra,
grasa u otra materia extraña que pueda
reducir la fricción de la banda sobre el
tambor.
Por estas razones, toda motosierra de
STIHL deberá ser entregada a personal
experto, tal como el personal del
concesionario de servicio STIHL, para la
inspección y servicio periódicos del
sistema de freno de acuerdo a los
intervalos indicados a continuación:
Uso intenso – cada tres meses, uso
moderado – dos veces al año, uso
ocasional – anualmente.
La motosierra deberá también llevarse
inmediatamente al taller cada vez que el
sistema de freno no pueda ser limpiado
a fondo o se produzca un cambio en sus
características de funcionamiento.
Para el mantenimiento del sistema de
control de emisiones, consulte la tabla
de mantenimiento y la declaración de
garantía limitada que se encuentran
cerca del final de este manual.
No limpie la máquina con una lavadora
a presión. El chorro fuerte de agua
puede dañar las piezas de la máquina.
Guarde la motosierra en un lugar seco y
lejos del alcance de los niños. Antes de
guardar la máquina por más de unos
pocos días, siempre vacíe el tanque de
combustible (vea el capítulo
"Almacenamiento de la máquina" en el
manual de instrucciones).

MS 251, MS 251 C
español / EE.UU
90
STIHL es el único fabricante en la
industria que produce sus propios
motosierras, espadas, cadenas de
aserrado y piñones.
Un accesorio de corte consta de la
cadena de aserrado, la espada y el
piñón.
El accesorio de corte estándar ha sido
diseñado para usar específicamente
con esta motosierra.
–El paso (t) de la cadena de
aserrado (1), el piñón impulsor y el
piñón de la espada Rollomatic
deben corresponder entre sí.
–El grueso del eslabón impulsor (2)
de la cadena de aserrado (1) debe
corresponder con el ancho de la
ranura de la espada (3).
El uso de componentes no apareados
puede resultar en daños permanentes
del accesorio de corte dentro de poco
tiempo de uso.
Funda de la cadena
La sierra incluye como equipo estándar
una funda para la espada que
corresponde al accesorio de corte.
Para reducir el riesgo de lesiones al usar
espadas de largos diferentes en la
misma motosierra, asegúrese que el
largo de la funda sea apropiado para la
espada. Deberá cubrir toda la longitud
de la espada.
La longitud de las espadas guía
correspondientes se marca en el
costado de la funda.
Retiro de la cubierta del piñón de la
cadena
NDestornille la tuerca y quite la
cubierta del piñón de la cadena.
NGire el tornillo (1) en sentido
contrahorario, hasta que el tensor
deslizante (2) tope contra el
extremo izquierdo de la ranura de la
caja.
Accesorio de corte
001BA248 KN
1
2
3
a
001BA244 KN
Montaje de la espada y
cadena (tensor lateral de la
cadena)
533BA001 KN
1
2
001BA185 KN

MS 251, MS 251 C
español / EE.UU
91
Suelte el freno de la cadena.
NTire del protector de la mano hacia
el mango delantero hasta que se
escuche el "clic" – el freno de la
cadena ahora está suelto.
Instalación de la cadena
ADVERTENCIA
Use guantes para proteger las manos
de los cortadores afilados.
NColoque la cadena – empiece por la
punta de la espada.
NColoque la espada sobre los
espárragos (1) – los bordes de corte
en la parte superior de la espada
deben quedar apuntando hacia la
derecha.
NEnganche la espiga del tensor
deslizante en el agujero
localizador (2) -- coloque la cadena
sobre el piñón (3) al mismo tiempo.
NGire el tornillo tensor (4) en sentido
horario hasta que la cadena tenga
muy poco huelgo por el lado inferior
de la espada – y las pestañas de los
eslabones impulsores se
enganchen en la ranura de la
espada.
NVuelva a colocar la tapa del piñón y
apriete su tuerca con los dedos.
NPase al capítulo "Tensado de la
cadena de aserrado"
Retiro de la cubierta del piñón de la
cadena
NGire el mango (1) a su posición
(hasta que se engrane)
NGire la tuerca mariposa (2) hacia la
izquierda hasta que cuelgue suelta
en la cubierta del piñón de la
cadena (3).
NRetire la cubierta del piñón (3) de la
cadena
Montaje del engranaje tensor
NRetire e invierta el engranaje tensor
(1).
001BA186 KN
143BA003 KN
31
1
24
001BA187 KN
Montaje de la espada y
cadena (tensor rápido de la
cadena)
1
2
3
2310BA013 KN
1
2310BA014 KN

MS 251, MS 251 C
español / EE.UU
92
NQuite el tornillo (2)
NColoque el engranaje tensor (1) y la
espada (3) en sus posiciones
relativas respectivas
NInserte y apriete el tornillo (2)
Soltado del freno de la cadena
NTire del protector de la mano hacia
el mango delantero hasta que se
escuche que se engancha - el freno
de la cadena está suelto
Instalación de la cadena de aserrado
ADVERTENCIA
Póngase guantes protectores – ¡riesgo
de lesiones causadas por las cortadoras
afiladas!
NColoque la cadena de aserrado
comenzando en la punta de la
espada – preste atención a la
posición del engranaje tensor y los
bordes cortantes.
NGire el engranaje tensor (1) hacia la
derecha hasta su tope
NGire la espada para que el
engranaje tensor quede frente al
usuario.
2310BA015 KN
2
1
3
2310BA016 KN
2
2310BA017 KN
001BA186 KN
1
181BA012 KN

MS 251, MS 251 C
español / EE.UU
93
NColoque la cadena de aserrado en
el piñón de la cadena (2)
NDeslice la espada sobre el tornillo
de collar (3); la cabeza del tornillo
de collar debe sobresalir por el
agujero alargado
NGuíe el eslabón impulsor hacia la
ranura de la espada (vea la flecha)
y gire el engranaje tensor hacia la
izquierda hasta su tope.
NColoque la cubierta del piñón,
deslizando las orejetas guía en las
aberturas correspondientes de la
caja del motor
Al colocar la cubierta del piñón de la
cadena, los dientes de la rueda de
ajuste y el engranaje tensor deben
engranar; de ser necesario,
Ngire un poco la rueda de ajuste (4)
hasta que la cubierta del piñón de la
cadena pueda deslizarse
completamente contra la caja del
motor
NGire el mango (5) a su posición
(hasta que se engrane)
NColoque la tuerca mariposa y
apriétela ligeramente.
NPaso siguiente: vea "Tensado de la
cadena de aserrado".
Tensado durante el trabajo de corte:
NApague el motor.
NSuelte la tuerca.
NSostenga la punta de la espada
hacia arriba.
NUtilice un destornillador para girar el
tornillo tensor (1) en sentido horario
hasta que la cadena quede
ajustada contra el lado inferior de la
espada.
NMientras aún sujeta la punta de la
barra hacia arriba, apriete
firmemente la tuerca.
NPase a "Revisión de la tensión de la
cadena".
Es necesario volver a tensar las
cadenas nuevas con mayor frecuencia
que las que han estado en uso por algún
tiempo.
NRevise la tensión de la cadena
frecuentemente – vea el capítulo
"Instrucciones de manejo".
2
3
181BA013 KN
135BA011 KN
4
5
2310BA018 KN
Tensado de la cadena de
aserrado (tensor lateral de la
cadena)
1
142BA063 KN

MS 251, MS 251 C
español / EE.UU
94
Tensado durante el trabajo de corte:
NApague el motor.
NTire de la pinza articulada y suelte la
tuerca mariposa.
NGire la rueda de ajuste (1) hasta el
tope en sentido horario.
NApriete firmemente la tuerca
mariposa (2) con la mano.
NPliegue la pinza articulada.
NPase a "Revisión de la tensión de la
cadena"
Es necesario volver a tensar las
cadenas nuevas con mayor frecuencia
que las que han estado en uso por algún
tiempo.
NRevise la tensión de la cadena
frecuentemente – vea el capítulo
"Instrucciones de manejo".
NApague el motor.
NUse guantes de trabajo para
protegerse las manos.
NLa cadena debe quedar ajustada
firmemente contra el lado inferior de
la espada, pero debe ser posible
tirar de la cadena a lo largo de la
espada con la mano cuando se
suelta el freno de la cadena.
NDe ser necesario, vuelva a tensar la
cadena.
Es necesario volver a tensar las
cadenas nuevas con mayor frecuencia
que las que han estado en uso por algún
tiempo.
NRevise la tensión de la cadena
frecuentemente – vea el capítulo
"Instrucciones de manejo".
Este motor está certificado para
funcionar con una mezcla de 50 a 1 de
gasolina sin plomo y aceite STIHL para
motores de dos tiempos.
Su motor requiere una mezcla de
gasolina de alta calidad y aceite para
motores de dos tiempos enfriados por
aire.
Utilice gasolina sin plomo regular con un
índice de octanaje mínimo de 89
[(R+M)/2) y un contenido de etanol no
mayor que 10%.
El combustible de octanaje bajo puede
aumentar la temperatura de
funcionamiento del motor. Esto, a su
vez, aumenta el riesgo de que se
agarrote el pistón y se dañe el motor.
La composición química del
combustible también es importante.
Algunos aditivos de combustible no
solamente tienen efectos perjudiciales
en los elastómeros (diafragmas de
carburador, sellos de aceite, tuberías de
combustible, etc.), sino también en las
piezas fundidas de magnesio y en los
convertidores catalíticos. Esto podría
causar problemas de funcionamiento e
incluso daño del motor. Por esta razón,
STIHL recomienda el uso exclusivo de
gasolina sin plomo reconocida de buena
calidad.
La gasolina con un contenido de etanol
mayor que el 10% puede causar
problemas de funcionamiento y averías
graves en motores con carburadores
manualmente ajustables, por lo cual no
debe utilizarse en este tipo de motores.
Tensado de la cadena de
aserrado (tensor rápido de la
cadena)
1
2
001BA112 KN
Revisión de tensión de la
cadena
142BA064 KN
Combustible

MS 251, MS 251 C
español / EE.UU
95
El contenido de etanol en la gasolina
afecta el régimen de marcha del motor –
podría resultar necesario reajustar el
carburador si se utilizan combustibles
con diversos niveles de contenido de
etanol.
ADVERTENCIA
Para reducir el riesgo de lesiones
personales debido a la pérdida de
control y/o al contacto con la
herramienta de corte en movimiento, no
use una máquina cuyo régimen de
marcha en vacío está mal regulado.
Cuando el régimen de marcha en vacío
está correctamente regulado, la
herramienta de corte no debe moverse.
Si su herramienta motorizada indica que
el régimen de marcha en vacío está mal
regulado, pida a su representante de
STIHL que revise la herramienta
motorizada y haga los ajustes o
reparaciones correspondientes.
El régimen de marcha en vacío y la
velocidad máxima del motor varían si se
cambia el combustible por otro con un
contenido mayor o menor de etanol.
Para evitar este problema, siempre se
debe utilizar combustible con un mismo
contenido de etanol.
Use solamente el aceite STIHL para
motores de dos tiempos o un aceite de
marca equivalente para motores de dos
tiempos diseñado para usar
exclusivamente con los motores de dos
tiempos enfriados por aire.
Se recomienda usar aceite STIHL HP
Ultra para motores de 2 tiempos, puesto
que este ha sido formulado
especialmente para uso en motores
STIHL.
No use aceites para mezclar con
designaciones BIA o TCW (para
motores de dos tiempos enfriados por
agua) ni otros aceites para mezclar
diseñados para usar en motores
enfriados por agua o por aire (por
ejemplo, en motores marinos fuera de
borda, motonieves, sierras de cadenas,
bicimotos, etc.).
ADVERTENCIA
Manipule la gasolina con sumo cuidado.
Evite el contacto directo con la piel y
evite inhalar los vapores de
combustible. Cuando se reabastece de
combustible, quite primero el envase del
vehículo y colóquelo en el suelo antes
de llenarlo. Para reducir el riesgo de la
formación de chispas causadas por la
descarga de electricidad estática y un
posible incendio y/o explosión, no llene
los envases de combustible cuando
están colocados dentro de un vehículo o
remolque.
Mantenga el envase bien cerrado para
limitar la cantidad de humedad que
penetre en la mezcla.
Limpie el tanque de combustible de la
máquina según sea necesario.
Duración de la mezcla de combustible
Mezcle una cantidad suficiente de
combustible para trabajar unos pocos
días, no lo guarde por más de 3 meses.
Guárdelo únicamente en envases
aprobados para combustible. Para el
proceso de mezclado, vierta el aceite en
el envase primero y luego agregue la
gasolina. Cierre el envase y agítelo
vigorosamente a mano para asegurar
que se mezclen bien el aceite y la
gasolina.
Deseche los envases vacíos usados
para mezclar el aceite únicamente en
vertederos autorizados para ello.
Gaso-
lina
Aceite (STIHL 50:1 o aceite
de alta calidad equivalente)
gal
EE. UU.
oz fl
EE. UU.
12,6
2 1/2 6,4
5 12,8

MS 251, MS 251 C
español / EE.UU
96
Preparaciones
NAntes de llenar la máquina con
combustible, limpie a fondo la tapa
de llenado y la zona alrededor del
mismo para evitar la entrada de
tierra al tanque.
Siempre agite bien la mezcla en el
recipiente antes de llenar la máquina
con combustible.
NColoque la máquina de modo que la
tapa de llenado quede orientada
hacia arriba.
ADVERTENCIA
Para reducir el riesgo de incendios y de
lesiones corporales ocasionadas por los
escapes de vapor de gasolina y otras
emanaciones, quite la tapa de llenado
de combustible cuidadosamente de
modo que la presión que se pueda
haber acumulado en el tanque se disipe
lentamente.
Marcas en tapa de llenado
Los tanques de combustible y sus tapas
pueden portar marcas diferentes.
Según la versión de su máquina, el
tanque de combustible y su tapa pueden
venir con o sin símbolos .
Tapa de llenado sin símbolos
Apertura
NLevante la manija.
NGire la tapa en sentido
contrahorario (aprox. 1/4 de vuelta).
NQuite la tapa de llenado.
Carga de combustible
Tenga cuidado de no derramar el
combustible y no llene en exceso el
tanque. - deje un espacio de aire de
aproximadamente 13 mm (1/2 pulg).
Cierre
La manija está en posición vertical:
Llenado de combustible
001BA229 KN
A izquierda: Tapa de llenado sin
símbolos.
A derecha: Tanque de combustible y
tapa con marcas y
símbolos.
001BA240 KN
001BA218 KN
001BA219 KN
001BA224 KN
001BA220 KN

MS 251, MS 251 C
español / EE.UU
97
NInserte la tapa – las marcas de
posición de la tapa deberán quedar
alineadas con las marcas de la
abertura del tanque de combustible.
NLa tapa deberá caer
completamente en la abertura en
esta posición.
NMantenga presionada la tapa de
llenado y gírela en sentido horario
hasta que se enganche
NGire la manija hacia abajo.
Comprobación del cierre
NLa orejeta de la empuñadura
deberá encajar completamente en
la hendidura (flecha) y la
empuñadura debe quedar
completamente a ras con la parte
superior de la tapa.
NSujete la tapa y compruebe que
esté bien apretada.
NSi es posible mover la tapa, no se
encuentra debidamente instalada.
Desalineación de la tapa
NSi la tapa no encaja completamente
en la abertura cuando se alinean las
marcas de posición y/o si la tapa no
se aprieta debidamente al girarla, la
base de la tapa puede haber girado
fuera de su posición correcta con
relación a la parte superior.
NTal desalineación puede ser
resultado de la manipulación,
limpieza o un intento incorrecto de
apriete.
NPara corregir la desalineación, gire
la tapa (con la empuñadura hacia
arriba) hasta que encaje
completamente en la abertura del
tanque.
NGire la tapa en sentido
contrahorario hasta donde sea
posible (aprox. 1/4 de vuelta) – esto
gira la base de la tapa a la posición
correcta.
001BA221 KN
001BA222 KN
001BA223 KN
001BA225 KN
A izquierda: Base de tapa incorrecta-
mente alineada (con
espacio vacío)
A derecha: Base de la tapa correcta-
mente colocada para la
instalación
001BA227 KN
001BA226 KN

MS 251, MS 251 C
español / EE.UU
98
NGire la tapa en sentido horario,
cerrándola de modo normal –
consulte las secciones "Cierre" y
"Comprobación del cierre."
NSi aún no es posible apretar la tapa
de modo debido, la misma podría
estar averiada o rota; ponga la
máquina fuera de servicio de
inmediato y llévela a un
concesionario STIHL autorizado
para repararla.
Tapa de llenado con marcas y símbolos
Apertura
NLevante la manija.
NGire la tapa en sentido
contrahorario (aprox. 1/4 de vuelta).
Las marcas de la tapa deben quedar
alineadas con las de la caja.
NQuite la tapa de llenado.
Carga de combustible
Tenga cuidado de no derramar el
combustible y no llene en exceso el
tanque. - deje un espacio de aire de
aproximadamente 13 mm (1/2 pulg).
Cierre
La manija está en posición vertical:
NColoque la tapa de llenado en
posición – las marcas en la tapa
deben quedar alineadas con las de
la caja.
NEmpuje la tapa hacia abajo hasta
donde sea posible.
NMantenga presionada la tapa de
llenado y gírela en sentido horario
hasta que se enganche
Entonces las marcas de la tapa
quedarán alineadas con las de la caja.
NGire la manija hacia abajo.
001BA236 KN
001BA232 KN
001BA234 KN
001BA237 KN
001BA234 KN
001BA233 KN
001BA231 KN
001BA235 KN

MS 251, MS 251 C
español / EE.UU
99
La tapa de llenado ahora está cerrada.
Si no es posible enganchar la tapa de
llenado en la caja del tanque
La base de la tapa de llenado está
inclinada con respecto a la parte
superior.
NObserve las marcas de alineación
negras en la parte superior de la
tapa de llenado.
NCon la tapa de llenado colocada en
el cuello de llenado, gírela en
sentido contrahorario hasta que
descienda a su asiento.
NSiga girando la tapa de llenado en
sentido contrahorario (aprox. 1/4 de
vuelta) – con este movimiento se
gira la base de la tapa a la posición
correcta
NMientras empuja la tapa hacia
abajo, gírela en sentido horario y
ciérrela – consulte la sección
"Cierre."
Para la lubricación automática y
confiable de la cadena y espada – utilice
exclusivamente un lubricante de
calidad, compatible con el medio
ambiente, diseñado para uso con
cadenas y espadas. Se recomienda el
aceite STIHL Bioplus, el cual es
rápidamente biodegradable.
INDICACIÓN
El aceite de cadena biodegradable debe
ser resistente al envejecimiento (por
ejemplo, STIHL Bioplus), pues de lo
contrario se convertiría rápidamente en
resina. Esto produce como resultado
depósitos sólidos difíciles de quitar,
especialmente en las zonas del mando
de la cadena y la cadena misma. Hasta
puede causar el agarrotamiento de la
bomba de aceite.
La vida útil de la cadena y de la espada
depende de la calidad del lubricante.
Por lo tanto, es esencial usar un
lubricante de cadena de formulación
especial.
ADVERTENCIA
No use aceite de desecho. El contacto
repetido con aceite de desecho puede
causar cáncer en la piel. Además, el
aceite de desecho es dañino para el
ambiente.
INDICACIÓN
El aceite de desecho no tiene las
propiedades lubricantes necesarias y no
es adecuado para la lubricación de
cadenas.
A izquierda: La base de la tapa de lle-
nado se ha girado – la
marca interior (1) está
alineada con la exterior.
A derecha: La base de la tapa de lle-
nado está en posición
correcta – la marca inte-
rior está debajo de la
pinza. No queda ali-
neada con la marca
exterior.
001BA241 KN
1
001BA238 KN
001BA239 KN
Lubricante de cadena

MS 251, MS 251 C
español / EE.UU
100
Preparaciones
NLimpie a fondo la tapa de llenado de
aceite y la zona alrededor de la
misma para evitar la entrada de
suciedad al tanque.
NColoque la máquina de modo que la
tapa de llenado quede orientada
hacia arriba.
NAbra la tapa de llenado.
Llenado del tanque de aceite de la
cadena
NLlene el tanque de aceite de la
cadena cada vez que se llene con
combustible la máquina.
Tenga cuidado de no derramar el aceite
de la cadena y no llene en exceso el
tanque.
NCierre la tapa de llenado.
Todavía debe quedar un poco de aceite
en el tanque de aceite cuando el tanque
de combustible está vacío.
Si el nivel de aceite en el tanque no se
baja, es posible que existe un problema
en el suministro de aceite. Revise la
lubricación de la cadena, limpie los
conductos de aceite y comuníquese con
el concesionario para obtener ayuda.
STIHL recomienda que un
concesionario STIHL autorizado efectúe
los trabajos de mantenimiento y
reparación.
La cadena de aserrado siempre debe
lanzar una pequeña cantidad de aceite.
INDICACIÓN
Nunca haga funcionar la sierra si la
cadena no está lubricada. Si la cadena
funciona sin lubricación, todo el
accesorio de corte sufrirá daños
permanentes en un lapso muy breve.
Siempre revise la lubricación de la
cadena y el nivel de aceite en el tanque
antes de empezar a trabajar.
Es necesario someter las cadenas
nuevas a un período de rodaje por 2 a 3
minutos.
Después del rodaje inicial de la cadena,
revise su tensión y ajústela de ser
necesario – vea el capítulo "Revisión de
la tensión de la cadena".
Llenado del tanque de aceite
de la cadena
001BA158 KN
Revisión de lubricación de la
cadena
143BA024 KN

MS 251, MS 251 C
español / EE.UU
101
Inmovilización de la cadena con el freno
de la cadena
–en caso de emergencia
–durante el arranque
–a velocidad de ralentí
La cadena está parada y bloqueada
cuando la mano izquierda del operador
empuja el protector de mano hacia la
punta de la espada – o cuando el freno
se activa por inercia en ciertas
situaciones de contragolpe.
Desconexión del freno de la cadena
NTire del protector de la mano hacia
el mango delantero.
INDICACIÓN
Siempre desconecte el freno de la
cadena antes de acelerar el motor y
antes de iniciar el trabajo de corte. La
única excepción a esta regla es cuando
se está probando el funcionamiento del
freno de la cadena.
El funcionamiento a velocidad alta con
el freno de la cadena aplicado (cadena
trabada) dañará rápidamente el motor y
el mando de la cadena (embrague, freno
de la cadena).
El freno de la cadena también ha sido
diseñado para activarse por la inercia
del protector delantero de la mano
en caso de fuerzas suficientemente
altas. El protector es empujado a gran
velocidad hacia la punta de la espada,
aunque usted no tenga la mano
izquierda detrás del protector, por
ejemplo, durante un corte de tala. El
freno de la cadena funcionará
únicamente si ha recibido el
mantenimiento adecuado y el protector
de la mano no ha sido modificado de
manera alguna.
Prueba del funcionamiento del freno de
la cadena
Antes de empezar a trabajar: Haga
funcionar el motor a ralentí y aplique el
freno de cadena (empuje el protector de
la mano hacia la punta de la barra).
Acelere a fondo por no más de 3
segundos – la cadena no debe girar. El
protector de la mano debe estar limpio y
moverse libremente.
Mantenimiento del freno de la cadena
El freno de la cadena está expuesto a
desgaste normal. Es necesario hacerlo
revisar en un lugar con personal
competente, como el concesionario
STIHL, cada vez que se cumplan los
siguientes intervalos:
Freno de la cadena
143BA011 KN
143BA012 KN
Uso continuo: cada 3
meses
Uso a tiempo parcial: cada 6
meses
Uso esporádico: cada 12
meses

MS 251, MS 251 C
español / EE.UU
102
Precalentamiento del carburador
NRetire la envuelta – vea "Envuelta".
A temperaturas bajo +10°C (+50°F):
NUtilice un destornillador para
apalancar el obturador y quitarlo de
la posición de verano (s).
NColoque el obturador en la posición
de invierno (r) con su abertura
orientada hacia la motosierra – se
debe escuchar un sonido cuando el
obturador se engancha en posición.
NInstale la envuelta – vea "Envuelta".
Ahora, el aire caliente es aspirado de
alrededor del cilindro para calentar el
carburador – para ayudar a evitar la
formación de escarcha en el carburador.
A temperaturas sobre +20°C (+70°F)
NSiempre devuelva el obturador a la
posición de verano (s) para evitar
problemas de funcionamiento y
calor excesivo.
A temperaturas bajo 10°C (14°F)
NSi la sierra está muy fría (escarcha
o hielo en la máquina), arranque el
motor y manténgalo a marcha en
vacío alta (con el freno de la cadena
desengranado) hasta que alcance
la temperatura normal de
funcionamiento.
Si la velocidad de marcha en vacío es
errática, o la aceleración es débil
NGire el tornillo de velocidad baja (L)
1/4 de vuelta en sentido
contrahorario.
Normalmente es necesario cambiar el
ajuste del tornillo de ajuste de marcha
en vacío (LA) después de ajustar el
tornillo de baja velocidad (L) – vea
"Ajuste del carburador".
Sistema de filtrado
NDe ser necesario, convierta el filtro
de aire – vea "Sistema de filtro de
aire"
Versiones con Easy2Start
ADVERTENCIA
Esta máquina es muy sencilla y fácil de
arrancar, incluso para los niños.
Para reducir el riego de lesiones graves
o muerte:
–No permita que los niños u otras
personas no autorizadas intenten
arrancar o utilizar de algún modo la
máquina.
–No permita que los niños o las
personas no autorizadas accedan a
la máquina.
–Nunca deje la máquina funcionando
sin vigilancia mientras trabaja o
durante los descansos.
–Después de utilizarla, guárdela en
un lugar seguro y lejos del alcance
de los niños y las personas no
autorizadas.
Manejo durante el invierno
2310BA000 KN
2310BA001 KN
Arranque / parada del motor

MS 251, MS 251 C
español / EE.UU
103
Posiciones de la palanca de control
maestro
Stop 0 – motor apagado – el encendido
está apagado
Posición de funcionamiento normal (F) –
el motor está en marcha o puede
arrancarse.
Posición de aceleración de
arranque (n) – esta posición se usa
para arrancar un motor caliente. La
palanca de control maestro se mueve a
la posición de funcionamiento normal
tan pronto se oprime el gatillo.
Obturador de estrangulador
cerrado (l) – esta posición se usa
para arrancar un motor frío.
Ajuste de la palanca de control maestro
Para mover la palanca de control
maestro de la posición de marcha
normal (F) a la posición de
estrangulador cerrado (l), pulse el
bloqueo del gatillo de aceleración y
oprima simultáneamente sin soltar el
gatillo de aceleración – ahora posicione
la palanca de control maestro.
Para seleccionar la posición de
aceleración de arranque (n), primero
mueva la palanca de control maestro a
la posición de estrangulador
cerrado (l), luego empújela la posición
de aceleración de arranque (n).
La palanca de control maestro deberá
colocarse en la posición de
estrangulador cerrado (l) para
efectuar el cambio a la posición de
aceleración de arranque (n).
La palanca de control maestro se mueve
de la posición de aceleración de
arranque (n) a la posición de
marcha (F) cuando se opriman
simultáneamente el bloqueo del gatillo
de aceleración y el gatillo de
aceleración.
Para apagar el motor, mueva la palanca
de control maestro a Stop (0).
Obturador del estrangulador
cerrado (l)
–Si el motor está frío
–Si el motor se apaga al accionar el
acelerador después del arranque.
–Si se ha dejado que se agote el
combustible (el motor se para).
Posición de aceleración de
arranque (n)
–Si el motor está caliente, es decir ha
estado en marcha durante aprox.
un minuto.
–cuando el motor empieza a
encenderse.
–después de corregir la condición de
cámara de combustión ahogada.
Bomba de combustible
Oprima el bulbo de la bomba de
combustible varias veces, aunque el
bulbo esté lleno de combustible.
–Cuando la arranque por primera
vez:
–Si se ha dejado que se agote el
combustible (el motor se para).
Sujeción de la motosierra
Hay dos maneras de posicionar la
motosierra para el arranque.
STOP
0
001BA140 KN

MS 251, MS 251 C
español / EE.UU
104
En el suelo
NColoque la motosierra sobre el
suelo. Asegúrese de tener los pies
bien apoyados – verifique que la
cadena no esté en contacto con
ningún objeto ni con el suelo.
NSujete firmemente la sierra en el
suelo con la mano izquierda en el
mango delantero – el pulgar debe
quedar debajo del mango.
NPonga el pie derecho en el mango
trasero y presione hacia abajo.
Entre las rodillas o los muslos
NSujete el mango trasero bien
apretado entre las piernas un poco
más arriba de las rodillas.
NAgarre firmemente el mango
delantero con la mano izquierda – el
pulgar debe quedar debajo del
mango.
Arranque
Versiones estándar
NCon la mano derecha tire
lentamente del mango de arranque
hasta que sienta una resistencia
definitiva y en seguida dele un tirón
fuerte y rápido y, al mismo tiempo,
empuje hacia abajo el mango
delantero. No tire de la cuerda de
arranque totalmente hasta afuera,
se podría romper. No deje que el
mango de arranque salte
bruscamente hacia atrás. Guíelo
lentamente hacia el interior de la
carcasa para que la cuerda de
arranque se enrolle correctamente.
Máquinas sin bomba de combustible de
mano adicional: Si el motor es nuevo o
después de un período prolongado sin
2310BA008 KN
2310BA009 KN
231BA010 KN

MS 251, MS 251 C
español / EE.UU
105
uso, puede ser necesario tirar de la
cuerda de arranque varias veces para
cebar el sistema de combustible.
Versiones con Easy2Start
El sistema Easy2Start almacena la
energía requerida para arrancar la
motosierra. Por esta razón, es posible
que haya un intervalo de varios
segundos en el proceso de arranque del
motor.
Hay dos maneras de arrancar las
máquinas con Easy2Start:
NAgarre el mango de arranque con la
mano derecha y tírelo lenta y
continuamente – o – agarre el
mango de arranque con la mano
derecha y dele varios tirones
fuertes y cortos; extraiga solamente
un tramo corto de cuerda en cada
tirón.
NEmpuje el mango hacia abajo al
hacer girar el motor. No tire de la
cuerda totalmente hasta afuera – se
podría romper.
NNo deje que el mango de arranque
salte bruscamente hacia atrás.
Guíelo lentamente hacia el interior
de la carcasa para que la cuerda de
arranque se enrolle correctamente.
Arranque de la motosierra
ADVERTENCIA
Las personas ajenas al trabajo deben
mantenerse alejadas de la zona general
de uso de la sierra.
NRespete las medidas de seguridad.
Versiones con bomba de combustible
manual
NOprima el bulbo de la bomba de
combustible por lo menos cinco
veces, aunque el bulbo esté lleno
de combustible.
Todos los modelos
NEmpuje hacia adelante el protector
de la mano (1) – la cadena está
bloqueada.
NOprima el bloqueo del gatillo (2) y
tire del gatillo de aceleración (3) al
mismo tiempo. Mueva la palanca de
control maestro (4) a:
Obturador del estrangulador
cerrado (l)
–Si el motor está frío (utilice esta
posición también si el motor se
apaga al accionar el acelerador
después del arranque)
Posición de aceleración de
arranque (n)
–Si el motor está caliente, es decir ha
estado en marcha durante aprox.
un minuto.
NSujete y arranque la motosierra de
la manera descrita.
2310BA021 KN
3
1
2
4
2310BA002 KN
0

MS 251, MS 251 C
español / EE.UU
106
Cuando el motor empieza a encenderse
NPonga la palanca de control
maestro (4) en la posición de
aceleración de arranque (n ).
NSujete y arranque la motosierra de
la manera descrita.
Tan pronto arranca
NOprima el bloqueo del gatillo y luego
tire del gatillo de aceleración (3)
momentáneamente – La palanca de
control maestro (4) se mueve a la
posición de marcha (F) y el motor se
desacelera hasta llega a marcha en
vacío.
INDICACIÓN
Ya que el freno de la cadena todavía
está activado, el motor deberá volver a
marcha en vacío inmediatamente para
evitar que se dañen la carcasa del motor
y el freno de la cadena.
NTire del protector de la mano hacia
el mango delantero.
El freno de la cadena está desactivado –
la motosierra está lista para trabajar.
INDICACIÓN
Siempre suelte el freno de la cadena
antes de acelerar el motor. El
funcionamiento a velocidad alta con el
freno de la cadena aplicado (cadena
bloqueada) dañará rápidamente el
embrague y el freno de la cadena.
A temperaturas ambiente muy bajas
NDeje que el motor se caliente a
aceleración parcial.
NDe ser necesario, cambie al ajuste
para uso durante el invierno – vea
"Manejo durante el invierno".
Apagado del motor
NMueva la palanca de control
maestro a la posición de parada (0).
Si el motor no arranca
Si no se movió la palanca de control
maestro de la posición de estrangulador
cerrado (l) a la de aceleración de
arranque (n) con rapidez suficiente
luego de que el motor empezara a
arrancar, la cámara de combustión
podría estar ahogada.
NMueva la palanca de control
maestro a la posición de parada (0).
NQuite la bujía – vea "Bujía".
NSeque la bujía.
NHaga girar el motor varias veces
con el arrancador para despejar la
cámara de combustión.
NVuelva a colocar la bujía – vea
"Bujía".
NColoque la palanca de control
maestro en la posición de
aceleración de arranque (n) –
aunque el motor esté frío.
NAhora arranque el motor.
4
2310BA003 KN
STOP
0
3
4
2310BA004 KN
STOP
0
001BA186 KN

MS 251, MS 251 C
español / EE.UU
107
Durante el período de rodaje
Una máquina nueva no debe hacerse
funcionar a velocidad alta (aceleración
máxima sin carga) por el lapso que tome
llenar el tanque tres veces. Esto evita la
imposición de cargas innecesariamente
altas durante el período de rodaje. Ya
que todas las piezas móviles deben
asentarse durante el período de rodaje
inicial, durante este tiempo la resistencia
causada por fricción en el bloque de
motor es más elevada. El motor
desarrolla su potencia máxima después
de haber llenado el tanque de 5 a 15
veces.
Durante el trabajo
INDICACIÓN
No empobrezca la mezcla para obtener
un aumento aparente de potencia – esto
puede dañar el motor – vea "Ajuste del
carburador" -
INDICACIÓN
Abra el acelerador sólo cuando el freno
de la cadena está suelto. El
funcionamiento del motor a velocidad
alta con el freno de la cadena aplicado
(cadena bloqueada) dañará
rápidamente el bloque de motor y el
mando de la cadena (embrague, freno
de la cadena).
Revise frecuentemente la tensión de la
cadena
Es necesario tensar una cadena de
aserrado nueva con mayor frecuencia
que una que ha estado en uso por un
período prolongado.
Cadena fría
La tensión es correcta cuando la cadena
encaja ajustadamente contra la parte
inferior de la espada pero todavía puede
ser tirada a lo largo de la espada con la
mano. Ténsela nuevamente de ser
necesario – Vea "Tensado de la cadena
de aserrado".
Cadena a temperatura de
funcionamiento
La cadena se estira y empieza a colgar
con soltura. Los eslabones impulsores
no deben salirse de la ranura en la parte
inferior de la espada – de lo contrario la
cadena puede saltarse de la espada.
Vuelva a tensar la cadena – Vea
"Tensado de la cadena de aserrado".
INDICACIÓN
La cadena se contrae al enfriarse. Si no
se suelta la tensión, se podría dañar el
cigüeñal y los cojinetes.
Después de un período prolongado a
aceleración máxima
Después de un período largo de
funcionamiento con el acelerador a
fondo, deje funcionar el motor por un
rato en ralentí de modo que el calor en
el motor sea disipado por la corriente de
aire de enfriamiento. Esto ayuda a evitar
que los componentes montados en el
motor (encendido, carburador) sufran
sobrecargas térmicas.
Después de terminar el trabajo
NAfloje la cadena si se ha vuelto a
tensar la cadena cuando está a
temperatura de funcionamiento
durante el trabajo.
INDICACIÓN
Suelte siempre la tensión de la cadena
después de terminar los trabajos. La
cadena se contrae al enfriarse. Si no se
suelta la tensión, se podría dañar el
cigüeñal y los cojinetes.
Almacenamiento por corto tiempo
Espere que el motor se enfríe. Guarde la
máquina con el tanque de combustible
lleno en un lugar seco, alejada de
fuentes de encendido, hasta que la
vuelva a utilizar.
Almacenamiento por largo tiempo
Consulte "Almacenamiento de la
máquina".
Instrucciones para el uso

MS 251, MS 251 C
español / EE.UU
108
NDé vuelta a la espada – cada vez
que afile la cadena – y cada vez que
sustituya la cadena – con ello
ayudará a evitar que se produzca
desgaste por un solo lado,
especialmente en la punta y la cara
inferior de la espada.
NLimpie regularmente el orificio de
entrada de aceite (1), el conducto
de aceite (2) y la ranura de la
espada (3).
NMida la profundidad de la ranura,
con el calibrador de rectificación
(accesorio especial), en la zona
utilizada para la mayoría de los
cortes.
Si la profundidad de la ranura es menor
que la especificada:
NSustituya la espada.
De lo contrario las pestañas de los
eslabones impulsores rasparán la parte
inferior de la ranura – los cortadores y
las amarras no viajarán sobre los rieles
de la espada.
Retiro de la envuelta
NMueva la palanca de control
maestro a la posición de parada 0
NEmpuje el protector de la mano
frontal hacia adelante – la cadena
de aserrado se bloquea
NAfloje los tornillos (1)
NRetire la envuelta (2)
Reinstalación de la envuelta
NVuelva a colocar la envuelta y
apriete los tornillos
Cuidado de la espada
2
3
1
143BA026 KN
Tipo de
cadena
Paso de
cadena
Profundidad
mínima de
ranura
Picco 1/4 pulg P 4,0 mm
(0,16 pulg)
Rapid 1/4 pulg 4,0 mm
(0,16 pulg)
Picco 3/8 pulg P 5,0 mm
(0,20 pulg)
Rapid 3/8 pulg;
0,325 pulg
0,6 mm
(0,24 pulg)
Rapid 0,404 pulg 7,0 mm
(0,28 pulg)
Cubierta
1
1
1
2710BA003 KN
2

MS 251, MS 251 C
español / EE.UU
109
Es posible adaptar el sistema de filtro de
aire a diferentes condiciones de trabajo
mediante la instalación de filtros
diferentes. El filtro puede cambiarse
rápida y sencillamente.
Filtro de fieltro
NFiltro de fieltro para condiciones de
funcionamiento normales y áreas
de trabajo secas.
Filtro HD2
NFiltro HD2 (armazón de filtro negro,
material de filtro con pliegues) para
condiciones de invierno extremas
(por ejemplo, nieve fina o
desplazada por el viento) o áreas de
trabajo muy polvorientas.
Si se nota una pérdida considerable de
la potencia del motor
NRetire la envuelta – vea "Envuelta"
Retiro del filtro de aire
NLimpie toda la suciedad de
alrededor del filtro
INDICACIÓN
No utilice herramientas para quitar e
instalar el filtro de aire, ya que es posible
dañarlo.
NGire el filtro de aire 1/4 de vuelta en
sentido contrahorario y retírelo en el
sentido de la manija trasera
NUn filtro dañado siempre debe
sustituirse
Limpieza del filtro de aire
NGolpee el filtro para limpiarlo o
sóplelo con un chorro de aire
comprimido de adentro hacia
afuera.
Si no basta con golpear el filtro o
limpiarlo con un chorro de aire, o en
caso de tener tierra pegada al elemento
del filtro, será necesario limpiarlo a
fondo.
Limpieza a fondo de filtros
NLave el filtro con el limpiador
universal de STIHL (accesorio
especial) o una solución limpia y no
inflamable (tal como agua jabonosa
tibia) – enjuague el filtro, de adentro
hacia afuera, con un chorro de agua
de baja presión – no use lavadores
de alta presión
NSeque todos los componentes del
filtro – evite el calor extremo
NNo lubrique el filtro con aceite
NVuelva a instalar el filtro
Instalación del filtro de aire
NColocación del filtro de aire
NPresione el filtro de aire en el
sentido de su carcasa y al mismo
tiempo gírelo en sentido horario
hasta que se enganche – el logotipo
"STIHL" debe quedar en posición
horizontal
NRetire la envuelta – vea "Envuelta"
Sistema de filtro de aire
5902BA009 KN
5902BA008 KN
Limpieza del filtro de aire
1.
2710BA000 KN
2.
2710BA001 KN
2. 1.

MS 251, MS 251 C
español / EE.UU
110
Las emisiones de gases de escape son
controladas por el diseño de parámetros
y componentes fundamentales del
motor (por ej. carburación, encendido,
regulación y regulación de las válvulas o
la lumbrera) sin la adición de ningún
equipo importante.
Información general
El carburador se ajusta en la fábrica al
ajuste estándar.
Este ajuste provee una mezcla óptima
de combustible y aire bajo la mayoría de
las condiciones de funcionamiento.
Ajuste estándar
NApague el motor.
NRevise el filtro de aire y límpielo o
sustitúyalo de ser necesario.
NRevise el chispero del silenciador
(no se usa en todos los modelos, se
usa sólo en ciertos países) y
límpielo o sustitúyalo de ser
necesario.
NGire el tornillo de ajuste de
velocidad alta (H) en sentido
contrahorario hasta su tope (no más
que 3/4 de vuelta).
NGire el tornillo de ajuste de baja
velocidad (L) cuidadosamente en
sentido horario hasta su tope y
luego 1/4 de vuelta en sentido
contrario.
Ajuste de marcha en vacío
NLleve a cabo el ajuste normal.
NArranque el motor y caliente.
El motor se para cuando funciona a
marcha en vacío
NGire el tornillo de ajuste de marcha
en vacío (LA) en sentido horario
hasta que la cadena comience a
funcionar, y después gírelo 1 vuelta
completa en sentido contrario.
La cadena funciona mientras el motor
está a ralentí
NGire el tornillo de marcha en
vacío (LA) en sentido contrahorario
hasta que la cadena se detenga y
luego 1 vuelta adicional en el
mismo sentido.
ADVERTENCIA
Si la cadena sigue en marcha cuando el
motor está funcionando a ralentí, pida a
su concesionario de servicio que revise
y repare la motosierra.
Gestión del motor Ajuste del carburador
2310BA027 KN
2310BA028 KN

MS 251, MS 251 C
español / EE.UU
111
Funcionamiento irregular a marcha en
vacío, aceleración deficiente (aunque el
ajuste estándar del tornillo de velocidad
baja es correcto)
Ajuste de marcha en vacío con mezcla
muy pobre
NGire el tornillo de ajuste de
velocidad baja (L) en sentido
contrahorario, sin pasar más allá del
tope, hasta que el motor funcione y
se acelere de modo uniforme.
Generalmente es necesario cambiar el
ajuste del tornillo de marcha en
vacío (LA) después de cada corrección
hecha al tornillo de velocidad baja (L).
Ajuste fino para funcionamiento a
alturas grandes
Una corrección muy leve puede ser
necesaria si el motor no funciona
correctamente:
NLleve a cabo el ajuste normal.
NCaliente el motor.
NGire el tornillo de ajuste de
velocidad alta (H) en sentido
horario (mezcla más pobre), pero
no más allá del tope.
INDICACIÓN
Después de que la máquina haya
regresado del punto a altura grande,
devuelva el carburador al ajuste normal.
Si el ajuste es demasiado pobre existe
el riesgo de dañar el motor debido a una
lubricación insuficiente y calor excesivo.
En algunos países, el silenciador tiene
un chispero.
NSi el motor pierde potencia, revise el
chispero en el silenciador.
NDeje que el silenciador se enfríe
NSaque el tornillo (1).
NQuite el chispero (2).
NLimpie el chispero si está sucio; si
está dañado o recubierto de carbón,
instale uno nuevo
NVuelva a instalar el chispero
NInstale el tornillo
Si el motor pierde potencia, es difícil
arrancarlo o funciona de modo irregular
a ralentí, revise la bujía primero.
Instale una bujía nueva después de
aprox. 100 horas de funcionamiento, o
más temprano si los electrodos están
muy gastados.
Si la mezcla del combustible es
incorrecta (demasiado aceite en la
gasolina), el filtro de aire está sucio, y
las condiciones de trabajo no son
favorables (especialmente a
aceleraciones intermedias) se afecta la
condición de la bujía. Estos factores
permiten la formación de depósitos en la
punta aislante, los cuales pueden
perjudicar el rendimiento.
Retiro de la bujía
NRetire la envuelta – vea "Envuelta"
NQuite el casquillo de la bujía
NDestornille la bujía
Chispero en el silenciador
2310BA023 KN
2
1
Bujía
2310BA006 KN

MS 251, MS 251 C
español / EE.UU
112
Revisión de la bujía
NLimpie la bujía si está sucia.
NRevise la separación entre
electrodos (A) y ajústela de ser
necesario – vea "Especificaciones".
NUtilice únicamente bujías tipo
resistencia cuyo margen de
rendimiento sea el aprobado.
Corrija los problemas que hayan
causado la contaminación de la bujía:
–demasiado aceite en la mezcla de
combustible,
–filtro de aire sucio,
–condiciones desfavorables de
funcionamiento, por ejemplo,
funcionando bajo carga parcial.
ADVERTENCIA
Para reducir el riesgo de incendio y de
quemaduras, utilice solamente las
bujías autorizadas por STIHL. Siempre
empuje el casquillo (1) de la bujía
firmemente en el borne (2) del tamaño
adecuado. (Nota: Si el borne tiene una
tuerca adaptadora SAE desmontable,
tiene que ser firmemente instalada).
Una conexión suelta entre el casquillo
de la bujía y el conector del cable de
encendido en el casquillo puede crear
un arco voltaico y encender los vapores
del combustible, provocando un
incendio.
Instalación de la bujía
NColoque la bujía con la mano
NAtornille la bujía y conecte el
casquillo de la misma de manera
firme
NRetire la envuelta – vea "Envuelta"
000BA039 KN
A
1
2
000BA071 KN
2310BA012 KN

MS 251, MS 251 C
español / EE.UU
113
Retiro de la carcasa del ventilador
NRetire la envuelta – vea "Envuelta".
NSaque los tornillos (1).
NEmpuje el protector de la mano
hacia arriba.
NAparte del cárter la parte inferior de
la carcasa del ventilador y retírela
hacia abajo.
Retiro del rotor de la cuerda
Versiones con Easy2Start
Si no hay alicates para circlips
disponibles, pida al concesionario de
servicio que sustituya la cuerda de
arranque o el resorte de rebobinado.
NUtilice alicates para circlips y
extraiga cuidadosamente el
circlip (1).
NQuite la arandela (2), el portador (3)
y la carcasa del resorte (4).
Todas las versiones con un solo
trinquete
NUse un destornillador o alicates
adecuados para retirar
cuidadosamente la pinza de
resorte (1) del poste del arrancador.
NQuite cuidadosamente el rotor de la
cuerda con la arandela (2) y el
trinquete (3).
ADVERTENCIA
El resorte de rebobinado puede saltarse
y desenrollarse durante esta operación
– tome medidas para evitar lesiones.
Todas las versiones con dos trinquetes
NUse un destornillador o alicates
adecuados para retirar
cuidadosamente la pinza de
resorte (1) del poste del arrancador.
NQuite cuidadosamente el rotor de la
cuerda con la arandela (2) y los
trinquetes (3).
ADVERTENCIA
El resorte de rebobinado puede saltarse
y desenrollarse durante esta operación
– tome medidas para evitar lesiones.
Sustitución de una cuerda de arranque
rota
Versiones estándar
NQuite el resto de la cuerda del rotor
y del mango de arranque.
Sustitución de la cuerda de
arranque y del resorte de
rebobinado
1
1
1
1
5902BA028 KN
1
5902BA017 KN
2
3
4
1
2
3
2710BA004 KN
2
33
5902BA018 KN
1

MS 251, MS 251 C
español / EE.UU
114
NPase la cuerda nueva por el mango
de arranque y haga uno de los
nudos ilustrados.
NTire del nudo de vuelta en el mango.
Modelos con ElastoStart
NApalanque la tapa para quitarla del
mango de arranque.
NQuite el resto de la cuerda del rotor
y del mango de arranque.
NPase la cuerda nueva por el mango
de arranque y haga un nudo de rizo
sencillo.
NTire del nudo de vuelta en el mango.
NVuelva a instalar la tapa en el
mango.
Versiones con Easy2Start
NQuite el resto de la cuerda del rotor
y del mango de arranque.
NPase la cuerda nueva por el mango
de arranque y haga uno de los
nudos ilustrados.
Instalación del rotor de la cuerda
NPase el extremo de la cuerda por la
parte superior del buje guía (1) y el
rotor (2) y fíjela con un nudo de rizo
simple.
NCubra la cavidad del cojinete del
rotor de la cuerda con aceite sin
resina.
NDeslice el rotor sobre el poste del
arrancador (3) – gírelo hacia uno y
otro lado para engranar la espiral
terminal del resorte de rebobinado.
213BA018 KN
5902BA019 KN
146BA018 KN
151BA021 KN
2
3
5902BA021 KN
1

MS 251, MS 251 C
español / EE.UU
115
Versiones con un solo trinquete
NVuelva a colocar el trinquete (3) en
el rotor e instale la arandela (2) en
el poste del arrancador.
NUse un destornillador o alicates
adecuados para instalar la pinza de
resorte (1) en el poste del
arrancador y sobre los vástagos de
los trinquetes – la pinza de resorte
debe apuntar en sentido horario
como se muestra en la ilustración.
Versiones con dos trinquetes
NColoque los trinquetes (3) en el
rotor e instale la arandela (2) en el
poste del arrancador.
NUse un destornillador o alicates
adecuados para instalar la pinza de
resorte (1) en el poste del
arrancador y sobre los vástagos de
los trinquetes – la pinza de resorte
debe apuntar en sentido horario
como se muestra en la ilustración.
Tensado del resorte de rebobinado
NForme un bucle con la cuerda de
arranque sin enrollar y utilícelo para
girar el rotor seis revoluciones
completas en el sentido de la flecha.
NSujete firmemente el rotor. Tire y
enderece la cuerda torcida.
NSuelte el rotor de la cuerda.
NSuelte lentamente la cuerda para
que se enrolle en el rotor.
El mango de arranque debe quedar
firmemente en el buje guía. Si el mango
cae hacia un lado: Déle una vuelta
adicional al rotor de la cuerda para
aumentar la tensión del resorte.
INDICACIÓN
Cuando la cuerda de arranque se
extiende completamente, debe ser
posible girar el rotor media vuelta
adicional. En caso contrario, el resorte
está sobretensado y podría romperse:
NQuítele una vuelta de la cuerda al
rotor.
Versiones con Easy2Start
NInstale la carcasa de resorte, el
impulsor y la arandela en el poste
del arrancador.
NUtilices alicates para circlips e
instale el circlip cuidadosamente en
la ranura en el poste del arrancador.
Todos los modelos
NInstale la carcasa del ventilador y la
envuelta.
Sustitución del resorte de rebobinado
roto
NQuite el rotor de la cuerda de la
forma descrita en "Sustitución de
una cuerda de arranque rota".
ADVERTENCIA
Los pedazos de resorte todavía pueden
estar bajo tensión y podrían salir
lanzados cuando los saque de la
carcasa del ventilador. Para reducir el
riesgo de lesionarse, póngase un
protector facial y guantes gruesos.
NUtilice un destornillador para quitar
cuidadosamente las piezas del
resorte de la carcasa.
NLubrique el resorte nuevo con unas
cuantas gotas de aceite sin resina.
1
2
3
2710BA004 KN
2
33
5902BA018 KN
1
213BA021 KN

MS 251, MS 251 C
español / EE.UU
116
NColoque el resorte nuevo con el
marco en la carcasa del ventilador;
la espiral de anclaje (flecha) debe
engancharse en la orejeta de la
carcasa.
NAplique las herramientas
adecuadas (destornillador, punzón,
etc.) a las cavidades (flechas) y
empuje el resorte hasta su asiento
en la carcasa del ventilador; se sale
del marco de retención durante este
proceso.
NInstale el rotor de la cuerda y tense
el resorte de rebobinado.
NInstale la carcasa del ventilador y la
envuelta.
Para intervalos de 3 meses o más
NVacíe y limpie el tanque de
combustible en una zona bien
ventilada.
NDeseche el combustible de acuerdo
con los requerimientos locales de
protección del medio ambiente.
NHaga funcionar el motor hasta que
el carburador se seque. Esto ayuda
a evitar que los diafragmas del
carburador se peguen.
NQuite la cadena y la espada,
límpielas y rocíelas con aceite
inhibidor de corrosión.
NLimpie la máquina a fondo - preste
atención especial a las aletas del
cilindro y al filtro de aire.
NSi se usa lubricante biodegradable
para cadenas y espadas, tal como
STIHL BioPlus, llene
completamente el tanque de aceite
de la cadena.
NGuarde la máquina en un lugar seco
y elevado, o bajo llave, fuera del
alcance de los niños y de otras
personas no autorizadas.
NQuite la tapa del piñón, la cadena
de aserrado y la espada.
NSuelte el freno de la cadena tirando
del protector de la mano hacia el
mango delantero
Instalación de piñón de cadena nuevo
–después de cambiar dos cadenas
de aserrado o más temprano
–si las marcas de desgaste (flechas)
tienen una profundidad mayor que
aproximadamente 0,5 mm
(0,02 pulg) – ya que esta condición
acorta la vida útil de la cadena –
utilice un calibrador (accesorio
especial) para comprobar
Al usar dos cadenas de aserrado en
forma alternada se ayuda a conservar el
piñón.
Para ayudar a asegurar el
funcionamiento correcto del freno de la
cadena, use únicamente piñones para
cadenas originales de STIHL.
213BA022 KN
Almacenamiento de la
máquina Revisión y sustitución del
piñón de cadena
001BA121 KN

MS 251, MS 251 C
español / EE.UU
117
NUtilice un destornillador para quitar
la pinza en "E" (1)
NQuite la arandela (2)
NQuite el piñón flotante (3) (si existe),
el tambor del embrague (4) y la
jaula de agujas (6).
NExamine la superficie de contacto
del piñón flotante en el tambor del
embrague (4) – si hay indicaciones
de desgaste excesivo, reemplace
también el tambor del embrague.
NQuite del cigüeñal el tambor del
embrague con el piñón de dientes
rectos integrado (5) (si existe)
incluyendo la jaula de agujas (6) –
para unidades motrices con el
sistema de freno de la cadena
Quickstop Plus, pulse primero el
bloqueo del gatillo de aceleración
Instalación del piñón de dientes rectos /
piñón flotante
NLimpie la punta del cigüeñal y la
jaula de agujas y lubrique con grasa
STIHL (accesorio especial)
NDeslice la jaula de agujas en la
punta del cigüeñal
NDespués de la reinstalación, gire el
tambor del embrague y/o el piñón
de dientes rectos en una vuelta
completa para que se encaje el
portador impulsor de la bomba de
aceite
NVuelva a colocar el piñón flotante –
con las cavidades hacia afuera
NVuelva a colocar la arandela y la
pinza en "E" en el cigüeñal
Aserrado sin esfuerzos con una cadena
debidamente afilada
Una cadena de aserrado debidamente
afilada corta la madera sin esfuerzo, con
empujarla muy poco.
Nunca utilice una cadena de aserrado
desafilada o dañada – esto causa un
aumento en el esfuerzo físico, un
aumento en las vibraciones, cortes no
satisfactorios y un aumento en el
desgaste.
NLimpie la cadena de aserrado
NRevise la cadena de aserrado en
busca de roturas y daños en sus
remaches
NSustituya los componentes
dañados o averiados de la cadena y
adapte estas piezas a las piezas
restantes en lo que respecta a la
forma y nivel del desgaste –
modifique según corresponda
Las cadenas de aserrado con picas de
carburo (Duro) son particularmente
resistentes al desgaste. Para obtener
los mejores resultados en el afilado,
STIHL recomienda acudir a los
concesionarios de servicio STIHL.
ADVERTENCIA
El cumplimiento con los ángulos y
dimensiones que se indican a
continuación es absolutamente
necesario. Una cadena de aserrado mal
afilada – especialmente si tiene
calibradores de profundidad muy bajos –
001BA122 KN
1
2
4
5
6
1
2
3
6
Mantenimiento y afilado de la
cadena de aserrado

MS 251, MS 251 C
español / EE.UU
118
puede aumentar la propensidad a
contragolpes de la motosierra – ¡riesgo
de lesionarse!
Paso de cadena
La marca (a) de paso de la cadena está
trabada en la zona del calibrador de
profundidad de cada cortador.
El diámetro de la lima a utilizarse
depende del paso de la cadena – vea la
tabla de "Herramientas de afilado".
Es necesario mantener los ángulos de
los cortadores durante el afilado.
Afilado y ángulos de placa lateral
AAngulo de afilado
Las cadenas de aserrado STIHL se
afilan con un ángulo de 30°. Las
cadenas desgarradoras, que se afilan
con un ángulo de 10°, son la excepción.
las cadenas desgarradoras tienen una X
en su designación.
BÁngulo de placa lateral
El ángulo correcto de la placa lateral se
obtiene automáticamente cuando se
utilizan el portalima y la lima correctos.
Los ángulos deberán ser idénticos para
todos los cortadores de la cadena de
aserrado. Ángulos con variaciones:
Movimiento áspero y desigual de la
cadena de aserrado, aumento en el
desgaste – hasta el punto de causar la
rotura de la cadena.
Portalima
NUse un portalima
Siempre utilice un portalima (accesorio
especial, vea la tabla de "Herramientas
de afilado") al afilar las cadenas de
aserrado a mano. Los portalimas tienen
marcas que designan el ángulo de
afilado.
¡Utilice únicamente las limas especiales
para cadenas de aserrado! Los otros
tipos de limas no son adecuados para
dar la forma y el tipo de corte.
Comprobación de los ángulos
El calibrador de afilado STIHL
(accesorio especial, consulte la tabla
"Herramientas de afilado") – una
herramienta universal para revisar el
afilado y ángulo de las placas laterales,
Marca (a) Paso de cadena
pulg mm
7 1/4 P 6,35
1 ó 1/4 1/4 6,35
6, P o PM 3/8 P 9,32
2 ó 325 0,325 8,25
3 ó 3/8 3/8 9,32
4 ó 404 0,404 10,26
689BA027 KN
a
Formas de dientes Ángulo (°)
AB
Micro = Dientes semicince-
lados, por ejemplo:
63 PM3, 26 RM3, 36 RM
30 75
Micro = Dientes cincelados,
por ejemplo: 63 PS3,
26 RS, 36 RS3
30 60
Cadena desgarradora, por
ejemplo: 63 PMX, 36 RMX
10 75
A
B
689BA021 KN
689BA025 KN
001BA203 KN

MS 251, MS 251 C
español / EE.UU
119
el ajuste del calibrador de profundidad y
la longitud de las picas, al igual que para
limpiar las ranuras y agujeros de aceite.
Afilado correcto
NSeleccione las herramientas de
afilado según el paso de la cadena
NFije la espada en un tornillo de
banco de ser necesario
NBloquee la cadena de aserrado –
empuje el protector hacia delante
NPara avanzar la cadena de
aserrado, tire del protector hacia el
manillar: Esto suelta el freno de la
cadena. Con el freno de cadena
Quickstop Plus, también hay que
oprimir el bloqueo del gatillo de
aceleración
NAfile con frecuencia, quitando poco
material – dos o tres pasadas de la
lima usualmente son suficientes
para un afilado sencillo
NGuíe la lima: horizontalmente (a un
ángulo recto con respecto a la
superficie lateral de la espada)
según el ángulo especificado –
según las marcas del portalima –
apoye el portalima en la cabeza de
la pica y en el calibrador de
profundidad
NLime únicamente de dentro hacia
fuera
NLa lima afila únicamente en la
pasada de ida – levante la lima para
la pasada de retorno.
NNo lime las tiras ni los eslabones
impulsores
NGire la lima levemente con
regularidad para evitar desgastarla
de modo desigual
NPara eliminar las rebabas de
afilado, utilice un trozo de madera
maciza
NRevise el ángulo con un calibrador
Todos los cortadores deberán tener
longitud igual.
Si hay variaciones en la longitud o altura
de los cortadores, se causa el
movimiento irregular de la cadena de
aserrado y hasta su rotura.
NTodos los cortadores deberán
limarse a una longitud igual a la del
cortador más corto – en el caso
ideal, se solicita a un concesionario
que haga este trabajo con un
afilador eléctrico
Ajuste de calibrador de profundidad
El calibrador determina la profundidad a
la cual el cortador penetra la madera, y
por lo tanto regula el grosor de las
astillas.
aDistancia especificada entre el
calibrador de profundidad y el borde
cortante
Cuando se cortan maderas blandas en
temporada no helada, la distancia
puede aumentarse por hasta 0,2 mm
(0,008 pulg).
689BA018 KN
90°
689BA043 KN
689BA023 KN
a

MS 251, MS 251 C
español / EE.UU
120
Reducción de calibradores de
profundidad
El ajuste del calibrador de profundidad
se reduce cuando se afila la cadena.
NRevise el ajuste del calibrador de
profundidad después del afilado
NColoque el calibrador de afilado (1)
adecuado para el paso en la cadena
de aserrado y presiónelo contra el
cortador que se desea revisar – si el
calibrador de profundidad sobresale
más allá del calibrador de afilado,
será necesario modificar el
calibrador de profundidad
Cadenas de aserrado con eslabón
impulsor con saliente (2) – la parte
superior del eslabón impulsor con
saliente (2) (con marca de servicio) se
baja al mismo tiempo que el calibrador
de profundidad del cortador.
ADVERTENCIA
El resto del eslabón impulsor con
saliente no debe limarse; de lo contrario
esto puede aumentar la propensidad de
culatazos con la motosierra.
NModifique el calibrador de
profundidad de modo que quede a
ras con el calibrador de afilado
NDespués rectifique el borde anterior
del calibrador de profundidad hasta
dejarlo paralelo con respecto a la
marca de servicio (vea la flecha) – al
hacer esto, tenga cuidado de no
bajar el punto más alto del
calibrador de profundidad
ADVERTENCIA
Si los calibradores de profundidad
quedan muy bajos, se aumenta la
propensidad de contragolpes con la
motosierra.
NColoque el calibrador de afilado
sobre la cadena de aserrado – el
punto más alto del calibrador de
profundidad deberá estar a aras
con el calibrador de afilado
NDespués del afilado, limpie la
cadena de aserrado
completamente, quitándole las
partículas metálicas y el polvo –
lubrique la cadena de aserrado
completamente
NEn caso de que la cadena de
aserrado pasará por un período
prolongado sin usarse, guárdela en
condición limpia y lubricada
Paso de cadena Calibrador de
profundidad
Distancia (a)
pulg (mm) mm (pulg)
1/4 P (6,35) 0,45 (0,018)
1/4 (6,35) 0,65 (0,026)
3/8 P (9,32) 0,65 (0,026)
0,325 (8,25) 0,65 (0,026)
3/8 (9,32) 0,65 (0,026)
0,404 (10,26) 0,80 (0,031)
2
689BA061 KN
1
689BA051 KN
689BA044 KN
689BA052 KN

MS 251, MS 251 C
español / EE.UU
121
Herramientas de afilado (accesorios especiales)
Paso de cadena Lima redonda
^
Lima redonda Portalima Calibrador de
afilado
Lima cuadrada
ahusada
Juego de afilado
1)
pulg (mm) mm (pulg) Número de pieza Número de pieza Número de pieza Número de pieza Número de pieza
1/4 P (6,35) 3,2 (1/8) 5605 771 3206 5605 750 4300 0000 893 4005 0814 252 3356 5605 007 1000
1/4 (6,35) 4,0 (5/32) 5605 772 4006 5605 750 4327 1110 893 4000 0814 252 3356 5605 007 1027
3/8 P (9,32) 4,0 (5/32) 5605 772 4006 5605 750 4327 1110 893 4000 0814 252 3356 5605 007 1027
0,325 (8,25) 4,8 (3/16) 5605 772 4806 5605 750 4328 1110 893 4000 0814 252 3356 5605 007 1028
3/8 (9,32) 5,2 (13/64) 5605 772 5206 5605 750 4329 1110 893 4000 0814 252 3356 5605 007 1029
0,404 (10,26) 5,5 (7/32) 5605 772 5506 5605 750 4330 1106 893 4000 0814 252 3356 5605 007 1030
1) consiste de un portalima con lima redonda, una lima cuadrada ahusada y el calibrador de afilado

MS 251, MS 251 C
español / EE.UU
122
Información para mantenimiento
Los intervalos dados a continuación corresponden únicamente a condiciones nor-
males de trabajo. Si el tiempo de trabajo por jornada es más largo que lo normal, o
si las condiciones de trabajo son extremas (zonas muy polvorientas, maderas ricas
en resina, bosques tropicales, etc.), acorte los intervalos indicados de modo corres-
pondiente. Si sólo usa la sierra ocasionalmente, extienda los intervalos como
corresponde.
antes de comenzar el trabajo
después de terminar el tra-
bajo o diariamente
después de cada parada
para cargar combustible
semanalmente
mensualmente
cada 12 meses
si hay problema
si tiene daños
si se requiere
Máquina completa
Inspección visual (condición general,
fugas) XX
Limpiar X
Gatillo de aceleración, bloqueo del gatillo,
palanca de control maestro Comprobar el funcionamiento XX
Freno de la cadena
Comprobar el funcionamiento XX
Solicite al concesionario de servicio su
revisión1)2) X
Recogedor/filtro en tanque de
combustible
Revisar X
Limpiar, cambiar el elemento de filtro XX
Reemplazar XXX
Tanque de combustible Limpiar X
Depósito de aceite de la cadena Limpiar X
Lubricación de la cadena Revisar X
Cadena de aserrado
Inspeccionar, revisar afilado XX
Revisar la tensión de la cadena XX
Afilar X
Espada
Revisar (desgaste, daño) X
Limpiar e invertir X
Quitar las rebabas X
Reemplazar XX
Piñón de la cadena Revisar X
Filtro de aire Limpiar XX
Reemplazar X

MS 251, MS 251 C
español / EE.UU
123
Elementos antivibración
Revisar XX
Solicitar al concesionario de servicio su
sustitución1) X
Entradas de enfriamiento Limpiar X
Toma de aire en caja del ventilador Limpiar XXX
Aletas del cilindro Limpiar XX X
Lumbrera preseparadora y cuerpo de
carburador Limpiar X
Obturador precalentador de carburador y
lumbrera precalentadora Limpiar (sólo operaciones de invierno) X
Carburador
Comprobar el ajuste de marcha en vacío
– la cadena no debe girar XX
Ajustar la marcha en vacío X
Bujía
Ajustar la distancia entre electrodos X
Cambiar después de aprox. cada 100
horas de funcionamiento
Todos los tornillos y tuercas accesibles
(salvo los tornillos de ajuste) 3) Volver a apretar X
Chispero4) en el silenciador Revisar X
Limpiar o reemplazar X
Gancho retenedor de la cadena Revisar X
Reemplazar X
Lumbrera de escape
Descarbonizar después de las primeras
139 horas de funcionamiento, y luego
cada 150 horas
X
Etiquetas de seguridad Reemplazar X
1) STIHL recomienda acudir a un concesionario STIHL para servicio.
2) vea el capítulo "Freno de la cadena"
3) Apriete firmemente los tornillos de la base del cilindro de sierras profesionales (3,4 kW o más) después de 10 a 20 horas de funcionamiento.
4) no se instala en todas las versiones, depende del mercado
Los intervalos dados a continuación corresponden únicamente a condiciones nor-
males de trabajo. Si el tiempo de trabajo por jornada es más largo que lo normal, o
si las condiciones de trabajo son extremas (zonas muy polvorientas, maderas ricas
en resina, bosques tropicales, etc.), acorte los intervalos indicados de modo corres-
pondiente. Si sólo usa la sierra ocasionalmente, extienda los intervalos como
corresponde.
antes de comenzar el trabajo
después de terminar el tra-
bajo o diariamente
después de cada parada
para cargar combustible
semanalmente
mensualmente
cada 12 meses
si hay problema
si tiene daños
si se requiere

MS 251, MS 251 C
español / EE.UU
124
1Bloqueo de envuelta
2Tornillos de ajuste del carburador
3Bomba de combustible1)
4Obturador (para funcionamiento en
verano e invierno)
5Freno de la cadena
6Rueda dentada de la cadena
7Cubierta del piñón de la cadena
8Gancho retenedor de la cadena
9Tensor lateral de la cadena1)
10 Púa de tope
11 Espada
12 Cadena de aserrado Oilomatic
13 Rueda de ajuste1) (tensor rápido de
cadena)
14 Manija de tuerca mariposa1) para
tensor rápido de cadena
15 Tapa de llenado de aceite
16 Silenciador (con chispero)
17 Protector delantero de la mano
18 Mango delantero (manillar)
19 Casquillo de bujía
20 Mango de arranque
21 Tapa de llenado de combustible
22 Palanca de control maestro
23 Gatillo de aceleración
24 Bloqueo de gatillo de aceleración
25 Mango trasero
26 Protector trasero de la mano
#Número de serie
Componentes importantes
4
8
21
10
15
16 1
1
#
13
2310BA007 KN
17
714
11
12
6
9
3
1
23
24
22
19
20
18
5
7
25
26
2
1) Dependiendo del modelo

MS 251, MS 251 C
español / EE.UU
125
Definiciones
1 Bloqueo de envuelta
Una traba para la envuelta.
2 Tornillos de ajuste del carburador
Para afinar el carburador.
3 Bomba de combustible
Suministra alimentación adicional
de combustible para el arranque en
frío.
4 Obturador (para funcionamiento en
verano e invierno)
Con posiciones para invierno y
verano. El carburador se calienta en
la posición de invierno.
5 Freno de la cadena
Un dispositivo para interrumpir la
rotación de la cadena. Es activado
manualmente por el operador o por
inercia en una situación de
contragolpe.
6 Rueda dentada de la cadena
La rueda dentada que impulsa la
cadena de aserrado.
7 Cubierta del piñón de la cadena
Cubre el piñón.
8 Gancho retenedor de la cadena
Ayuda a reducir el riesgo de que el
operador sea golpeado por la
cadena si llega a romperse o salirse
de la espada.
9 Tensor lateral de la cadena
Permite el ajuste preciso de la
tensión de la cadena.
10 Púa de tope
Un tope dentado para retener
firmemente la sierra contra la
madera.
11 Espada
Sirve de soporte y de guía de la
cadena de aserrado.
12 Cadena de aserrado Oilomatic
Cadena cerrada formada por
cortadores, amarras y eslabones
impulsores.
13 Rueda de ajuste (tensor rápido de
cadena)
Permite el ajuste preciso de la
tensión de la cadena.
14 Manija de tuerca mariposa para
tensor rápido de cadena
Es necesario soltarla para poder
tensar la cadena con la rueda de
ajuste.
15 Tapa de llenado de aceite
Para tapar el tanque de aceite.
16 Silenciador (con chispero)
El silenciador reduce los ruidos del
escape del motor y desvía los gases
de escape lejos del usuario.
El chispero está diseñado para
reducir el riesgo de incendios.
17 Protector delantero de la mano
Protege contra las ramas
sobresalientes y ayuda a impedir
que la mano izquierda toque la
cadena si llega a deslizarse fuera
del mango. También sirve de
palanca para activar el freno de la
cadena.
18 Mango delantero (manillar)
Barra de empuñadura para la mano
izquierda ubicada en la parte
delantera de la sierra.
19 Casquillo de bujía
Conecta la bujía al alambre de
encendido.
20 Mango de arranque
El mango del arrancador usado
para arrancar el motor.
21 Tapa de llenado de combustible
Para tapar el tanque de
combustible.
22 Palanca de control maestro
Palanca para controlar el
estrangulador, acelerador de
arranque, posiciones del interruptor
de funcionamiento y parada.
23 Gatillo de aceleración
Regula la velocidad del motor.
24 Bloqueo de gatillo de aceleración
Debe ser oprimido antes de poder
activar el gatillo de aceleración.
25 Mango trasero
El mango para apoyar la mano
derecha ubicado en la parte trasera
de la sierra.
26 Protector trasero de la mano
Suministra protección adicional
para la mano derecha del operador.
Punta de la espada
El extremo expuesto de la espada
(No se muestra; vea el capítulo
"Tensado de la cadena de
aserrado")

MS 251, MS 251 C
español / EE.UU
126
Embrague
Acopla el motor al piñón de la
cadena cuando se acelera el motor
sobre la velocidad de marcha en
vacío. (no se muestra)
Sistema antivibración
El sistema antivibración incluye
varios elementos antivibración
diseñados para reducir la
transmisión de las vibraciones del
motor y del accesorio de corte a las
manos del operador. (no se
muestra)
EPA / CEPA
El período de cumplimiento de
emisiones indicado en la etiqueta de
cumplimiento de emisiones es la
cantidad de horas de funcionamiento
para la cual la máquina ha demostrado
la conformidad con los requerimientos
de emisiones del Gobierno federal de
los EE.UU.
Categoría
Motor
Motor STIHL de un cilindro, dos tiempos
MS 251, MS 251 C
Sistema de encendido
Encendido por magneto electrónico
Sistema de combustible
Carburador de diafragma de todas
posiciones con bomba de combustible
integral
Lubricación de la cadena
Bomba de aceite de émbolo giratorio
controlada por velocidad y plenamente
automática
Peso
Especificaciones
A = 300 horas
B = 125 horas
C = 50 horas
Cilindrada: 45,6 cm3
(2,78 pulg3)
Diámetro: 44 mm
(1,73 pulg)
Carrera: 30 mm
(1,18 pulg)
Potencia del motor
según ISO 7293:
2,2 kW (3,0 hp) a
9500 r/min
Marcha en vacío: 2800 r/min
Ajuste de velocidad
alta al efectuar repa-
raciones (con
espada y cadena): 13 000 r/min
Bujía(tipo
resistencia): NGK CMR6H
Distancia entre
electrodos:
0,5 mm
(0,02 pulg)
Capacidad del tan-
que de combustible: 0,39 l (13,2 oz. fl.)
Capacidad del tan-
que de aceite: 0,2 l (6,7 oz. fl.)
seco, sin espada y cadena
MS 251 4,9 kg
(11,0 lb)
MS 251 C con ajustador
rápido de la
cadena y
Easy2Start:
5,2 kg
(11,5 lb)

MS 251, MS 251 C
español / EE.UU
127
Accesorio de corte
Los accesorios de corte recomendados
de conformidad con la sección 5.11 de
la norma ANSI B 175.12000.
Observe las notas acerca de la norma
ANSI B 175.12000 y la definición de
cadena de bajo contragolpe, en el
capítulo "Medidas de seguridad y
técnicas de trabajo".
Espadas Rollomatic E 3/8 pulg P
Espadas Rollomatic E 0,325 pulg
Cadena P de 3/8 pulg
Cadena de aserrado de 0,325 pulg
Piñones
Para cumplir con las características de
contragolpe estipuladas en la sección
5.11 de la norma ANSI B 175.12000,
utilice exclusivamente las cadenas de
repuesto que, al usarse con esta unidad
motriz específica, satisfagan los
requerimientos de la sección 5.11 de la
norma ANSI o hayan sido designadas
como cadenas de "bajo contragolpe"
según la norma ANSI B 175.12000.
Comuníquese con su concesionario
STIHL para obtener las
recomendaciones más recientes acerca
de nuevas combinaciones de
espada/cadena desarrolladas después
de la publicación de este manual.
Espada STIHL de contragolpe reducido
(con etiqueta verde)
Largos de corte: 30, 35, 40, 45 cm
(12, 14, 16,
18 pulg)
Paso: 9,32 mm P
(3/8 pulg)
Ancho de ranura: 1,3 mm
(0,050 pulg)
Piñón de punta: 9 dientes
Espada STIHL de contragolpe reducido
(con etiqueta verde)
Largos de corte: 35, 40 y 45 cm (14,
16 y 18 pulg)
Paso: 8,25 mm
(0,325 pulg)
Ancho de ranura: 1,6 mm
(0,063 pulg)
Piñón de punta: 11 dientes
Cadenas de aserrado STIHL de bajo
contragolpe (con etiqueta verde)
Picco Micro 3 (63 PM3) Tipo 3636
Picco Super 3 (63 PS3) Tipo 3616
Picco Duro (63 PD3) Tipo 3612
Paso: 9,32 mm P
(3/8 pulg)
Grueso de eslabón
impulsor:
1,3 mm
(0,050 pulg)
Cadenas de aserrado STIHL de bajo
contragolpe (con etiqueta verde)
Rapid Micro 3 (26 RM3) Tipo 3634
Rapid Duro 3 (26 RD3) Tipo 3667
Paso: 8,25 mm
(0,325 pulg)
Grueso de eslabón
impulsor:
1,6 mm
(0,063 pulg)
6 dientes para paso de 3/8 pulg (piñón
de dientes rectos)
7 dientes para 0,325 pulg (piñón de
dientes rectos)

MS 251, MS 251 C
español / EE.UU
128
Comuníquese con su concesionario
STIHL para información acerca de
accesorios especiales que pueden estar
disponibles para su producto.
Sírvase anotar el modelo de su
motosierra, el número de serie, como
también los números de pieza de la
espada y la cadena de aserrado en los
espacios provistos. Con ello se facilitará
el pedido.
La espada y la cadena de aserrado
están expuestas a desgaste normal. Al
comprar estas piezas, indique siempre
el modelo de la sierra y los números y
nombres de las piezas.
Vea "Especificaciones", en este manual,
para los accesorios de corte de
contragolpe reducido recomendados.
Los usuarios de esta máquina deben
efectuar únicamente los trabajos de
mantenimiento descritos en este
manual. Solamente los talleres
autorizados por STIHL deben llevar a
cabo los demás trabajos de reparación.
Los reclamos de garantía presentados
después de realizadas las reparaciones
serán aceptados únicamente si las
mismas fueron ejecutadas por un
concesionario de servicio autorizado
STIHL utilizando piezas de repuesto
originales de STIHL.
Es posible identificar las piezas
originales de STIHL por el número de
pieza STIHL, el logotipo de {
y, en ciertos casos, el símbolo K de
piezas STIHL. En las piezas pequeñas
el símbolo puede aparecer solo.
Accesorios especiales Pedido de piezas de
repuesto
Modelo
Número de serie
Número de pieza de la espada
Número de pieza de la cadena
Información de reparación

MS 251, MS 251 C
español / EE.UU
129
Respete todas las leyes y los
reglamentos sobre eliminación de
desechos que correspondan a su país.
No se debe botar los aparatos STIHL en
el basurero. Lleve el producto, los
accesorios y el embalaje a un vertedero
autorizado para reciclarlos y contribuir al
cuidado del medio ambiente.
Comuníquese con un concesionario de
servicio de STIHL para obtener la
información más actualizada sobre la
eliminación de desechos.
Sus derechos y obligaciones de
garantía
La Agencia de Protección del Medio
Ambiente (EPA) de los EE.UU. y STIHL
Incorporated se complacen en
explicarle la garantía del sistema de
control de emisiones instalado en el
motor de su equipo. En los EE.UU., los
nuevos motores pequeños para equipos
de uso fuera de carretera modelos 1997
y posteriores deben estar diseñados,
construidos y equipados, al tiempo de la
venta, de conformidad con los
reglamentos de la EPA de los EE.UU.
para los motores pequeños de uso fuera
de carretera. El motor del equipo debe
carecer de defectos en el material y la
fabricación que puedan causar el
incumplimiento de las normas de la EPA
de los EE.UU. durante los primeros dos
años de uso del motor a partir de la
fecha de compra por el último
comprador.
STIHL Incorporated debe garantizar el
sistema de control de emisiones en el
motor pequeño para uso fuera de
carretera por el intervalo mencionado
más arriba, siempre que dicho motor no
haya estado sujeto a maltrato,
negligencia o cuidado inapropiado.
El sistema de control de emisiones de
su máquina incluye piezas tales como el
carburador y el sistema de encendido.
Además puede incluir mangueras,
conectores y otros conjuntos asociados
con el control de emisiones.
En los casos de existir una condición
amparada bajo garantía, STIHL
Incorporated reparará el motor pequeño
para equipo de uso fuera de carretera
sin costo alguno, incluido el diagnóstico
(si el trabajo de diagnóstico fue
realizado por un concesionario
autorizado), las piezas y la mano de
obra.
Cobertura de garantía del fabricante
En los EE.UU., los motores pequeños
para equipos de uso fuera de carretera
modelos 1997 y posteriores también
están garantizados por dos años. En el
caso de encontrarse defectos en
cualquiera de las piezas del motor
relacionadas con el sistema de control
de emisiones, la pieza será reparada o
sustituida por STIHL Incorporated sin
costo alguno.
Responsabilidades del usuario relativas
a la garantía
Como propietario de motor pequeño
para equipo de uso fuera de carretera,
usted tiene la responsabilidad de
realizar el mantenimiento requerido
descrito en su manual de instrucciones.
STIHL Incorporated le recomienda
guardar todos los recibos comprobantes
de los trabajos de mantenimiento
hechos a su motor pequeño para equipo
de uso fuera de carretera, pero STIHL
Incorporated no puede negar garantía
basado en el solo hecho de faltar los
Desecho
000BA073 KN
Declaración de garantía de
STIHL Incorporated sobre
sistemas de control de
emisiones según normas
Federales

MS 251, MS 251 C
español / EE.UU
130
recibos o del incumplimiento del
propietario de realizar todos los trabajos
de mantenimiento programados.
El uso de cualquier pieza de repuesto o
servicio cuyo comportamiento y
durabilidad sean equivalentes está
permitido en trabajos de mantenimiento
o reparación no contemplados en la
garantía, y no reducirá las obligaciones
de la garantía del fabricante del motor.
Sin embargo, como propietario del
motor pequeño para equipo de uso
fuera de carretera usted debe ser
consciente de que STIHL Incorporated
puede negarle cobertura de garantía si
dicho motor o una pieza del mismo ha
fallado debido a maltrato, descuido,
mantenimiento inadecuado o
modificaciones no autorizadas.
Usted es responsable de llevar el motor
pequeño para equipo de uso fuera de
carretera a un centro de servicio STIHL
tan pronto surja el problema. Las
reparaciones bajo garantía serán
realizadas en un tiempo razonable, sin
exceder de 30 días.
Ante cualquier duda respecto a sus
derechos y responsabilidades bajo esta
garantía, sírvase contactar al
representante de atención al cliente
STIHL llamando al 1-800-467-8445, o si
lo prefiere puede escribir a
STIHL Inc.,
536 Viking Drive, P.O. Box 2015,
Virginia Beach, VA 23450-2015 EE.UU.
www.stihlusa.com
Cobertura por STIHL Incorporated
STIHL Incorporated garantiza al último
comprador y a cada comprador
subsiguiente que el motor pequeño para
equipo de uso fuera de carretera está
diseñado, construido y equipado, al
tiempo de la venta, de conformidad con
todos los reglamentos aplicables.
Además, STIHL Incorporated garantiza
al comprador inicial y a cada comprador
subsiguiente que el motor está libre de
defectos en el material y fabricación que
puedan causar el incumplimiento de los
reglamentos aplicables durante un
período de dos años.
Período de garantía
El período de garantía comienza en la
fecha en que el motor del equipo
utilitario es entregado a usted y usted
firma y remite la tarjeta de garantía a
STIHL.
Si cualquier componente relacionado
con el sistema de control de emisiones
está defectuoso, el mismo será
sustituido por STIHL Incorporated sin
costo alguno para el propietario.
Cualquier pieza garantizada cuyo
reemplazo no está programado como
mantenimiento requerido, o que debe
recibir únicamente inspección regular
en el sentido de "reparar o sustituir
según sea necesario", estará
garantizada por el período de garantía.
Cualquier pieza cuyo reemplazo está
programado como mantenimiento
requerido estará garantizada por el
intervalo hasta el primer punto de
reemplazo programado para esa pieza.
Diagnóstico
Como propietario, a usted no se le debe
cobrar la mano de obra por los
diagnósticos que determinen que una
pieza garantizada está defectuosa. No
obstante, si usted reclama garantía para
un componente y se comprueba que la
máquina no está defectuosa, STIHL
Incorporated le cobrará el costo de la
prueba del sistema de control de
emisiones. El trabajo de diagnóstico
mecánico se realiza en un centro de
servicio autorizado por STIHL. La
prueba del sistema de control de
emisiones se realiza ya sea en la fábrica
de STIHL Incorporated o en un
laboratorio de ensayos independiente.
Trabajo bajo garantía
STIHL Incorporated reparará los
defectos amparados por la garantía en
cualquier estación de garantía o centro
de servicio autorizado por STIHL. Todo
trabajo de este tipo se hará gratis para el
propietario siempre que se determine
que la pieza cubierta por la garantía está
defectuosa.
Se puede usar cualquier pieza de
repuesto aprobada por el fabricante o
equivalente en las piezas relacionadas
con el sistema de control de emisiones,
y debe ser suministrada gratis al
propietario. STIHL Incorporated es
responsable por daños a otros
componentes del motor causados por la
falla de una pieza garantizada que
todavía está bajo garantía.

MS 251, MS 251 C
español / EE.UU
131
La lista siguiente define
específicamente las piezas
garantizadas y relacionadas con las
emisiones:
–Filtro de aire
–Carburador (si corresponde)
–Bomba de combustible
–Estrangulador (sistema de
enriquecimiento de arranque en
frío) (si corresponde)
–Varillajes de control
–Múltiple de admisión
–Sistema de encendido por magneto
o electrónico (Módulo de encendido
o unidad de control electrónica)
–Volante
–Bujía
–Válvula de inyección (si
corresponde)
–Bomba de inyección (si
corresponde)
–Carcasa del acelerador (si
corresponde)
–Cilindro
–Silenciador
–Convertidor catalítico (si lo tiene)
–Tanque de combustible
–Tapa de tanque de combustible
–Línea de combustible
–Adaptadores de línea de
combustible
–Abrazaderas
–Sujetadores/pernos
Dónde presentar el reclamo para
servicio bajo garantía
Lleve el producto a cualquier centro de
servicio autorizado por STIHL y
presente la tarjeta de garantía firmada.
Requerimientos de mantenimiento
Las instrucciones presentadas en este
manual se basan en la aplicación de la
mezcla recomendada para motores de 2
tiempos (vea también la instrucción
"Combustible"). Las discrepancias de
estas recomendaciones con respecto a
la calidad y la proporción de la mezcla
de combustible y aceite pueden exigir
intervalos de mantenimiento más
cortos.
Limitaciones
Esta garantía de los sistemas de control
de emisiones no cubrirá ninguno de los
puntos siguientes:
Nreparación o sustitución requerida
debido a maltrato, negligencia o
falta del mantenimiento requerido,
Nreparaciones mal hechas o
sustituciones contrarias a las
especificaciones de STIHL
Incorporated que afecten
desfavorablemente el
funcionamiento y/o la durabilidad, y
las alteraciones o modificaciones
no recomendadas o aprobadas por
escrito por STIHL Incorporated,
y
Nla sustitución de piezas y otros
servicios y ajustes necesarios para
el mantenimiento requerido en y
después del primer punto de
reemplazo programado.

MS 251, MS 251 C
español / EE.UU
132
Marcas registradas de STIHL
STIHL®
{
K
La combinación de colores anaranjado-
gris (Números de registro EE.UU.
2,821,860; 3,010,057, 3,010,058,
3,400,477; y 3,400,476)
4-MIX®
AUTOCUT®
EASYSTART®
FARM BOSS®
iCademy®
MAGNUM®
MasterWrench Service®
MotoMix®
OILOMATIC®
STIHL Cutquik®
STIHL DUROMATIC®
STIHL Quickstop®
STIHL ROLLOMATIC®
STIHL WOOD BOSS®
TIMBERSPORTS®
WOOD BOSS®
YARD BOSS®
Algunos de las marcas comerciales de
STIHL por ley común
BioPlus ™
Easy2Start ™
EasySpool ™
ElastoStart ™
Ematic ™
FixCut ™
HT Plus ™
IntelliCarb ™
Master Control Lever ™
Micro ™
Pro Mark ™
Quad Power ™
Quiet Line ™
STIHL Arctic ™
STIHL Compact ™
STIHL HomeScaper Series ™
STIHL Interchangeable Attachment
Series ™
STIHL M-Tronic ™
STIHL MiniBoss ™
STIHL MotoPlus 4 ™
STIHL Multi-Cut HomeScaper Series ™
Stihl Outfitters ™
STIHL PICCO ™
STIHL PolyCut ™
STIHL PowerSweep ™
STIHL Precision Series ™
STIHL Protech ™
STIHL RAPID ™
STIHL SuperCut ™
STIHL Territory ™
TapAction ™
TrimCut ™
Esta lista de marcas comerciales está
sujeta a cambios.
Queda terminantemente prohibido todo
uso de estas marcas comerciales sin el
consentimiento expreso por escrito de
ANDREAS STIHL AG & Co. KG,
Waiblingen.
Marcas comerciales
TM
STIHL
Injection

www.stihl.com *04587378621A*
0458-737-8621-A
0458-737-8621-A
englisch / spanisch USA
U
WARNING
The engine exhaust from this product
contains chemicals known to the State
of California to cause cancer, birth
defects or other reproductive harm.
ADVERTENCIA
El gas de escape del motor de esta máquina
contiene productos químicos que en el estado de
California son considerados como causantes de
cáncer, defectos de nacimiento u otros efectos
nocivos para los órganos de la reproducción.
englisch / spanisch USA
U