Stihl Fs 110 R Instruction Manual
2015-04-02
: Stihl Stihl-Fs-110-R-Instruction-Manual-685221 stihl-fs-110-r-instruction-manual-685221 stihl pdf
Open the PDF directly: View PDF
.
Page Count: 116 [warning: Documents this large are best viewed by clicking the View PDF Link!]

{
STIHL FS 110
WARNING
Read Instruction Manual thoroughly
before use and follow all safety
precautions – improper use can
cause serious or fatal injury.
ADVERTENCIA
Antes de usar la máquina lea y siga
todas las precauciones de
seguridad dadas en el manual de
instrucciones – el uso incorrecto
puede causar lesiones graves o
mortales.
Instruction Manual
Manual de instrucciones

Original Instruction ManualPrinted on chlorine-free paper
Printing inks contain vegetable oils, paper can be recycled.
© ANDREAS STIHL AG & Co. KG, 2014
0458-254-8621-D. VA6.M14.
0000000384_016_GB
FS 110, FS 110 R
English
1
{This instruction manual is protected by copyright. All rights reserved, especially the rights to reproduce, translate and process
with electronic systems.
Contents
Allow only persons who fully understand
this manual to operate your trimmer /
brushcutter.
To receive maximum performance and
satisfaction from your STIHL trimmer /
brushcutter, it is important that you read,
understand and follow the safety
precautions and the operating and
maintenance instructions in chapter
"Safety Precautions and Working
Techniques" before using your trimmer /
brushcutter. For further information you
can go to www.stihlusa.com.
Contact your STIHL dealer or the STIHL
distributor for your area if you do not
understand any of the instructions in this
manual.
WARNING
Because a trimmer / brushcutter is a
high-speed cutting tool some special
safety precautions must be observed to
reduce the risk of personal injury.
Careless or improper use may cause
serious or even fatal injury.
Make sure your unit is equipped with the
proper deflector, handle and harness for
the type of cutting attachment being
used. Always wear proper eye
protection.
Guide to Using this Manual 2
Safety Precautions and Working
Techniques 3
Approved Combinations of Cutting
Attachment, Deflector, Handle and
Harness 17
Approved Power Tool Attachments 19
Mounting the Bike Handle 19
Mounting the Loop Handle 21
Adjusting the Throttle Cable 23
Fitting the Carrying Ring 23
Mounting the Deflector 23
Mounting the Cutting Attachment 24
4-MIX Engine 27
Fuel 27
Fueling 28
Fitting the Harness 29
Balancing the Machine 30
Starting / Stopping the Engine 31
Transporting the Unit 33
Operating Instructions 35
Cleaning the Air Filter 35
Engine Management 36
Adjusting the Carburetor 36
Spark Arresting Screen in Muffler 36
Spark Plug 37
Engine Running Behavior 38
Lubricating the Gearbox 38
Rewind Starter 39
Storing the Machine 39
Sharpening Metal Cutting Blades 39
Maintaining the Mowing Head 40
Inspections and Maintenance by
Dealer 41
Maintenance and Care 42
Main Parts 44
Specifications 46
Maintenance and Repairs 47
Disposal 48
STIHL Incorporated Federal
Emission Control Warranty
Statement 48
STIHL Incorporated California
Exhaust and Evaporative
Emissions Control Warranty
Statement 50
Trademarks 52

FS 110, FS 110 R
English
2
Pictograms
The meanings of the pictograms
attached to or embossed on the
machine are explained in this manual.
Depending on the model concerned, the
following pictograms may be on your
machine.
Symbols in Text
Many operating and safety instructions
are supported by illustrations.
The individual steps or procedures
described in the manual may be marked
in different ways:
NA bullet marks a step or procedure.
A description of a step or procedure that
refers directly to an illustration may
contain item numbers that appear in the
illustration. Example:
NLoosen the screw (1).
NLever (2) ...
In addition to the operating instructions,
this manual may contain paragraphs
that require your special attention. Such
paragraphs are marked with the
symbols and signal words described
below:
DANGER
Indicates an imminent risk of severe or
fatal injury.
WARNING
Indicates a hazardous situation which, if
not avoided, could result in severe or
fatal injury.
NOTICE
Indicates a risk of property damage,
including damage to the machine or its
individual components.
Engineering Improvements
STIHL’s philosophy is to continually
improve all of its products. As a result,
engineering changes and improvements
are made from time to time. Therefore,
some changes, modifications and
improvements may not be covered in
this manual. If the operating
characteristics or the appearance of
your machine differs from those
described in this manual, please contact
your STIHL dealer or the STIHL
distributor for your area for assistance.
Guide to Using this Manual
Fuel tank for gasoline
and engine oil mixture
Press to operate decom-
pression valve
Manual fuel pump
Press to operate manual
fuel pump
Filler hole for gear
lubricant
Air intake summer mode
Air intake winter mode
Handle heating

FS 110, FS 110 R
English
3
The terminology utilized in this manual
when referring to the power tool reflects
the fact that different types of cutting
attachments may be mounted on it. The
term "trimmer" is used to designate an
FS unit that is equipped with a nylon line
head or a head with flexible plastic
blades (i.e., the PolyCut head). A
"brushcutter" designates a unit
equipped with a rigid metal blade. Many
FS models may be used as either a
trimmer or a brushcutter – therefore, the
power tool is referred in this manual as a
"trimmer / brushcutter." Some smaller
and / or lightweight FS models may only
be used as a trimmer, i.e., they may not
be used with metal blades.
The term "clearing saw" indicates a
high-powered trimmer / brushcutter that
is particularly suited for use with a
circular saw blade to clear saplings or
small trees.
FS models with an "R" on the nameplate
were originally configured (at the time of
distribution) as a trimmer with a loop
handle.
WARNING
As more fully explained later in these
Safety Precautions, to reduce the risk of
personal injury, make sure your unit is
equipped with the proper handle,
harness and deflector for the type of
cutting attachment you are using. Use
only cutting attachments that are
specifically authorized by STIHL for use
on your FS model.
Have your STIHL dealer show you how
to operate your power tool. Observe all
applicable local safety regulations,
standards and ordinances.
WARNING
Do not lend or rent your power tool
without the instruction manual. Be sure
that anyone using it understands the
information contained in this manual.
WARNING
The use of this machine may be
hazardous. If the rotating line or blade
comes in contact with your body, it will
cut you. When it comes in contact with
solid foreign objects such as rocks or
bits of metal, it may fling them directly or
by ricochet in the direction of bystanders
or the operator. Striking such objects
could damage the cutting attachment
and may cause blades to crack, chip or
break. Thrown objects, including broken
heads or blades, may result in serious or
fatal injury to the operator or bystanders.
STIHL does not recommend the use of
rigid blades when cutting in stony areas.
Use your trimmer / brushcutter equipped
with the appropriate cutting attachment
only for cutting grass, brush, wood and
similar material.
WARNING
Do not use it for other purposes, since
misuse may result in personal injury or
property damage, including damage to
the machine.
WARNING
Minors should never be allowed to use
this power tool. Bystanders, especially
children, and animals should not be
allowed in the area where it is in use.
WARNING
To reduce the risk of injury to bystanders
and damage to property, never let your
power tool run unattended. When it is
not in use (e.g. during a work break),
shut it off and make sure that
unauthorized persons do not use it.
Most of these safety precautions and
warnings apply to the use of all STIHL
trimmers / brushcutters. Different
models may have different parts and
controls. See the appropriate section of
your instruction manual for a description
of the controls and the function of the
parts of your model.
Safety Precautions and
Working Techniques
Because a trimmer /
brushcutter is a high-
speed, fast-cutting power
tool sometimes equipped
with sharp cutting blades,
special safety precau-
tions must be observed to
reduce the risk of per-
sonal injury.
It is important that you
read, fully understand
and observe the following
safety precautions and
warnings. Read the
instruction manual and
the safety precautions
periodically. Careless or
improper use may cause
serious or fatal injury.

FS 110, FS 110 R
English
4
Safe use of a trimmer / brushcutter
involves
1. the operator
2. the power tool
3. the use of the power tool.
THE OPERATOR
Physical Condition
You must be in good physical condition
and mental health and not under the
influence of any substance (drugs,
alcohol, etc.) which might impair vision,
dexterity or judgment. Do not operate
this machine when you are fatigued.
WARNING
Be alert – if you get tired, take a break.
Tiredness may result in loss of control.
Working with any power tool can be
strenuous. If you have any condition that
might be aggravated by strenuous work,
check with your doctor before operating
this machine.
WARNING
Prolonged use of a power tool (or other
machines) exposing the operator to
vibrations may produce whitefinger
disease (Raynaud's phenomenon) or
carpal tunnel syndrome.
These conditions reduce the hand's
ability to feel and regulate temperature,
produce numbness and burning
sensations and may cause nerve and
circulation damage and tissue necrosis.
All factors which contribute to
whitefinger disease are not known, but
cold weather, smoking and diseases or
physical conditions that affect blood
vessels and blood transport, as well as
high vibration levels and long periods of
exposure to vibration are mentioned as
factors in the development of whitefinger
disease. In order to reduce the risk of
whitefinger disease and carpal tunnel
syndrome, please note the following:
–Most STIHL power tools are
available with an anti-vibration
("AV") system designed to reduce
the transmission of vibrations
created by the machine to the
operator's hands. An AV system is
recommended for those persons
using power tools on a regular or
sustained basis.
–Wear gloves and keep your hands
warm.
–Keep the AV system well
maintained. A power tool with loose
components or with damaged or
worn AV elements will tend to have
higher vibration levels.
–Maintain a firm grip at all times, but
do not squeeze the handles with
constant, excessive pressure. Take
frequent breaks.
All the above-mentioned precautions do
not guarantee that you will not sustain
whitefinger disease or carpal tunnel
syndrome. Therefore, continual and
regular users should closely monitor the
condition of their hands and fingers. If
any of the above symptoms appear,
seek medical advice immediately.
WARNING
The ignition system of the STIHL unit
produces an electromagnetic field of a
very low intensity. This field may
interfere with some pacemakers. To
reduce the risk of serious or fatal injury,
persons with a pacemaker should
consult their physician and the
pacemaker manufacturer before
operating this tool.
Proper Clothing
To reduce the risk of injury, the operator
should wear proper protective apparel.
WARNING
The deflector provided with your power
tool will not protect the operator from all
foreign objects (gravel, glass, wire, etc.)
thrown back by the rotating cutting
attachment. Thrown objects may also
ricochet and strike the operator.

FS 110, FS 110 R
English
5
WARNING
Be particularly alert and cautious when
wearing hearing protection because
your ability to hear warnings (shouts,
alarms, etc.) is restricted.
Avoid loose-fitting jackets, scarfs,
neckties, jewelry, flared or cuffed pants,
unconfined long hair or anything that
could become caught on branches,
brush or the moving parts of the unit.
Secure hair so it is above shoulder level.
THE POWER TOOL
For illustrations and definitions of the
power tool parts see the chapter on
"Main Parts."
WARNING
Never modify this power tool in any way.
Only attachments supplied by STIHL
and expressly approved by STIHL for
use with the specific STIHL model are
authorized. Although certain
unauthorized attachments are useable
with STIHL power tools, their use may,
in fact, be extremely dangerous. For the
cutting attachments authorized by
STIHL for your unit, see the chapter
"Approved Combinations of Cutting
Attachment, Deflector, Handle and
Harness" in the instruction manual or the
STIHL "Cutting Attachments, Parts &
Accessories" catalog.
If this tool is subjected to unusually high
loads for which it was not designed (e.g.
heavy impact or a fall), always check
that it is in good condition before
continuing work. Check in particular that
the fuel system is tight (no leaks) and
that the controls and safety devices are
working properly. Do not continue
operating this machine if it is damaged.
In case of doubt, have it checked by your
STIHL servicing dealer.
THE USE OF THE POWER TOOL
Transporting the Power Tool
WARNING
To reduce the risk of injury from loss of
control and blade or line contact, never
carry or transport your power tool with
the cutting attachment moving.
To reduce the risk of
injury to your eyes never
operate your power tool
unless wearing goggles
or properly fitted protec-
tive glasses with
adequate top and side
protection complying with
ANSI Z87 "+" (or your
applicable national stand-
ard). To reduce the risk of
injury to your face STIHL
recommends that you
also wear a face shield or
face screen over your
goggles or protective
glasses.
Wear an approved safety
hard hat to reduce the
risk of injury to your head
when there is a danger of
head injuries.
Power tool noise may
damage your hearing.
Wear sound barriers (ear
plugs or ear mufflers) to
protect your hearing.
Continual and regular
users should have their
hearing checked
regularly.
Always wear heavy duty
work gloves (e.g. made of
leather or other wear
resistant material) when
handling the machine
and metal blades. Heavy-
duty, nonslip gloves
improve your grip and
help to protect your
hands.
Clothing must be sturdy
and snug-fitting, but allow
complete freedom of
movement. Wear long
pants made of heavy
material to help protect
your legs. Do not wear
shorts, sandals or go
barefoot.
Good footing is very
important. Wear sturdy
boots with nonslip soles.
Steel-toed safety boots
are recommended.

FS 110, FS 110 R
English
6
It may be carried only in a horizontal
position. Grip the shaft in a manner that
the machine is balanced horizontally.
Keep the hot muffler away from your
body and the cutting attachment behind
you.
WARNING
Always shut off the engine and make
sure the cutting attachment has stopped
before putting a trimmer / brushcutter
down. When transporting it in a vehicle,
properly secure it to prevent turnover,
fuel spillage and damage to the unit.
STIHL recommends that you keep metal
blades covered with the transport guard
(optional accessory).
Fuel
Your STIHL power tool uses an oil-
gasoline mixture for fuel (see the
chapter on "Fuel" of your instruction
manual).
WARNING
Fueling Instructions
WARNING
To reduce the risk of serious injury from
burns, never attempt to refuel the unit
until it has been completely removed
from the operator.
WARNING
Fuel your power tool in well-ventilated
areas, outdoors. Always shut off the
engine and allow it to cool before
refueling. Gasoline vapor pressure may
build up inside the fuel tank depending
on the fuel used, the weather conditions
and the tank venting system.
In order to reduce the risk of burns and
other personal injury from escaping gas
vapor and fumes, remove the fuel filler
cap on your power tool carefully so as to
allow any pressure build-up in the tank
to release slowly. Never remove the fuel
filler cap while the engine is running.
Select bare ground for fueling and move
at least 10 feet (3 m) from the fueling
spot before starting the engine. Wipe off
any spilled fuel before starting your
machine.
WARNING
WARNING
In order to reduce the risk of fuel spillage
and fire from an improperly tightened
fuel cap, correctly position and tighten
the fuel cap in the fuel tank opening.
WARNING
See also the "Fueling" chapter in your
Instruction Manual for additional
information.
389BA019 KN
Gasoline is an extremely
flammable fuel. If spilled
and ignited by a spark or
other ignition source, it
can cause fire and seri-
ous burn injury or
property damage. Use
extreme caution when
handling gasoline or fuel
mix. Do not smoke or
bring any fire or flame
near the fuel or the power
tool. Note that combusti-
ble fuel vapor may
escape from the fuel
system.
Check for fuel leakage
while refueling and during
operation. If fuel leakage
is found, do not start or
run the engine until the
leak is fixed and any
spilled fuel has been
wiped away. Take care
not to get fuel on your
clothing. If this happens,
change your clothing
immediately.
Unit vibrations can cause
an improperly tightened
fuel filler cap to loosen or
come off and spill quanti-
ties of fuel. In order to
reduce the risk of fuel
spillage and fire, tighten
the fuel filler cap by hand
as securely as possible.

FS 110, FS 110 R
English
7
Before Starting
WARNING
Always check your power tool for proper
condition and operation before starting,
particularly the throttle trigger, throttle
trigger lockout, slide control / stop
switch, cutting attachment, deflector and
harness. The throttle trigger must move
freely and always spring back to the idle
position. Never attempt to modify the
controls or safety devices.
WARNING
Check fuel system for leaks, especially
the visible parts, e.g., filler cap, hose
connections, manual fuel pump (only for
power tools equipped with a manual fuel
pump). Do not start the engine if there
are leaks or damage – risk of fire! Have
the machine repaired by a servicing
dealer before using it.
WARNING
Never operate your power tool if it is
damaged, improperly adjusted or
maintained, or not completely or
securely assembled.
WARNING
Do not attach any cutting attachment to
a unit without proper installation of all
required parts. Failure to use the proper
parts may cause the blade or head to fly
off and seriously injure the operator or
bystanders.
WARNING
The cutting attachment must be properly
tightened and in safe operating
condition. Inspect for loose parts (nuts,
screws, etc.) and for cracked or
damaged heads or cracked, bent,
warped or damaged blades. Replace
damaged heads or blades before using
the power tool. Always keep blades
sharp.
Keep the handles clean and dry at all
times; it is particularly important to keep
them free of moisture, pitch, oil, fuel mix,
grease or resin in order for you to
maintain a firm grip and properly control
your power tool.
WARNING
Check that the spark plug boot is
securely mounted on the spark plug – a
loose boot may cause arcing that could
ignite combustible fumes and cause a
fire.
WARNING
As can be seen in that chart, some
cutting attachments may require you to
change your deflector, handle and / or
harness.
Keep the deflector (and the attached
skirt where appropriate) adjusted
properly at all times (see chapters on
"Mounting the Deflector" and "Mounting
the Cutting Attachment" of your
instruction manual).
To reduce the risk
of personal injury
to the operator
from blade or line
contact and
thrown objects,
make sure your
unit is equipped
with the proper
deflector, handle
and harness for
the type of cutting
attachment being
used (see chart in
the chapter on
"Approved Combi-
nations of Cutting
Attachment,
Deflector, Handle
and Harness".)

FS 110, FS 110 R
English
8
Arrows on the deflector (A) and limit
stop (B) (as seen from the underside)
show the correct direction of rotation of
the cutting attachment. When viewed
from above, however, the cutting
attachment rotates counterclockwise.
Adjust carrying harness and hand grip to
suit your size before starting work. The
machine should be properly balanced as
specified in your instruction manual for
proper control and less fatigue in
operation. To be better prepared in case
of an emergency, practice releasing the
unit from the harness as quickly as
possible.
Starting
Start the engine at least 10 feet (3 m)
from the fueling spot, outdoors only.
For specific starting instructions, see the
appropriate section of your manual.
Place the power tool on firm ground or
other solid surface in an open area.
Maintain good balance and secure
footing.
WARNING
To reduce the risk of injury from blade or
line contact, be absolutely sure that the
cutting attachment is clear of you and all
other obstructions and objects, including
the ground, because when the engine
starts at starting-throttle, engine speed
will be fast enough for the clutch to
engage and move the cutting
attachment.
Once the engine has started,
immediately blip the throttle trigger,
which should release the starting throttle
and allow the engine to slow down to
idle.
With the engine running only at idle,
attach the power tool to the spring hook
of your harness (see appropriate
chapter of this manual).
WARNING
Your power tool is a one-person
machine. Do not allow other persons in
the general work area, even when
starting.
WARNING
To reduce the risk of injury from loss of
control, do not attempt to "drop start"
your power tool.
WARNING
When you pull the starter grip, do not
wrap the starter rope around your hand.
Do not let the grip snap back, but guide
the starter rope to rewind it properly.
Failure to follow this procedure may
result in injury to your hand or fingers
and may damage the starter
mechanism.
Important Adjustments
WARNING
To reduce the risk of personal injury
from loss of control or contact with the
running cutting attachment, do not use
your unit with incorrect idle adjustment.
At correct idle speed, the cutting
attachment should not move. For
directions on how to adjust idle speed,
see the appropriate section of your
instruction manual.
If you cannot set the correct idle speed,
have your STIHL dealer check your
power tool and make proper
adjustments and repairs.
A
000BA006 KN
B
000BA007 KN

FS 110, FS 110 R
English
9
During Operation
Holding and Controlling the Power Tool
Always hold the unit firmly with both
hands on the handles while you are
working. Wrap your fingers and thumbs
around the handles, keeping the
handles cradled between your thumb
and forefinger. Keep your hands in this
position to have your power tool under
control at all times. Make sure your
trimmer handles and grips are in good
condition and free of moisture, pitch, oil,
fuel mix or grease.
WARNING
WARNING
Do not overreach. Keep proper footing
and balance at all times. Special care
must be taken in slippery conditions (wet
ground, snow) and in difficult, overgrown
terrain. Watch for hidden obstacles such
as tree stumps, roots and ditches to
avoid stumbling. For better footing, clear
away scrub and cuttings. Be extremely
cautious when working on slopes or
uneven ground.
WARNING
To reduce the risk of injury from loss of
control, never work on a ladder or on any
other insecure support. Never hold the
cutting attachment above waist height.
Working Conditions
Operate and start your power tool only
outdoors in a well ventilated area.
Operate it under good visibility and
daylight conditions only. Work carefully.
WARNING
WARNING
If the vegetation being cut or the
surrounding ground is coated with a
chemical substance (such as an active
pesticide or herbicide), read and follow
the instructions and warnings that
accompanied the substance at issue.
WARNING
Inhalation of certain dusts, especially
organic dusts such as mold or pollen,
can cause susceptible persons to have
an allergic or asthmatic reaction.
Substantial or repeated inhalation of
dust and other airborne contaminants, in
particular those with a smaller particle
size, may cause respiratory or other
illnesses. Control dust at the source
002BA055 KN
002BA054 KN
Never attempt to operate
your power tool with one
hand. Loss of control of
the power tool resulting in
serious or fatal injury may
result. To reduce the risk
of cut injuries, keep
hands and feet away
from the cutting attach-
ment. Never touch a
moving cutting attach-
ment with your hand or
any other part of your
body.
As soon as the engine is
running, this product gen-
erates toxic exhaust
fumes containing chemi-
cals, such as unburned
hydrocarbons (including
benzene) and carbon
monoxide, that are
known to cause respira-
tory problems, cancer,
birth defects, or other
reproductive harm. Some
of the gases (e.g. carbon
monoxide) may be color-
less and odorless. To
reduce the risk of serious
or fatal injury / illness
from inhaling toxic fumes,
never run the machine
indoors or in poorly venti-
lated locations.

FS 110, FS 110 R
English
10
where possible. Use good work
practices, such as operating the unit so
that the wind or operating process
directs any dust raised by the power tool
away from the operator. Follow the
recommendations of EPA / OSHA /
NIOSH and occupational and trade
associations with respect to dust
("particulate matter"). When the
inhalation of dust cannot be
substantially controlled, i.e., kept at or
near the ambient (background) level, the
operator and any bystanders should
wear a respirator approved by NIOSH /
MSHA for the type of dust encountered.
Operating Instructions
WARNING
Do not operate your power tool using the
starting throttle lock, as you do not have
control of the engine speed.
In the event of an emergency, shut off
the engine immediately – move the slide
control / stop switch to 0 or STOP.
WARNING
WARNING
The rotating cutting attachment may
fling foreign objects directly or by
ricochet a great distance.
To reduce the risk of eye and other injury
always wear proper eye protection (see
the chapter on "Proper Clothing") and
ensure that bystanders are at least
50 feet (15 m) away. To reduce the risk
of damage to property, also maintain this
distance from such objects as vehicles
or windows. Even maintaining a
minimum distance of 15 meters cannot
exclude the potential danger. Any
coworkers who must be in the restricted
area should also wear goggles or
protective glasses. Stop the engine
immediately if you are approached.
WARNING
WARNING
This trimmer / brushcutter is normally to
be used at ground level with the cutting
attachment parallel to the ground. Use of
a trimmer / brushcutter above ground
level or with the cutting attachment
perpendicular to the ground may
increase the risk of injury, since the
cutting attachment is more fully exposed
and the power tool may be more difficult
to control. Never use your trimmer /
brushcutter as a hedge trimmer.
WARNING
During cutting, check the tightness and
the condition of the cutting attachment at
regular short intervals with the engine
and attachment stopped. If the behavior
of the attachment changes during use,
stop the engine immediately, wait until
the cutting attachment stops, and check
the nut securing the attachment for
tightness and the blade or head for
cracks, wear and damage.
WARNING
A loose blade or head may vibrate,
crack, break or come off the trimmer /
brushcutter, which may result in serious
or fatal injury. Make sure that the cutting
attachment is properly tightened. Use
the wrench supplied or one of sufficient
length to obtain the proper torque. If the
blade or head loosens after being
properly tightened, stop work
immediately. The retaining nut may be
worn or damaged and should be
replaced. If the blade or head continues
to loosen, see your STIHL dealer. Never
use a trimmer / brushcutter with a loose
cutting attachment.
WARNING
Replace a cracked, damaged or worn-
out head or a cracked, bent, warped,
damaged, dull or worn out blade
immediately, even if damage is limited to
The cutting attachment
continues to rotate for a
short period after the
throttle trigger is released
(flywheel effect.)
Inspect the work area: To
reduce the risk of injury,
remove stones, pieces of
metal and other solid
objects which could be
thrown 15 meters or more
by the cutting attachment
or damage the cutting
attachment and property
(e.g. parked vehicles,
windows).
15m (50ft)

FS 110, FS 110 R
English
11
superficial cracks. Such attachments
may shatter at high speed and cause
serious or fatal injury.
WARNING
When using rigid blades, avoid cutting
close to fences, sides of buildings, tree
trunks, stones or other such objects that
could cause the power tool to kick out or
could cause damage to the blade.
STIHL recommends use of the nylon line
heads for such jobs. In addition, be alert
to an increased possibility of ricochets in
such situations.
WARNING
If a rotating metal blade strikes a rock or
other hard object, sparks may be
created, which can ignite flammable
materials under certain circumstances.
Flammable materials can include dry
vegetation and brush, particularly when
weather conditions are hot and dry.
When there is a risk of fire or wildfire, do
not use metal blades around flammable
materials or around dry vegetation or
brush. Contact your local fire authorities
or the U.S. Forestry Service if you have
any question about whether vegetation
and weather conditions are suitable for
the use of a metal blade.
WARNING
If the head, blade or deflector becomes
clogged or stuck, always shut off the
engine and make sure the cutting
attachment has stopped before
cleaning. Grass, weeds, etc. should be
cleaned off the blade or from around the
head at regular intervals.
WARNING
To reduce the risk of unintentional
rotation of the cutting attachment and
injury, always shut off the engine and
remove the spark plug boot before
replacing the cutting attachment. To
reduce the risk of injury, always shut off
the engine before adjusting the length of
the nylon line on manually adjustable
mowing heads.
WARNING
The gearbox becomes hot during
operation. To reduce the risk of burn
injury, do not touch the gear housing
when it is hot.
WARNING
Never modify your muffler. Any
modification could cause an increase in
heat radiation, sparks or sound level,
thereby increasing the risk of fire, burn
injury or hearing loss. You may also
permanently damage the engine. Have
your muffler serviced and repaired by
your STIHL servicing dealer only.
WARNING
The muffler and other parts of the engine
(e.g. fins of the cylinder, spark plug)
become hot during operation and remain
hot for a while after stopping the engine.
To reduce risk of burns, do not touch the
muffler and other parts while they are
hot. Keep the area around the muffler
clean. Remove excess lubricant and all
debris such as pine needles, branches
or leaves. Let the engine cool down
sitting on concrete, metal, bare ground
or solid wood (away from any
combustible substances.
WARNING
An improperly mounted or damaged
cylinder housing or a
damaged/deformed muffler shell may
interfere with the cooling process of the
muffler. To reduce the risk of fire or burn
injury, do not continue work with a
damaged or improperly mounted
cylinder housing or a
damaged/deformed muffler shell.
Your muffler is furnished with a spark
arresting screen designed to reduce the
risk of fire from the emission of hot
particles. Never operate your unit with a
missing or damaged spark arresting
screen. If your gas/oil mix ratio is correct
(i.e., not too rich), this screen will
normally stay clean as a result of the
heat from the muffler and need no
service or maintenance. If you
experience loss of performance and you
suspect a clogged screen, have your
muffler maintained by a STIHL servicing
dealer. Some state or federal laws or
regulations may require a properly
maintained spark arrestor for certain
uses. See the "Maintenance, Repair and
Storing" section of these Safety
Precautions. Remember that the risk of
a brush or forest fire is greater in hot or
dry conditions.

FS 110, FS 110 R
English
12
WARNING
USING THE CUTTING ATTACHMENT
For an illustration of the various cutting
attachments and instructions on proper
mounting see the chapter on "Mounting
the Cutting Attachment" in your
instruction manual.
WARNING
To reduce the risk of severe or fatal
injury from blade contact and / or loss of
control, never attempt to use a metal
blade on an FS model for which it is not
authorized.
Using the Mowing Heads
Do not use with mowing line longer than
the intended length. With a properly
mounted deflector, the built-in line-
limiting blade will automatically adjust
the line to its proper length.
Using the unit with an overly long nylon
cutting line increases the load on the
engine and reduces its operating speed.
This causes the clutch to slip
continuously and results in overheating
and damage to important components
(e.g. clutch, polymer housing
components). Such damage could,
among other things, cause the cutting
attachment to rotate at idle.
Mowing heads are to be used only on
trimmers / brushcutters equipped with a
line-limiting blade in the deflector in
order to keep the line at the proper
length (see "Main Parts" chapter in your
instruction manual).
If the lawn edges are planted with trees
or bordered by a fence etc., it is best to
use a nylon line head. It achieves a
"softer" cut with less risk of damaging
tree bark etc. than polymer blades.
However, the polymer-bladed STIHL
PolyCut produces a better cut if there
are no plants along the edge of the lawn.
Sharpening is not necessary, and worn
polymer blades are easily replaced.
WARNING
To reduce the risk of serious injury,
never use wire or metal-reinforced line
or other material in place of the nylon
cutting lines. Pieces of wire could break
off and be thrown at high speed toward
the operator or bystanders.
STIHL SuperCut mowing head
Fresh line is advanced automatically.
Frayed line is replaced by a simple
adjustment (see instruction sheet
supplied with mowing head).
STIHL AutoCut mowing head
Nylon cutting line advances
automatically when tapped against the
ground (TapAction).
STIHL TrimCut mowing head
Frayed line is replaced by a simple
adjustment (see instruction sheet
supplied with mowing head).
STIHL PolyCut mowing head
Uses either nylon lines or nonrigid,
pivoting polymer blades.
Observe wear indicators.
Some STIHL power tools
are equipped with a cata-
lytic converter, which is
designed to reduce the
exhaust emissions of the
engine by a chemical
process in the muffler.
Due to this process, the
muffler does not cool
down as rapidly as con-
ventional mufflers when
the engine returns to idle
or is shut off. To reduce
the risk of fire and burn
injuries when using a cat-
alytic converter, always
set your power tool down
in the upright position and
never locate it where the
muffler is near dry brush,
grass, wood chips or
other combustible materi-
als while it is still hot.
002BA354 KN

FS 110, FS 110 R
English
13
WARNING
Three rectangular wear limit marks are
applied to the base (periphery) of the
PolyCut. To reduce the risk of serious
injury from breakage of the head or
blades, the PolyCut must not be used
when it has worn as far as one of these
marks. It is important to follow the
maintenance instructions supplied with
the head.
STIHL FixCut mowing head
Uses pre-cut lengths of nylon line.
Observe wear indicators.
Do not continue using the mowing head
if the raised moldings (1) on the base
are missing or worn – see right
illustration above. The mowing head
may otherwise shatter and flying objects
could result in injury to the operator or
bystanders. Install a new mowing head.
Risk of Kickout (Blade Thrust) with all
Rigid Cutting Blades
WARNING
This kickout (blade thrust) may cause
loss of control of the power tool and may
result in serious or fatal injury to the
operator or bystanders. To reduce the
risk of injury, extreme caution should be
used when cutting with the shaded area
of any rigid blade.
Using the Grass Cutting Blade
All kinds of grass and weeds can be
easily cut with the grass cutting blade.
The power tool is swept in an arc similar
to a scythe.
WARNING
To reduce the risk of serious or fatal
injury from blade breakage, never
attempt to use this blade to cut woody
materials.
The 4-tooth grass cutting blade is
intended to cut grass and weeds. It has
4 cutting knives with cutting edges on
both sides, i.e. front and rear. When the
cutting edges on one side become dull,
the blade can be turned over to utilize
the cutting edges on the other side.
The 8-tooth grass cutting blade is
recommended for cutting fern or reed.
Both types of grass cutting blade have to
be resharpened when all cutting edges
are dull.
Using the Brush Knife
When fitted to the power tool, the brush
knife is suitable for applications ranging
from cutting matted grass to clearing
weeds, wild growth and scrub.
002BA177 KN
Kickout (blade thrust) is
the sudden and uncon-
trolled motion towards
the operator's right or
rear that can occur when
the shaded area (espe-
cially the darkly shaded
area) of a rotating blade
comes in contact with a
solid rigid object like a
tree, rock, bush or wall.
The rapid counterclock-
wise rotation of the blade
may be stopped or
slowed, and the cutting
attachment may be
thrown to the right or to
the rear.
002BA135 KN
002BA355 KN

FS 110, FS 110 R
English
14
To cut wild growth and scrub, lower the
rotating brush knife down onto the
growth to achieve a chopping effect –
but keep the tool below waist height at
all times.
WARNING
Exercise extreme caution when using
this method of cutting. The higher the
cutting attachment is off the ground, the
greater the risk of loss of control and of
cuttings being thrown sideways.
Use the power tool like a scythe to cut
grass, i.e. sweep it to and fro in an arc.
WARNING
When cutting woody materials, use the
left side of the blade to avoid "kickout"
(blade thrust) situations.
WARNING
Improper use of a brush knife may cause
it to crack, chip or shatter. Thrown blade
fragments may seriously or fatally injure
the operator or bystanders. To reduce
the risk of injury, avoid contact with hard
or solid foreign objects such as stones,
rocks or pieces of metal.
WARNING
When cutting young saplings or other
woody materials up to 2 cm (3/4 in.) in
diameter, use the left side of the blade to
avoid "kickout" situations (see section
on "Risk of kickout (blade thrust) with all
rigid cutting blades"). Do not attempt to
cut woody material with a larger
diameter, since the blade may catch or
jerk the power tool forward. This may
cause damage to the blade or power tool
or loss of control of the power tool,
resulting in personal injury. Use a
circular saw blade for such work.
WARNING
Inspect the brush knife at regular short
intervals for signs of damage. Do not
continue working with a damaged brush
knife. Resharpen the brush knife
regularly (when it has dulled noticeably).
Using the Circular Saw Blade
Circular saw blades are suitable for
thinning brush and cutting small trees up
to a diameter of 4 cm (1 1/2 in.). Do not
attempt to cut trees with larger
diameters, since the blade may catch or
jerk the trimmer / brushcutter forward.
This may cause damage to the blade or
loss of control of the power tool and
result in serious injury. Use a chain saw
for such work.
WARNING
To reduce the risk that the blade will
crack and / or break, avoid all contact
with stones, rocks or the ground.
Sharpen blades in a timely manner as
specified – dull teeth may cause the
blade to crack or shatter.
When a trimmer / brushcutter with a
circular saw blade is used to cut down
small trees, STIHL recommends that the
standard deflector be removed and
002BA066 KN
000BA016 KN

FS 110, FS 110 R
English
15
replaced by the special limit stop
deflector (see chapter on "Mounting the
Deflector"). This limit stop helps to keep
the unit positioned against the tree
during the cutting process.
Inexperienced users should place the
left side of the stop against the tree trunk
before beginning to cut. This will keep
the trimmer / brushcutter against the tree
during the cutting operation and will
reduce the risk of loss of control and
possible kickout (described above and
briefly again below).
Before starting the cut, accelerate the
engine up to full throttle. Perform cut
with uniform pressure. STIHL
recommends that the circular saw blade
be applied to the right of the tree, using
the non-shaded area of the blade, as
shown in the illustration above.
WARNING
The risk of kickout is highest when
cutting in the darker shaded area. To
reduce the risk of kickout and resulting
injury, do not use this area of the circular
saw blade for cutting trees or shrubs.
Special techniques using the lighter
shaded areas of the blade to cut shrubs
and trees should only be used by
experienced operators with specialized
training in the use and control of the
trimmer / brushcutter.
WARNING
To reduce the risk of loss of control and
serious injury to the operator or
bystanders by a kickout, never use a
circular saw blade on a trimmer /
brushcutter with a loop handle, but
rather only on one with a bicycle handle.
When felling small trees, maintain a
distance of at least two tree lengths from
the nearest coworker.
WARNING
In order to reduce the risk of injury from
thrown objects or operator contact with
the blade or head, be sure to remount
the standard deflector when no longer
using a circular saw blade.
MAINTENANCE, REPAIR AND
STORING
Maintenance, replacement, or repair of
the emission control devices and
systems may be performed by any
nonroad engine repair establishment or
individual. However, if you make a
warranty claim for a component which
has not been serviced or maintained
properly or if nonapproved replacement
parts were used, STIHL may deny
coverage.
WARNING
Use only identical STIHL replacement
parts for maintenance and repair. Use of
non-STIHL parts may cause serious or
fatal injury.
Strictly follow the maintenance and
repair instructions in the appropriate
sections of your instruction manual.
WARNING
Always stop the engine and make sure
that the cutting attachment is stopped
before doing any maintenance or repair
work or cleaning the power tool. Do not
attempt any maintenance or repair work
not described in your instruction manual.
Have such work performed by your
STIHL servicing dealer only.
Wear gloves when handling or
performing maintenance on blades.
WARNING
Use the specified spark plug, and make
sure it and the ignition lead are always
clean and in good condition. Always
press the spark plug boot snugly onto
002BA214 ST
002BA068 KN

FS 110, FS 110 R
English
16
the spark plug terminal of the proper
size. (Note: If the terminal has a
detachable SAE adapter nut, it must be
securely attached.) A loose connection
between the spark plug and the ignition
wire connector in the boot may create
arcing that could ignite combustible
fumes and cause a fire.
WARNING
Never test the ignition system with the
spark plug boot removed from the spark
plug or with a removed spark plug, since
uncontained sparking may cause a fire.
WARNING
Do not operate your power tool if the
muffler is damaged, missing or modified.
An improperly maintained muffler will
increase the risk of fire and hearing loss.
Your muffler is equipped with a spark-
arresting screen to reduce the risk of
fire; never operate your power tool if the
screen is missing, damaged or clogged.
Remember that the risk of a brush or
forest fire is greater in hot or dry
weather.
In California, it is a violation of § 4442 or
§ 4443 of the Public Resources Code to
use or operate gasoline-powered tools
on forest-covered, brush-covered or
grass-covered land unless the engine’s
exhaust system is equipped with a
complying spark arrester that is
maintained in effective working order.
The owner/operator of this product is
responsible for properly maintaining the
spark arrester. Other states or
governmental entities/agencies, such as
the U.S. Forest Service, may have
similar requirements. Contact your local
fire agency or forest service for the laws
or regulations relating to fire protection
requirements.
WARNING
Never repair damaged cutting
attachments by welding, straightening or
modifying the shape. This may cause
parts of the cutting attachment to come
off and result in serious or fatal injuries.
Keep blades sharp. Tighten all nuts,
bolts and screws, except the carburetor
adjustment screws, after each use.
Do not clean your machine with a
pressure washer. The solid jet of water
may damage parts of the machine.
Store the power tool in a dry and high or
locked location out of reach of children.
Before storing for longer than a few
days, always empty the fuel tank. See
chapter "Storing the Machine" in the
instruction manual.

FS 110, FS 110 R
English
17
Approved Combinations of Cutting Attachment, Deflector, Handle and Harness
Cutting Attachment Deflector, Limit Stop Handle Harness
7
12
34
56
89
10
11
14
13 18
15
22 24
681BA229 KN
12
16
17
19 20
21
19 20
21
21
23
23
24
24
25

FS 110, FS 110 R
English
18
Approved Combinations
The complete combination includes:
–Cutting attachment
–Deflector
–Handle
–Harness
Select correct combination from the
table according to the cutting
attachment you intend to use.
WARNING
For safety reasons only the cutting
attachments, deflectors, handles and
harnesses shown in each row of the
table may be used together. No other
combinations are permitted because of
the risk of accidents.
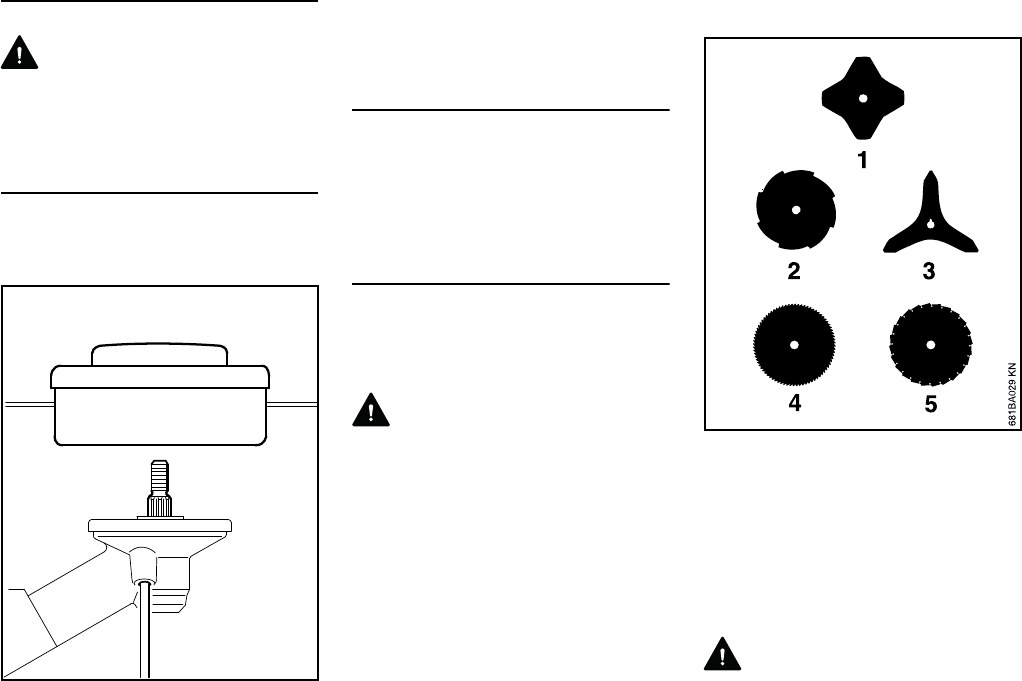
Cutting attachments
Mowing heads
1STIHL SuperCut 20-2
2STIHL AutoCut C 25-2
3STIHL AutoCut 25-2
4STIHL TrimCut 31-2
5STIHL FixCut 25-2
6STIHL DuroCut 20-2
7STIHL PolyCut 20-3
Metal cutting attachments
8Grass cutting blade 230-4
(Ø 230 mm)
9Grass cutting blade 230-8
(Ø 230 mm)
10 Brush knife 250-3
(Ø 250 mm)
11 Scratcher tooth circular saw blade
200
(Ø 200 mm)
12 Chisel tooth circular saw blade 200
(Ø 200 mm)
WARNING
Non-metal grass cutting blades, brush
knives and circular saw blades are not
approved.
Deflectors, Limit Stop
13 Deflector for mowing heads
14 Deflector with
15 skirt and blade for mowing heads
16 Deflector without deflector with skirt
and blade for metal cutting
attachments 8 to 10
17 Limit stop for circular saw blades
Handles
18 Loop handle
19 Loop handle with
20 barrier bar
21 Bicycle handle
Harnesses
22 Shoulder strap may be used
23 Shoulder strap must be used
24 Full harness may be used
25 Full harness must be used
WARNING
Based on the cutting attachment being
used:
Choose the proper deflector in order to
reduce the risk of injury from thrown
objects and contact with the cutting
attachment.
Make sure your unit is equipped with the
proper handle and harness in order to
reduce the risk of injury from loss of
control and contact with the cutting
attachment.
Use grass cutting metal blades and
brush knives on this unit only if equipped
with a bike handle or a loop handle with
barrier bar.
Use circular saw blades on this unit only
if equipped with a bike handle.
Do not use rigid plastic blades on this
unit.

FS 110, FS 110 R
English
19
The following STIHL interchangeable
attachments may be mounted on the
basic machine:
Mounting Bike Handle with Swivelling
Handle Support
The machine is supplied with the
swiveling handle support already
mounted on the shaft. To mount the
handlebar it is necessary to remove the
clamp moldings.
Removing the clamp moldings
NHold the lower clamp (1) and upper
clamp (2) firmly together.
NRelease the wing screw (3) – the
clamps are loose once the wing
screw has been released. They are
pushed apart by the two
springs (4 and 5).
Approved Power Tool
Attachments
228BA047 KN
BF
FH
FCS
KB KW
HT
Interchangeable
attachment
1) stop (barrier bar) on loop handle is
required
2) not approved for machines with
bicycle handle
3) harness need not be used
Use
BF 1) Soil cultivator
FCS 2) 3) Edger
FH 1) Scrub cutter
HL 0° 2) Hedge trimmer
HL 135° 1) 2) Hedge trimmer
HT 2) Pole pruner
KB (4601) 2) Bristle brush
KW (4601) 2) Sweeper drum
assembly
Mounting the Bike Handle

FS 110, FS 110 R
English
20
NPull out the wing screw – the
washer (6) remains on the wing
screw.
NSeparate the clamp moldings – the
springs (4 and 5) remain in the
lower clamp.
Securing the handlebar
NPlace the handlebar (7) in the lower
clamp (1) so that distance A is no
more than 15 cm (6 in).
NPlace the upper clamp in position
and hold both clamp moldings
together.
NPush the wing screw through the
two clamps as far as stop – hold all
parts together and secure them.
NPlace the secured assembly on the
handle support (8) with the wing
screw at the side nearest the
engine.
NPush the wing screw into the handle
support as far as stop and then
screw it down – but do not finally
tighten yet.
NLine up the handlebar at a right
angle to the drive tube – check
distance A again.
NTighten down the wing screw firmly.
Mounting the control handle
NTake out the screw (9) – the nut (10)
remains in the control handle (11).
NPush the control handle onto the
handlebar (7) until the holes (13)
line up – the throttle trigger (12)
must point towards the gearbox.
NInsert the screw (9) and tighten it
down firmly.
Fitting the throttle cable
NOTICE
Do not kink the throttle cable or lay it in
tight radii – make sure the throttle trigger
moves freely.
1
7
A
250BA046 KN
002BA234 KN
8

FS 110, FS 110 R
English
21
NPush the throttle cable (14) into the
retainers (15).
Adjusting the throttle cable
NCheck adjustment of throttle cable –
see chapter on "Adjusting the
Throttle Cable".
Swivelling the handlebar
Transport position
NLoosen the wing screw (3) and
unscrew it until the handlebar (7)
can be turned clockwise.
NTurn the handlebar 90° and then
swing the handles down.
NTighten down the wing screw (3)
firmly.
Working position
NReverse the sequence described
above to swing the handles up and
turn the handlebar
counterclockwise.
Mounting Loop Handle with Barrier Bar
NFit the square nuts (1) in the barrier
bar (2); the holes must line up.
15
14
15
14
15
250BA002 KN
7
3
002BA650 KN
Mounting the Loop Handle
2
002BA098 KN
1
1

FS 110, FS 110 R
English
22
NPlace the clamp (3) in the loop
handle (4) and position them both
against the drive tube (5).
NPosition the clamp (6) against the
drive tube.
NPlace the barrier bar (2) in position
as shown.
NLine up the holes.
NInsert the screws (7) in the holes
and screw them into the barrier
bar (2) as far as stop.
NGo to "Securing the Loop Handle".
Mounting the Loop Handle without
Barrier Bar
NPlace the clamp (3) in the loop
handle (4) and position them both
against the drive tube (5).
NPosition the clamp (6) against the
drive tube.
NLine up the holes.
NFit washers (8) on the screws (7)
and insert the screws in the holes.
Fit the square nuts (1) and screw
them down as far as stop.
NGo to "Securing the Loop Handle".
Securing the Loop Handle
The loop handle can be adjusted to suit
the height and reach of the operator and
the application by changing
distance (A).
Recommendation: distance (A):
about 20 cm (8 in)
NSlide the handle to the required
position.
NLine up the loop handle (4).
NTighten down the screws until the
loop handle can no longer be
rotated on the drive tube. If no
barrier bar is fitted – lock the nuts if
necessary.
The sleeve (9) (not fitted on all models)
must be between the loop handle and
the control handle.
5
4
002BA099 KN
2
3
67
7
8
5
4
1
6
1
3
8
7
002BA614 KN
9
4
A
002BA615 KN

FS 110, FS 110 R
English
23
A properly adjusted throttle cable is the
precondition for correct operation in the
full throttle, starting throttle and idle
positions.
Adjust the throttle cable only after the
unit is fully assembled – the control
handle must be in the normal operating
position.
NUse a suitable tool to push the slide
to the end of the slot (see
illustration).
NPress down the throttle trigger
lockout (1) and squeeze the throttle
trigger (2) (full throttle) – this sets
the throttle cable correctly.
The carrying ring comes standard with
the machine or is available as a special
accessory.
For position of carrying ring see "Main
Parts".
NPlace the clamp (1) against the
drive tube with the tapped hole on
the left (viewed from engine).
NSqueeze the two ends of the clamp
together and hold in that position.
NInsert the M6x14 screw (2).
NLine up the carrying ring.
NTighten down the screw firmly.
Mounting the Deflector
1Deflector for mowing attachments
2Deflector for mowing heads
Deflectors (1) and (2) are both mounted
to the gearbox in the same way.
NPlace the deflector on the gearbox
flange.
NInsert the screws (3) and tighten
them down firmly.
Adjusting the Throttle Cable
002BA163 KN
STOP
249BA017 KN
1
2
Fitting the Carrying Ring
002BA142 KN
1
2
1
Mounting the Deflector
002BA380 KN
2
1
3
3

FS 110, FS 110 R
English
24
Fitting the Skirt and Blade
WARNING
These parts must be fitted to the
deflector (1) when you use a mowing
head.
NSlide the lower guide slot of the skirt
(4) onto the deflector (1) – it must
snap into position.
NPush the blade (5) into the upper
guide slot on the skirt and line it up
with the first hole.
NInsert the screw and tighten it down
firmly.
Mounting the Limit Stop
WARNING
Always fit the limit stop (6) when you use
a circular saw blade.
NPosition the limit stop (6) on the
gearbox flange.
NInsert the screws (7) and tighten
them down firmly.
Placing power tool on the ground
NShut off the engine.
NLay your power tool on its back so
that the cutting attachment
mounting face is pointing up.
Mounting Hardware for Cutting
Attachments
The mounting hardware supplied
depends on the cutting attachment that
comes as original equipment with the
new machine.
If mounting hardware is packed with
machine
Mowing heads and metal cutting
attachments may be mounted.
4
1
5
4
002BA103 KN
7
002BA382 KN
6
Mounting the Cutting
Attachment
002BA104 KN

FS 110, FS 110 R
English
25
Depending on the cutting attachment, it
may be necessary to use the nut (3),
rider plate (4) and thrust washer (5).
These parts are included in a kit
supplied with the machine and are also
available as special accessories.
Removing the transport lock
NPull the hose (1) off the shaft (2).
If mounting hardware is not packed with
machine
Only mowing heads may be used which
mount directly to the shaft (2).
Blocking the Shaft
The output shaft (2) must be blocked
with the stop pin (6) or screwdriver (6) to
mount or remove cutting tools. These
parts come standard with the machine or
are available as special accessories.
NInsert the stop pin (6) or
screwdriver (6) in the hole (7) in the
gearbox as far as stop – and apply
slight pressure.
NRotate shaft, nut or cutting
attachment until the stop pin slips
into position and blocks the shaft.
Removing the Mounting Hardware
NBlock the shaft.
NUse the combination wrench (1) to
loosen and remove the nut (2)
clockwise (left-hand thread).
NTake the thrust washer (3) off the
shaft (4). Do not remove the thrust
plate (5).
Mounting the cutting attachment
WARNING
Use a deflector that matches the cutting
attachment – see "Mounting the
Deflector".
2
002BA164 KN
1
3
4
5
2
002BA266 KN
6
7
2
002BA330 KN
6
3
4
2
271BA057 KN
1
5

FS 110, FS 110 R
English
26
Fitting Mowing Head with Screw
Mounting
Keep the instruction leaflet for the
mowing head in a safe place.
NScrew the mowing head
counterclockwise on to the shaft (1)
as far as stop.
NBlock the shaft.
NTighten down the mowing head
firmly.
NOTICE
Remove the tool used to block the shaft.
Removing the Mowing Head
NBlock the shaft.
NUnscrew the mowing head
clockwise.
Mounting Metal Cutting Attachment
Keep the leaflet and packaging of the
metal cutting tool in a safe place.
WARNING
Wear protective gloves to reduce the
risk of direct contact with the sharp
cutting edges.
Mount only metal cutting attachments.
Check direction of rotation of cutting
attachment
Cutting attachments with 3 or 4 teeth (1,
3) may point in either direction – these
cutting attachments must be turned over
regularly to help avoid one-sided wear.
The cutting edges of cutting
attachments 2, 4 and 5 must point
clockwise.
WARNING
Direction of rotation is indicated by an
arrow on the inside of the deflector.
NPlace the cutting attachment (6) on
the thrust plate (7).
WARNING
Collar (see arrow) must engage the
cutting attachment's mounting hole.
Securing the cutting attachment
NFit the thrust washer (8) – convex
side must face up.
NFit the rider plate (9).
NBlock the shaft (10).
NUse the combination wrench (12) to
screw the mounting nut (11) on to
the output shaft counterclockwise
and tighten it down firmly.
1
002BA385 KN

FS 110, FS 110 R
English
27
WARNING
If the mounting nut has become too
loose, fit a new one.
NOTICE
Remove the tool used to block the shaft.
Removing the Metal Cutting Attachment
WARNING
Wear protective gloves to reduce the
risk of direct contact with the sharp
cutting edges.
NBlock the shaft.
NUnscrew the mounting nut
clockwise.
NRemove cutting attachment and its
mounting hardware from the
gearbox – but do not remove the
thrust plate (7).
The STIHL 4-MIX engine features
mixture lubrication and must be run on a
fuel mixture of gasoline and engine oil.
It operates otherwise on the 4-stroke
principle.
This engine is certified to operate on
unleaded gasoline and the STIHL two-
stroke engine oil at a mix ratio of 50:1.
Your engine requires a mixture of high-
quality gasoline and two-stroke air
cooled engine oil.
Use mid-grade unleaded gasoline with a
minimum octane rating of 89 ((R+M)/2)
and no more than 10% ethanol content.
Fuel with a lower octane rating may
increase engine temperatures. This, in
turn, increases the risk of piston seizure
and damage to the engine.
The chemical composition of the fuel is
also important. Some fuel additives not
only detrimentally affect elastomers
(carburetor diaphragms, oil seals, fuel
lines, etc.), but magnesium castings and
catalytic converters as well. This could
cause running problems or even
damage the engine. For this reason
STIHL recommends that you use only
high-quality unleaded gasoline!
Gasoline with an ethanol content of
more than 10% can cause running
problems and major damage in engines
and should not be used.
The ethanol content in gasoline affects
engine running speed – it may be
necessary to readjust the carburetor if
you use fuels with various ethanol
contents.
WARNING
To reduce the risk of personal injury
from loss of control and / or contact with
the running cutting tool, do not use your
4-MIX Engine Fuel

FS 110, FS 110 R
English
28
unit with incorrect idle adjustment. At
correct idle speed, the cutting tool
should not move.
If your power tool shows an incorrect idle
adjustment, have your STIHL dealer
check your power tool and make proper
adjustments and repairs.
The idle speed and maximum speed of
the engine change if you switch from a
fuel with a certain ethanol content to
another fuel with a much higher or lower
ethanol content.
This problem can be avoided by always
using fuel with the same ethanol
content.
Use STIHL HP Ultra oil or ask your
dealer for an equivalent high quality oil
to ensure the maximum performance of
the product for the full lifetime.
To meet the requirements of EPA
40CFR90/1054 we recommend to use
STIHL HP Ultra oil.
Do not use BIA or TCW rated (two-
stroke water cooled) mix oils or other
mix oils that state they are for use in both
water cooled and air cooled engines
(e.g., outboard motors, snowmobiles,
chain saws, mopeds, etc.).
Take care when handling gasoline.
Avoid direct contact with the skin and
avoid inhaling fuel vapor. When filling at
the pump, first remove the container
from your vehicle and place the
container on the ground before filling. To
reduce the risk of sparks from static
discharge and resulting fire and/or
explosion, do not fill fuel containers that
are sitting in or on a vehicle or trailer.
The container should be kept tightly
closed in order to limit the amount of
moisture that gets into the mixture.
The machine’s fuel tank should be
cleaned as necessary.
Fuel mix ages
Only mix sufficient fuel for a few days
work, not to exceed 30 days of storage.
Store in approved fuel-containers only.
When mixing, pour oil into the container
first, and then add gasoline. Close the
container and shake it vigorously by
hand to ensure proper mixing of the oil
with the fuel.
Dispose of empty mixing-oil containers
only at authorized disposal locations.
Preparations
NBefore fueling, clean the filler cap
and the area around it to ensure that
no dirt falls into the tank.
Always thoroughly shake the mixture in
the canister before fueling your
machine.
NPosition the machine so that the
filler cap is facing up.
WARNING
In order to reduce the risk of fire and
personal injury from escaping gas vapor
and fumes, remove the fuel filler cap
carefully so as to allow any pressure
build-up in the tank to release slowly.
Gasoline Oil (STIHL 50:1 or equiva-
lent high-quality oils)
Liters Liters (ml)
10.02(20)
5 0.10 (100)
10 0.20 (200)
20 0.40 (400)
US gal. US fl.oz.
12.6
2 1/2 6.4
512.8
Fueling
266BA028 KN

FS 110, FS 110 R
English
29
Opening the filler cap
NTurn the cap counterclockwise until
it can be removed from the tank
opening.
NRemove the filler cap.
Refueling
Take care not to spill fuel while fueling
and do not overfill the tank.
Closing the filler cap
NPosition cap.
NTurn the cap clockwise as far as it
will go and tighten it as securely as
possible by hand.
The type and style of the
harness/shoulder strap depend on the
market.
The use of the shoulder strap is
described in the chapter on "Approved
Combinations of Cutting Attachment,
Deflector, Handle and Harness".
Shoulder Strap
NPut on the shoulder strap (1).
NAdjust the length of the strap so that
the carabiner (2) is about a hand’s
width below your right hip.
NBalance the machine – see
"Balancing the Machine".
Full Harness
NPut on the harness (1) and close the
locking plate (3).
NAdjust the length of the strap – with
the machine attached, the
carabiner (2) must be about a
hand's width below your right hip.
NBalance the machine – see
"Balancing the Machine".
2709BA003 KN
2709BA004 KN
Fitting the Harness
1
002BA441 KN
2
3
002BA228 KN
2
1

FS 110, FS 110 R
English
30
Attaching the unit to the harness
The type and style of the harness and
carabiner (spring hook) depend on the
market.
NAttach the carabiner (1) to the
carrying ring (2) on the drive tube.
NLoosen the screw (3).
Balancing the brushcutter
The unit is balanced differently,
depending on the cutting attachment
used.
Proceed as follows until the conditions
specified under "Floating positions"
have been met:
NAdjust the carrying ring.
NTighten the screw moderately.
NAllow the unit to hang freely.
NCheck the position obtained.
Floating positions
Mowing tools (A) such as mowing
heads, grass cutting blades and brush
knives
Nshould just touch the ground.
Circular saw blades (B)
Nshould "hover" about 20 cm (8 in)
above the ground.
When the correct floating position has
been reached:
NTighten down the screw on the
carrying ring firmly.
Balancing the Machine
A
002BA034 KN
B
002BA035 KN

FS 110, FS 110 R
English
31
Detaching the unit from the harness
NPress down the bar on the
carabiner (1) and pull the carrying
ring (2) out of the carabiner.
Operating elements
Control handle on handlebar
1Throttle lever lock
2Throttle trigger
3Slide control
Control handle on shaft
1Throttle lever lock
2Throttle trigger
3Slide control
Slide control positions
4STOP-0 – engine off – ignition is
switched off
5Operating position F – Run – engine
is running or can start
6START – Start – the ignition is
switched on – the engine can be
started
Symbol on slide control
7h – Stop sign and arrow – to switch
off the engine, push the slide control
in the direction of the arrow at the
stop sign (h) to STOP-0
Starting / Stopping the
Engine
3
STOP
56
4
7
002BA182 KN
1
2
START
STOP-
3
STOP
2
5
6
4
7
002BA181 KN
START
STOP-
1

FS 110, FS 110 R
English
32
Starting
NPress the throttle trigger lockout and
throttle trigger in succession
NHold both triggers down
NMove the slide control to START
and hold it in position too
NRelease the throttle trigger, slide
control and throttle trigger lockout in
succession = starting throttle
position
NSet the choke knob (8)
NPress the manual fuel pump
bulb (9) at least 5 times - even when
bulb is filled with fuel
Starting
NLay the machine on the ground in a
secure position: It must rest on the
engine support and the deflector for
the cutting attachment
N(if present): Remove the transport
guard on the cutting attachment
The cutting attachment must not touch
the ground or any other objects – risk of
accident!
NAssume a firm stance – possibilities:
standing, bending or kneeling
NPress the machine firmly against
the ground with the left hand – do
not touch the throttle trigger or
throttle trigger lockout while doing
so – your thumb should be under the
fan housing
NOTICE
Do not stand or kneel on the shaft!
NGrab the starter grip with your right
hand
NPull the starter grip slowly until you
feel it engage and then give it a
brisk, strong pull
NOTICE
Do not pull out the starter rope
completely – risk of breakage!
NDo not let the starter grip snap back
– guide it slowly back into the
housing so that the starter rope can
rewind properly
Ncrank until the engine starts – at the
latest after the fifth time the starter
rope is pulled, turn the choke knob
to e
Ncontinue cranking
Once the engine is running
NBlip the throttle trigger, the slide
control jumps to run F – the engine
begins to idle
WARNING
If the carburetor has been set correctly,
the cutting attachment should not rotate
when the engine is idling!
The machine is now ready for use.
gIf the engine is cold
eIf the engine is warm – even if the
engine has already run but is still
cold
249BA057 KN
9
8

FS 110, FS 110 R
English
33
Switching off the engine
NPush the slide control in the
direction of the arrow at the stop
sign h to STOP-0
At very low temperatures
As soon as engine is running:
NBlip the throttle trigger = disengage
starting throttle position – the slide
control jumps to run F – engine
begins to idle
NPress the throttle trigger slightly
NLet the engine warm up briefly
If the engine does not start
Choke knob
If the choke knob was not returned to e
in time after the engine turned over for
the first time, then the engine has
flooded.
NTurn the choke knob to e.
NMove the slide control, throttle
trigger interlock and throttle trigger
to the starting throttle position
NStart the engine – to do this, pull the
starter rope briskly – 10 or 20 pulls
may be needed
If the engine still does not start
NSet slide control to STOP-0
NRemove the spark plug - see "Spark
plug"
NDry the spark plug
NCrank the engine several times with
the starter – to clear the combustion
chamber
NReplace the spark plug – see "Spark
plug"
NSet the slide control to START
NTurn the choke knob to e – even if
the engine is cold!
NRestart the engine
Adjusting the throttle cable
NCheck throttle cable adjustment –
see "Adjusting the throttle cable"
If the tank has been drained completely
NAfter refueling, press the manual
fuel pump bulb at least five times –
even if it is full of fuel.
NSet choke lever depending on
engine temperature
NRestart the engine
Using a transport guard
The type of transport guard used
depends on the type of metal cutting
attachment supplied with the machine.
Transport guards are also available as
special accessories.
Fitting the transport guard for grass
cutting blades 230 and brush knives
The transport guard can be used for
grass cutting blades up to 230 mm
(9.1 in.) in diameter and for brush knife
250-3.
If a grass cutting blade 230 is fitted:
Transporting the Unit
681BA268 KN
681BA269 KN

FS 110, FS 110 R
English
34
If a brush knife is fitted:
Fitting the transport guards for grass
cutting blades 250 and circular saw
blades
The transport guard (1) can be used for
grass cutting blades with a diameter of
250 mm (9.8 in.) and the transport
guard (2) for circular saw blades with a
diameter of 200 mm (7.9 in.) .
NUnhook the retainer on the transport
guard and swing outward
If a grass cutting blade 250 is fitted:
NFit the transport guard (1) to the
cutting attachment from below.
If a circular saw blade is fitted:
681BA270 KN
681BA271 KN
681BA272 KN
681BA278 KN
12
681BA275 KN
1.
2.
681BA279 KN

FS 110, FS 110 R
English
35
NFit the transport guard (2) to the
cutting attachment from below,
ensuring that the stop is centered in
the recess.
NHook the retainer onto the hook of
the transport guard
During break-in period
A factory-new machine should not be
run at high revs (full throttle off load) for
the first three tank fillings. This avoids
unnecessary high loads during the
break-in period. As all moving parts
have to bed in during the break-in
period, the frictional resistances in the
engine are greater during this period.
The engine develops its maximum
power after about 5 to 15 tank fillings.
During Operation
After a long period of full throttle
operation, allow the engine to run for a
short while at idle speed so that engine
heat can be dissipated by the flow of
cooling air. This protects engine-
mounted components (ignition,
carburetor) from thermal overload.
After Finishing Work
Storing for a short period: Wait for the
engine to cool down. Empty the fuel tank
and keep the machine in a dry place,
well away from sources of ignition, until
you need it again. For longer out-of-
service periods – see "Storing the
Machine".
If there is a noticeable loss of engine
power
NTurn the choke knob to g
NTake out the screw (1) and remove
the filter cover (2).
NClean away loose dirt from around
the filter.
NGrip the filter element (3) at the
cutout (arrow) in the filter
housing (4) and remove it.
NFit a new filter element. As a
temporary measure you can knock it
out on the palm of your hand or blow
it out with compressed air. Do not
wash.
NReplace damaged parts.
Installing the filter
NInstall the filter element in the filter
housing and fit the cover.
NInsert the screw and tighten it down
firmly.
681BA280 KN
681BA281 KN
2.
Operating Instructions Cleaning the Air Filter
1
273BA006 KN
2
4

FS 110, FS 110 R
English
36
Exhaust emissions are controlled by the
design of the fundamental engine
parameters and components (e.g.
carburation, ignition, timing and valve or
port timing) without the addition of any
major hardware.
The carburetor of the machine has been
adjusted for optimum performance and
fuel efficiency in all operating states at
the factory.
Setting the idle speed
Engine stops when idling
NLet the engine warm up for approx.
3min
NSlowly turn idle speed screw (LA)
clockwise until the engine runs
smoothly – the cutting attachment
must not rotate
Cutting attachment turns when idling
NTurn the idle speed screw (LA)
slowly counterclockwise until the
cutting attachment stops moving –
then turn another 1/2 to 3/4 turn in
the same direction
WARNING
If the cutting attachment continues to
keep rotating in idle even after
adjustment, have the machine checked
by a servicing dealer.
The muffler is equipped with a spark
arresting screen.
NIf the engine is down on power,
check the spark arresting screen in
the muffler.
NWait for the muffler to cool down.
NMove the slide control to STOP-0.
NTake out the screw (1).
NTake out the screws (2) and remove
the shroud (3).
Engine Management Adjusting the Carburetor
266BA027 KN
LA
Spark Arresting Screen in
Muffler
249BA059 KN
1
2
3
2
249BA060 KN

FS 110, FS 110 R
English
37
NTake out the screw (4).
NLift the spark arresting screen (5)
and pull it out.
NClean the spark arresting screen. If
the screen is damaged or heavily
carbonized, fit a new one.
NRefit the spark arresting screen.
NInsert screw and tighten it down
firmly.
NInstall the shroud.
If engine is down on power, difficult to
start or runs poorly at idling speed, first
check the spark plug.
Fit a new spark plug after approx. 100
operating hours or earlier if the
electrodes are badly eroded.
Wrong fuel mix (too much engine oil in
the gasoline), a dirty air filter and
unfavorable running conditions (mostly
at part throttle etc.) affect the condition
of the spark plug. These factors cause
deposits to form on the insulator nose
which may result in trouble in operation.
Removing the spark plug
NMove the slide control to STOP-0.
NPull off the spark plug boot (1).
NUnscrew the spark plug.
Checking the Spark Plug
NClean dirty spark plug.
NCheck electrode gap (A) and
readjust if necessary – see chapter
"Specifications."
NUse only resistor type spark plugs of
the approved range.
Rectify problems which have caused
fouling of spark plug:
–too much oil in fuel mix,
–dirty air filter,
–unfavorable running conditions, e.g.
operating at part load.
Spark Plug
1
249BA063 KN
000BA039 KN
A

FS 110, FS 110 R
English
38
WARNING
To reduce the risk of fire and burn injury,
use only spark plugs authorized by
STIHL. Always press spark plug boot (1)
snugly onto spark plug terminal (2) of the
proper size. (Note: If terminal has
detachable SAE adapter nut, it must be
securely attached.) A loose connection
between spark plug boot and ignition
wire connector in the boot may create
arcing that could ignite combustible
fumes and cause a fire.
Installing the spark plug
NScrew home the spark plug, fit the
boot and press it down firmly.
If engine running behavior is
unsatisfactory even though the air filter
is clean and the carburetor is properly
adjusted, the cause may be the muffler.
Have the muffler checked for
contamination (carbonization) by your
servicing dealer.
STIHL recommends that you have
servicing and repair work carried out
exclusively by an authorized STIHL
servicing dealer.
NCheck the grease level regularly –
about every 25 hours of operation.
NUnscrew the filler plug (1). If no
grease can be seen on the inside of
the filler plug, screw the tube (2) of
STIHL gear lubricant (special
accessory) into the filler hole.
NSqueeze up to 5 g (1/5 oz) grease
into the gearbox.
NOTICE
Do not completely fill the gearbox with
grease.
NRemove the tube of grease (2).
NRefit the filler plug and tighten it
down firmly.
2
1
002BA363 KN
Engine Running Behavior Lubricating the Gearbox
1
233BA010 KN
2

FS 110, FS 110 R
English
39
To help prolong the wear life of the
starter rope, observe the following
points:
NPull the starter rope only in the
direction specified.
NDo not pull the rope over the edge of
the guide bushing.
NDo not pull out the rope more than
specified.
NDo not allow the starter grip to snap
back, guide it back into the housing
slowly – see chapter on "Starting /
Stopping the Engine."
Have a damaged starter rope replaced
by your dealer before it breaks
completely. STIHL recommends that
you have servicing and repair work
carried out exclusively by an authorized
STIHL servicing dealer.
For periods of about 3 months or longer
NDrain and clean the fuel tank in a
well ventilated area.
NDispose of fuel properly in
accordance with local
environmental requirements.
NRun the engine until the carburetor
is dry – this helps prevent the
carburetor diaphragms sticking
together.
NRemove, clean and inspect the
cutting attachment. Coat metal
cutting attachments with corrosion
inhibitor.
NThoroughly clean the machine – pay
special attention to the cylinder fins
and air filter.
NStore the machine in a dry and
secure location – out of the reach of
children and other unauthorized
persons.
NUse a sharpening file (see "Special
Accessories") to sharpen dull
cutting attachments. In case of
more serious wear or nicks:
Resharpen with a grinder or have
the work done by a dealer – STIHL
recommends a STIHL servicing
dealer.
NSharpen frequently, take away as
little metal as possible – two or three
strokes of the file are usually
enough.
NResharpen the teeth (1) uniformly –
do not alter the contour of the parent
blade (2) in any way.
See cutting attachment packaging for
additional sharpening instructions. Keep
the packaging for future reference.
Rewind Starter Storing the Machine Sharpening Metal Cutting
Blades
22
1
2
11
002BA042 KN

FS 110, FS 110 R
English
40
Balancing
NAfter resharpening about 5 times,
check the cutting attachment for
out-of-balance on a STIHL balancer
– see “Special Accessories” – or
have it checked by a dealer and re-
balanced as necessary – STIHL
recommends a STIHL servicing
dealer.
Placing power tool on the ground
NShut off the engine.
NLay your power tool on its back so
that the cutting attachment
mounting face is pointing up.
Replacing Nylon Line
Always check the mowing head for signs
of wear before replacing the nylon line.
WARNING
If there are signs of serious wear,
replace the complete mowing head.
The nylon mowing line is referred to as
"nylon line" or "line" in the following.
The mowing head is supplied with
illustrated instructions for replacing the
nylon line. Keep the instructions for the
mowing head in a safe place.
NIf necessary, remove the mowing
head.
Adjusting Nylon Line
STIHL SuperCut
Fresh line is advanced automatically if
the remaining line is at least 6 cm
(2 1/2 in) long. The blade on the
deflector trims overlong lines to the
correct length.
STIHL AutoCut
NWith the engine running, hold the
rotating mowing head above the
grass surface.
NTap it on the ground once – fresh
line is advanced and the blade on
the deflector trims it to the right
length.
Fresh line is advanced every time the
mowing head is tapped on the ground.
For this reason observe the mowing
head's cutting performance during
operation. If the mowing head is tapped
on the ground too often, the line limiter
blade will unnecessarily cut off unused
lengths of nylon line.
Line feed operates only if both lines are
still at least 2.5cm(1in) long.
STIHL TrimCut
WARNING
To reduce the risk of injury, always shut
off the engine before adjusting the nylon
line by hand.
NPull the spool up – rotate it about 1/6
turn counterclockwise until it
engages – and allow it to spring
back.
NPull ends of the lines outward.
Maintaining the Mowing
Head
002BA104 KN

FS 110, FS 110 R
English
41
Repeat the above procedure as
necessary until both lines reach the
limiter blade on the deflector.
Rotating the spool from one stop to the
next advances about 4 cm (1 1/2 in) of
fresh line.
Replacing nylon line
STIHL PolyCut
A length of nylon line can be fitted to the
PolyCut in place of the cutting blades.
STIHL DuroCut, STIHL FixCut,
STIHL PolyCut
WARNING
To reduce the risk of injury, always shut
off the engine before refilling the mowing
head by hand.
NFit nylon line in mowing head as
described in the instructions
supplied.
Replacing Cutting Blades
STIHL PolyCut
Always check the mowing head for signs
of wear before installing new cutting
blades.
WARNING
If there are signs of serious wear,
replace the complete mowing head.
The thermoplastic cutting blades are
referred to as "blades" in the following.
The mowing head is supplied with
illustrated instructions for replacing the
blades. Keep the instructions for the
mowing head in a safe place.
WARNING
To reduce the risk of injury, always shut
off the engine before installing the
blades.
NRemove the mowing head.
NReplace blades as shown in the
illustrated instructions.
NMount the mowing head on the
machine.
Maintenance Work
STIHL recommends that you have
servicing and repair work carried out
exclusively by an authorized STIHL
servicing dealer.
Fuel Pickup Body in Tank
NCheck the pickup body in the fuel
tank every year and have it replaced
if necessary.
The pickup body should be positioned in
the area of the tank shown in the
illustration.
Inspections and Maintenance
by Dealer
465BA002 KN

FS 110, FS 110 R
English
42
Maintenance and Care
The following intervals apply to normal operating conditions only. If your daily work-
ing time is longer or operating conditions are difficult (very dusty work area, etc.),
shorten the specified intervals accordingly.
before starting work
after finishing work or daily
after each refueling stop
weekly
monthly
every 12 months
if problem
if damaged
as required
Complete machine
Visual inspection (condition, leaks) XX
Clean X
Replace any damaged parts XX
Control handle Check operation XX
Air filter
Visual inspection X X
Clean XX
Replace X
Manual fuel pump (if fitted) Check X
Have repaired by servicing dealer1) X
Pickup body in fuel tank Have checked by servicing dealer1) X
Have replaced by servicing dealer1) XXX
Fuel tank Clean XX
Carburetor
Check idle adjustment – the cutting
attachment must not rotate XX
Adjust idle speed X
Spark plug Adjust electrode gap X
Replace after every 100 operating hours
Cooling inlets Visual inspection X
Clean X
Cylinder fins Clean 2) X
Valve clearance
Check and, if necessary, have adjusted
by dealer after first 139 hours of
operation1) X
Have combustion chamber (CARB only)
cleaned by servicing dealer1) after first
139 hours of operation, then every 150
hours of operation
X

FS 110, FS 110 R
English
43
Spark arresting screen in muffler Check XX
Clean or replace XX
All accessible screws and nuts (not adjust-
ing screws) Retighten X
Anti-vibration elements (rubber buffers,
springs)
Check XXX
Have replaced by servicing dealer1) X
Cutting attachment
Visual inspection XX
Replace X
Check tightness XX
Metal cutting attachment Sharpen XX
Gearbox lubrication Check X
Replenish X
Safety labels Replace X
1) STIHL recommends an authorized STIHL servicing dealer.
2) Remove shroud - see "Spark Arresting Screen in Muffler"
The following intervals apply to normal operating conditions only. If your daily work-
ing time is longer or operating conditions are difficult (very dusty work area, etc.),
shorten the specified intervals accordingly.
before starting work
after finishing work or daily
after each refueling stop
weekly
monthly
every 12 months
if problem
if damaged
as required

FS 110, FS 110 R
English
44
1Fuel Filler Cap
2Carburetor Adjusting Screws
3Starter Grip
4Spark Plug Boot
5Muffler with Spark Arresting Screen
6Bike Handle
7Throttle Trigger
8Slide Control
9Throttle Trigger Lockout
10 Throttle Cable Retainer
11 Carrying Ring
12 Manual Fuel Pump
13 Choke Knob
14 Air Filter Cover
15 Fuel Tank
16 Machine Support
17 Handle Support
18 Wing Screw
19 Loop Handle
20 Barrier Bar
#Serial Number
Main Parts
4
18
#
13
7
9
8
11
20
19
8
79
6
17
10 11 10
15
16
14
5
1
2
12
3
249BA069 KN

FS 110, FS 110 R
English
45
Definitions
1 Fuel Filler Cap
For closing the fuel tank.
2 Carburetor Adjusting Screws
For tuning the carburetor.
3 Starter Grip
The grip of the pull starter, for
starting the engine.
4 Spark Plug Boot
Connects the spark plug with the
ignition lead.
5 Muffler with Spark Arresting Screen
Muffler reduces engine exhaust
noise and diverts exhaust gases
away from operator.
Spark arresting screen is designed
to reduce the risk of fire.
6 Bike Handle
For easy control of the machine with
both hands during cutting work.
7 Throttle Trigger
Controls the speed of the engine.
8 Slide Control
For starting throttle, run and stop.
Keeps the choke partially open
during starting and switches off the
ignition to stop the engine.
9 Throttle Trigger Lockout
Must be depressed before the
throttle trigger can be activated.
10 Throttle Cable Retainer
Secures the throttle cable to the
drive tube.
11 Carrying Ring
Connects the trimmer/brushcutter to
the harness.
12 Manual Fuel Pump
Provides additional fuel feed for a
cold start.
13 Choke Knob
Eases engine starting by enriching
mixture.
14 Air Filter Cover
Encloses and protects the air filter
element.
15 Fuel Tank
For fuel and oil mixture.
16 Machine Support
For resting machine on the ground.
17 Handle Support
Connects the shaft and bike handle.
18 Wing Screw
Locks handlebar in selected
position.
19 Loop Handle
For easy control of machine during
cutting work.
20 Barrier Bar
Helps keep user's feet and legs
clear of the cutting tool.
1Mowing Head
2Deflector for Mowing Heads
3Line Limiting Blade
4Deflector with Skirt for all Mowing
Attachments
5Skirt
6Metal Mowing Tool
002BA114 KN
13
45
3
64
1
2

FS 110, FS 110 R
English
46
Definitions
1 Mowing Head
The cutting attachment, i. e.
mowing head, for different
purposes.
2 Deflector for Mowing Heads
The deflector is designed to reduce
the risk of injury from foreign objects
flung backwards toward the
operator by the cutting attachment
and from contact with the cutting
attachment.
3 Line Limiting blade
Metal blade at the deflector in order
to keep the line of the mowing head
at the proper length.
4 Deflector with Skirt for all Mowing
Attachments
The deflector is designed to reduce
the risk of injury from foreign objects
flung backwards toward the
operator by the cutting attachment
and from contact with the cutting
attachment. Is not designed to
contain fragmented metal blades.
5Skirt
The skirt at the bottom of the
deflector must be utilized as
described in the chapter "Mounting
the Deflector".
6 Metal Mowing Tool
The cutting attachment, i. e. blade,
made from metal for different
purposes.
7Circular Saw Blade
8Limit Stop for Circular Saw Blade
Definitions
7 Circular Saw Blade
Cutting attachment made of metal
for cutting wood.
8 Limit Stop for Circular Saw Blade
Is designed to position the
brushcutter steady against the
wood in order to reduce the risk of
injury from loss of control from
reactive forces such as thrust out.
EPA / CEPA
The Emission Compliance Period
referred to on the Emissions
Compliance Label indicates the number
of operating hours for which the engine
has been shown to meet Federal
emission requirements.
Category
CARB
The Emission Compliance Period used
on the CARB-Air Index Label indicates
the terms:
Engine
STIHL single cylinder four-stroke engine
with mixture lubrication
002BA186 KN
8
7
Specifications
A = 300 hours
B = 125 hours
C= 50hours
Extended = 300 hours
Intermediate = 125 hours
Moderate = 50 hours

FS 110, FS 110 R
English
47
Ignition System
Electronic magneto ignition
Fuel System
All position diaphragm carburetor with
integral fuel pump
Weight
Overall length
Features
Users of this unit should carry out only
the maintenance operations described
in this manual. STIHL recommends that
other repair work be performed only by
authorized STIHL servicing dealers.
Warranty claims following repairs can be
accepted only if the repair has been
performed by an authorized STIHL
servicing dealer using genuine STIHL
replacement parts.
Genuine STIHL parts can be identified
by the STIHL part number, the
{ logo and, in some cases, by
the STIHL parts symbol K. The
symbol may appear alone on small
parts.
Displacement: 31.4 cc (1.92 cu.in)
Bore: 40 mm (1.57 in)
Stroke: 25 mm (0.98 in)
Engine power to
ISO 8893:
1.05 kW (1.4 bhp)
at 7,000 rpm
Idle speed: 2,800 rpm
Cut-off speed
(rated): 10,200 rpm
Max. output shaft
speed (cutting
attachment): 7,500 rpm
Valve clearance:
Inlet valve: 0.10 mm (0.004 in)
Exhaust valve: 0.10 mm (0.004 in)
Spark plug (resistor
type): Bosch USR 7 AC
Electrode gap: 0.5 mm (0.02 in)
Fuel tank capacity: 0.53 l (17.9 fl.oz)
Dry, without cutting attachment and
deflector
FS 110: 5.8 kg (12.8 lbs)
FS 110 R: 5.5 kg (12.1 lbs)
without cutting
attachment 1800 mm (71 in)
R Loop handle
Z Spark arresting screen in muffler
Maintenance and Repairs

FS 110, FS 110 R
English
48
Observe all country-specific waste
disposal rules and regulations.
STIHL products must not be thrown in
the garbage can. Take the product,
accessories and packaging to an
approved disposal site for environment-
friendly recycling.
Contact your STIHL servicing dealer for
the latest information on waste disposal.
Not for California
Your Warranty Rights and Obligations
The U.S. Environmental Protection
Agency (EPA) and STIHL Incorporated
are pleased to explain the Emission
Control System Warranty on your
equipment type engine. In the U.S. new
1997 and later model year small off-road
equipment engines must be designed,
built and equipped, at the time of sale, to
meet the U.S. EPA regulations for small
non road engines. The equipment
engine must be free from defects in
materials and workmanship which
cause it to fail to conform with U.S. EPA
standards for the first two years of
engine use from the date of sale to the
ultimate purchaser.
STIHL Incorporated must warrant the
emission control system on your small
off-road engine for the period of time
listed below provided there has been no
abuse, neglect or improper maintenance
of your small off-road equipment engine.
Your emission control system includes
parts such as the carburetor and the
ignition system. Also included may be
hoses, and connectors and other
emission-related assemblies.
Where a warrantable condition exists,
STIHL Incorporated will repair your
small off-road equipment engine at no
cost to you, including diagnosis (if the
diagnostic work is performed at an
authorized dealer), parts, and labor.
Manufacturer's Warranty Coverage
In the U.S., 1997 and later model year
small off-road equipment engines are
warranted for two years. If any emission-
related part on your engine is defective,
the part will be repaired or replaced by
STIHL Incorporated free of charge.
Owner's Warranty Responsibilities
As the small off-road equipment engine
owner, you are responsible for the
performance of the required
maintenance listed in your instruction
manual. STIHL Incorporated
recommends that you retain all receipts
covering maintenance on your small off-
road equipment engine, but STIHL
Incorporated cannot deny warranty
solely for the lack of receipts or for your
failure to ensure the performance of all
scheduled maintenance.
Any replacement part or service that is
equivalent in performance and durability
may be used in non-warranty
maintenance or repairs, and shall not
reduce the warranty obligations of the
engine manufacturer.
As the small off-road equipment engine
owner, you should be aware, however,
that STIHL Incorporated may deny you
warranty coverage if your small off-road
equipment engine or a part has failed
due to abuse, neglect, improper
maintenance or unapproved
modifications.
You are responsible for presenting your
small off-road equipment engine to a
STIHL service center as soon as a
problem exists. The warranty repairs will
be completed in a reasonable amount of
time, not to exceed 30 days.
Disposal
000BA073 KN
STIHL Incorporated Federal
Emission Control Warranty
Statement
FS 110, FS 110 R
English
49
If you have any questions regarding your
warranty rights and responsibilities,
please contact a STIHL customer
service representative at 1-800-467-
8445 or you can write to
STIHL Inc.,
536 Viking Drive, P.O. Box 2015,
Virginia Beach, VA 23450-2015
www.stihlusa.com
Coverage by STIHL Incorporated
STIHL Incorporated warrants to the
ultimate purchaser and each
subsequent purchaser that your small
off-road equipment engine will be
designed, built and equipped, at the time
of sale, to meet all applicable
regulations. STIHL Incorporated also
warrants to the initial purchaser and
each subsequent purchaser that your
engine is free from defects in materials
and workmanship which cause the
engine to fail to conform with applicable
regulations for a period of two years.
Warranty Period
The warranty period will begin on the
date the utility equipment engine is
purchased by the initial purchaser and
you have signed and sent back the
warranty card to STIHL.
If any emission-related part on your
engine is defective, the part will be
replaced by STIHL Incorporated at no
cost to the owner. Any warranted part
which is not scheduled for replacement
as required maintenance, or which is
scheduled only for regular inspection to
the effect of "repair or replace as
necessary" will be warranted for the
warranty period. Any warranted part
which is scheduled for replacement as
required maintenance will be warranted
for the period of time up to the first
scheduled replacement point for that
part.
Diagnosis
You, as the owner, shall not be charged
for diagnostic labor which leads to the
determination that a warranted part is
defective. However, if you claim
warranty for a component and the
machine is tested as non-defective,
STIHL Incorporated will charge you for
the cost of the emission test. Mechanical
diagnostic work will be performed at an
authorized STIHL servicing dealer.
Emission test may be performed either
at STIHL Incorporated or at any
independent test laboratory.
Warranty Work
STIHL Incorporated shall remedy
warranty defects at any authorized
STIHL servicing dealer or warranty
station. Any such work shall be free of
charge to the owner if it is determined
that a warranted part is defective.
Any manufacturer-approved or
equivalent replacement part may be
used for any warranty maintenance or
repairs on emission-related parts and
must be provided without charge to the
owner. STIHL Incorporated is liable for
damages to other engine components
caused by the failure of a warranted part
still under warranty.
The following list specifically defines the
emission-related warranted parts:
–Air Filter
–Carburetor (if applicable)
–Fuel Pump
–Choke (Cold Start Enrichment
System) (if applicable)
–Control Linkages
–Intake Manifold
–Magneto or Electronic Ignition
System (Ignition Module or
Electronic Control Unit)
–Fly Wheel
–Spark Plug
–Injection Valve (if applicable)
–Injection Pump (if applicable)
–Throttle Housing (if applicable)
–Cylinder
–Muffler
–Catalytic Converter (if applicable)
–Fuel Tank
–Fuel Cap
–Fuel Line
–Fuel Line Fittings
–Clamps
–Fasteners
Where to make a Claim for Warranty
Service
Bring the product to any authorized
STIHL servicing dealer and present the
signed warranty card.
Maintenance Requirements
The maintenance instructions in this
manual are based on the application of
the recommended 2-stroke fuel-oil
mixture (see also instruction "Fuel").
Deviations from this recommendation

FS 110, FS 110 R
English
50
regarding quality and mixing ratio of fuel
and oil may require shorter maintenance
intervals.
Limitations
This Emission Control Systems
Warranty shall not cover any of the
following:
Nrepair or replacement required
because of misuse, neglect or lack
of required maintenance,
Nrepairs improperly performed or
replacements not conforming to
STIHL Incorporated specifications
that adversely affect performance
and/or durability, and alterations or
modifications not recommended or
approved in writing by STIHL
Incorporated,
and
Nreplacement of parts and other
services and adjustments
necessary for required maintenance
at and after the first scheduled
replacement point.
For California only
Your Warranty Rights and Obligations
The California Air Resources Board
(CARB) and STIHL Incorporated are
pleased to explain the emission control
system warranty on your 2014 and later
small off-road equipment engine.
In California, new equipment that uses
small off-road engines must be
designed, built, and equipped to meet
the State's stringent anti-smog
standards. STIHL Incorporated must
warrant the emissions control system on
your small off-road engine for the period
listed below provided there has been no
abuse, neglect or improper maintenance
of your small off-road engine.
Your emissions control system may
include parts such as the carburetor or
fuel-injection system, the ignition
system, and catalytic converter. Also
included may be hoses, belts,
connectors or other emission-related
assemblies.
Where a warrantable condition exists,
STIHL Incorporated will repair your
small off-road equipment engine at no
cost to you including diagnosis, parts
and labor.
Manufacturer’s Warranty
Responsibilities
This emissions control system is
warranted for two years in California. If
any emissions-related part on your
equipment is defective, the part will be
repaired or replaced by STIHL
Incorporated free of charge.
Owner’s Warranty Responsibilities
As the small off-road equipment engine
owner, you are responsible for
performance of the required
maintenance listed in your instruction
manual. STIHL Incorporated
recommends that you retain all receipts
covering maintenance on your small off-
road equipment engine, but STIHL
Incorporated cannot deny warranty
solely for the lack of receipts or your
failure to ensure the performance of all
scheduled maintenance.
As the small off-road equipment engine
owner, you should however be aware
that STIHL Incorporated may deny you
warranty coverage if your small off-road
equipment engine or a part has failed
due to abuse, neglect, or improper
maintenance or unapproved
modifications.
You are responsible for presenting your
small off-road equipment engine to a
STIHL servicing dealer as soon as the
problem exists. The warranty repairs
should be completed in a reasonable
amount of time, not to exceed 30 days. If
you have any questions regarding your
warranty rights and responsibilities,
please contact a STIHL customer
service representative at 1-800-467-
8445 or you can write to
STIHL Incorporated
California Exhaust and
Evaporative Emissions
Control Warranty Statement
FS 110, FS 110 R
English
51
STIHL Inc., 536 Viking Drive,
P.O. Box 2015,
Virginia Beach, VA 23450-2015.
www.stihlusa.com
Coverage by STIHL Incorporated
STIHL Incorporated warrants to the
ultimate purchaser and each
subsequent purchaser that your small
off-road equipment engine is designed,
built and equipped, at the time of sale, to
meet all applicable emission
regulations.
STIHL Incorporated also warrants to the
initial purchaser and each subsequent
purchaser that your engine is free from
defects in materials and workmanship
which cause the engine to fail to conform
to applicable emission regulations for a
period of two years.
Defects Warranty Period
The warranty periods will begin on the
date the utility equipment engine is
purchased by the initial purchaser. If any
emission-related part on your engine is
defective, the part will be replaced by
STIHL Incorporated at no cost to the
owner.
Add-on or modified parts that are not
exempted by CARB may not be used.
The use of any non-exempted add-on or
modified parts will be grounds for
disallowing a warranty claim. STIHL
Incorporated will not be liable to warrant
failures of warranted parts caused by the
use of a non-exempted add-on or
modified part.
The warranty on emissions-related parts
will be interpreted as follows:
1. Any warranted part that is not
scheduled for replacement as
required maintenance in the written
instructions required in the
Emission Warranty Parts List (see
below) must be warranted for the
warranty period defined in
Subsection COVERAGE BY STIHL
INCORPORATED, see above. If
any such part fails during the period
of warranty coverage, it must be
repaired or replaced by the
manufacturer according to
Subsection (4) below. Any such part
repaired or replaced under the
warranty must be warranted for the
remaining warranty period.
2. Any warranted part that is
scheduled only for regular
inspection in the written instructions
required by the Emission Warranty
Parts List (see below) must be
warranted for the warranty period
defined in Subsection COVERAGE
BY STIHL INCORPORATED, see
above. A statement in such written
instructions to the effect of "repair or
replace as necessary" will not
reduce the period of warranty
coverage. Any such part repaired or
replaced under warranty must be
warranted for the remaining
warranty period.
3. Any warranted part that is
scheduled for replacement as
required maintenance in the written
instructions required by the
Emission Warranty Parts List (see
below) must be warranted for the
period of time prior to the first
scheduled replacement point for
that part. If the part fails prior to the
first scheduled replacement, the
part must be repaired or replaced by
the engine manufacturer according
to Subsection (4) below. Any such
part repaired or replaced under
warranty must be warranted for the
remainder of the period prior to the
first scheduled replacement point
for the part.
4. Repair or replacement of any
warranted part under the warranty
must be performed at a warranty
station at no charge to the owner.
5. Notwithstanding the provisions of
Subsection (4) above, warranty
services or repairs will be provided
at all manufacturer distribution
centers that are authorized to
service the subject engines.
6. The owner must not be charged for
diagnostic labor that leads to the
determination that a warranted part
is in fact defective, provided that
such diagnostic work is performed
at a warranty station.
Warranty Work
STIHL Incorporated shall remedy
warranty defects at any authorized
STIHL servicing dealer or warranty
station. Any such work shall be free of
charge to the owner if it is determined
that a warranted part is defective. Any
manufacturer approved or equivalent
replacement part may be used for any
warranty maintenance or repairs on
emission-related parts and must be
provided without charge to the owner.
STIHL Incorporated is liable for

FS 110, FS 110 R
English
52
damages to other engine components
caused by the failure of a warranted part
still under warranty.
Emission Warranty Parts List
Air Filter, Carburetor (if applicable), Fuel
Pump, Choke (Cold Start Enrichment
System) (if applicable), Control
Linkages, Intake Manifold, Magneto or
Electronic Ignition System (Ignition
Module or Electronic Control Unit), Fly
Wheel, Spark Plug, Injection Valve (if
applicable), Injection Pump (if
applicable), Throttle Housing (if
applicable), Cylinder, Muffler, Catalytic
Converter (if applicable), Fuel Tank,
Fuel Cap, Fuel Line, Fuel Line Fittings,
Clamps, Fasteners.
Where to make a Claim for Warranty
Service
Bring the STIHL product to any
authorized STIHL servicing dealer and
present the signed STIHL product
registration card, or the print-out of the
electronic product registration.
Limitations
The repair or replacement of any
warranted part otherwise eligible for
warranty coverage may be excluded
from such warranty coverage if STIHL
Incorporated demonstrates that the
STIHL product has been abused,
neglected, or improperly maintained,
and that such abuse, neglect, or
improper maintenance was the direct
cause of the need for repair or
replacement of the part. That
notwithstanding, any adjustment of a
component that has a factory installed,
and properly operating, adjustment
limiting device is still eligible for warranty
coverage.
STIHL Registered Trademarks
STIHL®
{
K
The color combination orange-grey
(U.S. Registrations #2,821,860;
#3,010,057, #3,010,058, #3,400,477;
and #3,400,476)
AutoCut®
EASYSTART®
FARM BOSS®
iCademy®
MAGNUM®
MasterWrench Service®
MotoMix®
Trademarks

FS 110, FS 110 R
English
53
OILOMATIC®
Rock Boss®
STIHL Cutquik®
STIHL DUROMATIC®
STIHL Quickstop®
STIHL ROLLOMATIC®
STIHL WOOD BOSS®
TIMBERSPORTS®
WOOD BOSS®
YARD BOSS®
Some of STIHL’s Common Law
Trademarks
4-MIX ™
BioPlus ™
Easy2Start ™
EasySpool ™
ElastoStart ™
Ematic ™
FixCut ™
HT Plus ™
IntelliCarb ™
Master Control Lever ™
Micro ™
Pro Mark ™
Quad Power ™
Quiet Line ™
STIHL Arctic ™
STIHL Compact ™
STIHL HomeScaper Series ™
STIHL Interchangeable Attachment
Series ™
STIHL M-Tronic ™
STIHL MiniBoss ™
STIHL MotoPlus 4 ™
STIHL Multi-Cut HomeScaper Series ™
STIHL OUTFITTERS ™
STIHL PICCO ™
STIHL PolyCut ™
STIHL PowerSweep ™
STIHL Precision Series ™
STIHL Protech ™
STIHL RAPID ™
STIHL SuperCut ™
STIHL Territory ™
TapAction ™
TrimCut ™
This listing of trademarks is subject to
change.
Any unauthorized use of these
trademarks without the express written
consent of
ANDREAS STIHL AG & Co. KG,
Waiblingen is strictly prohibited.
TM
STIHL
Injection

Manual de instrucciones original Impreso en papel libre de cloro.
Las tintas contienen aceites vegetales, el papel es reciclable.
© ANDREAS STIHL AG & Co. KG, 2014
0458-254-8621-D. VA6.M14.
0000000384_016_EA
FS 110, FS 110 R
español / EE.UU
54
{Este manual de instrucciones está protegido por derechos de propiedad intelectual. Todos los derechos reservados, especial-
mente los derechos de reproducción, traducción y procesamiento con sistemas electrónicos.
Contenido
Permita que solamente las personas
que comprenden la materia tratada en
este manual manejen su
orilladora/cortadora de matorrales.
Para obtener el rendimiento y
satisfacción máximos de la
orilladora/cortadora de matorrales
STIHL, es importante que lea, obedezca
y comprenda las precauciones de
seguridad y las instrucciones de uso y
mantenimiento dadas en el capítulo
"Precauciones de seguridad y técnicas
de uso", antes de usar la orilladora. Para
obtener información adicional, visite
www.stihlusa.com.
Comuníquese con su representante de
STIHL o el distribuidor de STIHL para su
zona si no se entiende alguna de las
instrucciones dadas en el presente
manual.
ADVERTENCIA
Dado que la orilladora/cortadora de
matorrales es una herramienta de corte
motorizada de gran velocidad, es
necesario tomar medidas especiales de
seguridad para reducir el riesgo de
lesiones. El uso descuidado o
inadecuado puede causar lesiones
graves e incluso mortales.
Asegúrese que su máquina esté
equipada con el deflector, mango y
arnés adecuados para el tipo de
accesorio de corte que se está
utilizando. Siempre protéjase
adecuadamente los ojos.
Acerca de este manual de
instrucciones 55
Medidas de seguridad y técnicas
de manejo 56
Combinaciones aprobadas de
accesorio de corte, deflector,
mango y arnés 72
Accesorios aprobados para
herramientas motorizadas 74
Montaje del manillar 74
Montaje del mango tórico 76
Ajuste del cable del acelerador 78
Montaje de la argolla de transporte 78
Montaje de la barra de defensa 78
Montaje del accesorio de corte 79
Motor 4-MIX 82
Combustible 83
Llenado de combustible 84
Uso de la correa para hombro 85
Equilibrio de la máquina 85
Arranque / parada del motor 87
Traslado de la unidad 89
Instrucciones para el uso 91
Limpieza del filtro de aire 92
Gestión del motor 92
Ajuste del carburador 92
Chispero en el silenciador 93
Bujía 94
Funcionamiento del motor 95
Lubricación de la caja de
engranajes 95
Dispositivo de arranque 95
Almacenamiento de la máquina 96
Afilado de los accesorios de corte 96
Mantenimiento de la cabeza
segadora 97
Inspección y mantenimiento por el
concesionario 98
Información para mantenimiento 99
Componentes importantes 101
Especificaciones 103
Información de reparación 104
Desecho 105
Declaración de garantía de STIHL
Incorporated sobre sistemas de
control de emisiones según normas
Federales 105
Declaración de garantía de STIHL
Incorporated sobre el control de
emisiones de gases de escape y
emisiones por evaporación para el
Estado de California 107
Marcas comerciales 110

FS 110, FS 110 R
español / EE.UU
55
Pictogramas
Todos los pictogramas que se
encuentran fijados o grabados en la
máquina se explican en este manual.
Según el modelo, los pictogramas
siguientes pueden aparecer en su
máquina.
Símbolos en el texto
Muchas de las instrucciones de uso y
seguridad vienen acompañadas de
ilustraciones.
Los pasos individuales o
procedimientos descritos en el manual
pueden estar señalados en diferentes
maneras:
NSe usa un punto para denotar un
paso o procedimiento.
Una descripción de un paso o
procedimiento que se refiere
directamente a una ilustración puede
contener números de referencia que
aparecen en la ilustración. Ejemplo:
NSuelte el tornillo (1).
NPalanca (2) ...
Además de las instrucciones de uso, en
este manual pueden encontrarse
párrafos a los que usted debe prestar
atención especial. Tales párrafos están
marcados con los símbolos y las
palabras identificadoras que se
describen a continuación.
PELIGRO
Indica un riesgo inminente de lesiones
graves o mortales.
ADVERTENCIA
Identifica una situación de peligro que,
al no evitarse, puede resultar en
lesiones graves o mortales.
INDICACIÓN
Indica el riesgo de daños a la propiedad,
incluyendo a la máquina o sus
componentes.
Mejoramientos técnicos
La filosofía de STIHL es mejorar
continuamente todos sus productos.
Como resultado de ello, periódicamente
se introducen cambios de diseño y
mejoras. Por lo tanto, es posible que
algunos cambios, modificaciones y
mejoras no se describen en este
manual. Si las características de
funcionamiento o la apariencia de su
máquina difieren de las descritas en
este manual, comuníquese con el
concesionario STIHL para obtener la
ayuda que requiera.
Acerca de este manual de
instrucciones
Tanque de combustible
que contiene la mezcla
de combustible y aceite
Presione para accionar la
válvula de
descompresión
Bomba de combustible
manual
Presione para accionar la
bomba manual de
combustible
Orificio de llenado para
lubricante de engranajes
Toma de aire para modo
de verano
Toma de aire para modo
de invierno
Calentador de manillar

FS 110, FS 110 R
español / EE.UU
56
Los términos empleados en este manual
para designar la herramienta
motorizada variarán de acuerdo con los
tipos de accesorios de corte instalados
en la misma. La palabra "orilladora" se
usa para identificar una unidad FS
equipada con un cabezal de hilo de nilón
o un cabezal con cuchillas de plástico
flexibles (tal como el cabezal PolyCut).
La designación "cortadora de
matorrales" identifica una unidad
equipada con una cuchilla de metal
rígida. Muchos de los modelos FS
pueden usarse como una orilladora o
una cortadora de matorrales – por lo
tanto, la herramienta motorizada se
designa aquí como una "orilladora /
cortadora de matorrales". Algunos de
los modelos FS pequeños y/o livianos
sólo pueden usarse como orilladoras, es
decir no pueden equiparse con cuchillas
metálicas.
El término "sierra despejadora"
identifica una orilladora / cortadora de
matorrales de alta potencia
particularmente útil para usar con una
sierra circular para cortar árboles
jóvenes o pequeños.
Los modelos FS con una "R" en la
chapa de identificación se configuraron
originalmente (en el momento de
distribución) como una orilladora con un
mango tórico.
ADVERTENCIA
Tal como se explicará a continuación en
estas Medidas de seguridad, para
reducir el riesgo de lesiones personales,
asegúrese que su máquina esté
equipada con el mango, arnés y
deflector adecuados para el tipo de
accesorio de corte que se está
utilizando. Utilice exclusivamente los
accesorios de corte autorizados
específicamente por STIHL para usar en
su modelo FS.
Pida a su concesionario STIHL que le
enseñe el manejo de la herramienta
motorizada. Respete todas las
disposiciones, reglamentos y normas de
seguridad locales del caso.
ADVERTENCIA
No preste ni alquile nunca su
herramienta motorizada sin entregar el
manual de instrucciones. Asegúrese de
que todas las personas que utilicen la
máquina hayan comprendido la
información que contiene este manual.
ADVERTENCIA
El uso de esta máquina puede ser
peligroso. Si el hilo o la cuchilla giratoria
llega a entrar en contacto con su cuerpo,
le ocasionará una cortadura. Cuando
choca con algún objeto extraño sólido
tal como rocas o pedazos de metal,
puede arrojarlo directamente o por
rebote en dirección de personas que se
encuentren en la cercanía o del
operador. El contacto con dichos
objetos puede dañar los accesorios de
corte y puede hacer que las cuchillas se
rompan, astillen o agrieten. Los objetos
lanzados, incluso las cabezas o las
cuchillas rotas, pueden provocar
lesiones graves o mortales al operador o
a personas que se encuentren en su
proximidad. STIHL no recomienda el
uso de cuchillas rígidas en zonas
pedregosas.
Use la orilladora / cortadora de
matorrales equipada con el accesorio de
corte apropiado únicamente para cortar
pasto, matorrales, madera y materiales
similares.
ADVERTENCIA
No debe usarse para ningún otro
propósito ya que el uso indebido puede
resultar en lesiones personales o daños
a la propiedad, incluso daños de la
máquina.
Medidas de seguridad y
técnicas de manejo
Dado que la orilladora /
cortadora de matorrales
es una herramienta de
corte motorizada, con
cuchillas afiladas, que
funciona a gran veloci-
dad, es necesario tomar
medidas especiales de
seguridad para reducir el
riesgo de lesiones.
Es importante que usted
lea, comprenda bien y
respete las siguientes
advertencias y medidas
de seguridad. Lea el
manual de instrucciones
y las precauciones de
seguridad
periódicamente. El uso
descuidado o inadecuado
puede causar lesiones
graves o incluso la
muerte.

FS 110, FS 110 R
español / EE.UU
57
ADVERTENCIA
Nunca se debe permitir a los niños que
usen esta herramienta motorizada. No
se debe permitir la proximidad de otras
personas, especialmente de niños, ni de
animales en los lugares donde se esté
utilizando la máquina.
ADVERTENCIA
Para reducir el riesgo de ocasionar
lesiones a las personas en la cercanía y
daños a la propiedad, nunca deje la
herramienta motorizada en marcha
desatendida. Cuando no está en uso
(por ejemplo durante el descanso),
apáguela y asegúrese que las personas
no autorizadas no puedan usarla.
Las medidas de seguridad y avisos
contenidos en este manual se refieren al
uso de todas las orilladoras / cortadoras
de matorrales de STIHL. Los distintos
modelos pueden contar con piezas y
controles diferentes. Vea la sección
correspondiente de su manual de
instrucciones para tener una
descripción de los controles y la función
de los componentes de su modelo.
El uso seguro de una orilladora /
cortadora de matorrales atañe a
1. el operador
2. la herramienta motorizada
3. el uso de la herramienta
motorizada.
EL OPERADOR
Condición física
Usted debe estar en buenas
condiciones físicas y psíquicas y no
encontrarse bajo la influencia de
ninguna sustancia (drogas, alcohol,
etc.) que le pueda restar visibilidad,
destreza o juicio. No maneje esta
máquina cuando está fatigado.
ADVERTENCIA
Esté alerta. Si se cansa, tómese un
descanso. El cansancio puede provocar
una pérdida del control. El uso de
cualquier herramienta motorizada es
fatigoso. Si usted padece de alguna
dolencia que pueda ser agravada por la
fatiga, consulte a su médico antes de
utilizar esta máquina.
ADVERTENCIA
El uso prolongado de una herramienta
motorizada (u otras máquinas) expone
al operador a vibraciones que pueden
provocar el fenómeno de Raynaud
(dedos blancos) o el síndrome del túnel
carpiano.
Estas condiciones reducen la capacidad
de las manos de sentir y regular la
temperatura, producen entumecimiento
y ardor y pueden provocar trastornos
nerviosos y circulatorios, así como
necrosis de los tejidos.
No se conocen todos los factores que
contribuyen a la enfermedad de
Raynaud, pero el clima frío, el fumar y
las enfermedades o condiciones físicas
que afectan los vasos sanguíneos y la
circulación de la sangre, como asimismo
los niveles altos de vibración y períodos
prolongados de exposición a la
vibración son mencionados como
factores en el desarrollo de la
enfermedad de Raynaud. Por lo tanto,
para reducir el riesgo de la enfermedad
de dedos blancos y del síndrome del
túnel carpiano, sírvase notar lo
siguiente:
–La mayor parte de las herramientas
motorizadas de STIHL se ofrecen
con un sistema antivibración ("AV")
cuyo propósito es reducir la
transmisión de las vibraciones
creadas por la máquina a las manos
del operador. Se recomienda el uso
del sistema AV a aquellas personas
que utilizan herramientas
motorizadas en forma constante y
regular.
–Use guantes y mantenga las manos
abrigadas.
–Mantenga el sistema AV en buen
estado. Una herramienta
motorizada con los componentes
flojos o con elementos AV dañados
o desgastados también tendrá
tendencia a tener niveles más altos
de vibración.
–Agarre firmemente los mangos en
todo momento, pero no los apriete
con fuerza constante y excesiva.
Tómese descansos frecuentes.
Todas las precauciones antes
mencionadas no le garantizan que va a
estar totalmente protegido contra la
enfermedad de Raynaud o el síndrome
del túnel carpiano. Por lo tanto, los
operadores constantes y regulares
deben revisar con frecuencia el estado
de sus manos y dedos. Si aparece

FS 110, FS 110 R
español / EE.UU
58
alguno de los síntomas arriba
mencionados, consulte inmediatamente
al médico.
ADVERTENCIA
El sistema de encendido de la máquina
STIHL produce un campo
electromagnético de intensidad muy
baja. El mismo puede interferir con
algunos tipos de marcapasos. Para
reducir el riesgo de lesiones graves o
mortales, las personas portadoras de
marcapasos deben consultar a sus
médicos y al fabricante del marcapasos
antes de usar esta máquina.
Vestimenta adecuada
Para reducir el riesgo de lesiones el
operador debe usar el equipo protector
adecuado.
ADVERTENCIA
El deflector provisto con su herramienta
motorizada no siempre protege al
operador contra todos los objetos
extraños (gravilla, vidrio, alambre, etc.)
arrojados por el accesorio de corte
giratorio. Los objetos arrojados o
lanzados por el accesorio también
pueden rebotar y golpear al operador.
ADVERTENCIA Esté especialmente alerta y tenga
cuidado cuando se usa protectores de
oídos, ya que los mismos reducen la
posibilidad de oír señales de
advertencia (gritos, alarmas, etc.).
Evite el uso de chaquetas sueltas,
bufandas, corbatas, joyas, pantalones
acampanados o con vueltas, pelo largo
suelto o cualquier cosa que pueda
engancharse en las ramas, matorrales o
piezas en movimiento de la máquina.
Sujétese el pelo de modo que quede
sobre los hombros.
Para reducir el riesgo de
lesionarse los ojos,
nunca maneje la herra-
mienta motorizada si no
tiene puestas gafas o
anteojos de seguridad
bien ajustados con una
protección adecuada en
las partes superior y late-
ral que satisfagan la
norma ANSI Z87 "+" (o la
norma nacional corres-
pondiente). Para reducir
el riesgo de lesionarse la
cara, STIHL recomienda
usar también una careta
o protector facial ade-
cuado sobre las gafas o
anteojos de seguridad.
Utilice un casco de segu-
ridad aprobado para
reducir el riesgo de lesio-
narse la cabeza en caso
de existir tal tipo de
peligro.
El ruido de la herramienta
motorizada puede dañar
los oídos. Siempre use
amortiguadores del ruido
(tapones u orejeras) para
protegerse los oídos. Los
usuarios constantes y
regulares deben some-
terse con frecuencia a un
examen o control
auditivo.
Siempre use guantes
gruesos (por ejemplo,
fabricados de cuero u
otro material resistente al
desgaste) cuando mani-
pule la máquina y las
cuchillas metálicas. Los
guantes gruesos y anti-
deslizantes mejoran el
manejo y ayudan a prote-
ger las manos.
La ropa debe ser de
confección fuerte y ajus-
tada, pero no tanto que
impida la completa liber-
tad de movimiento. Use
pantalones largos hechos
de un material grueso
para protegerse las pier-
nas. No use pantalones
cortos, sandalias o pies
descalzos.

FS 110, FS 110 R
español / EE.UU
59
LA HERRAMIENTA MOTORIZADA
Para las ilustraciones y definiciones de
los componentes de la herramienta
motorizada, vea el capítulo sobre
"Piezas principales".
ADVERTENCIA
Nunca modifique, de ninguna manera,
esta herramienta motorizada. Utilice
únicamente los accesorios y repuestos
suministrados por STIHL y
expresamente autorizados por STIHL
para usarse con el modelo específico de
STIHL. Si bien es posible conectar a la
herramienta motorizada de STIHL
ciertos accesorios no autorizados, su
uso puede ser, en la práctica,
extremadamente peligroso. Para los
accesorios de corte autorizados por
STIHL para su unidad, consulte el
capítulo "Combinaciones aprobadas de
accesorio de corte, deflector, mango y
arnés", en el manual de instrucciones o
en el catálogo STIHL "Accesorios de
corte, piezas y accesorios".
Si la máquina experimenta cargas
excesivas para las cuales no fue
diseñada (por ejemplo, impactos
severos o una caída), siempre
asegúrese que esté en buenas
condiciones antes de seguir con el
trabajo. Inspeccione específicamente la
integridad del sistema de combustible
(ausencia de fugas), y asegúrese de
que los controles y dispositivos de
seguridad funcionen como corresponde.
No siga manejando esta máquina si está
dañada. En caso de dudas, pida que el
concesionario de servicio de STIHL la
revise.
USO DE LA HERRAMIENTA
MOTORIZADA
Transporte de la herramienta
motorizada
ADVERTENCIA
Para reducir el riesgo de sufrir lesiones
debido a la pérdida de control y al
contacto con las cuchillas o el hilo,
nunca lleve ni transporte la herramienta
motorizada con el accesorio de corte en
marcha.
Puede acarrearse solamente en
posición horizontal. Agarre el eje de una
manera que mantenga la máquina
equilibrada horizontalmente. Mantenga
el silenciador caliente lejos de su cuerpo
y el accesorio de corte detrás de usted.
ADVERTENCIA
Antes de apoyar la orilladora / cortadora
de matorrales en el suelo, apague el
motor y asegúrese de que el accesorio
de corte ha dejado de girar. Cuando
transporte la máquina en un vehículo,
sujétela firmemente para impedir su
vuelco, el derrame de combustible y el
daño a la máquina. STIHL recomienda
mantener las cuchillas metálicas
cubiertas con el protector para el
transporte (accesorio opcional).
Es muy importante tener
una buena superficie de
apoyo para los pies.
Póngase botas gruesas
con suela antideslizante.
Recomendamos las
botas de seguridad con
puntera de acero.
389BA019 KN

FS 110, FS 110 R
español / EE.UU
60
Combustible
La herramienta motorizada STIHL utiliza
una mezcla de aceite-gasolina como
combustible (vea el capítulo
"Combustible" en el manual del
propietario).
ADVERTENCIA
Instrucciones para el llenado de
combustible
ADVERTENCIA
Para reducir el riesgo de lesiones
graves causadas por quemaduras,
nunca intente abastecer la máquina con
combustible sin que el operador se haya
despojado de la misma.
ADVERTENCIA
Cargue de combustible su herramienta
motorizada en lugares al aire libre bien
ventilados. Siempre apague el motor y
deje que se enfríe antes de llenar de
combustible. Dependiendo del
combustible utilizado, de las
condiciones climáticas y del sistema de
ventilación del depósito, es posible que
se forme vapor de gasolina a presión
dentro del depósito de combustible.
Para reducir el riesgo de quemaduras,
así como otras lesiones corporales
ocasionadas por los escapes de vapor
de gasolina y otras emanaciones, quite
la tapa de llenado de combustible de la
herramienta motorizada
cuidadosamente de modo que la
presión que se pueda haber acumulado
en el depósito se disipe lentamente.
Nunca quite la tapa de llenado de
combustible mientras el motor esté
funcionando.
Elija una superficie despejada para
llenar el depósito y aléjese 3 m (10 pies)
por lo menos del lugar en que lo haya
llenado antes de arrancar el motor.
Limpie todo el combustible derramado
antes de arrancar la máquina.
ADVERTENCIA
ADVERTENCIA
Para reducir el riesgo de derramar
combustible y provocar un incendio
debido a una tapa de combustible mal
apretada, coloque la tapa en la posición
correcta y apriétela en la boca de
llenado del tanque.
ADVERTENCIA
La gasolina es un com-
bustible muy inflamable.
Si se derrama y arde a
causa de una chispa u
otra fuente de ignición,
puede provocar un incen-
dio y quemaduras graves
o daños a la propiedad.
Tenga sumo cuidado
cuando manipule gaso-
lina o la mezcla de
combustible. No fume
cerca del combustible o
la herramienta motori-
zada, ni acerque ningún
fuego o llama a ellos.
Puede escapar vapor
inflamable del sistema de
combustible.
Compruebe que no exis-
ten fugas de combustible
mientras llena el depósito
y durante el funciona-
miento de la máquina. Si
detecta alguna fuga de
combustible, no arran-
que el motor ni lo haga
funcionar sin antes repa-
rar la fuga y limpiar el
combustible derramado.
Tenga cuidado de no
mancharse la ropa con
combustible. Si la man-
cha, cámbiesela
inmediatamente.
Las vibraciones de la
máquina pueden aflojar
una tapa de combustible
que ha quedado mal
apretada, o simplemente
soltarla y derramar com-
bustible. Para reducir el
riesgo de derrames e
incendio, apriete la tapa
de llenado de combusti-
ble a mano tan
firmemente como sea
posible.

FS 110, FS 110 R
español / EE.UU
61
Consulte también el capítulo
"Combustible" del Manual de
instrucciones para obtener información
adicional.
Antes de arrancar
ADVERTENCIA
Siempre revise la herramienta
motorizada para comprobar que está en
buenas condiciones y que funciona
correctamente antes de arrancarla, en
particular el gatillo de aceleración y su
bloqueo, el control deslizante /
interruptor de parada, el accesorio de
corte, el deflector y el arnés. El gatillo de
aceleración debe moverse libremente y
siempre debe regresar a la posición de
marcha en vacío por la acción de
resorte. Nunca intente modificar los
controles o los dispositivos de
seguridad.
ADVERTENCIA
Revise el sistema de combustible en
busca de fugas, especialmente las
partes visibles, por ejemplo, la tapa de
llenado, conexiones de mangueras y la
bomba de combustible manual
(únicamente para herramientas
motorizadas equipadas con una bomba
de combustible de mano). No arranque
el motor si se observan fugas o daños –
¡Riesgo de incendios! Solicite al
concesionario que repare la máquina
antes de usarla.
ADVERTENCIA
No maneje nunca una herramienta
motorizada que esté dañada, mal
ajustada o mantenida o que no fue
armada completa y debidamente.
ADVERTENCIA
No instale ningún accesorio de corte en
una máquina sin que todas las piezas
requeridas estén correctamente
instaladas. Si no se utilizan las piezas
debidas se puede causar el
desprendimiento de la cuchilla o la
cabeza y lesionar gravemente al
operador o a las personas que
encuentren en su proximidad.
ADVERTENCIA
El accesorio de corte debe estar
correctamente apretado y en buenas
condiciones de trabajo. Busque piezas
sueltas (tuercas, tornillos, etc.) y
cabezales agrietados o dañados, o
cuchillas agrietadas, combadas,
deformadas o dañadas. Sustituya las
cabezas o las cuchillas dañadas antes
de usar la herramienta motorizada.
Mantenga las cuchillas siempre
afiladas.
Mantenga los mangos limpios y secos
en todo momento; es particularmente
importante mantenerlos libres de
humedad, aceite, combustible, grasa o
resinas para garantizar que la máquina
pueda empuñarse firmemente para
mantenerla bajo control seguro.
ADVERTENCIA
Asegúrese de que el casquillo de la
bujía esté firmemente colocado – un
casquillo suelto puede crear un arco
voltaico y encender los vapores del
combustible, provocando un incendio.
ADVERTENCIA
Tal como se puede ver en la tabla, para
usar algunos de los accesorios de corte
puede ser necesario cambiar el
deflector, el mango y/o el arnés.
Mantenga siempre el deflector (y la
faldilla en su caso) bien ajustado (vea en
su manual de instrucciones los capítulos
de "Montaje del deflector" y "Montaje del
accesorio de corte").
Para reducir el
riesgo de sufrir
lesiones corpora-
les debido a la
pérdida de control
y/o al contacto con
la cuchilla o el hilo
y los objetos arro-
jados, asegúrese
que su máquina
está equipada con
el deflector,
mango y arnés
correctos para el
tipo de accesorio
de corte que está
usando (vea la
tabla en el capítulo
"Combinaciones
aprobadas de
accesorio de
corte, deflector,
mango y arnés").

FS 110, FS 110 R
español / EE.UU
62
Las flechas (A) en el deflector y el
tope (B) (visto del fondo) muestran el
sentido correcto de rotación del
accesorio de corte. Sin embargo, al
verlo de arriba, el accesorio de corte gira
en sentido contrahorario.
Ajuste el arnés y la empuñadura de
modo correspondiente a su estatura
antes de empezar a trabajar. La
máquina debe estar correctamente
equilibrada de la forma especificada en
el manual de instrucciones para un
control correcto y menos fatiga de
trabajo. Para prepararse para
emergencias, practique la liberación
rápida de la unidad del arnés.
Arranque
Arranque el motor solamente al aire
libre, por lo menos 3 m (10 pies) del
lugar en que lo haya llenado.
Para las instrucciones específicas de
arranque, vea la sección
correspondiente en el manual del
usuario. Coloque la herramienta
motorizada sobre suelo firme u otra
superficie sólida en un lugar abierto.
Mantenga el equilibrio y elija un buen
punto de apoyo para los pies.
ADVERTENCIA
Para reducir el riesgo de lesiones
debido al contacto con las cuchillas o el
hilo, esté absolutamente seguro que el
accesorio de corte se encuentra lejos de
su cuerpo y de todas las obstrucciones
y objetos, incluido el suelo, porque al
arrancar el motor, su velocidad será lo
suficientemente rápida para que el
embrague se engrane y haga girar el
accesorio de corte.
Tan pronto arranque, accione
inmediatamente por un breve momento
el gatillo de aceleración para
desconectarlo de la posición de
arranque y permitir que el motor se
desacelere a la marcha en vacío.
Con el motor funcionando a marcha en
vacío solamente, enganche la
herramienta motorizada al gancho de
resorte de su arnés (vea el capítulo
correspondiente en este manual).
ADVERTENCIA
Su herramienta motorizada es una
máquina que debe ser manejada por
solamente una persona. No deje que
otras personas estén en el lugar de
trabajo, aun durante el arranque.
ADVERTENCIA
Para reducir el riesgo de sufrir lesiones
causadas por la pérdida de control, no
intente arrancar el motor de la
herramienta "por lanzamiento".
ADVERTENCIA
Cuando tire del mango de arranque, no
enrolle la cuerda de arranque alrededor
de la mano. No deje que el mango
retroceda bruscamente, sino guíe la
cuerda de arranque para que se enrolle
debidamente. Si no ejecuta este
procedimiento puede lastimarse la
mano o los dedos y también dañar el
mecanismo de arranque.
Ajustes importantes
ADVERTENCIA
Para reducir el riesgo de lesiones
personales debido a la pérdida de
control o al contacto con el accesorio de
corte en movimiento, no use una
máquina cuyo régimen de marcha en
vacío está mal regulado. Cuando el
régimen de marcha en vacío está
correctamente regulado, el accesorio de
corte no debe moverse. Para
instrucciones acerca de cómo ajustar el
régimen de marcha en vacío, vea la
sección correspondiente del manual de
instrucciones.
Si no puede regular correctamente la
marcha en vacío, pida a su
concesionario STIHL que revise la
herramienta motorizada y haga los
ajustes o reparaciones
correspondientes.
A
000BA006 KN
B
000BA007 KN

FS 110, FS 110 R
español / EE.UU
63
Durante el funcionamiento
Sujeción y control de la herramienta
motorizada
Al trabajar, siempre sujete la máquina
firmemente con ambas manos en los
mangos. Envuelva los dedos
firmemente en los mangos, ,
manteniéndolos sujetos entre los dedos
índice y pulgar. Mantenga las manos en
esta posición, para que siempre tenga la
herramienta motorizada bien
controlada. Asegúrese que los mangos
y las empuñaduras de la motoguadaña
están en buenas condiciones y sin
humedad, resina, aceite o grasa.
ADVERTENCIA
ADVERTENCIA
No trate de alcanzar más lejos de lo
debido. Mantenga los pies bien
apoyados y equilibrados en todo
momento. Se debe tener cuidado
especial cuando las condiciones del
suelo son resbaladizas (suelo húmedo,
nieve) y en terreno difícil y con mucha
vegetación. Para evitar tropezarse, esté
atento a los obstáculos ocultos tales
como tocones, raíces y zanjas. Para
obtener un punto de apoyo seguro, quite
los matorrales y el material cortado. Sea
sumamente precavido cuando trabaje
en declives o terreno irregular.
ADVERTENCIA
Para reducir el riesgo de lesiones
causadas por la pérdida del control,
nunca trabaje sobre una escalera o
cualquier otra superficie de soporte
poco seguro. Nunca mantenga el
accesorio de corte a una altura más
arriba de la cintura.
Condiciones de trabajo
Maneje y arranque su herramienta
motorizada solamente al aire libre en un
lugar bien ventilado. Manéjela
solamente en condiciones de buena
visibilidad y a la luz del día. Trabaje con
mucho cuidado.
ADVERTENCIA
002BA055 KN
002BA054 KN
Nunca intente manejar la
herramienta motorizada
con una sola mano. La
pérdida de control de la
herramienta motorizada
puede ocasionar lesiones
graves o mortales. Para
reducir el riesgo de lesio-
narse, mantenga las
manos y los pies alejados
del accesorio de corte.
No toque nunca con las
manos ni con cualquier
parte del cuerpo un acce-
sorio de corte en
movimiento.
Tan pronto arranca, este
producto genera vapores
de escape tóxicos que
contienen productos
químicos (tales como
hidrocarburos sin quemar
y monóxido del carbono,
incluyendo el benceno)
considerados como cau-
santes de enfermedades
respiratorias, cáncer,
defectos de nacimiento u
otra toxicidad reproduc-
tora. Algunos de estos
gases (por ej., monóxido
de carbono) pueden ser
incoloros e inodoros.
Para reducir el riesgo de
sufrir lesiones graves o
mortales por respirar
gases tóxicos, nunca
haga funcionar la
máquina puertas adentro
o en lugares mal
ventilados.

FS 110, FS 110 R
español / EE.UU
64
ADVERTENCIA
Si la vegetación que se está cortando o
la tierra en el lugar está recubierta de
una sustancia química (tal como un
pesticida o herbicida activo), lea y siga
las instrucciones suministradas con la
sustancia en cuestión.
ADVERTENCIA
La inhalación de ciertos polvos,
especialmente los polvos orgánicos,
tales como el moho o polen, puede
provocar reacciones alérgicas o
asmáticas en las personas sensibles. La
inhalación repetida o de grandes
cantidades de polvo u otros
contaminantes del aire, especialmente
los de partículas pequeñas puede
causar enfermedades respiratorias o de
otro tipo. Controle el polvo en su fuente,
siempre que sea posible. Utilice buenas
prácticas de trabajo, tal como trabajar
de manera que el viento o el proceso de
corte dirija el polvo producido por la
herramienta motorizada en sentido
opuesto del operador. Observe las
recomendaciones emitidas por
EPA/OSHA/NIOSH y las asociaciones
de trabajo y los sindicatos con respecto
al polvo ("materia particulada"). Cuando
sea imposible eliminar
significativamente la inhalación del
polvo, es decir mantener el nivel cerca
del valor ambiente, el operador y las
personas que se encuentren en la
cercanía siempre deberán usar un
respirador aprobado por NIOSH/MSHA
para el tipo de polvo presente en el
lugar.
Instrucciones de manejo
ADVERTENCIA
No maneje la herramienta motorizada
usando el bloqueo de acelerador para
arranque, pues no tendrá control de la
velocidad del motor.
En caso de emergencia, apague el
motor inmediatamente – mueva el
control deslizante / interruptor de parada
a 0 o STOP
ADVERTENCIA
ADVERTENCIA
El accesorio de corte giratorio puede
arrojar objetos extraños a gran distancia
directa o indirectamente.
Para reducir el riesgo de ocasionar
lesiones a los ojos u otras partes del
cuerpo (vea el capítulo "Vestimenta
adecuada"), asegúrese que las
personas estén a por lo menos 15 m
(50 pies) de distancia de la máquina.
Para reducir el riesgo de ocasionar
daños a la propiedad, mantenga esta
distancia con respecto a los vehículos y
las ventanas. Aun si se mantiene una
distancia mínima de 15 metros, esto no
elimina el peligro potencial. Los
trabajadores que deben quedar en la
zona prohibida también deben usar
gafas o protección ocular. Apague el
motor inmediatamente si se le aproxima
alguna persona.
ADVERTENCIA
ADVERTENCIA
La orilladora / cortadora de matorrales
normalmente se usa a nivel del suelo
con el accesorio de corte paralelo al
suelo. El uso de la orilladora / cortadora
de matorrales sobre el nivel del suelo o
con el accesorio de corte perpendicular
al suelo puede incrementar el riesgo de
lesiones, dado que el accesorio de corte
queda casi totalmente expuesto y la
herramienta motorizada es más difícil de
controlar. No use nunca la orilladora /
cortadora de matorrales para recortar
setos.
El accesorio de corte
sigue girando por un rato
después que se suelta el
gatillo de aceleración
(efecto de volante).
15m (50ft)
Revise la zona de tra-
bajo: Para reducir el
riesgo de lesionarse,
retire las piedras, piezas
metálicas y otros objetos
sólidos que pudieran ser
lanzados a una distancia
de 15 metros o más por
el accesorio de corte, o
que pudieran dañar el
accesorio de corte y la
propiedad (por ejemplo:
vehículos estacionados,
ventanas)

FS 110, FS 110 R
español / EE.UU
65
ADVERTENCIA
Durante el corte, revise frecuentemente
el apriete y la condición del accesorio de
corte en intervalos regulares con el
motor y el accesorio parados. Si nota un
cambio en el comportamiento del
accesorio durante el trabajo, apague el
motor inmediatamente, espere hasta
que se pare el accesorio de corte y
revise el apriete de la tuerca que sujeta
el accesorio y revise la cuchilla o el
cabezal en busca de grietas, desgaste y
daños.
ADVERTENCIA
Una cuchilla o una cabeza suelta puede
vibrar, agrietarse, romperse o salirse de
la orilladora / cortadora de matorrales, lo
que puede provocar lesiones graves o
mortales. Asegúrese que el accesorio
de corte esté correctamente apretado.
Utilice la llave suministrada o cualquier
otra que tenga el largo adecuado para
obtener el par de apriete adecuado. Si la
cuchilla o la cabeza se suelta después
de haberla apretado correctamente,
deje de usar la máquina
inmediatamente. La tuerca de retención
puede estar desgastada o dañada y
debe ser sustituida. Si la cuchilla o la
cabeza continúa aflojándose, consulte
al concesionario STIHL. No use nunca
una orilladora / cortadora de matorrales
con un accesorio de corte suelto.
ADVERTENCIA
Sustituya inmediatamente una cabeza
trizada, dañada o desgastada o una
cuchilla trizada, combada, deformada,
dañada, desafilada o desgastada,
incluso si solamente hay rayas
superficiales. Los accesorios en esa
condición pueden romperse a velocidad
alta y causar lesiones graves o
mortales.
ADVERTENCIA
Cuando utilice cuchillas rígidas, evite
cortar cerca de vallas, edificios, tocones,
piedras u otros objetos de ese tipo que
puedan causar contragolpe de la
herramienta motorizada o daños a la
cuchilla. Para ese tipo de trabajo, STIHL
recomienda el uso de cabezas con hilo
de nilón. Además, tenga en cuenta que
en estos casos aumenta la posibilidad
de que ocurran rebotes.
ADVERTENCIA
Si la cuchilla metálica en movimiento
choca contra una roca u otro objeto
macizo, se podrían despedir chispas
capaces de encender materiales
inflamables en determinadas
circunstancias. Entre los materiales
inflamables se incluyen la vegetación y
arbustos secos, en particular cuando el
estado del tiempo es caliente y seco. Si
existe un riesgo de incendio leve o
grave, no use cuchillas metálicas
alrededor de materiales inflamables, ni
para cortar vegetación o arbustos
secos. Comuníquese con las
autoridades locales de control de
incendios o con el servicio forestal de
los EE.UU. si tiene alguna duda en
cuanto a las condiciones de la
vegetación y el estado del tiempo para
el uso de una cuchilla metálica.
ADVERTENCIA
Si la cabeza, la cuchilla o el deflector se
atasca o queda pegado, siempre
apague el motor y asegúrese que el
accesorio de corte está detenido antes
de limpiarlo. Quite el pasto, las malezas,
etc. de la cuchilla o de alrededor de la
cabeza en intervalos regulares.
ADVERTENCIA
Para reducir el riesgo de la rotación
inesperada del accesorio de corte y la
posibilidad de sufrir lesiones, siempre
apague el motor y quite el casquillo de la
bujía antes de sustituir el accesorio de
corte. Para reducir el riesgo de sufrir
lesiones, siempre apague el motor antes
de ajustar el largo del hilo de nilón en las
cabezas segadoras de ajuste manual.
ADVERTENCIA
La caja de engranajes está caliente
durante el funcionamiento de la
máquina. Para reducir el riesgo de
lesiones por quemaduras, no toque la
caja de engranajes cuando está
caliente.
ADVERTENCIA
Nunca modifique el silenciador. La
modificación del silenciador podría
causar el aumento del calor irradiado,
de las chispas y del nivel de ruido, lo que
aumentará el riesgo de incendios,
lesiones por quemadura o la pérdida
auditiva. Además, se podría dañar
permanentemente el motor. Haga
reparar el silenciador únicamente por el
concesionario de servicio STIHL.

FS 110, FS 110 R
español / EE.UU
66
ADVERTENCIA
El silenciador y otros componentes del
motor (por ej., aletas del cilindro, bujía)
se calientan durante el funcionamiento y
permanecen calientes por un buen rato
después de apagar el motor. Para
reducir el riesgo de quemaduras, no
toque el silenciador ni los otros
componentes mientras están calientes.
Mantenga limpia la zona alrededor del
silenciador. Quite el lubricante excesivo
y toda la basura tal como las agujas de
pinos, ramas u hojas. Deje que el motor
se enfríe apoyado sobre una superficie
de hormigón, metal, suelo raso o
madera maciza, lejos de toda sustancia
combustible.
ADVERTENCIA
Una caja de cilindro dañada o mal
instalada, o una envuelta del silenciador
dañada o deformada, puede perjudicar
el proceso de enfriamiento del
silenciador. Para reducir el riesgo de
incendio o lesiones por quemadura, no
continúe trabajando con una caja de
cilindro dañada o mal instalada, o una
envuelta del silenciador dañada o
deformada.
El silenciador tiene un chispero
diseñado para reducir el riesgo de
incendio debido a la emisión de
partículas calientes. Nunca haga
funcionar la unidad sin tener instalado el
chispero. Si la mezcla de gasolina y
aceite está correcta (no es demasiado
rica), en condiciones normales el
chispero quedará limpio como resultado
del calor del silenciador y no necesitará
servicio ni mantenimiento. Si el
rendimiento de su máquina comienza a
disminuir y sospecha que las rejillas
están obstruidas, haga reparar el
silenciador por un concesionario de
servicio STIHL. Para ciertas
aplicaciones, las leyes o los
reglamentos estatales o federales
pueden requerir el uso de un chispero
en buenas condiciones. Consulte la
sección "Mantenimiento, Reparación y
Almacenamiento" de estas Medidas de
seguridad. Recuerde que el riesgo de
incendios de matorrales o forestales es
mayor durante las estaciones calurosas
y secas.
ADVERTENCIA
USO DEL ACCESORIO DE CORTE
Para una ilustración de los diversos
accesorios de corte y las instrucciones
sobre el montaje correcto, vea el
capítulo sobre "Montaje del accesorio
de corte" en su manual de instrucciones.
Algunas herramientas
motorizadas STIHL están
equipadas con un con-
vertidor catalítico, el que
está diseñado para redu-
cir las emisiones de
escape del motor
mediante un proceso
químico en el silenciador.
Debido a este proceso, el
silenciador no se enfría
tan rápidamente como
los del tipo convencional
cuando el motor vuelve a
marchar en vacío o se
apaga. Para reducir el
riesgo de incendios y
lesiones por quemadura
al usar un convertidor
catalítico, apoye siempre
su herramienta motori-
zada en posición vertical
y no la coloque nunca
donde el silenciador
quede cerca de material
seco como por ejemplo
matorrales, pasto, viru-
tas de madera u otros
materiales combustibles
mientras todavía está
caliente.

FS 110, FS 110 R
español / EE.UU
67
ADVERTENCIA
Para reducir el riesgo de lesiones
personales o la muerte debido al
contacto con las cuchillas y/o a la
pérdida de control, nunca intente usar
una cuchilla metálica en una máquina
modelo FS no aprobada para esta
aplicación.
Uso de las cabezas segadoras
No use con un hilo de segado más largo
que el deseado. Con un deflector
debidamente instalado, la cuchilla
limitadora integral automáticamente
ajusta el hilo al largo adecuado.
Al usar la máquina con un hilo de nilón
de largo excesivo se aumenta la carga
del motor y se reduce la velocidad de
funcionamiento. Esto hace que el
embrague patine continuamente y
resulta en sobrecalentamiento y daño
de los componentes importantes (por
ejemplo, el embrague y las piezas de
polímero de la caja). Un efecto de este
tipo de daño puede ser la rotación del
accesorio de corte cuando el motor está
a la velocidad de marcha en vacío.
Las cabezas segadoras deben usarse
solamente en las motoguadañas /
cortadoras de matorrales con una
cuchilla limitadora del hilo en el deflector
para mantener el hilo al largo correcto
(vea el capítulo "Piezas principales" en
el manual de instrucciones).
Si las orillas del césped tienen árboles o
están bordeadas por un cerco, etc., es
mejor usar la cabeza de hilo de nilón.
Deja un corte más "suave" con menos
riesgo de dañar la corteza de los
árboles, etc., que si se usan cuchillas de
polímero.
Sin embargo, la cabeza PolyCut de
STIHL con cuchilla de polímero produce
un mejor corte si no hay plantas a lo
largo de la orilla del césped. No es
necesario afilar y las cuchillas de
polímero desgastadas se pueden
cambiar fácilmente.
ADVERTENCIA
Para reducir el riesgo de lesiones
graves, nunca use un hilo de alambre o
reforzado con metal ni ningún otro
material en lugar de los hilos de corte de
nilón. Es posible que unos pedazos de
alambre sean desprendidos y arrojados
a gran velocidad contra el operador o
terceros.
Cabeza segadora SuperCut de STIHL
El hilo se avanza automáticamente. Los
hilos deshilachados se reemplazan con
un ajuste sencillo (consulte la hoja de
instrucciones provista con la cabeza
segadora).
Cabeza segadora AutoCut de STIHL
El hilo de corte de nilón avanza
automáticamente cuando se le golpea
contra el suelo (característica
TapAction).
Cabeza segadora TrimCut de STIHL
Los hilos deshilachados se reemplazan
con un ajuste sencillo (consulte la hoja
de instrucciones provista con la cabeza
segadora).
Cabeza segadora PolyCut de STIHL
Utiliza ya sea hilos de nilón o cuchillas
de polímero pivotantes no rígidas.
Observe los indicadores de desgaste.
ADVERTENCIA
En la base (periferia) de la PolyCut hay
tres marcas rectangulares de límite de
desgaste. Para reducir el riesgo de
lesiones graves causadas por la rotura
de la cabeza o de las cuchillas, la
PolyCut no debe ser utilizada cuando se
ha desgastado hasta una de estas
marcas. Es importante seguir las
instrucciones para el mantenimiento
suministradas con la cabeza segadora.
Cabeza segadora FixCut de STIHL
Utiliza tramos de largo fijo del hilo de
nilón.
Observe los indicadores de desgaste.
002BA354 KN
002BA177 KN

FS 110, FS 110 R
español / EE.UU
68
No siga trabajando con la cabeza
segadora si le faltan las piezas
moldeadas (1) elevadas en la base o si
las mismas están desgastadas - vea la
ilustración arriba a la derecha. En este
caso, la cabeza segadora puede
astillarse y los objetos lanzados pueden
ocasionar lesiones al operador o a las
personas que se encuentren en la
cercanía. Instale una cabeza segadora
nueva.
El riesgo de expulsión (disparo de la
cuchilla) existe con todas las cuchillas
rígidas
ADVERTENCIA
Esta expulsión (disparo de la cuchilla)
puede ocasionar la pérdida de control
de la herramienta motorizada y provocar
lesiones graves o mortales al usuario o
a personas en su proximidad. Para
reducir el riesgo, es necesario extremar
las precauciones a la hora de cortar con
la zona sombreada de cualquier cuchilla
rígida.
Uso de la cuchilla de cortar pasto
Todos los tipos de pasto y malezas se
pueden cortar fácilmente con la cuchilla
de cortar pasto. Para ello, la
herramienta motorizada se mueve en
forma de arco, como si fuera una
guadaña.
ADVERTENCIA
Para reducir el riesgo de lesiones
graves o mortales debido a la rotura de
la cuchilla, no intente nunca cortar
madera con esta cuchilla.
La función de la cuchilla de 4 dientes
para pasto es la de cortar pasto y
malezas. Tiene 4 cuchillos con filo en los
dos lados, esto es, en las partes
delantera y trasera. Cuando los bordes
cortantes en un lado se desafilan, es
posible invertir la cuchilla para usar los
bordes cortantes en el otro lado.
Recomendamos la cuchilla de 8 dientes
para pasto para los casos en que haya
que cortar helechos o cañas.
Los dos tipos de cuchillas para cortar
pasto deben ser afiladas al desgastarse
sus filos o bordes cortantes.
La expulsión (disparo de
la cuchilla) es el movi-
miento repentino y no
controlado hacia el lado
derecho o posterior del
operador que puede
suceder cuando la zona
sombreada (especial-
mente la zona muy
oscura) de la cuchilla
giratoria entra en con-
tacto con un objeto
macizo tal como un árbol,
roca, arbusto o pared. La
rápida rotación en sen-
tido contrahorario puede
ser detenida o aminorada
y el accesorio de corte
puede salir despedido
hacia la derecha o
detrás.
002BA135 KN
002BA355 KN

FS 110, FS 110 R
español / EE.UU
69
Uso de la cuchilla para matorrales
Cuando se instala la cuchilla para
matorrales en la herramienta
motorizada, es adecuada para cortar
desde pasto hasta malezas, plantas
silvestres y arbustos.
Para cortar plantas y arbustos
silvestres, baje la cuchilla giratoria para
matorrales hasta la planta para crear un
efecto de picado, pero mantener la
herramienta por debajo del nivel de la
cintura en todo momento.
ADVERTENCIA
Tenga sumo cuidado al emplear este
método de corte. Cuanto mayor sea la
distancia entre el accesorio de corte y el
suelo, mayor es el riesgo de perder el
control o lanzar objetos por los lados.
Utilice la herramienta motorizada como
una guadaña para cortar pasto, es decir,
haga pasadas en uno y otro sentido,
describiendo un arco.
ADVERTENCIA
Al cortar materiales parecidos a madera,
utilice el lado izquierdo de la cuchilla
para evitar la "expulsión" (disparo de la
cuchilla).
ADVERTENCIA
El uso incorrecto de una cuchilla para
matorrales puede causar agrietaciones,
picaduras o roturas. Las piezas de
cuchilla lanzadas pueden causar
lesiones graves o mortales al operador o
a terceros. Para reducir el riesgo de
lesiones, evite el contacto con objetos
duros o macizos tales como piedras,
rocas u objetos metálicos.
ADVERTENCIA
Al cortar árboles jóvenes y otros
materiales de hasta 2 cm (3/4 pulg) de
diámetro, utilice el lado izquierdo de la
cuchilla para evitar la "expulsión" de la
misma (consulte la sección "El riesgo de
expulsión (disparo de la cuchilla) existe
con todas las cuchillas rígidas"). No
intente cortar materiales parecidos a la
madera cuyo diámetro sea mayor,
puesto que la cuchilla puede atorarse o
tirar de la herramienta motorizada
repentinamente hacia adelante. Esto
puede dañar la cuchilla o la herramienta
motorizada, o causar la pérdida de
control de la misma, lo cual puede
resultar en lesiones personales. Utilice
una sierra circular para estos tipos de
trabajos.
ADVERTENCIA
Inspeccione la cuchilla para matorrales
a intervalos periódicos y cortos en busca
de daños. No continúe trabajando con
una cuchilla para matorrales que esté
dañada. Afile la cuchilla para matorrales
periódicamente (cuando ha perdido su
filo de modo apreciable).
Uso de la sierra circular
Las sierras circulares son adecuadas
para recortar matorrales y cortar árboles
pequeños de hasta 4 cm (1-1/2 pulg) de
diámetro. No intente cortar árboles cuyo
diámetro sea mayor, puesto que la
cuchilla puede atorarse o tirar de la
orilladora / cortadora de matorrales
repentinamente hacia adelante. Esto
puede dañar la cuchilla o causar la
pérdida de control de la herramienta
motorizada, lo cual puede resultar en
lesiones personales graves. Utilice una
motosierra para estos tipos de trabajos.
ADVERTENCIA
Para reducir el riesgo de rayar y / o
romper la cuchilla, evite todo contacto
con piedras, rocas o el suelo. Afile las
cuchillas oportunamente de la manera
especificada – los dientes desafilados
pueden hacer que la cuchilla se agriete
o se rompa.
002BA066 KN
000BA016 KN

FS 110, FS 110 R
español / EE.UU
70
Si se usa la orilladora / cortadora de
matorrales con una sierra circular para
cortar árboles pequeños, STIHL
recomienda retirar el deflector estándar
y sustituirlo con el deflector de tope
especial (vea el capítulo "Montaje del
deflector"). Este tope ayuda a mantener
la máquina en su posición contra el
árbol durante el proceso de corte. Los
usuarios con poca experiencia deben
colocar el lado izquierdo del tope contra
el tronco del árbol antes de iniciar el
corte. Esto mantiene la orilladora /
cortadora de matorrales contra el árbol
durante la operación de corte y reduce
el riesgo de pérdida de control y posible
expulsión (descrito más arriba y
brevemente otra vez más abajo).
Antes de iniciar el corte, acelere el motor
a su velocidad máxima. Efectúe el corte
aplicando presión uniforme. STIHL
recomienda aplicar la sierra circular por
el lado derecho del árbol, usando la
zona no sombreada de la cuchilla, tal
como se muestra en la ilustración de
arriba.
ADVERTENCIA
El riesgo de expulsión de la cuchilla es
mayor cuando se corta en la zona
sombreada oscura. Para reducir el
riesgo de expulsión y las lesiones
consecuentes, no utilice esta zona de la
sierra circular para cortar árboles ni
arbustos. Las técnicas especiales que
utilizan las zonas sombreadas más
claras de la cuchilla para cortar arbustos
y árboles sólo deben ser usadas por
operadores expertos con capacitación
especializada en cuanto al uso y control
de la orilladora / cortadora de
matorrales.
ADVERTENCIA
Para reducir el riesgo de la pérdida de
control y de lesiones graves al operador
o a terceros causadas por la expulsión
de la cuchilla, utilice una sierra circular
solamente en una orilladora / cortadora
de matorrales equipada con un manillar
tipo bicicleta, no un mango tórico.
Durante la tala de árboles pequeños,
mantenga una distancia de por lo menos
dos veces el largo del árbol con
respecto a la persona más cercana.
ADVERTENCIA
Para reducir el riesgo de lesiones
causadas por los objetos lanzados o por
el contacto con la cuchilla o el cabezal,
cerciórese de volver a instalar el
deflector estándar cuando no está
usando una sierra circular.
MANTENIMIENTO, REPARACIÓN Y
ALMACENAMIENTO
Los trabajos de mantenimiento,
reemplazo o reparación de los
dispositivos y sistemas de control de
emisiones de escape pueden ser
realizados por cualquier taller o técnico
de motores no diseñados para
vehículos. Sin embargo, si usted está
reclamando cobertura de garantía para
algún componente que no ha sido
reparado o mantenido debidamente, o
cuando se utilizan repuestos no
autorizados, STIHL puede denegar la
garantía.
ADVERTENCIA
Utilice solamente las piezas de repuesto
idénticas de STIHL para el
mantenimiento y la reparación. El uso
de piezas no fabricadas por STIHL
puede causar lesiones graves o
mortales.
Siga precisamente las instrucciones de
mantenimiento y reparación dadas en
las secciones correspondientes del
manual de instrucciones.
002BA214 ST
002BA068 KN

FS 110, FS 110 R
español / EE.UU
71
ADVERTENCIA
Siempre apague el motor y verifique que
el accesorio de corte está parado antes
de llevar a cabo cualquier trabajo de
mantenimiento, reparación o limpieza
de la herramienta motorizada. No
intente hacer ningún trabajo de
mantenimiento o reparación que no esté
descrito en su manual de instrucciones.
Este tipo de trabajo debe ser realizado
únicamente por el concesionario de
servicio de STIHL.
Use guantes para manipular o reparar
las cuchillas.
ADVERTENCIA
Use la bujía especificada y asegúrese
de que ella y el cable de encendido
están limpios y en buen estado. Siempre
inserte el casquillo de la bujía bien
apretado en el borne de la bujía del
tamaño adecuado. (Nota: Si el borne
tiene una tuerca adaptadora SAE
desmontable, tiene que ser firmemente
instalada.) Una conexión suelta entre la
bujía y el conector del cable de
encendido en el casquillo puede crear
un arco voltaico y encender los vapores
del combustible y provocar un incendio.
ADVERTENCIA
No pruebe nunca el sistema de
encendido con el casquillo
desconectado de la bujía, o sin tener
instalada la bujía, ya que las chispas al
descubierto pueden causar un incendio.
ADVERTENCIA
Nunca maneje su herramienta
motorizada si el silenciador está
dañado, se ha perdido o si fue
modificado. Un silenciador mal cuidado
aumenta el riesgo de incendio y puede
causar pérdida de audición. El
silenciador está equipado con un
chispero para reducir el riesgo de
incendio; no maneje nunca su
herramienta motorizada si le falta el
chispero o está dañado. Recuerde que
el riesgo de incendios de matorrales o
forestales es mayor durante las
estaciones calurosas y secas.
En California, constituiría una violación
de los acápites § 4442 o § 4443 del
Código de Recursos Públicos el uso de
herramientas con motor de gasolina en
tierras cubiertas por bosques, arbustos
o pastos, a menos que el sistema de
escape del motor cuente con un
chispero que satisfaga los requisitos
legales y reciba un mantenimiento
adecuado para estar en buenas
condiciones de funcionamiento. El
propietario/operador de este producto
es responsable del mantenimiento
adecuado del chispero. Otras
entidades/agencias estatales o
gubernamentales, tales como el
Servicio Forestal de los EE.UU., pueden
tener requisitos similares. Comuníquese
con el cuerpo de bomberos de su
localidad o con el servicio forestal para
informarse en cuanto a las leyes y
reglamentos relacionados con los
requisitos de protección contra
incendios.
ADVERTENCIA
Nunca repare los accesorios de corte
dañados aplicándoles soldadura,
enderezándolos o modificándoles su
forma. Esto puede causar el
desprendimiento de alguna pieza del
accesorio de corte y producir lesiones
graves o mortales.
Mantenga las cuchillas afiladas. Apriete
todas las tuercas, pernos y tornillos,
excepto los tornillos de ajuste del
carburador, después de cada uso.
No limpie la máquina con una lavadora
a presión. El chorro fuerte de agua
puede dañar las piezas de la máquina.
Guarde la herramienta motorizada en un
lugar seco y elevado o con llave lejos del
alcance de los niños.
Antes de guardar la máquina durante un
período de más de algunos días,
siempre vacíe el tanque de combustible.
Consulte el capítulo "Almacenamiento
de la máquina" en el manual de
instrucciones.

FS 110, FS 110 R
español / EE.UU
72
Combinaciones aprobadas de accesorio de corte, deflector, mango y arnés
Accesorio de corte Deflector, límite de tope Mango Arnés
7
12
34
56
89
10
11
14
13 18
15
22 24
681BA229 KN
12
16
17
19 20
21
19 20
21
21
23
23
24
24
25

FS 110, FS 110 R
español / EE.UU
73
Combinaciones aprobadas
La combinación completa consta de:
–Accesorio de corte
–Deflector
–Mango
–Arnés
Seleccione la combinación correcta de
la tabla según el accesorio de corte que
se desee utilizar.
ADVERTENCIA
Por razones de seguridad, solamente
los accesorios de corte, los deflectores,
los mangos y arneses indicados en cada
hilera de la tabla pueden ser utilizados
juntos. No está permitida ninguna otra
combinación debido al riesgo de que
ocurran accidentes.
Accesorios de corte
Cabezas segadoras
1STIHL SuperCut 20-2
2STIHL AutoCut C 25-2
3STIHL AutoCut 25-2
4STIHL TrimCut 31-2
5STIHL FixCut 25-2
6STIHL DuroCut 20-2
7STIHL PolyCut 20-3
Accesorios de corte metálicos
8Cuchilla para pasto 230-4
(Ø 230 mm)
9Cuchilla para pasto 230-8
(Ø 230 mm)
10 Cuchilla para matorrales 250-3
(Ø 250 mm)
11 Sierra circular con dientes
raspadores 200
(Ø 200 mm)
12 Sierra circular con dientes tipo
cincel 200
(Ø 200 mm)
ADVERTENCIA
Las cuchillas para cortar pasto no
metálicas, las cuchillas para matorrales
y las sierras circulares no son
aprobadas.
Deflectores, tope limitador
13 Deflector para cabezas segadoras
14 Deflector con
15 faldilla y cuchilla para cabezas
segadoras
16 Deflector sin deflector con faldilla y
cuchilla para los accesorios de corte
metálicos 8 a 10
17 Tope limitador para sierras
circulares
Mangos
18 Mango tórico
19 Mango tórico con
20 barra de defensa
21 Manillar tipo bicicleta
Arneses
22 Se puede usar la correa para el
hombro
23 Es obligatorio usar la correa para el
hombro
24 Se puede usar el arnés completo
25 Es obligatorio usar el arnés
completo
ADVERTENCIA
Basado en el accesorio de corte en uso:
Seleccione un deflector adecuado para
reducir el riesgo de lesiones causadas
por los objetos lanzados y por el
contacto con el accesorio de corte.
Para reducir el riesgo de sufrir lesiones
debido a la pérdida de control y al
contacto con el accesorio de corte,
asegúrese que su máquina está
equipada con el mango y arnés
correctos.
Utilice cuchillas metálicas para pasto y
cuchillas para matorrales solamente si
la máquina está equipada con un
manillar tipo bicicleta o un mango tórico
con una barra de defensa.
Utilice sierras circulares solamente si la
máquina está equipada con un manillar
tipo bicicleta.
No utilice cuchillas de plástico rígidas
con esta máquina.

FS 110, FS 110 R
español / EE.UU
74
Los siguientes accesorios
intercambiables de STIHL pueden
instalarse en la máquina de base:
Montaje del manillar tipo bicicleta con
soporte de mango giratorio
La máquina viene con el soporte
giratorio para manillar instalado en el
eje. Para montar el manillar es
necesario retirar las abrazaderas
moldeadas.
Retiro de las abrazaderas moldeadas
NSujete firmemente la abrazadera
inferior (1) y la abrazadera superior
(2).
NSuelte el tornillo mariposa (3) – Las
abrazaderas están sueltas cuando
el tornillo mariposa está suelto. Los
resortes (4 y 5) las separan.
Accesorios aprobados para
herramientas motorizadas
228BA047 KN
BF
FH
FCS
KB KW
HT
Accesorio
intercambiable
1) El tope (barra de defensa) en el
mango tórico es obligatorio
2) No aprobado para máquinas con
manillar tipo bicicleta
3) No es necesario usar el arnés
Uso
BF 1) Cultivadora
FCS 2) 3) Cortabordes
FH 1) Cortadora de
matorrales
HL 0° 2) Cortasetos
HL 135° 1) 2) Cortasetos
HT 2) Podador de varilla
KB (4601) 2) Cepillo barredor
KW (4601) 2) Conjunto de tambor
barredor
Montaje del manillar

FS 110, FS 110 R
español / EE.UU
75
NQuite el tornillo mariposa – la
arandela (6) queda en el tornillo
mariposa.
NSepare las abrazaderas – los
resortes (4, 5) quedan en la
abrazadera inferior.
Fijación del manillar
NColoque el manillar (7) en la
abrazadera inferior (1) de manera
que la distancia A no mida más de
15 cm (6 pulg).
NColoque la abrazadera superior en
su lugar y mantenga juntas ambas
abrazaderas moldeadas.
NEmpuje el tornillo mariposa a través
de las dos abrazaderas hasta el
tope – mantenga juntas todas las
piezas y sujételas.
NColoque el conjunto armado en el
soporte del manillar (8) con el
tornillo mariposa en el lado del
motor.
NEmpuje el tornillo mariposa hasta el
tope en el soporte del mango y
atorníllelo, pero no al valor de
apriete final.
NAlinee el manillar perpendicular al
tubo de mando y vuelva a medir la
dimensión A.
NApriete el tornillo mariposa
firmemente.
Montaje del mango de control
NSaque el tornillo (9) – la tuerca (10)
queda en el mango de control (11).
NEmpuje el mango de control en
manillar (7) hasta que se alineen los
agujeros (13) – el gatillo del
acelerador (12) debe apuntar hacia
la caja de engranajes.
NInserte el tornillo (9) y apriételo bien
firme.
Instalación del cable del acelerador
INDICACIÓN
No tuerza el cable del acelerador ni
forme curvas agudas al colocar el
mismo – asegúrese de que el gatillo de
aceleración se mueva libremente.
1
7
A
250BA046 KN
002BA234 KN
8

FS 110, FS 110 R
español / EE.UU
76
NInserte el cable del acelerador (14)
en los retenedores (15).
Ajuste del cable del acelerador
NRevise el ajuste del cable del
acelerador – vea el capítulo "Ajuste
del cable del acelerador".
Giro del manillar
Posición de transporte
NSuelte el tornillo mariposa (3) y
destorníllelo hasta que el
manillar (7) pueda girarse en
sentido horario.
NGire el manillar en 90° y luego gire
hacia abajo los mangos.
NApriete el tornillo mariposa (3)
firmemente.
Posición de trabajo
NInvierta la secuencia descrita arriba
para girar los mangos hacia arriba y
girar el manillar en sentido
contrahorario.
Montaje del mango tórico con barra de
defensa
NColoque las tuercas cuadradas (1)
en la barra de defensa (2) – los
agujeros deberán quedar
alineados.
15
14
15
14
15
250BA002 KN
7
3
002BA650 KN
Montaje del mango tórico
2
002BA098 KN
1
1

FS 110, FS 110 R
español / EE.UU
77
NColoque la abrazadera (3) en el
mango tórico (4) y ponga los dos en
posición contra el tubo de
mando (5).
NColoque la abrazadera (6) contra el
tubo de mando.
NColoque la barra de defensa (2) en
su lugar, tal como se muestra.
NAlinee los agujeros.
NInserte los tornillos (7) en los
agujeros y atorníllelos en la barra de
defensa (2) hasta donde topen.
NProsiga a "Fijación del mango
tórico".
Montaje del mango tórico sin la barra de
defensa
NColoque la abrazadera (3) en el
mango tórico (4) y ponga los dos en
posición contra el tubo de
mando (5).
NColoque la abrazadera (6) contra el
tubo de mando.
NAlinee los agujeros.
NInstale las arandelas (8) en los
tornillos (7) y meta los tornillos en
los orificios. Coloque las tuercas
cuadradas (1) y atorníllelas a fondo.
NProsiga a "Fijación del mango
tórico".
Fijación del mango tórico
El mango tórico puede ajustarse de
acuerdo con la talla y el alcance del
operador y el uso, por medio de variar la
distancia (A).
Recomendación: la distancia (A) debe
medir aproximadamente 20 cm (8 pulg)
NDeslice el mango a la posición
requerida.
NAlinee el mango tórico (4).
NApriete los tornillos hasta que no
sea posible girar el mango en el
tubo de mando. Si no tiene
instalada barra de defensa, fije las
tuercas de ser necesario.
El manguito (9) (no se usa en todos los
modelos) debe estar entre el mango
tórico y el mango de control.
5
4
002BA099 KN
2
3
67
7
8
5
4
1
6
1
3
8
7
002BA614 KN
9
4
A
002BA615 KN

FS 110, FS 110 R
español / EE.UU
78
Un cable del acelerador correctamente
ajustado es necesario para el
funcionamiento correcto en las
posiciones de máxima aceleración,
arranque y marcha en vacío.
Ajuste el cable del acelerador
únicamente después de haber armado
la máquina completamente – el mango
de control debe estar en la posición de
funcionamiento normal.
NUtilice una herramienta adecuada
para empujar la pieza deslizante
hasta el extremo de la ranura (vea
la ilustración).
NPulse el bloqueo (1) y oprima el
gatillo de aceleración (2)
(aceleración máxima) – esto ajusta
el cable del acelerador
correctamente.
La argolla de transporte se suministra
como equipo estándar o puede ser
disponible como un accesorio especial.
Vea "Piezas principales" para
determinar la posición de la argolla de
transporte.
NColoque la abrazadera (1) contra el
tubo de mando con el agujero con
roscas a la izquierda (vista desde el
motor).
NApriete juntos los dos extremos de
la abrazadera y sosténgala en esa
posición.
NIntroduzca el tornillo M6x14 (2).
NAlinee la argolla de transporte
NApriete el tornillo firmemente.
Montaje del deflector
1Deflector para herramientas
segadoras
2Deflector para cabezas segadoras
Los deflectores (1) y (2) se instalan en la
caja de engranajes de la misma manera.
NColoque el deflector en la brida de
la caja de engranajes.
NInserte los tornillos (3) y apriételos
bien firmes.
Ajuste del cable del
acelerador
002BA163 KN
STOP
249BA017 KN
1
2
Montaje de la argolla de
transporte
002BA142 KN
1
2
1
Montaje de la barra de
defensa
002BA380 KN
2
1
3
3

FS 110, FS 110 R
español / EE.UU
79
Instalación de la faldilla y cuchilla
ADVERTENCIA
Estas piezas deben instalarse en el
deflector (1) cuando se utiliza una
cabeza segadora.
NDeslice la ranura guía inferior de la
faldilla (4) en el deflector (1) – debe
encajar a presión en su lugar.
NEmpuje la cuchilla (5) dentro de la
ranura guía superior en la faldilla y
alinéela con el primer orificio.
NInserte el tornillo y apriételo bien
firme.
Montaje del tope limitador
ADVERTENCIA
Siempre instale el tope limitador (6)
cuando se usa una sierra circular.
NColoque el tope limitador (6) en la
brida de la caja de engranajes.
NInserte los tornillos (7) y apriételos
bien firmes.
Colocación de la herramienta
motorizada en el suelo
NApague el motor.
NApoye la herramienta sobre su
parte trasera de modo que la
superficie de montaje del accesorio
de corte quede hacia arriba.
Tornillería de montaje para accesorios
de corte
La tornillería de montaje suministrada
depende del accesorio de corte incluido
como equipo original con la nueva
máquina.
Si la tornillería de montaje se embala
con la máquina
Se pueden montar cabezas segadoras y
accesorios de corte metálicos.
4
1
5
4
002BA103 KN
7
002BA382 KN
6
Montaje del accesorio de
corte
002BA104 KN

FS 110, FS 110 R
español / EE.UU
80
Según el accesorio de corte, podría ser
necesario emplear la tuerca (3), la placa
de refuerzo (4) y la arandela de empuje
(5).
Estas piezas se incluyen en un kit
suministrado con la máquina y también
están disponibles como accesorios
especiales.
Retiro del bloqueo de transporte
NQuite la manguera (1) del eje (2).
Si la tornillería de montaje no se embala
con la máquina
Sólo se pueden usar las cabezas
segadoras que se instalan directamente
en el eje (2).
Bloqueo del eje
Para instalar o quitar las herramientas
de corte, es necesario bloquear el eje de
salida (2) con el pasador de tope (6) o el
destornillador (6). Estas piezas se
suministran con la máquina como
equipo estándar o están disponibles
como accesorios especiales.
NInserte el pasador de tope (6) o el
destornillador (6) en el agujero (7)
hasta fondo en la caja de
engranajes y aplique algo de
presión.
NGire el eje, la tuerca o el accesorio
de corte hasta que el pasador de
tope se deslice en su lugar y
bloquee el eje.
Retiro de la tornillería de montaje
NBloquee el eje.
NUtilice la llave combinada (1) para
aflojar y sacar la tuerca (2) en
sentido horario (roscas izquierdas).
NQuite la arandela de empuje (3) del
eje (4). No retire la placa de
empuje (5).
2
002BA164 KN
1
3
4
5
2
002BA266 KN
6
7
2
002BA330 KN
6
3
4
2
271BA057 KN
1
5

FS 110, FS 110 R
español / EE.UU
81
Montaje del accesorio de corte
ADVERTENCIA
Utilice el deflector apropiado para la
máquina – vea "Montaje del deflector".
Colocación de cabeza segadora con
tornillo de montaje
Guarde la hoja de instrucciones de la
cabeza segadora en un lugar seguro.
NAtornille la cabeza segadora en
sentido contrahorario en el eje (1)
hasta que tope.
NBloquee el eje.
NApriete la cabeza segadora bien
firme.
INDICACIÓN
Quite la herramienta usada para
bloquear el eje.
Retiro de la cabeza segadora
NBloquee el eje.
NDestornille la cabeza segadora en
sentido horario.
Montaje de accesorios de corte
metálicos
Conserve el folleto y material de
embalaje de la herramienta metálica de
corte en un lugar seguro.
ADVERTENCIA
Use guantes protectores para reducir el
riesgo de contacto directo con los filos.
Monte únicamente e accesorios de corte
metálicos.
Verifique el sentido de rotación del
accesorio de corte
Los accesorios con 3 ó 4 filos (1, 3)
pueden apuntar en cualquier sentido –
estos accesorios deben invertirse a
intervalos regulares para evitar
desgastar solamente uno de sus lados.
Los bordes cortantes de los accesorios
de corte 2, 4 y 5 deben quedar
orientados en sentido horario.
ADVERTENCIA
El sentido de rotación está indicado por
una flecha ubicada en la superficie
interior del deflector.
1
002BA385 KN

FS 110, FS 110 R
español / EE.UU
82
NColoque el accesorio de corte (6)
sobre la placa de empuje (7).
ADVERTENCIA
El collar (vea la flecha) debe encajar en
el agujero de montaje del accesorio de
corte.
Sujeción del accesorio de corte
NColoque la arandela de empuje (8)
– el lado convexo debe quedar
hacia arriba.
NInstale la placa de refuerzo (9).
NBloquee el eje (10).
NUtilice la llave combinada (12) para
atornillar la tuerca de montaje (11)
en sentido contrahorario en el eje
de salida y apriétela firmemente.
ADVERTENCIA
Si la tuerca de montaje está demasiado
floja, instale una nueva.
INDICACIÓN
Quite la herramienta usada para
bloquear el eje.
Retiro del accesorio de corte metálico
ADVERTENCIA
Use guantes protectores para reducir el
riesgo de contacto directo con los filos.
NBloquee el eje.
NDestornille la tuerca de montaje en
sentido horario.
NRetire el accesorio de corte y su
tornillería de montaje de la caja de
engranajes – pero no retire la placa
de empuje (7).
El motor STIHL 4-MIX se lubrica con
gasolina y aceite y debe funcionar con
una mezcla de gasolina y aceite para
motor.
Por lo demás, es un motor de cuatro
tiempos.
Motor 4-MIX

FS 110, FS 110 R
español / EE.UU
83
Este motor está certificado para
funcionar con una mezcla de 50 a 1 de
gasolina sin plomo y aceite STIHL para
motores de dos tiempos.
Su motor requiere una mezcla de
gasolina de alta calidad y aceite para
motores de dos tiempos enfriados por
aire.
Utilice gasolina sin plomo de grado
intermedio con un octanaje mínimo de
89 ((R+M)/2) y un contenido de etanol
no mayor que el 10%.
El combustible de octanaje bajo puede
aumentar la temperatura de
funcionamiento del motor. Esto, a su
vez, aumenta el riesgo de que se
agarrote el pistón y se dañe el motor.
La composición química del
combustible también es importante.
Algunos aditivos de combustible no
solamente tienen efectos perjudiciales
en los elastómeros (diafragmas de
carburador, sellos de aceite, tuberías de
combustible, etc.), sino también en las
piezas fundidas de magnesio y en los
convertidores catalíticos. Esto podría
causar problemas de funcionamiento e
incluso daño del motor. Por esta razón,
STIHL recomienda el uso exclusivo de
gasolina sin plomo reconocida de buena
calidad.
La gasolina con un contenido de etanol
mayor que el 10% puede causar
problemas de funcionamiento y averías
graves en motores, por lo cual no debe
utilizarse.
El contenido de etanol en la gasolina
afecta el régimen de marcha del motor –
podría resultar necesario reajustar el
carburador si se utilizan combustibles
con diversos niveles de contenido de
etanol.
ADVERTENCIA
Para reducir el riesgo de lesiones
personales debido a la pérdida de
control y / o al contacto con la
herramienta de corte en movimiento, no
use una máquina cuyo régimen de
marcha en vacío está mal regulado.
Cuando el marcha en vacío está
correctamente regulado, la herramienta
de corte no debe moverse.
Si su herramienta motorizada indica que
el régimen de marcha en vacío está mal
regulado, pida a su representante de
STIHL que revise la herramienta
motorizada y haga los ajustes o
reparaciones correspondientes.
Las velocidades de ralentí y máxima del
motor varían si se cambia el
combustible por otro con un contenido
mayor o menor de etanol.
Este problema se evita si siempre se
utiliza combustible con un mismo
contenido de etanol..
Utilice aceite STIHL HP Ultra o consulte
con su concesionario para obtener un
aceite equivalente de alta calidad que
asegure el rendimiento y la vida útil
plena del producto.
Para satisfacer los requisitos de la
norma EPA 40CFR90/1054
recomendamos el uso del aceite STIHL
HP Ultra.
No use aceites para mezclar con
designaciones BIA o TCW (para
motores de dos tiempos enfriados por
agua) ni otros aceites para mezclar
diseñados para usar en motores
enfriados por agua o por aire (por
ejemplo, en motores marinos fuera de
borda, motonieves, sierras de cadenas,
bicimotos, etc.).
Manipule la gasolina con sumo cuidado.
Evite el contacto directo con la piel y
evite inhalar los vapores de
combustible. Cuando se reabastece de
combustible, quite primero el envase del
vehículo y colóquelo en el suelo antes
de llenarlo. Para reducir el riesgo de la
formación de chispas causadas por la
descarga de electricidad estática y un
posible incendio y/o explosión, no llene
los envases de combustible cuando
están colocados dentro de un vehículo o
remolque.
Mantenga el envase bien cerrado para
limitar la cantidad de humedad que
penetre en la mezcla.
Limpie el tanque de combustible de la
máquina según sea necesario.
Duración de la mezcla de combustible
Mezcle una cantidad suficiente de
combustible para trabajar unos pocos
días, no lo guarde por más de 30 días.
Guárdelo únicamente en envases
aprobados para combustible. Para el
proceso de mezclado, vierta el aceite en
el envase primero y luego agregue la
gasolina. Cierre el envase y agítelo
vigorosamente a mano para asegurar
que se mezclen bien el aceite y la
gasolina.
Combustible

FS 110, FS 110 R
español / EE.UU
84
Deseche los envases vacíos usados
para mezclar el aceite únicamente en
vertederos autorizados para ello.
Preparaciones
NAntes de llenar la máquina con
combustible, limpie a fondo la tapa
de llenado y la zona alrededor del
mismo para evitar la entrada de
tierra al depósito.
Siempre agite bien la mezcla en el
recipiente antes de llenar la máquina
con combustible.
NColoque la máquina de modo que la
tapa de llenado quede orientada
hacia arriba.
ADVERTENCIA
Para reducir el riesgo de quemaduras,
así como de incendios y de lesiones
corporales ocasionadas por los escapes
de vapor de gasolina y otras
emanaciones, quite la tapa de llenado
de combustible cuidadosamente de
modo que la presión que se pueda
haber acumulado en el depósito se
disipe lentamente.
Apertura de la tapa de llenado
NGire la tapa en sentido
contrahorario hasta quitarla de la
boca de llenado del tanque.
NQuite la tapa de llenado.
Carga de combustible
Tenga cuidado de no derramar el
combustible y no llene en exceso el
tanque.
Cierre de la tapa de llenado
NColoque la tapa en posición.
NGire la tapa en sentido horario hasta
que tope y apriétela hasta donde
sea posible con la mano.
Gasolina Aceite (STIHL 50:1 ó
aceite de alta calidad equi-
valente)
Litros Litros (ml)
10,02(20)
5 0,10 (100)
10 0,20 (200)
20 0,40 (400)
gal EE.UU. oz fl EE.UU.
12,6
2 1/2 6,4
512,8
Llenado de combustible
266BA028 KN
2709BA003 KN
2709BA004 KN

FS 110, FS 110 R
español / EE.UU
85
El tipo y el estilo de arnés/correa para
hombro dependen del lugar de venta.
El uso de la correa para el hombro se
describe en el capítulo "Combinaciones
aprobadas de accesorio de corte,
deflector, mango y arnés".
Correa para hombro
NColóquese la correa (1) sobre el
hombro.
NAjuste el largo de la correa de modo
que el mosquetón (2) quede
aproximadamente el ancho de la
mano por debajo de su cadera
derecha.
NEquilibre la máquina – vea
"Equilibrado de la máquina".
Arnés completo
NColóquese el arnés (1) y cierre la
placa de bloqueo (3).
NAjuste el largo de la correa – con la
máquina conectada, el
mosquetón (2) debe quedar
aproximadamente a la misma altura
que su cadera derecha.
NEquilibre la máquina – vea
"Equilibrado de la máquina".
Fijación de la unidad al arnés
El tipo y el estilo del arnés y mosquetón
(gancho con resorte) dependen del
lugar de venta.
NEnganche el mosquetón (1) en la
argolla para transporte (2) ubicada
en el tubo de mando.
Uso de la correa para
hombro
1
002BA441 KN
2
3
002BA228 KN
2
1
Equilibrio de la máquina

FS 110, FS 110 R
español / EE.UU
86
NSuelte el tornillo (3).
Equilibrio de la cortadora de matorrales
La unidad se equilibra de forma
diferente, dependiendo del accesorio de
corte empleado.
Proceda de la manera indicada hasta
que se satisfagan las condiciones
especificadas bajo "Posiciones de
flotación":
NAjuste la argolla para transporte.
NApriete el tornillo moderadamente.
NDeje que la unidad cuelgue libre.
NVerifique la posición resultante.
Posiciones de flotación
Las herramientas de segado (A), tales
como las cabezas segadoras, cuchillas
para cortar pasto y las cuchillas para
matorrales
Napenas deben tocar el suelo.
Las sierras circulares (B)
Ndeben quedar "flotando" a unos
20 cm (8 pulg) sobre el suelo.
Cuando se alcanza el punto de flotación
correcto:
NApriete firmemente el tornillo en la
argolla de transporte.
Desconexión de la unidad del arnés
NEmpuje la barra en el
mosquetón (1) y extraiga la argolla
de transporte (2) del mosquetón.
A
002BA034 KN
B
002BA035 KN

FS 110, FS 110 R
español / EE.UU
87
Elementos funcionales
Mango de control en manillar
1Bloqueo de palanca del acelerador
2Gatillo de aceleración
3Control deslizante
Mango de control en varilla
1Bloqueo de palanca del acelerador
2Gatillo de aceleración
3Control deslizante
Posiciones del control deslizante
4STOP-0 – motor apagado – el
encendido está apagado
5Posición de operación F – Marcha –
el motor está en marcha o puede
arrancarse
6START – Arranque – el encendido
está conectado – el motor puede
arrancarse
Símbolo en el control deslizante
7h – símbolo de parada y flecha –
para apagar el motor, empuje el
control deslizante en el sentido de la
flecha en el símbolo de parada (h)
a STOP-0.
Arranque
NPulse sucesivamente el bloqueo del
gatillo de aceleración y el gatillo de
aceleración
NMantenga los dos gatillos oprimidos
NMueva el control deslizante hacia la
posición START y manténgalo en
esa posición
NDespués suelte sucesivamente el
gatillo de aceleración, el control
deslizante y el bloqueo del gatillo -
la posición de arranque
NAjuste la perilla del
estrangulador (8):
Arranque / parada del motor
3
STOP
56
4
7
002BA182 KN
1
2
START
STOP-
3
STOP
2
5
6
4
7
002BA181 KN
START
STOP-
1
gSi el motor está frío
eSi el motor está caliente – incluso si
el motor ya ha estado en funciona-
miento, pero todavía está frío
249BA057 KN
9
8

FS 110, FS 110 R
español / EE.UU
88
NOprima el bulbo (9) de la bomba de
combustible por lo menos 5 veces,
aunque el bulbo esté lleno de
combustible
Arranque
NColoque la máquina sobre el suelo,
en una posición segura: Deberá
reposar sobre el soporte del motor y
el deflector del accesorio de corte
N(si existe): Retire el protector para
transporte del accesorio de corte
El accesorio de corte no deberá tocar el
suelo ni ningún otro objeto – ¡Riesgo de
accidentes!
NColóquese en una postura firme –
algunas opciones: de pie,
encorvado o arrodillado
NPresione la máquina firmemente
contra el suelo con la mano
izquierda – no toque el gatillo de
aceleración ni su bloqueo al
presionarla – su pulgar debe estar
debajo de la carcasa del ventilador.
INDICACIÓN
¡No se pare ni se arrodille sobre el eje!
NAgarre el mango de arranque con la
mano derecha
NTire lentamente del mango de
arranque hasta que sienta el
enganche del mismo y en seguida
déle un tirón fuerte y rápido
INDICACIÓN
No extraiga completamente la cuerda de
arranque – ¡puede romperse!
NNo deje que el mango de arranque
retroceda bruscamente – guíelo
lentamente hacia el interior de la
caja de modo que la cuerda de
arranque se enrolle debidamente.
Nhaga girar el motor hasta que
arranque – a más tardar, después
del quinto intento de arranque con
la cuerda, mueva la perilla del
estrangulador a e
Nsiga intentando el arranque
Cuando el motor se encuentre en
marcha
NOprima el gatillo de aceleración
momentáneamente; la palanca de
control saltará a la posición de
funcionamiento F y el motor se
acelera a marcha en vacío.
ADVERTENCIA
Si el carburador está debidamente
ajustado, la herramienta de corte no gira
cuando el motor funciona a marcha en
vacío.
La máquina ahora está lista para
usarse.
Apagado del motor
NEmpuje el control deslizante en el
sentido indicado por la flecha del
símbolo de parada h a STOP-0
A temperaturas ambiente muy bajas
Tan pronto arranca el motor:
NAccione momentáneamente el
gatillo de aceleración – suelte la
posición de aceleración de
arranque – el control deslizante se
mueve a la posición de
funcionamiento F– el motor
funciona a la velocidad de marcha
en vacío
NPresione ligeramente el gatillo de
aceleración
NPermita que el motor se caliente
durante un intervalo corto

FS 110, FS 110 R
español / EE.UU
89
Si el motor no arranca
Perilla de estrangulador
Si la perilla del estrangulador no se
devolvió a la posición e en el momento
necesario después del funcionamiento
inicial del motor, el motor está ahogado.
NGire la perilla del estrangulador a
e.
NPonga el control deslizante, el
bloqueo y el gatillo de aceleración
en la posición de aceleración de
arranque
NArranque el motor – para hacerlo,
tire rápidamente de la cuerda de
arranque – puede ser necesario
hacerlo 10 a 20 veces
Si el motor todavía no arranca
NMueva el control deslizante a STOP
- 0
NQuite la bujía – vea "Bujía"
NSeque la bujía.
NHaga girar el motor varias veces
con el arrancador para despejar la
cámara de combustión
NVuelva a colocar la bujía – vea
"Bujía".
NMueva el control deslizante a
START
NPonga la perilla del estrangulador
en e – aun si el motor está frío.
NVuelva a arrancar el motor
Ajuste del cable del acelerador
NRevise el ajuste del cable del
acelerador – vea "Ajuste del cable
del acelerador"
Si el tanque ha sido completamente
vaciado
NDespués de llenar el depósito,
oprima el bulbo de la bomba de
combustible por lo menos
cinco veces, incluso si el bulbo esté
lleno de combustible.
NAjuste la perilla del estrangulador
de acuerdo con la temperatura del
motor
NVuelva a arrancar el motor
Uso de un protector de transporte
El tipo de protector de transporte que se
utilice depende del accesorio de corte
de metal provisto con la máquina. Los
protectores de transporte también están
disponibles como accesorios
especiales.
Montaje del protector de transporte para
cuchillas para cortar pasto 230 y
cuchillas para matorrales
El protector de transporte puede usarse
con cuchillas para cortar pasto de hasta
230 mm (9,1 pulg) de diámetro y para
las cuchillas para matorrales 250-3.
Si tiene montada una cuchilla para
cortar pasto 230:
Traslado de la unidad
681BA268 KN
681BA269 KN

FS 110, FS 110 R
español / EE.UU
90
Si tiene montada una cuchilla para
matorrales:
Montaje del protector de transporte para
cuchillas para cortar pasto 250 y discos
de sierra
El protector de transporte (1) puede
usarse con cuchillas para cortar pasto
con un diámetro de 250 mm (9,8 pulg) y
el protector de transporte (2) con discos
de sierra con un diámetro de 200 mm
(7,9 pulg).
NDesenganche el retenedor del
protector de transporte y gírelo
hacia fuera
Si tiene montada una cuchilla para
cortar pasto 250:
NMonte el protector de transporte (1)
en el accesorio de corte por su parte
inferior.
Si tiene montado un disco de sierra:
681BA270 KN
681BA271 KN
681BA272 KN
681BA278 KN
12
681BA275 KN
1.
2.
681BA279 KN

FS 110, FS 110 R
español / EE.UU
91
NMonte el protector de transporte (2)
en el accesorio de corte por su parte
inferior, asegurando que el tope
quede centrado en la parte hendida.
NEnganche el retenedor en el
gancho del protector de transporte.
Durante el período de rodaje
Una máquina nueva de fábrica no debe
hacerse funcionar a velocidad alta
(aceleración máxima sin carga) por el
lapso que tome llenar el tanque tres
veces. Esto evita la imposición de
cargas innecesariamente altas durante
el período de rodaje. Ya que todas las
piezas móviles deben asentarse
durante el período de rodaje inicial,
durante este tiempo la resistencia
causada por fricción en el motor es más
elevada. El motor desarrolla su potencia
máxima después de haber llenado el
tanque de 5 a 15 veces.
Durante el trabajo
Después de un período largo de
funcionamiento con el acelerador a
fondo, deje funcionar el motor por un
rato en ralentí de modo que el calor en
el motor sea disipado por la corriente de
aire de enfriamiento. Esto ayuda a evitar
que los componentes montados en el
motor (encendido, carburador) sufran
sobrecargas térmicas.
Después de terminar el trabajo
Almacenamiento por corto tiempo:
Espere hasta que el motor se enfríe.
Vacíe el tanque de combustible y
guarde la máquina en un lugar seco,
alejada de fuentes de encendido, hasta
que la vuelva a utilizar. Para los
intervalos de almacenamiento por
tiempo prolongado – vea
"Almacenamiento de la máquina".
681BA280 KN
681BA281 KN
2.
Instrucciones para el uso

FS 110, FS 110 R
español / EE.UU
92
Si se nota una pérdida considerable de
la potencia del motor
NGire la perilla del estrangulador a
g
NSaque el tornillo (1) y quite la
cubierta (2) del filtro.
NLimpie toda la suciedad de
alrededor del filtro.
NSujete el elemento (3)del filtro por la
muesca (flecha) de la caja del
filtro (4) y extráigalo.
NColoque un elemento nuevo en el
filtro. Como una medida provisoria,
es posible limpiarlo golpeándolo en
la palma de la mano o soplándolo
con aire comprimido. No lo lave.
NSustituya las piezas dañadas.
Instalación del filtro
NInstale el elemento en la caja del
filtro y coloque la cubierta.
NInserte el tornillo y apriételo bien
firme.
Las emisiones de gases de escape son
controladas por el diseño de parámetros
y componentes fundamentales del
motor (por ej. carburación, encendido,
regulación y regulación de las válvulas o
la lumbrera) sin la adición de ningún
equipo importante.
El carburador de la máquina ha sido
ajustado en la fábrica para ofrecer el
rendimiento y la eficiencia de uso de
combustible óptimos en todas las
condiciones.
Ajuste de la velocidad de marcha en
vacío
El motor se para durante el
funcionamiento a marcha en vacío
NDeje que el motor se caliente por
aproximadamente 3 minutos
NGire el tornillo de ajuste de marcha
en vacío (LA) lentamente en
sentido horario hasta que el motor
funcione de modo suave – el
accesorio de corte no debe girar
El accesorio de corte gira con el motor
en marcha en vacío
NGire el tornillo de marcha en
vacío (LA) en sentido contrahorario
hasta que la herramienta deje de
girar – luego gire el tornillo de 1/2 a
3/4 de vuelta adicional en el mismo
sentido
Limpieza del filtro de aire
1
273BA006 KN
2
4
Gestión del motor Ajuste del carburador
266BA027 KN
LA

FS 110, FS 110 R
español / EE.UU
93
ADVERTENCIA
Si el accesorio de corte sigue girando
con el motor en marcha en vacío
después de llevarse a cabo el ajuste,
pida que un concesionario de servicio
revise la máquina.
El silenciador tiene un chispero.
NSi el motor pierde potencia, revise el
chispero del silenciador.
NEspere hasta que el silenciador se
enfríe.
NMueva el control deslizante a
STOP-0.
NSaque el tornillo (1).
NSaque los tornillos (2) y quite la
cubierta (3).
NSaque el tornillo (4).
NLevante el chispero (5) y tire del
mismo para sacarlo.
NLimpie el chispero. Si el chispero
está dañado o con depósitos
gruesos de carbón, instale uno
nuevo.
NVuelva a instalar el chispero.
NInserte el tornillo y apriételo bien
firme.
NVuelva a instalar la envuelta
Chispero en el silenciador
249BA059 KN
1
2
3
2
249BA060 KN

FS 110, FS 110 R
español / EE.UU
94
Si el motor pierde potencia, es difícil
arrancarlo o funciona de modo irregular
a ralentí, revise la bujía primero.
Instale una bujía nueva después de
aprox. 100 horas de funcionamiento, o
más temprano si los electrodos están
muy gastados.
Si la mezcla del combustible es
incorrecta (demasiado aceite en la
gasolina), el filtro de aire está sucio, y
las condiciones de trabajo no son
favorables (especialmente a
aceleraciones intermedias) se afecta la
condición de la bujía. Estos factores
permiten la formación de depósitos en la
punta aislante, los cuales pueden
perjudicar el rendimiento.
Retiro de la bujía
NMueva el control deslizante a
STOP-0.
NQuite el casquillo de la bujía (1).
NDestornille la bujía.
Revisión de la bujía
NLimpie la bujía si está sucia.
NRevise la separación entre
electrodos (A) y ajústela de ser
necesario – vea el capítulo
"Especificaciones".
NUtilice únicamente bujías tipo
resistencia cuyo margen de
rendimiento sea el aprobado.
Corrija los problemas que hayan
causado la contaminación de la bujía:
–demasiado aceite en la mezcla de
combustible,
–filtro de aire sucio,
–condiciones desfavorables de
funcionamiento, por ejemplo,
funcionando bajo carga parcial.
ADVERTENCIA
Para reducir el riesgo de incendio y de
quemaduras, utilice solamente las
bujías autorizadas por STIHL. Siempre
empuje el casquillo (1) de la bujía
firmemente en el borne (2) del tamaño
adecuado. (Nota: Si el borne tiene una
tuerca adaptadora SAE desmontable, la
misma tiene que ser firmemente
instalada.) Una conexión suelta entre el
casquillo de la bujía y el conector del
cable de encendido en el casquillo
puede crear un arco voltaico y encender
los vapores del combustible,
provocando un incendio.
Instalación de la bujía
NAtornille a fondo la bujía, coloque el
casquillo y empújelo firmemente en
su lugar.
Bujía
1
249BA063 KN
000BA039 KN
A
2
1
002BA363 KN

FS 110, FS 110 R
español / EE.UU
95
Si el funcionamiento del motor es
insatisfactorio aunque el filtro de aire
está limpio y el carburador ha sido
debidamente ajustado, la causa puede
hallarse en el silenciador.
Solicite al concesionario que revise si
hay contaminación (coquización) en el
silenciador.
STIHL recomienda que un
concesionario STIHL autorizado efectúe
los trabajos de mantenimiento y
reparación.
NRevise el nivel de grasa
periódicamente – aproximadamente
cada 25 horas de funcionamiento.
NDestornille el tapón de llenado (1).
Si no se ve grasa en el interior del
tapón de llenado, atornille el tubo
(2) del lubricante para engranajes
STIHL (accesorio especial) en el
agujero de llenado.
NInyecte hasta 5 g (1/5 oz) de grasa
en la caja de engranajes.
INDICACIÓN
No llene completamente con grasa la
caja de engranajes.
NQuite el tubo de grasa (2).
NVuelva a colocar el tapón de llenado
y apriételo firmemente.
Para prolongar la vida útil de la cuerda
de arranque, siempre observe los
puntos siguientes:
NTire de la cuerda de arranque
solamente en el sentido
especificado.
NNo tire de la cuerda sobre el borde
del buje guía.
NNo tire de la cuerda más de lo
especificado.
NNo deje que el mango de arranque
retroceda bruscamente, guíelo
lentamente hacia el interior de la
caja – vea el capítulo
"Arranque/Parada del motor."
Pida que el concesionario de servicio
sustituya la cuerda de arranque dañada
oportunamente. STIHL recomienda que
un concesionario STIHL autorizado
efectúe los trabajos de mantenimiento y
reparación.
Funcionamiento del motor Lubricación de la caja de
engranajes
1
233BA010 KN
2
Dispositivo de arranque

FS 110, FS 110 R
español / EE.UU
96
Para intervalos de 3 meses o más
NVacíe y limpie el tanque de
combustible en una zona bien
ventilada.
NDeseche el combustible de acuerdo
con los requerimientos locales de
protección del medio ambiente.
NHaga funcionar el motor hasta que
el carburador se seque. Esto ayuda
a evitar que los diafragmas del
carburador se peguen.
NRetire, limpie e inspeccione el
accesorio de corte. Cubra los
accesorio de corte metálicos con
inhibidor de corrosión.
NLimpie la máquina a fondo - preste
atención especial a las aletas del
cilindro y al filtro de aire.
NGuarde la máquina en un lugar seco
y bajo llave, fuera del alcance de los
niños y de otras personas no
autorizadas.
NUse una lima (vea "Accesorios
especiales") para afilar los
accesorios de corte romos. En el
caso de desgaste o mellas más
serios: Vuelva a afilar con una
rectificadora o pida que el trabajo se
lo haga el concesionario – STIHL
recomienda acudir a un
concesionario de STIHL.
NAfile la cadena con frecuencia,
rebaje tan poco metal como sea
posible – dos o tres pasadas de la
lima generalmente son suficientes.
NAfile los dientes (1) uniformemente
– no altere de manera alguna el
contorno de la cuchilla matriz (2).
Vea las instrucciones en el embalaje del
accesorio de corte para información
adicional acerca del afilado. Guarde los
materiales de embalaje para uso futuro.
Equilibrio
NDespués de aproximadamente 5
afiladas, revise la cuchilla con un
equilibrador STIHL – vea
“Accesorios especiales” – o pida
que un concesionario la revise y
vuelva a ajustar el equilibrio según
sea necesario – STIHL recomienda
acudir a un concesionario STIHL
para servicio.
Almacenamiento de la
máquina Afilado de los accesorios de
corte
22
1
2
11
002BA042 KN

FS 110, FS 110 R
español / EE.UU
97
Colocación de la herramienta
motorizada en el suelo
NApague el motor.
NApoye la herramienta sobre su
parte trasera de modo que la
superficie de montaje del accesorio
de corte quede hacia arriba.
Sustitución del hilo de nilón
Revise siempre la cabeza segadora en
busca de desgaste antes de sustituir el
hilo de nilón.
ADVERTENCIA
Si hay señales de desgaste serio,
sustituya la cabeza segadora completa.
El hilo de segado de nilón se denomina
"hilo de nilón" o "hilo" en el texto
siguiente.
Con la cabeza segadora se proveen
instrucciones ilustradas para la
sustitución del hilo de nilón. Guarde las
instrucciones de la cabeza segadora en
un lugar seguro.
NDe ser necesario, retire la cabeza
segadora.
Ajuste del hilo de nilón
STIHL SuperCut
Un pedazo de hilo nuevo avanza
automáticamente si el hilo todavía tiene
una longitud mínima de 6cm
(2 1/2 pulg). La cuchilla en el deflector
corta el hilo sobrante a la longitud
correcta.
STIHL AutoCut
NCon el motor en marcha, mantenga
la cabeza segadora sobre la
superficie del césped.
NGolpéela suavemente contra el
suelo una vez – el hilo avanza y la
cuchilla en el deflector lo corta al
largo correcto.
El hilo nuevo avanza cada vez que se
golpea el suelo con la cabeza segadora.
Por este motivo, observe el rendimiento
de corte de la cabeza segadora al
usarla. Si la cabeza segadora se golpea
contra el suelo con frecuencia excesiva,
la cuchilla limitadora recortará tramos
del hilo innecesariamente.
La alimentación del hilo funciona sólo si
ambos hilos miden por lo menos 2,5 cm
(1 pulg) de largo.
STIHL TrimCut
ADVERTENCIA
Para reducir el riesgo de sufrir lesiones,
siempre apague el motor antes de
ajustar el hilo de nilón con la mano.
NTire del carrete hacia arriba – gírelo
aproximadamente 1/6 de vuelta en
sentido contrahorario hasta que se
encaje – y deje que vuelva solo.
NTire de las puntas de los hilos hacia
afuera.
Repita el procedimiento anterior según
sea necesario, hasta que ambos hilos
lleguen hasta la cuchilla limitadora en el
deflector.
El girar el carrete de un tope al otro hace
avanzar aproximadamente 4cm
(1 1/2 pulg) de hilo.
Sustitución del hilo de nilón
STIHL PolyCut
Un tramo del hilo de nilón puede
colocarse en la cabeza PolyCut en lugar
de las cuchillas.
STIHL DuroCut, STIHL FixCut,
STIHL PolyCut
ADVERTENCIA
Para reducir el riesgo de sufrir lesiones,
siempre apague el motor antes de
cargar hilo en la cabeza segadora con la
mano.
NColoque le hilo de nilón en la
cabeza segadora según se
describe en las instrucciones
provistas.
Mantenimiento de la cabeza
segadora
002BA104 KN

FS 110, FS 110 R
español / EE.UU
98
Sustitución de cuchillas de corte
STIHL PolyCut
Revise siempre la cabeza segadora en
busca de desgaste antes de instalar las
cuchillas de corte nuevas.
ADVERTENCIA
Si hay señales de desgaste serio,
sustituya la cabeza segadora completa.
Las cuchillas de termoplástico se
denominan "cuchillas" en el texto
siguiente.
Se proveen instrucciones ilustradas
para la sustitución de cuchillas en la
cabeza segadora. Guarde las
instrucciones de la cabeza segadora en
un lugar seguro.
ADVERTENCIA
Para reducir el riesgo de sufrir lesiones,
siempre apague el motor antes de
instalar las cuchillas.
NRetire la cabeza segadora.
NSustituya las cuchillas de la manera
mostrada en las instrucciones
ilustradas.
NInstale la cabeza segadora en la
máquina.
Trabajos de mantenimiento
STIHL recomienda que un
concesionario STIHL autorizado efectúe
los trabajos de mantenimiento y
reparación.
Captador de combustible en el tanque
NRevise anualmente el recogedor en
el tanque de combustible y pida que
el concesionario lo sustituye de ser
necesario.
El cuerpo del recogedor debe quedar en
el tanque en la posición que se muestra
en la ilustración.
Inspección y mantenimiento
por el concesionario
465BA002 KN

FS 110, FS 110 R
español / EE.UU
99
Información para mantenimiento
Los intervalos que se indican a continuación corresponden únicamente a condicio-
nes normales de funcionamiento. Si la jornada diaria es más prolongada que lo
normal, o bien si las condiciones son extremas (zonas con demasiado polvo, etc.),
acorte apropiadamente los intervalos indicados.
antes de comenzar el trabajo
después de completar el tra-
bajo o diariamente
después de cada parada
para cargar combustible
semanalmente
mensualmente
cada 12 meses
si hay problemas
si presenta daños
según se requiera
Máquina completa
Inspección visual (condición general,
fugas) XX
Limpiar X
Sustituya las piezas dañadas. XX
Mango de control Comprobar el funcionamiento XX
Filtro de aire
Inspección visual X X
Limpiar XX
Reemplazar X
Bomba de combustible manual (si la tiene)
Revisar X
Solicitar al concesionario de servicio su
reparación1) X
Recogedor en depósito de combustible
Solicitar al concesionario de servicio su
revisión1) X
Solicitar al concesionario de servicio su
sustitución1) XXX
Depósito de combustible Limpiar XX
Carburador
Comprobar el ajuste de marcha en vacío
– el accesorio de corte no debe girar XX
Ajustar la velocidad de marcha en vacío X
Bujía
Ajustar la distancia entre electrodos X
Cambiar después de aprox. cada 100
horas de funcionamiento
Entradas de enfriamiento Inspección visual X
Limpiar X
Aletas del cilindro Limpiar 2) X

FS 110, FS 110 R
español / EE.UU
100
Juego de las válvulas
Revisar y ajustar de ser necesario,
después de las primeras 139 horas de
funcionamiento1) X
Solicitar que la cámara de combustión
(sólo CARB)
sea limpiada por el concesionario de
servicio 1) después de las primeras 139
horas de funcionamiento, y luego cada
150 horas
X
Chispero en silenciador Revisar XX
Limpiar o reemplazar XX
Todos los tornillos y tuercas accesibles
(salvo los tornillos de ajuste) Volver a apretar X
Elementos antivibración (amortiguadores
de caucho, resortes)
Revisar XXX
Solicitar al concesionario de servicio su
sustitución1) X
Accesorio de corte
Inspección visual XX
Reemplazar X
Revisar el apriete XX
Accesorio de corte metálico Afilar XX
Lubricación de caja de engranajes Revisar X
Restituir X
Etiquetas de seguridad Reemplazar X
1) STIHL recomienda acudir a un concesionario STIHL autorizado para servicio.
2) Retiro de la envuelta - vea "Chispero en silenciador"
Los intervalos que se indican a continuación corresponden únicamente a condicio-
nes normales de funcionamiento. Si la jornada diaria es más prolongada que lo
normal, o bien si las condiciones son extremas (zonas con demasiado polvo, etc.),
acorte apropiadamente los intervalos indicados.
antes de comenzar el trabajo
después de completar el tra-
bajo o diariamente
después de cada parada
para cargar combustible
semanalmente
mensualmente
cada 12 meses
si hay problemas
si presenta daños
según se requiera

FS 110, FS 110 R
español / EE.UU
101
1Tapa de llenado de combustible
2Tornillos de ajuste del carburador
3Mango de arranque
4Casquillo de bujía
5Silenciador con chispero
6Manillar tipo bicicleta
7Gatillo de aceleración
8Control deslizante
9Bloqueo de gatillo de aceleración
10 Retenedor del cable del acelerador
11 Argolla de transporte
12 Bomba de combustible manual
13 Perilla de estrangulador
14 Cubierta del filtro de aire
15 Tanque de combustible
16 Apoyo de la máquina
17 Soporte del manillar
18 Tornillo mariposa
19 Mango tórico
20 Barra de defensa
#Número de serie
Componentes importantes
4
18
#
13
7
9
8
11
20
19
8
79
6
17
10 11 10
15
16
14
5
1
2
12
3
249BA069 KN

FS 110, FS 110 R
español / EE.UU
102
Definiciones
1 Tapa de llenado de combustible
Para tapar el depósito de
combustible.
2 Tornillos de ajuste del carburador
Para afinar el carburador.
3 Mango de arranque
El mango del arrancador usado
para arrancar el motor.
4 Casquillo de bujía
Conecta la bujía al alambre de
encendido.
5 Silenciador con chispero
El silenciador reduce los ruidos del
escape del motor y desvía los gases
de escape lejos del usuario.
El chispero está diseñado para
reducir el riesgo de incendios.
6 Manillar tipo bicicleta
Para facilitar el control de la
máquina con ambas manos durante
el proceso de corte.
7 Gatillo de aceleración
Regula la velocidad del motor.
8 Control deslizante
Para aceleración de arranque,
marcha y parada. Mantiene el
estrangulador parcialmente abierto
durante el arranque y apaga el
encendido del motor para detener
su marcha.
9 Bloqueo de gatillo de aceleración
Debe ser oprimido antes de poder
activar el gatillo de aceleración.
10 Retenedor del cable del acelerador
Sujeta el cable del acelerador al
tubo de mando.
11 Argolla de transporte
Conecta la orilladora/cortadora de
matorrales al arnés.
12 Bomba de combustible manual
Suministra alimentación adicional
de combustible para el arranque en
frío.
13 Perilla de estrangulador
Facilita el arranque del motor al
enriquecer la mezcla.
14 Cubierta del filtro de aire
Encierra y protege el elemento del
filtro de aire.
15 Tanque de combustible
Contiene la mezcla de combustible
y aceite.
16 Apoyo de la máquina
Para apoyar la máquina en el suelo.
17 Soporte del manillar
Conecta el eje y el manillar tipo
bicicleta.
18 Tornillo mariposa
Bloquea el manillar en la posición
seleccionada.
19 Mango tórico
Para facilitar el control de la
máquina durante el proceso de
corte.
20 Barra de defensa
Ayuda a mantener los pies y piernas
del usuario lejos de la herramienta
de corte.
1Cabeza de segado
2Deflector para cabezas segadoras
3Cuchilla limitadora del hilo
4Deflector con faldilla para todos los
accesorios de segado
5Faldilla
6Herramienta segadora metálica
002BA114 KN
13
45
3
64
1
2

FS 110, FS 110 R
español / EE.UU
103
Definiciones
1 Cabeza de segado
El accesorio de corte, por ej. una
cabeza segadora, se usa para
diferentes propósitos.
2 Deflector para cabezas segadoras
El deflector tiene por objeto reducir
el riesgo de lesiones causadas por
objetos extraños arrojados contra el
operador por el accesorio de corte y
por el contacto con el accesorio de
corte.
3 Cuchilla limitadora del hilo
Una cuchilla de metal en el deflector
para mantener el hilo de la cabeza
segadora al largo adecuado.
4 Deflector con faldilla para todos los
accesorios de segado
El deflector tiene por objeto reducir
el riesgo de lesiones causadas por
objetos extraños arrojados contra el
operador por el accesorio de corte y
por el contacto con el accesorio de
corte. No está diseñado para
contener las cuchillas metálicas
fragmentadas.
5Faldilla
La faldilla en la parte inferior del
deflector debe usarse de la manera
descrita en el capítulo "Montaje del
deflector".
6 Herramienta segadora metálica
El accesorio de corte, por ejemplo la
cuchilla, hecho de metal para varios
propósitos.
7Cuchilla para sierra circular
8Tope limitador para sierras
circulares
Definiciones
7 Cuchilla para sierra circular
Un accesorio de corte hecho de
metal para cortar madera.
8 Tope limitador para sierras
circulares
Diseñado para colocar la cortadora
de matorrales firmemente contra la
madera para reducir el riesgo de
lesiones causadas por la pérdida de
control como resultado de las
fuerzas reactivas.
EPA / CEPA
El período de cumplimiento de
emisiones indicado en la etiqueta de
cumplimiento de emisiones es la
cantidad de horas de funcionamiento
para la cual la máquina ha demostrado
la conformidad con los requerimientos
de emisiones del Gobierno federal de
los EE.UU.
Categoría
CARB
El período de cumplimiento de
emisiones empleado en la etiqueta del
índice de aire CARB tiene las siguientes
definiciones:
Motor
Motor STIHL de un cilindro, cuatro
tiempos, lubricado por una mezcla de
gasolina con aceite
002BA186 KN
8
7
Especificaciones
A = 300 horas
B = 125 horas
C= 50horas
Extended = 300 horas
Intermediate = 125 horas
Moderate = 50 horas

FS 110, FS 110 R
español / EE.UU
104
Sistema de encendido
Encendido por magneto electrónico
Sistema de combustible
Carburador de diafragma de todas
posiciones con bomba de combustible
integral
Peso
Largo total
Características
Los usuarios de esta máquina deben
efectuar únicamente los trabajos de
mantenimiento descritos en este
manual. STIHL recomienda que un
concesionario de servicio STIHL efectúe
los demás trabajos de reparación.
Los reclamos de garantía presentados
después de realizadas las reparaciones
serán aceptados únicamente si las
mismas fueron ejecutadas por un
concesionario de servicio autorizado
STIHL utilizando piezas de repuesto
genuinas de STIHL.
Los repuestos genuinos STIHL se
identifican por medio del número de
pieza STIHL, el logotipo { y el
símbolo de piezas STIHL K. El
símbolo aparece solo en algunas piezas
pequeñas.
Cilindrada: 31,4 cm³ (1,92
pulg³)
Diámetro: 40 mm (1,57 pulg)
Carrera: 25 mm (0,98 pulg)
Potencia del motor
según ISO 8893:
1,05 kW (1,4 bhp)
a 7.000 r/min
Marcha en vacío: 2800 r/min
Velocidad de corte
(nominal): 10.200 r/min
Velocidad máx. de
eje de salida (acce-
sorio de corte) 7.500 r/min
Juego de las
válvulas:
Válvula de
admisión:
0,10 mm
(0,004 pulg)
Válvula de escape: 0,10 mm
(0,004 pulg)
Bujía (tipo
resistencia): Bosch USR 7 AC
Distancia entre
electrodos:
0,5 mm
(0,02 pulg)
Capacidad del
depósito de
combustible: 0,53 l (17,9 oz fl)
Seco, sin accesorio de corte y deflector
FS 110: 5,8 kg (12,8 lb)
FS 110 R 5,5 kg (12,1 lb)
sin accesorio de corte
1800 mm
(71 pulg)
R Mango tórico
Z Chispero en silenciador
Información de reparación

FS 110, FS 110 R
español / EE.UU
105
Respete todas las leyes y los
reglamentos sobre eliminación de
desechos que correspondan a su país.
No se debe botar los aparatos STIHL en
el basurero. Lleve el producto, los
accesorios y el embalaje a un vertedero
autorizado para reciclarlos y contribuir al
cuidado del medio ambiente.
Comuníquese con un concesionario de
servicio de STIHL para obtener la
información más actualizada sobre la
eliminación de desechos.
No para California
Sus derechos y obligaciones de
garantía
La Agencia de Protección del Medio
Ambiente (EPA) de los EE.UU. y STIHL
Incorporated se complacen en
explicarle la garantía del sistema de
control de emisiones instalado en el
motor de su equipo. En los EE.UU., los
nuevos motores pequeños para equipos
de uso fuera de carretera modelos 1997
y posteriores deben estar diseñados,
construidos y equipados, al tiempo de la
venta, de conformidad con los
reglamentos de la EPA de los EE.UU.
para los motores pequeños de uso fuera
de carretera. El motor del equipo debe
carecer de defectos en el material y la
fabricación que puedan causar el
incumplimiento de las normas de la EPA
de los EE.UU. durante los primeros dos
años de uso del motor a partir de la
fecha de compra por el último
comprador.
STIHL Incorporated debe garantizar el
sistema de control de emisiones en el
motor pequeño para uso fuera de
carretera por el intervalo mencionado
más arriba, siempre que dicho motor no
haya estado sujeto a maltrato,
negligencia o cuidado inapropiado.
El sistema de control de emisiones de
su máquina incluye piezas tales como el
carburador y el sistema de encendido.
Además puede incluir mangueras,
conectores y otros conjuntos asociados
con el control de emisiones.
En los casos de existir una condición
amparada bajo garantía, STIHL
Incorporated reparará el motor pequeño
para equipo de uso fuera de carretera
sin costo alguno, incluido el diagnóstico
(si el trabajo de diagnóstico fue
realizado por un concesionario
autorizado), las piezas y la mano de
obra.
Cobertura de garantía del fabricante
En los EE.UU., los motores pequeños
para equipos de uso fuera de carretera
modelos 1997 y posteriores también
están garantizados por dos años. En el
caso de encontrarse defectos en
cualquiera de las piezas del motor
relacionadas con el sistema de control
de emisiones, la pieza será reparada o
sustituida por STIHL Incorporated sin
costo alguno.
Responsabilidades del usuario relativas
a la garantía
Como propietario de motor pequeño
para equipo de uso fuera de carretera,
usted tiene la responsabilidad de
realizar el mantenimiento requerido
descrito en su manual de instrucciones.
STIHL Incorporated le recomienda
guardar todos los recibos comprobantes
de los trabajos de mantenimiento
hechos a su motor pequeño para equipo
de uso fuera de carretera, pero STIHL
Incorporated no puede negar garantía
basado en el solo hecho de faltar los
Desecho
000BA073 KN
Declaración de garantía de
STIHL Incorporated sobre
sistemas de control de
emisiones según normas
Federales
FS 110, FS 110 R
español / EE.UU
106
recibos o del incumplimiento del
propietario de realizar todos los trabajos
de mantenimiento programados.
El uso de cualquier pieza de repuesto o
servicio cuyo comportamiento y
durabilidad sean equivalentes está
permitido en trabajos de mantenimiento
o reparación no contemplados en la
garantía, y no reducirá las obligaciones
de la garantía del fabricante del motor.
Sin embargo, como propietario del
motor pequeño para equipo de uso
fuera de carretera usted debe ser
consciente de que STIHL Incorporated
puede negarle cobertura de garantía si
dicho motor o una pieza del mismo ha
fallado debido a maltrato, descuido,
mantenimiento inadecuado o
modificaciones no autorizadas.
Usted es responsable de llevar el motor
pequeño para equipo de uso fuera de
carretera a un centro de servicio STIHL
tan pronto surja el problema. Las
reparaciones bajo garantía serán
realizadas en un tiempo razonable, sin
exceder de 30 días.
Ante cualquier duda respecto a sus
derechos y responsabilidades bajo esta
garantía, sírvase contactar al
representante de atención al cliente
STIHL llamando al 1-800-467-8445, o si
lo prefiere puede escribir a
STIHL Inc.,
536 Viking Drive, P.O. Box 2015,
Virginia Beach, VA 23450-2015 EE.UU.
www.stihlusa.com
Cobertura por STIHL Incorporated
STIHL Incorporated garantiza al último
comprador y a cada comprador
subsiguiente que el motor pequeño para
equipo de uso fuera de carretera está
diseñado, construido y equipado, al
tiempo de la venta, de conformidad con
todos los reglamentos aplicables.
Además, STIHL Incorporated garantiza
al comprador inicial y a cada comprador
subsiguiente que el motor está libre de
defectos en el material y fabricación que
puedan causar el incumplimiento de los
reglamentos aplicables durante un
período de dos años.
Período de garantía
El período de garantía comienza en la
fecha en que el motor del equipo
utilitario es entregado a usted y usted
firma y remite la tarjeta de garantía a
STIHL.
Si cualquier componente relacionado
con el sistema de control de emisiones
está defectuoso, el mismo será
sustituido por STIHL Incorporated sin
costo alguno para el propietario.
Cualquier pieza garantizada cuyo
reemplazo no está programado como
mantenimiento requerido, o que debe
recibir únicamente inspección regular
en el sentido de "reparar o sustituir
según sea necesario", estará
garantizada por el período de garantía.
Cualquier pieza cuyo reemplazo está
programado como mantenimiento
requerido estará garantizada por el
intervalo hasta el primer punto de
reemplazo programado para esa pieza.
Diagnóstico
Como propietario, a usted no se le debe
cobrar la mano de obra por los
diagnósticos que determinen que una
pieza garantizada está defectuosa. No
obstante, si usted reclama garantía para
un componente y se comprueba que la
máquina no está defectuosa, STIHL
Incorporated le cobrará el costo de la
prueba del sistema de control de
emisiones. El trabajo de diagnóstico
mecánico se realiza en un centro de
servicio autorizado por STIHL. La
prueba del sistema de control de
emisiones se realiza ya sea en la fábrica
de STIHL Incorporated o en un
laboratorio de ensayos independiente.
Trabajo bajo garantía
STIHL Incorporated reparará los
defectos amparados por la garantía en
cualquier estación de garantía o centro
de servicio autorizado por STIHL. Todo
trabajo de este tipo se hará gratis para el
propietario siempre que se determine
que la pieza cubierta por la garantía está
defectuosa.
Se puede usar cualquier pieza de
repuesto aprobada por el fabricante o
equivalente en las piezas relacionadas
con el sistema de control de emisiones,
y debe ser suministrada gratis al
propietario. STIHL Incorporated es
responsable por daños a otros
componentes del motor causados por la
falla de una pieza garantizada que
todavía está bajo garantía.
La lista siguiente define
específicamente las piezas
garantizadas y relacionadas con las
emisiones:
–Filtro de aire
–Carburador (si corresponde)
–Bomba de combustible
–Estrangulador (sistema de
enriquecimiento de arranque en
frío) (si corresponde)

FS 110, FS 110 R
español / EE.UU
107
–Varillajes de control
–Múltiple de admisión
–Sistema de encendido por magneto
o electrónico (Módulo de encendido
o unidad de control electrónica)
–Volante
–Bujía
–Válvula de inyección (si
corresponde)
–Bomba de inyección (si
corresponde)
–Carcasa del acelerador (si
corresponde)
–Cilindro
–Silenciador
–Convertidor catalítico (si lo tiene)
–Tanque de combustible
–Tapa de tanque de combustible
–Línea de combustible
–Adaptadores de línea de
combustible
–Abrazaderas
–Sujetadores/pernos
Dónde presentar el reclamo para
servicio bajo garantía
Lleve el producto a cualquier centro de
servicio autorizado por STIHL y
presente la tarjeta de garantía firmada.
Requerimientos de mantenimiento
Las instrucciones presentadas en este
manual se basan en la aplicación de la
mezcla recomendada para motores de 2
tiempos (vea también la instrucción
"Combustible"). Las discrepancias de
estas recomendaciones con respecto a
la calidad y la proporción de la mezcla
de combustible y aceite pueden exigir
intervalos de mantenimiento más
cortos.
Limitaciones
Esta garantía de los sistemas de control
de emisiones no cubrirá ninguno de los
puntos siguientes:
Nreparación o sustitución requerida
debido a maltrato, negligencia o
falta del mantenimiento requerido,
Nreparaciones mal hechas o
sustituciones contrarias a las
especificaciones de STIHL
Incorporated que afecten
desfavorablemente el
funcionamiento y/o la durabilidad, y
las alteraciones o modificaciones
no recomendadas o aprobadas por
escrito por STIHL Incorporated,
y
Nla sustitución de piezas y otros
servicios y ajustes necesarios para
el mantenimiento requerido en y
después del primer punto de
reemplazo programado.
Solamente para California
Sus derechos y obligaciones de
garantía
El Consejo de Recursos del Aire del
Estado de California (CARB) y STIHL
Incorporated se complacen en
explicarle la Garantía del sistema de
control de emisiones instalado en el
motor de su equipo de uso fuera de
carretera para el año 2014 y posteriores.
En California, el equipo nuevo que tiene
motores pequeños para uso fuera de
carretera debe estar diseñado,
construido y equipado de conformidad
con las rigurosas normas de
contaminación del aire del estado.
STIHL Incorporated debe garantizar el
sistema de control de emisiones en el
motor pequeño para uso fuera de
carretera por el intervalo mencionado
más arriba, siempre que dicho motor
pequeño para uso fuera de carretera no
haya estado sujeto a maltrato,
negligencia o cuidado inapropiado.
Su sistema de control de emisiones
puede incluir piezas tales como el
carburador y el sistema de inyección de
combustible, el sistema de encendido y
el convertidor catalítico. Además puede
incluir mangueras, correas, conectores
y otros conjuntos asociados con el
control de emisiones.
Declaración de garantía de
STIHL Incorporated sobre el
control de emisiones de
gases de escape y
emisiones por evaporación
para el Estado de California
FS 110, FS 110 R
español / EE.UU
108
En los casos de existir una condición
amparada bajo garantía, STIHL
Incorporated reparará el motor pequeño
para equipo de uso fuera de carretera
sin costo alguno, incluido el diagnóstico,
las piezas y la mano de obra.
Responsabilidades del fabricante
relativas a la garantía
El sistema de control de emisiones tiene
una garantía de dos años en California.
En el caso de encontrarse defectos en
cualquiera de los componentes del
motor relacionados con el sistema de
control de emisiones, el mismo será
reparado o sustituido por STIHL
Incorporated sin costo alguno.
Responsabilidades del propietario
relativas a la garantía
Como propietario de motor pequeño
para equipo de uso fuera de carretera,
usted tiene la responsabilidad de
realizar el mantenimiento requerido
descrito en su manual de instrucciones.
STIHL Incorporated le recomienda
guardar todos los recibos comprobantes
de los trabajos de mantenimiento
hechos a su motor pequeño para equipo
de uso fuera de carretera, pero STIHL
Incorporated no puede negar garantía
basado en el solo hecho de faltar los
recibos o de su incumplimiento de
realizar todos los trabajos de
mantenimiento programados.
Sin embargo, como propietario del
motor pequeño para equipo de uso
fuera de carretera usted debe ser
consciente de que STIHL Incorporated
puede negarle cobertura de garantía si
dicho motor o un componente del mismo
ha fallado debido a maltrato, descuido,
mantenimiento inadecuado o
modificaciones no autorizadas.
Usted es responsable de llevar el motor
pequeño para equipo de uso fuera de
carretera a un concesionario de servicio
STIHL tan pronto surja el problema. Las
reparaciones bajo garantía deben
realizarse en un tiempo razonable, sin
exceder de 30 días. Ante cualquier duda
respecto a sus derechos y
responsabilidades bajo esta garantía,
sírvase contactar al representante de
atención al cliente STIHL llamando al 1-
800-467-8445, o si lo prefiere puede
escribir a
STIHL Inc., 536 Viking Drive,
P.O. Box 2015,
Virginia Beach, VA 23450-2015 EE.UU.
www.stihlusa.com
Cobertura por STIHL Incorporated
STIHL Incorporated garantiza al último
comprador y a cada comprador
subsiguiente que el motor pequeño para
equipo de uso fuera de carretera está
diseñado, construido y equipado, al
tiempo de la venta, de conformidad con
todos los reglamentos acerca de
emisiones aplicables.
Además, STIHL Incorporated garantiza
al comprador inicial y a cada comprador
subsiguiente que el motor está libre de
defectos en el material y fabricación que
puedan causar el incumplimiento de los
reglamentos acerca de emisiones
aplicables durante un período de dos
años.
Período de garantía contra defectos
Los períodos de garantía comenzarán el
día en que el motor de equipo utilitario
es comprado por el comprador inicial. Si
cualquier componente relacionado con
el sistema de control de emisiones está
defectuoso, el mismo será sustituido por
STIHL Incorporated sin costo alguno
para el propietario.
No se permite usar componentes
adicionales o modificados que no hayan
sido eximidos por el Consejo de
Recursos del Aire (CARB). El uso de
cualquier componente adicional o
modificado no eximido será motivo para
la denegación del reclamo bajo
garantía. STIHL Incorporated no es
responsable por las fallas de los
componentes garantizados causadas
por el uso de un componente adicional o
modificado no eximido.
La garantía de los componentes
relacionados con el control de
emisiones se interpretará de la manera
siguiente:
1. Cualquier componente garantizado
cuyo reemplazo no está
programado como mantenimiento
requerido en las instrucciones
escritas requeridas en la Lista de
Piezas bajo la Garantía de Control
de Emisiones (vea más abajo) debe
garantizarse por el período de
garantía definido en la subsección
COBERTURA POR STIHL
INCORPORATED, vea más arriba.
Si uno de estos componentes falla
durante el período de garantía, el
fabricante debe reparar o sustituir el
mismo de acuerdo con la
FS 110, FS 110 R
español / EE.UU
109
subsección (4) más abajo. Un
componente reparado o sustituido
bajo la garantía debe garantizarse
durante el resto del período de
garantía.
2. Cualquier componente garantizado
que solamente debe
inspeccionarse periódicamente de
acuerdo con las instrucciones
escritas requeridas en la Lista de
Piezas bajo la Garantía de Control
de Emisiones (vea más abajo) debe
garantizarse por el período de
garantía definido en la subsección
COBERTURA POR STIHL
INCORPORATED, vea más arriba.
Una declaración en las
instrucciones escritas tal como
"reparar o sustituir según sea
necesario" no acortará el período
de cobertura de garantía. Un
componente de este tipo reparado o
sustituido bajo la garantía debe
garantizarse durante el resto del
período de garantía.
3. Cualquier componente garantizado
que debe sustituirse como un
elemento de mantenimiento
requerido en las instrucciones
escritas requeridas por la lista de
piezas bajo la garantía de control de
emisiones (vea más abajo) debe
garantizarse por el intervalo antes
del primer punto de sustitución
programado para este componente.
Si el componente falla antes del
primer punto de sustitución
programado, el fabricante del motor
debe reparar o sustituir el mismo de
acuerdo con la subsección (4) más
abajo. Un componente de este tipo
reparado o sustituido bajo la
garantía debe garantizarse durante
el resto del período de garantía
antes del primer punto de
sustitución programado para el
componente.
4. La reparación o sustitución de
cualquier componente garantizado
debe llevarse a cabo en una
estación de reparaciones bajo
garantía sin costo alguno para el
propietario.
5. No obstante lo expuesto en la
subsección (4) de arriba, los
servicios o las reparaciones bajo
garantía pueden obtenerse en
todos los centros de distribución del
fabricante autorizados para dar
servicio a los motores en cuestión.
6. Al propietario no se le debe cobrar
el trabajo del diagnóstico que
establece que el componente
garantizado es de hecho
defectuoso, a condición de que tal
trabajo de diagnóstico se realice en
una estación de reparaciones bajo
garantía.
Trabajo bajo garantía
STIHL Incorporated reparará los
defectos amparados por la garantía en
cualquier estación de garantía o centro
de servicio autorizado por STIHL. Todo
trabajo de este tipo se hará gratis para el
propietario siempre que se determine
que la pieza cubierta por la garantía está
defectuosa. Se puede usar cualquier
pieza de repuesto aprobada por el
fabricante o equivalente para el
mantenimiento o la reparación de los
componentes relacionados con el
sistema de control de emisiones, y la
misma debe ser suministrada gratis al
propietario. STIHL Incorporated es
responsable por daños a otros
componentes del motor causados por la
falla de una pieza garantizada que
todavía está bajo garantía.
Lista de piezas bajo la garantía de
emisiones
Filtro de aire, carburador (si
corresponde), bomba de combustible,
estrangulador (sistema de
enriquecimiento para arranque en frío)
(si corresponde), varillajes de control,
múltiple de admisión, sistema de
encendido por magneto o electrónico
(Módulo de encendido o unidad de
control electrónica), volante, bujía,
válvula de inyección (si corresponde),
bomba de inyección (si corresponde),
carcasa del acelerador (si corresponde),
cilindro, silenciador, convertidor
catalítico (si corresponde), tanque de
combustible, tapa de combustible,
tubería de combustible, adaptadores de
tubería de combustible, abrazaderas,
fijaciones.
Dónde presentar el reclamo para
servicio bajo garantía
Lleve el producto de STIHL a cualquier
concesionario de servicio autorizado por
STIHL y presente la tarjeta de registro
de producto STIHL firmado o la copia
impresa del registro electrónico del
producto.
Limitaciones
La reparación o la sustitución de
cualquier componente garantizado y
normalmente abarcado por la garantía
se puede excluir de la garantía si STIHL
Incorporated demuestra el maltrato,
negligencia o mantenimiento incorrecto

FS 110, FS 110 R
español / EE.UU
110
del producto de STIHL, y que tal
maltrato, negligencia, o mantenimiento
incorrecto era la causa directa de la
necesidad de reparación o sustitución
del componente. A pesar de lo anterior,
el ajuste de un componente que tiene un
dispositivo limitador instalado en fábrica
y funcionando correctamente no
perjudicará la cobertura bajo garantía.
Marcas registradas de STIHL
STIHL®
{
K
La combinación de colores anaranjado-
gris (Números de registro EE.UU.
2,821,860; 3,010,057, 3,010,058,
3,400,477; y 3,400,476)
AutoCut®
EASYSTART®
FARM BOSS®
iCademy®
MAGNUM®
MasterWrench Service®
MotoMix®
OILOMATIC®
Rock Boss®
STIHL Cutquik®
STIHL DUROMATIC®
STIHL Quickstop®
STIHL ROLLOMATIC®
STIHL WOOD BOSS®
TIMBERSPORTS®
WOOD BOSS®
YARD BOSS®
Algunos de las marcas comerciales de
STIHL por ley común
4-MIX ™
BioPlus ™
Easy2Start ™
EasySpool ™
ElastoStart ™
Ematic ™
FixCut ™
HT Plus ™
IntelliCarb ™
Master Control Lever ™
Micro ™
Pro Mark ™
Marcas comerciales
TM
STIHL
Injection
FS 110, FS 110 R
español / EE.UU
111
Quad Power ™
Quiet Line ™
STIHL Arctic ™
STIHL Compact ™
STIHL HomeScaper Series ™
STIHL Interchangeable Attachment
Series ™
STIHL M-Tronic ™
STIHL MiniBoss ™
STIHL MotoPlus 4 ™
STIHL Multi-Cut HomeScaper Series ™
Stihl Outfitters ™
STIHL PICCO ™
STIHL PolyCut ™
STIHL PowerSweep ™
STIHL Precision Series ™
STIHL Protech ™
STIHL RAPID ™
STIHL SuperCut ™
STIHL Territory ™
TapAction ™
TrimCut ™
Esta lista de marcas comerciales está
sujeta a cambios.
Queda terminantemente prohibido todo
uso de estas marcas comerciales sin el
consentimiento expreso por escrito de
ANDREAS STIHL AG & Co. KG,
Waiblingen.
FS 110, FS 110 R
español / EE.UU
112

www.stihl.com *04582548621D*
0458-254-8621-D
0458-254-8621-D
englisch / spanisch USA
U
WARNING
The engine exhaust from this product
contains chemicals known to the State
of California to cause cancer, birth
defects or other reproductive harm.
ADVERTENCIA
El gas de escape del motor de esta máquina
contiene productos químicos que en el estado de
California son considerados como causantes de
cáncer, defectos de nacimiento u otros efectos
nocivos para los órganos de la reproducción.
englisch / spanisch USA
U