Stihl Fs 80 85 Instruction Manual 80,
2014-12-11
: Stihl Stihl-Fs-80-Fs-85-Instruction-Manual-121509 stihl-fs-80-fs-85-instruction-manual-121509 stihl pdf
Open the PDF directly: View PDF
.
Page Count: 122 [warning: Documents this large are best viewed by clicking the View PDF Link!]
- BA_SE_039_010_30_13.pdf
- Contents
- Guide to Using this Manual
- Safety Precautions and Working Techniques
- Approved Combinations of Cutting Tool, Deflector, Handle and Harness
- Approved Power Tool Attachments
- Mounting the Bike Handle
- Adjusting the Throttle Cable
- Mounting the Loop Handle
- Fitting the Carrying Eye*
- Mounting the Deflector
- Mounting the Cutting Tools
- Fuel
- Fueling
- Fitting the Harness
- Balancing the Brushcutter
- Starting / Stopping the Engine
- Operating Instructions
- Cleaning the Air Filter
- Motor Management
- Adjusting the Carburetor
- Spark Arresting Screen* in Muffler
- Checking the Spark Plug
- Lubricating the Gearbox
- Replacing the Starter Rope and Rewind Spring
- Storing the Machine
- Sharpening Metal Cutting Tools
- Maintenance Chart
- Parts and Controls
- Specifications
- Special Accessories
- Maintenance and Repairs
- STIHL Incorporated Federal and California Emission Control Warranty Statement
- BA_SE_039_010_31_13.pdf
- Contenido
- Guía para el uso de este manual
- Medidas de seguridad y técnicas de manejo
- Combinaciones aprobadas de herramienta de corte, deflector, mango y arnés
- Accesorios de herramientas motorizadas aprobados
- Montaje del manillar
- Ajuste del cable del acelerador
- Montaje del mango tórico
- Colocación de la argolla de transporte*
- Montaje del deflector
- Montaje de las herramientas de corte
- Combustible
- Llenado de combustible
- Colocación del arnés
- Equilibrio de la cortadora de matorrales
- Arranque / parada del motor
- Instrucciones de manejo
- Limpieza del filtro de aire
- Manejo del motor
- Ajuste del carburador
- Chispero* en silenciador
- Revisión de la bujía
- Lubricación de la caja de engranajes
- Sustitución de la cuerda de arranque y resorte de rebobinado
- Almacenamiento de la máquina
- Afilado de las herramientas de corte metálicas
- Tabla de mantenimiento
- Piezas y controles
- Especificaciones
- Accesorios especiales
- Mantenimiento y reparaciones
- Declaración de garantía de STIHL Incorporated sobre sistemas de control de emisiones según normas...
- BA_SE_039_010_01_16.pdf
- Contents
- Guide to Using this Manual
- Safety Precautions and Working Techniques
- Approved Combinations of Cutting Tool, Deflector, Handle and Harness
- Approved Power Tool Attachments
- Mounting the Bike Handle
- Adjusting the Throttle Cable
- Mounting the Loop Handle
- Fitting the Carrying Eye*
- Mounting the Deflector
- Mounting the Cutting Tools
- Fuel
- Fueling
- Fitting the Harness
- Balancing the Brushcutter
- Starting / Stopping the Engine
- Operating Instructions
- Cleaning the Air Filter
- Motor Management
- Adjusting the Carburetor
- Spark Arresting Screen* in Muffler
- Checking the Spark Plug
- Lubricating the Gearbox
- Replacing the Starter Rope and Rewind Spring
- Storing the Machine
- Sharpening Metal Cutting Tools
- Maintenance Chart
- Parts and Controls
- Specifications
- Special Accessories
- Maintenance and Repairs
- Not for California: STIHL Incorporated Federal Emission Control Warranty Statement
- For California only: STIHL Incorporated California Exhaust and Evaporative Emissions Control Warr...
- Trademarks
- BA_SE_039_010_31_16.pdf
- Contenido
- Guía para el uso de este manual
- Medidas de seguridad y técnicas de manejo
- Combinaciones aprobadas de herramienta de corte, deflector, mango y arnés
- Accesorios de herramientas motorizadas aprobados
- Montaje del manillar
- Ajuste del cable del acelerador
- Montaje del mango tórico
- Colocación de la argolla de transporte*
- Montaje del deflector
- Montaje de las herramientas de corte
- Combustible
- Llenado de combustible
- Colocación del arnés
- Equilibrio de la cortadora de matorrales
- Arranque / parada del motor
- Instrucciones de manejo
- Limpieza del filtro de aire
- Manejo del motor
- Ajuste del carburador
- Chispero* en silenciador
- Revisión de la bujía
- Lubricación de la caja de engranajes
- Sustitución de la cuerda de arranque y resorte de rebobinado
- Almacenamiento de la máquina
- Afilado de las herramientas de corte metálicas
- Tabla de mantenimiento
- Piezas y controles
- Especificaciones
- Accesorios especiales
- Mantenimiento y reparaciones
- No para California: Declaración de garantía de STIHL Incorporated sobre sistemas de control de em...
- Solamente para California: Declaración de garantía de STIHL Incorporated sobre el control de emis...
- Marcas comerciales
- BA_SE_039_010_01_16.pdf
- Contents
- Guide to Using this Manual
- Safety Precautions and Working Techniques
- Approved Combinations of Cutting Tool, Deflector, Handle and Harness
- Approved Power Tool Attachments
- Mounting the Bike Handle
- Adjusting the Throttle Cable
- Mounting the Loop Handle
- Fitting the Carrying Eye*
- Mounting the Deflector
- Mounting the Cutting Tools
- Fuel
- Fueling
- Fitting the Harness
- Balancing the Brushcutter
- Starting / Stopping the Engine
- Operating Instructions
- Cleaning the Air Filter
- Motor Management
- Adjusting the Carburetor
- Spark Arresting Screen* in Muffler
- Checking the Spark Plug
- Lubricating the Gearbox
- Replacing the Starter Rope and Rewind Spring
- Storing the Machine
- Sharpening Metal Cutting Tools
- Maintenance Chart
- Parts and Controls
- Specifications
- Special Accessories
- Maintenance and Repairs
- Not for California: STIHL Incorporated Federal Emission Control Warranty Statement
- For California only: STIHL Incorporated California Exhaust and Evaporative Emissions Control Warr...
- Trademarks
- BA_SE_039_010_31_16.pdf
- Contenido
- Guía para el uso de este manual
- Medidas de seguridad y técnicas de manejo
- Combinaciones aprobadas de herramienta de corte, deflector, mango y arnés
- Accesorios de herramientas motorizadas aprobados
- Montaje del manillar
- Ajuste del cable del acelerador
- Montaje del mango tórico
- Colocación de la argolla de transporte*
- Montaje del deflector
- Montaje de las herramientas de corte
- Combustible
- Llenado de combustible
- Colocación del arnés
- Equilibrio de la cortadora de matorrales
- Arranque / parada del motor
- Instrucciones de manejo
- Limpieza del filtro de aire
- Manejo del motor
- Ajuste del carburador
- Chispero* en silenciador
- Revisión de la bujía
- Lubricación de la caja de engranajes
- Sustitución de la cuerda de arranque y resorte de rebobinado
- Almacenamiento de la máquina
- Afilado de las herramientas de corte metálicas
- Tabla de mantenimiento
- Piezas y controles
- Especificaciones
- Accesorios especiales
- Mantenimiento y reparaciones
- No para California: Declaración de garantía de STIHL Incorporated sobre sistemas de control de em...
- Solamente para California: Declaración de garantía de STIHL Incorporated sobre el control de emis...
- Marcas comerciales
- BA_SE_039_010_01_17.pdf
- Contents
- Guide to Using this Manual
- Safety Precautions and Working Techniques
- Approved Combinations of Cutting Tool, Deflector, Handle and Harness
- Approved Power Tool Attachments
- Mounting the Bike Handle
- Adjusting the Throttle Cable
- Mounting the Loop Handle
- Fitting the Carrying Eye
- Mounting the Deflector
- Mounting the Cutting Tools
- Fuel
- Fueling
- Fitting the Harness
- Balancing the Brushcutter
- Starting / Stopping the Engine
- Operating Instructions
- Cleaning the Air Filter
- Motor Management
- Adjusting the Carburetor
- Spark Arresting Screen* in Muffler
- Checking the Spark Plug
- Lubricating the Gearbox
- Replacing the Starter Rope and Rewind Spring
- Storing the Machine
- Sharpening Metal Cutting Tools
- Maintenance Chart
- Parts and Controls
- Specifications
- Special Accessories
- Maintenance and Repairs
- STIHL Incorporated Federal Emission Control Warranty Statement
- STIHL Incorporated California Exhaust and Evaporative Emissions Control Warranty Statement
- Trademarks
- BA_SE_039_010_31_17.pdf
- Contenido
- Guía para el uso de este manual
- Medidas de seguridad y técnicas de manejo
- Combinaciones aprobadas de herramienta de corte, deflector, mango y arnés
- Accesorios de herramientas motorizadas aprobados
- Montaje del manillar
- Ajuste del cable del acelerador
- Montaje del mango tórico
- Colocación de la argolla de transporte*
- Montaje del deflector
- Montaje de las herramientas de corte
- Combustible
- Llenado de combustible
- Colocación del arnés
- Equilibrio de la cortadora de matorrales
- Arranque / parada del motor
- Instrucciones de manejo
- Limpieza del filtro de aire
- Manejo del motor
- Ajuste del carburador
- Chispero* en silenciador
- Revisión de la bujía
- Lubricación de la caja de engranajes
- Sustitución de la cuerda de arranque y resorte de rebobinado
- Almacenamiento de la máquina
- Afilado de las herramientas de corte metálicas
- Tabla de mantenimiento
- Piezas y controles
- Especificaciones
- Accesorios especiales
- Mantenimiento y reparaciones
- Declaración de garantía de STIHL Incorporated sobre sistemas de control de emisiones según normas...
- Declaración de garantía de STIHL Incorporated sobre el control de emisiones de gases de escape y ...
- Marcas comerciales

Instruction Manual
Manual de instrucciones
STIH)
STIHL FS 80, 85
BA_FS80_30_U_K4.book Seite 0 Freitag, 8. Oktober 2004 10:59 10
Warning!
Read and follow all safety precautions in
Instruction Manual – improper use can cause
serious or fatal injury.
Advertencia!
Lea y siga todas las precauciones de
seguridad dadas en el manual de
instrucciones – el uso incorrecto puede
causar lesiones graves o mortales.
1FS 80, FS 80 R, FS 85, FS 85 R
English / USA
BA_SE_039_010_01_19.fmPrinted on chlorine-free paper.
Printing inks contain vegetable oils; paper can be recycled.
© ANDREAS STIHL AG & Co. KG, 2008
0458 393 8621. M10. D8. CP. Printed in USA
STIHl
Contents
Guide to Using this Manual .............. 2
Safety Precautions and
Working Techniques ......................... 3
Approved Combinations of
Cutting Tool, Deflector,
Handle and Harness ....................... 20
Approved Power
Tool Attachments ............................ 22
Mounting the Bike Handle .............. 22
Adjusting the Throttle Cable ........... 24
Mounting the Loop Handle ............. 24
Fitting the Carrying Eye .................. 26
Mounting the Deflector ................... 26
Mounting the Cutting Tools ............. 27
Fuel ................................................ 31
Fueling ............................................ 32
Fitting the Harness ......................... 33
Balancing the Brushcutter .............. 33
Starting / Stopping
the Engine ...................................... 35
Operating Instructions .................... 38
Cleaning the Air Filter ..................... 38
Motor Management ........................ 39
Adjusting the Carburetor ................ 39
Spark Arresting Screen
in Muffler ........................................ 41
Checking the Spark Plug ................ 41
Lubricating the Gearbox ................. 42
Replacing the Starter Rope
and Rewind Spring ......................... 42
Storing the Machine ....................... 45
Sharpening
Metal Cutting Tools ......................... 45
Maintenance Chart ......................... 47
Parts and Controls ......................... 49
Specifications ................................. 51
Special Accessories ....................... 52
Maintenance and Repairs .............. 53
STIHL Incorporated
Federal Emission Control
Warranty Statement ........................ 54
STIHL Incorporated
California Exhaust and
Evaporative Emissions Control
Warranty Statement ........................ 56
Trademarks .................................... 58
Allow only persons who understand this
manual to operate your trimmer/
brushcutter.
To receive maximum performance and
satisfaction from your STIHL trimmer/
brushcutter, it is important that you read
and understand the maintenance and
safety precautions, starting on page 3,
before using your trimmer/brushcutter.
Contact your STIHL dealer or the STIHL
distributor for your area if you do not
understand any of the instructions in this
manual.
!Warning!
Because a trimmer/brushcutter is a high-
speed cutting tool some special safety
precautions must be observed to reduce
the risk of personal injury.
Careless or improper use may cause
serious or even fatal injury. Make sure
your unit is equipped with the proper
deflector, handle and harness for the
type of cutting attachment being used.
Always wear proper eye protection.
STIHL's philosophy is to continually
improve all of its products. As a result,
engineering changes and improve-
ments are made from time to time. If the
operating characteristics or the appear-
ance of your trimmer/brushcutter differs
from those described in this manual,
please contact your STIHL dealer for
information and assistance.

2
English / USA
FS 80, FS 80 R, FS 85, FS 85 R
Pictograms
All the pictograms attached to the
machine are shown and explained in
this manual.
The operating and handling instructions
are supported by illustrations.
Symbols in text
The individual steps or procedures
described in the manual may be marked
in different ways:
:A bullet marks a step or procedure
without direct reference to an
illustration.
A description of a step or procedure that
refers directly to an illustration may
contain item numbers that appear in the
illustration.
Example:
Loosen the screw (1)
Lever (2) ...
In addition to the operating instructions,
this manual may contain paragraphs
that require your special attention. Such
paragraphs are marked with the
symbols described below:
Warning where there is a risk of an
accident or personal injury or
serious damage to property.
Caution where there is a risk of
damaging the machine or its
individual components.
Note or hint which is not essential
for using the machine, but may
improve the operator’s under-
standing of the situation and result
in better use of the machine.
Note or hint on correct procedure in
order to avoid damage to the
environment.
Equipment and features
This instruction manual may refer to
several models with different
features. Components that are not
installed on all models and related
applications are marked with an
asterisk (*). Such components may
be available as special accessories
from your STIHL dealer.
Engineering improvements
STIHL’s philosophy is to continually
improve all of its products. As a result,
engineering changes and improvements
are made from time to time. If the
operating characteristics or the
appearance of your machine differ from
those described in this manual, please
contact your STIHL dealer for
assistance.
Therefore some changes, modifications
and improvements may not be covered
in this manual.
Guide to Using this Manual

3FS 80, FS 80 R, FS 85, FS 85 R
English / USA
Because a trimmer/
brushcutter is a high-
speed, fast-cutting power
tool sometimes equipped
with sharp cutting blades,
special safety precautions
must be observed to reduce the risk of
personal injury.
It is important that you
read, fully understand and
observe the following
safety precautions and
warnings. Read the
instruction manual and
the safety precautions periodically.
Careless or improper use may cause
serious or fatal injury.
The terminology utilized in this manual
when referring to the power tool reflects
the fact that different types of cutting
attachments may be mounted on it. The
term "trimmer" is used to designate an
FS unit that is equipped with a nylon line
head or a head with flexible plastic
blades (i.e., the PolyCut head). A
"brushcutter" designates a unit
equipped with a rigid metal blade. Many
FS models may be used as either a
trimmer or a brushcutter - therefore, the
power tool is referred in this manual as a
"trimmer/brushcutter." Some smaller
and/or lightweight FS models may only
be used as a trimmer, i.e., they may not
be used with metal blades.
The term "clearing saw" indicates a
high-powered trimmer/brushcutter that
is particularly suited for use with a
circular saw blade to clear saplings or
small trees. FS models with an "R" on
the nameplate were originally
configured (at the time of distribution) as
a trimmer with a loop handle.
!Warning
As more fully explained later in these
Safety Precautions, to reduce the risk of
personal injury, make sure your unit is
equipped with the proper handle,
harness and deflector for the type of
cutting attachment you are using. Use
only cutting attachments that are
specifically authorized by STIHL for use
on your FS model.
Have your STIHL dealer show you how
to operate your power tool. Observe all
applicable local safety regulations,
standards and ordinances.
!Warning!
Do not lend or rent your power tool
without the instruction manual. Be sure
that anyone using it understands the
information contained in this manual.
!Warning!
The use of this machine may be
hazardous. If the rotating line or blade
comes in contact with your body, it will
cut you. When it comes in contact with
solid foreign objects such as rocks or
bits of metal, it may fling them directly or
by ricochet in the direction of bystanders
or the operator. Striking such objects
could damage the cutting attachment
and may cause blades to crack, chip or
break. Thrown objects, including broken
heads or blades, may result in serious or
fatal injury to the operator or bystanders.
STIHL does not recommend the use of
rigid blades when cutting in stony areas.
Use your trimmer/brushcutter equipped
with the appropriate cutting attachment
only for cutting grass, brush, wood and
similar material. It must not be used for
any other purposes, since such misuse
may result in an accident or damage to
the machine.
!Warning!
Minors should never be allowed to use
this power tool. Bystanders, especially
children, and animals should not be
allowed in the area where it is in use.
Safety Precautions and
Working Techniques
4
English / USA
FS 80, FS 80 R, FS 85, FS 85 R
!Warning!
To reduce the risk of injury to bystanders
and damage to property, never let your
power tool run unattended. When it is
not in use (e.g. during a work break),
shut it off and make sure that
unauthorized persons do not use it.
Most of these safety precautions and
warnings apply to the use of all STIHL
trimmer/brushcutters. Different models
may have different parts and controls.
See the appropriate section of your
instruction manual for a description of
the controls and the function of the parts
of your model.
Safe use of a trimmer/brushcutter
involves
1. the operator
2. the power tool
3. the use of the power tool.
THE OPERATOR
Physical Condition
You must be in good physical condition
and mental health and not under the
influence of any substance (drugs,
alcohol, etc.) which might impair vision,
dexterity or judgment. Do not operate
this machine when you are fatigued.
!Warning!
Be alert – if you get tired, take a break.
Tiredness may result in loss of control.
Working with any power tool can be
strenuous. If you have any condition that
might be aggravated by strenuous work,
check with your doctor before operating
this machine.
!Warning!
Prolonged use of a power tool (or other
machines) exposing the operator to
vibrations may produce whitefinger
disease (Raynaud's phenomenon) or
carpal tunnel syndrome.
These conditions reduce the hand's
ability to feel and regulate temperature,
produce numbness and burning
sensations and may cause nerve and
circulation damage and tissue necrosis.
All factors which contribute to white-
finger disease are not known, but cold
weather, smoking and diseases or
physical conditions that affect blood
vessels and blood transport, as well as
high vibration levels and long periods of
exposure to vibration are mentioned as
factors in the development of whitefinger
disease. In order to reduce the risk of
whitefinger disease and carpal tunnel
syndrome, please note the following:
Most STIHL power tools are available
with an anti-vibration (“AV”) system
designed to reduce the transmission of
vibrations created by the machine to the
operator's hands. An AV system is
recommended for those persons using
power tools on a regular or sustained
basis.

5FS 80, FS 80 R, FS 85, FS 85 R
English / USA
Keep the AV system well maintained. A
power tool with loose components or
with damaged or worn AV buffers will
tend to have higher vibration levels.
Maintain a firm grip at all times, but do
not squeeze the handles with constant,
excessive pressure. Wear gloves and
keep your hands warm. Take frequent
breaks.
All the above-mentioned precautions do
not guarantee that you will not sustain
whitefinger disease or carpal tunnel
syndrome. Therefore, continual and
regular users should closely monitor the
condition of their hands and fingers. If
any of the above symptoms appear,
seek medical advice immediately.
!Warning!
The ignition system of the STIHL unit
produces an electromagnetic field of a
very low intensity. This field may
interfere with some pacemakers. To
reduce the risk of serious or fatal injury,
persons with a pacemaker should
consult their physician and the
pacemaker manufacturer before
operating this tool.
Proper Clothing
!Warning!
To reduce the risk of injury, the operator
should wear proper protective apparel.
The deflector provided with your power
tool will not protect the operator from all
foreign objects (gravel, glass, wire, etc.)
thrown back by the rotating cutting
attachment. Thrown objects may also
ricochet and strike the operator.
!Warning!
To reduce the risk of injury
to your eyes never
operate your power tool
unless wearing goggles or
properly fitted protective
glasses with adequate top
and side protection complying with ANSI
Z 87.1 (or your applicable national
standard). To reduce the risk of injury to
your face STIHL recommends that you
also wear a face shield or face screen
over your goggles or protective glasses.
!Warning!
Power tool noise may
damage your hearing.
Wear sound barriers (ear
plugs or ear mufflers) to
protect your hearing.
Continual and regular
users should have their hearing checked
regularly.
Be particularly alert and cautious when
wearing hearing protection because
your ability to hear warnings (shouts,
alarms, etc.) is restricted.
Always wear gloves when
handling the machine and
metal blades. Heavy-duty,
nonslip gloves improve
your grip and help to
protect your hands.
Clothing must be sturdy
and snug-fitting, but allow
complete freedom of
movement. Wear long
pants made of heavy
material to help protect
your legs. Do not wear
shorts, sandals or go
barefoot.

6
English / USA
FS 80, FS 80 R, FS 85, FS 85 R
Avoid loose-fitting jackets,
scarfs, neckties, jewelry,
flared or cuffed pants,
unconfined long hair or
anything that could
become caught on
branches, brush or the moving parts of
the unit. Secure hair so it is above
shoulder level.
Good footing is very
important. Wear sturdy
boots with nonslip soles.
Steel-toed safety boots
are recommended.
Wear an approved safety
hard hat to reduce the risk
of injury to your head
when there is a danger of
head injuries.
THE POWER TOOL
For illustrations and definitions of the
power tool parts see the chapter on
“Main Parts and Controls.”
!Warning!
Never modify this power tool in any way.
Only attachments supplied by STIHL
and expressly approved by STIHL for
use with the specific STIHL model are
authorized. Although certain
unauthorized attachments are useable
with STIHL power tools, their use may, in
fact, be extremely dangerous. For the
cutting attachments authorized by
STIHL for your unit, see the chapter
“Approved Combinations of Cutting
Attachment, Deflector, Handle and
Harness“ in the instruction manual or the
STIHL “Power Tools and Accessories“
catalog.
If this tool is subjected to unusually high
loads for which it was not designed (e.g.
heavy impact or a fall), always check
that it is in good condition before
continuing work. Check in particular that
the fuel system is tight (no leaks) and
that the controls and safety devices are
working properly. Do not continue
operating this machine if it is damaged.
In case of doubt, have it checked by your
STIHL servicing dealer.
THE USE OF THE POWER TOOL
Transporting the Power Tool
!Warning!
To reduce the risk of injury from loss of
control and blade or line contact, never
carry or transport your power tool with
the cutting attachment moving.
It may be carried only in a horizontal
position. Grip the shaft in a manner that
the machine is balanced horizontally.
Keep the hot muffler away from your
body and the cutting attachment behind
you.
389BA019 KN

7FS 80, FS 80 R, FS 85, FS 85 R
English / USA
!Warning!
Always shut off the engine and make
sure the cutting attachment has stopped
before putting a trimmer/brushcutter
down. When transporting it in a vehicle,
properly secure it to prevent turnover,
fuel spillage and damage to the unit.
STIHL recommends that you keep metal
blades covered with the transport guard
(optional accessory).
Fuel
Your STIHL power tool uses an oil-
gasoline mixture for fuel (see the chap-
ter on “Fuel” of your instruction manual).
!Warning!
Gasoline is an extremely
flammable fuel. If spilled
and ignited by a spark or
other ignition source, it
can cause fire and serious
burn injury or property
damage. Use extreme caution when
handling gasoline or fuel mix. Do not
smoke or bring any fire or flame near the
fuel or the power tool. Note that
combustible fuel vapor may escape from
the fuel system.
Fueling Instructions
!Warning!
Fuel your power tool in well-ventilated
areas, outdoors. Always shut off the
engine and allow it to cool before
refueling. Gasoline vapor pressure may
build up inside the fuel tank depending
on the fuel used, the weather conditions
and the tank venting system.
In order to reduce the risk of burns and
other personal injury from escaping gas
vapor, remove the fuel filler cap on your
power tool carefully so as to allow any
pressure build-up in the tank to release
slowly. Never remove the fuel filler cap
while the engine is running.
Select bare ground for fueling and move
at least 10 feet (3 m) from the fueling
spot before starting the engine. Wipe off
any spilled fuel before starting your
machine.
!Warning!
Check for fuel leakage while refueling
and during operation. If fuel leakage is
found, do not start or run the engine until
the leak is fixed and any spilled fuel has
been wiped away. Take care not to get
fuel on your clothing. If this happens,
change your clothing immediately.
Different models may be equipped with
different fuel caps.
Cap with grip
!Warning!
In order to reduce the risk of fuel spillage
and fire from an improperly tightened
fuel cap, correctly position and tighten
the fuel cap in the fuel tank opening.
To do this with this STIHL
cap, raise the grip on the
top of the cap until it is
upright at a 90° angle.
Insert the cap in the fuel
tank opening with the
triangular marks on the grip of the cap
and on the fuel tank opening lining up.
Using the grip, turn the cap firmly
clockwise as far as it will go (approx. a
quarter turn).
Fold the grip flush with the
top of the cap. If the grip
does not lie completely
flush with the cap and the
detent on the grip does
not fit in the
corresponding recess in the filler neck,
the cap is not properly seated and
tightened and you must repeat the
above steps.

8
English / USA
FS 80, FS 80 R, FS 85, FS 85 R
Screw cap
!Warning!
Unit vibrations can cause
an improperly tightened
fuel filler cap to loosen or
come off and spill
quantities of fuel. In order
to reduce the risk of fuel
spillage and fire, tighten the fuel filler cap
by hand as securely as possible.
Before Starting
!Warning!
Always check your power tool for proper
condition and operation before starting,
particularly the throttle trigger, throttle
trigger interlock, stop switch, cutting
attachment, deflector and harness. The
throttle trigger must move freely and
always spring back to the idle position.
Never attempt to modify the controls or
safety devices. Never use a power tool
that is damaged or not properly
maintained.
!Warning!
Do not attach any cutting attachment to
a unit without proper installation of all
required parts. Failure to use the proper
parts may cause the blade or head to fly
off and seriously injure the operator or
bystanders.
!Warning!
The cutting attachment must be properly
tightened and in safe operating
condition. Inspect for loose parts (nuts,
screws, etc.) and for cracked or
damaged heads or cracked, bent,
warped or damaged blades. Replace
damaged heads or blades before using
the power tool. Always keep blades
sharp.
Keep the handles clean and dry at all
times; it is particularly important to keep
them free of moisture, pitch, oil, grease
or resin in order for you to maintain a firm
grip and properly control your power
tool.
!Warning!
Check that the spark plug boot is
securely mounted on the spark plug – a
loose boot may cause arcing that could
ignite combustible fumes and cause a
fire.
! Warning!
To reduce the risk
of personal injury
to the operator
from blade or line
contact and
thrown objects, make sure your unit is
equipped with the proper deflector,
handle and harness for the type of
cutting attachment being used (see
chart in the chapter on "Approved
Combinations of Cutting Attachment,
Deflector, Handle and Harness").
As can be seen in that chart, some
cutting attachments may require you to
change your deflector, handle and/or
harness.
Keep the deflector (and the attached
skirt where appropriate) adjusted
properly at all times (see chapters on
"Mounting the Deflector" and "Mounting
the Cutting Attachments" of your
instruction manual).

9FS 80, FS 80 R, FS 85, FS 85 R
English / USA
.
Arrows on the deflector (A) and limit stop
(B) (as seen from the underside) show
the correct direction of rotation of the
cutting attachment. When viewed from
above, however, the cutting attachment
rotates counterclockwise.
Adjust carrying harness and hand grip to
suit your size before starting work. The
machine should be properly balanced as
specified in your instruction manual for
proper control and less fatigue in
operation. To be better prepared in case
of an emergency, practice releasing the
unit from the harness as quickly as
possible.
Starting
Start the engine at least 10 feet
(3 meters) from the fueling spot,
outdoors only.
For specific starting instructions, see the
appropriate section of your manual.
Place the power tool on firm ground or
other solid surface in an open area.
Maintain good balance and secure
footing.
!Warning!
To reduce the risk of injury from blade or
line contact, be absolutely sure that the
cutting attachment is clear of you and all
other obstructions and objects, including
the ground, because when the engine
starts at starting-throttle, engine speed
will be fast enough for the clutch to
engage and move the cutting
attachment.
Once the engine has started,
immediately blip the throttle trigger,
which should release the starting throttle
and allow the engine to slow down to
idle.
With the engine running only at idle,
attach the power tool to the spring hook
of your harness (see appropriate
chapter of this manual).
!Warning!
Your power tool is a one-person
machine. Do not allow other persons in
the general work area, even when
starting.
!Warning!
To reduce the risk of injury from loss of
control, do not attempt to “drop start”
your power tool.
!Warning!
When you pull the starter grip, do not
wrap the starter rope around your hand.
Do not let the grip snap back, but guide
the starter rope to rewind it properly.
Failure to follow this procedure may
result in injury to your hand or fingers
and may damage the starter
mechanism.
Important Adjustments
!Warning!
To reduce the risk of personal injury from
loss of control or contact with the
running cutting attachment, do not use
your unit with incorrect idle adjustment.
At correct idle speed, the cutting
attachment should not move. For
directions on how to adjust idle speed,
see the appropriate section of your
instruction manual.
If you cannot set the correct idle speed,
have your STIHL dealer check your
power tool and make proper
adjustments and repairs.
A
000BA006 KN
B
000BA007 KN

10
English / USA
FS 80, FS 80 R, FS 85, FS 85 R
During Operation
Holding and controlling the power
tool
Always hold the unit firmly with both
hands on the handles while you are
working. Wrap your fingers and thumbs
around the handles.
!Warning!
Never attempt to operate
your power tool with one
hand. Loss of control of
the power tool resulting in
serious or fatal injury may
result. To reduce the risk
of cut injuries, keep hands and feet away
from the cutting attachment. Never
touch a moving cutting attachment with
your hand or any other part of your body.
!Warning!
Do not overreach. Keep proper footing
and balance at all times. Special care
must be taken in slippery conditions (wet
ground, snow) and in difficult, overgrown
terrain. Watch for hidden obstacles such
as tree stumps, roots and ditches to
avoid stumbling. For better footing, clear
away scrub and cuttings. Be extremely
cautious when working on slopes or
uneven ground.
!Warning
To reduce the risk of injury from loss of
control, never work on a ladder or on any
other insecure support. Never hold the
cutting attachment above waist height.
Working conditions
Operate and start your power tool only
outdoors in a well ventilated area.
Operate it under good visibility and
daylight conditions only. Work carefully.
!Warning!
As soon as the engine is
running, this product
generates toxic exhaust
fumes containing
chemicals such as
unburned hydrocarbons
(including benzene) and carbon
monoxide that are known to cause
respiratory problems, cancer, birth
defects, or other reproductive harm.
Some of the gases (e.g. carbon
monoxide) may be colorless and
odorless. To reduce the risk of serious or
fatal injury/illness from inhaling toxic
fumes, never run the machine indoors or
in poorly ventilated locations.
!Warning!
If the vegetation being cut or the
surrounding ground is coated with a
chemical substance (such as an active
pesticide or herbicide), read and follow
the instructions and warnings that
accompanied the substance at issue.
002BA055 KN
002BA054 KN

11FS 80, FS 80 R, FS 85, FS 85 R
English / USA
!Warning!
Inhalation of certain dusts, especially
organic dusts such as mold or pollen,
can cause susceptible persons to have
an allergic or asthmatic reaction.
Substantial or repeated inhalation of
dust and other airborne contaminants, in
particular those with a smaller particle
size, may cause respiratory or other
illnesses. Control dust at the source
where possible. Use good work
practices, such as operating the unit so
that the wind or operating process
directs any dust raised by the power tool
away from the operator. Follow the
recommendations of EPA/OSHA/
NIOSH and occupational and trade
associations with respect to dust
(“particulate matter”). When the
inhalation of dust cannot be substantially
controlled, i.e., kept at or near the
ambient (background) level, the
operator and any bystanders should
wear a respirator approved by NIOSH/
MSHA for the type of dust encountered.
Operating instructions
!Warning!
Do not operate your power tool using the
starting throttle lock, as you do not have
control of the engine speed.
In the event of an emergency, shut off
the engine immediately – move the slide
control / stop switch to 0 or STOP.
!Warning!
The cutting attachment
continues to rotate for a
short period after the
throttle trigger is released
(flywheel effect).
!Warning!
The rotating cutting attachment may
fling foreign objects directly or by
ricochet a great distance.
To reduce the risk of eye and other injury
always wear proper eye protection (see
the chapter on “Proper Clothing“) and
ensure that bystanders are at least 50
feet (15 m) away. To reduce the risk of
damage to property, also maintain this
distance from such objects as vehicles
or windows. Any coworkers who must be
in the restricted area should also wear
goggles or protective glasses. Stop the
engine immediately if you are
approached.
15m (50ft)

12
English / USA
FS 80, FS 80 R, FS 85, FS 85 R
!Warning!
Before you start work,
examine the area for
stones, glass, fence wire,
metal, trash or other solid
objects. The cutting
attachment could throw
objects of this kind.
!Warning!
This trimmer/brushcutter is normally to
be used at ground level with the cutting
attachment parallel to the ground. Use of
a trimmer/brushcutter above ground
level or with the cutting attachment
perpendicular to the ground may
increase the risk of injury, since the
cutting attachment is more fully exposed
and the power tool may be more difficult
to control.
!Warning!
During cutting, check the tightness and
the condition of the cutting attachment at
regular short intervals with the engine
and attachment stopped. If the behavior
of the attachment changes during use,
stop the engine immediately, wait until
the cutting attachment stops, and check
the nut securing the attachment for
tightness and the blade or head for
cracks, wear and damage.
!Warning!
A loose blade or head may vibrate,
crack, break or come off the trimmer/
brushcutter, which may result in serious
or fatal injury. Make sure that the cutting
attachment is properly tightened. Use
the wrench supplied or one of sufficient
length to obtain the proper torque. If the
blade or head loosens after being
properly tightened, stop work
immediately. The retaining nut may be
worn or damaged and should be
replaced. If the blade or head continues
to loosen, see your STIHL dealer. Never
use a trimmer/brushcutter with a loose
cutting attachment.
!Warning!
Replace a cracked, damaged or worn-
out head or a cracked, bent, warped,
damaged, dull or worn out blade
immediately, even if damage is limited to
superficial cracks. Such attachments
may shatter at high speed and cause
serious or fatal injury.
!Warning!
When using rigid blades, avoid cutting
close to fences, sides of buildings, tree
trunks, stones or other such objects that
could cause the power tool to kick out or
could cause damage to the blade.
STIHL recommends use of the nylon line
heads for such jobs. In addition, be alert
to an increased possibility of ricochets in
such situations.
!Warning!
If the head, blade or deflector becomes
clogged or stuck, always shut off the
engine and make sure the cutting
attachment has stopped before
cleaning. Grass, weeds, etc. should be
cleaned off the blade or from around the
head at regular intervals.
!Warning!
To reduce the risk of unintentional
rotation of the cutting attachment and
injury, always shut off the engine and
remove the spark plug boot before
replacing the cutting attachment. To
reduce the risk of injury, always shut off
the engine before adjusting the length of
the nylon line on manually adjustable
mowing heads.
!Warning
The gearbox becomes hot during
operation. To reduce the risk of burn
injury, do not touch the gear housing
when it is hot.

13FS 80, FS 80 R, FS 85, FS 85 R
English / USA
!Warning!
The muffler and other parts of the engine
(e.g. fins of the cylinder, spark plug)
become hot during operation and remain
hot for a while after stopping the engine.
To reduce risk of burns do not touch the
muffler and other parts while they are
hot.
!Warning!
To reduce the risk of fire and burn injury,
keep the area around the muffler clean.
Remove excess lubricant and all debris
such as pine needles, branches or
leaves. Let the engine cool down sitting
on concrete, metal, bare ground or solid
wood away from any combustible
substances.
!Warning!
Never modify your muffler. The muffler
could be damaged and cause an
increase in heat radiation or sparks,
thereby increasing the risk of fire and
burn injury. You may also permanently
damage the engine. Have your muffler
serviced and repaired by your STIHL
servicing dealer only.
Catalytic converter
!Warning!
Some STIHL power tools
are equipped with a
catalytic converter, which
is designed to reduce the
exhaust emissions of the
engine by a chemical
process in the muffler. Due to this
process, the muffler does not cool down
as rapidly as conventional mufflers when
the engine returns to idle or is shut off.
To reduce the risk of fire and burn
injuries, the following specific safety
precautions must be observed.
!Warning!
Since a muffler with a catalytic converter
cools down less rapidly than conven-
tional mufflers, always set your power
tool down in the upright position and
never locate it where the muffler is near
dry brush, grass, wood chips or other
combustible materials while it is still hot.
!Warning!
An improperly mounted or damaged
cylinder housing or a damaged/
deformed muffler shell may interfere
with the cooling process of the catalytic
converter. To reduce the risk of fire or
burn injury, do not continue work with a
damaged or improperly mounted
cylinder housing or a damaged/
deformed muffler shell.
Your catalytic converter is furnished with
screens designed to reduce the risk of
fire from the emission of hot particles.
Due to the heat from the catalytic
reaction, these screens will normally
stay clean and need no service or
maintenance. If you experience loss of
performance and you suspect a clogged
screen, have your muffler maintained by
a STIHL servicing dealer.

14
English / USA
FS 80, FS 80 R, FS 85, FS 85 R
USING THE CUTTING
ATTACHMENTS
For an illustration of the various cutting
attachments and instructions on proper
mounting see the chapter on "Mounting
the Cutting Attachments" in your
instruction manual.
!Warning!
To reduce the risk of severe or fatal
injury from blade contact and/or loss of
control, never attempt to use a metal
blade on an FS model for which it is not
authorized.
Using the Mowing Heads
Do not use with mowing line longer than
the intended length. With a properly
mounted deflector, the built-in line-
limiting blade will automatically adjust
the line to its proper length.
Using the unit with an overly long nylon
cutting line increases the load on the
engine and reduces its operating speed.
This causes the clutch to slip
continuously and results in overheating
and damage to important components
(e.g. clutch, polymer housing
components). Such damage could,
among other things, cause the cutting
attachment to rotate at idle.
Mowing heads are to be used only on
trimmer/brushcutters equipped with a
line-limiting blade in the deflector in
order to keep the line at the proper
length (see "Parts and Controls" chapter
in your instruction manual).
If the lawn edges are planted with trees
or bordered by a fence etc., it is best to
use a nylon line head. It achieves a
"softer" cut with less risk of damaging
tree bark etc. than polymer blades.
However, the polymer-bladed STIHL
PolyCut produces a better cut if there
are no plants along the edge of the lawn.
Sharpening is not necessary, and worn
polymer blades are easily replaced.
!Warning!
To reduce the risk of serious injury,
never use wire or metal-reinforced line
or other material in place of the nylon
cutting lines. Pieces of wire could break
off and be thrown at high speed toward
the operator or bystanders.
STIHL SuperCut mowing head
Fresh line is advanced automatically.
Frayed line is replaced by a simple
adjustment (see instruction sheet
supplied with mowing head).
STIHL TrimCut mowing head
Frayed line is replaced by a simple
adjustment (see instruction sheet
supplied with mowing head).
STIHL AUTOCUT mowing head
Nylon cutting cord advances
automatically when tapped against the
ground (TapAction).
000BA015 KN

15FS 80, FS 80 R, FS 85, FS 85 R
English / USA
STIHL PolyCut mowing head
Uses either nylon lines or nonrigid,
pivoting polymer blades.
!Warning!
Three rectangular wear limit marks are
applied to the base (periphery) of the
PolyCut. To reduce the risk of serious
injury from breakage of the head or
blades, the PolyCut must not be used
when it has worn as far as one of these
marks. It is important to follow the
maintenance instructions supplied with
the head.
STIHL FixCut mowing head
Uses pre-cut lengths of nylon line.
Observe wear indicators.
Do not continue using the mowing head
if the raised moldings (1) on the base are
missing or worn – see right illustration
above. The mowing head may otherwise
shatter and flying objects could result in
injury to the operator or bystanders.
Install a new mowing head.
Risk of Kickout (Blade Thrust)
with All Rigid Cutting Blades
!Warning!
Kickout (blade thrust) is the sudden and
uncontrolled motion towards the
operator's right or rear that can occur
when the shaded area (especially the
darkly shaded area) of a rotating blade
comes in contact with a solid rigid object
like a tree, rock, bush or wall. The rapid
counterclockwise rotation of the blade
may be stopped or slowed, and the
cutting attachment may be thrown to the
right or to the rear.
This kickout (blade thrust) may cause
loss of control of the power tool and may
result in serious or fatal injury to the
operator or bystanders. To reduce the
risk of injury, extreme caution should be
used when cutting with the shaded area
of any rigid blade.
002BA177 KN
002BA135 KN

16
English / USA
FS 80, FS 80 R, FS 85, FS 85 R
Using the Grass Cutting Blade
All kinds of grass and weeds can be
easily cut with the grass cutting blade.
The power tool is swept in an arc similar
to a scythe.
!Warning!
To reduce the risk of serious or fatal
injury from blade breakage, never
attempt to use this blade to cut woody
materials.
The 4-tooth grass cutting blade is
intended to cut grass and weeds. It has
4 cutting knives with cutting edges on
both sides, i.e. front and rear. When the
cutting edges on one side become dull,
the blade can be turned over to utilize
the cutting edges on the other side.
The 8-tooth grass cutting blade is
recommended for cutting fern or reed.
Both types of grass cutting blade have to
be resharpened when all cutting edges
are dull.
Using the Brush Knife
When fitted to the power tool, the brush
knife is suitable for applications ranging
from cutting matted grass to clearing
weeds, wild growth and scrub.
To cut wild growth and scrub, lower the
rotating brush knife down onto the
growth to achieve a chopping effect –
but keep the tool below waist height at
all times.
!Warning!
Exercise extreme caution when using
this method of cutting. The higher the
cutting attachment is off the ground, the
greater the risk of loss of control and of
cuttings being thrown sideways.
Use the power tool like a scythe to cut
grass, i.e. sweep it to and fro in an arc.
!Warning!
When cutting woody materials, use the
left side of the blade to avoid "kickout"
(blade thrust) situations.
!Warning!
Improper use of a brush knife may cause
it to crack, chip or shatter. Thrown blade
fragments may seriously or fatally injure
the operator or bystanders. To reduce
the risk of injury, avoid contact with hard
or solid foreign objects such as stones,
rocks or pieces of metal.
!Warning!
When cutting young saplings or other
woody materials up to 2 cm (3/4") in
diameter, use the left side of the blade to
avoid "kickout" situations (see section
on “Risk of kickout (blade thrust) with all
rigid cutting blades”). Do not attempt to
cut woody material with a larger
diameter, since the blade may catch or
jerk the power tool forward. This may
cause damage to the blade or power tool
or loss of control of the power tool,
resulting in personal injury. Use a
circular saw blade for such work.
!Warning!
Inspect the brush knife at regular short
intervals for signs of damage. Do not
continue working with a damaged brush
knife. Resharpen the brush knife
regularly (when it has dulled noticeably).
000BA020 KN
002BA066 KN

17FS 80, FS 80 R, FS 85, FS 85 R
English / USA
Using the Circular Saw Blade
Circular saw blades are suitable for
thinning brush and cutting small trees up
to a diameter of 4 cm (1 1/2”). Do not
attempt to cut trees with larger
diameters, since the blade may catch or
jerk the trimmer/brushcutter forward.
This may cause damage to the blade or
loss of control of the power tool and
result in serious injury. Use a chain saw
for such work.
!Warning!
To reduce the risk that the blade will
crack and/or break, avoid all contact with
stones, rocks or the ground. Sharpen
blades in a timely manner as specified –
dull teeth may cause the blade to crack
or shatter.
When a trimmer/brushcutter with a
circular saw blade is used to cut down
small trees, STIHL recommends that the
standard deflector be removed and
replaced by the special limit stop
deflector (see chapter on “Mounting the
Deflector”). This limit stop helps to keep
the unit positioned against the tree
during the cutting process.
Inexperienced users should place the
left side of the stop against the tree trunk
before beginning to cut. This will keep
the trimmer/brushcutter against the tree
during the cutting operation and will
reduce the risk of loss of control and
possible kickout (described above and
briefly again below).
Before starting the cut, accelerate the
engine up to full throttle. Perform cut
with uniform pressure. STIHL
recommends that the circular saw blade
be applied to the right of the tree, using
the non-shaded area of the blade, as
shown in the illustration above.
000BA016 KN
002BA214 ST
002BA068 KN
18
English / USA
FS 80, FS 80 R, FS 85, FS 85 R
!Warning!
The risk of kickout is highest when
cutting in the darker shaded area. To
reduce the risk of kickout and resulting
injury, do not use this area of the circular
saw blade for cutting trees or shrubs.
Special techniques using the lighter
shaded areas of the blade to cut shrubs
and trees should only be used by
experienced operators with specialized
training in the use and control of the
trimmer/brushcutter.
!Warning!
To reduce the risk of loss of control and
serious injury to the operator or
bystanders by a kickout, never use a
circular saw blade on a trimmer/
brushcutter with a loop handle, but
rather only on one with a bicycle handle.
When felling small trees, maintain a
distance of at least two tree lengths from
the nearest coworker.
!Warning!
In order to reduce the risk of injury from
thrown objects or operator contact with
the blade or head, be sure to remount
the standard deflector when no longer
using a circular saw blade.
MAINTENANCE, REPAIR AND
STORING
Maintenance, replacement, or repair
of the emission control devices and
systems may be performed by any
nonroad engine repair establishment
or individual. However, if you make a
warranty claim for a component
which has not been serviced or
maintained properly or if
nonapproved replacement parts were
used, STIHL may deny coverage.
!Warning!
Use only identical STIHL replacement
parts for maintenance and repair. Use of
non-STIHL parts may cause serious or
fatal injury.
Strictly follow the maintenance and
repair instructions in the appropriate
sections of your instruction manual.
!Warning!
Always stop the engine and make sure
that the cutting attachment is stopped
before doing any maintenance or repair
work or cleaning the power tool. Do not
attempt any maintenance or repair work
not described in your instruction manual.
Have such work performed by your
STIHL servicing dealer only.
Wear gloves when handling or
performing maintenance on blades.
!Warning!
Use the specified spark plug, and make
sure it and the ignition lead are always
clean and in good condition. Always
press spark plug boot snugly onto spark
plug terminal of the proper size. (Note: If
terminal has detachable SAE adapter
nut, it must be securely attached.) A
loose connection between the spark
plug and the ignition wire connector in
the boot may create arcing that could
ignite combustible fumes and cause a
fire.
!Warning!
Never test the ignition system with the
spark plug boot removed from the spark
plug or with a removed spark plug, since
uncontained sparking may cause a fire.
!Warning!
Do not operate your power tool if the
muffler is damaged, missing or modified.
An improperly maintained muffler will
increase the risk of fire and hearing loss.
If your muffler was equipped with a
spark-arresting screen to reduce the risk
of fire, never operate your power tool if
the screen is missing or damaged.
Remember that the risk of forest fires is
greater in hot or dry weather.
19FS 80, FS 80 R, FS 85, FS 85 R
English / USA
!Warning!
Never repair damaged cutting attach-
ments by welding, straightening or
modifying the shape. This may cause
parts of the cutting attachment to come
off and result in serious or fatal injuries.
Keep blades sharp. Tighten all nuts,
bolts and screws, except the carburetor
adjustment screws, after each use.
Store the power tool in a dry and high or
locked location out of reach of children.
Before storing for longer than a few
days, always empty the fuel tank. See
chapter "Storing the Machine" in the
instruction manual.
20
English / USA
FS 80, FS 80 R, FS 85, FS 85 R
Cutting tools
1 STIHL Supercut 20-2
2 STIHL Autocut 25-2
3STIHL Autocut C 25-2
4STIHL Trimcut 30-2
5STIHL Polycut 20-3
6 STIHL FixCut 25-2
7Grass cutting blade 230-4
8Grass cutting blade 230-8
9Brush knife 250-3
10 Scratcher tooth circular
saw blade 200
11 Chisel tooth circular
saw blade 200
Grass cutting blades, brush knifes and
circular saw blades made of any other
non-metal material are not permitted.
Deflectors, Limit Stop
12 Deflector for mowing heads only
13 Deflector with
14 Skirt and blade for all mowing heads
(see “Mounting the deflector”)
15 Deflector without skirt and blade
for all metal mowing tools
16 Limit stop for circular saw blades
Handles
17 Loop handle
18 Loop handle with
19 Barrier bar
20 Bike handle
Harnesses
21 Shoulder strap may be used
22 Shoulder strap must be used
23 Full harnesss may be used
24 Full harness must be used
Equipment
The complete unit includes:
– Cutting tool
– Deflector
– Handle
– Harness (bike handle unit only)
Select the correct combination from the
table according to the cutting tool you
intend to use. Read the table
horizontally from left to right. Other
combinations, e.g. reading the table
diagonally, are not permitted.
! Warning!
To reduce the risk of injury from thrown
objects and blade contact, never
operate your unit without the proper
deflector for the cutting attachment
being used. To reduce the risk of injury
from loss of control
and / or contact with the cutting tool,
make sure your unit is equipped with a
proper handle and harness for the type
of cutting attachment being used.
! Warning!
STIHL brushcutters with a loop handle
without barrier bar may be used only
with the above mentioned mowing head
with nylon line or plastic blades. Other
plastic or metal cutting tools, but not
circular saw blades, may be used only
on brushcutters with a bike handle or
loop handle with barrier bar in order to
reduce the risk of personal injury
through contact with the cutting tool. To
reduce the risk of serious injury to the
operator or bystanders by kickout, never
use a circular saw blade on a
brushcutter with a loop handle. Circular
saw blades may be used only on
brushcutters with a bike handle.
Approved Combinations of Cutting Tool, Deflector, Handle
and Harness

21FS 80, FS 80 R, FS 85, FS 85 R
English / USA
Cutting tool Deflector, Limit Stop Handle Harness/Strap
681FK003
681FK006
681FK011
5
3
1
681FK037 KN
4
681FK005
2
681FK111 KN
6
12
681FK023
681BA002 KN
13
14
17
0
02BA002 K
0
02BA003 K
18
19
0
02BA125 KN
21
0
02BA001 K
20
002BA005 K
22
681FK014
7
8
9
681FK021
15
002BA003 K
18
19
002BA001 K
20
0
02BA126 KN
0
02BA127 KN
0
02BA005 K
22 23 23
681FK018
681FK016
11
10
681FK024
16
0
02BA001 K
20
0
02BA026 KN
002BA006 K
24 24

22
English / USA
FS 80, FS 80 R, FS 85, FS 85 R
Power tool attachments are not
approved for the STIHL FS 80.
The following STIHL attachments may
be mounted to the basic power tool:
1) Barrier bar must be fitted on the
loop handle
2) Not approved for use with bike-
handled units
3) It is not necessary to use a shoulder
strap
:Mount the bike handle (1) on the
drive tube (2) about 16” (40 cm) (A)
forward of the engine.
:Place the clamp (3) and the handle
support (4) on the drive tube.
:Position the bike handle (1) on the
handle support – the rubber grip
must be on the left (viewed from the
engine)
Approved Power Tool
Attachments
FS 85
228BA037 KN
BF
FH
FCS
KB KW
HT
Power tool
attachment Application
BF 1) Cultivator
FCS 2)3) Power Edger
FH 1) Power Scythe
HL 0° 2) Hedge Trimmer
HL 135° 1)2) Hedge Trimmer
(adjustable)
HT 2) Pole Pruner
KB (4601) 2) Bristle Brush
KW (4601) 2) PowerSweep
KW (4602) 2) PowerSweep
Mounting the Bike Handle
1
3
4
5
6
A
6
2
002BA128 KN

23FS 80, FS 80 R, FS 85, FS 85 R
English / USA
:Place the clamp (5) on the handle
support.
:Insert screws (6) in the holes and
clamp (3) and tighten them
moderately.
:Line up the bike handle.
:Tighten down the screws firmly.
Fitting the control handle
:Release the screw (7). The nut (8)
remains in the control handle (9).
:Push the control handle onto the
bike handle (1) – the throttle trigger
(10) must point towards the
gearhead.
:Line up the holes (11).
:Fit screw in control handle and
tighten down firmly.
Fitting the throttle cable
Do not kink the throttle cable – make
sure the throttle trigger moves freely!
:Press the throttle cable (12) into the
retainers (13).
Adjust the throttle cable*
On control handles with slide*:
:Go to chapter "Adjusting the
Throttle Cable"
* see “Guide to Using this Manual”
11
7
9
10
1
11
002BA229 KN
8
12
13
12
13
13
393BA049 KN

24
English / USA
FS 80, FS 80 R, FS 85, FS 85 R
A properly adjusted throttle cable is
the precondition for correct
operation in the full throttle, starting
throttle and idle positions.
Adjust the throttle cable only after
the unit is fully assembled – the
control handle must be in the normal
operating position.
:Use a suitable tool to push the slide
to the bottom of the slot (see
illustration).
:Press down the trigger interlock (1)
and squeeze the throttle trigger (2)
(full throttle) – this sets the throttle
cable correctly.
Loop handle with barrier bar
:Insert square nuts (1) in the
barrier bar (2).
:Line up the holes.
Adjusting the Throttle Cable
002BA163 KN
STOP
249BA017 KN
1
2
Mounting the Loop Handle
2
002BA098 KN
1
1

25FS 80, FS 80 R, FS 85, FS 85 R
English / USA
:Place the clamp (3) in the loop
handle (4) and position them both
against the drive tube (5).
:Fit the clamp (6) and place the
barrier bar (2) in position.
Note correct position.
:Line up the holes.
:Insert screws (7) in holes and screw
them into the barrier bar as far as
stop.
:Go to “Securing the loop handle”.
Loop handle without barrier bar
:Place the clamp (3) in the loop
handle (4) and position them both
against the drive tube (5).
:Fit the clamp (6) and line up the
holes.
:Fit washers (7) on screws (8).
:Insert screws (8) in holes and screw
on the square nuts (1) as far as
stop.
:Go to “Securing the loop handle”.
Securing the loop handle
:Secure the loop handle (4)
approx. 8”/20cm (A) forward of
the control handle (9).
:Line up the loop handle.
:Tighten down the screws firmly –
lock the nuts if necessary.
10= Sleeve*
* see “Guide to Using this Manual”
5
4
002BA099 KN
2
3
67
4
5
002BA136 KN
1
6
1
3
8
7
8
7
10
94
002BA147 KN
A

26
English / USA
FS 80, FS 80 R, FS 85, FS 85 R
:For position of carrying eye1) see
"Parts and Controls"
:Place the clamp (1) with the
tapped hole on the left-hand side
of the drive tube.
:Squeeze the two ends of the clamp
together and hold in that position.
:Insert M 6 x 14 screw (2).
:Line up the carrying eye.
:Tighten down the screw firmly.
1) Included as standard or available as
special accessory
Mounting the deflector
1 = Deflector approved for all cutting
tools
2 = Deflector approved for use with
mowing heads only
:Place the deflector on the
gearhead.
:Fit the plate (3) and line it up.
:Insert M 5 x 18 screws and tighten
down firmly.
Fitting skirt and blade
These parts must be fitted to the
deflector (1) when you use a
mowing head:
:Slide the lower guide slot of the
skirt (4) onto the deflector (1) – it
must snap into position.
:Push the blade (5) into the upper
guide slot on the skirt and line it up
with the first hole.
:Fit the screw and tighten it down
firmly.
Fitting the Carrying Eye
002BA142 KN
1
2
1
Mounting the Deflector
002BA102 KN
1
3
2
3
4
1
5
4
002BA103 KN

27FS 80, FS 80 R, FS 85, FS 85 R
English / USA
Mounting the stop
:Always fit stop (6) when you use a
circular saw blade.
:Place the stop on the gearhead
flange.
:Fit the three M 5 x 18 screws (7) and
tighten down securely.
Preparations
:Lay your brushcutter on its back
with the gearhead facing upward.
Mounting Hardware
for Cutting Tools
The mounting hardware supplied
depends on the cutting tool that comes
as original equipment with the new
brushcutter.
Mounting hardware is not packed
with the machine
Only mowing heads may be
mounted.
:Pull the hose (1) (protector for
shipping) off the shaft (2).
:Go to "Mounting the Mowing Head".
If you want to mount a metal cutting
tool in place of a mowing head, you
will need the following additional
parts: Nut (3), rider plate (4) and
thrust washer (5) (special
accessories).
7 7
7
6
002BA028 KN
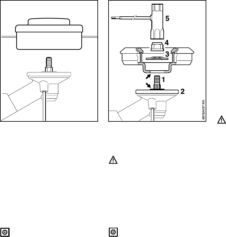
Mounting the Cutting Tools
002BA104 KN
2
002BA164 KN
1
3
4
5

28
English / USA
FS 80, FS 80 R, FS 85, FS 85 R
Mounting hardware is packed with
the machine
Mowing heads and metal cutting
tools may be mounted.
Mounting hardware is loose
:Pull the hose (1) (protector for
shipping) off the shaft (2).
The nut (3), rider plate (4) and thrust
washer (5) are in the parts kit
supplied with the machine.
:Go to "Mounting the Mowing Head"
or "Mounting Metal Cutting Tools".
Mounting hardware is secured to
gearhead
:Go to "Removing Mounting
Hardware"
Removing Mounting Hardware
:Block the shaft – see next section
on "Blocking the Output Shaft".
:Use the combination wrench (6)
(supplied with machine or available
as special accessory) to unscrew
the nut (3) clockwise (left-hand
thread) from the shaft (2).
:Pull the thrust washer (5) off the
shaft (2).
The rider plate (4) is in the parts kit
supplied with the machine.
:Go to "Mounting the Mowing Head"
or "Mounting Metal Cutting Tools".
Blocking the Output Shaft
:Insert the stop pin or screwdriver (7)
(supplied with machine or available
as special accessories) in the hole
(8) in the gearhead as far as stop –
apply slight pressure.
:Rotate nut or cutting tool on the
shaft (2) until the stop pin slips into
position and blocks the shaft.
7
8
2
002BA166 KN
7

29FS 80, FS 80 R, FS 85, FS 85 R
English / USA
Mounting the Mowing Head
Keep instruction sheet for mowing head
in a safe place.
:Screw the
STIHL SuperCut 20-2,
STIHL AutoCut 25-2,
STIHL AutoCut C 25-2,
STIHL TrimCut 30-2,
STIHL PolyCut 20-3
counterclockwise onto the shaft (1)
as far as stop.
:Block the output shaft.
:Tighten down the mowing head.
Remove the tool used to block the
shaft.
STIHL FixCut 25-2
:Place the mowing head on the
thrust plate (2).
Collar (arrows) must locate in the
mowing head’s mounting hole
:Push the thrust washer (3) over the
shaft (1) so that it locates against
the base.
:Block the output shaft.
:Screw the mounting nut (4) with the
combination wrench (5)
counterclockwise on to the output
shaft and tighten down firmly.
Remove the tool used to block the
shaft.
Removing the Mowing Head
:Block the output shaft.
STIHL SuperCut 20-2,
STIHL AutoCut 25-2,
STIHL AutoCut C 25-2,
STIHL TrimCut 30-2,
STIHL PolyCut 20-3
:Unscrew the mowing head
clockwise.
STIHL FixCut 25-2
:Use the combination wrench to
unscrew the mounting nut clockwise
from the output shaft
If the mounting nut is too loose, fit a
new one
Adjusting Nylon Line
STIHL SuperCut
Fresh line is advanced automatically if
remaining line is still min. 2 1/2" (6 cm)
long. The blade on the deflector trims
overlong line to the correct length.
1
002BA081 KN

30
English / USA
FS 80, FS 80 R, FS 85, FS 85 R
STIHL AutoCut
:Hold the rotating mowing head
above the ground – tap it on the
ground once – about 1 1/4" (3 cm)
fresh line is advanced.
The blade on the deflector trims
overlong line to the correct length –
avoid tapping head more than once at a
time.
Line feed operates only if both lines
still have a minimum length of 1"
(2.5 cm).
All other mowing heads
Refer to the instructions supplied with
the mowing head.
To reduce the risk of injury, always
shut off the engine before adjusting
the nylon line by hand.
Replacing Nylon Line or Cutting
Blades
Refer to the instructions supplied with
the mowing head.
Mounting Metal Cutting Tools
Remove the skirt and blade from
the mowing head deflector before
mounting
grass cutting blade 230-4 (1),
grass cutting blade 230-8 (2),
or brush knife (3) – see “Mounting
the Deflector”
Fit the appropriate limit stop before
mounting the circular saw blade 200
(4,5) – see “Mounting the Deflector”.
:Lay your machine on its back with
the gearhead facing upward.
Cutting edges of (1) and (3) may
point in either direction.
Cutting edges of (2), (4) and (5)
must point clockwise.
Direction of rotation is marked by
arrow on inside of cutting head
deflector or limit stop.

31FS 80, FS 80 R, FS 85, FS 85 R
English / USA
:Place the cutting tool (6) on the
thrust plate (7).
Collar (see arrows) must locate in
cutting tool’s mounting hole.
:Slip thrust washer (8) and rider
plate (9) over the output shaft (10).
:Block the output shaft and
:Screw the mounting nut (11) with
the combination wrench (12) onto
the output shaft counterclockwise
and tighten down firmly.
If the mounting nut is too loose,
fit a new one.
Removing cutting tool
:Block the output shaft.
:Unscrew the nut clockwise.
:Removing the cutting tool – do not
remove the thrust plate (7).
This engine is certified to operate on
unleaded gasoline and the STIHL two-
stroke engine oil at a mix ratio of 50:1.
Your engine requires a mixture of high-
quality gasoline and quality two-stroke
air cooled engine oil.
Use mid-grade unleaded gasoline with a
minimum octane rating of 89 (R+M/2). If
the octane rating of the mid-grade
gasoline in your area is lower, use
premium unleaded fuel.
Fuel with a lower octane rating may
increase engine temperatures. This, in
turn, increases the risk of piston seizure
and damage to the engine.
The chemical composition of the fuel is
also important. Some fuel additives not
only detrimentally affect elastomers
(carburetor diaphragms, oil seals, fuel
lines, etc.), but magnesium castings and
catalytic converters as well. This could
cause running problems or even
damage the engine. For this reason
STIHL recommends that you use only
nationally recognized high-quality
unleaded gasoline!
Use only STIHL two-stroke engine oil or
equivalent high-quality two-stroke
engine oils that are designed for use
only in air cooled two-cycle engines.
We recommend STIHL 50:1 two-stroke
engine oil since it is specially formulated
for use in STlHL engines.
Do not use BIA or TCW rated (two-
stroke water cooled) mix oils or other
mix oils that state they are for use in both
water cooled and air cooled engines
(e.g., outboard motors, snowmobiles,
chainsaws, mopeds, etc.).
Take care when handling gasoline.
Avoid direct contact with the skin and
avoid inhaling fuel vapor. When filling at
the pump, first remove the canister from
your vehicle and place the canister on
the ground before filling. Do not fill fuel
canisters that are sitting in or on a
vehicle.
The canister should be kept tightly
closed in order to avoid any moisture
getting into the mixture.
The machine‘s fuel tank and the canister
in which fuel mix is stored should be
cleaned as necessary.
Fuel

32
English / USA
FS 80, FS 80 R, FS 85, FS 85 R
Fuel mix ages
Only mix sufficient fuel for a few days
work, not to exceed 3 months of storage.
Store in approved fuel-canisters only.
When mixing, pour oil into the canister
first, and then add gasoline. Close the
canister and shake it vigorously by hand
to ensure proper mixing of the oil with
the fuel.
Dispose of empty mixing-oil canisters
only at authorized disposal locations.
Before fueling, clean the filler cap and
the area around it to ensure that no dirt
falls into the tank.
Always thoroughly shake the mixture in
the canister before fueling your
machine.
In order to reduce the risk of burns
or other personal injury from
escaping gas vapor and fumes,
remove the fuel filler cap carefully
so as to allow any pressure build-up
in the tank to release slowly.
After fueling, tighten fuel cap as
securely as possible by hand.
Change the fuel pick up body every
year.
Before storing your machine for a long
period, drain and clean the fuel tank and
run engine until carburetor is dry.
Gaso-
line
Oil (STIHL 50:1 or
equivalent high-quality oils)
US gal. US fl.oz
12.6
2 1/2 6.4
512.8
Fueling
389BA031 KN
389BA032 KN

33FS 80, FS 80 R, FS 85, FS 85 R
English / USA
The type and style of harness depend on
the market.
Shoulder Strap
:Put on the shoulder strap (1).
:Adjust the length of the strap so that
the spring hook (2) is about a hand’s
width below your right hip.
:Balance the brushcutter.
The use of the harness is described in
chapter “Approved Combinations of
Cutting Tool, Deflector, Handle and
Harness”.
Full harness
:Put on the full harness (1).
:Adjust length until the spring hook
(2) is about a hand’s width below
your right hip.
:Balance the brushcutter.
The use of the harness is described in
chapter “Approved Combinations of
Cutting Tool, Deflector, Handle and
Harness”.
Attaching Harness to Brushcutter
:Attach the spring hook (1) to the
clamp (2) (carrying ring) on the drive
tube.
Fitting the Harness Balancing the Brushcutter

34
English / USA
FS 80, FS 80 R, FS 85, FS 85 R
:Loosen the screw (3).
Balancing the Machine
The machine has to be balanced to suit
the cutting tool you are using.
Carry out the following steps to reach
the condition described under “Point of
balance”:
:Slide the clamp up or down the drive
tube. Tighten the screw moderately.
Let go of the machine and check to
see how it is balanced.
Point of balance
A Mowing tools
Mowing heads, grass cutting blades
and brush knife should just touch
the ground.
B Circular saw blades
should hover about 8 in (20 cm)
above the ground.
When the correct point of balance is
reached:
:Tighten down the clamp screw
firmly.
Disconnecting Brushcutter from
Harness
Depending on the type of spring hook
(carabiner):
:Press down the bar on the spring
hook (1) and take the clamp (2) off
the hook.
A
002BA034 KN
B
002BA035 KN

35FS 80, FS 80 R, FS 85, FS 85 R
English / USA
Controls
Control handle on bike handle
Throttle trigger interlock (1)
Throttle trigger (2)
Slide control (3)
Control handle on drive tube
Throttle trigger interlock (1)
Throttle trigger (2)
Slide control (3)
Positions of slide control
STOP-O (4) – engine off – the ignition is
switched off
# – normal run position (5) – the engine
is running or can start
START (6) - the ignition is switched on,
the engine can start
Symbol on slide control
h (7) – stop symbol and arrow – to stop
the engine, push the slide control in
direction of arrow on stop symbol (h ) to
STOP-O.
Starting
:Hold down the throttle trigger
interlock and squeeze the throttle
trigger.
:While holding both levers in this
position, move the slide control to
START and hold it there.
:Now release the throttle trigger,
slide control and trigger interlock in
that order. This is the starting
throttle position.
Starting / Stopping
the Engine
3
STOP
56
4
7
002BA182 KN
1
2
START
STOP-
3
STOP
2
5
6
4
7
002BA181 KN
START
STOP-
1

36
English / USA
FS 80, FS 80 R, FS 85, FS 85 R
:Set the choke knob (8):
For cold start to g
For warm start to e
– also use this position if engine has
been running but is still cold
:Press fuel pump bulb (9) at least five
times – even if the bulb is already
filled with fuel.
:Place the unit on the ground: It must
rest securely on the engine support
and deflector.
Check that the cutting tool is not
touching the ground or any other
obstacles.
:Make sure you have a firm footing.
:Hold the unit with your left hand and
press it down firmly – your thumb
should be under the fan housing.
Do not stand or kneel on the drive
tube!
:Pull the starter grip slowly with your
right hand until you feel it engage
and then give it a brisk strong pull.
Do not pull out the starter rope to full
length – it might otherwise break.
:Do not let the starter grip snap back.
Guide it slowly back into the housing
so that the starter rope can rewind
properly.
:Continue cranking until engine runs.
393BA017 KN
8
8
393BA018 KN
9
002BA038 KN002BA040 KN
357BA033 KN

37FS 80, FS 80 R, FS 85, FS 85 R
English / USA
When the engine begins to fire:
:Turn choke knob to e
and continue cranking.
When the engine begins to fire:
:Blip the throttle trigger immediately
so that the slide control moves to
the normal run position # and the
engine settles down to idle speed.
Make sure the carburetor is
correctly adjusted – the cutting tool
must not rotate when the engine is
idling.
Your machine is now ready for
operation.
Stopping the engine
:Push the slide control in direction
of arrow on stop symbol (h ) to
STOP-O.
At very low outside temperatures
As soon as engine runs:
:Blip the throttle trigger to disengage
the starting throttle position. The
slide control moves to the normal
run position # and the engine settles
down to idle speed.
:Open the throttle slightly.
:Warm up engine for brief period.
If the engine does not start
Choke knob
If you did not turn the choke knob to e
quickly enough after the engine began to
fire, the combustion chamber has
flooded.
:Turn choke knob to e
:Select starting throttle position.
:Start the engine by pulling the
starter rope firmly. 10 to 20 pulls
may be necessary.
If the engine still does not start:
:Move the slide control to STOP-O.
:Pull off the spark plug boot (10).
:Unscrew and dry off the spark plug.
:Open the throttle wide.
:Crank the engine several times with
the starter to clear the combustion
chamber.
:Refit the spark plug. Connect the
spark plug boot (press it down
firmly).
:Move the slide control to START.
:Set the choke knob to e –
even if engine is cold.
:Now start the engine.
Throttle cable adjustment
:Check adjustment of throttle cable –
see chapter on "Adjusting the
Throttle Cable".
Tank run until dry
:After refueling, press the fuel pump
bulb at least five times – even if bulb
is filled with fuel.
:Set choke knob according to engine
temperature.
:Now start the engine.
10
393BA042 KN

38
English / USA
FS 80, FS 80 R, FS 85, FS 85 R
During break-in period
A factory new machine should not be run
at high revs (full throttle off load) for the
first three tank fillings. This avoids
unnecessary high loads during the
break-in period. As all moving parts
have to bed in during the break-in
period, the frictional resistances in the
engine are greater during this period.
The engine develops its maximum
power after about 5 to 15 tank fillings.
During operation
After a long period of full-throttle
operation, allow engine to run for a while
at idle speed so that the heat in the
engine can be dissipated by flow of
cooling air. This protects engine-
mounted components (ignition,
carburetor) from thermal overload.
After finishing work
Wait for engine to cool down. Drain the
fuel tank. Store the machine in a dry
place. Check tightness of nuts and
screws (not adjusting screws) at regular
intervals and retighten as necessary.
Dirty air filters reduce engine power
increase fuel consumption and make
starting more difficult.
If there is a noticeable loss of engine
power
:Move choke lever to g.
:Press in the tab (1).
:Ease the filter cover (2) over the tab
and take it away.
:Clean away loose dirt from around
the filter.
:Remove the foam and felt filter
elements.
:Wash the foam element in a clean,
non-flammable cleaning solution
(e.g. warm soapy water) and then
dry.
:Fit new felt element.
As a temporary measure you can
knock it out on the palm of your
hand or blow it out with compressed
air. Do not wash.
Replace damaged parts!
:Install the foam element (3) in the
filter cover (2).
:Place felt element (4) (lettering
facing inward) in filter housing (5).
:Fit filter cover so that it snaps into
position.
Operating Instructions Cleaning the Air Filter
355BA014 KN
2
1
23
355BA031 KN
45
355BA032 KN

39FS 80, FS 80 R, FS 85, FS 85 R
English / USA
Exhaust emissions are controlled by the
design of the fundamental engine
parameters and components (e.g.
carburation, ignition, timing and valve or
port timing) without the addition of any
major hardware.
The carburetor comes from the factory
with a standard setting.
This setting provides an optimum fuel-air
mixture under most operating
conditions.
With this carburetor it is only possible to
adjust the engine idle speed within fine
limits.!
Standard Setting
:Shut off the engine.
:Mount FS cutting tool, Power Tool
Attachment or CombiTool.
:Check the air filter and replace if
necessary.
:Check adjustment of throttle cable –
adjust if necessary – see "Adjusting
the Throttle Cable".
:Turn high speed screw (H)
counterclockwise (max. 3/4 turn) as
far as stop.
:Carefully screw the low speed
screw (L) down onto its seat. Then
open it one turn counterclockwise.
:Start and warm up the engine.
:Adjust idle speed with the idle speed
screw (LA) so that the cutting tool
does not rotate.
Fine Tuning
A slight correction of the setting of the
high speed screw (H) may be necessary
if engine power is not satisfactory when
operating at high altitude or at sea level
or after changing the cutting tool.
Motor Management Adjusting the Carburetor
265BA024 KN
LA
HL
1
3 / 4

40
English / USA
FS 80, FS 80 R, FS 85, FS 85 R
Rule of thumb
Turn high speed screw (H) about
1/4 turn over for every 1000m
(3.300 ft) change in altitude.
Conditions for adjustment
Adjust the high speed screw (H)
only if you are using a mowing head,
making sure the cutting lines are full
length (as far as the limiter blade on
the deflector).
If you mount a metal cutting tool,
use the standard setting.
:Carry out standard setting without
changing position of high speed
screw (H).
:Warm up engine for about 5 minutes
if you are using a metal cutting tool
or about 3 minutes if you are using a
mowing head.
:Open the throttle wide.
At high altitude
:Turn high speed screw (H) clock-
wise (leaner) no further than stop
until there is no noticeable increase
in engine speed.
At sea level
:Turn high speed screw (H) counter-
clockwise (richer) no further than
stop until there is no noticeable
increase in engine speed.
It is possible that maximum engine
speed may be reached with the
standard setting in each case.
Adjusting Idle Speed
It is usually necessary to change the
setting of the idle speed screw (LA)
after every correction to the low speed
screw (L).
:Warm up the engine.
Engine stops while idling
:Turn idle speed screw (LA) slowly
clockwise until the engine runs
smoothly – the cutting tool must not
rotate.
Cutting tool rotates when engine is
idling
:Turn idle speed screw (LA) slowly
counterclockwise until cutting tool
stops rotating and then turn the
screw about another 1/2 to 1 turn in
the same direction.
Erratic idling behavior, engine stops
even though setting of LA screw is
correct, poor acceleration
Idle setting too lean:
:Turn low speed screw (L)
counterclockwise (about 1/4 turn)
until the engine runs and
accelerates smoothly.
Erratic idling behavior
Idle setting too rich:
:Turn low speed screw (L) clockwise
(about 1/4 turn) until the engine runs
and accelerates smoothly.

41FS 80, FS 80 R, FS 85, FS 85 R
English / USA
If the engine is low on power, check the
spark arresting screen in the muffler.
:Lift spark arresting screen and pull it
out sideways.
:Clean spark arresting screen if
necessary.
:If screen is damaged or coked up, fit
a new one.
:Refit the spark arresting screen.
* see “Guide to Using this Manual”
Wrong fuel mix (too much engine oil in
the gasoline), a dirty air filter and
unfavorable running conditions (mostly
at part throttle etc.) affect the condition of
the spark plug. These factors cause
deposits to form on the insulator nose
which may result in trouble in operation.
If engine is down on power, difficult to
start or runs poorly at idling speed, first
check the spark plug.
:Remove spark plug – see "Starting /
Stopping the Engine".
:Clean dirty spark plug.
:Check electrode gap (A) and
readjust if necessary – see
"Specifications".
:Use only resistor type spark plugs
of the approved range.
Rectify problems which have caused
fouling of spark plug:
:Too much oil in fuel mix.
:Dirty air filter.
:Unfavorable running conditions,
e.g. operating at part load.
Fit a new spark plug after approx.
100 operating hours
or earlier if the electrodes are badly
eroded.
Spark Arresting Screen* in
Muffler
392BA035 KN
Checking the Spark Plug
000BA002 KN

42
English / USA
FS 80, FS 80 R, FS 85, FS 85 R
To reduce the risk of fire and burn
injury, use only spark plugs
authorized by STIHL. Always press
spark plug boot (2) snugly onto
spark plug terminal (1) of the proper
size. (Note: If terminal has
detachable SAE adapter nut, it must
be attached.)
A loose connection between spark
plug boot and ignition wire
connector in the boot may create
arcing that could ignite combustible
fumes and cause a fire.
:Check grease level regularly - about
every 25 hours of operation.
:Unscrew the filler plug (1).
:If no grease can be seen on the
inside of the filler plug, screw the
tube (2) of STIHL gear lubricant for
brushcutters - see “Special
Accessories” - into the filler hole.
:Squeeze up to 1/5 oz (5 g) grease
into the gear housing.
Do not completely fill the gear
housing with grease.
:Refit the filler plug and tighten it
down firmly.
Removing the Starter Cover
:Take out the screws (1).
:Lift the starter cover (2) away from
the tank (3) and pull it out from
under the shroud (4).
0
00BA036 TR
1
Lubricating the
Gearbox
1
233BA010 KN
2
Replacing the Starter Rope
and Rewind Spring
1
11
2
3
4
392BA013 KN

43FS 80, FS 80 R, FS 85, FS 85 R
English / USA
Removing the Rope Rotor
:Take out the screw (5).
:Remove the rope rotor very
carefully.
The rewind spring is seated in the
rope rotor and may pop out and
uncoil if care is not taken.
The pieces of broken spring may be
under tension and fly apart
unexpectedly when you remove the
rope rotor. To help reduce the risk of
injury, wear face protection and
gloves.
Replacing the Starter Rope
:Use a screwdriver to pry the cap (6)
out of the starter grip.
:Remove remaining rope from the
rotor and grip, making sure the
ElastoStart sleeve is not pushed out
of the grip.
:Tie a simple overhand knot in the
end of the new starter rope (see
Specifications) and then thread the
rope through the top of the grip and
the rope bushing (7).
:Refit the cap in the grip.
:Pull the rope through the rotor and
secure it with a simple overhand
knot.
:Go to "Installing the rope rotor".
Replacing a Broken Rewind
Spring
Two types of replacement spring are
available from the factory:
– A ready-to-fit rewind spring secured
with a wire retainer.
– A rope rotor with pre-installed
rewind spring.
Installing the ready-to-fit rewind
spring
:Lubricate the spring with a few
drops of non-resinous oil – see
"Special Accessories" – do not open
the wire retainer!
5
392BA014 KN
6
7
392BA015 KN
392BA024 KN

44
English / USA
FS 80, FS 80 R, FS 85, FS 85 R
:Carefully remove the parts of the old
spring from the starter cover and
rope rotor.
:Insert the new rewind spring in the
rope rotor and, at the same time,
engage the outer spring loop in the
rotor’s recess – the wire retainer
slips off in this process.
If the spring pops out and uncoils,
refit it in the counterclockwise
direction, starting outside and
working inwards.
:Go to "Installing the Rope Rotor".
Installing rope rotor with rewind
spring
:Carefully unpack the new rope rotor
with rewind spring. The spring may
pop out if not handled with care –
risk of injury.
:Lubricate the spring with a few
drops of non-resinous oil – see
"Special Accessories".
:Go to "Installing the Rope Rotor".
Installing the Rope Rotor
:Check dimension a for inner spring
anchor loop and bend it slightly if
necessary.
:Coat rope rotor bearing bore with
non-resinous oil – see "Special
Accessories".
:Slide the rotor onto the starter post –
turn it back and forth until the rewind
spring anchor loop (8) engages.
:Insert the screw (5) and tighten it
down securely.
:Go to "Tensioning the Rewind
Spring".
Tensioning the Rewind Spring
:Make a loop in the unwound
starter rope and use it to turn
the rope rotor six full revolutions
counterclockwise. Hold the rotor
steady – straighten the twisted rope
– release the rotor –
let go of rope slowly so that it winds
onto the rotor.
:Check spring tension:
– The starter grip must be firmly
seated in the rope guide bushing.
If the grip droops to one side: Add
one more turn on rope rotor to
increase spring tension.
– When the starter rope is fully
extended it must be possible to
rotate the rotor another half turn. If
this is not the case, the spring is
overtensioned and could break.
Take one turn of rope off the rotor.
:Go to "Fitting the Starter Cover".
a
389BA029 KN
a = 2mm
(0.08 in)
8
392BA025 KN
392BA044 KN

45FS 80, FS 80 R, FS 85, FS 85 R
English / USA
Fitting the Starter Cover
:Push the upper mounting boss (2)
under the shroud (4) –
line up the tank (3)and push the
lower part of cover onto the tank.
:Insert and tighten down the housing
screws (1).
For periods of about 3 months or longer
:Drain and clean the fuel tank in a
well ventilated area.
:Dispose fuel properly in accordance
with local environmental
requirements.
:Run engine until carburetor is dry –
this helps prevent carburetor
diaphragms sticking together.
:Remove, clean and inspect the
cutting tool.
:Thoroughly clean the machine – pay
special attention to the cylinder fins
and air filter.
:Store the machine in a dry, high or
locked location – out of the reach of
children and other unauthorized
persons.
:Use a file (special accessory) to
sharpen cutting tools. In case of
more serious wear or nicks:
Resharpen with a grinder or have
work done by STIHL dealer.
:Resharpen frequently, take away as
little material as possible – two or
three strokes of the file are usually
enough.
To avoid out-of-balance
:After resharpening about 5 times,
have blade checked on STIHL
balancer (special accessory) and
rebalanced as necessary.
1
11
2
3
4
393BA045 KN
Storing the Machine Sharpening
Metal Cutting Tools

46
English / USA
FS 80, FS 80 R, FS 85, FS 85 R
:Resharpen the cutters (1) uniformly
– do not alter the contour of the
parent blade (2) in any way.
See cutting tool packaging for additional
sharpening instructions.
22
1
2
11
002BA042 KN

47FS 80, FS 80 R, FS 85, FS 85 R
English / USA
1) STIHL recommends that this work be done by a
STIHL servicing dealer
* Not in all versions, market-specific
Maintenance Chart
Please note that the following maintenance intervals apply for normal operating
conditions. If your daily working time is longer than normal or cutting conditions
are difficult (very dusty work area etc.), shorten the specified intervals accordingly.
before
starting work
after finishing
work or daily
after each
refueling stop
weekly
monthly
every 12 months
if problem
if damaged
as required
Complete machine Visual inspection (condition, leaks) XX
Clean X
Control handle Check operation XX
Air filter Clean XX
Replace X
Pick up body in fuel tank Check X
Replace XXX
Fuel tank Clean XX
Carburetor
Check idle adjustment – the cutting
tool must not turn XX
Readjust idle X
Spark plug
Readjust electrode gap X
Replace after about 100 operating
hours
Cooling inlets Inspect X
Clean X
Spark arresting screen* in muffler Check XX
Replace XX
All accessible screws and nuts
(not adjusting screws) Retighten X
Anti-vibration element Check X
Have replaced by servicing dealer1) X

48
English / USA
FS 80, FS 80 R, FS 85, FS 85 R
Please note that the following maintenance intervals apply for normal operating
conditions. If your daily working time is longer than normal or cutting conditions
are difficult (very dusty work area etc.), shorten the specified intervals accordingly.
before
starting work
after finishing
work or daily
after each
refueling stop
weekly
monthly
every 12 months
if problem
if damaged
as required
Cutting tools
Inspect XX
Replace X
Check tightness
of cutting tool XX
Metal cutting tools Sharpen XX
Gearbox lubrication Check X
Replenish X
Safety labels Replace X

49FS 80, FS 80 R, FS 85, FS 85 R
English / USA
1Fuel pump
2Choke lever
3Carburetor adjusting screws
4Starter grip
5Fuel filler cap
6Fuel tank
7Muffler
(with spark arresting screen*)
8Throttle trigger
9Slide control
10 Throttle trigger interlock
11 Bike handle
12 Handle support
13 Throttle cable retainer
14 Clamp
(carrying ring for harness)
15 Spark plug boot
16 Air filter cover
17 Machine support
18 Barrier bar,
not in all versions, market-specific
19 Loop handle
20 Drive tube
# Serial number
Parts and Controls
Part 1
10
#
18
4
12
13
11
8
9
10
13 14
15
16
17
9
8
19
393BA043 KN
1
2
3
56
7
20
20 14

50
English / USA
FS 80, FS 80 R, FS 85, FS 85 R
Definitions
1. Fuel Pump
Provides additional fuel feed for a
cold start.
2. Choke Lever
Eases engine starting by enriching
mixture.
3. Carburetor Adjusting Screws
For tuning the carburetor.
4. Starter Grip
The grip of the pull starter, which is
the device to start the engine.
5. Fuel Filler Cap
For closing the fuel tank.
6. Fuel Tank
For fuel and oil mixture.
7. Muffler
(with spark arresting screen)
Reduces exhaust noises and
diverts exhaust gases away from
operator.
8. Throttle Trigger
Controls the speed of the engine.
9. Slide Control
For starting throttle, run and stop.
Keeps the throttle partially open
during starting, switches the
engine’s ignition off to stop the
engine.
10. Throttle Trigger Interlock
Must be depressed before the
throttle trigger can be activated.
11. Bike Handle
For easy control of the machine with
both hands during cutting work.
12. Handle Support
Connects the drive tube and bike
handle.
13. Throttle Cable Retainer
Secures the throttle cable to the
drive tube.
14. Clamp (carrying ring)
Connects the brushcutter to the
harness.
15. Spark Plug Boot
Connects the spark plug to the
ignition lead.
16. Air Filter Cover
Encloses and protects the air filter.
17. Machine Support
For resting machine on the ground.
18. Barrier Bar
Helps maintain clearance between
cutting tool and feet and legs of
operator.
19. Loop Handle
For easy control of machine during
cutting work.
20. Drive Tube
Encloses and protects drive shaft
between engine and gearhead.
1 Mowing head
2 Deflector
(for mowing heads only)
3 Line limiting blade
4 Deflector with skirt
(for all cutting tools)
5 Skirt
6 Metal mowing tool
002BA114 KN
13
45
3
64
1
2

51FS 80, FS 80 R, FS 85, FS 85 R
English / USA
Definitions
1. Mowing head
The cutting attachment, i. e. mowing
head, for different purposes
(special accessory).
2. Deflector
The deflector is designed to reduce
the risk of injury from foreign objects
flung backwards toward the
operator by the cutting tool and from
contact with the cutting tool.
3. Line limiting blade
Metal blade at the deflector in order
to keep the line of the mowing head
at the proper length.
4. Deflector with skirt
The deflector is designed to reduce
the risk of injury from foreign objects
flung backwards toward the
operator by the cutting tool and from
contact with the cutting tool. Is not
designed to contain fragmented
metal blades.
5. Skirt
The skirt at the bottom of the
deflector must be adjusted as
described in the chapters on
mounting the various cutting tools.
6. Metal mowing tool
The cutting attachment, i. e. blade,
made from metal for different
purposes (special accessory).
7 Circular Saw Blade
8 Limit Stop (for circular saw blade
only)
Definitions
7. Circular Saw Blade
Cutting tool made of metal for
cutting wood.
8. Limit Stop
Is designed to position the
brushcutter steady against the
wood in order to reduce the risk of
injury from loss of control from
reactive forces such as thrust out.
Engine
EPA:
The Emission Compliance Period
referred to on the Emissions
Compliance Label indicates the number
of operating hours for which the engine
has been shown to meet Federal
emission requirements.
Category A = 300 hours, B = 125 hours,
C = 50 hours
CARB:
The Emission Compliance Period used
on the CARB Air Index Label indicates
the terms:
Extended = 300 hours
Intermediate = 125 hours
Moderate = 50 hours
002BA186 KN
8
7
Single cylinder two-stroke engine
Displacement: 1.55 cu.in
(25.4cm3)
Bore: 1.34 in (34 mm)
Stroke: 1.10 in (28 mm)
Power according to
ISO 8893: 1.3 bhp
(0.95 kW)
Idle speed: 2,800 rpm
Engine cutoff speed
(nominal):
10,500 rpm
Specifications
52
English / USA
FS 80, FS 80 R, FS 85, FS 85 R
Ignition System
Fuel System
Rewind Starter
Weight
1) Version with loop handle
2) Version with bike handle
Contact your STIHL dealer for
information regarding special
accessories that may be available for
your product.
Max. speed of
output shaft (cutting
tool mounting) 7,500 rpm
Type: Electronic magneto ignition
Spark plug
(suppressed): Bosch WSR 6 F,
NGK BPMR 7 A
or Champion
RCJ 6Y
Electrode gap: 0.02 in (0.5 mm)
Spark plug thread: M 14 x 1.25;
0.37 in (9.5 mm)
long
Carburetor: All position diaphragm
carburetor with integral fuel pump
Air filter: Foam and felt
elements
Fuel tank capacity: 0.93 US.pt
(0.44 l)
Fuel mix: See “Fuel”
Starter rope:
0.11 in (2.7 mm) dia. x
35.8 in (910 mm) long
without cutting tool and deflector
FS 80 R 1) 10.8 lb (4.9 kg)
FS 80 2) 11.5 lb (5.2 kg)
FS 85 R 1) 11.0 lb (5.0 kg)
FS 85 2) 11.7 lb (5.3 kg)
FS 85 RX 1) 10.6 lb (4.8 kg)
Special Accessories
53FS 80, FS 80 R, FS 85, FS 85 R
English / USA
Users of this unit should carry out only
the maintenance operations described
in this manual. Other repair work may be
performed only by authorized STIHL
service shops.
Warranty claims following repairs can be
accepted only if the repair has been
performed by an authorized STIHL
servicing dealer using original STIHL
replacement parts.
Original STlHL parts can be identified by
the STlHL part number, the
STIHl
logo and, in some cases, by the STlHL
parts symbol (. This symbol may
appear alone on small parts.
Maintenance and Repairs
54
English / USA
FS 80, FS 80 R, FS 85, FS 85 R
Your Warranty Rights and
Obligations
The U.S. Environmental Protection
Agency (EPA) and STIHL Incorporated
are pleased to explain the Emission
Control System Warranty on your equip-
ment type engine. In the U.S. new 1997
and later model year small off-road
equipment engines must be designed,
built and equipped, at the time of sale, to
meet the U.S. EPA regulations for small
non road engines. The equipment
engine must be free from defects in
materials and workmanship which
cause it to fail to conform with U.S. EPA
standards for the first two years of
engine use from the date of sale to the
ultimate purchaser.
STIHL Incorporated must warrant the
emission control system on your small
off-road engine for the period of time
listed below provided there has been no
abuse, neglect or improper maintenance
of your small off-road equipment engine.
Your emission control system includes
parts such as the carburetor and the
ignition system. Also included may be
hoses, and connectors and other
emission related assemblies.
Where a warrantable condition exists,
STIHL Incorporated will repair your
small off-road equipment engine at no
cost to you, including diagnosis (if the
diagnostic work is performed at an
authorized dealer), parts, and labor.
Manufacturer's Warranty
Coverage:
In the U.S., 1997 and later model year
small off-road equipment engines are
warranted for two years. If any emission-
related part on your engine is defective,
the part will be repaired or replaced by
STIHL Incorporated free of charge.
Owner's Warranty
Responsibilities:
As the small off-road equipment engine
owner, you are responsible for the
performance of the required mainte-
nance listed in your owner's manual.
STIHL Incorporated recommends that
you retain all receipts covering
maintenance on your small off-road
equipment engine, but STIHL
Incorporated cannot deny warranty
solely for the lack of receipts or for your
failure to ensure the performance of all
scheduled maintenance.
Any replacement part or service that is
equivalent in performance and durability
may be used in non-warranty
maintenance or repairs, and shall not
reduce the warranty obligations of the
engine manufacturer.
As the small off-road equipment engine
owner, you should be aware, however,
that STIHL Incorporated may deny you
warranty coverage if your small off-road
equipment engine or a part has failed
due to abuse, neglect, improper mainte-
nance or unapproved modifications.
You are responsible for presenting your
small off-road equipment engine to a
STIHL service center as soon as a
problem exists. The warranty repairs will
be completed in a reasonable amount of
time, not to exceed 30 days.
If you have any questions regarding your
warranty rights and responsibilities,
please contact a STIHL customer
service representative at 1-800-467-
8445 or you can write to
STIHL Inc.,
536 Viking Drive, P.O. Box 2015,
Virginia Beach, VA 23450-2015.
Coverage by STIHL Incorporated
STIHL Incorporated warrants to the
ultimate purchaser and each subse-
quent purchaser that your small off-road
equipment engine will be designed, built
and equipped, at the time of sale, to
meet all applicable regulations. STIHL
Incorporated also warrants to the initial
purchaser and each subsequent
purchaser that your engine is free from
defects in materials and workmanship
which cause the engine to fail to conform
with applicable regulations for a period
of two years.
Warranty Period
The warranty period will begin on the
date the utility equipment engine is
purchased by the initial purchaser and
you have signed and sent back the
warranty card to STIHL.
Not for California:
STIHL Incorporated Federal Emission Control Warranty
Statement
55FS 80, FS 80 R, FS 85, FS 85 R
English / USA
If any emission related part on your
engine is defective, the part will be
replaced by STIHL Incorporated at no
cost to the owner. Any warranted part
which is not scheduled for replacement
as required maintenance, or which is
scheduled only for regular inspection to
the effect of "repair or replace as
necessary" will be warranted for the
warranty period. Any warranted part
which is scheduled for replacement as
required maintenance will be warranted
for the period of time up to the first
scheduled replacement point for that
part.
Diagnosis
You, as the owner, shall not be charged
for diagnostic labor which leads to the
determination that a warranted part is
defective. However, if you claim
warranty for a component and the
machine is tested as non-defective,
STIHL Incorporated will charge you for
the cost of the emission test. Mechanical
diagnostic work will be performed at an
authorized STIHL servicing dealer.
Emission test may be performed either
at STIHL Incorporated or at any
independent test laboratory.
Warranty Work
STIHL Incorporated shall remedy
warranty defects at any authorized
STIHL servicing dealer or warranty
station. Any such work shall be free of
charge to the owner if it is determined
that a warranted part is defective.
Any manufacturer-approved or
equivalent replacement part may be
used for any warranty maintenance or
repairs on emission-related parts and
must be provided without charge to the
owner. STIHL Incorporated is liable for
damages to other engine components
caused by the failure of a warranted part
still under warranty.
The following list specifically defines the
emission-related warranted parts:
Carburetor
Choke (Cold start enrichment system)
Intake manifold
Air filter
Spark plug
Magneto or electronic ignition system
(ignition module)
Catalytic converter (if applicable)
Fasteners
Where to make a claim for
Warranty Service
Bring the product to any authorized
STIHL servicing dealer and present the
signed warranty card.
Maintenance Requirements
The maintenance instructions in this
manual are based on the application of
the recommended 2-stroke fuel-oil
mixture (see also instruction "Fuel").
Deviations from this recommendation
regarding quality and mixing ratio of fuel
and oil may require shorter maintenance
intervals.
Limitations
This Emission Control Systems
Warranty shall not cover any of the
following:
:repair or replacement required
because of misuse, neglect or lack
of required maintenance,
:repairs improperly performed or
replacements not conforming to
STIHL Incorporated specifications
that adversely affect performance
and/or durability, and alterations or
modifications not recommended or
approved in writing by STIHL
Incorporated,
and
:replacement of parts and other
services and adjustments
necessary for required maintenance
at and after the first scheduled
replacement point.
56
English / USA
FS 80, FS 80 R, FS 85, FS 85 R
Your Warranty Rights and
Obligations
The California Air Resources Board
(CARB) and STIHL Incorporated are
pleased to explain the emissions control
system's warranty on your 2007 and
later small off-road equipment engine.
In California, new equipment that uses
small off-road-engines must be
designed, built, and equipped to meet
the State's stringent anti-smog
standards. STIHL Incorporated must
warrant the emissions control system on
your small off-road engine for the period
listed below provided there has been no
abuse, neglect or improper maintenance
of your small off-road engine.
Your emissions control system may
include parts such as:
Air filter, Carburetor, Purger, Choke
(Cold Start Enrichment System), Control
Linkages, Intake Manifold, Magneto or
Electronic Ignition System (Ignition
module), Spark Plug, Catalytic
Converter (if applicable), Fuel Tank, Fuel
Cap, Fuel Line, Fuel Line Fittings,
Clamps, Fasteners.
Where a warrantable condition exists,
STIHL Incorporated will repair your
small off-road equipment engine at no
cost to you including diagnosis, parts
and labor.
Manufacturer’s Warranty
Coverage:
This emissions control system is
warranted for two years in California. If
any emissions-related part on your
equipment is defective, the part will be
repaired or replaced by STIHL
Incorporated free of charge.
Owner’s Warranty
Responsabilities:
As the small off-road equipment engine
owner, you are responsible for
performance of the required
maintenance listed in your instruction
manual. STIHL Incorporated
recommends that you retain all receipts
covering maintenance on your small off-
road equipment engine, but STIHL
Incorporated cannot deny warranty
solely for the lack of receipts or your
failure to ensure the performance of all
scheduled maintenance.
As the small off-road equipment engine
owner, you should however be aware
that STIHL Incorporated may deny you
warranty coverage if your small off-road
equipment engine or a part has failed
due to abuse, neglect, or improper
maintenance or unapproved
modifications.
You are responsible for presenting your
small off-road equipment engine to a
STIHL servicing dealer as soon as the
problem exists. The warranty repairs
should be completed in a reasonable
amount of time, not to exceed 30 days. If
you have any questions regarding your
warranty rights and responsibilities,
please contact a STIHL customer
service representative at 1-800-467-
8445 or you can write to
STIHL Inc., 536 Viking Drive,
P.O. Box 2015,
Virginia Beach, VA 23450-2015.
Coverage by STIHL Incorporated
STIHL Incorporated warrants to the
ultimate purchaser and each
subsequent purchaser that your small
off-road equipment engine is designed,
built and equipped, at the time of sale, to
meet all applicable emission
regulations.
STIHL Incorporated also warrants to the
initial purchaser and each subsequent
purchaser that your engine is free from
defects in materials and workmanship
which cause the engine to fail to conform
to applicable emission regulations for a
period of two years.
For California only:
STIHL Incorporated California Exhaust and Evaporative Emissions Control Warranty
Statement
57FS 80, FS 80 R, FS 85, FS 85 R
English / USA
Defects Warranty Period
The warranty periods will begin on the
date the utility equipment engine is
purchased by the initial purchaser. If any
emission related part on your engine is
defective, the part will be replaced by
STIHL Incorporated at no cost to the
owner.
Add on or modified parts that are not
exempted by CARB may not be used.
The use of any non exempted add on or
modified parts will be grounds for
disallowing a warranty claim. STIHL
Incorporated will not be liable to warrant
failures of warranted parts caused by the
use of a non exempted add on or
modified part.
The warranty on emissions-related parts
will be interpreted as follows:
1. Any warranted part that is not
scheduled for replacement as required
maintenance in the written instructions
required in the Emission Warranty Parts
List (see below) must be warranted for
the warranty period defined in
Subsection COVERAGE BY STIHL
INCORPORATED, see above. If any
such part fails during the period of
warranty coverage, it must be repaired
or replaced by the manufacturer
according to Subsection (4) below. Any
such part repaired or replaced under the
warranty must be warranted for the
remaining warranty period.
2. Any warranted part that is
scheduled only for regular inspection in
the written instructions required by the
Emission Warranty Parts List (see
below) must be warranted for the
warranty period defined in Subsection
COVERAGE BY STIHL
INCORPORATED, see above. A
statement in such written instructions to
the effect of "repair or replace as
necessary" will not reduce the period of
warranty coverage. Any such part
repaired or replaced under warranty
must be warranted for the remaining
warranty period.
3. Any warranted part that is
scheduled for replacement as required
maintenance in the written instructions
required by the Emission Warranty Parts
List (see below) must be warranted for
the period of time prior to the first
scheduled replacement point for that
part. If the part fails prior to the first
scheduled replacement, the part must
be repaired or replaced by the engine
manufacturer according to Subsection
(4) below. Any such part repaired or
replaced under warranty must be
warranted for the remainder of the
period prior to the first scheduled
replacement point for the part.
4. Repair or replacement of any
warranted part under the warranty must
be performed at a warranty station at no
charge to the owner.
5. Notwithstanding the provisions of
Subsection (4) above, warranty services
or repairs will be provided at all
manufacturer distribution centers that
are authorized to service the subject
engines.
6. The owner must not be charged for
diagnostic labor that leads to the
determination that a warranted part is in
fact defective, provided that such
diagnostic work is performed at a
warranty station.
Warranty Work
STIHL Incorporated shall remedy
warranty defects at any authorized
STIHL servicing dealer or warranty
station. Any such work shall be free of
charge to the owner if it is determined
that a warranted part is defective. Any
manufacturer approved or equivalent
replacement part may be used for any
warranty maintenance or repairs on
emission related parts and must be
provided without charge to the owner.
STIHL Incorporated is liable for
damages to other engine components
caused by the failure of a warranted part
still under warranty.

58
English / USA
FS 80, FS 80 R, FS 85, FS 85 R
Emission Warranty Parts List
Air filter, Carburetor, Purger, Choke
(Cold Start Enrichment System), Control
Linkages, Intake Manifold, Magneto or
Electronic Ignition System (Ignition
Module), Spark Plug, Catalytic
Converter (if applicable), Fuel Tank, Fuel
Cap, Fuel Line, Fuel Line Fittings,
Clamps, Fasteners
Where to make a claim for
Warranty Service
Bring the STIHL product to any
authorized STIHL servicing dealer and
present the signed STIHL product
registration card, or the print-out of the
electronic product registration.
Limitations
The repair or replacement of any
warranted part otherwise eligible for
warranty coverage may be excluded
from such warranty coverage if STIHL
Incorporated demonstrates that the
STIHL product has been abused,
neglected, or improperly maintained,
and that such abuse, neglect, or
improper maintenance was the direct
cause of the need for repair or
replacement of the part. That
notwithstanding, any adjustment of a
component that has a factory installed,
and properly operating, adjustment
limiting device is still eligible for warranty
coverage.
STIHL Registered Trademarks
STIHL®
q
(
The color combination orange-grey
(U.S. Registrations #2,821,860;
#3,010,057; and #3,010,058)
4-MIX®
AUTOCUT®
EASYSTART®
OILOMATIC®
STIHL Cutquik®
STIHL DUROMATIC®
STIHL Farm Boss®
STIHL Quickstop®
STIHL ROLLOMATIC®
STIHL WOOD BOSS®
TIMBERSPORTS®
YARD BOSS®
Some of STIHL’s Common Law
Trademarks
BioPlus™
Easy2Start™
EasySpool™
ElastoStart™
Ematic™ / Stihl-E-Matic™
FixCut™
HT Plus™
IntelliCarb™
Master Control Lever™
Micro™
Pro Mark™
Quad Power™
Quiet Line™
STIHL Arctic™
STIHL Compact™
STIHL HomeScaper Series™
STIHL Interchangeable Attachment
Series™
Trademarks
59FS 80, FS 80 R, FS 85, FS 85 R
English / USA
STIHL Magnum™ / Stihl-Magnum™
STIHL MiniBoss™
STIHL MotoPlus 4™
STIHL Multi-Cut HomeScaper Series™
Stihl Outfitters™
STIHL PICCO™
STIHL PolyCut™
STIHL PowerSweep™
STIHL Precision Series™
STIHL Protech™
STIHL RAPID™
STIHL SuperCut™
STIHL Territory™
TapAction™
TrimCut™
This listing of trademarks is subject to
change.
Any unauthorized use of these
trademarks without the express written
consent of
ANDREAS STIHL AG & Co. KG,
Waiblingen is strictly prohibited.
60
English / USA
FS 80, FS 80 R, FS 85, FS 85 R
61FS 80, FS 80 R, FS 85, FS 85 R
español / EE.UU
BA_SE_039_010_31_19.fmImpreso en papel sin cloro.
Las tintas contienen aceites vegetales,el papel es reciclable.
© ANDREAS STIHL AG & Co. KG, 2008
0458 393 8621. M10. D8. CP. Printed in USA
STIHl
Contenido
Guía para el uso
de este manual ............................... 62
Medidas de seguridad y
técnicas de manejo ........................ 63
Combinaciones aprobadas de
herramienta de corte,
deflector, mango y arnés ................ 80
Accesorios aprobados
para herramientas motorizadas ...... 82
Montaje del manillar ....................... 82
Ajuste del cable del
acelerador ...................................... 84
Montaje del mango tórico ............... 84
Colocación de la argolla
de transporte .................................. 86
Montaje del deflector ...................... 86
Montaje de las herramientas
de corte .......................................... 87
Combustible ................................... 91
Llenado de combustible ................. 92
Colocación del arnés ...................... 93
Equilibrio de la cortadora
de matorrales ................................. 93
Arranque / parada
del motor ........................................ 95
Instrucciones de manejo ................ 98
Limpieza del filtro de aire ............... 98
Manejo del motor ............................ 99
Ajuste del carburador ..................... 99
Chispero en silenciador ................ 101
Revisión de la bujía ...................... 101
Lubricación de la caja
de engranajes .............................. 102
Sustitución de la cuerda
de arranque y resorte
de rebobinado .............................. 102
Almacenamiento
de la máquina ............................... 105
Afilado de las herramientas
de corte metálicas ........................ 105
Tabla de mantenimiento ............... 107
Piezas y controles ........................ 109
Especificaciones ........................... 112
Accesorios especiales ................... 113
Mantenimiento y
reparaciones ................................. 113
Declaración de garantía
de STIHL Incorporated sobre
sistemas de control
de emisiones según
normas Federales ......................... 114
Declaración de garantía
de STIHL Incorporated sobre
el control de emisiones
de gases de escape y emisiones
por evaporación para el
Estado de California ...................... 116
Marcas comerciales ...................... 118
Permita que solamente las personas
que comprenden la materia tratada en
este manual manejen su orilladora/
cortadora de matorrales. Para obtener el
rendimiento y satisfacción máximos de
la orilladora/cortadora de matorrales
STIHL, es importante leer y comprender
las instrucciones de mantenimiento y las
precauciones de seguridad, que
empiezan en la página 63, antes de usar
la orilladora/cortadora de matorrales.
Comuníquese con el concesionario o
distribuidor de STIHL si no se entiende
alguna de las instrucciones dadas en el
presente manual.
!Advertencia!
Dado que la orilladora/cortadora de
matorrales es una herramienta de corte
motorizada de gran velocidad, es
necesario tomar medidas especiales de
seguridad para reducir el riesgo de
lesiones. El uso descuidado o
inadecuado puede causar lesiones
graves e incluso mortales. Asegúrese
que su máquina esté equipada con el
deflector, mango y arnés adecuados
para el tipo de accesorio de corte que se
está utilizando. La filosofía de STIHL es
mejorar continuamente todos sus
productos. Como resultado, de vez en
cuando se llevan a cabo modificaciones
y mejoramientos técnicos. Si las
características de funcionamiento o la
apariencia de su orilladora/cortadora de
matorrales difieren de aquéllas descritas
en este manual, le rogamos ponerse en
contacto con el concesionario STIHL
para recibir más información y
asistencia.

62
español / EE.UU
FS 80, FS 80 R, FS 85, FS 85 R
Pictogramas
Todos los pictogramas que se
encuentran en la máquina se muestran
y explican en este manual.
Las instrucciones de uso y manipulación
vienen acompañadas de ilustraciones.
Símbolos en el texto
Los pasos individuales o procedimientos
descritos en el manual pueden estar
señalados en diferentes maneras:
:Un punto identifica un paso o
procedimiento sin referencia directa
a una ilustración.
Una descripción de un paso o
procedimiento que se refiere
directamente a una ilustración puede
tener números de referencia que
aparecen en la ilustración.
Ejemplo:
Suelte el tornillo (1)
Palanca (2) ...
Además de las instrucciones de uso, en
este manual pueden encontrarse
párrafos a los que usted debe prestar
atención especial. Tales párrafos están
marcados con los símbolos que se
describen a continuación.
Advertencia donde existe el riesgo
de un accidente o lesiones
personales o daños graves a la
propiedad.
Precaución donde existe el riesgo
de dañar la máquina o los
componentes individuales.
Nota o sugerencia que no es
esencial para el uso de la máquina,
pero puede ayudar al operador a
comprender mejor la situación y
mejorar su manera de manejar la
máquina.
Nota o sugerencia sobre el
procedimiento correcto con el fin de
evitar dañar el medio ambiente.
Equipo y características
Este manual de instrucciones
puede describir varios modelos con
diferentes características. Los
componentes que no se encuentran
instalados en todos los modelos y
las aplicaciones correspondientes
están marcados con un asterisco
(*). Esos componentes pueden ser
ofrecidos como accesorios
especiales por el concesionario
STIHL.
Mejoramientos técnicos
La filosofía de STIHL es mejorar
continuamente todos su productos.
Como resultado de ello, periódicamente
se introducen cambios de diseño y
mejoras. Si las características de
funcionamiento o la apariencia de su
máquina difieren de las descritas en
este manual, comuníquese con el
concesionario STIHL para obtener la
ayuda que requiera.
Por lo tanto, es posible que algunos
cambios, modificaciones y
mejoramientos no hayan sido descritos
en este manual.
Guía para el uso de este
manual

63FS 80, FS 80 R, FS 85, FS 85 R
español / EE.UU
Dado que la orilladora/
cortadora de matorrales
es una herramienta de
corte motorizada, con
cuchillas afiladas, que
funciona a gran
velocidad, es necesario tomar medidas
especiales de seguridad para reducir el
riesgo de lesiones.
Es importante que usted
lea, comprenda bien y
respete las siguientes
advertencias y medidas
de seguridad. Lea el
manual de instrucciones y
las precauciones de seguridad
periódicamente. El uso descuidado o
inadecuado puede causar lesiones
graves o incluso mortales.
Los términos empleados en este manual
para designar la herramienta
motorizada variarán de acuerdo con los
tipos de accesorios de corte instalados
en la misma. La palabra "orilladora" se
usa para identificar una unidad FS
equipada con un cabezal de hilo de nilón
o un cabezal con cuchillas de plástico
flexibles (tal como el cabezal PolyCut).
El "cortador de matorrales" identifica un
unidad equipada con una cuchilla de
metal rígida. Muchos de los modelos FS
pueden usarse como una orilladora o
una cortadora de matorrales - por lo
tanto, la herramienta motorizada se
designa aquí como una "orilladora/
cortadora de matorrales". Algunos de
los modelos FS pequeños y/o livianos
sólo pueden usarse como orilladoras, es
decir no pueden equiparse con cuchillas
metálicas.
El término "sierra despejadora"
identifica una orilladora/cortadora de
matorrales de alta potencia
particularmente útil para usar con una
sierra circular para cortar árboles
jóvenes o pequeños. Los modelos FS
con una "R" en la chapa de
identificación se configuraron
originalmente (en el momento de
distribución) como una orilladora con un
mango tórico.
!Advertencia
Tal como se explicará a continuación en
estas Medidas de seguridad, para
reducir el riesgo de lesiones personales,
asegúrese que su máquina esté
equipada con el mango, arnés y
deflector adecuados para el tipo de
accesorio de corte que se está
utilizando. Utilice exclusivamente los
accesorios de corte autorizados
específicamente por STIHL para usar en
su modelo FS.
Pida a su concesionario STIHL que le
enseñe el manejo de la herramienta
motorizada. Respete todas las
disposiciones, reglamentos y normas de
seguridad locales del caso.
!Advertencia!
No preste ni alquile nunca su
herramienta motorizada sin entregar el
manual de instrucciones. Asegúrese
que todas las personas que utilicen la
máquina lean y comprendan la
información contenida en este manual.
!Advertencia!
El uso de esta máquina puede ser
peligroso. Si el hilo o la cuchilla giratoria
llega a entrar en contacto con su cuerpo,
le ocasionará una cortadura. Cuando
choca con algún objeto extraño sólido
tal como rocas o pedazos de metal,
puede arrojarlo directamente o por
rebote en dirección de personas que se
encuentren en la cercanía o del
operador. El contacto con dichos objetos
puede dañar los accesorios de corte y
puede hacer que las cuchillas se
rompan, astillen o agrieten. Los objetos
lanzados, incluso los cabezales o las
cuchillas rotos, pueden provocar
lesiones graves o mortales al operador o
a personas que se encuentren en su
proximidad.
STIHL no recomienda el uso de
cuchillas rígidas en zonas pedregosas.
Use la orilladora/cortadora de
matorrales equipada con el accesorio de
corte apropiado únicamente para cortar
pasto, matorrales, madera y materiales
similares. No debe usarse para ningún
otro propósito ya que el uso indebido
puede resultar en accidentes o daños de
la máquina.
!Advertencia!
Nunca se debe permitir a los niños que
usen esta herramienta motorizada. No
se debe permitir la proximidad de otros,
especialmente niños y animales, donde
se esté utilizando la máquina.
Medidas de seguridad y
técnicas de manejo
64
español / EE.UU
FS 80, FS 80 R, FS 85, FS 85 R
!Advertencia!
Para reducir el riesgo de ocasionar
lesiones a las personas en la cercanía y
daños a la propiedad, nunca deje la
herramienta motorizada en marcha
desatendida. Cuando no está en uso
(por ejemplo durante el descanso),
apáguela y asegúrese que las personas
no autorizadas no pueden usarla.
La mayoría de las medidas de seguridad
y avisos se refiere al uso de todas las
orilladoras/cortadoras de matorrales de
STIHL. Los distintos modelos pueden
contar con piezas y controles diferentes.
Vea la sección correspondiente de su
manual de instrucciones para tener una
descripción de los controles y la función
de los componentes de su modelo.
El uso seguro de una orilladora/
cortadora de matorrales atañe a
1. el operador
2. la herramienta motorizada
3. el uso de la herramienta
motorizada.
EL OPERADOR
Condición física
Usted debe estar en buenas
condiciones físicas y psíquicas y no
encontrarse bajo la influencia de
ninguna sustancia (drogas, alcohol, etc.)
que le pueda restar visibilidad, destreza
o juicio. No maneje esta máquina
cuando está fatigado.
!Advertencia!
Esté alerta. Si se cansa, tómese un
descanso. El cansancio puede provocar
una pérdida del control. El uso de
cualquier herramienta motorizada es
fatigoso. Si usted padece de alguna
dolencia que pueda ser agravada por la
fatiga, consulte a su médico antes de
utilizar esta máquina.
!Advertencia!
El uso prolongado de una herramienta
motorizada (u otras máquinas) expone
al operador a vibraciones que pueden
provocar el fenómeno de Raynaud
(dedos blancos) o el síndrome del túnel
carpiano.
Estas condiciones reducen la capacidad
de las manos de sentir y regular la
temperatura, producen entumecimiento
y ardor y pueden provocar trastornos
nerviosos y circulatorios, así como
necrosis de los tejidos.
No se conocen todos los factores que
contribuyen a la enfermedad de
Raynaud, pero se mencionan el clima
frío, el fumar y las enfermedades o
condiciones físicas que afectan los
vasos sanguíneos y la circulación de la
sangre, como asimismo los niveles altos
de vibración.por períodos largos. Por lo
tanto, para reducir el riesgo de la
enfermedad de dedos blancos y del
síndrome del túnel carpiano, sírvase
notar lo siguiente:
La mayor parte de las herramientas
motorizadas de STIHL se ofrecen con
un sistema antivibración (AV) cuyo
propósito es reducir la transmisión de
las vibraciones creadas por la máquina
a las manos del operador. Se
recomienda el uso del sistema AV a
aquellas personas que utilizan
herramientas motorizadas en forma
constante y regular.

65FS 80, FS 80 R, FS 85, FS 85 R
español / EE.UU
Mantenga el sistema AV en buen
estado. Una herramienta motorizada
con los componentes flojos o con
amortiguadores AV dañados o
desgastados también tendrá tendencia
a tener niveles más altos de vibración.
Agarre firmemente los mangos en todo
momento, pero no los apriete con fuerza
constante y excesiva. Use guantes y
mantenga las manos abrigadas.
Tómese descansos frecuentes.
Todas las precauciones antes
mencionadas no le garantizan que va a
estar totalmente protegido contra la
enfermedad de Raynaud o el síndrome
del túnel carpiano. Por lo tanto, los
operadores constantes y regulares
deben revisar con frecuencia el estado
de sus manos y dedos. Si aparece
alguno de los síntomas arriba
mencionados, consulte inmediatamente
al médico.
!Advertencia!
El sistema de encendido de la máquina
STIHL produce un campo
electromagnético de intensidad muy
baja. El mismo puede interferir con
algunos tipos de marcapasos. Para
reducir el riesgo de lesiones graves o
mortales, las personas portadoras de
marcapasos deben consultar a sus
médicos y al fabricante del marcapasos
antes de usar esta máquina.
Vestimenta adecuada
!Advertencia!
Para reducir el riesgo de lesiones el
operador debe usar el equipo protector
adecuado.
El deflector provisto con su herramienta
motorizada no siempre protege al
operador contra todos los objetos
extraños (gravilla, vidrio, alambre, etc.)
arrojados por el accesorio de corte
giratorio. Los objetos arrojados o
lanzados por el accesorio también
pueden rebotar y golpear al operador.
!Advertencia!
Para reducir el riesgo de
lesionarse los ojos, nunca
maneje la herramienta
motorizada si no tiene
puestas gafas o anteojos
de seguridad bien
ajustados con una protección adecuada
en las partes superior y laterales que
satisfagan la norma ANSI Z 87.1 (o la
norma nacional correspondiente). Para
reducir el riesgo de lesionarse la cara,
STIHL recomienda usar también una
careta o protector facial adecuado sobre
las gafas o anteojos de seguridad.
!Advertencia!
El ruido de la herramienta
motorizada puede dañar
los oídos. Siempre use
amortiguadores del ruido
(tapones u orejeras) para
protegerse los oídos. Los
usuarios constantes y regulares deben
someterse con frecuencia a un examen
o control auditivo.
Esté especialmente alerta y tenga
cuidado cuando se usa protectores de
oídos, ya que los mismos reducen la
posibilidad de oír señales de
advertencia (gritos, alarmas, etc.).
Siempre use guantes al
usar la máquina y las
cuchillas metálicas. Los
guantes gruesos y
antideslizantes mejoran el
manejo y ayudan a
proteger las manos.
La ropa debe ser de
confección fuerte y
ajustada, pero no tanto
que impida la completa
libertad de movimiento.
Use pantalones largos
hechos de un material
grueso para protegerse
las piernas. No use
pantalones cortos, sandalias o pies
descalzos.

66
español / EE.UU
FS 80, FS 80 R, FS 85, FS 85 R
Evite el uso de chaquetas
sueltas, bufandas,
corbatas, joyas,
pantalones acampanados
o con vueltas, pelo largo
suelto o cualquier cosa
que pueda engancharse en las ramas,
matorrales o piezas en movimiento de la
máquina. Sujétese el pelo de modo que
quede sobre los hombros.
Es muy importante tener
una buena superficie de
apoyo para los pies.
Póngase botas gruesas
con suela antideslizante.
Recomendamos las botas
de seguridad con puntera de acero.
Utilice un casco de
seguridad aprobado para
reducir el riesgo de
lesionarse la cabeza en
caso de existir tal tipo de
peligro.
LA HERRAMIENTA MOTORIZADA
Para las ilustraciones y definiciones de
los componentes de la herramienta
motorizada, vea el capítulo "Piezas
principales y controles".
!Advertencia!
Nunca modifique, de ninguna manera,
esta herramienta motorizada. Utilice
únicamente los accesorios y repuestos
suministrados por STIHL y
expresamente autorizados por STIHL
para usarse con el modelo específico de
STIHL. Si bien es posible conectar a la
herramienta motorizada de STIHL
ciertos accesorios no autorizados, su
uso puede ser, en la práctica,
extremadamente peligroso. Para los
accesorios de corte autorizados por
STIHL para su unidad, consulte el
capítulo "Combinaciones aprobadas
herramienta de corte, deflector, mango y
arnés", en el manual de instrucciones o
en el catálogo STIHL "Herramientas
motorizadas y accesorios".
Si la máquina experimenta cargas
excesivas para las cuales no fue
diseñada (por ejemplo, impactos
severos o una caída), siempre
asegúrese que la máquina está en
buenas condiciones antes de seguir con
el trabajo. Inspeccione específicamente
la integridad del sistema de combustible
(ausencia de fugas) y asegúrese que los
controles y dispositivos de seguridad
funcionan como es debido. No siga
manejando esta máquina si está
dañada. En caso de dudas, pida que el
concesionario de servicio de STIHL la
revise.
USO DE LA HERRAMIENTA
MOTORIZADA
Transporte de la herramienta
motorizada
!Advertencia!
Para reducir el riesgo de sufrir lesiones
debido a la pérdida de control y al
contacto con las cuchillas o el hilo,
nunca lleve ni transporte la herramienta
motorizada con el accesorio de corte en
marcha.
Puede acarrearse solamente en
posición horizontal. Agarre el eje de una
manera que mantenga la máquina
equilibrada horizontalmente. Mantenga
el silenciador caliente lejos de su cuerpo
y el accesorio de corte detrás de usted.
389BA019 KN

67FS 80, FS 80 R, FS 85, FS 85 R
español / EE.UU
!Advertencia!
Antes de apoyar la orilladora/cortadora
de matorrales en el suelo, apague el
motor y asegúrese de que el accesorio
de corte ha dejado de girar. Cuando
transporte la máquina en un vehículo,
sujétela firmemente para impedir su
vuelco, el derrame de combustible y el
daño a la máquina. STIHL recomienda
mantener las cuchillas metálicas
cubiertas con el protector para el
transporte (accesorio opcional).
Combustible
Su herramienta motorizada de STIHL
utiliza una mezcla de aceite y gasolina
como combustible (vea el capítulo
"Combustible" en el manual de
instrucciones).
!Advertencia!
La gasolina es un
combustible muy
inflamable. Si se derrama
y arde a causa de una
chispa u otra fuente de
ignición, puede provocar
un incendio y quemaduras graves o
daños a la propiedad. Tenga sumo
cuidado cuando manipule gasolina o la
mezcla de combustible. No fume cerca
del combustible o la herramienta
motorizada, ni acerque ningún fuego o
llama a ellos. Puede escapar vapor
inflamable del sistema de combustible.
Instrucciones para el llenado de
combustible
!Advertencia!
Cargue de combustible su herramienta
motorizada en lugares al aire libre bien
ventilados. Siempre apague el motor y
deje que se enfríe antes de llenar de
combustible. Dependiendo del
combustible utilizado, de las
condiciones climáticas y del sistema de
ventilación del tanque, es posible que se
forme vapor de gasolina a presión
dentro del tanque de combustible.
Para reducir el riesgo de quemaduras,
así como otras lesiones corporales
ocasionadas por los escapes de vapor
de gasolina, quite la tapa de llenado de
combustible de la herramienta
motorizada cuidadosamente de modo
que la presión que se pueda haber
acumulado en el tanque se disipe
lentamente. Nunca quite la tapa de
llenado de combustible mientras el
motor está funcionando.
Elija una superficie despejada para
llenar el tanque y aléjese 3 m (10 pies)
por lo menos del lugar en que lo haya
llenado antes de arrancar el motor.
Limpie todo el combustible derramado
antes de arrancar la máquina.
!Advertencia!
Compruebe que no existen fugas de
combustible mientras llena el tanque y
durante el funcionamiento de la
máquina. Si detecta alguna fuga de
combustible, no arranque el motor ni lo
haga funcionar sin antes reparar la fuga
y limpiar el combustible derramado.
Tenga cuidado de no mancharse la ropa
con combustible. Si la mancha,
cámbiesela inmediatamente.
El tipo de tapa de llenado difiere con los
distintos modelos.
Tapa con empuñadura
!Advertencia!
Para reducir el riesgo de derramar
combustible y provocar un incendio
debido a una tapa de combustible mal
apretada, coloque la tapa en la posición
correcta y apriétela en la boca de
llenado del tanque.
Para hacer esto con esta
tapa STIHL, levante la
empuñadura en la parte
superior de la tapa hasta
dejarla vertical a un
ángulo de 90°. Inserte la
tapa en la boca de llenado del tanque,
alineando las marcas triangulares en la
empuñadura de la tapa y en la boca del
tanque. Utilizando la empuñadura, gire
la tapa firmemente en sentido horario
hasta donde tope (aprox. un cuarto de
vuelta).
Doble la empuñadura
dejándola a ras con la
parte superior de la tapa.
Si no queda totalmente a
ras y el tope en la
empuñadura no encaja en
el hueco correspondiente en el cuello de
llenado, la tapa está mal asentada y
apretada, se deberán repetir los pasos
anteriores.

68
español / EE.UU
FS 80, FS 80 R, FS 85, FS 85 R
Tapa roscada
!Advertencia!
Las vibraciones de la
máquina pueden aflojar
una tapa de combustible
que ha quedado mal
apretada, o simplemente
soltarla y derramar
combustible. Para reducir el riesgo de
derrames e incendio, apriete la tapa de
llenado de combustible a mano tan
firmemente como sea posible.
Antes de arrancar
!Advertencia!
Siempre revise la herramienta
motorizada para comprobar que está en
buenas condiciones y que funciona
correctamente antes de arrancarla, en
particular el gatillo de aceleración y su
bloqueo, el interruptor de parada, el
accesorio de corte, el deflector y el
arnés. El gatillo de aceleración debe
moverse libremente y siempre debe
retornar a la posición de ralentí por la
acción de resorte. Nunca intente
modificar los controles o los dispositivos
de seguridad. Nunca use una
herramienta motorizada que esté
dañada o mal cuidada.
!Advertencia!
No instale ningún accesorio de corte en
una máquina sin que todas las piezas
requeridas estén correctamente
instaladas. Si no se utilizan las piezas
debidas se puede causar el
desprendimiento de la cuchilla o el
cabezal y lesionar gravemente al
operador o a las personas que
encuentren en su proximidad.
!Advertencia!
El accesorio de corte debe estar
correctamente apretado y en buenas
condiciones de trabajo. Busque piezas
sueltas (tuercas, tornillos, etc.) y
cabezales agrietados o dañados, o
cuchillas agrietadas, combadas,
deformadas o dañadas. Sustituya los
cabezales o las cuchillas dañados antes
de usar la herramienta motorizada.
Mantenga las cuchillas siempre
afiladas.
Mantenga los mangos limpios y secos
en todo momento; es particularmente
importante mantenerlos libres de
humedad, aceite, grasa o resinas para
garantizar que la máquina pueda
empuñarse firmemente para mantenerla
bajo control seguro.
!Advertencia!
Asegúrese que el casquillo de la bujía
esté firmemente colocado – un casquillo
suelto puede crear un arco voltaico y
encender los vapores del combustible,
provocando un incendio.
! Advertencia!
Para reducir el
riesgo de sufrir
lesiones
corporales debido
a la pérdida de
control y/o al contacto con la cuchilla o el
hilo y los objetos arrojados, asegúrese
que su máquina está equipada con el
deflector, mango y arnés correctos para
el tipo de accesorio de corte que está
usando (vea la tabla en el capítulo
"Combinaciones aprobadas de
accesorio de corte, deflector, mango y
arnés").
Tal como se puede ver en la tabla, para
usar algunos de los accesorios de corte
puede ser necesario cambiar el
deflector, el mango y/o el arnés.
Mantenga siempre el deflector (y la
faldilla en su caso) bien ajustado (vea en
su manual de instrucciones los capítulos
de "Montaje del deflector" y "Montaje de
los accesorios de corte").

69FS 80, FS 80 R, FS 85, FS 85 R
español / EE.UU
.
Las flechas (A) en el deflector y el tope
(B) (visto del fondo) muestran el
sentido correcto de rotación del
accesorio de corte. Sin embargo, al
verlo de arriba, el accesorio de corte gira
en sentido contrahorario.
Ajuste el arnés y la empuñadura de
modo correspondiente a su estatura
antes de empezar a trabajar. La
máquina debe estar correctamente
equilibrada de la forma especificada en
el manual de instrucciones para un
control correcto y menos fatiga de
trabajo. Para prepararse para
emergencias, practique la liberación
rápida de la unidad del arnés.
Arranque
Arranque el motor al aire libre, por lo
menos 3 m (10 pies) del lugar en que lo
haya llenado.
Para las instrucciones específicas de
arranque, vea la sección
correspondiente en el manual del
usuario. Coloque la herramienta
motorizada sobre suelo firme u otra
superficie sólida en un lugar abierto.
Mantenga el equilibrio y elija un buen
punto de apoyo para los pies.
!Advertencia!
Para reducir el riesgo de lesiones
debido al contacto con las cuchillas o el
hilo, esté absolutamente seguro que el
accesorio de corte se encuentra lejos de
su cuerpo y de todas las obstrucciones
y objetos, incluido el suelo, porque al
arrancar el motor, su velocidad será lo
suficientemente rápida para que el
embrague se engrane y haga girar el
accesorio de corte.
Tan pronto arranque, accione
inmediatamente por un breve momento
el gatillo de aceleración para
desconectarlo de la posición de
arranque y permitir que la velocidad del
motor se reduzca al valor de ralentí.
Con el motor funcionando a velocidad
de ralentí solamente, enganche la
herramienta motorizada al gancho de
resorte de su arnés (vea el capítulo
correspondiente en este manual).
!Advertencia!
Su herramienta motorizada es una
máquina que debe ser manejada por
solamente una persona. No deje que
otras personas estén en el lugar de
trabajo, aun durante el arranque.
!Advertencia!
Para reducir el riesgo de sufrir lesiones
causadas por la pérdida de control, no
intente arrancar el motor de la
herramienta "por lanzamiento".
!Advertencia!
Cuando tire del mango de arranque, no
enrolle la cuerda de arranque alrededor
de la mano. No deje que el mango
retroceda bruscamente, sino guíe la
cuerda de arranque para que se enrolle
debidamente. Si no ejecuta este
procedimiento puede lastimarse la
mano o los dedos y también dañar el
mecanismo de arranque.
Ajustes importantes
!Advertencia!
Para reducir el riesgo de lesiones
personales debido a la pérdida de
control o al contacto con el accesorio de
corte en movimiento, no use una
máquina cuyo ralentí está mal regulado.
Cuando el ralentí está correctamente
regulado, el accesorio de corte no debe
moverse. Para instrucciones acerca de
cómo ajustar la velocidad de ralentí, vea
la sección correspondiente del manual
de instrucciones.
A
000BA006 KN
B
000BA007 KN

70
español / EE.UU
FS 80, FS 80 R, FS 85, FS 85 R
Si no puede regular correctamente el
ralentí, pida a su concesionario STIHL
que revise la herramienta motorizada y
haga los ajustes o reparaciones
correspondientes.
Durante el trabajo
Sujeción y control de la herramienta
motorizada
Al trabajar, sujete la máquina
firmemente con ambas manos en los
mangos. Cierre firmemente los dedos y
pulgares sobre los mangos.
!Advertencia!
Nunca intente manejar la
herramienta motorizada
con una sola mano. La
pérdida de control de la
herramienta motorizada
puede ocasionar lesiones
graves o mortales. Para reducir el riesgo
de lesionarse, mantenga las manos y
los pies alejados del accesorio de corte.
No toque nunca con las manos ni con
cualquier parte del cuerpo un accesorio
de corte en movimiento.
!Advertencia!
No trate de alcanzar más lejos de lo
debido. Mantenga los pies bien
apoyados y equilibrados en todo
momento. Se debe tener cuidado
especial cuando las condiciones del
suelo son resbaladizas (suelo húmedo,
nieve) y en terreno difícil y con mucha
vegetación. Para evitar tropezarse, esté
atento a los obstáculos ocultos tales
como tocones, raíces y zanjas. Para
obtener un punto de apoyo seguro, quite
los matorrales y el material cortado. Sea
sumamente precavido cuando trabaje
en declives o terreno irregular.
!Advertencia
Para reducir el riesgo de lesiones
causadas por la pérdida del control,
nunca trabaje sobre una escalera o
cualquier otra superficie de soporte
poco seguro. Nunca mantenga el
accesorio de corte a una altura más
arriba de la cintura.
Condiciones de trabajo
Maneje y arranque su herramienta
motorizada solamente al aire libre en un
lugar bien ventilado. Manéjela
solamente en condiciones de buena
visibilidad y a la luz del día. Trabaje con
mucho cuidado.
!Advertencia!
Tan pronto arranca, este
producto genera vapores
de escape tóxicos que
contienen productos
químicos (tales como
hidrocarburos sin quemar
y monóxido del carbono, incluyendo el
benceno) considerados como
causantes de enfermedades
respiratorias, cáncer, defectos de
nacimiento u otra toxicidad
reproductora. Algunos de estos gases
(por ej., monóxido de carbono) pueden
ser incoloros e inodoros. Para reducir el
riesgo de sufrir lesiones graves o
mortales por respirar gases tóxicos,
nunca haga funcionar la máquina
puertas adentro o en lugares mal
ventilados.
!Advertencia!
Si la vegetación que se está cortando o
la tierra en el lugar está recubierta de
una sustancia química (tal como un
pesticida o herbicida activo), lea y siga
las instrucciones suministradas con la
sustancia en cuestión.
002BA055 KN
002BA054 KN

71FS 80, FS 80 R, FS 85, FS 85 R
español / EE.UU
!Advertencia!
La inhalación de ciertos polvos,
especialmente los polvos orgánicos,
tales como el moho o polen, puede
provocar reacciones alérgicas o
asmáticas en las personas sensibles. La
inhalación repetida o de grandes
cantidades de polvo u otros
contaminantes del aire, especialmente
los de partículas pequeñas puede
causar enfermedades respiratorias o de
otro tipo. Controle el polvo en su fuente,
siempre que sea posible. Utilice buenas
prácticas de trabajo, tal como trabajar
de manera que el viento o el proceso de
corte dirija el polvo producido por la
herramienta de corte en sentido opuesto
del operador. Observe las
recomendaciones emitidas por EPA/
OSHA/NIOSH y las asociaciones de
trabajo y los sindicatos con respecto al
polvo ("materia particulada"). Cuando
sea imposible eliminar
significativamente la inhalación del
polvo, es decir mantener el nivel cerca
del valor ambiente, el operador y las
personas que se encuentren en la
cercanía siempre deberán usar un
respirador aprobado por NIOSH/MSHA
para el tipo de polvo presente en el
lugar.
Instrucciones de manejo
!Advertencia!
No maneje la herramienta motorizada
usando el bloqueo de acelerador para
arranque, pues no tendrá control de la
velocidad del motor.
En caso de emergencia, apague el
motor inmediatamente – mueva el
control deslizante / interruptor de parada
a 0 oSTOP.
!Advertencia!
El accesorio de corte
sigue girando por un rato
después que se suelta el
gatillo de aceleración
(efecto de volante).
!Advertencia!
El accesorio de corte giratorio puede
arrojar objetos extraños a gran distancia
directa o indirectamente.
Para reducir el riesgo de ocasionar
lesiones a los ojos u otras partes del
cuerpo (vea el capítulo "Vestimenta
adecuada"), asegúrese que las
personas estén a por lo menos 15 m (50
pies) de distancia de la máquina. Para
reducir el riesgo de ocasionar daños a la
propiedad, mantenga esta distancia con
respecto a los vehículos y las ventanas.
Los trabajadores que deben quedar en
la zona prohibida también deben usar
gafas o protección ocular. Apague el
motor inmediatamente si se le aproxima
alguna persona.
15m (50ft)

72
español / EE.UU
FS 80, FS 80 R, FS 85, FS 85 R
!Advertencia!
Antes de empezar a
trabajar, inspeccione el
área en busca de piedras,
vidrio, alambre, pedazos
de metal, basura u otros
objetos sólidos. El
accesorio de corte puede
arrojar los objetos de esta
clase.
!Advertencia!
La orilladora/cortadora de matorrales
normalmente se usa a nivel del suelo
con el accesorio de corte paralelo al
suelo. El uso de la orilladora/cortadora
de matorrales sobre el nivel del suelo o
con el accesorio de corte perpendicular
al suelo puede incrementar el riesgo de
lesiones, dado que el accesorio de corte
queda casi totalmente expuesto y la
herramienta motorizada es más difícil de
controlar.
!Advertencia!
Durante el corte, revise frecuentemente
el apriete y la condición del accesorio de
corte en intervalos regulares con el
motor y el accesorio parados. Si nota un
cambio en el comportamiento del
accesorio durante el trabajo, apague el
motor inmediatamente, espere hasta
que se pare el accesorio de corte y
revise el apriete de la tuerca que sujeta
el accesorio y revise la cuchilla o el
cabezal en busca de grietas, desgaste y
daños.
!Advertencia!
Una cuchilla o un cabezal suelto puede
vibrar, agrietarse, romperse o salirse de
la orilladora/cortadora de matorrales, lo
que puede provocar lesiones graves o
mortales. Asegúrese que el accesorio
de corte esté correctamente apretado.
Utilice la llave suministrada o cualquier
otra que tenga el largo adecuado para
obtener el par de apriete adecuado. Si la
cuchilla o el cabezal se suelta después
de haberlo apretado correctamente,
deje de usar la máquina
inmediatamente. La tuerca de retención
puede estar desgastada o dañada y
debe ser sustituida. Si la cuchilla o el
cabezal continúa aflojándose, consulte
al concesionario STIHL. No use nunca
una orilladora/cortadora de matorrales
con un accesorio de corte suelto.
!Advertencia!
Sustituya inmediatamente un cabezal
trizado, dañado o desgastado o una
cuchilla trizada, combada, deformada,
dañada, desafilada o desgastada,
incluso si solamente hay rayas
superficiales. Los accesorios en esa
condición pueden romperse a alta
velocidad y causar lesiones graves o
mortales.
!Advertencia!
Cuando utilice cuchillas rígidas, evite
cortar cerca de vallas, edificios, tocones,
piedras u otros objetos de ese tipo que
puedan causar contragolpe de la
herramienta motorizada o daños a la
cuchilla. Para ese tipo de trabajo, STIHL
recomienda el uso de cabezas con hilo
de nilón. Además, tenga en cuenta que
en estos casos aumenta la posibilidad
de que ocurran rebotes.
!Advertencia!
Si el cabezal, la cuchilla o el deflector se
atasca o queda pegado, siempre
apague el motor y asegúrese que el
accesorio de corte está detenido antes
de limpiarlo. Quite el pasto, las malezas,
etc. de la cuchilla o de alrededor del
cabezal en intervalos regulares.
!Advertencia!
Para reducir el riesgo de la rotación
inesperada del accesorio de corte y la
posibilidad de sufrir lesiones, siempre
apague el motor y quite el casquillo de la
bujía antes de sustituir el accesorio de
corte. Para reducir el riesgo de sufrir
lesiones, siempre apague el motor antes
de ajustar el largo del hilo de nilón en las
cabezas segadoras de ajuste manual.
!Advertencia
La caja de engranajes está caliente
durante el funcionamiento de la
máquina. Para reducir el riesgo de
lesiones por quemaduras, no toque la
caja de engranajes cuando está
caliente.

73FS 80, FS 80 R, FS 85, FS 85 R
español / EE.UU
!Advertencia!
El silenciador y otros componentes del
motor (por ej., aletas del cilindro, bujía)
se calientan durante el funcionamiento y
permanecen calientes por un buen rato
después de apagar el motor. Para
reducir el riesgo de quemaduras, no
toque el silenciador y otros
componentes mientras están calientes.
!Advertencia!
Para reducir el riesgo de incendio y
lesiones por quemadura, mantenga
limpia la zona alrededor del silenciador.
Quite el lubricante excesivo y toda la
basura tal como las agujas de pinos,
ramas u hojas. Deje que el motor se
enfríe apoyado sobre una superficie de
hormigón, metal, suelo raso o madera
maciza, lejos de cualquier sustancia
combustible.
!Advertencia!
Nunca modifique el silenciador. El
silenciador podría dañarse y causar el
aumento de la radiación de calor o
chispas, aumentando así el riesgo de
incendio y lesiones por quemadura.
Además, se podría dañar
permanentemente el motor. Haga
reparar el silenciador únicamente por el
concesionario de servicio STIHL.
Convertidor catalítico
!Advertencia!
Algunas herramientas
motorizadas STIHL están
equipadas con un
convertidor catalítico, el
que está diseñado para
reducir las emisiones de
escape del motor mediante un proceso
químico en el silenciador. Debido a este
proceso, el silenciador no se enfría tan
rápidamente como los del tipo
convencional cuando el motor regresa a
ralentí o es apagado. Para reducir el
riesgo de incendio y de lesiones por
quemadura, es necesario respetar las
siguientes medidas de seguridad
específicas.
!Advertencia!
Como un silenciador con convertidor
catalítico se enfría más lentamente que
los silenciadores convencionales, apoye
siempre su herramienta motorizada en
posición vertical y no la coloque nunca
donde el silenciador quede cerca de
material seco como por ejemplo
matorrales, pasto o virutas de madera, o
sobre otros materiales combustibles
mientras todavía está caliente.
!Advertencia!
Una caja de cilindro dañada o mal
instalada, o una envuelta del silenciador
dañada o deformada, puede perjudicar
el proceso de enfriamiento del
convertidor catalítico. Para reducir el
riesgo de incendio o lesiones por
quemadura, no continúe trabajando con
una caja de cilindro dañada o mal
instalada, o una envuelta del silenciador
dañada o deformada.
El convertidor catalítico está dotado de
rejillas diseñadas para reducir el riesgo
de incendio debido a la emisión de
partículas calientes. Debido al calor de
la reacción catalítica, estas rejillas
normalmente permanecen limpias y no
necesitan servicio o mantenimiento. Si
el rendimiento de su máquina comienza
a disminuir y sospecha que las rejillas
están obstruidas, haga reparar el
silenciador por un concesionario de
servicio STIHL.

74
español / EE.UU
FS 80, FS 80 R, FS 85, FS 85 R
USO DE LOS ACCESORIOS DE
CORTE
Para una ilustración de los diversos
accesorios de corte y las instrucciones
sobre el montaje correcto, vea el
capítulo sobre "Montaje de los
accesorios de corte" en su manual de
instrucciones.
!Advertencia!
Para reducir el riesgo de lesiones
personales o la muerte debido al
contacto con las cuchillas y/o a la
pérdida de control, nunca intente usar
una cuchilla metálica en una máquina
modelo FS no aprobada para esta
aplicación.
Uso de las cabezas segadoras
No use con un hilo de segado más largo
que el deseado. Con un deflector
debidamente instalado, la cuchilla
limitadora integral automáticamente
ajusta el hilo al largo adecuado.
Al usar la máquina con un hilo de nilón
de largo excesivo se aumenta la carga
del motor y se reduce la velocidad de
funcionamiento. Esto hace que el
embrague patine continuamente y
resulta en sobrecalentamiento y daño
de los componentes importantes (por
ejemplo, el embrague y las piezas de
polímero de la caja). Un efecto de este
tipo de daño puede ser la rotación del
accesorio de corte cuando el motor está
a la velocidad de ralentí.
Las cabezas segadoras deben usarse
solamente en las orilladoras/cortadoras
de malezas con una cuchilla limitadora
del hilo en el deflector para mantener el
hilo al largo correcto (vea el capítulo
"Piezas y controles" en el manual de
instrucciones).
Si las orillas del césped tienen árboles o
están bordeadas por un cerco, etc., es
mejor usar el cabezal de hilo de nilón.
Deja un corte más "suave" con menos
riesgo de dañar la corteza de los
árboles, etc., que si se usan cuchillas de
polímero.
Sin embargo, el cabezal PolyCut de
STIHL con cuchilla de polímero produce
un mejor corte si no hay plantas a lo
largo de la orilla del césped. No es
necesario afilar y las cuchillas de
polímero desgastadas se pueden
cambiar fácilmente.
!Advertencia!
Para reducir el riesgo de lesiones
graves, nunca use un hilo de alambre o
reforzado con metal ni ningún otro
material en lugar de los hilos de corte de
nilón. Es posible que unos pedazos de
alambre sean desprendidos y arrojados
a gran velocidad contra el operador o
terceros.
Cabeza segadora SuperCut de STIHL
El hilo se avanza automáticamente. Los
hilos deshilachados se reemplazan con
un ajuste sencillo (consulte la hoja de
instrucciones provista con la cabeza
segadora).
Cabeza segadora TrimCut de STIHL
Los hilos deshilachados se reemplazan
con un ajuste sencillo (consulte la hoja
de instrucciones provista con la cabeza
segadora).
Cabeza segadora AUTOCUT de
STIHL
El hilo de corte de nilón avanza
automáticamente cuando se le golpea
contra el suelo (característica
TapAction).
000BA015 KN

75FS 80, FS 80 R, FS 85, FS 85 R
español / EE.UU
Cabeza segadora PolyCut de STIHL
Utiliza ya sea hilos de nilón o cuchillas
de polímero pivotantes no rígidas.
!Advertencia!
En la base (periferia) de la PolyCut hay
tres marcas rectangulares de límite de
desgaste. Para reducir el riesgo de
lesiones graves causadas por la rotura
de la cabeza o de las cuchillas, la
PolyCut no debe ser utilizada cuando se
ha desgastado hasta una de estas
marcas. Es importante seguir las
instrucciones para el mantenimiento
suministradas con la cabeza segadora.
Cabeza segadora FixCut de STIHL
Utiliza tramos de largo fijo del hilo de
nilón.
Observe los indicadores de
desgaste.
No siga trabajando con la cabeza
segadoras si le faltan las piezas
moldeadas (1) elevadas en la base o si
las mismas están desgastadas - vea la
ilustración arriba a la derecha. En este
caso, la cabeza segadora puede
astillarse y los objetos lanzados pueden
ocasionar lesiones al operador o a las
personas que se encuentren en la
cercanía. Instale una cabeza segadora
nueva.
El riesgo de expulsión (disparo
de la cuchilla) existe con todas
las cuchillas rígidas
!Advertencia!
La expulsión (disparo de la cuchilla) es
el movimiento repentino y no controlado
hacia el lado derecho o posterior del
operador que puede suceder cuando la
zona sombreada (especialmente la
zona muy oscura) de la cuchilla giratoria
entra en contacto con un objeto macizo
tal como un árbol, roca, arbusto o pared.
La rápida rotación en sentido
contrahorario puede ser detenida o
aminorada y el accesorio de corte puede
salir despedido hacia la derecha o
detrás.
Esta expulsión (disparo de la cuchilla)
puede ocasionar la pérdida de control
de la herramienta motorizada y provocar
lesiones graves o mortales al usuario o
a personas en su proximidad. Para
reducir el riesgo, es necesario extremar
las precauciones a la hora de cortar con
la zona sombreada de cualquier cuchilla
rígida.
002BA177 KN
002BA135 KN

76
español / EE.UU
FS 80, FS 80 R, FS 85, FS 85 R
Uso de la cuchilla de cortar pasto
Todos los tipos de pasto y malezas se
pueden cortar fácilmente con la cuchilla
de cortar pasto. Para ello, la herramienta
motorizada se mueve en forma de arco,
como si fuera una guadaña.
!Advertencia!
Para reducir el riesgo de lesiones
graves o mortales debido a la rotura de
la cuchilla, no intente nunca cortar
madera con esta cuchilla.
La función de la cuchilla de 4 dientes es
la de cortar pasto y malezas. Tiene 4
cuchillos con filo en los dos lados, esto
es, en las partes delantera y trasera.
Cuando los bordes cortantes en un lado
se desafilan, es posible invertir la
cuchilla para usar los bordes cortantes
en el otro lado.
Recomendamos la cuchilla de 8 dientes
de cortar pasto para los casos en que
haya que cortar helechos o cañas.
Los dos tipos de cuchillas para cortar
pasto deben ser afiladas al desgastarse
sus filos o bordes cortantes.
Uso de la cuchilla para matorrales
Cuando se instala la cuchilla para
matorrales en la herramienta
motorizada, es adecuada para cortar
desde pasto hasta malezas, plantas
silvestres y arbustos.
Para cortar plantas y arbustos
silvestres, baje la cuchilla giratoria para
matorrales hasta la planta para crear un
efecto de picado, pero mantener la
herramienta por debajo del nivel de la
cintura en todo momento.
!Advertencia!
Tenga sumo cuidado al emplear este
método de corte. Cuanto mayor sea la
distancia entre el accesorio de corte y el
suelo, mayor es el riesgo de perder el
control o lanzar objetos por los lados.
Utilice la herramienta motorizada como
una guadaña para cortar pasto, es decir,
haga pasadas en uno y otro sentido,
describiendo un arco.
!Advertencia!
Al cortar materiales parecidos a madera,
utilice el lado izquierdo de la cuchilla
para evitar la "expulsión" (disparo de la
cuchilla).
!Advertencia!
El uso incorrecto de una cuchilla para
matorrales puede causar agrietaciones,
picaduras o roturas. Las piezas de
cuchilla lanzadas pueden causar
lesiones graves o mortales al operador o
a terceros. Para reducir el riesgo de
lesiones, evite el contacto con objetos
duros o macizos tales como piedras,
rocas u objetos metálicos.
!Advertencia!
Al cortar árboles jóvenes y otros
materiales de hasta 2 cm (3/4 pulg) de
diámetro, utilice el lado izquierdo de la
cuchilla para evitar la "expulsión" de la
misma (consulte la sección "El riesgo de
expulsión (disparo de la cuchilla) existe
con todas las cuchillas rígidas"). No
intente cortar materiales parecidos a la
madera cuyo diámetro sea mayor,
puesto que la cuchilla puede atorarse o
tirar de la herramienta motorizada
repentinamente hacia adelante. Esto
puede dañar la cuchilla o la herramienta
motorizada, o causar la pérdida de
control de la misma, lo cual puede
resultar en lesiones personales. Utilice
una sierra circular para estos tipos de
trabajos.
000BA020 KN
002BA066 KN

77FS 80, FS 80 R, FS 85, FS 85 R
español / EE.UU
!Advertencia!
Inspeccione la cuchilla para matorrales
a intervalos periódicos y cortos en busca
de daños. No continúe trabajando con
una cuchilla para matorrales que esté
dañada. Afile la cuchilla para matorrales
periódicamente (cuando ha perdido su
filo de modo apreciable).
Uso de la sierra circular
Las sierras circulares son adecuadas
para recortar matorrales y cortar árboles
pequeños de hasta 4 cm (1-1/2 pulg) de
diámetro. No intente cortar árboles cuyo
diámetro sea mayor, puesto que la
cuchilla puede atorarse o tirar de la
orilladora/cortadora de matorrales
repentinamente hacia adelante. Esto
puede dañar la cuchilla o causar la
pérdida de control de la herramienta
motorizada, lo cual puede resultar en
lesiones personales graves. Utilice una
motosierra para estos tipos de trabajos.
!Advertencia!
Para reducir el riesgo de rayar y/o
romper la cuchilla, evite todo contacto
con piedras, rocas o el suelo. Afile las
cuchillas oportunamente de la manera
especificada – los dientes desafilados
pueden hacer que la cuchilla se agriete
o se rompa.
Si se usa la orilladora/cortadora de
matorrales con una sierra circular para
cortar árboles pequeños, STIHL
recomienda retirar el deflector estándar
y sustituirlo con el deflector de tope
especial (vea el capítulo "Montaje del
deflector"). Este tope ayuda a mantener
la máquina en su posición contra el
árbol durante el proceso de corte. Los
usuarios con poca experiencia deben
colocar el lado izquierdo del tope contra
el tronco del árbol antes de iniciar el
corte. Esto mantiene la orilladora/
cortadora de matorrales contra el árbol
durante la operación de corte y reduce
el riesgo de pérdida de control y posible
expulsión (descrito más arriba y
brevemente otra vez más abajo).
Antes de iniciar el corte, acelere el motor
a su velocidad máxima. Efectúe el corte
aplicando presión uniforme. STIHL
recomienda aplicar la sierra circular por
el lado derecho del árbol, usando la
zona no sombreada de la cuchilla, tal
como se muestra en la ilustración de
arriba.
000BA016 KN
002BA214 ST
002BA068 KN
78
español / EE.UU
FS 80, FS 80 R, FS 85, FS 85 R
!Advertencia!
El riesgo de expulsión de la cuchilla es
mayor cuando se corta en la zona
sombreada oscura. Para reducir el
riesgo de expulsión y las lesiones
consecuentes, no utilice esta zona de la
sierra circular para cortar árboles ni
arbustos. Las técnicas especiales que
utilizan las zonas sombreadas más
claras de la cuchilla para cortar arbustos
y árboles sólo deben ser usadas por
operadores expertos con capacitación
especializada en cuanto al uso y control
de la orilladora/cortadora de matorrales.
!Advertencia!
Para reducir el riesgo de la pérdida de
control y de lesiones graves al operador
o a terceros causadas por la expulsión
de la cuchilla, utilice una sierra circular
solamente en una orilladora/cortadora
de matorrales equipada con un manillar
tipo bicicleta, no un mango tórico.
Durante la tala de árboles pequeños,
mantenga una distancia de por lo menos
dos veces el largo del árbol con
respecto a la persona más cercana.
!Advertencia!
Para reducir el riesgo de lesiones
causadas por los objetos lanzados o por
el contacto con la herramienta de corte,
cerciórese de volver a instalar el
deflector estándar cuando no está
usando un sierra circular.
MANTENIMIENTO, REPARACION
Y ALMACENAMIENTO
Los trabajos de mantenimiento,
reemplazo o reparación de los
dispositivos y sistemas de control de
emisiones de escape pueden ser
realizados por cualquier taller o
técnico de motores no diseñados
para vehículos. Sin embargo, si usted
está reclamando cobertura de
garantía para algún componente que
no ha sido reparado o mantenido
debidamente, o cuando se utilizan
repuestos no autorizados, STIHL
puede denegar la garantía.
!Advertencia!
Utilice solamente piezas de repuesto de
STIHL para el mantenimiento y
reparación. El uso de piezas no
fabricadas por STIHL puede causar
lesiones graves o mortales.
Siga precisamente las instrucciones de
mantenimiento y reparación dadas en
las secciones correspondiente del
manual de instrucciones.
!Advertencia!
Siempre apague el motor y verifique que
el accesorio de corte está parado antes
de llevar a cabo cualquier trabajo de
mantenimiento, reparación o limpieza
de la herramienta motorizada. No
intente hacer ningún trabajo de
mantenimiento o reparación que no esté
descrito en su manual de instrucciones.
Este tipo de trabajo debe ser realizado
únicamente por el concesionario de
servicio de STIHL.
Use guantes para manipular o reparar
las cuchillas.
!Advertencia!
Use la bujía especificada y asegúrese
de que ella y el cable de encendido
están limpios y en buen estado. Siempre
inserte el casquillo de la bujía bien
apretado en el borne de la bujía del
tamaño adecuado. (Nota: Si el borne
tiene una tuerca adaptadora SAE
desmontable, tiene que ser firmemente
instalada.) Una conexión suelta entre la
bujía y el conector del cable de
encendido en el casquillo puede crear
un arco voltaico y encender los vapores
del combustible y provocar un incendio.
!Advertencia!
No pruebe nunca el sistema de
encendido con el casquillo
desconectado de la bujía, o sin tener
instalada la bujía, ya que las chispas al
descubierto pueden causar un incendio.
!Advertencia!
Nunca maneje su herramienta
motorizada si el silenciador está
dañado, se ha perdido o si fue
modificado. Un silenciador mal cuidado
aumenta el riesgo de incendio y puede
causar pérdida del oído. Si el
silenciador está equipado con un
chispero para reducir el riesgo de
incendio, no maneje nunca su
herramienta motorizada si le falta el
chispero o está dañado. Recuerde que
el riesgo de incendios forestales es
mayor durante las estaciones calurosas
y secas.
79FS 80, FS 80 R, FS 85, FS 85 R
español / EE.UU
!Advertencia!
Nunca repare los accesorios de corte
dañados aplicándoles soldadura,
enderezándolos o modificándoles su
forma. Esto puede causar el
desprendimiento de alguna pieza del
accesorio de corte y producir lesiones
graves o mortales.
Mantenga las cuchillas afiladas. Apriete
todas las tuercas, pernos y tornillos,
excepto los tornillos de ajuste del
carburador, después de cada uso.
Guarde la herramienta motorizada en un
lugar seco y elevado o con llave lejos del
alcance de los niños.
Antes de guardar la máquina durante un
período de más de algunos días,
siempre vacíe el tanque de combustible.
Consulte el capítulo "Almacenamiento
de la máquina" en el manual de
instrucciones.
80
español / EE.UU
FS 80, FS 80 R, FS 85, FS 85 R
Herramientas de corte
1 STIHL Supercut 20-2
2 STIHL Autocut 25-2
3STIHL Autocut C 25-2
4STIHL Trimcut 30-2
5STIHL Polycut 20-3
6 STIHL FixCut 25-2
7Cuchilla para pasto 230-4
8Cuchilla para pasto 230-8
9Cuchilla para matorrales 250-3
10 Sierra circular 200
con dientes raspadores
11 Sierra circular 200
con dientes tipo cincel
No se permite el uso de cuchillas para
pasto, cuchillas para matorrales y de
sierras circulares hechas de cualquier
otro material no metálico.
Deflectores, tope
12 Deflectores para cabezas segado-
ras solamente
13 Deflector con
14 Faldilla y cuchilla para todas las
cabezas segadoras (vea “Montaje
del deflector”)
15 Deflector sin faldilla y cuchilla para
todas las herramientas de corte
metálicas
16 Tope limitador para sierras circula-
res
Mangos
17 Mango tórico
18 Mango tórico con
19 Barra de defensa
20 Manillar de bicicleta
Arneses
21 Se puede usar la correa para hom-
bro
22 Es obligatorio usar la correa para
hombro
23 Se puede usar el arnés completo
24 Es obligatorio usar el arnés com-
pleto
Equipo
La máquina completa incluye:
– Herramienta de corte
– Deflector
– Mango
– Arnés (sólo unidad con manillar tipo
bicicleta)
Seleccione la combinación correcta de
la tabla según la herramienta de corte
que se desee utilizar. Lea la tabla en
sentido horizontal, de izquierda a dere-
cha. Otras combinaciones, por ejemplo,
las obtenidas leyendo la tabla en sentido
diagonal, no se permiten.
! Advertencia !
Para reducir el riesgo de sufrir lesiones
por objetos lanzados y el contacto con
las cuchillas, nunca maneje la máquina
sin tener instalado el deflector apropiado
para el accesorio de corte en uso. Para
reducir el riesgo de sufrir lesiones
debido a la pérdida de control y/o al con-
tacto con la herramienta de corte, ase-
gúrese que su máquina está equipada
con el mango y arnés correctos para el
tipo de accesorio de corte que está
usando.
! Advertencia !
Las cortadoras de matorrales STIHL con
mango tórico y sin barra de defensa sólo
pueden usarse con la cabeza segadora
arriba indicada con hilo de nilón o cuchi-
llas de plástico. Otras herramientas de
corte de plástico o metálicas, pero no
sierras circulares, pueden usarse en las
cortadoras de matorrales con manillar o
con mango tórico y barra de defensa
para reducir el riesgo de lesiones causa-
das por el contacto con la herramienta
de corte. Para reducir el riesgo de lesio-
nes graves al operador o a terceros cau-
sadas por la expulsión de la cuchilla,
nunca utilice una sierra circular en una
cortadora de matorrales equipada con
mango tórico. Las sierras circulares sólo
pueden usarse en cortadoras de mato-
rrales con manillar tipo bicicleta.
Combinaciones aprobadas de
herramienta de corte, deflector, mango y arnés

81FS 80, FS 80 R, FS 85, FS 85 R
español / EE.UU
Herramienta de corte Deflector, tope Mango Arnés/Correa
681FK003
681FK006
681FK011
5
3
1
681FK037 KN
4
681FK005
2
681FK111 KN
6
12
681FK023
681BA002 KN
13
14
17
0
02BA002 K
0
02BA003 K
18
19
0
02BA125 KN
21
0
02BA001 K
20
002BA005 K
22
681FK014
7
8
9
681FK021
15
002BA003 K
18
19
002BA001 K
20
0
02BA126 KN
0
02BA127 KN
0
02BA005 K
22 23 23
681FK018
681FK016
11
10
681FK024
16
0
02BA001 K
20
0
02BA026 KN
002BA006 K
24 24

82
español / EE.UU
FS 80, FS 80 R, FS 85, FS 85 R
Los accesorios de herramientas
motorizadas no están aprobados
para la FS 80 de STIHL.
Estos accesorios STIHL pueden
instalarse en la herramienta motorizada
de base:
1) La barra de defensa debe
instalarse en el mango tórico
2) El accesorio no ha sido aprobado
para usarse en máquinas con
manillar tipo bicicleta
3) La correa para el hombro no es
necesaria
:Instale el manillar (1) en el tubo de
mando (2) a aproximadamente
16 pulg (40 cm) (A) delante del
motor.
:Coloque la abrazadera (3) y el
soporte del manillar (4) en el tubo
de mando.
:Ponga el manillar (1) en su soporte
– la empuñadura de caucho debe
quedar a la izquierda (vista desde el
motor).
Accesorios aprobados para
herramientas motorizadas
FS 85
228BA037 KN
BF
FH
FCS
KB KW
HT
Accesorio de
herramienta
motorizada
Aplicación
BF 1) Cultivadora
FCS 2)3) Orilladora
FH 1) Motoguadaña
HL 0° 2) Cortasetos
HL 135° 1)2) Cortasetos
(ajustable)
HT 2) Podadora de altura
KB (4601) 2) Cepillo barredor
KW (4601) 2) Barredora PowerSweep
KW (4602) 2) Barredora PowerSweep
Montaje del manillar
1
3
4
5
6
A
6
2
002BA128 KN

83FS 80, FS 80 R, FS 85, FS 85 R
español / EE.UU
:Coloque la abrazadera (5) en el
soporte del manillar.
:Inserte los tornillos (6) en los aguje-
ros.
:Coloque las tuercas (3) en los torni-
llos y apriételas hasta que topen.
:Alinee el manillar.
:Apriete los tornillos firmemente.
Instalación del mango de control
:Afloje el tornillo (7). La tuerca (8)
permanece en el mango de control
(9).
:Empuje el mango de control en el
manillar (1) – el gatillo de acelera-
ción (10) debe apuntar hacia el
mecanismo.
:Alinee los agujeros (11).
:Coloque el tornillo y la arandela en
el mango de control y apriételos fir-
memente.
Instalación del cable del acelerador
No tuerza el cable del acelerador –
asegúrese de que el gatillo se mueva
libremente.
:Inserte el cable del acelerador (12)
en los retenedores (13).
Ajuste el cable del acelerador*
En manijas de control con control
deslizante*:
Pase al capítulo "Ajuste del cable del
acelerador"
* vea "Guía para el uso de este
manual"
11
7
9
10
1
11
002BA229 KN
8
12
13
12
13
13
393BA049 KN

84
español / EE.UU
FS 80, FS 80 R, FS 85, FS 85 R
Un cable del acelerador correcta-
mente ajustado es necesario para el
funcionamiento correcto en las pos-
iciones de máxima aceleración,
arranque y ralentí.
Ajuste el cable del acelerador úni-
camente después de haber armado
la máquina completamente – la
manija debe estar en la posición de
funcionamiento normal.
:Utilice una herramienta adecuada
para empujar la pieza deslizante
hasta la parte inferior de la ranura
(vea la ilustración).
:Oprima el bloqueo (1) y oprima el
gatillo de aceleración (2) (acelera-
ción máxima) – esto ajusta el cable
del acelerador correctamente.
Mango tórico con barra de
defensa
:Inserte las tuercas cuadradas (1) en
la barra de defensa (2).
:Alinee los agujeros.
Ajuste del cable del
acelerador
002BA163 KN
STOP
249BA017 KN
1
2
Montaje del mango tórico
2
002BA098 KN
1
1

85FS 80, FS 80 R, FS 85, FS 85 R
español / EE.UU
:Coloque la abrazadera (3) en el
mango tórico (4) y ponga los dos en
posición contra el tubo de mando
(5).
:Instale la abrazadera (6) y coloque
la barra de defensa (2) en posición.
Observe la posición correcta.
:Alinee los agujeros.
:Inserte los tornillos (7) en los aguje-
ros y atorníllelos en la barra de
defensa hasta donde topen.
:Prosiga a "Fijación del mango
tórico".
Mango tórico sin barra de
defensa
:Coloque la abrazadera (3) en el
mango tórico (4) y ponga los dos en
posición contra el tubo de mando
(5).
:Coloque las arandelas (7) en los
tornillos (8).
:Inserte los tornillos (8) en los
agujeros y atorníllelos en las
tuercas cuadradas (1) hasta donde
topen.
:Prosiga a "Fijación del mango
tórico".
Fijación del mango tórico
:Fije el mango tórico (4) aprox. a
8 pulg (20 cm) (A) delante del
mango de control (9).
:Alinee el mango tórico.
:Apriete los tornillos firmemente y, si
es necesario, trabe las tuercas.
10= Manguito*
* vea “Guía para el uso de este
manual”
5
4
002BA099 KN
2
3
67
4
5
002BA136 KN
1
6
1
3
8
7
8
7
10
94
002BA147 KN
A

86
español / EE.UU
FS 80, FS 80 R, FS 85, FS 85 R
:Para la posición de la argolla de
transporte1) consulte la sección
"Piezas y controles"
:Coloque la abrazadera (1) con el
agujero roscado hacia el lado
izquierdo del tubo de mando.
:Apriete juntos los dos extremos de
la abrazadera y sosténgala en esa
posición.
:Inserte el tornillo M6 x 14 (2).
:Alinee la argolla de transporte.
:Apriete el tornillo firmemente.
1) Parte del equipo estándar o disponi-
ble como un accesorio especial
Montaje del deflector
1 = Deflector aprobado para todas las
herramientas segadoras.
2 = Deflector aprobado para utilizarse
con cabezas segadoras sola-
mente.
:Coloque el deflector en el meca-
nismo.
:Instale la placa (3) y alinéela.
:Inserte los tornillos de M5 x 18 y
apriételos firmemente.
Instalación de la faldilla y cuchilla
Estas piezas deben instalarse en el
deflector (1) cuando se utiliza una
cabeza segadora:
:Deslice la ranura guía inferior de la
faldilla (4) en el deflector (1) – debe
encajar a presión en su lugar.
:Empuje la cuchilla (5) dentro de la
ranura guía superior en la faldilla y
alinéela con el primer agujero.
:Coloque el tornillo y apriételo firme-
mente.
Colocación de la argolla de
transporte
002BA142 KN
1
2
1
Montaje del deflector
002BA102 KN
1
3
2
3
4
1
5
4
002BA103 KN

87FS 80, FS 80 R, FS 85, FS 85 R
español / EE.UU
Montaje del tope
:Siempre instale el tope (6) cuando
se use una sierra circular.
:Coloque el tope en la pestaña del
mecanismo.
:Coloque los tres pernos M 5 x 18 (7)
y apriételos bien firmes.
Preparaciones
:Apoye la cortadora de matorrales
en el suelo sobre su parte trasera
con el mecanismo vuelto hacia
arriba.
Tornillería de montaje
para herramientas de corte
La tornillería de montaje suministrada
depende de la herramienta de corte
incluida como equipo original con la
nueva cortadora de matorrales.
La tornillería de montaje no se
embala con la máquina
Solamente las cabezas segadoras
pueden montarse.
:Retire la manguera (1) (protección
para el transporte) del eje (2).
:Pase a la sección "Montaje de la
cabeza segadora".
Si desea instalar una herramienta
de corte metálica en lugar de una
cabeza segadora, necesitará las
piezas adicionales siguientes:
Tuerca (3), placa de refuerzo (4) y
arandela de empuje (5) (accesorios
especiales).
7 7
7
6
002BA028 KN
Montaje de las herramientas
de corte
002BA104 KN
2
002BA164 KN
1
3
4
5

88
español / EE.UU
FS 80, FS 80 R, FS 85, FS 85 R
La tornillería de montaje se embala
con la máquina
Se pueden montar cabeza
segadoras y herramientas de corte
metálicas.
La tornillería de montaje está suelta
:Retire la manguera (1) (protección
para el transporte) del eje (2).
La tuerca (3), placa de refuerzo (4)
y arandela de empuje (5) se
encuentran en el juego de piezas
suministrado con la máquina.
:Pase a la sección "Montaje de la
cabeza segadora" o "Montaje de las
herramientas de corte metálicas".
La tornillería de montaje se fija al
mecanismo.
:Vea "Retiro de la tornillería de
montaje"
Retiro de la tornillería de montaje
:Bloquee el eje – vea la sección
siguiente, "Bloqueo del eje de
salida".
:Use la llave combinada (6)
(suministrada con la máquina o
disponible como un accesorio
especial) para destornillar la tuerca
(3) en sentido horario (rosca
izquierda) del eje (2).
:Quite la arandela de empuje (5) del
eje (2).
La placa de refuerzo (4) se
encuentra en el juego de piezas
suministrado con la máquina
:Pase a la sección "Montaje de la
cabeza segadora" o "Montaje de las
herramientas de corte metálicas".
Bloqueo del eje de salida
:Inserte el pasador de tope o
destornillador (7) (suministrados
con la máquina o disponibles como
accesorios especiales) en la
cavidad (8) del mecanismo hasta
donde tope, aplicando una ligera
presión.
:Gire la tuerca o la herramienta de
corte en el eje (2) hasta que el
pasador de tope se deslice a su
lugar y bloquee el eje.
7
8
2
002BA166 KN
7

89FS 80, FS 80 R, FS 85, FS 85 R
español / EE.UU
Montaje de la cabeza segadora
Guarde la hoja de instrucciones de la
cabeza segadora en un lugar seguro.
:Enrosque la cabeza
STIHL SuperCut 20-2,
STIHL AutoCut 25-2,
STIHL AutoCut C 25-2,
STIHL TrimCut 30-2,
ó STIHL PolyCut 20-3
en sentido contrahorario en el eje
(1) hasta el tope.
:Bloquee el eje de salida.
:Apriete la cabeza segadora.
Quite la herramienta usada para
bloquear el eje.
STIHL FixCut 25-2
:Coloque la cabeza segadora en la
placa de empuje (2).
El collar (vea la flechas) debe
encajar en el agujero de montaje de
la cabeza segadora.
:Empuje la arandela de empuje (3)
sobre el eje (1) para que quede con-
tra la base.
:Bloquee el eje de salida.
:Con la llave combinada (4) atornille
la tuerca de montaje (4) en sentido
contrahorario en el eje de salida y
apriétela firmemente.
Quite la herramienta usada para
bloquear el eje.
Retiro de la cabeza segadora
:Bloquee el eje de salida.
STIHL SuperCut 20-2,
STIHL AutoCut 25-2,
STIHL AutoCut C 25-2,
STIHL TrimCut 30-2,
STIHL PolyCut 20-3
:Destornille la cabeza segadora en
sentido horario.
STIHL FixCut 25-2
:Utilice la llave combinada para des-
tornillar la tuerca de montaje (en
sentido horario) del eje de salida.
Si la tuerca de montaje está dema-
siado floja, instale una nueva.
Ajuste del hilo de nilón
STIHL SuperCut
Un pedazo de hilo nuevo avanza auto-
máticamente cuando el hilo todavía
tiene una longitud mínima de 6 cm
(2-1/2 pulg). La cuchilla en el deflector
corta el hilo sobrante al largo correcto.
1
002BA081 KN

90
español / EE.UU
FS 80, FS 80 R, FS 85, FS 85 R
STIHL AutoCut
:Mantenga la cabeza segadora
sobre el suelo mientras está
girando, golpéela contra el suelo, y
avanzarán aproximadamente 3 cm
(1-1/4 pulg) de hilo nuevo.
La cuchilla en el deflector corta el hilo
sobrante al largo correcto. Evite golpear
la cabeza más de una vez.
El avance del hilo funciona solamente si
los dos hilos todavía tienen una longi-
tud mínima de 2,5 cm (1 pulg).
Todas las otras cabezas segadoras
Consulte las instrucciones que se sumi-
nistran con la cabeza segadora.
Para reducir el riesgo de sufrir lesio-
nes, siempre apague el motor antes
de ajustar el hilo de nilón con la
mano.
Sustitución del hilo de nilón o
cuchillas segadoras
Consulte las instrucciones que se sumi-
nistran con la cabeza segadora.
Montaje de las herramientas de
corte metálicas
Quite la faldilla y cuchilla del
deflector de la cabeza segadora
antes de instalar
la cuchilla para cortar pasto
230-4 (1),
la cuchilla para cortar pasto
230-8 (2)
o la cuchilla para cortar matorrales
(3) – Consulte el capítulo "Montaje
del deflector".
Instale el tope limitador apropiado
antes de instalar la sierra circular
con dientes raspadores 200
(4,5) – Consulte el capítulo "Mon-
taje del deflector".
:Apoye la máquina en el suelo sobre
su parte trasera con el mecanismo
vuelto hacia arriba.
Los bordes cortantes de (1) y (3)
pueden quedar orientados en cual-
quier sentido.
Los bordes cortantes de (2), (4) y
(5) deben apuntar en sentido hora-
rio.
El sentido de rotación está indicado
por la flecha ubicada en la superfi-
cie interior del deflector de la
cabeza segadora o del tope limita-
dor.

91FS 80, FS 80 R, FS 85, FS 85 R
español / EE.UU
:Coloque la herramienta de corte (6)
sobre la placa de empuje (7).
El collar (vea la flecha) debe enca-
jar en el agujero de montaje de la
herramienta de corte.
:Deslice la arandela de empuje (8) y
la placa de
refuerzo (9) sobre el eje de salida
(10).
:Bloquee el eje de salida y
:Con la llave combinada (11), atorni-
lle la tuerca de montaje (12) en sen-
tido contrahorario en el eje de salida
y apriétela firmemente.
Si la tuerca de montaje está dema-
siado floja,
instale una nueva.
Retiro de la herramienta de corte
:Bloquee el eje de salida.
:Destornille la tuerca en sentido
horario.
:Retire la herramienta de corte – no
quite la placa de empuje (7).
Este motor está certificado para funcio-
nar con una mezcla de 50 a 1 de gaso-
lina sin plomo y aceite STIHL para moto-
res de dos tiempos.
Su motor requiere una mezcla de gaso-
lina de calidad y aceite de calidad para
motores de dos tiempos enfriados por
aire.
Use gasolina sin plomo regular con un
octanaje mínimo de 89 (R+M/2). Si el
octanaje de la gasolina regular en su
zona es más bajo, use combustible sin
plomo superior.
El combustible de octanaje bajo puede
aumentar la temperatura de funciona-
miento del motor. Esto, a su vez,
aumenta el riesgo de que se agarrote el
pistón y se dañe el motor.
La composición química del combusti-
ble también es importante. Algunos adi-
tivos de combustible no solamente tie-
nen efectos perjudiciales en los
elastómeros (diafragmas de carburador,
sellos de aceite, tuberías de combusti-
ble, etc.), sino también en las piezas
fundidas de magnesio y en los converti-
dores catalíticos. Esto podría causar
problemas de funcionamiento e incluso
daño del motor. Por esta razón, STIHL
recomienda el uso exclusivo de gasolina
sin plomo de buena calidad.
Use solamente el aceite STIHL para
motores de dos tiempos o un aceite de
marca equivalente para motores de dos
tiempos diseñado para usar exclusiva-
mente con los motores de dos tiempos
enfriados por aire.
Recomendamos el aceite STIHL para
motores de dos tiempos 50:1 pues está
especialmente formulado para usarse
en motores STIHL.
No use aceites para mezclar con desig-
naciones BIA o TCW (para motores de
dos tiempos enfriados por agua) ni otros
aceites para mezclar diseñados para
usar en motores enfriados por agua o
por aire (por ejemplo, para motores
marinos fuera de borda, motonieves,
sierras de cadenas, bicimotos, etc.).
Manipule la gasolina con sumo cuidado.
Evite el contacto directo con la piel y
evite inhalar los vapores de combusti-
ble. Cuando se reabastece de combus-
tible, quite primero el envase del vehí-
culo y colóquelo en el suelo antes de
llenarlo. No llene un envase que está en
un vehículo o apoyado sobre el mismo.
Mantenga el envase bien cerrado para
evitar la entrada de humedad a la mez-
cla.
Según sea necesario, limpie el tanque
de combustible de la máquina y el
envase en que se guarda la mezcla de
combustible.
Combustible

92
español / EE.UU
FS 80, FS 80 R, FS 85, FS 85 R
Duración de la mezcla de combusti-
ble
Mezcle una cantidad suficiente de com-
bustible para trabajar unos pocos días,
no lo guarde por más de 3 meses. Guár-
delo únicamente en envases aprobados
para combustible. Para el proceso de
mezclado, vierta el aceite en el envase
primero y luego agregue la gasolina.
Cierre el envase y agítelo vigorosa-
mente a mano para asegurar que se
mezclen bien el aceite y la gasolina.
Deseche los envases vacíos usados
para mezclar el aceite únicamente en
vertederos autorizados para ello.
Antes de llenar la máquina con combus-
tible, limpie a fondo la tapa de llenado y
la zona alrededor del mismo para evitar
la entrada de tierra al tanque.
Siempre agite la mezcla vigorosamente
en el recipiente antes de llenar la
máquina con combustible.
Para reducir el riesgo de quemaduras,
así como otras lesiones corporales
ocasionadas por los escapes de vapor
de gasolina y otras emanaciones,
quite la tapa de llenado de combustible
cuidadosamente de modo que la pre-
sión que se pueda haber acumulado
en el tanque se disipe lentamente.
Después de haber llenado la
máquina con combustible, apriete la
tapa del tanque tan firmemente
como sea posible con la mano.
Cambie el recogedor de combus-
tible una vez al año.
Antes de almacenar la máquina por un
período prolongado, vacíe y limpie el
tanque de combustible y ponga el motor
en marcha hasta que se seque el com-
bustible del carburador.
Gaso-
lina
Aceite (STIHL 50:1 ó aceite
de calidad equivalente)
gal
EE.UU.
oz fl
EE.UU.
12.6
2 1/2 6.4
512.8
Llenado de com-
bustible
389BA031 KN
389BA032 KN

93FS 80, FS 80 R, FS 85, FS 85 R
español / EE.UU
El tipo y el estilo del arnés dependen del
lugar de venta.
Correa para hombro
:Colóquese la correa (1) sobre el
hombro.
:Ajuste el largo de la correa de modo
que el gancho con resorte (2) quede
aproximadamente el ancho de la
mano por debajo de su cadera dere-
cha.
:Equilibre la cortadora de matorra-
les.
El uso del arnés se describe en el capí-
tulo "Combinaciones aprobadas de
herramienta de corte, deflector, mango y
arnés".
Arnés completo
:Colóquese el arnés completo (1).
:Ajuste el largo hasta que el gancho
de resorte (2) esté a una distancia
más o menos igual al ancho de la
mano por debajo de la cadera dere-
cha.
:Equilibre la cortadora de matorra-
les.
El uso del arnés se describe en el capí-
tulo "Combinaciones aprobadas de
herramienta de corte, deflector, mango y
arnés".
Conexión del arnés a la cortadora
de matorrales
:Enganche el gancho de resorte (1)
en la abrazadera (2) (argolla de
transporte) ubicada en el tubo de
mando.
Colocación del arnés Equilibrio de la cortadora de
matorrales

94
español / EE.UU
FS 80, FS 80 R, FS 85, FS 85 R
:Suelte el tornillo (3).
Equilibrio de la máquina
Es necesario equilibrar la máquina con
respecto a la herramienta de corte que
se está usando.
Efectúe los pasos siguientes para esta-
blecer la condición descrita en "Punto de
equilibrio":
:Deslice la abrazadera hacia arriba o
hacia abajo por el tubo de mando.
Apriete el tornillo moderadamente.
Suelte la maquina y verifique el
equilibrio.
Punto de equilibrio
A Herramientas segadoras
Las cabezas de segado, la cuchillas
para pasto y la cuchilla para mato-
rrales apenas deben tocar el suelo.
B Sierras circulares
deben estar "suspendidas" aproxi-
madamente 20 cm (8 pulg) sobre el
suelo.
Cuando se alcanza el punto de equilibrio
correcto:
:Apriete el tornillo de fijación firme-
mente.
Desconexión de la cortadora de
matorrales de su arnés
Dependiendo del tipo de gancho con
resorte (mosquetón):
:Empuje hacia abajo la barra en el
gancho de resorte (1) y quite la
abrazadera (2) del gancho.
A
002BA034 KN
B
002BA035 KN

95FS 80, FS 80 R, FS 85, FS 85 R
español / EE.UU
Controles
Palanca de control en manillar tipo
bicicleta
Bloqueo del gatillo de aceleración (1)
Gatillo de aceleración (2)
Control deslizante (3)
Mango de control en el tubo de
mando
Bloqueo del gatillo de aceleración (1)
Gatillo de aceleración (2)
Control deslizante (3)
Posiciones del control deslizante
STOP-O (4) – motor apagado - el sis-
tema de encendido está desconectado
# – posición de marcha normal (5) – el
motor está en marcha o puede arran-
carse
START (6) - el sistema de encendido
está conectado y es posible arrancar el
motor
Símbolo en el control deslizante
h (7) – Símbolo de parar y flecha – para
apagar el motor, empuje el control desli-
zante en el sentido de la flecha en el
símbolo de parar (h ) a la posición
STOP-O.
Arranque
:Mantenga oprimido el bloqueo del
gatillo y oprima el gatillo de acelera-
ción.
:Mientras sujeta los dos controles en
esta posición, mueva el control des-
lizante a la posición START y sujé-
telo allí.
:Ahora suelte el gatillo de acelera-
ción, el control deslizante y el blo-
queo del gatillo, en el orden indi-
cado. Esta es la posición de
arranque del acelerador.
Arranque / parada
del motor
3
STOP
56
4
7
002BA182 KN
1
2
START
STOP-
3
STOP
2
5
6
4
7
002BA181 KN
START
STOP-
1

96
español / EE.UU
FS 80, FS 80 R, FS 85, FS 85 R
:Ajuste la perilla del estrangulador
(8):
Para arranque en frío en g
Para arranque caliente en e
- Utilice esta posición también si el
motor ha estado en marcha, pero
todavía se encuentra frío.
:Oprima el bulbo (9) de la bomba de
combustible por lo menos cinco
veces, aunque el bulbo esté lleno
de combustible.
:Coloque la unidad en el suelo: Debe
quedar firmemente apoyada en el
soporte del motor y el deflector.
Verifique que la herramienta de
corte no esté tocando el suelo ni
ningún otro obstáculo.
:Asegúrese de tener los pies bien
apoyados.
:Sujete la máquina con la mano
izquierda y empuje hacia abajo
firmemente - el pulgar debe estar
debajo de la caja del ventilador.
No se pare ni se arrodille sobre el
tubo de mando.
:Con la mano derecha tire lenta-
mente del mango de arranque hasta
que sienta una resistencia definitiva
y en seguida dele un tirón fuerte y
rápido. No tire de la cuerda de
arranque totalmente hasta afuera,
se podría cortar.
:No deje que el mango de arranque
salte bruscamente hacia atrás.
Guíelo lentamente hacia el interior
de la caja para que la cuerda de
arranque se enrolle correctamente.
:Continúe haciendo girar el motor
hasta que arranque.
393BA017 KN
8
8
393BA018 KN
9
002BA038 KN002BA040 KN
357BA033 KN

97FS 80, FS 80 R, FS 85, FS 85 R
español / EE.UU
Cuando el motor empieza a encen-
derse:
:Gire la perilla del estrangulador a
e y continúe intentando el arran-
que del motor.
Cuando el motor empieza a encen-
derse:
:Oprima el gatillo de aceleración
momentánea e inmediatamente de
modo que el control deslizante se
desplace a la posición de marcha #,
y el motor regrese a aceleración de
ralentí.
Asegúrese que el carburador esté
correctamente ajustado; la her-
ramienta de corte no debe girar
cuando el motor está funcionando a
ralentí.
Su máquina está lista para trabajar.
Parada del motor
:Empuje el control deslizante en el
sentido
de la flecha en el símbolo de parar
(h ) a STOP-O.
A temperaturas ambiente muy
bajas
Tan pronto arranque:
:Accione momentáneamente el gati-
llo de aceleración para desconec-
tarlo de la posición de arranque. El
control deslizante se desplaza a la
posición de marcha # y el motor
regresa a aceleración de ralentí.
:Abra el acelerador ligeramente.
:Caliente el motor por un tiempo
breve.
Si el motor no arranca
Perilla de estrangulador
Si no se movió la perilla del estrangula-
dor a e en un tiempo suficientemente
corto después que el motor empezó a
encenderse, la cámara de combustión
se encuentra "ahogada".
:Gire la perilla del estrangulador a
e
:Elija la posición de arranque del
acelerador.
:Arranque el motor tirando enérgica-
mente de la cuerda de arran-
que.Puede ser necesario hacer 10
a 20 intentos.
Si el motor todavía no arranca:
:Mueva el control deslizante a
STOP-O.
:Quite el casquillo de la bujía (10).
:Destornille y seque la bujía.
:Abra el acelerador al máximo.
:Haga girar el motor varias veces
con el arrancador para despejar la
cámara de combustión.
:Vuelva a instalar la bujía. Conecte el
casquillo de la bujía (empújelo fir-
memente).
:Mueva el control deslizante a la
posición de arranque (START).
:Ponga la perilla del estrangulador
en e – aun si el motor está frío.
:Ahora arranque el motor.
Ajuste del cable del acelerador
:Revise el ajuste del cable del acele-
rador – vea el capítulo "Ajuste del
cable del acelerador".
Se agotó el combustible
:Después de llenar el tanque, oprima
el bulbo de la bomba de combusti-
ble por lo menos cinco veces, aun-
que el bulbo esté lleno de combusti-
ble.
:Ajuste la perilla del estrangulador
según la temperatura del motor.
:Ahora arranque el motor.
10
393BA042 KN

98
español / EE.UU
FS 80, FS 80 R, FS 85, FS 85 R
Durante el período de rodaje
Una máquina nueva no debe hacerse
funcionar a velocidad alta (aceleración
máxima sin carga) por el lapso que tome
llenar el tanque tres veces. Esto evita la
imposición de cargas innecesariamente
altas durante el período de rodaje.
Puesto que todas las piezas móviles
necesitan un período de rodaje, las
resistencias causadas por la fricción en
el motor son mayores durante este
período. El motor desarrolla su potencia
máxima después de haber llenado el
tanque de 5 a 15 veces.
Durante el funcionamiento
Después de un período largo de funcio-
namiento con el acelerador a fondo,
deje funcionar el motor por un rato en
ralentí de modo que el calor en el motor
sea disipado por la corriente de aire de
enfriamiento. Esto ayuda a evitar que
los componentes montados en el motor
(encendido, carburador) sufran sobre-
cargas térmicas.
Después de terminar el trabajo
Espere que el motor se enfríe. Vacíe el
tanque de combustible. Almacene la
máquina en un lugar seco. Revise el
apriete de las tuercas y tornillos (no los
tornillos de ajuste) periódicamente y
vuelva a apretar según sea necesario.
La suciedad en el filtro de aire reduce la
potencia del motor, aumenta el consumo
de combustible y dificulta el arranque
del motor.
Si se nota una pérdida considerable
de la potencia del motor
:Ponga la palanca del estrangulador
en g
:Oprima la lengüeta (1).
:Levante cuidadosamente la
cubierta (2) del filtro encima de la
lengüeta y quítela.
:Limpie toda la suciedad de alrede-
dor del filtro.
:Retire los elementos de espuma y
de fieltro del filtro.
:Lave el elemento de espuma en una
solución limpiadora limpia y no infla-
mable (por ejemplo, agua jabonosa
tibia) y séquelo.
:Coloque un elemento de fieltro
nuevo. Como una medida proviso-
ria, es posible limpiarlo golpeándolo
en la palma de la mano o soplán-
dolo con aire comprimido. No lo
lave.
Siempre sustituya las piezas daña-
das.
:Coloque el elemento de espuma (3)
en la cubierta (2) del filtro.
:Coloque el elemento de fieltro (4)
(las marcas orientadas hacia aden-
tro) en la caja del filtro (5).
:Coloque la tapa del filtro de modo
que se trabe en su lugar.
Instrucciones de manejo Limpieza del filtro de aire
355BA014 KN
2
1
23
355BA031 KN
45
355BA032 KN

99FS 80, FS 80 R, FS 85, FS 85 R
español / EE.UU
Las emisiones de gases de escape son
controladas por el diseño de parámetros
y componentes fundamentales del
motor (por ej. carburación, encendido,
regulación y regulación de la válvula o
lumbrera) sin la adición de ningún
equipo importante.
El carburador se ajusta en la fábrica al
ajuste estándar.
Este ajuste provee una mezcla óptima
de combustible y aire bajo la mayoría de
las condiciones de funcionamiento.
Con este carburador es posible ajustar
la velocidad de ralentí del motor sola-
mente dentro de una gama pequeña.
Ajuste estándar
:Apague el motor.
:Instale la herramienta de corte FS,
el accesorio motorizado o la herra-
mienta CombiTool.
:Revise el filtro de aire y sustitúyalo
si es necesario.
:Revise el ajuste del cable del acele-
rador –ajústelo de ser necesario–
vea "Ajuste del cable del acelera-
dor".
:Gire el tornillo de ajuste de veloci-
dad alta (H) en sentido contrahora-
rio hasta su tope (no más de 3/4 de
vuelta).
:Atornille cuidadosamente el tornillo
de velocidad baja (L) hasta que
tope en su asiento. Después ábralo
una vuelta en sentido contrahora-
rio.
:Arranque el motor y caliéntelo.
:Ajuste la velocidad de ralentí con el
tornillo (LA) hasta que la herra-
mienta de corte deje de girar.
Ajustes finos
Puede ser necesario efectuar un ajuste
ligero del tornillo de velocidad alta (H) si
la potencia del motor no es adecuada
para trabajar en grandes altitudes o al
nivel del mar o después de cambiar la
herramienta de corte.
Manejo del motor Ajuste del carburador
265BA024 KN
LA
HL
1
3 / 4

100
español / EE.UU
FS 80, FS 80 R, FS 85, FS 85 R
Regla general
Gire el tornillo de ajuste de veloci-
dad alta (H) aproximadamente
1/4 vuelta por cada 1000 metros
(3300 pies) de cambio de altura.
Condiciones para ajuste
Ajuste el tornillo de velocidad alta
(H) solamente si va a utilizar una
cabeza segadora, asegurándose
que los hilos de corte sean del largo
máximo (hasta la cuchilla limitadora
en el deflector).
Si desea instalar una herramienta
de corte metálica, use el ajuste
estándar.
:Lleve a cabo el procedimiento de
ajuste estándar sin cambiar la posi-
ción del tornillo de velocidad alta
(H).
:Caliente el motor por unos 5 minu-
tos si está utilizando una herra-
mienta de corte metálica o aproxi-
madamente 3 minutos si está
utilizando una cabeza segadora.
:Abra el acelerador al máximo.
En alturas grandes
:Gire el tornillo de alta velocidad (H)
en sentido horario (mezcla más
pobre), pero no más allá del tope,
hasta que no haya un aumento
notable de velocidad del motor.
Al nivel del mar
:Gire el tornillo de alta velocidad (H)
en sentido contrahorario (mezcla
más rica), pero no más allá del tope,
hasta que no haya un aumento
notable de velocidad del motor.
Es posible que se alcance la veloci-
dad máxima del motor con el ajuste
normal en cada caso.
Ajuste de ralentí
Generalmente es necesario cambiar el
ajuste del tornillo de ralentí (LA) des-
pués de cada corrección hecha al torni-
llo de velocidad baja (L).
:Caliente el motor.
El motor se para durante el funciona-
miento a ralentí
:Gire lentamente el tornillo de ajuste
de ralentí (LA) en sentido horario
hasta que el motor funcione de
modo suave – la herramienta de
corte no debe girar.
La herramienta de corte gira cuando
el motor funciona a ralentí
:Gire el tornillo de ralentí (LA) lenta-
mente en sentido contrahorario
hasta que la cuchilla se detenga y
luego gire el tornillo aproximada-
mente otra 1/2 vuelta a vuelta com-
pleta en el mismo sentido.
Funcionamiento irregular a ralentí, el
motor se para aunque se ha corre-
gido el ajuste del tornillo LA, acelera-
ción inadecuada
Ajuste de ralentí con mezcla muy
pobre:
:Gire el tornillo de velocidad baja (L)
en sentido contrahorario (aprox. 1/4
de vuelta) hasta que el motor fun-
cione y se acelere de modo uni-
forme.
Funcionamiento irregular a ralentí
Ajuste de ralentí con mezcla muy
rica:
:Gire el tornillo de velocidad baja (L)
en sentido horario (aprox. 1/4 de
vuelta) hasta que el motor funcione
y se acelere de modo uniforme.

101FS 80, FS 80 R, FS 85, FS 85 R
español / EE.UU
Si el motor pierde potencia, revise el
chispero del silenciador.
:Levante el chispero y sáquelo de
lado.
:Limpie el chispero, de ser necesa-
rio.
:Si el chispero está dañado u obs-
truido, instale uno nuevo.
:Vuelva a instalar el chispero.
* vea "Guía para el uso de este
manual"
La mezcla de combustible incorrecta
(demasiado aceite de motor en la gaso-
lina), el filtro de aire sucio y condiciones
de funcionamiento desfavorables (gene-
ralmente a media aceleración, etc.)
afectan la condición de la bujía. Estos
factores causan la formación de depósi-
tos en la punta del aislador lo que puede
dificultar el funcionamiento.
Si el motor tiene poca potencia, le
cuesta arrancar o funciona deficiente-
mente a velocidad de ralentí, primero
revise la bujía.
:Saque la bujía – vea „Arranque /
parada del motor“.
:Limpie la bujía sucia.
:Mida la separación entre electrodos
de la bujía (A). Vuelva a ajustar si es
necesario. Vea “Especificaciones”.
:Use únicamente bujías de tipo
resistencia de capacidad aprobada.
Corrija la causa de la suciedad de la
bujía:
:Demasiado aceite en la mezcla de
combustible.
:Filtro de aire sucio.
:Condiciones de funcionamiento
desfavorables, por ej., funciona-
miento a media aceleración.
Coloque una bujía nueva después de
100 horas de funcionamiento, aproxi-
madamente, o más temprano si nota
que los electrodos están muy desgasta-
dos.
Chispero* en silenciador
392BA035 KN
Revisión de la bujía
000BA002 KN

102
español / EE.UU
FS 80, FS 80 R, FS 85, FS 85 R
Para reducir el riesgo de incendios y
lesiones por quemadura, use sola-
mente bujías autorizadas por
STIHL. Siempre encaje un casquillo
(2) del tamaño correcto bien ajus-
tado en el borne (1) de la bujía.
(Nota: Si el borne tiene una tuerca
adaptadora SAE desprendible,
colóquela.) Una conexión suelta
entre el casquillo de la bujía y el
conector del alambre de encendido
puede formar un arco eléctrico,
inflamar los vapores combustibles y
finalmente causar un incendio.
:Revise el nivel de grasa periódica-
mente - aproximadamente cada
25 horas de funcionamiento.
:Destornille el tapón de llenado (1).
:Si no se ve grasa en el interior del
tapón, atornille el tubo (2) del lubri-
cante para engranajes STIHL espe-
cial para cortadoras de matorrales -
vea "Accesorios especiales" - en el
agujero de llenado.
:Exprima 1/5 oz (5 g) de grasa al
interior de la caja de engranajes.
No llene completamente con grasa
la caja de engranajes.
:Vuelva a colocar el tapón de llenado
y apriételo firmemente.
Retiro de la tapa del arrancador
:Saque los tornillos (1).
:Levante la tapa (2) de encima del
tanque (3) y extraígala de debajo de
la cubierta protectora (4).
0
00BA036 TR
1
Lubricación de la
caja de engranajes
1
233BA010 KN
2
Sustitución de la cuerda de
arranque y resorte de rebo-
binado
1
11
2
3
4
392BA013 KN

103FS 80, FS 80 R, FS 85, FS 85 R
español / EE.UU
Retiro del rotor de la cuerda
:Saque el tornillo (5).
:Retire el rotor de la cuerda con
mucho cuidado.
El resorte de rebobinado está alo-
jado en el rotor y puede saltar y des-
enrollarse si no se procede con cui-
dado.
Las piezas del resorte roto pueden
estar tensadas y pueden lanzarse
inesperadamente cuando que quita
el rotor de la cuerda. Para reducir el
riesgo de lesionarse, póngase
guantes y protector facial.
Sustitución de la cuerda de arran-
que
:Utilice un destornillador para apa-
lancar la tapa†(6) fuera del mango
de arranque.
:Retire la cuerda restante del rotor y
del mango, asegurándose de evitar
que el manguito ElastoStart se
salga del mango.
:Haga un nudo de rizo sencillo en el
extremo de la cuerda de arranque
nueva (vea Especificaciones) y des-
pués pase la cuerda por la parte
superior del mango y por el buje de
la cuerda (7).
:Vuelva a instalar la tapa en el
mango.
:Tire de la cuerda a través del rotor y
fíjela con un nudo de rizo simple.
:Pase a la sección "Instalación del
rotor de la cuerda".
Sustitución del resorte de rebobi-
nado roto
Se puede conseguir de la fábrica dos
tipos de resorte de repuesto:
– Un resorte de rebobinado listo para
instalar fijado con un alambre rete-
nedor.
– Un rotor de la cuerda con un resorte
de rebobinado ya instalado.
Instalación del resorte de rebobinado
listo para instalar
:Lubrique el resorte con algunas
gotas de aceite sin resina -- vea
"Accesorios especiales" -- ¡no abra
el alambre retenedor!
5
392BA014 KN
6
7
392BA015 KN
392BA024 KN

104
español / EE.UU
FS 80, FS 80 R, FS 85, FS 85 R
:Quite cuidadosamente las piezas
del resorte viejo de la tapa del
arrancador y del rotor de la cuerda.
:Introduzca el resorte de rebobinado
nuevo en el rotor de la cuerda y, al
mismo tiempo, coloque la espiral
exterior del resorte en la hendidura
del rotor – el alambre retenedor se
suelta durante este proceso.
Si el resorte se sale y se desenrolla,
colóquelo nuevamente en sentido
contrahorario, empezando en el
exterior y avanzando hacia adentro.
:Pase a la sección "Instalación del
rotor de la cuerda".
Instalación del rotor de la cuerda con
resorte de rebobinado
:Retire cuidadosamente del emba-
laje el nuevo rotor con resorte de
rebobinado. El resorte de rebobi-
nado puede saltarse si no se pro-
cede con cuidado –riesgo de lesio-
nes.
:Lubrique el resorte con algunas
gotas de aceite sin resina -- vea
"Accesorios especiales".
:Pase a la sección "Instalación del
rotor de la cuerda".
Instalación del rotor de la cuerda
:Compruebe la dimensión a de la
espiral interior del resorte y doble el
resorte ligeramente, de ser necesa-
rio.
:Cubra la cavidad del cojinete del
rotor de la cuerda con aceite sin
resina – vea "Accesorios especia-
les".
:Deslice el rotor en el poste del
arrancador–
gírelo hacia uno y otro lado para
engranar la espiral terminal d(8) del
resorte de rebobinado.
:Inserte el tornillo (5) y apriételo bien
firme.
:Pase a "Tensado del resorte de
rebobinado".
Tensado del resorte de rebobi-
nado
:Forme un bucle con la cuerda de
arranque sin envolver y utilícelo
para girar el rotor seis revoluciones
completas en sentido contrahorario.
Sostenga el rotor inmóvil – ende-
rece la cuerda – suelte el rotor –
suelte la cuerda lentamente de
modo que se enrolle en el rotor.
:Revise la tensión del resorte:
– El mango de arranque debe quedar
firmemente sentado en el buje guía
de la cuerda.
Si el mango cae hacia un lado: Dele
una vuelta adicional al rotor de la
cuerda para aumentar la tensión del
resorte.
– Cuando la cuerda de arranque se
extiende completamente, debe ser
posible girar el rotor media vuelta
adicional. En caso contrario, el
resorte está sobretensado y podría
romperse. Quítele una vuelta de la
cuerda al rotor.
:Pase a "Instalación de la tapa del
arrancador".
a
389BA029 KN
a = 2mm
(0.08 in)
8
392BA025 KN
392BA044 KN

105FS 80, FS 80 R, FS 85, FS 85 R
español / EE.UU
Instalación de la tapa del arranca-
dor
:Empuje el reborde de montaje
superior (2) debajo de la envuelta
(4) –
alinee el tanque (3) y empuje la
parte inferior de la tapa sobre el tan-
que
:Inserte y apriete los tornillos (1) de
la caja.
Para intervalos de 3 meses o más
:Vacíe y limpie el tanque de combus-
tible en una zona bien ventilada.
:Deseche los residuos de
combustible y solución de limpieza
de acuerdo con los requerimientos
locales de protección del medio
ambiente.
:Haga funcionar el motor hasta que
el carburador se seque – esto
ayuda a evitar que los diafragmas
del carburador se peguen.
:Retire, limpie e inspeccione el acce-
sorio de corte.
:Limpie la máquina a fondo - preste
atención especial a las aletas del
cilindro y al filtro de aire.
:Guarde la máquina en un lugar seco
y elevado, o bajo llave – fuera del
alcance de los niños y de otras per-
sonas no autorizadas.
:Use una lima (accesorio especial)
para afilar las herramientas de
corte. En el caso de desgaste o
mellas más serios: Vuelva a afilar
con una rectificadora o pida que el
trabajo se lo haga el concesionario
STIHL.
:Afile frecuentemente, quitando la
menor cantidad posible de material;
por lo general dos o tres pasadas de
la lima son suficientes.
Para evitar el desequilibrio
:Después de aproximadamente 5
afiladas, revise la cuchilla en el
equilibrador STIHL (accesorio
especial) y vuelva a ajustar el equi-
librio según sea necesario.
1
11
2
3
4
393BA045 KN
Almacenamiento de la
máquina
Afilado de las herramientas
de corte metálicas

106
español / EE.UU
FS 80, FS 80 R, FS 85, FS 85 R
:Afile las cuchillas (1) uniforme-
mente – no altere de manera alguna
el contorno de la cuchilla matriz (2).
Vea las instrucciones en el embalaje de
la herramienta de corte para información
adicional acerca del afilado.
22
1
2
11
002BA042 KN

107FS 80, FS 80 R, FS 85, FS 85 R
español / EE.UU
1) STIHL recomienda que un concesionario de
servicio STIHL efectúe este trabajo
* no se usa en todas las versiones,
depende del mercado
Tabla de mantenimiento
Sírvase notar que los intervalos de mantenimiento siguientes son aplicables en
condiciones normales de funcionamiento. Si el tiempo de trabajo por jornada es
más largo que lo normal, o si las condiciones de corte son extremas (zonas polvo-
rientas, etc.), acorte los intervalos indicados de modo correspondiente.
antes de
comenzar el trabajo
después de terminar
el trabajo o diariamente
después de cada
parada para cargar combustible
semanalmente
mensualmente
cada 12 meses
si hay problema
si tiene daños
según se requiera
Máquina completa
Inspección visual (condición gene-
ral, fugas) XX
Limpiar X
Mango de control Comprobar funcionamiento XX
Filtro de aire Limpiar XX
Reemplazar X
Cuerpo aspirador en el tanque de combus-
tible
Revisar X
Reemplazar XXX
Tanque de combustible Limpiar XX
Carburador
Comprobar el ajuste de ralentí – la
herramienta de corte no debe girar XX
Ajustar el ralentí X
Bujía
Ajustar la distancia entre electrodos X
Cambiar después de aprox. 100
horas de funcionamiento
Entradas de enfriamiento Inspeccionar X
Limpiar X
Chispero en silenciador* Revisar XX
Reemplazar XX
Todos los tornillos y tuercas accesibles
(salvo los tornillos de ajuste) Volver a apretar X
Elemento antivibración
Revisar X
Solicitar al concesionario de servi-
cio su sustitución1) X

108
español / EE.UU
FS 80, FS 80 R, FS 85, FS 85 R
Sírvase notar que los intervalos de mantenimiento siguientes son aplicables en
condiciones normales de funcionamiento. Si el tiempo de trabajo por jornada es
más largo que lo normal, o si las condiciones de corte son extremas (zonas polvo-
rientas, etc.), acorte los intervalos indicados de modo correspondiente.
antes de
comenzar el trabajo
después de terminar
el trabajo o diariamente
después de cada
parada para cargar combustible
semanalmente
mensualmente
cada 12 meses
si hay problema
si tiene daños
según se requiera
Herramientas de corte
Inspeccionar XX
Reemplazar X
Comprobar el apriete
de la herramienta de corte XX
Herramientas de corte metálicas Afilar XX
Lubricación de caja de engranajes Revisar X
Restituir X
Etiquetas de seguridad Reemplazar X

109FS 80, FS 80 R, FS 85, FS 85 R
español / EE.UU
1Bomba de combustible
2Palanca del estrangulador
3Tornillos de ajuste del carburador
4Mango de arranque
5Tapa de llenado de combustible
6Tanque de combustible
7Silenciador (con chispero*)
8Gatillo de aceleración
9Control deslizante
10 Bloqueo del gatillo de aceleración
11 Manillar de bicicleta
12 Soporte del manillar
13 Retenedor del cable del acelerador
14 Abrazadera* (argolla de transporte
para el arnés)
15 Casquillo de bujía
16 Cubierta del filtro de aire
17 Apoyo de la máquina
18 Barra de defensa,
no en todas las versiones, de
acuerdo con el mercado
19 Mango tórico
20 Tubo de mando
#Número de serie
Piezas y controles
parte 1
10
#
18
4
12
13
11
8
9
10
13 14
15
16
17
9
8
19
393BA043 KN
1
2
3
56
7
20
20 14
110
español / EE.UU
FS 80, FS 80 R, FS 85, FS 85 R
Definiciones
1. Bomba de combustible
Suministra alimentación adicional
de combustible para el arranque en
frío.
2. Palanca del estrangulador
Facilita el arranque del motor al
enriquecer la mezcla.
3. Tornillos de ajuste del carbura-
dor
Para afinar el carburador.
4. Mango de arranque
El mango de la cuerda de arranque,
el cual es el dispositivo usado para
arrancar el motor.
5. Tapa de llenado de combustible
Para tapar el tanque de combusti-
ble.
6. Tanque de combustible
Contiene la mezcla de combustible
y aceite.
7. Silenciador (con chispero)
Reduce los ruidos del tubo de
escape y desvía los gases de
escape lejos del operador.
8. Gatillo de aceleración
Regula la velocidad del motor.
9. Control deslizante
Para aceleración de arranque, mar-
cha y parada. Mantiene el acelera-
dor parcialmente abierto durante el
arranque, apaga el encendido del
motor y detiene su marcha.
10. Bloqueo del gatillo de acelera-
ción
Debe ser oprimido antes de poder
activar el gatillo de aceleración.
11. Manillar de bicicleta
Para facilitar el control de la
máquina con ambas manos durante
el proceso de corte.
12. Soporte del manillar
Conecta el tubo de mando y el
manillar de bicicleta.
13. Retenedor del cable del acelera-
dor
Sujeta el cable del acelerador al
tubo de mando.
14. Abrazadera (argolla de trans-
porte)
Conecta la cortadora de matorrales
al arnés.
15. Casquillo de la bujía
Conecta la bujía al alambre de
encendido.
16. Cubierta del filtro de aire
Encierra y protege el filtro de aire.
17. Apoyo de la máquina
Para apoyar la máquina en el suelo.
18. Barra de defensa
Ayuda a mantener el espacio libre
entre la herramienta de corte y los
pies y piernas del operador.
19. Mango tórico
Para facilitar el control de la
máquina durante el proceso de
corte.
20. Tubo de mando
Encierra y protege el eje impulsor
entre el motor y el mecanismo.

111FS 80, FS 80 R, FS 85, FS 85 R
español / EE.UU
1 Cabeza segadora
2 Deflector (para cabezas segadoras
solamente)
3 Cuchilla limitadoras del hilo
4 Deflector con faldilla (para todas las
herramientas de corte)
5 Faldilla
6 Herramienta segadora metálica
Definiciones
1. Cabeza segadora
El accesorio de corte, por ejemplo
una cabeza segadora, que se usa
para diferentes propósitos (acceso-
rio especial).
2. Deflector
El deflector tiene por objeto reducir
el riesgo de lesiones causadas por
objetos extraños arrojados contra el
operador por la herramienta de
corte y por el contacto con la herra-
mienta de corte.
3. Cuchilla limitadora del hilo
Una cuchilla de metal en el deflector
para mantener el hilo de la cabeza
segadora al largo adecuado.
4. Deflector con faldilla
El deflector tiene por objeto reducir
el riesgo de lesiones causadas por
objetos extraños arrojados contra el
operador por la herramienta de
corte y por el contacto con la herra-
mienta de corte. No está diseñado
para contener las cuchillas metáli-
cas fragmentadas.
5. Faldilla
La faldilla que se encuentra en la
parte inferior del deflector debe ser
ajustada de la manera que se
explica en los capítulos de montaje
de las distintas herramientas de
corte.
6. Herramienta segadora metálica
El accesorio de corte, es decir la
cuchilla, hecha de metal, que se usa
para diferentes propósitos (acceso-
rio especial).
7 Cuchilla para sierra circular
8 Tope limitador (solamente para sie-
rras circulares)
Definiciones
7. Cuchilla para sierra circular
Una herramienta de corte hecha de
metal para cortar madera.
8. Tope limitador
Diseñado para mantener la corta-
dora de matorrales estable contra la
madera para reducir la posibilidad
de lesiones causadas por la pérdida
de control debido a las fuerzas de
reacción, tales como el empuje
hacia afuera.
Parte 2
002BA114 KN
13
45
3
64
1
2
002BA186 KN
8
7
112
español / EE.UU
FS 80, FS 80 R, FS 85, FS 85 R
Motor
EPA:
El período de cumplimiento de emisio-
nes indicado en la etiqueta de cumpli-
miento de emisiones es la cantidad de
horas de funcionamiento para la cual la
máquina ha demostrado la conformidad
con los requerimientos de emisiones del
Gobierno federal de los EE.UU.
Categoría A = 300 horas, B = 125 horas,
C = 50 horas
CARB:
El período de cumplimiento de emisio-
nes empleado en la etiqueta del índice
de aire CARB tiene las siguientes defini-
ciones:
Extended (extendido) = 300 horas
Intermediate (intermedio) = 125 horas
Moderate (moderado) = 50 horas
Sistema de encendido
Sistema de combustible
Arrancador de cuerda
Peso
1) Versión con mango tórico
2) Versión con manillar tipo bicicleta
Motor de un cilindro, dos tiempos
Cilindrada: 25,4 cm3
(1,55 pulg cúb.)
Diámetro: 34 mm
(1,34 pulg)
Carrera: 28 mm
(1,10 pulg)
Potencia según
ISO 8893: 1,3 bhp
(0,95 kW)
Ralentí: 2800 rpm
Velocidad (nominal)
de corte del motor: 10 500 rpm
Especificaciones
Velocidad máx. de eje
de salida (montaje de
herramienta de corte) 7500 rpm
Tipo: Encendido por magneto electró-
nico
Bujía (extinguida): Bosch WSR 6 F,
NGK BPMR 7 A
o Champion RCJ
6Y
Distancia entre
electrodos:
0,5 mm
(0,02 pulg)
Roscas de la bujía: M 14 x 1,25;
9,5 mm (0,37 pulg)
de largo
Carburador: Carburador de diafragma
de todas posiciones con bomba de
combustible integral
Filtro de aire: Elementos de
espuma y de fiel-
tro
Capacidad del tan-
que de combustible:
0,44 l
(0,93 pt US)
Mezcla de combus-
tible:
Vea "Combusti-
ble"
Cuerda de arranque:
2,7 mm diám. y 910 mm de largo
(0,11 pulg diám y 35,8 pulg de largo)
sin herramienta de corte y deflector
FS 80 R 1) 4,9 kg (10,8 lb)
FS 80 2) 5,2 kg (11,5 lb)
FS 85 R 1) 5,0 kg (11,0 lb)
FS 85 2) 5,3 kg (11,7 lb)
FS 85 RX 1) 4,8 kg (10,6 lb)
113FS 80, FS 80 R, FS 85, FS 85 R
español / EE.UU
Comuníquese con su concesionario
STIHL para información acerca de los
accesorios especiales que pueden estar
disponibles para su producto.
Los usuarios de esta máquina deben
efectuar únicamente los trabajos de
mantenimiento descritos en este
manual. Solamente los talleres autoriza-
dos por STIHL deben llevar a cabo los
demás trabajos de reparación.
Los reclamos de garantía presentados
después de realizadas las reparaciones
serán aceptados únicamente si las mis-
mas fueron ejecutadas por un concesio-
nario de servicio autorizado STIHL utili-
zando piezas de repuesto originales de
STIHL.
Es posible identificar las piezas origina-
les de STIHL por el número de pieza
STIHl
, el logotipo de STIHL y, en
algunos casos, el símbolo ( de piezas
STIHL. En las piezas pequeñas el sím-
bolo puede aparecer solo.
Accesorios especiales Mantenimiento y
reparaciones
114
español / EE.UU
FS 80, FS 80 R, FS 85, FS 85 R
Sus derechos y obligaciones de
garantía
La Agencia de Protección del Medio
Ambiente (EPA) de los EE.UU. y STIHL
Incorporated se complacen en expli-
carle la garantía del sistema de control
de emisiones instalado en el motor de
su equipo. En los EE.UU., los nuevos
motores pequeños para equipos de uso
fuera de carretera modelos 1997 y pos-
teriores deben estar diseñados, cons-
truidos y equipados, al tiempo de la
venta, de conformidad con los regla-
mentos de la EPA de los EE.UU. para
los motores pequeños de uso fuera de
carretera. El motor del equipo debe
carecer de defectos en el material y la
fabricación que puedan causar el incum-
plimiento de las normas de la EPA de los
EE.UU. durante los primeros dos años
de uso del motor a partir de la fecha de
compra por el último comprador.
STIHL Incorporated debe garantizar el
sistema de control de emisiones en el
motor pequeño para uso fuera de carre-
tera por el intervalo mencionado más
arriba, siempre que dicho motor no haya
estado sujeto a maltrato, negligencia o
cuidado inapropiado.
El sistema de control de emisiones de su
máquina incluye piezas tales como el car-
burador y el sistema de encendido. Ade-
más puede incluir mangueras, conectores
y otros conjuntos relativos a emisiones.
En los casos de existir una condición
amparada bajo garantía, STIHL Incorpo-
rated reparará el motor pequeño para
equipo de uso fuera de carretera sin
costo alguno, incluido el diagnóstico (si
el trabajo de diagnóstico fue realizado
por un concesionario autorizado), las
piezas y la mano de obra.
Cobertura de garantía del fabri-
cante:
En los EE.UU., los motores pequeños
para equipos de uso fuera de carretera
modelos 1997 y posteriores también
están garantizados por dos años. En el
caso de encontrarse defectos en cual-
quiera de las piezas del motor relaciona-
das con el sistema de control de emisio-
nes, la pieza será reparada o sustituida
por STIHL Incorporated sin costo
alguno.
Responsabilidades del usuario
relativas a la garantía:
Como propietario de motor pequeño
para equipo de uso fuera de carretera,
usted tiene la responsabilidad de reali-
zar el mantenimiento requerido descrito
en su manual del usuario. STIHL Incor-
porated le recomienda guardar todos los
recibos comprobantes de los trabajos de
mantenimiento hechos a su motor
pequeño para equipo de uso fuera de
carretera, pero STIHL Incorporated no
puede negar garantía basado en el solo
hecho de faltar los recibos o del incum-
plimiento del propietario de realizar
todos los trabajos de mantenimiento
programados.
El uso de cualquier pieza de repuesto o
servicio cuyo comportamiento y durabili-
dad sean equivalentes está permitido en
trabajos de mantenimiento o reparación
no contemplados en la garantía, y no
reducirá las obligaciones de la garantía
del fabricante del motor.
Sin embargo, como propietario del
motor pequeño para equipo de uso
fuera de carretera usted debe estar
consciente de que STIHL Incorporated
puede negarle cobertura de garantía si
dicho motor o una pieza del mismo ha
fallado debido a maltrato, descuido,
mantenimiento inadecuado o modifica-
ciones no autorizadas.
Usted es responsable de llevar el motor
pequeño para equipo de uso fuera de
carretera a un centro de servicio STIHL
tan pronto surja el problema. Las repa-
raciones bajo garantía serán realizadas
en un tiempo razonable, sin exceder de
30 días.
Ante cualquier duda respecto a sus
derechos y responsabilidades bajo esta
garantía, sírvase contactar al represen-
tante de atención al cliente STIHL lla-
mando al 1-800-467-8445, o si lo pre-
fiere puede escribir a
STIHL Inc.,
536 Viking Drive, P.O. Box 2015,
Virginia Beach, VA 23450-2015 EE.UU.
Cobertura por
STIHL Incorporated
STIHL Incorporated garantiza al último
comprador y a cada comprador subsi-
guiente que el motor pequeño para
equipo de uso fuera de carretera está
diseñado, construido y equipado, al
tiempo de la venta, de conformidad con
todos los reglamentos aplicables. Ade-
más, STIHL Incorporated garantiza al
comprador inicial y a cada comprador
No para California:
Declaración de garantía de STIHL Incorporated sobre
sistemas de control de emisiones según normas Federales
115FS 80, FS 80 R, FS 85, FS 85 R
español / EE.UU
subsiguiente que el motor está libre de
defectos en el material y fabricación que
puedan causar el incumplimiento de los
reglamentos aplicables durante un
período de dos años.
Período de garantía
El período de garantía comienza en la
fecha en que el motor del equipo utilita-
rio es entregado a usted y usted firma y
remite la tarjeta de garantía a STIHL.
Si cualquier pieza relacionada con el
sistema de control de emisiones está
defectuosa, la pieza será sustituida por
STIHL Incorporated sin costo alguno
para el propietario. Cualquier pieza
garantizada cuyo reemplazo no está
programado como mantenimiento
requerido, o que debe recibir única-
mente inspección regular en el sentido
de "reparar o sustituir según sea nece-
sario", estará garantizada por el período
de garantía. Cualquier pieza cuyo reem-
plazo está programado como manteni-
miento requerido estará garantizada por
el intervalo hasta el primer punto de
reemplazo programado para esa pieza.
Diagnóstico
Como propietario, a usted no se le debe
cobrar la mano de obra por los diagnós-
ticos que determinen que una pieza
garantizada está defectuosa. No obs-
tante, si usted reclama garantía para un
componente y se comprueba que la
máquina no está defectuosa, STIHL
Incorporated le cobrará el costo de
la prueba del sistema de control de
emisiones.
El trabajo de diagnóstico mecánico se
realiza en un centro de servicio autori-
zado por STIHL. La prueba del sistema
de control de emisiones se realiza ya
sea en la fábrica de STIHL Incorporated
o en un laboratorio de ensayos indepen-
diente.
Trabajo bajo garantía
STIHL Incorporated reparará los defec-
tos amparados por la garantía en cual-
quier estación de garantía o centro de
servicio autorizado por STIHL. Todo tra-
bajo de este tipo se hará gratis para el
propietario siempre que se determine
que la pieza cubierta por la garantía está
defectuosa. Se puede usar cualquier
pieza de repuesto aprobada por el fabri-
cante o equivalente en las piezas rela-
cionadas con el sistema de control de
emisiones, y debe ser suministrada gra-
tis al propietario. STIHL Incorporated es
responsable por daños a otros compo-
nentes del motor causados por la falla
de una pieza garantizada que todavía
está bajo garantía.
La lista siguiente define específica-
mente las piezas garantizadas y relacio-
nadas con las emisiones:
Carburador
Estrangulador (sistema de refuerzo para
arranque en frío)
Múltiple de admisión
Filtro de aire
Bujía
Magneto o sistema de encendido elec-
trónico (módulo de encendido)
Convertidor catalítico (si lo tiene)
Sujetadores/pernos
Dónde presentar el reclamo para
servicio bajo garantía
Lleve el producto a cualquier centro de
servicio autorizado por STIHL y pre-
sente la tarjeta de garantía firmada.
Requerimientos de manteni-
miento
Las instrucciones presentadas en este
manual se basan en la aplicación de la
mezcla recomendada para motores de 2
tiempos (vea también la instrucción
"Combustible"). Las discrepancias de
estas recomendaciones con respecto a
la calidad y la proporción de la mezcla
de combustible y aceite pueden exigir
intervalos de mantenimiento más cortos.
Limitaciones
Esta garantía de los sistemas de control
de emisiones no cubrirá ninguno de los
puntos siguientes:
:reparación o sustitución requerida
debido a maltrato, negligencia o
falta del mantenimiento requerido,
:reparaciones mal hechas o sustitu-
ciones contrarias a las especifica-
ciones de STIHL Incorporated que
afecten desfavorablemente el fun-
cionamiento y/o la durabilidad, y las
alteraciones o modificaciones no
recomendadas o aprobadas por
escrito por STIHL Incorporated,
y
:la sustitución de piezas y otros ser-
vicios y ajustes necesarios para el
mantenimiento requerido en y des-
pués del primer punto de reemplazo
programado.
116
español / EE.UU
FS 80, FS 80 R, FS 85, FS 85 R
Sus derechos y obligaciones de
garantía
El Consejo de Recursos del Aire del
Estado de California (CARB) y STIHL
Incorporated se complacen en explicarle la
garantía del sistema de control de
emisiones instalado en el motor de su
equipo de uso fuera de carretera para el
año 2007 y posteriores.
En California, el equipo nuevo que tiene
motores pequeños para uso fuera de
carretera debe estar diseñado, construido
y equipado de conformidad con las
rigurosas normas de contaminación del
aire del estado. STIHL Incorporated debe
garantizar el sistema de control de
emisiones en el motor pequeño para uso
fuera de carretera por el intervalo
mencionado más arriba, siempre que
dicho motor pequeño para uso fuera de
carretera no haya estado sujeto a maltrato,
negligencia o cuidado inapropiado.
El sistema de control de emisiones puede
contar con los siguientes componentes:
Filtro de aire, carburador, purgador,
estrangulador (sistema de
enriquecimiento para arranque en frío),
varillaje de control, colector de admisión,
magneto o sistema de encendido
electrónico (módulo de encendido), bujía,
convertidor catalítico (si lo tiene), tanque
de combustible, tapa de tanque de
combustible, línea de combustible,
adaptadores de líneas de combustible,
abrazaderas y sujetadores.
En los casos de existir una condición
amparada bajo garantía, STIHL
Incorporated reparará el motor pequeño
para equipo de uso fuera de carretera sin
costo alguno, incluido el diagnóstico, las
piezas y la mano de obra.
Cobertura de garantía del
fabricante:
El sistema de control de emisiones tiene
una garantía de dos años en California. En
el caso de encontrarse defectos en
cualquiera de los componentes del motor
relacionados con el sistema de control de
emisiones, el mismo será reparado o
sustituido por STIHL Incorporated sin
costo alguno.
Responsabilidades del usuario
relativas a la garantía:
Como propietario de motor pequeño para
equipo de uso fuera de carretera, usted
tiene la responsabilidad de realizar el
mantenimiento requerido descrito en su
manual de instrucciones. STIHL
Incorporated le recomienda guardar todos
los recibos comprobantes de los trabajos
de mantenimiento hechos a su motor
pequeño para equipo de uso fuera de
carretera, pero STIHL Incorporated no
puede negar garantía basado en el solo
hecho de faltar los recibos o de su
incumplimiento de realizar todos los
trabajos de mantenimiento programados.
Sin embargo, como propietario del motor
pequeño para equipo de uso fuera de
carretera usted debe ser consciente de
que STIHL Incorporated puede negarle
cobertura de garantía si dicho motor o un
componente del mismo ha fallado debido a
maltrato, descuido, mantenimiento
inadecuado o modificaciones no
autorizadas.
Usted es responsable de llevar el motor
pequeño para equipo de uso fuera de
carretera a un concesionario de servicio
STIHL tan pronto surja el problema. Las
reparaciones bajo garantía deben
realizarse en un tiempo razonable, sin
exceder de 30 días. Ante cualquier duda
respecto a sus derechos y
responsabilidades bajo esta garantía,
sírvase contactar al representante de
atención al cliente STIHL llamando al 1-
800-467-8445, o si lo prefiere puede
escribir a
STIHL Inc., 536 Viking Drive,
P.O. Box 2015,
Virginia Beach, VA 23450-2015 EE.UU.
Cobertura por STIHL
Incorporated
STIHL Incorporated garantiza al último
comprador y a cada comprador
subsiguiente que el motor pequeño para
equipo de uso fuera de carretera está
diseñado, construido y equipado, al tiempo
de la venta, de conformidad con todos los
reglamentos acerca de emisiones
aplicables.
Además, STIHL Incorporated garantiza al
comprador inicial y a cada comprador
subsiguiente que el motor está libre de
defectos en el material y fabricación que
puedan causar el incumplimiento de los
reglamentos acerca de emisiones
aplicables durante un período de dos
años.
Solamente para California:
Declaración de garantía de STIHL Incorporated sobre el control de emisiones de gases de
escape y emisiones por evaporación para el Estado de California
117FS 80, FS 80 R, FS 85, FS 85 R
español / EE.UU
Período de garantía contra
defectos
Los períodos de garantía comenzarán el
día en que el motor de equipo utilitario es
comprado por el comprador inicial. Si
cualquier componente relacionado con el
sistema de control de emisiones está
defectuoso, el mismo será sustituido por
STIHL Incorporated sin costo alguno para
el propietario.
No se permite usar componentes
adicionales o modificados que no hayan
sido eximidos por el Consejo de Recursos
del Aire (CARB). El uso de cualquier
componente adicional o modificado no
eximido será motivo para la denegación
del reclamo bajo garantía. STIHL
Incorporated no es responsable por las
fallas de los componentes garantizados
causadas por el uso de un componente
adicional o modificado no eximido.
La garantía de los componentes
relacionados con el control de emisiones
se interpretará de la manera siguiente:
1. Cualquier componente garantizado
cuyo reemplazo no está programado como
mantenimiento requerido en las
instrucciones escritas requeridas en la
Lista de Piezas bajo la Garantía de Control
de Emisiones (vea más abajo) debe
garantizarse por el período de garantía
definido en la subsección COBERTURA
POR STIHL INCORPORATED, vea más
arriba. Si uno de estos componentes falla
durante el período de garantía, el
fabricante debe reparar o sustituir el
mismo de acuerdo con la subsección (4)
más abajo. Un componente reparado o
sustituido bajo la garantía debe
garantizarse durante el resto del período
de garantía.
2. Cualquier componente garantizado
que solamente debe inspeccionarse
periódicamente de acuerdo con las
instrucciones escritas requeridas en la
Lista de Piezas bajo la Garantía de Control
de Emisiones (vea más abajo) debe
garantizarse por el período de garantía
definido en la subsección COBERTURA
POR STIHL INCORPORATED, vea más
arriba. Una declaración en las
instrucciones escritas tal como "reparar o
sustituir según sea necesario" no acortará
el período de cobertura de garantía. Un
componente de este tipo reparado o
sustituido bajo la garantía debe
garantizarse durante el resto del período
de garantía.
3. Cualquier componente garantizado
que debe sustituirse como un elemento de
mantenimiento requerido en las
instrucciones escritas requeridas por la
lista de piezas bajo la garantía de control
de emisiones (vea más abajo) debe
garantizarse por el intervalo antes del
primer punto de sustitución programado
para este componente. Si el componente
falla antes del primer punto de sustitución
programado, el fabricante del motor debe
reparar o sustituir el mismo de acuerdo
con la subsección (4) más abajo. Un
componente de este tipo reparado o
sustituido bajo la garantía debe
garantizarse durante el resto del período
de garantía antes del primer punto de
sustitución programado para el
componente.
4. La reparación o sustitución de
cualquier componente garantizado debe
llevarse a cabo en una estación de
reparaciones bajo garantía sin costo
alguno para el propietario.
5. No obstante lo expuesto en la
subsección (4) de arriba, los servicios o las
reparaciones bajo garantía pueden
obtenerse en todos los centros de
distribución del fabricante autorizados
para dar servicio a los motores en
cuestión.
6. Al propietario no se le debe cobrar el
trabajo del diagnóstico que establece que
el componente garantizado es de hecho
defectuoso, a condición de que tal trabajo
de diagnóstico se realice en una estación
de reparaciones bajo garantía.
Trabajo bajo garantía
STIHL Incorporated reparará los defectos
amparados por la garantía en cualquier
estación de garantía o centro de servicio
autorizado por STIHL. Todo trabajo de
este tipo se hará gratis para el propietario
siempre que se determine que la pieza
cubierta por la garantía está defectuosa.
Se puede usar cualquier pieza de repuesto
aprobada por el fabricante o equivalente
para el mantenimiento o la reparación de
los componentes relacionados con el
sistema de control de emisiones, y la
misma debe ser suministrada gratis al
propietario. STIHL Incorporated es
responsable por daños a otros
componentes del motor causados por la
falla de una pieza garantizada que todavía
está bajo garantía.

118
español / EE.UU
FS 80, FS 80 R, FS 85, FS 85 R
Lista de piezas bajo la garantía de
emisiones
Filtro de aire, carburador, purgador,
estrangulador (sistema de
enriquecimiento para arranque en frío),
varillaje de control, colector de admisión,
magneto o sistema de encendido
electrónico (módulo de encendido), bujía,
convertidor catalítico (si lo tiene), tanque
de combustible, tapa de tanque de
combustible, línea de combustible,
adaptadores de líneas de combustible,
abrazaderas y sujetadores.
Dónde presentar el reclamo para
servicio bajo garantía
Lleve el producto de STIHL a cualquier
concesionario de servicio autorizado por
STIHL y presente la tarjeta de registro de
producto STIHL firmado o la copia impresa
del registro electrónico del producto.
Limitaciones
La reparación o la sustitución de cualquier
componente garantizado y normalmente
abarcado por la garantía se puede excluir
de la garantía si STIHL Incorporated
demuestra el maltrato, negligencia o
mantenimiento incorrecto del producto de
STIHL, y que tal maltrato, negligencia, o
mantenimiento incorrecto era la causa
directa de la necesidad de reparación o
sustitución del componente. A pesar de lo
anterior, el ajuste de un componente que
tiene un dispositivo limitador instalado en
fábrica y funcionando correctamente no
perjudicará la cobertura bajo garantía.
Marcas registradas de STIHL
STIHL®
q
(
La combinación de colores anaranjado-
gris (N° de registro EE.UU. #2,821,860;
#3,010,057; y #3,010,058)
4-MIX®
AUTOCUT®
EASYSTART®
OILOMATIC®
STIHL Cutquik®
STIHL DUROMATIC®
STIHL Farm Boss®
STIHL Quickstop®
STIHL ROLLOMATIC®
STIHL WOOD BOSS®
TIMBERSPORTS®
YARD BOSS®
Marcas comerciales de STIHL por
ley común
BioPlus™
Easy2Start™
EasySpool™
ElastoStart™
Ematic™ / Stihl-E-Matic™
FixCut™
HT Plus™
IntelliCarb™
Master Control Lever™
Micro™
Pro Mark™
Quad Power™
Quiet Line™
STIHL Arctic™
STIHL Compact™
STIHL HomeScaper Series™
STIHL Interchangeable Attachment
Series™
Marcas comerciales
119FS 80, FS 80 R, FS 85, FS 85 R
español / EE.UU
STIHL Magnum™ / Stihl-Magnum™
STIHL MiniBoss™
STIHL MotoPlus 4™
STIHL Multi-Cut HomeScaper Series™
Stihl Outfitters™
STIHL PICCO™
STIHL PolyCut™
STIHL PowerSweep™
STIHL Precision Series™
STIHL Protech™
STIHL RAPID™
STIHL SuperCut™
STIHL Territory™
TapAction™
TrimCut™
Esta lista de marcas comerciales está
sujeta a cambios.
Queda terminantemente prohibido todo
uso de estas marcas comerciales sin el
consentimiento expreso por escrito de
ANDREAS STIHL AG & Co. KG,
Waiblingen.
120
español / EE.UU
FS 80, FS 80 R, FS 85, FS 85 R

! WARNING!
The engine exhaust from this product
contains chemicals known to the State
of California to cause cancer, birth
defects or other reproductive harm.
! WARNING!
The engine exhaust from this product
contains chemicals known to the State
of California to cause cancer, birth
defects or other reproductive harm.
! ADVERTENCIA!
El gas de escape del motor de esta máquina
contiene productos químicos que en el estado de
California son considerados como causantes de
cáncer, defectos de nacimiento u otros efectos
nocivos para los órganos de la reproducción.
0458 393 8621
englisch / English USA / spanisch / español EE.UU / CARB / EPA
BA_FS80_30_U_K4.book Seite 1 Freitag, 8. Oktober 2004 10:59 10