Stihl Fskm FS KM
2014-07-06
: Stihl Stihl-Fskm stihl-fskm stihl pdf
Open the PDF directly: View PDF
.
Page Count: 62
- BA_SE_114_006_01_09.pdf
- Contents
- CombiSystem
- Guide to Using this Manual
- Safety Precautions and Working Techniques
- Approved CombiEngines
- Approved Combinations of Cutting Tool, Deflector, Handle and Harness
- Mounting the CombiTool
- Mounting the Deflector
- Mounting the Cutting Tools
- Fitting the Harness
- Balancing the Brushcutter
- Starting / Stopping the Engine
- Storing the Machine
- Lubricating the Gearbox
- Sharpening Metal Cutting Tools
- Maintenance
- Main Parts
- Specifications
- Special Accessories
- Maintenance and Repairs
- BA_SE_114_006_31_09.pdf
- Contenido
- CombiSystem
- Guía para el uso de este manual
- Medidas de seguridad y técnicas de manejo
- Motores CombiEngine aprobados
- Combinaciones aprobadas de herramienta de corte, deflector, mango y arnés
- Instalación de la CombiTool
- Montaje del deflector
- Montaje de las herramientas de corte
- Colocación del arnés
- Equilibrio de la cortadora de matorrales
- Arranque / parada del motor
- Almacenamiento de la máquina
- Lubricación de la caja de engranajes
- Afilado de las herramientas de corte metálicas
- Mantenimiento
- Piezas principales
- Especificaciones
- Accesorios especiales
- Mantenimiento y reparaciones
- BA_SE_114_006_01_10.pdf
- KombiSystem
- Guide to Using this Manual
- Safety Precautions and Working Techniques
- Approved KombiEngines
- Approved Combinations of Cutting Tool, Deflector, Handle and Harness
- Mounting the KombiTool
- Mounting the Deflector
- Mounting the Cutting Tools
- Fitting the Harness
- Balancing the Brushcutter
- Starting / Stopping the Engine
- Storing the Machine
- Lubricating the Gearbox
- Sharpening Metal Cutting Tools
- Maintenance
- Main Parts
- Specifications
- Special Accessories
- Maintenance and Repairs
- Trademarks
- Contents
- BA_SE_114_006_31_10.pdf
- Sistema Kombi
- Guía para el uso de este manual
- Medidas de seguridad y técnicas de manejo
- Motores KombiEngine aprobados
- Combinaciones aprobadas de herramienta de corte, deflector, mango y arnés
- Instalación del accesorio KombiTool
- Montaje del deflector
- Montaje de las herramientas de corte
- Colocación del arnés
- Equilibrio de la cortadora de matorrales
- Arranque / parada del motor
- Almacenamiento de la máquina
- Lubricación de la caja de engranajes
- Afilado de las herramientas de corte metálicas
- Mantenimiento
- Piezas principales
- Especificaciones
- Accesorios especiales
- Mantenimiento y reparaciones
- Marcas comerciales
- Contenido

STIH)
STIHL FS-KM
BA_U1_86_01.fm Seite 0 Montag, 12.Januar 2004 12:31 12
Instruction Manual
Manual de instrucciones
Warning!
Read and follow all safety precautions in
Instruction Manual – improper use can cause
serious or fatal injury.
Advertencia!
Lea y siga todas las precauciones de
seguridad dadas en el manual de
instrucciones – el uso incorrecto puede
causar lesiones graves o mortales.
1FS-KM
English / USA
BA_SE_114_006_01_12.fmPrinted on chlorine-free paper.
Printing inks contain vegetable oils; paper can be recycled.
© ANDREAS STIHL AG & Co. KG, 2008
0458 407 8621. M20. B8. PM. Printed in USA
STIHl
Contents
KombiSystem ................................... 2
Guide to Using this Manual .............. 2
Safety Precautions and
Working Techniques ......................... 3
Approved CombiEngines ................ 14
Approved Combinations of
Cutting Tool, Deflector,
Handle and Harness ....................... 15
Mounting the KombiTool ................. 17
Mounting the Deflector ................... 17
Mounting the Cutting Tools ............. 18
Fitting the Harness ......................... 22
Balancing the Brushcutter .............. 23
Starting / Stopping the Engine ........ 24
Storing the Machine ........................ 25
Lubricating the Gearbox ................. 25
Sharpening Metal Cutting Tools ...... 25
Maintenance ................................... 26
Main Parts ...................................... 27
Specifications ................................. 28
Special Accessories ....................... 28
Maintenance and Repairs ............... 28
Trademarks .................................... 29
Allow only persons who understand the
manuals of the KombiEngine and
brushcutter KombiTool to operate this
power tool combination.
To receive maximum performance and
satisfaction from your STIHL KombiTool,
it is important that you read and
understand the maintenance and safety
precautions, starting on page 3, before
using your KombiTool.
Contact your STIHL dealer or the STIHL
distributor for your area if you do not
understand any of the instructions in this
Manual.
!Warning!
Because this power-tool has a high-
speed cutting attachment some special
safety precautions must be observed to
reduce the risk of personal injury.
Careless or improper use may cause
serious or even fatal injury.
Make sure your unit is equipped with the
proper deflector, handle and harness for
the type of cutting attachment being
used. Always wear proper eye
protection.
STIHL's philosophy is to continually
improve all of its products. As a result,
engineering changes and improve-
ments are made from time to time. If the
operating characteristics or the
appearance of your attachment differs
from those described in this Manual,
please contact your STIHL dealer for
information and assistance.

2
English / USA
FS-KM
In the STIHL KombiSystem a number of
different KombiEngines and KombiTools
can be combined to produce a power
tool. In this instruction manual the
functional unit formed by the
KombiEngine and KombiTool is referred
to as the power tool.
The KombiEngine and KombiTool come
with separate instruction manuals.
Always read and make sure you
understand both instruction manuals
before starting and using your machine.
Keep the manuals in a safe place for
later reference.
Pictograms
All the pictograms attached to the
machine are shown and explained in
this manual.
The operating and handling instructions
are supported by illustrations.
Symbols in text
The individual steps or procedures
described in the manual may be marked
in different ways:
:A bullet marks a step or procedure
without direct reference to an
illustration.
A description of a step or procedure that
refers directly to an illustration may
contain item numbers that appear in the
illustration.
Example:
Loosen the screw (1)
Lever (2) ...
In addition to the operating instructions,
this manual may contain paragraphs
that require your special attention. Such
paragraphs are marked with the
symbols described below:
Warning where there is a risk of an
accident or personal injury or
serious damage to property.
Caution where there is a risk of
damaging the machine or its
individual components.
Note or hint which is not essential
for using the machine, but may
improve the operator’s under-
standing of the situation and result
in better use of the machine.
Note or hint on correct procedure in
order to avoid damage to the
environment.
KombiSystem
.
.
.
.
002BA159 KN
+
+
Guide to Using this Manual

3FS-KM
English / USA
Equipment and features
This instruction manual may refer to
several models with different
features. Components that are not
installed on all models and related
applications are marked with an
asterisk (*). Such components may
be available as special accessories
from your STIHL dealer.
Engineering improvements
STIHL’s philosophy is to continually
improve all of its products. As a result,
engineering changes and improvements
are made from time to time. If the
operating characteristics or the
appearance of your machine differ from
those described in this manual, please
contact your STIHL dealer for
assistance.
Therefore some changes, modifications
and improvements may not be covered
in this manual.
Warning!
Because a CombiEngine
equipped with a
brushcutter CombiTool is
a high-speed, fast-cutting
power tool, special safety precautions
must be observed to reduce the risk of
personal injury.
It is important that you
read, fully understand and
observe the following
safety precautions and
warnings. Read the
owner's manuals and the
safety instructions of your CombiEngine
and CombiTool periodically. Careless or
improper use of any power tool may
cause serious or fatal injury.
Have your STIHL dealer show you how
to operate your power tool. Observe all
applicable local safety regulations,
standards and ordinances.
!Warning!
Do not lend or rent your power tool
without the owner's manuals. Be sure
that anyone using your power tool
understands the information contained
in these manuals.
!Warning!
The use of any brushcutter may be
hazardous. If the rotating cutting tool
comes in contact with your body, it will
cut you. When it comes in contact with
solid foreign objects such as rocks or
bits of metal, it may fling them directly or
by ricochet in the direction of bystanders
or the operator.
Striking such objects could damage the
cutting attachment and may cause
blades to crack, chip or break.
STIHL does not recommend the use of
rigid blades when cutting in stony areas.
Thrown objects or damaged blades may
result in serious or fatal injury to the
operator or bystanders.
!Warning!
Minors should never be allowed to use a
power tool. Bystanders, especially
children, and animals should not be
allowed in the area where a power tool is
in use.
Never let the brushcutter run
unattended.
Safety Precautions and
Working Techniques
4
English / USA
FS-KM
Most of these safety precautions and
warnings apply to the use of all STIHL
brushcutters. Different models may have
different parts and controls. See the
appropriate sections of your
CombiEngine and CombiTool owner's
manuals for a description of the controls
and function of the parts of your power
tool model.
Safe use of a power tool involves
1. the operator
2. the power tool
3. the use of the power tool.
THE OPERATOR!
Physical Condition
You must be in good physical condition
and mental health and not under the
influence of any substance (drugs,
alcohol, etc.) which might impair vision,
dexterity or judgement. Do not operate a
power tool when you are fatigued.
Be alert - if you get tired while operating
your power tool, take a break. Tiredness
may result in loss of control. Working
with any power tool can be strenuous. If
you have any condition that might be
aggravated by strenuous work, check
with your doctor before operating a
brushcutter.
!Warning!
Prolonged use of a power tool (or other
machines) exposing the operator to
vibrations may produce whitefinger
disease (Raynaud's phenomenon) or
carpal tunnel syndrome.
These conditions reduce the hand's
ability to feel and regulate temperature,
produce numbness and burning
sensations and may cause nerve and
circulation damage and tissue necrosis.
All factors which contribute to white-
finger disease are not known, but cold
weather, smoking and diseases or
physical conditions that affect blood
vessels and blood transport, as well as
high vibration levels and long periods of
exposure to vibration are mentioned as
factors in the development of whitefinger
disease. In order to reduce the risk of
whitefinger disease and carpal tunnel
syndrome, please note the following:
– Most STIHL power tools are
available with an anti-vibration
("AV") system designed to reduce
the transmission of vibrations
created by the engine to the
operator's hands. An AV system is
recommended for those persons
using power tools on a regular or
sustained basis.
– Wear gloves and keep your hands
warm.
– Keep the AV system well
maintained. A power tool with loose
components or with damaged or
worn AV buffers will tend to have
higher vibration levels.
– Maintain a firm grip at all times, but
do not squeeze the handles with
constant, excessive pressures and
take frequent breaks.
All the above mentioned precautions do
not guarantee that you will not sustain
whitefinger disease or carpal tunnel
syndrome. Therefore continual and
regular users should monitor closely the
condition of their hands and fingers. If
any of the above symptoms appear,
seek medical advice immediately.

5FS-KM
English / USA
Proper Clothing
!Warning!
To reduce the risk of injury, the operator
should wear proper protective apparel.
!Warning!
The deflector provided with your
CombiTool may not protect the operator
from all foreign objects (gravel, glass,
wire, etc.) thrown by the rotating cutting
attachment. Thrown objects may also
ricochet and strike the operator.
!Warning!
To reduce the risk of injury
to your eyes never
operate a brushcutter
unless wearing goggles or
properly fitted safety
glasses with adequate top
and side protection complying with ANSI
Z 87.1 (or your applicable national
standard). To reduce the risk of injury to
your face STIHL recommends that you
also wear a face shield or face screen
over your goggles or safety glasses.
!Warning!
Power tool noise may
damage your hearing.
Wear sound barriers (ear
plugs or ear mufflers) to
protect your hearing.
Continual and regular
users should have their hearing checked
regularly.
Protect your hands with
gloves when handling the
power tool and the cutting
attachment. Heavy-duty,
nonslip gloves improve
your grip and protect your
hands.
Clothing must be sturdy
and snug-fitting, but allow
complete freedom of
movement.
Avoid loose-fitting jackets,
scarfs, neckties, jewelry,
flared or cuffed pants,
unconfined long hair or
anything that could
become caught on
branches, brush or
moving parts of the unit.
Wear long pants made of heavy material
to protect your legs. Do not wear shorts,
pants, sandals or go bare foot. Secure
hair so it is above shoulder level.
Good footing is most
important in brushcutter
work. Wear sturdy boots
with nonslip soles. Steel-
toed safety boots are
recommended.
Wear an approved safety
hard hat to reduce the risk
of injury to your head
when there is a danger of
head injuries.
THE BRUSHCUTTER
COMBITOOL
For illustrations and definitions of the
brushcutter CombiTool parts see the
chapter on "Main Parts".
!Warning!
Never modify a CombiTool in any way.
Only attachments supplied by STIHL or
expressly approved by STIHL for use
with the specific STIHL power tool
models are authorized. Although certain
unauthorized attachments may be
useable on the STIHL power tool, their
use may, in fact, be extremely
dangerous.

6
English / USA
FS-KM
THE USE OF THE
BRUSHCUTTER
(COMBIENGINE EQUIPPED WITH
BRUSHCUTTER COMBITOOL)
Transporting the brushcutter
!Warning!
Always turn off the engine and make
sure the cutting attachment has stop-
ped before putting a brushcutter down.
When transporting your brushcutter in a
vehicle, properly secure it to prevent
turnover, fuel spillage and damage to the
brushcutter. Keep metal cutting tools
covered with the transport guard
(optional accessory).
Preparation for the use of the
brushcutter
Adjust carrying harness and hand grip to
suit your size before starting work. The
machine should be properly balanced as
specified in your owner's manual for
proper control and less fatigue in
operation.
Always check your brushcutter for
proper condition and operation before
starting, particularly the throttle trigger,
throttle trigger interlock (if applicable),
stopswitch, cutting tool, deflector and
harness.
Arrows on the deflector (A) and stop (B)
show the correct direction of rotation of
the cutting tool.
!Warning!
Some risks of injury are associated with
specific types of cutting attachments.
For instance, with rigid cutting tools
there is a risk of reactive force known as
„kickout“ or „blade thrust“, which can
throw the brushcutter sideways in
certain situations. For more information
on such risks, see „Using the Cutting
To o l s “ .
Fueling
Your STIHL brushcutter uses an oil-
gasoline mixture for fuel. For further
instructions see the safety precautions
and the chapter on „Fuel“ of the owner’s
manual of the CombiEngine.
!Warning!
Gasoline is an extremely
flammable fuel. If spilled
and ignited by a spark or
other ignition source, it
can cause fire and serious
burn injury or property
damage. Use extreme caution when
handling gasoline or fuel mix.
Do not smoke or bring any fire or flame
near the fuel or brushcutter.
A
000BA006 KN
B
000BA007 KN

7FS-KM
English / USA
Operating instructions
Do not cut any material other than grass,
brush and wood. The cutting tools may
be used only for the operations
described in your manual.
! Warning!
Improper use of
any brushcutter
can cause serious
or fatal personal
injury. To reduce
the risk of personal injury to the operator
from blade contact and thrown objects,
make sure your unit is equipped with the
proper deflector, handle and harness for
the type of cutting attachment being
used. Conversely make sure any cutting
attachment you use is authorized for
your model in its current configuration.
(See chart in chapter on "Approved
Combinations of Cutting Tool, Deflector,
Handle and Harness").
Keep the deflector (and the skirt where
appropriate) adjusted properly at all
times (see chapter on mounting the
various cutting tools of your owner's
manual).
!Warning!
Your power tool is a one-person
machine. Once started, it may fling
foreign objects for a great distance.
To reduce the risk of eye and other injury
insure that bystanders are at least
50 feet (15 m) away. Bystanders should
be encouraged to wear eye protection.
Stop the engine and cutting tool
immediately if you are approached. Start
and operate your brushcutter without
assistance. For specific starting
instructions, see the appropriate section
of the owner’s manual of the
CombiEngine. Place the power tool on
firm ground or other solid surface in an
open area. Maintain a good balance and
secure footing.
Starting
!Warning!
To reduce the risk of injury from loss of
control, be absolutely sure that the
cutting tool is clear of you and all other
obstructions and objects, including the
ground, because when the engine starts
at starting-throttle, engine speed will be
fast enough for the clutch to engage and
turn the cutting tool.
With the engine running only at idle,
attach the power tool to the spring hook
of your harness (see appropriate
chapter of this manual).
Working Conditions
Operate and start your power tool only
outdoors in a ventilated area.
Operate the brushcutter under good
visibility and daylight conditions only.
Work carefully.
!Warning!
Your brushcutter
produces toxic exhaust
fumes as soon as the
engine is running. These
gases (e.g. carbon
monoxide) may be
colorless and odorless. To reduce the
risk of serious or fatal injury from
inhaling toxic fumes, never run the
brushcutter indoors or in poorly
ventilated locations.
15m (50ft)

8
English / USA
FS-KM
!Warning!
Use of this product can generate dust
and fumes containing chemicals known
to cause respiratory disease, cancer,
birth defects, or other reproductive
harm. If you are unfamiliar with the risks
associated with the particular dust or
fume at issue, consult your employer,
governmental agencies such as OSHA
and NIOSH and other sources on
hazardous materials. The State of
California and some other authorities,
for instance, have published lists of
substances known to cause cancer,
reproductive toxicity, etc.
Control dust and fumes at the source
where possible. In this regard use good
work practices and follow the
recommendations of OSHA/NIOSH and
occupational and trade associations.
When the inhalation of toxic dust and
fumes cannot be eliminated, the
operator and any bystanders should
always wear a respirator approved by
NIOSH/MSHA for the type of dust and /
or fumes encountered.
Always hold the power tool firmly with
both hands. Wrap your fingers tightly
around the handles, keeping the
handles cradled between your thumb
and forefinger. Keep your hands in this
position to have your power tool under
control at all times. Make sure your
brushcutter handles and grips are in
good condition and free of moisture,
pitch, oil or grease.
!Warning!
Never attempt to operate any
brushcutter with one hand. Loss of
control of the brushcutter resulting in
serious or fatal injury may result.
!Warning!
Do not overreach. Keep proper footing
and balance at all times. Special care
must be taken in slippery conditions (wet
ground, snow) and in difficult, overgrown
terrain. Watch for hidden obstacles such
as tree stumps, roots and ditches to
avoid stumbling. Be extremely cautious
when working on slopes or uneven
ground.
002BA055 KN
002BA057 KN

9FS-KM
English / USA
!Warning!
Before cutting, inspect the
area for stones, glass,
pieces of metal, trash or
other solid objects. The
cutting attachment could
throw objects of this kind.
Remove such objects if possible, and
avoid any remaining ones when cutting.
!Warning!
When using rigid blades, avoid cutting
close to fences, sides of buildings, tree
trunks, stones or other such objects that
could cause the brushcutter to kick out
or could cause damage to the blade.
STIHL recommends use of the nylon line
heads or PolyCut head for such jobs. In
addition, be alert to an increased
possibility of ricochets in such situations.
!Warning!
This brushcutter is normally to be used
at ground level with the cutting attach-
ment parallel to the ground. Use of a
brushcutter above ground level or with
the cutting attachment perpendicular to
the ground may increase the risk of
injury, since the cutting attachment is
more fully exposed and the brushcutter
may be more difficult to control. Never
use your brushcutter as a hedge
trimmer.
Do not operate using the starting throttle
lock as you do not have control of the
engine speed. See section of your
CombiEngine owner's manual on the
proper use of the slide control.
If the cutting tool or deflector becomes
clogged or stuck, always turn off the
engine and make sure the cutting tool
has stopped before cleaning. Grass,
weeds, etc. should be cleaned off the
cutting tool at regular intervals.
!Warning!
During cutting, check the tightness and
the condition of the cutting tool at regular
intervals. If the behavior of the tool
changes, stop the engine immediately,
and check the nut securing the tool for
tightness and the cutting tool for cracks
and damage. Replace cracked, bent,
warped, damaged or dull cutting tools
immediately. Such tools may shatter at
high speed and cause serious or fatal
injury.
!Warning!
A loose blade may cause the blade to
vibrate, crack, break or come off the
brushcutter, which may result in serious
or fatal injury. Make sure that the blade
is properly tightened. Use the wrench
supplied or one of sufficient length to
obtain the proper torque. If the blade
loosens after being properly tightened,
stop work immediately. The retaining nut
may be worn or damaged and should be
replaced. Never use unauthorized parts
to secure the blade. If the blade
continues to loosen, see your STIHL
dealer. Never use a brushcutter with a
loose blade.
!Warning!
Do not attach any blade to a unit without
proper installation of all required parts.
Never use unauthorized parts to secure
the blade. Failure to use the proper parts
may cause the blade to fly off and
seriously injure the operator or
bystanders.

10
English / USA
FS-KM
!Warning!
Keep hands and feet
away from cutting tool.
Never touch a rotating
cutting tool with your hand
or any part of your body. It
continues to rotate for a
short period after the throttle trigger is
released (flywheel effect).
Important adjustments
!Warning!
To reduce the risk of personal injury from
loss of control or contact with the
running cutting tool, do not use a cutting
tool with incorrect idle adjustment. At
correct idle speed, the cutting tool
should not move. For directions on how
to adjust idle speed, see the appropriate
section of the owner's manual of the
CombiEngine.
If you cannot set the correct idle speed,
have your STIHL dealer check your
brushcutter and make proper
adjustments and repairs.
MAINTENANCE, REPAIR AND
STORING
Maintenance, replacement, or repair
of the emission control devices and
systems may be performed by any
nonroad engine repair establishment
or individual. However if you claim
warranty coverage for a component
which has not been serviced or
maintained properly or if
nonapproved replacement parts were
used, STIHL may deny warranty
coverage.
!Warning!
Use only identical STIHL replacement
parts for maintenance and repair. Use of
non-STIHL parts may cause serious or
fatal injury.
Follow the maintenance and repair
instructions in the appropriate section of
your owner's manual. Please refer to the
maintenance chart on the last pages of
this manual.
Additionally, the daily maintenance
schedule for your power tool set forth in
your STIHL Owner's Manual should be
strictly followed.
!Warning!
Always stop the engine and make sure
that the cutting tool is stopped before
doing any maintenance or repair work or
cleaning the power tool. Do not attempt
any maintenance or repair work not
described in your owner's manual. Have
such work performed at your STIHL
service shop only.
Wear gloves when handling or
performing maintenance on blade.
!Warning!
Never repair damaged cutting attach-
ments by welding, straightening or
modifying the shape. This may cause
parts of the cutting tool to come off and
result in serious or fatal injuries.
Keep the cutting tool sharp. Tighten all
nuts, bolts and screws, except the
carburetor adjustment screws, after
each use.
Store the brushcutter CombiTool in a dry
and high or locked location out of reach
of children.
Before storing for longer than a few
days, always empty the fuel tank. See
chapter „Storing the machine“ in the
CombiEngine manual.

11FS-KM
English / USA
USING THE CUTTING TOOLS
For an illustration of the various cutting
tools and instructions on proper
mounting see the chapter on "mounting
the cutting tools" in your owner's
manual.
Using the mowing heads
Do not use with mowing line longer than
the intended diameter. With a properly
mounted guard, the built-in cutter will
automatically adjust the line to its proper
length. Overly long lines can overload
the engine, resulting in damage to the
clutch mechanism and nearby parts.
A damaged clutch may cause a cutting
attachment to rotate at idle speed and
increase the risk of personal injury from
loss of control and from contact with the
cutting tool.
The STIHL SuperCut, AutoCut, TrimCut
and PolyCut mowing heads produce a
clean and tidy finish.
They are to be used only on brush-
cutters equipped with a limiter blade in
the deflector in order to keep the line at
the proper length (see "Parts and
Controls" chapter of this manual).
If the lawn edges are planted with trees
or bordered by a fence etc., it is best to
use a nylon line head. It achieves a
"softer" cut with less risk of damaging
tree bark etc. than with the polymer
blades.
However, the polymer bladed STIHL
"PolyCut" produces a better cut if there
are no plants along the edge of the lawn.
Sharpening is not necessary and worn
grass cutting blades are easily replaced.
!Warning!
To reduce the risk of serious injury,
never use wire or metal-reinforced line
or other material in place of the nylon
cutting lines. Pieces of wire could break
off and be thrown at high speed toward
the operator or bystanders.
STIHL SuperCut mowing head
Fresh line is advanced automatically.
Frayed line is replaced by a simple
adjustment (see instruction sheet
supplied with mowing head).
STIHL TrimCut mowing head
Frayed line is replaced by a simple
adjustment (see instruction sheet
supplied with mowing head).
002BA018 LÄ
000BA015 KN

12
English / USA
FS-KM
STIHL AutoCut mowing head
Nylon cutting cord advances
automatically when tapped against the
ground.
STIHL PolyCut mowing head
Uses either nylon lines or nonrigid
plastic blades.
Important:
Three rectangular wear limit marks are
applied to the base (periphery) of the
PolyCut. To reduce the risk of serious
injury from breakage of the head or
blades, the PolyCut must not be used
when it has worn as far as one of these
marks. It is important to follow the
maintenance instructions supplied with
the head.
Using the grass cutting blade
All kinds of grass and weeds can be
easily cut with the grass cutting blade.
The brushcutter is swept in an arc
similar to a scythe.
!Warning!
To reduce the risk of serious or fatal
injury never attempt to cut woody
materials.
The 4-tooth grass cutting blade is
intended to cut grass and weeds. It has
4 cutting knives with cutting edges on
both sides, i.e. front and rear.
The 8-tooth grass cutting blade is
recommended for cutting fern or reed.
Both blades have to be resharpened
when all cutting edges are dull.
Using the brush knife
When fitted to the brushcutter, the brush
knife is suitable for applications ranging
from cutting matted grass to clearing
weeds, wild growth and scrub.
To cut wild growth and scrub, lower the
rotating brush knife down onto the
growth to achieve a chopping effect. Use
the brushcutter like a scythe to cut
grass, i.e. sweep it to and for in an arc.
!Warning!
When cutting woody materials, use the
left side of the blade to avoid "kickout"
(blade thrust) situations.
!Warning!
Improper use of a brush knife may cause
it to crack, chip or shatter.
002BA177 KN
000BA020 KN
002BA066 KN

13FS-KM
English / USA
Thrown parts may seriously injure the
operator or bystanders. To reduce the
risk of personal injury it is essential to
take the following precautions:
Avoid contact with hard or solid foreign
objects such as stones, rocks or pieces
of metal.
Never cut wood or shrubs with a stem
diameter of more than 2cm (3/4") - use a
circular saw blade for such work. Inspect
the brush knife at regular short intervals
for signs of damage. Do not continue
working with a damaged brush knife.
Resharpen the brush knife regularly
(when it has dulled noticeably).
!Warning!
When cutting young saplings or other
woody materials up to 2cm (3/4") in
diameter, use left side of the blade to
avoid "kickout" situations (see
appropriate section in this manual). Do
not attempt to cut woody material with a
larger diameter, since the blade may
catch or jerk the brushcutter forward.
This may cause damage to the blade or
brushcutter or loss of control of the
brushcutter, resulting in personal injury.
Using the circular saw blade
Circular saw blades are suitable for
thinning brush and cutting small trees up
to a diameter of 4 cm (1 9/16 in). Do not
attempt to cut trees with larger
diameters, since the blade may catch or
jerk the brushcutter forward. This may
cause damage to the blade or loss of
control of the brushcutter which may
result in serious injury.
When the brushcutter with circular saw
blade is used to cut down small trees,
STIHL recommends that the standard
deflector be removed and replaced by
the special "stop" (see chapter "circular
saw blade" for mounting instructions).
This stop helps to keep the brushcutter
positioned against the tree during the
cutting process. Inexperienced users
should place the left side of the stop
against the tree trunk before beginning
to cut. This will keep the brushcutter
against the tree during the cutting
operation and will reduce the risk of loss
of control and possible kickout
(described in the following section).
000BA016 KN
000BA012 KN

14
English / USA
FS-KM
!Warning!
In order to reduce the risk of injury from
thrown objects or from operator contact
with the cutting tool, be sure to remount
the standard deflector for all other uses.
Before starting the cut, accelerate the
engine up to full throttle. Perform cut
with uniform pressure. STIHL
recommends that the circular saw blade
be applied to the right of the tree, using
the non-shaded area of the blade.
!Warning!
The risk of kickout is highest when
cutting in the darker shaded area. To
reduce the risk of kickout and resulting
injury, do not use this area of the circular
saw blade for cutting trees or shrubs.
Special techniques using the lighter
shaded areas of the blade to cut shrubs
and trees should only be used by
experienced operators with specialized
training in use and control of the
brushcutter.
To reduce the risk of serious injury to the
operator or bystanders by a kickout,
never use a circular saw blade on a
brushcutter with a loop handle.
Risk of kickout (blade thrust)
with all rigid cutting blades
!Warning!
Kickout (blade thrust) is the sudden and
uncontrolled motion towards the
operator's right or rear that can occur
when the shaded area of the rotating
blade comes in contact with a solid
object like a tree, rock, bush or wall. The
rapid counterclockwise rotation of the
blade may be stopped or slowed, and
the cutting attachment may be thrown in
an area to the right or to the rear.
This kickout (blade thrust) may cause
loss of control of the brushcutter and
may result in serious or fatal injury to the
operator or bystanders. To reduce the
risk of injury, extreme caution should be
used when cutting with the shaded area
of any rigid blade.
Only use CombiEngines supplied by
STIHL or expressly approved by STIHL
for use with the CombiTool.
Depending on the cutting tool used,
always refer to and observe the
recommendations in chapter "Approved
Combinations of Cutting Tool, Deflector,
Handle and Harness".
This CombiTool may be operated only in
combination with the following
CombiEngines:
STIHL KM 55, KM 55 C, KM 55 R,
KM 55 RC, KM 85, KM 85 R, KM 90,
KM 90 R, KM 110, KM 110 R, KM 130,
KM 130 R
The barrier bar must be mounted on
loop-handled units.
The CombiTool may also be mounted to
STIHL brushcutters with a split boom or
drive tube (T models).
Operation of this CombiTool is therefore
also permitted on the following power
tool models:
STIHL FS 55 T, FS 55 TC, FS 55 RT,
FS 55 RTC, FS 83 T, FS 83 RT, FS 85 T
und FS 85 RT
For use of barrier bar refer to power
tool instruction manual.
Approved CombiEngines

15FS-KM
English / USA
Cutting tools
1 STIHL SuperCut 20-2
2 STIHL AutoCut 25-2
3STIHL AutoCut C 25-2
4STIHL TrimCut 30-2
5STIHL PolyCut 20-3
6STIHL FixCut 25-2
7 Grass cutting blade 230-4
8 Grass cutting blade 230-8
9 Brush knife 250 1)
10 Scratcher tooth circular
saw blade 200 1)
11 Chisel tooth circular
saw blade 200 1)
Grass cutting blades, brush knives,
shredder blades and circular saw blades
made of any other non-metal material
are not permitted.
Deflectors
12 Deflector for mowing heads only
13 Deflector with
14 Skirt and blade for all mowing heads
(see “Mounting the deflector”)
15 Deflector without skirt and blade
for all metal mowing tools and brush
knife
16 Limit stop for circular saw blades
1) Not approved for KM 55, KM 55 C,
KM 55 R, KM 55 RC, FS 55 T,
FS 55 TC, FS 55 RT, FS 55 RTC
Handles
17 Loop handle with
18 Barrier bar
19 Bike handle
Harnesses
20 Shoulder strap may be used
21 Shoulder strap must be used
22 Full harness may be used
23 Full harness must be used
Equipment
Among other parts, the complete FS-KM
CombiTool includes:
– Cutting tool
– Deflector
Select the correct combination from
the table according to the cutting tool
you intend to use. Read the table
horizontally from left to right. Other
combinations, e.g. reading the table
diagonally, are not permitted.
Warning!
To reduce the risk of injury from
thrown objects and blade contact,
never operate your unit without the
proper deflector for the cutting
attachment being used. To reduce the
risk of injury from loss of control
and / or contact with the cutting tool,
make sure your unit is equipped with
a proper handle and harness for the
type of cutting attachment being
used.
Warning!
Plastic or metal cutting tools, but not
circular saw blades, may be used
only on power tools with a bike
handle or loop handle with barrier bar
in order to reduce the risk of personal
injury through contact with the
cutting tool. To reduce the risk of
serious injury to the operator or
bystanders by kickout, never use a
circular saw blade on a power tool
with a loop handle. Circular saw
blades may be used only on power
tools with a bike handle.
Approved Combinations of Cutting Tool, Deflector, Handle
and Harness

16
English / USA
FS-KM
Cutting tool Deflector Handle Harness/Strap
3
681FK003
681FK011
5
1
681FK037 KN
4
681FK111 KN
6
681FK006
2
12
681FK023
681BA002 KN
13
14
0
02BA003 K
17
18
0
02BA125 KN
20
0
02BA001 K
19
002BA005 K
21
681FK014
89
7
681FK021
13
002BA003 K
17
18
002BA001 K
19
0
02BA126 KN
0
02BA127 KN
22
0
02BA005 K
21 22
681FK018
681FK016
11
10
681FK024
16
0
02BA001 K
19
0
02BA026 KN
002BA006 K
23 23

17FS-KM
English / USA
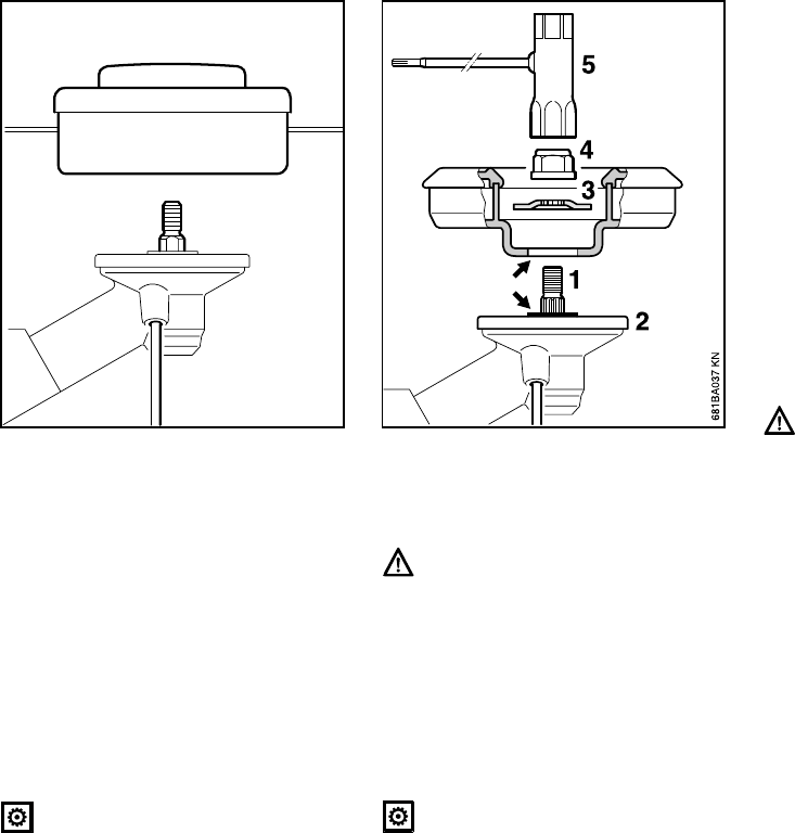
Mounting
:Engage lug (1) on drive tube in
slot (2) in the coupling sleeve and
push home the drive tube as far as
stop.
:When correctly installed, the red
line (3) (arrow point) must be flush
with the end of the coupling sleeve.
:Tighten the wing screw (4) firmly.
Removing
:Reverse the above sequence to
remove the drive tube.
Mounting the deflector
1 = Deflector approved for all cutting
tools
2 = Deflector approved for use with
mowing heads only
:Place the deflector on the
gearhead.
:Fit the plate (3) and line it up.
:Insert M 5 x 18 screws and tighten
down firmly.
Fitting skirt and blade
These parts must be fitted to the
deflector (1) when you use a
mowing head:
:Slide the lower guide slot of the
skirt (4) onto the deflector (1) – it
must snap into position.
:Push the blade (5) into the upper
guide slot on the skirt and line it up
with the first hole.
:Fit the screw and tighten it down
firmly.
Mounting the KombiTool
002BA132 KN
1
2
4
3
002BA133 KN
Mounting the Deflector
002BA102 KN
1
3
2
3
4
1
5
4
002BA103 KN

18
English / USA
FS-KM
Mounting the stop
:Always fit stop (6) when you use a
circular saw blade.
:Place the stop on the gearhead
flange.
:Fit the three M 5 x 18 screws (7) and
tighten down securely.
Preparations
:Lay your brushcutter on its back
with the gearhead facing upward.
Mounting Hardware
for Cutting Tools
The mounting hardware supplied
depends on the cutting tool that comes
as original equipment with the new
brushcutter.
Mounting hardware is not packed
with the machine
Only mowing heads may be
mounted.
:Pull the hose (1) (protector for
shipping) off the shaft (2).
:Go to "Mounting the Mowing Head".
If you want to mount a metal cutting
tool in place of a mowing head, you
will need the following additional
parts: Nut (3), rider plate (4) and
thrust washer (5) (special
accessories).
7 7
7
6
002BA028 KN
Mounting the Cutting Tools
002BA104 KN
2
002BA164 KN
1
3
4
5

19FS-KM
English / USA
Mounting hardware is packed with
the machine
Mowing heads and metal cutting
tools may be mounted.
Mounting hardware is loose
:Pull the hose (1) (protector for
shipping) off the shaft (2).
The nut (3), rider plate (4) and thrust
washer (5) are in the parts kit
supplied with the machine.
:Go to "Mounting the Mowing Head"
or "Mounting Metal Cutting Tools".
Mounting hardware is secured to
gearhead
:Go to "Removing Mounting
Hardware"
Removing Mounting Hardware
:Block the shaft – see next section
on "Blocking the Output Shaft".
:Use the combination wrench (6)
(supplied with machine or available
as special accessory) to unscrew
the nut (3) clockwise (left-hand
thread) from the shaft (2).
:Pull the thrust washer (5) off the
shaft (2).
The rider plate (4) is in the parts kit
supplied with the machine.
:Go to "Mounting the Mowing Head"
or "Mounting Metal Cutting Tools".
Blocking the Output Shaft
:Insert the stop pin or screwdriver (7)
(supplied with machine or available
as special accessories) in the hole
(8) in the gearhead as far as stop –
apply slight pressure.
:Rotate nut or cutting tool on the
shaft (2) until the stop pin slips into
position and blocks the shaft.
7
8
2
002BA166 KN
7

20
English / USA
FS-KM
Mounting the Mowing Head
Keep instruction sheet for mowing head
in a safe place.
:Screw the
STIHL SuperCut 20-2,
STIHL AutoCut 25-2,
STIHL AutoCut C 25-2,
STIHL TrimCut 30-2,
STIHL PolyCut 20-3
counterclockwise onto the shaft (1)
as far as stop.
:Block the output shaft.
:Tighten down the mowing head.
Remove the tool used to block the
shaft.
STIHL FixCut 25-2
:Place the mowing head on the
thrust plate (2).
Collar (arrows) must locate in the
mowing head’s mounting hole
:Push the thrust washer (3) over the
shaft (1) so that it locates against
the base.
:Block the output shaft.
:Screw the mounting nut (4) with the
combination wrench (5)
counterclockwise on to the output
shaft and tighten down firmly.
Remove the tool used to block the
shaft.
Removing the Mowing Head
:Block the output shaft.
STIHL SuperCut 20-2,
STIHL AutoCut 25-2,
STIHL AutoCut C 25-2,
STIHL TrimCut 30-2,
STIHL PolyCut 20-3
:Unscrew the mowing head
clockwise.
STIHL FixCut 25-2
:Use the combination wrench to
unscrew the mounting nut clockwise
from the output shaft
If the mounting nut is too loose, fit a
new one
Adjusting Nylon Line
STIHL SuperCut
Fresh line is advanced automatically if
remaining line is still min. 2 1/2" (6 cm)
long. The blade on the deflector trims
overlong line to the correct length.
1
002BA081 KN

21FS-KM
English / USA
STIHL AutoCut
:Hold the rotating mowing head
above the ground – tap it on the
ground once – about 1 1/4" (3 cm)
fresh line is advanced.
The blade on the deflector trims
overlong line to the correct length –
avoid tapping head more than once at a
time.
Line feed operates only if both lines
still have a minimum length of 1"
(2.5 cm).
All other mowing heads
Refer to the instructions supplied with
the mowing head.
To reduce the risk of injury, always
shut off the engine before adjusting
the nylon line by hand.
Replacing Nylon Line or Cutting
Blades
Refer to the instructions supplied with
the mowing head.
Mounting Metal Cutting Tools
Remove the skirt and blade from
the mowing head deflector before
mounting
grass cutting blade 230-4 (1),
grass cutting blade 230-8 (2),
or brush knife (3) – see “Mounting
the Deflector”
Fit the appropriate limit stop before
mounting the circular saw blade 200
(4,5) – see “Mounting the Deflector”.
:Lay your machine on its back with
the gearhead facing upward.
Cutting edges of (1) and (3) may
point in either direction.
Cutting edges of (2), (4) and (5)
must point clockwise.
Direction of rotation is marked by
arrow on inside of cutting head
deflector or limit stop.

22
English / USA
FS-KM
:Place the cutting tool (6) on the
thrust plate (7).
Collar (see arrows) must locate in
cutting tool’s mounting hole.
:Slip thrust washer (8) and rider
plate (9) over the output shaft (10).
:Block the output shaft and
:Screw the mounting nut (11) with
the combination wrench (12) onto
the output shaft counterclockwise
and tighten down firmly.
If the mounting nut is too loose,
fit a new one.
Removing cutting tool
:Block the output shaft.
:Unscrew the nut clockwise.
:Removing the cutting tool – do not
remove the thrust plate (7).
The type and style of harness depend on
the market.
Shoulder strap*
:Put on the shoulder strap (1).
:Adjust length until the spring hook
(2) is about a hand’s width below
your right hip.
:Balance the brushcutter.
The use of the shoulder strap is
described in chapter “Approved
Combinations of Cutting Tool, Deflector,
Handle and Harness”.
Full harness
:Put on the full harness (1).
:Adjust length until the spring hook
(2) is about a hand’s width below
your right hip.
:Balance the brushcutter.
The use of the harness is described in
chapter “Approved Combinations of
Cutting Tool, Deflector, Handle and
Harness”.
Fitting the Harness

23FS-KM
English / USA
The type and style of harness and
carabiner (spring hook) depend on the
market.
Attaching the Unit to the Shoulder
Strap
:Attach the spring hook (1) to the
carrying ring (2) on the drive tube.
:Loosen the screw (3).
Balancing the Unit
The unit is balanced differently,
depending on the cutting tool used.
Proceed as follows until the conditions
specified under "Floating positions"
have been met:
:Adjust the carrying ring – tighten the
screw moderately – let the unit go
until it is balanced – then check the
floating position.
Floating positions
A Mowing tools
Mowing heads, grass cutting blades
and brush knife should just touch
the ground.
B Circular saw blades
should "hover" about 8" (20 cm )
above the ground.
When the correct floating position has
been reached:
:Tighten down the screw on the
carrying ring.
Balancing the Brushcutter
A
002BA034 KN
B
002BA035 KN

24
English / USA
FS-KM
Detaching the Unit from the
Shoulder Strap
:Press the bar on the spring hook (1)
and pull the carrying ring (2) out of
the hook.
Starting the engine
Always follow the instructions given for
the basic power unit or CombiEngine
when starting!
:Place the unit on the ground: it must
rest securely on the engine support
and deflector protecting the cutting
tool. Check that the cutting tool does
not touch the ground or any other
obstacles!
:Make sure you have a firm footing.
:Hold the unit with your left hand and
press it down firmly –
your thumb should be under the
housing
Do not stand or kneel on the drive
tube!
If the engine has been started in the
START position, the cutting tool
may start up as soon as the engine
is running. For this reason, the unit
should not be operated in the
starting throttle position any
longer than is necessary.
The rest of the starting procedure is
described in the instruction manual for
the basic power unit or CombiEngine.
Stopping the engine
:Push the slide control in the
direction of the arrow ( h ) to
STOP – O or set the Stop switch
to O .
Starting / Stopping
the Engine
233BA020 KN
233BA014 KN

25FS-KM
English / USA
For periods of about 3 months or longer:
:Remove, clean and inspect the
cutting attachment.
:If the CombiTool is stored
separately, fit the protective cap on
the drive tube to avoid dirt getting
into the coupling.
:Store the machine in a dry, high or
locked location – out of the reach of
children and other unauthorized
persons.
:Check grease level regularly - about
every 25 hours of operation.
:Unscrew the filler plug (1).
:If no grease can be seen on the
inside of the filler plug, screw the
tube (2) of STIHL gear lubricant for
brushcutters - see “Special
Accessories” - into the filler hole.
:Squeeze up to 1/5 oz (5 g) grease
into the gear housing.
Do not completely fill the gear
housing with grease.
:Refit the filler plug and tighten it
down firmly.
:Use a file (special accessory) to
sharpen cutting tools. In case of
more serious wear or nicks:
Resharpen with a grinder or have
work done by STIHL dealer.
:Resharpen frequently, take away as
little material as possible – two or
three strokes of the file are usually
enough.
To avoid out-of-balance
:After resharpening about 5 times,
have blade checked on STIHL
balancer (special accessory) and
rebalanced as necessary.
Storing the Machine Lubricating the
Gearbox
1
233BA010 KN
2
Sharpening
Metal Cutting Tools

26
English / USA
FS-KM
:Resharpen the cutters (1) uniformly
– do not alter the contour of the
parent blade (2) in any way.
See cutting tool packaging for additional
sharpening instructions.
Please note that the following
maintenance intervals apply for normal
operating conditions. If your daily
working time is longer than normal or
cutting conditions are difficult (very dusty
work area, etc.), shorten the specified
intervals accordingly.
All accessible screws and nuts (not
adjusting screws)
:Retighten if necessary
Cutting tools
:Visual inspection, check tight fit
before starting working and every
time after refuelling
:Replace if damaged
:Sharpen metal cutting tools before
starting work and when necessary
Gearbox lubrication
:Check weekly
:Top up if necessary
Safety labels
:Replace any illegible safety labels
22
1
2
11
002BA042 KN
Maintenance

27FS-KM
English / USA
1Drive Tube
2Mowing head
3Deflector
(for mowing heads only)
4Line limiting blade
5Deflector with detachable skirt
(for all cutting tools)
6Skirt
(for use with mowing heads)
7Metal cutting tool
8Circular saw blade
9Stop (for circular saw blade only)
Definitions
1. Drive Tube.
Encloses and protects drive shaft
between engine and gearhead.
2. Mowing head.
The cutting attachment, i. e. mowing
head, for different purposes
(special accessory).
3. Deflector.
The deflector is designed to reduce
the risk of injury from foreign objects
flung backwards toward the
operator by the cutting tool and from
contact with the cutting tool.
4. Line limiting blade.
Metal blade in the deflector that
keeps the line of the mowing head
at the proper length.
5. Deflector with detachable skirt
The deflector is designed to reduce
the risk of injury from foreign objects
flung backwards toward the
operator by the cutting tool and from
contact with the cutting tool. It is not
designed to contain fragmented
metal blades.
6. Skirt
The skirt at the bottom of the
deflector must be utilized as
described in the chapter "Mounting
the Deflector".
7. Metal cutting tool
The cutting attachment, i. e. blade,
made from metal for different
purposes (special accessory).
8. Circular saw blade
Cutting tool for made of metal for
cutting wood.
9. Stop
The stop is used to apply and
steady the cutting tool against the
wood and helps reduce the risk of
injury from kickout.
Main Parts
28
English / USA
FS-KM
Weight
without cutting tool and deflector
2.5 lb (1,15 kg)
Contact your STIHL dealer for
information regarding special
accessories that may be available for
your product.
Users of this unit should carry out only
the maintenance operations described
in this manual. Other repair work may be
performed only by authorized STIHL
service shops.
Warranty claims following repairs can be
accepted only if the repair has been
performed by an authorized STIHL
servicing dealer using original STIHL
replacement parts.
Original STlHL parts can be identified by
the STlHL part number, the
STIHl
logo and, in some cases, by the STlHL
parts symbol (. This symbol may
appear alone on small parts.
Specifications Special Accessories Maintenance and Repairs

29FS-KM
English / USA
STIHL Registered Trademarks
STIHL®
q
(
The color combination orange-grey
(U.S. Registrations #2,821,860;
#3,010,057; and #3,010,058)
4-MIX®
AUTOCUT®
EASYSTART®
OILOMATIC®
STIHL Cutquik®
STIHL DUROMATIC®
STIHL Farm Boss®
STIHL Quickstop®
STIHL ROLLOMATIC®
STIHL WOOD BOSS®
TIMBERSPORTS®
YARD BOSS®
Some of STIHL’s Common Law
Trademarks
BioPlus™
Easy2Start™
EasySpool™
ElastoStart™
Ematic™ / Stihl-E-Matic™
FixCut™
HT Plus™
IntelliCarb™
Master Control Lever™
Micro™
Pro Mark™
Quad Power™
Quiet Line™
STIHL Arctic™
STIHL Compact™
STIHL HomeScaper Series™
STIHL Interchangeable Attachment
Series™
STIHL Magnum™ / Stihl-Magnum™
STIHL MiniBoss™
STIHL MotoPlus 4™
STIHL Multi-Cut HomeScaper Series™
Stihl Outfitters™
STIHL PICCO™
STIHL PolyCut™
STIHL PowerSweep™
STIHL Precision Series™
STIHL Protech™
STIHL RAPID™
STIHL SuperCut™
STIHL Territory™
Tap Actio n™
TrimCut™
This listing of trademarks is subject to
change.
Any unauthorized use of these
trademarks without the express written
consent of
ANDREAS STIHL AG & Co. KG,
Waiblingen is strictly prohibited.
Trademarks
30
English / USA
FS-KM
31FS-KM
español / EE.UU
BA_SE_114_006_31_12.fmImpreso en papel sin cloro.
Las tintas contienen aceites vegetales,el papel es reciclable.
© ANDREAS STIHL AG & Co. KG, 2008
0458 407 8621. M20. B8. PM. Printed in USA
STIHl
Contenido
Sistema Kombi ............................... 32
Guía para el uso de este manual ... 32
Medidas de seguridad y
técnicas de manejo ........................ 33
Motores CombiEngine
aprobados ...................................... 44
Combinaciones aprobadas de
herramienta de corte,
deflector, mango y arnés ................ 45
Instalación del KombiTool ............... 47
Montaje del deflector ...................... 47
Montaje de las
herramientas de corte ..................... 48
Colocación del arnés ...................... 52
Equilibrio de la
cortadora de matorrales ................. 53
Arranque / parada del motor ........... 54
Almacenamiento de la máquina ..... 55
Lubricación de la
caja de engranajes ......................... 55
Afilado de las herramientas de
corte metálicas ............................... 55
Mantenimiento ................................ 56
Piezas principales ........................... 57
Especificaciones ............................. 58
Accesorios especiales .................... 58
Mantenimiento y reparaciones ....... 58
Marcas comerciales ........................ 59
Permita que solamente las personas
que comprenden la materia tratada en
los manuales del motor KombiEngine y
de la cortadora de matorrales KombiTool
manejen esta herramienta motorizada
combinada.
Para obtener el rendimiento y satisfac-
ción máximos de la KombiTool STIHL,
es importante leer y comprender las ins-
trucciones de mantenimiento y las pre-
cauciones de seguridad, que empiezan
en la página 29, antes de usarla.
Comuníquese con el concesionario o
distribuidor de STIHL si no entiende
alguna de las instrucciones dadas en el
presente manual.
!Advertencia
Dado que esta herramienta motorizada
hace cortes a gran velocidad, es nece-
sario tomar medidas especiales de
seguridad para reducir el riesgo de
lesiones. El uso descuidado o inade-
cuado puede causar lesiones graves e
incluso mortales.
Asegúrese que su máquina esté equi-
pada con el deflector, mango y arnés
adecuados para el tipo de accesorio de
corte que se está utilizando. Siempre
protéjase adecuadamente los ojos.
La filosofía de STIHL es mejorar conti-
nuamente todos su productos. Como
resultado, de vez en cuando se llevan a
cabo modificaciones y mejoramientos
técnicos. Si las características de fun-
cionamiento o la apariencia de su acce-
sorio difieren de las descritas en este
manual, comuníquese con el concesio-
nario STIHL para obtener la información
y ayuda que requiera.

32
español / EE.UU
FS-KM
Con el sistema Kombi de STIHL, varios
motores Kombi y accesorios Kombi pue-
den combinarse para formar una herra-
mienta motorizada. En este manual de
instrucciones la unidad formada por el
motor Kombi y el accesorio Kombi se
identifica como la herramienta motori-
zada.
Hay manuales de instrucciones distintos
para el motor Kombi y el accesorio
Kombi.
Siempre lea y asegúrese que com-
prenda bien ambos manuales de ins-
trucciones antes de arrancar y usar la
máquina. Guarde los manuales en un
lugar seguro para referencia futura.
Pictogramas
Todos los pictogramas que se
encuentran en la máquina se muestran
y explican en este manual.
Las instrucciones de uso y manipulación
vienen acompañadas de ilustraciones.
Símbolos en el texto
Los pasos individuales o procedimientos
descritos en el manual pueden estar
señalados en diferentes maneras:
:Un punto identifica un paso o
procedimiento sin referencia directa
a una ilustración.
Una descripción de un paso o
procedimiento que se refiere
directamente a una ilustración puede
tener números de referencia que
aparecen en la ilustración.
Ejemplo:
Suelte el tornillo (1)
Palanca (2) ...
Además de las instrucciones de uso, en
este manual pueden encontrarse
párrafos a los que usted debe prestar
atención especial. Tales párrafos están
marcados con los símbolos que se
describen a continuación.
Advertencia donde existe el riesgo
de un accidente o lesiones
personales o daños graves a la
propiedad.
Precaución donde existe el riesgo
de dañar la máquina o los
componentes individuales.
Nota o sugerencia que no es
esencial para el uso de la máquina,
pero puede ayudar al operador a
comprender mejor la situación y
mejorar su manera de manejar la
máquina.
Nota o sugerencia sobre el
procedimiento correcto con el fin de
evitar dañar el medio ambiente.
Sistema Kombi
.
.
.
.
002BA159 KN
+
+
Guía para el uso de este
manual

33FS-KM
español / EE.UU
Equipo y características
Este manual de instrucciones
puede describir varios modelos con
diferentes características. Los
componentes que no se encuentran
instalados en todos los modelos y
las aplicaciones correspondientes
están marcados con un asterisco
(*). Esos componentes pueden ser
ofrecidos como accesorios
especiales por el concesionario
STIHL.
Mejoramientos técnicos
La filosofía de STIHL es mejorar
continuamente todos su productos.
Como resultado de ello, periódicamente
se introducen cambios de diseño y
mejoras. Si las características de
funcionamiento o la apariencia de su
máquina difieren de las descritas en
este manual, comuníquese con el
concesionario STIHL para obtener la
ayuda que requiera.
Por lo tanto, es posible que algunos
cambios, modificaciones y
mejoramientos no hayan sido descritos
en este manual.
Advertencia
Dado que el motor Com-
biEngine equipado con
una cortadora de matorra-
les CombiTool es una
herramienta de corte que funciona a
velocidad rápida, es necesario tomar
medidas especiales de seguridad para
reducir el riesgo de lesiones.
Es importante que usted
lea, comprenda bien y
respete las siguientes
advertencias y medidas
de seguridad. Lea el
manual del usuario y las
instrucciones de seguridad del motor
CombiEngine y de la herramienta
CombiTool periódicamente. El uso des-
cuidado o inadecuado de cualquier
herramienta motorizada puede causar
lesiones graves e incluso mortales.
Pida a su concesionario STIHL que le
enseñe el manejo de la herramienta
motorizada. Respete todas las disposi-
ciones, reglamentos y normas de segu-
ridad locales del caso.
!Advertencia
No preste ni alquile nunca su herra-
mienta motorizada sin entregar los
manuales del propietario. Asegúrese
que todas las personas que utilicen la
herramienta motorizada lean y com-
prendan la información contenida en
estos manuales.
!Advertencia
El uso de cualquier cortadora de mato-
rrales puede ser peligroso. Si la herra-
mienta de corte giratoria llega a quedar
en contacto con su cuerpo, le ocasio-
nará una cortadura. Cuando choca con
algún objeto extraño sólido tal como
rocas o pedazos de metal, puede arro-
jarlo directamente o por rebote en direc-
ción de personas que se encuentren en
la cercanía o del operador.
El contacto con dichos objetos puede
dañar los accesorios de corte y puede
hacer que las cuchillas se rompan, asti-
llen o agrieten.
STIHL no recomienda el uso de cuchi-
llas rígidas en zonas pedregosas. Los
objetos arrojados o las cuchillas daña-
das pueden provocar lesiones graves o
mortales al operador o a personas que
se encuentren en su proximidad.
!Advertencia
Nunca se debe permitir a los niños que
usen una herramienta motorizada. No
se debe permitir la proximidad de otros,
especialmente niños y animales, donde
se esté utilizando la herramienta motori-
zada.
Nunca deje la cortadora de matorrales
funcionando sin vigilancia.
Medidas de seguridad y téc-
nicas de manejo
34
español / EE.UU
FS-KM
La mayoría de las medidas de seguridad
y avisos contenidos en este manual se
refieren al uso de todas las cortadoras
de matorrales de STIHL. Los distintos
modelos pueden contar con piezas y
controles diferentes. Vea las secciones
correspondientes de los manuales del
usuario del CombiEngine y la CombiTool
para tener una descripción de los con-
troles y la función de cada componente
de su herramienta motorizada.
El uso seguro de una herramienta moto-
rizada atañe a
1. el operador
2. la herramienta motorizada
3. el uso de la herramienta motori-
zada.
EL OPERADOR
Condición física
Usted debe estar en buenas condicio-
nes físicas y psíquicas y no encontrarse
bajo la influencia de ninguna sustancia
(drogas, alcohol, etc.) que le pueda res-
tar visibilidad, destreza o juicio. No
maneje una herramienta motorizada
cuando está fatigado.
Esté alerta. Si se cansa durante el
manejo de la herramienta motorizada,
tómese un descanso. El cansancio
puede provocar una pérdida del control.
El uso de cualquier herramienta motori-
zada es fatigoso. Si usted padece de
alguna dolencia que pueda ser agra-
vada por la fatiga, consulte a su médico
antes de utilizar la cortadora de matorra-
les.
!Advertencia
El uso prolongado de una herramienta
motorizada (u otras máquinas) expone
al operador a vibraciones que pueden
provocar el fenómeno de Raynaud
(dedos blancos) o el síndrome del túnel
del carpio.
Estas condiciones reducen la capacidad
de las manos de sentir y regular la tem-
peratura, producen entumecimiento y
ardor y pueden provocar trastornos ner-
viosos y circulatorios, así como necrosis
de los tejidos.
No se conocen todos los factores que
contribuyen a la enfermedad de Rayn-
aud, pero el clima frío, el fumar y las
enfermedades o condiciones físicas que
afectan los vasos sanguíneos y la circu-
lación de la sangre, como asimismo los
niveles altos de vibración son factores
que forman parte del desarrollo de la
enfermedad de Raynaud. Por lo tanto,
para reducir el riesgo de la enfermedad
de dedos blancos y del síndrome del
túnel del carpio, sírvase notar lo
siguiente:
– La mayoría de las herramientas
mecánicas STIHL se ofrecen con
un sistema antivibración ("AV") cuyo
propósito es reducir la transmisión
de las vibraciones creadas por el
motor a las manos del operador. Se
recomienda el uso del sistema AV a
aquellas personas que utilizan
herramientas motorizadas en forma
constante y regular.
– Use guantes y mantenga las manos
abrigadas.
– Mantenga el sistema AV en buen
estado. Una herramienta motori-
zada con los componentes flojos o
con amortiguadores AV dañados o
desgastados también tendrá ten-
dencia a tener niveles más altos de
vibración.
– Agarre firmemente los mangos en
todo momento, pero no los apriete
con fuerza constante y excesiva;
tómese descansos frecuentes.
Todas las precauciones antes mencio-
nadas no le garantizan que va a estar
totalmente protegido contra la enferme-
dad de Raynaud o el síndrome del túnel
del carpio. Por lo tanto, los operadores
constantes y regulares deben revisar
con frecuencia el estado de sus manos
y dedos. Si aparece alguno de los sínto-
mas arriba mencionados, consulte
inmediatamente al médico.

35FS-KM
español / EE.UU
Vestimenta adecuada
!Advertencia
Para reducir el riesgo de lesiones el
operador debe usar el equipo protector
adecuado.
!Advertencia
El deflector provisto con su CombiTool
no siempre protege al operador contra
todos los objetos extraños (gravilla,
vidrio, alambre, etc.) arrojados por el
accesorio de corte giratorio. Los objetos
arrojados o lanzados por el accesorio
también pueden rebotar y golpear al
operador.
!Advertencia
Para reducir el riesgo de
lesionarse los ojos, nunca
maneje la cortadora de
matorrales si no tiene
puestas gafas o anteojos
de seguridad bien ajusta-
dos con una protección adecuada en las
partes superior y laterales que satisfa-
gan la norma ANSI Z 87.1 (o la norma
nacional correspondiente). Para reducir
el riesgo de lesionarse la cara, STIHL
recomienda usar también una careta o
protector facial adecuado sobre las
gafas o anteojos de seguridad.
!Advertencia
El ruido de la herramienta
motorizado puede dañar
los oídos. Siempre use
amortiguadores del ruido
(tapones u orejeras) para
protegerse los oídos. Los
usuarios constantes y regulares deben
someterse con frecuencia a un examen
o control auditivo.
Protéjase las manos con
guantes cuando manipule
la herramienta motori-
zada y el accesorio de
corte. Los guantes grue-
sos y antideslizantes
mejoran el manejo y pro-
tegen las manos.
La ropa debe ser de con-
fección fuerte y ajustada,
pero no tanto que impida
la completa libertad de
movimiento.
Evite el uso de chaquetas
sueltas, bufandas, corba-
tas, joyas, pantalones
acampanados o con vuel-
tas, pelo largo suelto o
cualquier cosa que pueda
engancharse en las ramas, matorrales o
piezas en movimiento de la máquina.
Use pantalones largos hechos de un
material grueso para protegerse las
piernas. No use pantalones cortos, san-
dalias o pies descalzos. Sujétese el pelo
de modo que quede sobre los hombros.
Una buena base de
apoyo es indispensable
cuando se maneja la cor-
tadora de matorrales.
Póngase botas gruesas
con suela antideslizante.
Recomendamos las botas de seguridad
con puntera de acero.
Utilice un casco de segu-
ridad aprobado para redu-
cir el riesgo de lesionarse
la cabeza en caso de
existir tal tipo de peligro.
LA CORTADORA DE MATORRA-
LES COMBITOOL
Para las ilustraciones y definiciones de
los componentes de la cortadora de
matorrales CombiTool, vea el capítulo
sobre "Piezas principales".
!Advertencia
Nunca modifique, de ninguna manera, la
CombiTool. Utilice únicamente los acce-
sorios suministrados por STIHL o expre-
samente autorizados por STIHL para
usarse con los modelos específicos de
herramientas motorizadas de STIHL. Si
bien es posible conectar ciertos acceso-
rios no autorizados a la herramienta
motorizada de STIHL, su uso puede ser,
en la práctica, extremadamente peli-
groso.

36
español / EE.UU
FS-KM
USO DE LA CORTADORA DE
MATORRALES
(COMBIENGINE EQUIPADO CON
CORTADORA DE MATORRALES
COMBITOOL)
Transporte de la cortadora de mato-
rrales
!Advertencia
Siempre apague el motor y asegúrese
de que el accesorio de corte esté dete-
nido antes de apoyar la cortadora de
matorrales en el suelo. Cuando trans-
porte la cortadora de matorrales en un
vehículo, sujétela firmemente para
impedir su vuelco, el derrame de com-
bustible y el daño a la cortadora. Man-
tenga las herramientas de corte metáli-
cas cubiertas con el protector para el
transporte (accesorio opcional).
Preparación para el uso de la corta-
dora de matorrales
Ajuste el arnés y la empuñadura de
modo correspondiente a su estatura
antes de empezar a trabajar. La
máquina debe estar correctamente
equilibrada de la forma especificada en
el manual del usuario para un control
correcto y menos fatiga de trabajo.
Compruebe siempre la condición y fun-
cionamiento de su cortadora de mato-
rrales antes de ponerla en marcha,
especialmente el gatillo de aceleración,
el bloqueo del gatillo de aceleración (si
lo tiene), el interruptor de parada, la
herramienta de corte, el deflector y el
arnés.
Las flechas (A) en el deflector y el tope
(B) muestran el sentido correcto de rota-
ción de la herramienta de corte.
!Advertencia
Algunos de los riesgos de lesionarse
están relacionados con tipos particula-
res de accesorios de corte. Por ejemplo,
con las herramientas de corte rígidas
existe el riesgo de las fuerzas reactivas
conocidas como "contragolpe" o
"empuje de cuchillas", las cuales pue-
den lanzar la cortadora de matorrales
hacia un lado en ciertas situaciones.
Para más información sobre estos ries-
gos, vea el tema "Uso de las herramien-
tas de corte".
Llenado de combustible
La cortadora de matorrales STIHL utiliza
una mezcla de aceite y gasolina como
combustible. Para más instrucciones,
consulte las precauciones de seguridad
y el capítulo "Combustible" del manual
del usuario del motor CombiEngine.
!Advertencia
La gasolina es un com-
bustible muy inflamable.
Si se derrama y arde a
causa de una chispa u
otra fuente de ignición,
puede provocar un incen-
dio y quemaduras graves o daños a la
propiedad. Tenga sumo cuidado cuando
manipule gasolina o la mezcla de com-
bustible.
No fume cerca del combustible, ni acer-
que ningún fuego o llama a la cortadora
de matorrales.
A
000BA006 KN
B
000BA007 KN

37FS-KM
español / EE.UU
Instrucciones de manejo
No corte ningún tipo de material que no
sea pasto, matorrales y madera. Las
herramientas de corte pueden usarse
solamente para las operaciones descri-
tas en su manual.
!Advertencia
El uso indebido de
cualquier corta-
dora de matorrales
puede causar
lesiones graves o
mortales. Para reducir el riesgo de sufrir
lesiones corporales debido al contacto
con la cuchilla y objetos arrojados, ase-
gúrese que su máquina esté equipada
con el deflector, mango y arnés correc-
tos para el tipo de accesorio de corte
que se está usando. Por otro lado, ase-
gúrese que el accesorio de corte ha sido
autorizado para uso con el modelo de la
máquina en su configuración actual.
(Consulte la tabla en el capítulo "Combi-
naciones aprobadas de herramienta de
corte, deflector, mango y arnés".)
Mantenga siempre el deflector (y la fal-
dilla en su caso) bien ajustado (vea en
su manual del usuario el capítulo sobre
montaje de las diversas herramientas de
corte).
!Advertencia
Su herramienta motorizada es una
máquina que debe ser manejada por
solamente una persona. Una vez que
está funcionando, puede arrojar objetos
extraños a gran distancia.
Para reducir el riesgo de ocasionar
lesiones a los ojos u otras partes del
cuerpo, asegúrese que las personas
estén a por lo menos 15 m (50 pies) de
distancia de la máquina. Se debe acon-
sejar a las personas que se encuentran
cerca de la máquina que usen protec-
ción de los ojos. Apague el motor y la
herramienta de corte inmediatamente si
se le aproxima alguna persona. Ponga
en marcha y maneje su cortadora de
matorrales sin ayuda de nadie. Para las
instrucciones específicas de arranque,
vea la sección correspondiente en el
manual del usuario del CombiEngine.
Coloque la herramienta motorizada
sobre suelo firme u otra superficie sólida
en un lugar abierto. Mantenga buen
equilibrio con los pies bien apoyados.
Arranque
!Advertencia
Para reducir el riesgo de lesiones
debido a la pérdida de control, esté
absolutamente seguro que la herra-
mienta de corte se encuentra lejos de su
cuerpo y de todas las obstrucciones y
objetos, incluido el suelo, porque al
arrancar el motor acelerado, su veloci-
dad será suficiente para embragar la
transmisión y accionar la herramienta de
corte.
Con el motor funcionando a velocidad
de ralentí solamente, enganche la herra-
mienta motorizada al gancho de resorte
de su arnés (vea el capítulo correspon-
diente en este manual).
Condiciones de trabajo
Maneje y arranque su herramienta
motorizada solamente al aire libre en un
lugar bien ventilado.
Maneje la cortadora de matorrales sola-
mente en condiciones de buena visibili-
dad y a la luz del día. Trabaje con mucho
cuidado.
!Advertencia
Su cortadora de matorra-
les emite gases de
escape tóxicos apenas el
motor empieza a funcio-
nar. Estos gases (por ej.,
monóxido de carbono)
pueden ser incoloros e inodoros. Para
reducir el riesgo de sufrir lesiones gra-
ves o mortales por respirar gases tóxi-
cos, nunca haga funcionar la cortadora
de matorrales puertas adentro o en
lugares mal ventilados.
15m (50ft)

38
español / EE.UU
FS-KM
!Advertencia
El uso de este producto puede generar
polvo y vapores que contienen produc-
tos químicos considerados como cau-
santes de enfermedades respiratorias,
cáncer, defectos de nacimiento u otra
toxicidad reproductora. Si usted desco-
noce los riesgos asociados con el polvo
o vapor en cuestión, consulte con su
empleador, autoridades gubernamenta-
les tales como OSHA y NIOSH y otras
fuentes de información sobre materiales
peligrosos. El Estado de California y
algunas otras autoridades han publi-
cado varias listas de sustancias carcinó-
genas, de toxicidad reproductora, etc.
Siempre que sea posible, controle el
polvo y los vapores en su punto de ori-
gen. Al respecto, emplee buenas prácti-
cas de trabajo y siga las recomendacio-
nes de OSHA/NIOSH y asociaciones
laborales y comerciales. Cuando sea
imposible eliminar la inhalación del
polvo o vapores tóxicos, el operador y
las personas que se encuentren en la
cercanía siempre deberán usar un respi-
rador aprobado por NIOSH/MSHA para
el tipo de polvo y/o vapores presentes
en el lugar.
Siempre sujete la herramienta motori-
zada firmemente con ambas manos.
Envuelva los dedos firmemente en los
mangos, manteniéndolos sujetos entre
los dedos índice y pulgar. Mantenga las
manos en esta posición, para que siem-
pre tenga la herramienta motorizada
bien controlada. Asegúrese que los
mangos y empuñaduras de la cortadora
de matorrales están en buenas condi-
ciones y sin humedad, resina, aceite o
grasa.
!Advertencia
Nunca intente manejar la cortadora de
matorrales con una sola mano. La pér-
dida de control de la cortadora de mato-
rrales puede ocasionar lesiones graves
o mortales.
!Advertencia
No trate de alcanzar más lejos de lo
debido. Mantenga los pies bien apoya-
dos y equilibrados en todo momento. Se
debe tener cuidado especial cuando las
condiciones del suelo son resbaladizas
(suelo húmedo, nieve) y en terreno difícil
y con mucha vegetación. Para evitar tro-
pezarse, esté atento a los obstáculos
ocultos tales como tocones, raíces y
zanjas. Sea precavido cuando trabaje
en declives o terreno irregular.
002BA055 KN
002BA057 KN

39FS-KM
español / EE.UU
!Advertencia
Antes de cortar, inspec-
cione el área en busca de
piedras, vidrio, pedazos
de metal, basura u otros
objetos sólidos. El acce-
sorio de corte puede arro-
jar los objetos de esta clase. Quite este
tipo de objetos, de ser posible, y evite
los objetos restantes durante el corte.
!Advertencia
Cuando utilice cuchillas rígidas, evite
cortar cerca de vallas, edificios, tocones,
piedras u otros objetos de ese tipo que
puedan causar contragolpe de la corta-
dora de matorrales o daños a la cuchilla.
Para ese tipo de trabajo, STIHL reco-
mienda el uso de cabezas con hilo de
nilón o una cabeza PolyCut. Además,
tenga en cuenta que en estos casos
aumenta la posibilidad de que ocurran
rebotes.
!Advertencia
La cortadora de matorrales normal-
mente se usa a nivel del suelo con el
accesorio de corte paralelo al suelo. El
uso de la cortadora de matorrales sobre
el nivel del suelo o con el accesorio de
corte perpendicular al suelo puede
incrementar el riesgo de lesiones, dado
que el accesorio de corte queda casi
totalmente expuesto y la cortadora de
matorrales puede ser más difícil de con-
trolar. No use nunca la cortadora de
matorrales para recortar setos.
No la maneje usando el bloqueo de ace-
lerador de arranque, pues no tendrá
control de la velocidad del motor. Vea la
sección en el manual del usuario del
CombiEngine sobre el uso correcto del
control deslizante.
Si la herramienta de corte o el deflector
se atasca o queda pegado, siempre
apague el motor y asegúrese que la
herramienta de corte está detenida
antes de limpiarla. Limpie el pasto, las
malezas, etc. de la herramienta de corte
en intervalos regulares.
!Advertencia
Durante el corte, revise el apriete y la
condición de la herramienta de corte en
intervalos regulares. Si nota un cambio
en el comportamiento de la herramienta,
apague el motor inmediatamente, y
revise el apriete de la tuerca que sujeta
la herramienta y busque si hay grietas y
daños en la herramienta de corte. Cam-
bie inmediatamente las herramientas de
corte que presenten grietas, torceduras,
combadura, daños o que no tengan filo.
Las herramientas en esas condiciones
pueden romperse a alta velocidad y cau-
sar lesiones graves o mortales.
!Advertencia
Una cuchilla suelta puede vibrar, agrie-
tarse, romperse o salirse de la cortadora
de matorrales, lo que puede provocar
lesiones graves o mortales. Asegúrese
de que la cuchilla esté correctamente
apretada. Utilice la llave suministrada o
cualquier otra que tenga el largo ade-
cuado para obtener el par de apriete
adecuado. Si la cuchilla se suelta des-
pués de haberla apretado correcta-
mente, deje de manejar la máquina
inmediatamente. La tuerca de retención
puede estar desgastada o dañada y
debe ser sustituida. No utilice nunca pie-
zas no autorizadas para sujetar la cuchi-
lla. Si la cuchilla continúa floja, consulte
al concesionario STIHL. No use nunca
una cortadora de matorrales con una
cuchilla suelta.
!Advertencia
No instale ninguna cuchilla a una
máquina sin que todas las piezas reque-
ridas estén correctamente instaladas.
No utilice nunca piezas no autorizadas
para sujetar la cuchilla. Si no se utilizan
las piezas debidas se puede causar el
desprendimiento de la cuchilla y lesionar
gravemente al operador o a las perso-
nas que encuentren en su proximidad.

40
español / EE.UU
FS-KM
!Advertencia
Mantenga las manos y los
pies lejos de la herra-
mienta de corte. No toque
nunca con las manos o
cualquier parte del cuerpo
una herramienta de corte
que está girando. La herramienta sigue
girando por un rato después que se
suelta el gatillo de aceleración (efecto
de volante).
Ajustes importantes
!Advertencia
Para reducir el riesgo de lesiones perso-
nales debido a la pérdida de control o al
contacto con la herramienta de corte en
movimiento, no use una herramienta
cuyo ralentí está mal regulado. Cuando
el ralentí está correctamente regulado,
la herramienta de corte no debe
moverse. Para instrucciones de ajuste
del ralentí, vea la sección correspon-
diente en el manual del usuario del
CombiEngine.
Si no puede regular correctamente el
ralentí, pida a su concesionario STIHL
que revise la cortadora de matorrales y
haga los ajustes o reparaciones corres-
pondientes.
MANTENIMIENTO, REPARACION
Y ALMACENAMIENTO
Los trabajos de mantenimiento,
reemplazo o reparación de los dispo-
sitivos y sistemas de control de emi-
siones de escape pueden ser realiza-
dos por cualquier taller o técnico de
motores no diseñados para vehícu-
los. Sin embargo, si usted está recla-
mando cobertura de garantía para
algún componente que no ha sido
reparado o mantenido debidamente,
o cuando se utilizan repuestos no
autorizados, STIHL puede denegar la
garantía.
!Advertencia
Utilice solamente piezas de repuesto de
STIHL para el mantenimiento y repara-
ción. El uso de piezas no fabricadas por
STIHL puede causar lesiones graves o
mortales.
Siga las instrucciones de mantenimiento
y reparación dadas en la sección corres-
pondiente del manual del propietario.
Consulte la tabla de mantenimiento en
las últimas páginas de este manual.
Además, es imprescindible seguir el
programa de mantenimiento diario indi-
cado en el manual del propietario de la
herramienta motorizada STIHL.
!Advertencia
Siempre apague el motor y asegúrese
que la herramienta de corte está dete-
nida antes de hacer cualquier trabajo de
mantenimiento, reparación o limpieza
de la herramienta motorizada. No
intente hacer ningún trabajo de manteni-
miento o reparación que no esté des-
crito en su manual del propietario. Este
tipo de trabajo debe realizarse única-
mente en el taller de servicio de STIHL.
Use guantes para manipular o reparar la
cuchilla.
!Advertencia
Nunca repare los accesorios de corte
dañados aplicándoles soldadura, ende-
rezándolos o modificándoles su forma.
Esto puede causar el desprendimiento
de alguna pieza de la herramienta de
corte y producir lesiones graves o mor-
tales.
Mantenga la herramienta de corte bien
afilada. Apriete todas las tuercas, per-
nos y tornillos, excepto los tornillos de
ajuste del carburador, después de cada
uso.
Guarde la cortadora de matorrales
CombiTool en un lugar seco, elevado o
con llave, lejos del alcance de los niños.
Antes de guardar la máquina durante un
período de más de algunos días, siem-
pre vacíe el tanque de combustible.
Consulte el capítulo "Almacenamiento
de la máquina" en el manual del motor
CombiEngine.

41FS-KM
español / EE.UU
USO DE LAS HERRAMIENTAS DE
CORTE
Para una ilustración de las diversas
herramientas de corte y las instruccio-
nes sobre el montaje correcto, vea el
capítulo sobre "montaje de las herra-
mientas de corte" en su manual del
usuario.
Uso de las cabezas segadoras
No use un hilo de segado más larga que
el diámetro indicado. Con un protector
debidamente instalado, la cortadora
integral automáticamente ajusta el hilo
al largo adecuado. Los hilos excesiva-
mente largos pueden sobrecargar al
motor, dañando el mecanismo del
embrague y las piezas relacionadas.
Un embrague dañado puede hacer que
un accesorio de corte gire con el motor
a ralentí y aumentar el riesgo de lesio-
nes personales causadas por la pérdida
de control y por el contacto con la herra-
mienta de corte.
Las cabezas segadoras SuperCut,
AutoCut, TrimCut y PolyCut de STIHL
producen una terminación limpia y orde-
nada.
Se usan solamente en las cortadoras de
matorrales equipadas con una cuchilla
limitadora en el deflector para poder
mantener el hilo al largo correcto (vea el
capítulo "Piezas y controles" en este
manual).
Si las orillas del césped tienen árboles o
están bordeadas por un cerco, etc., es
mejor usar el cabezal de hilo de nilón.
Este hilo deja un corte más "suave" con
menos riesgo de dañar la corteza de los
árboles, etc., que si se usan cuchillas de
polímero.
Sin embargo, las cabezas PolyCut de
STIHL con cuchilla de polímero produ-
cen un mejor corte si no hay plantas a lo
largo de la orilla del césped. No es nece-
sario afilar y las cuchillas de cortar pasto
desgastadas se pueden cambiar fácil-
mente.
!Advertencia
Para reducir el riesgo de lesiones gra-
ves, nunca use un hilo de alambre o
reforzado con metal ni ningún otro mate-
rial en lugar de los hilos de corte de
nilón. Es posible que unos pedazos de
alambre sean desprendidos y arrojados
a gran velocidad contra el operador o
terceros.
Cabeza segadora SuperCut de STIHL
El hilo se avanza automáticamente. Los
hilos deshilachados se reemplazan con
un ajuste sencillo (consulte la hoja de
instrucciones provista con la cabeza
segadora).
Cabeza segadora TrimCut de STIHL
Los hilos deshilachados se reemplazan
con un ajuste sencillo (consulte la hoja
de instrucciones provista con la cabeza
segadora).
002BA018 LÄ
000BA015 KN

42
español / EE.UU
FS-KM
Cabeza segadora AutoCut de STIHL
El hilo de corte de nilón avanza automá-
ticamente cuando se le golpea contra el
suelo.
Cabeza segadora PolyCut de STIHL
Utiliza hilos de nilón o cuchillas de plás-
tico no rígidas.
Importante:
En la base (periferia) de la PolyCut hay
tres marcas rectangulares de límite de
desgaste. Para reducir el riesgo de
lesiones graves causadas por la rotura
de la cabeza o de las cuchillas, la
PolyCut no debe ser utilizada cuando se
ha desgastado hasta una de estas mar-
cas. ¡Es importante seguir las instruccio-
nes para el mantenimiento suministra-
das con la cabeza segadora!
Uso de la cuchilla de cortar pasto
Todos los tipos de pasto y malezas se
pueden cortar fácilmente con la cuchilla
de cortar pasto. Para ello, la cortadora
de matorrales se mueve en forma de
arco, como si fuera una guadaña.
!Advertencia
Para reducir el riesgo de lesiones gra-
ves o mortales, no intente nunca cortar
madera con esta cuchilla.
La función de la cuchilla de 4 dientes es
la de cortar pasto y malezas. Tiene 4
cuchillos con filo en los dos lados, esto
es, en las partes delantera y trasera.
Recomendamos la cuchilla de 8 dientes
de cortar pasto para los casos en que
haya que cortar helechos o cañas.
Las dos cuchillas deben ser afiladas al
desgastarse sus filos o bordes cortan-
tes.
Uso de la cuchilla para matorrales
Cuando se instala la cuchilla en la corta-
dora de matorrales, es adecuada para
cortar desde pasto hasta malezas, plan-
tas silvestres y arbustos.
Para cortar plantas y arbustos silves-
tres, baje la cuchilla giratoria para mato-
rrales hasta la planta para crear un
efecto de picado. Utilice la cortadora de
matorrales como una guadaña para cor-
tar pasto, es decir, haga pasadas en uno
y otro sentido, describiendo un arco.
!Advertencia
Al cortar materiales parecidos a madera,
utilice el lado izquierdo de la cuchilla
para evitar la "expulsión" (disparo de la
cuchilla).
!Advertencia
El uso incorrecto de una cuchilla para
matorrales puede causar agrietaciones,
002BA177 KN
000BA020 KN
002BA066 KN

43FS-KM
español / EE.UU
picaduras o roturas.
Las piezas lanzadas pueden causar
lesiones graves al operador o a terce-
ros. Para reducir el riesgo de lesiones
personales, es esencial tomar las pre-
cauciones siguientes:
Evite el contacto con objetos duros o
macizos tales como piedras, rocas u
objetos metálicos.
Nunca corte madera o arbustos cuyo
diámetro sea de más de 2 cm (3/4 pulg)
– utilice una sierra circular para tales tra-
bajos. Inspeccione la cuchilla para
matorrales a intervalos periódicos y cor-
tos en busca de daños. No continúe tra-
bajando con una cuchilla para matorra-
les que esté dañada. Afile la cuchilla
para matorrales periódicamente
(cuando ha perdido su filo de modo
apreciable).
!Advertencia
Al cortar tallos jóvenes y otros materia-
les de hasta 2 cm (3/4 pulg) de diámetro,
utilice el lado izquierdo de la cuchilla
para evitar que la "expulsión" de la
misma (consulte la sección correspon-
diente de este manual). No intente cor-
tar materiales parecidos a la madera
cuyo diámetro sea mayor, puesto que la
cuchilla puede atorarse o tirar de la cor-
tadora de matorrales repentinamente
hacia adelante. Esto puede dañar la
cuchilla o la cortadora de matorrales, o
causar la pérdida de control de la
misma, lo cual puede causar lesiones
personales.
Uso de la sierra circular
Las sierras circulares son adecuadas
para recortar matorrales y cortar árboles
pequeños de hasta 4 cm (1-9/16 pulg)
de diámetro. No intente cortar árboles
cuyo diámetro sea mayor, puesto que la
cuchilla puede atorarse o tirar de la cor-
tadora de matorrales repentinamente
hacia adelante. Esto puede dañar la
cuchilla o causar la pérdida de control
de la cortadora de matorrales, lo cual
puede causar lesiones personales gra-
ves.
Si se usa la cortadora de matorrales con
una sierra circular para cortar árboles
pequeños, STIHL recomienda retirar el
deflector estándar y sustituirlo con el
tope especial (vea el capítulo "sierra cir-
cular" para las instrucciones de mon-
taje). Este tope ayuda a mantener la cor-
tadora de matorrales en su posición
contra el árbol durante el proceso de
corte. Los usuarios con poca experien-
cia deben colocar el lado izquierdo del
tope contra el tronco del árbol antes de
iniciar el corte. Esto mantiene la corta-
dora de matorrales contra el árbol
durante la operación de corte y reduce
el riesgo de pérdida de control y posible
expulsión (descrito en la sección
siguiente).
000BA016 KN
000BA012 KN

44
español / EE.UU
FS-KM
!Advertencia
Para reducir el riesgo de lesiones cau-
sadas por los objetos lanzados o por el
contacto con la herramienta de corte,
cerciórese de volver a instalar el deflec-
tor normal para los demás usos de la
máquina.
Antes de iniciar el corte, acelere el motor
a su velocidad máxima. Efectúe el corte
aplicando presión uniforme. STIHL
recomienda aplicar la sierra circular por
el lado derecho del árbol, usando la
zona no sombreada de la cuchilla.
!Advertencia
El riesgo de expulsión de la cuchilla es
mayor cuando se corta en la zona som-
breada oscura. Para reducir el riesgo de
expulsión y las lesiones consecuentes,
no utilice esta zona de la sierra circular
para cortar árboles ni arbustos. Las téc-
nicas especiales que utilizan las zonas
sombreadas más claras de la cuchilla
para cortar arbustos y árboles sólo
deben ser usadas por operadores
expertos con capacitación especializada
en cuanto al uso y control de la corta-
dora de matorrales.
Para reducir el riesgo de lesiones gra-
ves al operador o a terceros causadas
por la expulsión de la cuchilla, nunca uti-
lice una sierra circular en una cortadora
de matorrales equipada con mango
tórico.
El riesgo de expulsión (disparo de la
cuchilla) existe con todas las cuchi-
llas rígidas
!Advertencia
La expulsión (disparo de la cuchilla) es
el movimiento repentino y no controlado
hacia el lado derecho o posterior del
operador que puede suceder cuando la
zona sombreada de la cuchilla giratoria
entra en contacto con un objeto macizo
tal como un árbol, roca, arbusto o pared.
La rápida rotación en sentido contraho-
rario puede ser detenida o aminorada y
el accesorio puede salir despedido
hacia la derecha o detrás.
Esta expulsión (disparo de la cuchilla)
puede ocasionar la pérdida de control
de la cortadora de matorrales y provocar
lesiones graves o mortales al usuario o
a las personas que se encuentran en su
proximidad. Para reducir el riesgo, es
necesario extremar las precauciones a
la hora de cortar con la zona sombreada
de cualquier cuchilla rígida.
Utilice únicamente los motores Combi-
Engine provistos por STIHL o expresa-
mente aprobados por STIHL para uso
con la CombiTool.
Dependiendo de la herramienta de corte
en uso, consulte y aténgase a las reco-
mendaciones dadas en el capítulo
"Combinaciones aprobadas herra-
mienta de corte, deflector, mango y
arnés".
Esta herramienta CombiTool puede
usarse únicamente con los motores
CombiEngine siguientes:
STIHL KM 55, KM 55 C, KM 55 R,
KM 55 RC, KM 85, KM 85 R, KM 90,
KM 90 R, KM 110, KM 110 R, KM 130,
KM 130 R
La barra de defensa debe instalarse
en máquinas con mango tórico.
La herramienta CombiTool también
puede instalarse en cortadoras de mato-
rrales STIHL con brazo o tubo de mando
dividido (modelos T).
El uso de la herramienta CombiTool, por
lo tanto, también se permite en los
modelos siguientes de herramientas
mecánicas:
STIHL FS 55 T, FS 55 TC, FS 55 RT,
FS 55 RTC, FS 83 T, FS 83 RT, FS 85 T
und FS 85 RT
Para el uso de la barra de defensa,
consulte el manual de instrucciones
de la herramienta motorizada.
Motores CombiEngine
aprobados
45FS-KM
español / EE.UU
Herramientas de corte
1 STIHL SuperCut 20-2
2 STIHL AutoCut 25-2
3STIHL AutoCut C 25-2
4STIHL TrimCut 30-2
5STIHL PolyCut 20-3
6STIHL FixCut 25-2
7 Cuchilla para pasto 230-4
8 Cuchilla para pasto 230-8
9 Cuchilla para matorrales 250 1)
10 Sierra circular con
dientes raspadores 2001)
11 Sierra circular con dientes
tipo cincel 2001)
No se permite el uso de cuchillas para
pasto, cuchillas para matorrales y de
sierras circulares hechas de cualquier
otro material no metálico.
Deflectores
12 Deflector para cabezas segadoras
solamente
13 Deflector con
14 Faldilla y cuchilla para todas las
cabezas segadoras (vea "Montaje
del deflector")
15 Deflector sin faldilla y cuchilla para
todas las herramientas de corte
metálicas y para la cuchilla para
matorrales
16 Tope limitador para sierras circula-
res
1) No aprobado para KM 55, KM 55 C,
KM 55 R, KM 55 RC, FS 55 T,
FS 55 TC, FS 55 RT, FS 55 RTC
Mangos
17 Mango tórico con
18 Barra de defensa
19 Manillar tipo bicicleta
Arneses
20 Se puede usar la correa para el
hombro
21 Es obligatorio usar la correa para el
hombro
22 Se puede usar el arnés completo
23 Es obligatorio usar el arnés com-
pleto
Equipo
Entre otras cosas, la CombiTool FS-KM
completa incluye:
– Herramienta de corte
– Deflector
Seleccione la combinación correcta
de la tabla según la herramienta de
corte que se desee utilizar. Lea la
tabla en sentido horizontal, de
izquierda a derecha. Otras combina-
ciones, por ejemplo, las obtenidas
leyendo la tabla en sentido diagonal,
no se permiten.
!Advertencia
Para reducir el riesgo de sufrir lesio-
nes por objetos lanzados y el con-
tacto con las cuchillas, nunca maneje
la máquina sin tener instalado el
deflector apropiado para el accesorio
de corte en uso. Para reducir el
riesgo de sufrir lesiones debido a la
pérdida de control
y/o al contacto con la herramienta de
corte, asegúrese que su máquina
esté equipada con el mango y arnés
correctos para el tipo de accesorio de
corte que está usando.
!Advertencia
Las herramientas de corte de plástico
o metálicas, pero no sierras circula-
res, pueden usarse en las herramien-
tas motorizadas con manillar o con
mango tórico y barra de defensa para
reducir el riesgo de lesiones causa-
das por el contacto con la herra-
mienta de corte. Para reducir el
riesgo de lesiones graves al operador
o a terceros causadas por la expul-
sión de la cuchilla, nunca utilice una
sierra circular en una herramienta
motorizada equipada con mango
tórico. Las sierras circulares sólo
pueden usarse en herramientas
motorizadas con manillar tipo bici-
cleta.
Combinaciones aprobadas de herramienta de corte, deflec-
tor, mango y arnés

46
español / EE.UU
FS-KM
Herramienta de corte Deflector Mango Arnés/Correa
3
681FK003
681FK011
5
1
681FK037 KN
4
681FK111 KN
6
681FK006
2
12
681FK023
681BA002 KN
13
14
0
02BA003 K
17
18
0
02BA125 KN
20
0
02BA001 K
19
002BA005 K
21
681FK014
89
7
681FK021
13
002BA003 K
17
18
002BA001 K
19
0
02BA126 KN
0
02BA127 KN
22
0
02BA005 K
21 22
681FK018
681FK016
11
10
681FK024
16
0
02BA001 K
19
0
02BA026 KN
002BA006 K
23 23

47FS-KM
español / EE.UU
Montaje
:Enganche la orejeta (1) del tubo de
mando en la ranura (2) del manguito
de acoplamiento y empuje el tubo
de mando hasta donde tope.
:Cuando la instalación es correcta, la
raya roja (3) (punta de la flecha)
debe estar a ras con el extremo del
manguito de acoplamiento.
:Apriete el tornillo mariposa (4)
firmemente.
Retiro
:Invierta la secuencia anterior para
retirar el tubo de mando.
Montaje del deflector
1 = Deflector aprobado para todas las
herramientas segadoras.
2 = Deflector aprobado para utilizarse
con cabezas segadoras sola-
mente.
:Coloque el deflector en el meca-
nismo.
:Instale la placa (3) y alinéela.
:Inserte los tornillos de M5 x 18 y
apriételos firmemente.
Instalación de la faldilla y cuchilla
Estas piezas deben instalarse en el
deflector (1) cuando se utiliza una
cabeza segadora:
:Deslice la ranura guía inferior de la
faldilla (4) en el deflector (1) – debe
encajar a presión en su lugar.
:Empuje la cuchilla (5) dentro de la
ranura guía superior en la faldilla y
alinéela con el primer agujero.
:Coloque el tornillo y apriételo firme-
mente.
Instalación del KombiTool
002BA132 KN
1
2
4
3
002BA133 KN
Montaje del deflector
002BA102 KN
1
3
2
3
4
1
5
4
002BA103 KN

48
español / EE.UU
FS-KM
Montaje del tope
:Siempre instale el tope (6) cuando
se use una sierra circular.
:Coloque el tope en la pestaña del
mecanismo.
:Coloque los tres pernos M 5 x 18 (7)
y apriételos bien firmes.
Preparaciones
:Apoye la cortadora de matorrales
en el suelo sobre su parte trasera
con el mecanismo vuelto hacia
arriba.
Tornillería de montaje
para herramientas de corte
La tornillería de montaje suministrada
depende de la herramienta de corte
incluida como equipo original con la
nueva cortadora de matorrales.
La tornillería de montaje no se
embala con la máquina
Solamente las cabezas segadoras
pueden montarse.
:Retire la manguera (1) (protección
para el transporte) del eje (2).
:Pase a la sección "Montaje de la
cabeza segadora".
Si desea instalar una herramienta
de corte metálica en lugar de una
cabeza segadora, necesitará las
piezas adicionales siguientes:
Tuerca (3), placa de refuerzo (4) y
arandela de empuje (5) (accesorios
especiales).
7 7
7
6
002BA028 KN
Montaje de las herramientas
de corte
002BA104 KN
2
002BA164 KN
1
3
4
5

49FS-KM
español / EE.UU
La tornillería de montaje se embala
con la máquina
Se pueden montar cabeza
segadoras y herramientas de corte
metálicas.
La tornillería de montaje está suelta
:Retire la manguera (1) (protección
para el transporte) del eje (2).
La tuerca (3), placa de refuerzo (4)
y arandela de empuje (5) se
encuentran en el juego de piezas
suministrado con la máquina.
:Pase a la sección "Montaje de la
cabeza segadora" o "Montaje de las
herramientas de corte metálicas".
La tornillería de montaje se fija al
mecanismo.
:Vea "Retiro de la tornillería de
montaje"
Retiro de la tornillería de montaje
:Bloquee el eje – vea la sección
siguiente, "Bloqueo del eje de
salida".
:Use la llave combinada (6)
(suministrada con la máquina o
disponible como un accesorio
especial) para destornillar la tuerca
(3) en sentido horario (rosca
izquierda) del eje (2).
:Quite la arandela de empuje (5) del
eje (2).
La placa de refuerzo (4) se
encuentra en el juego de piezas
suministrado con la máquina
:Pase a la sección "Montaje de la
cabeza segadora" o "Montaje de las
herramientas de corte metálicas".
Bloqueo del eje de salida
:Inserte el pasador de tope o
destornillador (7) (suministrados
con la máquina o disponibles como
accesorios especiales) en la
cavidad (8) del mecanismo hasta
donde tope, aplicando una ligera
presión.
:Gire la tuerca o la herramienta de
corte en el eje (2) hasta que el
pasador de tope se deslice a su
lugar y bloquee el eje.
7
8
2
002BA166 KN
7

50
español / EE.UU
FS-KM
Montaje de la cabeza segadora
Guarde la hoja de instrucciones de la
cabeza segadora en un lugar seguro.
:Enrosque la cabeza
STIHL SuperCut 20-2,
STIHL AutoCut 25-2,
STIHL AutoCut C 25-2,
STIHL TrimCut 30-2,
ó STIHL PolyCut 20-3
en sentido contrahorario en el eje
(1) hasta el tope.
:Bloquee el eje de salida.
:Apriete la cabeza segadora.
Quite la herramienta usada para
bloquear el eje.
STIHL FixCut 25-2
:Coloque la cabeza segadora en la
placa de empuje (2).
El collar (vea la flechas) debe
encajar en el agujero de montaje de
la cabeza segadora.
:Empuje la arandela de empuje (3)
sobre el eje (1) para que quede con-
tra la base.
:Bloquee el eje de salida.
:Con la llave combinada (4) atornille
la tuerca de montaje (4) en sentido
contrahorario en el eje de salida y
apriétela firmemente.
Quite la herramienta usada para
bloquear el eje.
Retiro de la cabeza segadora
:Bloquee el eje de salida.
STIHL SuperCut 20-2,
STIHL AutoCut 25-2,
STIHL AutoCut C 25-2,
STIHL TrimCut 30-2,
STIHL PolyCut 20-3
:Destornille la cabeza segadora en
sentido horario.
STIHL FixCut 25-2
:Utilice la llave combinada para des-
tornillar la tuerca de montaje (en
sentido horario) del eje de salida.
Si la tuerca de montaje está dema-
siado floja, instale una nueva.
Ajuste del hilo de nilón
STIHL SuperCut
Un pedazo de hilo nuevo avanza auto-
máticamente cuando el hilo todavía
tiene una longitud mínima de 6 cm
(2-1/2 pulg). La cuchilla en el deflector
corta el hilo sobrante al largo correcto.
1
002BA081 KN

51FS-KM
español / EE.UU
STIHL AutoCut
:Mantenga la cabeza segadora
sobre el suelo mientras está
girando, golpéela contra el suelo, y
avanzarán aproximadamente 3 cm
(1-1/4 pulg) de hilo nuevo.
La cuchilla en el deflector corta el hilo
sobrante al largo correcto. Evite golpear
la cabeza más de una vez.
El avance del hilo funciona solamente si
los dos hilos todavía tienen una longi-
tud mínima de 2,5 cm (1 pulg).
Todas las otras cabezas segadoras
Consulte las instrucciones que se sumi-
nistran con la cabeza segadora.
Para reducir el riesgo de sufrir lesio-
nes, siempre apague el motor antes
de ajustar el hilo de nilón con la
mano.
Sustitución del hilo de nilón o
cuchillas segadoras
Consulte las instrucciones que se sumi-
nistran con la cabeza segadora.
Montaje de las herramientas de
corte metálicas
Quite la faldilla y cuchilla del
deflector de la cabeza segadora
antes de instalar
la cuchilla para cortar pasto
230-4 (1),
la cuchilla para cortar pasto
230-8 (2)
o la cuchilla para cortar matorrales
(3) – Consulte el capítulo "Montaje
del deflector".
Instale el tope limitador apropiado
antes de instalar la sierra circular
con dientes raspadores 200
(4,5) – Consulte el capítulo "Mon-
taje del deflector".
:Apoye la máquina en el suelo sobre
su parte trasera con el mecanismo
vuelto hacia arriba.
Los bordes cortantes de (1) y (3)
pueden quedar orientados en cual-
quier sentido.
Los bordes cortantes de (2), (4) y
(5) deben apuntar en sentido hora-
rio.
El sentido de rotación está indicado
por la flecha ubicada en la superfi-
cie interior del deflector de la
cabeza segadora o del tope limita-
dor.

52
español / EE.UU
FS-KM
:Coloque la herramienta de corte (6)
sobre la placa de empuje (7).
El collar (vea la flecha) debe enca-
jar en el agujero de montaje de la
herramienta de corte.
:Deslice la arandela de empuje (8) y
la placa de
refuerzo (9) sobre el eje de salida
(10).
:Bloquee el eje de salida y
:Con la llave combinada (11), atorni-
lle la tuerca de montaje (12) en sen-
tido contrahorario en el eje de salida
y apriétela firmemente.
Si la tuerca de montaje está dema-
siado floja,
instale una nueva.
Retiro de la herramienta de corte
:Bloquee el eje de salida.
:Destornille la tuerca en sentido
horario.
:Retire la herramienta de corte – no
quite la placa de empuje (7).
El tipo y el estilo del arnés dependen del
lugar de venta.
Correa para el hombro
:Colóquese la correa (1) sobre el
hombro.
:Ajuste el largo hasta que el gancho
de resorte (2) esté a una distancia
más o menos igual al ancho de la
mano por debajo de la cadera dere-
cha.
:Equilibre la cortadora de matorra-
les.
El uso de la correa para el hombro se
describe en el capítulo "Combinaciones
aprobadas de herramienta de corte,
deflector, mango y arnés".
Arnés completo
:Colóquese el arnés completo (1).
:Ajuste el largo hasta que el gancho
de resorte (2) esté a una distancia
más o menos igual al ancho de la
mano por debajo de la cadera dere-
cha.
:Equilibre la cortadora de matorra-
les.
El uso del arnés se describe en el capí-
tulo "Combinaciones aprobadas de
herramienta de corte, deflector, mango y
arnés".
Colocación del arnés

53FS-KM
español / EE.UU
El tipo y el estilo del arnés y mosquetón
(gancho con resorte) dependen del
lugar de venta.
Conexión de la unidad a la correa
para el hombro
:Enganche el gancho de resorte (1)
en la argolla para transporte (2) ubi-
cada en el tubo de mando.
:Suelte el tornillo (3).
Equilibrio de la unidad
La unidad se equilibra de forma dife-
rente, dependiendo de la herramienta
de corte empleada.
Proceda de la manera indicada hasta
que se satisfagan las condiciones espe-
cificadas bajo "Posiciones de flotación":
:Ajuste la argolla para transporte –
apriete el tornillo moderadamente –
suelte la unidad hasta que quede
equilibrada – revise la posición de
flotación.
Posiciones de flotación
A Herramientas segadoras
Las cabezas de segado, la cuchillas
para pasto y la cuchilla para mato-
rrales apenas deben tocar el suelo.
B Sierras circulares
deben quedar "suspendidas"
aproximadamente 20 cm (8 pulg)
sobre el suelo.
Cuando se alcanza el punto de flotación
correcto:
:Apriete el tornillo en la argolla de
transporte.
Equilibrio de la cortadora de
matorrales
A
002BA034 KN
B
002BA035 KN

54
español / EE.UU
FS-KM
Desconexión de la unidad de la
correa para el hombro
:Empuje a barra en el gancho de
resorte (1) y extraiga la argolla para
transporte (2) del gancho.
Arranque del motor
Siga siempre el procedimiento de arran-
que descrito en el manual del usuario de
la herramienta motorizada básica o del
motor Combi que está utilizando.
:Apoye la máquina en el suelo:
deberá reposar de modo seguro
sobre la brida del motor y el deflec-
tor. Verifique que la herramienta de
corte no esté tocando el suelo ni
ningún otro obstáculo.
:Asegúrese de tener los pies bien
apoyados.
:Sostenga la máquina firmemente
sobre el suelo con la mano
izquierda. Coloque el dedo pulgar
debajo de la caja.
No se pare ni se arrodille sobre el
tubo de mando.
Si se arranca el motor en la posición
de ARRANQUE, el accesorio de
corte puede empezar a girar tan
pronto arranque el motor. No haga
funcionar el motor por más tiempo
que el necesario con el acelerador
en la posición de arranque.
El procedimiento de arranque siguiente
corresponde al descrito en el manual de
instrucciones de la herramienta motori-
zada básica o del motor Combi que se
está usando.
Para apagar el motor:
:Mueva el control deslizante en el
sentido indicado por la flecha (h) a
la posición de STOP – O o mueva el
interruptor de parada a la
posición O.
Arranque / parada
del motor
233BA020 KN
233BA014 KN

55FS-KM
español / EE.UU
Para intervalos de 3 meses o más:
:Retire, limpie e inspeccione el acce-
sorio de corte.
:Si la CombiTool se guarda aparte,
coloque la tapa protectora en el
tubo de mando para evitar la
entrada de tierra al acoplamiento.
:Guarde la máquina en un lugar seco
y elevado, o bajo llave - fuera del
alcance de los niños y de otras per-
sonas no autorizadas.
:Revise el nivel de grasa periódica-
mente - aproximadamente cada
25 horas de funcionamiento.
:Destornille el tapón de llenado (1).
:Si no se ve grasa en el interior del
tapón, atornille el tubo (2) del lubri-
cante para engranajes STIHL espe-
cial para cortadoras de matorrales -
vea "Accesorios especiales" - en el
agujero de llenado.
:Exprima 1/5 oz (5 g) de grasa al
interior de la caja de engranajes.
No llene completamente con grasa
la caja de engranajes.
:Vuelva a colocar el tapón de llenado
y apriételo firmemente.
:Use una lima (accesorio especial)
para afilar las herramientas de
corte. En el caso de desgaste o
mellas más serios: Vuelva a afilar
con una rectificadora o pida que el
trabajo se lo haga el concesionario
STIHL.
:Afile frecuentemente, quitando la
menor cantidad posible de material;
por lo general dos o tres pasadas de
la lima son suficientes.
Para evitar el desequilibrio
:Después de aproximadamente 5
afiladas, revise la cuchilla en el
equilibrador STIHL (accesorio
especial) y vuelva a ajustar el equi-
librio según sea necesario.
Almacenamiento de la
máquina
Lubricación de la
caja de engranajes
1
233BA010 KN
2
Afilado de las herramientas
de corte metálicas

56
español / EE.UU
FS-KM
:Afile las cuchillas (1) uniforme-
mente – no altere de manera alguna
el contorno de la cuchilla matriz (2).
Vea las instrucciones en el embalaje de
la herramienta de corte para información
adicional acerca del afilado.
Los intervalos de mantenimiento dados
a continuación corresponden a condi-
ciones normales de trabajo.
Si las condiciones son extremas (zonas
polvorientas, etc.), o si el tiempo de tra-
bajo por jornada es más largo que lo
normal, acorte los intervalos indicados
de modo correspondiente.
Todos los tornillos y tuercas accesi-
bles (salvo los tornillos de ajuste)
:Volver a apretar según sea necesa-
rio.
Accesorios de corte
:Inspeccionar, revisar el apriete
antes de comenzar el trabajo y des-
pués de cada parada para cargar
combustible.
:Sustituya si está dañado.
:Afilar las herramientas metálicas de
corte antes de comenzar el trabajo y
cuando sea necesario.
Lubricación de caja de engranajes
:Revisar semanalmente.
:Llenar según sea necesario.
Etiquetas de seguridad
:Cambie las etiquetas de seguridad
ilegibles.
22
1
2
11
002BA042 KN
Mantenimiento

57FS-KM
español / EE.UU
1Tubo de mando
2Cabeza segadora
3Deflector (solamente para
cabezas segadoras)
4Cuchilla limitadora del hilo
5Deflector con faldilla desmontable
(para todas las herramientas de
corte)
6Faldilla (para uso con
cabezas segadoras)
7Herramienta metálica de corte
8Sierra circular
9Tope (solamente para sierras circu-
lares)
Definiciones
1. Tubo de mando.
Encierra y protege el eje impulsor
entre el motor y el mecanismo.
2. Cabeza segadora.
El accesorio de corte, por ejemplo
una cabeza segadora, que se usa
para diferentes propósitos
(accesorio especial).
3. Deflector.
El deflector tiene por objeto reducir
el riesgo de lesiones causadas por
objetos extraños arrojados contra el
operador por la herramienta de
corte y por el contacto con la herra-
mienta de corte.
4. Cuchilla limitadora del hilo.
Cuchilla metálica en el deflector que
mantiene el hilo de la cabeza sega-
dora a un largo adecuado.
5. Deflector con faldilla desmonta-
ble
El deflector tiene por objeto reducir
el riesgo de lesiones causadas por
objetos extraños arrojados contra el
operador por la herramienta de
corte y por el contacto con la herra-
mienta de corte. No está diseñado
para contener las cuchillas metáli-
cas fragmentadas.
6. Faldilla
La faldilla en la parte inferior del
deflector debe usarse de la manera
descrita en el capítulo "Montaje del
deflector".
7. Herramienta metálica de corte
El accesorio de corte, por ejemplo
una cuchilla, que se usa para dife-
rentes propósitos (accesorio espe-
cial).
8. Sierra circular
Una herramienta de corte hecha de
metal para cortar madera.
9. Tope
El tope se usa para guiar y estabili-
zar la herramienta de corte contra la
madera y ayuda a reducir el riesgo
de lesiones causadas por expul-
sión.
Piezas principales
58
español / EE.UU
FS-KM
Peso
sin herramienta de corte y deflector
1,15 kg (2,5 lb)
Comuníquese con su concesionario
STIHL para información acerca de los
accesorios especiales que pueden estar
disponibles para su producto.
Los usuarios de esta máquina deben
efectuar únicamente los trabajos de
mantenimiento descritos en este
manual. Solamente los talleres autoriza-
dos por STIHL deben llevar a cabo los
demás trabajos de reparación.
Los reclamos de garantía presentados
después de realizadas las reparaciones
serán aceptados únicamente si las mis-
mas fueron ejecutadas por un concesio-
nario de servicio autorizado STIHL utili-
zando piezas de repuesto originales de
STIHL.
Es posible identificar las piezas origina-
les de STIHL por el número de pieza
STIHl
, el logotipo de STIHL y, en
algunos casos, el símbolo ( de piezas
STIHL. En las piezas pequeñas el sím-
bolo puede aparecer solo.
Especificaciones Accesorios especiales Mantenimiento y
reparaciones

59FS-KM
español / EE.UU
Marcas registradas de STIHL
STIHL®
q
(
La combinación de colores anaranjado-
gris (N° de registro EE.UU. #2,821,860;
#3,010,057; y #3,010,058)
4-MIX®
AUTOCUT®
EASYSTART®
OILOMATIC®
STIHL Cutquik®
STIHL DUROMATIC®
STIHL Farm Boss®
STIHL Quickstop®
STIHL ROLLOMATIC®
STIHL WOOD BOSS®
TIMBERSPORTS®
YARD BOSS®
Marcas comerciales de STIHL por
ley común
BioPlus™
Easy2Start™
EasySpool™
ElastoStart™
Ematic™ / Stihl-E-Matic™
FixCut™
HT Plus™
IntelliCarb™
Master Control Lever™
Micro™
Pro Mark™
Quad Power™
Quiet Line™
STIHL Arctic™
STIHL Compact™
STIHL HomeScaper Series™
STIHL Interchangeable Attachment
Series™
STIHL Magnum™ / Stihl-Magnum™
STIHL MiniBoss™
STIHL MotoPlus 4™
STIHL Multi-Cut HomeScaper Series™
Stihl Outfitters™
STIHL PICCO™
STIHL PolyCut™
STIHL PowerSweep™
STIHL Precision Series™
STIHL Protech™
STIHL RAPID™
STIHL SuperCut™
STIHL Territory™
Tap Actio n™
TrimCut™
Esta lista de marcas comerciales está
sujeta a cambios.
Queda terminantemente prohibido todo
uso de estas marcas comerciales sin el
consentimiento expreso por escrito de
ANDREAS STIHL AG & Co. KG,
Waiblingen.
Marcas comerciales
60
español / EE.UU
FS-KM
0458 407 8621
englisch / English USA / spanisch / español EE.UU
BA_U4_86_01.fm Seite 1 Montag, 12. Januar 2004 12:26 12