Strategic Vista Technologies SV05CAM-1 2.4GHz WIRELESS CAMARA User Manual
Strategic Vista Technologies Inc. 2.4GHz WIRELESS CAMARA Users Manual
USERS MANUAL

FOR MORE INFORMATION
Before operating the system, please read this manual
thoroughly and retain it for future reference.
This product broadcasts over public airwaves and its
video and audio signals may be intercepted without
your consent.
2.4 GHz 1.8”Color TFT LCD Monitor
With Wireless Camera
SG5550
PORTABLE HOME VIDEO
SECURITY SYSTEM

Explanation of two Symbols
The lightning flash with arrowhead symbol, within an
equilateral triangle, is intended to alert the user to the
presence of uninsulated"dangerous voltage“within the
product's enclosure that may be of sufficient magnitude to
constitute a risk of electric shock to persons.
The exclamation point within an equilateral triangle is
intended to alert the user to the presence of important
operating and maintenance(servicing) instructions in
the literature accompanying the appliance.
THE GRAPHIC SYMBOLS WITH SUPPLEMENTAL MARKING ARE ON
THE BOTTOM OF THE SYSTEM.
!
WARNING: To prevent fire or shock hazard, do not expose this unit to
rain, water, or wet locations. Do not insert any metallic object
through the ventilation grills.
FCC CLASS B NOTICE
Note:
This equipment has been tested and found to comply with the limits For a Class
B digital device, pursuant to Part 15 of the FCC Rules. These limits are
designed to provide reasonable protection against harmful interference in a
residential installation. This equipment generates, uses and canradiate radio
frequency energy and, if not installed and used in accordance with the
instruction, may cause harmful interference to radio communications.
However, there is no guarantee that interference will not occur in a particular
installation. If this equipment does cause harmful interference to radio or
television reception, (which can be determined by turning the equipment off
and on), the user is encouraged to try to correct the interference by one or more
of the following measures:
CAUTION
RISK OF ELECTRIC SHOCK. DO NOT OPEN.
CAUTION: TO REDUCE THE RISK OF ELECTRIC SHOCK, DO NOT REMOVE
COVER (OR BACK). NO USER-SERVICEABLE PARTS INSIDE. REFER
SERVICING TO QUALIFIED SERVICE PERSONNEL.
!
•Reorient or relocate the receiving antenna
•Increase the separation between the monitor and the camera.
•Connect the equipment into an outlet on a circuit different from that to which
other devices may be connected.
•Consult the dealer or an experienced radio or television technician for help.
•Please review the troubleshooting section of this manual
i

SAFETY INSTRUCTIONS
IMPORTANT SAFEGUARDS
All the safety and operating instructions should be read before the
appliance is operated and retained for future reference.
1. HEED WARNINGS -All warnings on the appliance and in the operating
instructions should be adhered to.
2. FOLLOW INSTRUCTIONS -All operating instructions should be
followed.
3. WATER AND MOISTURE -Do not use this video product near water –
for example, a bath tub, wash bowl, kitchen sink, laundry tub or
swimming pool, or in a wet basement.
4. POWER SOURCES -This product should be operated only from the type
of power source indicated on the marking label.
5. OVERLOADING -Do not overload outlets and extension cords, which
can result in a risk of fire or electric shock.
6. SERVICING -Do not attempt to service this product yourself. Opening or
removing covers may expose you to dangerous voltage or otherhazards.
Refer all servicing or repairs to qualified service personnel.
7. DAMAGE REQUIRING SERVICE -Unplug this product from the wall
outlet and refer servicing or repairs to qualified service personnel under
the following conditions:
a. When the power supply cord or plug is damaged.
b. If liquid has been spilled or objects have fallen into the product.
c. If the product has been exposed to rain or water.
d. If the product does not operate normally by following theoperating
instructions. Adjust only those controls that are covered by the
operating instructions.
e. If the product has been dropped or the cabinet has been damaged.
f. When the product exhibits a distinct change in performance.
8. REPLACEMENT PARTS -When replacement parts are required, be
sure the service technician has used replacement parts that are
specified by the manufacturer or have the same characteristics as the
original part. Unauthorized substitutions may result in fire,electric
shock, or other hazards.
9. SAFETY CHECK -Upon completion of any service or repairs to this
video product, ask the service technician to perform safety checks to
determine if the video product is in proper operating condition.
10. An appliance and cart combination should be moved with care.
Do not place this equipment on an unstable cart, stand, ortable.The
equipment may fall, causing serious injury to a child or adult, and
serious damage to the equipment. Wall or shelf mounting should
follow the manufacturer's instructions and should be done with
a mounting kit approved by the manufacturer.
ii
TABLE OF CONTENTS
iii
INTRODUCTION & FEATURES………………………………………
SYSTEM INCLUDES…………………………………………………..
CONTROLS AND FUNCTIONS
Monitor Controls –Front Panel ...….……………………..……...
Monitor Controls –Side Panels .....................……….….....……
Camera Controls …………………………………………………..
Docking Station Controls ………………………………………….
INSTALLATION
Camera ......................................................……………….…....
Monitor .....................................................................………......
SYSTEM OPERATION
Additional camera connection…………………………………….
Alarm Alert …………………………………………………………
Auto & Manual Viewing Options………………………………….
Auto Scanning………………………………………………………
Selectable Dwell Settings…………………………………………
Connecting The Monitor To A VCR ……...………………..…….
OPTIONAL ACCESSORIES ..........................................................
TROUBLE SHOOTING ..............................................………..…...
TECHNICAL SPECIFICATIONS ....................................................
CARE & MAINTENANCE……………………………..……………….
1
2
3
4
5
6
7
8
9
10
10
11
11
12
13
14
15
16
PAGE

INTRODUCTION:
Thank you for purchasing the 2.4GHz Wireless 1.8”LCD Color Video
System. This is an ideal solution for monitoring your child, business or
home. The package contains a portable LCD monitor, a 2.4 GHz
wireless color camera with Night Vision capability, and a power
charging docking station for the monitor.
The system is expandable up to 4 cameras (additional cameras sold
separately) with the convenience of auto-sequencing between camera
locations. Use the Listen-in Audio feature to pick up sound within a
specific location. Avoiding the hassle of running wires, this system is
easy to install and operate for your immediate security applications.
The RCA audio/video outputs on the Docking Station allow you to view
video on a larger screen, or connect to a VCR for recording purposes.
To learn more about this 2.4GHz Wireless 1.8”LCD Color Video
System and our complete range of accessory products, please visit our
website at:
FEATURES:
•Portable 2.4 GHz Color wireless camera
•Portable 2.4 GHz receiver handset with a built in 1.8”TFT full color display
•Includes Charging Docking Station with A/V Out
•4 channel selection
•Built in CDS sensor to turn on IR LED at night time
•Up to 300 feet wireless transmission
•Flexible –move camera & monitor from room to room
•Listen-in audio
•Auto scanning –up to four cameras
•Camera and monitor with AC or battery option
•Compatible with all Lorex2.4 GHz wireless devices
•Connect up to four cameras (additional cameras sold separately)
1

SYSTEM INCLUDES:
1.8”LCD screen –
2.4 GHz Color Monitor
2.4 GHz Color Wireless Camera
with 8 Infra-red emitters
Owner’s Manual
Also includes:
1 –6V DC 300mA Adapter (Camera)
with battery option (4 “AA”, not included)
1 –6V DC 800mA Adapter (Monitor)
with battery option (4 “AA”, not included)
1 –RCA Audio/Video Cables
Mounting hardware for Camera
Window decals
2
Docking Station / Charger
for Monitor

MONITOR CONTROLS –FRONT PANEL
.
.
1. 2.4GHz Antenna -High gain dipole antenna receives audio and video
signal from the camera.
2. LCD -1.8”Color Screen.
3. Channel Indicator -Shows which Channel the monitor is set to (1-4).
Channel 1 is represented on the left side -Channel 4 on the right side.
4. Channel Selector - Manually switches between channels 1-4.
5. Display On/Off -Turns the LCD Screen Display On/Off on the monitor.
Note: pressing this button turns the monitor to Standby mode. Video will
automatically reappear in the event of an Alarm, and Audio remains ON.
6. Auto Button -Initiates automatic rotation between channels 1-4.
Press this button again to terminate Auto mode.
7. Auto Indicator -Illuminates when the system is in Auto mode.
8. Alarm On/Off -Press for 2 sec to set the Alarm mode On/Off. For more
information on the Alarm feature, please refer to page 10.
9. Alarm / Low Battery Indicator -Illuminates when Alarm mode is set, and
blinks slowly when the Battery power is low.
10. Speaker -Emits sound from the camera location.
3
1
3
4
5
6
7
2
9
8
10

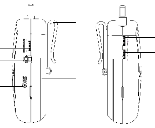
MONITOR CONTROLS –SIDE PANELS
1. Audio Sensitivity -Sets the sensitivity level for the alarm Audio
triggering (refer to page 10 for more information).
2.ON/OFF Switch -Switches the power on the monitor ON or OFF.
3. DC Input Jack -Connect to the supplied 6V DC 800 mAAC adapter.
Note: If Power is connected via the Docking Station, this input is not
required as the monitor will draw Power from the Docking Station.
4. Belt Clip / Stand -in the upright position, this clip serves as a belt clip
for convenient portability. You can also lower this piece toserve as a
Stand for the monitor (without the Docking Station).
5.Battery Compartment –Requires 4 “AA”Batteries (not included).
6. Brightness Control -Allows you to adjust the brightness of the picture.
7. Volume Control –Turn this dial to adjust the volume on the monitor.
4
4
1
2
3
6
7
5

CAMERA CONTROLS
1. CDS Sensor -Turns on the IR emitters in low light conditions.
2. Infrared LED’s-Enhance the picture quality in low light conditions.
3. Lens -Color CMOS Image Sensor.
4. Microphone -Built-in condenser microphone provides listen-in audio
capability from camera to monitor.
5. ON/OFF Power Button -Controls power to the camera.
6. Channel Selector Switch -Slide switch set the camera’s channel (1-4)
7. DC IN Jack -Connects to the 6V DC (300mA) adapter.
8.Battery Compartment (not shown) -Requires 4 “AA”Batteries
(not included).
5
1
2
3
4
5
6
7
8

DOCKING STATION CONTROLS
1. Cradle -Carefully slide the monitor downward into the docking cradle.
The monitor now has the added feature of Audio / Video Out for
connection to a larger monitor (such as a TV) or a VCR.
2. Charge Indicator -Illuminates when both Power and the Monitor are
connected. The Docking Station will recharge the batteries in the
monitor provided that you have inserted Rechargeable batteries.
(Please refer to Page 8 for recharging time.)
3. Video and Audio Output Jacks -RCA jacks for A/V Output
connection to another video source (using the supplied A/V cable).
4. DC IN Jack -Connects to the 6V DC 800mA adapter, the same one
used for the monitor.
6
1
3
2
4

CAMERA INSTALLATION
Option 1: You can place the camera on a desk or any leveled surface.
Select a location that is near an AC outlet and within reach of the AC
adapter cord. You can adjust the camera head vertically to the best viewing
angle.
Option 2: For wall mounting, use the supplied mounting bracket and
screws.First, attach the stand to the wall where you want to install the
camera and drive the 2 supplied screws into the wall.Attachthe camera to
the stand and firmly tighten the swivel. Adjust the camera to the best
viewing angle.
Power-Up the Camera: Once the camera is mounted in place, connect the
supplied 6V DC 300 mAto the DC IN jack at the side of the camera, and
plug it into an electrical outlet.
You also have the option of using 4 “AA”alkaline batteries in your camera.
To utilize the battery option, follow these steps:
1. Ensure the power button on the camera is depressed to OFF.
2. Loosen the screw at the back of the camera and remove the cover.
3. Insert 4 “AA”batteries (not included) into the battery compartment while
noting the polarity (+ / -symbols).
Warning: to prevent damage to the unit, ensure the batteriesare
aligned properly and battery types are not mixed
4. Close the compartment by re-screwing it, and turn the camera “ON”.
7
WALL
DESK
Ensure the power switch on the monitor and camera areset to
the OFFposition before proceeding with the following steps.
NOTE
OPTION #1 OPTION #2

BATTERY CASE & COMPARTMENT
Remove the battery casecoverby unscrewing thebolt at the back of the
monitor. This system requires 4 “AA”sizebatteries (not included).
Your wireless monitor has AC or battery option. When using the AC option
with rechargeable batteries, your monitor will automatically switch
to back up battery feature during a power outage, providing you with
uninterrupted power to the monitor.
To recharge the batteries, simply place the monitor in the Docking Station
with the AC Adapter connected. The battery option also provides you the
flexibility to move the monitor from room to room. Battery life is
approximately 2 –3 hours. It takes 10~15 hours to fully recharge the
batteries. When the monitor’s sound weakens or the picture becomes
unsteady, replace the batteries.
8
If using the Docking Station, connect the supplied 6V DC 800 mAadapter
to the DC INPUT JACK at the rear of the Docking Station and plugit into
an electrical outlet.
Alternatively, you can bypass the Docking Station and plug the adapter
directly into the DC INPUT JACK on the side of the monitor.
MONITOR INSTALLATION
6V DC 800 mA
AC Adapter
Note: Connection of the Monitor to
the Docking Station is optional.
The benefits of the Docking
Station are: A/V Out and Battery
Charging.
Battery Type Switch: In order for the
monitor to detect Rechargeable Batteries,
the switch inside the battery compartment
must be set at Rechargeable rather than
Alkaline.
Note: Do not set the selector switch to
Rechargeable if non-rechargeable
batteries are being used.
Warning: To prevent damage to the unit,
ensure that the batteries are aligned
properly and battery types are not mixed.

OPERATION
Camera
(1) Connect the power adapter to the camera power input and turnon
the camera by pressing Power. Ensure the camera is set to channel 1.
Monitor
(1) Connect the supplied power adaptor to the power input of themonitor
or the Docking Station. Turn on the monitor by switching Power
ON/OFF to ON. The LCD will display Channel 3 by default.
(2) Use the channel selector switch button to ensure the monitoris set to
the same channel as the camera to view the picture. Note: If you
experience reception problems (eg. poor picture), you may need to
select another channel on both the camera and monitor.
(3) Adjust the volume to the desired level. You may also mute the audio
option by reducing the Volume dial to the minimum level.
(4) Adjust the brightness level as required.
Try to position both the Camera and Monitor as high off the ground as
possible for better picture reception.
NOTE
ADDITIONAL CAMERA CONNECTION
9
This video security system allows you to view up to four different camera
locations. Additional cameras are sold separately, please refer to
www.lorexcctv.com for more information.
When connecting more than one camera to the monitor/camera system,
you will need to set each camera to a different channel (Channels 1-4).
CH 1
ALARM ALERT
10
This video security system is equipped with an Audio-based Alarm
system, which alerts you of sound at the camera.
To activate the Alarm feature, hold the Alarm button on the monitor for 2
seconds. A red light will illuminate to indicate that Alarm modeis active,
and the monitor will go to Standby mode (video will not appear on the LCD
screen, and the speaker sound will cease).
An Alarm is activated when sound at the camera site is detected.In the
event of an Alarm, the monitor will emit a buzzer sound for 10 seconds,
and the LCD screen will turn ON for 60 seconds. During the 60 second
duration, a subsequent Alarm cannot be triggered. If there’s no further
noise at the camera after 60 seconds, the monitor will return tothe
Standby mode. To stop the Alarm’s buzzer sound, press the Alarm button.
Alarm mode can be deactivated by holding the Alarm button for 2
seconds. The system will then return to its previous settings.
SETTING ALARM SENSITIVITY
You can adjust the level of the Alarm feature’s sensitivity via the Audio
Sensitivity dial on the side of the monitor. At lower Audio Sensitivity
settings, louder sounds will be required to trigger an Alarm. When the
Audio Sensitivity is at a high setting, soft sounds will triggerthe Alarm.
AUTO & MANUAL VIEWING OPTIONS
This system is preset to Manual mode. To manually view a specific
camera location, press the Channel Selector button to navigate between
Channels 1-4.
Alternatively, you can set the system to Auto mode by pressing the Auto
button. In Auto mode, the Auto LED light will turn ON, and the camera
channels will rotate automatically. To exit Auto mode, press theAuto
button again.
AUTO SCANNING
This video security system provides you with the option to automatically
switch between the four camera locations. If you have fewer than four
cameras, you can also set the system to scan between three or two
locations.
Setting Auto Scan to 2 or 3 camera locations:
1.Press and hold the Auto button for more than 2 seconds. All four LED
lights on the front of the monitor will turn ON.
2.Continue to press and hold the Auto button. The Channel 4 LED will
turn off. The system is now set to scan between three camera
locations (Channel 1-3).
3.Continue to press and hold the Auto button. The Channel 3 LED will
now be turned off. The system is now set to scan between two camera
locations (Channel 1-2).
4.Continue to press and hold the Auto button to return to the fourcamera
viewing option (all four LED lights will be illuminated).
SELECTABLE DWELL SETTINGS
Dwell Setting is the time duration between each camera view in the auto
sequence mode.
This system provides you with the option of three selectable dwell times (2,
5 and 10 seconds) when set to Auto Mode. This system is preset to a two
second interval.
Changing Dwell Time:
1.Press and hold the Channel Select button. The LED light will turn on to
indicate that it is set to 2 seconds.
2. Continue to press and hold the Channel Select button. The LED light will
flash one second interval to indicate that it is now set tothe 5 second
interval.
3. Continue to press and hold the Channel Select button.
4. The LED light will flash three second interval to indicate it is set to the 10
second interval.
11

CONNECTING THE MONITOR TO A TV
In order to view video from the camera on a larger screen than the
1.8”LCD, you can use the Video/Audio output from the Docking
Station as shown in the diagram below and view the video on TV.
Please note: To view the picture on the TV, you must select an A/V
or AUX channel.
Connections for recording
Similarly, the monitor can also be connected to a VCR.
Connect the supplied audio/video cable from the back of the monitor to the
Audio/Video Inputs of a VCR.
Please Note: To record, you must select the A/V or AUX channel on your
VCR.
12
RCA cable
13

TECHNICAL SPECIFICATIONS
MONITOR
Display 1.8”Color LCD
Resolution 280 x 220 pixels
Viewing Angle 90º(L/R)
Camera Capable Up to 4
Wireless transmission Up to 300 feet (open space)
Power Source 6V 800 mAAdapter (included)
Battery Option 4 “AA”Batteries (not included)
CAMERA
Image Device Color 1/4”CMOS
Picture Element 510 x 492 pixels
Lens 3.6 mm
Viewing angle 60º
Minimum Illumination 3 LUX @ F2.0, 0 LUX with LED’s
at 3ft or less
Power Source 6V 300 mAAdapter (included)
Battery Option 4 “AA”Batteries (not included)
15
Because our products are subject to continuous improvement, SVIIand its subsidiaries reserve the right to modify
product design and specifications without notice and without incurring any obligation. E&OE

CARE AND MAINTENANCE:
Please follow these instructions to ensure proper
care and maintenance of this system.
Keep your monitor and camera dry. If it gets wet,
wipe it dry immediately.
Use and store your unit in normal temperature
environment. Extreme temperatures can shorten
the life of the electronic devices.
Handle the monitor carefully. Dropping it can cause
serious damage to the unit.
Occasionally clean the unit with a damp cloth to keep
it looking new. Do not use harsh chemicals, cleaning
solvents or strong detergents to clean the unit.
Keep the unit away from excessive dirt and dust. It
can cause premature wear of parts.
16
FCC Information
This device complies with part 15 of the FCC Rules, Operation issubject to the following two
conditions: (1)This device may not cause harmful interference, and (2) This device must accept any
interference received, including interference that may cause undesired operation.
CAUTION: Changes or modifications not expressly approved by Summer infant may void the
users authority to operate this equipment.
NOTE: This equipment has been tested and found to comply with the limits for a Class B digital
device, pursuant to part15 of the FCC Rules.
These limits are designed to provide reasonable protection against harmful interference in a
residential installation. This equipment generates, uses and canradiate radio frequency energy and,
if not installed and used in accordance with the instructions, may cause harmful interference to radio
communications, However, there is no guarantee that interferencewill not occur in a particular
installation. If this equipment does cause harmful interference to radio or television reception,
which can be determined by turning the equipment off and on, theuser is encouraged to try to
correct the interference by one or more of the following measures:
l Reorient or relocate the receiving antenna
lIncrease the separation between the equipment and the receiver
lConsult the dealer or an experienced radio / TV technician for help.