Subaru SGX7500 Parts Manual 03 2011 User To The 1584010f Cd7e 4e9c Bf87 C414a540ee45
User Manual: Subaru SGX7500 to the manual
Open the PDF directly: View PDF
.
Page Count: 38

PARTS
MAN U AL
Model
PUB-EP
Rev. 03/11
GENERATORS
SGX7500
SGX7500 - 2 - 03-11
© Copyright 2011 Robin America, Inc.
Robin America, Inc.
905 Telser Road • Lake Zurich, IL 60047 • Phone: 847-540-7300 • Fax: 847-438-5012
e-mail: sales@robinamerica.com • www.subarupower.com

SGX7500 - 3 - 03-11
Ref. Part Number Description Qty Remarks To-From Fig.
GROUP INDEX
Group Name Page
CRANKCASE GROUP .............................................................................. 4
CRANKSHAFT GROUP ............................................................................. 8
INTAKE and EXHAUST GROUP .............................................................. 10
GOVERNOR GROUP .............................................................................. 14
COOLING and STARTING GROUP ......................................................... 16
FUEL, LUBRICATION GROUP ................................................................ 18
ELECTRIC ................................................................................................ 22

SGX7500 - 4 - 03-11
FIG. 1 CRANKCASE GROUP

SGX7500 - 5 - 03-11
Ref. Part Number Description Qty Remarks To-From Fig.
FIG. 1 CRANKCASE GROUP
10 20B-10104-31 CRANK CASE CP 1 - 100
20 20B-14202-03 VALVE GUIDE 2 - 100
21 056-51000-50 CLIP 1 10.7DX0.9D - 100
26 132-11AA1-10 SEAL-EXH VALVE 1 - 100
28 263-35341-03 RETAINER PLATE 1 11DX17.3DX27DX4.7H - 100
30 044-03500-91 OIL SEAL 1 35DX48DX8B 8645- 100
044-03500-90 OIL SEAL 1 35DX48DX8B -8644 100
40 X60-03502-40 BALL BEARING 1 8535- 100
060-03502-40 BALL BEARING 1 -8534 100
50 277-15011-03 PIPE KNOCK 2 10.3DX8.5DX14L - 100
60 010-50802-90 STUD 2 M8X1.25X30L - 100
70 010-50603-51 STUD 2 M6X1.0X98L - 100
75 044-00800-10 OIL SEAL 1 8DX14DX4B - 100
80 040-11400-30 PLUG 2 M14X1.5X20DX12L - 100
90 021-11400-20 GASKET 2 14.1DX19DX2.3T - 100
210 20B-11005-21 MAINBEARING COVER CP 1 8645- 100
20B-11005-11 MAINBEARING COVER CP 1 -8644 100
220 044-03500-91 OIL SEAL 1 35DX48DX8B 8645- 100
044-03500-90 OIL SEAL 1 35DX48DX8B -8644 100
230 X60-03502-40 BALL BEARING 1 8645- 100
060-03502-40 BALL BEARING 1 -8534 100
250 20B-45003-11 GOVERNOR GEAR CP 1 8645- 100
20B-45003-01 GOVERNOR GEAR CP 1 -8644 100
260 277-41902-01 GOVERNOR SLEEVE CP 1 8645- 100
277-41901-03 GOVERNOR SLEEVE 1 -8644 100
280 021-32000-50 GASKET 2 20DX27DX1.5T RUBBER - 100
285 279-63601-30 OIL GAUGE AY 2 - 100
300 011-00803-40 FLANGE BOLT 8 M8X1.25X17DX38L - 100
610 20B-13001-00 CYLINDER HEAD AY 1 - 100
620 20B-15001-03 GASKET(HEAD) 1 - 100
630 011-01000-40 FLANGE BOLT 4 M10X1.25X19DX75L - 100
631 001-04083-50 FLANGE BOLT 2 M8X1.25X16DX35L - 100
680 20B-15501-01 ROCKER COVER CP 1 - 100
690 20B-16001-03 GASKET(ROCKER COVER) 1 - 100
700 031-00600-10 DOWEL PIN 2 6DX14.8L - 100
710 011-00600-20 FLANGE BOLT 4 M6X1.0X14DX12L - 100
960 20B-99001-07 GASKET SET 1 - 100

SGX7500 - 6 - 03-11
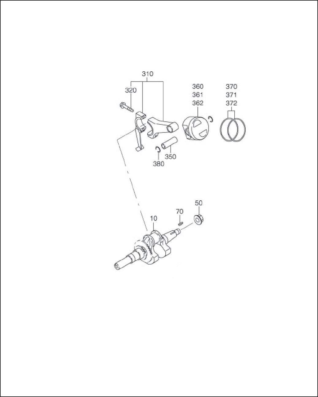
FIG. 2 CRANKSHAFT GROUP

SGX7500 - 7 - 03-11
Ref. Part Number Description Qty Remarks To-From Fig.
FIG. 2 CRANKSHAFT GROUP
10 20B-21201-11 CRANK SHAFT CP 1 - 200
50 018-01800-10 FLANGE NUT 1 M18X1.5X31DX14H - 200
70 005-32054-01 WOODRUFF KEY 1 5BX7.5HX19D - 200
310 20B-22501-00 CONNECTING ROD AY 1 - 200
320 001-05084-00 FLANGE BOLT 2 M8X1.25X16DX40L - 200
350 263-23301-33 PISTON PIN 1 21DX15DX64.2L - 200
360 20B-23401-H3 PISTON 1 STD - 200
361 20B-23403-H3 PISTON 1 0.25 O.S. - 200
362 20B-23404-H3 PISTON 1 0.50 O.S. - 200
370 20B-23501-07 PISTON RING SET 1 STD - 200
371 20B-23502-07 PISTON RING SET 1 0.25 O.S. - 200
372 20B-23503-07 PISTON RING SET 1 0.50 O.S. - 200
380 056-52100-20 CLIP 2 22.1DX1.4D - 200

SGX7500 - 8 - 03-11
FIG. 3 INTAKE and EXHAUST GROUP

SGX7500 - 9 - 03-11
Ref. Part Number Description Qty Remarks To-From Fig.
FIG. 3 INTAKE and EXHAUST GROUP
12 20B-31601-10 CAMSHAFT AY 1 8522- 300
20B-31601-00 CAMSHAFT AY 1 -8521 300
23 20B-35101-21 PIN(CAM SHAFT)CP 1 8583- 300
20B-35101-11 PIN(CAM SHAFT)CP 1 -8582 300
27 024-00700-21 O-RING 1 8583- 300
024-00700-20 O-RING 1 -8582 300
34 005-19041-00 SPRING PIN 2 4.4DX10LX0.8T -8521 300
005-19041-00 SPRING PIN 1 4.4DX10LX0.8T 8522- 300
35 277-36401-03 RELEASE LEVER 1 - 300
37 20B-36501-03 CLIP 1 - 300
38 277-38702-03 RETURN SPRING 1 5.1DX0.6DX4.4L N=7 - 300
48 031-80500-20 ROLL PIN 1 - 300
60 246-33611-03 VALVE SPRING 2 22.2DX2.9DX37L N=6.5 - 300
70 246-33711-13 SPRING RETAINER 2 7.6DX26DX8T - 300
80 20B-33401-H3 INTAKE VALVE 1 - 300
90 20B-33501-H3 EXHAUST VALVE 1 - 300
95 246-35501-03 COLLET-VALVE 4 - 300
150 20B-35601-H1 TIMING CHAIN CP 1 - 300
160 277-36911-03 TENTIONER 1 - 300
163 277-37101-03 SPRING(TENTIONER) 1 10DX1.8DX14L N=4.5 - 300
166 277-36902-03 PIN(TENTIONER) 1 6DX13DX34L - 300
170 277-36913-13 CHAIN GUIDE 1 - 300
200 20B-35001-01 PIN(ROCKER)CP 1 - 300
202 003-13060-00 CLIP 1 6DX12DX0.8T - 300
220 20B-36101-00 ROCKER ARM(IN) AY 1 - 300
225 20B-36102-10 ROCKER ARM(EX) AY 1 - 300
230 014-90500-20 ADJUST SCREW 1 M5X0.5X23L - 300
231 014-90500-20 ADJUST SCREW 1 M5X0.5X23L - 300
240 017-00500-30 NUT 1 M5X0.5X4.1H - 300
241 017-00500-30 NUT 1 M5X0.5X4.1H - 300
290 011-00600-10 FLANGE BOLT 1 M6X1.0X14DX8L - 300
340 20B-35201-03 GASKET(MUFFLER) 1 - 300
341 277-35201-01 GASKET CP(EXHAUST) 1 T=1.6 28D 8.5DX52P - 300
350 002-38080-00 FLANGE NUT 2 M8X1.25X17DX7.5H - 300
351 002-38080-00 FLANGE NUT 2 M8X1.25X17DX7.5H - 300
405 20B-34001-01 EXHAUST PIPE CP 1 - 300
415 010-50802-90 STUD 2 M8X1.25X30L - 300
538 20B-35903-13 GASKET 3 1 - 300
540 20B-32901-J1 INSULATOR CP 1 - 300
550 20B-35902-H3 GASKET 2 1 - 300
560 20B-35901-H3 GASKET 1 1 - 300
570 002-38060-00 FLANGE NUT 2 M6X1.0X13DX6H - 300
580 001-04061-60 FLANGE BOLT 1 M6X1.0X13DX16L - 300
850 X85-11001-70 RUBBER PIPE 1 - 300

SGX7500 - 10 - 03-11
FIG. 3 INTAKE and EXHAUST GROUP

SGX7500 - 11 - 03-11
Ref. Part Number Description Qty Remarks To-From Fig.
FIG. 3 INTAKE and EXHAUST GROUP
510 20B-32622-H0 AIR CLEANER AY 1 - 315
-6 20B-32660-H8 CHOKE LABEL 1 - 315
-200 20B-32631-H8 BODY CP 1 - 315
-220 20B-32720-H8 PACKING 1 - 315
-250 20B-32640-H8 COVER 1 - 315
-275 20B-32650-H8 BOLT 1 - 315
-520 20B-32611-H8 ELEMENT 1 - 315

SGX7500 - 12 - 03-11
FIG. 4 GOVERNOR GROUP

SGX7500 - 13 - 03-11
Ref. Part Number Description Qty Remarks To-From Fig.
FIG. 4 GOVERNOR GROUP
13 20B-42301-10 GOVERNOR LEVER AY 1 - 400
20 20B-42201-01 GOVERNOR SHAFT CP 1 - 400
26 003-11080-00 WASHER 1 8.5DX18DX1.6T - 400
30 20B-42701-13 GOVERNOR ROD 1 - 400
40 20B-42801-13 ROD SPRING 1 - 400
50 003-13060-00 CLIP 1 6DX12DX0.8T - 400
51 003-13060-00 CLIP 1 6DX12DX0.8T - 400
60 001-14062-50 BOLT AND WASHER AY 1 M6X1.0X25L W/W,SW - 400
70 018-60600-20 NUT 1 M6X1.0X4.9H SQUARE - 400
80 20B-42503-03 GOVERNOR SPRING 1 - 400
310 20B-43351-03 SPEED CONTROL LEVER 1 - 400
360 004-31064-00 SCREW 1 M6X1.0X40L - 400
370 002-27060-00 NUT 1 M6X1.0X3.6H - 400
435 20B-46001-21 SPEED CONTROL BKT CP 1 - 400
450 002-35060-00 SELF LOCK NUT 1 M6X1.0X6.8H - 400
485 011-00600-20 FLANGE BOLT 1 M6X1.0X14DX12L - 400

SGX7500 - 14 - 03-11
FIG. 5 COOLING and STARTING GROUP

SGX7500 - 15 - 03-11
Ref. Part Number Description Qty Remarks To-From Fig.
FIG. 5 COOLING and STARTING GROUP
10 20B-51302-01 BLOWER HOUSING CP 1 8706- 500
20B-51201-H1 BLOWER HOUSING CP 1 -8705 500
20 073-20058-20 LABEL(TRADE MARK) 1 60D 8553- 500
073-20054-70 LABEL(TRADE MARK) 1 60D -8552 500
25 073-20057-60 LABEL(WARNING) 1 - 500
40 011-00600-20 FLANGE BOLT 4 M6X1.0X14DX12L 8706- 500
001-04061-60 FLANGE BOLT 5 M6X1.0X13DX16L -8705 500
61 20B-52704-13 BAFFLE 2(HEAD) CP 1 8604- 500
20B-52704-03 BAFFLE 2(HEAD) 1 8553-8603 500
20B-52702-H1 BAFFLE 2(HEAD) CP 1 -8552 500
62 20B-55001-03 DUCT(CASE) 1 - 500
81 011-00600-10 FLANGE BOLT 2 M6X1.0X14DX8L 8566- 500
011-00601-50 FLANGE BOLT 2 M6X1.0X14DX10L 8555-8565 500
011-00600-20 FLANGE BOLT 2 M6X1.0X14DX12L 8553-8554 500
011-00600-20 FLANGE BOLT 3 M6X1.0X14DX12L -8552 500
82 011-00600-20 FLANGE BOLT 3 M6X1.0X14DX12L - 500
110 20B-54101-H3 COOLING BLOWER 1 - 500
210 20B-50301-20 RECOIL STARTER AY 1 - 500
277-50155-08 SPIRAL SPRING 1 - 500
-2 20B-50120-08 REEL 1 - 500
-3 20B-50110-08 STARTER ROPE 1 - 500
-4 261-50100-18 STARTER KNOB 1 - 500
-5 161-50125-08 RATCHET 2 - 500
-6 227-50131-08 FRICTION SPRING 1 - 500
-7 227-50135-08 RETURN SPRING 2 - 500
-8 161-50150-08 RATCHET GUIDE 1 - 500
-11 20B-50145-08 STARTER PULLEY 1 - 500
-49 20B-50101-08 SET SCREW 1 - 500
220 013-00602-81 BOLT AND WASHER AY 4 M6X1.0X14L W/SW - 500
290 20B-55101-02 RECOIL BRACKET UN 1 - 500
295 010-00804-40 BOLT 1 - 500
296 010-00804-50 BOLT 2 - 500
299 002-38060-00 FLANGE NUT 3 M6X1.0X13DX6H - 500

SGX7500 - 16 - 03-11
FIG. 6 FUEL LUBRICANT GROUP

SGX7500 - 17 - 03-11
Ref. Part Number Description Qty Remarks To-From Fig.
FIG. 6 FUEL LUBRICANT GROUP
185 056-81200-20 CLAMP 1 8706- 600
056-81200-10 CLAMP 1 -8705 600

SGX7500 - 18 - 03-11
FIG. 6 FUEL LUBRICANT GROUP

SGX7500 - 19 - 03-11
Ref. Part Number Description Qty Remarks To-From Fig.
FIG. 6 FUEL LUBRICANT GROUP
210 20B-62302-10 CARBURETOR AY 1 - 640
-1 20B-62535-08 VALVE,THROTTLE 1 - 640
-2 261-62352-08 SCREW,VALVE SET 2 - 640
-3 20B-62526-08 VALVE,CHOKE 1 - 640
-5 20B-62422-08 JET,SLOW 1 #49 - 640
-6 20B-62357-08 NEEDLE CP,IDLEADJUST 1 - 640
-8 20B-62527-18 SHAFT,CHOKE 1 - 640
-11 20B-62530-08 SHAFT AY,THROTTLE 1 - 640
-14 20B-62500-08 VALVE AY FLOAT 1 - 640
-15 263-62515-08 PIN,FLOAT 1 - 640
-16 20B-62550-08 CHAMBER CP,FLOAT 1 - 640
-19 20B-62505-08 FLOAT AY 1 - 640
-22 20B-62403-08 JET,MAIN (#113) 1 - 640
-28 20B-62354-08 SCREW,DRAIN 1 - 640
-40 20B-62353-08 SCREW,THRO.ADJUST 1 - 640
-41 20B-62445-08 SPRING,THR0.ADJUST 1 - 640
-57 20B-62453-08 SCREW 2 - 640
-62 258-62554-08 FILTER(CHOKE SHAFT) 1 - 640
-102 226-62580-08 FILTER,AIR 1 - 640
-158 20B-62542-08 O RING 1 - 640
-165 20B-62541-08 O RING 1 - 640
-166 20B-62540-08 SPACER 1 - 640
-167 20B-62520-08 SPACER 1 - 640

SGX7500 - 20 - 03-11
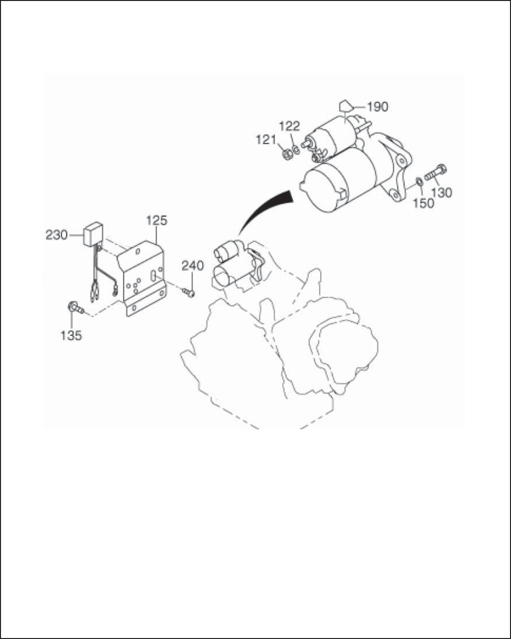
FIG. 7 ELECTRIC GROUP

SGX7500 - 21 - 03-11
Ref. Part Number Description Qty Remarks To-From Fig.
FIG. 7 ELECTRIC GROUP
10 20B-79241-H1 FLYWHEEL CP 1 - 700
11 20B-79430-H1 IGNITION COIL CP 1 - 700
12 20B-79301-H1 CHARGE COIL CP 1 - 700
20 20B-71002-03 RING GEAR 1 - 700
30 001-14063-00 BOLT AND WASHER AY 2 M6X1.0X30L W/W,SW - 700
35 004-35062-00 SCREW AND WASHER AY 2 M6X1.0X20L W/SW - 700
50 20B-73101-01 WIRE 1 CP 1 - 700
75 214-79006-01 CLAMP CP 1 5DXM6X12BX0.4T - 700
78 011-00600-10 FLANGE BOLT 1 M6X1.0X14DX8L - 700
100 065-01401-50 SPARK PLUG 1 NGK BR6HS - 700
110 065-50003-11 SPARK PLUG CAP 1 - 700
370 20B-73102-01 WIRE 2 CP 1 - 700
121 002-17080-00 NUT 1 M8X1.25X6.5H - 700
122 003-20080-00 SPRING WASHER 1 8.2DX15.4DX2T - 700
125 20B-76511-01 BRACKET(SEL) CP 1 - 700
130 214-79007-01 BOLT CP,STARTER 2 M8X1.25X30L - 700
135 011-00600-20 FLANGE BOLT 3 M6X1.0X14DX12L - 700
150 003-10080-00 WASHER 2 8.5DX16DX1.2T - 700
190 073-20044-80 LABEL(BATTERY) 1 - 700
230 277-71401-01 DIODE RECTIFIER CP 1 - 700
240 004-35061-00 SCREW AND WASHER AY 1 M6X1.0X10L W/SW - 700

SGX7500 - 22 - 03-11
FIG. 7 ELECTRIC GROUP

SGX7500 - 23 - 03-11
Ref. Part Number Description Qty Remarks To-From Fig.
FIG. 7 ELECTRIC GROUP
121 002-17080-00 NUT 1 M8X1.25X6.5H - 720
122 003-20080-00 SPRING WASHER 1 8.2DX15.4DX2T - 720
125 20B-76511-01 BRACKET(SEL) CP 1 - 720
130 214-79007-01 BOLT CP,STARTER 2 M8X1.25X30L - 720
135 011-00600-20 FLANGE BOLT 3 M6X1.0X14DX12L - 720
150 003-10080-00 WASHER 2 8.5DX16DX1.2T - 720
190 073-20044-80 LABEL(BATTERY) 1 - 720
230 277-71401-01 DIODE RECTIFIER CP 1 - 720
240 004-35061-00 SCREW AND WASHER AY 1 M6X1.0X10L W/SW - 720

SGX7500 - 24 - 03-11
FIG. 7 ELECTRIC GROUP

SGX7500 - 25 - 03-11
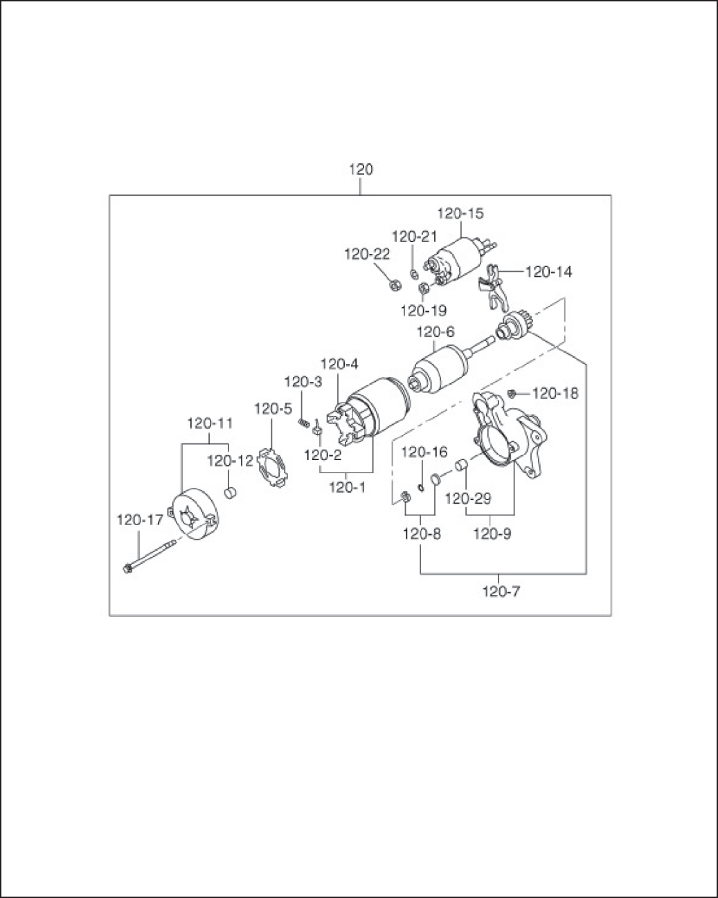
Ref. Part Number Description Qty Remarks To-From Fig.
FIG. 7 ELECTRIC GROUP
120 279-70502-00 STARTING MOTOR AY 1 - 730
209-70550-08 YOKE CP 1 - 730
-2 209-70551-08 BRUSH 4 - 730
-3 209-70545-08 BRUSH SPRING 4 - 730
-4 209-70530-08 BRUSH HOLDER 1 - 730
-5 209-70552-08 INSULATOR 1 - 730
-6 209-70554-08 ARMATURE AY 1 - 730
-7 209-70521-08 OVER RUNNING CLUT CP 1 - 730
-8 234-70555-08 PINION STOPPER 1 - 730
-9 279-70550-08 HOUSING CP 1 - 730
-11 209-70505-18 FRAME CP 1 - 730
-12 209-70510-08 BUSH 1 - 730
-14 209-70525-08 LEVER 1 - 730
-15 279-70515-18 MAGNET SWITCH CP 1 - 730
-16 209-70557-18 SNAP RING 1 - 730
-17 209-70558-08 THROUGH BOLT 2 - 730
-18 949-29970-02 NUT 2 - 730
-19 209-70560-08 NUT 1 - 730
-21 107-70652-08 SPRING WASHER 1 - 730
-22 211-70584-08 NUT 1 - 730
-29 209-70511-08 BUSH 1 - 730

SGX7500 - 26 - 03-11
FIG. 7 ELECTRIC GROUP

SGX7500 - 27 - 03-11
Ref. Part Number Description Qty Remarks To-From Fig.
FIG. 7 ELECTRIC GROUP
700 279-76301-51 OIL SENSOR CP 1 - 770
705 KU3-11076-01 FLOAT C/U CP10 1 - 770
733 277-75801-03 SHIELD PLATE(O/S) 1 - 770
740 001-04061-40 FLANGE BOLT 2 M6X1.0X13DX14L - 770
741 015-00400-90 TAPPING SCREW 2 M4X12L - 770
770 20B-75501-03 WIRE CLAMP 1 - 770
771 056-60002-50 CLAMP 1 6.5DX10BX95LX0.6T - 770
775 015-20600-50 TAPPING BOLT 1 M6X13DX10L - 770
776 011-00600-10 FLANGE BOLT 1 M6X1.0X14DX8L - 770

SGX7500 - 28 - 03-11
FIG. 22 GROUP

SGX7500 - 29 - 03-11
Ref. Part Number Description Qty Remarks To-From Fig.
FIG. 22 GROUP
1 RGR40020004 ENGINE ADAPTOR 1 - 2200
2 RGR40030002 ROTOR ASSY 1 - 2200
3 RGR40030003 STATOR ASSY 1 - 2200
4 RGR325491002 NUT HEX FLANGE 2 - 2200
5 RGRGB5782B52 BOLT HEX 2 - 2200
6 RGR40010005 BEARING ADAPTOR 1 - 2200
7 RGRGB16674BF63 BOLT HEX FLANGE 4 - 2200
8 RGR40030005 AVR 1 - 2200
9 RGRGB5789BF516 BOLT HEX FLANGE 5 - 2200
10 RGRGBT971W10 WASHER FLAT 1 - 2200
11 RGRGB93WL10 WASHER LOCK 1 - 2200
12 RGR40030004 BOLT HEX 1 - 2200
13 RGR40010009 WIRING BOARD ASSY 1 - 2200
14 RGR40010006 MOTOR COVER 1 - 2200
15 RGRGB5789BF58 BOLT HEX FLANGE 3 - 2200
16 RGR40010007 BRUSH 1 - 2200
17 RGRGB5789BF520 BOLT HEX FLANGE 4 - 2200
18 RGRGB93WL5 WASHER LOCK 8 - 2200
19 RGRGBT971W5 WASHER FLAT 12 - 2200
20 RGRGB6170N5 NUT HEX 8 - 2200
21 RGRGB8622WS5 WASHER STAR 1 - 2200
22 RGR5001008 RUBBER SLEEVE 1 - 2200
23 RGR660596002 BOLT HEX FLANGE 4 - 2200

SGX7500 - 30 - 03-11
FIG. 23 GROUP

SGX7500 - 31 - 03-11
Ref. Part Number Description Qty Remarks To-From Fig.
FIG. 23 GROUP
1 RGR30030001 CARRIER ASSY 1 - 2300
2 RGR325491002 NUT HEX FLANGE 4 - 2300
3 RGRGB166741BF5 BOLT HEX FLANGE 4 - 2300
4 RGR30020014 HEATSHIELD 1 - 2300
5 RGRGB158564SF4 TAPPING SCREW 2 - 2300
6 RGR310223001 WHEEL 2 - 2300
7 RGR638498001 SPACER 2 - 2300
8 RGRGBT971W10 WASHER FLAT 2 - 2300
9 RGR661558002 BOLT HH 2 - 2300
10 RGR678659001 NUT LOCK 2 - 2300
11 RGR678259003 NUT LOCK 4 - 2300
12 RGRGBT971W8 WASHER FLAT 10 - 2300
13 RGR80010012 PLASTIC FOOT 2 - 2300
14 RGR570355001 RUBBER FOOT 2 - 2300
15 RGR0501620115 BOLT HEX 2 - 2300
16 RGR661502005 BOLT HEX 1 - 2300
17 RGR290404001 ASSY WIRE GROUND 1 - 2300
18 RGRGB8622WS8 WASHER STAR 2 - 2300
19 RGR678145002 BOLT HEX 5 - 2300
20 RGR30020015 NUT HEX 4 - 2300
21 RGRGB93WL8 WASHER LOCK 4 - 2300
22 RGR30020007 ISOLATOR GENERATOR 4 - 2300
23 RGR30030011 MUFFLER ASSY 1 - 2300
24 RGR661306001 TAPPING SCREW 4 - 2300
25 RGR30010011 SPARK ARRESTOR 1 - 2300
26 RGR310224002 HANDLE ASSY 2 - 2300
27 RGR80010014 WASHER NYLON 2 - 2300
28 RGR660591004 BOLT HEX 2 - 2300
29 RGR660599002 BOLT HEX FLANGE 2 - 2300
30 RGR310712001 RELEASE PIN 2 - 2300
31 RGR310715001 LANYARD 2 - 2300
32 RGR7001002 GASKET 1 - 2300
33 RGR75040001 BATTERY 1 - 2300
34 RGR678714006 BRACKET 1 - 2300
35 RGR290419001 BATTERY CABLE 1 - 2300
36 RGR290418001 BATTERY CABLE 1 - 2300
37 RGR30030012 SWITCH 1 - 2300
-1 RGR1036350001 KEY 1 - 2300
38 227-77002-00 LED LAMP AY 1 - 2300
39 RGR570630002 GASKET 1 - 2300
40 RGRGBT95W5 WASHER FLAT 2 - 2300
41 RGRGBT292B5 BOLT 2 - 2300
42 RGRGBT61771 NUT HEX FLANGE 2 - 2300
43 RGRGB5789BF616 BOLT HEX FLANGE 1 - 2300

SGX7500 - 32 - 03-11
FIG. 24 GROUP

SGX7500 - 33 - 03-11
Ref. Part Number Description Qty Remarks To-From Fig.
FIG. 24 GROUP
1 RGRGBT818S3 SCREW 4 - 2400
2 RGRGBT971W3 WASHER FLAT 4 - 2400
3 RGRGB93WL3 WASHER LOCK 4 - 2400
4 RGR678810002 NUT HEX 2 - 2400
5 RGRGBT971W6 WASHER FLAT 1 - 2400
6 RGRGBT818S4 SCREW 10 - 2400
7 RGR50020004 FRONT PANEL 1 - 2400
8 RGR50010016 HOUR METER 1 - 2400
9 RGRGB6170N4 NUT HEX 2 - 2400
10 RGRGB8622WS6 WASHER STAR 1 - 2400
11 RGR661503011 BOLT HEX 1 - 2400
12 RGR1010350001 WIRE ASSY 1 - 2400
13 RGR50030004 PANEL WIRE ASSY 1 - 2400
14 RGR50010017 NUT HEX FLANGE 8 - 2400
15 RGR50010013 RECEPTACLE 1 - 2400
16 RGR50030003 CIRCUIT BREAKER 1 - 2400
17 RGR50010014 RECEPTACLE 1 - 2400
18 RGR50010012 RECEPTACLE GFCI 2 - 2400
19 RGR50030002 FR.CONTROL BOX ASSY 1 - 2400
20 RGR660598001 TAPPING SCREW 6 - 2400
21 RGR50020003 BA.CONTROL BOX 1 - 2400
22 RGR50010018 WIRE PROTECT SLEEVE 1 - 2400
23 RGR50010019 CORRUGATED PIPE 1 - 2400
24 RGR70030001 LABEL POWER-OUTLET 1 - 2400
25 RGR50030005 CIRCUIT BREAKER 2 - 2400

SGX7500 - 34 - 03-11
FIG. 26 GROUP

SGX7500 - 35 - 03-11
Ref. Part Number Description Qty Remarks To-From Fig.
FIG. 26 GROUP
1 RGR60010007 MOUNTING BUSHING 4 - 2600
2 RGR60010008 METAL INSERT 4 - 2600
3 RGR60030002 FUEL TANK 1 - 2600
4 RGR1014750001 FUEL GAUGE ASSY 1 - 2600
5 RGRGBT8191S5 SCREW 2 - 2600
6 RGR60010003 FUEL TANK CAP 1 - 2600
7 RGR60010004 FUEL VALVE 1 - 2600
8 RGR60010009 CLAMP 1 - 2600
9 RGR1005750001 FUEL HOSE 1 - 2600
10 RGR60010006 CLAMP 1 - 2600
11 RGR1009350001 FUEL TANK SCREEN 1 - 2600
12 RGR661503005 BOLT HEX 4 - 2600
13 RGRGBT971W6 WASHER FLAT 4 - 2600
14 RGR678656001 NUT LOCK 4 - 2600

SGX7500 - 36 - 03-11
FIG. 29 GROUP

SGX7500 - 37 - 03-11
Ref. Part Number Description Qty Remarks To-From Fig.
FIG. 29 GROUP
1 RGR1011750004 LABEL LOGO SGX7500 1 - 2900
2 RGR940515016 LABEL CPSC 3 - 2900
3 RGAR1011A350007 LABEL FUEL GAUGE 1 - 2900
4 RGR1011350003 LABEL FUEL STRAINER 1 - 2900
5 RGR1011750001 LABEL SPEC 1 - 2900
6 RGR1011350004 LABEL WARNING 1 - 2900
7 RGR1011350001 LABEL WARNING 1 - 2900

PRINTED IN THE USA
Robin America, Inc
905 TFMTFS3PBEt-BLF;VSJDI*- 60047
1IPOFt'BY
FNBJMTBMFT!SPCJOBNFSJDBDPNtXXXTVCBSVQPXFS.com