Super Micro Computer X8Sil F Users Manual
X8SIL-V to the manual 7a40ad7a-f532-494c-a424-6efb7ce3e439
2015-02-02
: Super-Micro-Computer Super-Micro-Computer-Super-X8Sil-F-Users-Manual-448770 super-micro-computer-super-x8sil-f-users-manual-448770 super-micro-computer pdf
Open the PDF directly: View PDF
.
Page Count: 102 [warning: Documents this large are best viewed by clicking the View PDF Link!]

USER’S MANUAL
Revision 1.2a
X8SIL-F
X8SIL
X8SIL-V

Manual Revision 1.2a
Release Date: August 30, 2013
Unless you request and receive written permission from Super Micro Computer, Inc., you may not
copy any part of this document.
Information in this document is subject to change without notice. Other products and companies
referred to herein are trademarks or registered trademarks of their respective companies or mark
holders.
Copyright © 2013 by Super Micro Computer, Inc.
All rights reserved.
Printed in the United States of America
The information in this User’s Manual has been carefully reviewed and is believed to be accurate.
The vendor assumes no responsibility for any inaccuracies that may be contained in this document,
makes no commitment to update or to keep current the information in this manual, or to notify any
person or organization of the updates. Please Note: For the most up-to-date version of this
manual, please see our web site at www.supermicro.com.
Super Micro Computer, Inc. ("Supermicro") reserves the right to make changes to the product
described in this manual at any time and without notice. This product, including software and docu-
mentation, is the property of Supermicro and/or its licensors, and is supplied only under a license.
Any use or reproduction of this product is not allowed, except as expressly permitted by the terms
of said license.
IN NO EVENT WILL SUPER MICRO COMPUTER, INC. BE LIABLE FOR DIRECT, INDIRECT,
SPECIAL, INCIDENTAL, SPECULATIVE OR CONSEQUENTIAL DAMAGES ARISING FROM THE
USE OR INABILITY TO USE THIS PRODUCT OR DOCUMENTATION, EVEN IF ADVISED OF
THE POSSIBILITY OF SUCH DAMAGES. IN PARTICULAR, SUPER MICRO COMPUTER, INC.
SHALL NOT HAVE LIABILITY FOR ANY HARDWARE, SOFTWARE, OR DATA STORED OR USED
WITH THE PRODUCT, INCLUDING THE COSTS OF REPAIRING, REPLACING, INTEGRATING,
INSTALLING OR RECOVERING SUCH HARDWARE, SOFTWARE, OR DATA.
Any disputes arising between manufacturer and customer shall be governed by the laws of Santa
Clara County in the State of California, USA. The State of California, County of Santa Clara shall
be the exclusive venue for the resolution of any such disputes. Supermicro's total liability for all
claims will not exceed the price paid for the hardware product.
FCC Statement: This equipment has been tested and found to comply with the limits for a Class
A digital device pursuant to Part 15 of the FCC Rules. These limits are designed to provide
reasonable protection against harmful interference when the equipment is operated in a commercial
environment. This equipment generates, uses, and can radiate radio frequency energy and, if not
installed and used in accordance with the manufacturer’s instruction manual, may cause harmful
interference with radio communications. Operation of this equipment in a residential area is likely
to cause harmful interference, in which case you will be required to correct the interference at your
own expense.
California Best Management Practices Regulations for Perchlorate Materials: This Perchlorate
warning applies only to products containing CR (Manganese Dioxide) Lithium coin cells. “Perchlorate
Material-special handling may apply. See www.dtsc.ca.gov/hazardouswaste/perchlorate”.
WARNING: Handling of lead solder materials used in this
product may expose you to lead, a chemical known to
the State of California to cause birth defects and other
reproductive harm.

Preface
This manual is written for system integrators, PC technicians and
knowledgeable PC users. It provides information for the installation and use of the
X8SIL/X8SIL-F/X8SIL-V motherboard.
About This Motherboard
The X8SIL/X8SIL-F/X8SIL-V supports the Intel® Xeon® 3400 series pro-
cessors in an LGA 1156 socket. With the Intel 3400/3420 chipset built-in, the X8SIL/
X8SIL-F/X8SIL-V offers substantial enhancements in price/system performance
ratio in a cost-effective, small form-factor package. Please refer to our web site
(http://www.supermicro.com/products/) for updates on supported processors. This
product is intended to be installed and serviced by professional technicians.
Manual Organization
Chapter 1 describes the features, specications and performance of the mother-
board and provides detailed information about the chipset.
Chapter 2 provides hardware installation instructions. Read this chapter when in-
stalling the processor, memory modules and other hardware components into the
system. If you encounter any problems, see Chapter 3, which describes trouble-
shooting procedures for video, memory and system setup stored in the CMOS.
Chapter 4 includes an introduction to the BIOS and provides detailed information
on running the CMOS Setup utility.
Appendix A provides BIOS Error Beep Codes.
Appendix B lists Other Software Program Installation Instructions.
Appendix C contains the BIOS Recovery Instructions.
Preface
iii
Conventions Used in the Manual:
Special attention should be given to the following symbols for proper installation and
to prevent damage done to the components or injury to yourself:
Danger/Caution: Instructions to be strictly followed to prevent catastrophic
system failure or to avoid bodily injury
Warning: Important information given to ensure proper system installation
or to prevent damage to the components
Note: Additional Information given to differentiate various models or pro-
vides information for correct system setup.

Contacting Supermicro
v
Contacting Supermicro
Headquarters
Address: Super Micro Computer, Inc.
980 Rock Ave.
San Jose, CA 95131 U.S.A.
Tel: +1 (408) 503-8000
Fax: +1 (408) 503-8008
Email: marketing@supermicro.com (General Information)
support@supermicro.com (Technical Support)
Web Site: www.supermicro.com
Europe
Address: Super Micro Computer B.V.
Het Sterrenbeeld 28, 5215 ML
's-Hertogenbosch, The Netherlands
Tel: +31 (0) 73-6400390
Fax: +31 (0) 73-6416525
Email: sales@supermicro.nl (General Information)
support@supermicro.nl (Technical Support)
rma@supermicro.nl (Customer Support)
Asia-Pacic
Address: Super Micro Computer, Inc.
3F, No. 150, Jian 1st Rd.
Zhonghe Dist., New Taipei City 23511
Taiwan (R.O.C)
Tel: +886-(2) 8226-3990
Fax: +886-(2) 8226-3992
Web Site: www.supermicro.com.tw
Technical Support:
Email: support@supermicro.com.tw
Tel: +886-(2)-8226-3990

vi
X8SIL/X8SIL-F/X8SIL-V User’s Manual
Table of Contents
Preface
Chapter 1 Introduction
1-1 Overview ......................................................................................................... 1-1
1-2 Chipset Overview ......................................................................................... 1-10
1-3 PC Health Monitoring .....................................................................................1-11
1-4 Power Conguration Settings.........................................................................1-11
1-5 Power Supply ................................................................................................ 1-12
1-6 Super I/O ....................................................................................................... 1-13
1-7 iSCSI Support ............................................................................................... 1-13
1-8 Overview of the Nuvoton BMC Controller ..................................................... 1-14
Chapter 2 Installation
2-1 Static-Sensitive Devices .................................................................................. 2-1
Precautions ..................................................................................................... 2-1
Unpacking ....................................................................................................... 2-1
2-2 Processor and Heatsink Installation................................................................ 2-2
Installing the LGA1156 Processor ................................................................... 2-2
Installing a Passive CPU Heatsink ................................................................. 2-5
Removing the Heatsink ................................................................................... 2-6
Installing an Active Fan CPU Heatsink ........................................................... 2-7
2-3 Installing DDR3 Memory ............................................................................... 2-10
DIMM Installation .......................................................................................... 2-10
Memory Support ............................................................................................ 2-10
Memory Population Guidelines ......................................................................2-11
Installing and Removing DIMMs ................................................................... 2-12
Tools Needed ................................................................................................ 2-14
Location of Mounting Holes .......................................................................... 2-14
2-4 Motherboard Installation ................................................................................ 2-14
Installation Instructions .................................................................................. 2-15
2-5 Connectors/IO Ports ...................................................................................... 2-16
Back Panel Connectors and IO Ports ........................................................... 2-16
ATX PS/2 Keyboard and PS/2 Mouse Ports ............................................ 2-17
Universal Serial Bus (USB) ...................................................................... 2-18
Ethernet Ports .......................................................................................... 2-19
Serial Ports ............................................................................................... 2-20
Video Connector ....................................................................................... 2-21
Front Control Panel ....................................................................................... 2-22

vii
Table of Contents
Front Control Panel Pin Denitions............................................................... 2-23
Power LED .............................................................................................. 2-23
HDD LED .................................................................................................. 2-23
NIC1/NIC2 (LAN1/LAN2) .......................................................................... 2-24
Overheat (OH)/Fan Fail ............................................................................ 2-24
Reset Button ........................................................................................... 2-25
Power Button ........................................................................................... 2-25
2-6 Connecting Cables ........................................................................................ 2-26
ATX Main PWR & CPU PWR Connectors .............................................. 2-26
Fan Headers ............................................................................................. 2-27
Chassis Intrusion ..................................................................................... 2-27
Internal Buzzer ......................................................................................... 2-28
Speaker .................................................................................................... 2-28
TPM Header ............................................................................................. 2-28
Onboard Power LED ................................................................................ 2-29
Power Supply I2C Connector.................................................................... 2-29
DOM PWR Connector .............................................................................. 2-29
T-SGPIO 0/1 Headers .............................................................................. 2-30
2-7 Jumper Settings ............................................................................................ 2-31
Explanation of Jumpers ................................................................................ 2-31
LAN Port Enable/Disable ......................................................................... 2-31
CMOS Clear ............................................................................................. 2-32
PCI Slot SMB Enable ............................................................................... 2-32
VGA Enable .............................................................................................. 2-33
Energy Saving Enable .............................................................................. 2-33
USB Wake-Up ......................................................................................... 2-34
BMC Enable ............................................................................................. 2-34
2-8 Onboard Indicators ........................................................................................ 2-35
LAN 1/LAN 2 LEDs .................................................................................. 2-35
IPMI Dedicated LAN LEDs ..................................................................... 2-35
Onboard Power LED ............................................................................................................ 2-36
IPMI Heartbeat LED (X8SIL-F Only) ........................................................ 2-36
Unsupported Memory LED ....................................................................... 2-36
2-9 SATA and Floppy Drive Connections ............................................................ 2-37
SATA Connections .................................................................................... 2-37
Floppy Connector ..................................................................................... 2-38
Chapter 3 Troubleshooting
3-1 Troubleshooting Procedures ........................................................................... 3-1
3-2 Technical Support Procedures ........................................................................ 3-2

X8SIL/X8SIL-F/X8SIL-V User’s Manual
viii
3-3 Frequently Asked Questions ........................................................................... 3-3
3-4 Battery Removal and Installation .................................................................... 3-6
3-5 Returning Merchandise for Service................................................................. 3-7
Chapter 4 BIOS
4-1 Introduction ...................................................................................................... 4-1
4-2 Main Setup ...................................................................................................... 4-2
4-3 Advanced Setup Congurations...................................................................... 4-4
4-4 Security Settings ........................................................................................... 4-22
4-5 Boot Settings ................................................................................................ 4-23
4-6 Exit Options ................................................................................................... 4-24
Appendix A POST Error Beep Codes
Recoverable POST Error Beep Codes ......................................................................A-1
Appendix B Software Installation Instructions
B-1 Installing Drivers ..............................................................................................B-1
B-2 Conguring SuperDoctor® III .......................................................................... B-2
Appendix C BIOS Recovery
C-1 Recovery Process from a USB Device/Drive (Recommended Method) .............C-1
C-2 Recovery Process from an IDE/SATA ATAPI Disc Drive ....................................C-2

Chapter 1: Introduction
1-1
Chapter 1
Introduction
1-1 Overview
Checklist
Congratulations on purchasing your computer motherboard from an acknowledged
leader in the industry. Supermicro boards are designed with the utmost attention to
detail to provide you with the highest standards in quality and performance.
Please check that the following items have all been included with your motherboard.
If anything listed here is damaged or missing, contact your retailer.
The following items are included in the retail box.
•One (1) Supermicro Mainboard
•Six (6) SATA cables (CBL-0044L)
•One (1) oppy drive ribbon cable (CBL-022L)
•One (1) I/O shield (MCP-260-00027-ON)
•One (1) Supermicro CD containing drivers and utilities (CDR-X8-UP)
•One (1) User's Manual (MNL-1130)

1-2
X8SIL/X8SIL-F/X8SIL-V User’s Manual
Motherboard Image (X8SIL-F Shown)
Note: All graphics shown in this manual were based upon the latest PCB
Revision available at the time of publishing of the manual. The motherboard
you've received may or may not look exactly the same as the graphics
shown in this manual.

Chapter 1: Introduction
1-3
Motherboard Layout
Important Notes to the User
•See Chapter 2 for detailed information on jumpers, I/O ports and JF1 front
panel connections.
•" " indicates the location of "Pin 1".
•Jumpers not indicated are for testing only.
•When LE2 (Onboard Power LED Indicator) is on, system power is on. Unplug
the power cable before installing or removing any components.
MAC CODE
JPI2C
JF1
JPW1
U26
J8 J6
J5
J14
1
J13
U61
T-SGPIO1 T-SGPIO2
J24
JLAN2 JLAN1
SPKR1
JBT1
JI2C1 1
JI2C2 1
LE4
LE2
LE3
LE7
1
JPB
JLED1 1
1
JPUSB1
1
JPL1
1
JPL2
JPG1
JD1 1
FAN2 FAN1
FAN5
1
FAN4
FAN3
J16
PCI1
U2
BAR CODE
1-2:ENABLE
2-3:DISABLE
JPL2:LAN2 JPL1:LAN1
2-3:DISABLE
1-2:ENABLE
JPB:BMC
JPI2C:PWR I2C
JD1:Buzzer/Speaker
COM2
FLOPPY
DDR3 1066/1333 UDIMM/RDIMM required
VGA
COM1
USB4
JBT1:CMOS CLEAR
SLOT7 PCI-E X8 GEN2
JPT1:TPM
JL1
LAN1
JPUSB1:B/P USB WAKE UP
1-2:ENABLE
2-3:DISABLE
DIMM2B DIMM2A
USB 10/11
JI2C1/JI2C2
USB2/3
SLOT6 PCI-E X8 GEN2
2-3:Disable
1-2:Enable
CPU
JLED1:Power LED
OFF:Disable
ON:Enable
2-3:Disable
1-2:Enable
REV:1.00
X8SIL
DESIGNED IN USA
2-3:DISABLE
1-2:ENABLE
:CHASSIS INTRUSION
ON LEDLED
PWRHDD
NIC1
NIC2
OH/FFXRST
PWR
I-SATA3
I-SATA4 I-SATA2
I-SATA1
I-SATA0
I-SATA5
SLOT5 PCI-E X4 on X8
SLOT4 PCI 33MHZ
KB/MOUSE
DIMM1B
JPG1: VGA
DIMM1A
JTPM
JL1
DOM PWR
JPES
1

1-4
X8SIL/X8SIL-F/X8SIL-V User’s Manual
X8SIL/X8SIL-F/X8SIL-V Quick Reference
1
1
X8SIL/X8SIL-F/X8SIL-V Jumpers
Number Jumper Description Default
38 JPUSB1 BP USB0/1 Wake-up Pins 1-2 (Enabled)
42 JBT1 CMOS Clear (See Chpt. 2)
40 JPES Energy Saving Feature Pins 2-3 (Disabled)
13,14 JI2C1/JI2C2 SMB to PCI Slots (See Chpt. 2)
17 JPG1 Onboard VGA Enable Pins 1-2 (Enabled)
11,12 JPL1/JPL2 LAN1/LAN2 Enable Pins 1-2 (Enabled)
10 JPB BMC Enable Pins 1-2 (Enabled)
MAC CODE
JPI2C
JF1
JPW1
U26
J8 J6
J5
J14
1
J13
U61
T-SGPIO1 T-SGPIO2
J24
JLAN2 JLAN1
SPKR1
JBT1
JI2C1 1
JI2C2 1
LE4
LE2
LE3
LE7
1
JPB
JLED1 1
1
JPUSB1
1
JPL1
1
JPL2
JPG1
JD1 1
FAN2 FAN1
FAN5
1
FAN4
FAN3
J16
PCI1
U2
BAR CODE
1-2:ENABLE
2-3:DISABLE
JPL2:LAN2 JPL1:LAN1
2-3:DISABLE
1-2:ENABLE
JPB:BMC
JPI2C:PWR I2C
JD1:Buzzer/Speaker
COM2
FLOPPY
DDR3 1066/1333 UDIMM/RDIMM required
VGA
COM1
USB4
JBT1:CMOS CLEAR
SLOT7 PCI-E X8 GEN2
JPT1:TPM
JL1
LAN1
JPUSB1:B/P USB WAKE UP
1-2:ENABLE
2-3:DISABLE
DIMM2B DIMM2A
USB 10/11
JI2C1/JI2C2
USB2/3
SLOT6 PCI-E X8 GEN2
2-3:Disable
1-2:Enable
CPU
JLED1:Power LED
OFF:Disable
ON:Enable
2-3:Disable
1-2:Enable
REV:1.00
X8SIL
DESIGNED IN USA
2-3:DISABLE
1-2:ENABLE
:CHASSIS INTRUSION
ON LEDLED
PWRHDD
NIC1
NIC2
OH/FFXRST
PWR
I-SATA3
I-SATA4 I-SATA2
I-SATA1
I-SATA0
I-SATA5
SLOT5 PCI-E X4 on X8
SLOT4 PCI 33MHZ
KB/MOUSE
DIMM1B
JPG1: VGA
DIMM1A
JTPM
JL1
DOM PWR
JPES
1
1
2
1
3
1
4
1
7
1
8
1
9
1
10
1
12
1
13
1
14
1
15
1
16 1
17 1
18 1
19 1
20 1
22
1
21
1
23
1
25
1
26
1
27
1
28
1
29
1
30
1
31
1
32
1
33
1
34
1
35
1
36
1
37
1
38
1
6
1
11
1
39
1
40
1
41
1
42
1
43

Chapter 1: Introduction
1-5
X8SIL/X8SIL-F/X8SIL-V LED Indicators
Number LED Description Color/State Status
43 LE3 Unsupported Memory Installed
Indicator Yellow: Blinking Unsupported
Memory Installed
26 LE4 Onboard Standby PWR LED Green: Solid on PWR On
15 LE7 IPMI Heartbeat LED (X8SIL-F Only) Green: Blinking IPMI: Normal
X8SIL/X8SIL-F/X8SIL-V Headers/Connectors
Number Connector Description
4,16 COM1/COM2 COM1/2 Serial connection headers
33,32,27,23,7 Fans 1~5 System/CPU fan headers
34 Floppy Floppy Disk Drive connector
30 JD1 Speaker header (Pins 3/4: Internal, 1~4:External)
28 JF1 Front Panel Control header
41 JL1 Chassis Intrusion header
29 JLED Power LED Indicator header
37 JPW1 24-pin ATX main power connector (required)
36 JPW2 +12V 8-pin CPU power connector (required)
1KB/Mouse Keyboard/mouse connectors
8,9 LAN1~LAN2, Gigabit Ethernet (RJ45) ports (LAN1/LAN2)
21 I-SATA 0~5 Serial ATA ports (X8SIL has 4 Serial ATA Ports)
2IPMI LAN IPMI LAN Port (X8SIL-F Only)
35 JPI2C PWR supply (I2C) System Management Bus
31 SPKR1 Internal speaker/buzzer
25 T-SGPIO-0/1 Serial General Purpose IO headers (for SATA)
3,20 USB0/1, USB 2/3 Backpanel USB 0/1, Front panel accessible USB 2/3
19 USB 4 Type A USB Connector
18 USB 10/11 Front Panel USB header (X8SIL-F/X8SIL-V Only)
22 DOM PWR Disk-On-Module (DOM) Power Connector
39 JTPM Trusted Platform Module (TPM) Header
6VGA Onboard Video Port

1-6
X8SIL/X8SIL-F/X8SIL-V User’s Manual
Motherboard Features
CPU Single Intel® Xeon® 3400 series processor in an LGA1156
socket.
Memory Four (4) 240-pin, DDR3 SDRAM DIMM sockets with sup-
port for up to 16GB of UDIMM or up to 32GB of RDIMM
memory (ECC/DDR3 1333/1066/800 MHz memory only.)
Supports dual-channel memory bus
DIMM sizes
UDIMM 1 GB, 2 GB, and 4GB
RDIMM 1 GB, 2GB, 4GB, and 8GB
Chipset Intel® 3420 Chipset (X8SIL-F/X8SIL-V)
Intel® 3400 Chipset (X8SIL)
Expansion Slots Two (2) PCI Express 2.0 (x8) slot
One (1) PCI Express x4 (x8) slot
One (1) 32-bit PCI 33MHz slot (5.0V on board revision 1.01
and below, 3.3V on board revision 1.02 and above)
Integrated Graphics Matrox® G200eW
Network Connections Two Intel 82574L Gigabit (10/100/1000 Mb/s) Ethernet
Controllers for LAN 1 and LAN 2 ports.
Two (2) RJ-45 Rear IO Panel Connectors with Link and
Activity LEDs
Single Realtek RTL8201N PHY to support IPMI 2.0
(X8SIL-F Only)
I/O Devices SATA Connections (X8SIL-F/X8SIL-V Only)
SATA Ports Six (6)
RAID (Windows) RAID 0, 1, 5, 10
RAID (Linux) RAID 0, 1, 10
SATA Connections (X8SIL Only)
SATA Ports Four (4)
Integrated IPMI 2.0 (X8SIL-F Only)
IPMI 2.0 supported by the WPCM450 Server BMC
Floppy Disk Drive
One (1) oppy drive interface (up to 1.44 MB)
USB Devices (X8SIL Only)
Two (2) USB ports on the rear IO panel
Two (2) USB header connectors for front access
One (1) Type A internal connector

Chapter 1: Introduction
1-7
I/O Devices
(Continued)
USB Devices (X8SIL-F/X8SIL-V Only)
Two (2) USB ports on the rear IO panel
Four (4) USB header connectors for front access
One (1) Type A internal connector
Keyboard/Mouse
PS/2 Keyboard/Mouse ports on the I/O backpanel
Serial (COM) Ports
Two (2) Fast UART 16550 Connections: one 9-pin RS-232
port and one header
Super I/O
Winbond Super I/O 83627DHG-P
BIOS 32 Mb SPI AMI BIOS® SM Flash BIOS
DMI 2.3, PCI 2.3, ACPI 1.0/2.0/3.0, USB Keyboard and
SMBIOS 2.5
Power Conguration ACPI/ACPM Power Management
Main switch override mechanism
Keyboard Wake-up from Soft-Off
Internal/External moder ring-on
Power-on mode for AC power recovery
PC Health Monitoring CPU Monitoring
Onboard voltage monitors for CPU core, +3.3V, +5V, +/-
12V, +3.3V Stdby, VBAT, Memory, VCORE for CPU
CPU 3-Phase switching voltage regulator
CPU/System overheat LED and control
CPU Thermal Trip support
Thermal Monitor 2 (TM2) support
Fan Control
Fan status monitoring with rmware 4-pin (Pulse Width
Modulation) fan speed control
Low noise fan speed control
System Management PECI (Platform Environment Conguration Interface) 2.0
support
System resource alert via SuperDoctor® III
SuperDoctor® III, Watch Dog
Chassis Intrusion Header and Detection

1-8
X8SIL/X8SIL-F/X8SIL-V User’s Manual
CD Utilities BIOS ash upgrade utility
Drivers and software for Intel® 3400/3420 chipset utilities
Other ROHS 6/6 (Full Compliance, Lead Free)
Dimensions Micro ATX form factor, 9.6" x 9.6"
Note: For IPMI Conguration Instructions, please refer to the Embedded
IPMI Conguration User's Guide available @ http://www.supermicro.com/
support/manuals/.

Chapter 1: Introduction
1-9
X8SIL/X8SIL-F/X8SIL-V System Block Diagram
Note: This is a general block diagram and may not exactly represent
the features on your motherboard. See the Motherboard Features
pages for the actual specications of each motherboard.
5
5
4
4
3
3
2
2
1
1
D D
C C
B B
A A
Title
Size Document Number Rev
Date: Sheet of
S
UPERMICR
980 Rock Ave. San Jose, CA 95131, USA
TEL:408-503-8000
CONFIDENTIAL- DO NOT DUPLICATE
BLOCK DIGRAM 1.01
X8SIL
C
2 36Wednesday, July 29, 2009
Title
Size Document Number Rev
Date: Sheet of
S
UPERMICR
980 Rock Ave. San Jose, CA 95131, USA
TEL:408-503-8000
CONFIDENTIAL- DO NOT DUPLICATE
BLOCK DIGRAM 1.01
X8SIL
C
2 36Wednesday, July 29, 2009
Title
Size Document Number Rev
Date: Sheet of
S
UPERMICR
980 Rock Ave. San Jose, CA 95131, USA
TEL:408-503-8000
CONFIDENTIAL- DO NOT DUPLICATE
BLOCK DIGRAM 1.01
X8SIL
C
2 36Wednesday, July 29, 2009
Clarkdale
IBexPeak
BLOCK DIAGRAM
DDR3 (CHA)
(Lynnfield)
PCIe2.0_x8
JI2C1
I2C bus for PCI Slot
JI2C2
DISABLE
ENABLE
CLOSE CLOSE
Enable
Disable
JPL1
Gb_LAN 1
2-3
JBT1
Normal
Clear
Clear CMOS
3-4
SPEAKER
SPK_HEADER
Internal_Buzzer
External_Speaker
BUZZER/SPEAKER
LE1: STBY Warning LED
OPEN
JPF
CLOSE
DISABLE
ENABLE
PWR_FORCE_ON
OPEN OPEN1-2
PCI-32 AD16 PIRQ E F G H PREQ_0 PCLK3
JPUSB1
B/P USB
Wake-up
VRM 11.1
VID[0-7]
RoHS 6/6
LPC I/O
W83627DHG
1-2
Enable
Disable
2-3
PCIe x8 SLOT
RJ45
RJ45
DDR3 (CHB)
DIMM1(Far)
DIMM2
DIMM1(Far)
DIMM2
4 UDIMM
MISC VRs
1333/1066MHz
1333/1066MHz
5.0Gb
x4 DMI
2.5Gb
PCH
2.5Gbps
PCIe_x4
PCIe x8 SLOT
PCI 32
1 PCI 32 SLOT
4/6 SATA PORTS
SATA-II
300MB/s
5/7 USB PORTS
USB2.0
480Mbps
FLASH
SPI 16Mb
SPI
PCIe_x1
2.5Gbps
GLAN1
82574L
CK505
Rev1.0 CLOCK
COM1,2
P/S2
LPC
HEALTH
INFO
P5-8
P10
P11-14
P12
P4
P15
P20
LPC TPM1.2
P15
P28-29
P9
P23
P21
P21
JPT1
1-3
Enable
Disable
2-4
TPM
LPC
PCIe_x1
2.5Gbps
2-3
Gb_LAN 2
JPL2
Disable
Enable
1-2
Based on customer spec
1-2
2-3
PCIe2.0_x8
PCIe x8 SLOT
5.0Gb
Intel 3400/3420
GLAN2
82574L
RMII
VGA
PORT
RTL8201N
PHY
RJ45
HERMON WPCM450
WINBOND
PCI32
P26-27
P18
P19
P18
P19
P16
P17
P30-32
P33 P34
P33
Hermon AD19 PIRQ H PREQ_3 PCLK0,1
Enable
Disable
JPG1
VGA
2-3
1-2
(HERMON)
Enable
Disable
JPB
BMC
2-3
1-2
Xeon 3400 Series
4 RDIMM
(4 Quad rank
RDIMM run on
800MHz)
Note:
ES1 Lynnfield (A0 stepping Q1XX) can not be used on the board;
ES2 Lynnfield (A1 stepping Q2XX) need to uninstall R52, R53;
QS Lynnfield (B1 stepping Q3XX) or later can be used.
All Clarkdale samples or later can be used.
(option)

1-10
X8SIL/X8SIL-F/X8SIL-V User’s Manual
1-2 Chipset Overview
The X8SIL/X8SIL-F/X8SIL-V supports the Intel® Xeon® 3400 processor series.
Built upon the functionality and the capability of the single-chip Intel 3400 chipset,
the X8SIL/X8SIL-F/X8SIL-V motherboard provides the performance and feature
set required for single-processor-based systems with conguration options opti-
mized for entry-level server platforms.
The high-speed Direct Media Interface (DMI) featured in the Intel 3400/3420 chip-
set enables the X8SIL/X8SIL-F/X8SIL-V motherboard to offer a high-speed Direct
Media Interface (DMI) for chip-to-chip true isochronous communication with the
processor. This feature allows the X8SIL/X8SIL-F/X8SIL-V to achieve up to 10
Gb/s of software-transparent data transfer on each direction, achieving better
performance than comparable systems. The X8SIL/X8SIL-F/X8SIL-V also features
a TCO timer (to enable the system to recover from a software/hardware lock), ECC
Error Reporting, Function Disable and Intruder Detect.
Intel 3400/3420 Chipset Features
•Direct Media Interface (up 10 Gb/s transfer, Full Duplex)
•Intel® Matrix Storage Technology and Intel Rapid Storage Technology
•Dual NAND Interface
•Intel I/O Virtualization (VT-d) Support
•Intel Trusted Execution Technology Support
•PCI Express 2.0 Interface (up to 5.0 GT/s)
•SATA Controller (up to 3G/s)
•Advanced Host Controller Interface (AHCI)

Chapter 1: Introduction
1-11
1-3 PC Health Monitoring
This section describes the PC health monitoring features of the X8SIL/X8SIL-F/
X8SIL-V. These features are supported by an onboard System Hardware Monitor
chip.
Recovery from AC Power Loss
BIOS provides a setting for you to determine how the system will respond when
AC power is lost and then restored to the system. You can choose for the system
to remain powered off (in which case you must hit the power switch to turn it back
on) or for it to automatically return to a power on state. See the Power Lost Control
setting in the BIOS chapter of this manual to change this setting. The default set-
ting is Last State.
Onboard Voltage Monitoring
The onboard voltage monitor will scan the following voltages continuously: CPU
core, +3.3V, +5V, +/-12V, +3.3V Stdby, VBAT, Memory, VCORE for CPU. Once a
voltage becomes unstable, it will give a warning or send an error message to the
screen. Users can adjust the voltage thresholds to dene the sensitivity of the
voltage monitor by using SD III.
Fan Status Monitor with Software
PC health monitoring can check the RPM status of the cooling fans via Supero
Doctor III.
CPU Overheat LED and Control
This feature is available when the user enables the CPU overheat warning feature
in the BIOS. This allows the user to dene an overheat temperature. When this tem-
perature reaches this pre-dened overheat threshold, the CPU thermal trip feature
will be activated and it will send a signal to the buzzer and, at the same time, the
CPU speed will be decreased.
1-4 Power Conguration Settings
This section describes the features of your motherboard that deal with power and
power settings.

1-12
X8SIL/X8SIL-F/X8SIL-V User’s Manual
Slow Blinking LED for Suspend-State Indicator
When the CPU goes into a suspend state, the chassis power LED will start blink-
ing to indicate that the CPU is in the suspend mode. When the user presses any
key, the CPU will wake-up and the LED indicator will automatically stop blinking
and remain on.
BIOS Support for USB Keyboard
If the USB keyboard is the only keyboard in the system, it will function like a normal
keyboard during system boot-up.
Main Switch Override Mechanism
When an ATX power supply is used, the power button can function as a system
suspend button. When the user presses the power button, the system will enter
a SoftOff state. The monitor will be suspended and the hard drive will spin down.
Pressing the power button again to wake-up the whole system. During the SoftOff
state, the ATX power supply provides power the system to keep the required cir-
cuitry "alive". In case the system malfunctions and you want to turn off the power,
just press and hold the power button for 4 seconds. The power will turn off and no
power will be provided to the motherboard.
1-5 Power Supply
As with all computer products, a stable power source is necessary for proper and
reliable operation. It is even more important for processors that have high CPU
clock rates of 1 GHz and faster.
The X8SIL/X8SIL-F/X8SIL-V accommodates ATX12V standard power
supplies. Although most power supplies generally meet the specications required
by the CPU, some are inadequate. A 2-Amp of current supply on a 5V Standby rail
is strongly recommended.
It is strongly recommended that you use a high quality power supply that meets
ATX12V standard power supply Specication 1.1 or above. It is also required that
the 12V 8-pin power connection (JPW2) be used for adequate power supply. In
areas where noisy power transmission is present, you may choose to install a line
lter to shield the computer from noise. It is recommended that you also install a
power surge protector to help avoid problems caused by power surges.

Chapter 1: Introduction
1-13
1-6 Super I/O
The disk drive adapter functions of the Super I/O chip include a oppy disk drive
controller that is compatible with industry standard 82077/765, a data separator,
write pre-compensation circuitry, decode logic, data rate selection, a clock genera-
tor, drive interface control logic and interrupt and DMA logic. The wide range of
functions integrated onto the Super I/O greatly reduces the number of components
required for interfacing with oppy disk drives. The Super I/O supports two 360 K,
720 K, 1.2 M, 1.44 M or 2.88 M disk drives and data transfer rates of 250 Kb/s,
500 Kb/s or 1 Mb/s.
It also provides two high-speed, 16550-compatible serial communication ports
(UARTs). Each UART includes a 16-byte send/receive FIFO, a programmable baud
rate generator, complete modem control capability and a processor interrupt sys-
tem. Both UARTs provide legacy speed with baud rate of up to 115.2 Kbps as well
as an advanced speed with baud rates of 250 K, 500 K, or 1 Mb/s, which support
higher speed modems.
The Super I/O provides functions that comply with ACPI (Advanced Conguration
and Power Interface), which includes support of legacy and ACPI power manage-
ment through a SMI or SCI function pin. It also features auto power management
to reduce power consumption.
1-7 iSCSI Support
The X8SIL/X8SIL-F/X8SIL-V motherboard supports the iSCSI Internet Protocol. iSC-
SI is an IP networking standard used to link and manage data storage, and transfer
data across the internet and private intranets through long distance. iSCSI can be
used to transmit data over local area networks (LANs), wide area networks (WANs),
or the Internet. It can enable location-independent data storage and retrieval.
iSCSI allow clients to issue SCSI commands to remote SCSI storage devices and
allow data centers to consolidate remote storage devices into storage arrays, giving
an illusion of locally-attached disks to host servers. Unlike ber-optic networks that
require special cabling, iSCSI can run over long distance using existing networks.
For the X8SIL/X8SIL-F/X8SIL-V motherboard, iSCSI is supported on LAN 1. This
can be enabled through the BIOS: Advanced => PCI/PnP Conguration => Onboard
LAN1 Option ROM Select. Please see Chapter 4 for details.

1-14
X8SIL/X8SIL-F/X8SIL-V User’s Manual
1-8 Overview of the Nuvoton BMC Controller
The NuvotonSM WPCM150 is a combined Baseboard Management Controller and
2D/VGA-compatible Graphics Core with PCI interface, Virtual Media and Keyboard,
and a Keyboard/Video/Mouse Redirection (KVMR) module.
The WPCM150 interfaces with the host system via a PCI interface to communicate
with the Graphics core. It supports USB 2.0 and 1.1 for remote keyboard/mouse/
virtual media emulation. It also provides an LPC interface to control Super I/O func-
tions and connects to the network via an external Ethernet PHY module or shared
NCSI connections.
The Nuvoton BMC communicates with onboard components via six SMBus in-
terfaces, fan control, Platform Environment Control Interface (PECI) buses, and
General Purpose I/O (T-SGPIO) ports.
There are two different versions of the Nuvoton BMC chip that are used in this prod-
uct series. The Nuvoton WPCM150 (Manufacturer P/N WPCM150GA0BX5) which
includes all of the features above, is the chip installed in the X8SIL and X8SIL-V
motherboard models. Another version, the Nuvoton WPCM450 (Manufacturer P/N
WPCM450RA0BX) also has all the features as described above plus IPMI 2.0 sup-
port. This particular chip is installed in the X8SIL-F motherboard.
Note: For more information on IPMI conguration, please refer to the
Embedded IPMI User's Guide posted on our website @ http://www.super-
micro.com/support/manuals/. For detailed information regarding Nuvoton
BMC products, go to Nuvoton's website at http://www.nuvoton.com and
enter the manufacturer part numbers mentioned above in the website's
Product Search.

Chapter 2: Installation
2-1
Chapter 2
Installation
2-1 Static-Sensitive Devices
Electrostatic-Discharge (ESD) can damage electronic com ponents. To prevent dam-
age to your system board, it is important to handle it very carefully. The following
measures are generally sufcient to protect your equipment from ESD.
Precautions
• Use a grounded wrist strap designed to prevent static discharge.
• Touch a grounded metal object before removing the board from the antistatic
bag.
• Handle the board by its edges only; do not touch its components, peripheral
chips, memory modules or gold contacts.
• When handling chips or modules, avoid touching their pins.
• Put the motherboard and peripherals back into their antistatic bags when not in
use.
• For grounding purposes, make sure your computer chassis provides excellent
conductivity between the power supply, the case, the mounting fasteners and
the motherboard.
• Use only the correct type of onboard CMOS battery. Do not install the onboard
upside down battery to avoid possible explosion.
Unpacking
The motherboard is shipped in antistatic packaging to avoid static damage. When
unpacking the board, make sure the person handling it is static protected.

2-2
X8SIL/X8SIL-F/X8SIL-V User's Manual
2-2 Processor and Heatsink Installation
Warning: When handling the processor package, avoid placing direct
pressure on the label area of the fan.
Notes:
Always connect the power cord last and always remove it before adding,
removing or changing any hardware components. Make sure that you in-
stall the processor into the CPU socket before you install the CPU heatsink.
If you buy a CPU separately, make sure that you use an Intel-certied
multi-directional heatsink only.
Make sure to install the serverboard into the chassis before you install
the CPU heatsinks.
When receiving a serverboard without a processor pre-installed, make
sure that the plastic CPU socket cap is in place and none of the socket
pins are bent; otherwise, contact your retailer immediately.
Refer to the Supermicro web site for updates on CPU support.
Load Lever
Press the load lever to release the load plate, which covers the CPU socket,
from its locking position.
1
!
Installing the LGA1156 Processor

Chapter 2: Installation
2-3
Align the CPU key that is the semi-circle cutouts against the socket keys.
Once aligned, carefully lower the CPU straight down to the socket. (Do not
drop the CPU on the socket. Do not move the CPU horizontally or vertically.
Use your thumb and your index nger to hold the CPU at the top center edge
and the bottom center edge of the CPU.
3
4
Gently lift the load lever to open the load plate. Remove the plastic cap.
2

2-4
X8SIL/X8SIL-F/X8SIL-V User's Manual
Warning: The CPU will only seat inside the socket in one direction. Make
sure it is properly inserted before closing the load plate. If it doesn't close
properly, do not force it as it may damage your CPU. Instead, open the load
plate again and double-check that the CPU is aligned properly.
Do not rub the CPU against the surface or against any pins of the socket to avoid
damage to the CPU or the socket.)
With the CPU inside the socket, inspect the four corners of the CPU to make sure
that the CPU is properly installed.
Use your thumb to gently push the load lever down to the lever lock.
5
CPU properly
installed
Load lever locked
into place

Chapter 2: Installation
2-5
Do not apply any thermal grease to the heatsink or the CPU die -- the required
amount has already been applied.
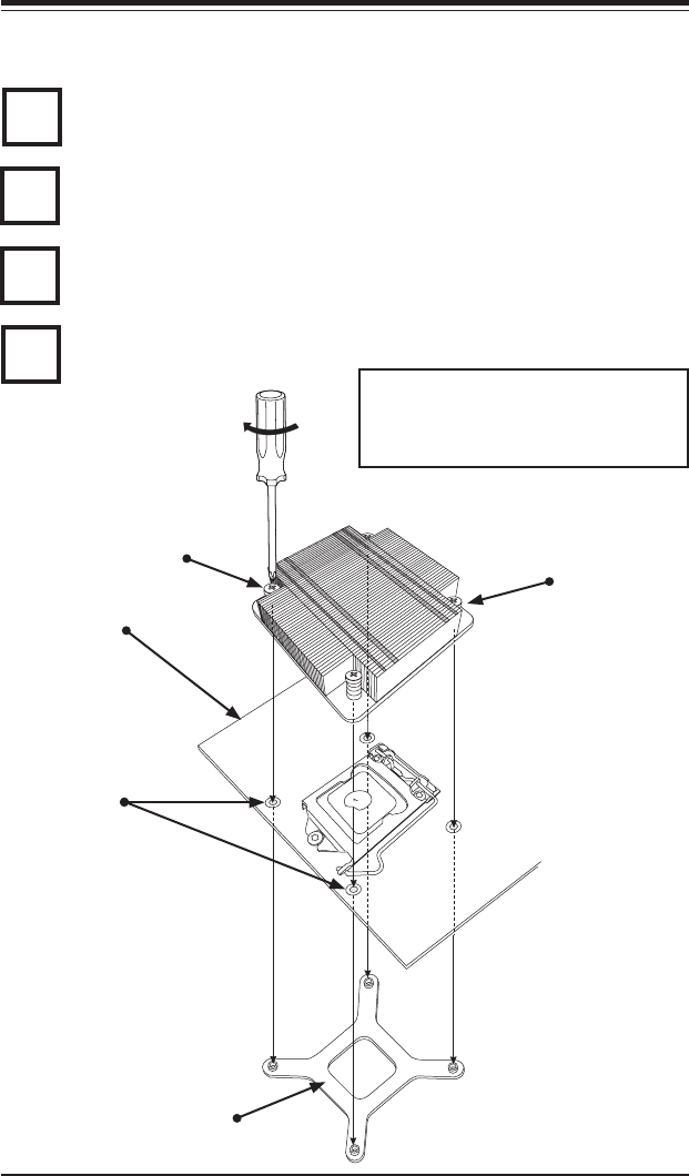
Installing a Passive CPU Heatsink
Screw#1
Screw#2
Motherboard
Mounting
Holes
Finish the installation by fully tightening all four screws.
Screw in two diagonal screws (i.e., the #1 and the #2 screws) until just snug
(do not over-tighten the screws to avoid possible damage to the CPU.)
Place the heatsink on top of the CPU so that the four mounting holes are
aligned with those on the Motherboard's and the Heatsink Bracket under-
neath.
1
2
3
4
Heatsink Bracket
Recommended Supermicro heatsink:
SNK-P0046P heatsink with BKT-0028L
bottom bracket

2-6
X8SIL/X8SIL-F/X8SIL-V User's Manual
Warning: We do not recommend that the CPU or the heatsink be removed.
However, if you do need to uninstall the heatsink, please follow the instruc-
tions below to uninstall the heatsink to prevent damage done to the CPU
or the CPU socket.
Removing the Heatsink
!
Unscrew the heatsink screws from the motherboard in the sequence as shown
in the illustration below.
Loosen screws in se-
quence as shown.
Screw#2
Motherboard
Remove the Heatsink
Bracket from under-
neath the mother-
board.
Screw#1
Screw#3
Screw#4
1
2
3
4Clean the surface of the CPU and the heatsink, removing the used thermal
grease. Reapply the proper amount of thermal grease on the surface before
re-installing the CPU and the heatsink.
Once the CPU is loosened, remove the heatsink from the CPU socket.
Gently wriggle the heatsink to loosen it from the CPU. (Do not use excessive
force when wriggling the heatsink!!)

Chapter 2: Installation
2-7
Thermal Grease
Heatsink Fins
Locate the CPU Fan power
connector on the motherboard.
(Refer to the layout on the right
for the CPU Fan location.)
Position the heatsink so that the
heatsink fan wires are closest
to the CPU fan power connector
and are not interfered with other
components.
Inspect the CPU Fan wires to
make sure that the wires are
routed through the bottom of the
heatsink.
Remove the thin layer of the pro-
tective lm from the copper core
of the heatsink.
(Warning: CPU may overheat if
the protective lm is not removed
from the heatsink.)
Apply the proper amount of
thermal grease on the CPU.
(Note: if your heatsink came with
a thermal pad, please ignore this
step.)
If necessary, rearrange the wires
to make sure that the wires are
not pinched between the heatsink
and the CPU. Also make sure to
keep clearance between the fan
wires and the ns of the heatsink.
Installing an Active Fan CPU Heatsink
1
2
3
4
5
6
Recommended Supermicro heatsink:
SNK-P0046A4 active heatsink

2-8
X8SIL/X8SIL-F/X8SIL-V User's Manual
Align the four heatsink fasteners with
the mounting holes on the moth-
erboard. Gently push the pairs of
diagonal fasteners (#1 & #2, and #3 &
#4) into the mounting holes until you
hear a click. (Note: Make sure to orient
each fastener so that the narrow end
of the groove is pointing outward.)
Repeat Step 7 to insert all four heat-
sink fasteners into the mounting holes.
7
8
9Once all four fasteners are se-
curely inserted into the mounting
holes and the heatsink is proper-
ly installed on the motherboard,
connect the heatsink fan wires to
the CPU Fan connector.
For the 1U passive heat sink, ask for SNK-P0046P (back plate is included),
for the 2U active heat sink, SNK-P0046A4.

Chapter 2: Installation
2-9
Unplug the power cord from the power
supply.
Disconnect the heatsink fan wires from
the CPU fan header.
Use your nger tips to gently press on
the fastener cap and turn it counter-
clockwise to make a 1/4 (900) turn,
and then pull the fastener upward to
loosen it.
Repeat Step 3 to loosen all fasteners
from the mounting holes.
With all fasteners loosened, remove
the heatsink from the CPU.
Active Heatsink Removal
Removing the Heatsink
Warning: We do not recommend that the CPU or the heatsink be re-
moved. However, if you do need to remove the heatsink, please follow
the instructions below to uninstall the heatsink and prevent damage to
the CPU or other components.
1
2
3
4
5
Remove
Pull Up
For the 1U passive heat sink, ask for SNK-P0046P (back plate is included),
for the 2U active heat sink, SNK-P0046A4.

2-10
X8SIL/X8SIL-F/X8SIL-V User's Manual
2-3 Installing DDR3 Memory
Note: Check the Supermicro web site for recommended memory modules.
CAUTION
Exercise extreme care when installing or removing
DIMM modules to prevent any possible damage.
DIMM Installation
1. Insert the desired number of DIMMs into the memory slots, starting with
DIMM1A (Slot 1, Channel A). Insert each DIMM module vertically into its slot.
Pay attention to the notch along the bottom of the module to prevent incor-
rect DIMM module installation.
2. Gently press down on the DIMM module until it snaps into place in the slot.
Repeat step 1 to install DIMM2A (Slot 2, Channel A) if needed.
Memory Support
The X8SIL/X8SIL-F/X8SIL-V supports up to 16GB of DDR3 ECC UDIMM or up to
32GB of ECC DDR3 RDIMM (1333/1066/800 MHz in 4 DIMM slots.) Populating
these DIMM modules with a pair of memory modules of the same type and same
size will result in interleaved memory, which will improve memory performance.
Please refer to the table below:
Platform DIMM Type Intel® Xeon® Series Processors
X8SIL/X8SIL-F/
X8SIL-V
Non-ECC UDIMM Only Not Supported
ECC UDIMM Only Supported (see Table 1)
RDIMM Only (with ECC) Supported (see Table 2)
Mixed ECC with non-ECC Not Supported
Mixed UDIMM/RDIMM Not Supported
Table 1 - DDR3 ECC/Unbuffered (UDIMM) Memory Support
ECC UDIMM 1Gb (x8 DRAM) 2Gb (x8 DRAM)
Single Rank Up to 4GB
(4 x 1GB DIMM Modules)
Up to 8GB
(4 x 2GB DIMM Modules)
Dual Rank Up to 8GB
(4 x 2GB DIMM Modules)
Up to 16GB
(4 x 4GB DIMM Modules)
Quad Rank Not Supported Not Supported

Chapter 2: Installation
2-11
MAC CODE
JPI2C
JF1
JPW1
U26
J8 J6
J5
J14
1
J13
U61
T-SGPIO1 T-SGPIO2
J24
JLAN2 JLAN1
SPKR1
JBT1
JI2C1 1
JI2C2 1
LE4
LE2
LE3
LE7
1
JPB
JLED1 1
1
JPUSB1
1
JPL1
1
JPL2
JPG1
JD1 1
FAN2 FAN1
FAN5
1
FAN4
FAN3
J16
PCI1
U2
BAR CODE
1-2:ENABLE
2-3:DISABLE
JPL2:LAN2 JPL1:LAN1
2-3:DISABLE
1-2:ENABLE
JPB:BMC
JPI2C:PWR I2C
JD1:Buzzer/Speaker
COM2
FLOPPY
DDR3 1066/1333 UDIMM/RDIMM required
VGA
COM1
USB4
JBT1:CMOS CLEAR
SLOT7 PCI-E X8 GEN2
JPT1:TPM
JL1
LAN1
JPUSB1:B/P USB WAKE UP
1-2:ENABLE
2-3:DISABLE
DIMM2B DIMM2A
USB 10/11
JI2C1/JI2C2
USB2/3
SLOT6 PCI-E X8 GEN2
2-3:Disable
1-2:Enable
CPU
JLED1:Power LED
OFF:Disable
ON:Enable
2-3:Disable
1-2:Enable
REV:1.00
X8SIL
DESIGNED IN USA
2-3:DISABLE
1-2:ENABLE
:CHASSIS INTRUSION
ON LEDLED
PWRHDD
NIC1
NIC2
OH/FFXRST
PWR
I-SATA3
I-SATA4 I-SATA2
I-SATA1
I-SATA0
I-SATA5
SLOT5 PCI-E X4 on X8
SLOT4 PCI 33MHZ
KB/MOUSE
DIMM1B
JPG1: VGA
DIMM1A
JTPM
JL1
DOM PWR
JPES
1
Table 2 - DDR3 ECC Registered (RDIMM) Memory Support
RDIMM 1Gb (x8 DRAM) 2Gb (x8 DRAM)
Single Rank Up to 4GB
(4 x 1GB DIMM Modules)
Up to 8GB
(4 x 2GB DIMM Modules)
Dual Rank Up to 8GB
(4 x 2GB DIMM Modules)
Up to 16GB
(4 x 4GB DIMM Modules)
Quad Rank Up to 16GB
(4 x 4GB DIMM Modules)
Up to 32GB
(4 x 8GB DIMM Modules)
Note: All other memory sizes, types, die, density, that are not listed in these tables
are NOT supported.
Memory Population Guidelines
Please follow the tables below when populating the X8SIL/X8SIL-F/X8SIL-V.
DDR3 ECC UDIMM Memory
DIMM Slots
per Channel
DIMMs
Populated
per Channel
DIMM Type POR Speeds Ranks per DIMM
(any combination)
2 1 Unbuffered
DDR3 ECC
1066, 1333 Single Rank, Dual
Rank
2 2 Unbuffered
DDR3 ECC
1066, 1333 Single Rank, Dual
Rank
DDR3 ECC RDIMM Memory
DIMM Slots
per Channel
DIMMs
Populated
per Channel
DIMM Type POR Speeds Ranks per DIMM
(any combination)
2 1 Registered
DDR3 ECC
1066, 1333 Single Rank, Dual
Rank
2 1 Registered
DDR3 ECC
1066 Quad Rank
2 2 Registered
DDR3 ECC
1066, 1333 Single Rank, Dual
Rank
2 2 Registered
DDR3 ECC
800* Quad Rank
Slot 1, Channel A
(Blue Slot)
Slot 1, Channel B
Slot 2, Channel B
*Note: 1066 RDIMMs running at 800MHz-BIOS will be automatically downgraded to
800MHz speed.
Slot 2, Channel A
(Blue Slot)

2-12
X8SIL/X8SIL-F/X8SIL-V User's Manual
Insert the DIMM mod-
ule vertically and press
down until the module
snaps into place.
To Remove:
Use your thumbs to
gently push the Lock/
Release tabs near both
ends of the module. This should
release it from the slot. Pull the
DIMM module upwards.
Installing and Removing DIMMs
Position the DIMM
module's bottom key
so it aligns with the
receptive point on the slot.
When the module is
properlly inserted, the
Lock/Release tabs will
automatically secure
the DIMM module, locking it
into place.
Push the Lock/Release
tabs to their Release po-
sitions. Make sure that
the DIMM module's side
notches align with the slot's Lock/
Release tabs as it is pressed in. Lock/Release Tabs
Notches
Release
Release
Lock
Lock
1
2
3
4
Release
Release
5
Press Down

Chapter 2: Installation
2-13
Note: Due to memory allocation to system devices, the amount of memory that
remains available for operational use will be reduced when 4 GB of RAM is
used. The reduction in memory availability is disproportional.
For Microsoft Windows users: Microsoft implemented a design change in Win-
dows XP with Service Pack 2 (SP2) and Windows Vista. This change is specic
to the Physical Address Extension (PAE) mode behavior which improves driver
compatibility. For more information, please read the following article at Microsoft’s
Knowledge Base website at: http://support.microsoft.com/kb/888137.
Possible System Memory Allocation & Availability
System Device Size Physical Memory
Remaining (-Available)
(4 GB Total System Memory)
Firmware Hub ash memory (System
BIOS)
1 MB 3.99
Local APIC 4 KB 3.99
Area Reserved for the chipset 2 MB 3.99
I/O APIC (4 Kbytes) 4 KB 3.99
PCI Enumeration Area 1 256 MB 3.76
PCI Express (256 MB) 256 MB 3.51
PCI Enumeration Area 2 (if needed)
-Aligned on 256-MB boundary-
512 MB 3.01
VGA Memory 16 MB 2.85
TSEG 1 MB 2.84
Memory available to OS and other ap-
plications
2.84

2-14
X8SIL/X8SIL-F/X8SIL-V User's Manual
MAC CODE
JPI2C
JF1
JPW1
U26
J8 J6
J5
J14
1
J13
U61
T-SGPIO1 T-SGPIO2
J24
JLAN2 JLAN1
SPKR1
JBT1
JI2C1 1
JI2C2 1
LE4
LE2
LE3
LE7
1
JPB
JLED1 1
1
JPUSB1
1
JPL1
1
JPL2
JPG1
JD1 1
FAN2 FAN1
FAN5
1
FAN4
FAN3
J16
PCI1
U2
BAR CODE
1-2:ENABLE
2-3:DISABLE
JPL2:LAN2 JPL1:LAN1
2-3:DISABLE
1-2:ENABLE
JPB:BMC
JPI2C:PWR I2C
JD1:Buzzer/Speaker
COM2
FLOPPY
DDR3 1066/1333 UDIMM/RDIMM required
VGA
COM1
USB4
JBT1:CMOS CLEAR
SLOT7 PCI-E X8 GEN2
JPT1:TPM
JL1
LAN1
JPUSB1:B/P USB WAKE UP
1-2:ENABLE
2-3:DISABLE
DIMM2B DIMM2A
USB 10/11
JI2C1/JI2C2
USB2/3
SLOT6 PCI-E X8 GEN2
2-3:Disable
1-2:Enable
CPU
JLED1:Power LED
OFF:Disable
ON:Enable
2-3:Disable
1-2:Enable
REV:1.00
X8SIL
DESIGNED IN USA
2-3:DISABLE
1-2:ENABLE
:CHASSIS INTRUSION
ON LEDLED
PWRHDD
NIC1
NIC2
OH/FFXRST
PWR
I-SATA3
I-SATA4 I-SATA2
I-SATA1
I-SATA0
I-SATA5
SLOT5 PCI-E X4 on X8
SLOT4 PCI 33MHZ
KB/MOUSE
DIMM1B
JPG1: VGA
DIMM1A
JTPM
JL1
DOM PWR
JPES
1
2-4 Motherboard Installation
All motherboards have standard mounting holes to t different types of chassis.
Make sure that the locations of all the mounting holes for both motherboard and
chassis match. Although a chassis may have both plastic and metal mounting fas-
teners, metal ones are highly recommended because they ground the motherboard
to the chassis. Make sure that the metal standoffs click in or are screwed in tightly.
Then use a screwdriver to secure the motherboard onto the motherboard tray.
Tools Needed
Philips Screwdriver Pan head screws (8 pieces)
Location of Mounting Holes
There are eight (8) mounting holes on this motherboard indicated by the arrows.
Stand Offs (8 pieces)
(Only if needed)
Caution: 1) To avoid damaging the motherboard and its components, please
do not use a force greater than 8 lb/inch on each mounting screw during
motherboard installation. 2) Some components are very close to the mount-
ing holes. Please take precautionary measures to prevent damage to these
components when installing the motherboard to the chassis.

Chapter 2: Installation
2-15
Installation Instructions
Install the I/O shield into the chassis.
Locate the mounting holes on the motherboard. Refer to the layout on the
previous page for mounting hole locations.
Locate the matching mounting holes on the chassis. Install standoffs in the
chassis as needed. Align the mounting holes on the motherboard against the
mounting holes on the chassis.
Install the motherboard into the chassis carefully to avoid damage to mother-
board components.
Insert a Pan head #6 screw into a mounting hole on the motherboard and its
matching mounting hole on the chassis, using the Philips screwdriver.
Repeat Step 4 to insert #6 screws into all mounting holes.
I/O Shield
1
2
3
Stand Off
4
5
6
Make sure that the motherboard is securely placed in the chassis.
7
Note: Image is for illustration
purposes only. Your particular
chassis may be different.

2-16
X8SIL/X8SIL-F/X8SIL-V User's Manual
MAC CODE
JPI2C
JF1
JPW1
U26
J8 J6
J5
J14
1
J13
U61
T-SGPIO1 T-SGPIO2
J24
JLAN2 JLAN1
SPKR1
JBT1
JI2C1 1
JI2C2 1
LE4
LE2
LE3
LE7
1
JPB
JLED1 1
1
JPUSB1
1
JPL1
1
JPL2
JPG1
JD1 1
FAN2 FAN1
FAN5
1
FAN4
FAN3
J16
PCI1
U2
BAR CODE
1-2:ENABLE
2-3:DISABLE
JPL2:LAN2 JPL1:LAN1
2-3:DISABLE
1-2:ENABLE
JPB:BMC
JPI2C:PWR I2C
JD1:Buzzer/Speaker
COM2
FLOPPY
DDR3 1066/1333 UDIMM/RDIMM required
VGA
COM1
USB4
JBT1:CMOS CLEAR
SLOT7 PCI-E X8 GEN2
JPT1:TPM
JL1
LAN1
JPUSB1:B/P USB WAKE UP
1-2:ENABLE
2-3:DISABLE
DIMM2B DIMM2A
USB 10/11
JI2C1/JI2C2
USB2/3
SLOT6 PCI-E X8 GEN2
2-3:Disable
1-2:Enable
CPU
JLED1:Power LED
OFF:Disable
ON:Enable
2-3:Disable
1-2:Enable
REV:1.00
X8SIL
DESIGNED IN USA
2-3:DISABLE
1-2:ENABLE
:CHASSIS INTRUSION
ON LEDLED
PWRHDD
NIC1
NIC2
OH/FFXRST
PWR
I-SATA3
I-SATA4 I-SATA2
I-SATA1
I-SATA0
I-SATA5
SLOT5 PCI-E X4 on X8
SLOT4 PCI 33MHZ
KB/MOUSE
DIMM1B
JPG1: VGA
DIMM1A
JTPM
JL1
DOM PWR
JPES
1
2-5 Connectors/IO Ports
The I/O ports are color coded in conformance with the PC 99 specication. See the
gure below for the colors and locations of the various I/O ports.
Back Panel Connectors and IO Ports
Back Panel Connectors
1. Keyboard (Purple) 7. VGA
2. PS/2 Mouse (Green) 8. LAN1
3. USB Port 0 9. LAN2
4. USB Port 1
5. IPMI LAN (X8SIL-F Only)
6. COM 1
1
1
1
2
1
3
1
4
1
5
1
61
71
81
9

Chapter 2: Installation
2-17
MAC CODE
JPI2C
JF1
JPW1
U26
J8 J6
J5
J14
1
J13
U61
T-SGPIO1 T-SGPIO2
J24
JLAN2 JLAN1
SPKR1
JBT1
JI2C1 1
JI2C2 1
LE4
LE2
LE3
LE7
1
JPB
JLED1 1
1
JPUSB1
1
JPL1
1
JPL2
JPG1
JD1 1
FAN2 FAN1
FAN5
1
FAN4
FAN3
J16
PCI1
U2
BAR CODE
1-2:ENABLE
2-3:DISABLE
JPL2:LAN2 JPL1:LAN1
2-3:DISABLE
1-2:ENABLE
JPB:BMC
JPI2C:PWR I2C
JD1:Buzzer/Speaker
COM2
FLOPPY
DDR3 1066/1333 UDIMM/RDIMM required
VGA
COM1
USB4
JBT1:CMOS CLEAR
SLOT7 PCI-E X8 GEN2
JPT1:TPM
JL1
LAN1
JPUSB1:B/P USB WAKE UP
1-2:ENABLE
2-3:DISABLE
DIMM2B DIMM2A
USB 10/11
JI2C1/JI2C2
USB2/3
SLOT6 PCI-E X8 GEN2
2-3:Disable
1-2:Enable
CPU
JLED1:Power LED
OFF:Disable
ON:Enable
2-3:Disable
1-2:Enable
REV:1.00
X8SIL
DESIGNED IN USA
2-3:DISABLE
1-2:ENABLE
:CHASSIS INTRUSION
ON LEDLED
PWRHDD
NIC1
NIC2
OH/FFXRST
PWR
I-SATA3
I-SATA4 I-SATA2
I-SATA1
I-SATA0
I-SATA5
SLOT5 PCI-E X4 on X8
SLOT4 PCI 33MHZ
KB/MOUSE
DIMM1B
JPG1: VGA
DIMM1A
JTPM
JL1
DOM PWR
JPES
1
ATX PS/2 Keyboard and PS/2
Mouse Ports
The ATX PS/2 keyboard and PS/2
mouse are located next to the Back
Panel USB Ports 0/1 on the mother-
board. See the table at right for pin
denitions.
PS/2 Keyboard/Mouse Pin
Denitions
PS2 Keyboard PS2 Mouse
Pin# Denition Pin# Denition
1KB Data 1Mouse Data
2No Connection 2No Connection
3 Ground 3 Ground
4Mouse/KB VCC
(+5V)
4Mouse/KB VCC
(+5V)
5KB Clock 5Mouse Clock
6 No Connection 6 No Connection
VCC: with 1.5A PTC (current limit)
1
2
1. Keyboard (Purple)
2. Mouse (Green)
Keyboard
Mouse

2-18
X8SIL/X8SIL-F/X8SIL-V User's Manual
MAC CODE
JPI2C
JF1
JPW1
U26
J8 J6
J5
J14
1
J13
U61
T-SGPIO1 T-SGPIO2
J24
JLAN2 JLAN1
SPKR1
JBT1
JI2C1 1
JI2C2 1
LE4
LE2
LE3
LE7
1
JPB
JLED1 1
1
JPUSB1
1
JPL1
1
JPL2
JPG1
JD1 1
FAN2 FAN1
FAN5
1
FAN4
FAN3
J16
PCI1
U2
BAR CODE
1-2:ENABLE
2-3:DISABLE
JPL2:LAN2 JPL1:LAN1
2-3:DISABLE
1-2:ENABLE
JPB:BMC
JPI2C:PWR I2C
JD1:Buzzer/Speaker
COM2
FLOPPY
DDR3 1066/1333 UDIMM/RDIMM required
VGA
COM1
USB4
JBT1:CMOS CLEAR
SLOT7 PCI-E X8 GEN2
JPT1:TPM
JL1
LAN1
JPUSB1:B/P USB WAKE UP
1-2:ENABLE
2-3:DISABLE
DIMM2B DIMM2A
USB 10/11
JI2C1/JI2C2
USB2/3
SLOT6 PCI-E X8 GEN2
2-3:Disable
1-2:Enable
CPU
JLED1:Power LED
OFF:Disable
ON:Enable
2-3:Disable
1-2:Enable
REV:1.00
X8SIL
DESIGNED IN USA
2-3:DISABLE
1-2:ENABLE
:CHASSIS INTRUSION
ON LEDLED
PWRHDD
NIC1
NIC2
OH/FFXRST
PWR
I-SATA3
I-SATA4 I-SATA2
I-SATA1
I-SATA0
I-SATA5
SLOT5 PCI-E X4 on X8
SLOT4 PCI 33MHZ
KB/MOUSE
DIMM1B
JPG1: VGA
DIMM1A
JTPM
JL1
DOM PWR
JPES
1
1. Backpanel USB 0
2. Backpanel USB 1
3. Front Panel USB 10/11
(X8SIL-F/X8SIL-V Only)
4. Front Panel USB 2/3
5. Internal 'Type A' USB 4
Universal Serial Bus (USB)
Two Universal Serial Bus ports (USB
0/1) are located on the I/O back panel.
Additional four USB connections, USB
2/3 and USB 10/11 (X8SIL-F/X8SIL-V
only) are used to provide front chassis
access. USB 4 is a Type A Connec-
tor. (USB Cables are not included).
See the tables on the right for pin
denitions.
Back Panel USB 0/1
Pin Denitions
Pin# Denition Pin# Denition
1+5V 5+5V
2USB_PN1 6 USB_PN0
3USB_PP1 7USB_PP0
4 Ground 8Ground
Front Panel USB 2/3, 10/11
Pin Denitions
USB 2, 3
Pin # Denition
USB 10/11
Pin # Denition
1+5V 6 +5V
2USB_PN2 7USB_PN3
3USB_PP2 8 USB_PP3
4 Ground 9 Ground
5No Con-
nection
10 Key
4
3
5
1
2

Chapter 2: Installation
2-19
Ethernet Ports
Two Ethernet ports (LAN1/LAN2) are
located next to the VGA port on the I/O
Backpanel. In addition, an IPMI Dedi-
cated LAN is also located above USB
0/1 ports on the X8SIL-F to provide a
dedicated network connection for IPMI
2.0 support. These ports accept RJ45
type cables.
Notes:
1. The IPMI Dedicated LAN
is for the X8SIL-F only.
2. Please refer to the LED
Indicator Section for LAN
LED information.
LAN Ports
Pin Denition
Pin# Denition
1P2V5SB 10 SGND
2TD0+ 11 Act LED
3TD0- 12 P3V3SB
4 TD1+ 13 Link 100 LED
(Yellow, +3V3SB)
5 TD1- 14 Link 1000 LED
(Yellow, +3V3SB)
6TD2+ 15 Ground
7 TD2- 16 Ground
8TD3+ 17 Ground
9 TD3- 88 Ground
(NC: No Connection)
1. LAN1
2. LAN2
3.IPMI Dedicated LAN (X8SIL-
F only)
3
1
2
MAC CODE
JPI2C
JF1
JPW1
U26
J8 J6
J5
J14
1
J13
U61
T-SGPIO1 T-SGPIO2
J24
JLAN2 JLAN1
SPKR1
JBT1
JI2C1 1
JI2C2 1
LE4
LE2
LE3
LE7
1
JPB
JLED1 1
1
JPUSB1
1
JPL1
1
JPL2
JPG1
JD1 1
FAN2 FAN1
FAN5
1
FAN4
FAN3
J16
PCI1
U2
BAR CODE
1-2:ENABLE
2-3:DISABLE
JPL2:LAN2 JPL1:LAN1
2-3:DISABLE
1-2:ENABLE
JPB:BMC
JPI2C:PWR I2C
JD1:Buzzer/Speaker
COM2
FLOPPY
DDR3 1066/1333 UDIMM/RDIMM required
VGA
COM1
USB4
JBT1:CMOS CLEAR
SLOT7 PCI-E X8 GEN2
JPT1:TPM
JL1
LAN1
JPUSB1:B/P USB WAKE UP
1-2:ENABLE
2-3:DISABLE
DIMM2B DIMM2A
USB 10/11
JI2C1/JI2C2
USB2/3
SLOT6 PCI-E X8 GEN2
2-3:Disable
1-2:Enable
CPU
JLED1:Power LED
OFF:Disable
ON:Enable
2-3:Disable
1-2:Enable
REV:1.00
X8SIL
DESIGNED IN USA
2-3:DISABLE
1-2:ENABLE
:CHASSIS INTRUSION
ON LEDLED
PWRHDD
NIC1
NIC2
OH/FFXRST
PWR
I-SATA3
I-SATA4 I-SATA2
I-SATA1
I-SATA0
I-SATA5
SLOT5 PCI-E X4 on X8
SLOT4 PCI 33MHZ
KB/MOUSE
DIMM1B
JPG1: VGA
DIMM1A
JTPM
JL1
DOM PWR
JPES
1

2-20
X8SIL/X8SIL-F/X8SIL-V User's Manual
2
Serial Ports
A COM Port is located on the I/O
backpanel and a Serial por t is located
next to Front Panel USB 2/3 to pro-
vide front access. See the table on
the right for pin denitions.
Serial Port Pin Denitions
(COM1/COM2)
Pin # Denition Pin # Denition
1CDC 6 DSR
2 RXD 7 RTS
3 TXD 8 CTS
4 DTR 9 RI
5 Ground 10 NC
1. COM1
2. COM2
1
MAC CODE
JPI2C
JF1
JPW1
U26
J8 J6
J5
J14
1
J13
U61
T-SGPIO1 T-SGPIO2
J24
JLAN2 JLAN1
SPKR1
JBT1
JI2C1 1
JI2C2 1
LE4
LE2
LE3
LE7
1
JPB
JLED1 1
1
JPUSB1
1
JPL1
1
JPL2
JPG1
JD1 1
FAN2 FAN1
FAN5
1
FAN4
FAN3
J16
PCI1
U2
BAR CODE
1-2:ENABLE
2-3:DISABLE
JPL2:LAN2 JPL1:LAN1
2-3:DISABLE
1-2:ENABLE
JPB:BMC
JPI2C:PWR I2C
JD1:Buzzer/Speaker
COM2
FLOPPY
DDR3 1066/1333 UDIMM/RDIMM required
VGA
COM1
USB4
JBT1:CMOS CLEAR
SLOT7 PCI-E X8 GEN2
JPT1:TPM
JL1
LAN1
JPUSB1:B/P USB WAKE UP
1-2:ENABLE
2-3:DISABLE
DIMM2B DIMM2A
USB 10/11
JI2C1/JI2C2
USB2/3
SLOT6 PCI-E X8 GEN2
2-3:Disable
1-2:Enable
CPU
JLED1:Power LED
OFF:Disable
ON:Enable
2-3:Disable
1-2:Enable
REV:1.00
X8SIL
DESIGNED IN USA
2-3:DISABLE
1-2:ENABLE
:CHASSIS INTRUSION
ON LEDLED
PWRHDD
NIC1
NIC2
OH/FFXRST
PWR
I-SATA3
I-SATA4 I-SATA2
I-SATA1
I-SATA0
I-SATA5
SLOT5 PCI-E X4 on X8
SLOT4 PCI 33MHZ
KB/MOUSE
DIMM1B
JPG1: VGA
DIMM1A
JTPM
JL1
DOM PWR
JPES
1

Chapter 2: Installation
2-21
1. VGA
Video Connector
A Video (VGA) connector is located
next to the COM Port on the I/O
backpanel. This connector is used
to provide video and CRT display.
Refer to the board layout below for
the location.
1
MAC CODE
JPI2C
JF1
JPW1
U26
J8 J6
J5
J14
1
J13
U61
T-SGPIO1 T-SGPIO2
J24
JLAN2 JLAN1
SPKR1
JBT1
JI2C1 1
JI2C2 1
LE4
LE2
LE3
LE7
1
JPB
JLED1 1
1
JPUSB1
1
JPL1
1
JPL2
JPG1
JD1 1
FAN2 FAN1
FAN5
1
FAN4
FAN3
J16
PCI1
U2
BAR CODE
1-2:ENABLE
2-3:DISABLE
JPL2:LAN2 JPL1:LAN1
2-3:DISABLE
1-2:ENABLE
JPB:BMC
JPI2C:PWR I2C
JD1:Buzzer/Speaker
COM2
FLOPPY
DDR3 1066/1333 UDIMM/RDIMM required
VGA
COM1
USB4
JBT1:CMOS CLEAR
SLOT7 PCI-E X8 GEN2
JPT1:TPM
JL1
LAN1
JPUSB1:B/P USB WAKE UP
1-2:ENABLE
2-3:DISABLE
DIMM2B DIMM2A
USB 10/11
JI2C1/JI2C2
USB2/3
SLOT6 PCI-E X8 GEN2
2-3:Disable
1-2:Enable
CPU
JLED1:Power LED
OFF:Disable
ON:Enable
2-3:Disable
1-2:Enable
REV:1.00
X8SIL
DESIGNED IN USA
2-3:DISABLE
1-2:ENABLE
:CHASSIS INTRUSION
ON LEDLED
PWRHDD
NIC1
NIC2
OH/FFXRST
PWR
I-SATA3
I-SATA4 I-SATA2
I-SATA1
I-SATA0
I-SATA5
SLOT5 PCI-E X4 on X8
SLOT4 PCI 33MHZ
KB/MOUSE
DIMM1B
JPG1: VGA
DIMM1A
JTPM
JL1
DOM PWR
JPES
1
VGA/CRT Pin
Denitions
Pin# Denition Pin# Denition
1 Red 10 Ground
2 Green 11 MS0
3Blue 12 MS1: SDA (DDC Data)
4MS2 13 HSYNC
5 Ground 14 VSYSNC
6Ground 15 MS3: SCL (DDC CLK)
7 Ground 16 Case
8Ground 17 Case
9NC
NC= No Connection

2-22
X8SIL/X8SIL-F/X8SIL-V User's Manual
MAC CODE
JPI2C
JF1
JPW1
U26
J8 J6
J5
J14
1
J13
U61
T-SGPIO1 T-SGPIO2
J24
JLAN2 JLAN1
SPKR1
JBT1
JI2C1 1
JI2C2 1
LE4
LE2
LE3
LE7
1
JPB
JLED1 1
1
JPUSB1
1
JPL1
1
JPL2
JPG1
JD1 1
FAN2 FAN1
FAN5
1
FAN4
FAN3
J16
PCI1
U2
BAR CODE
1-2:ENABLE
2-3:DISABLE
JPL2:LAN2 JPL1:LAN1
2-3:DISABLE
1-2:ENABLE
JPB:BMC
JPI2C:PWR I2C
JD1:Buzzer/Speaker
COM2
FLOPPY
DDR3 1066/1333 UDIMM/RDIMM required
VGA
COM1
USB4
JBT1:CMOS CLEAR
SLOT7 PCI-E X8 GEN2
JPT1:TPM
JL1
LAN1
JPUSB1:B/P USB WAKE UP
1-2:ENABLE
2-3:DISABLE
DIMM2B DIMM2A
USB 10/11
JI2C1/JI2C2
USB2/3
SLOT6 PCI-E X8 GEN2
2-3:Disable
1-2:Enable
CPU
JLED1:Power LED
OFF:Disable
ON:Enable
2-3:Disable
1-2:Enable
REV:1.00
X8SIL
DESIGNED IN USA
2-3:DISABLE
1-2:ENABLE
:CHASSIS INTRUSION
ON LEDLED
PWRHDD
NIC1
NIC2
OH/FFXRST
PWR
I-SATA3
I-SATA4 I-SATA2
I-SATA1
I-SATA0
I-SATA5
SLOT5 PCI-E X4 on X8
SLOT4 PCI 33MHZ
KB/MOUSE
DIMM1B
JPG1: VGA
DIMM1A
JTPM
JL1
DOM PWR
JPES
1
Front Control Panel
JF1 contains header pins for various buttons and indicators that are normally lo-
cated on a control panel at the front of the chassis. These connectors are designed
specically for use with Supermicro server chassis. See the gure below for the
descriptions of the various control panel buttons and LED indicators. Refer to the
following section for descriptions and pin denitions.
JF1 Header Pins
Power Button
OH/Fan Fail LED
1
NIC1 LED
Reset Button
2
HDD LED
Power LED
Reset
PWR
LED_Anode+
LED_Anode+
LED_Anode+
LED_Anode+
Ground
Ground
XX
NIC2 LEDLED_Anode+
Pin 15Pin 16
Pin 1
Pin 2

Chapter 2: Installation
2-23
Front Control Panel Pin Denitions
Power LED
The Power LED connection is located
on pins 15 and 16 of JF1. Refer to the
table on the right for pin denitions.
Power LED
Pin Denitions (JF1)
Pin# Denition
15 +5V
16 Ground
A. PWR LED
B. HDD LED
A
B
Power Button
OH/Fan Fail LED
1
NIC1 LED
Reset Button
2
HDD LED
Power LED
Reset
PWR
LED_Anode+
LED_Anode+
LED_Anode+
LED_Anode+
Ground
Ground
XX
NIC2 LEDLED_Anode+
HDD LED
The HDD LED onnections are located
on pins 13 and 14 of JF1. Attach a
cable here to indicate HDD activ-
ity. See the table on the right for pin
denitions.
HDD LED
Pin Denitions (JF1)
Pin# Denition
13 +5V
14 HD Active

2-24
X8SIL/X8SIL-F/X8SIL-V User's Manual
Power Button
OH/Fan Fail LED
1
NIC1 LED
Reset Button
2
HDD LED
Power LED
Reset
PWR
LED_Anode+
LED_Anode+
LED_Anode+
LED_Anode+
Ground
Ground
XX
NIC2 LEDLED_Anode+
NIC1/NIC2 (LAN1/LAN2)
The NIC (Network Interface Control-
ler) LED connection for LAN port 1 is
located on pins 11 and 12 of JF1, and
the LED connection for LAN Port 2 is
on Pins 9 and 10. NIC1 LED and NIC2
LED are 2-pin NIC LED headers. At-
tach NIC LED cables to NIC1 LED and
NIC2 LED to display network activities
for LAN 1 and LAN2. Refer to the table
on the right for pin denitions.
LAN1/LAN2 LED
Pin Denitions (JF1)
Pin# Denition
9/11 Vcc
10/12 Ground
C
A. NIC1 LED
B. NIC2 LED
C. OH/Fan Fail
Overheat (OH)/Fan Fail
Connect an LED cable to OH/Fan
Fail connections on pins 7 and 8 of
JF1 to provide warnings for chassis
overheat/fan failure. Refer to the table
on the right for pin denitions.
OH/Fan Fail LED
Pin Denitions (JF1)
Pin# Denition
7Vcc
8 OH/Fan Fail LED
OH/Fan Fail Indicator
Status
State Denition
Off Normal
On Overheat
Flash-
ing
Fan Fail
A
B

Chapter 2: Installation
2-25
Power Button
The Power Button connection is located
on pins 1 and 2 of JF1. Momentarily
contacting both pins will power on/off
the system. This button can also be con-
gured to function as a suspend button
(with a setting in the BIOS - see Chapter
4). To turn off the power in the suspend
mode, press the button for at least 4
seconds. Refer to the table on the right
for pin denitions.
Power Button
Pin Denitions (JF1)
Pin# Denition
1 Signal
2+3V Standby
Reset Button
The Reset Button connection is located
on pins 3 and 4 of JF1. Attach it to a
hardware reset switch on the computer
case to reset the system. Refer to the
table on the right for pin denitions.
Reset Button
Pin Denitions (JF1)
Pin# Denition
3 Reset
4 Ground
A. Reset Button
B. PWR Button
Power Button
OH/Fan Fail LED
1
NIC1 LED
Reset Button
2
HDD LED
Power LED
Reset
PWR
LED_Anode+
LED_Anode+
LED_Anode+
LED_Anode+
Ground
Ground
XX
NIC2 LEDLED_Anode+
A
B

2-26
X8SIL/X8SIL-F/X8SIL-V User's Manual
MAC CODE
JPI2C
JF1
JPW1
U26
J8 J6
J5
J14
1
J13
U61
T-SGPIO1 T-SGPIO2
J24
JLAN2 JLAN1
SPKR1
JBT1
JI2C1 1
JI2C2 1
LE4
LE2
LE3
LE7
1
JPB
JLED1 1
1
JPUSB1
1
JPL1
1
JPL2
JPG1
JD1 1
FAN2 FAN1
FAN5
1
FAN4
FAN3
J16
PCI1
U2
BAR CODE
1-2:ENABLE
2-3:DISABLE
JPL2:LAN2 JPL1:LAN1
2-3:DISABLE
1-2:ENABLE
JPB:BMC
JPI2C:PWR I2C
JD1:Buzzer/Speaker
COM2
FLOPPY
DDR3 1066/1333 UDIMM/RDIMM required
VGA
COM1
USB4
JBT1:CMOS CLEAR
SLOT7 PCI-E X8 GEN2
JPT1:TPM
JL1
LAN1
JPUSB1:B/P USB WAKE UP
1-2:ENABLE
2-3:DISABLE
DIMM2B DIMM2A
USB 10/11
JI2C1/JI2C2
USB2/3
SLOT6 PCI-E X8 GEN2
2-3:Disable
1-2:Enable
CPU
JLED1:Power LED
OFF:Disable
ON:Enable
2-3:Disable
1-2:Enable
REV:1.00
X8SIL
DESIGNED IN USA
2-3:DISABLE
1-2:ENABLE
:CHASSIS INTRUSION
ON LEDLED
PWRHDD
NIC1
NIC2
OH/FFXRST
PWR
I-SATA3
I-SATA4 I-SATA2
I-SATA1
I-SATA0
I-SATA5
SLOT5 PCI-E X4 on X8
SLOT4 PCI 33MHZ
KB/MOUSE
DIMM1B
JPG1: VGA
DIMM1A
JTPM
JL1
DOM PWR
JPES
1
2-6 Connecting Cables
This section provides brief descriptions and pin-out denitions for onboard headers
and connectors. Be sure to use the correct cable for each header or connector.
• For information on Backpanel USB and Front Panel USB ports, refer to Page
2-18. For COM Port 1 and COM Port 2, please see Page 2-16.
A. 24-Pin ATX Main PWR
B. 8-Pin Processor PWR
A
B
ATX Power 24-pin Connector
Pin Denitions (JPW1)
Pin# Denition Pin # Denition
13 +3.3V 1+3.3V
14 -12V 2+3.3V
15 COM 3COM
16 PS_ON 4+5V
17 COM 5COM
18 COM 6 +5V
19 COM 7COM
20 Res (NC) 8 PWR_OK
21 +5V 95VSB
22 +5V 10 +12V
23 +5V 11 +12V
24 COM 12 +3.3V
(Required)
12V 8-pin Power Connec-
tor Pin Denitions
Pins Denition
1 through 4 Ground
5 through 8 +12V
ATX Main PWR & CPU PWR
Connectors
The 24-pin main power connector
(JPW1) is used to provide power to
the motherboard. The 8-pin CPU PWR
connector (JPW2) is also required for
the processor. These power connectors
meet the SSI EPS 12V specication. See
the table on the right for pin denitions.
24-Pin ATX
Main PWR
8-Pin
Processor
PWR
A
B

Chapter 2: Installation
2-27
MAC CODE
JPI2C
JF1
JPW1
U26
J8 J6
J5
J14
1
J13
U61
T-SGPIO1 T-SGPIO2
J24
JLAN2 JLAN1
SPKR1
JBT1
JI2C1 1
JI2C2 1
LE4
LE2
LE3
LE7
1
JPB
JLED1 1
1
JPUSB1
1
JPL1
1
JPL2
JPG1
JD1 1
FAN2 FAN1
FAN5
1
FAN4
FAN3
J16
PCI1
U2
BAR CODE
1-2:ENABLE
2-3:DISABLE
JPL2:LAN2 JPL1:LAN1
2-3:DISABLE
1-2:ENABLE
JPB:BMC
JPI2C:PWR I2C
JD1:Buzzer/Speaker
COM2
FLOPPY
DDR3 1066/1333 UDIMM/RDIMM required
VGA
COM1
USB4
JBT1:CMOS CLEAR
SLOT7 PCI-E X8 GEN2
JPT1:TPM
JL1
LAN1
JPUSB1:B/P USB WAKE UP
1-2:ENABLE
2-3:DISABLE
DIMM2B DIMM2A
USB 10/11
JI2C1/JI2C2
USB2/3
SLOT6 PCI-E X8 GEN2
2-3:Disable
1-2:Enable
CPU
JLED1:Power LED
OFF:Disable
ON:Enable
2-3:Disable
1-2:Enable
REV:1.00
X8SIL
DESIGNED IN USA
2-3:DISABLE
1-2:ENABLE
:CHASSIS INTRUSION
ON LEDLED
PWRHDD
NIC1
NIC2
OH/FFXRST
PWR
I-SATA3
I-SATA4 I-SATA2
I-SATA1
I-SATA0
I-SATA5
SLOT5 PCI-E X4 on X8
SLOT4 PCI 33MHZ
KB/MOUSE
DIMM1B
JPG1: VGA
DIMM1A
JTPM
JL1
DOM PWR
JPES
1
Fan Header
Pin Denitions
Pin# Denition
1Ground (Black)
22.5A/+12V
(Red)
3 Tachometer
4PWM_Control
Fan Headers
The X8SIL/X8SIL-F/X8SIL-V has ve fan head-
ers (Fan1 ~ Fan5). These fans are 4-pin fan
headers. However, Pins 1-3 of the fan headers
are backward compatible with the traditional
3-pin fans. A fan speed control setting in the
BIOS Hardware Monitoring section allows the
BIOS to automatically set fan speeds based on
the system temperature. The default setting is
Disabled which allows the onboard fans to run
at full speed. Refer to the table on the right for
pin denitions.
A
B
A. Fan1
B. Fan2
C. Fan3
D. Fan4
E. Fan5
F. Chassis Intrusion
C
D
E
F
Chassis Intrusion
A Chassis Intrusion header is located at JL1 on
the motherboard. Attach the appropriate cable
from the chassis to inform you of a chassis intru-
sion when the chassis is opened.
Chassis Intrusion
Pin Denitions (JL1)
Pin# Denition
1 Intrusion Input
2 Ground
Note: Please use all 3-pin fans or all
4-pin fans on a motherboard. Please
do not use 3-pin fans and 4-pin fans
on the same board.

2-28
X8SIL/X8SIL-F/X8SIL-V User's Manual
Internal Buzzer
The Internal Buzzer (SPKR1) can be
used to provide audible indications for
various beep codes. See the table on
the right for pin denitions.
A. Internal Buzzer
B. Speaker Header
C. TPM Header
Internal Buzzer
Pin Denition
Pin# Denitions
Pin 1 Pos. (+) Beep In
Pin 2 Neg. (-) Alarm
Speaker
Speaker
On the JD1 header, Pins 3~4 are used
for internal speaker. Close Pins 3~4
with a cap to use the onboard speaker.
If you wish to use an external speaker,
close Pins 1~4 with a cable. See the
table on the right for pin denitions.
Speaker Connector
Pin Denitions
Pin Setting Denition
Pins 3~4 Internal Speaker
Pins1~4 External Speaker
A
B
MAC CODE
JPI2C
JF1
JPW1
U26
J8 J6
J5
J14
1
J13
U61
T-SGPIO1 T-SGPIO2
J24
JLAN2 JLAN1
SPKR1
JBT1
JI2C1 1
JI2C2 1
LE4
LE2
LE3
LE7
1
JPB
JLED1 1
1
JPUSB1
1
JPL1
1
JPL2
JPG1
JD1 1
FAN2 FAN1
FAN5
1
FAN4
FAN3
J16
PCI1
U2
BAR CODE
1-2:ENABLE
2-3:DISABLE
JPL2:LAN2 JPL1:LAN1
2-3:DISABLE
1-2:ENABLE
JPB:BMC
JPI2C:PWR I2C
JD1:Buzzer/Speaker
COM2
FLOPPY
DDR3 1066/1333 UDIMM/RDIMM required
VGA
COM1
USB4
JBT1:CMOS CLEAR
SLOT7 PCI-E X8 GEN2
JPT1:TPM
JL1
LAN1
JPUSB1:B/P USB WAKE UP
1-2:ENABLE
2-3:DISABLE
DIMM2B DIMM2A
USB 10/11
JI2C1/JI2C2
USB2/3
SLOT6 PCI-E X8 GEN2
2-3:Disable
1-2:Enable
CPU
JLED1:Power LED
OFF:Disable
ON:Enable
2-3:Disable
1-2:Enable
REV:1.00
X8SIL
DESIGNED IN USA
2-3:DISABLE
1-2:ENABLE
:CHASSIS INTRUSION
ON LEDLED
PWRHDD
NIC1
NIC2
OH/FFXRST
PWR
I-SATA3
I-SATA4 I-SATA2
I-SATA1
I-SATA0
I-SATA5
SLOT5 PCI-E X4 on X8
SLOT4 PCI 33MHZ
KB/MOUSE
DIMM1B
JPG1: VGA
DIMM1A
JTPM
JL1
DOM PWR
JPES
1
TPM Header
This header is used to connect a
Trusted Platform Module (TPM),
available from a third-party vendor. A
TPM is a security device that allows
encryption and authentication of hard
drives. It enables the motherboard to
deny access if the TPM associated
with the hard drive is not installed in
the system. See the table on the right
for pin denitions.
Trusted Platform Module Header
Pin Denitions
Pin # Denition Pin # Denition
1LCLK 2 GND
3LFRAME 4No Pin
5 LRESET 6 VCC5
7 LAD3 8LAD2
9VCC3 10 LAD1
11 LAD0 12 GND
13 RSV0 14 RSV1
15 SB3V 16 SERIRQ
17 GND 18 CLKRUN
19 LPCPD 20 RSV2
C

Chapter 2: Installation
2-29
A
B
A. PWR LED
B. PWR SMB
C. DOM PWR
Power Supply I2C Connector
Power Supply (I2C) Connector, locat-
ed at SMB_PS1 on the motherboard.
This connector monitors the status
of the power supply, fan and system
temperature. See the table on the right
for pin denitions.
PWR Supply I2C
Pin Denitions
Pin# Denition
1Clock
2 Data
3PWR Fail
4 Ground
53.3V
Onboard Power LED
An onboard Power LED header is
located at JLED. This Power LED
header is connected to Front Control
Panel located at JF1 to indicate the
status of system power. See the table
on the right for pin denitions.
Onboard PWR LED
Pin Denitions
Pin# Denition
1VCC
2No Connection
3Connection to PWR
LED in JF1
MAC CODE
JPI2C
JF1
JPW1
U26
J8 J6
J5
J14
1
J13
U61
T-SGPIO1 T-SGPIO2
J24
JLAN2 JLAN1
SPKR1
JBT1
JI2C1 1
JI2C2 1
LE4
LE2
LE3
LE7
1
JPB
JLED1 1
1
JPUSB1
1
JPL1
1
JPL2
JPG1
JD1 1
FAN2 FAN1
FAN5
1
FAN4
FAN3
J16
PCI1
U2
BAR CODE
1-2:ENABLE
2-3:DISABLE
JPL2:LAN2 JPL1:LAN1
2-3:DISABLE
1-2:ENABLE
JPB:BMC
JPI2C:PWR I2C
JD1:Buzzer/Speaker
COM2
FLOPPY
DDR3 1066/1333 UDIMM/RDIMM required
VGA
COM1
USB4
JBT1:CMOS CLEAR
SLOT7 PCI-E X8 GEN2
JPT1:TPM
JL1
LAN1
JPUSB1:B/P USB WAKE UP
1-2:ENABLE
2-3:DISABLE
DIMM2B DIMM2A
USB 10/11
JI2C1/JI2C2
USB2/3
SLOT6 PCI-E X8 GEN2
2-3:Disable
1-2:Enable
CPU
JLED1:Power LED
OFF:Disable
ON:Enable
2-3:Disable
1-2:Enable
REV:1.00
X8SIL
DESIGNED IN USA
2-3:DISABLE
1-2:ENABLE
:CHASSIS INTRUSION
ON LEDLED
PWRHDD
NIC1
NIC2
OH/FFXRST
PWR
I-SATA3
I-SATA4 I-SATA2
I-SATA1
I-SATA0
I-SATA5
SLOT5 PCI-E X4 on X8
SLOT4 PCI 33MHZ
KB/MOUSE
DIMM1B
JPG1: VGA
DIMM1A
JTPM
JL1
DOM PWR
JPES
1
DOM PWR Connector
The Disk-On-Module (DOM) PWR
connector provides power to a solid-
state DOM storage device connected
to one of the SATA ports. See the table
on the right for pin denitions.
DOM PWR
Pin Denitions
Pin# Denition
15V
2 Ground
3 Ground
C
Trusted Platform Module Header
Pin Denitions
Pin # Denition Pin # Denition
1LCLK 2 GND
3LFRAME 4No Pin
5 LRESET 6 VCC5
7 LAD3 8LAD2
9VCC3 10 LAD1
11 LAD0 12 GND
13 RSV0 14 RSV1
15 SB3V 16 SERIRQ
17 GND 18 CLKRUN
19 LPCPD 20 RSV2

2-30
X8SIL/X8SIL-F/X8SIL-V User's Manual
MAC CODE
JPI2C
JF1
JPW1
U26
J8 J6
J5
J14
1
J13
U61
T-SGPIO1 T-SGPIO2
J24
JLAN2 JLAN1
SPKR1
JBT1
JI2C1 1
JI2C2 1
LE4
LE2
LE3
LE7
1
JPB
JLED1 1
1
JPUSB1
1
JPL1
1
JPL2
JPG1
JD1 1
FAN2 FAN1
FAN5
1
FAN4
FAN3
J16
PCI1
U2
BAR CODE
1-2:ENABLE
2-3:DISABLE
JPL2:LAN2 JPL1:LAN1
2-3:DISABLE
1-2:ENABLE
JPB:BMC
JPI2C:PWR I2C
JD1:Buzzer/Speaker
COM2
FLOPPY
DDR3 1066/1333 UDIMM/RDIMM required
VGA
COM1
USB4
JBT1:CMOS CLEAR
SLOT7 PCI-E X8 GEN2
JPT1:TPM
JL1
LAN1
JPUSB1:B/P USB WAKE UP
1-2:ENABLE
2-3:DISABLE
DIMM2B DIMM2A
USB 10/11
JI2C1/JI2C2
USB2/3
SLOT6 PCI-E X8 GEN2
2-3:Disable
1-2:Enable
CPU
JLED1:Power LED
OFF:Disable
ON:Enable
2-3:Disable
1-2:Enable
REV:1.00
X8SIL
DESIGNED IN USA
2-3:DISABLE
1-2:ENABLE
:CHASSIS INTRUSION
ON LEDLED
PWRHDD
NIC1
NIC2
OH/FFXRST
PWR
I-SATA3
I-SATA4 I-SATA2
I-SATA1
I-SATA0
I-SATA5
SLOT5 PCI-E X4 on X8
SLOT4 PCI 33MHZ
KB/MOUSE
DIMM1B
JPG1: VGA
DIMM1A
JTPM
JL1
DOM PWR
JPES
1
Serial_Link-SGPIO
Pin Denitions
Pin# Denition Pin Denition
1NC 2NC
3 Ground 4 DATA Out
5 Load 6Ground
7Clock 8 NC
T-SGPIO 0/1 Headers
Two T-SGPIO (Serial-Link General Pur-
pose Input/Output) headers are located
near the SATA connectors on the moth-
erboard. These headers are used to
communicate with the enclosure manage-
ment chip in the system. See the table on
the right for pin denitions. Refer to the
board layout below for the locations of
the headers.
NC: No Connections
A. T-SGPIO 0
B. T-SGPIO 1
A
B

Chapter 2: Installation
2-31
MAC CODE
JPI2C
JF1
JPW1
U26
J8 J6
J5
J14
1
J13
U61
T-SGPIO1 T-SGPIO2
J24
JLAN2 JLAN1
SPKR1
JBT1
JI2C1 1
JI2C2 1
LE4
LE2
LE3
LE7
1
JPB
JLED1 1
1
JPUSB1
1
JPL1
1
JPL2
JPG1
JD1 1
FAN2 FAN1
FAN5
1
FAN4
FAN3
J16
PCI1
U2
BAR CODE
1-2:ENABLE
2-3:DISABLE
JPL2:LAN2 JPL1:LAN1
2-3:DISABLE
1-2:ENABLE
JPB:BMC
JPI2C:PWR I2C
JD1:Buzzer/Speaker
COM2
FLOPPY
DDR3 1066/1333 UDIMM/RDIMM required
VGA
COM1
USB4
JBT1:CMOS CLEAR
SLOT7 PCI-E X8 GEN2
JPT1:TPM
JL1
LAN1
JPUSB1:B/P USB WAKE UP
1-2:ENABLE
2-3:DISABLE
DIMM2B DIMM2A
USB 10/11
JI2C1/JI2C2
USB2/3
SLOT6 PCI-E X8 GEN2
2-3:Disable
1-2:Enable
CPU
JLED1:Power LED
OFF:Disable
ON:Enable
2-3:Disable
1-2:Enable
REV:1.00
X8SIL
DESIGNED IN USA
2-3:DISABLE
1-2:ENABLE
:CHASSIS INTRUSION
ON LEDLED
PWRHDD
NIC1
NIC2
OH/FFXRST
PWR
I-SATA3
I-SATA4 I-SATA2
I-SATA1
I-SATA0
I-SATA5
SLOT5 PCI-E X4 on X8
SLOT4 PCI 33MHZ
KB/MOUSE
DIMM1B
JPG1: VGA
DIMM1A
JTPM
JL1
DOM PWR
JPES
1
2-7 Jumper Settings
Explanation of Jumpers
To modify the operation of the motherboard,
jumpers can be used to choose between
optional settings. Jumpers create shorts be-
tween two pins to change the function of the
connector. Pin 1 is identied with a square
solder pad on the printed circuit board.
Note: On two-pin jumpers, "Closed"
means the jumper is on and "Open"
means the jumper is off the pins.
A
A. LAN Port 1 Enable
B. LAN Port 2 Enable
LAN Port Enable/Disable
JPL1/JPL2 enable or disable LAN Port 1/LAN
Port 2 on the motherboard. See the table
on the right for jumper settings. The default
setting is enabled.
GLAN Enable
Jumper Settings
Pin# Denition
1-2 Enabled (default)
2-3 Disabled
B

2-32
X8SIL/X8SIL-F/X8SIL-V User's Manual
CMOS Clear
JBT1 is used to clear CMOS. Instead of pins, this "jumper" consists of contact pads
to prevent accidental clearing of CMOS. To clear CMOS, use a metal object such
as a small screwdriver to touch both pads at the same time to short the connection.
Always remove the AC power cord from the system before clearing CMOS.
Note: For an ATX power supply, you must completely shut down the system, remove
the AC power cord and then short JBT1 to clear CMOS.
A
A. Clear CMOS
B. JI2C1
C. JI2C2
B
PCI Slot_SMB Enable
Jumper Settings
Jumper Setting Denition
Short Enabled
Open (Default) Disabled
PCI Slot SMB Enable
Use Jumpers I2C1/I2C2 to enable PCI
Slot SMB (System Management Bus)
support to improve system management
for the PCI slots. See the table on the
right for jumper settings.
MAC CODE
JPI2C
JF1
JPW1
U26
J8 J6
J5
J14
1
J13
U61
T-SGPIO1 T-SGPIO2
J24
JLAN2 JLAN1
SPKR1
JBT1
JI2C1 1
JI2C2 1
LE4
LE2
LE3
LE7
1
JPB
JLED1 1
1
JPUSB1
1
JPL1
1
JPL2
JPG1
JD1 1
FAN2 FAN1
FAN5
1
FAN4
FAN3
J16
PCI1
U2
BAR CODE
1-2:ENABLE
2-3:DISABLE
JPL2:LAN2 JPL1:LAN1
2-3:DISABLE
1-2:ENABLE
JPB:BMC
JPI2C:PWR I2C
JD1:Buzzer/Speaker
COM2
FLOPPY
DDR3 1066/1333 UDIMM/RDIMM required
VGA
COM1
USB4
JBT1:CMOS CLEAR
SLOT7 PCI-E X8 GEN2
JPT1:TPM
JL1
LAN1
JPUSB1:B/P USB WAKE UP
1-2:ENABLE
2-3:DISABLE
DIMM2B DIMM2A
USB 10/11
JI2C1/JI2C2
USB2/3
SLOT6 PCI-E X8 GEN2
2-3:Disable
1-2:Enable
CPU
JLED1:Power LED
OFF:Disable
ON:Enable
2-3:Disable
1-2:Enable
REV:1.00
X8SIL
DESIGNED IN USA
2-3:DISABLE
1-2:ENABLE
:CHASSIS INTRUSION
ON LEDLED
PWRHDD
NIC1
NIC2
OH/FFXRST
PWR
I-SATA3
I-SATA4 I-SATA2
I-SATA1
I-SATA0
I-SATA5
SLOT5 PCI-E X4 on X8
SLOT4 PCI 33MHZ
KB/MOUSE
DIMM1B
JPG1: VGA
DIMM1A
JTPM
JL1
DOM PWR
JPES
1
C

Chapter 2: Installation
2-33
B
A
A. VGA Enable
B. Energy Saving Enable
VGA Enable/Disable
Jumper Settings (JPG1)
Both Jumpers Denition
Pins 1-2 Enabled
Pins 2-3 Disabled
VGA Enable
JPG1 allows you to enable or disable
the onboard VGA connector. The default
position is on pins 1 and 2 to enable
VGA. See the table on the right for
jumper settings.
MAC CODE
JPI2C
JF1
JPW1
U26
J8 J6
J5
J14
1
J13
U61
T-SGPIO1 T-SGPIO2
J24
JLAN2 JLAN1
SPKR1
JBT1
JI2C1 1
JI2C2 1
LE4
LE2
LE3
LE7
1
JPB
JLED1 1
1
JPUSB1
1
JPL1
1
JPL2
JPG1
JD1 1
FAN2 FAN1
FAN5
1
FAN4
FAN3
J16
PCI1
U2
BAR CODE
1-2:ENABLE
2-3:DISABLE
JPL2:LAN2 JPL1:LAN1
2-3:DISABLE
1-2:ENABLE
JPB:BMC
JPI2C:PWR I2C
JD1:Buzzer/Speaker
COM2
FLOPPY
DDR3 1066/1333 UDIMM/RDIMM required
VGA
COM1
USB4
JBT1:CMOS CLEAR
SLOT7 PCI-E X8 GEN2
JPT1:TPM
JL1
LAN1
JPUSB1:B/P USB WAKE UP
1-2:ENABLE
2-3:DISABLE
DIMM2B DIMM2A
USB 10/11
JI2C1/JI2C2
USB2/3
SLOT6 PCI-E X8 GEN2
2-3:Disable
1-2:Enable
CPU
JLED1:Power LED
OFF:Disable
ON:Enable
2-3:Disable
1-2:Enable
REV:1.00
X8SIL
DESIGNED IN USA
2-3:DISABLE
1-2:ENABLE
:CHASSIS INTRUSION
ON LEDLED
PWRHDD
NIC1
NIC2
OH/FFXRST
PWR
I-SATA3
I-SATA4 I-SATA2
I-SATA1
I-SATA0
I-SATA5
SLOT5 PCI-E X4 on X8
SLOT4 PCI 33MHZ
KB/MOUSE
DIMM1B
JPG1: VGA
DIMM1A
JTPM
JL1
DOM PWR
JPES
1
Energy Saving Enable
JPES allows the user to enable the en-
ergy-saving feature of this motherboard.
When set to Enabled, the motherboard
will enter Deep S5 Mode. The default
setting is Disabled (Normal S5 Mode).
Energy Saving Enable
Jumper Settings
Jumper Setting Denition
1-2 Enabled
2-3 (Default) Disabled

2-34
X8SIL/X8SIL-F/X8SIL-V User's Manual
MAC CODE
JPI2C
JF1
JPW1
U26
J8 J6
J5
J14
1
J13
U61
T-SGPIO1 T-SGPIO2
J24
JLAN2 JLAN1
SPKR1
JBT1
JI2C1 1
JI2C2 1
LE4
LE2
LE3
LE7
1
JPB
JLED1 1
1
JPUSB1
1
JPL1
1
JPL2
JPG1
JD1 1
FAN2 FAN1
FAN5
1
FAN4
FAN3
J16
PCI1
U2
BAR CODE
1-2:ENABLE
2-3:DISABLE
JPL2:LAN2 JPL1:LAN1
2-3:DISABLE
1-2:ENABLE
JPB:BMC
JPI2C:PWR I2C
JD1:Buzzer/Speaker
COM2
FLOPPY
DDR3 1066/1333 UDIMM/RDIMM required
VGA
COM1
USB4
JBT1:CMOS CLEAR
SLOT7 PCI-E X8 GEN2
JPT1:TPM
JL1
LAN1
JPUSB1:B/P USB WAKE UP
1-2:ENABLE
2-3:DISABLE
DIMM2B DIMM2A
USB 10/11
JI2C1/JI2C2
USB2/3
SLOT6 PCI-E X8 GEN2
2-3:Disable
1-2:Enable
CPU
JLED1:Power LED
OFF:Disable
ON:Enable
2-3:Disable
1-2:Enable
REV:1.00
X8SIL
DESIGNED IN USA
2-3:DISABLE
1-2:ENABLE
:CHASSIS INTRUSION
ON LEDLED
PWRHDD
NIC1
NIC2
OH/FFXRST
PWR
I-SATA3
I-SATA4 I-SATA2
I-SATA1
I-SATA0
I-SATA5
SLOT5 PCI-E X4 on X8
SLOT4 PCI 33MHZ
KB/MOUSE
DIMM1B
JPG1: VGA
DIMM1A
JTPM
JL1
DOM PWR
JPES
1
A
A. BP USB 0/1 Wake-up
B. BMC Enable
USB Wake-Up
Use the JPUSB1 jumper to "wake-up" your
system by pressing a key on a USB keyboard
or clicking the USB mouse. The JPUSB1
jumper is used together with the USB Wake-
Up feature in the BIOS. Enable this jumper
and the USB feature in the BIOS to wake-up
your system via USB devices.
Note: When the USB function is set to
Enabled in the BIOS, and a USB Wake-
up jumper is set to Disabled, remove the
USB devices from the USB ports whose
USB jumper is Disabled before the sys-
tem goes into the standby mode.
JPUSB1 (BackPanel USB
0/1 Wake-up Enable)
Pin# Denition
1-2 Enabled (Default)
2-3 Disabled
B
BMC Enable
JPB is used to enable or disable the BMC
(Baseboard Management Control) Chip and
the onboard IPMI connection. This jumper is
used together with the IPMI settings in the
BIOS. The default position is on pins 1 and
2 to Enable BMC. See the table on the right
for jumper settings.
BMC IPMI Enable/Disable Jumper
Settings
Settings Denition
Pins 1-2 Enabled (Default)
Pins 2-3 Disabled

Chapter 2: Installation
2-35
LAN 1/LAN 2 LEDs
Two LAN ports (LAN 1/LAN 2) are located
on the I/O backpanel of the motherboard.
Each Ethernet LAN port has two LEDs. The
yellow LED indicates activity, while the Link
LED may be green, amber or off to indicate
the speed of the connections. See the
tables at right for more information.
2-8 Onboard Indicators
A. LAN Port 1
B. LAN Port 2
C. IPMI LAN (X8SIL-F Only)
LAN 1/LAN 2
Link LEDs (Green/Amber/Off)
LED Color Denition
Off No Connection or 10 Mbps
Green 100 Mbps
Amber 1 Gbps
LAN 1/LAN 2
Activity LEDs (Yellow)
Color Status Denition
Yellow Blinking Active
C
IPMI Dedicated LAN LEDs
In addition to LAN 1/LAN 2, an IPMI Dedi-
cated LAN is also located on the X8SIL-F.
The yellow LED on the right indicates activ-
ity, while the green LED on the left indicates
the speed of the connection. See the tables
at right for more information.
LAN 1/LAN 2
IPMI LAN
(X8ST3-F)
Link LED Activity LED
IPMI LAN
IPMI LAN Link LED (Left) &
Activity LED (Right)
Color Status Denition
Link (Left) Green: Solid 100 Mbps
Activity
(Right)
Yellow: Blink-
ing
Active
LAN1 LAN2
Activity LED
Link LED
A
B
MAC CODE
JPI2C
JF1
JPW1
U26
J8 J6
J5
J14
1
J13
U61
T-SGPIO1 T-SGPIO2
J24
JLAN2 JLAN1
SPKR1
JBT1
JI2C1 1
JI2C2 1
LE4
LE2
LE3
LE7
1
JPB
JLED1 1
1
JPUSB1
1
JPL1
1
JPL2
JPG1
JD1 1
FAN2 FAN1
FAN5
1
FAN4
FAN3
J16
PCI1
U2
BAR CODE
1-2:ENABLE
2-3:DISABLE
JPL2:LAN2 JPL1:LAN1
2-3:DISABLE
1-2:ENABLE
JPB:BMC
JPI2C:PWR I2C
JD1:Buzzer/Speaker
COM2
FLOPPY
DDR3 1066/1333 UDIMM/RDIMM required
VGA
COM1
USB4
JBT1:CMOS CLEAR
SLOT7 PCI-E X8 GEN2
JPT1:TPM
JL1
LAN1
JPUSB1:B/P USB WAKE UP
1-2:ENABLE
2-3:DISABLE
DIMM2B DIMM2A
USB 10/11
JI2C1/JI2C2
USB2/3
SLOT6 PCI-E X8 GEN2
2-3:Disable
1-2:Enable
CPU
JLED1:Power LED
OFF:Disable
ON:Enable
2-3:Disable
1-2:Enable
REV:1.00
X8SIL
DESIGNED IN USA
2-3:DISABLE
1-2:ENABLE
:CHASSIS INTRUSION
ON LEDLED
PWRHDD
NIC1
NIC2
OH/FFXRST
PWR
I-SATA3
I-SATA4 I-SATA2
I-SATA1
I-SATA0
I-SATA5
SLOT5 PCI-E X4 on X8
SLOT4 PCI 33MHZ
KB/MOUSE
DIMM1B
JPG1: VGA
DIMM1A
JTPM
JL1
DOM PWR
JPES
1

2-36
X8SIL/X8SIL-F/X8SIL-V User's Manual
Onboard PWR LED Indicator
LED Settings (LE4)
LED Color Denition
Off System Off
On System on, or
System off and PWR
Cable Connected
Onboard Power LED
An Onboard Power LED is located at LE4
on the motherboard. When LE4 is on, the
AC power cable is connected. Make sure to
disconnect the power cable before removing
or installing any component. See the layout
below for the LED location.
A. Onboard PWR LED
B. IPMI Heartbeat LED
(X8SIL-F Only)
C. Unsupported Memory
LED
IPMI Heartbeat LED (X8SIL-F Only)
An IPMI Heartbeat LED is located at
LE7. When LE7 blinks, the IPMI functions
properly. Refer to the table on the right
for details. Also see the layout below for
the LED location.
IPMI Heartbeat LED Indicator (LE7)
LED Settings
Green: Blinking IPMI is ready for use
MAC CODE
JPI2C
JF1
JPW1
U26
J8 J6
J5
J14
1
J13
U61
T-SGPIO1 T-SGPIO2
J24
JLAN2 JLAN1
SPKR1
JBT1
JI2C1 1
JI2C2 1
LE4
LE2
LE3
LE7
1
JPB
JLED1 1
1
JPUSB1
1
JPL1
1
JPL2
JPG1
JD1 1
FAN2 FAN1
FAN5
1
FAN4
FAN3
J16
PCI1
U2
BAR CODE
1-2:ENABLE
2-3:DISABLE
JPL2:LAN2 JPL1:LAN1
2-3:DISABLE
1-2:ENABLE
JPB:BMC
JPI2C:PWR I2C
JD1:Buzzer/Speaker
COM2
FLOPPY
DDR3 1066/1333 UDIMM/RDIMM required
VGA
COM1
USB4
JBT1:CMOS CLEAR
SLOT7 PCI-E X8 GEN2
JPT1:TPM
JL1
LAN1
JPUSB1:B/P USB WAKE UP
1-2:ENABLE
2-3:DISABLE
DIMM2B DIMM2A
USB 10/11
JI2C1/JI2C2
USB2/3
SLOT6 PCI-E X8 GEN2
2-3:Disable
1-2:Enable
CPU
JLED1:Power LED
OFF:Disable
ON:Enable
2-3:Disable
1-2:Enable
REV:1.00
X8SIL
DESIGNED IN USA
2-3:DISABLE
1-2:ENABLE
:CHASSIS INTRUSION
ON LEDLED
PWRHDD
NIC1
NIC2
OH/FFXRST
PWR
I-SATA3
I-SATA4 I-SATA2
I-SATA1
I-SATA0
I-SATA5
SLOT5 PCI-E X4 on X8
SLOT4 PCI 33MHZ
KB/MOUSE
DIMM1B
JPG1: VGA
DIMM1A
JTPM
JL1
DOM PWR
JPES
1
A
B
Unsupported Memory LED
LE3 is located next to LE4. When LE3
blinks, it is an indication/warning that
unsupported memory is installed in one
(or more) of the memory slots.
Unsupporter Memory LED Indicator
(LE3) LED Settings
Yellow: Blinking Unsupported Memory
is Installed
C

Chapter 2: Installation
2-37
2-9 SATA and Floppy Drive Connections
Note the following conditions when connecting the Serial ATA and oppy disk drive
cables:
• Be sure to use the correct cable for each connector. Refer to Page 1-1 for cables
that came with your shipment.
• A red mark on a wire indicates the location of pin 1.
A
SATA Connections
Six Serial ATA (SATA) connectors (I-SATA
0~5) are located on the X8SIL-F/X8SIL-V
motherboard (4 SATA ports for the X8SIL).
These Serial Link connections provide faster
data transmission than legacy Parallel ATA.
See the table on the right for pin denitions.
SATA/SAS Connectors
Pin Denitions
Pin# Signal
1 Ground
2SATA_TXP
3SATA_TXN
4 Ground
5SATA_RXN
6 SATA_RXP
7 Ground
B
A. I-SATA 0
B. I-SATA 1
C. I-SATA 2
D. I-SATA 3
E. I-SATA 4
F. I-SATA 5
C
F
E
D
MAC CODE
JPI2C
JF1
JPW1
U26
J8 J6
J5
J14
1
J13
U61
T-SGPIO1 T-SGPIO2
J24
JLAN2 JLAN1
SPKR1
JBT1
JI2C1 1
JI2C2 1
LE4
LE2
LE3
LE7
1
JPB
JLED1 1
1
JPUSB1
1
JPL1
1
JPL2
JPG1
JD1 1
FAN2 FAN1
FAN5
1
FAN4
FAN3
J16
PCI1
U2
BAR CODE
1-2:ENABLE
2-3:DISABLE
JPL2:LAN2 JPL1:LAN1
2-3:DISABLE
1-2:ENABLE
JPB:BMC
JPI2C:PWR I2C
JD1:Buzzer/Speaker
COM2
FLOPPY
DDR3 1066/1333 UDIMM/RDIMM required
VGA
COM1
USB4
JBT1:CMOS CLEAR
SLOT7 PCI-E X8 GEN2
JPT1:TPM
JL1
LAN1
JPUSB1:B/P USB WAKE UP
1-2:ENABLE
2-3:DISABLE
DIMM2B DIMM2A
USB 10/11
JI2C1/JI2C2
USB2/3
SLOT6 PCI-E X8 GEN2
2-3:Disable
1-2:Enable
CPU
JLED1:Power LED
OFF:Disable
ON:Enable
2-3:Disable
1-2:Enable
REV:1.00
X8SIL
DESIGNED IN USA
2-3:DISABLE
1-2:ENABLE
:CHASSIS INTRUSION
ON LEDLED
PWRHDD
NIC1
NIC2
OH/FFXRST
PWR
I-SATA3
I-SATA4 I-SATA2
I-SATA1
I-SATA0
I-SATA5
SLOT5 PCI-E X4 on X8
SLOT4 PCI 33MHZ
KB/MOUSE
DIMM1B
JPG1: VGA
DIMM1A
JTPM
JL1
DOM PWR
JPES
1

2-38
X8SIL/X8SIL-F/X8SIL-V User's Manual
A. Floppy
Floppy Connector
The oppy connector is located next
to the DIMM memory banks on the
motherboard. See the table on the
right for pin denitions.
Floppy Drive Connector
Pin Denitions
Pin# Denition Pin # Denition
1 Ground 2 FDHDIN
3 Ground 4 Reserved
5 Key 6 FDEDIN
7 Ground 8 Index
9 Ground 10 Motor Enable
11 Ground 12 Drive Select B
13 Ground 14 Drive Select B
15 Ground 16 Motor Enable
17 Ground 18 DIR
19 Ground 20 STEP
21 Ground 22 Write Data
23 Ground 24 Write Gate
25 Ground 26 Track 00
27 Ground 28 Write Protect
29 Ground 30 Read Data
31 Ground 32 Side 1 Select
33 Ground 34 Diskette
Note the following when con-
necting the oppy cable:
• The oppy disk drive cable has
seven twisted wires.
• A red mark on a wire typically
designates the location of pin 1.
• A single oppy disk drive ribbon
cable has 34 wires and two con-
nectors to provide for two oppy
disk drives. The connector with
twisted wires always connects
to drive A, and the connector
that does not have twisted wires
always connects to drive B.
A
MAC CODE
JPI2C
JF1
JPW1
U26
J8 J6
J5
J14
1
J13
U61
T-SGPIO1 T-SGPIO2
J24
JLAN2 JLAN1
SPKR1
JBT1
JI2C1 1
JI2C2 1
LE4
LE2
LE3
LE7
1
JPB
JLED1 1
1
JPUSB1
1
JPL1
1
JPL2
JPG1
JD1 1
FAN2 FAN1
FAN5
1
FAN4
FAN3
J16
PCI1
U2
BAR CODE
1-2:ENABLE
2-3:DISABLE
JPL2:LAN2 JPL1:LAN1
2-3:DISABLE
1-2:ENABLE
JPB:BMC
JPI2C:PWR I2C
JD1:Buzzer/Speaker
COM2
FLOPPY
DDR3 1066/1333 UDIMM/RDIMM required
VGA
COM1
USB4
JBT1:CMOS CLEAR
SLOT7 PCI-E X8 GEN2
JPT1:TPM
JL1
LAN1
JPUSB1:B/P USB WAKE UP
1-2:ENABLE
2-3:DISABLE
DIMM2B DIMM2A
USB 10/11
JI2C1/JI2C2
USB2/3
SLOT6 PCI-E X8 GEN2
2-3:Disable
1-2:Enable
CPU
JLED1:Power LED
OFF:Disable
ON:Enable
2-3:Disable
1-2:Enable
REV:1.00
X8SIL
DESIGNED IN USA
2-3:DISABLE
1-2:ENABLE
:CHASSIS INTRUSION
ON LEDLED
PWRHDD
NIC1
NIC2
OH/FFXRST
PWR
I-SATA3
I-SATA4 I-SATA2
I-SATA1
I-SATA0
I-SATA5
SLOT5 PCI-E X4 on X8
SLOT4 PCI 33MHZ
KB/MOUSE
DIMM1B
JPG1: VGA
DIMM1A
JTPM
JL1
DOM PWR
JPES
1
IMPORTANT
NOTE on X8SIL-F
motherboards
Because of an In-
tel limitation, the
floppy connector is
disabled by default,
and C-State will au-
tomatically change-
when this setting is
changed. Please see
our FAQ in Chap-
ter 3, Page 3-5 for
more information.
For more on C-State
architecture, please
see page 4-7 of the
BIOS Chapter.

3-1
Chapter 3: Troubleshooting
Chapter 3
Troubleshooting
3-1 Troubleshooting Procedures
Use the following procedures to troubleshoot your system. If you have followed all
of the procedures below and still need assistance, refer to the ‘Technical Support
Procedures’ and/or ‘Returning Merchandise for Service’ section(s) in this chapter.
Always disconnect the AC power cord before adding, changing or installing any
hardware components.
Before Power On
1. Make sure that the Standby PWR LED (LE1) is not lit. (Note: If LE1 is on, the
onboard power is on. Be sure to unplug the power cable before installing or
removing the components.)
2. Make sure that there are no short circuits between the motherboard and chas-
sis.
3. Disconnect all ribbon/wire cables from the motherboard, including those for the
keyboard and mouse. Also, be sure to remove all add-on cards.
4. Install a CPU and heatsink (be sure that it is fully seated) and then connect the
chassis speaker and the power LED to the motherboard. Check all jumper
settings as well.
No Power
1. Make sure that there are no short circuits between the motherboard and chas-
sis.
2. Make sure that all jumpers are set to their default positions.
3. Check if the 115V/230V switch on the power supply is properly set.
4. Turn the power switch on and off to test the system.
5. The battery on your motherboard may be old. Check to make sure that it still
supplies ~3VDC. If it does not, replace it with a new one.
No Video
1. If the power is on, but you have no video--in this case, you will need to remove
all the add-on cards and cables rst.

3-2
X8SIL/X8SIL-F/X8SIL-V User's Manual
2. Use the speaker to determine if any beep codes exist. (Refer to Appendix A
for details on beep codes.)
3. Remove all memory modules and turn on the system. (If the alarm is on, check
the specs of memory modules, reset the memory or try a different one.)
Memory Errors
1. Make sure that the DIMM modules are properly installed and fully seated in
the slots.
2. You should be using unbuffered ECC or registered ECC DDR3 (1.5V)
1333/1066/800 MHz memory (recommended by the manufacturer). Also, it
is recommended that you use the memory modules of the same type and
speed for all DIMMs in the system. Do not mix different sizes, speed, UDIMM
and RDIMM, ECC and non-ECC.
3. Check for bad DIMM modules or slots by swapping modules between slots to
see if you can locate the faulty modules.
4. Check the power supply voltage 115V/230V switch.
Losing the System’s Setup Conguration
1. Please be sure to use a high quality power supply. A poor quality power supply
may cause the system to lose the CMOS setup information. Refer to Section
1-5 for details on recommended power supplies.
2. The battery on your motherboard may be old. Check to verify that it still supplies
~3VDC. If it does not, replace it with a new one.
3. If the above steps do not x the Setup Conguration problem, contact your
vendor for repairs.
3-2 Technical Support Procedures
Before contacting Technical Support, please make sure that you have followed all
the steps listed below. Also, Note that as a motherboard manufacturer, Supermicro
does not sell directly to end users, so it is best to rst check with your distributor or
reseller for troubleshooting services. They should know of any possible problem(s)
with the specic system conguration that was sold to you.
1. Please go through the ‘Troubleshooting Procedures’ and 'Frequently Asked
Question' (FAQ) sections in this chapter or see the FAQs on our website
(http://www.supermicro.com/support/faqs/) before contacting Technical
Support.

3-3
Chapter 3: Troubleshooting
2. BIOS upgrades can be downloaded from our website at (http://www.supermicro.
com/support/bios/).
Note: Not all BIOS can be ashed. Some cannot be ashed; it depends
on the modications to the boot block code.
3. If you've followed the instructions above to troubleshoot your system, and still
cannot resolve the problem, then contact Supermicro's technical support and
provide them with the following information:
• Motherboard model and PCB revision number
• BIOS release date/version (this can be seen on the initial display when your
system rst boots up)
•System conguration
An example of a Technical Support form is on our website at (http://www.
supermicro.com/support/contact.cfm).
4. Distributors: For immediate assistance, please have your account number ready
when placing a call to our technical support department. We can be reached
by e-mail at support@supermicro.com, by phone at: (408) 503-8000, option
2, or by fax at (408)503-8019.
3-3 Frequently Asked Questions
Question: What type of memory does my motherboard support?
Answer: The X8SIL/X8SIL-F/X8SIL-V supports up to 32GB of Registered ECC
DDR3 or up to 16GB of unbuffered ECC DDR3 SDRAM (1.5V, 1333/1066/800
MHz). See Section 2-3 for details on installing memory.
Question: Does the X8SIL, X8SIE series motherboard support non-ECC UDIMM
with the Xeon 34xx CPU?
Answer: No, they don't. With Xeon 34xx CPUs, memory type has to be either
ECC UDIMM or ECC RDIMM. Please refer to our “tested memory list” in our
motherboard website. For memory usage guidelines, please check Chapter 2
of this manual.
Question: How do I update my BIOS?
Answer: It is recommended that you do not upgrade your BIOS if you are not
experiencing any problems with your system. Updated BIOS les are located
on our web site at http://www.supermicro.com/support/bios/. Please check our
BIOS warning message and the information on how to update your BIOS on our

3-4
X8SIL/X8SIL-F/X8SIL-V User's Manual
web site. Select your motherboard model and download the BIOS ROM le to
your computer. Also, check the current BIOS revision and make sure that it is
newer than your BIOS before downloading. You may choose the zip le or the
.exe le. If you choose the zipped BIOS le, please unzip the BIOS le onto a
bootable device or a USB pen/thumb drive. To ash the BIOS, run the batch
le named "ami.bat" with the new BIOS ROM le from your bootable device or
USB pen/thumb drive. Use the following format:
F:\> ami.bat BIOS-ROM-lename.xxx <Enter>
Notes: Always use the le named “ami.bat” to update the BIOS and insert
a space between "ami.bat" and the lename. The BIOS-ROM-lename will
bear the motherboard name (i.e., X8SIL) and build version as the extension.
For example, "X8SIL0.115".
When completed, your system will automatically reboot. If you choose the .exe
le, please run the .exe le under Windows to create the BIOS ash oppy disk.
Insert the oppy disk into the system you wish to ash the BIOS. Then, boot
the system to the oppy disk. The BIOS utility will automatically ash the BIOS
without any prompts. Please note that this process may take a few minutes to
complete. Do not be concerned if the screen is paused for a few minutes.
Warning: Do not shut down or reset the system while updating the BIOS to
prevent possible system boot failure!
When the BIOS ashing screen is completed, the system will reboot and will
show “Press F1 or F2”. At this point, you will need to load the BIOS defaults.
Press <F1> to go to the BIOS setup screen, and press <F9> to load the default
settings. Next, press <F10> to save and exit. The system will then reboot.
Note: The SPI BIOS chip installed on this motherboard is not removable. To
repair or replace a damaged BIOS chip, please send your motherboard to RMA
at Supermicro for service.
Question: I think my BIOS is corrupted. How can I recover my BIOS?
Answer: Please see Appendix C, BIOS Recovery for detailed instructions.
Question: What's on the CD that came with my motherboard?
Answer: The supplied compact disc has quite a few drivers and programs
that will greatly enhance your system. We recommend that you review the CD
and install the applications you need. Applications on the CD include chipset
drivers for Windows, security and audio drivers.
Question: Why do I get an error message “IASTOR.SYS read error” when install-
ing Windows and "press F6 to install Intel RAID driver" on my X8SIL-F or X8SIE-F
motherboard?

3-5
Chapter 3: Troubleshooting
Answer: To solve this issue, disable the IPMI jumper. Another solution is to
use a USB oppy drive instead of the onboard oppy drive. For the IPMI jumper
location, please check Chapter 1.
Question: Why can't I format a oppy disk in Windows or why does it take too long
to format a oppy disk on the X8SIL-F or X8SIE-F/X8SI6-F motherboard?
Answer: This is maybe because C State Technology is enabled in the BIOS.
Please go to the BIOS (Advanced -> Processor & Clock options -> Intel ® C-
STATE tech), and select “disable”.
Question: What is the heat sink part number for my X8SIL/X8SIL-F/X8SIL-V,
X8SIE/X8SIE-F/X8SIE-LN4 or X8SI6-F motherboard?
Answer: For the 1U passive heat sink, ask for SNK-P0046P (back plate is
included), for the 2U active heat sink, SNK-P0046A4.
Question: Does the PCI-E slots on the X8SIL/X8SIL-F/X8SIL-V, X8SIE/X8SIE-F/
X8SIE-LN4 or X8SI6-F motherboard support graphic cards?
Answer: Yes they do, but not Slot 6 and Slot 7 on the X8SIL motherboard.
This is due to Intel chipset limitations.
Question: Why can't I recover the BIOS even when I’ve followed the instructions
in the user’s manual for X8SIL-F or X8SIE-F?
Answer: Please disable the IPMI jumper and try it again. For the jumper loca-
tion, please check Chapter 1.
Question: My oppy drive returns an error when installing drivers during Windows
installation or BIOS recovery on my X8SIL-F or X8 SIE-F motherboard, what shall
I do?
Answer: Please disable the IPMI jumper and try it again. For the jumper loca-
tion, please check Chapter 1. If you are installing Windows Vista or Windows
7, you may also use a USB drive in lieu of a oppy drive.
Question: My built-in oppy interface is disabled by default. What is the reason
for this?
Answer: This is due to an Intel limitation where a conict exists with the oppy
drive in C-States C4~C7. Therefore, when enabling the oppy disk drive in-
terface, C-States C4~C7 will be disabled automatically to prevent a conict.
If both a oppy disk drive and C-States C4~C7 (enabled) are needed, we
recommend to leave the internal oppy interface at disabled and use a USB
oppy drive instead. For more on Intel C-State architecture, please see Page
4-7 of the BIOS Chapter.

3-6
X8SIL/X8SIL-F/X8SIL-V User's Manual
3-4 Battery Removal and Installation
Power off your system and unplug
your power cable.
1
2
3Using a tool such as a pen or a small
screwdriver, push the battery lock
outwards to unlock it.
Once unlocked, the battery will pop
out from the holder.
Locate the onboard battery as shown
on the right.
Battery Lock
4
5Remove the battery.
Battery
Battery Holder
Battery Installation
To install an onboard battery, follow the steps 1~2 above and continue below:
Indentify the battery's polarity. The
positive (+) side should be facing up.
1
This side should always
face up.
Warning: When replacing a battery,
be sure to only replace it with the
same type.
Insert the battery into the battery
holder and push it down until you hear
a click to ensure that the battery is
securely locked.
21
Click!
2
Battery Removal
To remove the onboard battery, follow the steps below:
Battery Disposal: Please handle used batteries carefully. Do not damage
the battery in any way; a damaged battery may release hazardous materials
into the environment. Do not discard a used battery in the garbage or a public
landll. Please comply with the regulations set up by your local hazardous
waste management agency to dispose of your used battery properly.

3-7
Chapter 3: Troubleshooting
3-5 Returning Merchandise for Service
A receipt or copy of your invoice marked with the date of purchase is required
before any warranty service will be rendered. You can obtain service by calling
your vendor for a Returned Merchandise Authorization (RMA) number. (For faster
service, you may also obtain RMA authorizations online (http://www.supermicro.
com/RmaForm/). When returning to the manufacturer, the RMA number should be
prominently displayed on the outside of the shipping carton, and mailed prepaid
or hand-carried. Shipping and handling charges will be applied for all orders that
must be mailed when service is complete.
This warranty only covers normal consumer use and does not cover damages
incurred in shipping or from failure due to the alteration, misuse, abuse or improper
maintenance of products.
During the warranty period, contact your distributor rst for any product prob-
lems.

3-8
X8SIL/X8SIL-F/X8SIL-V User's Manual
Notes

Chapter 4: AMI BIOS
4-1
Chapter 4
BIOS
4-1 Introduction
This chapter describes the AMI BIOS Setup Utility for the X8SIL/X8SIL-F/X8SIL-V.
The AMI ROM BIOS is stored in a Flash EEPROM and can be easily updated.
This chapter describes the basic navigation of the AMI BIOS Setup Utility setup
screens.
Note: For instructions on BIOS recovery, please refer to the instruction
guide posted at http://www.supermicro.com/support/manuals/.
Starting BIOS Setup Utility
To enter the AMI BIOS Setup Utility screens, press the <Delete> key while the
system is booting up.
Note: In most cases, the <Delete> key is used to invoke the AMI BIOS
setup screen. There are a few cases when other keys are used, such as
<F1>, <F2>, etc.
Each main BIOS menu option is described in this manual. The Main BIOS setup
menu screen has two main frames. The left frame displays all the options that can
be congured. Grayed-out options cannot be congured. Options in blue can be
congured by the user. The right frame displays the key legend. Above the key
legend is an area reserved for a text message. When an option is selected in the
left frame, it is highlighted in white. Often a text message will accompany it. (Note:
the AMI BIOS has default text messages built in. Supermicro retains the option to
include, omit, or change any of these text messages.)
The AMI BIOS Setup Utility uses a key-based navigation system called "hot keys".
Most of the AMI BIOS setup utility "hot keys" can be used at any time during the
setup navigation process. These keys include <F1>, <F10>, <Enter>, <ESC>, ar-
row keys, etc.
Note: Options printed in Bold are default settings.
How To Change the Conguration Data
The conguration data that determines the system parameters may be changed by
entering the AMI BIOS Setup utility. This Setup utility can be accessed by pressing
<Del> at the appropriate time during system boot.

4-2
X8SIL/X8SIL-F/X8SIL-V
How to Start the Setup Utility
Normally, the only visible Power-On Self-Test (POST) routine is the memory test.
As the memory is being tested, press the <Delete> key to enter the main menu of
the AMI BIOS Setup Utility. From the main menu, you can access the other setup
screens. An AMI BIOS identication string is displayed at the left bottom corner of
the screen, below the copyright message.
Warning: Do not upgrade the BIOS unless your system has a BIOS-related
issue. Flashing the wrong BIOS can cause irreparable damage to the
system. In no event shall Supermicro be liable for direct, indirect, special,
incidental, or consequential damages arising from a BIOS update. If you
have to update the BIOS, do not shut down or reset the system while the
BIOS is updating. This is to avoid possible boot failure.
4-2 Main Setup
When you rst enter the AMI BIOS Setup Utility, you will enter the Main setup screen.
You can always return to the Main setup screen by selecting the Main tab on the
top of the screen. The Main BIOS Setup screen is shown below.

Chapter 4: AMI BIOS
4-3
System Overview: The following BIOS information will be displayed:
System Time/System Date
Use this option to change the system time and date. Highlight System Time or Sys-
tem Date using the arrow keys. Enter new values through the keyboard. Press the
<Tab> key or the arrow keys to move between elds. The date must be entered in
Day MM/DD/YY format. The time is entered in HH:MM:SS format. (Note: The time
is in the 24-hour format. For example, 5:30 P.M. appears as 17:30:00.)
Supermicro X8SIL/X8SIL-F/X8SIL-V
Version
Build Date
Processor
The AMI BIOS will automatically display the status of processor as shown below:
Type of Processor
Speed
Physical Count
Logical Count
System Memory
This displays the size of memory available in the system:
Populated Size

4-4
X8SIL/X8SIL-F/X8SIL-V
4-3 Advanced Setup Congurations
Use the arrow keys to select Boot Setup and hit <Enter> to access the submenu
items:
BOOT Feature
Quick Boot
If Enabled, this option will skip certain tests during POST to reduce the time needed
for system boot. The options are Enabled and Disabled.
Quiet Boot
This option allows the bootup screen options to be modied between POST mes-
sages or the OEM logo. Select Disabled to display the POST messages. Select
Enabled to display the OEM logo instead of the normal POST messages. The op-
tions are Enabled and Disabled.
AddOn ROM Display Mode
This sets the display mode for Option ROM. The options are Force BIOS and
Keep Current.
Bootup Num-Lock
This feature selects the Power-on state for Numlock key. The options are Off
and On.
PS/2 Mouse Support
This feature enables support for the PS/2 mouse. The options are Disabled,
Enabled and Auto.

Chapter 4: AMI BIOS
4-5
Wait For 'F1' If Error
This forces the system to wait until the 'F1' key is pressed if an error occurs. The
options are Disabled and Enabled.
Hit 'Del' Message Display
This feature displays "Press DEL to run Setup" during POST. The options are
Enabled and Disabled.
Watch Dog Function
If enabled, the Watch Dog Timer will allow the system to reboot when it is inactive
for more than 5 minutes. The options are Enabled and Disabled.
Power Button Function
This feature controls how the system shuts down when the power button is pressed.
Select 4-Second Override to force the user to press and hold the Power Button for
4 seconds before the system turns off. Select Instant Off if you want the system to
instanty power off when the Power Button is pressed. The options are 4 Second
Override and Instant Off.
Restore on AC Power Loss
Use this feature to set the power state after a power outage. Select Power-Off for
the system power to remain off after a power loss. Select Power-On for the system
power to be turned on after a power loss. Select Last State to allow the system to
resume its last state before a power loss. The options are Power-On, Power-Off
and Last State.
Interrupt 19 Capture
Interrupt 19 is the software interrupt that handles the boot disk function. When this
item is set to Enabled, the ROM BIOS of the host adaptors will "capture" Interrupt
19 at boot and allow the drives that are attached to these host adaptors to function
as bootable disks. If this item is set to Disabled, the ROM BIOS of the host adap-
tors will not capture Interrupt 19, and the drives attached to these adaptors will not
function as bootable devices. The options are Enabled and Disabled.
EUP Support
EuP, or Energy Using Product is a European energy-saving specication that sets
a standard on the maximum total power consumption on electrical products. Se-
lect Enabled to activate EUP support, select Disabled for normal S5 sleep mode
(system wakeup capability).

4-6
X8SIL/X8SIL-F/X8SIL-V
Processor & Clock Options
Warning: Take Caution when changing the Advanced settings. An incorrect
value, a very high DRAM frequency or incorrect DRAM timing may cause
system to become unstable. When this occurs, revert to the default setting.
CPU Ratio
This feature allows the user to use the CPU clock multiplier to multiply CPU speed
in order to enhance performance. Select Manual to Manually set the multiplier set-
ting. Select Auto for the BIOS to automatically select the CPU multiplier setting for
your system. The options are Auto and Manual.
Clock Spread Spectrum
Select Enable to use the feature of Clock Spectrum, which will allow the BIOS to
monitor and attempt to reduce the level of Electromagnetic Interference caused by
the components whenever needed. Select Disabled to enhance system stability.
The options are Disabled and Enabled.
Hardware Prefetcher (Available when supported by the CPU)
If set to Enabled, the hardware pre fetcher will pre fetch streams of data and instruc-
tions from the main memory to the L2 cache in the forward or backward manner to
improve CPU performance. The options are Disabled and Enabled.
Adjacent Cache Line Prefetch (Available when supported by the CPU)
The CPU fetches the cache line for 64 bytes if this option is set to Disabled. The
CPU fetches both cache lines for 128 bytes as comprised if Enabled.
MPS and ACPI MADT Ordering
This feature allows the user to choose the method of ordering for the Multiple APIC
Description Table (MADT). Select Modern Ordering if you have the Microsoft Win-
dows XP or later version of the OS. Select Legacy Ordering if you use Microsoft
Windows 2000 or earlier version of the OS. The options are Modern Ordering and
Legacy Ordering.
Intel® Virtualization Technology (Available when supported by the CPU)
Select Enabled to use the feature of Virtualization Technology to allow one platform
to run multiple operating systems and applications in independent partitions, creat-
ing multiple "virtual" systems in one physical computer. The options are Enabled
and Disabled. Note: If there is any change to this setting, you will need to power
off and restart the system for the change to take effect. Please refer to Intel’s web
site for detailed information.

Chapter 4: AMI BIOS
4-7
Execute-Disable Bit Capability (Available when supported by the OS and
the CPU)
Set to Enabled to enable the Execute Disable Bit which will allow the processor
to designate areas in the system memory where an application code can execute
and where it cannot, thus preventing a worm or a virus from ooding illegal codes
to overwhelm the processor or damage the system during an attack. The default is
Enabled. (Refer to Intel and Microsoft Web Sites for more information.)
Simultaneous Multi-Threading (Available when supported by the CPU)
Set to Enabled to use the Hyper-Threading Technology, which will result in increased
CPU performance. The options are Disabled and Enabled.
Active Processor Cores
Set to Enabled to use a processor's Second Core and beyond. (Please refer to
Intel's web site for more information.) The options are All, 1 and 2.
Intel® EIST Technology
EIST (Enhanced Intel SpeedStep Technology) allows the system to automatically
adjust processor voltage and core frequency in an effort to reduce power consump-
tion and heat dissipation. Please refer to Intel’s web site for detailed informa-
tion. The options are Disable and Enable.
Intel® Turbo Boost Technology (Available if Intel® EIST technology is
Enabled)
This feature allows processor cores to run faster than marked frequency in specic
conditions. The options are Disabled and Enabled.
C1E Support
Select Enabled to use the "Enhanced Halt State" feature. C1E signicantly reduces
the CPU's power consumption by reducing the CPU's clock cycle and voltage during
a "Halt State." The options are Disabled and Enabled.
Intel® C-STATE Tech
If enabled, C-State is set by the system automatically to either C2, C3 or C4 state. The op-
tions are Disabled and Enabled.
Intel® C-STATE Architecture
C-State, a processor power management architecture developed by Intel, can
further reduce power consumption from the basic C1 (Halt State) state, which
blocks clock cycles to the CPU. C-State is an idle state, and instructions are not
processed by the CPU. A brief explanation of all the C-States are as follows:
C0 - Active. The CPU is processing instructions.

4-8
X8SIL/X8SIL-F/X8SIL-V
C1 - Auto Halt. The core clock (CPU) is off. This is the most basic idle state.
Some CPUs support C1E (C1 Enhanced) for lower power consumption.
C2 - Stop Clock. Both the core clock (CPU) and bus clocks (I/O) are off.
C3 - Deep Sleep. The clock generator is off.
C4 - Deeper Deep Sleep. Reduced VCC (Voltage supply).
C6 - Cache Power Off. Power is turned off to all caches.
C7 - Processor Specic. Leaves the initialized application processor in a
processor-specic low C-State. For Intel Core i7 processors, this is the lowest
C-State supported.
C-State package limit setting
If set to Auto, the AMI BIOS will automatically set the limit on the C-State package register.
The options are Auto, C1, C3, C6 and C7.
C1 Auto Demotion
When enabled, the CPU will conditionally demote C3, C6 or C7 requests to C1 based on
un-core auto-demote information. The options are Disabled and Enabled.
C3 Auto Demotion
When enabled, the CPU will conditionally demote C6 or C7 requests to C3 based on un-core
auto-demote information. The options are Disabled and Enabled.
Advanced Chipset Control
The items included in the Advanced Settings submenu are listed below.
Memory Remap Feature
This feature when enabled, allows the remapping of overlapped PCI memory above
the total physical memory. The settings are Enabled and Disabled.
Intel VT-d
Select Enabled to enable Intel's Virtualization Technology support for Direct I/O VT-d
by reporting the I/O device assignments to VMM through the DMAR ACPI Tables.
This feature offers fully-protected I/O resource-sharing across the Intel platforms,
providing the user with greater reliability, security and availability in networking and
data-sharing. The settings are Enabled and Disabled.
Active State Power Management
Select Enabled to start Active-State Power Management for signal transactions
between L0 and L1 Links on the PCI Express Bus. This maximizes power-saving
and transaction speed. The options are Enabled and Disabled.

Chapter 4: AMI BIOS
4-9
Route Port 80h Cycles to
This feature allows the user to decide which bus to send debug information to. The
options are PCI and LPC.
USB Functions
This feature allows the user to decide the number of onboard USB ports to be
enabled. The Options are: Disabled and Enabled.
Legacy USB Support (available if USB Functions above is Enabled)
Select Enabled to use Legacy USB devices. If this item is set to Auto, Legacy
USB support will be automatically enabled if a legacy USB device is installed
on the motherboard, and vise versa. The settings are Disabled, Enabled and
Auto.
SATA / Floppy Conguration
When this submenu is selected, the AMI BIOS automatically detects the presence
of the IDE Devices and displays the following items:
Floppy A
This feature allows the user to select the type of oppy drive connected to the
system. The options are Disabled, 360KB 5 1/4", 1.2MB 5 1/4", 720KB 3 1/2",
1.44MB 3 1/2" and 2.88MB 3 1/2".
SATA#1 Conguration
If Compatible is selected, it sets SATA#1 to legacy compatibility mode, while se-
lecting Enhanced sets SATA#1 to native SATA mode. The options are Disabled,
Compatible, Enhanced.
Congure SATA as
This feature allows the user to select the drive type for SATA#1. The options are
IDE, RAID, AHCI and Disabled.
ICH RAID CodeBase (Available if RAID is selected above)
Select Intel to enable the Intel SATA Host RAID Utility. Select Adaptec to use the
Adaptec Host RAID Utility. The options are Intel and Adaptec.
Note: RAID is supported on the X8SIL-F/X8SIL-V only.
SATA#2 Conguration (Available if IDE is enabled under "Congure SATA#1
as" above)
Selecting Enhanced will set SATA#2 to native SATA mode. The options are
Disabled and Enhanced

4-10
X8SIL/X8SIL-F/X8SIL-V
IDE Detect Timeout (sec)
Use this feature to set the time-out value for the BIOS to detect the ATA, ATAPI
devices installed in the system. The options are 0 (sec), 5, 10, 15, 20, 25, 30, and
35.
SATA 0 ~ SATA 5
These settings allow the user to set the parameters of Primary IDE Master/Slave,
Secondary IDE Master/Slave, Third and Fourth IDE Master slots. Hit <Enter> to
activate the following submenu screen for detailed options of these items. Set the
correct congurations accordingly. The items included in the submenu are:
Type
Select the type of device connected to the system. The options are Not Installed,
Auto, CD/DVD and ARMD.
LBA/Large Mode
LBA (Logical Block Addressing) is a method of addressing data on a disk drive.
In the LBA mode, the maximum drive capacity is 137 GB. For drive capacities
over 137 GB, your system must be equipped with a 48-bit LBA mode addressing.
If not, contact your manufacturer or install an ATA/133 IDE controller card that
supports 48-bit LBA mode. The options are Disabled and Auto.
Block (Multi-Sector Transfer)
Block Mode boosts the IDE drive performance by increasing the amount of data
transferred. Only 512 bytes of data can be transferred per interrupt if Block Mode
is not used. Block Mode allows transfers of up to 64 KB per interrupt. Select
Disabled to allow data to be transferred from and to the device one sector at
a time. Select Auto to allow data transfer from and to the device occur multiple
sectors at a time if the device supports it. The options are Auto and Disabled.
PIO Mode
The IDE PIO (Programmable I/O) Mode programs timing cycles between the
IDE drive and the programmable IDE controller. As the PIO mode increases, the
cycle time decreases. The options are Auto, 0, 1, 2, 3, and 4.
Select Auto to allow the AMI BIOS to automatically detect the PIO mode. Use
this value if the IDE disk drive support cannot be determined.
Select 0 to allow the AMI BIOS to use PIO mode 0. It has a data transfer rate
of 3.3 MBs.
Select 1 to allow the AMI BIOS to use PIO mode 1. It has a data transfer rate
of 5.2 MBs.

Chapter 4: AMI BIOS
4-11
Select 2 to allow the AMI BIOS to use PIO mode 2. It has a data transfer rate
of 8.3 MBs.
Select 3 to allow the AMI BIOS to use PIO mode 3. It has a data transfer rate
of 11.1 MBs.
Select 4 to allow the AMI BIOS to use PIO mode 4. It has a data transfer band-
width of 32-Bits. Select Enabled to enable 32-Bit data transfer.
DMA Mode
Select Auto to allow the BIOS to automatically detect IDE DMA mode when the
IDE disk drive support cannot be determined.
Select SWDMA0 to allow the BIOS to use Single Word DMA mode 0. It has a
data transfer rate of 2.1 MBs.
Select SWDMA1 to allow the BIOS to use Single Word DMA mode 1. It has a
data transfer rate of 4.2 MBs.
Select SWDMA2 to allow the BIOS to use Single Word DMA mode 2. It has a
data transfer rate of 8.3 MBs.
Select MWDMA0 to allow the BIOS to use Multi Word DMA mode 0. It has a
data transfer rate of 4.2 MBs.
Select MWDMA1 to allow the BIOS to use Multi Word DMA mode 1. It has a
data transfer rate of 13.3 MBs.
Select MWDMA2 to allow the BIOS to use Multi-Word DMA mode 2. It has a
data transfer rate of 16.6 MBs.
Select UDMA0 to allow the BIOS to use Ultra DMA mode 0. It has a data transfer
rate of 16.6 MBs. It has the same transfer rate as PIO mode 4 and Multi Word
DMA mode 2.
Select UDMA1 to allow the BIOS to use Ultra DMA mode 1. It has a data transfer
rate of 25 MBs.
Select UDMA2 to allow the BIOS to use Ultra DMA mode 2. It has a data transfer
rate of 33.3 MBs.
Select UDMA3 to allow the BIOS to use Ultra DMA mode 3. It has a data transfer
rate of 66.6 MBs.
Select UDMA4 to allow the BIOS to use Ultra DMA mode 4 . It has a data
transfer rate of 100 MBs.
The options are Auto, SWDMAn, MWDMAn, and UDMAn.
S.M.A.R.T. For Hard disk drives
Self-Monitoring Analysis and Reporting Technology (SMART) can help predict
impending drive failures. Select Auto to allow the AMI BIOS to automatically de-

4-12
X8SIL/X8SIL-F/X8SIL-V
tect hard disk drive support. Select Disabled to prevent the AMI BIOS from using
the S.M.A.R.T. Select Enabled to allow the AMI BIOS to use the S.M.A.R.T. to
support hard drive disk. The options are Disabled, Enabled, and Auto.
32-Bit Data Transfer
Select Enable to enable the function of 32-bit IDE data transfer. The options are
Enabled and Disabled.
PCI/PnP Conguration
This feature allows the user to set the PCI/PnP congurations for the following items:
Clear NVRAM
This feature clears the NVRAM during system boot. The options are No and
Yes.
Plug & Play OS
Selecting Yes allows the OS to congure Plug & Play devices. (This is not required
for system boot if your system has an OS that supports Plug & Play.) Select No to
allow the AMI BIOS to congure all devices in the system.
PCI Latency Timer
This feature sets the latency Timer of each PCI device installed on a PCI bus. Select
64 to set the PCI latency to 64 PCI clock cycles. The options are 32, 64, 96, 128,
160, 192, 224 and 248.
PCI IDE Bus Master
When enabled, the BIOS uses PCI bus mastering for reading/writing to IDE drives.
The options are Disabled and Enabled.
PCIE I/O Performace
This feature selects the setting for the IOH PCIE maximum payload size. The op-
tions are 128B and 256B.
ROM Scan Ordering
This item determines what kind of option ROM activates over another. The options
are Onboard First and Add-on First.
PCIe Slots 5, 6, 7 & PCI Slot 4 OPROM
Use this feature to enable or disable PCI slot Option ROMs. The options are Dis-
abled and Enabled.
Onboard LAN1 Option ROM Select

Chapter 4: AMI BIOS
4-13
This feature selects whether to load the iSCSI or PXE onboard LAN option ROM.
The options are iSCSI and PXE.
Load Onboard LAN1 Option ROM/Load Onboard LAN2 Option ROM
This feature is to enable or disable the onboard option ROMs. The options are
Disabled and Enabled.
Boot Graphics Adapter Priority
Use the feature to select the graphics controller to be used as the primary boot
device. The options are Other and Onboard VGA.
Super IO Device Conguration
Serial Port1 Address/ Serial Port2 Address
This option species the base I/O port address and the Interrupt Request address
of Serial Port 1 and Serial Port 2. Select Disabled to prevent the serial port from
accessing any system resources. When this option is set to Disabled, the serial port
physically becomes unavailable. Select 3F8/IRQ4 to allow the serial port to use 3F8
as its I/O port address and IRQ 4 for the interrupt address. The options for Serial
Port1 are Disabled, 3F8/IRQ4, 3E8/IRQ4, 2F8/IRQ3 and 2E8/IRQ3. The options for
Serial Port2 are Disabled, 3F8/IRQ4, 3E8/IRQ4, 2F8/IRQ3, and 2E8/IRQ3.
Onboard Floppy Controller
Select Enabled to enable the onboard Floppy Controller. The options are Enabled
and Disabled.
Remote Access Conguration
Remote Access
This allows the user to enable the Remote Access feature. The options are Dis-
abled and Enabled.
If Remote Access is set to Enabled, the following items will display:
Serial Port Number
This feature allows the user decide which serial port to be used for Console
Redirection. The options are COM 1, COM 2 and COM 3.
Note: Serial Over LAN (SOL) is enabled on COM 3 on the X8SIL-F.

4-14
X8SIL/X8SIL-F/X8SIL-V
Serial Port Mode
This feature allows the user to set the serial port mode for Console Redirection.
The options are 115200 8, n 1; 57600 8, n, 1; 38400 8, n, 1; 19200 8, n, 1; and
9600 8, n, 1.
Flow Control
This feature allows the user to set the ow control for Console Redirection. The
options are None, Hardware, and Software.
Redirection After BIOS POST
Select Disabled to turn off Console Redirection after Power-On Self-Test
(POST). Select Always to keep Console Redirection active all the time after
POST. (Note: This setting may not be supported by some operating systems.)
Select Boot Loader to keep Console Redirection active during POST and Boot
Loader. The options are Disabled, Boot Loader, and Always.
Terminal Type
This feature allows the user to select the target terminal type for Console Redi-
rection. The options are ANSI, VT100, and VT-UTF8.
VT-UTF8 Combo Key Support
A terminal keyboard denition that provides a way to send commands from a
remote console. Available options are Enabled and Disabled.
Sredir Memory Display Delay
This feature denes the length of time in seconds to display memory information.
The options are No Delay, Delay 1 Sec, Delay 2 Sec, and Delay 4 Sec.
Hardware Health Conguration
This feature allows the user to monitor Hardware Health of the system and review
the status of each item when displayed.
CPU Overheat Alarm
This option allows the user to select the CPU Overheat Alarm setting which determines
when the CPU OH alarm will be activated to provide warning of possible CPU overheat.
Warning: Any temperature that exceeds the CPU threshold temperature
predened by the CPU manufacturer may result in CPU overheat or system
instability. When the CPU temperature reaches this predened threshold, the
CPU and system cooling fans will run at full speed.
The options are:

Chapter 4: AMI BIOS
4-15
•The Early Alarm: Select this setting if you want the CPU overheat alarm (includ-
ing the LED and the buzzer) to be triggered as soon as the CPU temperature
reaches the CPU overheat threshold as predened by the CPU manufacturer.
•The Default Alarm: Select this setting if you want the CPU overheat alarm
(including the LED and the buzzer) to be triggered when the CPU temperature
reaches about 5oC above the threshold temperature as predened by the CPU
manufacturer to give the CPU and system fans additional time needed for CPU
and system cooling. In both the alarms above, please take immediate action
as shown below.
System Temperature
This feature displays the absolute system temperature (i.e., 34oC).
CPU Temperature
The CPU Temperature feature will display the CPU temperature status as detected
by the BIOS:
Low – This level is considered as the ‘normal’ operating state. The CPU temperature
is well below the CPU ‘Temperature Tolerance’. The motherboard fans and CPU will
run normally as congured in the BIOS (Fan Speed Control).
User intervention: No action required.
Medium – The processor is running warmer. This is a ‘precautionary’ level and
generally means that there may be factors contributing to this condition, but the CPU
is still within its normal operating state and below the CPU ‘Temperature Tolerance’.
The motherboard fans and CPU will run normally as congured in the BIOS. The
fans may adjust to a faster speed depending on the Fan Speed Control settings.
User intervention: No action is required. However, consider checking the CPU
fans and the chassis ventilation for blockage.
High – The processor is running hot. This is a ‘caution’ level since the CPU’s ‘Tem-
perature Tolerance’ has been reached (or has been exceeded) and may activate
an overheat alarm:
The Default Alarm – the Overheat LED and system buzzer will activate if the High
condition continues for some time after it is reached. The CPU fan will run at full
speed to bring the CPU temperature down. If the CPU temperature still increases
even with the CPU fan running at full speed, the system buzzer will activate and
the Overheat LED will turn on.
The Early Alarm – the Overheat LED and system buzzer will be activated exactly
when the High level is reached. The CPU fan will run at full speed to bring the
CPU temperature down.

4-16
X8SIL/X8SIL-F/X8SIL-V
Note: In both the alarms above, please take immediate action as shown below.
See CPU Overheat Alarm to modify the above alarm settings.
User intervention: If the system buzzer and Overheat LED has activated, take
action immediately by checking the system fans, chassis ventilation and room
temperature to correct any problems. Note: the system may shut down if it con-
tinues for a long period to prevent damage to the CPU.
Notes: The CPU thermal technology that reports absolute temperatures
(Celsius/Fahrenheit) has been upgraded to a more advanced feature by Intel
in its newer processors. The basic concept is that each CPU is embedded
by a unique temperature information that the motherboard can read. This
‘Temperature Threshold’ or ‘Temperature Tolerance’ has been assigned at
the factory and is the baseline by which the motherboard takes action during
different CPU temperature conditions (i.e., by increasing CPU Fan speed,
triggering the Overheat Alarm, etc). Since CPUs can have different ‘Tem-
perature Tolerances’, the installed CPU can now send its ‘Temperature Toler-
ance’ to the motherboard resulting in better CPU thermal management.
Supermicro has leveraged this feature by assigning a temperature status to
certain thermal conditions in the processor (Low, Medium and High). This
makes it easier for the user to understand the CPU’s temperature status,
rather than by just simply seeing a temperature reading (i.e., 25oC).
The information provided above is for your reference only. For more information on
thermal management, please refer to Intel’s Web site at www.Intel.com.
Fan Speed Control Modes
This feature allows the user to decide how the system controls the speeds of the
onboard fans. The CPU temperature and the fan speed are correlative. When the
CPU on-die temperature increases, the fan speed will also increase for effective
system cooling. Select "Full Speed/FS" to allow the onboard fans to run at full
speed (of 100% Pulse Width Modulation Duty Cycle) for maximum cooling. The
FS setting is recommended for special system conguration or debugging. Select
"Performance/PF" for the onboard fans to run at 70% of the Initial PWM Cycle for
better system cooling. The PF setting is recommended for high-power-consuming
and high-density systems. Select "Balanced/BL" for the onboard fans to run at 50%
of the Initial PWM Cycle in order to balance the needs between system cooling
and power saving. The BL setting is recommended for regular systems with normal
hardware congurations. Select "Energy Saving/ES" for the onboard fans to run at
30% of the Initial PWM Cycle for best power efciency and maximum quietness.
The Options are: Full Speed (@100% of PWM Cycle), Performance (@70% of
PWM Cycle), Balanced (@50% of PWM Cycle), and Energy Saving (@30% of
PWM Cycle).

Chapter 4: AMI BIOS
4-17
Fan1 ~ Fan 6 Reading
This feature displays the fan speed readings from fan interfaces Fan1 through
Fan5.
CPU Vcore, AVCC, 3.3Vcc, 12V, V_DIMM, 5V, -12V, 3.3Vsb, and Vbat
ACPI Conguration
Use this feature to congure Advanced Conguration and Power Interface (ACPI)
power management settings for your system.
High Performance Event Timer
Select Enabled to activate the High Performance Event Timer (HPET) that produces
periodic interrupts at a much higher frequency than a Real-time Clock (RTC) does in
synchronizing multimedia streams, providing smooth playback and reducing the de-
pendency on other timestamp calculation devices, such as an x86 RDTSC Instruc-
tion embedded in the CPU. The High Performance Event Timer is used to replace
the 8254 Programmable Interval Timer. The options are Enabled and Disabled.
PS2 KB/MS Wakeup
This feature is used to awaken the system from Standby mode by a PS/2 mouse or
PS/2 keyboard. This must be enabled in the system level and Operating System
(O/S) as well, if supported).
S1 (OS Control) - Enables system wake up from S1 (default).
S5 (OS Control) - Enables system wake up from S1/S3/S4/S5.
Force Enable - Wake up support is always enabled regardless whether it is
disabled in the O/S.
Force Disable - Wake up support is always disabled regardless whether it is
enabled in the O/S.
ACPI Aware O/S
Enable ACPI support if it is supported by the OS to control ACPI through the Operat-
ing System. Otherwise, disable this feature. The options are Yes and No.
ACPI APIC Support
Select Enabled to include the ACPI APIC Table Pointer in the RSDT (Root System
Description Table) pointer list. The options are Enabled and Disabled.
APIC ACPI SCI IRQ
When this item is set to Enabled, APIC ACPI SCI IRQ is supported by the system.
The options are Enabled and Disabled.

4-18
X8SIL/X8SIL-F/X8SIL-V
Headless Mode
This feature is used to enable the system to function without a keyboard, monitor
or mouse attached The options are Enabled and Disabled.
ACPI Version Features
The options are ACPI v1.0, ACPI v2.0 and ACPI v3.0. Please refer to ACPI's website
for further explanation: http://www.acpi.info/
Trusted Computing
TCG/TPM Support
Select Yes to enable support for trusted platforms (TPM 1.1/1.2) and allow the BIOS
to automatically download the drivers needed to provide support for the platforms
specied. The options are Yes and No.
TPM Owner
This feature enables or disables the installation of, or Clears TPM ownership.
The options are Don't Change, Enable Install, Disable Install and Clear.
Execute TPM Command
This feature enables or disables the sending of commands to the TPM. The
options are Don't Change, Enabled and Disabled.
Clearing the TPM
Press <Enter> to clear the TPM memory. This will erase all information related
to TPM support.
If TCG/TPM Support is set to Yes, the TPM Status will display:
TPM Enable/Disable Status
TPM Owner Status

Chapter 4: AMI BIOS
4-19
IPMI Conguration (X8SIL-F Only)
Intelligent Platform Management Interface (IPMI) is a set of common interfaces that
IT administrators can use to monitor system health and to manage the system as a
whole. For more information on the IPMI specications, please visit Intel's website
at www.intel.com.
IPMI Firmware Revision
This item displays the current IPMI rmware revision.
Status of BMC
Baseboard Management Controller (BMC) manages the interface between system
management software and platform hardware. This is an informational feature which
returns the status code of the BMC micro controller.
View BMC System Event Log
This feature is used to view any BMC events. It shows the total number of entries
and will allow the viewing of each event by scrolling down on an Entry Number
and pressing Enter.
Clear BMC System Event Log
This feature is used to clear the System Event Log. Caution: Any cleared information
is unrecoverable. Make absolutely sure you no longer need any data stored in the
log before clearing the BMC Event Log.
Set LAN Conguration
Set this feature to congure the IPMI LAN adapter with a network address.
Channel Number - Enter the channel number for the SET LAN Cong com-
mand. This is initially set to [1]. Press "+" or "-" on your keyboard to change
the Channel Number.
Channel Number Status - This feature returns the channel status for the
Channel Number selected above: "Channel Number is OK" or "Wrong Channel
Number".
IP Address Source - This feature selects whether the IP address, Subnet Mask
and Gateway Address are automatically assigned by the network's DHCP server
(Dynamic Host and Conguration Protocol) or manually entered by the user
(Static). If Static is selected, the IP Address, Subnet Mask and Gateway Address
must be manually entered below. The options are Static and DHCP.
IP Address - Enter the IP address for this machine. This should be in decimal
and in dotted quad form (i.e., 192.168.10.253). The value of each three-digit
number separated by dots should not exceed 255.

4-20
X8SIL/X8SIL-F/X8SIL-V
Subnet Mask - Subnet masks tell the network which subnet this machine be-
longs to. The value of each three-digit number separated by dots should not
exceed 255.
Gateway Address - Enter the Gateway address this machine will use (i.e.,
192.168.10.1).
MAC Address - The BIOS will automatically enter the MAC address of this
machine, however it may be over-ridden. MAC addresses are 6 two-digit hexa-
decimal numbers (Base 16, 0 ~ 9, A, B, C, D, E, F) separated by dots. (i.e.,
00.30.48.D0.D4.60)
BMC Watch Dog Timer Action
Allows the BMC to reset or power down the system if the operating system hangs
or crashes. The options are Disabled, Reset System, Power Down, Power Cycle.
BMC WatchDog TimeOut [Min:Sec]
This option appears if BMC Watch Dog Timer Action (above) is enabled. This
is a timed delay in minutes or seconds, before a system power down or reset
after an operating system failure is detected. The options are [5 Min], [1 Min],
[30 Sec], and [10 Sec].
Event Log Conguration
View Event Log
Use this option to view the System Event Log.
Mark all events as read
This option marks all events as read. The options are OK and Cancel.
Clear event log
This option clears the Event Log memory of all messages. The options are OK
and Cancel.
ECC Event Logging
Use this option to enable or disable Error Correcting Code (ECC) Event Logging.
The options are Enabled and Disabled.
PCIE Error Log
Use this option to enable logging of errors encountered in the system's PCIe bus.
The options are Yes and No.

Chapter 4: AMI BIOS
4-21
Intel® TXT (LT) Conguration
Intel TXT Initialization
Intel TXT (Trusted Execution Technology) helps protect against software-based at-
tacks and ensures protection, condentiality and integrity of data stored or created
on the system. The options are Enabled and Disabled. When enabled the following
information are displayed along with their status.:
BIOS AS [SCLEAN]
BIOS AC [SCHECK]
Lock DPR
Reset TPM Establishment Flag

4-22
X8SIL/X8SIL-F/X8SIL-V
4-4 Security Settings
The AMI BIOS provides a Supervisor and a User password. If you use both pass-
words, the Supervisor password must be set rst.
Supervisor Password
This item indicates if a supervisor password has been entered for the system. Clear
means such a password has not been used and Set means a supervisor password
has been entered for the system.
User Password:
This item indicates if a user password has been entered for the system. Clear
means such a password has not been used and Set means a user password has
been entered for the system.
Change Supervisor Password
Select this feature and press <Enter> to access the submenu, and then type in a
new Supervisor Password.
User Access Level (Available when Supervisor Password is set as above)
Available options are Full Access: grants full User read and write access to the
Setup Utility, View Only: allows access to the Setup Utility but the elds cannot be
changed, Limited: allows only limited elds to be changed such as Date and Time,
No Access: prevents User access to the Setup Utility.
Change User Password
Select this feature and press <Enter> to access the submenu , and then type in a
new User Password.

Chapter 4: AMI BIOS
4-23
Use this feature to congure Boot Settings:
Boot Device Priority
This feature allows the user to specify the sequence of priority for the Boot Device.
The settings are 1st boot device, 2nd boot device, 3rd boot device, 4th boot device,
5th boot device and Disabled.
•1st Boot Device - 1st Floppy Drive
•2nd Boot Device - [USB: XXXXXXXXX]
•3rd Boot Device - [SATA: XXXXXXXXX]
•4th Boot Device - [Network: XXXXXXXXX]
•5th Boot Device - [Network: XXXXXXXXX]
Clear User Password (Available only if User Password has been set)
Password Check
Available options are Setup and Always.
Boot Sector Virus Protection
When Enabled, the AMI BOIS displays a warning when any program (or virus) is-
sues a Disk Format command or attempts to write to the boot sector of the hard
disk drive. The options are Enabled and Disabled.
4-5 Boot Settings

4-24
X8SIL/X8SIL-F/X8SIL-V
Select the Exit tab from the AMI BIOS Setup Utility screen to enter the Exit BIOS
Setup screen.
Save Changes and Exit
When you have completed the system conguration changes, select this option
to leave the BIOS Setup Utility and reboot the computer, so the new system con-
guration parameters can take effect. Select Save Changes and Exit from the Exit
menu and press <Enter>.
Removable Drives
This feature allows the user to specify the boot sequence from available Removable
Drives. The settings are 1st boot device, 2nd boot device, and Disabled.
•1st Drive
•2nd Drive - [USB: XXXXXXXXX]
Retry Boot Devices
Select this option to retry booting from the congured boot devices if the systems
fail to boot initially. The options are Disabled and Enabled.
CD/DVD Drives
This feature allows the user to specify the boot sequence from available CD/DVD
Drives (i.e., 1st Drive, 2nd Drive, etc).
4-6 Exit Options

Chapter 4: AMI BIOS
4-25
Discard Changes and Exit
Select this option to quit the BIOS Setup without making any permanent changes
to the system conguration, and reboot the computer. Select Discard Changes and
Exit from the Exit menu and press <Enter>.
Discard Changes
Select this option and press <Enter> to discard all the changes and return to the
AMI BIOS Utility Program.
Load Optimal Defaults
To set this feature, select Load Optimal Defaults from the Exit menu and press
<Enter>. Then, select OK to allow the AMI BIOS to automatically load Optimal De-
faults to the BIOS Settings. The Optimal settings are designed for maximum system
performance, but may not work best for all computer applications.
Load Fail-Safe Defaults
To set this feature, select Load Fail-Safe Defaults from the Exit menu and press
<Enter>. The Fail-Safe settings are designed for maximum system stability, but not
for maximum performance.

4-26
X8SIL/X8SIL-F/X8SIL-V
Notes

Appendix A: POST Error Beep Codes
A-1
Appendix A
POST Error Beep Codes
This section lists POST (Power On Self Test) error beep codes for the AMI BIOS.
POST error beep codes are divided into two categories: recoverable and terminal.
This section lists Beep Codes for recoverable POST errors.
Recoverable POST Error Beep Codes
When a recoverable type of error occurs during POST, BIOS will display a POST
code that describes the problem. BIOS may also issue one of the following beep
codes:
1 long and eight short beeps - video conguration error
1 repetitive long beep - no memory detected
1 continuous beep with the front panel Overheat LED on - system overheat

A-2
X8SIL/X8SIL-F/X8SIL-V User's Manual
Notes

Appendix B: Software Installation Instructions
B-1
Driver/Tool Installation Display Screen
Note: Click the icons showing a hand writing on the paper to view the
readme les for each item. Click a computer icon to the right of an item to
install an item (from top to the bottom) one at a time. After installing each
item, you must re-boot the system before proceeding with the next item
on the list. The bottom icon with a CD on it allows you to view the entire
contents of the CD.
Appendix B
Software Installation Instructions
B-1 Installing Drivers
After you've installed the Windows Operating System, insert the driver CD and a
screen as shown below will appear. You are ready to install software programs and
drivers that have not yet been installed. To install these software programs and
drivers, click the icons to the right of these items.

B-2
X8SIL/X8SIL-F/X8SIL-V User's Manual
SuperDoctor® III Interface Display Screen-I (Health Information)
B-2 Conguring SuperDoctor® III
The SuperDoctor® III program is a Web-based management tool that supports
remote management capability. It includes Remote and Local Management tools.
The local management tool is called the SD III Client. The SuperDoctor III program
included on the CDROM that came with your motherboard allows you to monitor the
environment and operations of your system. SuperDoctor III displays crucial system
information such as CPU temperature, system voltages and fan status. See the
Figure below for a display of the SuperDoctor III interface.
Note: 1 The default user name and password are ADMIN.
Note 2: In the Windows OS environment, the SuperDoctor III settings take pre-
cedence over the BIOS settings. When rst installed, SuperDoctor III adopts the
temperature threshold settings previously set in BIOS. Any subsequent changes
to these thresholds must be made within SuperDoctor, since the settings over-
ride the BIOS settings. For the Windows OS to adopt the BIOS temperature
threshold settings, please change the SD III Client settings to be the same as
those set in BIOS.

Appendix B: Software Installation Instructions
B-3
SuperDoctor® III Interface Display Screen-II (Remote Control)
Note: The SuperDoctor III software and manual may be downloaded from our
Website at:
http://www.supermicro.com/products/accessories/software/SuperDoctorIII.cfm.
For Linux, we still recommend that you use SuperDoctor II, this version is also
available for download at the link above.

B-4
X8SIL/X8SIL-F/X8SIL-V User's Manual
Notes

Appendix C: BIOS Recovery
C-1
Appendix C - BIOS Recovery
The recovery procedure described in this section is to be used only when advised
by your Supermicro Technical Support representative, or in cases of emergencies
where the system no longer can boot due to a corrupted BIOS. DO NOT re-program
(re-ash) the BIOS if your system is running properly.
C-1 Recovery Process from a USB Device/Drive
(Recommended Method)
If the BIOS le is corrupted and the system is not able to boot up, this feature will
allow you to recover the BIOS image using a USB-attached device. A USB Flash
Drive or a USB CD/DVD ROM/RW drive may be used for this purpose. Please
note that a USB Hard Disk drive is NOT supported at this time. Below is a two-part
procedure to recover the BIOS:
Part 1: Boot Sector Recovery Process
1. Using a different system, download and copy the correct BIOS binary image
into a USB ash device or a writable CD/DVD disc's Root "\" Directory. Rename the
downloaded le to "super.rom", so the recovery process can recognize and read
the BIOS binary le.
2. Insert the USB device that contains the new BIOS binary image (“super.rom”)
and power the system down.
3. While powering on the system, press and hold <Ctrl> and <Home> simultane-
ously on your keyboard until the USB device's LED indicator comes on. This will
take a few seconds or up to one minute.
4. Once the USB device's LED is on, release the <Ctrl> and <Home> keys. The
system may generate beep codes to indicate that the BIOS ROM rmware is being
reprogrammed. The screen will also display a message as shown below. DO NOT
INTERRUPT THIS PROCESS!

C-2
X8SIL/X8SIL-F/X8SIL-V User’s Manual
5. When the Boot Sector Recovery Process is complete, the system will reboot
automatically and you will see a checksum error on your screen.
Part 2: BIOS Reprogramming (Re-Flashing)
After completing the Boot Sector Recovery Process, you will need to reprogram
(“re-ash”) the proper BIOS binary le again into the BIOS ROM in order to have
the correct BIOS le loaded by the system. For details on how to ash/re-ash a
BIOS, please check our website for “Update your BIOS”, or see the section 3-3
(FAQ) of this manual. DO NOT INTERRUPT THIS PROCESS!
When completed, the system will reboot automatically, and you will see a checksum
error again.
Press “F1” to go to setup. Press “F9” to load the defaults and then press “F10” to
save and exit.
C-2 Recovery Process from an IDE/SATA ATAPI Disc
Drive
This process is identical to the Boot Sector Recovery Process from a USB Device/
Drive (as above), except that the BIOS image le (“super.rom”) is loaded from an
IDE/ATAPI CD/DVD/ROM/RW disc drive that is attached to the system. Note that
loading from an IDE/SATA hard disk drive is NOT supported.
1. Using a different system, download and copy the correct BIOS binary image
into a writable CD/DVD disc's Root "\" Directory. Rename the downloaded le to
"super.rom", so the recovery process can recognize and read the BIOS binary
le.
Note: Record/Burn the CD/DVD-R/RW disc using the ISO 9600 standard format.
Refer to your CD/DVD mastering application documentation for instructions on
how to do this.
2. Insert the newly-created disc into the IDE/SATA ATAPI CD/DVD ROM/RW
drive of the system that has the corrupted BIOS and power the system down.
3. Follow the step-by-step instructions under Part 1 - Recovery Process from a
USB Device/Drive (above) starting from Step 3 and continue on to Part 2 - BIOS
Reprogramming (Re-Flashing).
If your system still does not boot up after performing the above procedure, then
there may be other issues with your motherboard. Please contact your customer
service representative.
(Disclaimer Continued)
The products sold by Supermicro are not intended for and will not be used in life support systems, medical equipment, nuclear facilities or systems, aircraft, aircraft devices,
aircraft/emergency communication devices or other critical systems whose failure to perform be reasonably expected to result in signicant injury or loss of life or catastrophic
property damage. Accordingly, Supermicro disclaims any and all liability, and should buyer use or sell such products for use in such ultra-hazardous applications, it does so
entirely at its own risk. Furthermore, buyer agrees to fully indemnify, defend and hold Supermicro harmless for and against any and all claims, demands, actions, litigation, and
proceedings of any kind arising out of or related to such ultra-hazardous use or sale.