Clarke Carpetmaster 100 Series Upright Vacuum Parts Manual
Clarke-Carpetmaster-200-Series-Upright-Vacuum-Parts-Manual clarke-carpetmaster-200-series-upright-vacuum-parts-manual clarke-carpetmaster-200-series-upright-vacuum-parts-manual 1366 file product_file sweepscrub
2016-10-11
: Sweepscrub Clarke-Carpetmaster-100-Series-Upright-Vacuum-Parts-Manual clarke-carpetmaster-100-series-upright-vacuum-parts-manual 1363 file product_file
Open the PDF directly: View PDF
.
Page Count: 14

823 0103 020
09-03
Carpetmaster 112, 115, 212, 215, 218
11
SPARE PARTS LIST
Part number 823 0103 020 P03 2011-12
WHEN ORDERING PARTS
* Use the digit numbers from the "Part No." columns in this spare parts list.
* Specify the model and serial number of the machine.
* Use the space below to record the model and serial number for future reference.
Model _______________________ Serial no. _____________________________
Clarke reserves the right to make changes or improvements to its machine without notice.
Always use genuine Clarke Parts for repair.
Nilsk-Advance, 14600 21st Avenue North, Plymouth, MN 55447

823 0103 020 09-03
2
Carpetmaster 112, 115, 212, 215, 218
DESCRIPTION PLAN
Wiring diagrams 3
Motors and electrical parts 4
Brush parts 6
Container parts 8
Filters 10
Nozzle and tube 12
Locations 15
Warranty information 16

823 0103 020
09-03
Carpetmaster 112, 115, 212, 215, 218
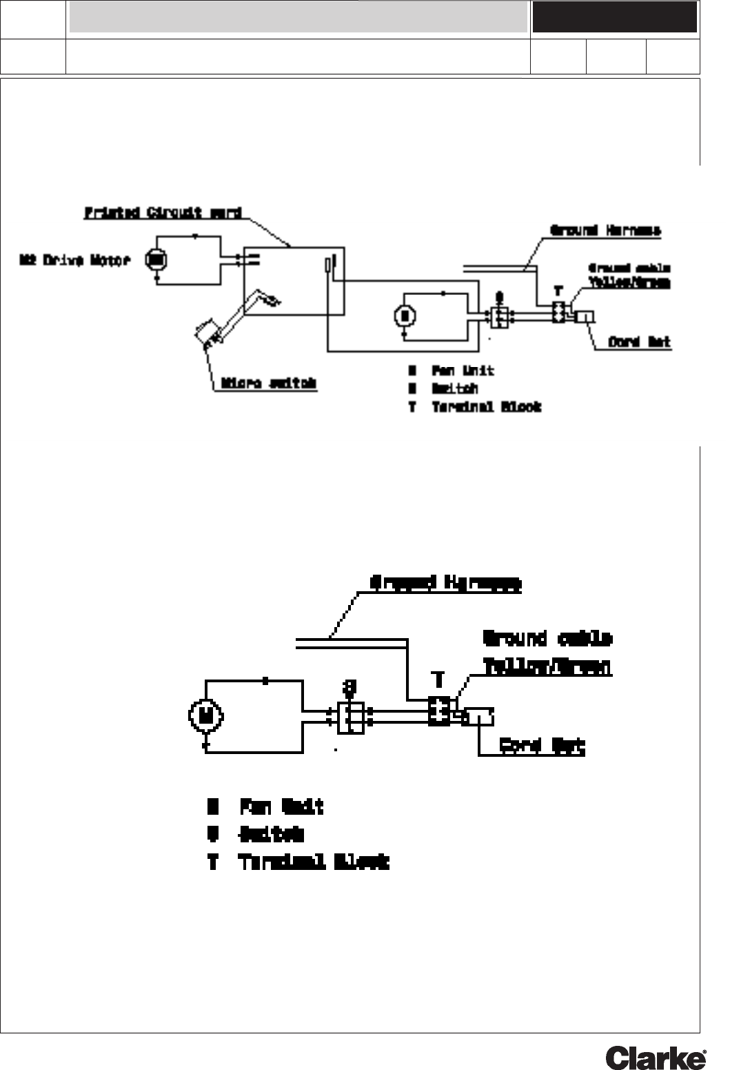
3
Single motor version 112, 115 - Grounded
Double motor version 212, 215, 218 - Grounded
WIRING DIAGRAMS

823 0103 020 09-03
4
Carpetmaster 112, 115, 212, 215, 218
BODY
1
5
3
2
4
6
14
13
11
12
15
16
18
17
9
7
8
10
19
20
21
20
11-12

823 0103 020
09-03
Carpetmaster 112, 115, 212, 215, 218
5
BODY
Note!
> Means: New or changed part number or and changed specification
Item Part No. Qty. Description Note EAN Code
1 147 0833 500 1 HANDLE COMPLETE 7319519663266
2147 0965 510 1 COVER EXHAUST FILTER BLUE 7319519663310
3147 0847 510 1 COVER BODY FRONT BLUE 7319519664546
4 147 0864 510 1 MOTOR CASETTE 110-120V 7319519662924
5 147 1326 500 1 CARBON BRUSH KIT 2 pcs. 7319519664591
6 147 0927 500 1 JOINT BASE TO BODY W RING 7319519670639
7 147 0842 510 1 COVER TOP KIT. BLUE 7319519664485
8147 0857 510 1 LID CPL. BLUE 7319519663334
9 147 0852 500 1 HOOK FOR CORD 7319519663341
10 147 0850 510 1COVER BODY REAR, BLUE 7319519663297
11 140 5496 510 1 SWITCH UL KIT 7319519631739
12 056 1014 060 1 ANTI-STRAIN CLIP BLACK 7319519352368
13 147 0843 500 1 ELECTRIC BOX 7319519662979
14 147 1062 500 1HOLDER TUBE 7319519663587
15 140 7024 500 1BOARD ANTI STATIC Not for US versions 7319519632590
16 140 8166 010 1 CAPACITOR Not for US versions 7319519603712
17 147 0987 500 1 BAG FULL DEVICE 7319519675108
18 140 3859 640 1CORD SET US/TW 15M YELLOW 7319519663570
19 82240100 1 TERMINAL BLOCK 3-POLE For grounded versions 7319519493078
20 140 9214 040 1SCREW PTK TORX 40x14MM FZB Packet contains 22 screws 7319519418606
21 107401794 1 MUSTANG BUTTON BLACK 5703887107569
11-12

823 0103 020 09-03
6
Carpetmaster 112, 115, 212, 215, 218
BASE
1
2
3
4
67
8
9
10
11
12
13
5
14
15
16
11-12

823 0103 020
09-03
Carpetmaster 112, 115, 212, 215, 218
7
BASE
Item Part No. Qty. Description Note EAN Code
1147 0924 510 1 COVER BRUSH HOUSE BLUE 112 7319519664492
1147 0924 610 1 COVER BRUSH HOUSE BLUE 212 incl. lens 7319519664508
1147 0925 510 1 COVER BRUSH HOUSE BLUE 115 7319519663105
1147 0925 610 1 COVER BRUSH HOUSE BLUE 215 incl. lens 7319519663624
1147 0926 510 1 COVER BRUSH HOUSE BLUE 218 7319519664515
2147 0886 500 1BUMPER KIT 12 INCH/305 7319519663211
2147 0889 500 1BUMPER KIT 15 INCH/355 7319519663136
2147 0892 500 1BUMPER KIT 18 INCH/455 7319519663235
3147 0992 500 1 SUPPORT BRUSH KIT 12INCH 7319519663150
3147 0992 510 1SUPPORT BRUSH KIT 15INCH 7319519663167
3147 0992 520 1 SUPPORT BRUSH KIT 18INCH 7319519663174
4 147 0935 500 1 PEDAL W SHAFT AND SPRING 7319519670646
5 147 0901 500 1 ROLLER KIT 7319519663242
6 147 0988 500 1BRUSH SHOE 12 INCH/305 7319519663181
6 147 0989 500 1BRUSH SHOE 15/355 7319519663198
6 147 0990 500 1BRUSH SHOE 18/455 7319519663204
7 147 0885 500 1CHASSIS 12 INCH /305 112, 212 7319519663129
7 147 0888 500 1CHASSIS 15 INCH/355 115, 215 7319519663228
7 147 0891 500 1CHASSIS 18 INCH/455 218 7319519663143
8147 0898 500 1 WHEEL KIT 7319519663259
9 147 0906 500 1 CLUTCH AND BEARING KIT 7319519663068
10 147 0944 500 1 COVER 7319519663037
11 147 0930 500 1BRUSH 12 INCH/305 7319519663006
11 147 0930 510 1BRUSH 15 INCH/355 7319519663013
11 147 0930 520 1BRUSH 18 INCH/455 7319519663020
12 147 0913 500 1 BEARING 7319519663044
13 147 0905 500 1 DRIVE BELT KIT 7319519663051
14 147 0905 510 1 DRIVE BELT KIT DOUBLE MOTOR 7319519664881
15 147 0984 510 1 MOTOR CASETTE 100-120V With Circuit Board and
Micro Switch
7319519662955
>15A 147 1170 500 1 MICRO SWITCH KIT for motor 147 0984 510 5715492087617
16 107401947 1 PCB 120V KIT 5703887108900
Note!
> Means: New or changed part number or and changed specification
11-12

823 0103 020 09-03
8
Carpetmaster 112, 115, 212, 215, 218
FILTERS
5
12
4
6
08-04
33B
x10
x2
1
3
2
6
5
4
7
x1
x3

823 0103 020
09-03
Carpetmaster 112, 115, 212, 215, 218
9
FILTERS
Item Part No. Qty. Description Note EAN code
1147 1250 600 1HEPA-lter, H13 7319519664522
2147 0966 500 1Exhaust lter 7319519663365
3147 1058 500 1 Dust bags 10-pcs.
with 2 pre lters and
1 exhaust lter
Material: Paper 7319519663372
3B 147 1059 500 1Dust bag, re-usable Material: Cloth 7319519664577
4 147 0960 500 1Pre lter kit 2 psc. with anti
smell paper
7319519663389
5 147 0854 500 1Holder dust bag, kit 7319519663396
6 147 0958 500 1Holder pre lter, kit With 1 pre lter 7319519663402
08-04

823 0103 020 09-03
10
Carpetmaster 112, 115, 212, 215, 218
NOZZLES AND TUBE
1
2
3
4
5
6
08-08

823 0103 020
09-03
Carpetmaster 112, 115, 212, 215, 218
11
Item Part No. Qty. Description Note EAN code
1147 1205 500 1Upholstery nozzle Ø 35 mm 7319519663419
2147 1203 500 1Crevice nozzle Ø 35 mm Soft 7319519663426
3147 0851 500 1Extension tube Ø 35 mm 7319519664478
4 147 0950 500 1 Hose stretchable 7319519663440
5 147 1062 500 1 Tube holder For the
extension tube
7319519663587
6 147 0919 500 1Adapter, base to tube w.hose Hose from the
base
Note!
>> Means: New or changed part number or and changed specification
NOZZLES AND TUBE
08-08

823 0103 020 09-03
12
Carpetmaster 112, 115, 212, 215, 218

823 0103 020 09-03
13
Carpetmaster 112, 115, 212, 215, 218

823 0103 020 09-03
14
Carpetmaster 112, 115, 212, 215, 218
This Clarke Commercial Product is warranted to be free from defects in materials and workmanship under normal use
and service for a period of one year covering parts and labour (Motors and Belts warranted for two years) from the date
of purchase, when operated and maintained in accordance with Clarke’s Maintenance and Operations instructions.
This warranty is extended only to the original purchaser for use of the product. It does not cover normal wear parts
such as electrical cable, rubber parts, hoses and motor brushes.
If difculty develops with the product, you should:
(a). Contact the nearest authorized Clarke repair location or contact the Clarke Service Operations Department, 2100
Highway 265, Springdale, ´Arkansas 72764, for the nearest authorized Clarke repair location. Only these locations are
authorized to make repairs to the product under this warranty.
(b). Return the product to the nearest Clarke repair location. Transportation charges to and from the repair
location must be prepaid by the purchaser.
(c). Clarke will repair the product and or replace any defective parts without charge within a reasonable time after
receipt of the product.
Clarke’s liability under this warranty is limited to repair of the product and/or replacement of parts and is given to
purchaser in lieu of all other remedies, including INCIDENTAL AND CONSEQUENTIAL DAMAGES.
THERE ARE NO EXPRESS WARRANTIES OTHER THAN THOSE SPECIFIED HEREIN. THERE ARE NO
WARRANTIES WHICH EXTEND BEYOND THE DESCRIPTION OF THE FACE HEREOF. NO WARRANTIES,
INCLUDING BUT NOT LIMITED TO WARRANTY OF MERCHANTABILITY, SHALL BE IMPLIED. A warranty
registration card is provided with your Clarke product. Return the card to assist Clarke in providing the performance
you expect from your new oor machine.
Nilsk-Advance, 14600 21st Avenue North, Plymouth, MN 55447
www.advance-us.com