Minuteman H26 Walk Behind Floor Scrubber Parts Manual
2016-12-01
: Sweepscrub Minuteman-H26-Walk-Behind-Floor-Scrubber-Parts-Manual minuteman-h26-walk-behind-floor-scrubber-parts-manual 1532 file product_file
Open the PDF directly: View PDF
.
Page Count: 38

Parts Manual
H26 WALK BEHIND SCRUBBER

Parts Manual - H26 WALK BEHIND SCRUBBER
Introduction
Preface
Please be advised explicitly that we
cannot accept any legal issues out of the
contents of this manual. If repair work has
to be performed make sure that only
genuine spare parts are used; only
genuine spare parts may guarantee a
dependable machine. We reserve the
right for technical improvement..
Valid as of: 05/2009
Minuteman International Inc.
14N845 US ROUTE 20
PINGREE GROVE, IL. 60140-8893
U.S.A
Proper use
The machine is a vacuum scrubbing
machine for wet cleaning of hard-
surfaced floors. Using the machine
beyond this scope of application will be
deemed improper use; The manufacturer
cannot be held liable for consequential
damages; the user alone bears the risk.
The term of proper use also includes
operation, maintenance and repair work
to be performed in compliance with the
manufacturer’s specifications. The E 24
may only be used by persons that are
familiar with the machine and aware of
possible hazards involved. If
modifications to the machine are made
in absence of the manufacturer’s prior
consent, the latter cannot be held liable
for damage resulting from such
unauthorized modification.
Notes on warranty
The terms of the sales contract apply.
Damages are not subject to warranty if
they are due to non-compliance with the
maintenance and service provisions. The
maintenance work has to be performed
by an authorized Minuteman service
center.
The following is excluded from warranty:
fuses, natural wear, damages caused by
overload, inexpert handling and
unauthorized modification of the
machine. Moreover, any claim for
warranty cannot be accepted if damages
of the machine are caused by fitting parts
or accessories without Minuteman’s prior
and explicit consent or by non-
compliance with the maintenance
instructions.

Parts Manual - H26 WALK BEHIND SCRUBBER
• Stop on level surface.
• Disconnect the power to the machine.
• Avoid moving parts. Do not wear loose jackets, shirts, or sleeves when working on machine.
• When working aroound machine use protective clothing and safety glasses. Remove metal jewelry.
• Do not clean machine with a pressure washer.
• Authorized personnel must perform repairs and maintenance. Use Minuteman supplied replacement parts.
For Safety When Servicing or Maintaining Machine

Parts Manual - H26 WALK BEHIND SCRUBBER
Table of Contents
CHASSIS, CPL. PART 1....................................................................................................1
LIFTING PEDAL .......................................................................................................3
BRUSH PRESSURE ADJUSTMENT .......................................................................4
CHASSIS, CPL. PART 2....................................................................................................5
MOTOR AMER MRP-9-D ......................................................................................... 7
CHASSIS, CPL. PART 3....................................................................................................8
WATER SUPPLY 1 .................................................................................................10
WATER SUPPLY 2 ................................................................................................. 11
SQUEEGEE MECHANISM PART 1 .......................................................................12
SQUEEGEE MECHANISM PART 2 .......................................................................13
HOPPER PART 1.............................................................................................................14
HOPPER PART 2.............................................................................................................16
SQUEEGEE OPERATION ...............................................................................................17
SUCTION .........................................................................................................................18
SQUEEGEE LOCK ..........................................................................................................20
SQUEEGEE 95cm PART 1..............................................................................................21
SQUEEGEE 95cm PART 2..............................................................................................22
OPERATION HANDLE ....................................................................................................23
CONSOLE ..............................................................................................................24
ELECTRIC PART 1 ..........................................................................................................25
RETAINER ..............................................................................................................26
ELECTRIC PART 2 ..........................................................................................................28
BATTERY TRAY ..............................................................................................................30
BATTERY CHARGER 30A ..............................................................................................31
TOOL HOLDER ...............................................................................................................32
LABELING .......................................................................................................................33
WARRANTY.....................................................................................................................34

Page 1
Parts Manual - H26 WALK BEHIND SCRUBBER
CHASSIS PART 1
EXPLODED ASSEMBLY VIEW

Page 2
Parts Manual - H26 WALK BEHIND SCRUBBER
Item Part Number Description Qty. Notes
1 01078440 Grommet 1
2 03007640 Chassis 1
3 01074320 Lens flange screw 2
4 00042900 Washer 4
5 01078450 Nut 2
6 00047990 Washer 10
7 00053080 Hexagon screw 8
8 01078140 Countersunk screw 1
9 01077800 Bushing 1
10 97093181 Lifting pedal 1
11 00053790 Washer 1
12 97093272 Brush pressure adjustment 1
13 00053010 Hexagon bolt 6
14 01077780 Bushing 1
15 01078460 Sheet metal 1
16 00053730 Washer 4
17 00051520 Hexagon nut 2
18 00022180 Hexagon bolt 2
19 00553740 Washer 2
20 01078470 Retainer 1
21 00975510 Micro switch 1
22 01074840 Thread base plate 1
23 01143190 Cable clip 2
24 00053100 Hexagon screw 2
25 01079680 Sheet metal 1
26 00553690 Hexagon bolt 1
27 01170010 Retainer 1
CHASSIS PART 1
CHASSIS PART 1
BILL OF MATERIAL

Page 3
Parts Manual - H26 WALK BEHIND SCRUBBER
Item Part Numbers Description Qty. Notes
1 01170020 Lifting pedal 1
2 00053760 Washer 2
3 01077930 Rod 1
4 00551410 Cotter pin 1
5 00053360 Hexagon nut 1
6 00925430 Fork yoke 1
7 00925420 Bolt 1
8 01078240 Washer 2
9 01078560 Decal 1
97093181 - LIFTING PEDAL
BILL OF MATERIAL
LIFTING PEDAL
EXPLODED ASSEMBLY VIEW

Page 4
Parts Manual - H26 WALK BEHIND SCRUBBER
BRUSH PRESSURE ADJUSTMENT
EXPLODED ASSEMBLY VIEW
Item Part Number Description Qty. Notes
1 01078550 Pedal 1
2 00151400 Bolt 1
3 00151440 Fork yoke 1
4 00053350 Hexagon nut 1
5 00735690 Eye bolt 1
6 01077770 Tension spring 1
7 01031550 Hexagon screw 1
8 00046520 Washer 1
9 01078500 Sheet metal 1
10 00053360 Hexagon nut 1
11 01074580 Decal Brush Pressure 1
12 01078240 Washer 1
13 01078560 Decal 1
97093272 - BRUSH PRESSURE ADJUSTMENT
BILL OF MATERIAL

Page 5
Parts Manual - H26 WALK BEHIND SCRUBBER
CHASSIS PART 2
EXPLODED ASSEMBLY VIEW

Page 6
Parts Manual - H26 WALK BEHIND SCRUBBER
Item Part Numbers Description Qty. Notes
1 01078480 Bearing Amer 2
2 00053750 Washer 10
3 00053100 Hexagon screw 1
4 01078020 Block 4
5 00053260 Hexagon Bolt 4
6 00053140 Hexagon Bolt 4
7 00053760 Washer 3
8 00053310 Hexagon screw 3
9 01078490 Lever 1
10 01078010 Hub 2
11 01071180 Wheel 2
12 01077160 Motor Amer MRP-9-D 1
13 00008980 Block 1
14 01171260 Hexagon screw 8 Tightening torque: 38 Nm
15 01031540 protection cap 2
16 00051490 Hexagon nut 2
17 00053770 Washer 2
18 00042900 Washer 4
CHASSIS PART 2
CHASSIS PART 2
BILL OF MATERIAL

Page 7
Parts Manual - H26 WALK BEHIND SCRUBBER
MOTOR AMER MRP-9-D
EXPLODED ASSEMBLY VIEW
Item Part Numbers Description Qty. Notes
1 01077430 Washer 2
2 01077420 Gasket 3
3 01077410 Fitting key 2
4 01077390 Gear box with shaft 1
5 01077340 Motor 1
6 01077360 Covering 1
7 01077350 Carbon brush 4
8 01077400 Bushing 2
9 01077380 Nut 4
10 REF ONLY Brake Flange 2 Not Stocked
11 01171710 Parking brake 1
12 01171720 Washer 3
13 01171730 Screw 3
14 01171700 Spring pin 1
15 01077370 Stud screw 2
16 01173630 Mounting clip 1
17 01173050 Micro switch 1
01077160 - MOTOR AMER MRP-9-D
BILL OF MATERIAL

Page 8
Parts Manual - H26 WALK BEHIND SCRUBBER
CHASSIS PART 3
EXPLODED ASSEMBLY VIEW

Page 9
Parts Manual - H26 WALK BEHIND SCRUBBER
CHASSIS PART 3
BILL OF MATERIAL
Item Part Numbers Description Qty. Notes
1 97094981 Water supply 1 1
2 00053730 Washer 4
3 00104500 Hexagon screw 2
4 01072520 Lens flange screw 1
5 01077820 Bushing 1
6 00051510 Hexagon nut 2
7 00053080 Hexagon screw 2
8 00053750 Washer 11
9 01077760 Retainer 1
10 00042900 Washer 1
11 00053100 Hexagon screw 1
12 01077700 Bushing 1
13 01077740 Sheet metal 1
14 00543750 Pump 1
15 00559670 Case 1
16 00083640 Plastic cover 1
17 00083650 Plastic cover 1
18 00903190 Tab 1
19 00053720 Washer 1
20 97094999-7061-40 Water supply 2 1
21 00051520 Hexagon nut 2
22 01017640 Lens flange screw 2
23 01077840 Floating Caster 2
24 01078150 Tension spring 1
25 00735690 Eye bolt 1
26 00053350 Hexagon nut 1
27 01077830 Pivot 1
28 03008100 Squeegee Mechanism 1
29 00103300 Socket head screw 8
30 01077980 Linkage 1 with B 70, B70 CL,B70 CLH, B650/07, MMAN E
26, Phoenix 26
31 01170560 Linkage 1 with B 90, B120, MMAN E28, 30, 33, 33XL,
Phoenix 35
32 01170620 Linkage 1 with B90 CL, CLH, Phoenix 28, 30
CHASSIS PART 3

Page 10
Parts Manual - H26 WALK BEHIND SCRUBBER
Item Part Numbers Description Qty. Notes
1 01077170 Water filter 1
2 01079170 Filter cartridge 1 with o-ring
3 01076500 Screw cap 1
4 01015350 Hose clamp 4
5 00200170 PVC hose 300mm
6 01078510 Sheet metal 1
7 00053710 Washer 2
8 00133830 Hex. Nut 2
9 00200170 PVC hose 480mm
10 01071450 Screwing 1
11 03007630 Sealing band 1
97094981 - WATER SUPPLY 1
BILL OF MATERIAL
WATER SUPPLY 1
EXPLODED ASSEMBLY VIEW

Page 11
Parts Manual - H26 WALK BEHIND SCRUBBER
Item Part Numbers Description Qty. Notes
1 00154140 Screwed angle fitting 1
2 01015350 Hose clamp 4
3 00200170 PVC hose 1
4 01071000 Electrovalve 1
5 00020020 Angle socket 2
6 00200170 PVC hose 1
7 00058580 Hexagon Bolt 2
8 00053710 Washer 2
9 01076660 Retainer 1 used in production prior to March 2007
10 03007630 Sealing band 1
11 01170030 Retainer 1 replaced #9, March 2007
97094999-7061-40 - WATER SUPPLY 2
BILL OF MATERIAL
WATER SUPPLY 2
EXPLODED ASSEMBLY VIEW

Page 12
Parts Manual - H26 WALK BEHIND SCRUBBER
Item Part Numbers Description Qty. Notes
1 01130940 Cup head square neck bolt 1
2 01170040 Sheet metal 1
3 01077510 Slide bearing bushing 2
4 01171550 Bushing 1
5 01171330 Slide bearing bushing 2
6 01171360 Shaft 1
7 00101550 Washer 3
8 01171290 Round part 1
9 01171540 Threaded bolt 1
10 01171300 Sheet metal 1
11 00042900 Washer 1
12 00101540 Hexagon nut 2
13 01071740 Hexagon Bolt 2
14 01130470 Slide bearing bushing 2
15 00161240 Edge protection 60mm
16 01171370 Excentric 2
03008100 - SQUEEGEE MECHANISM PART 1
BILL OF MATERIAL
SQUEEGEE MECHANISM PART 1
EXPLODED ASSEMBLY VIEW

Page 13
Parts Manual - H26 WALK BEHIND SCRUBBER
Item Part Numbers Description Qty. Notes
1 00101540 Hexagon nut 2
2 00101550 Washer 2
3 01171330 Slide bearing bushing 4
4 01171540 Threaded bolt 2
5 01171280 Draft link 1
6 01171310 Sheet metal 1
7 00051520 Hexagon nut 1
8 00053730 Washer 2
9 01078120 Hose support 1
10 00053020 Hexagon screw 1
03008100 - SQUEEGEE MECHANISM PART 2
BILL OF MATERIAL
SQUEEGEE MECHANISM PART 2
EXPLODED ASSEMBLY VIEW

Page 14
Parts Manual - H26 WALK BEHIND SCRUBBER
HOPPER PART 1
EXPLODED ASSEMBLY VIEW

Page 15
Parts Manual - H26 WALK BEHIND SCRUBBER
Item Part Numbers Description Qty. Notes
1 01078100 Fresh water cap 1
2 01078110 Hinge 2
3 00042900 Washer 4
4 00053080 Hexagon screw 4
5 01072520 Lens flange screw 4
6 01078120 Hose support 1
7 01077910 Hose 1
8 01161690 Clamp 1
9 00020020 Angle socket 1
10 00057720 O-ring oil resistant 1
11 01078130 Fresh water tank 1
12 01077960 Foul water hose 1
13 01077860 Hook 1
14 00751160 Hose clamp 1
15 00721090 Edge protection 710mm
16 01079300 O-Ring 1
17 00906100 Fillister-head screw 2
18 00906110 Cover 1
19 01170060 Decal Foul Water 1
HOPPER PART 1
HOPPER PART 1
BILL OF MATERIAL

Page 16
Parts Manual - H26 WALK BEHIND SCRUBBER
Item Part Numbers Description Qty. Notes
1 01077990 Cover 1
2 00136910 Cylinder head screw 4
3 00053730 Washer 4
4 01071770 Sealing profile 1
5 01078160 Screw 4
6 01078250 Filter unit 1
7 96115167 Dirt container 1 not stocked, production part number
8 00042900 Washer 4
9 00053080 Hexagon screw 4
10 01077920 Suction hose 1
11 01078120 Hose support 1
12 01072520 Lens flange screw 2
HOPPER PART 2
BILL OF MATERIAL
HOPPER PART 2
EXPLODED ASSEMBLY VIEW

Page 17
Parts Manual - H26 WALK BEHIND SCRUBBER
Item Part Numbers Description Qty. Notes
1 00705560 Handle 1
2 01079160 Lever 1
3 00051520 Hexagon nut 1
4 00135120 Washer 1
5 01071440 Plain bearing bush 2
6 01079710 Support plate 1
7 01079720 Shaft with cam 1
8 01074840 Thread base plate 1
9 00975510 Micro switch 1
10 00747400 Washer 2
11 00022180 Hexagon bolt 2
12 00009000 Lifting suction unit 1
13 01072520 Lens flange screw 4
SQUEEGEE OPERATION
BILL OF MATERIAL
SQUEEGEE OPERATION
EXPLODED ASSEMBLY VIEW

Page 18
Parts Manual - H26 WALK BEHIND SCRUBBER
SUCTION
EXPLODED ASSEMBLY VIEW

Page 19
Parts Manual - H26 WALK BEHIND SCRUBBER
Item Part Numbers Description Qty. Notes
1 01079740 Insulation mat 1
2 01077900 Hose 1
3 00732130 Hose clamp 1
4 01078180 Connection 1
5 00051520 Hexagon nut 3
6 00053730 Washer 8
7 01079350 Suction motor 1
8 00048840 Carbon brush 4
9 01078190 Buffer 3
10 00025260 Hexagon screw 3
11 01170300 Insulation mat 1
12 01170310 Insulation mat 1
13 03007810 Sheet metal 1
14 00121150 Cable tie 1
15 00967760 Cable tie 4
16 00042900 Washer 3
17 00053080 Hexagon screw 3
18 00104500 Hexagon screw 2
19 01079750 Cover 1
20 01170290 Insulation mat 1
SUCTION
SUCTION
BILL OF MATERIAL

Page 20
Parts Manual - H26 WALK BEHIND SCRUBBER
Item Part Numbers Description Qty. Notes
1 00046280 E-Ring 2
2 00041400 Plain bearing bushing 1
3 01170730 Folding plate 1
4 01170280 Cylinder compression spring 1
5 01170270 Pin 1
SQUEEGEE LOCK
BILL OF MATERIAL
SQUEEGEE LOCK
EXPLODED ASSEMBLY VIEW

Page 21
Parts Manual - H26 WALK BEHIND SCRUBBER
Item Part Numbers Description Qty. Notes
1 01077660 Rear tension band 1
2 01077480 Sealing strip 1
3 01077940 Suction unit 1
4 01077470 Slot strip 1
5 01077650 Front tension band 1
6 01077590 Bushing 2
7 01077500 Eye bolt 1
8 01017660 Hexagon Nut 2
9 01077580 Lever 1
10 01079890 Hexagon screw 2
11 00902250 Hexagon Nut 1
12 01078090 Pressure piece 1
13 01077640 Front tension band 1
14 01077670 Rear tension band 1
15 00009010 Lock suction unit 1
16 01171810 Lock 1
SQUEEGEE 95cm PART 1
BILL OF MATERIAL
SQUEEGEE 95cm PART 1
EXPLODED ASSEMBLY VIEW

Page 22
Parts Manual - H26 WALK BEHIND SCRUBBER
Item Part Numbers Description Qty. Notes
1 01059530 Hexagon screw 6
2 00902280 Washer 2
3 00879030 Pipe 2
4 01171790 Deflector roller 2
5 01071740 Hexagon bolt 2
6 00101550 Washer 4
7 01077810 Fixed castor 2
8 01079070 Fixed castor 2
9 01077610 Distance piece 2
10 01077600 Distance piece 1
11 00911270 Hose 250mm
12 01077620 Bracket 1
13 00972060 Washer 2
14 00866720 Star handle 2
15 01079080 Spacer 10
SQUEEGEE 95cm PART 2
BILL OF MATERIAL
SQUEEGEE 95cm PART 2
EXPLODED ASSEMBLY VIEW

Page 23
Parts Manual - H26 WALK BEHIND SCRUBBER
Item Part Numbers Description Qty. Notes
1 97091839 Console 1
2 01072520 Lens flange screw 4
3 01170170 Sheet metal 1
4 00874720 Washer 4
5 00961490 Self tapping screw 4
6 00104930 Round head screw 2
7 01078430 Sliding bock 2
8 01077970 Drive sensor 1
9 00853730 Star handle 2
10 01171380 Lens flange screw 4
11 01079760 Handle bar 1
OPERATION HANDLE
BILL OF MATERIAL
OPERATION HANDLE
EXPLODED ASSEMBLY VIEW

Page 24
Parts Manual - H26 WALK BEHIND SCRUBBER
Item Part Numbers Description Qty. Notes
1 01079090 Console B70/B90 1
2 01078930 Ribbon cable 1
3 01078860 Screw 4
4 01078940 Console 1
5 01078950 Cable key switch 1
6 00021710 Key switch 1
7 00745890 Set (2pc.) key 1
97091839 - CONSOLE
BILL OF MATERIAL
CONSOLE
EXPLODED ASSEMBLY VIEW

Page 25
Parts Manual - H26 WALK BEHIND SCRUBBER
Item Part Numbers Description Qty. Notes
1 01072520 Lens flange screw 5
2 01078570 Sheet metal 1
3 00161240 Edge protection 60mm
4 97094890 Retainer 1
5 00153200 Washer 1
6 00051520 Hexagon nut 1
7 00902020 Cable sleeve 1
8 01078580 Sheet metal 1
9 01082530 Lens flange screw 3
10 01073420 Clamp 1
11 01078590 Clamping plate 1
12 01078260 Bushing 2
13 00042900 Washer 2
14 00053110 Hexagon screw 2
15 01078270 Covering 1
ELECTRIC PART 1
BILL OF MATERIAL
ELECTRIC PART 1
EXPLODED ASSEMBLY VIEW

Page 26
Parts Manual - H26 WALK BEHIND SCRUBBER
RETAINER
EXPLODED ASSEMBLY VIEW

Page 27
Parts Manual - H26 WALK BEHIND SCRUBBER
Item Part Numbers Description Qty. Notes
1 00967760 Cable tie 4
2 00121150 Cable tie 8
3 01077880 Webbing 1
4 00053730 Washer 2
5 01090810 Hexagon screw 2
6 01078640 Retainer 1
7 00721090 Edge protection 120mm
8 00051340 Hexagon nut 2
9 00053720 Washer 4
10 00054410 Hexagon bolt 2
11 00707360 Solenoid 1
12 00131610 Lens cap 4
13 00902020 Cable sleeve 1
14 01078240 Washer 4
15 00747210 Lens cap 2
16 00051520 Hexagon nut 1
17 00135120 Washer 1
18 01078650 Controller B70 CL 1
19 00972420 Strip fuse 0
20 00902440 Strip fuse 0
21 00733630 Fuse 0
22 00972430 Fuse 0
23 00721090 Edge protection 30mm
24 01074240 Cap 2
25 00906120 Fuse 1
97094890 - RETAINER
RETAINER
BILL OF MATERIAL

Page 28
Parts Manual - H26 WALK BEHIND SCRUBBER
ELECTRIC PART 2
EXPLODED ASSEMBLY VIEW

Page 29
Parts Manual - H26 WALK BEHIND SCRUBBER
Item Part Numbers Description Qty. Notes
1 01078600 Covering 1
2 01072520 Lens flange screw 7
3 01078610 Sheet metal 1
4 01078280 Bag 1
5 00555520 Washer 3
6 01078290 Blind rivet 3
7 03006850 Wiring harness W1 1
8 03007770 Wiring harness 1
9 03006860 Wiring harness W3 1
10 03006870 Wiring harness W9 1
11 03006880 Wiring harness W11 1
12 03006890 Set of cables 1
13 03006900 Set of cables battery 1
14 01078620 Sheet metal 1
15 00053730 Washer 2
16 00051520 Hexagon nut 2
17 00535110 Hexagon bolt 2
18 00121150 Cable tie 12
19 00967760 Cable tie 18
20 01078630 Sheet metal 1
ELECTRIC PART 2
ELECTRIC PART 2
BILL OF MATERIAL

Page 30
Parts Manual - H26 WALK BEHIND SCRUBBER
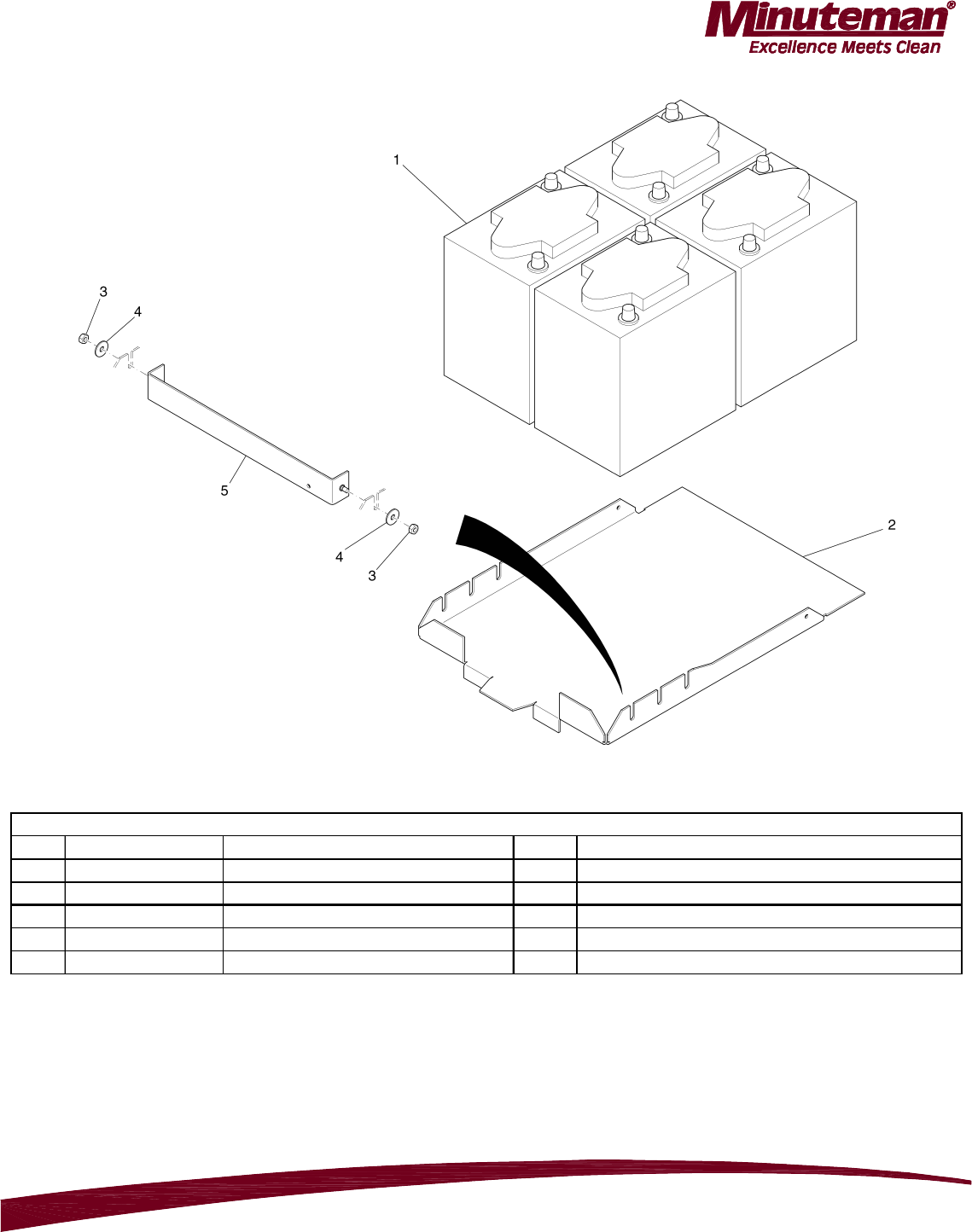
Item Part Numbers Description Qty. Notes
1 99741100 Block battery 4
2 01078660 Sheet metal 1
3 00051510 Hexagon nut 2
4 00042900 Washer 2
5 01078670 Retainer 1
BATTERY TRAY
BILL OF MATERIAL
BATTERY TRAY
EXPLODED ASSEMBLY VIEW

Page 31
Parts Manual - H26 WALK BEHIND SCRUBBER
Item Part Numbers Description Qty. Notes
1 01078530 On-board charger 1
2 01078310 Power cable 1
3 01078540 Covering 1
4 01077870 Tension band 1
5 00121150 Cable tie 8
6 03006770 Wire harness W6 1
7 01172530 Wiring harness W8 1
8 01078320 Hose 1
9 00967760 Cable tie 1
BATTERY CHARGER 30A
BILL OF MATERIAL
BATTERY CHARGER 30A
EXPLODED ASSEMBLY VIEW

Page 32
Parts Manual - H26 WALK BEHIND SCRUBBER
Item Part Numbers Description Qty. Notes
1 00133830 Hexagon nut 8
2 00053710 Washer 4
3 01078890 Mounting 2
4 01078880 Luggage rack 1
5 96120704 Sheet metal 1 not stocked, production part number
6 01078120 Hose support 2
7 00053730 Washer 4
8 00051520 Hexagon nut 4
9 90541707 Sheet metal 2 not stocked, production part number
10 00053080 Hexagon screw 4
11 01078910 Retainer 1
12 00200170 PVC hose 330mm
TOOL HOLDER
BILL OF MATERIAL
TOOL HOLDER
EXPLODED ASSEMBLY VIEW

Page 33
Parts Manual - H26 WALK BEHIND SCRUBBER
Item Part Numbers Description Qty. Notes
1 17205105 Decal HACOMATIC B70 CLH 1 not stocked, production part number
2 01076790 Decal HAKO silver 1
3 01170740 Decal 1
LABELING
BILL OF MATERIAL
LABELING
EXPLODED ASSEMBLY VIEW

Minuteman International Made Simple Commercial Limited Warranty
REVISION E
EFFECTIVE 1/1/2009
Minuteman International, Inc. warrants to the original purchaser/user that the product is free from defects in
workmanship and materials under normal use. Minuteman will, at its option, repair or replace without charge, parts
that fail under normal use and service when operated and maintained in accordance with the applicable operation
and instruction manuals. All warranty claims must be submitted through and approved by factory authorized repair
stations.
This warranty does not apply to normal wear, or to items whose life is dependent on their use and care, such as belts,
cords, switches, hoses, rubber parts, electrical motor components or adjustments. Parts manufactured by Minuteman
are covered by and subject to the warranties and/or guarantees of their manufacturers. Please contact Minuteman for
procedures in warranty claims against these manufacturers.
Special warning to purchaser -- Use of replacement filters and/or prefilters not manufactured by Minuteman or its
designated licensees, will void all warranties expressed or implied. A potential health hazard exists without original
equipment replacement.
A
ll warranted items become the sole property of Minuteman or its original manufacturer, whichever the case may be.
Minuteman disclaims any implied warranty, including the warranty of merchantability and the warranty of fitness for a
particular purpose. Minuteman assumes no responsibility for any special, incidental or consequential damages.
This limited warranty is applicable only in the U.S.A. and Canada, and is extended only to the original user/purchaser
of this product. Customers outside the U.S.A. and Canada should contact their local distributor for export warranty
policies. Minuteman is not responsible for costs or repairs performed by persons other than those specifically
authorized by Minuteman. This warranty does not apply to damage from transportation, alterations by unauthorized
persons, misuse or abuse of the equipment, use of non-compatible chemicals, or damage to property, or loss of
income due to malfunctions of the product.
If a difficulty develops with this machine, you should contact the dealer from whom it was purchased.
This warranty gives you specific legal rights, and you may have other rights which vary from state to state. Some
states do not allow the exclusion or limitation of special, incidental or consequential damages, or limitations on how
long an implied warranty lasts, so the above exclusions and limitations may not apply to you.
Cord Electric Group………. Three years parts, two years labor, ninety days travel (Not to exceed two hours)
Exceptions………. Port-A-Scrub, one year parts, six months labor
MPV 13, one year parts
V Series Upright Vacuums, One year parts, one year labor
MPV 14 and 18, two years parts, one year labor
RapidAir blower, one year parts, one year labor
Explosion-Proof Vacuum, one year parts, one year labor
X12 and X12H, one year parts, one year labor
TRS 14, one year parts, one year labor
E17/E20 electric scrubbers, one year parts, six months labor
Battery Operated Group….. Three years parts, two years labor, ninety days travel
(Not to exceed two hours)
Exceptions……Sweepers, one year parts, one year labor, ninety days travel
(Not to exceed two hours)
Internal Combustion Group….One year parts, one year labor, ninety day travel
(Not to exceed two hours)
Exceptions………..Mirage propane burnisher, one year parts, one year labor
Battery Chargers………………. ..One year replacement
Replacement Parts……………..Ninety days
Batteries………………………….0-3 months replacement, 4-12 months pro-rate
Polypropylene Plastic Tanks…Ten years, no additional labor
14N845 U.S. Route 20 Pingree grove, IL 60140
Phone: 800-237-3192
E-Mail: www.minutemanintl.com
988731
Rev * 05/09