PARTS PUBLISHER Workbench Kleen Sweep 25W (6258.21) Minuteman Walk Behind Carpet Sweeper Manual
2016-11-23
: Sweepscrub Minuteman-Kleen-Sweep-25W-Walk-Behind-Carpet-Sweeper-Parts-Manual minuteman-kleen-sweep-25w-walk-behind-carpet-sweeper-parts-manual 1437 file product_file
Open the PDF directly: View PDF
.
Page Count: 29

Parts Manual
Kleen Sweep 25W Sweeper

Parts Manual - Kleen Sweep 25W Sweeper Page 2

Table of Contents
General view Kleen Sweep 25W ................................................................................
Frame - Covering part 1 ...........................................................................................
Frame - Covering part 2 ...........................................................................................
Electric system ......................................................................................................
Steering handle ......................................................................................................
Filter system part 1 .................................................................................................
Filter system part 2 .................................................................................................
Chassis ................................................................................................................
Sweep roller with travel drive part 1 ...........................................................................
Sweep roller with travel drive part 2 ...........................................................................
Side brush with drive ..............................................................................................
Parts Manual - Kleen Sweep 25W Sweeper
4
5
7
9
11
13
15
17
19
23
25
Page 3

Rev.B 06/12
General view Kleen Sweep 25W
Parts Manual - Kleen Sweep 25W Sweeper Page 4

Rev.B 06/12
Frame - Covering part 1
Parts Manual - Kleen Sweep 25W Sweeper Page 5

Item
Spare part
number
Description Qty. Remarks
1 00133830 Hex. Nut 10
2 01176630 Rest rubber 4
3 01175910 Sealing profile 2
4 01175980 Angle plate R.H. 1
5 01176000 Rubber plate R.H. 1
6 01176010 Sheet metal strip 2
7 01275110 Socket head screw 6
8 01175900 Frame grey 1
9 01175970 Angle plate L.H. 1
10 01175990 Rubber plate L.H. 1
11 01275050 Round head screw 5
12 01176040 Retainer 1
13 01176050 Rubber plate front 1
14 01176030 Rubber lip 1
15 01176020 Mounting 1
16 00051340 Hexagon nut 5
Rev.B 06/12
Frame - Covering part 1 (99625820BT10)
Parts Manual - Kleen Sweep 25W Sweeper Page 6

Rev.B 06/12
Frame - Covering part 2
Parts Manual - Kleen Sweep 25W Sweeper Page 7

Item
Spare part
number
Description Qty. Remarks
1 XXXXXXXX no part-No. til yet 1 Hood
2 01176140 Air diffusor 1
3 01176150 Mounting screw 2
4 01274980 Blind rivet 2
5 01175960 Lock lever 1
6 01175950 Locking plate 1
7 XXXXXXXX no part-No. til yet 1 Dust tray
8 01176450 Catch 1
9 01176390 Flap 1
10 01176400 Hinge 2
11 00504370 Blind rivet 8
12 00133830 Hex. Nut 4
13 01176370 Sheet metal 1
14 01176380 Foam rubber gasket 1
15 XXXXXXXX no part-No. til yet 2 Insert for drive bracket
16 01274910 Mounting clip 1
17 01176620 Wiring harness 1
Rev.B 06/12
Frame - Covering part 2 (99625821BT20)
Parts Manual - Kleen Sweep 25W Sweeper Page 8

Rev.B 06/12
Electric system
Parts Manual - Kleen Sweep 25W Sweeper Page 9

Item
Spare part
number
Description Qty. Remarks
1 01176540 Webbing 2
2 00538900 Tapping screw 2
3 01176610 Charger 1
4 01275200 Lens head screw 4
5 01176590 Control panel foil 1
6 01176580 Control panel 1
7 01176550 Mat 1
8 00051520 Hexagon nut 1
9 00053730 Washer 1
10 01176560 Sheet metal 1
11 00076540 Screw 1
12 01176600 Mounting angle 1
13 01275120 Socket head screw 2
14 01177560 Battery 12 CED 12 Crown 4
15 XXXXXXXX no part-No. til yet 1 Charging cable
Rev.B 06/12
Electric system (99625821BT30)
Parts Manual - Kleen Sweep 25W Sweeper Page 10

Rev.B 06/12
Steering handle
Parts Manual - Kleen Sweep 25W Sweeper Page 11

Item
Spare part
number
Description Qty. Remarks
1 01275090 Socket head screw 4
2 01176500 Mounting outer 1
3 01176480 Limit switch 1
4 01176490 Mounting inner 1
5 00051340 Hexagon nut 4
6 01176330 Slide bearing 2
7 01176470 Yoke speed 1
8 01176460 Bracket 1
9 01176530 Star handle 2
10 01176340 Washer 2
11 01176350 Cap 1
12 01176520 Hinge outer 2
13 01176510 Hinge inner 2
14 01176360 Cap 1
Rev.B 06/12
Steering handle (99625820BT40)
Parts Manual - Kleen Sweep 25W Sweeper Page 12

Rev.B 06/12
Filter system part 1
Parts Manual - Kleen Sweep 25W Sweeper Page 13

Item
Spare part
number
Description Qty. Remarks
1 XXXXXXXX no part-No. til yet 1 Sealing strap for filter
2 01176080 Carrier frame 1
3 01176090 O-ring 2
4 01274920 Distance piece 2
5 01274990 Washer 2
6 01275040 Wing screw 2
7 01275110 Socket head screw 2
8 00053730 Washer 2
9 00051340 Hexagon nut 2
10 01275080 Socket head screw 2
11 01176110 Mounting 1
12 01176100 Gasket 1
13 01176070 Perforated plate 1
14 01176060 Filter 1
Rev.B 06/12
Filter system part 1 (99625820BT50)
Parts Manual - Kleen Sweep 25W Sweeper Page 14

Rev.B 06/12
Filter system part 2
Parts Manual - Kleen Sweep 25W Sweeper Page 15

Item
Spare part
number
Description Qty. Remarks
1 01176220 Lock 2
2 01275230 Washer 10
3 01176200 Spacer sleeve 8
4 01176210 Spacer sleeve 2
5 01275050 Round head screw 2
6 01176160 Operating rod 1
7 01176170 Shaker guide 1
8 01176120 Knob 1
9 01275100 Socket head screw 1
10 00051340 Hexagon nut 2
11 01176190 Shaker axle 1
12 00053710 Washer 6
13 01176230 Motor 1
14 01176130 Rubber bushing 1
15 01176240 Mounting plate 1
16 01274980 Blind rivet 6
17 01082690 Tapping screw 4
18 XXXXXXXX no part-No. til yet 1 Type plate
19 01274970 Blind rivet 2
20 01176180 Shaker 1
Rev.B 06/12
Filter system part 2 (99625820BT60)
Parts Manual - Kleen Sweep 25W Sweeper Page 16

Rev.B 06/12
Chassis
Parts Manual - Kleen Sweep 25W Sweeper Page 17

Item
Spare part
number
Description Qty. Remarks
1 01176300 Cap 2
2 01176280 Wheel 2
3 00072440 Circlip 2
4 01275150 Shim ring 2
5 01274880 Separable ball bearing 4
6 01176310 Axle 2
7 01176200 Spacer sleeve 4
8 01274990 Washer 8
9 01176270 Sheet metal rear 1
10 01275130 Socket head screw 4
11 01176260 Sheet metal front 1
12 01274930 Sealing ring 1
13 01176320 Steering roller 1
14 00051500 Hexagon nut 1
15 01275010 Socket head screw 1
16 01275000 Washer 1
17 01275160 Washer 1
18 00107600 Hex.bolt 1
Rev.B 06/12
Chassis (99625820BT70)
Parts Manual - Kleen Sweep 25W Sweeper Page 18

Rev.B 06/12
Sweep roller with travel drive part 1
Parts Manual - Kleen Sweep 25W Sweeper Page 19

Item
Spare part
number
Description Qty. Remarks
1 00051520 Hexagon nut 6
2 00107170 Cylinder head screw 2
3 00053730 Washer 5
4 01275240 Lever lower part 1
5 01275250 Lever upper part 1
6 01176880 Bearing bush 2
7 01275120 Socket head screw 8
8 01176730 Adjusting axle 1
9 01176860 Angle support L.H. 1
10 01274940 Lever 1
11 00076540 Screw 1
12 01176850 Angle support R.H. 1
13 00054020 Wing nut 1
14 99625820BT80-1 Sweep roller system Page
15 01176690 Arm
16 01275070 Socket head screw 1
17 01176640 Washer 1
18 01176670 Toothed belt pulley 1
19 01176680 Toothed belt 1
20 01275060 Socket head screw 1
21 01176720 Tension spring 1
22 01176660 Console 1
23 01275170 Fitting key 1
24 01176650 Drive motor 1
25 00967760 Cable tie 1
26 01177240 Rubber washer 2
27 00551160 Countersunk screw 1
28 01176710 Spacer sleeve 1
29 01275210 Grooved ball bearing 1
30 01176700 Idler 1
31 00051520 Hexagon nut 1
Rev.B 06/12
Sweep roller with travel drive part 1 (99625820BT80)
Parts Manual - Kleen Sweep 25W Sweeper
21
Page 20

Rev.B 06/12
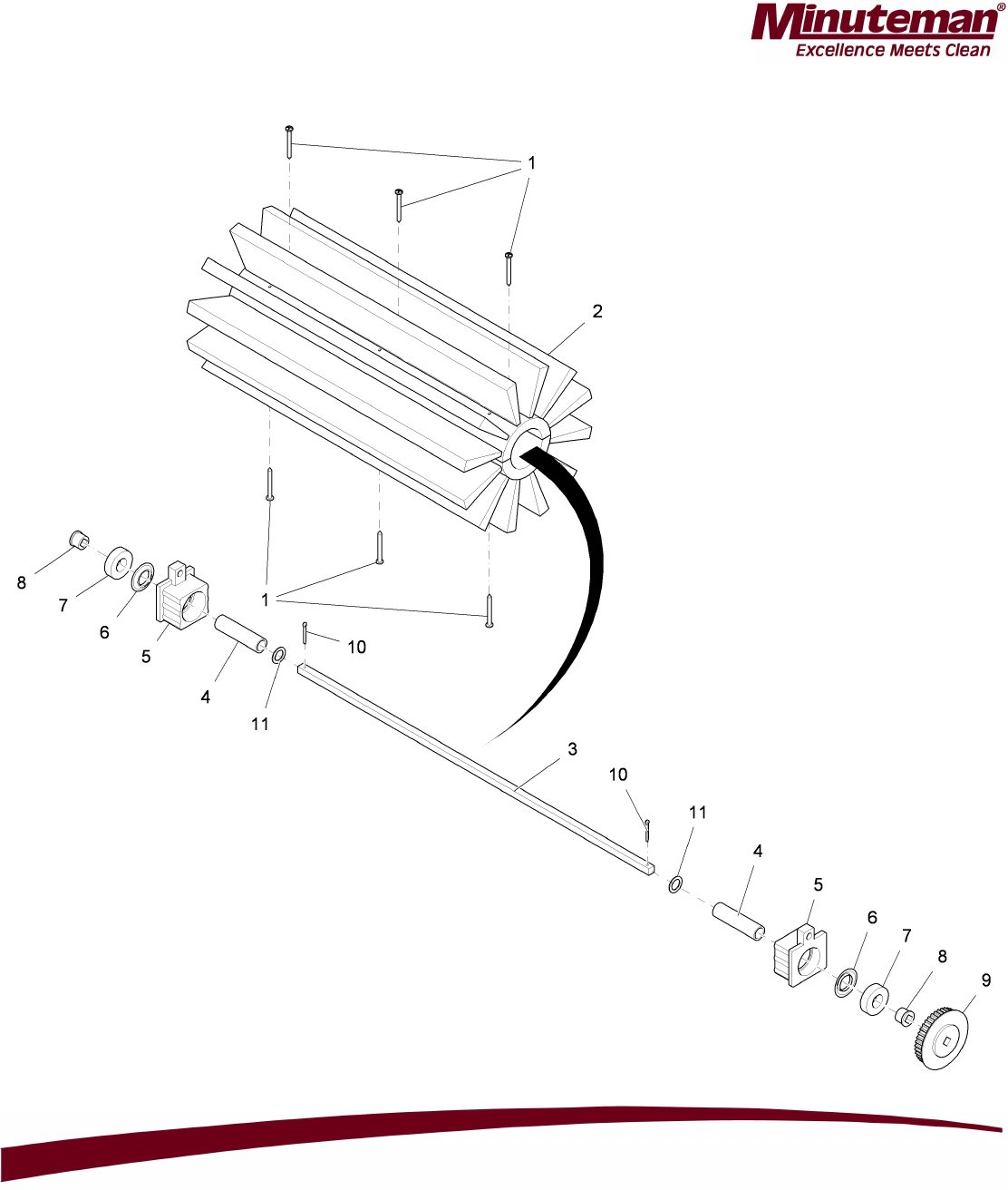
Sweep roller system
Parts Manual - Kleen Sweep 25W Sweeper Page 21

Item
Spare part
number
Description Qty. Remarks
1 01275180 Tapping screw 6
2 01176990 Sweeper roller 1
3 01176760 Axle 1
4 01176820 Distance tube 2
5 01176780 Mounting 2
6 01176810 NILOS-Ring 2
7 01275220 Grooved ball bearing 2
8 01176770 Bearing 2
9 01176790 Toothed belt pulley 1
10 01275020 Split pin 2
11 01275150 Shim ring 2
Rev.B 06/12
Sweep roller system (99625820BT80-1)
Parts Manual - Kleen Sweep 25W Sweeper Page 22

Rev.B 06/12
Sweep roller with travel drive part 2
Parts Manual - Kleen Sweep 25W Sweeper Page 23

Item
Spare part
number
Description Qty. Remarks
1 00523520 Hex.bolt 5
2 01176900 Retaining strip 2
3 01176890 Rubber lip 2
4 01176870 Flap sheet metal 1
5 00133830 Hex. Nut 5
Rev.B 06/12
Sweep roller with travel drive part 2 (99625820BT90)
Parts Manual - Kleen Sweep 25W Sweeper Page 24

Rev.B 06/12
Side brush with drive
Parts Manual - Kleen Sweep 25W Sweeper Page 25

Item
Spare part
number
Description Qty. Remarks
1 01176420 Handle 1
2 00053350 Hexagon nut 1
3 01275190 Tapping screw 4
4 01176980 Sheet metal 1
5 01176410 Screw 1
6 00053770 Washer 1
7 00051490 Hexagon nut 1
8 00051340 Hexagon nut 2
9 01275080 Socket head screw 2
10 01176120 Knob 1
11 00053330 Hexagon nut 1
12 01176440 Threaded bolt 1
13 00054020 Wing nut 1
14 01176430 Sheet metal 1
15 01176910 Tension spring 1
16 99625820BT100-1 Side brush cpl. with retaining arm Page
17 00053200 Hex.bolt 1
18 01275110 Socket head screw 1
19 01176950 Holding plate 1
Rev.B 06/12
Side brush with drive (99625820BT100)
Parts Manual - Kleen Sweep 25W Sweeper
27
Page 26

Rev.B 06/12
Side brush cpl. with retaining arm
Parts Manual - Kleen Sweep 25W Sweeper Page 27

Item
Spare part
number
Description Qty. Remarks
1 01176920 Gear motor 1
2 01176930 Side broom arm 1
3 01176940 Swivel axle 1
4 01275110 Socket head screw 3
5 01176960 Driver 1
6 01176970 Side broom 1
7 01274950 Washer 1
8 00857150 Lock washer 1
9 01275030 Wing screw 1
10 01275140 Threaded pin 1
11 01274960 O-ring 1
Rev.B 06/12
Side brush cpl. with retaining arm (99625820BT100-1)
Parts Manual - Kleen Sweep 25W Sweeper Page 28

988729
Rev. B 06/12