TAIYO YUDEN EYSFCN Bluetooth Low Energy module User Manual

Taiyo Yuden Co., Ltd. Bluetooth Low Energy module

user manual

23-Oct.-2013 Ver.0.01  TAIYO YUDEN Confidential                                            TAIYO YUDEN  1/8 EYSFCN         Bluetooth ® 4.0 Low Energy Module    EYSFCN Bluetooth® 4.0 Low Energy                      The Bluetooth® word mark and logos are owned by the Bluetooth SIG, Inc. and any use of such marks by TAIYO YUDEN CO., LTD. is under license. Document constituent list  In case you adopt this module and design some appliance, Please ask for the latest specifications from the local sales office.
23-Oct.-2013 Ver.0.01  TAIYO YUDEN Confidential                                            TAIYO YUDEN  2/8 EYSFCN Control No.  Control name General Items  Scope This specification (“Specification”) applies to the hybrid IC “EYSFCN”, a Bluetooth® 4.0 Low Energy module (“Product”) manufactured by TAIYO YUDEN Co., Ltd. (“TAIYO YUDEN”)  1. Part Number: EYSFCN  2. Function:  Radio frequency Module.    Bluetooth® standard Ver 4.0 Low Energy conformity    3. Application: Health & Fitness Equipment, Sensor, Toys  4. Structure: Hybrid IC loaded with silicon monolithic semiconductor     Ability of lead free mounting at customer's assembly (Heat resistance of this Product)    : Yes Containment of hazardrous substance in this Product *Pb (Lead)                                              : Not used *Additional RoHS regulation substance (Cd.Hg.Cr+6.PBB.PBDE)  : Not used  5. Outline: 12.9x 9.6 x 2.0 mm (*tentative)     49-pin leadless chip carrier  6. Marking: Part number, Lot number, Japan ID, FCC ID, IC ID.  7. Features: - Small outline by PCB substrate   - Low power consumption - Integrated antenna - Integrated system and sleep clock - Bluetooth® 4.0 Low Energy conformity - Master and Slave Role  8. Packaging: Packaging method: Tape & reel + aluminum moisture barrier bag Packaging unit:   (TBD)                *It might be provided as tray at sample stage.
23-Oct.-2013 Ver.0.01  TAIYO YUDEN Confidential                                            TAIYO YUDEN  3/8 EYSFCN Control No.  Control name General Items  9. Note: a. Any question arising from this Specification shall be solved through mutual discussion by the parties    hereof. b. This Product is not designed to be radiation durable and should not be used under the circumstance of radiation. c. The operating conditions of this Product are as shown in this Specification. Please note that TAIYO YUDEN shall not be liable for a failure and/or abnormality which is caused by use under the conditions other than the operating conditions hereof. d. The Product mentioned in this Specification is manufactured for use in Health & Fitness Equipment, Sensor and Toys. Before using this Product in any special equipment (such as medical equipment, space equipment, air craft, disaster prevention equipment), where higher safety and reliability are duly required, the applicability and suitability of this Product must be fully evaluated by the customer at its sole risk to ensure correct and safe operation of these special equipments. Also, evaluation of the safety function of this Product even for use in general electronics equipment shall be thoroughly made and when necessary, a protective circuit shall be added during the    design stage, all at the customer’s sole risk. e. i) You are requested to fully check and confirm by the start of mass production of this Product that (1) no bug, defect or other failure is included in firmware incorporated in this Product (“Incorporated Software”), (2) no bug defect or other failure arising from installation of this Product in which is contained Incorporated Software into your products is included in Incorporated Software, and that Incorporated Software fully meets your intended use, although TAIYO YUDEN sufficiently inspects or verifies quality of Incorporated Software. ii) Please note that TAIYO YUDEN is not responsible for any failure arising out of bugs or defects in Incorporated Software. f. TAIYO YUDEN warrants only that this Product is in conformity with this Specification for one year after purchase and shall in no event give any other warranty. g. Communication between this Product and others might not be established nor maintained depending upon radio environment or operating conditions of this Product and other Bluetooth® products. h. In order to take tests for getting the certification of each country’s Radio Law with a device incorporating this module, it is necessary to make the software in Host to put the module into test condition. Please contact TAIYO YUDEN for further details. i. This Product operates in the unlicensed ISM band at 2.4GHz. In case this Product is used around the other wireless devices which operate in same frequency band of this Product, there is a possibility that interference occurs between this Product and such other devices. If such interference occurs, please stop the operation of other devices or relocate this Product before using this Product or do not use this Product around the other wireless devices. j. Please evaluate adequately our module incorporated to your products before mass production. k. User Code Modification Notice. User Code for sample modules or part numbers you see in this Specification are TAIYO YUDEN standard part numbers. When any modification is made to modules to meet requested specifications, the part number will carry a different part number, due to forfeit originality.   Additionally, part numbers may be modified based on mass production stage or other related stages. Please contact TAIYO YUDEN to confirm whether your part number needs to be modified. Please see the following examples for cases that part numbers are modified:     - for specific firmware version (our standard item firmware will be upgraded occasionally)     - for other relevant cases (specific or different setting, form, sizes, or display etc..)
23-Oct.-2013 Ver.0.01  TAIYO YUDEN Confidential                                            TAIYO YUDEN  4/8 EYSFCN Control No.   Control name General Items  l. In some cases, TAIYO YUDEN may use replacements as component parts of Products. Such replacement shall apply only to component part of Products, which TAIYO YUDEN deems it possible to replace or substitute according to (i) Scope provided in this Specification (e.g. Official Standard (Type Approvals etc.)) and (ii) Quality of Products. TAIYO YUDEN also ensures traceability of such replacement on production lot basis. m. Caution for Export Control This Product may be subject to governmental approvals, consents, licenses, authorizations, declarations, filings, and registrations for export or re-export of the Product, required by Japanese Foreign Exchange and Foreign Trade Law(including related laws and regulations) and/or any other country’s applicable laws or regulations related to export control.  In case you will export or re-export this Product, you are strongly recommended to check and confirm, before exporting or re-exporting, necessary procedures for export or re-export of this Product which is required by applicable laws and regulations, and if necessary, you have to obtain necessary and appropriate approvals or licenses from governmental authority at your own risk and expense. n. Japan Regulatory Information This product with a specific antenna is a radio system approved for Type Approval.   Please notify clearly below sentences, on your product or in the product manual. This product has a radio system which was approved as a radio station in a low power data communication system based on the Radio Law and the Telecommunication Business Law. Name of the radio system: 001-A01718 o. Canada Regulatory Information a) This device complies with Industry Canada licence-exempt RSS standards. Operation is subject to the following two conditions: (1) this device may not cause interference, and (2) this device must accept any interference, including interference that may cause undesired operation of the device. L'utilisation de ce dispositif est autorisée seulement aux conditions suivantes: (1) il ne doit pas produire de brouillage et (2) l'utilisateur du dispositif doit être prêt à accepter tout brouillage radioélectrique reçu, même si ce brouillage est susceptible de compromettre le fonctionnement du dispositif. b) Please notify certified ID by either one of the following method in your product.    -Contains Transmitter module IC : 4389B-EYSFCN    -Contains IC : 4389B-EYSFCN  p. FCC Regulatory Information a) This device complies with part 15 of the FCC Rules. Operation is subject to the following two conditions: (1) This device may not cause harmful interference, and (2) this device must accept any interference received, including interference that may cause undesired operation. b) Please notify certified ID by either one of the following method. -Contains Transmitter Module FCC ID: RYYEYSFCN -Contains FCC ID: RYYEYSFCN c) CAUTION: changes or modifications not expressly approved by the party responsible for compliance could void the use’s authority to operate the equipment
23-Oct.-2013 Ver.0.01  TAIYO YUDEN Confidential                                            TAIYO YUDEN  5/8 EYSFCN Control No.  Control name General Items  q. This Product is designed for use in products which comply with Bluetooth® Specifications (Ver 4.0 LE)(“Bluetooth Specifications”).    TAIYO YUDEN disclaims and is not responsible for any liability concerning infringement by this Product under any intellectual property right owned by third party in case the customer uses this Product in any product which does not comply with Bluetooth Specifications (the “non-complying products”). Furthermore, TAIYO YUDEN warrants only that this Product complies with this Specification and does not grant any other warranty including warranty for application of the non-complying products.
23-Oct.-2013 Ver.0.01  TAIYO YUDEN Confidential                                            TAIYO YUDEN  6/8 EYSFCN Control No.               Control name Electrical characteristics  Absolute maximum ratings   Symbol  Parameter  Min.  Max.  Units VCC_NRF   -0.3 +3.6 V GND    0 V Storage temperature    -40  +125  Deg-C   Recommendation operating range Symbol  Parameter  Note  Min.  Typ.  Max.  UnitsVCC_NRF Supply voltage, normal mode  1.8 3.0 3.6 V   DC Specifications The Specification applies for Topr.= 25 degrees C, VCC_NRF = 3.0V Symbol  Parameter (condition)  Min.  Typ. Max.  UnitsVIH  Input high voltage 0.7 VCC_NRF  VCC_NRF V VIL  Input low voltage GND  0.3 VCC_NRF V VOH Output high voltage VCC_NRF-0.3  VCC_NRF V VOL Output low voltage GND  0.3 V   UART specifications Symbol  Description  Min.  Typ.  Max.  UnitsIUART Run current @ 9600 bps  220  uA fUART Baud rate for UART   9600  bps   RF Specifications Symbol  Description  Min.  Typ.  Max.  Units Fop  Operating frequencies 2402  2480 MHz PRF Maximum output power  4  dBm PSENS IT Receiver sensitivity (0.1% BER)    -93  dBm
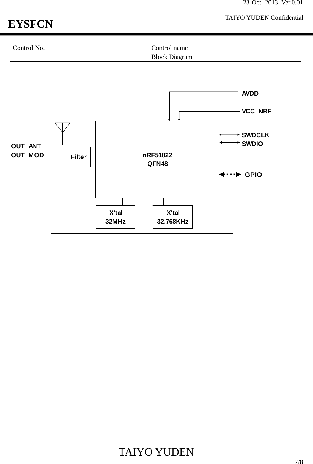
23-Oct.-2013 Ver.0.01  TAIYO YUDEN Confidential                                            TAIYO YUDEN  7/8 EYSFCN Control No.  Control name Block Diagram                               nRF51822QFN48X'tal32MHz X'tal32.768KHzVCC_NRFSWDCLKSWDIOP0.00 to P0.06P0.17,  P0.19P0.21,  P0.23P0.25FilterOUT_MODOUT_ANTAVDDGPIO
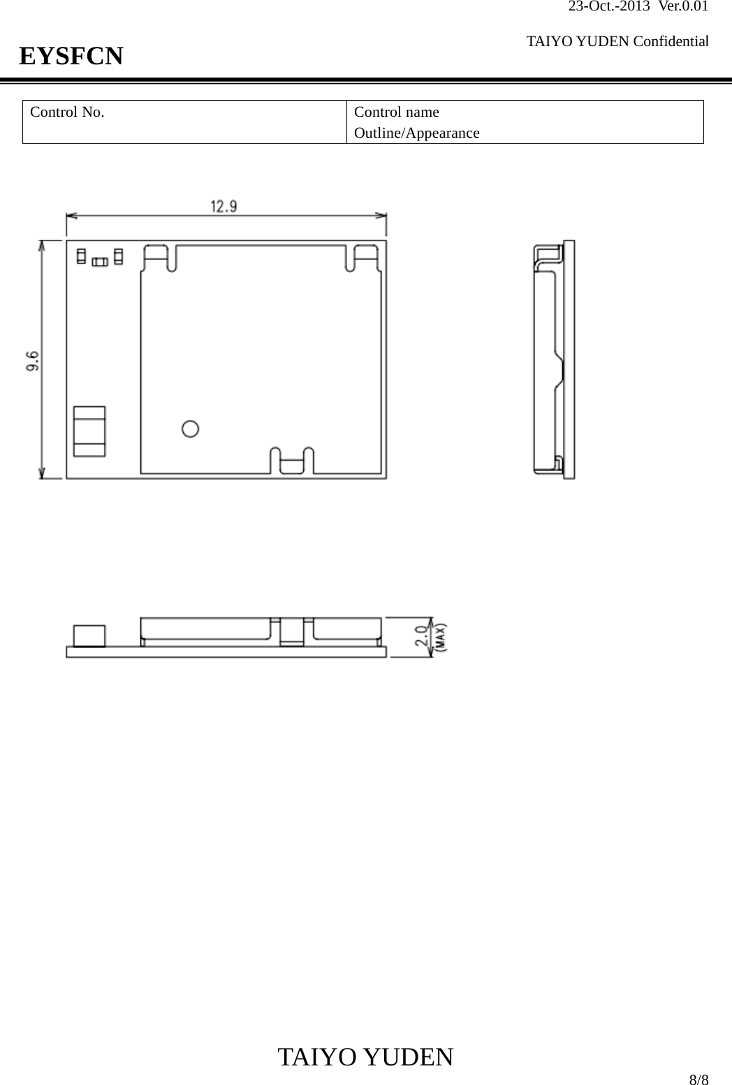
23-Oct.-2013 Ver.0.01  TAIYO YUDEN Confidential                                            TAIYO YUDEN  8/8 EYSFCN Control No.  Control name Outline/Appearance

Navigation menu