TELEPHONE EST BA02 Bluetooth Earbuds User Manual
TELEPHONE EST (HK) CO., LTD Bluetooth Earbuds
User Manual

Operation Instructions for STN-820 Bluetooth Earbuds
Production Description:
The Bluetooth earphone of STN-820 is a high quality stereo Bluetooth
earphone which possesses wireless music, calling and take photos
function.
Appearance vogue, beautifully designed, easy to carry, suitable for
household, outdoor travel and other places, enjoy music anytime and
anywhere. Get rid of cable tie, combined with perfect sound let
movement more freedom, happiness.
Function Features:
【Bluetooth Play】Support pairing Bluetooth devices to play music such
as mobile phone, tablet, TV.
【Hands-free calls】Support for hands-free calls function, built-in high
sensitive microphones, making phone calls have carefree to enjoy.
【One-click Photo】Support for camera, especially for photographing self
conveniently and anytime and anywhere, better enjoy the pleasure of
taking pictures.
【Voice Prompt Coming Calls】It will prompt the phone number when
you have a coming call, it is more convenient.
【IOS Battery Display】IOS mobile phone real-time display the earphone
battery, let you know the earphone battery.
【Smart Power-off】If not connected Bluetooth mode,it will turn off

automatically after 8 minutes, don’t worry about waste of electricity for
standby.
【Rechargeable Lithium Electricity】The built-in rechargeable lithium
battery, environmental protection, economical and practical.
【Intelligent Charging】Distribution with USB charging line, can be
connected to the computer USB interface to charge, or practical mobile
charger to charge
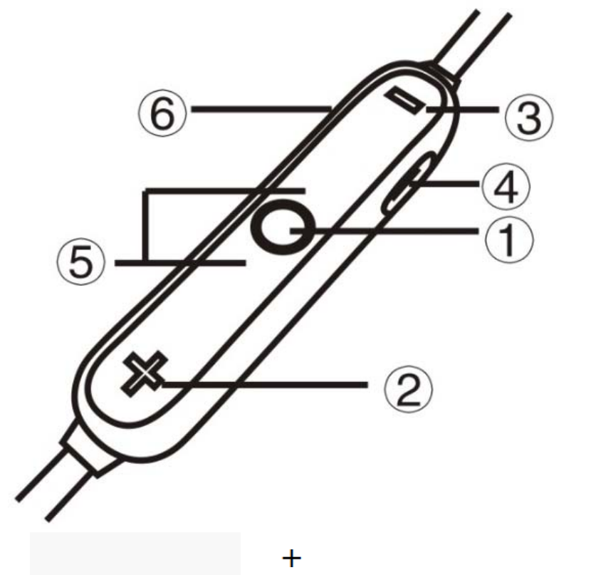
① MULTIFUNCTION KEY ② ③ - ④Micro USB Charging
Ports ⑤Status indicator lamp ⑥Built-in Mic
Function Definition of Product Buttons and Slot:

① MULTIFUNCTION KEY:Long press to turn is on(voice prompt to
power on) and the indicator lamp lights up, long press to turn it off(voice
prompt to power off) and the indicator lamp extinguished. When connect
to the Bluetooth, short press to pause play, short press again to start
playing. When have a call, short press for answering the telephone, after
the call short press for hang up, long press can refuse to answer the phone,
continue press two times will redial the last time phone number you
dialed. When enter to the camera mode, short press can take a photo.
② :Long press for turn up the volume, short press for move next song.
At the same time press the “”and “-” to enter the photo mode,
again at the same time, press the“”and“-”to exit the photo mode.
③ -:Long press for turn down the volume, short press for move
previous song. At the same time press the “”and “-” to enter the
photo mode,again at the same time, press the“”and“-”to exit the
photo mode.
④ 【Micro USB Charging Port】:Power input jack, can use the native
USB cable connect to the computer USB interface for charging, or use a
mobile phone charger to charge.
Bluetooth Pairing Operation Method:
Long press the call key 3 seconds to boot, the blue and red light flashing,
it is the state of the Bluetooth pairing. At this time search the
corresponding Bluetooth device name on the phone, click the device

name on the mobile phone for the Bluetooth pairing, hear "Connect
successfully" means the pairing is successful, the blue light flash twice
every five seconds.
Method of Take photo:
Turn on the camera of the mobile phone,At the same time press the
“”and “-” to enter the photo mode ,short press the
MULTIFUNCTION KEY for take a photo and video, again at the same
time, press the“”and“-”to exit the photo mode.
★SPECIAL INSTRUCTION: When enter the photo mode, the“”and
“-” key ,and multifunction key will not have the volume control
function, up and down function, the pause/play control function. It wills
recovery control function after exit the photo mode.
Charging Method of Use:
Insert the end of the charging cable to native V3 USB socket, the other
end of the USB plug into the PC USB port, or connect to the standard 5 v
charger interface, the indicator light turns red when charging, the red light
will extinguish when full of.
Low Battery:
When there was a low voltage power, the machine will prompt "Low
battery, please charge”, and then will automatically shut down, please
recharge in time at this time. If it is not to be used for a long time,
charging one time every month at least, it can protect the battery and
extend battery life.
Auto Power off Function:
If not connected Bluetooth and without any operation, this machine will
automatically turn off after eight minutes.
Product performance parameters:
1. Charging voltage: Micro USB 5V
2. Working current: 20-25mA
3. Bluetooth Working range: 10M
4. Output power: 2×20mW
5. Frequency range: 2.402-2.480GHz
6. Distortion factor: ≤1%
7. SNR: ≥95dB
8. Frequency response: 20Hz-20KHz
9. Normal Working Time: Music state 3hour
10. Charging Time: About 2 hour
FCC Statement
This device complies with Part 15 of the FCC rules. Operation is subject to the following two
conditions: 1) this device may not cause harmful interference, and 2) this device must accept
any interference received, including interference that may cause undesired operation.
Note: This equipment has been tested and found to comply with the limits for a Class B digital
device, pursuant to part 15 of the FCC Rules. These limits are designed to provide reasonable
protection against harmful interference in a residential installation. This equipment generates
uses and can radiate radio frequency energy and, if not installed and used in accordance with
the instructions, may cause harmful interference to radio communications. However, there is no
guarantee that interference will not occur in particular installation. If this equipment does cause
harmful interference to radio or television reception, which can be determined by turning the
equipment off and on, the user is encouraged to try to correct the interference by one or more
of the following measures:
‐‐Reorient or relocate the receiving antenna.
‐‐Increase the separation between the equipment and receiver.
‐‐Connect the equipment into an outlet on a circuit different from that to which the receiver is
connected.
‐‐Consult the dealer or an experienced radio/TV technician for help.
Changes or modifications not expressly approved by the party responsible for compliance could
void the user’s authority to operate the equipment.
This device is measured RF output power is less than the SAR exclusion threshold value
for human head and body. Therefore, SAR test is not necessary.