Tanaka Tbc 400Pf Users Manual 400PF.pmd
TBC-400PF to the manual 376fd685-6c0a-bd54-0585-5c976dac4301
2015-02-02
: Tanaka Tanaka-Tbc-400Pf-Users-Manual-449134 tanaka-tbc-400pf-users-manual-449134 tanaka pdf
Open the PDF directly: View PDF
.
Page Count: 17

IllustrIllustr
IllustrIllustr
Illustraa
aa
ated Pted P
ted Pted P
ted Parar
arar
arts Mants Man
ts Mants Man
ts Manualual
ualual
ual
Model Number:
TBC-400PF
BRUSHCUTTER, 40cc
P/N 39892
Rev 000
Date 5-31-05
Supplier To The Outdoor Power Equipment Industry
ISM, Inc. • 1028 4th Street SW • Auburn, WA 98001 • Phone: (253) 333-1200 • Fax: (253) 333-1212
custsvc@tanaka-ism.comwww.tanaka-usa.com

www.tanaka-usa.com
PARTS INFORMATION
custsvc@tanaka-ism.com
Page 1
TBC-400PF
CYLINDER, PISTON & CRANKSHAFT • FIGURE 1
ITEM PART NUMBER DESCRIPTION QTY COMMENTS
1-5 25504200200 COVER,SPARK PLUG,RUBBER 1
1-6 15711666900 CAP,SPARK PLUG 1
1-8 0181166021 PLUG,SPARK 1
1-11 0010440590 SET,CYLINDER 1 Includes gasket
1-12 99461050204 BOLT,HEX,HOLE,5X20,S 4
1-14 0170440020 GASKET,CYLINDER 1
1-15 04104050200 RING,PISTON 2
1-16 0300440090 PISTON SET 1 Includes piston rings and circlips
1-17 0370100020 PIN,PISTON 1
1-18 03905004200 CIRCLIP,PISTON PIN 2
1-21 0460440080 CRANKSHAFT 1
1-22 99962101004 BEARING,NEEDLE,F1010B 1
1-31 06802000200 KEY,WOODRUFF,3X13X5 1
1-44 56020517200 CAP,RUBBER 1
1-45 1782054322 CORD,HIGH TENSION 1
1-46 1672054391 COIL,IGNITION 1
1-50 1790007080 STOP CORD,220MM 1
1-56 99416040183 SCREW 4X18/WS 2
1-59 1820186A201 WASHER,SPECIAL 2
1-63 19805015800 CLAMP 1

www.tanaka-usa.com
PARTS INFORMATION
custsvc@tanaka-ism.com
Page 2
TBC-400PF
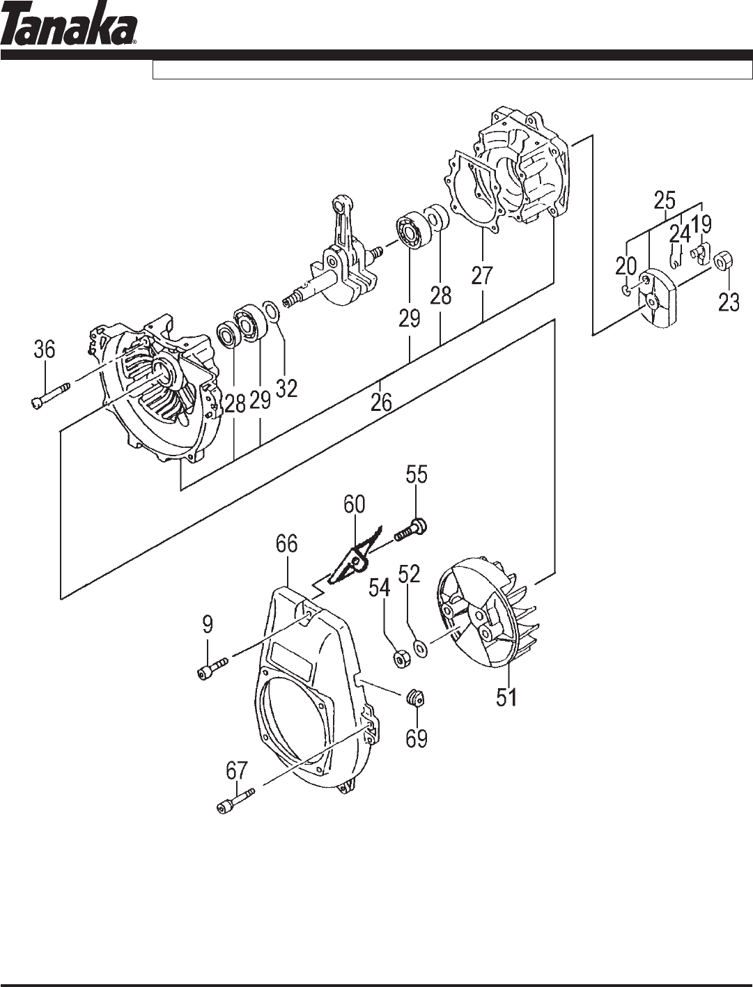
CRANKCASE & FLYWHEEL • FIGURE 2

www.tanaka-usa.com
PARTS INFORMATION
custsvc@tanaka-ism.com
Page 3
TBC-400PF
CRANKCASE & FLYWHEEL • FIGURE 2
ITEM PART NUMBER DESCRIPTION QTY COMMENTS
2-9 99463050204 BOLT, HEX 5X20 1
2-19 7880162V20 PAWL,STARTER 1
2-20 99355050000 RING,STOP,5 1
2-23 99111100013 NUT,10 1
2-24 7900162V200 SPRING,PAWL,STARTER 1
2-25 7980422090 PAWL,STARTER ASS'Y 1
2-26 0720440091 CRANKCASE ASSY 1 Includes gasket, seals and bearings
2-27 0900440020 GASKET,CRANKCASE 1
2-28 99966152564 SEAL,OIL,UD15257 2
2-29 99961620200 BEARING,BALL,#6202 2
2-32 07102007200 SHIM,15.2X20X.05 1
2-32 07102007210 SHIM,15.2X20X.10 1
2-32 07102007220 SHIM,15.2X20X.15 1
2-32 07111600230 SHIM,16X21X.20 1
2-32 07111600240 SHIM,16X21X.30 1
2-36 99461050304 BOLT,HEX,5X30S 4
2-51 1552053880 ROTOR,MAGNETO 1
2-52 99201100011 WASHER,10 1
2-54 99111100011 NUT,10 1
2-55 99414050101 SCREW,S,5X10 1
2-60 1320440020 DEFLECTOR,AIR 1
2-66 1120441321 CASE,FAN,POLISHED 1
2-67 99461050204 BOLT,HEX,HOLE,5X20,S 4
2-69 20311660200 GROMMET,PRIMARY CORD 1

www.tanaka-usa.com
PARTS INFORMATION
custsvc@tanaka-ism.com
Page 4
TBC-400PF
FUEL SYSTEM • FIGURE 3

www.tanaka-usa.com
PARTS INFORMATION
custsvc@tanaka-ism.com
Page 5
TBC-400PF
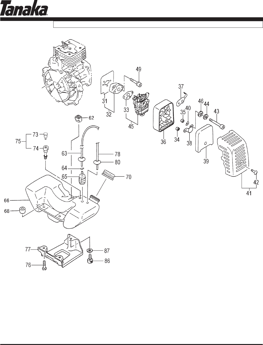
FUEL SYSTEM • FIGURE 3
ITEM PART NUMBER DESCRIPTION QTY COMMENTS
3-31 4030430020 GASKET,INLET MANIFOLD 1
3-32 4040430090 SET,CARB INSULATOR 1 Includes gasket
3-33 4020430020 GASKET,CARBURETOR 1
3-34 4530637C200 COLLAR 1
3-35 4700138020 COLLAR 1
3-36 4230138082 BODY,CLEANER 1
3-37 5280138021 VALVE,CHOKE 1
3-38 47601700200 BOARD,BLOW OVER CHECK 1
3-39 4460138021 FILTER,AIR 2
3-40 99204080030 WASHER,8 1
3-41 4520138091 COVER,CLEANER,ASSY 1
3-42 3800637C200 BOLT,CLEANER COVER 1
3-43 99011050602 SCREW,5X60 2
3-44 99210050012 WASHER,S,5 2
3-45 4550440090 SET,CARBURETOR 1
3-46 78600601200 WASHER,RECOIL STARTER 2
3-49 99464050254 BOLT,HEX HOLE,5X25WS 2
3-62 6490168020 COLLAR,TANK FIXING 1
3-63 22301251901 PIPE,FUEL,3X5X230 1
3-64 68000731201 CLIP 6.3 1
3-65 67501630900 FILTER,FUEL 1
3-66 5910441321 TANK,WHITE,PF-4000 1
3-68 6590430020 COLLAR,C 3
3-70 5950656B90 CAP,FUEL BLACK,NON VENT 1
3-73 6460661290 VALVE 1
3-74 5650441020 PIPE,AIR VENT 1
3-75 5640661190 VENT,AIR ASS'Y 1
3-76 99463050204 BOLT, HEX 5X20 2
3-77 9400430020 STAND,ENGINE 1
3-78 7000300508 PIPE,FUEL,3X5X85 1
3-80 22206300200 GROMMET,FUEL PIPE 1
3-86 99461050304 BOLT,HEX,5X30S 1
3-87 99201050061 WASHER,5 1

www.tanaka-usa.com
PARTS INFORMATION
custsvc@tanaka-ism.com
Page 6
TBC-400PF
MUFFLER, CLUTCH & COVER • FIGURE 4
86
ITEM PART NUMBER DESCRIPTION QTY COMMENTS
4-1 7380440A21 PROTECTOR,MUFFLER 1
4-3 99461050124 BOLT,HEX,5X12S 1
4-5 99053060653 SCREW,HEX,6X65 2
4-6 99201060011 WASHER,6 2
4-7 7040440090 SET,MUFFLER 1 Includes gasket
4-8 99201050061 WASHER,5 1
4-10 7210440020 PIPE,TAIL 1
4-11 99434040081 SCREW,4X8/S 1
4-13 7320440020 ARRESTER,SPARK 1
4-14 73704230200 GASKET,MUFFLER 1
4-16 1330440020 SHIELD,HEAT 1
4-23 99463050204 BOLT, HEX 5X20 2
4-24 2030604A202 GROMMET 1
4-25 99461050254 BOLT,HEX HOLE,5X25S 2
4-26 99201050061 WASHER,5 2
4-81 35910112203 WASHER,CLUTCH B 2
4-82 2900420081 SHOE,CLUTCH 2
4-83 34204200200 SPRING,CLUTCH 1
4-84 99204100030 WASHER,WAVE,10 2
4-85 35704201200 BOLT,CLUTCH STEP 2
4-86 30790 CLUTCH ASSY 1

www.tanaka-usa.com
PARTS INFORMATION
custsvc@tanaka-ism.com
Page 7
TBC-400PF
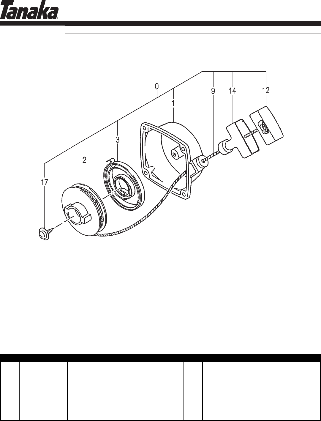
STARTER • FIGURE 5
ITEM PART NUMBER DESCRIPTION QTY COMMENTS
5-0 7620422090 STARTER,RECOIL ASSY 1
5-1 7720422080 BODY,RECOIL STARTER 1
5-2 7690422020 REEL,STARTER ROPE 1
5-3 7790422020 SPRING,RECOIL 1
5-9 7830427020 ROPE,STARTER 1
5-12 8350422020 CAP,HANDLE 1
5-14 7850422020 HANDLE,STARTER 1
5-17 8390422020 SCREW,SET 1

www.tanaka-usa.com
PARTS INFORMATION
custsvc@tanaka-ism.com
Page 8
TBC-400PF
AIR FILTER • FIGURE 6
ITEM PART NUMBER DESCRIPTION QTY COMMENTS
6-0 4550440090 CARBURETOR SET 1 Includes gasket
6-1 51425100200 SCREW,THROTTLE SET 2
6-4 54425164200 STAY,ADJUST,CABLE 1
6-5 53925120200 SWIVEL 1
6-6 5492516520 WASHER,THRUST 1
6-7 48925100200 RING,STOP 1
6-9 61425137200 ADJUSTER,CABLE 1
6-10 55025100200 O-RING 1
6-11 5992001W440 MAIN JET #44 1
6-12 99101060013 NUT,6 1
6-13 ~ ~ ~ GASKET,PUMP 1 ~ Contained in Carb Repair Kit
6-14 ~ ~ ~ DIAPHRAGM,PUMP 1 P/N 650-25124-900
6-17 57825007200 SCREEN,INLET 1 (Not available individually)
6-18 5752515380 BODY,PUMP 1
6-19 ~ ~ ~ GASKET,DIAPHRAGM 1
6-20 ~ ~ ~ DIAPHRAGM,METERING 1
6-21 4762515120 COVER,DIAPHRAGM 1
6-22 5482515120 SCREW,SET 4
6-24 4310634C200 GASKET,CLEANER 1
6-25 4422515180 PUMP,PRIMING 1
6-26 44725108200 BULB,PRIMING 1
0

www.tanaka-usa.com
PARTS INFORMATION
custsvc@tanaka-ism.com
Page 9
TBC-400PF
CLUTCH CASE • FIGURE 7
ITEM PART NUMBER DESCRIPTION QTY COMMENTS
7-1 2893749180 SHAFT,CLUTCH 1
7-2 99351032002 RING,STOP,C-32 IN 1
7-3 99961600201 BEARING,BALL,#6002ZZ 1
7-4 3303749120 WASHER 1
7-5 99350015002 RING,STOP,C-15 EX 1
7-6 99353045002 RING,STOP,C-15,OUTER 1
7-7 3313749120 CASE,CLUTCH 1
7-8 5993749120 CUSHION 1
7-9 3603749120 HOLDER,PIPE 1
7-10 99436050101 SCREW,5X10WS 1
7-11 99461060304 BOLT,HEX,6x30/S 5
7-15 19805015800 CLAMP,CORD 1
7-26 2743749180 CORD 1

www.tanaka-usa.com
PARTS INFORMATION
custsvc@tanaka-ism.com
Page 10
TBC-400PF
DRIVE SHAFT & HANDLES • FIGURE 9

www.tanaka-usa.com
PARTS INFORMATION
custsvc@tanaka-ism.com
Page 11
TBC-400PF
DRIVE SHAFT & HANDLES • FIGURE 8
ITEM PART NUMBER DESCRIPTION QTY COMMENTS
8-1 3433749120 SHAFT,DRIVE 1
8-2 3413785080 SHAFT,DRIVE 1
8-3 3473785090 BUSHING ASS'Y 5
8-16 3353836080 HANGER 1
8-17 3353825390 RING,STRAP 1
8-18 3373836080 HANGER BRACKET 1
8-19 99416050252 SCREW,5X25WS 1
8-60 5003749120 HANDLE,L & R 2
8-62 5033754020 GRIP,RIGHT 1
8-63 1653759020 GRIP,HANDLE 1
8-64 99461050254 BOLT,HEX HOLE,5X25S 4
8-65 5063844720 BRACKET,HANDLE,A 1
8-66 5073844720 BRACKET,HANDLE,B 1
8-68 5103749120 CUSHION 1
8-69 5083844720 BRACKET,HANDLE,C 1
8-71 99461050304 BOLT,HEX,5X30S 2
8-73 17837108800 CORD,STOP 1
8-74 1983385120 CLAMP,WIRE 2
8-79 8853780580 WIRE,THROTTLE 1
8-80 4993722520 GROMMET,PIPE 1
8-81 1641007001 TUBE,PROTECTION,10x700 1
8-91 746291 SHOULDER HARNESS ASSY 1

www.tanaka-usa.com
PARTS INFORMATION
custsvc@tanaka-ism.com
Page 12
TBC-400PF
THROTTLE • FIGURE 9
ITEM PART NUMBER DESCRIPTION QTY COMMENTS
9-26 1623710120 SWITCH,STOP 1
9-27 99342030081 SCREW,TAPPING,3X8 3
9-28 25937101200 BASE,STOP SWITCH 1
9-29 26237101200 SPRING,STOP SWITCH 1
9-30 17737101200 TERMINAL,EARTH B 1
9-31 17637101200 TERMINAL,EARTH A 1
9-32 99186050000 NUT,LOCK,5 1
9-33 99355060001 RING,STOP,6 1
9-34 83237101200 SPRING,RETURN 1
9-35 88037101200 LEVER,THROTTLE 1
9-36 99431050251 SCREW,S.,5X25 1
9-37 85337101200 SHAFT,LOCK BUTTON 1
9-38 95837101200 SPRING,LOCK,BUTTON 1
9-39 95637101200 BUTTON,LOCK 1
9-85 87037101900 LEVER,THROTTLE ASS'
Y
1

www.tanaka-usa.com
PARTS INFORMATION
custsvc@tanaka-ism.com
Page 13
TBC-400PF
GEAR CASE & SAFETY GUARD • FIGURE 10

www.tanaka-usa.com
PARTS INFORMATION
custsvc@tanaka-ism.com
Page 14
TBC-400PF
GEAR CASE & SAFETY GUARD • FIGURE 10
ITEM PART NUMBER DESCRIPTION QTY COMMENTS
10-1 3003749190 GEAR CASE ASSY 1
10-2 99422060301 BOLT,6x30PS 1
10-3 99351026002 RING,STOP,IN,C-26 1
10-5 99350010002 RING,STOP,C-10 EX 1
10-6 99961600000 BEARING,BALL,#6000 1
10-7 99961600002 BEARING,BALL,#6000Z 1
10-9 3003749120 GEAR CASE 1
10-11 99415050121 SCREW,5X12/PS 1
10-12 99021060080 BOLT,6x8 1
10-13 99961629000 BEARING,BALL,#629 1
10-14 3043330M20 SHAFT,GEAR 1
10-16 99961620104 BEARING,BALL,#6201DD 1
10-17 99351032002 RING,STOP,C-32 IN 1
10-18 3103330M20 HOLDER,CUTTER 1
10-19 3113330M20 CAP,CUTTER HOLDER 1
10-20 3083330M20 COVER,PROTECTION 1
10-21 99424050101 BOLT,5x10S 3
10-22 3133330M20 FIXING NUT 1
10-26 99481060254 SCREW,HEX HOLE 6X25 2
10-28 4423825320 BRACKET,COVER 1
10-29 4413825320 GUARD,SAFETY 1
10-35 3013749100 GEAR-PINION SET 1
10-36 3033330M20 COVER,GEAR CASE 1
10-50 4453825320 HOLDER,SAFETY GUARD 1

www.tanaka-usa.com
PARTS INFORMATION
custsvc@tanaka-ism.com
Page 15
TBC-400PF
BLADE & TOOLS • FIGURE 12
ITEM PART NUMBER DESCRIPTION QTY COMMENTS
11-30 8132901460 WRENCH,HEX 14 1
11-32 8103749120 BLADE,10x3 TOOTH 1
11-33 8012937491 SPANNER,8x10 1
11-34 8142937491 WRENCH,HEX,5 1
11-35 6153749120 COVER,CUTTER 1
11-36 8262937491 WRENCH,COMBI,17x19 1

www.tanaka-usa.com
PARTS INFORMATION
custsvc@tanaka-ism.com
Page 16
TBC-400PF
DECALS • FIGURE 13
ITEM PART NUMBER DESCRIPTION QTY COMMENTS
12-2 92337400200 DECAL 1