Tanaka Tph 210 200 Users Manual 210dpl
2015-02-02
: Tanaka Tanaka-Tph-210-200-Users-Manual-449246 tanaka-tph-210-200-users-manual-449246 tanaka pdf
Open the PDF directly: View PDF
.
Page Count: 10

IllustrIllustr
IllustrIllustr
Illustraa
aa
ated Pted P
ted Pted P
ted Parar
arar
arts Mants Man
ts Mants Man
ts Manualual
ualual
ual
Model Number:
TPH-200/210
HEDGETRIMMER ATTACHMENT
P/N 31778
Rev 000
Date 1-14-08
Nikko Tanaka Engineering U.S.A.,Ltd.• 1028 4th Street SW, Bldg B • Auburn, WA 98001 • Phone: (253) 333-1200 • Fax: (253) 333-1212
www.tanakapowerequipment.com custsvc@nikko-tanaka-usa.com

www.tanakapowerequipment.com
PARTS INFORMATION
custsvc@nikko-tanaka-usa.com
Page 1
TPH-200/210
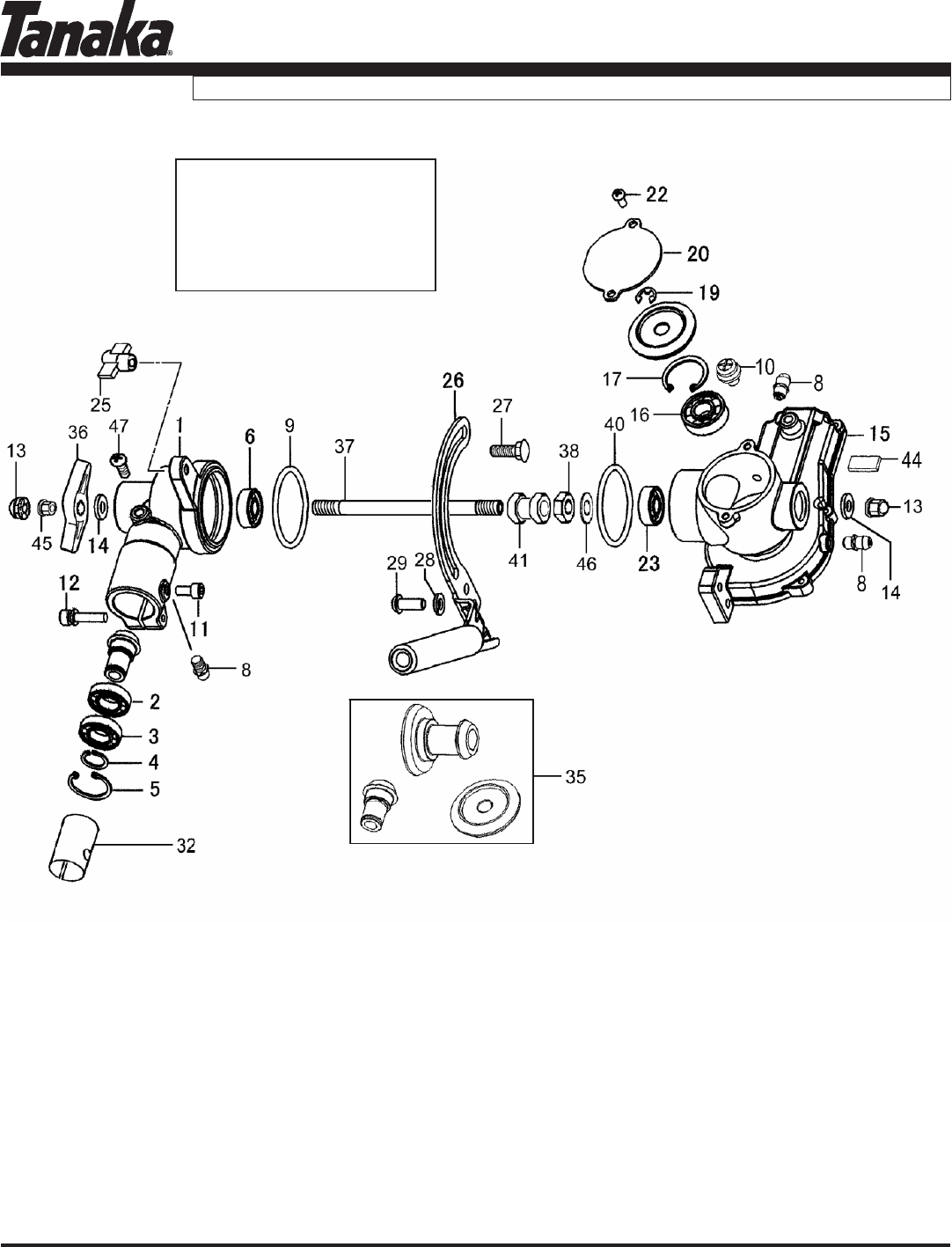
GEAR CASE, ADJUSTING HANDLE, GEARS • FIGURE 1
TPH-200 Units
Prior to S/N
W040350

www.tanakapowerequipment.com
PARTS INFORMATION
custsvc@nikko-tanaka-usa.com
Page 2
TPH-200/210
GEAR CASE, ADJUSTING HANDLE, GEARS • FIGURE 1
ITEM PART NUMBE
R
DESCRIPTION QTY COMMENTS
1-1 3003228520 G 1A,ESAC,RAE
1-2 99961690100 11096#,LLAB,GNIRAEB
1-3 99961690101BEARING,BALL,#6901ZZ 1
1-4 99352012002 RING,STOP,S12,OUTER 1
1NI,42-C,POTS,GNIR200420153995-1
1-6 99961608002 1Z806#,LLAB,GNIRAEB
1NI,22C,POTS,GNIR200220153997-1
1-8 30032250801FITTI 3ESAERG,GN 114-P,GNIR-O000140769999-1
~950822U1P01x6,SULP,WERCS1010603149901-1
101X5,ELOH.XEH,TLOB3010501509911-1
1-12 99461050224 BOLT,HEX HOLE 5x22/S 1
1-13 99053060125 SCREW,HEX HOLE 6X12 2
1-14 87132600200 2B,LAICEPS,REHSAW
1-15 3013228022CASE,GEAR 850
822U~1B
~950822U1ESAC RAEG520822310351-1
1-16 99961600004BEARING,BALL,#6000DD 1
162-C,NI,POTS,GNIR2006201539971-1
16E,POTS,GNIR0000605539991-1
1A ESAC RAEG,REVOC020822372302-1
28X4,WERCS1800401109922-1
1-23 99961608002 1Z806#,LLAB,GNIRAEB
1NI,22C,POTS,GNIR2002201539942-1
1ELDNAH080822394052-1 1EDILS,EDIUG180822333062-1
1-27 87132600200 1B,LAICEPS,REHSAW
26,S,REHSAW2600600129982-1
251X6,XEH,TLOB3510603509992-1
16,S,REHSAW260060012990
3-1
1B,RALLOC0020313384323-1
1TES NOINIP & RAEG006822320353-1
1-44 0863228620SEAL,GREASE, ~223882U1B

www.tanakapowerequipment.com
PARTS INFORMATION
custsvc@nikko-tanaka-usa.com
Page 3
TPH-200/210
GEAR CASE, ADJUSTING HANDLE, GEARS • FIGURE 2
TPH-200 - Units
from S/N W040351
to Z101320

www.tanakapowerequipment.com
PARTS INFORMATION
custsvc@nikko-tanaka-usa.com
Page 4
TPH-200/210
GEAR CASE, ADJUSTING HANDLE, GEARS • FIGURE 2
ITEM PART NUMBER DESCRIPTION QTY COMMENTS
1A,RAEG,ESAC12582230031-2
2-3 99961690101 BEARING,BALL,#6901ZZ 2
2-4 99352012002 RING,STOP,S12,OUTER 1
1NI,42-C,POTS,GNIR200420153995-2 1Z806#,LLAB,GNIRAEB310806169996-2
3ESAERG,GNITTIF108052230038-2 114-P,GNIR-O000140769999-2
1P01x6,SULP,WERCS1010603149901-2 101X5,ELOH.XEH,TLOB3010501509911-2
2-12 99461050224 BOLT,HEX HOLE 5x22/S 1
28 EGNALF,TUN2200804419931-2
2REHSAW020081372041-2 1B RAEG,ESAC026822310351-2
2-16 99961600014 BEARING,BALL,#6000DD 1
162-
C,NI,POTS,GNIR2006201539971-2
16E,POTS,GNIR0000605539991-2 1A ESAC RAEG,REVOC020822372302-2
28X4,WERCS1800401109922-2 1Z806#,LLAB,GNIRAEB3108061699932-2
1ELDNAH,BONK085822321552-2 1EDILS,EDIUG180822333062-2
1LAICEPS,TLOB025822369172-2 26,S,REHSAW2600600129982-2
251X6,XEH,TLOB3510603509992-2 1B,RALLOC0020313384323-2
1NOINIP & RAEG,TES002822320353-2 1ELDNAH,BONK028922321563-2
1RAEG,TFAHS222822350
373-2 1LAICEPS,TUN029822318383-2
1MIHS122822317004-2 1MIHS222822317004-2
1MIHS322822317004-2 18.62,RALLOC029822369014-2
1B,ESAERG,LAES026822368044-2 1RAB,PMALC,TUN0020352312154-2
16.1,REHSAW022822306764-2 18X6,WERCS1800601349974-2

www.tanakapowerequipment.com
PARTS INFORMATION
custsvc@nikko-tanaka-usa.com
Page 5
TPH-200/210
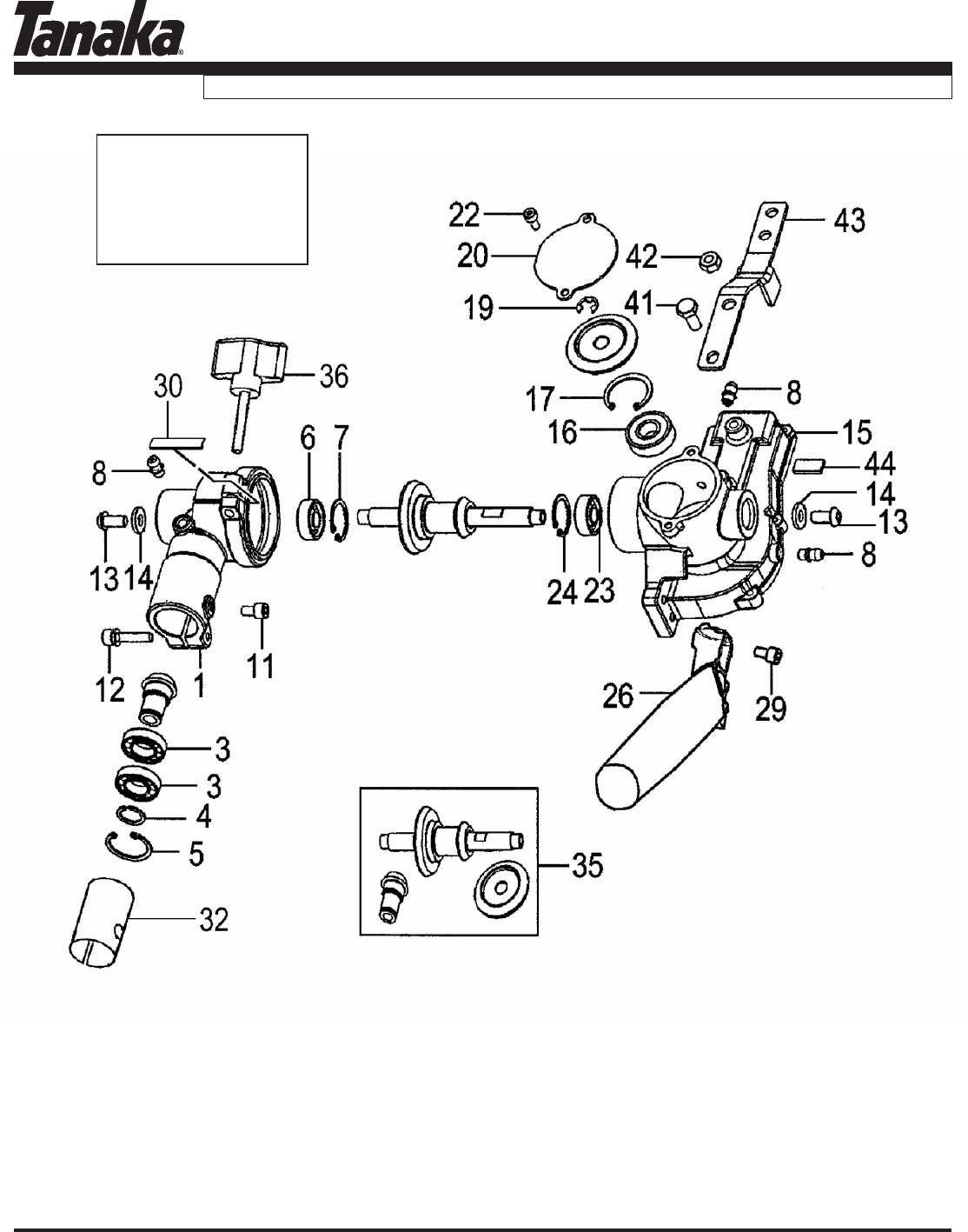
GEAR CASE, ADJUSTING HANDLE, GEARS • FIGURE 3
TPH-210 Units
After S/N
Z101321

www.tanakapowerequipment.com
PARTS INFORMATION
custsvc@nikko-tanaka-usa.com
Page 6
TPH-200/210
GEAR CASE, ADJUSTING HANDLE, GEARS • FIGURE 3
ITEM PART NUMBE
R
DESCRIPTION QTY COMMENTS
3-1 3003223020 1mm62,A,RAEG,ESAC
3-3 99961690101BEARING,BALL,#6901ZZ 2
3-4 99352012002 RING,STOP,S12,OUTER 1
1NI,42-C,POTS,GNIR200420153995-3
3-6 99961608013 1Z806#,LLAB,GNIRAEB
1NI,22C,POTS,GNIR200220153997-3
3-8 30032250801FITTI 3ESAERG,GN
101X5,ELOH.XEH,TLOB3010501509911-3
3-12 99461050254 BOLT,HEX HOLE,5X25S 1
3-13 99053060125 SCREW,HEX HOLE 6X12 2
3-14 87132600200 2B,LAICEPS,REHSAW
3-15 3013228620 C 1B RAEG,ESA
3-16 99961600014BEARING,BALL,#6000DD 1
162-C,NI,POTS,GNIR2006201539971-3
16E,POTS,GNIR00006
05539991-3
1A ESAC RAEG,REVOC020822372302-3 28x4,XEH,TLOB5800401509922-3
3-23 99961608013 1Z80
6#,LLAB,GNIRAEB
1NI,22C,POTS,GNIR2002201539942-3
1ELDNAH026822301262-3
251X6,XEH,TLOB3510603509992-3
3-30 0883228720 1D,LAES
1B,RALLOC0020313384323-3
1TES NOINIP & RAEG006822320353-3
1A,ELDNAH,BONK086822321563-3
141X6,SULP,TLOB1410603209914-3
16,TUN1400601019924-3
1TROPPUS,ETALP026822326434-3
3-44 086322 1B,ESAERG,LAES0268

www.tanakapowerequipment.com
PARTS INFORMATION
custsvc@nikko-tanaka-usa.com
Page 7
TPH-200/210
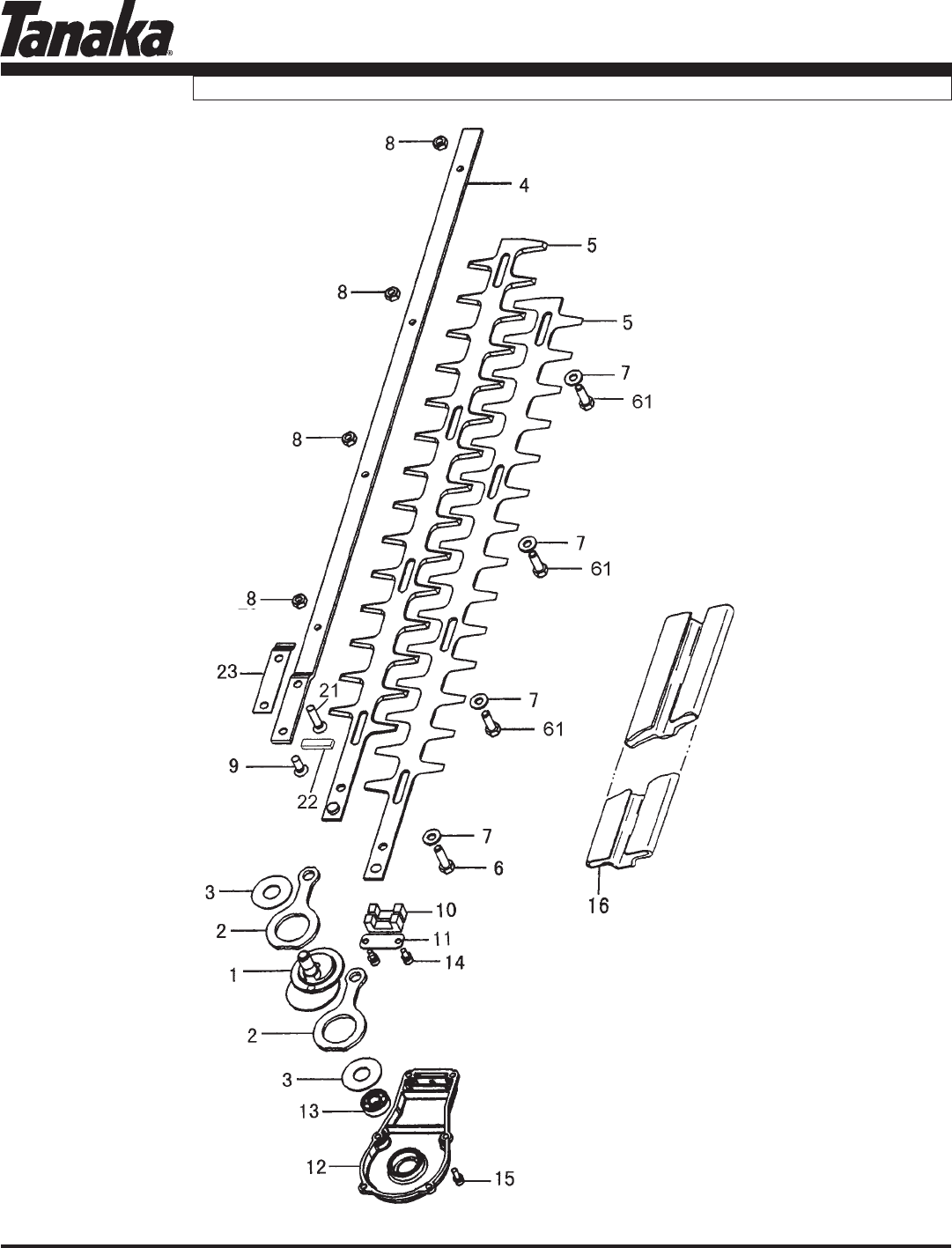
BLADES, CUTTER GUIDE, BLADE HARDWARE • FIGURE 4

www.tanakapowerequipment.com
PARTS INFORMATION
custsvc@nikko-tanaka-usa.com
Page 8
TPH-200/210
BLADES, CUTTER GUIDE, BLADE HARDWARE • FIGURE 4
ITEM PART NUMBER DESCRIPTION QTY COMMENTS
1MAC,TFAHS08282230011-4
2MAC,DOR22061331012-4 2EDIUG,ETALP02082235703-4
4-4 1223316021 GUIDE,CUTTER 625MM 1 ~Z101320002092A~123101Z1RETTUC,EDIUG12782232214-4
~102092A1RETTUC,EDIUG12682232214-4 850822U~2"22,SD,A,EDALBA12-BC5-4
~950822U2"22,SD,A,EDALB12782230215-4
4-6 1243320221 BOLT,CUTTER FIXING,A 4 ~A290200
~102092A1A,GNIXIF,TLOB02782234216-4 47,REHSAW102202339217-4
002092A~4LAICEPS,TUN02A71333218-4 ~102092A46,
EGNALF,TUN100060281998-4
023101Z~261X6,XEH,TLOB561060250999-4
~123101Z161X6,XEH,TLOB561060250999-4 023101Z~2A ESAERG,LAES0020613358001-4
~123101Z2A,ESAERG,LAES026822358001-4 1ETALP,GNIDLOH020822350111-4
006302U~1B ESAC RAEG,REVOC120822382321-4 ~106302U1ESAC RAEG,REVOC220822382321-4
1Z806#,LLAB,GNIRAEB3108061699931-4 2S,01X4,XEH,TLOB4010401649941-4
621X4,XEH,TLOB4210401649951-4 023101Z~1"22,RETTUC,REVOC002061
3383161-4
~123101Z1"22,RETTUC,REVOC028613383161-4
4-21 99052060255 BOLT,HEX FLUSH,6X25 1 Z101321~
~123101Z1C,LAES026822378022-4 ~123101Z1RECAPS026822369232-4
4-61 1253228720 BOLT,CUTTER FIXING,B 3 A290201~

www.tanakapowerequipment.com
PARTS INFORMATION
custsvc@nikko-tanaka-usa.com
Page 9
TPH-200/210
DECALS • FIGURE 5
ITEM PART NUMBE
R
DESCRIPTION QTY COMMENTS
023101Z~1NOITUAC,LACED02082239191-1-5
5-1 9193233120 DECAL,CAUTION,TPH-210 1 Z101321~
~739852V1B NOITUAC,LACED02582230291-2-5 053040W~1B NOITUAC,LACED02582230291-2-5 ~153040W1B NOITUAC,LACED12582230292-5