TandD 10010 Mobile Base Station User Manual RTR 500GSM US1 indd
TandD Corporation Mobile Base Station RTR 500GSM US1 indd
TandD >
manual

Mobile Base Station
RTR-500GSM
© Copyright T&D Corporation. All rights reserved.
2009.07 16004554020 (1st Edition)
Introductory Manual
Thank you for purchasing our product. This manual
provides a brief explanation of how to set up and get
started with the RTR-500GSM.
Details about how to use the software "RTR-500GSM
for Windows" and its functions can be found in the
Software "Help".

For product information or questions contact us at:
817-1 Shimadachi, Matsumoto, Nagano, JAPAN 390-0852
Tel : +81-263-40-0131 Fax: +81-263-40-3152
E-mail: support@tandd.com
Office Hours: Monday to Friday
9:00-12:00/13:00-17:00 (GMT +9:00 Tokyo Time)
Website
http://www.tandd.com/
We have opened an English Website for your convenience. Here you can find
information about our company, news, product, news, products, upcoming
events, software and user's manuals downloads, as well as, other support.
Please stop by and see what we have to offer.
Mobile Base Station RTR-500GSM
Introductory Manual
Published by T&D Corporation (1st Edition)
© Copyright T&D Corporation. All rights reserved.
This is printed on recycled paper.

Mobile Base Station RTR-500GSM Warranty
Customer's name:
Address:
Phone No.:
Dealer's name:
Address:
Phone No.:
Guarantee period: 12 months from date of purchase
Date of purchase:
Statement of Limited Warranty
1. This product is warranted to be free from defects in materials and workmanship for a period of one
(1) year following the date of purchase. Should the product fail to operate per specification in normal
use during this period T&D will repair the unit or provide a replacement free of charge. T&D will not
accept returns for any reason other than defects during the warranty period, and will not accept any
product that has been misused, dropped, abused or inappropriately used or mistreated at any time.
2. This warranty is strictly limited to repair or replacement-in-kind for defective product. T&D makes
no other warranty, either express or implied, and will not accept liability beyond the remedies stated
herein. Specifically, T&D will not accept liability for direct, indirect, special, consequential or incidental
damages arising from the use of this product.
3. Customers wishing to submit a defective product for repair or replacement during the warranty
period should first contact the dealer from whom it was originally purchased. After receiving a
return authorization the defective product should then be packaged along with a description of
the difficulties being experienced, proof of purchase and all included accessories and materials,
and return it to the dealer. In the event of difficulty contacting the original dealer, customers should
contact the nearest authorized T&D sales representative. A list of these can be found on the
company's website, www.tandd.com, or it can be obtained by contacting TandD directly.
4. This limited warranty statement gives the customer specific legal rights. The customer may also have
other rights which vary from state to state in the United States, from province to province in Canada,
and from country to country elsewhere in the world. To the extent this limited warranty statement is
inconsistent with local law, this statement shall be deemed modified to be consistent with such local
law.
5. For further information relating to product repair or replacement, or for other service questions after
the termination of the warranty period, customers should contact their local authorized T&D sales
representative.

Table of Contents
Introduction
Notices ------------------------------------------------ 2
Software User Agreement ----------------------- 3
Safety Precautions and Instructions ---------- 4
Notes and Precautions for Installing Wireless
Communication Devices ------------------------ 8
Wireless Regulations ---------------------------- 9
Note about SIM Cards --------------------------- 9
Basic Procedures -------------------- 10
What are Base Units, Remote Units
and Repeaters? ----------------------- 11
Features of RTR-500GSM --------- 12
Getting Ready
Package Contents ------------------- 14
About SIM Cards -------------------------------- 14
RTR-500GSM Appearance Diagrams
and Part Names ---------------------- 15
Getting the RTR-500GSM Ready to
Use -------------------------------------- 16
About the Operation Switch ----------------- 19
Installing the Software and
the USB Device Driver 21
Before Installing the Software ----- 22
Outline of Software ----------------------------- 22
Before Installing the Software ---------------- 22
Installation Procedures ------------- 23
For Windows XP (SP2 or higher) ----------- 23
For Windows Vista ------------------------------ 25
Installing the USB Device Driver -- 27
Connecting RTR-500GSM to a Computer 27
ForWindows XP (SP2 or higher) ------------ 27
Checking the USB Device Driver Installation
(XP SP2 or higher) ------------------------------ 28
For Windows Vista ------------------------------ 30
Checking the USB Device Driver Installation
(Vista) ---------------------------------------------- 30
Re-installing the USB Device Driver 31
For Windows XP (SP2 or higher) ----------- 31
For Windows Vista ------------------------------ 34
Other
RTR-500GSM Initial Settings ----- 38
RTR-500GSM for Windows "Help and
Support" ------------------------------------------- 39
Remote Units and Repeaters ----- 40
Connecting a Remote Unit
(Optical Communication) --------------------- 40
Connecting a Repeater ------------------------ 40
External Parts ------------------------- 41
About the External Contact Output / Input
Connector ----------------------------------------- 41
About External Power Cables ---------------- 41
LED Display --------------------------- 42
Tips for Placing the RTR-500GSM 43
FAQ's ------------------------------------- 44
Q&A about RTR-500GSM --------------------- 44
Q&A about SIM Cards and GSM ------------ 45
Product Specifications --------------- 46
Mobile Base Station RTR-500GSM --------- 46
Software (RTR-500GSM for Windows) ----- 48
Options ---------------------------------- 49
RTR-500GSM Warranty ---------Back

Introduction
2
Notices
Carefully read this manual so that you can properly use this product.
T&D Corporation accepts no responsibility for any malfunction of and/or
trouble with this product or with your computer that is caused by the
improper handling of this product and will deem such trouble or malfunction
as falling outside the conditions for free repair of the attached warranty.
- All rights of this User's Manual belong to T&D Corporation. It is prohibited to
use, duplicate and/or arrange a part or whole of this User's Manual without
the permission of T&D Corporation.
- Microsoft ® and Windows ® are registered trademarks of Microsoft
Corporation USA and are binding in the USA and all other countries.
- Company names and product names are trademarks or registered
trademarks of each company.
- Specifications, design and other contents are subject to change without
notice.
- On screen messages in this manual may vary slightly from the actual
messages.
- Please notify the shop where you purchased this product or T&D Corporation
of any mistakes, errors or unclear explanations in this manual. T&D
Corporation accepts no responsibility for any damage or loss of income
caused by the use of our product.
- This product has been designed for private or industrial use only. It is not for
use in situations where strict safety precautions are necessary such as in
connection with medical equipment, whether directly or indirectly.
- We are not responsible for any malfunction or trouble caused by the use of
our product or by any problem caused by the use of measurement results of
our unit. Please be fully aware of this before using our product.
- Some of our products, which come under the category of strategic goods in
foreign trade law, need the permission of the Japanese government to be
exported outside of Japan.
- The Manual itself can be downloaded from our Website:
http://www.tandd.com/

3
Introduction
Software User Agreement
Disclaimers
- T&D Corporation does not guarantee the operation of RTR-500GSM for
Windows.
- T&D Corporation shall not accept any responsibility for any damage, whether
direct or indirect, that results from the usage of RTR-500GSM for Windows.
- Specifications of RTR-500GSM for Windows may be subject to change and
service may be terminated without advance notice to the user. In such a
case, T&D Corporation shall not be responsible for any damages, whether
direct or indirect, from the inability to use RTR-500GSM for Windows.
- T&D Corporation has no obligation to correct any defects found in RTR-
500GSM for Windows.
Copyright
- The Copyright for RTR-500GSM for Windows, including the program and
relevant documents, belongs solely to T&D Corporation.
- The reprinting or redistribution for commercial purposes whether in part or in
whole, in magazines or as a part of any product is strictly forbidden without
the expressed consent of T&D Corporation. Any inquires concerning
commercial redistribution should be directed to the Sales Department of T&D
Corporation.
- Please do not attempt to make any changes or modifications to RTR-
500GSM for Windows.

Introduction
4
Safety Precautions and Instructions
Before using please read the following precautions and instructions.
The following items should be strictly obeyed for the safe usage of this
unit, and for protecting yourself and other people from bodily harm and/
or damage to property.
Explanation of Symbols
Explanation of Warning Symbols
DANGER
These entries are actions that absolutely under no
circumstance should be taken. The taking of such
an action may cause serious personal physical
damage or death.
CAUTION These entries are actions that if taken may lead to
physical injury or damage to persons or things.
Explanation of Picture Symbols
Denotes a forbidden action.
(EX : stands for CAUTION AGAINST ELECTRIC SHOCK)
Denotes a forbidden action. Inside or near the symbol will
appear another symbol giving details.
(EX : stands for DO NOT TAKE APART)
Denotes an action that you must take.
(EX : Unplug power plug from outlet)

5
Introduction
DANGER
Be sure to follow the warnings and notices about use from your PC
maker when installing and using this unit.
Do not take apart, repair or modify the unit.
Doing so may cause fire or electrocution.
If water or a foreign body enters the unit, immediately disconnect the
cables from the unit, remove batteries, and stop using.
Continued use may cause fire or electrocution.
Do not use this unit in wet or humid places, such as a bathroom.
It may cause a fire or other trouble including malfunction.
Store main unit, batteries, SIM card and communication cables out
of the reach of children.
It is dangerous to touch or swallow them.
Do not connect the communication cable to a telephone line.
It may cause a fire or other trouble including malfunction.
If any smoke or strange smells are emitted from the unit,
immediately disconnect the cables from the unit, remove batteries,
and stop using.
Continued use may cause fire or electrocution.
Do not drop the unit, or expose the unit to a strong impact. If that
happens to the unit, immediately disconnect the cables from the
unit, remove batteries, and stop using.
Continued use may cause fire or electrocution.
Make sure to periodically remove dust and dirt from the AC adaptor
plug.
If dust is allowed to accumulate on the plug, moisture may cause poor insulation and
result in fire.
Do not unplug the AC adaptor with wet hands.
This may cause electrocution.

Introduction
6
CAUTION
This product has been designed for private or industrial use only. It is
not for use in situations where strict safety precautions are necessary
such as in connection with medical equipment, whether directly or
indirectly.
Harmful gases or chemicals may cause corrosion and/or other
danger to the unit. Also, by coming in contact with hazardous
substances, harm may occur to the people handling the unit.
Therefore, do not use in any environment that is exposed to
chemicals and harmful gases.
This unit is not water-resistant.
If the unit gets dirty, wipe it with a clean cloth and a mild detergent.
Please do not insert your fingers or any foreign objects into any of
the devices' jacks.
Make sure that the cable and AC adaptor are inserted fully, so as not
to cause an improper connection. Also, when unplugging the cable
from the unit, do not pull the cord, but hold the connector to
disconnect.
Battery life depends on the easurement environment, communication
frequency, recording interval and battery quality.
Do not use any other batteries and AC adaptor than those that are
specified in this User's Manual.
It may cause a fire or other trouble including malfunction.
Do not put anything on top of the AC adaptor.
This may cause overheating.
Remove batteries from any unit that is not to be used for a long
period of time.
Batteries left in a unit not being used for a long time may leak and cause a
malfunction.
Battery terminals may provide insufficient contact due to age or
vibration.
This may lead to data loss.
Condensation may occur if the unit is moved from one environment
to another where the difference in temperature is great.
Use the unit in an environment where the ambient temperature is from 10 to 55 oC
and the humidity is 20 to 80%RH (no condensation) or less.

7
Introduction
To prevent damage to the unit from static electricity, remove static
electricity from your body by touching metal around you (door knob,
window frame) before touching the unit.
Static electricity may cause not only damage to the unit, but may cause breaks in or a
loss of data.
Do not use or store the unit in any of the following places. Doing so
may cause electrocution, fire and/or other adverse effects to the
device and/or your computer.
- Areas exposed to direct sunlight.
This will cause the inside of the device to become overheated and may cause fire,
deformation, and/or other damage including malfunction.
- Areas prone to strong magnetic fields.
This may cause damage including malfunction.
- Areas exposed to water leakage.
This may cause electrocution or other damage incluing malfunction.
- Areas exposed to static electricity.
This may cause damage including malfunction.
- Areas exposed to excessive vibration.
This may cause injury, malfunction, damage or loss of proper electrical contact.
- Areas that are not flat or level.
This may cause the unit to fall and result in injury and/or damage.
- Areas near fire or exposed to excessive heat.
This may cause damage including malfunction and deformation.
- Areas prone to smoke, duct and dirt.
This may cause damage including malfunction.

Introduction
8
Notes and Precautions for Installing Wireless
Communication Devices
When installing wireless communication devices take special care in selecting locations so
as to ensure proper communication.
Note that even after a successful installation, due to changes in environmental conditions,
communication errors may occur when restarting the system.
Keep wireless communication devices away from metals and computers.
-
-
-
Please take note that in many instances, walls, floors, stairs, barriers of all types and
desks will contain metals.
Please install these devices at least 30 cm away from walls or boards containing metal.
Please place units more than 1 meter away from computers.
Objects which contain lots of water, such as plants or soil, absorb radio
waves. We highly recommend that such objects not be placed between or
near wireless communication units.
-
-
A study made in measuring temperature in a greenhouse has shown that as tomatoes
grew, communication errors also increased.
Do not place units directly on the ground. Set them up in a high unobstructed position.
If wireless communication units are placed in a metal container such as a
freezer or refrigerator, the wireless communication range will be shortened.
-
-
Please check wireless signal strength to find the best possible communication points.
In most cases radio waves are transmitted via doors and door openings so place devices
as near to doors as possible.
Keep all wires as far away as possible from wireless communication
devices.
- Be careful about placing devices near any wiring or cables such as power supply cables,
telephone wires or LAN cables.
Do not place devices which are using the same communication frequency
channel in the same area.
- If more than one device is being used make sure to set a different communication
frequency channel for each device. If the same channel is used for multiple devices not
only will more communication errors occur, but battery life will also be shortened.
Keep the devices away from noise-emitting sources.
-Equipment such as some industrial instruments, electronic devices or fluorescent lamps
generate noise. Place devices at least 30 cm away from any noise-emitting sources.
After having made an installation check the wireless signal strength.
- The supplied software application includes a function to check wireless signal strength.
If you are transmitting between indoors and outdoors we suggest installing
the device near a window or some such place where signals can easily pass
through.
- Note that moving units 10 cm in any one direction may result in communication results
being significantly changed.
If no change occurs after moving the units to several nearby locations, we strongly
suggest adding one or more Repeaters to enhance communication.

9
Introduction
Wireless Regulations
Radio, EMC and Safety Regulations
This device complies with part 15 of the Federal Communications
Commission (FCC) rules and with RSS-210 of the Industry Canada
(IC). Operation is subject to the following conditions:
(1) This device may not cause harmful interference, and
(2) This device must accept any interference received, including
interference that may cause undesired operation.
Changes or Modifications not expressly approved by the manufacturer for compliance
could void the user’s authority to operate the equipment.
Note: This equipment has been tested and found to comply with the limits for a Class
B Digital Device, pursuant to Part 15 of the FCC Rules. These limits are designed to
provide reasonable protection against harmful interference in a residential installation.
This equipment generates, uses and can radiate radio frequency energy and, if not
installed and used in accordance with the instructions, may cause harmful interference
to radio communications.
However, there is no guarantee that interference will not occur in a particular
installation. If this equipment does cause harmful interference to radio or television
reception, which can be determined by turning the equipment off and on, the user
is encouraged to try to correct the interference by one or more of the following
measures:
- Reorient or relocate the receiving antenna.
- Increase the separation between the equipment and receiver.
- Connect the equipment into an outlet on a circuit different from that to which the receiver is
connected.
- Consult the dealer or an experienced radio/TV technician for help.
FCC RF Radiation Exposure Statement:
This equipment complies with FCC RF radiation exposure limits set forth for an uncontrolled
environment. This equipment must be installed and operated with a minimum distance of
30cm between the radiator and your body.
This device has been designed to operate with the antennas listed below, and having a
maximum gain of 0dBi. Antennas not included in this list or having a gain greater than 0dBi
are strictly prohibited for use with this device. The required antenna impedance is 50 ohms.
The antenna supplied with the product meets these requirements.
Usable Antenna: The supplied antenna only
Note about SIM Cards
The SIM card stores the user’s cell phone number and other unique user identification
information. Please take adequate care to prevent the loss or theft of your SIM card. Also,
be sure to keep your PIN number in a safe place.
Please note that this Introductory Manual has been written based on the presupposition
that the functions / specifications of the SIM card being used and the details of the
contract have already been confirmed between the user and the cell phone carrier.
T&D Corporation shall not be responsible for any damages which a contractor, a user or a
third party may suffer, whether direct or indirect, due to the inability to use communication
devices.

Introduction
10
Basic Procedures
The following outline shows the basic procedures for getting ready,
making settings and using the product.
- Details about making settings can be found in [Help and Support] which is
located in the drop down menu found by clicking on the program's name
under [All Programs] in the [Start] Menu.
Getting Ready
1. Get the Base Unit (RTR-500GSM) ready to use
- Please purchase a SIM card separately.
2. Install the software "RTR-500GSM for Windows"
3. Install the USB device driver and confirm its usage.
4. Make Initial Settings for the RTR-500GSM
- From the RTR-500GSM Settings Utility in the supplied software
5. Get Remote Units ready to use
- For details, see the User’s Manual that accompanies the Remote Unit.
6. Get the Repeaters ready to use (only if necessary)
- For details, see the User’s Manual that accompanies the Repeater Unit.
Getting Ready (using supplied software)
1. Make Base Unit operational settings
2. Register Remote Units and Repeaters and make necessary
settings.
3. Make settings for the transmission of Current Readings,
Warning Reports, and for the Auto-downloading of Data
4. Carry out transmission tests

11
Introduction
What are Base Units, Remote Units and Repeaters?
Base Units: RTR-500GSM
A Base Unit can collect data measured by and recorded in Remote Units via
wireless communication, and send the collected data either by FTP or e-mail to
a server whereby the data can be downloaded to your computer via an external
network, such as the internet. Also, by setting Upper and Lower Limits, warning
monitoring can be carried out for each Remote Unit at each Location.
Remote Units: RTR-501 / RTR-502 / RTR-503 / RTR-502Pt
A Remote Unit is a Data Logger designed to measure and record temperature
and humidity. The wireless communication range between a Remote Unit and a
Base Unit, if unobstructed and direct, is about 160m (500 ft).
Repeaters: RTR-500
If wireless communication cannot successfully be carried out due to obstacles,
or if you wish to extend the wireless communication range, please add
Repeater(s) between Remote Unit(s) and the Base Unit.
About Registration
It is first necessary to register the desired Remote and Repeater Units (where
needed) to a Base Unit. It is possible to register them into Groups by place or by
purpose. Assign a Wireless Communication Frequency Channel for each Group.
Remote Units and Repeaters can only be registered to one Group at a time.

Introduction
12
Features of RTR-500GSM
The RTR-500GSM has the following two built-in communication
capabilities: Wireless Communication with Remote Units and GSM
Mobile Data Communication.
The GSM Mobile Data Communication capability makes it possible to
carry out the following with temperature and humidity data received
from wireless communication with Remote Units.
- Transmission of Warning Reports by E-mail, SMS, or E-mail + SMS.
- Periodic Transmission of Current Readings by E-mail or FTP.
- Periodic Sending of Recorded Data by E-mail or FTP.
External Network such as
the Internet
Base Unit
Base UnitRepeater
Cellular Phone
Base Station
Remote Unit
Remote Unit
* SMS stands for Short Message Service.
Power can be supplied via AA alkaline batteries or an external power
source (an AC adaptor or an 8-34V external power source). If AA
alkaline batteries are installed while using an external power source,
the batteries will act as a backup power supply in the event the external
power supply is cut for any reason.

Getting Ready
This section provides instructions on getting the RTR-500GSM ready to use.

Getting Ready
14
Package Contents
The following items are included in the package:
Mobile Base Station
RTR-500GSM x 1
Antenna x 2 USB Communication
Cable (US-15C) x 1
AA Alkaline
Battery x 4
External Power Cable
(BC-0201) x 1
Software CD-ROM
x 1
Introductory Manual
(including Warranty)
x 1
About SIM Cards
Please purchase a SIM card separately from your cell phone carrier.
RTR-500GSM can be used with any SIM card which complies with the
following specifications:
- Compatible with GSM (GSM 850 or GSM 1900)
- Able to use SMS (Short Message Service) and GPRS (General Packet Radio
Service)
- The card has been activated
For details contact your cell phone company or the place where you
purchased the SIM card.

Getting Ready 15
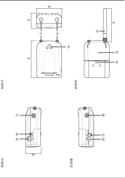
RTR-500GSM Appearance Diagrams and Part Names
Top
Front Back
GSM Antenna Connector
Local Wireless Antenna Connector
LED (ERR / POWER / ALM)
Antenna
Optical Communication Area
Battery Cover
Right Side Left Side
Unit : mm
External Contact Output / Input Connector
Operation Switch (STBY / Run)
GPS Connector (Mini DIN 6 Pin Female)
USB Connector (Mini-B)
External Power Connector
AC Adaptor Jack
(EIAJ Voltage Classification 2)

Getting Ready
16
Getting the RTR-500GSM Ready to Use
1. Connect the Antennas.
Connect the two supplied antennas to the antenna connectors. (The two
antennas are of the same type.)
2. Install a SIM Card.
When installing a card, please be careful about static electricity.
Before installing the card, disconnect all cables (AC adaptor, USB
cable and External power cable) that may be connected to the
RTR-500GSM and make sure that wireless communication cannot
occur.
Be careful not to touch or scratch the IC area of the card.
Make sure to insert the card in the proper direction.
Do not force the cover open or closed.
2-1. Remove the battery cover from the back of the unit.
While pressing down on the triangular
mark...
Slide the cover to the bottom of the unit.

Getting Ready 17
and lift off the cover.
Replace the battery cover to as it was when opened.
SIM Card Holder
2-2. Lightly slide the cover of the Card Holder to the right to unlock
it.
2-3. Slowly lift up the cover to its open position.
Slide cover to the right
(Unlock)
Lift up cover

Getting Ready
18
2-4. Making sure that the IC (gold area) is facing out and toward the
bottom insert the SIM card into the cover.
Notch
IC
2-5. Slowly close the cover.
- If the cover does not close properly, make sure that the card is inserted
correctly and try closing the cover again.
2-6. Lightly slide the cover back to the left to lock it.
- If the cover is not properly locked it may cause insufficient contact with the IC
and result in a communication error.
Close the cover Slide cover to the left
(Lock)

Getting Ready 19
3. Install Batteries.
Insert 4 AA alkaline batteries, making sure that the + and – are in the correct
direction as shown in the figure.
4. Confirm that the RTR-500GSM is operating properly.
4-1. Slide the Operation Switch to the <Run> position for operation.
<Run> Switch: Upper <STBY> Switch: Lower
About the Operation Switch
Run
When the switch is set to <Run>, the functions: “Auto-download of Recorded
Data”, “Warning Monitoring” and “Automatic Sending of Current Readings”
will become useable for the RTR-500GSM.
STBY (Standby)
When the switch is set to <STBY>, the RTR-500GSM will go into a low
energy consumption mode whereby it will be impossible to use the functions
listed above.

Getting Ready
20
4-2. Check the LED status.
At this point, the <POWER> and <ERR> lamps will blink.
(Green)
(Orange) (Red)
If the <ERR> lamp comes on at this point, that SIM card cannot be
recognized by the RTR-500GSM. One of the following may be the reason:
* The SIM Card Holder may have been unlocked.
* Touching the IC area of the SIM card may leave a residue of dust, dirt, or oil,
which in turn may cause improper electrical contact.
* Damage to SIM cards may be the result of static electricity and/or other
causes.

Installing the Software and the USB Device Driver
This section outlines cautions and installation procedures by Windows OS.

Installing the Software and the USB Device Driver
22
Before Installing the Software
Before connecting an RTR-500GSM to your computer,
make sure to install the supplied software into the
computer.
If you have connected an RTR-500GSM to your computer before installing
the supplied software, make sure to click the [Cancel] button in the Wizard
window when it pops up on the computer display.
Slide the Operation Switch on the RTR-500GSM to the
<STBY> position.
Outline of Software
"RTR-500GSM for Windows" is made up of three applications.
RTR-500GSM Settings Utility
This application is designed to register Remote Units and Repeaters and make
necessary operational settings for the Base Unit RTR-500GSM and Remote
Units.
Temperature and Humidity Graph
This application is designed to enable viewing in graph form the temperature
and humidity data files.
Adjustment
This application allows for adjustments to correct inaccuracies found in
measured values when compared to a standard or reference measurement.
After adjustment settings have been made the data logger will record only the
adjusted value.
Before Installing the Software
Is Windows working properly?
- If Windows is not activated properly, it may be impossible to install and run
"RTR-500 GSM for Windows".
- "RTR-500 GSM for Windows" is compatible with Microsoft Windows XP
Service Pack 2 or higher and Vista. For details about the operating
environment, see page 48.
Quit all applications.
- If you are running other applications, make sure to quit them before
installation. If you have any permanently active software, such as a virus
check or scan program in your computer, make sure to also quit it.
For Windows XP and Vista, in order to install RTR-500GSM for Windows, it
is necessary to have Administrator rights (Computer Administrator) for
the computer in which you wish to install it.

Installing the Software and the USB Device Driver 23
Installation Procedures
For Windows® XP (SP2 or higher)
1. Open Windows.
2. Place the supplied software (CD) into the CD-ROM drive. The
"Install Program" window will appear soon.
* If the "Install Program" window does not automatically open, please open it
by double clicking on the CD drive icon in [My Computer].
3. Select [Install RTR-500GSM for Windows] and click the [Execute]
button to start the installation.
Click the
[Execute]
Button
4. If a window appears such as the one below during installation,
click the [Continue Anyway] button.

Installing the Software and the USB Device Driver
24
5. After the installation has been completed, please install the USB
Device Driver.
- See page 27 for details.
After installation has been completed, "RTR-500 GSM for Windows" will be
registered in the Window's [Start] Menu.

Installing the Software and the USB Device Driver 25
For Windows® Vista
1. Open Windows.
2. Place the supplied software (CD) into the CD-ROM drive.
* If the [Auto Play] window appears, under [Install or run program], click on [Run
Start.exe].
Click the
"Run Start.exe"
3. The "Install Program" window will appear.
* If that window does not automatically open, please open it by double clicking
on the CD drive icon in [Computer].
4. After clicking the [Execute] button, the [User Account Control]
window will appear.
Click the
[Execute] Button

Installing the Software and the USB Device Driver
26
5. If a window appears such as the one below during installation,
click the [Install] button.
6. After installation has been completed, please check whether the
USB device driver has been properly installed.
- See page 30 for details.
After installation has been completed, "RTR-500 GSM for Windows" will be
registered in the Window's [Start] Menu.

Installing the Software and the USB Device Driver 27
Installing the USB Device Driver
Have you already installed the supplied software?
Before connecting an RTR-500GSM to your computer via USB,
make sure to install the supplied software into the computer.
Connecting an RTR-500GSM to a Computer
Connect the RTR-500GSM with the supplied USB communication cable to
the computer.
- Make sure that the USB cable is inserted fully, so as not to cause an
improper connection.
- Please login using a User Account with Administrator (Computer
Administrator) rights.
For Windows® XP (SP2 or higher)
1. By connecting the RTR-500GSM to the computer, the [Found
New Hardware] Wizard will automatically open.
- If that window does not automatically open, installation may have been
completed or failed. Please check whether the USB device driver has been
properly installed by following the directions on page 28.
2. Check "No, not this time" and then click the [Next] button.
Check the
"No, not this time".

Installing the Software and the USB Device Driver
28
3. By checking "Install the software automatically (Recommended)"
and clicking [Next], the software will automatically be installed.
�
Check the
"Install the software
automatically
(Recommended)"
4. If a window appears such as the one below during installation,
click the [Continue Anyway] button.
5. After installation has been completed, please check whether the
USB device driver has been properly installed.
Checking the USB Device Driver Installation (XP SP2 or
higher)
1. Open the System Properties Window by opening [Control Panel]
and double clicking on [System].

Installing the Software and the USB Device Driver 29
2. In the [System Properties] window, click the [Hardware] tab, and
then click the [Device Manager] button in the Device Manager
area.
[Hardware] Tab
[Device Manager]
Button
3. If under "Port (COM & LPT)" appears "TandD General UsbUart
Port" the USB device driver has been properly installed.
If successful
If failed (ex.)
- "TandD General UsbUart Port" will not appear if the RTR-500GSM has not
been connected to the computer.
- If "? Other Device" – "?! TandD USB-UART Controller" appears, it means the
USB device driver was not properly installed.
Please reinstall by following the directions on page 31.

Installing the Software and the USB Device Driver
30
For Windows Vista
For Windows Vista, by installing the supplied software, the USB device
driver will also be automatically installed.
Please check whether the USB device driver has been properly installed.
Checking the USB Device Driver Installation (Vista)
1. Connect the RTR-500GSM with the supplied USB communication
cable to the computer.
2. Open the Device Manager Window by opening [Control Panel]
and clicking on [System and Maintenance] – [System] - [Device
Manager].
3. If under "Port (COM & LPT)" appears "TandD General UsbUart
Port" the USB device driver has been properly installed.
If successful
If failed (ex.)
- "TandD General UsbUart Port" will not appear if the RTR-500GSM has not
been connected to the computer.
- If "? Other Device" – "?! TandD USB-UART Controller" appears, it means the
USB device driver was not properly installed.
Please reinstall by following the directions on page 34.

Installing the Software and the USB Device Driver 31
Re-installing the USB Device Driver
For Windows XP (SP2 or higher)
1. In the Device Manager window, right click on the unknown
device "TandD USB-UART Controller".
From the pop-up menu click on "Properties".
2. In the "TandD USB-UART Controller Properties" window, click
the [General] tab, and then click on the [Reinstall Driver] button
to display the [Found New Hardware] Wizard.
[General] Tab
[ReInstall Driver]
Button

Installing the Software and the USB Device Driver
32
3. Check "No, not this time" and then click the [Next] button.
Check the
"No, not this time".
4. Check "Install from a list or specific location (Advanced)" and
then click the [Next] button.
Check the "Install from a list or
specific location (Advanced)"

Installing the Software and the USB Device Driver 33
5. Check "Include this location in the search" and then click the
[Browse] button to specify the location of the device driver.
Click [Next] to start the installation.
Check the "Include this
location in the search:"
[Browse] Button to
specify the location of
the device driver
- In the "RTR-500GSM for Windows" folder, select "Driver RTR-500".
EX: C:\Program Files\RTR-500GSM for Windows\Driver RTR-500
6. If a window appears such as the one below during installation,
click the [Continue Anyway] button.
7. After the installation has been completed, please check whether
the USB device driver has been properly installed.

Installing the Software and the USB Device Driver
34
For Windows Vista
1. In the Device Manager window, right click on the unknown
device "TandD USB-UART Controller".
From the pop-up menu click on "Properties".
2. In the "TandD USB-UART Controller Properties" window, click
the [General] tab, and then click on the [Reinstall Driver] button
to display the [Update Driver Software TandD USB UART
Controller].
[Reinstall Driver]
Button
[General] Tab

Installing the Software and the USB Device Driver 35
3. Click the "Browse my computer for driver software".
Click the "Browse my
computer for driver
software"
4. Click the [Browse] button to specify the location of the device
driver.
Click [Next] to start the installation.
Check here
[Browse] button to
specify the location
of the device driver.
- In the "RTR-500GSM for Windows" folder, select "Driver RTR-500".
EX: C:\Program Files\RTR-500GSM for Windows\Driver RTR-500

Installing the Software and the USB Device Driver
36
5. If a window appears such as the one below during installation,
click the [Install] button.
6. After the installation has been completed, please check whether
the USB device driver has been properly installed.

Other

Other
38
RTR-500GSM Initial Settings
Check the following before making initial settings
Have the SIM card and batteries been installed correctly?
Has the RTR-500GSM been connected with a USB cable to your compu
ter?
Is the Operation Switch on the RTR-500GSM set to <STBY>?
Is the LED <Power> lamp (green) ON?
1. From the list of programs in the Windows Start Menu, click on
[RTR-500GSM for Windows] - [RTR-500GSM Settings Utility] to
open.
2. The [RTR-500GSM Initial Settings Wizard] window will
automatically appear. Follow the instructions as they appear on
the screen to make settings.
- For details about making settings using the "Initial Settings Wizard", see the
explanation in the RTR-500GSM Settings Utility Help.
[Help]
Button
If the Wizard window does not automatically open:
From the "View" Menu in the RTR-500GSM Settings Utility, select "Initial Settings
Wizard" to open the window.
[View] Menu

Other 39
RTR-500GSM for Windows "Help and Support"
Details about how to use each application and its functions can be found in
the Software "Help".
Select "Help and Support" under "RTR-500GSM for Windows",
or open the [Help] menu that is in each RTR-500GSM for Windows application.
[Help] Menu
Also, by clicking on the [Help] button in each settings window, an explanation
for that window will appear.
[Contents] Tab
[Search] Tab
[Contents] Tab
By clicking on one of the topics listed, you can find detailed information for that
subject.
[Search] Tab
Enter the key word you wish to search for and click the [Start Search] button
and the topic in which the key word is included will be displayed. Then select
the topic and click the [Display] button to have the explanation displayed.

Other
40
Remote Units and Repeaters
The following outline shows the procedures for connecting a Remote
Unit / a Repeater to the computer.
Connecting a Remote Unit (Optical Communication)
1. Open the software application.
2. When the direction appears in the application window, connect
the Base Unit with a USB communication cable to the computer.
3. Place the Data Logger (Remote Unit) face down on the RTR-
500GSM (Base Unit), making sure that the optical communication
areas are aligned properly.
Optical communication
areas
Connecting a Repeater
1. Open the software application.
2. When the direction appears in the application window, connect
the Base Unit with a USB communication cable to the computer.
3. Connect the Repeater with a USB communication cable to the
computer.
USB Communication Cable

Other 41
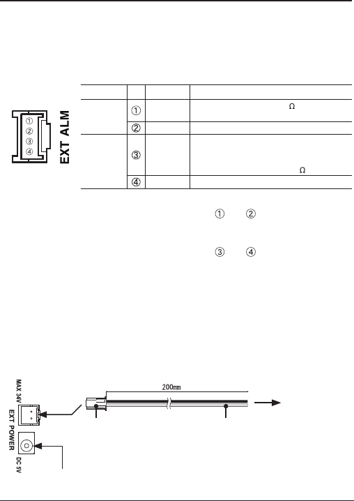
External Parts
About the External Contact Output / Input Connector
The following figure shows External Output / Input Terminals and the table
shows its pin assignment. Please purchase a compatible connector and
cable separately.
Compatible Connector: PAP-04V-S ( J.S.T. Mfg. Co., Ltd. )*
No. Name Specifications
Contact
Input
Input
Terminal
Internal Pull-up: 3V 100K
Maximum Input Voltage: 30V
GND
Contact
Output
Output
Terminal
Open drain output
- Voltage when OFF: DC less than 30V
- Current when ON: less than 0.1A
- ON Resistance: about 15
GND
Contact Input
ON is when contact is closed between terminal and . When the external
contact input turns ON, a warning mail and/or an SMS will be sent.
Contact Output
ON is when contact is closed between terminal and . When a warning has
been judged to have occurred, the contact output will be turned ON, making it
possible to output a warning signal to an extern
* For all inquires and questions concerning sales of compatible connectors, please directly contact JST
Mfg. Co., Ltd. (http://www.jst-mfg.com/).
About External Power
The following shows the specifications of the provided external power cable
(BC-0201). Please purchase an external power supply separately.
Please purchase our optional AC Adaptor. (See page 49 for details.)
Connector
Voltage/ 8-34V, Current/ MAX 2A
Housing: XAP-02V-1
Contact: SXA-01T-P0.6
( J.S.T. Mfg. Co., Ltd. )
Cable
AWG#20
Red: Plus (+)
Black: Minus (-)
AC Adaptor
To an external
power source

Other
42
LED Display
The color and appearance of the lamps in the LED change to show the
current status of the RTR-500GSM.
When Operation Switch is in <Run> position
LED Status Reason
POWER
Blinking In “Run” mode
Blinking
rapidly
Communication in
progress
During Wireless Communication or GSM
Communication
Lamp
OFF
If the RTR-500GSM is
outside communication
range
ERR
Blinking
Remote Unit not
registered and/or Outside
of communication range
Lamp
ON
SIM card NOT installed
or PIN number does not
match
A SIM card has been installed whose PIN
number does not match that set in the
RTR-500GSM
ALM Blinking During
Warning
Remote
Unit(s)
Upper / Lower Limit Warning has occurred
Battery Power is low
Sensor Error
Wireless Communication Error
Base Unit
External power has been lost or
disconnected (only when running on
external power supply and batteries)
Battery power is low
External Contact Input is ON
When Operation Switch is in <STBY> position
POWER Lamp ON Connected via USB
POWER Blinking During USB Communication
POWER
ERR
ALAM
Lamps
OFF No USB Connection or Failed Connection

Other 43
Tips for Placing the RTR-500GSM
We strongly suggest setting the RTR-500GSM unit up in a high,
unobstructed position to enhance the radio signal strength.
When positioning the units try to keep the antennas away from objects
or walls.
Please carry out a *Signal Strength Test to check the radio signal strength
before using the product and adjust the antenna direction accordingly. For
more details please see "Notes and Precautions for Installing Wireless
Communication Devices" on page 8.
* Signal Strength Tests are tests carried out for checking the wireless signal
strength between Base, Remote, and Repeater Units after the units have
been deployed and settings had been completed. Use the [Wireless Route
Settings] menu in the RTR-500GSM Settings Utility to carry out this test.

Other
44
FAQ's
Q&A about RTR-500GSM
Q1: The LED lamps do not come on, nor do they blink, what may be
wrong?
A: If none of the three LED lamps come on nor do they blink, please check the
following:
Check to make sure that the operation switch is set to the “Run” position.
Check to make sure that the batteries are installed in the proper direction.
Please try installing new batteries.
If you are using an optional AC adaptor or have a cable connected to an
external power source, check that the connection to the RTR-500GSM is OK.
If after checking and trying the above, no change occurs to the LED, please
contact the dealer where the product was purchased.
Q2: If I use batteries as the power source, about how long can I
expect them to last?
A: Expected battery life will vary depending on the environment where it is being
used and upon signal conditions. If warning monitoring is carried out every 10
minutes, you can expect new batteries to last about 10 days.
Q3: I want to use the unit outdoors, is the unit waterproof,
moistureproof and dustproof?
A: The RTR-500GSM is not waterproof , moistureproof or dustproof. If you wish
to use outdoors or in areas where the unit may come into contact with
moisture, water or excessive dust, it will be necessary to place the unit in
some type of case with openings through which any cables can run.
Q4: Is it possible to change the batteries while the unit is in
operation?
A: If the unit is connected to an AC adaptor or some other external power
source, it is possible to change the batteries.
If the unit is running only on battery power, first turn the operation switch to
“STBY” and then change the batteries.

Other 45
Q&A about SIM Cards and GSM
Q1: Can this be used in any country in the world?
A: The RTR-500GSM uses radio communication that is subject to local rules
and regulations for the area in which it is being used. It is the responsibility of
the user to make sure that the product complies with local rules and
regulations before using it.
Also, the product can only be used in areas where GSM type cellular phone
service is available.
For more details please contact the distributor from which you purchased the
product.
Q2: About how much are the communication costs?
A: Actual costs and fees will depend on which cell phone carrier you are using.
Please refer to the following when contacting your cell phone carrier about
estimated costs.
Estimated Data per Type of Communication
E-mail(*1) / FTP SMS(*2)
Current Readings about 3.5KB per set of data
( 1 Remote Unit) n/a
Warning Reports about 2.0 KB per report
( 1 Remote Unit)
One report
( 1 Remote Unit)
Auto-Download of
Recorded Data
about 4.5 KB / 1 day of data
( 1 Remote Unit at recording interval of 1 min) n/a
*1) Includes mail header
*2) Depedning on the number or warnings, the report may be split into two or more
seperate reports
For information about software settings, see the Help menu for that
software application.

Other
46
Product Specifications
Mobile Base Station RTR-500GSM
UNIT
Compatible Devices
Remote Units:
Repeater:
RTR-501 / RTR-502 / RTR-503 / RTR-502Pt
RTR-500
Functions Auto-download of Recorded Data, Warning Monitoring, Automatic
Sending of Current Readings
Power Source AA alkaline batteries x 4 , 8-34V external power source
AC Adaptor AD-0605 (5V)
Voltage Consumption At most 2A (5V, with GSM in operation)
Communication Interface USB (with PC) / Optical Communication (with Remote Unit)
LED Display POWER: Green
ERR: Orange
ALM: Red
Battery Life 10 days of continued use if monitoring is carried out every 10
minutes (when not using GPS).
* Battery life varies depending upon the frequency of communication,
the measuring environment, and the quality of the battery being used.
Dimensions H96mm x W66mm x D39mm , Antenna length 109mm
* Excluding protrusions
Weight Approx. 220g (including batteries)
Operating Environment
Temperature:
Humidity:
10 ~ 55 oC ( -10 to 55 oC when external power connected)
20 ~ 80%RH (Without dew condensation)
Wireless Communication
Rf Power 7mW
Communication Method FCC Part15 Section247 / IC RSS-210 [ Frequency Range: 902 to
928MHz ]
Communication Range About 150m (500 ft : if direct and unobstructed)
Communication Speed When downloading 1 Remote Unit of full data (16,000 readings):
about 2 minutes
* The same amount of time will be necessary for each added Repeater.

Other 47
Cellular Phone Communication
Network GSM 850 / GSM 1900 (RTCRB Certified)
GSM 900 / GSM 1800
SMS Warning Transmission, Automatic Operation ON/OFF
Data Transfer GPRS (General Packet Radio Service)
Protocol FTP
, SMTP (SMTP-AUTH, Pop-Before)
Contacts
Output Terminal Open drain output
Voltage when OFF:
Current when ON:
Resistance when ON:
DC less than 30V
less than 0.1A
15
Input Terminal Internal Pull-up:
Maximum Input Voltage:
3V 100k
30V
GPS Communication (Optional)
GPS Interface
Connector:
Communication Standard:
Geographic Coordinate System:
Power Supply:
Mini DIN 6 Pin Female
ANSI / EIA/TIA-232-E
WSG84
5V MAX 100mA
Latitude
Longitude
ddmm.mmmm
dddmm.mmmm
Other Attach geographical positioning info to Current Readings

Other
48
Software (RTR-500GSM for Windows)
Operating Environment
Compatible Products
Remote Units:
Repeater:
Base Unit:
RTR-501, RTR-502, RTR-503, RTR-502Pt
RTR-500
RTR-500GSM
Compatible OS Microsoft Windows Vista / XP (SP2 or above) English
*Operation under a 64bit OS is not guaranteed.
PC/CPU A Stable Windows Operating Environment
Memory A Stable Windows Operating Environment
Hard Disk More than 30 MB of free space (Data will need more space)
Monitor
VGA(640x480) more than 256 colors
Copyright T&D Corporation
RTR-500GSM Settings Utility
Settings Menu Base Unit Settings, Remote Unit Settings, Repeater Settings,
Wireless Route Settings, Clock Settings, E-mail Settings,
FTP Settings, Current Readings Setting, Warning Report Settings,
Auto-Download Settings, Transmission Tests, View Settings
Temperature / Humidity Graph
Number of
Channels
8 Channels Simultaneous Display /Processing for RTR-503
4 Channels Simultaneous Display /Processing for RTR-501/502/502Pt
Graph Display Temperature / Humidity Graphs for each Channel (Zoom in/out and scroll
with mouse or keyboard) Change Display Colors for Channels, View / Hide
Channels
Data Display Channel Name, Recording Interval, Number of Data, Highest, Lowest and
Average, Unit of Measurement AB Cursor Dates/Times and Temp/Humidity
Readings Calculated Temp/Humidity Difference between Cursor A and B
Other Functions Data List Display, Calculation Range (Time Period) Settings / Edit Recording
Conditions / Delete Data by Channel / Re-order Data by Channel / Vertical
Axis Settings
Printing Graphs, Tables
Adjustment
Adjustment Tool 1 Point Adjustment
2 Point Adjustment

Other 49
Options
Wall Attachment
Type: TR-5GK1
Aluminum
O-Ring (rubber) x 1
Lock Screw x 2
Installation Image
AC Adaptor
Type: AD-0605
Input: AC 100V(90-132V)
Output: DC5V 2A
Frequency: 50/60Hz
Cable Length: 1.85m
Plug Figure: A
GPS
The GlobalSat “BR-355 Cable GPS” has been tested for use with our product.
T&D does not handle or sell GlobalSat products. For all inquires and questions concerning
sales of the product, please directly contact Globalsat Technology Corporation. (http://www.
globalsat.com.tw/)