Tandberg Compass Users Manual / Utility User
Compass to the manual 2a5c66dd-b0f8-44dd-8e9d-23bacd9dc03b
2015-02-03
: Tandberg Tandberg-Compass-Users-Manual-462537 tandberg-compass-users-manual-462537 tandberg pdf
Open the PDF directly: View PDF
.
Page Count: 188 [warning: Documents this large are best viewed by clicking the View PDF Link!]
- Introduction
- Installation
- General Use
- The Welcome Screen (Normal Mode)
- The Welcome Screen (Kiosk Mode)
- Using the Remote Control
- On-screen Indicators
- Using the Kiosk Menu
- Using the Language Menu
- Place a Call
- Receive a Call
- End Call
- Using the Handset
- Standby
- Phone Book - My Contacts
- Camera Control
- Dual Stream (DuoVideoTF/H.239)
- Control Panel
- Diagnostics
- Administrator Settings
- Interfaces
- Appendices
- Glossary

TANDBERG COMPASS MXP / UTILITY MXP
ii
Trademarks and Copyright
All rights reserved. This document contains information that is proprietary to TANDBERG. No part
of this publication may be reproduced, stored in a retrieval system, or transmitted, in any form, or
by any means, electronically, mechanically, by photocopying, or otherwise, without the prior
written permission of TANDBERG. Nationally and internationally recognized trademarks and
trade names are the property of their respective holders and are hereby acknowledged.
This product includes software developed by the OpenSSL Project for use in the OpenSSL
Toolkit. Copyright © 1998-2002 The OpenSSL Project. All rights reserved.
This product includes cryptographic software written by Eric Young. Copyright © 1995-1998 Eric
Young. All rights reserved.
Contains iType™ from Agfa Monotype Corporation.
ICU License - ICU 1.8.1 and later COPYRIGHT AND PERMISSION NOTICE Copyright (c) 1995-
2003 International Business Machines Corporation and others All rights reserved.
Disclaimer
The information in this document is furnished for informational purposes only, is subject to
change without prior notice, and should not be construed as a commitment by TANDBERG. The
information in this document is believed to be accurate and reliable; however TANDBERG
assumes no responsibility or liability for any errors or inaccuracies that may appear in this
document, nor for any infringements of patents or other rights of third parties resulting from its
use. No license is granted under any patents or patent rights of TANDBERG.
This document was written by the Research and Development Department of TANDBERG,
Norway. We are committed to maintain a high level of quality in all our documentation. Towards
this effort, we welcome you to Contact us with comments and suggestions regarding the content
and structure of this document.
COPYRIGHT © 2006, TANDBERG

iii
Environmental Issues
TANDBERG visual communication products significantly reduce the need for travel and thereby
help reduce various types of pollution. TANDBERG recommends the use of low energy
peripherals, such as EnergyStar™ monitors. Thank you for buying a TANDBERG product.
Battery handling
The batteries for the Remote Control are Long Life Alkaline batteries, which means you will need
fewer batteries, further benefiting the environment. Please follow the guidelines on the packing
material for handling and disposal instructions for the batteries.
Waste handling
This TANDBERG product contains no consumables that require disposal. You should retain the
packaging materials in case future shipment is necessary. Please contact your local authorities
for information on waste handling and recycling regulations for electronic products.
Production of products
Our factories employ the most efficient environmental methods for reducing waste and pollution.
Our designers do their best to ensure TANDBERG products are highly recyclable.
Digital User Manuals
TANDBERG is pleased to announce that it has replaced the printed versions of its User Manuals
with a digital CD version. Instead of a range of different user manuals, there is now one CD which
can be used with all TANDBERG MXP products. The CD contains a variety of supported
languages. The environmental benefits of digital manuals are significant, from saving paper, to
reduced weight for shipping. Even the CD itself is recyclable. Not only are they more ecological,
digital manuals are more user friendly. A simple web-based search feature helps users directly
access the information they need. In addition, this TANDBERG video system now has an intuitive
on-screen help function, which provides a range of useful features and tips. If desired, the user
manuals on the CD can still be printed locally.

TANDBERG COMPASS MXP / UTILITY MXP
iv
Operator Safety Summary
For your protection, please read these safety instructions completely before operating the
equipment and keep this manual for future reference. The information in this summary is intended
for operators. Carefully observe all warnings, precautions and instructions both on the apparatus
and in the operating instructions.
Warnings
Water and moisture - Do not operate the equipment under or near water - for example
near a bathtub, kitchen sink, or laundry tub, in a wet basement, or near a swimming pool
or in areas with high humidity.
Cleaning - Unplug the apparatus from the wall outlet before cleaning or polishing. Do not
use liquid cleaners or aerosol cleaners. Use a lint-free cloth lightly moistened with water
for cleaning the exterior of the apparatus.
Ventilation - Do not block any of the ventilation openings of the apparatus. Install in
accordance with the installation instructions. Never cover the slots and openings with a
cloth or other material. Never install the apparatus near heat sources such as radiators,
heat registers, stoves, or other apparatus (including amplifiers) that produce heat.
Grounding or Polarization - Do not defeat the safety purpose of the polarized or
grounding-type plug. A polarized plug has two blades with one wider than the other. A
grounding type plug has two blades and a third grounding prong. The wide blade or third
prong is provided for your safety. If the provided plug does not fit into your outlet, consult
an electrician.
Power-Cord Protection - Route the power cord so as to avoid it being walked on or
pinched by items placed upon or against it, paying particular attention to the plugs,
receptacles, and the point where the cord exits from the apparatus.
Attachments - Only use attachments as recommended by the manufacturer.
Accessories - Most systems should only be used with a cart, stand, tripod, bracket, or
table specified by the manufacturer, or sold with the apparatus. When a cart is used, use
caution when moving the cart/apparatus combination to avoid injury from tip-over.
Lightning - Unplug this apparatus during lightning storms or when unused for long periods
of time.
ISDN cables - CAUTION - To reduce the risk of fire, use only No. 26 AWG or larger
telecommunication line cord.
Servicing - Do not attempt to service the apparatus yourself as opening or removing
covers may expose you to dangerous voltages or other hazards, and will void the
warranty. Refer all servicing to qualified service personnel.
Damaged Equipment - Unplug the apparatus from the outlet and refer servicing to
qualified personnel under the following conditions:
When the power cord or plug is damaged or frayed
If liquid has been spilled or objects have fallen into the apparatus
If the apparatus has been exposed to rain or moisture
If the apparatus has been subjected to excessive shock by being dropped, or the
cabinet has been damaged
If the apparatus fails to operate in accordance with the operating instructions
TANDBERG COMPASS MXP / UTILITY MXP
vi
Table of Contents
1 Introduction............................................................................................................................... 1
1.1 At a Glance ............................................................................................................................ 3
1.2 Menu Structure ...................................................................................................................... 5
2 Installation ................................................................................................................................ 8
2.1 Unpacking .............................................................................................................................. 9
2.2 Connecting Cables............................................................................................................... 10
2.3 Monitor Configuration........................................................................................................... 11
2.4 System Configuration........................................................................................................... 12
3 General Use ........................................................................................................................... 15
3.1 The Welcome Screen (Normal Mode) ................................................................................. 16
3.2 The Welcome Screen (Kiosk Mode) .................................................................................... 17
3.3 Using the Remote Control.................................................................................................... 19
3.3.1 Navigation ................................................................................................................ 21
3.3.2 Number and Letter keys........................................................................................... 22
3.4 On-screen Indicators............................................................................................................ 23
3.5 Using the Kiosk Menu .......................................................................................................... 24
3.6 Using the Language Menu................................................................................................... 25
3.7 Place a Call.......................................................................................................................... 26
3.8 Receive a Call...................................................................................................................... 27
3.9 End Call................................................................................................................................ 28
3.10 Using the Handset ............................................................................................................. 29
3.11 Standby.............................................................................................................................. 31
3.12 Phone Book - My Contacts ................................................................................................ 32
3.12.1 Add New Contact..................................................................................................... 33
3.12.2 Edit Contact ............................................................................................................. 34
3.12.3 Delete Contact ......................................................................................................... 35
3.12.4 Copy Contact to My Contacts .................................................................................. 36
3.13 Camera Control.................................................................................................................. 37
3.14 Dual Stream (DuoVideoTF/H.239)..................................................................................... 38
3.15 Control Panel ..................................................................................................................... 39
3.16 Diagnostics......................................................................................................................... 40
3.16.1 System Information.................................................................................................. 41
3.16.2 Channel Status ........................................................................................................ 42
3.16.3 Call Status................................................................................................................ 43
3.16.4 System Selftest........................................................................................................ 44
3.16.5 View Administrator Settings..................................................................................... 45
3.16.6 IP Address Conflict Check ....................................................................................... 49
3.16.7 Warnings.................................................................................................................. 50
3.16.8 Text Chat ................................................................................................................. 52
3.16.9 Administrator Settings.............................................................................................. 53
3.16.10 Restart ................................................................................................................. 54
3.16.11 User Guide .......................................................................................................... 55
4 Administrator Settings ............................................................................................................ 56
4.1 General Settings .................................................................................................................. 57
4.1.1 Language ................................................................................................................. 58
4.1.2 System Name .......................................................................................................... 59
4.1.3 International Name................................................................................................... 60
4.1.4 Auto Answer............................................................................................................. 61
4.1.5 Phone Book Settings ............................................................................................... 62
4.1.6 External Services Settings....................................................................................... 63
4.1.7 Permissions ............................................................................................................. 64
vii
4.1.8 Screen Settings........................................................................................................ 66
4.1.9 Software Options ..................................................................................................... 71
4.1.10 Date and Time Settings ........................................................................................... 72
4.1.11 Max Call Length....................................................................................................... 73
4.2 Menu Settings ...................................................................................................................... 74
4.2.1 Input Editor Language.............................................................................................. 75
4.2.2 Menu Timeout In Call............................................................................................... 76
4.2.3 Balloon Help............................................................................................................. 77
4.2.4 Administrator Password........................................................................................... 78
4.2.5 Kiosk Mode Settings ................................................................................................ 79
4.2.6 Startup ..................................................................................................................... 82
4.2.7 Icons......................................................................................................................... 84
4.3 Presentation Settings........................................................................................................... 85
4.3.1 Presentation Start .................................................................................................... 86
4.3.2 H.239........................................................................................................................ 87
4.3.3 Startup Video Source............................................................................................... 88
4.3.4 Presentation Source ................................................................................................ 89
4.3.5 Snapshot Source ..................................................................................................... 90
4.3.6 Auto-Display Snapshot ............................................................................................ 91
4.3.7 PIP Appearance....................................................................................................... 92
4.3.8 PIP Placing .............................................................................................................. 93
4.3.9 VNC Settings ........................................................................................................... 94
4.4 Call Quality........................................................................................................................... 95
4.4.1 Video Algorithm........................................................................................................ 96
4.4.2 Audio Algorithm........................................................................................................ 97
4.4.3 Natural Video ........................................................................................................... 98
4.4.4 Max Upstream Rate (kbps)...................................................................................... 99
4.4.5 Video Quality.......................................................................................................... 100
4.4.6 Default Call Settings .............................................................................................. 103
4.5 Audio.................................................................................................................................. 106
4.5.1 Headset Level Settings.......................................................................................... 107
4.5.2 Alert Tones and Volume ........................................................................................ 108
4.6 Video.................................................................................................................................. 109
4.6.1 MCU Status Line.................................................................................................... 110
4.6.2 Web Snapshots...................................................................................................... 111
4.6.3 Video Name ........................................................................................................... 112
4.7 Security .............................................................................................................................. 113
4.7.1 Encryption .............................................................................................................. 114
4.7.2 Encryption Mode.................................................................................................... 115
4.7.3 Passwords ............................................................................................................. 116
4.8 Network.............................................................................................................................. 117
4.8.1 ISDN-BRI Settings ................................................................................................. 118
4.8.2 LAN Settings .......................................................................................................... 120
4.8.3 Network Profiles..................................................................................................... 139
4.8.4 Restore Default Settings........................................................................................ 140
5 Interfaces.............................................................................................................................. 141
5.1.1 Video...................................................................................................................... 142
5.1.2 Audio...................................................................................................................... 144
5.1.3 Network.................................................................................................................. 145
6 Appendices........................................................................................................................... 146
7 Glossary ............................................................................................................................... 172

TANDBERG COMPASS MXP / UTILITY MXP
viii

1 Introduction
1
1 Introduction
The TANDBERG Compass MXP provides essential video features for face to face
communication in public areas with the quality and reliability found in all TANDBERG equipment.
The TANDBERG Utility MXP provides essential video features for face to face communication in
rugged environments with the quality and reliability found in all TANDBERG equipment.
Audio Quality
High-performance audio provides a richer, more complete visual communication experience. The
MPEG4 AAC-LD standard is used to provide true standards-based CD-quality, stereo audio.
NEW Eliminate disturbance from GSM mobile phones and Blackberry devices
Video Quality
Features which ensure high quality video includes:
Natural VideoTF which provides a 60 fields per second true interlaced picture.
H.264 video compression up to 768kbps.
NEW High quality video and native 16:9 formats
Network
The system supports videoconferencing via both IP and ISDN networks. The bandwidth
capabilities are:
up to 768kbps on IP
up to 384*kbps on ISDN
SIP support
If channels are dropped during a videoconferencing session, downspeedingTF automatically
maintains connections without interruption.
Security
Secure ConferenceTF provides embedded encryption for Point-to-Point calls and ensures both
privacy and security.
The system is delivered with integrated Expressway™ firewall traversal technology. When used
together with a TANDBERG Border Controller it enables:
Secure and seamless traversal of ANY firewall.
No missing features when traversing the firewall – works with H.264, MPEG4 audio,
encryption.
Outside systems, such as home offices, to be part of the enterprise dial plan.

TANDBERG COMPASS MXP / UTILITY MXP
2
NEW
H.460, ITU Standardized firewall traversal, support
NEW
High security network authentication (802.1x)
The TANDBERG videoconferencing system can also be used purely as an audio-bridge (with an
ISDN connection).
Presentations
The Natural Presenter Package (NPP), makes it possible to receive presentations and comprises:
Digital ClarityTF which provides presentations of exceptionally high quality resolution video.
Users can display video and presentations in the best layout based on the situation. Supported
screen layouts are:
Picture in Picture
Picture outside Picture
Side by Side
User interfaces
A web-interface to the codec provides:
System management, diagnostics and software uploads.
Text chat/closed captioning.
Unicast Streaming – which allows broadcasting of audio/video via an IP network to a
single compatible client (RealMedia™ or Apple Quicktime™) or streaming server.
The On-Screen Menu:
Easy interface for first-time users with symbols and descriptions
Builds upon the familiar current interface
NEW
Enhanced language support with Asian and non-Latin character text input in the
menu for local language system names
NEW Simplified on-screen menu, Kiosk Mode, designed for public environments.
Interoperability
The TANDBERG Compass MXP and Utility MXP are worldwide compatible with other standards-
based videoconferencing systems.
* - optional feature. To check which options are installed, select Control Panel - Diagnostics - System Information in the
menu.
TF - TANDBERG First

1 Introduction
3
1.1 At a Glance
Camera
The camera is an integrated part of the unit
and is centrally placed just above the
monitor. On the Utility MXP it is possible to
close the camera (for privacy) by sliding
across a door.
Monitor
The Digital LCD displays the far-end
videoconferencing site in addition to the
menu.
Codec
The codec is the heart of the system. Its main
task is the compression of outgoing video,
audio and data, the transmission of this
information to the far end and the
decompression of the incoming information -
the name codec comes from a combination of
the two words compression and
decompression.
Figure 1-1. TANDBERG Utility MXP and Compass MXP
Microphone
The microphone is integrated and located at the edge on the left hand side of the unit.
Handset
For privacy, both Utility MXP and Compass MXP are delivered with a handset located on the right
hand side of the unit. Lifting the handset from the cradle automatically toggles between internal
microphone/loudspeaker and the handset.
Lamp
A LED (light emitting diode) lamp is integrated into the top of the unit and gives optimally directed
additional illumination to the users face. This improves the quality of the image transmitted to the
Utility MXP
Compass MXP
TANDBERG COMPASS MXP / UTILITY MXP
4
far end. The power output of the lamp can be varied upon installation (or by service personnel
thereafter), and can be adjusted from zero to full power.
Remote Control
The remote control is only delivered with the TANDBERG Utility MXP.
The remote control is located inside the locked cabinet on the Utility MXP, and is intended for
system setup when using ISDN. The reception of the remote control signal is limited to a small
hole directly under the speaker mesh on the Utility MXP.
The remote control is used to control all functions of the system. The remote control uses 4 AAA
batteries. The system will tell you when batteries are running low. Change the batteries at the
back of the remote control.
The reach of the remote control signal is around 20 meters. For users sitting in an open plan
office, this can cause problems. Use the little, white switch placed under the batteries to change
the reach of the signal from 20 meters to 2 meters. This will prevent you from unintentionally
controlling another video system, when you control your own system.

1 Introduction
5
1.2 Menu Structure
The menu structure is divided in three. The Kiosk Menu, which is available for all users when
Kiosk mode is activated, the Main Menu, which contains all functionality of the system and the
Administrator Menu that contains all the settings of the system.
The menu structure for Kiosk Menu is shown below.
Figure 1-2. Kiosk menu.

TANDBERG COMPASS MXP / UTILITY MXP
6
The Main Menu and Administrator Settings are only accessible when Kiosk Menu is deactivated.
Select Control Panel and Administrator Settings from the Main Menu. Making changes to the
Administrator Settings will change the behavior of the system.
The menu structure for Main Menu and Administrator Settings is shown below.
Figure 1-3. Main menu.

1 Introduction
7
Figure 1-4. Administrator Settings menu.
Note that the system features and menu settings may vary depending on network selection
and software package.

TANDBERG COMPASS MXP / UTILITY MXP
8
2 Installation
Precautions:
Never install communication wiring during a lightning storm.
Never install jacks for communication cables in wet locations unless the jack is
specifically designed for wet locations.
Never touch uninstalled communication wires or terminals unless the telephone line has
been disconnected at the network interface.
Use caution when installing or modifying communication lines.
Avoid using communication equipment (other than a cordless type) during an electrical
storm. There may be a remote risk of electrical shock from lightning.
Do not use the communication equipment to report a gas leak in the vicinity of the leak.
Always connect the product to an earthed socket outlet.
The socket outlet shall be installed near to the equipment and shall be easily accessible.
1TR6 network type is not approved for connection directly to the telecommunications
network. This network type is only to be used behind a PABX.
This product complies with directives: LVD 73/23/EC, EMC 89/366/EEC, R&TTE 99/5/EEC

2 Installation
9
2.1 Unpacking
The TANDBERG Compass MXP and Utility MXP consist of the following items:
Videoconferencing system with built-in camera, handset and lamp
Remote Control (Utility MXP only)
Batteries
User Manual on CD
Integrated power supply
Cables
High security keys

TANDBERG COMPASS MXP / UTILITY MXP
10
2.2 Connecting Cables
1. Power cable
Connect the power cable
from the wallplate to the
power supply.
Note: The connection of
main electrical supply to
the wallplate is described
in the Installation Sheet.
2. ISDN cables
Connect the ISDN cables
to the ISDN connectors
on the system.
Connect the ISDN cables
to the ISDN sockets (S/T-
interface) provided by the
service provider. Your
main number will be the
number associated with
the socket to which ISDN
cable number 1 is
connected.
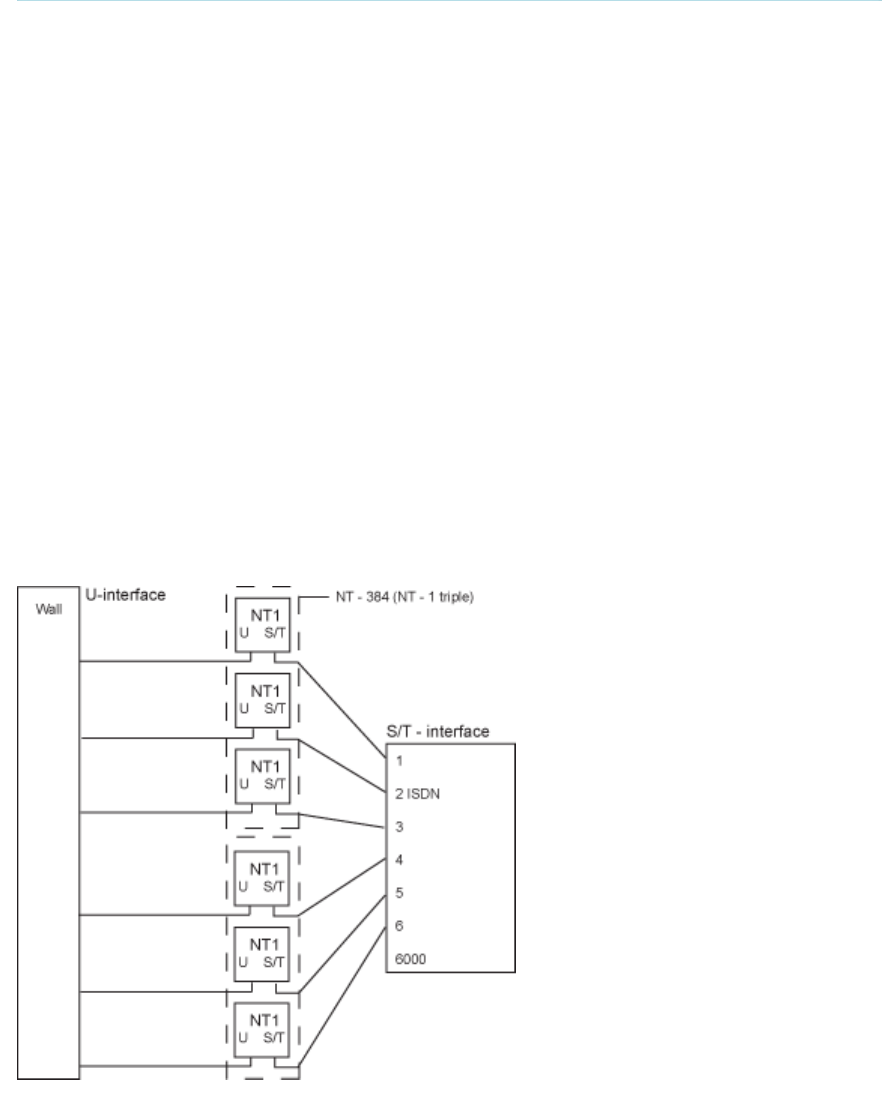
North America: The system does
not have a built-in network
terminator. If the wall socket
provides an ISDN U-interface, an
NT1 between the system and the
ISDN line is needed, see
Appendix 8 for details.
Note! Write down the
numbers associated with
each of the ISDN lines.
They are needed for
configuring the system
Figure 2-1. Connectors.
3. LAN cable
To use the system on LAN,
connect a LAN cable from the
Ethernet' connector on the system
to the LAN.

2 Installation
11
2.3 Monitor Configuration
Power on
Switch the system on by connecting the power cable from the wallplate to the integrated power
supply. After the system has performed a self-test routine, the main menu will be displayed on the
monitor of the Utility MXP (units are shipped with Kiosk Mode OFF). The Compass MXP is
shipped with Kiosk Mode ON, and the monitor will therefore display the Kiosk Menu.

TANDBERG COMPASS MXP / UTILITY MXP
12
2.4 System Configuration
The Compass MXP and Utility MXP have default settings from the factory enabling initial use.
However the system must be configured for each installation. Configuration settings can be made
via the system menu using the remote control, or more easily via telnet or web interface using IP.
The following screen pictures are based on remote control access directly on the system, whilst
the telnet or web interface gives a different visual layout but with the same configuration
possibilities. Refer to Appendix 7 Web Interface for more details.
Navigate through the menu system using the arrow keys and OK. Remember to press the Save
button on the bottom of each menu to save the changes. Press Cancel (x) to return to the
previous Menu. See General Use for more information about how to use the menus and the
remote control.
General configuration:
1. Open the General Settings menu
Press OK/Menu to open the Main Menu, if not already displayed. Select Control
Panel - Administrator Settings - General to open the General Settings menu.
Figure 2-2. General settings menu.
2. Language
Press OK in the Language field and select the wanted language from the list. Note:
This General / Language governs the language on the Setting and Screen Menus
when in normal mode. If multiple languages are desired in Kiosk mode then this is
defined within the Kiosk settings menu.

2 Installation
13
3. System Name / International System Name
Enter a name in the System Name field using the number keys on the remote control,
in the same way as with a mobile or cellular phone. Hold down the # key for one
second to switch back and forth from numbers to alpha characters. The International
System Name field is only visible if the System Name contains supported Asian and
non-Latin text input.
4. Auto Answer, Phone Book Settings, External Services Settings and
Permissions
Utility MXP requires Auto Answer to be activated, it is also recommended for
Compass MXP. Otherwise these settings may be left unchanged if no special needs
are required. See chapter General Settings for more information.
5. Screen Settings
The settings may be left unchanged if no special needs are required. The display
layout may be changed at any time using the Layout button on the remote control.
6. Software Options
To activate options for the system, a new option key must be entered in the Software
Options menu (see paperwork accompanying the system). The Presenter option key
should be entered under “New Option Key”. Any bandwidth option key should be
entered under “New Bandwidth Key”. For more information on these options, please
contact your TANDBERG representative.
7. Date and Time Settings
Select your preferred Date and Time Settings.
8. Save changes
Remember to save any changes made in a menu by selecting the Save button on the
menu line and pressing OK.
Network configuration:
1. Open the Network menu
Press OK/Menu to open the Main Menu, if not already displayed. Select Control
Panel - Administrator Settings - Network to open the Network menu.
Figure 2-3. Network settings menu.

TANDBERG COMPASS MXP / UTILITY MXP
14
2. ISDN configuration
Set the Network type to the desired network. Specify the settings for the selected
network in the relevant menu. For details, follow the instructions in ISDN-BRI
Settings.
3. LAN configuration
Select LAN Settings in the Network menu and specify the necessary LAN settings
according to the instructions from your LAN administrator. For details, follow the
instructions in LAN Settings. If there is an H.323 Gatekeeper present on your LAN,
refer to H.323 Settings as well.
4. Network Profiles
Please refer to Network Profiles for details
5. Data Port
Not available on this product.
6. Save changes
Remember to save any changes made in the menu by selecting the Save button on
the Menu line and pressing OK.
Kiosk Mode Settings:
Press OK/Menu to open the Main Menu, if not already displayed. Select Control Panel -
Administrator Settings – Menu Settings – Kiosk mode Settings to open the Kiosk Mode
Settings menu.
The default Kiosk Mode settings for the Utility MXP are:
- Language menu OFF
- Available languages check boxes with all languages*
- Auto dial ON
- Allow use of Remote Control YES
- Phone Book Local
- Kiosk menu OFF
After having configured the settings of the Utility MXP, you must activate Kiosk mode
by setting Kiosk Mode til ON. Be avare that you cannot deactivate kiosk mode again
through the menu, but only through the web interface, telent or the remote control.
The default Kiosk Mode settings for the Compass MXP are:
- Language menu OFF
- Available languages check boxes with all languages*
- Auto dial ON
- Allow use of Remote Control NO
- Phone Book Local
- Kiosk menu ON
After having configured the settings of the Compass MXP, you must activate Kiosk
mode by setting Kiosk Mode til ON. Be avare that you cannot deactivate kiosk mode
again through the menu, but only through the web interface, telent or the remote
control.
See Kiosk Mode Settings for more details.

3 General Use
15
3 General Use
Wake up the system
When the system is not in use, it is in standby mode and the screen is black. Wake up the system
by picking up the handset. An incoming call or pressing any key on the Compass MXP will also
wake up the system.
Quick Key for IP Address
If the IP address of the system has been mislaid or forgotten it can be shown temporarily on the
screen by pressing the central button on the Compass MXP for at least 5 seconds, until the
address appears on the screen. On the Utility MXP the remote control can be removed from the
cabinet and the OK button pressed in the same manner.
Quick Key to Deactivate Kiosk Mode
If it is required to deactivate the Kiosk Mode without using the telnet or web interface the following
must be performed using the remote control stored inside the cabinet. This is only possible if the
setting Allow Use of Remote Control has been saved as ON. Please refer to later chapters on
where the remote control should be directed to enable IR reception.
Press 5 times on the Phone Book symbol then once on the number 3.

TANDBERG COMPASS MXP / UTILITY MXP
16
3.1 The Welcome Screen (Normal
Mode)
When the system is switched on, the normal welcome screen will be displayed. The welcome
screen presents the menu and displays your main camera image in the background (main
camera is system default). The ISDN/IP numbers and the system name are displayed in the
upper right corner. The ISDN Number and IP Number are the dial-in numbers of the system.
The welcome screen provides you with the most important system information:
System Name
Your ISDN Number
Your IP Address or IP Number
It is possible to customize the text on the welcome screen. See Menu Settings for how to edit
welcome text.
Figure 3-1. The Welcome Screen in normal mode.

3 General Use
17
3.2 The Welcome Screen (Kiosk
Mode)
When the system is switched on and Kiosk Mode is ON and Show Menu is ON the welcome
screen will be displayed. The welcome screen presents the menu and displays your main camera
image in the background.
An additional welcome screen can be shown if Language Menu is ON. The normal welcome
screen will appear after the language has been selected.
It is possible to customize the text on the welcome screen. See Menu Settings for how to edit
welcome text.
Figure 3-2. The Welcome Screen in Kiosk Mode.

TANDBERG COMPASS MXP / UTILITY MXP
18
Figure 3-3. Language selection menu.

3 General Use
19
3.3 Using the Remote Control
The Utility MXP is only controlled by the handset and from the far end. The system is not
designed to be controlled by a remote control accessible to the user. The remote control is only
for system setup and maintenance by authorized personnel. The IR receiver is a small hole just
below the speaker grill, the remote control must be held directly in front of the small hole.
The Compass MXP is controlled by the handset and the five buttons located on the cabinet. The
system is not designed to be controlled by a remote control accessible to the user. There is no
remote control delivered with the Compass MXP. System set-up must be done via telnet or web
interface.
Think of the remote control as a mobile phone with number keys and call keys. Use the arrow
keys and OK to navigate the menu. The system’s most commonly used functions are also
accessible directly from the remote control.
The TANDBERG remote control (TRC 3) 1. Mic Off turns your microphone on and off.
2. Arrow keys are used for navigation in the
menu and for moving the camera* when the
menu is hidden, see Navigation.
3. Volume + and – adjusts the Codec volume
only and not the monitor's volume.
4. The Layout key toggles between full screen
and different display layouts
5. Cancel takes you back one step in the menu
system. Use Cancel to delete characters in an
input field, see Navigation.
6. Press the Call key to place a call, see Place a
Call.
7. Camera presets* define specific camera
positions. Move the camera to the desired
position and press and hold a number key for
1 second to save the current camera position
to that number key. To activate a preset
whilst in a call, simply press and release that
number key.
8. Snapshot takes a snapshot of your video only
while you are in a call.
9. The Presentation key switches to a predefined
presentation source. If the Presentation key is
held down for 1 second then the Presentation
video sources menu will appear.
10. Press OK/Menu to show the menu and to
select menu items, see Navigation.
11. Use Zoom + and – to zoom the camera in and
out.*

TANDBERG COMPASS MXP / UTILITY MXP
20
12. Selfview displays your outgoing video.
Press Selfview again to turn selfview off.
13. Use the Phone Book to store and recall
video contacts for easy placement of
calls, see Phone Book.
14. Use the red End Call key to end the
current call. Pressing this key when not
in a call will place the system in Standby
mode, see End Call and Standby.
15. Number/Letter keys function in the same
manner as with a mobile or cellular
phone, see Number and Letter keys.
16. Press Touch tones when you are in a
call and need to dial extension numbers
etc. (instead of presets). Press the
OK/Menu button to exit Touch Tones.
Figure 3-4. Remote Control.
*This does not apply to all systems with small integrated cameras.

3 General Use
21
3.3.1 Navigation
Arrow keys and OK
Navigate in the menu with the arrow keys on the remote control. The
orange selector on screen shows the selected item. Press OK to select.
Cancel key
In the main menu, pressing Cancel (X) will hide the menu. If the menu is
hidden, bring it back with OK. In other menus, pressing Cancel (X) takes
you one step back. In an input field, pressing Cancel (X) will delete
characters/numbers to the left.
Back/Cancel button
The X button in the menu corresponds with the X key on the remote.

TANDBERG COMPASS MXP / UTILITY MXP
22
3.3.2 Number and Letter keys
When accessing an input field where letters are required, the system automatically goes to letter
mode. Writing letters works like on a mobile phone. Press the key that corresponds to your
desired letter. Press the key as many times as needed to get the right letter. Change to lower or
back to upper case letters with the a/A key, and space with the 0 _ key.
To write numbers in a text input field, press the button through all the letters. Press once more
and the number will appear.
Example: How do I write "System 123" in the System Name input field (in General in
Administrator Settings)?
Press the 7-key four times to get an "S".
Press the #-key once to switch between upper case and lower case letters.
Press the 9-key three times to get a "y".
Press the 7-key four times to get an "s".
Press the 8-key once to get a "t".
Press the 3-key twice to get an "e".
Press the 6-key once to get an "m".
Press the 0-key once to get space.
Press the 1-key three times to get a "1".
Press the 2-key four times to get a "2".
Press the 3-key four times to get a "3".

3 General Use
23
3.4 On-screen Indicators
The system has a number of icons signaling different settings:
Microphone Off
This indicator is shown when the microphone is turned off. Press the Mic off
button again to turn the microphone back on, see Mic Off for details.
Volume Off
This indicator is shown when the volume is turned off. Press Volume + to turn the
volume back on, see Volume + and - for details.
Secure Conference, AES
This double padlock indicator is shown when AES encryption (Secure
Conference) is active, see Security for details.
Secure Conference, DES
This padlock indicator is shown when DES encryption (Secure Conference) is
active, see Security for details.
Not Secure Conference
This open padlock indicator is shown during the initialization phase for AES or
DES encryption. During this period the call is not secure, see Security for details.
Warning
This indicates that the system has detected a warning. Select the icon and press
OK to see details on the warning. Please see Warnings for a list of possible
warnings.
Bad Network
This indicator appears if the system detects network anomalies like packet loss,
jitter etc., during a call. Open the menu by pressing the OK/Menu button and
select the warnings icon too see details.

3 General Use
25
3.6 Using the Language Menu
Figure 3-6. Language selection menu.
The language selection menu is an optional menu, and is only active if Language Menu is ON in
the Kiosk Settings.
Press the left / right buttons on the Compass MXP to highlight the appropriate icon, then press
the center button to confirm selection.

TANDBERG COMPASS MXP / UTILITY MXP
26
3.7 Place a Call
Autodial = ON
If Autodial is activated on either the Utility MXP or Compass MXP then a call can be placed by
simply lifting the handset from the cradle. The unit will then automatically call through the list of
names held in either the Local or Global phone book. If no connection is made after 7 seconds
the unit will proceed to the next name on the list. If the list is emptied without any connection the
system will repeat through the list.
Figure 3-7. Phone Book.
Autodial = OFF
If Autodial is not activated on the Compass MXP then it is possible to place a call using the five
buttons to navigate through the kiosk menu. To place a call on the Compass MXP first select
Place a Call on the main Kiosk Menu using the left / right buttons, then press the central button to
confirm the selection.
Then select the appropriate person or service to call by pressing the up / down buttons, and
center button to confirm the selection.
Selecting and confirming Back will return the user to the main Kiosk Menu.

3 General Use
27
3.8 Receive a Call
How to answer an incoming call with Auto Answer = ON
If Auto Answer is activated then it is not necessary to lift the handset, the call will
automatically be answered and connected to the built in microphone and speaker, see
Auto Answer for details.
If wishing privacy within an Auto Answered call the user can pick up the handset, which
will automatically switch the system over to the handset microphone and speaker.
How to answer an incoming call with Auto Answer = OFF
To accept incoming calls on either the Compass MXP or the Utility MXP simply lift the
handset.
On the Compass MXP it is also possible to answer by pressing the middle of the five
buttons.
How to reject an incoming call:
To reject an incoming call on the Compass MXP select the Reject icon using the left /
right arrow buttons then press the central button to confirm.
It is not possible to reject a call on the Utility MXP.
Figure 3-8. Answering a call.
When idle, the system will accept all incoming calls as long as Incoming Telephone Calls are set
to On, see Permissions for details.

TANDBERG COMPASS MXP / UTILITY MXP
28
3.9 End Call
Figure 3-9. Ending a call.
How to end an Auto Dial call
If Auto Dial is activated on either the Compass MXP or Utility MXP then replacing the
handset onto the cradle will end the call
How to end a non Auto Dial call (only possible on Compass MXP)
To end a call press the central button on the Compass MXP cabinet to display the on-
screen menu, then press the central button again to confirm the End Call selection
How to end an Auto Answer call
If the handset has been used on either the Compass MXP or Utility MXP together with
Auto Answer = ON then replacing the handset will not end the call.
Only the far end can end an Auto Answered call.
.

3 General Use
29
3.10 Using the Handset
The handset has different functions depending on the setup of the unit, and depending on if the
unit is outside or inside a call.
When outside a call and with autodial activated, lifting the handset will waken the system
from standby mode and will start to dial through the names stored in My Contacts.
Replacing the handset onto the cradle will end the call.
When outside a call and with autodial deactivated, lifting the handset will waken the
system and show the Kiosk Menu if activated, otherwise self view will be shown.
Replacing the handset onto the cradle will have no consequence.
When an incoming call is ringing on the system and with auto-answer deactivated, lifting
the handset will accept the call. Replacing the handset onto the cradle will end the call.
When incoming call is ringing on the system and with auto-answer activated, lifting the
handset after the call has been auto-answered will switch between built-in speaker &
microphone and the handset. Replacing the handset onto the cradle after an auto-
answered call will not end the call, but will switch back to the built-in speaker and
microphone.
When inside an existing call lifting the handset switches between the built-in loudspeaker
and microphone and those contained in the handset. This feature is the same for both the
Utility MXP and the Compass MXP. The switching is a toggling action, therefore upon
replacing the handset on the cradle the unit will switch back to the built-in speaker and
microphone.
The above description of handset functions can also be related to the actual units and their
default settings for Auto Answer and Auto Dial.
Utility MXP
(Default settings: Auto answer is ON and Auto dial is ON.)
Lifting the handset outside a call will wake up the system and start to dial the numbers listed in
the phone book. Thereafter, replacing the handset will end the call.
An incoming call will automatically connect the call with speaker active. Lifting the handset in a
call will switch from speaker mode to handset mode. If you hang up in a call, it will switch to
speaker mode again.
Compass MXP
(Default settings: Auto answer is OFF and Auto dial is ON)
Lifting the handset outside a call will wake up the system and start to dial the numbers listed in
the phone book. Thereafter, replacing the handset will end the call.
An incoming call will be connected by lifting the handset. Thereafter, replacing the handset on the
cradle will end the call. Note: If an incoming call is answered by pressing the central button,
TANDBERG COMPASS MXP / UTILITY MXP
30
subsequent lifting of the handset will switch between speaker mode and handset mode, and
replacing the handset will not end the call
Alternative Compass (example)
(Settings: Auto answer is OFF and Auto dial is OFF)
Lifting the handset outside a call will wake up the system and you will see self view and the Kiosk
menu on the screen. Thereafter replacing the handset will make no change.

3 General Use
31
3.11 Standby
The system will automatically go to Standby mode when it is not in use. In standby mode, the
screen and LED lamp are black. It is however still possible to receive incoming calls.
How to turn off the standby mode:
When the system is in standby, pick up the handset (on Compass MXP and Utility MXP)
or press any of the buttons on the Compass MXP to activate the system again.
The standby mode of the system should be used if the system is to be left idle.

TANDBERG COMPASS MXP / UTILITY MXP
32
3.12 Phone Book - My Contacts
The Phone Book My Contacts is a list of contacts that can be stored locally on the system. Within
the normal operating mode (outside of Kiosk Mode) the list is known as My Contacts, and within
Kiosk Mode it is represented only as a list on the Make a Call screen.
The list of numbers within My Contacts is available for both Auto Dial (if activated) and for ringing
via the Make a Call menu (only possible on the Compass MXP).
It is possible to add new contacts and edit or delete existing contacts. My Contacts can store up
to 200 contacts.
It is possible to sort the names into a specific sequence by adding digits (e.g. 00-99) as a prefix to
the name. The list is sorted alphanumerically.
The settings box below depicts the My Contacts list when the Kiosk Mode is deactivated, i.e when
in set-up mode.
Note: With regard to Auto Dial and Make a Call, it is possible to select which Phone Book the
system uses; either the locally stored My Contacts or the list available via LAN and TMS known
as Corporate / Global Directory.
Figure 3-10. Phone Book – My Contacts.

3 General Use
33
3.12.1 Add New Contact
The Add New Contact function is available from My Contacts.
It is recommended to add new contacts remotely using the IP address and the web-interface or
telnet.
To perform the following using the remote control the Kiosk Mode must first be deactivated. This
is done via the telnet or web-interface, or by pressing 5 times on the Phone Book symbol then
once on the number 3 on the remote control. The remote control can be directed to the inside
lower edge of the Compass MXP cabinet (i.e. the unit must be temporarily removed from the
wallplate). On the Utility MXP the remote control can be held directly in front of the small hole just
under the speaker grill.
Add a new contact to My Contacts by:
1. Select the New Contacts button to open the New Contacts dialog box.
2. Enter Name by using the letter keys on the remote control. Input will automatically be
interpreted as letters. Toggle between capital letters and small letters by pressing the #
button on the remote control. The maximum name length is 30 characters. For numbers,
press the # button for one second.
3. Enter Number by using the number keys on the remote control. Input will automatically be
interpreted as numbers. The maximum number length is 60 numbers. Use a star as
separator in IP addresses. For letters, press the # button for one second.
4. Alter the default setting of Call Type if necessary.
5. Alter the default setting of Network if necessary.
6. Alter the default setting of Bandwidth if necessary. For bandwidth 2x64 kbps or 2x56
kbps, two numbers are required, see Default Call Settings for more details.
7. Alter the default setting of Restrict (56k) if necessary.
8. Press OK to save.
Figure 3-11. Add New Contact

TANDBERG COMPASS MXP / UTILITY MXP
34
3.12.2 Edit Contact
The Edit Contact function is available from My Contacts.
It is recommended to add new contacts remotely using the IP address and the web-interface or
telnet.
To perform the following using the remote control the Kiosk Mode must first be deactivated. This
is done via the telnet or web-interface, or by pressing 5 times on the Phone Book symbol then
once on the number 3 on the remote control. The remote control can be directed to the inside
lower edge of the Compass MXP cabinet (i.e. the unit must be temporarily removed from the
wallplate). On the Utility MXP the remote control can be held directly in front of the small hole just
under the speaker grill.
How to edit a contact in the Local Phone Book:
1. Select the contact that is to be edited.
2. Press the left arrow on the remote control, followed by the down arrow until the Edit
Contact icon is selected.
3. The current settings for this contact are displayed in a dialogue box. Alter the wanted
settings.
4. Press OK to save.
Figure 3-12. Edit Contact.

3 General Use
35
3.12.3 Delete Contact
The Delete Contact function is available from My Contacts.
It is recommended to add new contacts remotely using the IP address and the web-interface or
telnet.
To perform the following using the remote control the Kiosk Mode must first be deactivated. This
is done via the telnet or web-interface, or by pressing 5 times on the Phone Book symbol then
once on the number 3 on the remote control. The remote control can be directed to the inside
lower edge of the Compass MXP cabinet (i.e. the unit must be temporarily removed from the
wallplate). On the Utility MXP the remote control can be held directly in front of the small hole just
under the speaker grill.
How to delete a contact:
1. Select the contact that is to be deleted.
2. Press the left arrow on the remote control, followed by the down arrow until the Delete
Contact icon is selected. The Delete Contact dialogue box is displayed.
3. Confirm by pressing the OK button again.
Figure 3-13. Delete Contact.

TANDBERG COMPASS MXP / UTILITY MXP
36
3.12.4 Copy Contact to My Contacts
It is recommended to add new contacts remotely using the IP address and the web-interface or
telnet.
To perform the following using the remote control the Kiosk Mode must first be deactivated. This
is done via the telnet or web-interface, or by pressing 5 times on the Phone Book symbol then
once on the number 3 on the remote control. The remote control can be directed to the inside
lower edge of the Compass MXP cabinet (i.e. the unit must be temporarily removed from the
wallplate). On the Utility MXP the remote control can be held directly in front of the small hole just
under the speaker grill.
The Copy Contact to My Contacts function is available from the Last Number Dialed, Missed
Calls, Call History and Global Contacts folders, see Phone Book for details.
It may be wise to copy contacts that are often used to My Contacts. Note that the local copy will
not be updated if the Global Contacts are updated from the management system.
How to copy a contact from the Global Phone Book to the Local Phone Book:
1. Select the contact to be copied to My Contacts.
2. Press the left arrow on the remote control, followed by the down arrow until the Copy
Contact to My Contacts icon is selected.
A message box telling that the operation was successful will be displayed.

3 General Use
37
3.13 Camera Control
The camera on the TANDBERG Compass MXP and Utility MXP is fixed and cannot be controlled
by the user. The focus is pre-adjusted from the factory to suit a normal face to face call. No user
adjustment is possible.

TANDBERG COMPASS MXP / UTILITY MXP
38
3.14 Dual Stream
(DuoVideoTF/H.239)
Dual Stream is standard on the Utility MXP and Compass MXP. H.239 is the new ITU standard
defining how to send two video sources simultaneously.
With Dual Stream you have the opportunity to receive two different live video streams
simultaneously, main video and one additional source. This is handy when receiving a
presentation. You see the live presentation and the live video of the presenter simultaneously.
When the far end discontinues the Dual Stream the Utilty MXP or Compass MXP will switch over
to single stream.
It is not possible to send a Dual Stream from the Utility MXP or Compass MXP.
Dual Stream and Bandwidth
Using Dual Stream, the quality automatically downspeeds to the optimal bandwidth. This means
that you need higher quality to allocate enough bandwidth for the two video streams. Dual Stream
borrows bandwidth from main video. When Dual Stream is closed, the bandwidth is returned to
the main video.

3 General Use
39
3.15 Control Panel
The control panel is only available when Kiosk Mode is deactivated.
Figure 3-14. Control Panel menu
The Control Panel contains the features:
Diagnostics
Text Chat
Audio Demonstration*
Administrator Settings
Restart
User Guide
* Audio Demonstration is not available on this product.

TANDBERG COMPASS MXP / UTILITY MXP
40
3.16 Diagnostics
The diagnostics panel is only available when Kiosk Mode is deactivated.
Diagnostics allows testing of individual system components and displays the current system
settings.
Figure 3-15. Diagnostics menu.
Diagnostics contain:
System Information
Call Status
Channel Status
System Selftest
View Administrator Settings
IP Address Conflict Check
Warnings

3 General Use
41
3.16.1 System Information
Select System Information to view system numbers, line status, software version, hardware serial
number and other useful information. Press arrow key up and down to scroll in the System
Information list.
System Information contains:
System Name
My ISDN Number
My IP Number
My IP Address
Software
Version
Internal Test
Software
Options
installed
Network
Lines active
Lines not active
Hardware
Serial
Number
MAC address
Ethernet
Speed
Table 1. System Information.
Note that the serial number is also found on a sticker on the system. It is
essential for identifying the system when it comes to service contracts or
other support activities. The serial number format is xx.xxxxx.

TANDBERG COMPASS MXP / UTILITY MXP
42
3.16.2 Channel Status
Comprehensive information about the call progress is available through the Channel Status
window. This window indicates the various stages each B-channel goes through whilst
establishing a connection.
Status -
BRI Comments
Idle
Calling
Connected
Sync
Active
Releasing
Released
the channel is idle
when calling — the network has acknowledged the call
when connection is established
when the channels are synchronized
when all available channels are connected
waiting for the network to confirm a release of the call
when disconnected - the network has acknowledged the disconnection
Table 2. Channel status.
Cause codes
The most common cause codes (for ISDN) are:
1
2
16
17
18
21
28
29
31
34
41
58
65
69
81
88
100
102
127
255
Unallocated (unassigned) number
No route to specified transit network (WAN)
Normal clearing
User busy
No user responding
Call rejected
Invalid number format (incomplete number)
Facility rejected
Normal, unspecified
No circuit/channel available
Temporary failure
Bearer capability not presently available
Bearer service not implemented
Requested facility not implemented
Invalid call reference value
Incompatible destination
Invalid information element contents
Recovery on timer expiry
Internetworking, unspecified
TANDBERG specific. undefined cause code
Table 3. Cause codes.

3 General Use
43
3.16.3 Call Status
Comprehensive information about the call is available through the Call Status window. The menu
has two columns, one for transmitted and one for received audio/video/data information. If Dual
Stream is available on your system and in use, pressing the UP/DOWN keys will show one page
per connected site. Some of the information fields will vary dependent on if H.320 (ISDN calls) or
H.323 (IP calls) are made.

TANDBERG COMPASS MXP / UTILITY MXP
44
3.16.4 System Selftest
The system performs a check to determine internal hardware integrity. System Selftest is useful
when you want to check if your network connection is active.

3 General Use
45
3.16.5 View Administrator Settings
This window displays all the system settings. Use the arrow key on the remote control to scroll
through the list. The administrator settings available will vary within the MXP system range
depending on system and what software options installed.
View Administrator Settings may contain:
General Settings System Name
Language
Dual Monitor
Auto answer
Max Call Length
Access Code
Incoming MCU calls
Incoming Telephone calls
Far End Control
Fallback to Telephony
Screen Settings
TV Monitor Format
Picture Layout
VGA Monitor Format
VGA Out Quality
PC Picture Format
Allow VGA 50Hz
Software Options Options Installed
Serial Number
Current Option Key
Menu Settings
Menu Timeout in Call
Welcome Menu
Welcome Picture
Logo
Balloon Help
Display Welcome Text
Welcome Text
Administrator Password
Presentation Settings
Duo Video Mode
Start up Video Source
Presentation Source
Snapshot Source
Auto Display Snapshot
PIP Appearance
PIP Placing
VNC Settings
Address
Display Number
Call Quality
Video Algorithm
Audio Algorithm

TANDBERG COMPASS MXP / UTILITY MXP
46
Interlaced
Video Quality Main Camera
PC
Document Camera
VCR
AUX
VNC
Split Screen
Default Call Settings
Call Type
Network
Bandwidth
Restrict (56k)
Auto H320 Bandwidth
Auto H323 Bandwidth
SIP
Audio Settings
Inputs Mic1
Mic2
Mic3
Audio4
Audio5
Audio6
Mix Mode
VCR Ducking
Level Settings Mic1
Mic2
Mic3
Audio4
Audio5
Audio6
Outputs
Out1
Out2 (AUX)
Out3 (VCR)
Out1 Mode
Level Settings Out1
Out2 (AUX)
Out3 (VCR)
Echo Control Mic1
Mic2
Mic3
Audio4
Audio Levelling (AGC) Mics
Audio5 (AUX)
Audio6 (VCR)
Received Audio
Alert Tones & Volume Video Call Alert Tone
Telephone Alert Tone
Alert Volume
Alert Speaker
Key Tones
Video Settings
Camera Tracking Mode
MCU Status Line
Web Snapshot

3 General Use
47
MultiSite Picture Mode
Picture Control Focus
White balance
Brightness
Video Name Main Cam
AUX
Doc Cam
VCR
PC
VGA
VNC
Network Type ISDN-BRI\PRI\Leased E1\T1\Enternal
H331
ISDN Switch Type ETSI (Euro ISDN),…
Line1 Setup On
Number1
Number2
SPID1
SPID2
Line2 Setup On
Number1
Number2
SPID1
SPID2
Line3 Setup On
Number1
Number2
SPID1
SPID2
Advanced ISDN Settings Subaddress
Validate Numbers (MSN)
Parallel Dial
Send Own Numbers
Sending Complete
ISDN-PRI Settings
Number Range
ISDN-PRI Switch Type
Channel Hunting
Max Channels
Low Channel
High Channel
Search High, Low
Line Settings:
T1 Cable Length 1
T2 Cable Length 2
E1 CRC-4
Advanced ISDN PRI Settings NSF Code Video
NSF Code Telephone Call
Leased E1/T1 Settings
Call Control
Network Interface
Max Channels
Start Channels
T1 Line Coding
Line Settings
External network configuration Call Control RS66

TANDBERG COMPASS MXP / UTILITY MXP
48
RS449/V.35 Compatible
IP Settings IP assignment
IP address
IP subnet mask
Gateway
Ethernet Speed
H.323 Settings E.164 Alias
Use Gatekeeper
Gatekeeper IP
H.323 Prefix
Advanced H.323 Settings
RSVP
NAT
NAT Address
QoS
IP Precedence Audio
Video
Data
Signaling
IP Type of Service (TOS)
Diffserv Audio
Video
Data
Signaling
SNMP Settings SNMP Trap Host1
SNMP Trap Host2
SNMP Trap Host3
SNMP Community
Streaming Settings Address
Address Port
TTL/Router Hops
Streaming Source
Allow Remote Start
Announcements
Video rate (kbps)
Network Profiles
Auto
H.320
H.323
Network Profile 4
Network Profile 5
Network Profile 6
Security Encryption
Encryption mode
Data Port 1
Baud rate
Parity
Databits
Stopbits
Mode
Data Port 2 Baud rate
Parity
Databits
Stopbits
Mode

3 General Use
49
3.16.6 IP Address Conflict Check
The system will give a warning if there is an IP conflict. The user may initiate this check by
selecting IP Address Conflict Check.

TANDBERG COMPASS MXP / UTILITY MXP
50
3.16.7 Warnings
If any warnings registered by the system it will be displayed in the Warnings menu. Open a
warning in the list to get more information about the warning.
Figure 3-16. Warnings.
The following warnings are displayed if detected by the system:
ISDN BRI warnings
ISDN is enabled on BRI line x, but the line is not connected. Please check your network
connection or disable the line. (101)
There is something wrong with ISDN BRI line x. Please check your network connection.
(102)
IP network quality warnings
The system is experiencing packet loss in the IP network. This may affect the quality of
the call.
The system is experiencing high jitter in the IP network. This may affect the quality of the
call.
The system is dropping IP packets due to latency in the network. This may affect the
quality of the call.
ISDN PRI warnings
ISDN PRI is configured for this system, but the line is not connected. Please check your
network connection or disable the network. (131)
There is something wrong with the ISDN PRI line (Blue alarm). Please check your
network connection. (132)
There is something wrong with the ISDN PRI line (Yellow alarm). Please check your
network connection. (133)
There is something wrong with the ISDN PRI line (D-Channel not active). Please check
your network connection. (134)
External Network warnings
External Network is configured for this system, but the line is not connected. Please
check your network connection or disable the network. (161)
Leased E1/T1 warnings
Leased E1/T1 is configured for this system, but the line is not connected. Please check
your network connection or disable the network. (191)
3 General Use
51
There is something wrong with the Leased E1/T1 line (Blue alarm). Please check your
network connection. (192)
There is something wrong with the Leased E1/T1 line (Yellow alarm). Please check your
network connection. (193)
H323 gatekeeper warnings
Could not register to the gatekeeper.
The gatekeeper rejected to register the system. Another system is already registered with
the same alias or H.323 ID.
The max capacity on the gatekeeper is reached. Registration failed.
Tried to register to the gatekeeper without a valid alias. Registration failed.
The system is not allowed to register with this gatekeeper.
Can not find the gatekeeper. Check the gatekeeper configurations on the system.

TANDBERG COMPASS MXP / UTILITY MXP
52
3.16.8 Text Chat
While in an ISDN or IP call to another system supporting Text Chat (T.140), select Text Chat from
the Control Panel. Enter text in the displayed window.
How to use Text Chat:
1. Choose Text Chat from the Control Panel to open the Text Chat window.
2. Enter text with the number keys like on a mobile phone. The text is sent to the far end
continuously letter by letter.
3. Press OK to end Text Chat and escape from the text chat window.
Note that Text Chat is supported in point to point calls only.

TANDBERG COMPASS MXP / UTILITY MXP
54
3.16.10 Restart
The restart is only available when Kiosk Mode is deactivated.
Restart the system by pressing the Restart button. You are prompted with a dialog box saying:
Do you want to restart the system? Press OK to restart, press Cancel (X) to abort.
Figure 3-17. Restart

3 General Use
55
3.16.11 User Guide
The user guide is only available when Kiosk Mode is deactivated.
The on screen user guide takes you through a quick step-by-step introduction to
videoconferencing. It gives the user basic skills in how to use the system.
Figure 3-18. User Guide.

TANDBERG COMPASS MXP / UTILITY MXP
56
4 Administrator Settings
The administrator settings are only available when Kiosk Mode is deactivated.
Figure 4-1. Administrator settings menu.
Administrator Settings contain all the settings of the system. Making changes to Administrator
Settings will change the behavior of the system. It is recommended to password protect the
access to Administrator Settings to prevent occasional users from making crucial changes to the
system, see Administrator Password.
Administrator Settings contain:
General
Menu Settings
Presentation Settings
Call Quality
Audio
Video
Security
Network
Restore Default Settings

4 Administrator Settings
57
4.1 General Settings
The general settings are only available when Kiosk Mode is deactivated.
When installing the system, go through the General Settings menu to ensure that you have the
right settings for your system, see System Configuration.
Figure 4-2. General settings menu.
General Settings contain:
Language
System Name / International Name*
Autoanswer
Phone Book Settings
External Service Settings
Permissions
Screen Settings
Software Options
Date and Time Settings
* This field is only visible if the system name contains Asian and non-Latin character text input.

TANDBERG COMPASS MXP / UTILITY MXP
58
4.1.1 Language
The system supports 16 different languages for its on-screen menus; English, German, French,
Norwegian, Swedish, Italian, Spanish, Portuguese, Russian, Finnish, Chinese Simplified, Chinese
Traditional, Japanese, Korean, Thai and Arabic. Select the preferred language and press OK to
save.
Note that pressing the Phone Book button 5 times followed by the number button 1 on the remote
control will reset the menu language to English.

4 Administrator Settings
59
4.1.2 System Name
System Name identifies the system:
On the welcome page.
During an MCU conference call.
When using the Web-interface.
When the codec is acting as an SNMP Agent.
Towards a DHCP server.
H323 ID. Other systems can call in using this name instead of IP-number/IP-address.
System Name is blank by default. System name can be alphanumeric and up to 50 characters
long. Follow the installation procedure to enter a System Name.
Note that if the system name contains Asian and non-Latin character text input, the
International Name using Latin characters only, must be specified as well.

4 Administrator Settings
61
4.1.4 Auto Answer
The auto answer setting decides whether an incoming call is put through automatically or
manually.
On The system will automatically answer all incoming calls.
On+Mic
Off The system will automatically answer all incoming calls and switch the
microphone off when the call is connected. Press Mic Off to switch the
microphone on.
Off You must manually answer all incoming calls by pressing OK or the Call key.

TANDBERG COMPASS MXP / UTILITY MXP
62
4.1.5 Phone Book Settings
Corporate Directory
On The Corporate Directory is available in the menu.
Off The Corporate Directory is hidden from the menu and is unavailable for users.
IP address
Enter the IP address of the management system that provides the Phone Book.
Path
The Path indicates the function of the management system.

4 Administrator Settings
63
4.1.6 External Services Settings
External Services
On When set to On External Services are available.
Off When set to Off External Services are unavailable.
IP address
Enter the IP address of the service provider for External Services.
Path
Enter the Path to the External Services provider.
The services available are defined by the service provider.

TANDBERG COMPASS MXP / UTILITY MXP
64
4.1.7 Permissions
Permissions contains settings for incoming telephone Calls, Far End Control, Remote Software
Upgrade and Fallback to Telephony.
Access Code
An access code will help you control the use of the system. All users must enter a code to identify
themselves and the call will be charged on their account. Access Codes are handy for group
systems where there are more users or divisions that share the costs of using the system. Access
Code can be set to "On" and "Off". Please refer to section Appendix 5 for more information on
Access codes.
On When making a call, an Access Code dialog box will be shown. The user must enter
the correct password in order to put the call through.
Off No password is necessary to make a call.
Incoming Telephone Calls
On The system will accept incoming telephone calls.
Off The system will not accept incoming telephone calls. This is useful to prevent
incoming calls from systems other than videoconferencing systems.
Far End Camera Control
On The far end will be able to:
• Control your camera
• Select your video sources
• Activate your camera presets
• Request snapshots
Off The far end can access none of the four features above on the local system. You will
however still be able to control the camera on the far end.

4 Administrator Settings
65
Fallback to Telephony
When dialing a number and the system fails to place a video call to the number dialed, the
system will attempt to place a telephone call if Fallback to Telephony is enabled.
On Enables fallback from video calls to telephone calls.
Off Disables fallback.
Far End ISDN System Upgrade
It is possible to upgrade software remotely, i.e. a far end system may upgrade software on a local
system via http on ISDN. The system to be upgraded must be configured to allow remote
software upgrade. It is possible to set a password which is needed for the far end system to be
able to accomplish the software upgrade.
On The system will allow a remote system to upgrade local software.
Off The system will not allow a remote system to upgrade local software.
Note that the configuration can also be done via the telnet or the serial port.
Maximum Call Length (minutes)
This feature will automatically end both incoming and outgoing calls when the call time exceeds
the specified Max Call Length. Max Call Length can have the following values: 0-999 (minutes),
where 0 means off.

TANDBERG COMPASS MXP / UTILITY MXP
66
4.1.8 Screen Settings
Auto Layout
On
If Auto Layout is On the system will change layouts automatically depending on the
number of participants in a call and if you have a dual video stream or not. Please
refer to Layout for more information.
Off
If Auto Layout is Off there will be no automatic layout changes during a call. All
desired layout changes must be done manually.
Note that when you receive low resolution images (176x144 pixels or less) the screen will
automatically adjust to a smaller view to give optimum quality experience.
Picture Layout
The Advanced Picture Layout is related to the Layout button on the remote control and it can be
used at any time to change the screen layout. For wide screen systems POP mode is
recommended. You will get optimized picture layouts for wide screen by pressing the Layout
button on the remote.
Picture in
Picture (PIP)
Pressing the Layout button on the remote will result in an extra picture in
smaller view (Picture in Picture). Press the Layout button to move it around
in the corners of the screen and finally hide it. Pressing and holding Layout
for 1 second will hide the small picture directly from any position.
Picture
outside
Picture
(POP)
Press the Layout button to see the images side-by-side, e.g. 1+1 layout,
where the far end and near end are displayed as images of equal size, see
figure below.
Press the Layout button once more to change to 1+2 layout. The far end
image will be displayed as the main video, with the near end, usually the
user of the system, as a smaller image in the upper right corner. If Duo
Stream is used, the Dual Stream image is displayed as the main image and
the far end and near end as smaller images to the right, see figure below for
an example.
Press the Layout button again to get the 1+3 layout.
The next time the Layout button is pressed, the normal full screen view of
the far end is displayed. Pressing and holding Layout for 1 second will
always bring you back to full screen.

4 Administrator Settings
67
Figure 4-3. Example of Picture in Picture.
Figure 4-4. Example of 1+1 Side-by-Side view (wide screen).
Figure 4-5. Example of 1+2 Picture outside Picture (wide screen).
Figure 4-6. Example of 1+3 Picture outside Picture (wide screen).

TANDBERG COMPASS MXP / UTILITY MXP
68
Note that the following menu settings do not apply for all TANDBERG MXP systems. Please
refer to the actual menu page on your system.
VGA Monitor Format
To fully leverage your wide screen display, activate the Native 16:9 format by setting the VGA
Monitor Format to Wide. Note that you should only change this setting if your VGA monitor is a
wide screen (16:9) monitor or projector. The VGA and DVI output will then be optimized for Wide
Screen VGA display.
Normal Output format is optimized for Normal VGA monitors (4:3)
Wide Output format is optimized for Wide VGA monitors (16:9)
Figure 4-7. Wide screen VGA or TV monitor in Normal (stretched) mode.
Figure 4-8. Wide screen VGA or TV monitor In Wide (native) mode.
VGA Out Quality*
The supported range of VGA formats will be optimized for the VGA display monitor based on the
source image.
VGA Out Quality enables the user to change the preferred format for the DVI/VGA output. It is
recommended to keep this setting in Auto unless your screen doesn’t support some of the XGA
or SVGA formats the system is using. Note that the VGA Out port support VESA Power
Management.

4 Administrator Settings
69
Auto VGA output format will be optimized dependant of the video source format,
refresh and of the EDID information available.
Supported formats are:
SVGA (800x600) 75Hz
XGA (1024x768) 60Hz / 75Hz
WXGA (1280x768) 60Hz
SVGA 800x600
75Hz VGA output format is forced to SVGA format (800x600) 75Hz
XGA 1024x768
60Hz VGA output format is forced to XGA format (1024x768) 60Hz
VGA Out Quality for Wide XGA:
If VGA Monitor Format is set to Wide, PC Picture Format is set to Normal, VGA Out
Quality is set to Auto, the layout on the monitor is either fullscreen or POP, and the
input source to the largest window is PC with resolution 1024x768, the system will use
WideXGA (1280x768) instead of XGA, when the monitor supports this.
PC Picture Format (wide screen monitors only)
PC Picture Format setting only takes effect when TV or VGA Monitor Format is set to Wide. Use
this setting to determine if you want your PC presentations to be shown stretched in full screen,
or with correct aspect ratio using part of the widescreen display. With the VGA Out Quality set to
Auto the presentation will be of the best possible quality supported by the monitor.
Normal VGA output will have 4:3 aspect ratio on wide screen monitor.
Wide
VGA output will utilize the wide screen monitor at full.
Figure 4-9. PC presentation shown in Normal (correct ratio) mode.

TANDBERG COMPASS MXP / UTILITY MXP
70
Figure 4-10. PC Presentation shown in Wide (stretched) mode.

4 Administrator Settings
71
4.1.9 Software Options
In order to activate additional bandwidth, you need to enter a bandwidth key. A restart of the
system is required after entering a new option and/or bandwidth keys. If the key is invalid, the
original key will be used.
The following options are available:
1. No option
2. Bandwidth options

TANDBERG COMPASS MXP / UTILITY MXP
72
4.1.10 Date and Time Settings
NTP IP
This is the NTP time server address from which the system can get updated time information.
See IP Services for more details.
Auto
The NTP IP address is set automatically.
Manual
The NTP IP address is set manually.
IP Address
The IP Address for obtaining the date and time information.
Time Zone
Select the correct time zone for the location of your system.
Date Format
Choose between DD/MM/YY, MM/DD/YY, or YY/MM/DD as the desired date format.
Time Format
Select 12h or 24h time format.
Daylight Savings
On
Automatically adjust for daylight savings changes.
Off
Do not adjust for daylight saving changes.

4 Administrator Settings
73
4.1.11 Max Call Length
This feature will automatically end both incoming and outgoing calls when the call time exceeds
the specified Max Call Length. Max Call Length can have the following values: 0-999 (minutes),
where 0 means off.

TANDBERG COMPASS MXP / UTILITY MXP
74
4.2 Menu Settings
The menu settings are only available when Kiosk Mode is deactivated.
Figure 4-11. Menu settings menu.
Menu Settings contain the settings:
Input Editor Language
Menu Timeout In Call
Balloon Help
Administrator Password
Kiosk Mode Settings
Startup
Icons

4 Administrator Settings
75
4.2.1 Input Editor Language
When the Input Editor Language is set to Chinese, Korean or Japanese the user will be able to
enter Chinese / Korean / Japanese characters into an input field like the System Name or Phone
Book, using the remote control.

TANDBERG COMPASS MXP / UTILITY MXP
76
4.2.2 Menu Timeout In Call
Main menu appears on the bottom line of the screen. Set Menu Timeout In Call to On if you want
the menu to time out automatically when you are in a call.
On The menu will time out automatically after 15 seconds if there is no activity on the
remote control. Menu timeout does only apply when you are in a call. Outside a call,
the menu will not time out.
Off The menu will not time out automatically. Press Cancel (X) to hide the main menu
manually.

4 Administrator Settings
77
4.2.3 Balloon Help
It is possible to enable / disable the balloon help window.
On Choose On if you want help text windows to appear.
Off There will be no help text window.

TANDBERG COMPASS MXP / UTILITY MXP
78
4.2.4 Administrator Password
It is recommended to put an Administrator Password on the system. The Administrator Password
can be maximum 5 digits long. The Administrator Password dialog box will pop up when you
choose Administrator Settings from the Control Panel. This will prevent occasional users from
going in to administrator settings. With an administrator password, you can ensure that your
system will behave in the same way every time and that only approved people are allowed to
make changes to the system.

4 Administrator Settings
79
4.2.5 Kiosk Mode Settings
Kiosk Mode
In Kiosk Mode the system is set to a simplified state where it can be controlled with just the four
arrow keys and OK. You will get a simplified on-screen menu with only basic functionality
available:
make calls (using predefined contacts in the phone book)
receive calls
end calls
adjust volume
Note that deactivating the Kiosk Mode is only possible through the web interface, telnet or
data port, or by pressing 5 times on the Phone Book symbol then once on the number 3.
Using Kiosk Mode
Outside a call the Welcome Menu will be displayed:
Figure 4-12. Place a Call, Volume and Close.

TANDBERG COMPASS MXP / UTILITY MXP
80
In a call, the system will display Far End video in full screen. If Max Call Length is set to a value
and the system is in a call, the system will display a warning when it is 5 minutes, 1 minute and
10 seconds left of the call. If pressing OK when the system is in a call, the following menu will be
displayed: End Call, Volume and Close.
The following Kiosk Mode settings allow you to make some adjustments to the system's behavior
in Kiosk Mode.
Kiosk Mode - Language Menu
Figure 4-13. Language selection menu.
If Language Menu is enabled you will first see the language selection menu. Select language and
the Welcome Menu will be displayed with your desired language.
On When On the system will display the language menu as the first menu in kiosk mode.
Off When Off the system will display the welcome menu in English (default).
Kiosk Mode - Available Languages
In Kiosk Mode the system supports 7 different languages for its simplified on-screen menu;
English, German, French, Norwegian, Swedish, Italian and Spanish. Select the preferred
language.

4 Administrator Settings
81
Kiosk Mode - Auto Dial*
On The system will automatically dial to the first contact in the Phone Book when he
handset is lifted. If this contact is busy, the system will call the second number in the
Phone Book and so on. If the user places the handset in the cradle, the system will
switch to Speaker Mode. Only the Far End system can end the call.
Off The system will not make a call automatically when the handset is lifted.
* Applies only to systems with handset
Kiosk Mode - Allow Use of Remote Control
Yes All keys on the remote control are enabled.
No All keys except the arrow keys and OK key are disabled.
Kiosk Mode - Phone Book
Local The system will use the Local Phone Book in Kiosk Mode.
Corporate The system will use the Corporate Directory in Kiosk Mode.
Kiosk Mode - Kiosk Menu
On The Kiosk Mode menus will appear on the screen.
Off No menus or indicators will appear on the screen.

TANDBERG COMPASS MXP / UTILITY MXP
82
4.2.6 Startup
Welcome Menu
The Welcome Menu contains the Main Menu, System Status, your System Name and dial in
numbers.
On The Welcome Menu is shown when the system wakes up from standby mode.
Off The Welcome Menu is not shown when the system wakes up from standby mode.
Press the OK button to open the welcome menu.
Welcome Picture
The Welcome Picture is what you see in the background of the welcome menu.
Selfview Selfview is shown in the background of the welcome menu. In most cases this
means that main camera is displayed and you can see the video image of
yourself.
Off No picture is shown in the background of the welcome menu.
Logo
It is possible to upload a company logo to the system. For more information about how to upload
a Logo, see Appendix 6. Set the Logo settings to On to display the logo.
On Choose On if you want the company logo to appear in the background of the
welcome menu.
Off The logo is not displayed.
Note: The TANDBERG Logo will be displayed if no other company logo is loaded and logo is
enabled.
Display Welcome Text
The welcome text displays your system name and dial in numbers by default. It is possible to hide
this information by choosing Display Welcome Text Off.

4 Administrator Settings
83
On Welcome text is displayed on the welcome menu.
Off Welcome text is not displayed on the welcome menu.
Welcome Text
You can change the welcome text to any text you like, instead of the default text. Remember that
Display Welcome Text must be On to be able to edit the welcome text.

4 Administrator Settings
85
4.3 Presentation Settings
The presentation settings are only available when Kiosk Mode is deactivated.
Figure 4-14. Presentation settings menu.
Presentation Settings contain:
Presentation Start
H.239
Startup Video Source
Presentation Source
Snapshot Source
Auto-Display Snapshot
PIP Appearance
PIP Placing
VNC Settings

TANDBERG COMPASS MXP / UTILITY MXP
86
4.3.1 Presentation Start
If your system has Dual Stream capabilities, you can show two video streams at the same time
(see also Dual Stream). Presentation Start is Auto by default. This means that you will start Dual
Stream (a second video stream) automatically when starting a presentation. Dual Stream requires
the Presenter Option and H.263 video. To check which options are installed, see the System
Information menu in Control Panel.
Manual means that you manually choose if you want to start Duo Video or not every time you
start a presentation.
Auto
Dual Stream starts automatically when you start a presentation (in other words,
when you choose a second video source). If your system or the far end system is
not capable of Duo Video/H.239, you will not use Dual Stream, but rather send the
presentation source as your Main Video
Manual
When starting a presentation, select Presentation in the call menu and select Start
Presentation. Choose a video source from the list displayed on the screen.

4 Administrator Settings
87
4.3.2 H.239
H.239 supports transmission of two video streams. It combines elements of Duo Video and
People+Content. If H.239 is disabled you will still be able to start TANDBERG Dual Video
Stream*
Enabled Enables H.239
Disabled Disables H.239
* The TANDBERG 550 MXP can only receive Dual Video Stream.

TANDBERG COMPASS MXP / UTILITY MXP
88
4.3.3 Startup Video Source
The Startup Video Source is the video source on display when the system wakes up from
standby mode. If you use Main Camera as start up source, the system will start with Main
Camera every time the system wakes up from standby, regardless of what the previous user was
using.
You can change Startup Video Source to Main Camera, PC, Document Camera, VCR, AUX,
VNC or Current depending on what video sources you have available for your system. Choosing
Current will result in the last used video source before the system went to standby.

4 Administrator Settings
89
4.3.4 Presentation Source
The Presentation Source is connected to the Presentation button on the remote. Pressing the
Presentation button will put the Presentation Source on display. Presentation Source is PC by
default*. You can change the Presentation Source to any video source and none. Choosing none
results in opening the Presentation menu when pressing the Presentation key.
* Only for systems with the PC video input available.

TANDBERG COMPASS MXP / UTILITY MXP
90
4.3.5 Snapshot Source
When you take a Snapshot, you get a snapshot of the Snapshot Source. Current is the default
Snapshot Source. This means that you take a snapshot of the video source that is currently
active.
You can change the Snapshot Source to any video source. In this way you can program the
snapshot key to apply only for PC for instance. Press Snapshot and you will take a PC snapshot
regardless of what video source that is currently active.

4 Administrator Settings
91
4.3.6 Auto-Display Snapshot
Select Auto to automatically display a received snapshot. Turn Auto-Display Snapshot Manual if
you wish not to have them displayed on the screen when they are sent or received. The
snapshots will be sent and received, but not displayed. With Auto-Display Snapshot set for
Manual, you must enter the Presentation menu to display a snapshot.
Auto A sent or received snapshot will automatically be displayed on the screen.
Manual A sent or received snapshot will not be displayed on the screen. To see the
snapshot, choose Display Snapshot in the Presentation menu.

TANDBERG COMPASS MXP / UTILITY MXP
92
4.3.7 PIP Appearance
A Picture in Picture (PIP) is a smaller picture placed in one of the corners of the screen. The PIP
enables you to see an extra picture in your video conference.
Auto PIP Auto means that Picture In Picture will appear automatically when it is suitable.
A picture in picture is nice when you use Duo Video and you need an extra window
to see all the pictures. You can of course show or hide the PIP with the Layout
button on the remote anytime.
On PIP On means that a Picture in Picture will always be displayed.
Off PIP Off means that PIP is not displayed automatically.

4 Administrator Settings
93
4.3.8 PIP Placing
PIP Placing lets you decide where the PIP shall appear. You can of course move the PIP with the
Layout button on the remote anytime.
Top Right PIP is placed in the Top Right corner.
Bottom
Right PIP is placed in the Bottom Right corner.
Bottom
Left PIP is placed in the Bottom Left corner.
Top Left PIP is placed in the Top Left corner.

TANDBERG COMPASS MXP / UTILITY MXP
94
4.3.9 VNC Settings
VNC Settings is necessary when using a VNC presentation. See chapter PC Soft Presenter and
VNC for more information on how to use VNC.
Address The IP-address of the PC with the VNC software installed. To find the IP-
address of the PC, place the mouse pointer on the VNC program icon in the
lower right corner of the Windows taskbar. You can also select Command
Prompt from the Startup-menu\Run and type cmd then enter. This will open a
command window and from here. Type “ipconfig” and press enter.
Display
Number
The display number for VNC is 0 and upwards. If you are using WinVNC,
double-click on the icon on the taskbar to view WinVNC properties. This
number should correspond with Display Number in this menu.
Password
Enter the same password as specified in WinVNC properties. The password
will be shown as asterisk signs (*) the next time you enter the menu.

TANDBERG COMPASS MXP / UTILITY MXP
96
4.4.1 Video Algorithm
The system will automatically select the best video algorithm based on the video source and the
capabilities of the remote system. Use this menu to disable video algorithms in case you have
interoperability issues calling other systems.
H.264 Bandwidth efficient video compression and decompression.
H.263
Normal video compression and decompression.
H.261
Legacy video compression and decompression. The system will always have H.261
enabled. Therefore it is impossible to uncheck H.261.

4 Administrator Settings
97
4.4.2 Audio Algorithm
The system will automatically select the best audio algorithm based on the call rate and the
capabilities of the remote system. Use this menu to disable audio algorithms in case you want to
remove “low quality” audio, or if you have interoperability issues calling other systems.
G.722 High quality audio (7 kHz at 48kbps, 56kbps or 64kbps)
G.728 Compressed normal quality audio (telephone quality, 3.1 kHz at 16kbps)
G.711 Normal quality audio (telephone quality 3.1kHz at 64kbps). This audio algorithm is
mandatory for video conferencing equipment and is impossible to uncheck.
G.722.1 Compressed high quality audio (7 kHz at 24kbps, 32kbps and 48kbps).
AAC-
LD CD-quality audio, MPEG-4 Advanced Audio Coding Low Delay (20 kHz, mono at
64kbps).
Call Rate vs Audio algorithms selected
Modify/remove algorithms used by unchecking the different audio algorithms.
Automatically preferred audio algorithms on call rates up to and including 192kbps
1. G.722.1 (24kbps or 32kbps)
2. G.728 (16kbps)
3. AAC-LD (64kbps or 56kbps)
4. G.722 (56kbps, 64kbps or 48kbps)*
5. G.711 (64kbps, 56kbps or 48kbps)**
6. AAC-LD (48kbps or 128kbps)
Automatically preferred audio algorithms on call rates above 192kbps
1. AAC-LD (128kbps)***
2. AAC-LD (64kbps or 56kbps)
3. G.722 (64kbps, 56kbps or 48kbps)*
4. G.722.1 (32kbps or 24kbps)
5. G.728 (16kbps)
6. G.711 (64kbps, 56kbps, 48kbps)**
7. AAC-LD (48kbps or 128kbps)
* G.722 at 64kbps is used in H.323 (IP) calls only.
** G.711 at 64kbps is used in SIP and H.323 (IP) calls only.
*** Dependent on a call rate above the AAC-LD 128 threshold. Note that this is not available on all TANDBERG systems.

TANDBERG COMPASS MXP / UTILITY MXP
98
4.4.3 Natural Video
Choosing Natural Video will enable 60 fields* per second true interlaced picture for high motion
video. The use of Natural Video requires the H.263+ and H.263++ video protocols. Natural video
will be disabled in H.323 MultiSite calls and in H.320 Continuous Presence MultiSite calls.
Auto Natural Video Auto will enable transmission of Natural Video from 768 kbps and
above. Reception of Natural Video is in this case always enabled.
Off Natural Video Off will disable both transmission and reception of Natural Video.
Custom
384 kbps and above to 1920 kbps and above.
* 50 fields per second on PAL systems.

4 Administrator Settings
99
4.4.4 Max Upstream Rate (kbps)
The Max Upstream Rate (kbps) defines the desired maximum transmitted call rate. This is to be
able to limit the outgoing bandwidth whilst keeping the maximum incoming bandwidth, especially
useful for home offices with different upstream and downstream rates, typically ADSL.

TANDBERG COMPASS MXP / UTILITY MXP
100
4.4.5 Video Quality
The different video sources need different Video Quality Settings. Main Camera, VCR, AUX and
Split Screen have Motion as default. PC, Document Camera and VNC have Sharpness as
default.
Motion Optimized for smooth motion video (CIF/SIF for low bandwidths, iCIF/iSIF for
high bandwidths).
Sharpness Optimized for sharp video (4CIF/4SIF, SVGA, XGA).
Auto
The system chooses the best of Motion or Sharpness depending on picture
layout and bandwidth.
4.4.5.1 Intelligent Video Management (IVM)
It is possible to configure the picture sent from the system depending upon specific requirements
and applications adding an additional level of flexibility and adaptability.
Generally, the IVM will always try to transmit the format closest to the video input format. Each
video input can be configured to either motion or sharpness:
Motion*:
When there is a need for higher frame rates, typically when a large number of participants are
present or when there is a lot of motion in the picture.
At low bit rate:
CIF will be used from a PAL video input
SIF from NTSC
w288p from wide format (HD720p) input
VGA/SVGA/XGA from PC, Digital Clarity
At high bit rate:
448p will be used from a PAL video input if Natural Video is ‘Off’ or ‘Auto’ or if
Natural Video is ‘x kbps’ and the bit rate is lower than x kbps
400p from NTSC if Natural Video is ‘Off’ or ‘Auto’ or if Natural Video is ‘x kbps’ and
the bit rate is lower than x kbps
iCIF will be used from a PAL video input, if Natural Video is ‘x kbps’ and the bit
rate is higher than or equal to x kbps
iSIF from NTSC, if Natural Video is ‘x kbps’ and the bit rate is higher than or equal
to x kbps
w448p will be used from a wide format (HD720p) input
VGA/SVGA/XGA from PC, Digital Clarity

4 Administrator Settings
101
Sharpness*:
Improved quality of detailed images and graphics, lower frame rate, ideal for enhancing quality at
lower bandwidths.
4CIF will be used from a PAL video input, Digital Clarity
4SIF from NTSC, Digital Clarity
w720p will be used from a wide format (HD720p) input
VGA/SVGA/XGA from PC, Digital Clarity
IVM Resolution
The following table shows relationship between Transmission modes selected by the system
when Motion or Sharpness is set in the Call Quality menu. IVM will use this table to optimize the
Video quality, according to the capabilities of the remote system(s):
Basic Video
Quality Video Input Transmission mode selection rules*
MOTION PAL 448p -> iCIF@50 -> CIF -> QCIF
MOTION NTSC 400p -> 448p -> iSIF@60 -> iCIF@60 ->
SIF -> CIF -> QCIF
MOTION VGA CIF -> QCIF
MOTION SVGA CIF -> QCIF
MOTION XGA CIF -> QCIF
MOTION Wide w448p -> w288p -> CIF -> QCIF
SHARPNESS PAL 4CIF -> VGA -> CIF -> QCIF
SHARPNESS NTSC 4SIF -> 4CIF -> VGA -> SIF -> CIF -> QCIF
SHARPNESS VGA VGA -> 4CIF -> CIF -> QCIF
SHARPNESS SVGA SVGA -> XGA -> 4CIF -> VGA -> CIF ->
QCIF
SHARPNESS XGA XGA -> SVGA -> 4CIF -> VGA -> CIF ->
QCIF
SHARPNESS Wide w720p -> w576p -> w448p -> w288p -> CIF
-> QCIF
Table 4. Transmission mode with Motion or Sharpness selections.
4.4.5.2 Native Resolutions
The following live video resolutions are supported on the system*:
Native NTSC:
4SIF (704 x 480 pixels), Digital Clarity
400p (528 x 400)
iSIF (352 x 480 pixels), Natural Video
SIF (352 x 240 pixels)
TANDBERG COMPASS MXP / UTILITY MXP
102
Native PAL:
4CIF (704 x 576 pixels), Digital Clarity
448p (576 x 448)
iCIF (352 x 576 pixels), Natural Video
CIF (352 x 288 pixels)
QCIF (176 x 144 pixels)
SQCIF (128 x 96 pixels)
Native PC Resolutions:
XGA (1024 x 768 pixels), Digital Clarity
SVGA (800 x 600 pixels), Digital Clarity
VGA (640 x 480 pixels), Digital Clarity
Wide (16:9) Resolutions:
w288p (512 x 288 pixels)
w448p (768 x 448 pixels)
w576p (1024 x 576 pixels)
w720p (1280 x 720 pixels)
* Note that the TANDBERG 550 MXP, the TANDBERG 1000 MXP and the TANDBERG Compass/Utility MXP do not
transmit the following video formats: 448p, 400p, iCIF, iSIF, w288p, w448p, w576p, and w720p.

4 Administrator Settings
103
4.4.6 Default Call Settings
The system will use the Default Call Settings when making a call.
In addition to the Call Type, Net, Bandwidth and Restrict (56k), you also find settings for H.320
Auto bandwidth and H.323 Auto bandwidth in Default Call Settings.
Call Type
Call Type can be set to:
Video Call
Telephone Call
If either the Call Type is set to Telephone Call or the Place Telephone Call
icon is selected when making a call, the call will be set up as a telephone call.
In all other cases the call will be set up as a video call.
Some network configurations may cause the setup of a video call to fail. The
call will then be set up as a telephone call instead if Fallback to Telephony is
enabled.
Network The Network alternatives are:
Auto
ISDN
H.323
SIP
If Auto is selected, the system will select the right network depending on the
entered number:
If an IP-address (e.g. 10.12.34.56 ) is entered, H.323 is selected.
If the first digits in the number match those set in H.323 Prefix, H.323
is selected.
In other cases, ISDN (H.320) is selected.
ISDN indicates:
ISDN-BRI
If a gatekeeper is present, it is possible to place IP-calls using “telephone-
style” numbers, e.g. an E.164 alias, according to the numbering plan
implemented in the gatekeeper. The gatekeeper will then translate the dialed
number into an IP-address, see H.323 Settings for more information about
gatekeepers.
Select ISDN to ensure that the call is set up as an ISDN call.
Select H.323 to ensure that the call is set up as an H.323 call.

TANDBERG COMPASS MXP / UTILITY MXP
104
Select SIP to ensure that the call is set up as an SIP call.
Bandwidth
Bandwidth decides the quality of the video picture.
When set to Auto the system will establish a connection using a proper
bandwidth for the call, typically 384kbps for ISDN calls and 768kbps for IP
calls.
When set to Max the system will set up the call with maximum bandwidth
depending on the selected network.
Overview*
Auto: 384 kbps on ISDN/768 kbps on LAN
Max: 384 kbps on ISDN-BRI
768kbps (IP only)
768 kbps = 12B, IP only
512 kbps = 8B, IP only
384 kbps = 6B
320 kbps = 5B
256 kbps = 4B
192 kbps = 3B
128 kbps = 2B, Bonding/H.221
64 kbps = 1B, H.221
* Note that some software versions and networks do not support all channel selections.
Restrict
(56k) A restricted call uses 56kbps channels rather then the default unrestricted
64kbps channels.
Some older networks (primarily in the USA) do not support 64kbps channels
and require the use of restricted 56kbps calls. By default the system will dial
an unrestricted call and downspeed to 56kbps if necessary.
To force a restricted call, choose Restrict (56k) On.
H.221 or 2x64 (2x56) Calling
Some older or low end video systems do not have the ability to make bonded ISDN calls. In these
cases it is necessary to dial both ISDN numbers separately to call those systems.
These types of calls are often referred to as
H.221 calls
2x64 calls
2x56 calls
- as making 2 x 64 kbps or 2 x 56 kbps calls to the same system.

4 Administrator Settings
105
Place this type of call by:
Set Network to ISDN
Set Bandwidth to 128 kbps
A field for the 2nd number pops up in Call Settings.
Enter the second number in the Call Settings field. For 128 kbps calls that use bonding,
ignore the second number field and just enter one number to be dialed.
Using sub-address / extension address / MCU password
Sub-address is used to address different systems on the same ISDN line and is primarily used in
European Countries. LAN equivalent extension address or TCS-4 is used to address different
systems on a LAN, when dialing via a gateway.
To specify an ISDN sub-address or its LAN equivalent extension address (TCS-4), add a star (*)
after the number and then enter the sub-address/extension address.
Example:
12345678*10 ( <number>*<Sub-address/extension address/MCU password>)
When dialing IP via a gateway, the number behind the star (*) on IP might be interpreted as an
extension address.
When calling to external MCU’s requiring a password (TSC-1), this password can be added after
the star (*). If no password is specified, the user will be asked to enter the password (after
connecting to the MCU).

4 Administrator Settings
107
4.5.1 Headset Level Settings
Headset mic
It is possible to adjust the headset microphone input level according to the sensitivity of the used
headset. The on-screen audio level indicator will make it easier to set the correct input level
settings. The input level should be adjusted so that the average level reaches within the yellow
area, preferably in the middle. The headset microphone input level are adjustable in steps of 1.5
dB from 0 dB to 22.5 dB.
Headset out
It is possible to adjust the audio output level to the headset loudspeakers.
Figure 4-17. Headset level settings menu.
Note that the system has separate volume settings for loudspeaker and headset output. The
volume keys on the remote control also adjust the level of the headset output when the headset is
activated by pressing the push-button, without changing the volume setting you have for the
loudspeaker. When changing back to the loudspeaker, you will get the volume settings you had
before you activated the headset.

TANDBERG COMPASS MXP / UTILITY MXP
108
4.5.2 Alert Tones and Volume
Video Call Alert Tone and Telephone Alert Tone
To help distinguish between incoming video calls and ordinary telephone calls, it is recommended
to use different ringing tones for video calls and telephone calls.
Alert Volume
You may change the volume level for the selected ringing tone.
Key Tones
On There will be a sound indicator when pressing keys on the remote control.
Off There will be no sound when pressing keys on the remote control.

TANDBERG COMPASS MXP / UTILITY MXP
110
4.6.1 MCU Status Line
On The MCU / DuoVideo indicator will be displayed and provide information about the
conference.
Off The MCU / DuoVideo indicator will not be displayed.
Auto
The MCU / DuoVideo indicator will be displayed for a few seconds and then timed
out. When grabbing the remote control, the indicators will be shown again.

4 Administrator Settings
111
4.6.2 Web Snapshots
The system is able to generate JPEG snapshots and provide them to the world outside by
request (as ‘http get’ or via ftp). See Appendix 6 for descriptions of the possible snapshot files.
On
Snapshots generation is enabled.
Off Snapshots generation is disabled.
Note that web snapshots are not generated if the conference is encrypted.

TANDBERG COMPASS MXP / UTILITY MXP
112
4.6.3 Video Name
As a default, the video inputs are given the names Main Cam, PC, Doc Cam, VCR, AUX or VNC,
dependent on what video sources are available on your system. The video names cannot exceed
eight characters. The names correspond to the video names in the Presentation Menu (Choose
Presentation from the main menu and open the Main Video or Presentation Video pop up menu).
If video names are changed, you will see the changed name appear in the Main Video and
Presentation Video menus.

TANDBERG COMPASS MXP / UTILITY MXP
114
4.7.1 Encryption
(Country specific)
Auto The system will try to set up calls using encryption.
Point to point calls: If the far end system supports encryption (AES or DES), the call
will be encrypted. If not, the call will proceed without encryption.
MultiSite calls*: In order to have encrypted MultiSite calls, all sites must support
encryption. The padlock symbol will indicate encryption mode (AES or DES). If there
is a mix of AES and DES encryption, only the symbol for DES encryption (single
padlock) will be displayed. The 'closed padlock' will only be displayed on each site
when all links in the MultiSite conference are encrypted.
If the far end supports encryption, the systems will initiate encryption after the call is
connected (an ‘open padlock’ symbol will be displayed). When encryption has been
established, a ‘closed padlock’ symbol will be displayed.
On The system will only send and receive encrypted data. The call will not be
established if not all participants support encryption.
Off The system will not send or receive encrypted data.
Technical encryption information like encryption algorithm and encryption check code can be
found in the Call Status menu.
* Only available on systems with MultiSite option supported and installed.

4 Administrator Settings
115
4.7.2 Encryption Mode
Auto
The system will try to use the most secure encryption - AES, dependent on the
capabilities of the other sites. For sites that do not support AES encryption, DES
encryption will be tried.
AES The system will try to use AES with 128 bits encryption when setting up calls. If AES
is not supported by the other site(s), no other type of encryption will be initiated.
DES The system will always try to set up the call using DES with 56 bits encryption on
ISDN and IP. If all other sites do not support DES, no other type of encryption will be
initiated.
Both AES and DES Encryption are supported for mixed ISDN/IP calls. In addition AES -and DES
Encrypted sites can be connected at the same time.

TANDBERG COMPASS MXP / UTILITY MXP
116
4.7.3 Passwords
Administrator Password, IP Access Password, Streaming Password, VNC Password, Access
Code and Remote Software Upgrade password are duplicated from their respective menus.
Using the Security menu gives you a quick way to change all passwords of the system.

TANDBERG COMPASS MXP / UTILITY MXP
118
4.8.1 ISDN-BRI Settings
To make sure your system will work properly using ISDN-BRI, make the following settings:
1. Set ISDN switch type
2. Enter ISDN line numbers (+ SPIDs if required)
3. Disable unused lines
Some software versions do not support 6 ISDN lines, therefore some of the Line Setup entries
may be grayed out.
ISDN switch type
Select the type of ISDN network connected to your unit. Note that 1TR6 should only be used if
you are operating the system behind a PABX.
Line setup
This menu allows you to program the numbers associated with your ISDN line. If you want to use
this ISDN line, you need to set Enabled On and enter the numbers of your ISDN line. If some of
the ISDN lines are not to be used, set Enabled Off. Line 1 should always be enabled. National
ISDN and AT&T Custom ISDN might require SPID numbers associated with your ISDN numbers.
If you have received two different SPID (Service Profile IDentifier) numbers for each ISDN line
from your network provider, you must program both.
Example*:
Numbers SPIDS
ISDN BRI 1: 67838498
67838498 016783849800
016783849810
ISDN BRI 2: 23478060
23478070 012347806000
012347807000
ISDN BRI 3: 23478420
23478430 012347842000
012347843000
ISDN BRI 4: 23478520
23478530 012347852000
012347853000
Table 5. Example of Line setup with numbers and SPIDs.
* Note that some systems has less than 4 BRIs available.

4 Administrator Settings
119
Advanced ISDN Settings
Sub address
Using a sub address enables you to connect up to eight ISDN terminals to the same ISDN
telephone number and line. The terminals are addressed by using different sub addresses. To
call a terminal with a sub address, separate the ISDN telephone number and the sub address
with a ‘*’. Note that this service has limited access on some ISDN networks.
Example: 12345678*2 (up to four digit sub addresses are possible).
Validate Numbers / MSN (Multiple Subscriber Number)
The use of MSN (Multiple Subscriber Number) enables you to attach different ISDN terminals,
with different numbers, to the same physical ISDN telephone line. If Validate Numbers is set to
On only calls to those numbers specified in the Line Setup menus will be answered. This service
can be ordered from your telephone company.
Parallel dial
On Channels will be dialed and connected in parallel when setting up a BONDING call.
Off Channels will be dialed one by one, which may increase the dialing time.
Send Own Numbers
On The system will send its own numbers to the far end.
Off The system will not send its own numbers to the far end, but please note that the
network may still send your numbers to the far end.
Sending Complete
On The system will send the ISDN message information element Sending Complete.
Off The system will not send Sending Complete.

4 Administrator Settings
121
4.8.2.1 IP Settings
Remember to restart the system after making changes to IP Settings. This can be done by
selecting the “Save and Restart” at the bottom of the IP setting menu. Changes in IP Settings
menu will not have any effect until the system is restarted.
IP Protocol
IPv4 IP version 4 supported.
IPv6
IP version 6 supported. IP Address, IP Subnet Mask and Gateway will be disabled.
Both Both IP version 4 and IP version 6 supported.
IP-assignment
DHCP (Dynamic Host Configuration Protocol) can be selected when a DHCP server is present.
Note that for IPv6, DHCP is used for NTP / DNS Server Addresses.
DHCP IP-address, IP-subnet mask and Gateway are not used because the DHCP server
assigns these parameters.
Static The system’s IP-address, IP-subnet mask and Gateway must be specified in the IP-
address field.
IP-address
IP-address defines the network address of the codec. This address is only used in static mode. In
DHCP-mode, the assigned IP-address can be found on the Welcome Menu.
IP-subnet mask
IP-subnet mask defines the type of network. This address is only used in static mode. Your LAN-
administrator will provide the correct value for this field.
Gateway
When using DHCP, the default gateway will be set automatically. If the LAN utilizes static IP
addresses, IP address, subnet mask, and default gateway must be specified by the LAN
administrator.

TANDBERG COMPASS MXP / UTILITY MXP
122
Ethernet Speed
Auto The codec will auto-detect the speed/duplex on the LAN.
10/Half The codec will connect to the LAN using 10Mbps speed/Half Duplex.
10/Full 10 Mbps speed/Full Duplex.
100/Half 100 Mbps speed/Half Duplex.
100/Full 100 Mbps speed/Full Duplex.
IP Access Password
By setting an IP Access Password on the system, all access to the system using IP (Telnet, FTP
and WEB) requires a password. The default IP Access Password is “TANDBERG”.

4 Administrator Settings
123
DNS Settings
DNS Server 1-5
DNS Server defines the network addresses for DNS servers. Up to 5 addresses may be
specified. If the network addresses are unknown, please contact your administrator or Internet
Service Provider.
DNS Domain Name
DNS Domain Name is the default domain name suffix which is added to unqualified names.
Example:
DNS Domain Name is “example.com”, and the name to lookup is “videosystem” will result in a
“videosystem.example.com” DNS lookup.

TANDBERG COMPASS MXP / UTILITY MXP
124
4.8.2.2 H.323 Settings
E.164 alias
This is the E.164 address of the system. The E.164 address is equivalent to a telephone number,
sometimes combined with access codes. Valid characters are 0-9,* and #. When using a
gatekeeper, the system will send a message to the gatekeeper containing both the E.164 address
and the H.323 ID of the system.
H.323 ID
The H.323 ID of the system may be specified here. The System name is used if no H.323 ID is
entered.
H.323 Call Setup
Direct An IP-address must be used in order to make a H.323 call. The system will
not use a gatekeeper or CallManager
Gatekeeper The system will use a gatekeeper to make a H.323 call.
CallManager
The system will use a CallManager to make a H.323 call.
H.323 Prefix
When dialing a number prefixed with digits specified by H.323 Prefix, and with Net: Auto, an
H.323 call will be placed.
Example:
H.323 Prefix is "555". Dialing "55582" with "Net:Auto" will select LAN.

4 Administrator Settings
125
Gatekeeper Settings
Gatekeeper Discovery
Auto The system will automatically try to register on any available gatekeeper. If a
gatekeeper responds to the request sent from the codec within 30 seconds this
specific gatekeeper will be used. This requires auto discovery on the gatekeeper
as well. If no gatekeeper responds, the system will not use a gatekeeper for
making H.323 calls and hence an IP-address must be specified manually.
Manual The system will use a specific gatekeeper identified by Gatekeeper IP-address.
Gatekeeper IP Address
This is the gatekeeper IP-address that is used if you specify H.323 Call Setup: Gatekeeper and
Gatekeeper Discovery: Manual.
Note that if your system is part of a TANDBERG Expressway™ firewall traversal solution and
is placed outside the firewall, you should register the IP address of your Border Controller as
the Gatekeeper IP address and set H.323 Call Setup to Gatekeeper.
Authentication Mode
Auto If Authentication Mode is set to Auto and the gatekeeper indicates that it requires
authentication, the endpoint will automatically try to authenticate itself to the
Gatekeeper.
Off If Authentication Mode is set to Off the system will not try to authenticate itself to a
Gatekeeper, but will still try a normal registration.
Authentication ID / Authentication Password
The system sends the Authentication ID and Password to a Gatekeeper for authentication. The
authentication is a one way authentication from the endpoint system to a Gatekeeper, i.e. the
endpoint is authenticated to the Gatekeeper. If the Gatekeeper indicates that no authentication is
required, the endpoint will still try to register.

TANDBERG COMPASS MXP / UTILITY MXP
126
CallManager Settings
CallManager IP
This is the CallManager IP-address that is used if you specify H.323 Call Setup: CallManager.

4 Administrator Settings
127
Advanced H.323 Settings
The Advanced H.323 Settings only have an effect if they are supported by your IP infrastructure.
NAT
NAT, Network Address Translation, is used when a PC and a videoconferencing system are
connected to a router with NAT support. NAT support in the videoconferencing system enables
proper exchange of audio/video data when connected to an external videoconferencing system
(when the IP traffic goes through an NAT router). When NAT is On, the NAT Server Address will
be shown in the startup-menu: "My IP Address: 10.0.2.1".
On The system will signal the configured "NAT Address" in place of its own IP-address
within Q.931 and H.245.
Auto The system will try to determine if the "NAT Address" or the real IP-address should
be used within signalling. This is done to make it possible to place calls to endpoints
on the LAN as well as endpoints on the WAN.
NAT Address
This must be the external/global IP-address to the router with NAT support. Packets sent to the
router will then be routed to the system. In the router, the following ports must be routed to the
system’s IP-address:
Port 1720
Port 5555-
5560
Port 2326-
2365
Please contact your TANDBERG representative for further information.
RSVP
Auto Resource Reservation Protocol enables the systems to request the optimal amount
of bandwidth for the duration of an IP videoconference.
Off Resource Reservation Protocol is switched off.

TANDBERG COMPASS MXP / UTILITY MXP
128
H.323 Ports
Static When selecting static H.323 ports for TCP connections the ports 5555 to 5565
will be used for Q.931 and H.245 respectively.
Dynamic The system will allocate which ports to use when opening a TCP connection.
The reason for doing this is to avoid using the same ports for subsequent calls
as some firewall consider this as a sign of attack.

4 Administrator Settings
129
4.8.2.3 SIP Settings
Mode
On Setting the SIP mode to on will enable the system for incoming and outgoing SIP
calls.
Off Setting the SIP mode to off will disable incoming and outgoing SIP calls from the
system.
Display Name
The Display name part of the SIP Address (URI) is usually a full name or system name.
Examples:
“Alice Wonderland”
“System 01”
SIP Address
The SIP Address is the SIP URI used to address the system.
SIP Address (URI): <text field>
Examples:
“alice@example.com”
“1234”
“1234@example.com”
Server Discovery
Auto When Auto is selected, the SIP Server address is obtained using Dynamic Host
Configuration Protocol (DHCP).
Manual When Manual is selected, the manually configured SIP Server address will be
used.

TANDBERG COMPASS MXP / UTILITY MXP
130
Server Address
The Server Address is the manually configured address for the outbound proxy and registrar. It is
possible to use a fully qualified domain name, or an IP address. The default port is 5060 for TCP
and UDP, but another one can be provided.
Server Address: <text field>
Examples:
“sipserver.example.com”
“sipserver.example.com:5060”
“10.0.0.2”
“10.0.0.2:5061”
Authentication
User Name
This is the user name part of the credentials used to authenticate toward the SIP Server.
User name: <text field>
Password
This is the password part of the credentials used to authenticate toward the SIP Server.
Password: <text field>
Server Type
Available servers are: Auto, Nortel, Microsoft and Experimental
Current RFC’s and Drafts supported:
RFC 3261 SIP: Session Initiation Protocol
RFC 2327 SDP: Session Description Protocol
RFC 3264 An Offer/Answer Model with the Session Description Protocol (SDP)
RFC 3263: Session Initiation Protocol (SIP): Locating SIP Servers - No support for
NAPTR records.
RFC 3311 The Session Initiation Protocol (SIP) UPDATE Method
RFC 2976 SIP INFO Method
Draft-levin-mmusic-xml-media-control-03.txt - Used for video fast picture update
requests
RFC 3361 Dynamic Host Configuration Protocol (DHCP-for-IPv4) Option for Session
Initiation Protocol (SIP) Servers
RFC 3550 RTP: A Transport Protocol for Real-Time Applications
RFC 2032 RTP Payload Format for H.261 Video Streams
Draft-ietf-avt-rfc2032-bis-06.txt - Draft for advanced video signaling including
resolution and mpi.
4 Administrator Settings
131
RFC 2190 RTP Payload Format for H.263 Video Streams
RFC 2429 RTP Payload Format for the 1998 Version of ITU-T Rec. H.263 Video
(H.263+)
Draft-ietf-avt-rfc2429-bis-05.txt - Draft for advanced video signaling including
resolution, mpi, annexes and custom formats.
RFC 3047 RTP Payload Format for ITU-T Recommendation G.722.1
RFC3581 An Extension to the Session Initiation Protocol (SIP) for Symmetric Response
Routing
RFC3984 RTP Payload Format for H.264 Video
RFC3016 RTP Payload Format for MPEG-4 Audio/Visual Streams
Media Capabilities supported in SIP:
Audio:
PCMU (G.711 u-law)
PCMA (G.711 a-law)
G.722 64 kbps
G722.1 24kbit
G.722.1 32 kbps
Video:
H.261: QCIF 1/30, CIF 1/30
H.263: SQCIF 1/30, QCIF 1/30, CIF 1/30, 4CIF 2/30
H.263++: XGA 4/30, SVGA 3/30, VGA 2/30, SQCIF 1/30, QCIF 1/30, CIF 1/30, 4CIF 2/30

TANDBERG COMPASS MXP / UTILITY MXP
132
4.8.2.4 Wireless LAN Settings
SSID (Service Set Identification)
Example “WLANNETWORK”. Defines a local network id for this wireless region. It must be the
same for all end points and the access point. An endpoint will find the access point if the SSID is
correct, however if the encryption key is faulty it will not transmit any data.
Community (optional)
Community can be used when connecting to an access point where the SSID is the same.
Example “Unit2”.
WLAN Mode
AdHoc Used when not communicating with an access point.
Managed Used when communication is made through an access point.
Make sure the corresponding settings are programmed into the access point. Press “Restart”
from Control Panel in order to activate the settings.
Required cards
• Compaq WL110 11 Mbps Wireless LAN
• Lucent Orinoco 11 Mbit/s SILVER
• Lucent Orinoco 11 Mbit/s GOLD
• Cisco Aironet 350 series (AIR-PCM 350 series)
• Enterasys Networks RoamAbout 802.11 DS High Rate
• Melco Buffalo WLI-PCM-L11G
Recommended access point
• Compaq WL410 base station
Note! The PC card/PCMCIA-card used must comply with the relevant regulations for such
cards in the country where it is used. The unit must be supplied by power supply (AC-DC
adapter) powerbox SPN-270-12, which complies with the requirements for limited power
source according to IEC/EN 60950.
Encryption
Select Encryption if you want to use WEP encryption on your Wireless LAN connection.
Increased encryption level will decrease performance.

4 Administrator Settings
133
Use
Key: Select which of the keys shown below you want to use.
Key 1-
4 The 64-bit keys can consist of a leading star (*) and 5 characters.
The 128-bit key can consist of a leading star (*) and 13 characters.
Start with a * and then the text. Example: 128 bit key: *secretkeyhome.
Encryption using Hex numbers The 64-bit keys can consist of 10 hexadecimal digits. Example:
“de01ad4dbe”. The 128-bit key can consist of 26 hex numbers.

TANDBERG COMPASS MXP / UTILITY MXP
134
4.8.2.5 SNMP Settings
SNMP Settings
SNMP Trap Host identifies the IP-address of the SNMP manager. SNMP (Simple Network
Management Protocol, SNMP Ver 1) is used for monitoring and configuring of different entities in
a network. The system's SNMP Agent responds to requests from SNMP Managers (a PC
program etc.). SNMP traps are generated by the agent to inform the manager about important
events.
Traps can be sent to multiple SNMP Trap Hosts. Enter the IP address of up to three SNMP
managers. All traps will then be sent to the hosts listed.
SNMP Community names are used to authenticate SNMP requests. SNMP requests must have a
‘password’ in order to receive a response from the SNMP agent in the codec. Note that the
SNMP Community name is case sensitive. The default password is "public".

4 Administrator Settings
135
4.8.2.6 IP Services
NTP IP
This is the NTP time server address from which the system can get updated time information.
This is a requirement for proper operation if H.235
authentication is implemented.
The Network Time Protocol (NTP) is used to synchronize the time of the system to a reference
time server. The NTP IP setting holds the IP address to a time source where the system can get
the exact time. The time server will subsequently be queried every 24th hour for time updates.
The system will use the time to timestamp messages transmitted to Gatekeepers or Border
Controllers requiring H.235 authentication.

TANDBERG COMPASS MXP / UTILITY MXP
136
4.8.2.7 Quality of Service
QoS Type
Off No QoS is used.
Diffserv Diffserv QoS method is used. Please see below for details.
IP
Precedence IP Precedence QoS method is used. Please see below for details.
IP Precedence Video
Used to define which priority audio, video, data and signaling should have in the network. The
higher the number, the higher the priority. The priority ranges from 0(off) - 7 for each type of
packets.
Auto will provide the following priority:
Audio
Video
Data
Signaling
4
4
3
6
IP Type of Service (TOS) helps a router select a routing path when multiple paths are available.
Delay
Tells the router to minimize the delay.
Throughput
Tells the router to maximize the throughput.
Reliability
Tells the router to maximize the reliability.
Cost
Tells the router to minimize the cost.
IP Precedence Telephony
Used to define which priority audio should have in the network for telephone calls. The higher the
number, the higher the priority. The priority ranges from 0(off) - 7 for each type of packets.

4 Administrator Settings
137
Auto will provide the following priority:
Audio
4
Diffserv Video
Used to define which priority Audio, Video, Data and Signaling packets should have in an IP
network. The priority ranges from 0 to 63 for each type of packets.
Diffserv Telephony
Used to define which priority Audio packets should have in an IP network for telephone calls. The
priority ranges from 0 to 63 for each type of packets.

TANDBERG COMPASS MXP / UTILITY MXP
138
4.8.2.8 IEEE 802.1x
802.1X
The system may be connected to an IEEE 802.1x LAN network. Supported 802.1x protocols are
EAP-MD5, EAP-PEAP and EAP-TTLS. The 802.1x authentication are enabled by setting 802.1x
Mode to On.
On 802.1x authentication enabled
Off 802.1x authentication disabled
Anonymous Identity
The 802.1x Anonymous ID string is to be used as unencrypted identity with EAP types that
support different tunneled identity, EAP-PEAP and EAP-TTLS. The anonymous ID, if set, will be
used for the initial (unencrypted) EAP Identity Request.
Identity
The 802.1x Username is the username needed for 802.1x authentication.
Password
The 802.1x Password is the password needed for 802.1x authentication.
EAP-MD5
On The EAP-MD5 protocol is enabled
Off The EAP-MD5 protocol is disabled
EAP_TTLS
On The EAP_TTLS protocol is enabled
Off The EAP_TTLS protocol is disabled
EAP-PEAP
On The EAP_PEAP protocol is enabled
Off The EAP_PEAP protocol is disabled
Note that 802.1x wireless LAN is not supported.

4 Administrator Settings
139
4.8.3 Network Profiles
This menu consists of 7 network profiles; a prefix can be added for each profile. If you add a
prefix to a profile, this prefix will automatically be added in front of the number being dialed.
Example:
0 is added as a Call Prefix to the 2nd profile, ISDN. If you enter 12345678 in the dial menu
and select ISDN, the number dialed will be 012345678.
Using the three last profiles you can enter the name of a profile, prefix and network selection.
This is useful if you have a fixed prefix for your service provider.

TANDBERG COMPASS MXP / UTILITY MXP
140
4.8.4 Restore Default Settings
Restore Default Settings will restore all administrator settings. Note that this will not affect your
Call Directory information, Network Type, Line Setup numbers or your SPID numbers.
Note that when holding the headset / speaker button while turning on the power, and while the
notification lamp is flashing, it is possible to press:
The number button 1 to restore default values.
The number button 2 to reformat flash disk.
The number button 3 to swap images.
While the notification button is flashing even faster, press the # button in order to confirm the
choice.

TANDBERG COMPASS MXP / UTILITY MXP
142
5.1.1 Video
1 Video Input
1 VGA/DVI-I (DVI = Digital Video Interface, I = Integrated Digital & Analog) input
supporting resolutions SVGA (800x600), XGA (1024x768) and SXGA (1280x1024),
analog or digital.
DVI and specifications:
DVI stands for Digital Video Interface, and is a form of video interface technology made to
maximize the quality of flat panel LCD monitors and high-end video graphics cards.
The TANDBERG codec contains a DVI-I plug that can transmit either digital DVI signals or
standard analog VGA signals, depending on what type of monitor is connected.
DVI Specifications
TANDBERG DVI-I follows the VESA Monitor Timing Standard v1.08, also knows as Display
Monitor Timing (DMT).
Analog Horizontal
Frequency Vertical
frequency Pixel
Clock
800x600 @
75Hz 46.875kHz 75.00Hz 49.50MHz
1024x768
@ 60Hz 48.363kHz 60.004Hz 65.00MHz
Digital
800x600 @
75Hz 46.875kHz 75.00Hz 49.50MHz
1024x768
@ 60Hz 48.363kHz 60.004Hz 65.00MHz
Table 6. DVI-I Video resolution supported in F1 and above

5 Interfaces
143
Supported DVI cables:
TANDBERG supports DVI-D Single-Link, DVI-A and DVI-I Single-Link format cables.
DVI-D cables transmit digital T.M.D.S. signals, DVI-A cables transmit analog VGA signals and
DVI-I cables can transmit either digital or analog signals.
It is possible to extend existing DVI cables by the use of extension cables. The maximum cable
length however, is 5 meters. Going beyond that may result in quality loss.
Pin Signal
Assignment Pin Signal
Assignment Pin Signal
Assignment
1 T.M.D.S.
Data2- 9 T.M.D.S.
Data1- 17 T.M.D.S. Data0-
2 T.M.D.S.
Data2+ 10 T.M.D.S.
Data1+ 18 T.M.D.S. Data0+
3 T.M.D.S.
Data2/4 Shield 11 T.M.D.S.
Data1/3 Shield 19 T.M.D.S.
Data0/5 Shield
4 T.M.D.S.
Data4- 12 T.M.D.S.
Data3- 20 T.M.D.S. Data5-
5 T.M.D.S.
Data4+ 13 T.M.D.S.
Data3+ 21 T.M.D.S. Data5+
6 DDC Clock 14 +5V Power 22 T.M.D.S. Clock
Shield
7 DDC Data 15 Ground (return
for +5V, HSync
and VSync)
23 T.M.D.S. Clock+
8 Analog Vertical
Sync 16 Hot Plug Detect 24 T.M.D.S. Clock-
C1 Analog Red C2 Analog Green C3 Analog Blue
C4 Analog
Horizontal
Sync
C5 Analog Ground
(analog, R, G &
B return)
Table 7. DVI-I - Combined Analog and Digital Connector Pin Assignments.

TANDBERG COMPASS MXP / UTILITY MXP
144
5.1.2 Audio
All audio inputs are active by default. For further information, refer to chapter Audio.
Headset
1 headset connector, 2.5mm 3-pole mini-jack.
The headset plug must have the following configuration:
Tip: microphone output
Ring: earphone (receiver input)
Sleeve: common/ground
Headsets with the microphone positioned in front of the user’s mouth, connected to the earphone
through a rod, tend to give more echo than earbud headsets with the microphone attached to the
cord. TANDBERG recommends the Plantronics MX100 headset (www.plantronics.com, products
→ mobile).

5 Interfaces
145
5.1.3 Network
Ethernet:
1 x Ethernet (RJ-45 Jack) LAN interface (10/100 Mb) up to 768kbps
To connect the system to a LAN, use the Ethernet cable provided by TANDBERG (or a standard
Ethernet cable).
The cable specification is:
1 ------------ 1
2 ------------ 2
3 ------------ 3
6 ------------ 6
If no LAN is available and the codec is connected directly to a computer, use a crossover cable.
The crossover cable specification is:
If such a connection is needed, the system and the PC must use ‘static’ TCP/IP settings because
no DHCP server is controlling the small “LAN”, which has been created between the computer
and the system. When configuring a back-to-back connection between the PC and the system,
make sure both static IP addresses exist on the same subnet.
ISDN BRI Interface:
ISDN I.420 (RJ-45 Jack) Basic Rate Interface S/T (2B+D), 128 kbps per ISDN I/F
To connect the system to BRI, use the ISDN cable provided by TANDBERG (or a standard BRI
cable).
The pinout of the S/T interface is:
BRI Pinout
Pin-3 TX+
Pin-4 RX+
Pin-5 RX-
Pin-6 TX-

TANDBERG COMPASS MXP / UTILITY MXP
146
6 Appendices
Appendices:
Appendix 1: Technical Specification
Appendix 2: Bandwidth Information
Appendix 3: Environmental considerations
Appendix 4: Guidelines for setting up videoconferencing rooms
Appendix 5: Security
Appendix 6: Using the file system
Appendix 7: Web Interface
Appendix 8: Connecting the system to ISDN using NT1 network adapters
Appendix 9: Remote control
Appendix 10: CallManager registration
Appendix 11: Diagnostic Tools for IP
Appendix 12: System Upgrade
Appendix 13: Declaration of Conformity

6 Appendices
147
Appendix 1
Technical Specification
UNIT DELIVERED COMPLETE WITH:
Wireless remote control, built-in camera, microphone,
speakers, cables, 12.1" LCD screen, robust cabinet,
LED light source
LCD SCREEN
Wide view angle screen
XGA resolution
Auto or manual brightness
Display Area (mm) 245.8 x 184.3 (12.106-inch diagonal)
Number of Dots 1024 x 3 (H) x 768 (V)
Pixel Pitch (mm) 0.240 (H) x 0.240 (V)
Color Pixel Arrangement RGB vertical stripe
Display Mode normally white
Optimum Viewing Angle (Contrast ratio) 6 o'clock
Brightness (cd/m2) 300
BANDWIDTH (770/880/990)
H.320 up to 384 kbps
H.323 up to 768 kbps
SIP up to 768 kbps
FIREWALL TRAVERSAL
TANDBERG Expressway TechnologyTM
Auto NAT
VIDEO STANDARDS
H.261, H.263, H.263+, H.264
VIDEO FEATURES
Intelligent Video Management
Picture in Picture (PIP)
Dual Monitor Emulation (Side by Side)
PC Zoom
Simultaneous videoconference & local PC mode
VIDEO INPUTS (1 INPUT)
Built-in main camera
1 x DVI-I/SXGA: PC
Input: 800 x 600 (@ 60, 72, 75, 85 Hz), 1024 x 768
(@ 60, 70, 75 Hz), 1280 x 1024 @ 60 Hz
Extended Display Identification Data (EDID)
VIDEO FORMAT
NTSC, PAL, VGA, SVGA, XGA, or SXGA
LIVE VIDEO RESOLUTIONS
NATIVE NTSC:
4SIF (704 x 480 pixels), Digital Clarity
SIF (352 x 240 pixels)
NATIVE PAL:
4CIF (704 x 576 pixels), Digital Clarity
CIF (352 x 288 pixels)
QCIF (176 x 144 pixels)
SQCIF (128 x 96 pixels) receive only
SECURITY FEATURES
Management via HTTPS
IP Administration Password
Menu Administration Password
Dialing Access code
Streaming password
H.243 MCU Password
VNC password
SNMP security alerts
Disable IP services
MD-5 Challenge
Network settings protection
SIP Authentication via NTLM and Digest Authentication
IEEE 802.1x
NETWORK INTERFACES
3 x ISDN BRI (RJ-45), S-inter face
1 x LAN / Ethernet (RJ-45) 10/100 Mbit
(LAN / DSL /cable modem)
1 x PC card slot (PCMCIA) for wireless LAN
1 x USB
WIRELESS LAN SUPPORT
Compliant with IEEE 802.11b, up to 11 Mbit
Support for 64 / 128 bit encryption (WEP)
Infrastructure or ad-hoc mode
ETHERNET / INTERNET / INTRANET CONNECTIVITY
TCP / IP, DHCP, ARP, FTP, Telnet, HTTP, HTTPS,
SOAP and XML, MD-5 Challenge
SNMP Enterprise Management
Internal web server
Internal streaming server
OTHER MAJOR STANDARDS SUPPORTED
H.231, H.233, H.234, H.235 v2&v3, H.239, H.241,
H.243,
H.281, BONDING (ISO 13871), H.320, H.323, H.331
RFC 3261, RFC 2237, RFC 3264, RC 3311, RFC 3550,
RFC 2032, RFC 2190, RFC 2429, RFC 3407, H.460.18,
H.460.19
CAMERA
1/4" CCD
752(H ) x 582(V) resolution
Lens: f=4mm F1:1.2
64° horizontal field of view
49° vertical field of view
Minimum illumination 5.0 lux (video output 50%, AGC
on)
Manual focus
CLOSED CAPTIONING/TEXT CHAT
T.140 text chat available from Telnet,
Web and User Inter face

TANDBERG COMPASS MXP / UTILITY MXP
148
NATIVE PC RESOLUTIONS:
XGA (1024 x 768 pixels)
SVGA (800 x 600 pixels)
VGA (640 x 480 pixels)
STILL IMAGE TRANSFER
CIF, SIF, 4CIF (H.261 Annex D), 4SIF, VGA, SVGA,
XGA
AUDIO STANDARDS
G.711, G.722, G.722.1, G.728, 64 bit MPEG4 AAC-LD
AUDIO FEATURES
CD-Quality 20KHz Mono
Automatic noise reduction
Acoustic echo canceller
Automatic gain control
Packet loss management
Active lip synchronization
GSM / Blackberry noise filter
PRIVACY FEATURE
Headset, 2.5 mm mini jack
FRAME RATES
30 frames per second @ 168 kbps and above
DUAL STREAM
Duo Video & H.239
Available on H.323 & H.320
NETWORK FEATURES
Auto H.320 / H.323 dialing
SIP
Downspeeding
Programmable network profiles
Intelligent Call Management
Maximum call length timer
Automatic SPID and line number configuration
(National ISDN, GR-2941-CORE)
SoftMux
URI Dialing
IP version 6
EMBEDDED ENCRYPTION
H.320 and H.323 point-to-point calls
Standards-based: H.233, H.234, H.235 v2&v3,
DES and AES
NIST-validated AES
NIST-validated DES
Automatic key generation and exchange
Supported in Dual Stream
IP NETWORK FEATURES
H.235 Authentication
Differentiated Services (DiffServ)
Resource Reservation Protocol (RSVP)
IP precedence
IP type of service (ToS)
IP adaptive bandwidth management
(including flow control)
Auto gatekeeper discovery
Dynamic playout and lip-sync buffering
Intelligent Packet Loss Recovery (IPLR)
H.245 DTMF tones in H.323
Cisco Call Manager integration using ECS
IP Address Conflict Warning
PRESENTATIONS AND COLLABORATION
Natural Presenter Package including:
PC Presenter (DVI-I, SXGA In)
PC SoftPresenter
Digital Clarity & Native Formats
Dual Monitor Emulation (Side by Side)
Streaming compatible with Cisco IP/TV, Apple
QuickTime®, RealPlayer® v8 etc.
SYSTEM MANAGEMENT
Support for the TANDBERG Management Suite
Total management via embedded web server, SNMP,
Telnet, FTP and SOAP
Remote software upload :via web server or FTP server
DIRECTORY SERVICES
Support for Local, Global and Dynamic Server
Directories
Unlimited entries using Server directory* supporting
LDAP
and H.350
400 number global directory
200 number local directory
Last Number Called
Call History
Directories in Local Languages
16 SELECTABLE MENU LANGUAGES
English, German, French, Norwegian, Swedish, Italian,
Spanish, Portuguese, Simplified Chinese, Traditional
Chinese, Japanese, Russian, Korean, Finnish, Thai and
Arabic
CUSTOMIZED BOOT UP LOGO (JPEG)
POWER
Auto-sensing power supply
100 – 250 VAC, 50 – 60 Hz
45 watts max.
OPERATING TEMPERATURE AND HUMIDITY
0° C to 35° C (32° F to 95° F) ambient temperature
10% to 90% Relative Humidity (RH)
STORAGE AND TRANSPORT TEMPERATURE
-20° C to 60° C (-4° F to 140° F) at RH 10-90% (non-
condensing)
APPROVALS
Directive 73/23/EEC (Low Voltage Directive)
-Standard EN 60950
Directive 89/336/EEC (EMC Directive)
-Standard EN 55022, Class B
-Standard EN 55024
-Standard EN 61000-3-2/-3-3
Directive 1999/5/EEC (R&TTE Directive)
-Standard TBR3
Approved according to UL 60950 and
CAN/CSA C22.2 No. 60950
Complies with FCC15B Class B
6 Appendices
149
PRODUCT RELIABILITY / MTBF
The predicted reliability is expressed in the expected random Mean Time Between Failures (MTBF) for the electronic
components based on the Power On Hours:
Power On Hours (POH) > 69 000 hours
Useful Life Cycle > 6 years
ISO 9001 certificate is available upon request
* Requires TANDBERG Management Suite 9.0 or newer
System features vary depending on network selection and software package. All specifications subject to change without
notice. TANDBERG is a registered trademark or trademark of TANDBERG in the U.S. and other countries. RealPlayer is
a trademark or a registered trademark of RealNetworks, Inc. QuickTime is a registered trademark of Apple Computer,
Inc., registered in the U.S. and other countries. Microsoft and NetMeeting are either registered trademarks or trademarks
of Microsoft Corporation in the United States and/or other countries. All other trademarks are property of their respective
owners. Contains iTypeTM from Agfa Monotype Corporation
Service availability may vary from region to region. Please contact your TANDBERG reseller for more information.

TANDBERG COMPASS MXP / UTILITY MXP
150
Appendix 2
Bandwidth information for TANDBERG Compass / Utility MXP
Utility / Compass MXP
Bandwidth
Point to
point
ISDN / IP
Standard: 768 (IP only)
Options: 128 / 768, 384
/ 768
MultiSite Not Available
Rate
Matching Not Available
Dual
Stream
(DuoVideo
/ H.239)
Standard
Secure
Conference
All bandwidths
H.264 Up to 768
Picture
Mode
MultiSite
Not Available

6 Appendices
151
Appendix 3
Environmental considerations
This section explains how to carry out basic adjustments and simple tests to ensure that you send
and receive the best possible image and audio quality when using your system.
Iris control and lighting
By default the system camera will use an automatic iris to compensate for changes in lighting. In
addition to this feature, you may further assist the system to maintain the best possible image
quality by paying special attention to environmental lighting and background colors as described
below. Remember the system will send live images of yourself and your immediate surroundings.
Avoid direct sunlight on the subject matter i.e. yourself, the background or onto the
camera lens as this will create harsh contrasts.
If light levels are too low you may need to consider using artificial lighting. As described
above, direct illumination of the subject matter and camera lens should be avoided.
When using artificial lighting, daylight type lamps will produce the most effective results.
Avoid colored lighting.
Indirect light from shaded sources or reflected light from pale walls often produces
excellent results.
Avoid harsh side lighting or strong light from above. Strong sunlight from a window or
skylight may put part or all of the subject matter in shadow or cause silhouetting.
If you still have problems with the iris and lighting, manual adjustment of the camera
parameters might help – see Video Settings menu.
Dim scenes can also be improved by manually adjusting the camera brightness setting.
Background
The appearance of the picture background is very important but easily overlooked. It is important
to remember that the camera also shows what is behind you when in a videoconference. To
ensure a suitable background we recommend you consider the following:
Use a neutrally colored background with a medium contrast and a soft texture, e.g. a
plain curtain with no heavy patterns or strong colors that may adversely tint the whole
scene.
Avoid moving backgrounds such as curtains blowing in a draught, moving objects, or
people walking behind as this may both reduce image quality and distract the attention of
the calling party.
Do not place the camera facing a doorway.
Loudspeaker volume
The audio system will use the Digital Natural Audio Module (DNAM) if available and supported by
the system. The volume of the audio system is controlled by the Volume Control keys on the
system remote control.

TANDBERG COMPASS MXP / UTILITY MXP
152
Appendix 4
Guidelines for setting up videoconferencing rooms
The following are a set of guidelines to consider when either building a videoconferencing room,
or using an existing room for videoconferencing.
Lighting:
Low Contrast desired for light
intensity. No dark spots.
Intensity @ table 800 - 1400 Lux as
measured with an Incident light
meter.
Block sunlight from entering room.
Seating Area (Table):
Should allow all participants to see
Monitors.
Should allow camera to “see” all
participants.
Non-shiny non-patterned preferably
light grey surface (if table used).
Walls:
Color: Generally high contrast color
desired. Light blue is commonly
used.
Acoustically reflective surfaces (such
as glass or concrete) should be
covered with curtains or sound
treatment.
Audio:
Noise Floor preferred less than
44dBC.
Reverb Time 0,3 to 0,5 sec.
Ventilation:
Keep in mind Noise Floor.
Velocity = Noise. Therefore keep
velocity of air low.
Room:
Should be located away from noise.
Should not have windows.
Doors should be located off camera.
How to prepare a typical room for videoconferencing:
The illustration below shows the principles of a typical room designed to obtain the best results
when using a videoconference system.

6 Appendices
153
Figure 6-1. Video conferencing room.
If the system has a separate microphone, it should be placed at the front of the table to ensure
that all speech will be detected. The best position for the microphone is at least 2 meters (6.5
feet) in front of the system on a plain, flat table with at least 0.3 meters (12 inches) of table in front
of the microphone.
The document camera should be close to the chair person or a designated controller of the
document camera for ease of use (remember to arrange all the peripherals so that one participant
can reach each of them to point, change the display, tape, and so forth).
The camera supports up to 15 pre-stored camera positions.
The illustration shows three possible camera positions; one for all the participants, one for the
whiteboard and one for the main speaker. The remaining camera presets are then available for
other peripheral equipment, for example a VCR.
Position the system in such a way as to avoid the possibility of somebody inadvertently walking
into the camera’s field of view when entering the room. Other than the conference participants,
there should be no moving items in the sent image.

TANDBERG COMPASS MXP / UTILITY MXP
154
Appendix 5
Security
The system has several features both to protect from unauthorized use and system access:
Access Code:
When Access Code is enabled, the user will be asked to enter an access code before he/she is
able to make a call. The system will verify if the entered access code is valid by checking the
code with the allowed codes listed in the access.txt file on the ftp-server in the system. If no
access.txt file is uploaded to the system, registration of the code will be done without validation.
E.g. you can enter whatever code you want and have access to the system.
The access.txt file is a plain text file with one line per access code as shown below:
1234
1250
A1
B2
ABC
To upload this file to the system, follow these steps:
Open a DOS-window and go to the folder where the ‘access.txt’ file is located.
Type ftp <IP-address of your local system).
User: press Enter or enter IP-password.
Type “bin” and press Enter.
Go to the user folder, type “cd user”.
Upload the ‘access.txt’ file, type ‘put access.txt’.
Exit from ftp, type "bye".
Administrator Password
Access to the administrator menu on the system unit can be controlled using password
protection. You can set the Administrator Password in Menu Settings, in Security or from the
dataport:
menupassword set <pin-code>. The pin-code should be maximum 5 - five digits. To erase the
password, enter an empty pin-code.
Streaming password
By setting a streaming password in the streaming menu on the system, a password has to be
entered on the streaming client to be able to see the video stream from the system.
6 Appendices
155
IP Password
By setting an IP Access Password on the system, all access to the system using IP (Telnet, FTP
and WEB) requires a password. This password can be enabled from telnet or dataport using the
command: ippassword <ip-password>. The default IP username and password is "TANDBERG".
To remove this password, use the command: "ippassword ”. From telnet, this is only possible by
first entering the correct password.
IP Services
The different IP services on the system - FTP, Telnet, Telnet Challenge, HTTP, HTTPS, SNMP
and H.323 can be disabled to prevent access to the system. By using the commands below, the
services can be independently enabled/disabled:
xconfiguration Telnet/TelnetChallenge/FTP/HTTP/HTTPS/H323 Mode: <On/Off>
xconfiguration TelnetChallenge Mode: <On/Off> [port]
xconfiguration SNMP Mode: <On/Off/ReadOnly/TrapsOnly>
SNMP Security alert
This function will notify any Management Application (such as TMS - TANDBERG Management
Suite) if anyone tries to perform Remote Management on the system using an illegal password.
The Security alert that is sent to the Management Application will contain information about the IP
address and the service (WEB, Telnet, FTP) being used for the attempt. If TMS is used, email
notifications or alarms about the attempt can be sent to specified persons.
Encryption
All TANDBERG systems support both AES and DES encryption. By default this feature is
enabled such that when connecting with any other video system or MCU, a TANDBERG system
will attempt to establish a secure conference using AES or DES encryption. The TANDBERG
system will attempt this for both IP and ISDN connections. Where a remote system or MCU
supports encryption, the highest common encryption algorithm will be selected on a port-by-port
basis.
The type and status of the encryption negotiated is indicated by padlock symbols and on-screen
messages. Encryption on the TANDBERG systems is fully automatic, and provides clear security
status indicators;
An open padlock indicates that encryption is being initialized, but the conference is not
yet encrypted.
Single padlock indicates DES encryption.
Double padlock indicates AES encryption.
In addition to on-screen indicators the Call Status menu provides two information fields regarding
call encryption. The first field is the Encryption Code, which will identify either AES or DES. The
second field is the Encryption Check Code and is comprised of an alphanumeric string. This
string will be the same for systems on either side of an encrypted conference. If the Check Codes
do not match, this would indicate that the call has been exposed to a Man In The Middle attack.
When a system with MultiSite functionality hosts a conference, the highest possible encryption
algorithm will be negotiated on a site-by-site basis. MultiSite conferences can therefore support a
mix of AES and DES encrypted endpoints in the same conference. A conference will only be as
secure as its weakest link.

TANDBERG COMPASS MXP / UTILITY MXP
156
All systems supporting DES encryption can upgrade to AES encryption. Please contact your
TANDBERG representative for more information. The standards supporting the encryption
mechanisms employed by TANDBERG are: AES, DES, H.233, H234 and H.235 (H235v3 & v2 for
backwards compatibility) with extended Diffie Hellman key distribution via H.320, H.323 and
Leased Line connections.
The TANDBERG AES implementation is validated as conforming to the Advanced Encryption
Standard (AES) Algorithm, as specified in Federal Information Processing Standard Publication
197, Advanced Encryption Standard, by The National Institute of Standards and Technology
(NIST).
IEEE 802.1x / EAP (Extensible Authentication Protocol)
This is a standard for authentication and authorization of units/systems onto the network.
Static configuration
System ID and Password
Anonymous ID for encryption challenge
Enable methods
Supported methods
MD5 (simple challenge)
PEAP (encrypted channel)
TTLS
Note that 802.1x wireless LAN is not supported.

6 Appendices
157
Appendix 6
Using the file system
It is possible to access a file system within the TANDBERG system by using ftp:
DOS-
window: ftp <IP-address of system>, or
Web-
browser: ftp:// <IP-address of system>
Description of the different files:
all.prm all settings in the system (including directory)
dir.prm directory entries (up to 200 entries)
event.log logs fault situations etc.
sw.pkg the system software
globdir.prm file containing up to 400 entries. These entries can not be edited from the
system, but can be edited as a text-file.
Custom logos
Go to the folder where your logo is located.
Type “ftp <IP-address of your local system>”.
Go to the user folder, type “cd user”.
Upload the logo, type "put <logo.jpg>".
The new logo will be displayed the next time you restart your system. Recommended maximum
size is: 704x576, file-format: jpg. If the file is too large, no logo will be displayed.

TANDBERG COMPASS MXP / UTILITY MXP
158
Appendix 7
Web Interface
It is possible to access and maintain the system remotely via a local area network (LAN) using a
standard Web-browser. Connect your system to a LAN with a Network cable.
How to configure your system for web interface:
1. Open Administrator Settings and choose Network\LAN Settings
2. Specify IP-assignment DHCP or Static. If DHCP is selected, no other settings are
needed. If Static is selected, IP-address, IP-subnet mask and Gateway must be
specified.
3. Start your Web-browser. In the address field type the IP-address of the system. Enter the
password and the Web-page of the system will be shown. The default password is
TANDBERG.
4. Restart the system. Choose Restart from the Control Panel.
Example:
IP-assignment: Static
IP-address: 196.9.200.129
IP-subnet mask: 255.255.255.0
Gateway: 196.9.200.21

6 Appendices
159
Appendix 8
Connecting the system to ISDN using NT1 network
adapters
Connecting
Connect the first ISDN cable from ISDN 1 on the system to the S-interface on your first
NT1 network adapter. Connect the other ISDN cables to the appropriate NT1 network
adapters. Connect the U-interface of your NT1 adapter to the line provided from your
network provider.
For convenience the NT1 adapters could be placed inside the cabinet. If needed, use
the shorter ISDN cable (RJ45 connectors) delivered with the NT1 between the codec
and the NT1 and the longer ISDN cable between the NT1 and the connector (RJ45) at
the wall socket.
Configuring
The configuration of the system is performed in the same manner as described in
ISDN BRI Settings.
The NT1 should be powered up and you should check that the network is active.
Please check your NT1 User Manual.
Figure 6-2. Connecting to ISDN using NT1.

TANDBERG COMPASS MXP / UTILITY MXP
160
Appendix 9
Remote Control (TRC 3)
The TANDBERG remote control transmits IR-signals using the following parameters:
Protocol Siemens SDA2208
Reference frequency 485kHz
Address 4 & 7
IR wavelenght 940nm
IR carrier ferquency 30kHz

6 Appendices
161
Remote Control keycode map:
Button codes Remote control Button codes Remote Control
Decimal Hex Address Button name Decimal Hex Address Button
name
0 00 33 21 0 OK
1 01 0 NUMBER 1 34 22 0 CALL
2 02 0 NUMBER 2 35 23 0 END
CALL
3 03 0 NUMBER 3 36 24 0 PHONE
BOOK
4 04 0 NUMBER 4 37 25 0 MENU
5 05 0 NUMBER 5 38 26 0 CANCEL
6 06 0 NUMBER 6 39 27 0
7 07 0 NUMBER 7 40 28 0 PRESETS
8 08 0 NUMBER 8 41 29
9 09 0 NUMBER 9 42 2A
10 0A 0 NUMBER 0 43 2B
11 0B 0 * 44 2C
12 0C 0 # 45 2D
13 0D 46 2E
14 0E 47 2F
15 0F 48 30
16 10 49 31
17 11 PRESENTER 50 32
18 12 0 51 33
19 13 52 34
20 14 53 35
21 15 54 36
22 16 0 ZOOM OUT 55 37
23 17 0 ZOOM IN 56 38
24 18 57 39
25 19 0 VOLUME
DOWN 58 3A
26 1A 0 VOLUME UP 59 3B
27 1B 0 MIC OFF 60 3C
28 1C 61 3D
29 1D 0 UP 62 3E
30 1E 0 DOWN 63 3F 0 WAKE UP
31 1F 0 LEFT 25 19 3 LOW
BATT
32 20 0 RIGHT XX 3 PROG
VER

TANDBERG COMPASS MXP / UTILITY MXP
162
Appendix 10
Cisco CallManager registration
Configuring an H.323 client on the CallManager 4.0
The registration of a H.323 client in CallManager is supported on the CallManager (CCM) 4.0
software and forward.
1. To configure the CallManager with an H.323 client, log on to the administration web
interface and go to the phone configuration page.
2. The Phone configuration page is located on: device (top menu) -> Add a New device ->
Phone -> H.323 Client.
3. In the phone configuration page type the IP address of the TANDBERG system in the
Device name field, select device pool and push the insert button.
4. A pop-up box will now appear on the screen and ask you if you would like to configure
the directory number. Push the ok button.
5. You should now see the Directory Number Configuration WEB page. Enter the
E.164/phone number of your TANDBERG system in the Directory number field, and in
the “Forward and Pickup Settings” enter the time of “No Answer Ring Duration”. The time
selected has to have a value from 1 to 300 seconds.
6. Push the Add button to update the CallManager with the directory number settings.
You have now configured the CallManager with a H.323 client and should be able to register the
TANDBERG system to it.When the TANDBERG system is registered to a CallManager, it will be
possible to place and receive calls from this system to any other video and voice systems that are
registered on the same CallManager.

6 Appendices
163
Appendix 11
Diagnostic Tools for IP
To use these tools, will require using a PC and setting up a telnet session towards the system.
Q.931
To show Q.931 trace during a call you need to issue the command ‘syslog on’.One can get traces
for RAS, Q.931 and H.245 with this command. It is a complex trace and requires an extensive
knowledge in H.323 signalling to be understood.
Ping
Ping is used to see if the system is able to reach a specific IP-address, using a mechanism in IP
called ICMP. If the system is unable to register to its gatekeeper, or if it is unable to dial a specific
endpoint, one can use ping to see if there is at least an IP-route to the gatekeeper or to the
endpoint. In case you have problems, one would first ping the default gateway, then the
gatekeeper, and then the other endpoint.
Traceroute
Traceroute does exactly that; it traces the route an IP-packet takes to reach its destination and
displays all router hops. Traceroute is very useful for seeing exactly where there is a routing-
problem in the IP-network, and for checking where transport-delay is introduced.
Layer 4 Ports used in H.323 calls
The layer 4 ports used by the system in a H.323 call can be defined as follows:
Dynamic: The ports are allocated at random from 2048 to 65535.
Static: Will use the predefined layer 4 ports listed in the tables below.
Function Port Type
Gatekeeper Discovery (RAS) 1719 UDP
Q.931 Call Setup 1720 TCP
H.245 Range 5555-5565 TCP
Video Range 2326-2341 UDP
Audio Range 2326-2341 UDP
Data/FECC Range 2326-2341 UDP
Table 8. Point-to-point + Duo Video.

TANDBERG COMPASS MXP / UTILITY MXP
164
Function Port Type
Gatekeeper Discovery (RAS) 1719 UDP
Q.931 Call Setup 1720 TCP
H.245* Range 5555-5565 TCP
Video Range 2326-2405 UDP
Audio Range 2326-2405 UDP
Data/FECC Range 2326-2405 UDP
Table 9. MultiSite + Duo Video.
(*) Note: While using MultiSite, if a site is disconnected and reconnected without terminating the
entire conference, the next site to be connected will have a H.245 port outside of the specified
range. If this functionality is required through a firewall, the range of TCP ports can be extended
past 5564. However, if a site is disconnected and reconnected, without ending the conference
enough times one can quickly end up outside of this range again.

6 Appendices
165
Appendix 12
System Upgrade
Before starting the software upgrade of the TANDBERG MXP system, please make sure to have
the new software file, (for instance s050000F30.pkg) and the Release Key for this software
available. Your TANDBERG Partner will provide this for you.
All options and settings will automatically be stored when upgrading, so no backup is necessary.
If the system upgrade process is aborted before it's complete, the system will work as normal with
the original software
The TANDBERG MXP systems can be upgraded in three different ways;
Using the web interface
Using FTP
Using ISDN
A) To upgrade using the the web interface, please do the following steps:
1. Type the IP address of the TANDBERG MXP system that shall be upgraded (for instance
10.0.8.77) in a standard browser, such as Internet Explorer 6.0.
2. The web interface of the codec will then be displayed. Select the ‘System Configuration’ tab on
top of the page, and then the sub-tab ‘Upgrade’.

TANDBERG COMPASS MXP / UTILITY MXP
166
The following page will now be displayed:
Figure 6-3.
3. Enter the Release key in the ‘Release Key’ field and press the ‘Install Software’ button.

6 Appendices
167
A new page will now be displayed:
Figure 6-4.
4. Type in the path to where the new software file is stored, or select the file by using the ‘Browse’
button.
5. The progress for the sw upgrade can be tracked by pressing the ‘telnet’ link in the help text box
BEFORE pressing the install button. Please note that this is not a necessary action for a
successfull software upgrade. An indication of the software upgrade progress will also be shown
on the display of the system
6. Press the ‘Install’ button to start the software upgrade.
When the software upgrade is complete, you need to click on the restart button and press OK to
restart the system in order to activate the new software. Once verified, the system will reboot
once more to complete the upload of all systems parameters kept from the old software revision.
7. To verify that the new sw is installed, refresh the page shown in figure1 after restart. The
‘Software Version’ should now show the new software version uploaded to the system. The same
information can also be found in the menu on the system under ‘Control Panel/System
Information’.
B) Upgrading using FTP:
1. Copy the new software file to a folder on your harddisk, for instance c:\software.
2. Open a DOS window, and go to the folder where the new software is stored.
3. Type ftp <ip address of the TANDBERG MXP system>.
4. Type in the supplied ‘Release Key’ as user.
TANDBERG COMPASS MXP / UTILITY MXP
168
5. Type in your IP password (default is “TANDBERG”) as password.
6. Type ‘put <software file name> and press Enter. The new software file will now be
uploaded to the TANDBERG MXP system.
7. When the software upload is complete, end the ftp connection to the TANDBERG MXP
system by typing ‘bye’ in the DOS prompt.
8. To exit the DOS window completely, type ‘exit’
9. Restart the system to activate the new software.
C) ISDN Upgrade
The TANDBERG MXP systems has the possibility to be upgraded remotely from another
TANDBERG MXP system using ISDN. Please note that both systems must be on software
version F3.0 or newer for this functionality.
Please also note that both systems must be on software version F3.0 or newer for this
functionality
1. Connect to the system that shall be upgraded using ISDN
2. Copy the new software file to a folder on your computer, for instance c:\software.
3. Type the IP address of the TANDBERG MXP system that the software upgrade is going to be
done from (for instance 10.0.8.77) in a standard browser, such as Internet Explorer 6.0. The web
interface of the codec will then be displayed.
4. Select the ‘System Configuration’ tab on top of the page, and then the sub-tab ‘Far end
upgrade’.

6 Appendices
169
The following page will now be displayed:
Figure 6-5.
5. Enter the release key for the system to be upgraded in the ‘Release Key’ field. If no release
key is given, the Far End System will use the previously stored release key if possible. This will
work when upgrading from a main release to a dot release.
6 Make sure the setting “Far End System Upgrade” is set to “On” at the remote site. This setting
can be found in the Administrator Settings/General/Permissions menu.
7. Enter the password set at the far end for remote upgrade (default password is “TANDBERG”)
8. Press ‘Install Software' .The system will now use about 90% of the call capacity to transfer the
software file across. During this time, audio and video will be turned off.
9. Once the software has been transferred and verified at the far end, you will get a new webpage
with information that the upgrade of the far end was successful. At the same time, a message box
will appear at the remote system asking if you want to reboot the system to activate the new
software.
10. To activate the new software. The ISDN connection needs to be closed, and the TANDBERG
MXP system must be rebooted.
TANDBERG COMPASS MXP / UTILITY MXP
170
In the menu on the system under ‘Control Panel/System Information’, the installed software
should now be displayed as the ‘Software Version’.

6 Appendices
171
Appendix 13
Declaration of Conformity
Contact your TANDBERG representative for a Declaration of Conformity.
TANDBERG COMPASS MXP / UTILITY MXP
172
7 Glossary
#
199 AV1: External input for the TANDBERG/LOEWE monitor.
2nd monitor: The second monitor of your videoconferencing system. The second monitor is
normally placed on the right side of the first monitor.
4CIF: 4 times CIF, 704x576 pixels
4SIF: 4 times SIF, 704x480 pixels
A
AACLD: Advanced Audio Coding Low Delay
Access code: Use Access code to password protect outgoing calls.
Accessories box: The cabinet contains the following: W.A.V.E. camera, table microphone,
remote control and tracker and documentation.
Accessories drawer: See Accessories box
AES: Strong encryption. (Advanced Encryption Standard)
AGC: Automatic Gain Control. Maintains the audio signal level at a fixed value by attenuating
strong signals and amplifying weak signals. Very weak signals, i.e. noise alone, will not
be amplified.
Alert speaker: The internal speaker will warn you of an incoming call even though the monitor
may not be switched on.
Audio call: Audio call equals a telephone call. You can make a call with the video system with
audio only.
Audio input 4: Intended for connection to an external microphone amplifier or an external fixed
mixer.
Audio input 5: Intended for connection to external playback devices (or to telephone add-on
hybrids).
Audio input 6: Intended for connection to a VCR or DVD player or other external playback
devices.
Audio out 1: Intended for connection to TANDBERG Natural Audio, televisions or audio
amplifiers.
Audio out 2: Intended for connection to audio recording equipment (or to a telephone add-on
hybrid).
Audio out 3: Intended for connection to a VCR or other recording equipment.
Auto-display snapshot: Sent and received snapshot will automatically appear on full screen
display.
Auto answer: The system will automatically answer all incoming calls.
Automatic Duo Video: Duo Video Mode is put to Auto. When starting a presentation, Duo Video
will start automatically (if possible).
7 Glossary
173
B
Bandwidth: Decides the quality of the video call. High bandwidth gives high quality.
C
Call Control Data Triggered: Uses TxData, RxData and clock signals only. Use Data Triggered
when no handshake signal is available.
Call control Leased Line: Is a non-dialing protocol and should be used when two systems are
connected in a point-to-point connection. Use Leased Line when the handshaking signals
DTR and CD are available.
Call control Manual: Should be used when no handshake signals are available, and the external
equipment requires a constantly connected line.
Call control RS366 Dialing: The only dialing protocol and would normally be used together with
network clocking RS449/V35 Compatible when the external system uses RS2366 ports.
Call status: Comprehensive information about the call listing transmitted and received
audio/video/data information.
Camera tracking: Voice Activated Camera Positioning - the camera will automatically view the
current speaker.
Camera tracking mode: Voice Activated Camera Positioning - the camera will automatically
view the current speaker.
Chair control: Enables one participant to control the meeting by selecting which of the
conference participants that is to be broadcasted to the other participants.
Channel status: Comprehensive information about the call progress listing the numbers called,
and if an error occurs a cause code is displayed.
CIF: Common Intermediate Format, 352x288 pixels
Closed Captioning: Text chat.
Codec: The Codec is the heart of the system. The main task for the Codec is the compression of
outgoing video, audio and data, the transmission of this information to the far end, and
the decompression of the incoming information.
Continuous Presence: See Split Screen
Control Panel: The Control Panel is found in the main menu.
CSU: Channel Service Unit
D
Daisy-chaining: Use of several cameras in a video conference.
Dataport: The system provides two standard RS 232 data ports to allow a computer to be
connected for data transfer and control purposes.
Dataport 1: A standard RS 232 data port to allow a computer to be connected for data transfer
and control purposes.
Dataport 2: Dedicated to the main camera and will not be available in standard configuration.
DES: Encryption. (Data Encryption Standard)
DHCP: Dynamic Host Configuration Protocol.
TANDBERG COMPASS MXP / UTILITY MXP
174
Diagnostics: Allows testing of individual system components and displays the current system
settings.
Digital ClarityTF: Participants enjoy presentations of exceptionally high quality resolution video.
Disconnect site: As a Chairman, you get the option Disconnect site. Disconnect site allows you
to disconnect any participant in the conference.
Do Not Disturb: When Do Not Disturb is active the system will not accept any incoming calls.
The caller will hear a busy tone when calling the unit.
Document Camera: A document camera is an additional camera that is used for showing text,
diagrams as well as physical objects.
DownspeedingTF: If channels are dropped during a videoconferencing session, the connection
is automatically maintained without interruption.
dual monitor: The second monitor
Dual monitor system: A videoconference system with two monitors.
Duo VideoTF: Allows participants at the far end to simultaneously watch a presenter on one
screen and a live presentation on the adjoining screen.
E
E.164 Alias: The E.164 address of the system. Equivalent to a telephone number, sometimes
combined with access codes. The system will not register with the gatekeeper if the E164
alias is not set.
E1: Network type, 30 channels. Default for PAL versions.
Echo canceller: Continuously adjusts itself to the audio characteristics of the room and
compensates for any changes it detects in the audio environment.
Echo control: When set to On the far end is prevented to hear their own audio.
Encryption: Use encryption to make a secure call. The system will try to make point-to-point
calls using encryption. If the far end system supports encryption, the call will be
encrypted. If not, the call will proceed without encryption. (Auto encryption). Set
encryption to On if you don't want an unencrypted call to be established at all. Set
encryption to Off if you don't want to use encryption.
End view: Stop viewing the site previously chosen with View Site, and return the view to the site
that is currently On Air. Can be used by all conference participants.
Ethernet Speed: The speed (Mbps) on the connection from the system to the LAN.
F
Fallback to telephony: Enables fallback from video calls to telephony/speech calls.
Far End: In a video conference, Far End means the remote side of the conference. Far End
Camera is your conference partner's camera. Opposite to Near End
FECC: Far End Camera Control. When activated it is possible to control the far end's camera,
select video sources, activate presets and request still images.
Floor: In a multipoint call, use Request Floor to broadcast your picture to all other participants.
This is handy when you are having presentations, for teachers etc.
G
7 Glossary
175
G.711: Audio algorithm for normal quality audio (telephone quality, 3.1 kHz) The system will
always have G.711 enabled.
G.722: Audio algorithm for high quality audio (7 kHz).
G.722.1: Audio algorithm for compressed high quality audio (7 kHz)
G.728: Audio algorithm for compressed normal quality audio (telephone quality, 3.1 kHz)
Gateway: The gateway enables sites on IP and sites on ISDN to participate in meetings with
each other.
Global Phone Book: A phone book provided by TMS.
H
H.261: Video algorithm for legacy video compression and decompression. The system will always
transmit H.261
H.263: Video algorithm for normal video compression and decompression
H.264: Video algorithm for bandwidth-efficient video compression and decompression
Hardware serial number: A unique number (listed in the System Information menu) to identify
your system towards your TANDBERG representatives.
Humfilter: A highpass filter which reduces very low frequency noise.
I
iCIF: Interlaced CIF, 352x288 pixels, 50 fields per second
Incoming call: Someone calls in to your system
Incoming MCU Calls: If occupied in a call, the system will provide a visual/audio indication of an
incoming call and ask to accept or reject the call.
IP address: Defines the network address of the system. This address is only used in static mode.
IP assignment: IP-address, IP-subnet mask and Gateway are assigned by the DHCP server.
IP assignment Static: The system's IP-address and IP-subnet mask must be specified in the IP-
address field.
IP Precedence: Used to define which priority the system should have in the network. Higher
numbers indicate higher priority.
IP subnet mask: Defines the type of network. This address is only used in static mode.
IP TOS: IP Type Of Service. Helps a router select a router path when multiple paths are
available.
iSIF: Interlaced SIF, 352x240 pixels, 60 fields per second
L
Layout: Use the Layout key to change picture layout on the screen.
M
Main Camera: Your camera. Video input 1
TANDBERG COMPASS MXP / UTILITY MXP
176
Max call length: This feature will automatically end both incoming and outgoing calls when the
call time exceeds the length specified.
Max channels: Indicates the maximum number of channels the system is allowed to use on the
E1/T1 interface.
MCU: Multipoint Conference Unit.
MCU status line: Shows indicators for MultiSite, MCU and DuoVideo
MicOff: Microphone is switched off.
Mix mode: How to adjust the weighting of each microphone to obtain the best possible audio and
minimize the background noise.
Modem mode: (Dataport) Supports external control of the system via a PC as in Control Mode.
Once a call is established, Dataport 1 will automatically switch to Data mode. When the
call disconnects, Dataport 1 switches back to Control Mode.
MSN: Multiple Subscriber Number. Possible to attach different ISDN terminals, with different
numbers, to the same physical ISDN telephone line. The service can be ordered from the
telephone company.
multipoint call: A call with more than two participants including yourself
MultiSite: The TANDBERG systems internal MCU. Built-in system which makes it possible to
establish meetings with up to 6 video calls and 5 telephone calls. The MultiSite option is
not available on all systems.
MultiSite cascading: By connecting up to 4 or 6 (depending on the system capacity) MultiSite
systems together to achieve a higher number of participants in a multipoint call.
N
NAT: Network Address Translation. NAT support in the videoconferencing system enables proper
exchange of audio/video data when connected to an external videoconferencing system
when the IP traffic goes through a NAT router. Used in small LANs, often home offices,
when a PC and a videoconferencing system is connected to a router with NAT support.
NAT Address: The external/global IP-address to the router with NAT support. Packets sent to
the router will then be routed to the system's IP address.
Natural Audio ModuleTM: Designed to improve audio quality during a videoconference. It is
mounted in the cabinet above the Codec and consists of an audio system optimized for
speech.
Natural Presenter Package: Consists of Duo Video, Digital Clarity and PC Presenter.
Natural VideoTF: 60 fields per second true interlaced picture.
Near End: In a video conference, Near End means your own side of the conference. Near
Camera is your own camera. Opposite to Far End
Network clocking: Specifies the number of physical external clock signals.
Network Interface: Indicates if the network is of type E1 or T1.
Network profiles: It is possible to define up to 6 network profiles, each consisting of name and
call prefix, and 3 of them also include network selection.
Non Standard Facility: The network provider may require service selection in your ISDN
configuration. Valid NSF codes are from 1 to 31. 0 will disable NSF service codes.
NR: Noise Reduction. Reduces constant background noise (e.g. noise from air-conditioning
systems, cooling fans, etc.).
7 Glossary
177
NSF: Non Standard Facility.
NTSC: National Television System Committee. Video standard corresponding to 4SIF. Primary
used in USA, Japan and other countries.
O
Option Key: Required by the system to activate optional features such as MultiSite and
Presenter.
P
PAL: Phase Alternation by Line. Video standard corresponding to 4CIF. Primary used in Europe,
Middle East and Asia
Parallel dial: Channels will be dialed and connected in parallel when setting up a bonding call.
PC PresenterTF: An easily accessible PC connection plug. When connected the PC image is
displayed on the monitor.
PC SoftPresenterTF: Shows PC images via the LAN connection.
PIP: Picture-In-Picture
point-to-point call: A call with two participants including your self
POP: Picture Outside Picture. POP is a picture layout mode that is optimized for wide screens:
Full screen, 1+3 layout and emulated dual monitor layout.
Presentation: Presentation means to show another video source. Use the Presentation Key for a
predefined presentation source. Use the presentation menu to choose among all
available video sources.
Presentation source: The video source that is on display when you press the Presentation Key
on the remote control
Presets: Predefined camera positions (and video sources)
Q
QCIF: Quarter CIF, 176x144 pixels
QSIF: Quarter SIF, 176x120 pixels
R
Release Floor: To end the request floor function.
release floor to site: Allows the chairman to release the floor.
Remote: Short for Remote Control
Request Floor: The MCU will broadcast the video in full screen to all other participants in the
conference. If the MCU conference has a chairman, a request will be sent to the the
chairman.
Restart: Restarts the system.
Restore defaults: Restores system settings to the factory defaults.
Restricted call: A call to a 56 kbps network. By default the system will dial an unrestricted call (a
call to a 64 kbps network) and downspeed to 56 kbps if necessary.
TANDBERG COMPASS MXP / UTILITY MXP
178
S
S-VHS: S-video
S-video: The standard camera uses one of the S-video inputs in the codec.
Selfview: Outgoing video. In most cases, the image of your self.
Serial number: A unique number (the hardware serial number, listed in the System Information
menu) to identify your system towards your TANDBERG representatives.
Side-by-Side: Side-by-side view means that two pictures are displayed side by side each other
on the screen. You will se two equally sized pictures.
SIF: Standard Input Format, 352x240 pixels
SNMP: Simple Network Management Protocol.
SNMP Community: SNMP Community names are used to authenticate SNMP requests. SNMP
requests must have a password in order to receive a response from the SNMP agent in
the system. The SNMP Community name is case sensitive.
SNMP Trap Host: Identifies the IP-address of the SNMP manager.
SNMP traps: Generated by the agent to inform the manager about important events.
SoftMux: Ensures high reliability and includes the unique Downspeeding feature. It also makes it
possible to dial to another videoconferencing equipment, phones and mobile phones in a
uniform way, and provides an on-screen, real-time feedback on the progress of a call.
Split Screen: All the participants in a MultiSite conference are displayed on the screen. (Former
Continuous Presence)
Start Channel: Indicates the firstE1/T1 channel the system is allowed to use. The setting might
be used when if the E1/T1 line is shared with other equipment.
Start up video source: The video source that is on display when the system wakes up from
standby mode.
Status Format: Provides call quality feedback on the status line.
Streaming: Allows broadcasting of audio/video via an IP network.
Streaming Address: Defined as the IP-address of a streaming client, streaming server or a
multicast address.
Streaming Address Port: If several codecs are streaming to the same IP-address, different
ports have to be used in order for the client to know which stream to receive.
Streaming Allow remote Start: Streaming can be started from the Videoconferencing system
using the remote control, by using the Data port, or from external user interfaces like the
Web-browser or Telnet session.
Streaming Announcements: The system will announce to the network that it is streaming. This
enables a streaming client (e.g. a PC) to connect to the system's streaming session.
Used by Cisco IP/TV.
Streaming Password: Prevents unauthorized access to the streaming functionality.
Streaming Source: Select between local video and/or far end video to be streamed. Local and
far end audio is always streamed.
Streaming TTL/Router Hops: Used for streaming data to limit how many routers the data should
pass before it is rejected.
Streaming Video Rate: Defines the Video streaming rate from the system.
7 Glossary
179
SVGA: Super VGA. (800x600)
SXGA: Super extended Graphics Array (1280x1024)
System information: Lists system numbers, line status, software version and other useful
information.
System name: Identifies a videoconferencing system
T
T1: Network type, 24 channels. Default for NTSC versions.
T1 Line Coding: Indicates how the signals on the line should be coded. If parts of the systems
use restricted coding, this should be selected.
Take chair: Request chairmanship of the conference. If no one else is chairman, the request is
granted.
TCS-4: Used to address different systems on a LAN when dialing in via a gateway.
Terminal Names: Lists the site numbers or name (if supported) of other sites connected in the
conference.
Terminate meeting: The chairman can terminate the conference, i.e. all participants are
disconnected.
TMS: TANDBERG Management Suite
Touch Tones: To dial extension numbers etc. during a call, use touch tones in order to get tones
instead of preset on the number keys.
Tracker: The tracker is a small infrared remote control device made to steer the camera to any
desired location within the room.
TSC-1: TCS-1 is used for H243 password on H320 MCU's
V
VCR: Video Cassette Recorder
VGA: Video Graphics Array. (640 x 480)
VGA Out Quality: Changes the resolution of the VGA signal available in the VGA Out connector
at the rear of the codec.
View administrator settings: Displays all the system settings in a read only format.
View site: View any participant in the conference other than the participant currently On Air. Can
be used by all conference participants.
VNC: Virtual Network Computing.
Voice Switched: The active site will be displayed in full screen during a MultiSite conference.
W
WAVE II Camera: Wide Angle View Camera - delivers the widest angle of view in the industry.
Welcome menu: The welcome menu displays the main menu when you are outside a call.
TANDBERG COMPASS MXP / UTILITY MXP
180
X
XGA: extended Graphics Array (1024 x 768)












