Tektronix Video Gaming Accessories Cps250 Users Manual
CPS250 to the manual 83019cc5-5cc4-48f5-9be8-7865a1252f49
2015-02-03
: Tektronix Tektronix-Video-Gaming-Accessories-Cps250-Users-Manual-464248 tektronix-video-gaming-accessories-cps250-users-manual-464248 tektronix pdf
Open the PDF directly: View PDF
.
Page Count: 34

User Manual
CPS250
Triple Output Power Supply
070-6740-03
Copyright Tektronix, Inc. 1987. All rights reserved.
Tektronix products are covered by U.S. and foreign patents, issued and
pending. Information in this publication supercedes that in all previously
published material. Specifications and price change privileges reserved.
Printed in the U.S.A.
Tektronix, Inc., P.O. Box 1000, Wilsonville, OR 97070–1000
TEKTRONIX and TEK are registered trademarks of Tektronix, Inc.
WARRANTY
Tektronix warrants that this product will be free from defects in materials and
workmanship for a period of one (1) year from the date of shipment. If any such product
proves defective during this warranty period, Tektronix, at its option, either will repair the
defective product without charge for parts and labor, or will provide a replacement in
exchange for the defective product.
In order to obtain service under this warranty, Customer must notify Tektronix of the defect
before the expiration of the warranty period and make suitable arrangements for the
performance of service. Customer shall be responsible for packaging and shipping the
defective product to the service center designated by Tektronix, with shipping charges
prepaid. Tektronix shall pay for the return of the product to Customer if the shipment is to
a location within the country in which the Tektronix service center is located. Customer
shall be responsible for paying all shipping charges, duties, taxes, and any other charges for
products returned to any other locations.
This warranty shall not apply to any defect, failure or damage caused by improper use or
improper or inadequate maintenance and care. Tektronix shall not be obligated to furnish
service under this warranty a) to repair damage resulting from attempts by personnel other
than Tektronix representatives to install, repair or service the product; b) to repair damage
resulting from improper use or connection to incompatible equipment; or c) to service a
product that has been modified or integrated with other products when the effect of such
modification or integration increases the time or difficulty of servicing the product.
THIS WARRANTY IS GIVEN BY TEKTRONIX WITH RESPECT TO THIS
PRODUCT IN LIEU OF ANY OTHER WARRANTIES, EXPRESSED OR
IMPLIED. TEKTRONIX AND ITS VENDORS DISCLAIM ANY IMPLIED
WARRANTIES OF MERCHANTABILITY OR FITNESS FOR A PARTICULAR
PURPOSE. TEKTRONIX’ RESPONSIBILITY TO REPAIR OR REPLACE
DEFECTIVE PRODUCTS IS THE SOLE AND EXCLUSIVE REMEDY
PROVIDED TO THE CUSTOMER FOR BREACH OF THIS WARRANTY.
TEKTRONIX AND ITS VENDORS WILL NOT BE LIABLE FOR ANY
INDIRECT, SPECIAL, INCIDENTAL, OR CONSEQUENTIAL DAMAGES
IRRESPECTIVE OF WHETHER TEKTRONIX OR THE VENDOR HAS
ADVANCE NOTICE OF THE POSSIBILITY OF SUCH DAMAGES.

CPS250 User Manual i
Table of Contents
General Safety Summary iii. . . . . . . . . . . . . . . . . . . . . . . . . . . .
Getting Started 1. . . . . . . . . . . . . . . . . . . . . . . . . . . . . . . . . . . . .
Preparing the Power Supply for Use 2. . . . . . . . . . . . . . . . . . . . .
Front Panel 4. . . . . . . . . . . . . . . . . . . . . . . . . . . . . . . . . . . . . . . . .
Reference 7. . . . . . . . . . . . . . . . . . . . . . . . . . . . . . . . . . . . . . . . .
Independent Mode Applications 7. . . . . . . . . . . . . . . . . . . . . . . .
Tracking Mode Applications 13. . . . . . . . . . . . . . . . . . . . . . . . . . .
Appendix A: Specifications 17. . . . . . . . . . . . . . . . . . . . . . . . . . .
Appendix B: Maintenance 19. . . . . . . . . . . . . . . . . . . . . . . . . . .
Cleaning 19. . . . . . . . . . . . . . . . . . . . . . . . . . . . . . . . . . . . . . . . . . .
Preparing for Shipment 19. . . . . . . . . . . . . . . . . . . . . . . . . . . . . . .
Troubleshooting 20. . . . . . . . . . . . . . . . . . . . . . . . . . . . . . . . . . . . .
Appendix C: Replaceable Parts 23. . . . . . . . . . . . . . . . . . . . . . .
Standard Accessories 23. . . . . . . . . . . . . . . . . . . . . . . . . . . . . . . . .
Optional Accessories 23. . . . . . . . . . . . . . . . . . . . . . . . . . . . . . . . .

Table of Contents
ii CPS250 User Manual
List of Figures
Figure 1: Line Voltage Selectors, Power Input, and
Fuse Locations 2. . . . . . . . . . . . . . . . . . . . . . . . . . . . . . . . . . .
Figure 2: Front Panel 4. . . . . . . . . . . . . . . . . . . . . . . . . . . . . . . . .
Figure 3: Independent Floating Application 8. . . . . . . . . . . . . . .
Figure 4: Independent Ground-Referenced Applications (A) 10. .
Figure 5: Independent Ground-Referenced Applications (B) 10. .
Figure 6: Connecting the Two 0–20 V Supplies in Series
to Produce 0 to +40 V 11. . . . . . . . . . . . . . . . . . . . . . . . . . . . .
Figure 7: Connections to Provide Fixed +5 V and 0 to –40 V 12.
Figure 8: Independent Ground-Referenced Applications
(negative output) 12. . . . . . . . . . . . . . . . . . . . . . . . . . . . . . . . .
Figure 9: Independent Ground-Referenced Applications
(positive output) 13. . . . . . . . . . . . . . . . . . . . . . . . . . . . . . . . . .
Figure 10: Series-Tracking Applications 14. . . . . . . . . . . . . . . . . .
Figure 11: Parallel-Tracking Applications 15. . . . . . . . . . . . . . . . .

CPS250 User Manual iii
General Safety Summary
Review the following safety precautions to avoid injury and prevent
damage to this product or any products connected to it.
Only qualified personnel should perform service procedures.
Injury Precautions
Use Proper Power Cord
To avoid fire hazard, use only the power cord specified for this
product.
Avoid Electric Overload
To avoid electric shock or fire hazard, do not apply a voltage to a
terminal that is outside the range specified for that terminal.
Ground the Product
This product is grounded through the grounding conductor of the
power cord. To avoid electric shock, the grounding conductor must
be connected to earth ground. Before making connections to the
input or output terminals of the product, ensure that the product is
properly grounded.
Do Not Operate Without Covers
To avoid electric shock or fire hazard, do not operate this product
with covers or panels removed.
Use Proper Fuse
To avoid fire hazard, use only the fuse type and rating specified for
this product.

General Safety Summary
iv CPS250 User Manual
Do Not Operate in Wet/Damp Conditions
To avoid electric shock, do not operate this product in wet or damp
conditions.
Do Not Operate in Explosive Atmosphere
To avoid injury or fire hazard, do not operate this product in an
explosive atmosphere.
Product Damage Precautions
Use Proper Power Source
Do not operate this product from a power source that applies more
than the voltage specified.
Use Proper Voltage Setting
Before applying power, ensure that the line selector is in the proper
position for the power source being used.
Provide Proper Ventilation
To prevent product overheating, provide proper ventilation.
Do Not Operate With Suspected Failures
If you suspect there is damage to this product, have it inspected by
qualified service personnel.

General Safety Summary
CPS250 User Manual v
Safety Terms and Symbols
Terms in This Manual
These terms may appear in this manual:
WARNING. Warning statements identify conditions or practices that
could result in injury or loss of life.
CAUTION. Caution statements identify conditions or practices that
could result in damage to this product or other property.
Terms on the Product
These terms may appear on the product:
DANGER indicates an injury hazard immediately accessible as you
read the marking.
WARNING indicates an injury hazard not immediately accessible as
you read the marking.
CAUTION indicates a hazard to property including the product.
Symbols on the Product
The following symbols may appear on the product:
DANGER
High Voltage Protective Ground
(Earth) Terminal ATTENTION
Refer to
Manual
Double
Insulated

General Safety Summary
vi CPS250 User Manual
Certifications and Compliances
CSA Certified Power Cords
CSA Certification includes the products and power cords appropriate
for use in the North America power network. All other power cords
supplied are approved for the country of use.

CPS250 User Manual 1
Getting Started
The Tektronix CPS250 Triple Output Power Supply is a multifunc-
tion bench or portable instrument. The fixed 5 volt output is
available for use in transistor-transistor-logic (TTL) applications.
Two 0 V to 20 volt, 500 mA, variable outputs meet the needs of most
semiconductor test or experimental applications. Two or three of the
output voltages may be externally wired to produce voltages
different than the standard front panel voltages.
The Tektronix CPS250 Triple Output Power Supply has a locking,
multiposition handle that folds under the instrument to allow
stacking with other instruments of the same series. The power supply
is delivered with a set of test leads, a 115 V power cord, an installed
fuse for 115 V operation, and this manual.

Getting Started
2CPS250 User Manual
Preparing the Power Supply for Use
Check the following items prior to operating the CPS250 Triple
Output Power Supply for the first time (see Figure 1 for locations of
items 1 through 3):
1 2
3
Figure 1: Line Voltage Selectors, Power Input, and Fuse Locations
CAUTION. To prevent damage to the instrument, set the line voltage
selectors to the proper voltage setting and install the correct line
voltage fuse before operating the equipment.
1. Set the line voltage selectors to the input line voltage. These
selectors connect internal wiring for various line voltages. This
product is intended to operate from a power source that does not
supply more than 250 VRMS between the supply conductors or
between either supply conductor and ground. For line voltage
ranges, refer to Appendix A: Specifications on page 17.
WARNING. To prevent electrical shock, unplug the power cord and
disconnect the test leads from the circujit before checking or
replacing the fuse.

Getting Started
CPS250 User Manual 3
2. Check that the correct line fuse is installed. The line fuse
provides protection if the equipment malfunctions or an overload
occurs. Refer to Appendix C: Replaceable Parts on page 23 for
fuse part numbers.
WARNING. To prevent electrical shock, connect the power cord to a
properly grounded power source. The outside (ground) of this
connector is connected through the equipment to the power source
ground. Do not remove the ground lug from the power cord for
any reason.
3. Connect the input power cord. Use only the power cords specified
for this equipment. Refer to Appendix C: Replaceable Parts on
page 23 for power cord part numbers.
NOTE. The center connector blade is connected to the green GND
binding post on the front panel.
4. Check the V and mA meters for mechanical zero. Adjustment
may be corrected with the mechanical zero adjust disk located
below the center of each meter. (Refer to Figure 2, item 4.)
CAUTION. To prevent power supply damage, observe the mA meter
and OVERLOAD indicators frequently during operation. The red
areas of the meter scales indicate values in excess of equipment
specifications.
T o prevent damage to the circuit(s) powered by the CPS250 Triple
Output Power Supply, check the polarity of the circuit(s) before
connecting them to the power supply.

Getting Started
4CPS250 User Manual
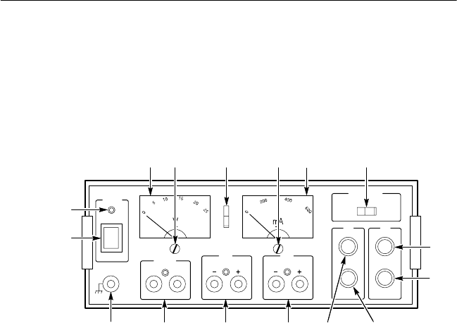
Front Panel
Figure 2 shows the front-panel controls, connectors, and indicators
with brief descriptions of the items following the figure.
34 5 46 7
8
9
101112131415
1
2
Figure 2: Front Panel
1. POWER Button. Push top of switch to the ON position to turn
power supply on. Push bottom of switch to the OFF position to
turn equipment off.
2. POWER ON Indicator. When lighted, LED indicates a power-on
condition.
3. Voltage Meter. This meter indicates the voltage level of A or B
output, depending on the position of the A/B meter switch. The
meter may be mechanically set for zero with the slotted
mechanical zero adjust disk below the center of the meter.
4. Mechanical Meter Adjustment. These slotted, plastic disks allow
mechanical zero adjustment of the V and mA meters. Always
rotate the adjustment in a clockwise direction for optimum
results.
5. A/B Meter Switch. This switch connects the V and mA meters to
the A or B output circuit.

Getting Started
CPS250 User Manual 5
6. Milliampere Current Meter. This meter indicates the current level
of A or B output, depending on the position of the A/B meter
switch. The meter may be mechanically set for zero with the
slotted mechanical zero adjust disk below the center of the meter.
7. A/B Output Switch. Switches A and B outputs from
INDEPENDENT to TRACKING PARALLEL or TRACKING
SERIES operation. When the switch is in the TRACKING
position, A VOLTAGE and A CURRENT controls set the level of
both A and B outputs. B VOLTAGE and B CURRENT controls
are inoperative when the A/B OUTPUTS switch is set to the
TRACKING position.
8. B Voltage Control. Rotate to set voltage at B output terminals
when A/B OUTPUTS switch is in the INDEPENDENT position.
This control is inoperative when A/B OUTPUTS switch is in the
TRACKING position.
9. B CURRENT Control. Rotate to set current level available at B
output when A/B OUTPUTS switch is in INDEPENDENT
position. Control is inoperative when A/B OUTPUTS switch is in
the TRACKING position.
10. A CURRENT Control. Rotate to set current level available at A
output when A/B OUTPUTS switch is in the INDEPENDENT
position.
11. A VOLTAGE Control. Rotate to set voltage at A output terminals
when A/B OUTPUTS switch is in the INDEPENDENT position.
12. A Output. Positive (red) and negative (black) output for
independent 0 to 20 VDC, 0.5 A maximum. LED lights when
OVERLOAD current limit is reached or exceeded.
13. B Output. Positive (red) and negative (black) output for
independent 0 to 20 VDC, 0.5 A maximum. LED lights when
OVERLOAD current limit is reached or exceeded.
14. 5 V 2 A Output. Positive (red) and negative (black) output for
fixed 5 volts DC, 2 A maximum. LED lights when OVERLOAD
current limit is reached or exceeded.
15. Chassis Ground Connector. The green binding post is connected
through the power cord to the power receptacle ground.

Getting Started
6CPS250 User Manual

CPS250 User Manual 7
Reference
This section of the manual includes examples of how to use the
CPS250 Triple Output Power Supply. The number of possible
applications is extensive, so only a few examples are given.
CAUTION. Heat buildup may occur on the rear-panel heat sink during
operation. To prevent equipment damage, ensure that the power
supply has adequate air space for heat dissipation. Do not place
hands or other objects on the heat sink during or after extended
operation.
Independent Mode Applications
When in INDEPENDENT mode, any one output of each supply may
be connected to any one terminal of another supply or to ground.
Variable supplies are independently controlled by front panel voltage
and current controls. Ground reference is recommended for safety.
There are two types of independent mode operation:
HSeries Operation. A and B supplies (outputs) can be set to give
0 V to 40 V output with the A/B OUTPUTS switch.
HParallel Operation. A and B supplies (outputs) may be set to
parallel operation with the A/B OUTPUTS switch. A and B
supplies may be operated in parallel to increase current. Refer to
Parallel Tracking on page 14.
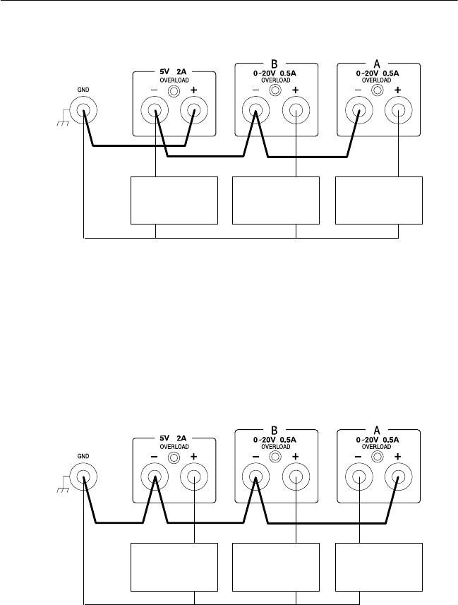
Independent Floating
Figure 3 on page 8 shows each of the three power supply outputs
connected to separate loads. In this example the A/B OUTPUTS
switch is set to INDEPENDENT. The green coded A VOLTAGE and
A CURRENT controls set the level of output A. The brown coded
controls set the level for output B. The three outputs are electrically
independent. The V and mA meters read A or B output values
(selected with the A/B meter switch).

Reference
8CPS250 User Manual
To configure the power supply for independent floating, do the
following:
1. With the CPS250 Triple Output Power Supply on and the outputs
disconnected from loads, set the A and B VOLTAGE controls to
the values needed (read on the V meter). Set the A and B
CURRENT controls to midrange.
2. Turn POWER to OFF, and connect the load(s).
3. Turn POWER to ON, and readjust voltages if necessary.
Load 1
5 V
Zero to 2 A
Load 2
Zero to 20 V
Zero to 0.5 A
Load 3
Zero to 20 V
Zero to 0.5 A
Figure 3: Independent Floating Application
Independent Ground-Referenced
CAUTION. To prevent damage to the equipment when using any
ground-referenced output configuration from the CPS250, the circuit
or equipment being powered must be isolated from the CPS250’s line
voltage power source.
Any one of each pair of output terminals, positive (+) or negative (–),
may be connected to ground in any combination. Table 1 shows
many of the possible voltage combinations using the chassis ground
as a reference.

Reference
CPS250 User Manual 9
CAUTION. To prevent electric shock, do not elevate any power supply
output terminals with any external voltage source or power supply.
Table 1: Independent Ground-Referenced Voltage Combinations
5-Volt Supply A-Supply B-Supply
+5 V, fixed 0 to +20 V 0 to +20 V
+5 V, fixed 0 to +20 V 0 to –20 V
+5 V, fixed 0 to –20 V 0 to +20 V
+5 V, fixed 0 to –20 V 0 to –20 V
–5 V, fixed 0 to +20 V 0 to +20 V
–5 V, fixed 0 to +20 V 0 to –20 V
–5 V, fixed 0 to –20 V 0 to +20 V
–5 V, fixed 0 to –20 V 0 to –20 V
Figure 4 on page 10 shows an example of a circuit with the +5 volt
terminal referenced to ground and both the A and B supplies
referenced to –5 V. In this configuration, each of the positive-going
20 V supplies can be varied from –5 V to +15 V (+20 V overall). The
GND post becomes the negative terminal for the A and B outputs.
The V meter will indicate 0 V when the output is –5 V, 5 V when the
output is zero, and 20 V when the output is 15 V. Negative 5 V is
taken between GND and the black (–) post of the 5 V, 2 A output. To
set up this configuration, proceed as follows:
1. Turn the CPS250 POWER to OFF. Connect the outputs as
shown in Figure 4 on page 10.
2. Set the A and B VOLTAGE controls to MIN and the A and B
CURRENT controls to midrange.
3. Turn POWER to ON. The V meter should read 0 V in both the A
and B position. An external meter connected across the load or
load terminals should read –5 V.
4. Turn POWER to OFF, and connect the load(s).
5. Turn POWER to ON, and readjust voltages if necessary.

Reference
10 CPS250 User Manual
Load 1
–5 V
2 A
Load 2
–5 to +15 V
Zero to 0.5 A
Load 3
–5 to +15 V
Zero to 0.5 A
Figure 4: Independent Ground-Referenced Applications (A)
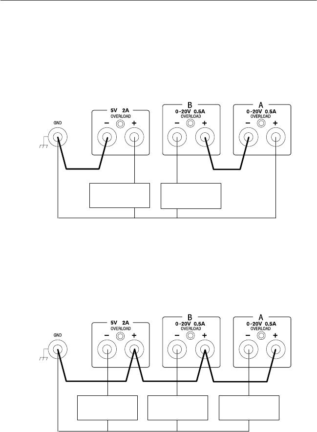
Figure 5 shows the power supply connected to produce separate
outputs of +5 V, 0 V to +20 V from the B supply, and 0 V to –20 V
from the A supply. In this configuration the red terminal of output A
is the relative negative terminal because it is connected directly to
GND. To seu up this configuration, proceed as follows:
Load 1
+5 V
Zero to 2 A
Load 2
Zero to +20 V
Zero to 0.5 A
Load 3
Zero to –20 V
Zero to 0.5 A
Figure 5: Independent Ground-Referenced Applications (B)
1. Turn the CPS250 POWER to OFF. Connect the outputs as
shown in Figure 5.

Reference
CPS250 User Manual 11
2. Set the A and B VOLTAGE controls to MIN and the A and B
CURRENT controls to midrange.
3. Turn POWER to ON, and set the desired A and B voltages.
4. Turn POWER to OFF, and connect the load(s).
5. Turn POWER to ON, and readjust voltages if necessary.
Figure 6 shows the power supply connected in series to produce a
variable output of 0 + 40 V, ground referenced, and –5 V, ground
referenced. The VOLTAGE and CURRENT controls are in series.
The V meter reads only one supply at a time and the mA meter reads
total current in either position. To read the total voltage the readings
from the A position and B position must be added. To set up this
configuration, proceed as follows:
Load 1
–5 V
Load 2
Zero to +40 V
Figure 6: Connecting the Two 0–20 V Supplies in Series to Product 0 to +40 V
1. Turn POWER to OFF, and connect the outputs as shown in
Figure 6.
2. Set the A and B VOLTAGE controls to MIN and the A and B
CURRENT controls to midrange.
3. Turn POWER to ON, and observe the V meter in the A and B
positions to set the desired voltage. Remember, the total output is
the sum of the two readings.
4. Turn tPOWER to OFF, and connect the loads.

Reference
12 CPS250 User Manual
5. Turn POWER to ON, and readjust voltages if necessary.
Zero to –40 V and fixed +5 V outputs are shown in Figure 7. Follow
the procedures outlined above to operate this configuration.
Load 1
+5 V
Load 2
Zero to –40 V
Figure 7: Connections to Provide Fixed +5 V and 0 to –40 V
Figure 8 shows the configuration for three, ground referenced,
negative supplies.
Load 1
–5 V
Load 2
Zero to –20 V Load 3
Zero to –20 V
Figure 8: Independent Ground-Referenced Applications (negative output)

Reference
CPS250 User Manual 13
Figure 9 shows the connections for three ground referenced, positive
supplies.
Load 1
+5 V
Load 2
Zero to +20 V Load 3
Zero to +20 V
Figure 9: Independent Ground-Referenced Applications (positive output)
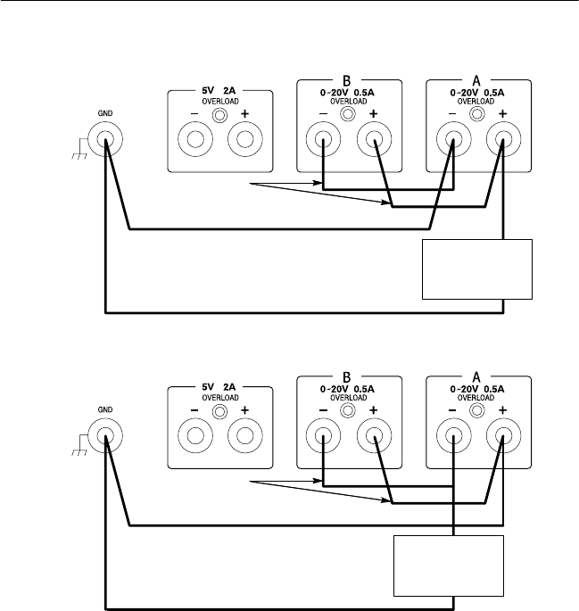
Tracking Mode Applications
Series Tracking
When the A/B OUTPUTS selector is set to SERIES TRACKING, the
–output of the A variable supply is connected internally to the
+output of the B variable supply. When set to the SERIES TRACK-
ING mode, the output may be floating or ground referenced.
However, only one terminal of the two variable supplies may be
grounded. These options are shown in Figure 10 on page 14. The
output voltage and current are controlled by the A VOLTAGE and
A CURRENT controls. For convenience, set the B VOLTAGE and
B CURRENT controls fully clockwise to avoid the B supply shutting
down.
The 5 V fixed supply may be independently grounded or allowed to
float.

Reference
14 CPS250 User Manual
Load 1
Zero to +40 V
Load 1
Zero to –40 V
Internal connection
Internal
connection
Figure 10: Series-Tracking Applications
Parallel Tracking
When the A/B OUTPUTS selector is set to PARALLEL TRACK-
ING, the + outputs of the A and B variable supplies are connected
and the – outputs of the A and B variable supplies are connected.
The resulting combination is a single supply capable of providing
0 V to 20 V and up to 1.2 A. Control is provided by the A VOLTAGE
and A CURRENT controls. The B VOLTAGE and B CURRENT
controls should be set fully clockwise. The parallel output may be
floating or ground referenced, but only one terminal (+ or –) may be
at ground reference. Those options are shown in Figure 11.
The 5 V fixed supply may be independently grounded or allowed to
float.

Reference
CPS250 User Manual 15
Load 1
Zero to +20 V
1.0 A
Load 1
Zero to –20 V
1.0 A
Internal
connections
Internal
connections
Figure 11: Parallel-Tracking Applications

Reference
16 CPS250 User Manual

CPS250 User Manual 17
Appendix A: Specifications
The following tables list the physical, environmental, operational,
and electrical characteristics of the CPS250 Triple Output Power
Supply:
Table 2: Certifications and Compliances
EC Declaration of
Conformity – EMC Meets intent of Directive 89/336/EEC for Electromagnetic
Compatibility. Compliance was demonstrated to the following
specifications as listed in the Official Journal of the European
Communities:
EN 55011 Class A Radiated and Conducted Emissions
EN 50081-1 Emissions:
EN 60555-2 AC Power Line Harmonic Emissions
EN 50082-1 Immunity:
IEC 801-2 Electrostatic Discharge Immunity
IEC 801-3 RF Electromagnetic Field Immunity
IEC 801-4 Electrical Fast Transient/Burst Immunity
IEC 801-5 Power Line Surge Immunity
EC Declaration of
Conformity – Low
Voltage
Compliance was demonstrated to the following specification as
listed in the Official Journal of the European Communities:
Low Voltage Directive 73/23/EEC, amended by 93/68/EEC:
HD401S1
Safety requirements for electronic measuring apparatus
Table 3: Physical Characteristics
Width 240 mm (9.46 in)
Height 100 mm (3.94 in)
Depth 230 mm (9.0 in)
Weight 5.1 kg (11.2 lb)

Appendix A: Specifications
18 CPS250 User Manual
Table 4: Environmental Characteristics
Storage Temperature –10_ C to 60_ C, 80% RH
Operating Temperature 10_ C to 40_ C, 75% RH
Table 5: Operational Characteristics
Outputs 0 to 20 VDC (two), 5 VDC
Voltage (5 V) 5.0 ±0.1 VDC at 2.0 A maximum
Voltage (0–20 V) 0–20 VDC at 0.5 A maximum
Load Regulation (5 V) 0.1% +5 mV
Load Regulation (0–20 V) 0.01% +3 mV
Ripple/Noise 2 m VRMS, 5 Hz–1 MHz
Tracking Error ±0.2% ±20 mV
Indicator Analog type front panel meter
Meter Indicators 0–25 VDC ±2.5% of full scale
0–600 mA ±2.5% of full scale
Table 6: Electrical Characteristics
Line Voltage Range 90 to 110, 108 to 132, 198 to 242, and 216 to 250 VAC at
50–60 Hz
Power Consumption 175 VA, 160 W maximum

CPS250 User Manual 19
Appendix B: Maintenance
This appendix provides information for the basic maintenance of the
CPS250 Triple Output Power Supply.
Cleaning
To clean the power supply, use a soft cloth dampened in a solution of
mild detergent and water. Do not spray cleaner directly onto the
instrument, since it may leak into the cabinet and cause damage.
Do not use chemicals containing benzine, benzene, toluene, xylene,
acetone, or similar solvents.
Do not use abrasive cleaners on any portion of the power supply.
Preparing for Shipment
If the original packaging is unfit for use or not available, use the
following packaging guidelines:
1. Use a corrugated cardboard shipping carton having inside
dimensions at least three inches greater than the instrument
dimensions.
2. Put the instrument into a plastic bag or wrap to protect it from
dampness and loose packing material.
3. Place the instrument into the box and firmly stabilize it with
packing material.
4. Seal the carton with shipping tape.

Appendix B: Maintenance
20 CPS250 User Manual
Troubleshooting
Electronic maintenance on the CPS250 Triple Output Power Supply
must be performed by a trained technician. However, an operator can
perform some basic and routine maintenance. The power supply will
give some indications of problems to aid the operator.
Power Switch is On but Power-On LED not Lighted
NOTE. The power indicator light is in the secondary of the 5 volt
power supply circuit and may be inoperative even when voltages are
present at the outputs of the supplies.
1. Check all outputs with a voltmeter. If the variable supplies are
working, but the 5 V supply is not, the problem is in the 5 V
supply. Contact your nearest Tektronix service center for
servicing.
2. If all supplies are working and the power indicator is off, contact
your nearest Tektronix service center for servicing.
WARNING. To prevent electrical shock, unplug the power cord and
disconnect the test leads from any circuit before checking or
replacing the fuse.
3. If none of the supplies are working, check the line fuse. If the
fuse is open, replace it.
4. If the line fuse is good, check the power outlet for proper voltage.
If the outlet voltage is incorrect, call service personnel.
WARNING. To prevent electical shock, be sure the power cord is
disconnected at both ends before checking for continuity.
5. If outlet voltage is correct, check power cord continuity. If the
power cord fails the continuity check, replace the power cord.

Appendix B: Maintenance
CPS250 User Manual 21
POWER Light ON, but No Output from A or B Supplies with Power
Supply connected to Circuit
1. Disconnect the CPS250 outputs from the circuit being tested.
Check A and B VOLTAGE and CURRENT controls.
2. If the outputs are good, check the circuit under test for a short or
low resistance.
POWER Light ON, but No Output from Any Supplies with Power Supply
Not Connected to Circuit
Contact your nearest Tektronix service center for servicing.

Appendix B: Maintenance
22 CPS250 User Manual

CPS250 User Manual 23
Appendix C: Replaceable Parts
Replaceable parts may be ordered directly from your authorized
Tektronix dealer.
Standard Accessories
The following items are shipped with the CPS250 Triple Output
Power Supply:
Table 7: Standard Accessories
Accessory Tektronix Part Number
Fuse, 3AG, 2A, 250V, SB
(90 – 132 V Operation) 159–0023-00
CPS250 User Manual 070-6740-XX
115V Power Cord Refer to Table 9
Lead Set 196-3384-XX
Optional Accessories
The following items are available as optional accessories:
Table 8: Optional Accessories
Accessory Tektronix Part Number
Fuse, 3AG, 1A, 250V, SB
(198 – 250 V operation) 159-0019-00
230V Power Cords Refer to Table 9

Appendix C: Replaceable Parts
24 CPS250 User Manual
The following power cords are available.
Table 9: Accessory Power Cords
Plug Configuration Normal Usage Tektronix Part
Number
North America
115 V 161-0104-00
Europe
230 V 161-0104-06
United Kingdom
230 V 161-0104-07
Australia
230 V 161-0104-05
North America
230 V 161-0104-08
Switzerland
230 V 161-0167-00