Telit Cinterion Deutschland PDS6 GSM/WCDMA Module User Manual PDS6 Rev 1

Gemalto M2M GmbH GSM/WCDMA Module PDS6 Rev 1

Contents

PDS6_user manual_Rev 1

                    Cinterion®  PDS6 Hardware Interface Overview Version:  02.800 DocId:  PDS6_HIO_v02.800                            M2M.GEMALTO.COM
Cinterion®  PDS6 Hardware Interface Overview Page 2 of 35 PDS6_HIO_v02.800Confidential / Preliminary2014-10-27    2                  GENERAL NOTE THE USE OF THE PRODUCT INCLUDING THE SOFTWARE AND DOCUMENTATION (THE "PROD- UCT")  IS  SUBJECT  TO  THE  RELEASE  NOTE  PROVIDED  TOGETHER  WITH  PRODUCT.  IN  ANY EVENT THE PROVISIONS OF THE RELEASE NOTE SHALL PREVAIL. THIS DOCUMENT CONTAINS INFORMATION ON GEMALTO M2M PRODUCTS. THE SPECIFICATIONS IN THIS DOCUMENT ARE SUBJECT TO CHANGE AT GEMALTO M2M'S DISCRETION. GEMALTO M2M GMBH GRANTS A NON- EXCLUSIVE  RIGHT  TO  USE  THE  PRODUCT.  THE  RECIPIENT  SHALL  NOT  TRANSFER,  COPY, MODIFY, TRANSLATE, REVERSE ENGINEER, CREATE DERIVATIVE WORKS; DISASSEMBLE OR DECOMPILE  THE  PRODUCT  OR  OTHERWISE  USE  THE  PRODUCT  EXCEPT  AS  SPECIFICALLY AUTHORIZED. THE PRODUCT AND THIS DOCUMENT ARE PROVIDED ON AN "AS IS" BASIS ONLY AND MAY CONTAIN DEFICIENCIES OR INADEQUACIES. TO THE MAXIMUM EXTENT PERMITTED BY  APPLICABLE  LAW,  GEMALTO  M2M  GMBH  DISCLAIMS  ALL  WARRANTIES  AND  LIABILITIES. THE RECIPIENT UNDERTAKES FOR AN UNLIMITED PERIOD OF  TIME  TO  OBSERVE SECRECY REGARDING ANY INFORMATION AND DATA PROVIDED TO HIM IN THE CONTEXT OF THE DELIV- ERY  OF  THE  PRODUCT.  THIS  GENERAL  NOTE  SHALL  BE  GOVERNED  AND  CONSTRUED ACCORDING TO GERMAN LAW.  Copyright Transmittal, reproduction, dissemination and/or editing of this document as well as utilization of its con- tents and communication thereof to others without express authorization are prohibited. Offenders will be held liable for payment of damages. All rights created by patent grant or registration of a utility model or design patent are reserved.  Copyright © 2014, Gemalto M2M GmbH, a Gemalto Company  Trademark Notice Gemalto, the Gemalto logo, are trademarks and service marks of Gemalto and are registered in certain countries. Microsoft and Windows are either registered trademarks or trademarks of Microsoft Corpora- tion in the United States and/or other countries. All other registered trademarks or trademarks mentioned in this document are property of their respective owners. Document Name: Version: Date: DocId: Status Cinterion® PDS6 Hardware Interface Overview 02.800 2014-10-27 PDS6_HIO_v02.800 Confidential / Preliminary
Cinterion®  PDS6 Hardware Interface Overview Page 3 of 35 PDS6_HIO_v02.800Confidential / Preliminary2014-10-27  Contents    Contents 1 Introduction ................................................................................................................... 6 1.1 Key Features at a Glance ................................................................................... 6 1.2 PDS6 System Overview ..................................................................................... 9 2 Interface Characteristics ............................................................................................ 10 2.1 Application Interface .......................................................................................... 10 2.1.1 USB Interface ....................................................................................... 10 2.1.2 Serial Interface ASC0 .......................................................................... 11 2.1.3 UICC/SIM/USIM Interface .................................................................... 12 2.1.4 Analog Audio Interface ......................................................................... 14 2.1.5 Digital Audio Interface .......................................................................... 14 2.1.6 GPIO Interface ...................................................................................... 14 2.1.7 I2C Interface ........................................................................................ 15 2.1.8 SPI Interface ......................................................................................... 15 2.1.9 Analog-to-Digital Converter (ADC) ...................................................... 16 2.1.10 PWM Interfaces .................................................................................... 16 2.1.11 Pulse Counter ....................................................................................... 16 2.1.12 Control Signals .................................................................................... 16 2.1.12.1 Network Connectivity ............................................................ 16 2.1.12.2 Power Indication Signal ........................................................ 16 2.1.12.3 Host Wakeup .......................................................................... 16 2.1.12.4 Fast Shutdown ...................................................................... 16 2.2 RF Antenna Interface ......................................................................................... 17 2.2.1 Antenna Installation .............................................................................. 17 3 Operating Characteristics .......................................................................................... 18 3.1 Operating Modes .............................................................................................. 18 3.2 Power Supply ..................................................................................................... 19 4 Mechanical Dimensions, Mounting and Packaging ................................................ 20 4.1 Mechanical Dimensions of PDS6 ..................................................................... 20 5 Regulatory and Type Approval Information ............................................................ 22 5.1 Directives and Standards ................................................................................... 22 5.2 SAR requirements specific to portable mobiles ................................................. 25 5.3 Reference Equipment for Type Approval ......................................................... 26 5.4 Compliance with FCC and IC Rules and Regulations ....................................... 27 6 Document Information ................................................................................................ 28 6.1 Revision History ............................................................................................... 28 6.2 Related Documents ........................................................................................... 28 6.3 Terms and Abbreviations ................................................................................... 28 6.4 Safety Precaution Notes .................................................................................. 32 7 Appendix ...................................................................................................................... 33 7.1 List of Parts and Accessories ........................................................................... 33
 PDS6_HIO_v02.800Confidential / Preliminary2014-10-27Cinterion®  PDS6 Hardware Interface Overview Page 4 of 35  Tables   Tables  Table 1:  Signals of the SIM interface (SMT application interface) ................................. 12 Table 2:  GPIO lines and possible alternative assignment .............................................. 14 Table 3:  Return loss in the active band ........................................................................... 17 Table 4:  Overview of operating modes .......................................................................... 18 Table 5: Directives ............................................................................................................... 22 Table 6:  Standards of North American type approval ..................................................... 22 Table 7:  Standards of European type approval. .............................................................. 22 Table 8:  Requirements of quality ................................................................................... 23 Table 9:  Standards of the Ministry of Information Industry of the People’s Republic of China.............................................................................. 24 Table 10:  Toxic or hazardous substances or elements with defined concentration limits .......................................................................................................................... 24 Table 11:  List of parts and accessories. ............................................................................ 33 Table 12:  Molex sales contacts (subject to change) ......................................................... 34
 PDS6_HIO_v02.800Confidential / Preliminary2014-10-27Cinterion®  PDS6 Hardware Interface Overview Figures Page 5 of 35   Figures Figure 1:  PDS6 system overview ..................................................................................... 9 Figure 2:  USB circuit ...................................................................................................... 10 Figure 3:  Serial interface ASC0 ...................................................................................... 11 Figure 4:  External UICC/SIM/USIM card holder circuit ................................................... 13 Figure 5:  PDS6 – top and bottom view ........................................................................... 20 Figure 6:  Dimensions of PDS6 (all dimensions in mm) .................................................. 21 Figure 7:  Reference equipment for Type Approval ......................................................... 26
 PDS6_HIO_v02.800Confidential / Preliminary2014-10-27Cinterion®  PDS6 Hardware Interface Overview 1 Introduction Page 6 of 35  1 Introduction  This document1  describes the hardware of the Cinterion®  PDS6 module. It helps you quickly retrieve  interface  specifications,  electrical  and  mechanical  details  and  information on  the requirements to be considered for integrating further components.    1.1 Key Features at a Glance   Feature ImplementationGeneral Frequency bands GSM/GPRS/EDGE: Quad band 850/900/1800/1900MHz  UMTS: Five band 800/850/900/1900/2100MHz GSM class Small MS Output power (according to Release 99, V5) PDS6: Band  RMS Target  Tolerance EGPRS 850(8-PSK, 1 Tx slot)  27dBm              +/- 1dB EGPRS 850(8-PSK, 2 Tx slot)  24dBm             +/- 1dB EGPRS 850(8-PSK, 3 Tx slot)  22dBm              +/- 1dB EGPRS 850(8-PSK, 4 Tx slot)  21dBm              +/- 1dB EGPRS 1900(8-PSK, 1 Tx slot)  26dBm              +/- 1dB EGPRS 1900(8-PSK, 2 Tx slot)  23dBm              +/- 1dB EGPRS 1900(8-PSK, 3 Tx slot)  21dBm             +/- 1dB EGPRS 1900(8-PSK, 4 Tx slot)  20dBm              +/- 1dB GPRS 850(GMSK, 1 Tx slot)  33dBm             +/- 1dB GPRS 850(GMSK, 2 Tx slot)  30dBm              +/- 1dB GPRS 850(GMSK, 3 Tx slot)  28dBm              +/- 1dB GPRS 850(GMSK, 4 Tx slot)  27dBm              +/- 1dB GPRS 1900(GMSK, 1 Tx slot)  30dBm              +/- 1dB GPRS 1900(GMSK, 2 Tx slot)  27dBm              +/- 1dB GPRS 1900(GMSK, 3 Tx slot)  25dBm              +/- 1dB GPRS 1900(GMSK, 4 Tx slot)  24dBm              +/- 1dB GSM 850  33dBm              +/- 1dB GSM 1900  30dBm              +/- 1dB UMTS Band 2 24dBm              +/- 1dB UMTS Band 5 24dBm              +/- 1dB  Power supply 3.3V to 4.5VOperating temperature (board temperature) Normal operation: -30°C to +85°C Extended operation: -40°C to +90°C Physical Dimensions: 33mm x 29mm x 2mm Weight: approx. 5g RoHS All hardware components fully compliant with EU RoHS Directive     1.  The  document  is  effective  only  if  listed  in  the  appropriate  Release  Notes  as  part  of  the  technical documentation delivered with your Gemalto M2M product.
 PDS6_HIO_v02.800Confidential / Preliminary2014-10-27Cinterion®  PDS6 Hardware Interface Overview 1.1 Key Features at a Glance Page 7 of 35    Feature ImplementationHSPA features 3GPP Release 6, 7 DL 7.2Mbps, UL 5.7Mbps HSDPA Cat.8 / HSUPA Cat.6 data rates Compressed mode (CM) supported according to 3GPP TS25.212 UMTS features 3GPP Release 4 PS data rate – 384 kbps DL / 384 kbps UL CS data rate – 64 kbps DL / 64 kbps UL GSM/GPRS/EGPRS features Data transfer GPRS: • Multislot Class 12 • Full PBCCH support • Mobile Station Class B • Coding Scheme 1 – 4 EGPRS: • Multislot Class 12 • EDGE E2 power class for 8 PSK • Downlink coding schemes – CS 1-4, MCS 1-9 • Uplink coding schemes – CS 1-4, MCS 1-9 • SRB loopback and test mode B • 8-bit, 11-bit RACH • PBCCH support • 1 phase/2 phase access procedures • Link adaptation and IR • NACC, extended UL TBF • Mobile Station Class B CSD: • V.110, RLP, non-transparent • 9.6kbps • USSD SMS Point-to-point MT and MO Cell broadcast Text and PDU mode Storage: SIM card plus SMS locations in mobile equipment Software AT commands Hayes 3GPP TS 27.007, TS 27.005, Gemalto M2M AT commands for RIL compatibility Java™ Open Platform Java™ Open Platform with • Java™ profile IMP-NG & CLDC 1.1 HI • Secure data transmission via HTTPS/SSL • Multi-threading programming and multi-application execution  Major benefits: seamless integration into Java applications, ease of pro- gramming, no need for application microcontroller, extremely cost-efficient hardware and software design – ideal platform for industrial GSM applica- tions.  The memory space available for Java programs is around 8 MB in the flash file system and around 6MB RAM. Application code and data share the space in the flash file system and in RAM. Microsoft™ compatibility RIL for Pocket PC and Smartphone
 PDS6_HIO_v02.800Confidential / Preliminary2014-10-27Cinterion®  PDS6 Hardware Interface Overview 1.1 Key Features at a Glance Page 8 of 35    Feature ImplementationSIM Application Toolkit SAT Release 99Firmware update Generic update from host application over ASC0 or USB modem. Interfaces Module interface Surface mount device with solderable connection pads (SMT application interface). Land grid array (LGA) technology ensures high solder joint reli- ability and provides the possibility to use an optional module mounting socket. For more information on how to integrate SMT modules see also [3]. This application note comprises chapters on module mounting and application layout issues as well as on SMT application development equipment. USB USB 2.0 High Speed (480Mbit/s) device interface, Full Speed (12Mbit/s) compliant 1 serial interface ASC0: • 8-wire modem interface with status and control lines, unbalanced, asyn- chronous • Adjustable baud rates: 1,200bps to 921,600bps • Autobauding: 1,200bps to 230,400bps • Supports RTS0/CTS0 hardware flow control. • Multiplex ability according to GSM 07.10 Multiplexer Protocol. Audio 1 analog interface (with microphone feeding) 1 digital interface(PCM)UICC interface Supported SIM/USIM cards: 3V, 1.8VGPIO interface 6 GPIOs shared with fast shutdown, pulse counter, and PWM functionalityI2C interface Supports I2C serial interfaceSPI interface Serial peripheral interfaceADC input Analog-to-digital converter for general purpose voltage measurementsAntenna interface pads 50 Power on/off, Reset Power on/off Switch-on by hardware signal IGT Switch-off by AT command Switch off by hardware signal GPIO4/FST_SHDN instead of AT command Automatic switch-off in case of critical temperature and voltage conditions Reset Orderly shutdown and reset by AT command Emergency reset by hardware signal EMERG_OFF and IGT Special features Real time clock Timer functions via AT commandsPhonebook SIM and phoneTTY/CTM support Integrated CTM modemEvaluation kit Evaluation module PDS6 module soldered onto a dedicated PCB that can be con- nected to an adapter in order to be mounted onto the DSB75. DSB75 DSB75 Development Support Board designed to test and type approve Gemalto M2M modules and provide a sample configuration for application engineering. A special adapter is required to connect the PDS6 evaluation module to the DSB75.
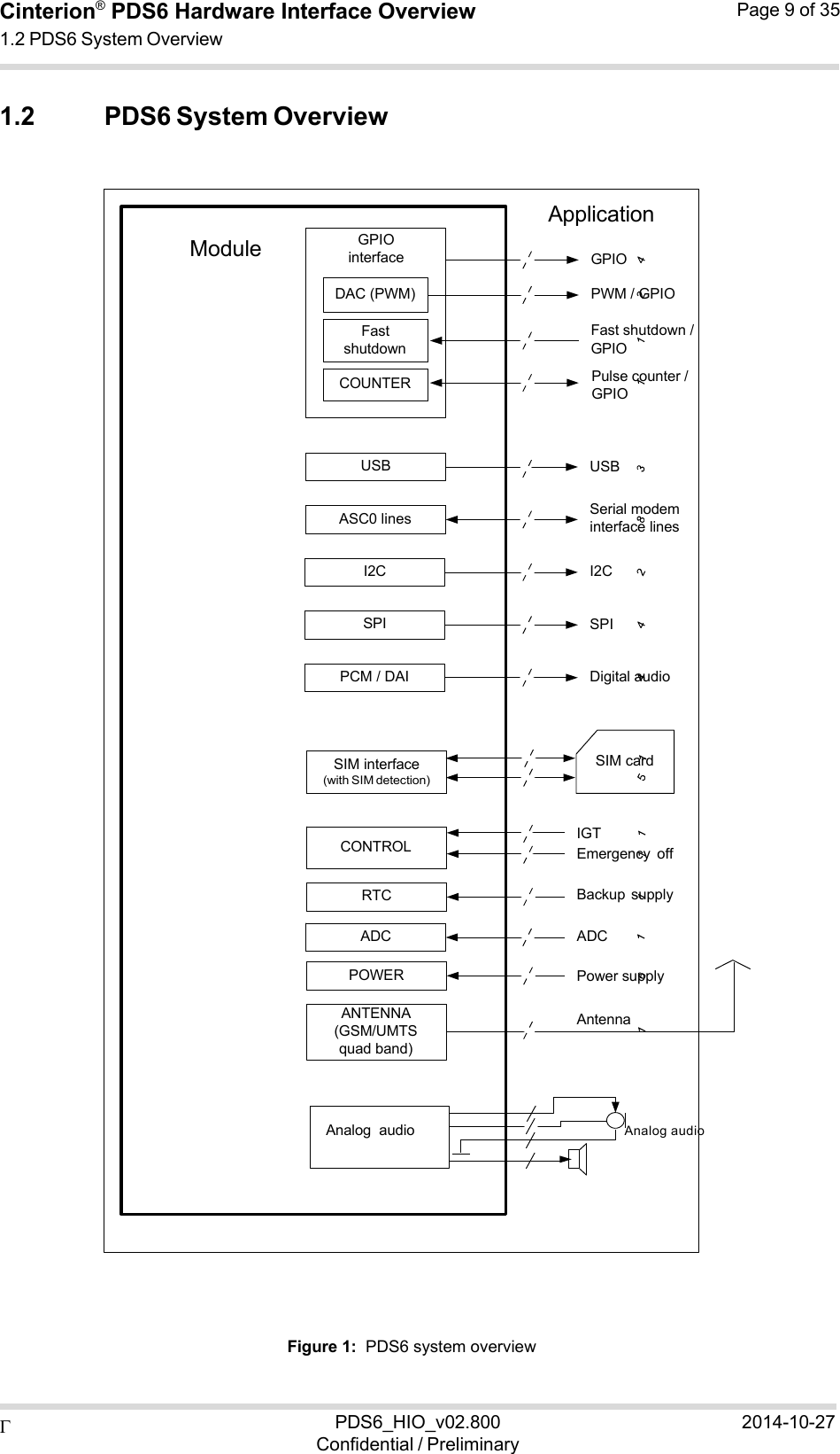
 PDS6_HIO_v02.800Confidential / Preliminary2014-10-27Cinterion®  PDS6 Hardware Interface Overview 1.2 PDS6 System Overview Page 9 of 35  Fast shutdown COUNTER ASC0 lines SIM interface (with SIM detection) CONTROL RTC ADC POWER GPIO interface DAC (PWM)USB I2C SPI PCM / DAI ANTENNA (GSM/UMTS quad band) Application Module  GPIO PWM / GPIO  Fast shutdown / GPIO Pulse counter / GPIO USB Serial modem interface lines  I2C SPIDigital audio SIM card IGTEmergency  offBackup  supplyADC Power supply  Antenna 1.2 PDS6 System Overview                                                                                     Analog  audio  Analog audio                                                                      Figure 1:  PDS6 system overview
 PDS6_HIO_v02.800Confidential / Preliminary2014-10-27Cinterion®  PDS6 Hardware Interface Overview 2 Interface Characteristics Page 10 of 35   2 Interface Characteristics  PDS6 is equipped with an SMT application interface that connects to the external application. The SMT application interface incorporates the various application interfaces as well as the RF antenna interface.   2.1 Application Interface  2.1.1 USB Interface PDS6 supports a USB 2.0 High Speed (480Mbit/s) device interface that is Full Speed (12Mbit/s) compliant. The USB interface is primarily intended for use as command and data interface and for downloading firmware.  The external application is responsible for supplying the VUSB_IN line. This line is used for ca- ble detection only. The USB part (driver and transceiver) is supplied by means of BATT+. This is because PDS6 is designed as a self-powered device compliant with the “Uni- versal Serial Bus Specification Revision 2.0”1.   Module       USB  part1)    VREG (3V075)      lin. reg.  SMT     BATT+ GND   VBUS  DP DN Detection only  RS RS  VUSB_IN USB_DP2) USB_DN2)    Host wakeup   RING0 H_WAKEUP  1) All  serial (including RS) and pull-up resistors for data lines are implemented. 2) If the USB interface is operated in High Speed mode (480MHz), it is recommended to take special care routing the data lines USB_DP and USB_DN. Application layout should in this case implement a differential impedance of 90Ohm for proper signal integrity.  Figure 2:  USB circuit  To properly connect the module's USB interface to the external application, a USB 2.0 compat- ible connector and cable or hardware design is required. Furthermore, the USB modem driver distributed with PDS6 needs to be installed.      1.  The specification is ready for download on http://www.usb.org/developers/docs/
 PDS6_HIO_v02.800Confidential / Preliminary2014-10-27Cinterion®  PDS6 Hardware Interface Overview 2.1 Application Interface Page 11 of 35   2.1.2 Serial Interface ASC0 PDS6 offers an 8-wire unbalanced, asynchronous modem interface ASC0 con- forming to ITU-T V.24 protocol DCE signalling. The electrical characteristics do not comply with ITU-T V.28. The significant levels are 0V (for low data bit or active state) and 1.8V (for high data bit or inactive state).  PDS6 is designed for use as a DCE. Based on the conventions for DCE-DTE con- nections it communicates with the customer application (DTE) using the following signals: • Port TXD @ application sends data to the module’s TXD0 signal line • Port RXD @ application receives data from the module’s RXD0 signal line     Features: Figure 3:  Serial interface ASC0 • Includes the data lines TXD0 and RXD0, the status lines RTS0 and CTS0 and, in addition, the modem control lines DTR0, DSR0, DCD0 and RING0. • ASC0 is designed for controlling GSM/UMTS voice calls, transferring data and for control- ling the module with AT commands. • Full multiplexing capability allows the interface to be partitioned into virtual channels. • The RING0 signal serves to indicate incoming calls and other types of URCs (Unsolicited Result Code). It can also be used to send pulses to the host application, for example to wake up the application from power saving state. • By default configured to the setting 8 data bits, no parity and 1 stop bit. • ASC0 can be operated at fixed bit rates from 1200bps up to 921600bps. • Autobauding supports bit rates from 1200bps up to 230400bps. • Supports RTS0/CTS0 hardware flow control. The hardware hand shake line RTS0 has an internal  pull  down  resistor  causing  a  low  level  signal,  if  the  line  is  not  used  and  open. Although hardware flow control is recommended, this allows communication by using only RXD and TXD lines. • Wake up from SLEEP mode by RTS0 activation (high to low transition).
 PDS6_HIO_v02.800Confidential / Preliminary2014-10-27Cinterion®  PDS6 Hardware Interface Overview 2.1 Application Interface Page 12 of 35   2.1.3 UICC/SIM/USIM Interface PDS6 has an integrated UICC/SIM/USIM interface compatible with the 3GPP 31.102 and ETSI 102 221. This is wired to the host interface in order to be connected to an external SIM card holder. Five pads on the SMT application interface are reserved for the SIM interface.  The UICC/SIM/USIM interface supports 3V and 1.8V SIM cards.  The CCIN signal serves to detect whether a tray (with SIM card) is present in the card holder. Using the CCIN signal is mandatory for compliance with the GSM 11.11 recommendation if the mechanical design of the host application allows the user to remove the SIM card during oper- ation. To take advantage of this feature, an appropriate SIM card detect switch is required on the card holder. For example, this is true for the model supplied by Molex, which has been test- ed to operate with PDS6 and is part of the Gemalto M2M reference equipment submitted for type approval. See Section 7.1 for Molex ordering numbers.  Table 1:  Signals of the SIM interface (SMT application interface)  Signal DescriptionGND Separate ground connection for SIM card to improve EMC.CCCLK Chipcard clock CCVCC SIM supply voltage. CCIO Serial data line, input and output.CCRST Chipcard reset CCIN Input on the baseband processor for detecting a SIM card tray in the holder. If the SIM is removed during operation the SIM interface is shut down immediately to prevent destruc-tion of the SIM. The CCIN signal is by default low and will change to high level if a SIM card is inserted. The CCIN signal is mandatory for applications that allow the user to remove the SIM card during operation. The CCIN signal is solely intended for use with a SIM card. It must not be used for any other purposes. Failure to comply with this requirement may invalidate the type approval of PDS6.  Note: No guarantee can be given, nor any liability accepted, if loss of data is encountered after removing the SIM card during operation. Also, no guarantee can be given for properly initializ- ing any SIM card that the user inserts after having removed the SIM card during operation. In this case, the application must restart PDS6.
 PDS6_HIO_v02.800Confidential / Preliminary2014-10-27Cinterion®  PDS6 Hardware Interface Overview 2.1 Application Interface Page 13 of 35   1nF SIM220nF  The figure below shows a circuit to connect an external SIM card holder.  V180  CCIN  CCVCC             CCRST CCIO CCCLK  Figure 4:  External UICC/SIM/USIM card holder circuit    The total cable length between the SMT application interface pads on PDS6 and the pads of the external SIM card holder must not exceed 100mm in order to meet the specifi- cations of 3GPP TS 51.010-1 and to satisfy the requirements of EMC compliance.  To avoid possible cross-talk from the CCCLK signal to the CCIO signal be careful that both lines are not placed closely next to each other. A useful approach is using a GND line to shield the CCIO line from the CCCLK line.
 PDS6_HIO_v02.800Confidential / Preliminary2014-10-27Cinterion®  PDS6 Hardware Interface Overview 2.1 Application Interface Page 14 of 35   2.1.4 Analog Audio Interface PDS6  has  an  analog  audio  interface  with  a  balanced  analog  microphone  input  and  a  bal- anced  analog  earpiece  output.  A  supply  voltage  and  an  analog  ground  connection  are provided at dedicated pads.  2.1.5 Digital Audio Interface PDS6‘s digital audio interface (DAI) can be used to connect audio devices capable of pulse code modulation (PCM).   2.1.6 GPIO Interface PDS6  offers  a  GPIO  interface  with  8  GPIO  lines.  The  GPIO  lines  are  shared  with other interfaces  or  functions:  Fast  shutdown  (see  Section  2.1.11.4),  the  PWM  functionality  (see Section 2.1.9), an pulse counter (see Section 2.1.10).  The following table shows the configuration variants for the GPIO pads. All variants are mutu- ally exclusive, i.e. a pad configured for instance as fast shutdown line is locked for alternative usage as GPIO.  Table 2:  GPIO lines and possible alternative assignment  GPIO Fast Shutdown PWM Pulse Counter GPIO2    GPIO4 FST_SHDN   GPIO5    GPIO6  PWM2  GPIO7  PWM1  GPIO8    COUNTER GPIO9    GPIO10      After startup, the above mentioned alternative GPIO line assignments can be configured using AT commands (see [1]). The configuration is non-volatile and available after module restart.
 PDS6_HIO_v02.800Confidential / Preliminary2014-10-27Cinterion®  PDS6 Hardware Interface Overview 2.1 Application Interface Page 15 of 35   2.1.7 I2C Interface I2C is a serial, 8-bit oriented data transfer bus for bit rates up to 400kbps in Fast mode. It con- sists of two lines, the serial data line I2CDAT and the serial clock line I2CCLK. The module acts as a single master device, e.g. the clock I2CCLK is driven by the module. I2CDAT is a bi-direc- tional line. Each  device  connected to the bus  is  software addressable by  a  unique 7-bit  ad- dress, and simple master/slave relationships exist at all times. The module operates as master- transmitter or as master-receiver. The customer application transmits or receives data only on request of the module.  The I2C interface can be powered via the V180 line of PDS6. If connected to the V180 line, the I2C interface will properly shut down when the module enters the Power Down mode.  Note: Good care should be taken when creating the PCB layout of the host application: The traces of I2CCLK and I2CDAT should be equal in length and as short as possible.    2.1.8 SPI Interface The  Serial  Peripheral  Interface  (SPI)  is  a  synchronous  serial  interface  for  control  and  data transfer between PDS6 and the external application. Only one application can be connected to  the  SPI  and  the  interface  supports  only  master  mode.  The  transmission  rates are up  to 6.5Mbit/s.  The  SPI  interface  comprises  the  two  data  lines  MOSI  and  MISO,  the  clock  line SPI_CLK a well as the chip select line SPI_CS.
 PDS6_HIO_v02.800Confidential / Preliminary2014-10-27Cinterion®  PDS6 Hardware Interface Overview 2.1 Application Interface Page 16 of 35   2.1.9 Analog-to-Digital Converter (ADC) ADC1_IN is used for general purpose voltage measurements. ADC1_IN can be configured and read by AT command - see [1].    2.1.10 PWM Interfaces The GPIO6 and GPIO7 interface lines can be configured as Pulse Width Modulation (PWM) interface lines PWM1 and PWM2. The PWM interface lines can be used, for example, to con- nect buzzers. The PWM1 line is shared with GPIO7 and the PWM2 line is shared with GPIO6 (for GPIOs see Section 2.1.5). GPIO and PWM functionality are mutually exclusive.    2.1.11 Pulse Counter The GPIO8 line can be configured as pulse counter line COUNTER. The pulse counter inter- face can be used, for example, as a clock (for GPIOs see Section 2.1.5).    2.1.12 Control Signals  2.1.12.1 Network Connectivity The STATUS line serves to indicate the module’s network connectivity state and can be used to control an externally connected LED.  2.1.12.2 Power Indication Signal The power  indication signal  PWR_IND  notifies the  on/off  state  of  the  module.  High  state of PWR_IND indicates that the module is switched off.  2.1.12.3 Host Wakeup If no call, data or message transfer is in progress, the host may shut down its own USB inter- face to save power. If a call or other request (URC’s, messages) arrives, the host can be noti- fied of these events and be woken up again by a state transition of either the RING0 or the GPIO4 line configured as H_WAKEUP line.  2.1.12.4 Fast Shutdown The GPIO4 interface line can be configured as fast shutdown signal line FST_SHDN. The con- figured FST_SHDN line is an active low control signal and must be applied for at least TBD. milliseconds.  If  unused  this  line  can  be  left  open  because  of  a  configured  internal  pull-up resistor.
 PDS6_HIO_v02.800Confidential / Preliminary2014-10-27Cinterion®  PDS6 Hardware Interface Overview 2.2 RF Antenna Interface Page 17 of 35   2.2 RF Antenna Interface The RF interface has an impedance of 50. PDS6 is capable of sustaining a total mismatch at the antenna line without any damage, even when transmitting at maximum RF power.  The external antenna must be matched properly to achieve best performance regarding radi- ated power, modulation accuracy and harmonic suppression. Antenna matching networks are not included on the PDS6 module and should be placed in the host application if the antenna does not have an impedance of 50.  Regarding the return loss PDS6 provides the following values in the active band:  Table 3:  Return loss in the active band  State of module Return loss of module Recommended return loss of applicationReceive > 8dB > 12dBTransmit not applicable > 12dB   2.2.1      Antenna Installation The antenna  is connected  by  soldering  the antenna  pad (ANT_GSM)  and their  neighboring ground pads directly to the application’s PCB.  The distance between the antenna pads and their neighboring GND pads has been optimized for best possible impedance. To prevent mismatch, special attention should be paid to these pads on the application’ PCB.  The wiring of the antenna connection, starting from the antenna pad to the application’s anten- na should result in a 50 line impedance. Line width and distance to the GND plane need to be optimized with regard to the PCB’s layer stack.  To prevent receiver desensitization due to interferences generated by fast transients like high speed clocks on the external application PCB, it is recommended to realize the antenna con- nection line using embedded Stripline rather than Micro-Stripline technology.  For type approval purposes, the use of a 50coaxial antenna connector (U.FL-R-SMT) might be necessary. In this case the U.FL-R-SMT connector should be placed as close as possible to PDS6‘s antenna pad.
 PDS6_HIO_v02.800Confidential / Preliminary2014-10-27Cinterion®  PDS6 Hardware Interface Overview 3 Operating Characteristics Page 18 of 35   3 Operating Characteristics  3.1 Operating Modes The table below briefly summarizes the various operating modes referred to throughout the document.  Table 4:  Overview of operating modes  Mode Function Normal operation GSM / GPRS / UMTS / HSPA SLEEP No call is in progress and the USB connection is suspended by host (or is not present) and no active communication via ASC0. GSM / GPRS / UMTS / HSPA IDLE No call is in progress and the USB connection is not suspended by host (or is not present) and no active communication via ASC0. GSM TALK/ GSM DATA Connection between two subscribers is in progress. Power consump- tion depends on the GSM network coverage and several connection settings (e.g. DTX off/on, FR/EFR/HR, hopping sequences and antenna connection). The following applies when power is to be mea- sured in TALK_GSM mode: DTX off, FR and no frequency hopping. GPRS DATA GPRS data transfer in progress. Power consumption depends on net-work settings (e.g. power control level), uplink / downlink data rates and GPRS configuration (e.g. used multislot settings). EGPRS DATA EGPRS data transfer in progress. Power consumption depends on net-work settings (e.g. power control level), uplink / downlink data rates andEGPRS configuration (e.g. used multislot settings). UMTS TALK/ UMTS DATA UMTS data transfer in progress. Power consumption depends on net- work settings (e.g. TPC Pattern) and data transfer rate. HSPA DATA HSPA data transfer in progress. Power consumption depends on net- work settings (e.g. TPC Pattern) and data transfer rate. Power Down Normal shutdown after sending the power down command. Only a voltage regulator is active for powering the RTC. Software is not active. Interfaces are not accessible. Operat- ing voltage (connected to BATT+) remains applied. Airplane mode Airplane mode shuts down the radio part of the module, causes the module to log off fromthe GSM/GPRS network and disables all AT commands whose execution requires a radioconnection. Airplane mode can be controlled by AT command (see [1]).
 PDS6_HIO_v02.800Confidential / Preliminary2014-10-27Cinterion®  PDS6 Hardware Interface Overview 3.2 Power Supply Page 19 of 35   3.2 Power Supply PDS6 needs to be connected to a power supply at the SMT application interface - 6 lines BATT+, and GND. There are two separate voltage domains for BATT+: • BATT+BB  with a line for the general power management. • BATT+RF  with a line for the GSM power amplifier supply. Please note that throughout the document BATT+ refers to both voltage domains and power supply lines - BATT+BB  and BATT+RF. The power supply of PDS6 has to be a single voltage source at BATT+. It must be able to provide the peak current during the uplink transmission.  All the key functions for supplying power to the device are handled by the power management section of the analog controller. This IC provides the following features:  • Stabilizes the supply voltages for the baseband using low drop linear voltage regulators and a DC-DC step down switching regulator. • Switches the module's power voltages for the power-up and -down procedures. • SIM switch to provide SIM power supply.
 PDS6_HIO_v02.800Confidential / Preliminary2014-10-27Cinterion®  PDS6 Hardware Interface Overview 4 Mechanical Dimensions, Mounting and Packaging Page 20 of 35   4 Mechanical Dimensions, Mounting and Packaging  4.1 Mechanical Dimensions of PDS6 Figure 5 shows a 3D view1  of PDS6 and provides an overview of the board's me- chanical dimensions. For further details see Figure 6. Length: 33mm Width: 29mm Height: 2mm                 Top view                      Bottom view   Figure 5:  PDS6 – top and bottom view    1.  The coloring of the 3D view does not reflect the module’s real color.
  Cinterion®  PDS6 Hardware Interface Overview 4.1 Mechanical Dimensions of PDS6 Page 21 of 35      Figure 6:  Dimensions of PDS6 (all dimensions in mm)           PDS6_HIO_v02.800  2014-10-27 Confidential / Preliminary Position markerInternal use;Not to be soldered
Cinterion®  PDS6 Hardware Interface Overview 5 Regulatory and Type Approval Information Page 22 of 35 PDS6_HIO_v02.800Confidential / Preliminary2014-10-27 7   5 Regulatory and Type Approval Information  5.1 Directives and Standards PDS6 is designed to comply with the directives and standards listed below.  It is the responsibility of the application manufacturer to ensure compliance of the final product with all provisions of the applicable directives and standards as well as with the technical spec- ifications provided in the "PDS6 Hardware Interface Description".1  Table 5:  Directives  1999/05/EC Directive of the European Parliament and of the council of 9 March 1999 on radio equipment and telecommunications terminal equipment and the mutual recognition of their conformity (in short referred to as R&TTE Direc- tive 1999/5/EC). The product is labeled with the CE conformity mark is CE1588. 2002/95/EC (RoHS 1) 2011/65/EC (RoHS 2) Directive of the European Parliament and of the Council of 27 January 2003 (and revised on 8 June 2011) on the restriction of the use of certain hazardous substances in electrical and electronic equipment (RoHS)   Table 6:  Standards of North American type approval1  CFR Title 47 Code of Federal Regulations, Part 22 and Part 24 (Telecommunications, PCS); US Equipment Authorization FCC OET Bulletin 65 (Edition 97-01) Evaluating Compliance with FCC Guidelines for Human Exposure to Radiofrequency Electromagnetic Fields UL 60 950-1 Product Safety Certification (Safety requirements)NAPRD.03 V5.15 Overview of PCS Type certification review board Mobile Equipment Type Certification and IMEI control PCS Type Certification Review board (PTCRB) RSS132 (Issue2) RSS133 (Issue5) Canadian Standard1. Applies to the module variant PDS6 only.   Table 7:  Standards of European type approval1  3GPP TS 51.010-1 Digital cellular telecommunications system (Release 7); Mobile Station (MS) conformance specification; ETSI EN 301 511 V9.0.2 Global System for Mobile communications (GSM); Harmonized standard for mobile stations in the GSM 900 and DCS 1800 bands covering essential requirements under article 3.2 of the R&TTE directive (1999/5/EC) GCF-CC V3.49 Global Certification Forum - Certification Criteria    1.  Manufacturers of applications which can be used in the US shall ensure that their applications have a PTCRB approval. For this purpose they can refer to the PTCRB approval of the respective module.
 PDS6_HIO_v02.800Confidential / Preliminary2014-10-27Cinterion®  PDS6 Hardware Interface Overview 5.1 Directives and Standards Page 23 of 35   Table 7:  Standards of European type approval1  ETSI EN 301 489-01 V1.9.2 Electromagnetic Compatibility and Radio spectrum Matters (ERM); Electro- magnetic Compatibility (EMC) standard for radio equipment and services; Part 1: Common Technical Requirements ETSI EN 301 489-07 V1.3.1 Electromagnetic Compatibility and Radio spectrum Matters (ERM); Electro- magnetic Compatibility (EMC) standard for radio equipment and services; Part 7: Specific conditions for mobile and portable radio and ancillary equip- ment of digital cellular radio telecommunications systems (GSM and DCS) ETSI EN 301 489-24 V1.5.1 Electromagnetic Compatibility and Radio spectrum Matters (ERM); Electro- magnetic Compatibility (EMC) standard for radio equipment and services; Part 24: Specific conditions for IMT-2000 CDMA Direct Spread (UTRA) for Mobile and portable (UE) radio and ancillary equipment ETSI EN 301 908-01 V5.2.1 Electromagnetic compatibility and Radio spectrum Matters (ERM); Base Stations (BS) and User Equipment (UE) for IMT-2000 Third Generation cel- lular networks; Part 1: Harmonized EN for IMT-2000, introduction and com- mon requirements of article 3.2 of the R&TTE Directive ETSI EN 301 908-02 V5.2.1 Electromagnetic compatibility and Radio spectrum Matters (ERM); Base Stations (BS) and User Equipment (UE) for IMT-2000 Third Generation cel- lular networks; Part 2: Harmonized EN for IMT-2000, CDMA Direct Spread (UTRA FDD) (UE) covering essential requirements of article 3.2 of the R&TTE Directive EN 62311:2008 Assessment of electronic and electrical equipment related to human expo- sure restrictions for electromagnetic fields (0 Hz - 300 GHz) EN 60950-1:2006+ A12:2011+A11:2009+ A1:2010 IEC 60950-1:2005/ A1:2009 (second edition) Safety of information technology equipment1. Applies to the module variant PDS6 only.   Table 8:  Requirements of quality  IEC 60068 Environmental testingDIN EN 60529 IP codes
 PDS6_HIO_v02.800Confidential / Preliminary2014-10-27Cinterion®  PDS6 Hardware Interface Overview 5.1 Directives and Standards Page 24 of 35   Table 9:  Standards of the Ministry of Information Industry of the People’s Republic of China  SJ/T 11363-2006 “Requirements for Concentration Limits for Certain Hazardous Sub- stances in Electronic Information Products” (2006-06). SJ/T 11364-2006 “Marking for Control of Pollution Caused by Electronic Information Products” (2006-06).  According to the “Chinese Administration on the Control of Pollution caused by Electronic Information Products” (ACPEIP) the EPUP, i.e., Environmental Protection Use Period, of this product is 20 years as per the symbol shown here, unless otherwise marked. The EPUP is valid only as long as the product is operated within the operating limits described in the Gemalto M2M Hardware Interface Description.  Please see Table 10 for an overview of toxic or hazardous substances or elements that might be contained in product parts in concentrations above the limits defined by SJ/T 11363-2006.   Table 10:  Toxic or hazardous substances or elements with defined concentration limits
 PDS6_HIO_v02.800Confidential / Preliminary2014-10-27Cinterion®  PDS6 Hardware Interface Overview 5.2 SAR requirements specific to portable mobiles Page 25 of 35   5.2 SAR requirements specific to portable mobiles Mobile phones, PDAs or other portable transmitters and receivers incorporating a GSM module must be in accordance with the guidelines for human exposure to radio frequency energy. This requires  the  Specific  Absorption  Rate  (SAR)  of  portable  PDS6  based  applications to  be evaluated and approved for compliance with national and/or international regulations.  Since the SAR value varies significantly with the individual product design manufacturers are advised to submit their product for approval if designed for portable use. For European and US markets the relevant directives are mentioned below. It is the responsibility of the manufacturer of the final product to verify whether or not further standards, recommendations or directives are in force outside these areas.  Products intended for sale on US markets1  ES 59005/ANSI C95.1 Considerations for evaluation of human exposure to Electromagnetic Fields (EMFs) from Mobile Telecommunication Equipment (MTE) in the frequency range 30MHz - 6GHz  Products intended for sale on European markets  EN 50360   Product standard to demonstrate the compliance of mobile phones with the basic restrictions related to human exposure to electromagnetic fields (300MHz - 3GHz)   Please note that SAR requirements are specific only for portable devices and not for mobile devices as defined below:  • Portable device: A portable device is defined as a transmitting device designed to be used so that the radi- ating structure(s) of the device is/are within 20 centimeters of the body of the user. • Mobile device: A mobile device is defined as a transmitting device designed to be used in other than fixed locations and to generally be used in such a way that a separation distance of at least 20 centimeters is normally maintained between the transmitter's radiating structure(s) and the body of the user or nearby persons. In this context, the term ''fixed location'' means that the device is physically secured at one location and is not able to be easily moved to another location.                1.  Applies for the quad band module variant PDS6 only.
 PDS6_HIO_v02.800Confidential / Preliminary2014-10-27Cinterion®  PDS6 Hardware Interface Overview 5.3 Reference Equipment for Type Approval Page 26 of 35  Analog Audio  5.3 Reference Equipment for Type Approval The Gemalto M2M reference setup submitted to type approve PDS6 (including a special approval adapter for the DSB75) is shown in the following figure1:   Antenna     Figure 7:  Reference equipment for Type Approval    1.  For RF performance tests a mini-SMT/U.FL to SMA adapter with attached 6dB coaxial attenuator is cho- sen to  connect the evaluation module directly to the GSM/UMTS test equipment instead of employing the SMA antenna connectors on the PDS6-DSB75 adapter as shown in Figure 7. The following products are recommended: Hirose SMA-Jack/U.FL-Plug conversion adapter HRMJ-U.FLP(40) (for details see see http://www.hirose-connectors.com/ or http://www.farnell.com/ Aeroflex Weinschel Fixed Coaxial Attenuator Model 3T/4T (for details see http://www.aeroflex.com/ams/weinschel/pdfiles/wmod3&4T.pdf)      PC  Power supply   Audio test system   GSM / GPRS / UMTS Base station       DSB75 AudioAudio GSM/GPRS / UMTS Antenna with 1m cable USB ASC0  Approval adapterforDSB75   SIM card SMA  USB Evaluation  moduleEvaluation  module DAI/PCM PDS6Codec adapterPDS6 Handset
 PDS6_HIO_v02.800Confidential / Preliminary2014-10-27Cinterion®  PDS6 Hardware Interface Overview 5.4 Compliance with FCC and IC Rules and Regulations Page 27 of 35   5.4 Compliance with FCC and IC Rules and Regulations The Equipment Authorization Certification for the Gemalto M2M reference application de- scribed in Section 5.3 will be registered under the following identifiers1:  FCC Identifier: QIPPDS6 Industry Canada Certification Number: 7830A-PDS6 Granted to Gemalto M2M GmbH  Manufacturers of mobile or fixed devices incorporating PDS6 modules are authorized to use the FCC Grants and Industry Canada Certificates of the PDS6 modules for their own final products according to the conditions referenced in these documents. In this case, an FCC/ IC label of the module shall be visible from the outside, or the host device shall bear a second label stating "Contains FCC ID QIPPDS6", and accordingly “Contains IC 7830A-PDS6“. The integration is limited to fixed or mobile categorised host devices, where a separation dis- tance between the antenna and any person of min. 20cm can be assured during normal oper- ating conditions. For mobile and fixed operation configurations the antenna gain, including cable loss, must not exceed the limits 2.15 dBi (850 MHz) and 2.15 dBi (1900 MHz).  IMPORTANT: Manufacturers of portable applications incorporating PDS6 modules are required to have their final  product  certified  and  apply  for  their  own  FCC  Grant  and  Industry  Canada  Certificate related to the specific portable mobile. This is mandatory to meet the SAR requirements for por- table mobiles (see Section 5.2 for detail).  FCC Regulations    WARNING: This device complies with part 15 of the FCC Rules. Operation is subject to the following two conditions: (1) This device may not cause harmful interference, and (2) this device must accept any interference received, including interference that may cause undesired operation. Changes or modifications not expressly approved by the party responsible for compliance could void the user’s authority to operate the equipment.    NOTE:  This equipment has been tested and found to comply with the limits for a Class B digital device, pursuant to part 15 of the FCC Rules.  These limits are designed to provide reasonable protection against harmful interference in a residential installation.  This equipment generates, uses and can radiate radio frequency energy and, if not installed and used in accordance with the instructions, may cause harmful interference to radio communications.  However, there is no guarantee that interference will not occur in a particular installation.  If this equipment does cause harmful interference to radio or television reception, which can be determined by turning the equipment off and on, the user is encouraged to try to correct the interference by one or more of the following measures: - Reorient or relocate the receiving antenna. - Increase the separation between the equipment and receiver. -Connect the equipment into an outlet on a circuit different from that to which the receiver is connected. -Consult the dealer or an experienced radio/TV technician for help.   IC Regulations
 PDS6_HIO_v02.800Confidential / Preliminary2014-10-27Cinterion®  PDS6 Hardware Interface Overview 5.4 Compliance with FCC and IC Rules and Regulations Page 27 of 35  IC Notice This device complies with Industry Canada license‐exempt RSS standard(s). Operation is subject to the following two conditions:   1) this device may not cause interference, and  2) this device must accept any interference, including interference that may cause undesired operation of the device.    Le présent appareil est conforme aux CNR d'Industrie Canada applicables aux appareils radio exempts de licence.  L'exploitation est autorisée aux deux conditions suivantes:    (1) l'appareil ne doit pas produire de brouillage, et  (2) l'utilisateur de l'appareil doit accepter tout brouillage radioélectrique subi, même si le brouillage est susceptible d'en    This Class B digital apparatus complies with Canadian ICES‐003. Cet appareil numérique de la classe B est conforme à la norme NMB‐003 du Canada.        1.  Applies only for the quad band module variant PDS6.
 PDS6_HIO_v02.800Confidential / Preliminary2014-10-27Cinterion®  PDS6 Hardware Interface Overview 6 Document Information Page 28 of 35   6 Document Information  6.1 Revision History New document: "Cinterion® PDS6 Hardware Interface Overview" Version 01.000  Chapter What is new -- Initial document setup.    6.2 Related Documents [1] PDS6 AT Command Set [2] PDS6 Release Note [3] Application Note 48: SMT Module Integration [4] Universal Serial Bus Specification Revision 2.0, April 27, 2000    6.3 Terms and Abbreviations   Abbreviation Description ADC Analog-to-digital converterAGC Automatic Gain ControlANSI American National Standards InstituteARFCN Absolute Radio Frequency Channel NumberARP Antenna Reference PointASC0/ASC1 Asynchronous Controller. Abbreviations used for first and second serial interface of PDS6 B Thermistor Constant BER Bit Error Rate BTS Base Transceiver StationCB or CBM Cell Broadcast MessageCE Conformité Européene (European Conformity)CHAP Challenge Handshake Authentication ProtocolCPU Central Processing UnitCS Coding Scheme CSD Circuit Switched Data CTS Clear to Send DAC Digital-to-Analog ConverterDAI Digital Audio Interface
 PDS6_HIO_v02.800Confidential / Preliminary2014-10-27Cinterion®  PDS6 Hardware Interface Overview 6.3 Terms and Abbreviations Page 29 of 35    Abbreviation Description dBm0 Digital level, 3.14dBm0 corresponds to full scale, see ITU G.711, A-law DCE Data Communication Equipment (typically modems, e.g. Gemalto M2M module)DCS 1800 Digital Cellular System, also referred to as PCNDRX Discontinuous ReceptionDSB Development Support BoxDSP Digital Signal ProcessorDSR Data Set Ready DTE Data Terminal Equipment (typically computer, terminal, printer or, for example, GSM application) DTR Data Terminal Ready DTX Discontinuous TransmissionEFR Enhanced Full Rate EGSM Enhanced GSM EIRP Equivalent Isotropic Radiated PowerEMC Electromagnetic CompatibilityERP Effective Radiated PowerESD Electrostatic DischargeETS European Telecommunication StandardFCC Federal Communications Commission (U.S.)FDMA Frequency Division Multiple AccessFR Full Rate GMSK Gaussian Minimum Shift KeyingGPIO General Purpose Input/OutputGPRS General Packet Radio ServiceGSM Global Standard for Mobile CommunicationsHiZ High Impedance HR Half Rate I/O Input/Output IC Integrated Circuit IMEI International Mobile Equipment IdentityISO International Standards OrganizationITU International Telecommunications Unionkbps kbits per second LED Light Emitting Diode Li-Ion/Li+ Lithium-Ion Li battery Rechargeable Lithium Ion or Lithium Polymer batteryMbps Mbits per second MMI Man Machine Interface
 PDS6_HIO_v02.800Confidential / Preliminary2014-10-27Cinterion®  PDS6 Hardware Interface Overview 6.3 Terms and Abbreviations Page 30 of 35    Abbreviation Description MO Mobile Originated MS Mobile Station (GSM module), also referred to as TEMSISDN Mobile Station International ISDN numberMT Mobile Terminated NTC Negative Temperature CoefficientOEM Original Equipment ManufacturerPA Power Amplifier PAP Password Authentication ProtocolPBCCH Packet Switched Broadcast Control ChannelPCB Printed Circuit Board PCL Power Control Level PCM Pulse Code ModulationPCN Personal Communications Network, also referred to as DCS 1800 PCS Personal Communication System, also referred to as GSM 1900 PDU Protocol Data Unit PLL Phase Locked Loop PPP Point-to-point protocol PSK Phase Shift Keying PSU Power Supply Unit PWM Pulse Width ModulationR&TTE Radio and Telecommunication Terminal EquipmentRAM Random Access MemoryRF Radio Frequency RLS Radio Link Stability RMS Root Mean Square (value)RoHS Restriction of the use of certain hazardous substances in electrical and electronic equipment. ROM Read-only Memory RTC Real Time Clock RTS Request to Send Rx Receive Direction SAR Specific Absorption RateSAW Surface Accoustic WaveSELV Safety Extra Low VoltageSIM Subscriber Identification ModuleSMD Surface Mount DeviceSMS Short Message ServiceSMT Surface Mount Technology
 PDS6_HIO_v02.800Confidential / Preliminary2014-10-27Cinterion®  PDS6 Hardware Interface Overview 6.3 Terms and Abbreviations Page 31 of 35    Abbreviation Description SRAM Static Random Access MemoryTA Terminal adapter (e.g. GSM module)TDMA Time Division Multiple AccessTE Terminal Equipment, also referred to as DTETLS Transport Layer SecurityTx Transmit Direction UART Universal asynchronous receiver-transmitterURC Unsolicited Result CodeUSSD Unstructured Supplementary Service DataVSWR Voltage Standing Wave Ratio
 PDS6_HIO_v02.800Confidential / Preliminary2014-10-27Cinterion®  PDS6 Hardware Interface Overview 6.4 Safety Precaution Notes Page 32 of 35   6.4 Safety Precaution Notes The following safety precautions must be observed during all phases of the operation, usage, service or repair of any cellular terminal or mobile incorporating PDS6. Manufac- turers of the cellular terminal are advised to convey the following safety information to users and operating personnel and to incorporate these guidelines into all manuals supplied with the product. Failure to comply with these precautions violates safety standards of design, manu- facture and intended use of the product. Gemalto M2M assumes no liability for customer’s fail- ure to comply with these precautions.         When in a hospital or other health care facility, observe the restrictions on the use of mobiles. Switch the cellular terminal or mobile off, if instructed to do so by the guide- lines posted in sensitive areas. Medical equipment may be sensitive to RF energy. The operation of cardiac pacemakers, other implanted medical equipment and hear- ing aids can be affected by interference from cellular terminals or mobiles placed close to the device. If in doubt about potential danger, contact the physician or the manufac- turer of the device to verify that the equipment is properly shielded. Pacemaker patients are advised to keep their hand-held mobile away from the pacemaker, while it is on.     Switch off the cellular terminal or mobile before boarding an aircraft. Make sure it can- not be switched on inadvertently. The operation of wireless appliances in an aircraft is forbidden to prevent interference with communications systems. Failure to observe these instructions may lead to the suspension or denial of cellular services to the offender, legal action, or both.    Do not operate the cellular terminal or mobile in the presence of flammable gases orfumes. Switch off the cellular terminal when you are near petrol stations, fuel depots,chemical plants or where blasting operations are in progress. Operation of any elec-trical equipment in potentially explosive atmospheres can constitute a safety hazard.     Your cellular terminal or mobile receives and transmits radio frequency energy while switched on. Remember that interference can occur if it is used close to TV sets, radios, computers or inadequately shielded equipment. Follow any special regulations and always switch off the cellular terminal or mobile wherever forbidden, or when you suspect that it may cause interference or danger.     Road safety comes first! Do not use a hand-held cellular terminal or mobile when driv- ing a vehicle, unless it is securely mounted in a holder for speakerphone operation. Before making a call with a hand-held terminal or mobile, park the vehicle. Speakerphones must be installed by qualified personnel. Faulty installation or opera- tion can constitute a safety hazard.           IMPORTANT! Cellular terminals or mobiles operate using radio signals and cellular networks. Because of this, connection cannot be guaranteed at all times under all conditions. Therefore, you should never rely solely upon any wireless device for essential com- munications, for example emergency calls. Remember, in order to make or receive calls, the cellular terminal or mobile must be switched on and in a service area with adequate cellular signal strength. Some networks do not allow for emergency calls if certain network services or phonefeatures are in use (e.g. lock functions, fixed dialing etc.). You may need to deactivatethose features before you can make an emergency call. Some networks require that a valid SIM card be properly inserted in the cellular termi- nal or mobile.
 PDS6_HIO_v02.800Confidential / Preliminary2014-10-27Cinterion®  PDS6 Hardware Interface Overview 7 Appendix Page 33 of 35   7 Appendix  7.1 List of Parts and Accessories Table 11:  List of parts and accessories  Description Supplier Ordering informationPDS6 Gemalto M2M Standard module Gemalto M2M IMEI: Packaging unit (ordering) number: L30960-N3810-A100 (PDS6) Module label number: S30960-S3810-A100-1 (PDS6)  Customer IMEI mode: Packaging unit (ordering) number: L30960-N3815-A100 (PDS6) Module label number: S30960-S3815-A100-1 (PDS6) DSB75 Evaluation Kit Gemalto M2M Ordering number: L36880-N8811-A100 Multi-Adapter R1 for mount- ing PDS6 evalu- ation modules onto DSB75 Gemalto M2M Ordering number: L30960-N0010-A100 Approval adapter for mount- ing PDS6 evalu- ation modules onto DSB75 Gemalto M2M Ordering number: L30960-N2301-A100 Evaluation Module Gemalto M2M Ordering number: L30960-N3811-A100 (PDS6)Votronic Handset VOTRONIC / Gemalto M2MGemalto M2M ordering number: L36880-N8301-A107 Votronic ordering number: HH-SI-30.3/V1.1/0 VOTRONIC Entwicklungs- und Produktionsgesellschaft für elek- tronische Geräte mbH Saarbrücker Str. 8 66386 St. Ingbert Germany Phone:  +49-(0)6 89 4 / 92 55-0 Fax:  +49-(0)6 89 4 / 92 55-88 Email:  contact@votronic.com SIM card holder incl. push button ejector and slide-in tray Molex Ordering numbers:  91228 91236 Sales contacts are listed in Table 12.
 PDS6_HIO_v02.800Confidential / Preliminary2014-10-27Cinterion®  PDS6 Hardware Interface Overview 7.1 List of Parts and Accessories Page 34 of 35   Table 12:  Molex sales contacts (subject to change)  Molex For further information please click: http://www.molex.com Molex Deutschland GmbH Otto-Hahn-Str. 1b 69190 Walldorf Germany Phone: +49-6227-3091-0 Fax: +49-6227-3091-8100 Email: mxgermany@molex.comAmerican Headquarters Lisle, Illinois 60532 U.S.A. Phone: +1-800-78MOLEX Fax: +1-630-969-1352 Molex China Distributors Beijing, Room 1311, Tower B, COFCO Plaza No. 8, Jian Guo Men Nei Street, 100005 Beijing P.R. China Phone:  +86-10-6526-9628 Fax:  +86-10-6526-9730 Molex Singapore Pte. Ltd. 110, International Road Jurong Town, Singapore 629174   Phone:  +65-6-268-6868 Fax: +65-6-265-6044 Molex Japan Co. Ltd. 1-5-4 Fukami-Higashi, Yamato-City, Kanagawa, 242-8585 Japan  Phone:  +81-46-265-2325Fax: +81-46-265-2365
 35         About Gemalto  Gemalto (Euronext NL0000400653 GTO) is the world leader in digital security with 2011 annual revenues of €2 billion and more than 10,000 employees operating out of 74 offices and 14 Research & Development centers, located in 43 countries.  We are at the heart of the rapidly evolving digital society. Billions of people worldwide increasingly want the freedom to communicate, travel, shop, bank, entertain and work - anytime, everywhere - in ways that are enjoyable and safe. Gemalto delivers on their expanding needs for personal mobile services, payment security, authenticated cloud access, identity and privacy protection, eHealthcare and eGovernment efficiency, convenient ticketing and dependable machine-to- machine (M2M) applications.  Gemalto develops secure embedded software and secure products which we design and personalize. Our platforms and services manage these secure products, the confidential data they contain and the trusted end-user services they enable. Our innovations enable our clients to offer trusted and convenient digital services to billions of individuals.  Gemalto thrives with the growing number of people using its solutions to interact with the digital and wireless world.  For more information please visit m2m.gemalto.com, www.facebook.com/gemalto, or Follow@gemaltom2m on twitter.        Gemalto M2M GmbH St.-Martin-Str. 60 81541 Munich Germany                  M2M.GEMALTO.COM © Gemalto 2014. All rights reserved. Gemalto, the Gemalto logo, are trademarks and service marks of Gemalto and are registered in certain countries. April 2013

Navigation menu