The Kroger SZG2NCR1 G2Z Access Point User Manual 5 Manual G2Z NCAP
The Kroger Co. G2Z Access Point 5 Manual G2Z NCAP
Manual

G2Z-NCAP
User Guide

G2Z-NCAP User Guide
Page 2
The Kroger Co.
Release 1.0
Version 1.1
Copyright © 2010, The Kroger Co. All rights reserved.
No part of this publication may be reproduced, transmitted, transcribed, stored in a retrieval
system, or translated into any language, in any form or by any means, electronic, mechanical,
photocopying, recording, or otherwise, without prior written permission from The Kroger Co.
All copyright, confidential information, patents, design rights and all other intellectual property
rights of whatsoever nature contained herein are and shall remain the sole and exclusive
property of The Kroger Co. The information furnished herein is believed to be accurate and
reliable. However, no responsibility is assumed by The Kroger Co. for its use, or for any
infringements of patents or other rights of third parties resulting from its use.
The Kroger Co. name and The Kroger Co. logo are trademarks or registered trademarks of The
Kroger Co. All other trademarks are the property of their respective owners.

G2Z-NCAP User Guide
Page 3
Table of Content
1 INTRODUCTION .................................................................................................................5
2 G2Z-NCAP SPECIFICATIONS ...............................................................................................6
2.1 PROCESSING ............................................................................................................................... 6
2.2 NETWORK CONNECTIONS .............................................................................................................. 6
2.3 POWER ...................................................................................................................................... 6
2.4 CUSTOMER APPLICATIONS ............................................................................................................. 6
2.5 FIRMWARE UPDATES .................................................................................................................... 6
2.6 OPERATING CONDITIONS ............................................................................................................... 6
2.7 DIMENSIONS ............................................................................................................................... 6
2.8 APPROVALS ................................................................................................................................ 6
2.9 INCLUDED ACCESSORIES ................................................................................................................ 6
2.10 SAFETY PRECAUTIONS .............................................................................................................. 7
2.11 ELECTROSTATIC DISCHARGE ...................................................................................................... 7
3 POWER REQUIREMENTS ...................................................................................................8
4 INTERFACE DETAILS ..........................................................................................................9
4.1 RS232 INTERFACE: ...................................................................................................................... 9
4.2 ZIGBEE INTERFACE: ...................................................................................................................... 9
5 FCC COMPLIANCE STATEMENTS .....................................................................................10
6 OPERATIONAL INSTRUCTION ..........................................................................................10
Tables
Table 1: RJ45 Connector Pin Assignment: 8

G2Z-NCAP User Guide
Page 4
Revision History
Date
Change Description
Revision
2
9
-
SEP
-
12
Initial Revision
1.0
07
-
Nov
-
12
Updated for Compliance statements
1.
1

G2Z-NCAP User Guide
Page 5
1 Introduction
G2Z-NCAP is a POE powered device ZigBee Access Point device.
Benefits
• Supports time synchronization with a Network Time Protocol (NTP) server.
• Access point for Zigbee Infrastructure.
• Firmware update via LAN

G2Z-NCAP User Guide
Page 6
2 G2Z-NCAP Specifications
2.1
2.12.1
2.1 Processing
• 600Mhz Dual Core SoC
• Upto 256MB DDR2 RAM
• 128MB NAND FLASH
• On-Board ZigBee Modules (4 Nos)
• RS232 Interface
• Monta Vista Linux Kernel
2.2
2.22.2
2.2 Network Connections
• 10/100 Mbps Ethernet
2.3
2.32.3
2.3 Power
Input Voltage: 48VDC (POE)
Input Current: 0.2A
2.4
2.42.4
2.4 Customer Applications
• Access Point
2.5
2.52.5
2.5 Firmware Updates
• Firmware updates over the LAN network
2.6
2.62.6
2.6 Operating Conditions
• Temperature: 5 to 40º C (41 to 104 ºF)
• Humidity: 20 to 80% RHG
• Indoor use only
2.7
2.72.7
2.7 Dimensions
• Height: 30 mm
• Width: 179 mm
• Depth: 179 mm
2.8
2.82.8
2.8 Approvals
• EMI
o FCC
• Safety
o UL
2.9
2.92.9
2.9 Included Accessories
Adjustable ceiling mount supporting tile mount, through ceiling mount and tear drop
installations.

G2Z-NCAP User Guide
Page 7
2.10
2.102.10
2.10 Safety Precautions
Below is safety precaution that should be observed when installing device.
2.11
2.112.11
2.11 Electrostatic Discharge
The device will be installed over ceiling, there will not threat of ESD during normal operation.
The ESD threat will be further reduced due to plastic casing.
The installation of the device will be done through trained person. The person should take care
of ESD precautions while installing device.

G2Z-NCAP User Guide
Page 8
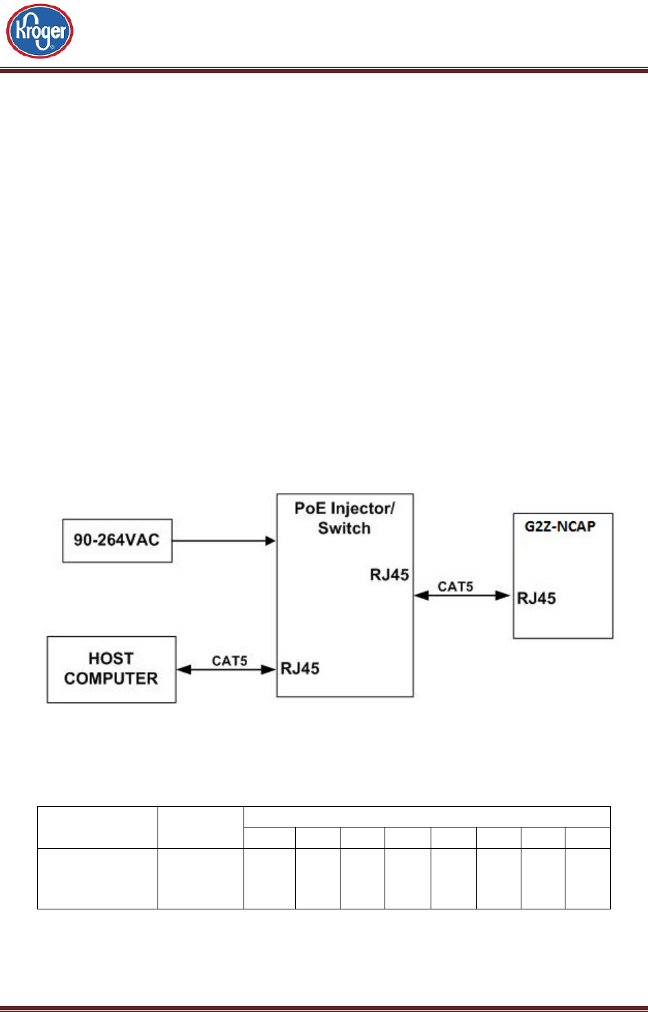
3 Power Requirements
The G2Z-NCAP can be powered through PoE Adapter or PoE Switch through RJ-45 Ethernet
connector. Being 802.3af compliant device, G2Z-NCAP would draw 10W (< 13W as per PoE
standard) power from PoE source.
The PoE Adapter/Switch is not part standard packaging. The standard 802.3af Compliant,
FCC/CE/UL certified off-the-shelf devices should be used to avoid interference issues to
G2Z-NCAP.
If multiple G2Z-NCAP will be powered from single multiport Ethernet switch, proper power
rating should be selected to meet individual power requirements of G2Z-NCAP.
• Specifications for suitable PoE Injector or Switch are as follows:
o Input Voltages: 90–264 VAC, 60Hz
o Output Voltage (Typ): 48 VDC
o Output Current: 0.32A per Port
o Power: 15.36W per Port
Standard Source
Voltage
RJ45 Pin Number
1 2 3 4 5 6 7 8
IEEE 802.3af
using Spare
Data pairs
48-56VDC TX+ TX- RX+ DC+ DC+ RX- DC- DC-
Table 1: RJ45 Connector Pin Assignment:

G2Z-NCAP User Guide
Page 9
4 Interface Details
G2Z-NCAP Device provides RJ45 interface for Network connectivity. The Ethernet interface is
the only available interface to the outside world. Apart from RJ45, G2Z-NCAP provides ZigBee
wireless connectivity through on-board ZigBee modules.
Interfaces available on-board G2Z-NCAP:
4.1
4.14.1
4.1 RS232 Interface:
On Board RS232 interface is not accessible from outside enclosure.
4.2
4.24.2
4.2 ZigBee Interface:
G2Z-NCAP has 4 ZigBee modules for wireless connectivity.

G2Z-NCAP User Guide
Page 10
5 FCC Compliance Statements
This device complies with Part 15 of the FCC rules. Operation is subject to following
two conditions:
1. This device may not cause harmful interference and
2. This device must accept any interference received including interference that may
cause undesired Operation of this device.
FCC Caution: Any changes or modifications not expressly approved by the party responsible
For compliance could void the user's authority to operate this equipment.
To comply with the FCC RF exposure compliance requirements, this device and its antenna
must not be co-located or operating to conjunction with any other antenna or transmitter,
except if installed in compliance with FCC Multi Transmitter procedures.
The equipment should be installed and operated with Minimum distance of 20cm between
Radiator and Your Body.
Snap-On Ferrite Core 28A2025-0A2 (Make: Liard Signal Integrity Products) need to be mounted
on Ethernet Cable near RJ45 connector of G2Z-NCAP. This ferrite core was used during testing
to achieve compliance.
6 Operational Instruction
For G2Z-NCAP operational instruction, please contact Vendor/Manufacturer for latest updated
instruction guide.