Timelox RT067 ZIGBEE ROUTER User Manual 66 3081 004 10 Online option manual 1 9 0
Timelox AB ZIGBEE ROUTER 66 3081 004 10 Online option manual 1 9 0
Timelox >
Users Manual

© Timelox AB 2009
The information in this document is subject to change without notice, Timelox AB makes a reservation against changes in the performance of
the above described product.
66 3081 004-10
The information in this document is subject to
change at the sole discretion of Timelox without
notice.
Any use, operation or repair in contravention of this
document is at your own risk. Timelox does not
assume any responsibility for incidental or
consequential damages arising from the use of this
manual.
All information and drawings in this document are
the property of Timelox AB. Unauthorized use and
reproduction is prohibited.
Copyright © 2009.
© Timelox AB 2009
66 3081 004-10 2
FCC/IC approval
The router and the endnode comply with RSS-GEN and part 15 of the FCC Rules. Operation is subject to the
following two conditions: (1) The router and the endnode may not cause harmful interference, and (2) the router
and the endnode must accept any interference received, including interference that may cause undesired operation.
Note: To maintain compliance with FCC´s RF exposure guidelines, this equipment should be installed and
operated with minimum distance 20cm between the radiator and your body. Use only the supplied antenna.
Changes or modifications not expressively approved by Timelox could void the user’s authority to operate the
equipment.
Note: This equipment has been tested and found to comply with the limits for a Class B digital device, pursuant to
part 15 of the FCC Rules. These limits are designed to provide reasonable protection against harmful interference
in a residential installation. This equipment generates, uses, and can radiate radio frequency energy and, if not
installed and used in accordance with the instructions, may cause harmful interference to radio communications.
However, there is no guarantee that interference will not occur in a particular installation. If this equipment does
cause harmful interference to radio or television reception, which can be determined by turning the equipment off
and on, the user is encouraged to try to correct the interference by one or more of the following measures:
• Reorient or relocate the receiving antenna.
• Increase the separation between the equipment and receiver.
• Connect the equipment into an outlet on a circuit different from that to which the receiver is connected.
• Consult the dealer or an experienced radio/TV technician for help.
Router:
FCC: WYV-RT067
IC 8231A-RT067
Endnode:
FCC: WYV-EN055
IC 8231A-EN055
© Timelox AB 2009
66 3081 004-10 3
Table of contents
1 INTRODUCTION..............................................................................................................................................5
1.1 ZIGBEE STANDARD .........................................................................................................................................5
1.2 SERVER ...........................................................................................................................................................6
1.3 GATEWAY .......................................................................................................................................................6
1.4 ROUTER...........................................................................................................................................................6
1.5 ENDNODE........................................................................................................................................................6
1.6 LOCK...............................................................................................................................................................6
1.7 PERMIT JOINING/FORBID JOINING....................................................................................................................6
1.8 DISCOVERY .....................................................................................................................................................7
1.9 ORPHAN JOIN ..................................................................................................................................................7
1.10 SYSMON AND TIMELOX DC-ONE.................................................................................................................7
1.11 LINK QUALITY...............................................................................................................................................7
1.12 ABBREVIATIONS............................................................................................................................................8
2 INSTALLATION...............................................................................................................................................9
2.1 OPTION INSTALLATION ...................................................................................................................................9
2.2 SERVER INSTALLATION ...................................................................................................................................9
2.2.1 TL Concentrator.....................................................................................................................................10
2.2.1.1 TL Concentrator setup.............................................................................................................................................................10
2.2.1.2 TL Concentrator monitor.........................................................................................................................................................10
2.3 GATEWAY INSTALLATION.............................................................................................................................10
2.4 ADDING ROUTERS TO A GATEWAY ................................................................................................................11
2.5 ADDING ENDNODES TO A ROUTER.................................................................................................................13
2.6 USING ROUTERS AS REPEATERS ....................................................................................................................13
2.7 ADDING LOCKS TO GATEWAYS .....................................................................................................................14
2.8 FORCING PARENTS ........................................................................................................................................14
2.9 RIGHT-CLICK MENUS IN SYSMON .................................................................................................................15
2.9.1 Right-click menu choices for GWs........................................................................................................16
2.9.2 Right-click menu choices for RTs...........................................................................................................16
2.9.3 Right-click menu choices for ENs...........................................................................................................17
3 SYSTEM OPERATION..................................................................................................................................18
3.1 EVENTS .........................................................................................................................................................18
3.1.1 Acknowledge..........................................................................................................................................18
3.1.2 Retransmission.......................................................................................................................................18
3.1.3 Fallback.................................................................................................................................................18
3.2 ONLINE FUNCTIONALITY...............................................................................................................................18
3.2.1 Commands..............................................................................................................................................18
3.2.2 Alerts......................................................................................................................................................18
3.2.3 Warnings................................................................................................................................................18
3.2.4 Alarms....................................................................................................................................................18
3.3 SETTING IN CONSTRUCTION MODE ................................................................................................................19
4 COMMISSIONING.........................................................................................................................................20
4.1 PRINTING A STATUS REPORT .........................................................................................................................20
4.2 PINGING A DOOR ...........................................................................................................................................20
4.3 CHECKING ONLINE STATUS WITH CARD ........................................................................................................21
© Timelox AB 2009
66 3081 004-10 4
5 GENERAL IN DC-ONE..................................................................................................................................22
5.1 AUTOMATIC OPERATIONS .............................................................................................................................22
5.2 ONLINE EVENTS ............................................................................................................................................22
5.3 ROUTER LIST .................................................................................................................................................22
6 SETTINGS IN DC-ONE..................................................................................................................................24
6.1 SETTING UP OPERATOR TEMPLATES ..............................................................................................................24
6.2 SETTING UP DOOR PARAMETERS ...................................................................................................................24
6.2.1 Door ajar alarm...........................................................................................................................................................................24
6.2.2 Status......................................................................................................................................................25
6.2.2.1 Intruder status..........................................................................................................................................................................25
6.2.2.2 Offline status............................................................................................................................................................................25
6.2.3 Miscellaneous.........................................................................................................................................25
6.2.4 Alarms....................................................................................................................................................26
6.2.5 Safes.......................................................................................................................................................26
7. ONLINE COMMANDS IN DC-ONE.............................................................................................................27
7.1 EMERGENCY OPEN ........................................................................................................................................27
7.2 EMERGENCY CLOSE.......................................................................................................................................27
7.3 BLOCK...........................................................................................................................................................27
7.4 UNBLOCK......................................................................................................................................................28
7.5 BROADCAST COMMANDS ..............................................................................................................................29
7.6 MOVE/EXTEND CARD ....................................................................................................................................29
7.6.1 Add card to room...................................................................................................................................31
7.6.2 Show history...........................................................................................................................................31
7.7 PENDING CANCEL COMMANDS ......................................................................................................................32
7.8 ONLINE COMMANDS FOR A SPECIFIC DOOR ...................................................................................................32
7.9 CANCELLING A CARD ....................................................................................................................................33
8 POWER LOSS & HARDWARE FAILURE..................................................................................................35
8.1 LOCK ELECTRONICS ......................................................................................................................................35
8.2 ENDNODE......................................................................................................................................................35
8.3 ROUTER.........................................................................................................................................................35
8.4 GATEWAY .....................................................................................................................................................37
8.5 SERVER .........................................................................................................................................................37
9 REDUNDANCY AND RECOVERY..............................................................................................................38
9.1 COMMUNICATION CHANNEL .........................................................................................................................38
9.2 RECOVERY ....................................................................................................................................................38
9.2.1 Polling....................................................................................................................................................38
9.2.2 Fallback.................................................................................................................................................38
APPENDIX A: ONLINE DEVICES...................................................................................................................39
GATEWAY...........................................................................................................................................................39
ROUTER ..............................................................................................................................................................39
LOCK ..................................................................................................................................................................40
APPENDIX B: MOUNTING OF GATEWAY AND ROUTER.......................................................................41
APPENDIX C: EXAMPLE CONFIGURATIONS............................................................................................42

© Timelox AB 2009
66 3081 004-10 5
1 Introduction
With the online option, the locks can both send and
retrieve information. Commands can be sent from
the front desk to the lock. For example, a guest can
change rooms without needing to go to the
reception. Events are directly sent to the TimeLox
DC-One server.
This section describes the online network topology
all the way from the server to the lock. Commands
sent from the server to a lock will pass through the
items in the order they are mentioned. Answers will
pass through the same items but in the opposite
direction.
1.1 ZigBee standard
The online option is based on the ZigBee standard, a
new standard for transmission of data via radio. The
ZigBee devices have low power consumption and
the standard is aimed at control applications with
relatively low data rate.
Below are some basic facts for the standard:
• Based on IEEE 802.15.4 (Open ISM 2.4GHz
band; ISM = industrial, scientific and medical).
• 16 Channels spread spectrum (DSSS, Direct
Sequence Spread Spectrum)
• 250kbit/s (~2kbit/s @ 1% duty-cycle)
• Consists of a virtually unlimited number of
small networks (PANs, personal area networks).
Example of Timelox online configuration. Several other configurations are possible (see Appendix C for some examples).
© Timelox AB 2009
66 3081 004-10 6
1.2 Server
The server is the manager of the whole network for a
property. It can manage a virtually unlimited number
of gateways. All commands sent from the server are
encrypted.
1.3 Gateway
The gateways connect to the server via TCP/IP or
RS-485. It automatically adjusts to 10 or 100 Mbit/s
networks. In the TCP/IP case, the gateway starts by
retrieving an IP address via DHCP (Dynamic Host
Configuration Protocol). The gateway then auto-
matically finds the server.
The gateway contains functionality for coordination
of a PAN (Personal Area Network). The PAN is a
wireless network that communicates on the 2.4GHz
band. The gateway allows routers (see section 1.4)
and endnodes (see section 1.5) to join the PAN and
assigns network addresses. Each ZigBee node has a
unique 64-bit IEEE address similar to Mac addresses
used in TCP/IP.
The gateway chooses which of the 16 channels in
the 2.4GHz band the nodes in the PAN should use.
• The gateway is powered either over Ethernet or
by a power adapter.
• The total number of gateways is virtually
unlimited.
• The maximum theoretical limit of endnodes per
PAN is high, but a practical limit is some
hundred. In most cases, only some ten to 20
endnodes will be connected to each gateway.
However, this can change due to the building
construction, materialwise etc.
• The gateway can have either five routers or 15
endnodes connected.
See Appendix A for more information about the
gateway, including a detailed picture.
See Appendix B for preferred way of mounting the
gateway.
See Appendix C for configuration examples.
1.4 Router
A router acts either as a repeater for range extension,
or as a parent for endnodes. It will also act as a
buffer for messages sent to endnodes connected to
the router.
• Routers are externally powered.
• The router can have either five routers or 15
endnodes connected.
• There can be a maximum of five hops down the
gateway (i.e. gateway – router – router –
router – router – endnode). This limits the
physical coverage of a PAN.
Note: Timelox recommends a maximum of
three hops, i.e. gateway – router – router – end
node, down the gateway. The link quality index
(LQI) should be at least 30%. See section 1.11
for more information about the LQI.
See Appendix A for more information about the
router, including a detailed picture.
See Appendix B for preferred way of mounting the
router.
See Appendix C for configuration examples.
1.5 Endnode
An endnode is built into each lock. It is optimized
for low power consumption. The parent router will
act as a buffer for commands from the server. A
command sent from the server to a lock will be sent
from the gateway to the lock’s parent router. The
command will be sent through the routers that may
be located between the gateway and the lock’s
parent router.
Any message sent from the lock will be passed on to
the server through the parent router, any
intermediate routers and the gateway. Messages
from the lock are sent instantly.
• The total number of endnodes is virtually
unlimited.
1.6 Lock
The locks are the destination for commands and the
source of events.
• The lock and the endnode are powered by six
AA cells in a special package.
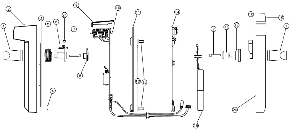
See Appendix A for an exploded view of a lock.
1.7 Permit joining/Forbid joining
In order to prevent nodes from joining randomly,
“permit joining” can for each PAN only be made at
one router or its “parent gateway” at a time. When a
© Timelox AB 2009
66 3081 004-10 7
node is to be joined to the PAN, “permit joining”
must be made at the router or gateway that shall be
its parent. When the node has joined, “forbid
joining” should be made at the parent. “Forbid
joining” will automatically be made on the parent
after 15 minutes in case it is forgotten.
Note: It is only possible to make “permit joining” at
one RT per PAN at a time. If you make “permit
joining” at one RT and then at another RT in the
same PAN, the first RT will automatically make
“forbid joining”.
The commands for “permit joining” and “forbid
joining” are sent from SysMon (see section 1.10 for
more information about SysMon). The “permit
joining”/“forbid joining” states of routers can also be
toggled by pressing the F1 button. The LED on the
router indicates “permit joining” by fast blinking
(short blink every 0.5 seconds). “Forbid joining” is
indicated by slow blinking (short blink every
two seconds). See Appendix A for a router picture
with buttons, LED etc.
1.8 Discovery
Discovery is the process when a node shall join a
PAN. It starts by the node broadcasting a discovery
message. Any plausible parent will answer and the
node will join the one on which “permit joining” has
been made, provided that it is within range.
Routers make discovery when given a reset while
the F1 button is being pressed (see Appendix A for a
router picture with buttons).
An endnode makes discovery when a Discovery
card (see section about ZigBee configuration card in
User manual TimeLox DC-One, Art. No 865 100) is
inserted into the lock. When the card is inserted, the
lock will chirp once. If the endnode in the lock is
busy at the moment, a tick will be heard instead. In
this case, make a new try by inserting the Discovery
card again.
1.9 Orphan join
As it can take up to three hours for the endnodes to
get online after recovery from a power cut, there is
an Orphan Join card (see section about ZigBee
configuration card in User manual TimeLox
DC-One, Art. No 865 100) that will initiate an
orphan join when inserted into a lock. When the card
is inserted, the lock will chirp once. If the endnode
in the lock is busy at the moment, a tick will be
heard instead. In this case, make a new try by
inserting the Orphan Join card again.
1.10 SysMon and TimeLox DC-One
The System Monitor (SysMon; found in the folder
where TimeLox DC-One has been installed) is used
for managing the online network. In SysMon all
connected gateways, routers and endnodes are
shown. There are two different operator levels for
the online option in SysMon:
• system manager and other operators for which
“Allow changing the settings in the ‘Options’
dialog” has been marked under the Options
alternative at Tools/Operator Template
X-reference in TimeLox DC-One.
• other operators.
Note: If the distributor is going to log on to SysMon,
system manager must be logged on first.
System manager and other operators for which
“Allow changing the settings in the ‘Options’
dialog” has been marked can perform all
online operations in SysMon (except for those on
distributor level), while other operators can basically
only look in SysMon.
Online settings and commands are made in the
TimeLox DC-One client; see sections 6 Settings in
DC-One and 7 Online Commands in DC-One.
Different operator templates can be given different
authorities to give online commands; see section 6.1
Setting up operator templates. For supervision of the
system, see sections 4 Commissioning and 5 General
in DC-One. If a dialog should be refreshed due to
online changes, this is shown with a * in the dialog
header (see example in the following screenshot).
Click the Refresh button in the dialog.
1.11 Link quality
The Link Quality Index (LQI) is an average
percentage that should not be below 30%. It is
displayed when the mouse hovers over a node in the
SysMon ZigBee view; see example in the screenshot
below. See section 2.3 for information about how to
log on to SysMon and find the ZigBee view.
Note: The LQI value which is shown when the
mouse hovers over a node is not an instantaneous
value but an average (the last instantaneous value,
with timestamp, is however shown within

© Timelox AB 2009
66 3081 004-10 8
parantheses after the average). To get an
instantaneous value of the LQI, right click on a
gateway, router or endnode in the SysMon ZigBee
view and choose Get User Description.
The LQI is valid for the link between the node and
its parent.
If the LQI is below 25%, the dot in front of the node
in SysMon is yellow; see example below.
If the LQI is below 15%, the dot in front of the node
is SysMon is red; see example below.
1.12 Abbreviations
In the rest of this user manual, the following
abbreviations are used:
GW = gateway
RT = router
EN = endnode
PAN = personal area network

© Timelox AB 2009
66 3081 004-10 9
2 Installation
The online devices were designed to allow for
maximum flexibility during installation. There are
no particular location specifications as long as the
devices are within reasonable range of each other
and good radio communication can be attained.
Generally, the range is however around 20 metres or
through a wall. The range of the devices depends to
large extent on the building material(s) in the
surroundings. As much effort as possible should be
made to securely install each device in a location
where it will be dry, cool, and undisturbed, yet still
maintain good radio contact with its parent or
children.
This section will describe how to install the
online option in the TimeLox DC-One software, and
also discuss the installation methods for each device
in the system as well as options for forcing devices
to connect to specific parent devices.
Software requirement
• TimeLox DC-One 1.7.0 or later is needed
2.1 Option installation
The online option must be installed in the Timelox
DC-One software.
An operator with the authority to handle option
codes must be logged on when options are set.
System ID must be set before any option can be
installed. Normally, options are set by the system
manager or the distributor.
1. Go to Tools/Option code.
2. Click Read card and insert the option card in
the encoder. The card will be overwritten and
can only be used once.
2. OR
Enter the option code (supplied by the
distributor) and click Apply.
2.2 Server installation
• The Timelox DC-One server must be connected
to the same network that the GW devices will be
connected to
• The Timelox DC-One server must have the
online option installed (see section 2.1).
1. Before you install the first GW device, you must
add a ZigBee gateway to the device list in
DC-One (double click on Devices under the
Lists tab in the navigation window and click
Add to add a new device) using the following
parameters:
2. When the fields have been filled in according to
the screenshot above (port 7799 is pre-filled as
default when choosing “ZigBee gateway” at
Type), click Save and Close.
Note: The same device is used for all GWs.
For testing and commissioning purposes it is a good
idea to have either a laptop with DC-One installed
which you can use to directly connect to gateways as
they are installed, or a laptop with a connection to
the live TimeLox DC-One server. This will allow
you to test radio signal strength as you are installing
the devices on each floor so issues can be addressed
immediately.
Note: The network information is stored in the GWs
and not in the laptop.

© Timelox AB 2009
66 3081 004-10 10
2.2.1 TL Concentrator
TL Concentrator is a utility for simplifying the setup
of a firewall when the GWs are located on a
different network. TLConcentrator runs on the
ZigBee server and listens for GWs on one port and
forwards all traffic to the TimeLox DC-One server
on another port. All traffic from the TimeLox
DC-One server is sent to the correct GW. In this
way, the firewall will only have to be set up to allow
sockets from the ZigBee server. The alternative
would be to set up the firewall to allow sockets for
every GW. This would add implications, especially
when adding or exchanging GWs.
2.2.1.1 TL Concentrator setup
The TimeLox DC-One software on the TimeLox
DC-One server is set up to listen for GWs on port
7799. This is where TLConcentrator will connect.
TLConcentrator is set up to listen for GWs on port
7798 and to open sockets on the TimeLox DC-One
server using port 7799.
To set up these parameters:
1. Go to Start/Run.
2. Browse to the DC-One installation folder, mark
TLConcentrator.exe and click Open.
3. Add /config
Note: There should be a space before /
4. Click OK.
A Configuration dialog will be shown.
1. Let the default 7798 be at Listen Port.
2. State the host’s IP address at Host Address.
3. Let the default 7799 be at Host Port.
2.2.1.2 TL Concentrator monitor
It is possible to monitor the traffic through
TLConcentrator using TLConcentrator.exe
/monitor.
1. Go to Start/Run.
2. Browse to the DC-One installation folder, mark
TLConcentrator.exe and click Open.
3. Add /monitor
Note: There should be a space before /
4. Click OK. The following dialog (with example
statistics) is shown.
2.3 Gateway installation
• The GW is powered by 9VDC using a plug in
wall power adapter, or via power over Ethernet.
• For network connectivity the GW requires an
available Ethernet port and a patch cord.

© Timelox AB 2009
66 3081 004-10 11
Power and network connections should be made in a
manner that will reduce the chances of the device
being unplugged.
1. Open the System Monitor (SysMon), which is
used for managing the online network. To open
SysMon, double click on SysMon.exe in the
DC-One installation folder.
2. Log on to SysMon: go to File/Log on and enter
user ID and password. At “Operator card”,
choose the appropriate card encoder. Click
Enter.
3. If it is not open already, open SysMon’s ZigBee
view at View/ZigBee. The ZigBee view of
SysMon shows all connected GWs, RTs and
ENs. Several useful commands are available by
right clicking on nodes (see sections 2.9.1-2.9.3
for more information about the different
commands).
4. Mount the GW in a convenient, out of the way
location using the VELCRO® strip.
5. Connect the network cable and power cable to
the GW.
6. After approximately 30 seconds the GW will
announce itself to the server and appear as a new
GW in the ZigBee tree in SysMon.
7. Right click on the new GW to bring up the
device option menu and choose Edit Name.
8. Name the GW something meaningful – it should
generally indicate the GW’s location or coverage
area.
2.4 Adding routers to a gateway
The RT is powered by 5VDC using a plug in wall
power adapter or a wired transformer. No wired
Ethernet network connection is required as it
communicates with the GW via radio.
The recommended installation method is to use the
enclosed VELCRO® strip to attach the RT to a wall
or some other convenient location.
As described in section 1.10 SysMon and TimeLox
DC-One, system manager and other operators for
which “Allow changing the settings in the ‘Options’
dialog” has been marked have the authority to
perform all online operations in SysMon (except for
those on distributor level). In sections 2.9.1-2.9.3, it
is described what operations that are available for all
operators and what operations that can only be
performed by system manager and other operators
for which “Allow changing the settings in the
‘Options’ dialog” has been marked.

© Timelox AB 2009
66 3081 004-10 12
1. To add an RT to the online network, right click
on the GW the RT should join and choose
Permit Joining.
2. Hold your mouse over the GW name and a box
will pop up containing some information about
that device. At the bottom of that box you will
see it says Join permitted, indicating that the
GW now allows new connections.
3. When the RT has been mounted with the
VELCRO® strip, press the F1 button on the RT
while connecting power to the RT. The RT will
power up and automatically begin looking for a
parent device to associate with. It will discover
the GW on which Permit Joining has been
made, announce itself, and appear in the ZigBee
tree in SysMon.
4. Right click on the RT and choose Edit Name to
name the RT something meaningful. In our
example we have named it “RT 620-623” to
indicate the group of rooms that will be attached
to that RT.
5. Hold your mouse over the device to view the RF
link quality (LQI) between the RT and the GW.
It shows the average LQI followed by the last
measurement with timestamp in parentheses.
Note: The LQI should not be below 30%.
6. While the GW still says Join permitted when
holding the mouse over the GW, plug in any
additional RTs as needed (up to five per GW)
and name them.
7. Hold your mouse over each RT to check the LQI
making sure it is within acceptable limits.
8. When all desired RTs have been added to the
GW, right click on the GW and choose Forbid
Joining.

© Timelox AB 2009
66 3081 004-10 13
9. Hold your mouse over the GW to confirm it no
longer says Join permitted.
2.5 Adding endnodes to a router
The EN is the radio board inside the door lock unit.
This device should not be confused with the lock
electronics themselves, and when trouble-shooting
communication or lock issues care should be taken
to diagnose the correct piece of hardware.
1. To add an EN to an RT, right click on the RT the
EN should join and choose Permit Joining (or
press the F1 button on the RT). Hold your
mouse over the RT to verify that joining is
permitted.
2. Insert the Discovery card (see section about
ZigBee configuration card in User manual
TimeLox DC-One, Art. No 865 100) in the lock.
The lock will chirp once to indicate it has read
the card, and will start searching for the RT on
which Permit Joining has been made to join.
When it finds the RT it will announce itself to
the server and appear in the ZigBee tree.
After the lock sends its first event, the room number
that is programmed in the lock will automatically fill
in. This can be forced by inserting a working key in
the lock.
3. Hold your mouse over the lock to verify the LQI
is within acceptable limits. Continue adding
additional locks to the RT as needed. When
finished, right click on the RT and choose
Forbid Joining.
2.6 Using routers as repeaters
In the event there are locks that are not in range of a
GW and RT combination, an additional RT can be
added for extended range.
1. Add the GW and first RT as normal. This first
RT will act as a repeater between the GW and
the 2
nd RT which will be communicating with
the locks. In our example we named the first RT
“RPTR 620-623” to indicate that it will act as a
repeater for the RT serving 620-623.
2. Choose Forbid Joining on the GW and Permit
Joining on the 1st RT.
3. Plug in the 2
nd RT. The 2
nd RT will find and
attach itself to the 1st RT.
4. Choose Forbid Joining on the 1st RT. Name the
2nd RT and choose Permit Joining on it.
5. Insert the Discovery card (see section about
ZigBee configuration card in User manual
TimeLox DC-One, Art. No 865 100) in the lock;
the lock will chirp once. The lock will find and
attach itself to the RT on which Permit Joining
has been made, and when the first event is

© Timelox AB 2009
66 3081 004-10 14
received from the lock the room number will fill
in.
6. Add all the necessary locks and choose Forbid
Joining on the 2nd RT.
Note that the RT acting as a repeater is only capable
of communicating to the GW and the 2nd RT; it is
not possible at this time to repeat signals to a 2nd RT
and communicate directly with locks at the same
time.
2.7 Adding locks to gateways
There may be cases where the locks will commu-
nicate directly with the GW. To do this:
1. Choose Permit Joining on the GW and insert
the Discovery card (see section about ZigBee
configuration card in User manual TimeLox
DC-One, Art. No 865 100) in the lock; the lock
will chirp once. The lock will attach itself to the
GW on which Permit Joining has been made,
and when the first event is received the room
number will automatically fill in.
2. Add the necessary locks and then choose Forbid
Joining on the GW.
Note: RTs cannot be connected to a GW which has
got ENs connected to it.
2.8 Forcing parents
If a device such as an EN sees two RTs when it is in
discovery mode (i.e. if “permit joining” has by
mistake been made on two RTs belonging to
different PANs at the same time), it is possible that
the EN will not join the desired RT – i.e. the RT
with which it has the strongest RF link. For this
reason it is recommended that GWs, RTs and ENs
be installed in a systematic way to ensure all devices
are connected to the parent that makes the most
sense.
If a situation arises in which a device is connected to
the wrong parent, it is easy enough to force the child
device to leave the network and rejoin properly. If a
right click is made on the child device in SysMon,
and the Leave network command is chosen, the
child device will deregister from the parent so
another node can join. The rejoining to a new parent
can then be performed in two different ways; either
by using the Add Node command or by using the
Permit Joining command. With the Add Node
command, you do not have to make discovery on the
new device when it is added to its parent.
An example when a child device is connected to the
wrong parent would be that an EN is within range of
both RT-A and RT-B. Signal strength between the
EN and RT-A is 32%, while signal strength between
the EN and RT-B is 75%. In this case it is a good
idea to force the EN to connect to RT-B.
To force the EN by using the Add Node command:
1. Hover with the mouse over the EN in SysMon's
ZigBee view and make a note of the IEEE
address of the EN.
2. Right click on the EN and choose Leave
network. The EN will deregister from RT-A.
3. Important: Wait for 40 seconds to avoid
confusing RT-A from which the EN has
deregistered.
4. Right click on RT-B and choose Add Node. The
following dialog is shown.
5. Choose the appropriate Network Address in the
drop-down list (see example in the following
screenshot).
Note: The Add node command only works on
Z-stack devices.

© Timelox AB 2009
66 3081 004-10 15
6. Enter the IEEE Address of the EN and click
OK.
To force the EN by using the Permit Joining
command:
1. Right click on the EN and choose Leave
Network. The EN will deregister from RT-A.
2. Important: Wait for 40 seconds to avoid
confusing RT-A from which the EN has
deregistered.
3. Make sure that Forbid Joining has been chosen
for RT-A and that Permit Joining has been
chosen for RT-B.
4. Insert a Discovery card (see section about
ZigBee configuration card in User manual
TimeLox DC-One, Art. No 865 100) in the EN
door lock; the lock will chirp once. The EN will
immediately begin to look for an available
parent, and since RT-A is in “forbid joining”
mode, RT-B will be its only option.
5. Once the EN has joined the correct RT, choose
Forbid Joining on RT-B.
The two methods above with Add Node and Permit
Joining respectively can also be applied to RTs
joining RTs, RTs joining GWs, and ENs joining
GWs. If the node that should be forced is an RT, the
Add New Node dialog should be filled in according
to the following steps:
1. Mark the “Router” check box.
2. Choose the appropriate Network Address in the
drop-down list (see example in the screenshot
above).
3. Enter the IEEE Address of the RT and click
OK.
2.9 Right-click menus in SysMon
When right clicking on GWs, RTs and ENs in
SysMon, different choices appear depending on
what item you right click on. The different choices
are described in the following sections.
Note: If another operator than system manager or an
operator for which “Allow changing the settings in
the ‘Options’ dialog” has been marked is logged on
to SysMon, several choices in the right-click menus
will be grayed. In the following description of the
different menu choices, it is also stated which
choices that are only available for sym etc. Other
operators than sym can basically look in SysMon but
not perform any operations.
Note: In sections 2.9.1-2.9.3, “sym only” means
system manager or another operator for which
“Allow changing the settings in the ‘Options’
dialog” has been marked.

© Timelox AB 2009
66 3081 004-10 16
2.9.1 Right-click menu choices for GWs
Form new network (sym only) – makes a total reset
of the GW
Set channels (sym only) – selects allowed channels
(see section 9.1 Communication channel for further
information)
Set PAN ID (sym only) – sets another identity
Set Logging – defines logging for the node
Reset – makes a reset; all data is retained
Get User Description – gets parameters (for
example link quality index, LQI) for the node. The
LQI which is shown with Get User Description is
an instantaneous value.
Get IEEE address and children – gets the IEEE
address as well as all children stored in the
association list
Permit Joining (sym only) – makes it possible for
children to join
Forbid Joining – forbids children to join
Add Node (sym only) – manually adds a node to the
association list. When adding a new node, the
network address is selected from a list. The network
addresses shown are the ones that are possible for
the parent that the node is added to. The network
address uniquely defines the node’s position in the
PAN hierarchy and whether it is an RT or an EN.
The GW has network address zero.
Edit Name (sym only) – edits the node’s name in the
database
Memory Dump (sym only) – reads the memory; only
used by Technical support
Remove (sym only) – removes the GW from the
database
Upgrade Firmware in PAN Coordinator (sym only)
– loads a new firmware into the PAN coordinator. In
order to select which firmware file to load, click the
Set button in the ZigBee view and select Set
Firmware Files for Bootloading.
Upgrade Firmware in Gateway (sym only) –
applicable for gateways with “GATEWAY ER” on
the label.
2.9.2 Right-click menu choices for RTs
Set Logging – defines logging for the node
Leave network (sym only) – deregisters from the
parent so another node can join
Get User Description – gets parameters (for
example link quality index, LQI) for the node. The
LQI which is shown with Get User Description is
an instantaneous value.
Get IEEE address and children – gets the IEEE
address as well as all children stored in the
association list

© Timelox AB 2009
66 3081 004-10 17
Permit Joining (sym only) – makes it possible for
children to join
Forbid Joining – forbids children to join
Add Node (sym only) – manually adds a node to the
association list. When adding a new node, the
network address is selected from a list. The network
addresses shown are the ones that are possible for
the parent that the node is added to. The network
address uniquely defines the node’s position in the
PAN hierarchy and whether it is an RT or an EN.
The GW has network address zero.
Edit Name (sym only) – edits the node’s name in the
database
Memory Dump (sym only) – reads the memory; only
used by Technical support
2.9.3 Right-click menu choices for ENs
Set Logging – defines logging for the node
Leave network (sym only) – deregisters from the
parent so another node can join
Get User Description – gets parameters (for
example link quality index, LQI) for the node. The
LQI which is shown with Get User Description is
an instantaneous value.
Get IEEE address – gets the IEEE address for the
EN
Memory Dump (sym only) – reads the memory; only
used by Technical support
Force Command Buffer – forces the first buffered
command for the lock to be sent immediately
© Timelox AB 2009
66 3081 004-10 18
3 System operation
There is a two-way communication with the locks –
online commands are sent to the locks, and the locks
send events.
3.1 Events
This section describes the transmission of events
from the locks. Events are sent from the lock as they
occur. Should there be any events in the queue, the
first queued event is sent instead.
3.1.1 Acknowledge
If there are any queued events, the lock will send the
next event when the EN sends an acknowledgement
to the lock. The acknowledgement will be delayed
by the EN for approximately one minute in order not
to flood the network.
3.1.2 Retransmission
If there has been no acknowledgement for two
minutes, the lock will retransmit the first event in the
queue.
3.1.3 Fallback
The time between retransmissions will be doubled
until it reaches three hours. As soon as an
acknowledgement is received, the retransmission
time is reset to two minutes. If an acknowledgement
has not been received after three hours, the last event
from the lock will be retransmitted.
3.2 Online functionality
In TimeLox DC-One, several online commands are
available. See section 3.2.1 below and also see
section 7 Online Commands in DC-One for more
information.
Certain situations (see sections 3.2.2-3.2.4) give an
alert, warning or alarm.
3.2.1 Commands
The commands that are sent online to the locks
include:
• Room move (add a card to the new room
and cancel it from the old room, and/or
change the card expiration time)
• Check-out of guest
• Cancellation of card
• Sending of parameters (time, calendar etc)
• Remote open/stand open/emergency open
and clear stand open/emergency close
• Blocking and unblocking of user groups
• Read-out of missing events
3.2.2 Alerts
By filtering events it is possible to alert users about
situations that may need attention. These are battery-
low alarm and sequential intruder.
3.2.3 Warnings
When a door has been offline for the time set up at
Tools/Options/Online/Status in DC-One (default is
2 hours), a warning is given.
3.2.4 Alarms
Alarms are situations that require immediate action.
The following alarm types are available:
• Sequential intruder*
• Report event (128 different reporting cards)
• Too many guest cards
• HotSOS error*
• Door ajar*
• Lock emergency open*
• Lock stand open*
• Inncom offline*
• Wandering intruder
• Time in the lock is off*
• Watchlist card used
• First usage of guest card
• Invalid staff card usage
• Emergency card is encoded
• Battery alarm*
• Housekeeping failed*
Alarms are shown in the alarm list of DC-One. Items
marked with an asterisk are automatically revoked
from the alarm list if they are revoked in reality, e.g.
door ajar is revoked when the door is closed.
From the user notification list of DC-One it is
possible to define which users that should be notified
by e-mail (requires the mail notification option) or
SMS (requires the SMS option) when alarms occur.
From the user notification list, it is also possible to
set up that reports should be sent via e-mail. The
© Timelox AB 2009
66 3081 004-10 19
reports can either be alarm reports, or reports about
items that do not trigger alarms (e.g. a summary of
issued cards).
See User manual TimeLox DC-One (Art. No
865 100) for more information about the alarm list,
the user notification list, the mail notification option
and the SMS option.
3.3 Setting in construction mode
If the network should be down for a period, e.g.
during construction or renovation of the hotel, the
locks should be set in construction mode to reduce
battery consumption. Insert a Construction Mode
card (see section about ZigBee configuration card in
User manual TimeLox DC-One, Art. No 865 100) in
the locks; a chirp is heard in each lock. If the EN in
the lock is busy at the moment, a tick is heard
instead. In this case, make a new try by inserting the
Construction Mode card again.

© Timelox AB 2009
66 3081 004-10 20
4 Commissioning
4.1 Printing a status report
SysMon provides a simple method for printing out
the status of all the connected devices in the
online network.
1. In the ZigBee view in SysMon, click the Print
Status button.
2. A Microsoft Excel spreadsheet will be written to
the TempData folder in your DC-One
installation folder.
The spreadsheet provides detailed information for
each connected RT and EN; see example screenshot
on next page. The information written to the
document includes:
• name of the PAN (GW) the device is connected
to
• RT name
• Room (if it is an EN)
• IEEE address
• Version for RT, EN or GW; in the last case,
GW firmware as well as version in the PAN
coordinator (PC) are stated
• network address
• average link quality between the device and its
parent
4.2 Pinging a door
While the spreadsheet described in section 4.1 is
convenient in showing the communication status of
the online devices, it does not show that the locks
themselves are communicating with the server. To
do that it is necessary to “ping” every online door
from SysMon.
A ping is a simple “are you there” message sent
from the server to the lock and back. The ping shows
that the lock, the server, and all the devices in
between are operating correctly.
To ping a door in SysMon:
1. Open the Online Doors window at View/Online
Doors.
2. Mark the door you want to ping and click the
Ping Door button on the right. You will see the
status for the door change to offline.
3. At the same time, you should watch the Online
Command Log (found at View/Online
Commands) so you can see the Ping command
go out.
• time that last LQI measurement was taken
• last link quality index (LQI) recorded
• time for last successful command since the
server was restarted (if this column says “n/a”,
there has not yet been any answer from the lock)
The status in the Online Command Log will always
say No answer was received within the time limit
when the ping first goes out. If the ping is successful
a response of OK will be sent back. If the ping fails
you will not receive any other notification. You
should allow up to 25 seconds for a ping to respond
before labeling it a failure.

© Timelox AB 2009
66 3081 004-10 21
As part of the commissioning process it is necessary
to show that the server is able to communicate to
every lock. This is shown in the last column of the
status report in section 4.1. If the server has been
restarted, the last column of the status report will
show “n/a” for all locks – in this case the Broadcast
Answers dialog (see section 7.5 Broadcast
commands for further information) can be used to
determine whether the locks have answered or not
(for all broadcast commands except for “Ping”).
As each floor or wing is completed, sign off on the
status report to indicate that all of the online devices
are communicating and the server is able to
communicate with the locks.
4.3 Checking online status with card
To check the online status directly at the lock, a
Check ZigBee Status card (see section about ZigBee
configuration card in User manual TimeLox
DC-One, Art. No 865 100) can be used. When the
card is inserted in the lock, a check is made whether
the EN in the lock has still got contact with its parent
or not. If a chirp is heard when the card is inserted,
the lock is online; if an error beep is heard when the
card is inserted, the lock is offline. If the EN in the
lock is busy at the moment, a tick is heard instead. In
this case, make a new try by inserting the Check
ZigBee Status card again.
The screenshot shows an example of a status report; see section 4.1 for more information.

© Timelox AB 2009
66 3081 004-10 22
5 General in DC-One
5.1 Automatic operations
The following operations are performed automa-
tically:
• The time is at regular intervals set in all online
doors to avoid unsynchronized clocks.
• If the calendar is used, it is sent to all online
doors initially (for 12 months ahead) and if
changes are made to it. The calendar is also sent
to all online doors every six months.
• Lock parameters are transferred to the locks at
initiation with initiation card, service device or
HCU. If any of the “ordinary” parameters event
filters, open function or open mode – or any of
the online parameters door ajar time or
automatic privacy – is after the first initiation
changed under Tools/Options in the DC-One
software, the changes are sent to the concerned
online locks by broadcast.
Note: Automatic privacy is not applicable.
5.2 Online events
It is possible to show only online events in DC-One.
1. Double click on Events under the Reports tab
in the navigation window.
2. Choose the applicable event search filter(s) in
the left column of the Events – Search filter
dialog.
Note: At least one of the following requirements
must be met when entering search filters:
• A door is selected
• Maximum two selected event sub groups have
been chosen
3. Click Miscellaneous in the left column of the
Events – Search filter dialog.
4. Check “Only online events” and click OK.
5. The events are shown in an event report.
5.3 Router list
When a router is connected, it will automatically
appear in the router list of DC-One.
1. Double click on Routers under the Lists tab in
the navigation window.
Each router’s IEEE address is shown in the router
list.
1. If a router is removed from the network, click
Remove in the router list.
To modify the properties of a router:
1. Mark the router in the router list and click
Properties.

© Timelox AB 2009
66 3081 004-10 23
2. The Name for the router is the same as the
corresponding router name in SysMon. When
the network is set up, the name can if desired be
modified either in the DC-One dialog above or
in SysMon.
Note: If the name is changed in SysMon, the
dialog Router Details in the DC-One client
needs to be re-opened to show the new name. If
the name is changed in the DC-One client, the
ZigBee view in SysMon needs to be closed and
open again for the change to be shown directly in
SysMon.
3. If desired, enter a Description for the router.
4. Click Update and Close.
Note: The IEEE address is automatically included in
the router list and cannot be modified in the DC-One
client.

© Timelox AB 2009
66 3081 004-10 24
6 Settings in DC-One
In the TimeLox DC-One software, settings for
operator templates and online doors are made. For
door setup in DC-One, see section Doors in User
manual TimeLox DC-One (Art. No 865 100).
6.1 Setting up operator templates
In the Operator Template Details dialog, it is
possible to set up what online commands a certain
operator template should be allowed to perform.
See section 7 Online commands in DC-One for
further information about the different commands.
To set up/modify an operator template:
1. Double click on Operator templates under the
Lists tab in the navigation window.
2. Mark the desired operator template and click
Properties to open the Operator Template
Details dialog (or click Add to add a new
operator template; in that case, also make the
appropriate choices under the other alternatives
in the left part of the Operator Template
Details dialog).
3. Mark Online in the left column.
4. Check the appropriate online operations to the
right.
5. Click Update, if an existing operator template
was updated; click New or Save if a new
operator template was created.
Note: “Allow emergency open” is by default only
available for the distributor. Discuss with your
distributor if this choice should be available for any
other operator.
6.2 Setting up door parameters
Go to Tools/Options in the DC-One software and
click Online in the left column; you can make
settings regarding
1. Door ajar alarm
2. Status - intruder and offline status
3. Miscellaneous - grace time
6.2.1 Door ajar alarm
You can modify the time for when there will be a
door ajar alarm. The door ajar alarm can be 1-60
minutes; 0 means that the alarm is not used.
The default values are:
• 2 minutes when a guest card type has opened the
door
• 2 minutes when a door has been opened from the
inside
• 30 minutes when a staff card type has opened
the door

© Timelox AB 2009
66 3081 004-10 25
6.2.2 Status
The values for intruder status and offline status can
be modified. See the sections below (and the
screenshot) for default values.
6.2.2.1 Intruder status
• After five failed attempts in the same online
door, an alert is triggered. This is referred to as
sequential intruder.
• After five failed attempts in different online
doors, the card is cancelled and an alarm is
triggered. This is referred to as wandering
intruder.
6.2.2.2 Offline status
• After 120 minutes of offline status in an online
door, a warning is triggered.
• After 1440 minutes of offline status in an online
door, an alarm is triggered.
6.2.3 Miscellaneous
Under the “Miscellaneous” choice, you can
• set the grace time, i.e. for how long the guest(s)
can enter a room after a check-out. The grace
time can be 0-24 hours, default is 0.
Note: The default grace time which is set up at
Tools/Options/Online/Miscellaneous applies
unless a specific grace time is specified when the
guest is checked out using the PMS interface. It
also applies if the check-out is sent from the
DC-One client.
• handle automatic privacy (not applicable).
• choose whether success messages should be
shown or not when online commands have been
successfully performed (default is that they are
shown). See message below:

© Timelox AB 2009
66 3081 004-10 26
6.2.4 Alarms
Under the “Alarms” choice, it is possible to set up
different parameters related to the alarm list (see
User manual TimeLox DC-One, Art. No 865 100,
for more information about the list).
• “The maximum number of minutes a staff
person may be inside an unsold room with the
door closed before an alarm is triggered”
(default is 30 minutes). This parameter is related
to the alarm Invalid staff card usage (see User
manual TimeLox DC-One for more information).
• “The maximum number of guest cards that may
be issued from the client before an alarm is
triggered.” This parameter is related to the alarm
Too many guest cards (see “Limitation of guest
card issuing” in User manual TimeLox DC-One
for more information).
• “The maximum number of times a card may be
used per X minutes before an alarm is
triggered.” This parameter is related to the alarm
Excessive card usage.
• “The above X minutes”. This parameter is
related to the alarm Excessive card usage.
• “The maximum percentage of reading errors
before an alarm is raised for the reader.” This
parameter is related to the alarm Bad card
reader.
6.2.5 Safes
Safes can be set up at Tools/Options/Online/Safes
but are not supported.

© Timelox AB 2009
66 3081 004-10 27
7. Online commands in DC-One
When the online option has been enabled in the
Timelox software, there will be an Online tab in the
navigation window. There will also be an Online
menu with the same choices as in the navigation
window. All online commands given from the
Timelox software require that the operator enters his
password.
7.1 Emergency open
By one single command, it is possible to emergency
open all online doors. This command can only be
performed by the distributor.
Note: This is not recommended, unless a real
emergency situation occurs!
1. Double click on Emergency open in the
navigation window and enter your password.
You will get a question:
2. Click Yes. A progress bar will appear, showing
how far the emergency opening has proceeded.
7.2 Emergency close
By one single command, it is possible to emergency
close all online doors.
1. Double click on Emergency close in the
navigation window and enter your password. As
for the emergency opening, you will get a
question whether you really want to emergency
close all doors.
2. Click Yes. A progress bar will show how far the
emergency closing has proceeded.
7.3 Block
One or more user groups can be blocked from some
or all online doors.
1. Double click on Block in the navigation
window. You will get the dialog Block groups
in doors, where all user groups and online doors
of the system will appear (see picture).
2. Under “Block user groups”, check the user
group(s) you want to block.
Note: All groups except for the ones that are
unchecked will be blocked - also user groups
that are added to the system after the blocking
mode has been set in the lock(s).
3. Under “Online doors”, check one or more doors
from which you want to block the marked user
group(s). All door areas which contain one or
more online doors are shown. By clicking the
plus sign of a door area, you will see the
different online doors of that area. Check the
appropriate one(s).
Note: The blocking command is sent for one
door at a time.

© Timelox AB 2009
66 3081 004-10 28
4. Click Block and enter your password.
5. Click Close.
When one or more user groups have been blocked
from a door, this will be shown with a “Yes” under
the column “Blocked groups” in the door list (see
example in the following picture).
7.4 Unblock
One or more user groups can be unblocked from
some or all online doors.
1. Double click on Unblock in the navigation
window. You will get the dialog Unblock
groups in doors, where all user groups and
online doors of the system will appear (see
picture).
2. If you are not sure in which door(s) there are
blocked user groups, look in the column
“Blocked groups” in the door list (double click
on Doors under the Lists tab in the navigation
window; click on the column “Blocked groups”
twice to get the doors with blocked groups on
top of the door list). If you are not sure which
user group(s) that has previously been blocked
from a certain door: right click in the dialog
Unblock groups in doors on the appropriate
door under “Online doors” and choose Get
blocked groups.
The group(s) that has previously been blocked will
be checked – see example in the following picture.
3. Under “Online doors”, check one or more doors
from which you want to unblock the user
group(s). All door areas which contain one or
more online doors are shown. By clicking the
plus sign of a door area, you will see the
different online doors of that area. Check the
appropriate one(s). If the user group(s) which
should be unblocked has not been marked by
using Get blocked groups as described in step
2, also check the user group(s) under “Unblock
user groups”.
Note: The unblocking command is sent for one
door at a time.
4. Click Unblock and enter your password.
5. Click Close.

© Timelox AB 2009
66 3081 004-10 29
7.5 Broadcast commands
To see what broadcast commands that have been
sent out, follow the steps below:
1. Double click on Broadcast Commands.
2. If desired, the list can be printed. If Print is
pressed, the alternatives Print to file, Print with
additional note and Print are shown. Choose
the applicable one.
3. By marking a broadcast command in the list and
clicking View, you will get the dialog
Broadcast Answers which shows all online
doors. For doors which have answered to the
command, the column “Answer time” states at
what time the answer was given. For doors
which have not answered, “n/a” is shown at
“Answer time”.
Note: It takes a few minutes before “n/a” is
shown, since it is shown after the broadcast has
made timeout.
4. If desired, the Broadcast Answers list can be
printed. If Print is pressed, the alternatives Print
to file, Print with additional note and Print are
shown. Choose the applicable one.
7.6 Move/extend card
If a guest or guest party wants to change rooms
and/or extend the validity of the guest card(s), this
can be done without the guests needing to update
their cards at the reception. If the guests just inform
the reception about the situation, the reception
personnel can send a command
• to a new guest room door which will then accept
the guest card(s) from the first room, and if
applicable also for an extended time.
OR
• to the current guest room door which will then
accept the guest card(s) for an extended time.
Note: This can also be done via PMS.
Note: A guest card that is moved online to a new
guest room will also automatically be added to any
foyer door and/or guest entrance associated with the
new guest room.
Note: No more than ten cards can be moved from
one room at a time. Both rooms – the one you are
moving from and the one you are moving to – must
be set up as online doors. The limitation of ten cards
is also applicable if the cards are still valid for the
same room but are given an extended validity.
Note: When a card has been moved to another room,
or when the validity for the card has been extended,
the registration number of the card will be logged in
the event report.
To move card(s) to another room:
1. Double click on Move/Extend card in the
navigation window.

© Timelox AB 2009
66 3081 004-10 30
2. At Room number, enter the number of the room
where the guests are currently staying. All guest
cards that are valid in the room will be shown.
3. By default, all guest cards that are valid in the
room will be moved (All cards is checked). If
this is not applicable, uncheck All cards and
mark the cards that should be moved.
4. Check Do NOT checkout old room if the cards
shall have access both to the old and the new
room.
5. At New room, enter the number of the new
room to which the card(s) shall have access.
6. If the number of nights is to be changed, enter at
No of nights the appropriate number of nights
for which the card(s) shall be valid. The Check-
out time will change accordingly. The check-out
time can also be chosen by using the calendar
control: mark the
button
next to the Check-out time field and mark a
date in the calendar. The chosen date will
appear at Check-out time; the number of nights
will change accordingly.
7. Click Execute and enter your password.
8. If any of the rooms has not been set up as an
online room, you will get the following message:
9. If any of the rooms is offline, you will get the
following message:
10. If the new room is not vacant, you will get a
message as in the following example. Choose
the appropriate alternative.
11. When a card has been successfully moved, you
will get the following message:
To extend the validity of one or more cards:
1. Double click on Move/Extend card in the
navigation window.
2. At Room number, enter the number of the room
where the guests are currently staying. All guest
cards that are valid in the room will be shown.
3. By default, all guest cards that are valid in the
room will have changed expiration time (All
cards is checked). If this is not applicable,
uncheck All cards and mark the cards that
should have changed expiration time.
4. Check Do NOT checkout old room.
5. Leave the New room field empty.
6. Enter at No of nights the appropriate number of
nights for which the card(s) shall be valid. The
Check-out time will change accordingly. The
check-out time can also be chosen by using the
calendar control: mark the
button
next to the Check-out time field and mark a
date in the calendar. The chosen date will
appear at Check-out time; the number of nights
will change accordingly.
7. Click Execute and enter your password.

© Timelox AB 2009
66 3081 004-10 31
8. If the current room has not been set up as an
online room, you will get a message about this
(see picture at step 8 under To move card(s) to
another room).
9. If the current room is offline, you will get a
message about this (see picture at step 9 under
To move card(s) to another room).
10. When a card has been successfully extended,
you will get a message about this (see picture at
step 11 under To move card(s) to another room).
7.6.1 Add card to room
There is also another way of moving cards from one
online room to another online room without the
guest needing to go to the reception; with the
command Add card to room, which is shown in the
right-click menu for a card. It can be used for VIP
guests arriving with a card. By choosing Add card
to room for the concerned card, the card can be
added to any online guest room in the hotel. It is
possible to choose whether the current guest should
be checked out from the old room or not.
7.6.2 Show history
It is possible to show the history of a card which has
been moved or extended. This can be done from the
card list or the event report.
To show card history from the card list:
1. Double click on Cards under the Lists tab in the
navigation window of DC-One.
2. If applicable, enter a card list search filter under
any of the alternatives in the left part of the
Cards – Search filter dialog before clicking
OK.
3. Right click on the card in the card list and
choose Show history. The Changed Card List
dialog will appear.
4. Click Show to show the original card dialog (see
the following picture).
To show card history from the event report:
1. Double click on Events under the Reports tab
in the navigation window of DC-One.

© Timelox AB 2009
66 3081 004-10 32
2. Enter a search filter in the left part of the
Events - Search Filter dialog and click OK.
3. The Events dialog is shown. Right click on the
event and choose Show history.
Note: This is only possible for events that are
related to a card.
4. The Changed Card List dialog is shown – see
step 3 under To show card history from the card
list above.
7.7 Pending cancel commands
If a card has been cancelled but this command has
not yet reached one or more doors, the door(s) will
appear in the dialog Pending Cancel Commands.
1. Double click on Pending Cancel Commands.
Note: Use a cancel card in the locks which appear in
the dialog Pending Cancel Commands.
2. If a * is shown in the dialog header, new cancel
commands have – since the dialog was opened –
been sent but not yet been received by the locks.
In this case, press Refresh to show all pending
cancel commands.
3. If Print is pressed, the alternatives Print to file,
Print with additional note and Print are shown.
Choose the applicable one.
7.8 Online commands for a specific
door
1. Open the door list by double clicking on Doors
under the Lists tab in the navigation window.
2. Mark the concerned online door in the door list
and right click on the door; a menu will be
shown (see the following picture).
3. Choose the appropriate command in the menu.
See the rest of this section 7.8 for descriptions of
the different commands.
Open – the door will open.
Set stand open – the door will be set in stand open
(unlocked) mode, i.e. no card or code will be needed
to open it.

© Timelox AB 2009
66 3081 004-10 33
1. You will get the dialog below, where you mark
the appropriate radio button for the stand open
function you want to use. If “Until time is” or
“For hours” is chosen, enter the corresponding
field.
2. Click OK. The time when stand open was set
will be shown in the door list.
Clear stand open – the stand open (unlocked) mode
in the door will be revoked and the door will go back
to normal mode again, i.e. card and/or code will be
required to open it.
Emergency open (can only be performed by the
distributor) – the door will be set in emergency stand
open mode, i.e. be unlocked until it is emergency
closed. The time when emergency open was set will
be shown in the door list.
Emergency close – the door will be emergency
closed, i.e. the emergency open will be revoked and
the door will go back to normal mode again, i.e. card
and/or code will be required to open it.
Checkout – the override number in the door will
increase, so that none of the guest cards (guest,
joiner, suite, joiner suite, guest advanced and future
arrival) that have been valid in the room will be able
to enter anymore. However, if a grace time has been
set (see section 6.2.3 Miscellaneous for details), the
cards will be able to enter during the grace time.
Mark as temporarily offline – the door will be
offline until an event comes from the door.
Show blocked groups – this alternative will show
• user groups (or blocking groups) that have been
blocked with the blocking command; see section
7.3 Block
• blocking groups that have been automatically
blocked when the guest checked in (this requires
that the option auto-blocking in rented rooms is
set)
Notify on first entry – if the mail notification option
and/or SMS option is used, it is possible to notify
one or more users the first time the valid guest card
is used in the door after the function Notify on first
entry was set. When the alternative Notify on first
entry is chosen, a list of all users with e-mail
address and/or cell phone will be shown. Mark the
desired user in the Users <Doors> dialog and click
Select. If the user has got both e-mail address and
cell phone number, you will be asked to choose one
of the media e-mail or SMS, or both. The user will
then get an e-mail and/or SMS the first time the
concerned guest card is used. If the room is rented,
you will be asked whether the e-mail/SMS
notification should be triggered by the current guest
or the next arriving guest. See User manual TimeLox
DC-One, Art. No 865 100, for more information
about the mail notification option and the SMS
option.
Note: The notification on first entry requires that the
guest’s name was entered at Issue to when the guest
card was issued.
7.9 Cancelling a card
When cancelling a card in the card list, it will
automatically be cancelled in all online doors.
Note: If a card cannot be used anymore at all, e.g. if
it has been broken, it should be discarded. A
discarded card will by default not appear in the card
list. Please note the difference between discarding
and cancelling a card. If a card has been lost,
improperly used etc, it should be cancelled and not
discarded. A cancelled card can (if found) be re-
encoded and used again, while a discarded card
should not be used anymore at all.
To cancel a card:
1. Mark a card in the card list and click Cancel
card. You will get the following message:

© Timelox AB 2009
66 3081 004-10 34
2. Click OK.
3. The dialog above follows. If the card should
really be cancelled, click OK.
4. The dialog above is shown. Click Yes.

© Timelox AB 2009
66 3081 004-10 35
8 Power loss & hardware failure
This section describes the mechanisms in place to
recover from power loss as well as instructions to
replace devices in case of hardware failure.
8.1 Lock electronics
If the lock electronics (not the online EN radio) have
gone bad, they can be replaced with no interruption
to the online network. Replace the lock electronics
and put the lock back together. If power was
temporarily disconnected from the EN, it will rejoin
its parent on power up.
8.2 Endnode
If an EN loses power (typically due to a dead battery
or battery replacement), it will rejoin its parent on
power up using an orphan join. The radio ID is
already in the appropriate RT and so it is allowed to
join again without requiring a technician to re-open
the RT.
If an EN needs to be replaced:
1. Make a leave on the old EN (right click on the
EN in SysMon’s ZigBee view and choose Leave
Network). In this way the old EN will deregister
from the parent.
2. Important: Wait for 40 seconds to avoid
confusing the parent from which the EN has
deregistered.
3. Make Permit Joining on the RT to which the
EN should be connected. This can be done either
by right clicking on the RT in SysMon’s ZigBee
view and choosing Permit Joining, or by
pressing the F1 button on the RT.
4. Once Permit Joining has been made on the RT,
install the new EN device in the lock. When it is
powered up, insert a Discovery card (see section
about ZigBee configuration card in User manual
TimeLox DC-One, Art. No 865 100) in the lock;
the lock will chirp once. The EN will announce
itself to the server.
5. After the EN has joined the network, make
Forbid Joining on the RT by right clicking on
the RT in SysMon’s ZigBee view, or by pressing
the F1 button on the RT.
8.3 Router
If an RT loses power none of its children will be
able to communicate to the server. When an RT
loses power it will send a special SOS message to
the server at least once to indicate that power may
have been disconnected.
A power cut is illustrated with a red dot in front of
the RT in SysMon:
It can take up to three hours for the ENs to get online
after recovery from a power cut.
Upon power up the RT will perform an orphan join
and will rejoin its parent GW or RT. Any children
(EN or RT) will rejoin the RT automatically by
performing orphan joins after they realize they have
lost their parent.
To expedite this process in ENs:
1. Insert an Orphan Join card (see section about
ZigBee configuration card in User manual
TimeLox DC-One, Art. No 865 100) in the door
lock of each EN; each lock will chirp once.
This may be a necessary step if the RT has been
without power for an extended period of time as the
ENs will only attempt an orphan join every so often
(i.e. every three hours) in an attempt to conserve
power.
If an RT needs to be replaced:
There are in SysMon two methods to replace an RT;
either by using the Add Node command or the
Permit Joining command.
With the Add Node command, you do not have to
make discovery on the new RT when it is added to

© Timelox AB 2009
66 3081 004-10 36
its parent, or on the children of the old RT when they
should be added to the new RT instead.
To use the Add Node command when replacing an
RT:
Each RT contains a table of its connected children
including RTs and ENs. A copy of this table is
automatically stored on the server. In the event a
defective RT should be replaced, it is possible to
build up the table for the new RT by following the
steps below.
1. In the SysMon ZigBee view, hover over the old
RT and make a note of its network address.
2. Hover over the RTs and/or ENs which are
directly under the old RT and make a note of the
IEEE address and network address for each one
of these RTs/ENs.
3. Right click on the old RT in the SysMon ZigBee
view and choose Leave network so the new RT
can instead join the parent of the old RT.
4. Important: Wait for 40 seconds to avoid
confusing the parent from which the old RT has
deregistered.
5. Disconnect the old RT and remove it.
6. Mount and connect the new RT.
7. Make the new RT join its parent by right
clicking on the parent and choosing Add Node.
In the Add New Node dialog that appears, make
the following steps (see example in the
following screenshot):
• Mark the checkbox “Router”.
• At Network Address, choose in the
drop-down list the 4 hex number that
you have taken a note of according to
step 1 above.
• At IEEE Address, enter the IEEE
address that is found on the label of the
new RT.
• Click OK.
8. Give the new RT a name by right clicking on it
in the SysMon ZigBee view and choosing Edit
Name.
9. The children of the old RT should now be added
to the new RT in the SysMon ZigBee view.
Right click on the new RT and choose Add
Node.
10. In the Add New Node dialog, make the
following steps:
• Mark the checkbox “Router” if
applicable.
• At Network Address, choose in the
drop-down list the 4 hex number that
you have taken a note of according to
step 2 above.
• At IEEE Address, enter the IEEE
address that you have taken a note of
according to step 2 above.
• Click OK.
11. Repeat steps 9-10 for each node that should be
connected to the new RT.
After this, the new RT will begin communicating
with its children without the need for making Permit
Joining and associating RTs and ENs.
To use the Permit Joining command when
replacing an RT:
1. Make a leave on the old RT (right click on the
RT in SysMon’s ZigBee view and choose Leave
Network). In this way the old RT will deregister
from the parent.
2. Important: Wait for 40 seconds to avoid
confusing the parent from which the old RT has
deregistered.
3. Choose Permit Joining on the GW that the new
RT should associate itself with.

© Timelox AB 2009
66 3081 004-10 37
4. Press the F1 button when powering up the new
RT. The RT will make a discovery, i.e. it will
search for and join the GW on which Permit
Joining has been made. After this, choose
Forbid Joining on the GW.
5. Make Permit Joining on the new RT. This can
be done either by right clicking on the new RT
and choosing Permit Joining, or by pressing the
F1 button on the new RT. Insert a Discovery
card (see section about ZigBee configuration
card in User manual TimeLox DC-One, Art. No
865 100) in the door lock of each EN (each lock
will chirp once) that should associate with the
new RT.
6. Each EN will search for and join the new RT on
which Permit Joining has been chosen. After
this, make Forbid Joining on the new RT. This
is done either by right clicking on the new RT
and choosing Forbid Joining, or by pressing the
F1 button on the new RT.
8.4 Gateway
If a GW loses power, none of its children (RT or
EN) will be able to communicate to the server. A
power cut is illustrated with a red dot in front of the
GW in SysMon:
On power up the GW will reconnect to the server
and any children will rejoin the GW by performing
orphan joins.
To expedite this process in ENs:
1. Insert an Orphan Join card (see section about
ZigBee configuration card in User manual
TimeLox DC-One, Art. No 865 100) in the door
lock of each EN; each lock will chirp once.
The GW regularly sends messages to the server so
any interruption in power will be immediately
apparent at the server.
Each GW contains a table of its connected children
including RTs and ENs. A copy of this table is
automatically stored on the server. In the event a
defective GW should be replaced, it is possible to
build up the table for the new GW by following
these steps:
1. In the SysMon ZigBee view, hover over the
different RTs and/or ENs which are directly
under the old GW and make a note of the IEEE
address and network address for each one of
these RTs/ENs.
2. Disconnect the old GW and remove it.
3. Mount, connect and – when the new GW
appears in the SysMon ZigBee view – name the
new GW. See section 2.3 Gateway installation
for screenshots and more details.
4. Right click on the new GW in the ZigBee view
and choose Add Node.
5. In the Add New Node dialog (see step 7 in
section 8.3 Router for example screenshot),
make the following steps:
• Mark the checkbox “Router” if
applicable.
• At Network Address, choose in the
drop-down list the 4 hex number that
you have taken a note of according to
step 1 above.
• At IEEE Address, enter the IEEE
address that you have taken a note of
according to step 1 above.
• Click OK.
6. Repeat steps 4-5 for each node that should be
connected to the new GW.
7. Right click on the old GW in the SysMon
ZigBee view and choose Remove.
After this, the new GW will begin communicating
with its children without the need for making Permit
Joining and associating RTs and ENs.
8.5 Server
If the server loses power, no commands can be sent
to the locks. When the server is recovered it will
need to query the locks to retrieve any events it may
have missed while it was down.

© Timelox AB 2009
66 3081 004-10 38
9 Redundancy and recovery
9.1 Communication channel
The ZigBee communication protocol has the built in
capability to communicate on any one of 16 different
channels (or frequencies).
In the event that one or more channels are blocked or
do not allow for adequate signal strength and
stability, other channels may be used.
If there are circumstances that dictate the devices
should communicate on a specific channel (i.e. if
there are other online devices or known inter-ference
on other channels) it is possible to force the devices
to stay on a specific channel.
1. Right click on the concerned GW in SysMon’s
ZigBee view and choose Set channels; the
dialog below will be shown.
2. By default, all 16 channels are checked since the
GW will normally choose which of the 16
channels in the 2.4GHz band the nodes in the
PAN should use. If a specific channel should be
used, click Clear to uncheck all channels.
3. Check the desired channel(s) and click OK. If
more than one channel is checked, the best one
will be chosen.
9.2 Recovery
9.2.1 Polling
In order to preserve the battery, the ENs use a
scheme called polling. Each EN wakes up
periodically to check (poll) its parent for messages.
Any message for the node is sent as an answer to the
poll. The polling is the reason of variable answering
times.
9.2.2 Fallback
If the poll does not give any answer five successive
times, the EN has a fallback procedure. The missing
answer can have two causes:
• the parent is offline due to a power cut
• the channel is jammed
In the latter case the GW will automatically switch
to another channel.
The EN will start orphan joining as a fallback. This
will find the parent in case there has been a channel
switch. It will also find the parent in case there has
been a power cut and the power returns.
Due to the high power consumption of orphan
joining, it will be performed at very long intervals:
• Initially, the interval will be one minute.
• For every time the orphan join fails, the interval
is doubled until it reaches three hours.
RTs have the same functionality, but as they are
powered externally they will make an orphan join
every 30 seconds.

© Timelox AB 2009
66 3081 004-10 39
Appendix A: Online devices
Gateway
• Automatic adjustment to 10 or 100 Mbit/s networks
• Powered via Ethernet or by a power adapter (9VDC)
• Low power consumption
• The total number of gateways is virtually unlimited
• Can have either five routers or 15 endnodes connected
• Case with the dimensions
63 mm x 144 mm x 27,5 mm (2,48" x 5,67" x 1,08")
• Easy mounting (can be mounted either with adhesive
VELCRO® strips or fastening screws; a package with
two VELCRO® strips and two fastenings screws are
enclosed)
• Weight: 116 g
• Flame retardant ABS
• UL94 V-0 approved
• Colour: RAL 7047
Router
• Powered by a power adapter (5VDC)
• Low power consumption
• Can have either five routers or 15 endnodes connected
• There can be a maximum of five hops down the gateway (i.e. gateway – router – router – router – router – endnode). This limits the
physical coverage of a PAN.
Note: Timelox recommends a maximum of three hops, i.e. gateway – router – router – endnode, down the gateway. The link quality
index (LQI) should be at least 30%.
• Case with the dimensions 40 mm x 105 mm x 19,5 mm (1,97" x 4,13" x 0,77")
• Easy mounting (can be mounted either with adhesive
VELCRO® strips or fastening screws; a package with
two VELCRO® strips and two fastenings screws are enclosed)
• Weight: 36 g
• Flame retardant ABS
• UL94 V-0 approved
• Colour: RAL 7047
Power LED
Status LED
• red while the gateway gets its IP address
• LED off (no LED colour) while the
gateway looks for the Timelox server
• steady yellow while the gateway has got
contact with the Timelox server
• blinking yellow when the F button is
pressed for reaching the web interface
where some gateway settings are made
Ethernet connector
RS
-
485 connector
DC plug
Reset button F1 button
Router LED Signals
• Discovery: long blink every 5 seconds
• Orphan join: long blink every 2 seconds
• “Permit joining”: Short blink every 0.5 seconds
• “Forbid joining”: Short blink every 2 seconds
Status LED
Wire saddle DC plug
Toggling “permit joining”/
“forbid joining”:
Press the
F1
button.
Reset button
F button (this button is used for reaching the web interface where
some gateway settings are made. Toggling function).
Mounting hole for
wire saddle

© Timelox AB 2009
66 3081 004-10 40
Lock
1 Handle
2 Outside escutcheon
3 Clamp
4 Starlock washer
5 Torsion spring
6 Driver
7 Allen screw
8 Follower
9 Cap
10 Electronics
11 Outside mounting plate
12 Washer
13 Backplate screw
14 Inside mounting plate with endnode
15 Battery pack
16 Handle holder
17 Curve
18 Spring
19 Communication window
20 Inside escutcheon
21 Edge strip

© Timelox AB 2009
66 3081 004-10 41
Appendix B: Mounting of gateway and router
Preferred way of mounting the gateway is horisontally:
Note: If the label does not say “GATEWAY ER”, the gateway is of another type and should be mounted
vertically.
Preferred way of mounting the router is horizontally:

© Timelox AB 2009
66 3081 004-10 42
Appendix C: Example configurations
Several online configurations are possible. Here are some examples:
Example configuration 1: Basic setup with GWs and RTs and no firewall.

© Timelox AB 2009
66 3081 004-10 43
Example configuration 2: GWs using Power over Ethernet (PoE) communicating directly with doors.