Toro Timemaster 20199 Users Manual
!! Toro-24 Toro Lawn Mower Manuals - Lawn Mower Manuals – The Best Lawn Mower Manuals Collection
!! 97789d82-14e9-4987-9fb3-5f5e4b1f2841 Toro Lawn Mower Manuals - Lawn Mower Manuals – The Best Lawn Mower Manuals Collection
Preview ! 97789d82-14e9-4987-9fb3-5f5e4b1f2841 Toro Lawn Mower Manuals - Lawn Mower Manuals – The Best Lawn Mower Manuals Collection
20200 to the manual 084f1b20-ce1e-45ef-9568-f4213300c7c7
2015-01-21
: Toro Toro-Timemaster-20199-Users-Manual-350541 toro-timemaster-20199-users-manual-350541 toro pdf
Open the PDF directly: View PDF
.
Page Count: 28

FormNo.3369-191RevA
TimeMaster™30inLawnMower
ModelNo.20199—SerialNo.31200001andUp
ModelNo.20200—SerialNo.31200001andUp
Operator'sManual
Introduction
Thisrotary-blade,walk-behindlawnmoweris
intendedtobeusedbyresidentialhomeowners.
Itisdesignedprimarilyforcuttinggrasson
well-maintainedlawnsonresidentialproperties.It
isnotdesignedforcuttingbrushorforagricultural
uses.
Readthisinformationcarefullytolearnhowtooperate
andmaintainyourmachineproperlyandtoavoid
injuryandequipmentdamage.Youareresponsiblefor
operatingthemachineproperlyandsafely.
YoumaycontactTorodirectlyatwww.Toro.comfor
productandaccessoryinformation,helpndingadealer,
ortoregisteryourproduct.
Wheneveryouneedservice,genuineToroparts,
oradditionalinformation,contactanAuthorized
ServiceDealerorToroCustomerServiceandhave
themodelandserialnumbersofyourmachineready.
Figure1identiesthelocationofthemodelandserial
numbersontheproduct.Writethenumbersinthe
spaceprovided.
1
G017280
Figure1
1.Modelandserialnumberplate
ModelNo.
SerialNo.
Thismanualidentiespotentialhazardsandhassafety
messagesidentiedbythesafetyalertsymbol(Figure2),
whichsignalsahazardthatmaycauseseriousinjury
ordeathifyoudonotfollowtherecommended
precautions.
Figure2
1.Safetyalertsymbol
Thismanualuses2wordstohighlightinformation.
Importantcallsattentiontospecialmechanical
informationandNoteemphasizesgeneralinformation
worthyofspecialattention.
WARNING
CALIFORNIA
Proposition65Warning
Theengineexhaustfromthisproduct
containschemicalsknowntotheStateof
Californiatocausecancer,birthdefects,
orotherreproductiveharm.
Important:Thisengineisnotequippedwitha
sparkarrestermufer.ItisaviolationofCalifornia
PublicResourceCodeSection4442touseoroperate
theengineonanyforest-covered,brush-covered,or
grass-coveredland.Otherstatesorfederalareas
mayhavesimilarlaws.
ThissparkignitionsystemcomplieswithCanadian
ICES-002.
Theenclosed
Engine Owner's Man ual
issupplied
forinformationregardingtheUSEnvironmental
ProtectionAgency(EPA)andtheCalifornia
EmissionControlRegulationofemissionsystems,
maintenance,andwarranty.Replacementsmaybe
orderedthroughtheenginemanufacturer.
Formodelswithstatedenginehorsepower,thegross
horsepoweroftheenginewaslaboratoryratedbythe
©2011—TheToro®Company
8111LyndaleAvenueSouth
Bloomington,MN55420
Registeratwww.Toro.com.OriginalInstructions(EN)
PrintedintheUSA
AllRightsReserved

enginemanufacturerinaccordancewithSAEJ1940.
Asconguredtomeetsafety,emission,andoperating
requirements,theactualenginehorsepoweronthisclass
oflawnmowerwillbesignicantlylower.
Donottamperwiththeenginecontrolsoralterthe
governorspeed;doingsomaycreateanunsafecondition
resultinginpersonalinjury.
Safety
ThismachinemeetsorexceedstheCPSCbladesafety
requirementsforwalk-behindrotarylawnmowersand
theB71.1specicationsoftheAmericanNational
StandardsInstituteineffectatthetimeofproduction.
Readandunderstandthecontentsofthismanual
beforeyoustarttheengine.
Thesafetyalertsymbol(Figure2)isusedtoalertyou
topotentialpersonalinjuryhazards.Obeyallsafety
messagesthatfollowthissymboltoavoidpossibleinjury
ordeath.Improperlyusingormaintainingthismachine
couldresultininjuryordeath.Toreducethispotential,
complywiththefollowingsafetyinstructions.
Thefollowinginstructionshavebeenadaptedfromthe
ANSI/OPEIstandardB71.1-2003.
Thiscuttingmachineiscapableofamputating
handsandfeetandofthrowingobjects.Failure
toobservethefollowingsafetyinstructionscould
resultinseriousinjuryordeath.
GeneralOperation
•Read,understand,andfollowallinstructionsonthe
machineandinthemanual(s)beforestarting.
•Donotputhandsorfeetnearorunderthemachine.
Keepclearofthedischargeopeningatalltimes.
•Onlyallowresponsibleadults,whoarefamiliarwith
theinstructions,tooperatethemachine.
•Cleartheareaofobjectssuchasrocks,wire,toys,
etc.,whichcouldbethrownbytheblades.Stay
behindthehandlewhentheengineisrunning.
•Besurethattheareaisclearofbystandersbefore
operating.Stopthemachineifanyoneentersthe
area.
•Donotoperatethemachinebarefootedorwhile
wearingsandals.Alwayswearsubstantialfootwear.
•Donotpullthemachinebackwardunlessitis
absolutelynecessary.Alwayslookdownandbehind
beforeandwhilemovingbackward.
•Neverdirectdischargedmaterialtowardanyone.
Avoiddischargingmaterialagainstawallor
obstruction.Materialmayricochetbacktoward
theoperator.Stopthebladeswhencrossinggravel
surfaces.
•Donotoperatethemachinewithouttheentiregrass
catcher,dischargeguard,rearguard,orothersafety
protectivedevicesinplaceandworking.
•Neverleavearunningmachineunattended.
•Stoptheengineandwaituntilthebladescome
toacompletestopbeforecleaningthemachine,
removingthegrasscatcher,oruncloggingthe
dischargeguard.
•Operatethemachineonlyindaylightorgood
articiallight.
•Donotoperatethemachinewhileunderthe
inuenceofalcoholordrugs.
•Neveroperatethemachineinwetgrass.Alwaysbe
sureofyourfooting.Walk,neverrun.
•Disengagethedrivesystem,ifsoequipped,before
startingtheengine.
•Ifthemachineshouldstarttovibrateabnormally,
stoptheengineandcheckforthecauseimmediately.
Vibrationisgenerallyawarningoftrouble.
•Alwaysweareyeprotectionwhenoperatingthe
machine.
•Lightningcancausesevereinjuryordeath.Ifyousee
lightningorhearthunderinthearea,donotoperate
themachine;seekshelter.
•Seemanufacturer'sinstructionsforproperoperation
andinstallationofaccessories.Onlyuseaccessories
approvedbythemanufacturer.
SlopeOperation
Slopesareamajorfactorrelatedtoslip-and-fall
accidents,whichcanresultinsevereinjury.Operation
onallslopesrequireextracaution.Ifyoufeeluneasy
onaslope,donotmowit.
•Mowacrossthefaceofslopes;neverupanddown.
Exerciseextremecautionwhenchangingdirection
onslopes.
•Watchforholes,ruts,bumps,rocks,orotherhidden
objects.Uneventerraincouldcauseaslip-and-fall
accident.Tallgrasscanhideobstacles.
2

•Donotmowonwetgrassorexcessivelysteepslopes.
Poorfootingcouldcauseaslip-and-fallaccident.
•Donotmowneardrop-offs,ditches,or
embankments.Youcouldloseyourfootingor
balance.
Children
Tragicaccidentscanoccuriftheoperatorisnotalertto
thepresenceofchildren.Childrenareoftenattractedto
themachineandthemowingactivity.Neverassume
thatchildrenwillremainwhereyoulastsawthem.
•Keepchildrenoutofthemowingareaandunderthe
watchfulcareofaresponsibleadultotherthanthe
operator.
•Bealertandturnmachineoffifachildentersthe
area.
•Neverallowchildrentooperatethemachine.
•Useextracarewhenapproachingblindcorners,
shrubs,trees,orotherobjectsthatmayblockyour
viewofachild.
Service
SafeHandlingofGasoline
Toavoidpersonalinjuryorpropertydamage,use
extremecareinhandlinggasoline.Gasolineis
extremelyammableandthevaporsareexplosive.
•Extinguishallcigarettes,cigars,pipes,andother
sourcesofignition.
•Useonlyanapprovedgasolinecontainer.
•Neverremovethefueltankcaporaddfuelwiththe
enginerunning.Allowtheenginetocoolbefore
refueling.
•Neverrefuelthemachineindoors.
•Neverstorethemachineorfuelcontainerwhere
thereisanopename,spark,orpilotlight,suchas
onawaterheateroronotherappliances.
•Neverllcontainersinsideavehicleoronatruck
ortrailerbedwithaplasticliner.Alwaysplace
containersonthegroundawayfromyourvehicle
beforelling.
•Removegas-poweredequipmentfromthetruck
ortrailerandrefuelitontheground.Ifthisisnot
possible,thenrefuelsuchequipmentwithaportable
containerratherthanfromagasolinedispenser
nozzle.
•Keepthenozzleincontactwiththerimofthefuel
tankorcontaineropeningatalltimesuntilfuelingis
complete.Donotuseanozzlelock-opendevice.
•Iffuelisspilledonclothing,changeclothing
immediately.
•Neveroverllthefueltank.Replacethefueltank
capandtightenitsecurely.
WARNING
Exhaustcontainscarbonmonoxide,anodorless,
deadlypoisonthatcankillyou.
Donotruntheengineindoorsorinanenclosed
area.
GeneralService
•Neveroperatethemachineinanenclosedarea.
•Keepallnutsandboltstighttoensurethatthe
equipmentisinsafeworkingcondition.
•Nevertamperwithsafetydevices.Checktheir
properoperationregularly.
•Keepthemachinefreeofgrass,leaves,orother
debris.Cleanupoilorfuelspillsandremoveany
fuel-soakeddebris.Allowthemachinetocoolbefore
storing.
•Ifyoustrikeaforeignobject,stopandinspectthe
machine.Repairthemachine,ifnecessary,before
starting.
•Nevermakeanyadjustmentsorrepairswiththe
enginerunning.Disconnectthespark-plugwireand
groundagainsttheenginetopreventunintended
starting.
•Checkthegrasscatchercomponentsandthe
dischargeguardfrequentlyandreplacethemwith
manufacturer'srecommendedpartswhennecessary.
•Mowerbladesaresharp.Wrapthebladesorwear
gloves,anduseextracautionwhenservicingthem.
•Donotchangetheenginegovernorsettingor
overspeedtheengine.
•Maintainorreplacesafetyandinstructionlabelsas
necessary.
3

SafetyandInstructionalDecals
Important:Safetyandinstructiondecalsarelocatednearareasofpotentialdanger.Replacedamaged
decals.
Manufacturer'sMark
1.Indicatesthatthebladeisidentiedasapartfromthe
originalmachinemanufacturer.
94-8072
108-8117
108-9751
Electric-startmodelonly
1.Engine—stop3.Engine—start
2.Engine—run
114-7982
1.Warning—readtheOperator'sManual.
2.Thrownobjecthazard—keepbystandersasafedistance
fromthemachine.
3.Cutting/dismembermenthazardofhandorfoot,mower
blade—disconnectthespark-plugwireandreadthe
instructionsbeforeservicingorperformingmaintenance.
4.Cutting/dismembermenthazardofhandorfoot,mower
blade—stayawayfrommovingparts.
5.Cutting/dismembermenthazardofhandorfoot,mower
blade—donotoperateupanddownslopes;operatesideto
sideonslopes;stoptheenginebeforeleavingtheoperating
position;andlookbehindyouwhenbackingup.
117–2718
120-9570
1.Warning—stayawayfrommovingparts,keepallguards
andshieldsinplace.
4

104-7953
Electric-startmodelonly
1.Warning—readtheOperator'sManualforinformationonchargingthebattery;containslead;donotdiscard.
2.ReadtheOperator'sManual.
Setup
Important:Removeanddiscardtheprotective
plasticsheetthatcoverstheengine.
1
AssemblingtheHandle
NoPartsRequired
Procedure
WARNING
Assemblingandunfoldingthehandleimproperly
candamagethecables,causinganunsafeoperating
condition.
•Donotdamagethecableswhenunfoldingthe
handle.
•Ifacableisdamaged,contactanAuthorized
ServiceDealer.
1.Rotatetheupperhandlesothatitneststogether
withthelowerhandle(Figure3),andtightenboth
knobsonthehandletolocktheupperhandlein
place(Figure4).
1
G016547
2
Figure3
1.Upperhandle2.Knob(2)
1
G016551
Figure4
1.Handle-locklever
2.Releasethehandle-locklever(Figure4).
3.Pullthehandlerearwardandlockitintoposition
(Figure4).
5

2
InstallingtheBlade-control
Bar
NoPartsRequired
Procedure
Installtheblade-controlbarintotheupperhandle
(Figure5).
G017217
Figure5
3
FillingtheEnginewithOil
Partsneededforthisprocedure:
20.
oz.Engineoil
Procedure
Important:Thismachine
does not
comewithoil
intheengine.Beforestartingtheengine,llthe
enginewithoil.
1.Movethemachinetoalevelsurface.
2.Removethedipstick(Figure6)andpourabout3/4
ofthecrankcasecapacityofoilintotheoil-lltube.
Note:Max.ll:20oz.(0.59l),type:SAE30
detergentoilwithanAPIserviceclassicationofSF,
SG,SH,SJ,SL,orhigher.
G017514
Figure6
3.Wipeoffthedipstickendwithacleancloth.
4.Insertthedipstickintotheoil-lltube,andscrewit
inuntilitstops.
5.Removethedipstickandreadtheoillevelonthe
dipstick;refertoFigure7.
Figure7
1.Theoillevelistoolow;
addoiltothecrankcase.
3.Theoilleveliscorrect.
2.Theoillevelistoohigh;
removeoilfromthe
crankcase.
•Iftheoillevelistoolow,addasmallamountof
oilslowlytotheoil-lltube,andthenrepeat
steps3through5untiltheoilleveliscorrectas
showninFigure7.
•Iftheoillevelistoohigh,draintheexcess
oiluntilyouobtainthecorrectoillevelon
thedipstick.Todraintheexcessoil,referto
ChangingtheEngineOil(page17).
Important:Iftheoillevelinthecrankcaseis
toolowortoohighandyouruntheengine,
youmaydamagetheengine.
6.Installthedipsticksecurelybyhand.
6

4
ChargingtheBattery
NoPartsRequired
Procedure
Electric-startmodelonly
RefertoChargingtheBattery(page18).
ProductOverview
2
14
1
13
3
4
5
67
8
9
10
11
12
g016439
15
16
Figure8
1.Side-dischargedeector9.Ignitionswitch
2.Sparkplug10.Battery(notshown;
electric-startmodelonly)
3.Dipstick/oil-lltube(not
shown)
11.Rearcutting-heightlever
4.Recoil-starthandle12.Rear-dischargedeector
5.Fuel-tankcap13.Fuse
6.Handle-locklever14.Airlter
7.Handleknob(2)15.Washoutport
8.Upperhandle16.Frontcutting-heightlever
2
1
3
4
g017218
Figure9
Upperhandle
1.Traction-assisthandle3.Blade-controlbar
2.Blade-controlbarlock4.Ignitionswitch
g017219
1
2
34
Figure10
1.Grassbag3.Side-dischargechute
2.Rear-dischargeplug
(installed)
4.Batterycharger
(electric-startmodelonly)
7

Operation
BeforeStarting
RecommendedFuel
DANGER
Gasolineisextremelyammableandexplosive.A
reorexplosionfromgasolinecanburnyouand
others.
•Topreventastaticchargefromignitingthe
gasoline,placethecontainerand/ormower
directlyonthegroundbeforelling,notina
vehicleoronanobject.
•Fillthetankoutdoorswhentheengineiscold.
Wipeupspills.
•Donothandlegasolinewhensmokingoraround
anopenameorsparks.
•Storegasolineinanapprovedfuelcontainer,out
ofthereachofchildren.
•Forbestresults,useonlyclean,fresh,unleaded
gasolinewithanoctaneratingof87orhigher
((R+M)/2ratingmethod).
•Oxygenatedfuelwithupto10%ethanolor15%
MTBEbyvolumeisacceptable.
•Donotuseethanolblendsofgasoline,suchasE15
orE85,withmorethan10%ethanolbyvolume.
Performanceproblemsand/orenginedamagemay
result,whichmaynotbecoveredunderwarranty.
•Donotusegasolinecontainingmethanol.
•Donotstorefueleitherinthefueltankorinfuel
containersoverthewinterunlessfuelstabilizerhas
beenaddedtothefuel.
•Donotaddoiltogasoline.
UsingFuel
Stabilizer/Conditioner
Useafuelstabilizer/conditionerinthemachineto
providethefollowingbenets:
•Itkeepsgasolinefreshduringstorageupto90days.
Whenstoringthemachineformorethan90days,
drainthefueltank.
•Itcleanstheenginewhileitisrunning.
•Iteliminatesgum-likevarnishbuildupinthefuel
systems,whichcauseshardstarting.
Addthecorrectamountoffuelstabilizer/conditionerto
thegasolineasrecommendedontheproductlabel.
Note:Afuelstabilizer/conditionerismosteffective
whenitismixedwithfreshgasoline.Toprevent
varnishdepositsinthefuelsystem,useafuel
stabilizer/conditioneratalltimes.
FillingtheFuelTank
1.Cleanaroundthefueltankcap,andremovethecap
fromthetank(Figure11).
1/4 inch (6 mm)
G017515
Figure11
2.Fillthefueltank,leavingatleast1/4inch(6mm)
fromthebottomoftheneckemptytoallowthe
gasolineroomtoexpand(Figure11).
3.Installthefueltankcapandtightenitsecurelyby
hand.
8

CheckingtheEngineOilLevel
ServiceInterval:Beforeeachuseordaily
Max.ll:20oz.(0.59l),type:SAE30detergentoil
withanAPIserviceclassicationofSF,SG,SH,SJ,SL,
orhigher.
1.Movethemachinetoalevelsurface.
2.Removethedipstick(Figure12).
G017514
Figure12
3.Wipeoffthedipstickendwithacleancloth.
4.Insertthedipstickintotheoil-lltubeandscrewit
inuntilitstops.(Figure12).
5.Removethedipstickandreadtheoillevel;referto
Figure13.
Figure13
1.Theoillevelistoolow;
addoiltothecrankcase.
3.Theoilleveliscorrect.
2.Theoillevelistoohigh;
removeoilfromthe
crankcase.
•Iftheoillevelistoolow,addasmallamountof
oilslowlytotheoil-lltube,andthenrepeat
steps3through5untiltheoilleveliscorrectas
showninFigure7.
•Iftheoillevelistoohigh,draintheexcess
oiluntilyouobtainthecorrectoillevelon
thedipstick;todraintheexcessoil,referto
ChangingtheEngineOil(page17).
Important:Iftheoillevelinthecrankcaseis
toolowortoohighandyouruntheengine,
youmaydamagetheengine.
6.Installthedipsticksecurelybyhand.
AdjustingtheCuttingHeight
WARNING
Adjustingthecuttingheightmaybringyouinto
contactwiththemovingblades,causingserious
injury.
•Stoptheengineandwaitforallmovingparts
tostop.
•Donotputyourngersunderthehousingwhen
adjustingthecuttingheight.
Adjustthecuttingheightasdesired;referto
Figure14andFigure15.
Note:Toraisethemachine,movethefrontandrear
cuttingheightleversforward;tolowerthemachine,
movethecuttingheightleversrearward.Setthefront
andrearwheelstothesameheightunlessspecial
circumstancesrequireotherwise;refertoCuttingGrass
andCuttingLeavesinOperatingTips(page15).
12345
6
7
G017634
Figure14
Frontcutting-heightlever
1.1inch(2.5cm)5.3inches(7.6cm))
2.1-1/2inches(3.8cm)6.3-1/2inches(8.9cm))
3.2inches(5.1cm)7.4inches(10.2cm)
4.2-1/2inches(6.4cm)
9

1
2345
6
7
G017635
Figure15
Rearcutting-heightlever
1.1inch(2.5cm)5.3inches(7.6cm))
2.1-1/2inches(3.8cm)6.3-1/2inches(8.9cm))
3.2inches(5.1cm)7.4inches(10.2cm)
4.2-1/2inches(6.4cm)
AdjustingtheHandleHeight
Youcanraiseorlowerthehandletoapositionmore
comfortableforyou.
1.Pullthehandle-lockleverrearwardtodisengagethe
handle-lockpins(Figure16).
2
G016488
3
1
Figure16
1.Handle-locklever3.Notches
2.Handle-lockpin(2)
2.Rotatethehandleandalignthedesirednotchin
thehandlebrackettothehandle-lockpins;referto
Figure16.
3.Releasethehandle-locklevertosecurethehandle
inplace.
StartingtheEngine
StandardModel
Pulltherecoilhandleslowlyuntilyoufeelresistance,
thenpullitsharply.Allowtheropetoreturntothe
engineslowly.
Note:Ifthemachinedoesnotstartafterseveral
attempts,contactanAuthorizedServiceDealer.
Electric-startModel
Youcanstarttheengineonanelectric-startmodelby
usingeithertheignitionkeyortherecoil-starthandle.
•IgnitionKey:Turnandholdtheignitionkeytothe
Startposition(Figure17);whentheenginestarts,
releasethekey.
Important:Donotattempttostarttheengine
withtheblade-controlbarengaged;otherwise,
youmayblowthefuse.
10

Note:DonotholdtheignitionkeyintheStart
positionforlongerthan5secondstoprevent
burningoutthestartermotor.
G017516
Figure17
•Recoil-startHandle:
1.TurntheignitionkeytotheRunposition
(Figure17).
2.Pulltherecoilhandleslowlytotherearuntilyou
feelresistance,thenpullsharply.Allowtherope
toreturntotheengineslowly.
UsingtheSelf-propelDrive
Tooperatetheself-propeldrive,simplywalkwithyour
handsgrippingtheupperhandleandyourelbowsat
yoursides,andthemachinewillautomaticallykeeppace
withyou(Figure18).
Note:Youcanself-propelthemachinewiththeblades
engagedordisengaged.
G017595
Figure18
Note:Usethetraction-assisthandleinsituations
whenyouneedmorecontrolthanyouhavewiththe
self-propeldrivealone.
StoppingtheEngine
StandardModel
Pressthetoggleswitch(Figure19)totheStopposition,
andwaitfortheenginetostop.
G017636
Figure19
Electric-startModel
1.TurnthekeytotheOffposition(Figure20).
G017517
Figure20
2.Whentheenginestops,removetheignitionkeyand
takeitwithyouwhenyouleavethemachine.
EngagingtheBlade
Whenyoustartyourengine,thebladesdonotturn.You
mustengagethebladestomow .
1.Pulltheblade-control-barlockbacktothe
blade-controlbar,andtheblade-controlbarbackto
thehandle(Figure21).
11

g016484
1
2
Figure21
1.Blade-controlbarlock2.Blade-controlbar
2.Holdtheblade-controlbaragainstthehandle
(Figure22).
g016485
Figure22
DisengagingtheBlade
Releasetheblade-controlbar(Figure23).
G017596
Figure23
Important:Whenyoureleasetheblade-control
bar,thebladesshouldstopwithin3seconds.If
theydonotstopproperly,stopusingyourmachine
immediatelyandcontactanAuthorizedService
Dealer.
CheckingtheBlade-stop
SystemOperation
Beforeeachuse,checkthatthebladesstopwithin3
secondsofreleasingtheblade-controlbar.
UsingtheGrassBag
ServiceInterval:Beforeeachuseordaily
Youcanusethegrassbagtochecktheblade-stop
system.
1.Removetherear-dischargeplug.
2.Installtheemptygrassbagonthemachine.
3.Starttheengine.
4.Engagetheblades.
Note:Thebagshouldbegintoinate,indicating
thatthebladesarerotating.
5.Whilewatchingthebag,releasetheblade-controlbar.
Note:Ifthebagdoesnotdeatewithin3seconds
ofreleasingtheblade-controlbar,theblade-stop
systemmaybedeterioratingand,ifignored,could
resultinanunsafeoperatingcondition.Havethe
machineinspectedandservicedbyanAuthorized
ServiceDealer.
6.Stoptheengineandwaitforallmovingpartstostop.
NotUsingtheGrassBag
1.Movethemachineontoapavedsurfaceina
non-windyarea.
2.Setall4wheelstothe3-1/2inch(89mm)cutting
heightsetting.
3.Takeahalfsheetofnewspaperandcrumpleitintoa
ballsmallenoughtogounderthemachine(about3
inchesor75mmindiameter).
4.Placethenewspaperballabout5inches(13cm)in
frontofthemachine.
5.Starttheengine.
6.Engagetheblades.
7.Releasetheblade-controlbarandbegincountingout
3seconds.
8.Onthecountof3,pushthemachinequicklyforward
overthenewspaper.
9.Stoptheengineandwaitforallmovingpartstostop.
10.Gotothefrontofthemachineandcheckthe
newspaperball.
Note:Ifthenewspaperballdidnotgounderthe
machine,repeatsteps4through10.
11.Ifthenewspaperisunravelledorshredded,the
bladesdidnotstopproperly,whichcouldresultinan
12

unsafeoperatingcondition.ContactanAuthorized
ServiceDealer.
RecyclingtheClippings
Thismachinecomesfromthefactoryreadytorecycle
grassandleafclippingsbackintothelawn.Toprepare
themachinetorecycle:
•Iftheside-dischargechuteisonthemower,remove
itandlowertheside-dischargedeector;refer
toRemovingtheSide-dischargeChute(page14).
•Ifthegrassbagisonthemachine,removeit;refer
to(page9).
•Iftherear-dischargeplugisnotinstalled,gripitby
thehandle,raisethereardeector,andinsertitinto
therear-dischargechuteuntilthelatchlocksinto
place;refertoFigure24.
1
2
G016490
3
Figure24
1.Reardeector3.Therear-dischargeplug
installed
2.Inserttherear-discharge
plug
WARNING
Ensurethattherear-dischargeplugisinplace
beforeyourecycletheclippings.Neverengagethe
bladeswithouteithertherear-dischargeplugorthe
grassbaginstalled.
BaggingtheClippings
Usethegrassbagwhenyouwanttocollectgrassand
leafclippingsfromthelawn.
WARNING
Aworngrassbagcouldallowsmallstonesandother
similardebristobethrowntowardtheoperatoror
bystandersandresultinseriouspersonalinjuryor
death.
Checkthegrassbagfrequently.Ifitisdamaged,
installanewTororeplacementbag.
Iftheside-dischargechuteisonthemower,
removeitbeforebaggingtheclippings;referto
RemovingtheSide-dischargeChute(page14).
WARNING
Thebladesaresharp;contactingthebladescan
resultinseriouspersonalinjury.
Stoptheengineandwaitforallmovingpartstostop
beforeleavingtheoperatingposition.
InstallingtheGrassBag
1.Raiseandholdupthereardeector(Figure25).
1
2
G017408
3
Figure25
1.Reardeector3.Latch
2.Rear-dischargeplug
2.Removetherear-dischargeplugbypullingdownon
thelatchwithyourthumbandpullingtheplugout
fromthemachine(Figure25).
3.Installthebagrodintothenotchesatthebaseofthe
handleandrockthebagbackandforthtoensure
thattherodisseatedatthebottomofbothnotches;
refertoFigure26.
13

G016513
12
Figure26
1.Bagrod2.Notch(2)
4.Lowerthereardeectoruntilitrestsonthegrassbag.
RemovingtheGrassBag
Toremovethebag,reversethestepsinInstallingthe
GrassBagabove.
Side-dischargingtheClippings
Usethesidedischargeforcuttingverytallgrass.
Ifthebagisonthemachine,removeitandinsert
therear-dischargeplug;referto(page9)before
side-dischargingtheclippings.
Important:Ensurethattherear-dischargeplugis
inplacebeforeyourecycletheclippings(Figure24).
WARNING
Thebladeissharp;contactingthebladecanresult
inseriouspersonalinjury.
Stoptheengineandwaitforallmovingpartstostop
beforeleavingtheoperatingposition.
InstallingtheSide-dischargeChute
Withthechuteinyourrighthand:
1.Liftopentheside-dischargedeector(Figure27).
G017521
1
2
Figure27
1.Side-dischargedeector2.Side-dischargechute
2.Installtheside-dischargechuteasshownin
Figure27andFigure28,andclosethedeectoronto
thechute.
G017522
Figure28
RemovingtheSide-dischargeChute
Toremovetheside-dischargechute,reversethestepsin
InstallingtheSide-dischargeChuteabove.
14

OperatingTips
GeneralMowingTips
•Cleartheareaofloosesticks,branches,stones,wire,
twine,andotherdebristhatthebladescouldhit.
•Avoidstrikingsolidobjectswiththeblades.Never
deliberatelymowoveranyobject.
•Ifthemachinestrikesanobjectorstartstovibrate,
immediatelystoptheengine,disconnectthewire
fromthesparkplug,andexaminethemachinefor
damage.
•Forbestperformance,installnewTororeplacement
bladesforyourmodelbeforethecuttingseason
begins.
•ReplacethebladeswhennecessarywithToro
replacementblades.
CuttingGrass
•Cutonlyaboutathirdofthegrassbladeata
time.Donotcutbelowthe2inch(51mm)
settingunlessthegrassissparseoritislatefall
whengrassgrowthbeginstoslowdown;referto
AdjustingtheCuttingHeight(page9).
•Whencuttinggrassover6inches(15cm)tall,mow
atthehighestcuttingheightsettingandwalkslower;
thenmowagainatalowersettingforthebestlawn
appearance.Ifthegrassistoolong,themachinemay
plugandcausetheenginetostall.
•Alternatethemowingdirection.Thishelpsdisperse
theclippingsoverthelawnforevenfertilization.
•Ifthenishedlawnappearanceisunsatisfactory,try
oneormoreofthefollowing:
–Replacethebladesorhavethemsharpened.
–Walkataslowerpacewhilemowing.
–Raisethecuttingheightonyourmachine.
–Overlapcuttingswathsinsteadofcuttingafull
swathwitheachpass.
–Setthecuttingheightonthefrontwheelsanotch
lowerthantherearwheels.
–Cutthegrassmorefrequently.
•Cutonlydrygrassorleaves.Wetgrassandleaves
tendtoclumpontheyardandcancausethemachine
toplugortheenginetostall.
WARNING
Mowingwetgrassorleavescanleadtoserious
injuryifyouslipandcontacttheblade.Mow
onlyindryconditions.
CuttingLeaves
•Aftercuttingaleaf-coveredlawn,ensurethatatleast
halfofthelawnshowsthroughthecutleaves.You
mayneedtomowtheleavesagain.
•Iftherearemorethan5inches(13cm)ofleaveson
thelawn,setthefrontcuttingheight1or2notches
higherthantherearcuttingheight.
•Slowdownyourmowingspeedifthemowerdoes
notcuttheleavesnelyenough.
15

Maintenance
Note:Determinetheleftandrightsidesofthemachinefromthenormaloperatingposition.
RecommendedMaintenanceSchedule(s)
MaintenanceService
IntervalMaintenanceProcedure
Aftertherst5hours•Changetheengineoil.
Beforeeachuseordaily
•Checktheengineoillevel.
•Checktheblade-stopsystemoperation.
•Checktheaircleanerandcleanorreplaceit,ifnecessary.
•Checkthecuttingblades.
•Washunderneaththemachine.
Every25hours•Chargethebattery(electric-startmodelonly).
Every50hours•Changetheengineoil.
•Servicetheblade-drivesystem.
Beforestorage•Chargethebattery(electric-startmodelonly).
•Emptythefueltankbeforerepairsasdirectedandbeforeannualstorage.
Yearly
•Servicetheairlter;replaceitmorefrequentlyindustyoperatingconditions.
•Changetheengineoil.
•Replacethebladesorhavethemsharpened(morefrequentlyifthebladeedges
dullquickly).
•Checkthesparkplug;refertotheEngineOperator’sManual.
•RefertoyourEngineOperator’sManualforadditionalmaintenanceprocedures.
Important:Refertothe
Engine Operator’ s Man ual
foradditionalmaintenanceprocedures.
PreparingforMaintenance
1.Stoptheengineandwaitforallmovingpartstostop.
2.Disconnectthespark-plugwirefromthesparkplug
(Figure29).
G017520
1
Figure29
1.Spark-plugwire
Important:Beforetippingthemowertochange
theoilorreplacetheblades,allowthefueltank
torundrythroughnormalusage.Ifyoumust
tipthemowerpriortorunningoutoffuel,usea
handfuelpumptoremovethefuel.Alwaystip
themowerontoitssidesothattheairlteris
upintheair.
WARNING
Tippingthemachinemaycausethefueltoleak.
Gasolineisammable,explosive,andcancause
personalinjury.
16

ServicingtheAirFilter
ServiceInterval:Yearly
Beforeeachuseordaily
1.Loosenthefastenerandremovetheairltercover
(Figure30).
G017216
2
1
3
4
Figure30
1.Cover3.Filter
2.Fastener4.Base
2.Removeandinspectthelter.
•Ifthelterisdamagedoriswetwithoilorfuel,
replaceit.
•Ifthelterisdirty,tapitonahardsurface
severaltimesorblowthedebrisoutwardfrom
theinteriorofthelterusingcompressedairat
lessthan30psi(207kPa).
Note:Donotbrushorblowdirtfromthe
outsideofthelter;eitherforcesdirtintothe
bers.
3.Cleantheairlterbodyandcoverusingadamprag.
Keepdirtawayfromtheairopening.
4.Installthelterontothebase.
5.Installthecoverandscrewthefastenerdown
securely.
ChangingtheEngineOil
ServiceInterval:Aftertherst5hours
Every50hours
Yearly
Max.ll:20oz.(0.59l),type:SAE30detergentoil
withanAPIserviceclassicationofSF,SG,SH,SJ,SL,
orhigher.
1.Ensurethatthefueltankcontainslittleornofuelso
thatfueldoesnotleakoutwhenyoutipthemower
ontoitsside.
2.Runtheengineafewminutesbeforechangingthe
oiltowarmit.
Note:Warmoilowsbetterandcarriesmore
contaminants.
3.Disconnectthewirefromthesparkplug.Referto
PreparingforMaintenance(page16).
4.Tipthemowerontoitsside,withthedipstickdown,
untiltheupperhandlerestsontheground.
5.Setanoil-drainpanunderthedipstick.
6.Removethedipstickanddraintheusedoilintoan
oil-drainpan(Figure31).
G017281
Figure31
7.Afterdrainingtheusedoil,returnthemowertothe
operatingposition.
8.Removethedipstick(Figure32)andpourabout3/4
ofthecrankcasecapacityofoilintotheoil-lltube.
Note:Max.ll:20oz.(0.59l),type:SAE30
detergentoilwithanAPIserviceclassicationofSF,
SG,SH,SJ,SL,orhigher.
17

G017514
Figure32
9.Wipeoffthedipstickendwithacleancloth.
10.Insertthedipstickintotheoil-lltube,andscrewit
inuntilitstops.
11.Removethedipstickandreadtheoillevelonthe
dipstick;refertoFigure33.
Figure33
1.Theoillevelistoolow;
addoiltothecrankcase.
3.Theoilleveliscorrect.
2.Theoillevelistoohigh;
removeoilfromthe
crankcase.
•Iftheoillevelistoolow,addasmallamountof
oilslowlytotheoil-lltube,andthenrepeat
steps9through11untiltheoilleveliscorrect
asshowninFigure33.
•Iftheoillevelistoohigh,draintheexcess
oiluntilyouobtainthecorrectoillevelon
thedipstick.Todraintheexcessoil,referto
ChangingtheEngineOil(page17).
Important:Iftheoillevelinthecrankcaseis
toolowortoohighandyouruntheengine,
youmaydamagetheengine.
12.Installthedipsticksecurelybyhand.
13.Recycletheusedoil.
ChargingtheBattery
ServiceInterval:Every25hours
Beforestorage
Electric-startmodelonly
WARNING
Batteryposts,terminals,andrelatedaccessories
containleadandleadcompounds,chemicals
knowntotheStateofCaliforniatocausecancer
andreproductiveharm.
W ash hands after handling
batter y .
Chargethebatteryfor24hoursinitially,thenmonthly
(every25starts)orasneeded.Alwaysusethecharger
inashelteredarea,andchargethebatteryatroom
temperature(about70°F,or22°C)wheneverpossible.
Note:Themachineisequippedwithanalternator
chargingsystem.
1.Connectthechargertothewireharness,whichis
locatedbelowtheignitionkey(Figure34).
G017518
Figure34
2.Plugthechargerintoawalloutlet.
Note:Whenthebatterynolongerholdsacharge,
recyclethelead-acidbatteryaccordingtolocalcodes.
18

ReplacingtheFuse
Electric-startmodelonly
Ifthebatterydoesnotchargeortheenginedoesnot
turnwiththeelectricstarter,thefusemaybeblown;
replaceitwitha40-ampplug-intypefuse.
Important:Youcannotstartthemachinewith
theelectricstarterorchargethebatteryunlessa
workingfuseisinstalled.
1.Openthesealedfuseholderandreplacethefuse
(Figure35).
1
g016487
Figure35
1.Fuseholder
2.Closethecovertothefuseholder,andensurethatit
issealedtightly.
ReplacingtheBattery
Electric-startmodelonly
RemovingtheOldBattery
1.ContactanAuthorizedPartsDealertoobtaina
replacementbattery.
2.Removethebeltcover;refertostep1of
ServicingtheBlade-driveSystem(page20).
3.Removetherear-dischargeplug.
4.Movethehandletotheverticalposition.
5.Removethe4smallboltsthatholdtherear-deector
andhandle-lockleverassemblyinplace.
6.Foldthehandleallthewayforward.
7.Removetherear-deectorandhandle-locklever
assembly(Figure36).
G017523
1
Figure36
1.Rear-deectorandhandle-lockleverassembly
8.Removethecoverfromthebattery.
9.Disconnecttheleadsfromthebattery.
10.Removeandbatteryandrecycleit.
Note:Recyclethebatteryaccordingtoyourstate
andlocalregulations.
InstallingtheNewBattery
1.Cleanthebattery-holdingareaonthemower
housing.
2.Setthenewbatteryinplaceonthemowerhousing.
3.Connecttheleadstothenewbattery.
Note:Ensurethatyouconnecttheblack(negative)
wiretothenegative(-)terminalandthered(positive)
wiretothepositive(+)terminal.
4.Installthecoverontothebattery.
Note:Ensurethatthecovertsproperlyoverthe
wiringharness.
5.Installtherear-deectorandhandle-locklever
assemblyontothemachine.
6.Raisethehandletotheverticalposition.
7.Securetheshroudwiththe4smallboltsthatyou
removedinstep5ofRemovingtheOldBattery.
8.Installtherear-dischargeplug.
9.Returnthehandletotheoperatingposition.
19

AdjustingtheSelf-propelDrive
Cable
Wheneveryouinstallanewself-propelcable,orif
theself-propeldriveisoutofadjustment,adjustthe
self-propel-drivecable.
1.Loosenthecablesupportnut(Figure37).
Figure37
2.Pulldownthecablejacket(towardthemower)until
thereisnoslackinthecable(Figure38).
Figure38
3.Tightenthenutonthecablesupport.
ServicingtheBlade-drive
System
ServiceInterval:Every50hours
1.Removetheblade-drivesystemcover(Figure39).
G016491
1
2
Figure39
1.Bolts2.Cover
2.Brushorblowoutdebrisfromtheinsideofthe
shieldandaroundalltheparts.
3.Holda0.010-inchfeelergauge,apieceofpaper,ora
notecardagainstthewallandslideitdownbehind
thebelttensionspring.
Note:Ifthereisavisiblegapbetweenthegauge
andthespring,tightentheadjustingboltandthenut
untilthepaperbarelyslidesfreelyinandoutofthe
gap(Figure40).
g017221
2
1
34
5
6
Figure40
1.Belt-tensionspring4.Adjustingnut
2.Adjustingbolt5.Blade-drivebelt
3.Gap6.Wall
20

Important:Donotovertightentheadjusting
bolt.Thiscoulddamagetheblade-drivebelt.
4.Installtheblade-drivesystemcoverthatyou
previouslyremoved.
ServicingtheCuttingBlades
ServiceInterval:Yearly
Important:
Y ou will need a torque wr ench to install
the blades pr oper l y
.Ifyoudonothaveatorque
wrenchorareuncomfortableperformingthis
procedure,contactanAuthorizedServiceDealer.
Examinethebladesforsharpnessandanywearor
damagewheneveryourunoutofgasoline;refer
toInspectingtheBlades(page21).Ifthebladeedge
isdullornicked,haveitsharpenedorreplaceit.Ifthe
bladeisworn,bent,damagedorcracked,replaceit
immediatelywithagenuineTororeplacementblade.
DANGER
Awornordamagedbladecanbreak,andapiece
ofthebladecouldbethrowntowardtheoperator
orabystander,resultinginseriouspersonalinjury
ordeath.
•Inspectthebladesperiodicallyforwearor
damage.
•Replaceawornordamagedblade.
Note:Maintainsharpbladesthroughoutthecutting
season,becausesharpbladescutcleanlywithouttearing
orshreddingthegrassblades.Tearingandshredding
turnsgrassbrownattheedges,whichslowsgrowthand
increasesthechanceofdisease.
PreparingtoServicetheCuttingBlades
1.Lockthehandleintheverticalposition(Figure41);
refertoAdjustingtheHandleHeight(page10).
1
G016519
Figure41
1.Handlelockedintheverticalposition
2.Tipthemachineontoitsside,withtheairlterupin
theair,untiltheupperhandlerestsontheground.
WARNING
Thebladesaresharp;contactingabladecould
resultinseriouspersonalinjury.
•Disconnectthewirefromthesparkplug.
•Weargloveswhenservicingtheblade.
InspectingtheBlades
ServiceInterval:Beforeeachuseordaily
1.Inspectthecuttingedges(Figure42).Iftheedges
arenotsharporhavenicks,removethebladesand
havethemsharpenedorreplacethem.
2.Inspectthebladesthemselves,especiallythecurved
area(Figure42).Ifyounoticeanydamage,wear,or
aslotforminginthisarea(Figure42),immediately
replaceitwithanewblade.
g017223
Figure42
1.Cuttingedge3.Wear/slotforming
2.Curvedarea4.Crack
21

DANGER
Ifyouallowabladetowear,aslotwillform
betweenthesailandatpartoftheblade.
Eventuallyapieceoftheblademaybreakoff
andbethrownfromunderthehousing,possibly
resultinginseriousinjurytoyouorbystanders.
•Inspectthebladeperiodicallyforwearor
damage.
•Nevertrytostraightenabladethatisbentor
weldabrokenorcrackedblade.
•Replaceawornordamagedblade.
3.Checkforbentblades;referto
CheckingforBentBlades(page22).
CheckingforBentBlades
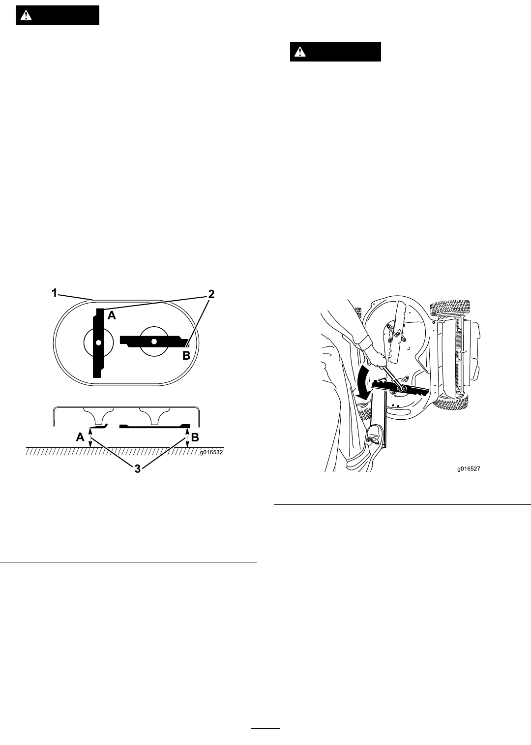
1.Rotatethebladesuntiltheyarepositionedasshown
inFigure43.
B
B
2
1
3
g016532
Figure43
1.Frontofcuttingdeck3.Measurefromthecutting
edgetoasmooth,level
surface
2.MeasureatlocationsA
andB
2.Measurefromalevelsurfacetothecuttingedges
atlocationsAandB,(Figure43),andrecordboth
dimensions.
3.Rotatethebladessothattheiroppositeendsareat
locationsAandB.
4.Repeatthemeasurementsinstep2andrecordthem.
Note:IfthedifferencebetweenthedimensionsA
andBobtainedinsteps2and4exceeds1/8inch
(3mm),thebladeisbentandmustbereplaced;
refertoRemovingtheBlades(page22)and
InstallingtheBlades(page23).
WARNING
Abladethatisbentordamagedcouldbreak
apartandcouldseriouslyinjureorkillyouor
bystanders.
•Alwaysreplaceabentordamagedbladewith
anewblade.
•Neverleorcreatesharpnotchesinthe
edgesorsurfacesofablade.
RemovingtheBlades
Replacethebladeswhenthemachinehitsasolidobject
orwhenabladeisoutofbalanceorbent.Useonly
genuineTororeplacementblades.
1.Useablockofwoodtoholdeachbladesteadyand
turnthebladeboltcounterclockwiseasshownin
Figure44.
Figure44
2.RemoveeachbladeasshowninFigure45.
22

G016530
1
2
3
4
Figure45
1.Spindle(2)3.Blade(2)
2.Bladedriver(2)4.Bladebolt(2)
3.Inspectthepinsonthebladedriversforwearand
damage.
InstallingtheBlades
1.Installtherstbladesothatitishorizontal,along
withallmountinghardwareasshowninFigure45.
Note:Tightentheboltwithyourngers.
Important:Positionthecurvedendsofthe
bladestopointtowardthemachinehousing.
Besuretonesttheraisedareasoneachblade
driverwiththerecessesintheheadofits
correspondingspindle,andthepinsontheother
sideofeachbladedriverwiththeholesinits
correspondingblade.
2.Steadyeachbladewithaboardandturntheblade
boltclockwisewithatorquewrenchasshownin
Figure46;torquethebladeboltto60ft-lb(82N-m).
Important:Abolttorquedto60ft-lb(82N-m)
isverytight.Putyourweightbehindthewrench
andtightentheboltsecurely.Thisboltisvery
difculttoovertighten.
g016537
Figure46
3.Rotatetheinstalledblade1/4turnuntilitisvertical,
andinstalltheotherbladeinthesamemanneras
therst(refertostep1).
Note:Thebladesshouldbeperpendicular,forming
aninverted“T”asshowninFigure47.
g01 6536
1
Figure47
1.Blade(2)
4.Tightenthesecondblade;refertostep2.
5.Rotatethebladesbyhandafull360°turntoensure
thattheydonottouch.
Note:Ifthebladestoucheachother,theyarenot
mountedcorrectly.Repeatsteps1through3,until
thebladesnolongertoucheachother.
23

WARNING
Incorrectlyinstallingthebladescoulddamage
themachineorcauseaninjurytotheoperator
ortobystanders.
WashingUnderneaththe
Machine
ServiceInterval:Beforeeachuseordaily—Wash
underneaththemachine.
1.Movethemachinetoalevelsurface.
2.Stoptheengineandwaitforallmovingpartstostop
beforeleavingtheoperatingposition.
3.Lowerthemachinetothelowestheight-of-cut.
4.Attachahosetothewashouttting,andturnthe
wateronhigh(Figure48).
Note:Spreadpetroleumjellyonthewashouttting
O-ringtomakethecouplingslideoneasierand
protecttheO-ring.
Figure48
1.Washouttting3.O-ring
2.Hose4.Coupling
5.Starttheengine,engagetheblade-controllever,and
letthemachinerunfor1to3minutes.
6.Disengagetheblade-controllever,stoptheengine,
andwaitforallmovingpartstostop.
7.Shutoffthewaterandremovethecouplingfrom
thewashouttting.
Note:Ifthemachineisnotcleanafterasingle
washing,soakitandletitstandfor30minutes.Then
repeattheprocess.
8.Runthemachineagainandengagethebladesfor1
to3minutestoremovetheexcesswater.
WARNING
Abrokenormissingwashoutttingcould
exposeyouandotherstothrownobjectsorblade
contact.Contactwithabladeorthrowndebris
cancauseinjuryordeath.
•Replaceabrokenormissingwashouttting
immediately,beforeusingthemachine
again.
•Neverputyourhandsorfeetunderthe
machineorthroughopeningsinthemower.
24

Storage
Storethemachineinacool,clean,dryplace.
GeneralInformation
1.Performtherecommendedannualmaintenance
procedures;refertotheRecommendedMaintenance
ScheduleunderMaintenance(page16).
2.Cleanunderthemachine;referto
WashingUnderneaththeMachine(page24).
3.Removechaff,dirt,andgrimefromtheexternal
partsoftheengine,theshrouding,andthetopof
themachine.
4.Checktheconditionoftheblades;referto
InspectingtheBlades(page21).
5.Servicetheairlter;referto
ServicingtheAirFilter(page17).
6.Tightenallnuts,bolts,andscrews.
7.Touchupallrustedorchippedpaintsurfaceswith
paintavailablefromanAuthorizedServiceDealer.
8.Chargethebatteryfor24hours,thenunplugthe
batterychargerandstorethemachineinanunheated
area.Ifyoumuststorethemachineinaheated
area,youmustchargethebatteryevery90days
(electric-startmodelonly).
9.Foldthehandleforstorage;referto
AdjustingtheHandleHeight(page10).
PreparingtheFuelSystem
WARNING
Gasolinecanvaporizeifyoustoreitoverlong
periodsoftimeandexplodeifitcomesintocontact
withanopename.
•Donotstoregasolineoverlongperiodsoftime.
•Donotstorethemachinewithgasolineinthe
fueltankorthecarburetorinanenclosurewith
anopename.(Forexample,afurnaceora
waterheaterpilotlight.)
•Allowtheenginetocoolbeforestoringitinany
enclosure.
Onthelastrefuelingoftheyear,addfuelstabilizerto
thefuelasdirectedbytheenginemanufacturer.Empty
thefueltankwhenmowingthelasttimebeforestoring
themachine.
1.Runthemachineuntiltheenginestopsfromrunning
outoffuel.
2.Starttheengineagain.
3.Allowtheenginetorununtilitstops.Whenyoucan
nolongerstarttheengine,itissufcientlydry.
PreparingtheEngine
1.Whiletheengineisstillwarm,changetheengineoil;
refertoChangingtheEngineOil(page17).
2.Removethesparkplug.
3.Usinganoilcan,addabout1oz.(30ml),ofmotor
oiltotheenginethroughthespark-plughole.
4.Slowlypullthestarterropeseveraltimestodistribute
oilthroughoutthecylinder.
5.Installthesparkplugbutdonotconnectthewireto
thesparkplug.Securethewiresothatitdoesnot
comeintocontactwiththesparkplug.
RemovingtheMachinefrom
Storage
1.Unfoldthehandle;referto
AdjustingtheHandleHeight(page10).
2.Checkandtightenallfasteners.
3.Removethesparkplugandspintheenginerapidly
usingthestartertoblowexcessoilfromthecylinder.
4.Inspectthesparkplugandreplaceitifitisdirty,
worn,orcracked;refertotheEngineOperator’sManual.
5.Installthesparkplugandtightenittothe
recommendedtorqueof180in-lb(20N-m).
6.Performanyneededmaintenanceprocedures;refer
toMaintenance(page16).
7.Checktheengineoillevel;referto
CheckingtheEngineOilLevel(page9).
8.Fillthefuelinthefueltankwithfreshgasoline;refer
toRecommendedFuel(page8).
9.Chargethebattery;referto
ChargingtheBattery(page18)(electric-start
modelonly).
10.Connectthewiretothesparkplug.
25

Notes:
26

Notes:
27

TheToroTotalCoverageGuaranteeTimeMaster
A3-Y earFullWarranty(45DayLimitedWarrantyforCommercialUse)WalkPowerMowers
TheToroGTSStartingGuarantee
A3-YearFullWarranty(NotApplicableforCommercialUse)
ConditionsandProductsCovered
TheToroCompanyanditsafliate,ToroWarrantyCompany,pursuantto
anagreementbetweenthem,jointlypromisetorepairtheT oroProduct
listedbelowifusedforresidentialpurposes*;ifitisdefectiveinmaterials
orworkmanshiporifitstopsfunctioningduetothefailureofacomponent;
oriftheT oroGTS(GuaranteedtoStart)enginewillnotstartontherstor
secondpull,providedtheroutinemaintenancerequiredintheOperator's
Manualhavebeenperformed.
Thiswarrantycoversthecostofpartsandlabor,butyoumustpay
transportationcosts.
Thefollowingtimeperiodsapplyfromthedateofpurchase:
ProductsWarrantyPeriod
TimeMasterMowerandAttachments3-yearfullwarranty
GTS(GuaranteedtoStart)3-yearfullwarranty
Battery1-year
LimitedWarrantyforCommercialUse*
TheseT oroProductsusedforcommercial,institutional,orrentaluse,
arewarrantedfor45daysagainstdefectsinmaterialsorworkmanship.
Componentsfailingduetonormalweararenotcoveredbythiswarranty.
TheT oroGTS(GuaranteedtoStart)StartingGuaranteedoesnotapply
whentheproductisusedcommercially*.
InstructionsforObtainingWarrantyService
IfyouthinkthatyourToroProductcontainsadefectinmaterialsor
workmanship,orifanormal,able-bodiedadultcannolongerstartyour
product'sengineinoneortwopulls,followthisprocedure:
1.ContactanyAuthorizedT oroServiceDealertoarrangeserviceattheir
dealership.T olocateadealerconvenienttoyou,refertotheYellow
Pagesofyourtelephonedirectory(lookunder“LawnMowers”)or
accessourwebsiteatwww.T oro.com.Youmayalsocallthenumbers
listedinitem#3tousethe24-hourT oroDealerlocatorsystem.
2.Bringtheproductandyourproofofpurchase(salesreceipt)tothe
ServiceDealer.Thedealerwilldiagnosetheproblemanddetermine
ifitiscoveredunderwarranty.
3.IfforanyreasonyouaredissatisedwiththeServiceDealer’s
analysisorwiththeassistanceprovided,contactusat:
CustomerCareDepartment,RLCDivision
TheToroCompany
8111LyndaleAvenueSouth
Bloomington,MN55420-1196
Tollfreeat866-214-9807(U.S.customers)
Tollfreeat866-214-9808(Canadiancustomers)
OwnerResponsibilities
YoumustmaintainyourT oroProductbyfollowingthemaintenance
proceduresdescribedintheOperator'sManual.Suchroutine
maintenance,whetherperformedbyadealerorbyyou,isatyourexpense.
ItemsandConditionsNotCovered
Thereisnootherexpresswarrantyexceptforspecialemissionsystem
coverageandenginewarrantycoverageonsomeproducts.Thisexpress
warrantydoesnotcoverthefollowing:
•Costofregularmaintenanceserviceorparts,suchaslters,fuel,
lubricants,oilchanges,sparkplugs,airltersbladesharpening
orwornblades,cable/linkageadjustments,orbrakeandclutch
adjustments
•Anyproductorpartwhichhasbeenalteredormisusedandrequires
replacementorrepairduetoaccidentsorlackofpropermaintenance
•Repairsnecessaryduetofailuretousefreshfuel(lessthanone
monthold),orfailuretoproperlypreparetheunitpriortoanyperiod
ofnon-useoveronemonth
•Pickupanddeliverycharges
•Operationalmisuse,neglect,oraccidents
•RepairsorattemptedrepairsbyanyoneotherthananAuthorized
ToroServiceDealer
•Repairsoradjustmentstocorrectstartingdifcultiesduetothe
following:
–failuretofollowpropermaintenanceprocedures
–rotarymowerbladestrikinganobject
–contaminantsinthefuelsystem
–improperfuel(consultyourOperator'sManualifindoubt)
–failuretodrainthefuelsystempriortoanyperiodofnon-use
overonemonth
•Specialoperationalconditionswherestartingmayrequiremorethan
twopulls:
–rsttimestartsafterextendedperiodofnon-useoverthree
monthsorseasonalstorage
–cooltemperaturestartssuchasthosefoundinearlyspringand
lateautumn
–improperstartingprocedures-ifyouarehavingdifcultystarting
yourunit,pleasechecktheOperator'sManualtoensurethat
youareusingthecorrectstartingprocedures.Thiscansavean
unnecessaryvisittoanAuthorizedT oroServiceDealer.
GeneralConditions
Allrepairscoveredbythesewarrantiesmustbeperformedbyan
AuthorizedToroServiceDealerusingToro-approvedreplacementparts.
RepairbyanAuthorizedT oroServiceDealerisyoursoleremedyunder
thiswarranty.
NeitherTheToroCompanynorToroWarrantyCompanyisliablefor
indirect,incidental,orconsequentialdamagesinconnectionwiththe
useoftheToroProductscoveredbythesewarranties,includingany
costorexpenseofprovidingsubstituteequipmentorserviceduring
reasonableperiodsofmalfunctionornon-usependingcompletionof
repairsunderthesewarranties.
Somestatesdonotallowexclusionsofincidentalorconsequential
damages,sotheaboveexclusionsmaynotapplytoyou.
Thiswarrantygivesyouspeciclegalrights,andyoumayalsohaveother
rightswhichvaryfromstatetostate.
CountriesOtherthantheUnitedStatesorCanada
CustomerswhohavepurchasedT oroproductsexportedfromtheUnitedStatesorCanadashouldcontacttheirT oroDistributor(Dealer)toobtain
guaranteepoliciesforyourcountry,province,orstate.IfforanyreasonyouaredissatisedwithyourDistributor'sserviceorhavedifcultyobtaining
guaranteeinformation,contacttheT oroimporter.Ifallotherremediesfail,youmaycontactusatToroWarrantyCompany.
*Residentialpurposesmeansuseoftheproductonthesamelotasyourhome.Useatmorethanonelocation,orinstitutionalorrentaluse,isconsidered
commercialuse,andthecommercialusewarrantyapplies.374-0283RevA