Toshiba 20As26 Owners Manual 3X30321A[E] COVER
20as26 2e2f767f-9fa6-4a0f-b3b6-b9d1519f3f1a Toshiba Flat Panel Television 20AS26 User Guide |
2014-12-13
: Toshiba Toshiba-20As26-Owners-Manual-129228 toshiba-20as26-owners-manual-129228 toshiba pdf
Open the PDF directly: View PDF
.
Page Count: 28

20AS26
3X30321A[E] COVER 22/12/05, 4:37 PM1

2
0303
Safety Precautions
WARNING
TO REDUCE THE RISK OF FIRE OR ELECTRIC
SHOCK, DO NOT EXPOSE THIS APPLIANCE TO
RAIN OR MOISTURE.
Dear Customer,
Thank you for purchasing this Toshiba TV. This manual will
help you use the many exciting features of your new TV.
Before operating the TV, please read this manual
completely, and keep it nearby for future reference.
NOTE TO CATV INSTALLERS IN THE USA
This is a reminder to call the CATV system installer’s
attention to Article 820-40 of the NEC, which
provides guidelines for proper grounding and, in
particular, specifies that the cable ground shall be
connected to the grounding system of the building,
as close to the point of cable entry as practical. For
additional antenna grounding information, see
items 25 and 26 on page 4.
WARNING: TO REDUCE THE RISK OF
ELECTRIC SHOCK, DO NOT REMOVE COVER
(OR BACK). NO USER-SERVICEABLE PARTS
INSIDE. REFER SERVICING TO QUALIFIED
SERVICE PERSONNEL.
NOTICE OF POSSIBLE ADVERSE EFFECTS
ON TV PICTURE DISPLAY
If a fixed (non-moving) pattern or image remains on the
TV screen for extended periods of time, the image can
become permanently ingrained in the cathode ray
tube(s) of the TV and cause subtle but permanent ghost
images. This type of damage is NOT COVERED BY
OUR WARRANTY. (See item 33 on page 4 for details.)
CAUTION: To reduce the risk of electric shock,
do not use the polarized plug with an extension
cord, receptacle, or other outlet unless the
blades can be inserted completely to prevent
blade exposure.
The lightning symbol in the triangle tells you that the
voltage inside this product may be strong enough to
cause an electric shock. DO NOT TRY TO SERVICE
THIS PRODUCT YOURSELF.
The exclamation mark in the triangle tells you that
important operating and maintenance instructions
follow this symbol.
Child Safety
The Issue
If you are like most consumers, you have a TV in your home.
Many homes, in fact, have more than one TV.
The home theater entertainment experience is a growing
trend, and larger TVs are popular purchases; however, they
are not always supported on the proper TV stands.
Sometimes TVs are improperly secured or inappropriately
situated on dressers, bookcases, shelves, desks, audio
speakers, chests, or carts. As a result, TVs may fall over,
causing unnecessary injury.
Toshiba Cares!
The consumer electronics industry
is committed to making home
entertainment enjoyable and safe.
The Consumer Electronics
Association formed the Home
Entertainment Support Safety
Committee, comprised of TV and
consumer electronics furniture
manufacturers, to advocate
children’s safety and educate
consumers and their families about
television safety.
Tune Into Safety
One size does NOT fit all! Use
appropriate furniture large enough to
support the weight of your TV (and other
electronic components).
Use appropriate angle braces, straps, and anchors to
secure your furniture to the wall (but never screw anything
directly into the TV).
Carefully read and understand the other enclosed
instructions for proper use of this product.
Do not allow children to climb on or play with furniture
and TVs.
Avoid placing any item on top of your TV (such as a VCR,
remote control, or toy) that a curious child may reach for.
Remember that children can become excited while watching
aprogram and can potentially push or pull a TV over.
Share our safety message about this hidden hazard of
the
home with your family and friends. Thank you!
It Makes A Difference
Where Your TV Stands
Congratulations on your purchase! As you enjoy
your new TV, keep these safety tips in mind:
2500 Wilson Blvd.
Arlington, VA 22201 U.S.A.
Tel. 703-907-7600 Fax 703-907-7690
www.CE.org
CEA is the Sponsor, Producer and
Manager of the International CES
®
3X30321A[E] P02-07 22/12/05, 4:37 PM2

3
0303
3
Important Safety Instructions
1) Read these instructions.
2) Keep these instructions.
3) Heed all warnings.
4) Follow all instructions.
5) Do not use this apparatus near
water.
6) Clean only with a dry cloth.
7) Do not block any ventilation
openings. Install in accordance with
the manufacturer’s instructions.
8) Do not install near any heat
sources such as radiators,
heat registers, stoves, or other
apparatus (including amplifiers)
that produce heat.
9) Do not defeat the safety purpose of the polarized or
grounding type plug. A polarized plug has two blades
with one wider than the other. A grounding type plug has
two blades and a third grounding
prong. The wide blade or the third
prong are provided for your safety.
If the provided plug does not fit into
your outlet, consult an electrician
for replacement of the obsolete outlet.
10) Protect the power cord from being
walked on or pinched, particularly at
plugs, convenience receptacles, and
the point where it exits the apparatus.
11) Only use attachments/accessories specified by the
manufacturer.
12) Use only with the cart, stand, tripod,
bracket, or table specified by the
manufacturer, or sold with the
apparatus. When a cart is used, use
caution when moving the cart/apparatus
combination to avoid injury from tip-over.
13) Unplug this apparatus during
lightning storms or when
unused for long periods
of time.
14) Refer all servicing to qualified service personnel.
Servicing is required when the apparatus has been
damaged in any way, such as power supply
cord or plug is damaged, liquid has
been spilled or objects have fallen into
the apparatus, the apparatus has been
exposed to rain or moisture, does not
operate normally, or has been dropped.
15)
CAUTION: To reduce the risk of electric shock,
do not use the polarized plug with an extension
cord, receptacle, or other outlet unless the blades can
be inserted completely to prevent blade exposure.
Wide plug
Installation, Care, and Service
Installation
Follow these recommendations and precautions and heed
all warnings when installing your TV:
16) Never modify this equipment. Changes or modifications
may void: a) the warranty, and b) the user’s authority to
operate this equipment under the rules of the Federal
Communications Commission.
17) DANGER: RISK OF SERIOUS PERSONAL
INJURY, DEATH, OR EQUIPMENT
DAMAGE! Never place the TV on
an unstable cart, stand, or table. The TV
may fall, causing serious personal injury,
death, or serious damage to the TV.
18) Never place or store the TV in direct
sunlight; hot, humid areas; areas
subject to excessive dust or vibration;
or locations with temperatures at or
below 41°F (5°C).
19) Always place the TV on the floor
or a sturdy, level, stable surface that
can support the weight of the unit.
20) Never place items such as vases,
aquariums, or candles on top of the TV.
21) Never block or cover the slots or
openings in the TV cabinet back,
bottom, and sides. Never place
the TV:
•on a bed, sofa, rug, or similar
surface;
•too close to drapes, curtains,
or walls; or
•in a confined space such as a
bookcase, built-in cabinet, or any
other place with poor ventilation.
The slots and openings are provided
to protect the TV from overheating
and to help maintain reliable
operation of the TV.
22) Never allow anything to rest on or roll over the power
cord, and never place the TV where the power cord is
subject to wear or abuse.
23) Never overload wall outlets and
extension cords.
3X30321A[E] P02-07 22/12/05, 4:37 PM3

4
0303
24) Always operate this equipment from
a 120V AC, 60 Hz power source only.
25) Always make sure the antenna system is properly
grounded to provide adequate protection against
voltage surges and built-up static charges (see Section
810 of the National Electric Code).
26) DANGER: RISK OF SERIOUS PERSONAL
INJURY OR DEATH!
•Use extreme care to make sure you are never
in a position where your body (or any item you are in
contact with, such as a ladder or screwdriver) can
accidentally touch overhead power lines. Never locate
the antenna near overhead power lines or other
electrical circuits.
•Never attempt to install any of the following during
lightning activity:
a) an antenna system; or b) cables, wires, or any home
theater component connected to an antenna or phone
system.
Care
For better performance and safer operation of your
TOSHIBA TV, follow these recommendations and
precautions:
27) Always sit approximately 10–25 feet away from the TV
and as directly in front of it as possible. The picture can
appear dull if you sit too far to the left or right of the TV,
or if sunlight or room lights reflect on the screen. Turn
the TV off to check for reflections on the screen, and
then remove the source of reflections while viewing the
TV.
28) Always unplug the TV before
cleaning. Never use liquid or
aerosol cleaners.
29) WARNING: RISK OF ELECTRIC SHOCK!
Never spill liquids or push objects of any kind
into the TV cabinet slots.
Ground clamp
Antenna discharge unit
(NEC Section 810-20)
Grounding conductors
(NEC Section 810-21)
Power service grounding
electrode system (NEC Art 250 Part H)
Ground clamps
Antenna lead-in wire
Electric service equipment
30) [This item applies to projection TVs only.] If the air
temperature rises suddenly (for example, when the TV
is first delivered), condensation may form on the lenses.
This can make the picture appear distorted or the color
appear faded. If this happens, turn off the TV for 6 to 7
hours to allow the condensation to evaporate.
31)For added protection of your TV from lightning and
power surges, always unplug the power cord and
disconnect the antenna from the TV if you leave the TV
unattended or unused for long periods of time.
32) During normal use, the TV may make
occasional snapping or popping
sounds. This is normal, especially
when the unit is being turned on or
off. If these sounds become frequent
or continuous, unplug the power cord
and contact a Toshiba Authorized Service Center.
33)
Possible Adverse Effects on TV Picture Display: If a
fixed (non-moving) pattern or image remains on the TV
screen for extended periods of time, the image can
become permanently ingrained in the cathode ray tube(s)
of the TV and cause subtle but permanent ghost images.
This type of damage is NOT COVERED BY YOUR
WARRANTY. Never leave the TV on for extended periods
of time while it is displaying the following images or formats:
•Fixed Images, including but not limited to PIP/POP
windows, closed captions, video game patterns, TV
station logos, stock tickers, and websites.
•Special Formats that do not use the entire screen,
including but not limited to widescreen or letterbox
format media viewed on a 4:3 aspect ratio display
(with gray or black bars at the top and bottom of the
screen); or 4:3 aspect ratio format media viewed on a
widescreen/16:9 aspect ratio display (with gray or
black bars on the left and right sides of the screen).
Service
34) WARNING: RISK OF ELECTRIC
SHOCK! Never attempt to service the
TV yourself. Opening and
removing the covers may expose
you to dangerous voltage or other
hazards. Refer all servicing to a
Toshiba Authorized Service Center.
35) If you have the TV serviced:
•Ask the service technician to use only replacement
parts specified by the manufacturer.
•Upon completion of service, ask
the service technician to perform
routine safety checks to determine
that the TV is in safe operating
condition.
36)When the TV reaches the end of its useful life, ask a
qualified service technician to properly dispose of the
TV. Improper disposal may result in a picture tube
implosion and possible personal injury.
3X30321A[E] P02-07 22/12/05, 4:37 PM4

5
ANT
FEATURES
LOCATION OF CONTROLS
• 181 Channel Tuner - The tuning system is capable of receiving all 68 VHF/UHF standard broadcast channels that
are available in your area. When operating on a cable system, it can tune to the standard VHF channel frequencies
plus up to 113 cable channel frequencies. The actual number of channels received depends upon channel
reception in your area or your cable system.
• On-screen 3 Language Display - This TV can display the on-screen language in English, Spanish or French.
• Sleep Timer - Operable from the remote control, the TV can be programmed to turn off automatically (from 10 to
120 minutes, in 10-minute increments).
• Memory Back Up - This system prevents loss of memorized channel selections in case a power interruption to the
TV should occur.
•V-Chip - The V-Chip function can read the rating of a TV program or movie content if the program is encoded with
this information. V-Chip will allow you to set a restriction level (designed to work with the U.S. V-Chip system only).
• Picture Control Adjustments - The on-screen display allows precise remote control adjustment of BRIGHTNESS,
CONTRAST, COLOR, TINT and SHARPNESS.
•Closed Captioned Decoder - Displays closed captions or text on-screen (when available).
•Lock feature - This feature has three functions, LOCKING CHANNELS, LOCKING VIDEO INPUT and SETTING
THE GameTimerTM.
• Programmable ON Timer - Allows you to program the TV to automatically turn on at a set time.
FRONT BACK
1. POWER indicator - Lights up when the power is
turned on.
2. Remote Sensor - Signals from the Remote Control
unit are received here.
3. POWER Button - Press to turn the TV on or off.
4. VOLUME ▲/▼ Buttons - Press to raise or lower the
level of the sound.
(MENU Buttons) - Press both VOLUME ▲/▼ buttons
at the same time to display the on-screen menu functions.
(SET + / – Buttons) - Press to select the desired set-
ting during on-screen operations.
5. CHANNEL ▲/▼ Buttons - Press to select a higher or
lower numbered channel set into memory.
(ENTER Button) - Press to enter or select information
for on-screen operations.
(RESET Button) - Press, while in the on-screen
menu mode, to reset the on-screen picture adjust-
ments to their factory preset positions.
6. AUDIO/VIDEO IN Jacks - Audio and video signal
cables from an external source can be connected
here.
7. AC Power Cord - Plug into an outlet with 120V,
60 Hz AC power only.
8. VHF/UHF IN (ANT) Jack - Connect a VHF/UHF
antenna or Cable TV 75 ohm coaxial cable to this
jack.
VIDEO
CHANNEL
RESETENTER
SET
MENU
AUDIO
VOLUMEPOWER
VIDEO
CHANNEL
RESETENTER
SET
MENU
AUDIO
VOLUME
POWER
613 5
4
2
8
7
3X30321A[E] P02-07 22/12/05, 4:38 PM5

6
MENU
VOL
–
SLEEP
MUTE
CH RTN RECALL
VOL
+
ENTER
CH –
CH +
123
456
7
0
89
–
SET
+
1/2
CAP/TEXT
RESET
TV/VIDEO
CT-859
POWER
4. SLEEP Button - To set the TV to turn off after a preset
amount of time, press the SLEEP button on the remote
control. The clock will count down 10 minutes each time
the button is pressed in the order of 120, 110, 100, ······ 20,
10, 0. After the sleep time is programmed, the display will
disappear then reappear momentarily every ten minutes to
remind you the sleep timer function is operating. To
confirm the sleep time setting, press the SLEEP button
once and the remaining time will be momentarily displayed.
To cancel the sleep timer, press the SLEEP button
repeatedly until the display turns to 0.
5. VOL (VOLUME) + / – Buttons - Press the + button to
increase or the – button to decrease the volume level.
6. MENU Button - Press to display the on-screen menu
function.
7. SET + / – Buttons - Press to select the desired setting
during on-screen operations.
8. RESET Button - Press to reset the on-screen picture
adjustments to their factory preset positions.
9. TV/VIDEO Button - Switches between the TV and external
device inputs.
10. RECALL Button - When you press this button, the
channel number will appear in the upper right corner of the
screen. Press the button again to remove it from the
screen.
11. MUTE Button - To turn off the sound, press this button
once. The TV will be silenced and the word “MUTE” will
appear on the screen. The muting feature can be released
by pressing the MUTE button again or one of the VOL + or
– buttons.
12. CH (CHANNEL) + / – Buttons - Press the CH + button to
change to a higher numbered channel set into memory.
Press the CH – button to change to a lower numbered
channel set into memory.
13. ENTER Button - Press to enter or select information for
on-screen operations.
14. 1/2 Button - Switches between captions channel 1 and
captions channel 2 in the closed caption mode.
15.CAP/TEXT Button - Press to switch between normal TV
and the two closed caption modes (captions or text), when
available.
REMOTE CONTROL
1. Open the battery compartment cover.
2. Install two
“
AAA
”
(penlight size) batteries.
HOW TO INSTALL BATTERIES
Before using the remote control, batteries must first be installed.
3. Replace the battery compartment cover.
1. POWER Button - Press to turn on the TV. Press again
to turn off the TV.
2. Direct Channel Selection Buttons (0–9) - Allows direct
tuning of any channel.
3. CH RTN Button - Repeatedly press CH RTN to toggle
back and forth between the last two channels you tuned.
1
2
3
5
6
7
8
9
10
11
12
13
14
4
15
Use two
“
AAA
”
size penlight batteries (supplied) for the
remote control. The batteries may last approximately one
year depending on how much the remote control is used.
For best performance, it is recommended that you replace
the batteries on a yearly basis or when the remote operation
becomes erratic.
Caution:
Never throw batteries into a fire.
Note :
•Be sure to use AAA size batteries.
•Dispose of batteries in a designated disposal area.
• Batteries should always be disposed of with the
environment in mind. Always dispose of batteries in
accordance with applicable laws and regulations.
• If the remote control does not operate correctly, or if the
operating range becomes reduced, replace batteries with
new ones.
•
When necessary to replace batteries in the remote control,
always replace both batteries with new ones. Never mix
battery types or use new and used batteries in combination.
•Always remove batteries from remote control if they are
dead or if the remote control is not to be used for an
extended period of time. This will prevent battery acid
from leaking into the battery compartment.
3X30321A[E] P02-07 22/12/05, 4:38 PM6

7
VIDEO
CHANNEL
RESETENTER
AUDIO
AB
Combination VHF/UHF antenna
Single 75 ohm cable
(or)
Single 300 ohm twin-lead wire*
TRANSFORMER
(not supplied)
*
For best performance, if you have a splitter connected, remove
the splitter and connect the single wire to the transformer,
and then to the TV’s antenna input (as illustrated here).
Separate VHF and UHF antennas or
Combination VHF/UHF antenna with separate cables/wires
300 ohm twin-lead wire
COMBINER
(not supplied)
UHF Antenna
VHF Antenna
75 ohm cable
300 ohm twin-lead wire
COMBINER
(not supplied)
UHF Antenna
VHF Antenna
300 ohm twin-lead wire*
TRANSFORMER
(not supplied)
Cable TV service
(or)
(or)
To ANT input
on back of TV
To ANT input
on back of TV
To ANT input
on back of TV
To ANT input
on back of TV
To ANT input
on back of TV
To ANT input
on back of TV
To ANT input
on back of TV
(or)
From cable
TV service
From cable
TV service
From cable
TV service
A / B SWITCH
SPLITTER
CONVERTER/ DESCRAMBLER
CONVERTER/ DESCRAMBLER
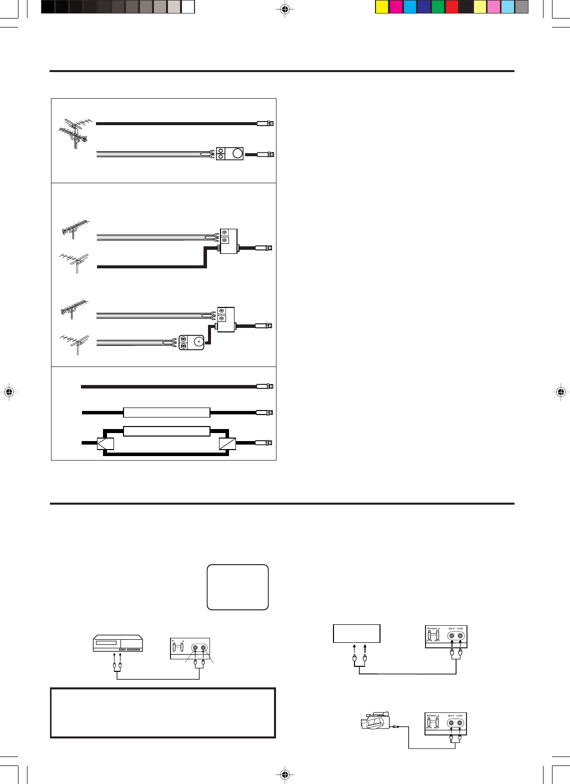
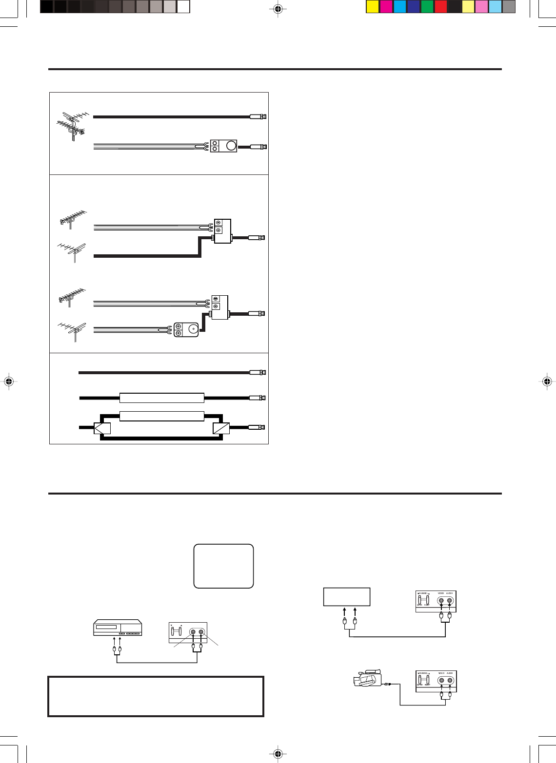
ANTENNA/CABLE TV CONNECTIONS
Combination VHF/UHF antenna (Single 75 ohm cable or 300
ohm twin-lead wire)
Connect the 75 ohm cable from a combination VHF/UHF
antenna to the antenna jack.
If your combination antenna has a 300 ohm twin-lead wire, use
the 300-75 ohm matching transformer (not supplied).
Combination VHF/UHF antenna (Separate VHF and UHF 300
ohm twin-leads)
Connect the UHF twin-lead wire to a combiner (not supplied).
Connect the VHF twin-lead to the 300-75 ohm matching
transformer (not supplied). Attach the transformer to the
combiner. Attach the combiner to the antenna jack.
Separate VHF/UHF antennas
Connect the 75 ohm cable from the VHF antenna and the UHF
antenna twin-lead to a combiner (not supplied). Attach the
combiner to the antenna jack.
NOTE: If your VHF antenna has a twin-lead wire, use the 300-75
ohm matching transformer (not supplied), then connect the trans-
former to the combiner.
For subscribers to basic cable TV service
For basic cable service not requiring a converter/descrambler
box, connect the Cable TV 75 ohm coaxial cable directly to the
antenna jack on the back of the television.
For subscribers to scrambled cable TV service
If you subscribe to a cable service that requires the use of a
converter/descrambler box, connect the incoming cable to the
converter/descrambler box and connect the output of the box to
the antenna jack on the back of the television. Follow the
connections shown at left. Set the television to the output of the
converter/descrambler box (usually channel 3 or 4) and use the
converter/descrambler box to select channels.
For subscribers to unscrambled basic cable with scrambled
premium channels
If you subscribe to a cable service in which basic cable channels
are unscrambled and premium channels require the use of a
converter/descrambler box, you may wish to use a two-set signal
splitter (sometimes called a
“
two-set coupler
”
) and an A/B switch
box from the cable installer or an electronics supply store. Follow
the connections shown at left. With the switch in the
“
B
”
position,
you can directly tune any nonscrambled channels on your TV.
With the switch in the
“
A
”
position, tune your TV to the output of the
converter/descrambler box (usually channel 3 or 4) and use the
box to tune scrambled channels.
This television has an extended tuning range and can tune most
cable channels without using a cable company supplied
converter box. Some cable companies offer
“
premium pay
channels
”
in which the signal is scrambled. Descrambling these
signals for normal viewing requires the use of a descrambler
device, which is generally provided by the cable company.
CONNECTION TO OTHER EQUIPMENT
The exact arrangement you use to interconnect various video and audio components to the TV is dependent on the model and features
of each component. Check the owner
’
s manual provided with each component for the location of video and audio inputs and outputs.
The following connection diagrams are offered as suggestions. You may need to modify them to accommodate your particular
assortment of components.
To view the picture from a VCR,
camcorder, or TV game, you must put the
TV in VIDEO mode first. Press TV/VIDEO
to select VIDEO mode. The word
“VIDEO” displays briefly on-screen. Press
TV/VIDEO again to return to TV mode.
TV/VIDEO SELECTION
1. To connect the TV to a VCR
VIDEO
The TV also can be used as a display device for many video
games. However, due to the wide variety of different types of
signal generated by these devices and subsequent hook-up
variations required, they have not all been included in the
suggested connection diagrams. You will need to consult each
component's owner's manual for additional information.
2. To connect the TV to a VIDEO Game
To playback from the camcorder, connect the camcorder to
the TV as shown.
3. To connect the TV to a camcorder
Front of TV
VCR
(not supplied)
To Audio/
Video OUT AUDIO
VIDEO
VIDEO Game
To Audio/Video OUT
Front of TV
(not supplied)
Front of TV
(not supplied)
To AV OUT jack
Choose one of the following seven connections, based on your
equipment and service:
The unauthorized recording, use, distribution, or
revision of television programs, videotapes, DVDs, and
other materials is prohibited under the Copyright Laws
of the United States and other countries, and may
subject you to civil and criminal liability.
3X30321A[E] P02-07 22/12/05, 4:38 PM7

8
DIRECT CHANNEL SELECTION buttons (0–9) - Press
these buttons to select a channel. The channel number will
appear on the upper right corner of the TV screen. If an
invalid channel number is selected, the display will revert to
the previous channel.
TV MODE DIRECT CHANNEL SELECTION - When the
TV/CABLE menu option is in
the TV position, all channels
can be instantly selected by using two buttons (For example,
to select channel 2, press “0,” then “2.” If you press only “2,”
channel selection will be delayed for a few seconds). For
channels 10 and above, press the two digits in order.
TV - VHF/UHF channels
CABLE - CABLE TV channels
To turn on the TV, press POWER.
The VOLUME can be adjusted to a desired level by
pressing VOL (VOLUME) + or –.
The sound level will be indicated on the TV screen by
GREEN BARS AND A NUMBER. As the sound level
increases, so do the number of BARS AND THE
NUMBER on the screen. The same is true for decreas-
ing the level.
Set the TV/CABLE menu option to the appropriate
position. When shipped from the factory, this menu
option is in the CABLE setting. See
“
TO MEMORIZE
CHANNELS
” on page 9.
TV OPERATION
CABLE mode direct channel selection
When the TV/CABLE menu option is in the CABLE position,
channels can be selected as follows:
1-9
10-12
13-99
100-125
Press “0” twice, then 1-9 as needed.
Example, to select channel 2, press
“002.”
Press “0”, then the remaining 2 digits.
Example, to select channel 12, press
“012.”
Press the 2 digits in order.
Example, to select channel 36, press
“36.”
Press the 3 digits in order.
Example, to select channel 120, press
“120.”
1
2
3
4CH (CHANNEL) + and – buttons
Press and release CH (CHANNEL) + or –. The
channel automatically stops at the next channel
programmed into the TV’s memory. Press and hold the
button down to change channels more quickly.
For proper operation, make sure you program
channels into the TV's memory before tuning
channels.
See “TO MEMORIZE CHANNELS
” on page 9.
SETTING THE LANGUAGE
This TV can display the on-screen displays and adjustment menus in English, Spanish, or French.
The on-screen language selection (step 3, below) will automatically appear on the screen when you press the MENU button
initially. Select the language you prefer first, then proceed with the other menu options.
NOTE:
If Spanish or French is chosen, the closed caption indicators will be in the selected language, but the closed caption text
will not be affected by the language selection.
Press SET + or – until the
“
”
indicator points to the desired
language: English (ENGLISH),
Spanish (ESPAÑOL) or French
(FRANCAIS), then press ENTER.
1
2
3
4
Press MENU.
Press SET + or – to select the
LANGUAGE mode, then press
ENTER.
Press MENU repeatedly until the
menu screen is cleared.
NOTE: If the station being viewed stops broadcasting, the TV
will automatically shut off after 15 minutes.
〈
〉
〈
+
/
–
/
ENTER
/
MENU
〉
FRANCAIS
ENGLISH
ESPAÑOL
LANGUAGE / IDIOMA / LANGUE
3X30321A[E] P08-12 22/12/05, 4:38 PM8

9
TO MEMORIZE CHANNELS
This TV is equipped with a channel memory feature that allows the
TV to skip up or down to the next channel set into memory, skip-
ping over unwanted channels.
Before selecting channels, they must be programmed into the TV’s
memory. In addition to normal VHF and UHF channels, this TV can
receive up to 113 Cable TV channels. To use this TV with an
antenna, set the TV/CABLE menu option to the TV setting. When
shipped from the factory, this menu option is in the CABLE setting.
TV/CABLE SELECTION
Press MENU.
Press SET + or – until the indicator next to
“CH SETUP” begins to flash, then press
ENTER.
Press SET + or – until the indicator next
to “TV/CABLE” begins to flash.
Press ENTER to select the TV or CABLE
mode. The arrow indicates the selected
mode.
Press MENU repeatedly until the menu
screen is cleared.
NOTE:
Contact your cable company to determine the type of cable
system used in your area.
Press MENU repeatedly until the menu screen is
cleared.
TO ADD/DELETE CHANNELS
Press MENU.
Press SET + or – until the indicator next to
“CH SETUP” begins to flash, then press
ENTER.
Press SET + or – until the indicator
next to “ADD/DELETE” begins to flash,
then press ENTER.
Select the desired channels to be
added or deleted using the Direct
Channel Selection buttons (0–9), CH +
or –, SET + or –.
1
2
3
4
5
4
1
2
3
4
5Press ENTER to select ADD or DELETE.
If an unmemorized channel was selected (step 4), the
channel indication will be red. Press ENTER if you wish
to ADD the unmemorized channel. The channel indica-
tor will change from red to green when a channel is
added and the channel will be memorized.
If a memorized channel was selected (step 4), the chan-
nel indication will be green. To delete the channel from
Press MENU repeatedly until the menu screen is
cleared.
6
memory, press ENTER repeatedly until
“DEL” appears on-screen. The channel
indicator will change from green to red
when a channel is deleted. Repeat
steps 4 and 5 for each channel to be
added or deleted.
MENU
PICTURE
LANGUAGE
V-CHIP SET
LOCK
CH SETUP
ON TIMER
ADD CH 012
〈
0 – 9 / + / – / ENTER / MENU
〉
MENU
PICTURE
LANGUAGE
V-CHIP SET
LOCK
CH SETUP
ON TIMER
AUTOMATIC CHANNEL MEMORY
Press MENU.
Press SET + or – until the indicator next to
“CH SETUP” begins to flash, then press
ENTER.
1
2
MENU
PICTURE
LANGUAGE
V-CHIP SET
LOCK
CH SETUP
ON TIMER
Press SET + or – until the indicator next
to “AUTO CH MEMORY” begins to flash,
then press ENTER. The TV will begin
memorizing all the channels available in
your area. Channel numbers will remain
red until auto memorizing is complete.
3
ADJUSTING THE PICTURE
You can adjust the settings for brightness, contrast, color,
tint and sharpness.
1
2
4Press SET + or – to adjust the setting.
CONTRAST COLORBRIGHTNESS TINT SHARPNESS
3
Press MENU.
Press SET + or – until the indicator next to “PICTURE”
begins to flash, then press ENTER.
Press ENTER repeatedly to select the item you want to
adjust.
TO RETURN TO INITIAL SETTING:
Press RESET while the picture adjusting mode appears
on-screen.
BRIGHTNESS
CONTRAST
COLOR
TINT
SHARPNESS
+
higher
lighter
deeper
greenish
lower
darker
paler
reddish
softer
sharper
–
AUTO CH MEMORY
TV
ADD / DELETE
CABLE
〈
+ / — / ENTER / MENU
〉
AUTO CH MEMORY
TV
ADD / DELETE
CABLE
〈
+ / — / ENTER / MENU
〉
AUTO CH MEMORY
TV
ADD / DELETE
CABLE
〈
+ / — / ENTER / MENU
〉
3X30321A[E] P08-12 22/12/05, 4:38 PM9

10
NOTES:
• The V-Chip function is based on specifications for the United States and therefore may not work properly in Canada.
• If you want to change your password, follow steps 1 and 2 and select “CHANGE PASSWORD” option. Then enter your new
password.
•The V-Chip function is activated only on programs and tapes that have the rating signal.
•Once you block a program using the V-Chip function, the blocked program cannot be watched based on the content of the show.
When the program starts, “INPUT PASSWORD” will appear on the screen. When you want to release the V-Chip temporarily,
enter the password.
If you change the channel or turn off the TV while the V-Chip function was temporarily released, the original setting will be resumed.
If you return to the channel you were watching, you must re-enter your password to temporarily release your V-Chip function again.
•When you watch the TV through a cable box or VCR with the TV tuned to channel 3 or 4, you must release the V-Chip temporarily
by entering your password. The V-Chip setting will be resumed when you turn the TV off and then on again. Use the cable box
or VCR to change channels in this case.
•When changing the channel with the cable box or the VCR, approximately 10 seconds will pass until the program appears.
•If you forget or lose your password, you can reset it using the following procedure:
- While holding down the VOLUME button on the TV, press “0” on the remote control for a few seconds.
SETTING THE V-CHIP
The V-Chip function is available only for the U. S. V-Chip system. The Canadian V-Chip system is not supported.
This TV is fitted with a V-CHIP controller that provides you with channel viewing access controls and restrictions. This function is to
prevent your children from watching violent or sexual scenes that you may choose to exclude.
Press MENU and then SET + or – until the indicator next
to “V-CHIP SET” begins to flash, then press ENTER.
Enter your password (4 digits) using the Direct channel
selection buttons (0–9).
In the event of entering an incorrect password press
RESET. Then press ENTER.
Enter the password again, and then press ENTER.
Press SET + or – until the indicator next to “V-CHIP”
begins to flash.
Press ENTER to select ON.
Press SET + or – until the indicator next to “TV RATING” or
“MPAA RATING” begins to flash. Press ENTER.
Press SET + or – to select the desired rating for the
applicable video or TV channel. Press ENTER.
Press MENU repeatedly until the menu screen is cleared.
1
3
4
5
6
7
2
When you select TV-Y7, TV-PG, TV-14 or TV-MA, press RECALL to
explain the rating.
Press SET + or – to select the desired rating you want. Press ENTER to
select the setting ON or OFF.
TV RATING
MPAA RATING
OFF PG PG-13 R NC-17
SET – SET +
XG
OFF TV-Y7 TV-G TV-14 TV-MA
SET – SET +
TV-Y TV-PG
TV-PG: Parental guidance
TV-14: 14 years old and above
TV-MA: 17 years old and above
TV-Y: All children
TV-Y7: 7 years old and above
TV-G: Children's program
R: Parental guidance suggested
for under 17 years old
NC-17: 17 years old and above
X: Adult only
G: All ages
PG: Parental guidance
PG-13: Parental guidance for
under 13 years old
CLOSED CAPTION
WHAT IS CLOSED CAPTIONING?
This television has the capability to decode and display closed
captioned television programs. When available, closed captioning will
display text on the screen for hearing impaired viewers or it will
translate and display text in another language.
TO VIEW CLOSED CAPTIONS
Press CAP/TEXT on the remote control to switch between normal TV
and the two closed caption modes (captions and half-screen Text).
Captions: This closed caption mode will display text on the screen in
English or another language (depending on the setting of Closed
Captions 1/2). Generally, closed captions in English are transmitted
on captions channel 1 and closed captions in other languages are
transmitted on captions channel 2.
The captions will appear in places on the screen where they will least
interfere with the picture, usually on the bottom of the screen. News
programs will usually show three-line closed captions that scroll onto
the screen. Most other shows provide two- or three-line captions
placed near the character who is speaking so the viewer can follow the
dialogue. Words in italics or underlined describe titles, words in foreign
•When activating the closed captioned decoder, there will be a short delay before the closed captioned text appears on the screen.
•Closed captioned text is only displayed in locations where it is available.
•If no caption signal is received, no captions will appear, but the television will remain in the caption mode.
•Misspellings or unusual characters may occasionally appear during closed captioning. This is normal with closed captioning, especially with live
programs. This is because during live programs, captions are also entered live. These transmissions do not allow time for editing.
•When captions are being displayed, on-screen displays such as volume and mute may not be seen or may interfere with closed captions.
•Some cable systems and copy protection systems may interfere with the closed captioned signal.
•If using an indoor antenna or if TV reception is very poor, the closed caption decoder may not appear or may appear with strange characters or
misspelled words. In this case, adjust the antenna for better reception or use an outdoor antenna.
languages or words requiring emphasis. Words that are sung usually
appear enclosed by musical notes.
Text: When available, the Text mode will fill part of the screen with a
programming schedule or other information.
After selecting a closed caption mode, it will stay in effect until it is
changed, even if the channel is changed. If the captions signal is lost
due to a commercial or a break in the signal, the captions will
reappear when the signal is received again. If the channels are
changed, the captions will be delayed approximately 10 seconds.
For television programs broadcasting with closed captions, look in
your TV guide for the closed captions symbol (CC).
NOTICE OF POSSIBLE ADVERSE EFFECTS ON TV PICTURE DISPLAY
Avoid displaying stationary images on your TV screen for extended
periods of time. Fixed (non-moving) patterns or images (including but not
limited to PIP/POP windows, closed captions, video game patterns, TV
station logos, stock tickers, websites, and special formats that do not use
the entire screen) can become permanently ingrained in the cathode ray
tube(s) of the TV and cause subtle but permanent ghost images. This
type of damage is NOT COVERED BY YOUR WARRANTY.
3X30321A[E] P08-12 22/12/05, 4:38 PM10

11
VIDEO LOCK
〈
+ / – / ENTER / MENU
〉
OFF
VIDEO
VIDEO+
LOCKING VIDEO INPUT
With the VIDEO LOCK feature, you can lock out the input
source (VIDEO) and channels 3 and 4. You will not be able to
select the input sources with the TV/VIDEO button or Channel
buttons unless you clear the setting.
1
2
3
4
5
〈
〉
Press MENU, then press SET + or – until the indicator
next to “LOCK” begins to flash, then press ENTER.
Use the Channel Number buttons (0–9) to enter your
password, then press ENTER. The LOCK menu appears.
Press SET + or – until the indicator
next to “VIDEO LOCK” begins to flash,
then press ENTER.
Press SET + or – to select:
• OFF: Unlocks all video input sources.
• VIDEO: Locks VIDEO.
1
2
3
4
5
USING THE LOCK MENU
LOCK
〈
+ / – / ENTER / MENU
〉
GAME TIMER
CH LOCK
VIDEO LOCK
CHANGE PASSWORD
1
2
3
4
6
The LOCK menu includes the CH LOCK, VIDEO LOCK, GAMETIMER and CHANGE PASSWORD functions.
You can use these functions after entering the correct PASSWORD. (This password is the same one selected under “SETTING THE
V-CHIP” on page 10.)
5
LOCKING CHANNELS
With the CH LOCK feature, you can lock specific channels. You will not be able to tune locked channels unless you clear the
setting. You can choose to lock up to nine TV channels and nine cable channels.
Use the Channel Number buttons (0–9) to display the
television channel you wish to lock.
Press MENU, then press SET + or – until the indicator
next to “LOCK” begins to flash. Then press ENTER.
Use the Channel Number buttons (0–9) to enter your
password, then press ENTER.
The LOCK menu appears.
Press SET + or – until the indicator next
to “CH LOCK” begins to flash, then
press ENTER.
Press SET + or – to select:
• INPUT to select the channel as one to
be locked. Then press ENTER.
• ALL CLEAR to clear all channels from
the list of locked channels. Then press
ENTER.
Repeat steps 1 through 5 to lock other channels. When you
are finished locking channels, press MENU repeatedly until
the menu screen is cleared.
NOTES:
•If you are accessing the LOCK menus or V-chip menus for the
first time, choose a four-digit number to be your password.
•After programming CH LOCK, change channels before turning
off the television.
•If you want to unlock channels, select ALL CLEAR in step 5,
then press ENTER.
CH LOCK
〈
+ / – / ENTER / MENU
〉
CABLE
INPUT
ALL CLEAR
--- --- ---
--- --- ---
--- --- ---
If you try to tune a locked channel, the TV will not display it, but
will display the nearest unlocked channel.
• VIDEO +: Locks VIDEO, channel 3 and channel 4.
This option should be used if you use the antenna
to play a video tape.
Press MENU repeatedly until the menu screen is cleared.
SETTING THE GameTimerTM
With the GameTimerTM feature, you can automatically activate
the VIDEO LOCK feature (VIDEO setting) to set a time limit for
playing a TV game (30, 60, 90, or 120 minutes).
Press MENU, then press SET + or – until the indicator next to
“LOCK” begins to flash, then press ENTER.
Use the Channel Number buttons (0–9) to enter your pass-
word, then press ENTER. The LOCK menu appears.
Press SET + or – until the indicator next to
“GAMETIMER” begins to flash, then press
ENTER.
Press SET + or – to select a time limit
(30 minutes, 60 minutes, 90 minutes,
120 minutes or OFF).
Press MENU repeatedly until the menu screen is cleared.
After the GameTimer is programmed, the display will appear
briefly every ten minutes to remind you that the GameTimer
is operating. When the programmed end time is reached,
the display will change the channel automatically.
TO SET THE ON TIMER
1
2
3
4
5
This feature allows you to program the TV to turn on automatically at a set time and channel.
NOTE: After a power failure or disconnection of the power, the timer setting will be lost.
Press MENU, then press SET + or – until
the indicator next to “ON TIMER” begins
to flash. Then press ENTER.
The ON TIMER menu appears.
Press SET + or – to set the desired hour (0–12), then
press ENTER.
Press SET + or – to set the desired minute
(00, 05, 10, ...55), then press ENTER.NOTE:
To cancel the ON TIMER, select CANCEL in step 4 above. Press
MENU repeatedly until the menu screen is cleared.
Press SET + or – to set the desired
channel, then press ENTER.
Press SET + or – to select the SET mode, then press ENTER.
ON TIMER
〈
+ / — / ENTER / MENU
〉
HOUR
MINUTE
CH 002
00h
00m
CANCEL
ON TIMER
〈
+ / — / ENTER / MENU
〉
HOUR
MINUTE
CH 125
08h
15m
SET
Press MENU repeatedly until the menu screen is cleared.
6
NOTE:
After programming VIDEO LOCK, change channels or press the
TV/VIDEO key before turning off the television.
NOTE:
When the programmed end time is reached, the TV will change
channels automatically and the VIDEO LOCK feature will be
activated. To turn off the VIDEO LOCK, see “LOCKING VIDEO
INPUT,” at left.
3X30321A[E] P08-12 22/12/05, 4:38 PM11

12
TROUBLESHOOTING GUIDE
Before requesting service, please refer to the following chart for the symptom and possible solution.
SYMPTOMS POSSIBLE SOLUTIONS SYMPTOMS POSSIBLE SOLUTIONS
TV does not
operate.
Poor sound
or no sound.
Poor picture
or no
picture.
Picture
wobbles or
drifts.
Poor color or
no color.
Poor
reception on
some
channels.
•Make sure the power cord is plugged in.
•Try another AC outlet.
• Power is off; check fuse or circuit breaker.
•Unplug unit for an hour, then plug it back in.
•
Station or Cable TV experiencing problems;
tune to another station or call your Cable company.
•Check sound adjustments (VOLUME and
MUTE).
•Check for sources of possible interference.
•
Station or Cable TV experiencing problems;
tune to another station or call your Cable company.
•Make sure channels are set into memory.
•Check antenna or Cable TV connections;
adjust antenna.
•Check for sources of possible interference.
•Check picture control adjustments.
• Press CAP/TEXT to turn off the closed
caption mode.
•
Station or Cable TV experiencing problems;
tune to another station or call your Cable company.
•Make sure channels are set into memory.
•Station is weak; adjust antenna to receive
desired station.
•Check for sources of possible interference.
•
Station or Cable TV experiencing problems;
tune to another station or call your Cable company.
•Make sure channels are set into memory.
•Check picture control adjustments.
•Check antenna or Cable TV connection.
Adjust antenna.
•
Station or Cable TV experiencing problems;
tune to another station or call your Cable company.
•Make sure channels are set into memory.
•Cable TV company is scrambling signal.
•Adjust antenna.
•Check all Cable TV connections.
•Set TV/CABLE menu option to the CABLE
mode.
•
Station or Cable TV experiencing problems;
try another station or call your Cable company.
•Check antenna connections; reorient antenna.
•Check for sources of possible interference.
Horizontal or
diagonal bars
on screen.
No reception
above
channel 13.
•Batteries are weak, dead or inserted
incorrectly.
•Remote is out of range; move closer to TV
(within 15 feet).
•Make sure Remote is aimed at sensor.
•Confirm there are no obstructions between
the Remote and the TV.
•Make sure the power cord is plugged in.
• Make sure TV/CABLE menu option is in the
appropriate mode.
•If using antenna, check UHF antenna
connections.
No Remote
operation.
•Tuned station is not broadcasting.
•Sleep Timer is set.
•Power interrupted.
•TV station experiencing problems or tuned
program is not closed captioned. Try another
channel.
•Check Cable TV connection or VHF/UHF
antenna. Reposition or rotate antenna.
•Press CAP/TEXT to turn on the closed caption
decoder.
Closed
captions are
not activated.
TV shuts off.
• Press CAP/TEXT to turn off the closed
caption mode.
Black box on
screen.
SPECIFICATIONS
AC Power Input:
AC Power Consumption:
Picture Tube:
Audio Power Output Rating:
Speaker:
Tuner Type:
Remote Control:
Receiving Channels:
Antenna Input Impedance:
Input:
Dimensions:
Weight:
120V, 60Hz
Operation: 73 Watts
Standby: 3 Watts
19 Inch (480mm diagonal) (Screen size is approximate.)
1.5 Watts
3 inches (76mm) Full Range, 8 ohm
181 Channel, Quartz PLL Frequency Synthesized
Infrared, Direct Access, two AAA batteries (supplied)
VHF 2-13
UHF 14-69
Cable TV 01-97 (5A)-(A-3)
98-99 (A-2)-(A-1)
14-22 (A)-(I)
23-36 (J)-(W)
37-65 (AA)-(FFF)
66-125 (GGG)-(125)
75 Ohm (VHF/UHF) Coaxial Input
Video: 1.0 Vp-p 75 ohm
Audio: 300 mV, 47k ohm
Width: 19-3/16 inches (488mm)
Height: 16-3/8 inches (416mm)
Depth: 18-5/16 inches (465 mm)
38.6 Ibs (17.5 kg)
Remote Control with two size “AAA” batteries
ACCESSORY
• Select the language in the menu options.
Display is not
shown in
your language.
No Cable TV
reception.
• This model complies with the specifications below.
• Design and specifications are subject to change without notice.
• This model may not be compatible with features and/or specifications that may be added in the future.
3X30321A[E] P08-12 22/12/05, 4:38 PM12

13
MEMO
3X30321A[E] P13-Back 22/12/05, 4:38 PM13

GameTimer is a trademark of Toshiba America Consumer Products, L.L.C.
PRINTED IN THAILAND
LATIN AMERICAN DIVISION
SIERRA CANDELA #111-6TO. COL. LOMAS DE CHAPULTEPEC
MEXICO D.F. C.P. 11000
TEL: (5) 540-1008 (D.F), (800)-712-6764 (OUTSIDE D.F.)
1900 NORTHWEST 84th AVENUE
MIAMI, FL 33126 TEL: 305-470-9355
3X30321A[E] P13-Back 22/12/05, 4:38 PM14

20AS26
3X30321A[S] COVER 22/12/05, 4:38 PM1

2
Seguridad infantil
El problema
Si usted es como la mayoría de las personas, usted tiene un
televisor en su hogar. Es más, muchos hogares tienen más de
un televisor.
La posibilidad de disfrutar la experiencia del teatro en casa
es una tendencia en aumento y los televisores grandes están
muy de moda; el problema es que no siempre se colocan
sobre una base adecuada.
A veces los aparatos no están bien asegurados o se sitúan de
manera poco adecuada sobre tocadores, libreros, estantes,
escritorios, altavoces, arcones o carritos. Como resultado,
el televisor se puede caer y causar lesiones innecesarias.
¡Toshiba se preocupa!
La industria de los aparatos electro-
domésticos se ha impuesto el compromiso
de hacer que el entretenimiento en el
hogar sea agradable y sin riesgos.
La Asociación de Aparatos
Electrodomésticos formó la
Comisión de Seguridad para el
Apoyo del Entretenimiento en el
Hogar (la cual comprende a
fabricantes de televisores y
muebles para aparatos
electrodomésticos) con la
finalidad de velar por la
seguridad infantil y educar al
consumidor y a su familia acerca
de la seguridad con la televisión.
Sintonice la seguridad
¡Aquí NO corresponde el concepto
de unitalla! Use un mueble adecuado de
tamaño suficiente para soportar el peso de
su televisor ( y otros componentes electrónicos).
Use soportes de ángulo, abrazaderas y anclajes
apropiados para asegurar el mueble a la pared (pero nunca
atornille ninguna cosa directamente en el televisor).
Lea atentamente las instrucciones adjuntas hasta entenderlas
para que pueda utilizar este producto de la manera adecuada.
No permita que los niños se trepen sobre los muebles y los
televisores y no permita que jueguen con ellos.
No ponga cosas encima del televisor (la videocasetera, el
control remoto o los juguetes) que un niño curioso pueda
querer alcanzar.
Tenga presente que los niños se pueden emocionar mucho
cuando están viendo un programa y pueden empujar el
televisor o volcárselo encima.
Difunda entre sus familiares y amigos nuestro mensaje de
seguridad acerca de este peligro oculto en el hogar. ¡Gracias!
El lugar en que se coloca el
televisor es muy importante
¡Felicitaciones por su compra! Tenga
en mente estos consejos de seguridad
mientras disfruta de su televisor:
ADVERTENCIA
RIESGO DE DESCARGA ELÉCTRICA
NO ABRIR
El símbolo de rayo en un triángulo indica que el voltaje
en el interior de este producto puede causar descargas
eléctricas. NO INTENTE REPARAR ESTE PRODUCTO
USTED MISMO.
El símbolo de exclamación en un triángulo indica que
el texto que sigue contiene instrucciones importantes
de mantenimiento y funcionamiento.
2500 Wilson Blvd.
Arlington, VA 22201 U.S.A.
Tel. 703-907-7600 Fax 703-907-7690
www.CE.org
CEA es el patrocinador, productor y
administrador de la CES
®
Internacional.
0303
Estimado cliente,
Le agradecemos que haya comprado este televisor
TOSHIBA. Este manual le ayudará a utilizar las numerosas
e interesantes funciones de su nuevo televisor.
Antes de hacer funcionar el televisor, lea este
manual en su totalidad y consérvelo en un lugar
conveniente para consultarlo en el futuro.
Precauciones de seguridad
ADVERTENCIA
PARA REDUCIR EL RIESGO DE INCENDIO O
DESCARGA ELÉCTRICA, NO EXPONGA ESTE
APARATO A LA LLUVIA O A LA HUMEDAD.
ADVERTENCIA: PARA REDUCIR EL RIESGO DE
DESCARGA ELÉCTRICA, NO RETIRE LA CUBIERTA
(NI LA PARTE POSTERIOR). NO HAY NINGÚN
COMPONENTE EN EL INTERIOR QUE EL USUARIO
PUEDA REPARAR. ENCARGUE TODAS LAS
REPARACIONES A UN TÉCNICO CALIFICADO.
CUIDADO: Para prevenir descargas eléctricas, no
usar este enchufe polarizado con un cable de
extensión, receptáculo u otro tomacorriente a
menos que las láminas puedan insertarse para
prevenir su exposicón.
AVISO A LOS INSTALADORES DE TELEVISIÓN
POR CABLE (CABLE TV, CATV) EN LOS E.U.A.
Este es un recordatorio para los instaladores de sistemas
de CATV sobre el Artículo 820-40 de la NEC, que dispone
pautas para la conexión a tierra correcta y especifica en
particular que la tierra del cable se debe conectar al sistema
de conexión a tierra del edificio, lo más cerca posible del
punto de entrada del cable. Consulte los apartados 25 y 26
en la página 4, para obtener información adicional sobre la
conexión a tierra de la antena.
AVISO DE POSIBLES EFECTOS ADVERSOS
EN EL TUBO DE IMAGEN DEL TELEVISOR
Si una imagen fija (que no se mueve) permanece en la
pantalla del televisor por mucho tiempo, puede quedar
grabada en forma definitiva en el tubo de imagen.
Este tipo de daño NO ESTÁ CUBIERTO POR SU
GARANTÍA. Vea el apartado 33 en la página 4.
3X30321A[S] P02-08 22/12/05, 4:38 PM2

3
Instalación, cuidado y servicio
Instalación
Siga estas recomendaciones y precauciones y tenga en mente todas
las advertencias cuando instale su televisor:
16) No modifique este equipo. Los cambios o modificaciones
pueden anular: a) la garantía y b) la autoridad del usuario para
operar este equipo bajo las reglas de la Comisión Federal de
Comunicaciones (Federal Communications Commission, FCC).
17) PELIGRO: ¡RIESGO DE LESIÓN GRAVE,
MUERTE O DAÑO AL EQUIPO!
Nunca coloque el televisor sobre
un carrito, base o mesa inestables. Puede
caerse y causar lesiones graves, muerte o
daño considerable al televisor.
18) Nunca sitúe ni guarde el televisor a la
luz directa del sol; en lugares cálidos o
húmedos; en lugares expuestos al polvo
o la vibración excesivos o en lugares con
temperaturas de 5 °C (41 °F) o menos.
19) Coloque siempre el televisor en el piso
sobre una superficie resistente, nivelada
y estable que sea capaz de soportar
el peso de la unidad.
20) Nunca coloque objetos tales como
floreros, acuarios o velas encima del
televisor.
21) Nunca bloquee ni cubra las rejillas o aberturas de las partes
posterior, inferior y laterales de la caja del televisor. Nunca
coloque el televisor:
•sobre una cama, sillón, alfombra
o superficie similar;
•demasiado cerca de cortinas,
persianas, paredes o
•en un lugar encerrado, como por
ejemplo un librero, un estante
empotrado u otros lugares que
no tengan buena ventilación.
Las rejillas y aberturas tienen la
finalidad de proteger el aparato contra
el sobrecalentamiento y de conservarlo
en un buen estado de funcionamiento.
22) No apoye o haga rodar objetos sobre el cordón eléctrico, ni
coloque el televisor donde el cordón se pueda desgastar o
quedar expuesto a maltrato.
23) Nunca sobrecargue los enchufes de
pared ni las extensiones.
Instrucciones de seguridad importantes
1) Lea estas instrucciones.
2) Conserve estas instrucciones.
3) Preste atención a todas las
advertencias.
4) Siga todas las instrucciones.
5) No use este aparato cerca del agua.
6) Límpielo únicamente con un paño seco.
7) No bloquee las rejillas de ventilación.
Instale el aparato de acuerdo con las
instrucciones del fabricante.
8) No instale el aparato cerca de fuentes
de calor tales como radiadores, salidas
de calefacción, cocinas y otros aparatos
(incluidos los amplificadores) que
producen calor.
9) No anule el diseño de seguridad del enchufe polarizado o
con conexión a tierra. Los enchufes polarizados tienen dos
clavijas, una de las cuales es más ancha que la otra. Los
enchufes con conexión a tierra tienen dos
clavijas planas y una redonda que sirve de
conexión a tierra. La clavija ancha y la
tercera clavija, respectivamente, son para
su seguridad. Si el enchufe del aparato
no entra en el enchufe de la pared, consulte a un técnico
electricista para que cambie el enchufe de pared obsoleto.
10) Proteja el cordón eléctrico para que
no lo pisen ni lo aprieten, en particular
cerca del enchufe, en el enchufe en
sí y en el punto en que sale del aparato.
11)
Use únicamente los accesorios especificados por el fabricante.
12) Use únicamente el carrito, base, trípode,
ménsula o mesa que especifique el
fabricante o que se venda con el aparato.
Si usa un carrito, proceda con precaución al
mover la combinación carrito/aparato para
evitar que se le caiga encima y lo lesione.
13) Desconecte el aparato durante las
tormentas eléctricas o cuando no
lo vaya a utilizar por períodos de
tiempo prolongados.
14) Encargue todas las reparaciones y servicio a
personal calificado. El aparato debe ser enviado
a un técnico calificado si se deja caer, si
funciona anormalmente o si sufre daños
tales como roturas del cordón de alimentación
o del enchufe, derrame de líquidos o caída de
objetos en el interior o exposición a la lluvia o a la humedad.
15)
CUIDADO: Paraprevenir descargas eléctricas, no usar
este enchufe polarizado con un cable de extensión,
receptáculo u otro tomacorriente a menos que las
láminas puedan insertarse para prevenir su exposicón.
Clavija ancha
Técnico
de servicio
calificado
0303
3X30321A[S] P02-08 22/12/05, 4:38 PM3

4
24) Conecte este equipo únicamente a una
fuente de alimentación de 120 V CA,
60 Hz.
25) Verifique siempre que el sistema de la antena esté conectado a
tierra correctamente para proteger adecuadamente el aparato
contra las subidas de voltaje y las cargas de energía estática
acumulada (consulte la Sección 810 del Código Eléctrico
Nacional).
26) PELIGRO: ¡RIESGO DE LESIÓN GRAVE O MUERTE!
•Proceda con extremada cautela para asegurarse de
que nunca se encuentre en una posición en la cual su
cuerpo (o cualquier objeto con el que tenga contacto, como por
ejemplo una escalera o un destornillador) pueda tocar
accidentalmente los cables aéreos de alta tensión. Nunca sitúe
la antena cerca de los cables aéreos de alta tensión u otros
circuitos eléctricos.
•Nunca intente instalar lo siguiente durante tormentas
eléctricas: a) sistema de antena, b) cables o componentes de
teatro en casa conectados a la antena o al sistema de teléfonos.
Cuidado
Siga estas recomendaciones y observe estas precauciones para
lograr el mejor rendimiento y un funcionamiento seguro de su
televisor TOSHIBA:
27) Siéntese siempre a una distancia entre 3 y 7.5 metros (10 a 25
pies) del televisor y, de ser posible, directamente enfrente. Si se
sienta demasiado a la izquierda o a la derecha, o si la luz solar
ode las lámparas de la habitación se refleja en la pantalla,
la imagen puede parecer pálida. Apague el televisor para
comprobar si se ven reflejos en la pantalla, luego elimine la
fuente del reflejo mientras vea televisión.
28) Desconecte siempre el televisor
antes de limpiarlo. Nunca utilice
limpiadores líquidos o limpiadores
en aerosol.
29) ¡ADVERTENCIA: RIESGO DE DESCARGA
ELÉCTRICA! Nunca derrame líquidos ni introduzca
objetos en las ranuras de la caja del televisor.
30) [Esta instrucción aplica sólo a los televisores proyectores.]
Si la temperatura del aire aumenta repentinamente (por
ejemplo, cuando le entregan el televisor), se puede formar
condensación en las lentes. Esto puede hacer que la imagen
se vea distorsionada o que el color parezca apagado. Si esto
ocurre, apague el televisor y no lo vuelva a encender durante
6ó7 horas para que la humedad se evapore.
31) Con el fin de protegerlo contra las subidas de voltaje y los
rayos, desconecte el televisor y la antena si no lo va a usar
por períodos prolongados.
32) Durante el uso normal es posible que el
televisor haga ruidos de vez en cuando.
Esto es normal, especialmente en el
momento de encenderlo y apagarlo.
Si los ruidos se vuelven frecuentes
o continuos, desconecte el televisor
y comuníquese con un centro de servicio
autorizado de TOSHIBA.
33) Posibles efectos adversos sobre el tubo de imagen del
televisor: Si una imagen fija (que no se mueve) permanece en
la pantalla del televisor por mucho tiempo, puede quedar
grabada en forma definitiva en el tubo de imagen y dejar una
imagen fantasma tenue pero permanente en la pantalla. Este
tipo de daño NO ESTÁ CUBIERTO POR SU GARANTÍA.
Nunca deje el televisor encendido por períodos prolongados
cuando esté mostrando los siguientes formatos o imágenes:
•Imágenes fijas, tales como ventanas PIP/POP, cintas de
datos bursátiles, patrones de juegos de video, logotipos de
estaciones de TV, subtítulos ocultos y sitios Web.
•Formatos especiales que no utilizan la pantalla completa.
Por ejemplo, ver un programa en formato 16:9 en una pantalla
normal 4:3 (barras grises en la parte superior e inferior de la
pantalla); o ver un programa en formato normal 4:3 en una
pantalla ancha de formato 16:9 (barras grises sobre los
costados izquierdo y derecho de la pantalla).
Servicio
34) ADVERTENCIA: ¡RIESGO DE DESCARGA
ELÉCTRICA! Nunca trate de
reparar el televisor usted
mismo. Abrir o quitar las tapas puede
exponerlo a voltajes peligrosos u otros
riesgos. Encargue las reparaciones a
un centro de servicio autorizado de TOSHIBA.
35) Si le reparan el televisor:
•Pídale al técnico que utilice únicamente repuestos
especificados por el fabricante.
•Una vez completada la reparación,
pídale al técnico que haga las
comprobaciones de seguridad
de rutina para determinar que
el televisor funciona sin peligro.
36) Cuando el televisor llegue al fin de su vida útil, pídale a un
técnico de servicio calificado que lo elimine de manera
adecuada. La eliminación incorrecta puede causar implosión
del tubo de imagen y posibles lesiones personales.
Abrazadera de
conexión a tierra
Unidad de descarga de la antena
(Sección 810-20 del NEC)
Conductores de conexión a tierra
(Sección 810-21 del NEC)
Sistema de electrodos de conexión a tierra
del servicio de suministro eléctrico
(Artículo 250, Parte H del NEC)
Abrazaderas de
conexión a tierra
Acometida de antena
Equipo del servicio de
suministro eléctrico
Técnico
de servicio
calificado
0303
3X30321A[S] P02-08 22/12/05, 4:39 PM4

5
CARACTERISTICAS
•181 canales de TV cable - El sistema de sintonización es capaz de recibir los 68 canales de VHF/UHF de emisión estándar
disponibles en su área. Al ser usado con un sistema de TV cable, este sistema puede sintonizar las frecuencias de VHF
estándar y 113 frecuencias de TV cable. El número real de canales recibidos dependerá de la recepción de canales en su área
y del servicio de TV cable al que usted esté suscrito.
•Indicaciones en la pantalla en 3 idiomas - Indica el canal, temporizador para dormir, nivel de volumen, silenciamiento,
indicadores de texto/captaciones y ajustes de control de imagen. Pueden aparecer en inglés, español o francés.
•Temporizador de desactivación automática - Desde el mando a distancia, el TV se puede programar para apagarse
automáticamente (de 10 a 120 minutos, en incrementos de 10 minutos).
•Protección de la memoria - En caso de interrupciones en el suministro de energía al televisor, este sistema evita la pérdida
de los canales memorizados.
•Ajustes de imagen usando la unidad de control remoto - La indicación en pantalla permite realizar precisos ajustes de
BRILLO, CONTRASTE, COLOR, TINTE y DEFINICION desde la unidad de control remoto.
•Chip V - La función de prohibición para menores con Chip V puede leer la clasificación de un programa de TV o película, si el
programa tiene codificada esta información. El Chip V permite seleccionar el nivel de prohibición (ha sido diseñado para
funcionar únicamente con el sistema Chip V para los EUA).
•DECODIFICADOR de subtítulos - Muestra leyendas cerradas o texto en pantalla (cuando está disponible).
•Recurso de bloqueo - Este recurso tiene tres funciones, el BLOQUEO DE CANALES, el BLOQUEO DE LA ENTRADA DE
VÍDEO y el AJUSTE DEL TEMPORIZADOR PARA JUEGOS DE TV.
•Temporizador ON programable - Le permite programar su TV para automáticamente encenderla a la hora programada.
UBICACION DE LOS CONTROLES
DELANTERA TRASERA
1. Indicador POWER - Se enciende cuando la
alimentación está conectada.
2. Sensor de control remoto - Recibe las señales
enviadas desde la unidad de control remoto.
3
.
Botón de POWER - Presione este interruptor para
encender y apagar el televisor.
4
.Botones de ▲/▼ de volumen - Utilice estos botones
para aumentar o disminuir el nivel de volumen.
(Botones MENU) - Presione ambos botones para
que aparezca la función de menú en la pantalla.
(Botones SET +/–) - Presione para seleccionar el
ajuste deseado durante las operaciones en la
pantalla.
5.
Botones selectores de canal en ▲/▼ - Utilice estos
botones para seleccionar alguno de los canales
almacenados en la memoria.
(Botón ENTER) - Presione para entrar o seleccionar
información para las operaciones en la pantalla.
(Botón RESET) - Presione para volver los ajustes de
imagen en la pantalla a sus posiciones iniciales de fábrica.
6. Conectores de entrada de Audio/Vidéo - Aquí
pueden conectar desde una fuente externa los cables
de señales de audio y video.
7.
Cordón de CA - Conéctelo a un enchufe de 120V, 60Hz.
8. Conector de entrada de ANTENA VHF/UHF -
Conecte una antena VHF/UHF o un TV cable a esta
conector.
VIDEO
CHANNEL
RESETENTER
SET
MENU
AUDIO
VOLUMEPOWER
VIDEO
CHANNEL
RESETENTER
SET
MENU
AUDIO
VOLUME
POWER
613 5
4
2
ANT
8
7
3X30321A[S] P02-08 22/12/05, 4:39 PM5

6
MENU
VOL
–
SLEEP
MUTE
CH RTN RECALL
VOL
+
ENTER
CH –
CH +
123
456
7
0
89
–
SET
+
1/2
CAP/TEXT
RESET
TV/VIDEO
CT-859
POWER
1
2
3
5
6
7
8
9
10
11
12
13
14
4
15
CONTROL REMOTO
control remoto. La indicación disminuirá en intervalos de
10 minutos cada vez que el botón sea presionado (en el
orden de 120, 110, 100, ... 20, 10, 0.). Una vez programado
el tiempo de desactivación automática, la indicación
desaparecerá de la pantalla, después de lo cual volverá a
aparecer momentáneamente cada diez minutos para
recordarle que la función de desactivación automática está
activada. Para confirmar el tiempo de desactivación
automática, presione el botón SLEEP una vez; el tiempo
restante será momentáneamente exhibido. Para cancelar
la función de desactivación automática, presione repetida-
mente el botón SLEEP hasta que la indicación sea 0.
5. Botones de +/– de volumen - Presione el botón + para
aumentar el nivel de volumen y el botón – para disminuirlo.
6. Botón MENU - Presione este botón para indicar el menú
de función en la pantalla.
7. Botones de SET + / – - Presione los botones para
seleccionar los ajustes deseados durante las operaciones
en pantalla.
8. Botón de RESET - Para reajustar los ajustes de imagen en
pantalla.
9. Botón TV/VIDEO - Cambia entre el TV y las entradas de
dispositivo externo.
10. Botón de RECALL - Cuando este botón sea presionado,
el canal sintonizado aparecerá en la esquina superior
derecha de la pantalla de TV. Presione nuevamente el
botón para borrar la indicación de la pantalla.
11. Botón de MUTE - Para cortar el sonido, presione este botón
una vez. El TV se silenciará y aparecerá la palabra “MUTE”
en la pantalla. Para desactivar la función de silenciamiento,
vuelva a presionar el botón de silenciamiento/reposición
(MUTE) o presione el botón de aumento o disminución de
volumen (VOL + o –).
12. Botones selectores de canal en +/– - Presione el botón de
ascenso CH + para cambiar a un canal más alto
almacenado en la memoria. Presione el botón de
descenso CH – para cambiar a un canal más bajo.
13. Botón ENTER - Presiónelo para introducir o seleccionar la
información de las operaciones en pantalla.
14. Botón 1/2 - Cambia entre el canal 1 de subtítulos y el canal
2 de subtítulos en el modo de subtítulos ocultos.
15. Botón de subtítulos/texto - Presione para cambiar entre
los modos de TV normal y los dos modos de Leyendas
cerradas (leyendas o texto) cuando estén disponibles.
1. Botón de POWER - Para encender y apagar el televisor.
2. Botones de selección directa de canal (0-9) - Permite dirigir
el asunto de cualquier canal de TV.
3. Botón de visión rápida - Presione repetidamente CH RTN
para cambiar entre los dos últimos canales que haya
sintonizado.
4. Botón de auto apagado mediante temporizador - Para
hacer que el televisor se apague después de un período
de tiempo prefijado, presione el botón SLEEP del unidad de
1. Abra la tapa del compartimiento de pilas.
2. Instale dos pilas “AAA” (tipo lápiz).
COMO INSTALAR LAS PILAS
Antes de usar la unidad control remoto deben ser instaladas las pilas.
3. Reinstale la tapa del compartimiento.
Utilice pilas de tamaño “AAA” tipo lápiz (suministradas)
para la unidad control remoto. Las pilas duran
aproximadamente un año, dependiendo de cuánto se
utilice el control remoto. Para su mejor funcionamiento se
recomienda que las pilas se reemplacen en forma anual o
cuando el funcionamiento del control remoto sea errático.
Precaución:
Nunca arroje las baterías al fuego.
Nota:
•Asegúrese de usar baterías tipo AAA.
• Deseche las baterías en un área designada para este tipo de
desecho.
• Las baterías siempre deben desecharse teniendo en cuenta el
medio ambiente. Siempre deseche las baterías de acuerdo a
las normas y regulaciones pertinentes.
• Si el control remoto no funciona correctamente, o si el rango de
operación se reduce, reemplace las baterías por nuevas.
• Cuando sea necesario cambiar las baterías en el control
remoto, siempre reemplace ambas por nuevas. Nunca
combine diferentes tipos de batería, ni nuevas con usadas.
• Si las baterías no tienen carga o si dejará de usar en control
remoto por un tiempo prolongado, sáquelas. Eso evitará la
fuga de ácido al compartimiento de las baterías.
3X30321A[S] P02-08 22/12/05, 4:39 PM6

7
Juego de VIDEO
VIDEO
CHANNEL
RESETENTER
AUDIO
CONEXIONES DE ANTENA
Este televisor, puede sintonizar la mayoría de los canales por cable sin
necesidad de recurrir al convertidor suministrado por los canales de cable.
Algunas compañías de cable ofrecen “canales pagados premiados” en los
cuales la señal esta codificada. La decodificación de esas señales para la
obtención de una señal normal, requiere el uso de un decodificador que
es generalmente provisto por la compañía de cable.
Antena combinada de VHF/UHF (Cable solo de 75 ohmios o de
conductores gemelos de 300 ohmios)
Conecte el cable de 75 ohmios desde antena combinada de VHF/UHF al
soporte de antena.
Si su antena combinada es un cable de 300 ohmios de conductores
gemelos, use un transformador de adaptación de 300-75 ohmios (no
suministrado).
Antena combinada de VHF/UHF (VHF separada y UHF 300 ohmios de
conductores gemelos)
Conecte el cable de conductores gemelos de UHF al combinador (no
suministrado). Conecte el cable de conductores gemelos de VHF al
transformador de adaptación de 300-75 ohmios (no suministrado). Fije el
combinador al soporte de antena.
Antenas de VHF/UHF separadas
Conecte el cable de 75 ohmios desde antena de VHF y UHF de
conductores gemelos al combinador (no suministrado). Fije el combiandor
al soporte de antena.
NOTA: Si su antena de VHF tiene un cable de conductores gemelos, use
un transformador de adaptación de 300-75 ohmios (no suministrado), luego
conecte el transformador al combinador.
PARA LOS ASOCIADOS A UN SERVICIO DE TV POR CABLE BASICO
Para un servicio de cable básico que no requiera convertidor/descodificador
,
conecte el cable coaxial Cable TV 75 ohmios directamente a la entrada de
antena en la parte trasera del televisor.
PARA LOS ASOCIADOS A UN SERVICIO DE TV POR CABLE
“CODIFICADO”
Si Ud. está asociado a un servicio de cable que requiere el uso de un
convertidor/descodificador conecte el cable de bajada de antena al
convertidor/descodificador y conecte la salida de ésta a la entrada de
antena en la parte trasera del televisor. Siga el conexionado como se
muestra en la figura. Sintonice el televisor en el canal de salida del
convertidor/descodificador (usualmente canal 3 ó 4) y utilice el
convertidor/descodificador para la selección de canales.
PARA ASOCIADOS A UN SERVICIO DE CABLE BASICO CON
CANALES ESPECIALES CODIFICADOS
Si Ud. está asociado a un servicio de cable en el cual los canales básicos son
comunes y los canales especiales necesitan un convertidor/descodificador,
puede utilizar un divisor de señal (a veces llamada “acoplador”) y una caja
de interruptor de cambio A/B. Siga el conexionado como se muestra en la
figura. Con la interruptor en la posición “B”, Ud. puede sintonizar
directamente cualquier canal común en su televisor. Con la interruptor en
la posición “A”, puede seleccionar los canales codificados desde el
convertidor/decodificador sintonizando el televisor en el canal de salida
del convertidor/decodificador (canal 3 ó 4).
CONEXIONES DE TOMA AUDIO/VIDEO
2. Para conectar el TV a un juego de VIDEO.
El TV puede utilizarse también como pantalla para muchos juegos de
video. Sin embargo, debido a que existe una gran variedad de tipos
diferentes de señales generadas por estos aparatos y diferentes requisitos
de conexión correspondientes, no se han incluido todas las posibilidades
posibles en los diagramas de conexión sugeridos. Para más detalles,
deberá consultar el manual de instrucciones de cada componente.
Para ver la imagen desde un VCR, una
videocámara o un juego de TV, primero
debe poner el TV en modo VIDEO. Presione
TV/VIDEO para seleccionar el modo VIDEO.
La palabra “VIDEO” aparece brevemente en
pantalla. Vuelva a presionar TV/VIDEO para
volver al modo TV.
SELECCION TV/VIDEO
La instalación exacta a utilizar para hacer las conexiones de los distintos componentes de video y audio en el TV depende del modelo y
funciones de cada componente. Confirme en el manual de instrucciones de cada componente para la posición de las entradas y salidas de
video y de audio.
Los siguientes diagramas de conexiones se ofrecen a título de sugerencia.
Puede ser necesario modificarlos según los equipos que posee.
3. Para conectar el TV a la videocámara
Para reproducir de la videocámara, conecte la videocámara en el TV tal
como se indica.
1. Para conectar el TV a una videograbadora
VIDEO
VCR Frente del TV
(no está incluido)
A salida de
Audio/Video VIDEO AUDIO
A salida de
Audio/Video
Frente del TV
(no está incluido)
Frente del TV
A salida de AV
(no está incluido)
AB
Antenna combinada de VHF/UHF
Cable solo de 75 ohmios
(o)
Cable sencillo de doble conductor de 300 ohmios*
Transformador
(no suministrado)
*
Para un funcionamiento óptimo, si tiene conectado un divisor,
retírelo y conecte el cable sencillo al transformador, y a continuación
a la entrada de antena del TV (como se ilustra en la figura).
Antenas independientes de VHF y UHF o una antena
combinada VHF/UHF con cables o hilos separados.
Cable solo de 300 ohmios
Combinador
(no suministrado)
Antenas de UHF
Antenas de VHF
Cable de 75 ohmios
Cable solo de 300 ohmios
Combinador
(no suministrado)
Antenas de UHF
Antenas de VHF
Cable solo de 300 ohmios *
Transformador
(no suministrado)
Cable entrante de Cable TV
(o)
(o)
A la entrada ANT
de la parte
trasera del TV
A la entrada ANT
de la parte
trasera del TV
A la entrada ANT
de la parte
trasera del TV
A la entrada ANT
de la parte
trasera del TV
A la entrada ANT
de la parte
trasera del TV
A la entrada ANT de la
parte trasera del TV
A la entrada ANT
de la parte
trasera del TV
(o)
Desde el
servicio de
TV por cable
Desde el
servicio de
TV por cable
Desde el
servicio de
TV por cable
Conmutador A/B
Divisor
Convertidor/Decodificador
Convertidor/Decodificador
Elija una de las siguientes siete conexiones, en función de su
equipo y servicio:
La grabación no autorizada, el uso, la distribución, o la revisión de los
programas televisivos, videos, DVDs, y otros materiales se prohíben
bajo las Leyes de Copyright de los Estados Unidos y otros países, y
podrían estar sujetos a la responsabilidad civil y penal.
3X30321A[S] P02-08 22/12/05, 4:39 PM7

8
Este TV puede mostrar las visualizaciones en pantalla y los menús de ajuste en inglés, español o francés.
La selección del idioma en la pantalla (paso 3, debajo) aparecerá automáticamente en la pantalla cuando presione MENU al
principio.
Seleccione primero el idioma preferido y vaya a las otras opciones de menú.
4
1Presione MENU.
Presione SET + o – hasta que el
indicador “LANGUAGE” empiece a
parpadear seguidamente, y después
presione el botón ENTER.
2
3
SELECCIÓN DE IDIOMA
Presione SET + o – hasta que el
indicador “ ” señale la lengua
deseada: inglés (ENGLISH),
español (ESPAÑOL) o francés
(FRANCAIS), y después presione
ENTER.
Presione MENU otra vez para
volver a la imagen normal de TV.
〈
〉
〈
+
/
–
/
ENTER
/
MENU
〉
FRANCAIS
ENGLISH
ESPAÑOL
LANGUAGE / IDIOMA / LANGUE
NOTA:
Si español o francés se ha escogido, los indicadores de Subtítulo será en la lengua seleccionada, pero el texto de Subtítulo
Cerrado será no afectado por la selección de lengua.
OPERACION DEL TELEVISOR
Para encender el televisor, presione el interruptor de
encendido (POWER).
Ajuste el volumen al nivel deseado usando los botones
de aumento/disminución de volumen (VOL + /–).
El nivel de sonido será indicado en la pantalla de TV
mediante una BARRA VERDE. Cuando el nivel de sonido
aumente, también aumentará el número de barras en la
pantalla. De igual forma, el número de BARRAS
disminuirá cuando el nivel sea disminuido.
Ajuste el modo TV/CABLE a la posición apropiada. Este
modo viene ajustado de fábrica a la posición CABLE. Vea
“PARA MEMORIZAR CANALES”
en la página 9.
1
2
TV - Canales de VHF/UHF
CABLE - Canales de CABLE TV
Botones selectores de canal en ascenso/descenso
Presione y libere el botón selector de canal (CH + /–) en
ascenso o descenso. El canal se detiene
automáticamente en el próximo canal programado en la
memoria de la TV. Presione y retenga el botón para
cambiar los canales más rápidamente.
Para la operación apropiada, asegúrese de programar
los canales en la memoria de la TV antes de sintonizar
los canales.
Consulte la sección “PARA MEMORIZAR CANALES”
en
la página 9.
4
3Selección directa de canal en modo CABLE
Cuando la opción de menú de TV/ CABLE está ajustado al
modo de CABLE, los canales podrán seleccionarse de la
siguiente forma:
Presione “0” dos veces, y luego 1-9 según sea
necesario.
Por ejemplo, para seleccionar el canal 2, presione
“002”.
Primero presione "0", y luego los 2 dígitos restantes.
Por ejemplo, para seleccionar el canal 12, presione
“012”.
Presione los 2 dígitos en orden.
Por ejemplo, para seleccionar el canal 36, presione
“036”.
Presione los 3 dígitos en orden.
Por ejemplo, para seleccionar el canal 120, presione
“120”.
1-9
10-12
13-99
100-125
NOTA: Si el canal sintonizado deja de transmitir programas, el
televisor se apagará automáticamente al cabo de 15
minutos.
Botones de selección directa de canal (0–9)
Utilice estos botones para seleccionar canales. El número del
canal será indicado en la esquina superior derecha de la
pantalla de TV. Si se selecciona un número de canal inválido,
la pantalla volverá al canal anterior.
Selección directa de canal en modo de TV
Cuando el selector de TV/ CABLE sea ajustado a la posición
TV, todos los canales podrán ser seleccionados en forma
instantánea usando sólo dos botones (Por ejemplo, para
seleccionar el canal 2, presione “0” y “2”. Si usted sólo presiona
“2”, la selección del canal se retardará unos segundos). Para
los canales de 10 en adelante, presione los dos dígitos en
orden.
3X30321A[S] P02-08 22/12/05, 4:39 PM8

9
PARA MEMORIZAR CANALES
Presione MENU.
Presione SET + o – hasta que el indicador
“CH SETUP” empiece a parpadear
seguidamente, y a continuación presione
ENTER.
Presione SET + o – hasta que el indicador
“TV/CABLE” empiece a parpadear
seguidamente.
Presione ENTER para seleccionar el
modo TV o CABLE. La flecha indica el
modo seleccionado.
Presione MENU hasta que se borre la
pantalla menu.
1
2
3
4
SELECCION DE TV/CABLE
5
MENU
PICTURE
LANGUAGE
V-CHIP SET
LOCK
CH SETUP
ON TIMER
AUTO CH MEMORY
TV
ADD / DELETE
CABLE
〈
+ / — / ENTER / MENU
〉
NOTA:
Póngase en contacto con la compañía de cable para determinar el
tipo de sistema de cable usado en su área.
Presione MENU.
Presione SET + o – hasta que el
indicador “CH SETUP” empiece a
parpadear seguidamente, y a
continuación presione el botón ENTER.
Presione SET + o – hasta que el
indicador “AUTO CH MEMORY”
empiece a parpadear seguidamente, y
a continuación presione ENTER. El TV
comenzará a memorizar todos los
canales disponibles en su área. Los
números de canal permanecerán en
rojo hasta que se complete la
memorización automática.
MEMORIA AUTOMATICA DE CANAL
1
2
3
4
AUTO CH MEMORY
TV
ADD / DELETE
CABLE
〈
+ / — / ENTER / MENU
〉
PARA AÑADIR/BORRAR CANALES
Presione MENU.
Presione SET + o – hasta que el
indicador “CH SETUP” empiece a
parpadear seguidamente, y a
continuación presione ENTER.
Presione SET + o – hasta que el
indicador “ADD/DELETE” empiece a
parpadear seguidamente, y a
continuación presione ENTER.
Seleccione los canales deseados a
agregar o borrado mediante los
botones de Selección Directa de
Canal (10 teclas, 0-9), CH +/– o SET
+ o –.
1
2
4
3
5
6
MENU
PICTURE
LANGUAGE
V-CHIP SET
LOCK
CH SETUP
ON TIMER
AUTO CH MEMORY
TV
ADD / DELETE
CABLE
〈
+ / — / ENTER / MENU
〉
〈
〉
Presione MENU hasta que se borre la pantalla menu.
Presione ENTER para seleccionar ADD o DELETE. Si un
canal no memorizado se ha seleccionado (paso 4), el
indicador de canal será en rojo. Presione ENTER si usted
desea añade el canal no memorizado. Cuando un canal
se añadio, el indicador de canal cambiará de rojo a verde
y el canal será memorizado.
Si un canal memorizado es seleccionado (paso 4), el
indicador de canal será en verde.
Para eliminar el canal de la memoria,
presione ENTER varias veces hasta que
aparezca “DEL” en la pantalla.
Cuando el canal es borrado, el indicador
de canal cambiará de verde a rojo.
Repita los pasos 4 y 5 para ser añadido o borrado cada canal.
Presione MENU tres veces después de añadir o borrar
todos los canales deseados, para volver a la imagen normal
de TV.
MENU
PICTURE
LANGUAGE
V-CHIP SET
LOCK
CH SETUP
ON TIMER
AJUSTE DE IMAGEN
Presione MENU.
Presione SET + o – hasta que el indicador al lado de return
“PICTURE” empiece a parpadear y presione ENTER.
Presione ENTER repetidamente para seleccionar el punto que
desea ajustar.
1
2
3
Se pueden hacer los ajustes de brillo, contraste, color, tinte y definicion.
4
COLOR
(COLOR)
BRIGHTNESS
(BRILLO)
TINT
(TINTE)
SHARPNESS
(DEFINICION)
CONTRAST
(CONTRASTE)
BRILLO
CONTRASTE
COLOR
TINTE
+
disminuye el brillo
disminuye el contraste
tiene un color pálido
color rojizo
aumenta el brillo
aumenta el contraste
color brillante
color hacia el verde
DEFINICION suaviza la imagen
agudiza los contornos
de la imagen
–
Presione SET + o – dos veces para hacer el ajuste.
PARA VOLVER AL AJUSTE INICIAL:
Presione RESET cuando aparece en la pantalla el modo de ajuste
de imagen.
Este televisor está equipado con una función de memorización
de canales que permite avanzar o retroceder al siguiente canal
almacenado en la memoria, pasando por alto los canales no
deseados.
Antes de seleccionar canales, éstos deberán ser programados
en la memoria del televisor. Además de los canales normales de
VHF y UHF, este televisor puede recibir hasta 113 canales de TV
cable. Para usar el televisor con una antena, coloque el modo de
TV/CABLE a la posición TV. Este modo viene ajustado de fábrica
a la posición CABLE.
3X30321A[S] P09-12 22/12/05, 4:39 PM9

10
La función Chip V sólo está disponible para el sistema Chip V para los EUA. El sistema V-Chip canadiense no es soportado.
Este televisor tiene un control V-CHIP para fijar una prohibición y controlar el acceso para ver determinados canales. Esta función
sirve para impedir que sus hijos vean las escenas violentas o sexuales que usted decida excluir.
SELECCION DE CHIP V
Presione MENU y SET + o – para seleccionar la opción
V-CHIP SET y presione ENTER.
Entre su contraseña (4 cifras) utilizando los botones de
selección de canal directo (0–9).
En el caso de haber entrado una contraseña equivocada,
presione RESET. A continuación, presione ENTER.
Vuelva a introducir la contraseña y presione ENTER.
Presione SET + o – para seleccionar la opción V-CHIP.
Presione ENTER para activar a ON.
Presione SET + o – para seleccionar la opción TV
RATING o MPAA RATING. Presione ENTER.
Presione SET + o – para seleccionar la prohibición
deseada para el video o canal de TV aplicable. Presione
ENTER.
Presione MENU hasta que se borre la pantalla menu.
4
1
3
5
6
7
2
TV RATING SET– SET+
OFF TV-Y7 TV-G TV-14 TV-MATV–Y TV-PG
TV-PG : Con autorización de
los padres
TV-14 : 14 años o más
TV-MA: 17 años o más
TV-Y : Todos los niños
TV-Y7 : 7 años o mayor
TV-G : Programa para niños
Cuando seleccione TV-Y7, TV-PG, TV-14 o TV-MA, presione
RECALL para mostrar el nivel de prohibición.
Presione SET + o – para seleccionar la clasificación deseada.
Presione ENTER para seleccionar el ajuste ON u OFF.
MPAA RATING
SET– SET+
OFF
PG
PG-13 R NC-17 XG
G: Para todas las edades
PG: Con autorización de los
padres
PG-13: Con autorización de
los padres menos de
13 años
R: Menores de 17 años se
recomienda autorización
de los padres
NC-17: 17 años o mayor
X: Sólo para adultos
¿QUE ES LA RECEPCION DE TEXTO?
Este televisor tiene capacidad para descodificar y mostrar los
programas de televisión con emisión de texto. Cuando está
disponible, esta función mostrará el texto en pantalla para los
usuarios con problemas de audición o traducirá y mostrará el
texto que se encuentre en otra lengua.
PARA VER LOS SUBTITULOS
Presione CAP/TEXT en el control remoto para cambiar entre el
TV normal y los dos modos de subtítulos (subtítulos y texto en
una tercera parte de pantalla completa).
Leyendas: Este modo de recepción de texto mostrará el texto
en pantalla en inglés u otra lengua (dependiendo de la
programación 1/2 de recepción de texto). Generalmente las
emisiones de textos en inglés son recibidas en el canal 1 de
recepción de texto y los textos en otras lenguas son recibidos
en el canal 2 de recepción de texto. Las leyendas aparecerán
en los lugares de la pantalla que interfieran mínimamente con
la imagen, generalmente en la parte inferior de la misma. Los
programas de noticias mostrarán generalmente tres líneas de
leyendas que cambiarán en la pantalla. La mayoría de los otros
programas ofrecen dos o tres líneas de leyendas colocadas
cerca del personaje que está hablando de tal manera que el
usuario pueda seguir el diálogo.
Las letras itálicas o subrayadas indican títulos, palabras en
ACTIVACION DE SUBTÍTULOS
•Cuando está activando el descodificador de subtítulo cerrado, habrá una demora corta antes de aparecer texto de subtítulo
cerrado en la pantalla.
•El texto del programa aparecerá en pantalla solo en aquellas áreas donde exista este tipo de servicio.
•
Si no se recibe la señal de emisión de texto, no aparecerán leyendas, pero el televisor permanecerá en el modo de recepción de texto.
•Ocasionalmente podrán aparecer faltas de ortografía o caracteres extraños durante la recepción de texto. Esto es normal en
este modo, especialmente con los programas en vivo. Esto se debe a que durante los programas en vivo, los textos son
ingresados sin edición, ya que no hay tiempo para la misma.
•Cuando las leyendas estén en pantalla, puede ser que las indicaciones de funciones como volumen y silenciamiento no
aparezcan ya que interferirían con las leyendas.
•Algunos sistemas de cable y sistemas de protección contra copias pueden interferir con la señal de emisión de texto.
•Si utiliza una antena interior o si la recepción del TV es muy insuficiente, el texto de las emisiones puede no aparecer o mostrar
caracteres extraños y errores de ortografía. En tal caso, ajuste la antena para mejorar la recepción o utilice una antena externa.
lenguas extranjeras o palabras que requieren énfasis. Las letras
de canciones aparecen encerradas entre notas musicales.
Texto: Cuando está disponible, el modo Texto ocupará parte de
la pantalla con un horario de programación u otra información.
Después de seleccionar uno de los modos de recepción de
texto, éste continuará activado hasta que se lo cambie,
independientemente de que se sintonice otro canal.
Si se pierde la señal de la emisión de texto debido a un aviso
comercial o al corte de la señal, las leyendas reaparecerán
cuando la señal sea recibida nuevamente.
Si se cambia de canal, las leyendas se retardarán en 10
segundos aproximadamente.
Para recibir emisiones de programas de televisión con emisión
de texto, refiérase a su guía de TV en la que estarán indicadas
con el símbolo (CC).
NOTAS:
•
Si desea cambiar la contraseña, siga los pasos 1 y 2 y seleccione la opción “CHANGE PASSWORD” para entrar su nueva contraseña.
•La función de chip V se activa sólo en los programas y cintas que tienen la señal de nivel de prohibición.
•Cuando se prohibe un programa con la función del Chip V, el programa prohibido no puede verse según su contenido. Cuando el
programa empieza, aparecerá “INPUT PASSWORD” en la pantalla. Para cancelar el Chip V temporalmente, entre la contraseña.
Si cambia el canal o desconecta el TV cuando se había desactivado temporalmente la función de prohibición para menores Chip V,
volverá al ajuste original. Para volver a ver el canal que estaba mirando, deberá volver a entrar su contraseña o desactivar
temporalmente, nuevamente, la función Chip V.
•Cuando vea la TV a través de un receptor de cable o un reproductor de vídeo con el televisor sintonizado en el canal 3 ó 4, deberá
liberar temporalmente el Chip V introduciendo su contraseña. La configuración del Chip V se restablecerá cuando apague el
televisor y lo vuelva a encender. En este caso, deberá utilizar el receptor de cable o el VCR para cambiar los canales.
•Al cambiar el canal con el receptor de cable o el VCR, transcurrirán aproximadamente 10 segundos hasta que aparezca el programa.
• Si olvidó o perdió su contraseña, puede cancelar la contraseña existente usando el siguiente procedimiento:
-
Siga oprimiendo VOLUME de la unidad principal y, simultáneamente, oprima la tecla “0” del control remoto durante unos cuantos
segundos.
AVISO DE POSIBLES EFECTOS ADVERSOS EN EL TUBO
DE IMAGEN DE LA TELEVISIÓN
Evite desplegar imágenes estacionarias en su televisor durante
períodos extendidos de tiempo. Las imágenes fijas (que no se
mueven) tales como las barras negras o grises en los formatos
de imágenes de pantalla amplia, los patrones de juegos de video,
los logotipos de las estaciones de televisión y los subtítulos
pueden marcarse permanentemente en el tubo de imagen. Este
tipo de daño NO SE CUBRE POR SU GARANTÍA.
3X30321A[S] P09-12 22/12/05, 4:39 PM10

11
USO DEL MENÚ DE BLOQUEOS
El menú LOCK incluye las funciones CH LOCK, VIDEO LOCK, GAMETIMER y CHANGE PASSWORD. Puede emplear estas
funciones después de introducir la contraseña correcta (PASSWORD). (Esta contraseña es la misma que ha utilizado en
“SELECCION DE CHIP V” en la página 10.)
BLOQUEO DE CANALES
Con la función CH LOCK, puede bloquear el acceso a ciertos canales. No podrá sintonizar los canales bloqueados a no ser que
borre el ajuste. Puede bloquear hasta nueve canales de TV y nueve canales de TV por cable.
1
2
3
4
5
Use los botones de número de canal (0–9) para visualizar
el canal de TV que desea bloquear.
Presione MENU, y después presione SET + o – hasta que el
indicador junto a “LOCK” parpadee. Después presione ENTER.
LOCK
〈
+ / – / ENTER / MENU
〉
GAME TIMER
CH LOCK
VIDEO LOCK
CHANGE PASSWORD
CH LOCK
〈
+ / – / ENTER / MENU
〉
CABLE
INPUT
ALL CLEAR
--- --- ---
--- --- ---
--- --- ---
Use los botones de número de canal (0–
9) para introducir su contraseña, y
presione ENTER.
Aparecerá el menú LOCK.
Presione SET + o – hasta que el indicador
junto a “CH LOCK” parpadee, y presione
ENTER.
Presione SET + o – para seleccionar:
• INPUT para escoger el canal que
desea bloquear. Después presione
ENTER.
6Repita los pasos 1 a 5 para bloquear otros canales. Cuando
haya acabado de bloquear los canales, presione varias
veces MENU hasta que desaparezca la pantalla del menú.
Si intenta sintonizar un canal bloqueado, la TV no lo mostrará,
pero verá el canal no bloqueado más cercano.
NOTAS:
•
Si accede a los menús LOCK o V-chip por primera vez, escoja un
número de cuatro dígitos para usarlo como contraseña.
•Después de programar el bloqueo de canales (CH LOCK)
cambie los canales antes de apagar la televisión.
•Si quiere desbloquear los canales, seleccione ALL CLEAR en
el paso 5, y después presione ENTER.
BLOQUEO DE LA ENTRADA DE VÍDEO
Con la función VIDEO LOCK, puede bloquear la fuente de
entrada (VIDEO) y los canales 3 y 4.
No podrá seleccionar las fuentes de entrada con el botón TV/VIDEO,
o con los botones de los canales, a no ser que cancele el ajuste.
VIDEO LOCK
〈
+ / – / ENTER / MENU
〉
OFF
VIDEO
VIDEO+
1
2
3
4
5
Presione MENU, después presione SET + o – hasta que
el indicador junto a la opción “LOCK” parpadee, y
después presione ENTER.
Use los botones de número de canal (0–9) para introducir
su contraseña, y después presione ENTER. Aparecerá el
menú LOCK.
Presione SET + o – hasta que el indicador esté junto a la
opción “VIDEO LOCK”, y después presione ENTER.
Presione SET + o – para seleccionar:
•OFF:
Desbloquea todas las fuentes de
entrada de vídeo.
1
2
3
4
5
〈
〉
Presione varias veces MENU hasta que desaparezca la
pantalla menu.
AJUSTE DEL TEMPORIZADOR PARA JUEGOS DE TV
Con la función GameTimerTM, puede activar automáticamente el
modo VIDEO LOCK (Ajuste de VÍDEO) para ajustar un límite de
tiempo al utilizar un juego de TV. (30, 60, 90, ó 120 minutos).
Presione MENU, y después pulse SET + o – hasta que el
indicador esté junto a “LOCK”, y después presione ENTER.
Use los botones de número de canal (0–9) para
introducir su contraseña, y después presione ENTER.
Aparecerá el menú LOCK.
Presione SET + o – hasta que el indicador junto a
“GAMETIMER” parpadee, y después
presione ENTER.
Presione SET + o – para seleccionar
el límite de tiempo (30 minutos, 60
minutos, 90 minutos, 120 minutos o
bien OFF).
•
ALL CLEAR para cancelar el bloqueo de todos los canales que
están en la lista de canales bloqueados. Después presione ENTER.
Presione varias veces MENU hasta que desaparezca la
pantalla menu. Después de programar la función
GameTimer, el visualizador aparecerá durante unos
segundos cada diez minutos para recordarle que el
temporizador para juegos está activo. Cuando se llega a
la hora de finalización, la pantalla cambiará el canal
automáticamente.
PARA AJUSTAR EL TEMPORIZADOR DEL AUTO ENCENDIDO
1
2
3
4
5
NOTA:
Para cancelar el temporizador de encendido (ON TIMER), seleccione
CANCEL en el paso 4 anterior. Presione varias veces MENU hasta
que desaparezca la pantalla menu.
ON TIMER
〈
+ / — / ENTER / MENU
〉
HOUR
MINUTE
CH 002
00h
00m
CANCEL
ON TIMER
〈
+ / — / ENTER / MENU
〉
HOUR
MINUTE
CH 125
08h
15m
SET
Presione MENU, después presione
SET + o – hasta que el indicador
junto a la opción “ON TIMER”
parpadee, y después presione
ENTER.
Presione SET + o – para ajustar la hora deseado (0–12),
y despúes presione ENTER.
Presione SET + o – para ajustar el minuto deseado (00,
05, 10, ...55), y despúes presione ENTER.
Presione SET + o – para seleccionar
el canal deseado, y despúes
presione ENTER.
Presione SET + o – para seleccionar
el modo SET, y despúes presione
ENTER.
Esta característica le permite programar el TV para encenderse automáticamente a una hora y en un canal preestablecidos.
NOTA: Si se interrumpe o falla el suministro de energía eléctrica, se perderá el ajuste del temporizador.
Presione varias veces MENU hasta que desaparezca la
pantalla menu.
6
NOTA:
Después de programar el VIDEO LOCK, cambie canales o presione
el botón TV/VIDEO antes de apagar el televisor.
• VIDEO: Bloquea el VIDEO.
• VIDEO +: Bloquea el VIDEO, y los
canales 3 y 4. Debe usar esta opción si emplea la antena
para reproducir una cinta de vídeo.
NOTA:
Cuando se alcance el tiempo final programado, la televisión
cambiará los canales automáticamente y se activará la función
VIDEO LOCK. Para apagar la función VIDEO LOCK, vea
"BLOQUEO DE LA ENTRADA DE VÍDEO", a la izquierda.
3X30321A[S] P09-12 22/12/05, 4:39 PM11

12
ANTES DE SOLICITAR SERVICIO
Antes de solicitar servicio, verifique los puntos síntoma y posible solución en la siguiente tabla.
POSIBLE SOLUCION
SINTOMA
•Verifique que el cable de alimentación esté conectado.
•Pruebe con otro tomacorriente de CA.
• La alimentación está desconectada; revise el fusible o el
interruptor automático.
•Desconecte la unidad, y vuelva a conectarla al cabo de
una hora.
El televisor no
funciona.
POSIBLE SOLUCION
SINTOMA
•
La estación o el servicio de TV cable están con problemas;
sintonice otra estación o llame a su compañía de cable.
• Verifique los ajustes de sonido (volumen y silenciamiento).
• Determine si hay posibles fuentes de interferencia.
Sonido de baja
calidad o
ausencia de
sonido.
•
La estación o el servicio de TV cable están con problemas;
sintonice otra estación o llame a su compañía de cable.
• Verifique que haya canales almacenados en la memoria.
•
Revise las conexiones de la antena o sistema Cable TV;
reoriente a antena.
• Determine si hay posibles fuentes de interferencia.
• Verifique los ajustes de los controles de imagen.
•Presione CAP/TEXT para desactivar el modo de
Leyenda cerrada.
Imagen de baja
calidad o
ausencia de
imagen.
•
La estación o el servicio de TV cable están con problemas;
sintonice otra estación o llame a su compañía de cable.
• Verifique que haya canales almacenados en la memoria.
• La señal de la estación es débil; reoriente la antena.
• Determine si hay posibles fuentes de interferencia.
Mala recepción
en algunos
canales.
•
La estación o el servicio de TV cable están con problemas;
sintonice otra estación o llame a su compañía de cable.
• Verifique que haya canales almacenados en la memoria.
• Verifique los ajustes de los controles de imagen.
•
Revise las conexiones de la antena o sistema Cable TV;
reoriente la antena.
Mala definición
de los colores o
ausencia de
color.
•
La estación o el servicio de TV cable están con problemas;
sintonice otra estación o llame a su compañía de cable.
• Verifique que haya canales almacenados en la memoria.
• El servicio Cable TV está transmitiendo una señal
codificada.
• Reoriente la antena.
La imagen
presenta
oscilación o
desplazamiento.
• Revise todas las conexiones del sistema Cable TV.
• Ajuste el modo TV/CABLE al modo CABLE mediante la
selección de menú en la pantalla.
•
La estación o el servicio de TV cable están con problemas;
Pruebe con otra otra estación o llame a su compañía de cable.
• Revise las conexiones de la antena y reoriente la
antena.
• Determine si hay posibles fuentes de interferencia.
• Asegúrese de que el modo TV/CABLE esté ajustado a
la posición apropiada en la selección de menú de la
pantalla.
• Si está usando una antena, revise las conexiones de la
antena de UHF.
• Las pilas están débiles o agotadas, o han sido
insertadas en forma incorrecta.
• El remoto está fuera de la gama, acérquese al TV
dentro del entorno de (15 pies).
• Asegúrese de apuntar la unidad de control remoto
hacia el sensor de control remoto.
• Verifique que no haya obstáculos entre la unidad de
control remoto y el televisor.
• Asegúrese de que el cable de alimentación esté
conectado.
• La estación sintonizada no está transmitiendo.
• El temporizador de desactivación automática ha sido
activado.
• El suministro de energía se ha interrumpido.
• Seleccione el idioma en el menú de opciones.
Aparecen barras
horizontales o
verticales en la
pantalla.
La recepción no
es posible más
allá del canal
13.
El televisor se
apaga.
La función de
subtítulo
cerrado no es
activada.
La lengua
deseada no se
muestra.
La recepción
Cable TV no es
posible.
El televisor no
puede ser
operado a
control remoto.
• Estación de TV está experimentando problemas o
programa sintonizado no es en modo de subtítulo
cerrado. Pruebe en otro canal.
• Asegúrese de conexión de Cable TV o antena VHF/
UHF. Reposición o gire antena.
• Precione CAP/TEXT para encender la codificador de
subtítulo cerrado.
Alimentación de CA:
Consumo de CA:
Tubo de imagen:
Potencia nominal de salida de audio:
Altavoz:
Tipo de sintonizador:
Unidad de control remoto:
Canales de recepción:
Impedancia de entrada de antena:
Entradas:
Dimensiones:
Peso:
120V, 60 Hz
En funcionamiento: 73 Vaitos
En espera: 3 Vaitos
19 Pulgadas (480mm diagonalmente) (EI tamaño de pantalla es aproximado.)
1,5 watts
3", (76 mm) gama completa, 8 ohmios
Sintetizador de frecuencias PLL a cuarzo para 181 canales
Infrarroja, de acceso directo, 2 pilas AAA (suministradas)
VHF 2-13
UHF 14-69
Cable TV 01-97 (5A)-(A-3)
98-99 (A-2)-(A-1)
14-22 (A)-(I)
23-36 (J)-(W)
37-65 (AA)-(FFF)
66-125 (GGG)-(125)
Entrada coaxial de 75 ohmios (VHF/UHF)
Video: 1,0 Vp-p 75 ohmios
Audio: 300 mV, 47k ohmios
Ancho: 19-3/16" (488 mm)
Alto: 16-3/8" (416 mm)
Fondo: 18-5/16" (465mm)
38,6 Ibs (17,5 kg)
ESPECIFICACIONES
ACCESORIOS
Control remoto con 2 pilas “AAA”
•Presione CAP/TEXT para desactivar el modo de
Leyenda cerrada.
Cuadro negro
en la pantalla.
• Este modelo cumple con las especificaciones indicadas abajo.
• El diseño y la especificación están sujetos a cambios sin aviso.
• Este modelo no puede ser compatible con las funciones y/o especificaciones que puedan agregarse en el futuro.
3X30321A[S] P09-12 22/12/05, 4:39 PM12

13
MEMO
3X30321A[S] P13-Back 22/12/05, 4:39 PM13

14
GameTimer es una marca comercial de Toshiba America Consumer Products, L.L.C.
IMPRESO EN TAILANDIA
LATIN AMERICAN DIVISION
SIERRA CANDELA #111-6TO. COL. LOMAS DE CHAPULTEPEC
MEXICO D.F. C.P. 11000
TEL: (5) 540-1008 (D.F), (800)-712-6764 (OUTSIDE D.F.)
1900 NORTHWEST 84th AVENUE
MIAMI, FL 33126 TEL: 305-470-9355
3X30321A[S] P13-Back 22/12/05, 4:39 PM14