Tp Link Tl Ant2414B Quick Installation Guide ®
Tl-Ant2414B Ug TL-ANT2414B_UG TL-ANT2414B_UG _r static.tp-link.com 3:
Tl-Ant2414B Ug TL-ANT2414B_UG TL-ANT2414B_UG resources static.tp-link.com 3:
2015-06-09
: Tp-Link Tp-Link-Tl-Ant2414B-Quick-Installation-Guide-745574 tp-link-tl-ant2414b-quick-installation-guide-745574 tp-link pdf
Open the PDF directly: View PDF
.
Page Count: 6

User Guide
TL-ANT2414B
2.4GHz 14dBi Outdoor Directional Antenna
71065500
REV:1.0.0

1
COPYRIGHT & TRADEMARKS
Specifications are subject to change without notice.
is a registered trademark of TP-LINK TECHNOLOGIES CO., LTD.
Other brands and product names are trademarks or registered
trademarks of their respective holders.
No part of the specifications may be reproduced in any form or by
any means or used to make any derivative such as translation,
transformation, or adaptation without permission from TP-LINK
TECHNOLOGIES CO., LTD. Copyright © 2008 TP-LINK
TECHNOLOGIES CO., LTD. All rights reserved.

2
Specification
Electrical Properties:
¾ Frequency Range: 2.4GHz ~ 2.5GHz
¾ Impedance: 50Ω Nominal
¾ VSWR: 1.92 Max.
¾ Return Loss: -10dB Maximum
¾ Radiation: Directional
¾ Gain: 14dBi
¾ Admitted Power: 1W
Physical Properties:
¾ Cable: CFD-200 Coaxial Cable
¾ Antenna Cover: ABS
¾ Operating Te m p : -20℃ ~ +65℃
¾ Storage Temp: -30℃ ~ +75℃
¾ Color: Gray
¾ Connector: N-Type Jack (Female)
Website: http://www.tp-link.com

3
Field Pattern

4
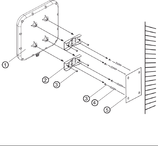
Installation
There are two methods to install the antenna:
1. Wall Mounting
① Antenna 1 pc
② Holder 2 pc
③ Screws 8 pcs
④ Plastic Fixings 4 pcs
⑤ Sticker 1 pc

5
2. Pole Mounting
① Antenna 1 pc
② Holder 2 pc
③ Screws 4 pcs
④ Hose Clamp 2 pc