TranSystem 960710101 2.5 GHz Integrated CPE Transmitter User Manual UserMan20081008
TranSystem 2.5 GHz Integrated CPE Transmitter UserMan20081008
UserMan20081008

M
MM
MD
DS
S 
Transmitter 
Operation Manual  
Copyright 2007, TRANSYSTEM, INC. 
All rights reserved 
TRANSYSTEM INC. 
No.1-2 Li-Hsin Rd.I Science-Based          
Industrial Park, Hsinchu, Taiwan             
Tel:+886-3-5780393 Fax:+886-3-5784111            
e-mail: sales@transystem.com.tw           
website: www.transystem.com.tw   
8029607101A

 2
*Contact Us: 
The Headquarter 
Tel : + 886-3-578-0393 
Fax: + 886-3-578-4111 
Website: http://www.transystem.com.tw 
E-mail: sales@transystem.com.tw 
Address:  NO. 1-2, LI-HSIN RD.I, SCIENCE-BASED INDUSTRIAL PARK, HSINCHU, 
TAIWAN 

 3
TABLE  OF  CONTENTS 
Chapter 1.  General Information  4 
  1.1 Module Features and Specifications  4 
Chapter 2.  Installation  5 
  2.1 Step by Step Installation  5 
  2.2 Connection to the Power Inserter and Cable Modem  8 
 2.3 Waterproofing Connections  10 
Chapter 3.  Accessories  12 
 3.1 MMDS Antenna  12 

 4
Chapter 1. General Information 
1.1 Module Features and Specifications 
  PLC100   PLC200  
Input Frequency  22~34 MHz    12~42 MHz   
Output 
Frequency   
2170~2182MHz    
2500~2530MHz   
Output 1 dB 
Compression 
Point  
24dBm Typ.    24dBm Typ.   
Output 
Transmitting 
Noise 
-122dBm/Hz Max  -116dBm/Hz Max  
Output Spurious 
(+22dBm TX Out)  -60dBc Max    -60dBc Max   
Output Power 
Blanking 
Threshold 
-40dBm±1dB   -40dBm±1dB   
TX Switching 
Latency  <1.2uS   <1.2uS  
LO Stability  ±10kHz   ±10kHz   
Phase Noise  <- 65 dBc/Hz @100Hz 
-85 dBc/Hz @lKHz 
-90 dBc/Hz@10kHz 
-95 dBc/Hz@100kHz 
 <- 65 dBc/Hz @100Hz 
-85 dBc/Hz @lKHz 
-90 dBc/Hz@10kHz 
-95 dBc/Hz@100kHz 
Input and Output 
Return Loss  6.0dB min    6.0dB min   
Input Impedance  F-type 75 ohms    F-type 75 ohms   
Output 
Impedance  Dipole or N-type 50 
ohms    Dipole or N-type 50 
ohms   
Supply Voltage  +15VDC to +24VDC    +15VDC to +24VDC   
Supply Current  350 mA max    350 mA max   
Temperature  -10 ~ +70℃  -10 ~ +70℃  
Humidity  100% weatherproof    100% weatherproof   
Lightning & 
Surge Protection  Meets IEEE 
specifications   Meets IEEE 
specifications   
Note: Typical value @25℃, unless otherwise specified. Technical specifications are 
subject to change without prior notice. 

 5
Chapter 2. Installation 
2.1 Step by Step Installation 
2.1.1 Mounting Bracket Assembly Suite 
The following hardwares are suggested for mounting the Transmitter to 
the pole. A set of mounting bracket includes ONE 2511 mounting bracket, 
ONE bracket 3, ONE bracket 2, TWO screws 4013, and FOUR hex flange 
nuts. Please contact TSI sales department for this accessory.   

 6
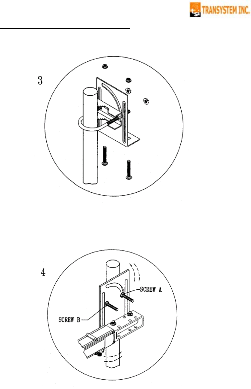
2.1.2 Step by Step Installation 
 Step 1 – Attach sequence   
Left to right: Bracket 3, Bracket 2, and 2511 Mounting Bracket. 
Step 2 – How to Attach 
The concave of Bracket 2 is for holding onto the pole. 

 7
Step 3 – Tighten the bracket against pole 
Step 4 – Installation Complete 
Loosen Screws A & B for left-and-right and up-and-down angle adjustments. 
Tighten up Screws A & B after fixing the directions. 

 8
   2.2 Connection to the Power Inserter and Cable Modem 
 Connections to the Transmitter are shown in diagram 2.2. Please note: 
 ① The power inserter normally has 3 ports: 
DC  Connect to wall adapter with RG-59 cable 
ANT  Connect to the Transmitter   
TV  Connect to Cable modem 
   VERY IMPORTANT NOTICE! 
  a. The power inserter should be correctly connected, or the Transmitter 
will not operate. 
   b. Ensure that all wires and cables are hooked up before plugging into 
the AC adapter/power supply (i.e. you must hook up the power supply 
last).  

 9
② After connection, the F connector of Transmitter must be sealed with an 
asphalt sealing tape. (For details, please refer to Section 2.3 Waterproofing 
Connections) 
    Diagram 2.2: Connection to Cable modem & Power Inserter   

 10
2.3 Waterproofing Connections 
Water-proofing is very important during installation of Transmitter. 
Please use the included water-proof asphalt tape to seal off the 
F-connector as shown below: 
 ① After you plug in the coaxial cable into the F-connector, use the included 
water-proofing asphalt tape to seal off the F-connector from the bottom (i.e. 
the part close to Transmitter). Note that the tape must wrap up all the thread 
of the F-connector. 
② The wrap up of the tape must be tight and sturdy. Each wrap-around must 
cover at least 50% width of the previous wrap-around. 

 11
③ The total width of the wrap-around is about 6cm, which corresponds to 7 
to 8 rounds of tapes. 
* Warning: If you do not follow the above procedure, the Transmitter could 
become malfunctioning due to water leakage. 
FCC Notices 
This device complies with Part 15 of the FCC Rules. Operation is subject to the condition 
that this device does not cause harmful interference. 
CAUTION: Change or modification not expressly approved by the party responsible for 
compliance could void the user’s authority to operate this equipment. 
This equipment must be installed and operated in accordance with provided instructions 
and the antenna(s) used for this transmitter must be installed to provide a separation 
distance of at least 20 cm from all persons and must not be co-located or operating in 
conjunction with any other antenna or transmitter. End-users and installers must be 
provide with antenna installation instructions and transmitter operating conditions for 
satisfying RF exposure compliance. 
        This  equipment  has  been  tested  and  found to comply with the limits for a Class B 
digital device, pursuant to Part 15 of the FCC Rules. These limits are designed to provide 
reasonable protection against harmful interference in a residential installation. This 
equipment generates, uses and can radiate radio frequency energy and, if not installed 
and used in accordance with the instructions, may cause harmful interference to radio 
communications. However, there is no guarantee that interference will not occur in a 
particular installation. If this equipment does cause harmful interference to radio or 
television reception, which can be determined by turning the equipment off and on, the 
user is encouraged to try to correct the interference by one or more of the following 
measures: 
--Reorient or relocate the receiving antenna. 
--Increase the separation between the equipment and receiver. 
--Connect the equipment into an outlet on a circuit different from that to which the receiver 
is connected. 
--Consult the dealer or an experienced radio/TV technician for help. 
CAUTION: 
Any changes or modifications not expressly approved by the grantee of this device could 
void the user's authority to operate the equipment.  

P
PL
LC
C-
-2
20
00
0 
Rev: 0.7 
Overview
PLC-200 is TSI’s latest offering for 2-way 
wireless broadband Internet application. It 
accepts an IF signal of 12~42MHz from cable 
modem, upconverts the signal to 2500~2530MHz 
and transmits it back to the MMDS headend site.  
With a built-in automatic on/off switch,  PLC-200 
will enter sleep mode to eliminate broadband 
noise when there is no data packet transmission. 
Without exception, PLC-200 embodies the long 
term stability and reliability common to all TSI 
products.  
Together with TSI’s high quality downconverters, 
PLC-200 provides the best cost / performance 
solution for your 2-way MMDS operation.  
Key Features 
• QPSK, 16 QAM Transmission Compatible 
• Automatic On/Off switch 
• Up to 50Km cell coverage 
• Integrated dipole, saves a passive dipole 
• Easy installation with various antennas 
• Low phase noise 
• High frequency stability 
• Low power consumption 
• Meet FCC spectral mask requirement  
• Light-weighted, saves shipping cost 
• RoHS compliant 
Application 
• MMDS CPE Internet access 
TRANSYSTEM INC. 
An A
+
 supplier of RF microwave & GPS products
