Tricity Bendix Tbd950 Users Manual
TBD950 to the manual 8ff730ce-d18f-4412-a8c2-2ed38e036e5d
2015-02-03
: Tricity-Bendix Tricity-Bendix-Tbd950-Users-Manual-459975 tricity-bendix-tbd950-users-manual-459975 tricity-bendix pdf
Open the PDF directly: View PDF
.
Page Count: 36

BUILT IN ELECTRIC COOKER
TBD950
PLEASE READ THIS INSTRUCTION BOOKLET BEFORE USING THE APPLIANCE
OPERATING & INSTALLATION
INSTRUCTIONS

2
IMPORTANT SAFETY INFORMATION
These warnings are provided in the interests of your
safety. Ensure that you understand them all before
installing or using the appliance. Your safety is of
paramount importance. If you are unsure about any
of the meanings of these warnings contact the
Customer Care Department.
INSTALLATION
The appliance must be installed according to the
instructions supplied. The installation work must be
undertaken by a qualified electrician or competent
person.
The appliance should be serviced by an authorised
Service Engineer and only genuine approved spare
parts should be used.
The appliance must be installed in an adequately
ventilated room.
If the appliance is to be placed on a base, measures
must be taken to prevent the appliance from slipping
from the base.
Do not attempt to lift or move this appliance by the
handles.
All packaging, both inside and outside the appliance
must be removed before the appliance is used.
It is dangerous to alter the specifications or modify
the appliance in any way.
After installation please dispose of the packaging
with due regard for safety and the environment. Your
local authority can arrange this.
CHILD SAFETY
Do not allow children to play with any part of the
packaging.
Do not allow children to sit or climb on the drop down
doors.
This appliance is not intended for use by children and
other persons whose physical, sensory or mental
capabilities or lack of experience and knowledge
prevents them from using the appliance safely
without supervision or instruction by a responsible
person to ensure that they can use the appliance
safely.
Children should be supervised to ensure that they do
not play with the appliance.
CAUTION: Accessible parts may be hot when the
grill is in use. Young children should be kept
away.
DURING USE
This appliance is not intended to be operated by
means of an external timer or separate remote
control system.
This appliance has been designed for domestic use
to cook edible foodstuffs only and must not be used
for any other purposes.
Take great care when heating fats and oils as they
will ignite if they become too hot.
Never place plastic or any other material which may
melt in or on the oven.
Do not leave the grill pan handle in position when
grilling as it will become hot.
Always support the grill pan when it is in the
withdrawn or partially withdrawn position.
Always use oven gloves to remove and replace the
grill pan handle when grilling.
Always use oven gloves to remove and place food in
the oven.
During use the appliance becomes hot. Care should
be taken to avoid touching heating elements inside
the oven.
Ensure that all vents are not obstructed to ensure
ventilation of the oven cavity.
Never line any part of the appliance with foil.
Always stand back from the appliance when opening
the doors to allow any build up of steam or heat to
release.
Never leave the appliance unattended when the
oven door is open.
Do not place sealed cans or aerosols inside the
oven. They may explode if they are heated.
Ensure that all control knobs are in the OFF position
when not in use.
Do not stand on the appliance or on the open oven
doors.
Do not hang towels, dishcloths or clothes from the
appliance or its handles.
Do not use this appliance if it is in contact with water.
Never operate it with wet hands.
CLEANING AND MAINTENANCE
For hygiene and safety reasons this appliance
should be kept clean at all times. A build-up of
fats or other foodstuffs could result in a fire
especially in the grill pan.
Do not leave the cookware containing foodstuffs,
e.g. fat or oil in the appliance in case it is
inadvertently switched on.
Always allow the appliance to cool before switching
off at the wall prior to carrying out any cleaning /
maintenance work.
Only clean this appliance in accordance with the
instructions given in this book.
Never use steam or high pressure steam cleaners to
clean the appliance.
AT THE END OF THE APPLIANCE'S LIFE
The symbol on the product or on its packaging
indicates that this product may not be treated as
household waste. Instead it shall be handed over to
the applicable collection point for the recycling of
electrical and electronic equipment. By ensuring this
product is disposed of correctly, you will help prevent
potential negative consequences for the environment
and human health, which could otherwise be caused
by inappropriate waste handling of this product. For
more detailed information about recycling of this
product, please contact your local city office, your
household waste disposal service or the shop where
you purchased the product.

3
CONTENTS
Important Safety Information 2
Description of the Appliance 4
Getting to Know Your Appliance 5
The Control Panel 5
Before Using the Appliance 6
Rating Plate 6
Preparing to Use your Appliance 6
The Cooling Fan for the Controls 6
Control Panel Indicator Neon(s) 6
Condensation and Steam 6
Cookware 6
Grill and Oven Furniture 6
The Electronic Timer 7
The Dual Grill 10
Using the Dual Grill 10
Things to Note 10
The Grill Pan and Handle 10
Hints and Tips 10
Grilling Chart 11
The Top Oven 12
Using the Top Oven 12
Things to Note 12
To Fit the Top Oven Shelves 12
Hints and Tips 13
The Main Oven 14
Using the Main Oven 14
Things to Note 14
To Fit the Main Oven Shelves 14
Hints and Tips 15
Oven Cooking Chart 16
Oven Roasting Chart 17
Defrost Feature 18
Using Defrost Feature 18
Selecting Defrost 18
Things to Note 18
Hints and Tips 18
Care and Cleaning 19
Cleaning Materials 19
Cleaning the Outside of the Appliance 19
Removing and Replacing Wirework Runners 19
Cleaning Inside the Ovens 20
Cleaning the Doors 20
Cleaning the Grill and Oven Furniture 22
Replacing an Oven Light Bulb 22
Something Not Working? 23
Service and Spare Parts 24
Guarantee Conditions 25
Technical Details 26
Installation Instructions 27
Warnings 27
Things To Note 27
Choice Of Electrical Connection 28
Preparing Cabinet For Fitting Of Oven 28
Recommended Cabinet Dimensions 29
How To Finish Unpacking 30
To Remove Cover Of Mains Terminal 30
Connecting To The Mains Terminal 31
Checking Electrical Connections 31
Connecting To A Hob Or Cooker Point 31
Fitting Into The Cabinet 32
Notes 33
To help you the following symbols will be found in
the text.
Hints and Tips
Safety Instructions
Please read the instruction book carefully
before use and retain for future reference.

4
DESCRIPTION OF THE APPLIANCE
BUILT-IN ELECTRIC DOUBLE OVEN
Main Oven
Control Panel
Electronic Timer
Top Oven/Grill

5
GETTING TO KNOW YOUR APPLIANCE
THE CONTROL PANEL
A - Main Oven Temperature Control
B - Main Oven Indicator Neon
C - Top Oven /Grill Temperature Control
D - Electronic Timer
E - Top Oven/Grill Function Selector
F - Top Oven/Grill Function Selector Indicator Neon
B C
E
D
A F

6
BEFORE USING THE APPLIANCE
RATING PLATE
This is situated on the lower front frame of the
appliance and can be seen upon opening the door.
Alternatively the rating plate may also be found on
the back or top of some models (where applicable).
The appliance must be protected by a suitably rated
fuse or circuit breaker. The rating of the appliance is
given on the rating plate.
Do not remove the rating plate from the appliance
as this may invalidate the guarantee.
PREPARING TO USE YOUR APPLIANCE
Wipe over the base of the oven(s) with a soft cloth
and hot soapy water and wash the furniture before
use. We suggest that you run the oven elements for
10 – 15 minutes at 220°C to burn off any residue
from their surfaces. The procedure should be
repeated with the grill for approximately 5 – 10
minutes. During this period and odour may be
emitted, it is therefore advisable to open a window for
ventilation.
THE COOLING FAN FOR THE CONTROLS
The cooling fan comes on immediately when the grill
is switched on and after a short time when the oven
is in use. It may run on after the controls are
switched off until the appliance has cooled. During
the initial period the cooling fan may turn ON and
OFF, this is quite normal.
Always allow the cooling fan to cool the
appliance down before switching off at the
wall prior to carrying out any cleaning or
maintenance work.
CONTROL PANEL INDICATOR NEON(S)
The indicator neon will operate when the grill (where
applicable) or oven(s) is switched on. The indicator
neon will glow. It may turn on and off during use to
show that the setting is being maintained. If the neon
does not operate as the instructions indicate the
controls have been incorrectly set. Return all
controls to zero and reset following the instructions
for the required setting.
CONDENSATION AND STEAM
When food is heated it produces steam similar to a
boiling kettle. The vents allow some of this steam to
escape. However, always stand back from the
appliance when opening the door(s) to allow any
build up of steam or heat to release.
If the steam comes into contact with a cool surface
on the outside of the appliance, e.g. a trim, it will
condense and produce water droplets. This is quite
normal and is not caused by a fault on the appliance.
To prevent discolouration, regularly wipe away
condensation and also soilage from surfaces.
COOKWARE
Baking trays, dishes etc., should not be placed
directly against the grid covering the fan at the back
of the oven.
Do not use baking trays larger than 30cm x 35cm
(12” x 14”) as they will restrict the circulation of heat
and may affect performance.
GRILL AND OVEN FURNITURE
The following items of grill and oven furniture have
been supplied with the appliance.
1 grill pan
1 grill pan handle
1 grill pan grid
1 straight shelf
(for grilling only)
2 straight shelves
(for fan oven cooking)

7
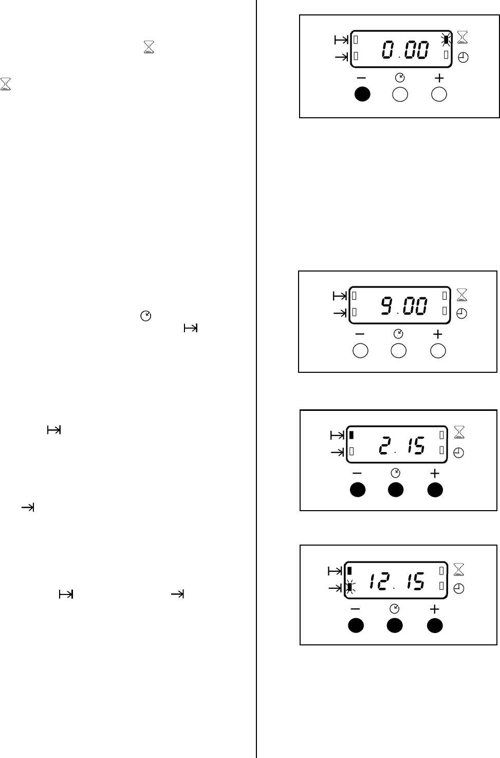
ELECTRONIC TIMER
KEY
A COOK TIME
B END TIME
C COUNTDOWN
D TIME
E DECREASE CONTROL
F SELECTOR CONTROL
G INCREASE CONTROL
NOTE:
The time of day must be set before the main oven
will operate manually.
1. HOW TO SET THE TIME OF DAY
The oven has a 24 hour clock.
When the electricity supply is first switched ON, the
display will show 12.00 and the 'Time' ( ) indicator
neon will flash as Fig. 1.
To set the correct time press the increase control
button ( + ) and if necessary, the decrease control
button ( - ) until the correct time on the 24 hour clock
is reached, e.g. 10.00am as Fig.2. The 'Time'
indicator neon ( ) will flash for 5 seconds and then
go out.
Note: The increase and decrease control buttons
operate slowly at first, and then more rapidly.
They should be pressed separately.
2. HOW TO SET THE COUNTDOWN
The 'Countdown' gives an audible reminder at the
end of any period of cooking. This cooking period
may be up to 2 hrs 30 mins. It is not part of the
automatic control.
To set, press the Selector Control button ( ) until
the 'Countdown' indicator neon ( ) is illuminated the
display reads 0.00 as Fig.3.
To set the correct time duration depress the increase
control ( + ) until the display indicates the interval to
be timed, e.g. 1hr 45 mins as Fig. 4. If necessary
depress the decrease control ( - ) to achieve the
correct time interval.
NOTE: This must be completed within 5 seconds
of first pressing the Selector Control button.
During the operation of the 'Countdown', the
remaining time period will be shown in the display.
The 'Countdown' will sound intermittently for up to 2
minutes at the end of the timed period. The sound
can be stopped by pressing any button.
G F E
D
C
B
A
Fig.3.
Fig.4.
Fig.2.
Fig.1.

8
TO CANCEL THE COUNTDOWN
If you change your mind and want to cancel the
'Countdown', press the Selector Control button until
the 'Countdown' indicator neon ( ) flashes and then
the decrease control ( - ) until 0.00 shows in the
display as Fig. 5. The 'Countdown' indicator neon
( ) will continue to flash for a few seconds and then
return to the time of day.
3. SETTING THE OVEN TIMER
CONTROL
The main oven only can be automatically timed.
When using the timer control for the very first time, it
is advisable to let it operate while you are at home.
The displays can be checked to show that it is
operating correctly and you will feel confident to
leave a meal to cook automatically in the future.
A) TO SET THE TIMER TO SWITCH ON
AND OFF AUTOMATICALLY
i) Ensure the electricity supply is switched ON and
that the correct time of day is displayed, e.g.
9.am. as Fig. 6.
ii) Place food in the oven.
iii) To set the length of cooking time, press the
Selector control button ( ) until the 'Cook
Time' indicator neon is illuminated ( ). Press
the increase control ( + ) until the required length
of cooking time is displayed, e.g. 2 hrs 15 mins
as Fig. 7. If necessary depress the decrease
control ( - ) until the correct time interval is
achieved.
The maximum cooking time is 10 hours.
iv) Release the buttons. The 'Cook Time' indicator
neon ( ) will be illuminated.
Remember, this must be completed within 5
seconds of first pressing the Selector Control
button.
v) To set the 'End Time'. Press the Selector
Control button until the 'End Time' indicator neon
( ) flashes. Press the increase control ( + )
until the required stop time is displayed, e.g.
12.15 p.m. as Fig. 8. If necessary press the
decrease control ( - ) until the correct time
interval is achieved.
vi) Release the buttons. The time of day will be
displayed after 5 seconds. The 'Cook
Time' ( ) and 'End Time' ( ) indicator
neons will be illuminated.
The 'End Time' must not be more than 23 hours
59 minutes from the time of day. For example, if
the time of day is 09.00 a.m., the latest 'End
Time' would be 08.59 a.m. the next day.
vii) Set the main oven control to the required
temperature. The oven indicator neon should be
OFF.
NOTE: When the automatic timed period starts,
the oven indicator neon will glow. It may turn on
and off during use to show that the setting is
being maintained.
Fig.5.
Fig.6.
Fig.7.
Fig.8.

9
B)TO SET THE TIMER TO SWITCH OFF
ONLY
i) Ensure the electricity supply is switched ON and
that the correct time of day is displayed, e.g.
10.00am as Fig. 9.
ii) Place food in the oven.
iii) To set the length of cooking time, press the
Selector Control button until the 'Cook Time'
( ) indicator neon is illuminated. Press the
increase control ( + ) until the required length of
cooking time is displayed, e.g. 2 hrs 15 mins as
Fig. 10. Depress the decrease control ( - ) if
necessary.
iv) Release the buttons. The 'Cook Time' indicator
neon ( ) will illuminate and the time of day will
be displayed after 5 seconds.
v) Set the oven temperature. The oven indicator
neon should be ON.
vi) To check the 'End Time' during the cooking
period, simply press the Selector Control button
once and the remaining time will be displayed, as
Fig. 11.
4. TO CANCEL AN AUTOMATIC
PROGRAMME
i) To cancel an automatic programme press the
Selector Control button until the 'Cook Time'
indicator neon ( ) flashes. Press the decrease
control ( - ) until the display reads 0.00 as Fig. 12.
ii) Release the buttons. The 'Cook Time' indicator
neon ( ) will flash and after 5 seconds return to
the time of day.
iii) Turn off the oven controls.
5. TO RETURN THE APPLIANCE TO
MANUAL
At the end of a timed cooking period, the indicator
neon will flash and an alarm will sound for up to 2
minutes.
i) To stop the sound press any of the three buttons,
as Fig. 13.
ii) The display will return to the time of day.
iii) Turn off the oven controls.
6. THINGS TO NOTE
In the event of an interruption of the electricity
supply, the timer will reset itself to zero, and all
programming will be cancelled.
7. AUTOMATIC COOKING
It is advisable to leave food in the oven for as
short a time as possible before automatic cooking.
Always ensure commercially prepared food is well
within its use by date and that home prepared
food is fresh and of good quality.
When cooking is complete, do not leave food to
stand in the oven, but remove and cool it quickly if
the food is not to be consumed immediately.
Always ensure food in the oven has been covered
before cooking if it is not possible to remove food
immediately after cooking.
Fig.9.
Fig.10.
Fig.11.
Fig.12.
Fig.13.

10
THE DUAL GRILL
CAUTION – Accessible parts may be hot
when the grill is in use. Young children
should be kept away.
The grill is a dual circuit grill which means that the full
area of the grill can be used, or for economy
purposes, the centre section only can be used when
cooking smaller quantities of food.
USING THE DUAL GRILL
• To operate the grill turn the top oven/grill function
selector to full grill.
• Turn the top oven/grill function selector to centre
section only.
• Turn the top oven/grill temperature control knob
to the right as far as it will go. This is the hottest
setting.
• To use the grill at lower settings, turn the
temperature control knob to 100°C or 150°C.
THINGS TO NOTE
• The oven light will illuminate.
• The cooling fan for the controls may operate after
a time.
• The dual grill operates independently of the oven.
• The grill may be used with the door open or with
the door closed.
THE GRILL PAN AND HANDLE
The grill pan has a removable handle.
To insert the handle, press the button on the handle
with the thumb and pivot slightly upwards inserting
the lip into the widest part of the bracket. Move the
handle towards the left, lower into position and
release the button.
Ensure the handle is properly located.
To remove the handle, press the button on the
handle with the thumb and pivot the handle slightly
upwards and towards the right to remove from the
bracket.
Protect your hands when removing the grill
pan handle.
Always remove the grill pan handle during
grilling.
To check the progress of the food being grilled, the
grill pan should be withdrawn on the shelf to attend to
food during cooking.

11
HINTS AND TIPS
• Most foods should be placed on the grid in the
grill pan to allow maximum circulation of air to lift
the food out of the fats and juices.
• Adjust the grid and grill pan runner position to
allow for different thicknesses of food. Position
the food close to the element for faster cooking
and further away for more gentle cooking.
• Food should be thoroughly dried before grilling to
minimise splashing. Brush lean meats and fish
lightly with a little oil or melted butter to keep
them moist during cooking.
• Accompaniments such as tomatoes and
mushrooms may be placed underneath the grid
when grilling meats.
• When toasting bread, use the shelf in position 1
with the grid in the ‘high’ position.
• Preheat the grill for a few minutes before sealing
steaks or toasting. Adjust the shelf as necessary
during cooking.
• The food should be turned over during cooking
as required.
GRILLING CHART
FOOD POSITION GRILL TIME
(mins in total)
Bacon Rashers 5 - 6
Beefburgers 10 - 15
Chicken Joints 30 - 40
Chops – Lamb 15 - 20
Pork 20 - 30
Fish – Whole
Trout/Mackerel 15 - 25
Fillets -
Plaice/Cod 10 - 15
Kebabs 20 - 30
Kidneys –
Lamb/Pig 8 - 12
Liver –
Lamb/Pig 10 - 20
Sausages 20 - 30
Steaks – Rare 6 - 12
Medium 12 - 16
Well Done 14 - 20
Toasted
Sandwiches
Adjust
grill
pan
grid
to
suit
different
thicknesses
of
food
3 - 4
The times quoted above are given as a guide and
should be adjusted to suit personal taste.

12
THE TOP OVEN
The top oven is the smaller of the two ovens. It is
heated by elements in the top and bottom of the
oven. It is designed for cooking smaller quantities of
food. It gives especially good results if used to cook
fruit cakes, sweet or savoury flans or quiche.
The top oven is also ideal for use as a warming
compartment to warm dishes and keep food hot.
Use the top oven when you want to warm plates.
Use the lowest setting on the top oven temperature
control.
USING THE TOP OVEN
• Turn the top oven/grill function selector to.
• Turn the top oven/grill temperature control to the
required setting.
THINGS TO NOTE
• The oven light will illuminate.
• The indicator neon will glow. It may turn ON and
OFF during use to show that the setting is being
maintained.
• The cooling fan for the controls may operate after
a time.
Do not place dishes, tins and trays directly
on the oven base as it becomes very hot
and damage will occur.
TO FIT THE TOP OVEN SHELF
The shelf should be fitted with the straight rods
uppermost on the frame and the forms towards the
back of the oven. To remove a shelf slide the shelf
towards you until the shelf stop is reached. Tilt shelf
up at the front so that the stops clear the side
supports. Lift shelf clear. To install a shelf, reverse
the above steps. Each shelf position has an upper
and lower support wire, ensure the shelf is placed
between these two support wires.

13
HINTS AND TIPS
• Arrange the shelf in the required position before
switching the oven ON. Shelf positions are
counted from the bottom upwards.
• There should always be at least 2.5cm (1”)
between the top of the food and the element.
This gives best cooking results and allows room
for rise in yeast mixtures, Yorkshire puddings etc.
When cooking cakes, pastry, scones bread etc.,
place the tins or baking trays centrally on the
shelf.
• Ensure that food is placed centrally on the shelf
and there is sufficient room around the baking
tray/dish to allow for maximum circulation.
• Stand dishes on a suitably sized baking tray on
the shelf to prevent spillage onto the oven base
and to help reduce cleaning.
• The material and finish of the baking tray and
dishes used will affect the degree of base
browning. Enamelware, dark, heavy or non-stick
utensils increase base browning. Shiny
aluminium or polished steel trays reflect the heat
away and give less base browning.
• Do not place baking trays directly on the oven
base as it interferes with the oven air circulation
and can lead to base burning; use the lower shelf
position.
• Because of the smaller cooking space and lower
temperatures, shorter cooking times are
sometimes required.
• For economy leave the door open for the shortest
possible time, particularly when placing food into
a pre-heated oven.
Do not place cookware and cooking pots
with rough bases e.g. cast iron on the oven
door as damage to the glass may occur.

14
THE MAIN OVEN
The fan oven is particularly suitable for cooking larger
quantities of food. The advantages of fan oven
cooking are:
PREHEATING
The fan oven quickly reaches its temperature, so it is
not usually necessary to preheat the oven. Without
preheating however, you may find you need to add
an extra 5 – 10 minutes on the recommended
cooking times. For recipes needing high
temperatures, e.g. bread, pastries, scones, soufflés
etc., best results are achieved if the oven is
preheated first. For best results when cooking frozen
or cooked chilled ready meals always preheat the
oven first.
COOKING TEMPERATURES
Fan oven cooking generally requires lower
temperatures than conventional cooking. Follow the
temperatures recommended in the cooking chart.
As a guide reduce temperatures by about 20C° -
25°C for your own recipes, using a conventional
oven.
BATCH BAKING
The fan oven cooks evenly on all shelf levels,
especially useful when batch baking.
USING THE MAIN OVEN
• Turn the main oven temperature control to the
required setting.
THINGS TO NOTE
• The oven light will illuminate.
• The indicator neon will glow. It may turn ON and
OFF during use to show that the setting is being
maintained.
• The cooling fan for the controls may operate after
a time.
• The oven fan will operate.
• If an automatic programme has been set, the
oven fan and light do not come on until cooking
begins.
TO FIT THE MAIN OVEN SHELVES
The shelves should be fitted with the straight rods
uppermost on the frame and the forms towards the
back of the oven. To remove a shelf slide the shelf
towards you until the shelf stop is reached. Tilt shelf
up at the front so that the stops clear the side
supports. Lift shelf clear. To install a shelf, reverse
the above steps. Each shelf position has an upper
and lower support wire, ensure the shelf is placed
between these two support wires.

15
HINTS AND TIPS
• Arrange the shelves in the required positions
before switching the oven on. Shelf positions are
counted from the bottom upwards.
• When cooking more than one dish in the fan
oven, place dishes centrally on different shelves
rather than cluster several dishes on one shelf,
this will allow the heat to circulate freely for the
best cooking results.
• When batch baking one type of food, e.g. Victoria
sandwich cakes, those of similar size will be
cooked in the same time.
• It is recommended that when baking larger
quantities the shelf positions should be evenly
spaced to suit the load being cooked. A slight
increase in cooking time may be necessary.
• Do not place baking trays directly on the oven
base as it interferes with the oven air circulation
and can lead to base burning; use the lower shelf
position.
Do not place cookware and cooking pots
with rough bases e.g. cast iron on the oven
door as damage to the glass may occur.

16
MAIN OVEN COOKING CHART
The oven temperatures are intended as a guide only. It may be necessary to increase or decrease the
temperatures by a further 10°C to suit individual preferences and requirements.
FAN OVEN
TOP OVEN
FOOD POSITION COOKING
TEMP °C POSITION COOKING
TEMP°C APPROX
COOK TIME (m)
Biscuits
Bread
Bread rolls/buns
Cakes: Small & Queen
Shelf
180 - 190
200 - 220
200 - 220
160 - 170
1
1*
1
1
170 - 190
200 - 220
200 - 220
180 - 190
10 - 20
25 - 30
15 - 20
18 - 25
Sponges 160 - 170 1 160 - 170 18 - 20
Victoria Sandwich positions 160 - 170 1 160 - 170 18 - 25
Madeira 140 - 150 1 140 - 150 1¼ - 1½h
Rich Fruit 130 - 140 1 140 - 150 2¼ - 2½h
Christmas are not 130 - 140 1 130 - 140 3 - 4½h
depends on size
Gingerbread 140 - 150 1 140 - 150 1¼ - 1½h
Meringues critical 90 - 100 1 90 - 100 2½ - 3h
Flapjack 170 - 180 1 170 - 180 25 - 30
Shortbread 130 - 140 1 140 - 150 45 - 65
Casseroles: Beef/Lamb but ensure 140 - 160 1* 140 - 160 2½ - 3h
Chicken 180 - 190 1* 180 - 190 1¼ - 1½h
Convenience Foods Follow manufacturer’s instructions
Fish that oven 170 - 190 1 170 - 190 20 - 30
Fish Pie (Potato Topped) 190 - 200 1* 190 - 200 20 - 25
Fruit Pies, Crumbles 190 - 200 1 190 - 200 40 - 50
Milk Puddings shelves 130 - 140 1 140 - 150 1½ - 2h
Pasta Lasagne etc. 190 - 200 1 170 - 180 40 - 45
Pastry: Choux are 190 - 200 1 180 - 190 30 - 35
Eclairs, Profiteroles 170 - 180 1 170 - 180 20 - 30
Flaky/Puff Pies 210 - 220 1* 210 - 220 25 - 40
Shortcrust Mince Pies evenly 190 - 200 1 190 - 200 15 - 20
Meat Pies 190 - 210 1* 190 - 210 25 - 35
Quiche, Tarts, Flans 180 - 210 1 180 - 200 25 - 45
spaced
Roasting Meat, Poultry 160 - 180 1* 160 - 180 see roasting chart
Scones when more 210 - 220 1 220 - 230 8 - 12
Shepherd’s Pie 190 - 200 1* 190 - 200 30 - 40
Soufflés 170 - 180 1 170 - 180 20 - 30
Vegetables: Baked Jacket Potatoes than one is 180 - 190 1 180 - 190 1 - 1½h
Roast Potatoes 180 - 190 1 180 - 190 1 - 1½h
Yorkshire Puddings: Large used 210 - 220 1 200 - 210 25 - 40
Individual 200 – 210
1
200 - 210 15 - 25
* = Shelf on the oven base
Note: Shelf positions are counted from the bottom of the oven.

17
ROASTING CHART
INTERNAL TEMPERATURES –
Rare : 50-60°C; Medium : 60-70°C; Well done : 70-80°C
MEAT TEMPERATURE COOKING TIME
Beef/ Beef boned 160-180°C 20-35 minutes per ½kg (1lb)
and 20-35 minutes over
Mutton/Lamb 160-180°C 25-35 minutes per ½kg (1lb)
and 25-35 minutes over
Pork/Veal/Ham 160-180°C 30-40 minutes per ½kg (1lb)
and 30-40 minutes over
Chicken 160-180°C 15-20 minutes per ½kg (1lb)
and 20 minutes over
Turkey/Goose 160-180°C 15-20 minutes per ½kg (1lb)
up to 3½kg (7lb) then 10
minutes per ½kg (1lb) over
3½kg (7lb)
Duck 160-180°C 25-35 minutes per ½kg (1lb)
and 25-30 minutes over
Pheasant 160-180°C 35-40 minutes per ½kg (1lb)
and 35-40 minutes over
Rabbit 160-180°C 20 minutes per ½kg (1lb)
and 20 minutes over
The roasting temperatures and times given in the chart should be adequate for most joints, but slight adjustments
may be required to allow for personal requirements and the shape and texture of the meat. However, lower
temperatures and longer cooking times are recommended for less tender cuts or larger joints.
Wrap joints in foil if preferred, for extra browning uncover for the last 20 – 30 min. cooking time.

18
DEFROST FEATURE
This function defrosts most foods faster than some
conventional methods. It is particularly suitable for
delicate frozen foods which are to be served cold e.g.
cream filled gateaux, cakes covered with icings or
frostings, cheesecakes, biscuits, scones, etc.
USING DEFROST FEATURE
Turn the main oven temperature control to the defrost
setting.
THINGS TO NOTE
• The oven fan and internal oven light will come
on.
HINTS AND TIPS
• Place the frozen food in a single layer where
possible and turn it over half way through the
defrosting process.
• The actual speed of defrosting is influenced by
room temperature. On warm days defrosting will
be faster than on cooler days.
• It is preferable to thaw fish, meat and poultry
slowly in the fridge. However, this process can
be accelerated by using the defrost function.
Small or thin fish fillets, frozen peeled prawns,
cubed or minced meat, liver, thin chops, steaks
etc., can be thawed in 1 – 2 hours.
• A 1kg/2¼lb oven ready chicken will be thawed in
approximately 5 hours. Remove the giblets as
soon as possible during the thawing process.
• Joints of meat up to 2kg/4½lb in weight can be
thawed using the defrost function.
• All joints of meat and poultry must be thawed
thoroughly before cooking.
• Always cook thoroughly immediately after
thawing.
• Do not leave food at room temperature once it is
defrosted. Cook raw food immediately or store
cooked food in the fridge, once it has cooled.
• Care must always be taken when handling foods
in the home. Always follow the basic rules of
food hygiene to prevent bacterial growth and
cross contamination when defrosting, preparing,
cooking, cooling and freezing foods.

19
CARE AND CLEANING
Before cleaning always allow the appliance to
cool down before switching off at the
electricity supply.
CLEANING MATERIALS
Before using any cleaning materials on your
appliance, check that they are suitable and that their
use is recommended by the manufacturer.
Cleaners that contain bleach should NOT be used as
they may dull the surface finishes. Harsh abrasives
and scourers should also be avoided as damage will
occur.
CLEANING THE OUTSIDE OF THE
APPLIANCE
Do not use abrasive cleaning materials e.g. Hob
Brite, Brillo pads or scourers on painted or printed
finishes as damage may occur.
Regularly wipe over the control panel, doors and
handles using a soft cloth and hot soapy water. To
prevent streaking finish with a soft cloth.
Stainless Steel cream cleaners are abrasive and
should be avoided as they may dull the surface
finish. Any spillage on the stainless steel finish
must be wiped off immediately.
Do not attempt to remove any of the control
knobs from the appliance as this may cause
damage and is a safety hazard.
Under no circumstances should the door
assembly be detached from the product for
cleaning.
REMOVING AND REPLACING WIREWORK
RUNNERS
Remove all shelves and furniture from the oven.
Hold the wirework at the bottom, unclip from the
cavity side and gently pull towards the centre of the
oven.
Unhook the runner at the top and remove from the
cavity.
To replace the runners, hook the wirework side
runner into the cavity, slide back and press into
place.
Ensure the wirework runners are firmly in
position before replacing the oven shelves.
CAVITY
CENTRE
SIDE PANEL

20
CLEANING INSIDE THE OVENS
The sides and back of the grill/second oven and main
oven compartments are coated with a special
Stayclean coating. They should not be cleaned
manually.
The vitreous enamel main oven base and grill
compartment base can be cleaned using normal
oven cleaners with care. Ensure that the
manufacturers instructions are followed and that all
parts are well rinsed afterwards.
Aerosol cleaners must not come into
contact with elements, the door seal, or any
painted finishes as this may cause damage.
HINTS AND TIPS
Aerosol cleaners must not be used on
Stayclean surfaces.
Stayclean surfaces destroy splashes of food and fats
when the oven temperature is raised to around 220°C.
It is a good idea to run the oven for an hour or two per
week to ensure continued good performance from the
Stayclean finish.
Slight discolouration and polishing of the Stayclean
surfaces may occur in time. This DOES NOT affect
the Stayclean properties in any way.
Use minimal, if any, extra oil or fat when roasting
meat, potatoes only require brushing with fat before
cooking. Extra fat in the oven during roasting will
increase splashing and soilage.
It is NOT necessary to add water to a meat tin when
roasting. The water and the fat juices from the joint
create excessive splattering during cooking – even at
normal temperatures, as well as causing
condensation.
Covering joints during cooking will also prevent
splashing onto the interior surfaces. Removing the
covering for the last 20-30 minutes will allow extra
browning if required. Some large joints and turkeys
especially benefit by this method of cooking, allowing
the joint to cook through before the outside is over-
browned.
CLEANING THE DOOR(S)
To prevent damaging or weakening the door
glass panels avoid the use of the following:
• Household detergents and bleaches
• Impregnated pads unsuitable for non-
stick saucepans
• Brillo/Ajax pads or steel wool pads
• Chemical oven pads or aerosols
• Rust removers
• Bath/Sink stain removers

21
The outer oven door glass panels are removable for
cleaning.
TO REMOVE THE OUTER DOOR GLASS
1. Open the oven door slightly to gain access to the
two cross head screws on the top of the oven
door.
2. Loosen the two screws using a Pozidrive
screwdriver.
3. Holding the door glass securely in place with one
hand remove the screws and washers with the
other hand.
The screws and washers retain the trim on the top
of the grill door. Note the position of the trim on
the door.
4. Holding the door and glass with one hand, gently
pull towards you and slightly lift the door glass
with the other hand to disengage the panel from
the location point at the bottom of the door.
Gently release the door to close it.
5. Clean the outer and inner glass using hot soapy
water or Hob Brite. Should the inner face of the
outer door glass be heavily soiled it is
recommended that soapy water with a high
concentration of soap is used. To prevent
streaking a glass cleaning spray may be applied
and the glass polished with a soft cloth. Ensure
that all parts are thoroughly dry before attempting
to replace the outer door glass.
If the door glass panel becomes chipped or
has deep scratches the glass will be
weakened and must be replaced to prevent
the possibility of the panel shattering.
Please contact your local Service Force
Centre who will be pleased to advise
further.
TO REPLACE THE OUTER DOOR GLASS
1. Holding the oven glass with both hands, gently
place the locators into the holes of the brackets
at the bottom of the oven door.
2. Holding the door glass with your left hand, use
your right hand to open the oven door.
Bring the door gently towards the glass panel
ensuring the screw location holes line up.
3. Place the trim in the correct position on the top of
the grill door.
4. Hold the glass in place with one hand and insert
the cross head screws with washers into the
location holes with the other hand. Give the
screws one turn to ensure the glass is secure.
5. Tighten the screws positively with a Pozidrive
screwdriver before closing the oven door.
Do not attempt to use the oven without the
glass being in place.

22
TO CLEAN THE INNER GLASS DOOR
The inner glass door is not removable. Clean using
hot soapy water or Hob Brite and a soft cloth. Do
not use abrasives as they may damage the glass or
seal.
CLEANING THE GRILL AND OVEN
FURNITURE
All removable parts, except the grill pan handle can
be washed in the dishwasher.
The grill pan, grill pan grid and oven shelves may be
cleaned using a soap impregnated steel wool pad.
Soaking first in hot soapy water will make cleaning
easier.
REPLACING AN OVEN LIGHT BULB
(MAIN OVEN)
The type of bulb required is a 300°C 25 watt small
Edison Screw.
Disconnect the appliance from the
electricity supply before replacing the bulb.
1. Make sure the appliance is cool before replacing
the bulb.
2. Open the oven door and remove the shelves and
wirework runners.
3. Pull the glass bulb cover towards you and then
pull it off. If necessary, use a screwdriver to
carefully lever off the cover, taking care not to
damage the oven cavity.
4. Unscrew the bulb by turning it to the left.
5. Fit a new bulb and then replace the glass bulb
cover.
6. Refit the wirework runners and replace the oven
shelves.
7. Restore the electricity supply and reset the time of
day.
REPLACING AN OVEN LIGHT BULB
(TOP OVEN)
The type of bulb required is a 300°C 25 watt small
Edison Screw.
Disconnect the appliance from the
electricity supply before replacing the bulb.
1. Make sure the appliance is cool before replacing
the bulb.
2. Open the door and remove the shelves and
wirework runners.
3. Remove the glass cover by turning it to the left.
4. Unscrew the bulb by turning it to the left.
5. Fit a new bulb and then replace the glass bulb
cover.
6. Refit the wirework runners and replace the oven
shelves.
7. Restore the electricity supply and reset the time
of day.

23
SOMETHING NOT WORKING?
Please carry out the following checks on your appliance before calling a Service Engineer. It may be that the
problem is a simple one which you can solve yourself without the expense of a service call.
In-guarantee customers should make sure that the checks have been made as the engineer will make a
charge if the fault is not a mechanical or electrical breakdown.
Please note that proof of purchase is required for in-guarantee service calls.
PROBLEM POSSIBLE SOLUTION
The grill, ovens and timer do not work. Check that the appliance has been wired in to the
appliance supply and is switched on at the wall.
Check that the main appliance fuse is working.
If you have checked the above:
Allow the appliance to cool for a couple of hours. The
appliance should now be working normally.
The grill and top oven work but the main oven does
not.
Check that the time of day has been set on the clock.
Check that the oven is set for manual cooking.
The grill does not work or cuts out after being used
for a long period of time.
Ensure the cooling fan is running when the grill is on. If
the cooling fan fails, the grill will not operate correctly.
Contact your local Service Force Centre.
Leave the grill door open and allow the grill to cool. After
a couple of hours check that the grill works as normal
The timer does not work. Check that the instructions for the operation of the timer
are being closely followed.
The indicator neons are not working correctly. Check that you have selected only the function you
require. Ensure all other controls are in the Off position.
The oven is not cooking evenly. Check that the appliance is correctly installed and is
level.
Check that the recommended temperatures and shelf
positions are being used.
The oven light bulb may need replacing.
The oven light fails to illuminate.
If the Main Oven is set for automatic cooking the light will
illuminate when the cook time begins.
The oven fan is noisy. Check that the oven is level.
Check that the shelves and bakeware are not vibrating in
contact with the oven back panel.
The oven temperature is too high or too low. Check that the recommended temperatures and shelf
positions are being used. Be prepared to adjust the
temperature up or down by 10°C to achieve the results
you want.

24
SERVICE AND SPARE PARTS
In the event of your appliance requiring service, or if you wish to purchase spare parts, please contact your local
Service Force Centre by telephoning:-
0870 5 929929
Your telephone call will be automatically routed to the Service Force Centre covering your post code area.
For the address of your local Service Force Centre and further information about Service Force, please visit the
website at www.serviceforce.co.uk.
Before calling out an engineer, please ensure you have read the details under the heading "Something Not
Working?".
When you contact the Service Force Centre you will need to give the following details:
1. Your name, address and post code.
2. Your telephone number.
3. Clear and concise details of the fault.
4. The model and serial number of the appliance (found on the rating plate).
5. The purchase date.
Please note that a valid purchase receipt or guarantee documentation is required for in-guarantee service
calls.
For Customer Service in Ireland please contact us at the address below:
Tricity Bendix
Electrolux Group (Irl) Ltd
Long Mile Road
Dublin 12
Republic of Ireland
Tel: +353 (0) 1 4090752
Email: service.eid@electrolux.ie
CUSTOMER CARE DEPARTMENT
For general enquires concerning your Tricity Bendix appliance, or for further information on Tricity Bendix products,
please contact our Customer Care Department by letter or telephone at the address below;
Customer Care Department
Tricity Bendix
Major Appliances
Addington Way
Luton
Bedfordshire
LU4 9QQ
Tel: 0870 5 950950 (*)
*calls to this number may be recorded for training purposes.
25
GUARANTEE CONDITIONS
Standard guarantee conditions
We, Tricity Bendix, undertake that if within 12 months of the date of the purchase this Tricity Bendix appliance or
any part thereof is proved to be defective by reason only of faulty workmanship or materials, we will, at our option
repair or replace the same FREE OF CHARGE for labour, materials or carriage on condition that:
• The appliance has been correctly installed and used only on the electricity supply stated on the rating plate.
• The appliance has been used for normal domestic purposes only, and in accordance with the manufacturer’s
instructions.
• The appliance has not been serviced, maintained, repaired, taken apart or tampered with by any person not
authorised by us.
• All service work under this guarantee must be undertaken by a Service Force Centre.
• Any appliance or defective part replaced shall become the Company’s property.
• This guarantee is in addition to your statutory and other legal rights.
Home visits are made between 8.30am and 5.30pm Monday to Friday. Visits may be available outside these
hours in which case a premium will be charged.
Exclusions
This guarantee does not cover:
• Damage or calls resulting from transportation, improper use or neglect, the replacement of any light bulbs or
removable parts of glass or plastic.
• Costs incurred for calls to put right an appliance which is improperly installed or calls to appliances outside the
United Kingdom.
• Appliances found to be in use within a commercial environment, plus those which are subject to rental
agreements.
• Products of Tricity Bendix manufacture which are not marketed by Tricity Bendix.
European Guarantee
If you should move to another country within Europe then your guarantee moves with you to your new home
subject to the following qualifications:
• The guarantee starts from the date you first purchased your product.
• The guarantee is for the same period and to the same extent for labour and parts as exists in the new country of
use for this brand or range of products.
• This guarantee relates to you and cannot be transferred to another user.
• Your new home is within the European Community (EC) or European Free Trade Area.
• The product is installed and used in accordance with our instructions and is only used domestically, i.e. a
normal household.
• The product is installed taking into account regulations in your new country.
Before you move please contact your nearest Customer Care centre, listed below, to give them details of your new
home. They will then ensure that the local Service Organisation is aware of your move and able to look after you
and your appliances.
France Senlis +33 (0) 3 44 62 20 13
Germany Nürnberg +49 (0) 800 234 7378
Italy Pordernone +39 (0) 800117511
Sweden Stockholm +46 (0) 20 78 77 50
UK Luton +44 (0) 8705 950 950
Ireland Dublin +353 (0) 1 4090752

26
TECHNICAL DETAILS
Voltage: 230-240 Volts AC 50Hz
Wattage: 5.0-5.4 kW
Height: 900mm
Width: 592 mm
Depth: 563 mm
(excluding handles and knobs)
Weight: 59 kg
This appliance complies with: European Council Directive 73/23/EEC.
EMC Directive 89/336/EEC.
CE Marking Directive 93/68/EEC. Energy Label Directive 2002/40/EC.

27
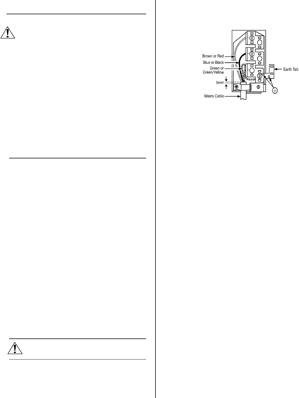
INSTALLATION INSTRUCTIONS
WARNINGS
• This appliance must be installed by a
qualified electrician/competent person.
Safety may be impaired if installation is not
carried out in accordance with these
instructions.
• This appliance must be earthed.
• Do not remove the screws from the earth tab
extending from the oven mains terminal
block (Fig. 1).
• Before connecting the appliance make sure
that the voltage of your electricity supply is
the same as that indicated on the rating
plate. This is situated on the lower front
frame of the appliance and can be seen upon
opening the door. Alternatively the rating
plate may also be found on the back or top
of some models (where applicable).
• Do not alter the electrical circuitry of this
appliance.
THINGS TO NOTE
• This appliance is designed to be fitted in cabinets
of the recommended dimensions as shown
(Fig.3).
• If your cabinet interior dimension is between 565-
570mm the oven may still be fitted. However, a
minor modification to the cabinet will be required
to reduce the aperture size down to 560-565 mm,
to allow the product to be securely screwed into
the cabinet.
• The dimensions given provide adequate air
circulation around the unit within the cabinet,
ensuring compliance with BS EN60-335.
• Enquiries regarding the installation of the cooker
point, if required, should be made to your
Regional Electricity Company to ensure
compliance with their regulations.
• The appliance socket switch should be outside
the cabinet but within 2m of the appliance to
make it accessible to switch off the appliance in
case of an emergency.
• To protect the hands, wear gloves when lifting
the oven into its housing.
Do not lift the appliance by the handles.
NOTE: HOUSE CIRCUIT
Earth leakage and continuity tests must be carried
out before the appliance is connected to the mains
supply and re-checked after fitting.
Fig.1

28
CHOICE OF ELECTRICAL CONNECTION
• There are three possible ways to connect your
appliance. In each case the appliance should be
operated using at least 6mm2 twin core and earth
PVC insulated. Please choose from the most
appropriate after reading the different methods:-
a) By connecting the appliance to a cooker point
(having a double pole isolating switch with at
least 3mm contact separation in all poles and
neutral) and protected with a fuse or miniature
circuit breaker at your mains fuse box.
b) By connecting the appliance together with a hob
directly to a cooker point(s). Having a double
pole isolating switch with at least 3mm contact
separation in all poles and neutral.
c) If you wish to connect an oven and a hob to a
cooker point you can by connecting the oven and
hob separately to the cooker point. Oven and
hob units should be separately connected to a
cooker point. See Fig. 2.
NOTE: It is good practice to :
• Fit an Earth Leakage Circuit Breaker to your
house wiring.
• Wire your appliance to the latest IEE regulations.
PREPARING CABINET FOR FITTING OF
OVEN
• Make sure that the cabinet is the correct size for
the appliance to be fitted (Ref. Fig. 3).
• If the size is between 565-570mm, then the
cabinet should be modified so that at the screw
fixing points the recommended dimension of at
least 560-565mm is maintained. The modification
should ideally be localised to ensure that after
screw fitment the oven is securely fixed into
position.
• The cabinet must be stable and level by firmly
securing it to the wall or floor. If necessary,
make arrangements to ensure the shelf upon
which the oven will rest is level.
• When the appliance is installed ensure a
minimum gap of 2mm is maintained between the
trim on the bottom edge of the appliance, and
any corresponding door / panel underneath.
Subject to Regional Electricity Companies
regulations if you wish to connect the oven
and hob to the power supply you may use
one of the following two methods:-
Fig. 2

29
RECOMMENDED CABINET DIMENSIONS (IN MILLIMETRES)
Fig. 3 Built In Installation
Cross section
through cabinet
showing oven
positioned

30
HOW TO FINISH UNPACKING
• Place packed appliance next to the space in
which it will be installed.
• Remove the appliance packing except for bottom
tray, which should be left in position until the
appliance is ready to be fitted into its cabinet.
NOTE: It is imperative that the appliance is
left in the base to protect both the appliance
and the floor.
• Ensure the user is given these operating
instructions.
Important: Switch off at the mains,
miniature circuit breaker and if appropriate,
remove fuse before commencing any
electrical work.
TO REMOVE COVER OF MAINS TERMINAL
From the rear of the appliance, remove mains input
terminal cover to gain access to terminal block.
• First remove retaining screw with pozidrive
screwdriver. See Fig. 4.
• Prise cover loose using screwdriver in position
(1) then lever off with screwdriver in position (2)
at either side. See Fig. 5.
• Lift cover and remove screw from cable clamp.
See Fig. 6.
Fig. 4
Fig.5
Fig.6

31
CONNECTING TO THE MAINS TERMINAL
Warning: This appliance must be earthed.
• We recommend you use a new length of 6mm2
twin core and earthed cable to ensure your
safety.
• Make connection as shown in Fig. 7 by
proceeding as follows:-
• Preform wires to the appropriate shape to suit
fitting into the mains terminal block.
• Strip inner insulation on wires using
wirestrippers.
• Twist the bared wires using pliers.
• Cut bared wires 10mm away from the end of the
inner insulation. Where uninsulated Earth wires
are used ensure they are suitably sheathed to
leave 10mm bare wire to fit into the terminal.
• Clamp bare wires into the relevant terminal and
check they are held by tugging each one in turn.
• Clamp the mains cable securely ensuring 5mm of
the outer insulation is inside the terminal block
and that the wires are not taught but not so slack
as to cause any fouling. See Fig. 7.
• Place fuse/miniature circuit breaker in circuit and
switch on at mains.
CHECKING ELECTRICAL CONNECTIONS
Correct electrical connection can be confirmed when
switching on the appliance as the timer will be
flashing.
NOTE: HOUSE CIRCUIT
Earth leakage and continuity tests must be carried
out before the appliance is connected to the mains
supply and re-checked after fitting.
CONNECTING TO A HOB OR COOKER
POINT
• Either follow in general terms the instructions for
connecting to the terminal block or refer to the
hob suppliers installation instructions.
Feed the cable through the cabinet and
arrange to route the cable away from the
appliance which may become hot.
Fig.7

32
FITTING INTO THE CABINET
IMPORTANT: Ensure that the oven is
switched off at the wall before any further
work is carried out.
• Using a tape measure establish the internal width
of the cabinet. Refer to page 29 if greater than
565mm.
• Position the appliance in front of the cabinet.
See Fig. 8.
• Take out all oven furniture before installation to
reduce the weight you need to lift. The oven door
should be taped up to keep it closed whilst lifting.
• To place the appliance into the cabinetry follow
the procedure below:
• N.B. Two people will be required to carry out
the lifting procedure.
Warning: Do not attempt to lift this
appliance by the handle(s).
a) Each person should squat either side of the
appliance.
b) Tilt the appliance so that your hands can support
the underside of the appliance.
c) Keeping your back straight, raise the appliance to
the correct height by straightening at the knees.
d) Rest the rear underside of the appliance on the
cabinet floor while your hands support the front.
e) The appliance can be pushed fully into the
cabinet. Take care to avoid fouling the mains
lead.
f) Ensure the appliance is central and level.
g) Do not remove spacers fitted behind fixing holes.
h) When the appliance is fully housed screw the
stability screws (supplied with the appliance) into
the side of the cabinet taking care not to distort
the side trims (See Fig 9). It is advisable to turn
each screw alternatively to avoid damaging the
trims.
i) Switch on the appliance then refer to the
operating instructions.
Fig. 9
Fixing points fo
r
stability screws
Fig. 8
NOTES
33
NOTES
34
NOTES
35

Tricity Bendix, Major Appliances, Addington Way, Luton, Bedfordshire LU4 9QQ
Consumer care telephone number 08705 950950
IMPORTANT NOTICE
In line with our continuing policy of research and development, we reserve the right to alter models and
specifications without prior notice.
This instruction booklet is accurate at the date of printing, but will be superseded if specifications or
appearance are changed.
TBD950 311767900
©
Electrolux plc 2005