Troy Bilt 645A Bronco Users Manual 769 00585 (21A 644H/645A063
645A-Bronco to the manual a3b930bd-126d-2d44-f100-2b48a62b0365
2015-01-21
: Troy-Bilt Troy-Bilt-645A-Bronco-Users-Manual-350048 troy-bilt-645a-bronco-users-manual-350048 troy-bilt pdf
Open the PDF directly: View PDF
.
Page Count: 36

Operator’s Manual
Warning: This unit is equipped with an internal combustion engine and should not be used on or near any unimproved forest-covered, brush-
covered or grass-covered land unless the engine’s exhaust system is equipped with a spark arrester meeting applicable local or state laws (if any).
If a spark arrester is used, it should be maintained in effective working order by the operator. In the State of California the above is required by law
(Section 4442 of the California Public Resources Code). Other states may have similar laws. Federal laws apply on federal lands. A spark arrester
for the muffler is available by contacting the service department at Troy-Bilt LLC, P.O. Box 361131 Cleveland, Ohio 44136-0019.
IMPORTANT:READ SAFETY RULES AND INSTRUCTIONS CAREFULLY
TROY-BILT LLC, P.O. BOX 361131, CLEVELAND, OH 44136-0019
PRINTED IN USA FROM NO. 769-00585A
(01/2003)
Rear-tine Tiller Models
644H—BroncoTM
645A—BroncoTM
Model 644H Shown (bumper syles vary)

2
For more details about your unit, visit our website at www.troybilt.com
TABLE OF CONTENTS
Content Page
Calling Customer Support . . . . . . . . . . . . . . . . . . . . . . . . . . . . . . . . . . . . . . . . . . . . . . . . . . . . 2
Safety . . . . . . . . . . . . . . . . . . . . . . . . . . . . . . . . . . . . . . . . . . . . . . . . . . . . . . . . . . . . . . . . . . . 3
Assembly. . . . . . . . . . . . . . . . . . . . . . . . . . . . . . . . . . . . . . . . . . . . . . . . . . . . . . . . . . . . . . . . . 6
Features and Controls. . . . . . . . . . . . . . . . . . . . . . . . . . . . . . . . . . . . . . . . . . . . . . . . . . . . . . . 10
Operation . . . . . . . . . . . . . . . . . . . . . . . . . . . . . . . . . . . . . . . . . . . . . . . . . . . . . . . . . . . . . . . . 13
Maintenance . . . . . . . . . . . . . . . . . . . . . . . . . . . . . . . . . . . . . . . . . . . . . . . . . . . . . . . . . . . . . . 19
Off-Season Storage . . . . . . . . . . . . . . . . . . . . . . . . . . . . . . . . . . . . . . . . . . . . . . . . . . . . . . . . 24
Troubleshooting . . . . . . . . . . . . . . . . . . . . . . . . . . . . . . . . . . . . . . . . . . . . . . . . . . . . . . . . . . . 25
Parts List . . . . . . . . . . . . . . . . . . . . . . . . . . . . . . . . . . . . . . . . . . . . . . . . . . . . . . . . . . . . . . . . . 26
Warrany Information . . . . . . . . . . . . . . . . . . . . . . . . . . . . . . . . . . . . . . . . . . . . . . . . . . . . . . . . Back Cover
FINDING MODEL NUMBER
This Operator’s Manual is an important part of your new Rear-tineTiller. It will help you assemble, prepare and
maintain the unit for best performance. Please read and understand what it says.
Before you start assembling your new equipment, please locate the model plate on the equipment and copy the infor-
mation from it in the space provided below. This information is very important if you need help from our Customer
Support Department or an authorized dealer.
• You can locate the model number by looking at the rear surface of the tine shield. A sample model plate is
explained below. For future reference, please copy the model number and the serial number of the equipment
in the space below
ENGINE INFORMATION
The engine manufacturer is responsible for all engine-related issues with regards to performance, power-rating, speci-
fications, warranty and service. Please refer to the engine manufacturer’s Owner’s/Operator’s Manual packed sepa-
rately with your unit for more information.
CALLING CUSTOMER SUPPORT
If you have difficulty assembling this product or have any questions regarding the controls, operation or maintenance
of this unit, please call the Customer Support Department.
Call 1- (330) 558-7220 or 1- (866) 840-6483 to reach a Customer Support representative. Please have
your unit’s model number and serial number ready when you call. See previous section to locate this
information. You will be asked to enter the serial number in order to process your call ..
Copy Model Number Here
Copy Serial Number Here
www.troybilt.com
TROY-BILT LLC
P. O. BOX
361131
CLEVELAND, OH 44136
866-840-6483
330-558-7220

3
Training
1. Carefully read this
Owner’s Manual, the
separate Engine Owner’s
Manual, and any other literature you may
receive. Be thoroughly familiar with the
controls and the proper use of the tiller
and its engine. Know how to stop the unit
and disengage the controls quickly.
2. Never allow children to operate the
tiller. Never allow adults to operate the
tiller without proper instruction.
3. Keep the area of operation clear of all
persons, particularly children and pets.
4. Keep in mind that the operator or user
is responsible for accidents or hazards
occurring to other people, their property,
and themselves.
Preparation
1. Thoroughly inspect the area where the
tiller is to be used and remove all foreign
objects.
2. Be sure all tiller controls are released
and both wheels are in the Wheel Drive
position before starting the engine.
3. Do not operate the tiller without
wearing adequate outer garments. Avoid
loose garments or jewelry that could get
caught in moving parts.
4. Do not operate the tiller when barefoot
or wearing sandals, sneakers, or light
footwear. Wear protective footwear that
will improve footing on slippery surfaces.
5. Do not till near underground electric
cables, telephone lines, pipes or hoses. If
in doubt, contact your telephone or utility
company.
6. Warning: Handle fuel with care; it is
highly flammable and its vapors are
explosive. Be sure to take the following
precautions:
a. Store fuel in containers specifically
designed for this purpose.
b. The gas cap shall never be removed
or fuel added while the engine is
running. Allow the engine to cool
for several minutes before adding
fuel.
c. Keep matches, cigarettes, cigars,
pipes, open flames, and sparks
away from the fuel tank and fuel
container.
d. Fill fuel tank outdoors with extreme
care. Never fill fuel tank indoors.
Use a funnel or spout to prevent
spillage.
e. Replace all fuel tank and container
caps securely.
f. If fuel is spilled, do not attempt to
start the engine, but move the
machine away from the area of
spillage and avoid creating any
source of ignition until fuel vapors
have dissipated.
7. Never make adjustments when engine
is running (unless recommended by
manufacturer).
Operation
1. Do not put hands or feet near or under
rotating parts. The tines begin to rotate
once the engine starts and the Forward
Clutch Bail (or Reverse Clutch Control) is
engaged.
2. Exercise extreme caution when on or
crossing gravel drives, walks, or roads.
Stay alert for hidden hazards or traffic. Do
not carry passengers.
3. After striking a foreign object, stop the
engine, remove the wire from the spark
plug and prevent it from touching the
spark plug, thoroughly inspect the
machine for any damage, and repair the
damage before restarting and operating
the machine.
4. Exercise caution to avoid slipping or
falling.
5. If the unit should start to vibrate abnor-
mally, stop the engine, disconnect the
spark plug wire and prevent it from
touching the spark plug, and check
immediately for the cause. Vibration is
generally a warning of trouble.
6. Stop the engine, disconnect the spark
plug wire and prevent it from touching
the spark plug whenever you leave the
operating position, before unclogging the
tines, or when making any repairs, adjust-
ments or inspections.
Section
1
Safety
SPARK ARRESTER WARNING TO RESIDENTS OF CALIFORNIA AND SEVERAL OTHER STATES
Under California law, and under the laws of several other states, you are not permitted to operate an
internal combustion engine using hydrocarbon fuels on any forest, brush, hay, grain, or grass
covered land; or land covered by any flammable agricultural crop without an engine spark arrester in
continuous effective working order.
The engine on the unit is an internal combustion engine which burns gasoline, a hydrocarbon fuel, and must be equipped with a
spark arrester muffler in continuous effective working order. The spark arrester must be attached to the engine exhaust system in
such a manner that flames or heat from the system will not ignite flammable material. Failure of the owner/operator of the unit to
comply with this regulation is a misdemeanor under California law (and other states) and may also be a violation of other state
and/or federal regulations, laws, ordinances or codes. Contact your local fire marshal or forest service for specific information
about which regulations apply in your area.

7. Take all possible precautions when
leaving the machine unattended. Stop the
engine. Disconnect spark plug wire and
move it away from the spark plug. Be
sure both wheels are in the Wheel Drive
position.
8. Before cleaning, repairing, or inspect-
ing, stop the engine and make certain all
moving parts have stopped. Disconnect
the spark plug wire and prevent it from
touching the spark plug to prevent acci-
dental starting.
9. The flap on the tine hood must be
down when operating the tiller.
10. Never use the tiller unless proper
guards, plates, or other safety protective
devices are in place.
11. Do not run engine in an enclosed
area. Engine exhaust contains carbon
monoxide gas, a deadly poison that is
odorless, colorless, and tasteless.
12. Keep children and pets away.
13. Never operate the tiller under
engine power if the wheels are in the
Freewheel position. In the Freewheel
position, the wheels will not hold the
tiller back and the revolving tines could
propel the tiller rapidly, possibly
causing loss of control. Always engage
the wheels with the wheel drive pins in
the Wheel Drive position before starting
the engine or engaging the tines/wheels
with the Forward Clutch Bail or the
Reverse Clutch Control .
14. Be aware that the tiller may unexpect-
edly bounce upward or jump backward
and be propelled toward you if the tines
should strike extremely hard packed soil,
frozen ground, or buried obstacles like
large stones, roots, or stumps. If in doubt
about the tilling conditions, always use
the following operating precautions to
assist you in maintaining control of the
tiller:
a. Walk behind and to one side of the
tiller, using one hand on the han-
dlebars. Relax your arm, but use a
secure hand grip.
b. Use a deep depth regulator
setting.
c. Use slower engine speeds.
d. Clear the tilling area of all large
stones, roots and other debris.
e. Avoid using downward pressure
on handlebars. If need be, use
slight upward pressure to keep the
tines from digging too deeply.
f. Before contacting hard packed soil
at the end of a row, reduce engine
speed and lift handlebars to raise
tines out of the soil.
g. In an emergency, stop tines and
wheels by releasing whichever
clutch control is engaged. Do not
attempt to restrain the tiller.
15. Do not overload the tiller’s capacity
by attempting to till too deeply at too fast
a rate.
16. Never operate the tiller at high
transport speeds on slippery surfaces.
Look behind and use great care when
backing up.
17. Do not operate the tiller on a slope
that is too steep for safety. When on
slopes, slow down and make sure you
have good footing. Never permit the tiller
to freewheel down slopes.
18. Never allow bystanders near the unit.
19. Only use attachments and acces-
sories that are approved by the manufac-
turer of the tiller.
20. Use tiller attachments and acces-
sories when recommended.
21. Never operate the tiller without good
visibility or light.
22. Never operate the tiller if you are
tired, or under the influence of alcohol,
drugs or medication.
23. Operators shall not tamper with the
engine-governor settings on the machine;
the governor controls the maximum safe
operating speed to protect the engine and
all moving parts from damage caused by
overspeed. Authorized service shall be
sought if a problem exists.
24. Do not touch engine parts which may
be hot from operation. Let parts cool
down sufficiently.
25. Please remember: You can always
stop the tines and wheels by releasing the
Forward Clutch control or the Reverse
Clutch control (whichever control you
have engaged), or by moving the throttle
control lever on the engine to “OFF” or
“STOP”.
26. To load or unload the tiller, see the
instructions in Section 4 of this Manual.
27. Use extreme caution when reversing
or pulling the machine towards you.
28. Start the engine carefully according to
instructions and with feet well away from
the tines.
29. Never pick up or carry a machine
while the engine is running.
Maintenance and Storage
1. Keep the tiller, attachments and acces-
sories in safe working condition.
2. Check all nuts, bolts, and screws at
frequent intervals for proper tightness to
be sure the equipment is in safe working
condition.
3. Never store the tiller with fuel in the
fuel tank inside a building where ignition
sources are present such as hot water
and space heaters, furnaces, clothes
dryers, stoves, electric motors, etc.).
Allow engine to cool before storing in any
enclosure.
4. To reduce the chances of a fire hazard,
keep the engine free of grass, leaves, or
excessive grease.
5. Store gasoline in a cool, well-ventilated
area, safely away from any spark- or
flame-producing equipment. Store
gasoline in an approved container, safely
away from the reach of children.
6. Refer to the Maintenance sections of
this Manual and the separate Engine
Owner’s Manual for instructions if the
tiller is to be stored for an extended
period.
7. Never perform maintenance while the
engine is running or the spark plug wire
is connected, except when specifically
instructed to do so.
8. If the fuel tank has to be drained, do
this outdoors.
4
Section 1: Safety

Section 1: Safety
5
Decals
For your safety and the safety of others,
various safety and operational decals are
located on your unit (see Figure 1 below).
Keep the decals clean and legible at all
times. Contact your local service dealer
or the factory for replacements if any
decals are damaged or missing.
Refer to the separate parts catalog for
decal locations, part numbers and
ordering instructions.
Forward Clutch Control
Operating Instruction
Reverse Clutch Control
Operating Instruction
Warning Messages
on tine hood
Hot Surfaces
Warning on belt cover
Starting Stabilization
Message on engine
Figure 1: Location of Safety and Operating Decals (Model 644H shown).
TO AVOID SERIOUS INJURY:
• READ THE OWNER’S MANUAL.
• KNOW LOCATIONS AND FUNCTIONS OF ALL CONTROLS.
• KEEP ALL SAFETY DEVICES AND SHIELDS IN PLACE AND WORKING.
• NEVER ALLOW CHILDREN OR UNINSTRUCTED ADULTS TO OPERATE TILLER.
• SHUT OFF ENGINE AND DISCONNECT SPARK PLUG WIRE BEFORE MANUALLY UNCLOG-
GING TINES OR MAKING REPAIRS.
• KEEP BYSTANDERS AWAY FROM MACHINE.
• KEEP AWAY FROM ROTATING PARTS.
• USE EXTREME CAUTION WHEN REVERSING OR PULLING THE MACHINE TOWARDS YOU.
WARNING
Operating Symbols
Various symbols (shown here, with word
descriptions) are used on the tiller and engine
(your unit may not have all of the symbols).
FAST SLOW
CHOKE
ON
CHOKE
OFF
STOP
STOP
REVERSE
R
ROTATING
TINES
BAIL
ENGAGED
BAIL
DISENGAGED
TILLER DIRECTION LEVER DIRECTION

6
WARNING
To prevent personal injury or
property damage, do not start
the engine until all assembly
steps are complete and you
have read and understand the
safety and operating instruc-
tions in this manual.
Introduction
Carefully follow these assembly steps to
correctly prepare your tiller for use. It is
recommended that you read this Section
in its entirety before beginning assembly.
NOTE: Engine syles vary by model. The
engine on your tiller may appear differ-
ently than those shown in illustrations
and Figures throughout this manual.
Inspect unit
Inspect the unit and carton for damage
immediately after delivery. Contact the
carrier (trucking company) if you find or
suspect damage. Inform them of the
damage and request instructions for filing
a claim. To protect your rights, put your
claim in writing and mail a copy to the
carrier within 15 days after the unit has
been delivered.
STEP 1: Unpacking Instructions
1. Remove any cardboard inserts and
packaging material from the carton.
Remove any staples from the bottom of
the carton and then lift the carton up and
off the unit.
2. The tiller is heavy and you should not
attempt to remove it from the shipping
platform until the handlebars are
installed. The procedure for removing the
tiller is explained in Step 3 of these
assembly steps.
NOTE: Be careful not to severely bend any
of the control cables on the unit.
3. Remove all unassembled parts and
the separate hardware bag from the
carton. Check that you have the items
listed below (contact your local dealer or
the factory if any items are missing or
damaged). NOTE: Use the screw length
template (Fig. 2-1) to identify screws.
Loose Parts List
Qty. Description
1Handlebar Support (see A, Fig. 2-2,
page 7)
1Handlebar Assembly
(see K, Fig. 2-2)
The following items are in the
hardware bag:
1Slotted hd. screw, #10-24 x 2"
1Hex hd. screw, 1/4-20 x 1-1/4"
6Curved hd. screw, 5/16-18 x 1-1/2"
2Hex hd. screw, 3/8-16 x 3/4"
2Flat washer, 3/8"
6Split lockwasher, 5/16"
1Hex locknut, 1/4"-20
6Hex nut, 5/16"-18
2Hex locknut, 3/8"-16
1Hex nut, #10-24
1Spring, cable (see W, Fig. 2-5,
page 8)
1Bracket, forward clutch cable (see
P, Fig. 2-5, page 8)
1Bracket, reverse clutch cable (see
BB, Fig. 2-8, page 9).
IMPORTANT: Motor oil must be added to
the engine crankcase before the engine
is started. Follow the instructions in this
“Assembly” section.
NOTE: LEFT and RIGHT sides of the tiller
are as viewed from the operator’s
position behind the handlebars.
Tools/Materials Needed for
Assembly
(1) 3/8” open-end wrench*
(2) 7/16" open-end wrench*
(1) 1/2" open-end wrench*
(2) 9/16" open-end wrench*
(1) Large adjustable wrench
(1) Scissors (to trim plastic ties)
(1) Ruler (for belt tension check)
(1) Block of wood (to support tiller
when removing wheels)
(1) Automotive-type air pressure gauge
(1) Clean oil funnel
(1) Clean, high-quality engine oil. Refer
to the Engine Owner Manual for
engine oil specifications and quantity
required. Do not overfill.
* Adjustable wrenches may be used.
Section
2
Assembly
Figure 2-1: To identify length of screw,
place screw on template as shown and
measure distance between bottom of screw
head and tip of screw.
1
2
3
1
2
3

7
Section 2: Assembly
STEP 2: Attach Handlebar
1. Attach the two legs of the handlebar
support (A, Fig. 2-2) loosely to the inner
sides of the tiller frame using two 3/8"-16
x 3/4" hex hd. screws (B), 3/8" flat
washers (C) and 3/8"-16 hex locknuts (D).
2. Using the middle holes in the handlebar
support brackets (E and F, Fig. 2-2),
loosely attach the support brackets to the
handlebar support (A) using two 5/16"-18
x 1-1/2" curved hd. screws (G), 5/16" split
lockwashers (H) and 5/16"-18 hex nuts (I).
NOTE: If a support bracket will not move,
loosen attaching screw (J) and nut.
3. Attach the handlebar assembly (K) to
the handlebar support (A) using four
5/16"-18 x 1-1/2" curved hd. screws (G),
5/16" split lockwashers (H) and 5/16"-18
hex nuts (I). Tighten the four screws
securely.
4. Tighten all handlebar mounting
hardware securely.
STEP 3: Move Tiller Off Shipping
Platform
To move the tiller without the engine
running, put the wheels in their
FREEWHEEL position, as described below.
1. Use a sturdy block to raise one wheel
off the ground.
2. Remove the hairpin cotter (L, Fig. 2-3)
and wheel drive pin (M). Slide the wheel
inward on the wheel shaft (N). Reinstall
the wheel drive pin and hairpin cotter
through the wheel shaft only (not through
the wheel hub). Repeat with the other
wheel.
3. Using the handlebar as a lever, roll the
tiller to a flat area.
IMPORTANT: Before starting the engine,
the wheels must be placed in their WHEEL
DRIVE position (pins through wheel hubs
and wheel shaft). This procedure is
described in “Wheel Drive Pins” in
Section 3.
Fig. 2-2: Attach handlebar.
G
G
H
A
IH
F
E
I
HI
B
C
G
K
J
D
Fig. 2-3: Wheel in FREEWHEELING
position (wheel drive pin through wheel
shaft only).
M
N
L

8
Section 2: Assembly
STEP 4: Install Forward Clutch Cable
1. Place the forward clutch cable bracket
(P, Fig. 2-4) on the handlebar support (A).
Attach the cable bracket using a 1/4"-20 x
1-1/4" hex hd. screw (R, Fig. 2-4) and
1/4"-20 hex locknut (S). Tighten securely.
2. Carefully unwrap the forward clutch
cable (the cable without a knob attached to
it) from its shipping position and slide the
thin cable wire (T, Fig. 2-4) into the slot in
the cable bracket. Push the cable connector
(U, Fig. 2-4) up through the hole in the
bracket until the groove in the connector
snaps into place on the bracket.
3. Insert the #10-24 x 2" slotted hd. screw
(V, Fig. 2-5) down into the cable spring
(W). The threaded end of the screw will
extend from the bottom of the spring.
4. Thread the #10-24 hex nut (Z) on the
slotted head screw (V). Thread it halfway up.
5. Thread screw (V) into cable adjuster (X).
6. Hook cable spring (W, Fig. 2-6) into “V”-
shaped bend in the forward clutch bail (Y).
7. Lift and hold the Forward Clutch bail
against the handlebar. See Fig. 2-7.
8. Measure the length of the cable spring
between the ends of the coils (Fig. 2-7).
The length should be approximately 1-7/8".
If the length is correct, turn the #10-24 hex
nut (Z) down tightly against the cable
adjuster (X) while holding the adjuster in
place. See Figure 2-7. If the length is
incorrect, you must make an adjustment to
the cable tension as described in
“Checking and Adjusting Forward Drive
Belt Tension” in Section 5. When the
spring length is correct, tighten the hex nut
(Z) against the cable adjuster (X).
STEP 5: Install Reverse Clutch
Cable
1. Remove the two pre-installed self-tapping
screws (AA, Fig. 2-8) from the handlebars.
2. Position the reverse cable mounting
bracket (BB, Fig. 2-8) as shown and
reinstall the two self-tapping screws.
3. Unwrap the reverse clutch cable (the
cable with a knob and a large hex nut
attached to it) from around its shipping
position and route the cable (CC, Fig. 2-8
and Fig. 2-9) up to the cable bracket (BB,
Fig. 2-8). Be sure that the cable goes
beneath the Forward Clutch Bail as it is
routed up to the cable bracket.
Fig. 2-5: Assemble
spring and adjuster.
VZ
X
W
Fig. 2-6: Install forward clutch cable.
Fig. 2-4: Installing forward clutch cable bracket and cable.
Fig. 2-7: Measure cable spring.
1234
5
P
R
ST
Y
W
U
A
Hold bail against handlebar
while measuring spring
Z
X

9
Section 2: Assembly
Fig. 2-8: Install reverse cable mounting
bracket and the reverse clutch cable.
4. Insert the cable up through the slot in
the cable bracket and position the
threaded assembly as shown in Fig. 2-8.
Make sure that the flat side of the
threaded assembly is aligned with the flat
side of the mounting hole. Slide the large
hex nut (DD) up the cable and tighten it
securely.
5. Use a cable tie (EE, Fig. 2-9) to fasten
the reverse clutch cable to the left side
handlebar.
6. Test the function of the reverse clutch
cable by pulling the knob out and
releasing it. The knob should return to its
neutral position (resting against bracket)
when it is released. If it doesn’t, contact
your local dealer or the factory for
technical assistance.
STEP 6: Check Level of
Transmission Gear Oil
The transmission was filled with gear oil
at the factory. However, you should check
the gear oil level to make certain it is
correct.
IMPORTANT: Do not operate the tiller if
the gear oil level is low. Doing so will
result in severe damage to the transmis-
sion components.
1. Put the tiller on level ground. Pull the
Depth Regulator Lever (FF, Fig. 2-10)
back and then adjust it up or down to the
notch that makes the tiller level.
2. Remove the oil fill plug (GG, Fig. 2-11)
from the transmission housing and look
into the oil fill hole. You will see the main
drive shaft on one side of the hole.
3. The gear oil level is correct if the gear
oil is approximately halfway up the side of
the drive shaft.
4. If the gear oil level is low, add gear oil
by referring to “A. To Check the Transmis-
sion Gear Oil Level” in Section 5.
STEP 7: Add Motor Oil to Engine
The tiller is shipped without oil in the
engine.
IMPORTANT: Do not start the engine
without first adding motor oil. Severe
engine damage will result if the engine is
run without oil.
1. Refer to the Engine Owner’s Manual
(supplied with tiller) for engine oil specifi-
cations and capacities.
2. With the tiller on level ground, pull the
Depth Regulator Lever (FF, Fig. 2-10)
back and then slide it up or down as
necessary until the engine is level.
3. Add motor oil as described in the
Engine Owner’s Manual.
4. Move the Depth Regulator Lever all the
way down until the highest notch is
engaged. This places the tines in the
“travel” position.
STEP 8: Check Hardware for
Tightness
Check all nuts and screws for tightness.
CC
AA
AA
BB
Flat Side
DD
Fig. 2-9: Route reverse clutch cable (CC) as
shown. Attach to handlebar with cable tie
(EE).
CC
EE
Fig. 2-11: Remove gear oil fill plug.
Fig. 2-10: Adjust Depth Regulator Lever.
FF
GG
STEP 9: Check Air Pressure in
Tires)
Use a tire pressure gauge to check the air
pressure in both tires. Deflate or inflate
both tires equally to 15-to-20 PSI
(pounds per square inch). Be sure that
both tires are inflated equally or the unit
will pull to one side.
IMPORTANT: This completes the
assembly steps. Before operating your
tiller, make sure you read the following
Sections in this Manual, as well as the
separate Engine Owner’s Manual:
• Section 1: “Safety”
• Section 3: “Features and Controls”
• Section 4: “Operation”

Wheel Drive Pins
Each wheel is equipped with a Wheel
Drive Pin (A, Figures 3-2 and 3-3) that
secures the wheel to the wheel shaft (B).
The wheels can be positioned in either a
WHEEL DRIVE or a FREEWHEEL mode.
Before starting the engine, put both
wheels in the WHEEL DRIVE position by
inserting the Wheel Drive Pins through
the wheel hubs and the wheel shaft. This
“locks” the wheels to the wheel shaft,
causing the wheels to turn when either
the Forward Clutch Bail or the Reverse
Clutch Control is engaged.
Use the FREEWHEEL mode only when the
engine is not running. In FREEWHEEL,
the Wheel Drive Pins are placed only
through the holes in the wheel shaft (not
the wheel hubs), thus allowing the wheels
to turn freely when the tiller is pushed or
pulled by hand.
To Place the Wheels in WHEEL DRIVE or
FREEWHEEL:
1. Stop the engine, disconnect the spark
plug wire from the spark plug and allow
the engine to cool.
2. Raise one wheel off the ground and
place a sturdy support under the
transmission.
3. Remove the wheel drive pin (A,
Figures 3-2 and 3-3) by removing the
hairpin cotter (C).
WARNING
Never allow either of the
wheels to be in the
FREEWHEEL position when
the engine is running. Always
put both wheels in the WHEEL
DRIVE position before starting
the engine.
Failure to comply could cause
loss of tiller control, property
damage, or personal injury.
WARNING
Do not place the tiller on its
side when changing the wheel
drive positions as doing so
could result in gasoline
leaking from the fuel tank.
Failure to follow this instruc-
tion could result in personal
injury or property damage.
WARNING
Before operating your
machine, carefully read and
understand all safety, controls
and operating instructions in
this Manual, the separate
Engine Owner’s Manual, and
on the decals on the machine.
Failure to follow these
instructions can result in
serious personal injury.
Section
3
Features and Controls
Figure 3-1: Features and controls.
Wheel Drive Pin
(on each wheel)
Forward
Clutch Bail
Reverse Clutch
Control
Depth Regulator
Anti-Reverse Stake
Handlebar Height
Adjustment
10
Introduction
This section describes the locations and
functions of the controls on your tiller.
Refer to the next section (“Operation”)
for detailed operating instructions.
Practice using these controls, with the
engine shut off, until you understand the
operation of the controls and feel
confident with each of them.
IMPORTANT: Refer to the separate
engine manufacturer’s Engine Owner’s
Manual for information about the
controls on the engine.

11
Section 3: Features and Controls
4. FOR WHEEL DRIVE mode (Figure 3-2):
Slide the wheel outward and align the
holes in the wheel hub (D, Figure 3-2))
and the wheel shaft (B). Insert the wheel
drive pin (A) through the wheel hub and
the wheel shaft. Secure the wheel drive
pin with the hairpin cotter (C) by pushing
the hairpin cotter in as far as it will go.
Repeat for the other wheel and then
remove the support from beneath the
transmission.
5. FOR FREEWHEEL mode (Figure 3-3):
Slide the wheel inward and insert the
wheel drive pin (A, Figure 3-3) only
through the hole in the wheel shaft (B).
Secure the wheel drive pin with the
hairpin cotter (C) by pushing the hairpin
cotter in as far as it will go. Repeat for the
other wheel and then remove the support
from beneath the transmission.
Forward Clutch Bail
The Forward Clutch Bail (E, Figure 3-4)
controls the engagement of forward drive
to the wheels and power to the tines.
NOTE: The wheels will rotate in a forward
direction; the tines will rotate counter-
clockwise (backward toward the operator).
To Operate the Forward Clutch Bail:
1. Put the wheels in the WHEEL DRIVE
position (see the following “WARNING”
statement).
2. Lift and hold the bail against the
handlebar. The wheels and tines will
rotate– and the tiller will move in a
forward direction.
3. Release the bail to disengage (stop)
the wheels and tines. Forward tiller motion
will stop (the engine will continue to run).
Reverse Clutch Control
The Reverse Clutch Control (F, Figure 3-4)
controls the engagement of reverse drive
to the wheels and tines. This powered
reversing feature is used for maneuvering
the tiller only – never engage the tines in
the ground while going in the reverse
direction.
To Operate the Reverse Clutch Control:
1. Operate only when the wheels are in
the WHEEL DRIVE position (see the
“WARNING” statement at the left).
2. Stop all tiller motion by releasing the
Forward Clutch Bail.
3. Lift up the handlebar until the tines
clear the ground, look behind you to avoid
any obstacles, and then pull the reverse
clutch control knob toward you. The
wheels will rotate in a reverse direction.
4. Release the reverse clutch control
knob to disengage (stop) the wheels and
tines. All reverse motion will stop (the
engine will continue to run).
Figure 3-2: WHEEL DRIVE position.
A
B
D
C
Figure 3-3: FREEWHEEL position.
Figure 3-4: Forward Clutch Bail (E) and Reverse
Clutch Control (F).
A
EF
B
D
C
WARNING
Before starting the engine, be
sure that both wheels are in
the WHEEL DRIVE position.
See “Wheel Drive Pins” for
instructions.
Engaging the Forward Clutch
Bail or the Reverse Clutch
Control when the wheels are
not in the WHEEL DRIVE
position could allow the tines
to rapidly propel the tiller
forward or backward.
Failure to comply could cause
loss of tiller control, property
damage, or personal injury.
WARNING
• Use extreme caution when
reversing or pulling the
machine towards you. Look
behind to avoid obstacles.
• Never attempt to till in
reverse.
Failure to follow this warning
could result in personal injury
or property damage.

12
Section 3: Features and Controls
Depth Regulator Lever
This lever (G, Figure 3-5) controls the
tilling depth of the tines. Pull the lever
straight back and slide it up or down to
engage the notched height settings.
The highest notch (lever all the way
down) raises the tines approximately 1-
1/2" off the ground. This “travel” setting
allows the tiller to be moved without the
tines digging into the ground. Also use
this setting when starting the engine.
Move the lever upward to increase the
tilling depth. The lowest notch allows a
tilling depth of approximately 6"-8",
depending on soil conditions.
For best results, begin tilling at the
deepest depth possible without causing
the tiller to bog down. Increase the tilling
depth from one pass over the soil to the
next.
Handlebar Height Adjustment
The handlebar height is adjustable to
three different settings (see Figure 3-6).
As a general rule, adjust the handlebars
so they are at waist level when the tines
are 3"-4" into the soil.
To Adjust the Handlebars:
1. Stop the engine, disconnect the spark
plug wire from the spark plug and allow
the engine to cool.
2. Remove the screws, lockwashers and
nuts, reposition the handlebars, and
reinstall the hardware.
Anti-Reverse Stake
This stake is located at the rear of the
transmission, under the tine hood (see H,
Figure 3-7). Its purpose is to automati-
cally help prevent the counter-rotating
tines from letting the tiller back up in the
direction of the operator if the tiller
wheels had been inadvertently left in the
FREEWHEEL position. In this situation,
the Anti-Reverse Stake will be forced
down into the ground, lifting the tines
upward out of the soil and helping
prevent backward motion of the tiller.
The Anti-Reverse Stake requires no adjust-
ment, but should be inspected before
each tiller use to verify that it swivels
freely. Remove any clogged materials
(dirt, roots, rocks, etc.) that prevent the
Anti-Reverse Stake from swinging freely.
ENGINE CONTROLS
Refer to the engine manufacturer’s Engine
Owner’s Manual (included in the tiller lit-
erature package) to identify the controls
on your engine.
IMPORTANT: The control for stopping the
engine is located on the engine.
Figure 3-5: Depth regulator lever.
Travel
Position
Shallow
Settings Deep
Settings
G
Figure 3-6: Handlebar height adjustment.
Figure 3-7: Anti-Reverse Stake.
WARNING
• Place the Depth Regulator
Lever in the “travel”
position before starting the
engine. This position
prevents the tines from
touching the ground until you
are ready to begin tilling.
Failure to follow this warning
could result in personal injury
or property damage.
High
Low
Medium
H

13
Figure 4-1
Section
4
Operation
WARNING
Before operating your
machine, carefully read and
understand all safety (Section
1), controls (Section 3) and
operating instructions (Section
4) in this Manual, in the
separate Engine Owner’s
Manual, and on the decals on
the machine.
Failure to follow these instruc-
tions can result in serious
personal injury.
INTRODUCTION
Read this Section of the manual thor-
oughly before you start the engine. Then,
take the time to familiarize yourself with
the basic operation of the tiller before
using it in the garden. Find an open, level
area and practice using the tiller controls
without the tines engaging the soil (put
tines in “travel” setting). Only after
you’ve become completely familiar with
the tiller should you begin using it in the
garden.
INITIAL OPERATION
Perform the following maintenance during
the first hours of new operation (see
“Maintenance” section in this manual and
in the Engine Owner’s Manual).
1. Change engine oil after first 2 hours of
new engine operation.
2. Check for loose or missing hardware
on unit. Tighten or replace as needed.
3. Check tension on forward drive belt
after first 2 hours of operation.
4. Check transmission gear oil level after
first 2 hours of operation.
STARTING AND STOPPING THE
ENGINE
Pre-Start Checklist
Make the following checks and perform
the following services before starting the
engine.
1. Read the “Safety” and “Controls”
sections in this manual. Read the
separate Engine Owner’s Manual
provided by the engine manufacturer.
2. Check that the wheels are in the
WHEEL DRIVE position (wheel pins must
be through the wheel hubs and the wheel
shaft holes).
3. Check unit for loose or missing
hardware. Service as required.
4. Check engine oil level. See Engine
Owner’s Manual.
5. Check that all safety guards and
covers are in place.
6. Check air cleaner and engine cooling
system. See Engine Owner’s Manual.
7. Attach spark plug wire to spark plug.
8. Fill the fuel tank with gasoline
according to the directions in the
separate Engine Owner’s Manual. Follow
all instructions and safety rules carefully.
Forward Clutch Bail
Depth Regulator Lever
Anti-Reverse Stake
Recoil Starter Wheel Drive Pin
(on each wheel)
Reverse Clutch Control
(knob on back of bracket)
DANGER
GASOLINE IS HIGHLY
FLAMMABLE AND ITS
VAPORS ARE EXPLOSIVE.
Follow gasoline safety rules in
this manual (see Section 1)
and in the separate Engine
Owner’s Manual.
Failure to follow gasoline
safety instructions can result
in serious personal injury
and property damage.

Starting the Engine
The following steps describe how to start
and stop the engine. Do not attempt to
engage tines or wheels until you have
read all the operating instructions in this
Section. Also review the safety rules in
Section 1: “Safety” and the tiller and
engine controls information in Section
3: “Features and Controls.”
1. Complete the “Pre-Start Checklist” on
the previous page.
2. Put the wheels in the WHEEL DRIVE
position (see “Wheel Drive Pins” in
Section 3).
3. Put the Depth Regulator Lever in the
“travel” position (lever all the way down)
so that the tines are clear of the ground.
4. Release all controls on the tiller.
5. If engine is equipped with a fuel valve,
turn valve to open position as instructed
in the separate Engine Owner’s Manual.
6. Put ignition switch and/or throttle
control lever on engine in “ON,” “RUN,”
“FAST” or “START” position as instructed
in the separate Engine Owner’s Manual.
7. Choke or prime engine as instructed in
the separate Engine Owner’s Manual.
8. Place one hand on the fuel tank to
stabilize the unit when you pull the starter
handle. Use the recoil starter rope to start
the engine as instructed in the separate
Engine Owner’s Manual. When engine
starts, gradually move choke lever (on
engines so equipped) to “NO CHOKE,”
“CHOKE OFF” or “RUN” position.
9. Use the “FAST” throttle speed setting
when tilling.
Stopping the Engine and Tiller
1. To stop the wheels and tines, release
the Forward Clutch Bail or the Reverse
Clutch Control — whichever control is in
use.
2. To stop the engine, put the throttle
control lever on engine in “OFF” or
“STOP” position.
OPERATING THE TILLER
The following pages provide guidelines to
using your tiller effectively and safely in
various gardening applications. Be sure
to read “Tilling Tips & Techniques” in this
Section before you actually put the tines
into the soil.
This is a CRT (counter-rotating tine) tiller.
As the wheels pull forward, the tines
rotate backward.
CAUTION
To help prevent serious
personal injury or damage to
equipment:
• Before starting engine, put
both wheels in the WHEEL
DRIVE position. Never have
the wheels in the
FREEWHEEL position when
the engine is running. When
the wheels are in
FREEWHEEL, they do not
hold back the tiller and the
tines could propel the tiller
rapidly backward.
• Before starting engine, put
Forward Clutch Bail (all
Models) and Reverse Clutch
Control in neutral (disen-
gaged) positions by releasing
levers.
• Never run engine indoors or
in enclosed, poorly venti-
lated areas. Engine exhaust
contains carbon monoxide,
an odorless and deadly gas.
• Avoid engine muffler and
nearby areas. Temperatures
in these areas may exceed
150oF.
This creates an “uppercut” tine action
which digs deeply, uprooting soil and
weeds. Don’t overload the engine, but dig
as deeply as possible on each pass. On
later passes, the wheels may tend to spin
in the soft dirt. Help them along by lifting
up slightly on the handlebar (palm facing
up).
1. Follow the “Pre-Start Checklist” on the
previous page. Be sure that the wheels
are in the WHEEL DRIVE position.
2. Put the Depth Regulator Lever in the
“travel” position (lever all the way down)
so that the tines are clear of the ground.
Use this position when practicing with
your tiller or when moving to or from the
garden. When you are ready to begin
tilling, you must move the Depth
Regulator Lever to the desired depth
setting (see “Tilling Tips & Techniques”).
Check that the Anti-Reverse Stake swivels
freely back and forth. Remove any clogged
material on or around the stake.
3. Start the engine and allow it to warm
up. When warm, put throttle control in
fast speed setting.
4. For forward motion of wheels and
power to the tines:
(a) Pull the Forward Clutch Bail up and
hold it against the handlebar. Release
the bail to stop forward motion of
the wheels and power to the tines.
(b) As the tiller moves forward, relax and
let the wheels pull the unit along while
the tines dig. Walk behind and a
little to one side of the tiller. Use a
light but secure grip with one hand
on the handlebars, keeping your arm
loose. See Figure 4-2.
Section 4: Operation
WARNING
Keep away from rotating
tines. Rotating tines will
cause injury.
WARNING
WARNING
Hot surfaces can cause severe
burns. Do not touch muffler or
adjacent areas.
Figure 4-2: Use one hand to guide tiller
when moving forward.
14

Section 4: Operation
Let the tiller move at its own pace and do
not push down on the handlebars to try to
dig deeper– this takes weight off the
wheels, cuts traction, and causes the tines
to try and propel the tiller.
5. For reverse motion of the wheels and
tines:
(a) Look behind and exercise caution
when operating in reverse. Do not
till while in reverse.
(b) Stop all forward motion before
reversing. Lift the handlebars with
one hand until the tines are off the
ground and then pull the Reverse
Clutch Control knob out to engage
reverse motion (see Figure 4-3). To
stop reverse motion, let go of the
Reverse Clutch Control knob.
6. To Turn the Tiller Around:
(a) Practice turning the tiller in a level,
open area. Be very careful to keep
your feet and legs away from the
tines.
(b) To make a turn, lift the handlebars
until the engine and tines are
balanced over the wheels (Figure
4-4). The tines must be out of the
ground while turning the tiller.
(c) With the tiller balanced, push
sideways on the handlebar to move
the tiller in the direction of the turn
(Figure 4-5). After completing the
turn, slowly lower the tines into the
soil to resume tilling.
Turning the Tiller Around
Figure 4-3: Raise tines off ground and look
behind when moving in reverse.
Figure 4-4: To begin turn, lift handlebars
until engine and tines are balanced over
wheels. Be sure tines are out of ground.
Figure 4-5: With tiller balanced over
wheels (and tines out of the ground), push
handlebars sideways to turn tiller.
WARNING
Do not push down on the
handlebars to try to make the
tiller till more deeply. This
prevents the wheels from
holding the tiller back and can
allow the tines to rapidly
propel the tiller backward
toward the operator, which
could result in loss of control,
property damage, or personal
injury.
Stopping the Tiller and Engine
1. To stop the wheels and tines, release
the Forward Clutch Bail or the Reverse
Clutch Control –whichever is engaged.
2. To stop the engine, move the throttle
control lever on engine to “OFF” or
“STOP” position.
15
WARNING
Before tilling, contact your
telephone or utilities company
and inquire if underground
equipment or lines are used in
your area. Their representa-
tive will be glad to answer
your questions and tell you if
any of their equipment or lines
are buried underground on
your property.

16
Section 4: Operation
Tilling Tips &Techniques
Let the tiller do the work
• While tilling, relax and let the wheels
pull the tiller along while the tines do
the digging. Walk on the side that is
not yet finished (to avoid making foot-
prints in the freshly tilled soil) and
lightly, but securely grip the handlebar
with just one hand. See Figure 4-2.
• Avoid the temptation to push down on
the handlebars in an attempt to force
the tiller to dig deeper. Doing so takes
the weight off the powered wheels,
causing them to lose traction. Without
the wheels helping to hold the tiller
back, the tines will attempt to propel
the tiller backward toward the
operator– often causing the tiller to
skip rapidly across the ground.
Tilling depths
• When preparing the soil, till a fresh
path on each pass rather than overlap-
ping passes. This gives the wheels
maximum traction on undisturbed soil.
See Figure 4-6. Dig as deeply as
possible on each pass without over-
loading the engine. Later passes can
be overlapped. (Watering the garden
area a few days prior to tilling will
make tilling easier, as will letting the
newly worked soil set for a day or two
before making a final, deep tilling
pass.)
• When cultivating (breaking up the
surface soil around plants to help
destroy weeds), adjust the tines to dig
only 1-1/2" to 2" deep. Using shallow
tilling depths helps prevent injury to
plants whose roots often grow close to
the surface. If needed, lift up on the
handlebars slightly to prevent the tines
from digging too deeply. Cultivating on
a regular basis not only eliminates
weeds, it also loosens and aerates the
soil for better moisture absorption and
faster plant growth.
Avoid tilling soggy, wet soil
Tilling wet soil often results in large,
hard clumps of soil that can interfere
with planting. If time permits, wait a day
or two after heavy rains to allow the soil
to dry before tilling. Test soil by
squeezing it into a ball. If it compresses
too easily, it is too wet to till.
Avoid making footprints
Whenever possible, walk on the untilled
side of the unit to avoid making foot-
prints in your freshly tilled or cultivated
soil. Footprints cause soil compaction
that can hamper root penetration and
contribute to soil erosion. They can also
“plant” unwanted weed seeds back into
the freshly tilled ground.
Choosing correct wheel
and tine speeds
With experience, you will find the “just
right” tilling depth and tilling speed
combination that is best for your
garden.
Set the engine throttle lever at a high
enough speed to give the engine
adequate power and yet allow it to
operate without overloading it. Fastest
engine speeds may be desirable when
making final passes through the
seedbed or when cultivating. Selection
of the correct engine speed, in relation
to the tilling depth, will ensure a suffi-
cient power level to do the job without
causing the engine to labor.
Suggested tilling patterns
• When preparing a seedbed, go over
the same path twice in the first row,
then make individual passes right next
to each other (see Figure 4-6). When
finished in one direction, make second
passes at a right angle as shown in
Figure 4-7.
In very hard ground it may take three
or four overlapping passes to thor-
oughly pulverize the soil. (See Figure
4-8.)
• If the garden size will not permit
lengthwise and then crosswise tilling,
then overlap the first passes by one-
half a tiller width, followed by succes-
sive passes at one-quarter width (see
Figure 4-8).
• With planning, you can allow enough
room between rows to cultivate (see
Figure 4-9). Leave room for the hood
width, plus enough extra room for
future plant growth.
1
2
3
Figure 4-6
Figure 4-7
Figure 4-8
Figure 4-9

17
Section 4: Operation
Tilling Tips &Techniques
Clearing the tines
Dry grass, stringy stalks or tough vines
may become tangled in the tines. Follow
these procedures to help avoid tangling
and to clean the tines, if necessary.
• To reduce tangling, set the depth
regulator to maximum depth.
• While tilling, try swaying the handle-
bars from side to side (about 6" to 12").
This “fishtailing” action often clears the
tines of debris.
• If tangling occurs, lift the tines out of
the soil and run the tiller in reverse for
a few feet. This may unwind a good
deal of debris.
• It may be necessary to remove the
debris by hand (a pocket knife will help
you to cut away the material).
Tilling on slopes
If you must garden on a moderate slope,
please follow two very important guide-
lines:
1. Till only on moderate slopes, never on
steep ground where footing is difficult
(review safety rules in the “Safety”
section of this manual).
2. We recommend tilling up and down
slopes rather than terracing. Tilling
vertically on a slope allows maximum
planting area and also leaves room for
cultivating.
IMPORTANT: When tilling on slopes, be
sure the correct oil level is maintained in
the engine (check every one-half hour of
operation). The incline of the slope will
cause the oil to slant away from its
normal level and this can starve engine
parts of required lubrication. Keep the
engine oil level at the full point at all
times!
A. Tilling up and down slopes:
• To keep soil erosion to a minimum, be
sure to add enough organic matter to
the soil so that it has good moisture-
holding texture and try to avoid leaving
footprints or wheel marks.
• When tilling vertically, try to make the
first pass uphill as the tiller digs more
deeply going uphill than it does
downhill. In soft soil or weeds, you
may have to lift handlebars slightly
while going uphill.
B. Tilling across slopes without
using terraces:
If previously described tilling methods
aren’t practical for you, then you can till
laterally across a slope. However, we
don’t really recommend this method as
it can create unsure footing and invites
soil erosion.
WARNING
Before clearing the tines by
hand, stop the engine, allow
all moving parts to stop and
disconnect the spark plug
wire.
Failure to follow this warning
could result in personal
injury.

18
Section 4: Operation
LOADING AND UNLOADING THE
TILLER
• Before loading or unloading, stop the
engine, wait for all parts to stop
moving, disconnect the spark plug wire
and let the engine and muffler cool.
• The tiller is too heavy and bulky to lift
safely by one person. Two or more
people should share the load.
• Use sturdy ramps and manually (engine
shut off) roll the tiller into and out of the
vehicle. Two or more people are needed
to do this.
• Ramps must be strong enough to
support the combined weight of the tiller
and any handlers. The ramps should
provide good traction to prevent
slipping; they should have side rails to
guide the tiller along the ramps; and
they should have a locking device to
secure them to the vehicle.
• The handlers should wear sturdy
footwear that will help to prevent
slipping.
• Position the loading vehicle so that the
ramp angle is as flat as possible (the
less incline to the ramp, the better).
Turn the vehicle’s engine off and apply
its parking brake.
• When going up ramps, stand in the
normal operating position and push the
tiller ahead of you. Have a person at
each side to turn the wheels.
WARNING
Loading and unloading the
tiller into or from a vehicle is
potentially hazardous. We
don’t recommend doing so
unless absolutely necessary,
as this could result in person-
al injury or property damage.
However, if you must load or
unload the tiller, follow the
guidelines given next.
• When going down ramps, walk
backward with the tiller following you.
Keep alert for any obstacles behind you.
Position a person at each wheel to
control the speed of the tiller. Never go
down ramps tiller-first, as the tiller could
tip forward.
• Use wooden blocks to place on the
downhill side of the wheels if you need
to stop the tiller from rolling down the
ramp. Also, use the blocks to temporar-
ily keep the tiller in place on the ramps
(if necessary), and to chock the wheels
in place after the tiller is in the vehicle.
• When the tiller is in the vehicle, prevent
it from rolling by chocking the wheels
with blocks and securely tie the tiller
down.

19
Section
5
Maintenance
REQUIRED MAINTENANCE SCHEDULE
Before Every Every As
PROCEDURE Each 10 30 Noted
Use Hours Hours
Check engine oil level •And every 5
operating hours
Clean engine •▲
Check drive belt tension •✝
Check nuts and bolts •✝
Change engine oil •*
Lubricate tiller •
Service engine air cleaner system ▲
Check gear oil level in •✝
transmission
Check tines for wear •
Check air pressure in tires
(if pneumatic) •
Service spark plug ▲
Check Anti-Reverse Stake •
* Change more frequently in dusty or dirty conditions. Change after first 2 hours of
break-in operation.
✝ Check after first 2 hours of break-in operation.
▲See Engine Owner’s Manual for service intervals and instructions.
WARNING
Before inspecting,
cleaning or servicing the
machine, shut off engine,
wait for all moving parts to
come to a complete stop,
disconnect spark plug wire
and move wire away from
spark plug.
Failure to follow these
instructions can result in
serious personal injury or
property damage.

20
Section 5: Maintenance
TILLER LUBRICATION
Proper lubrication of the tiller is an
essential part of maintenance. After
every 10 operating hours, oil or grease
the lubrication points shown in Figures
5-1 and 5-1A and described below.
Use a good quality lubricating oil (#30
weight engine oil is suitable) and a quality
general purpose grease (with a metal
lubricant, if available).
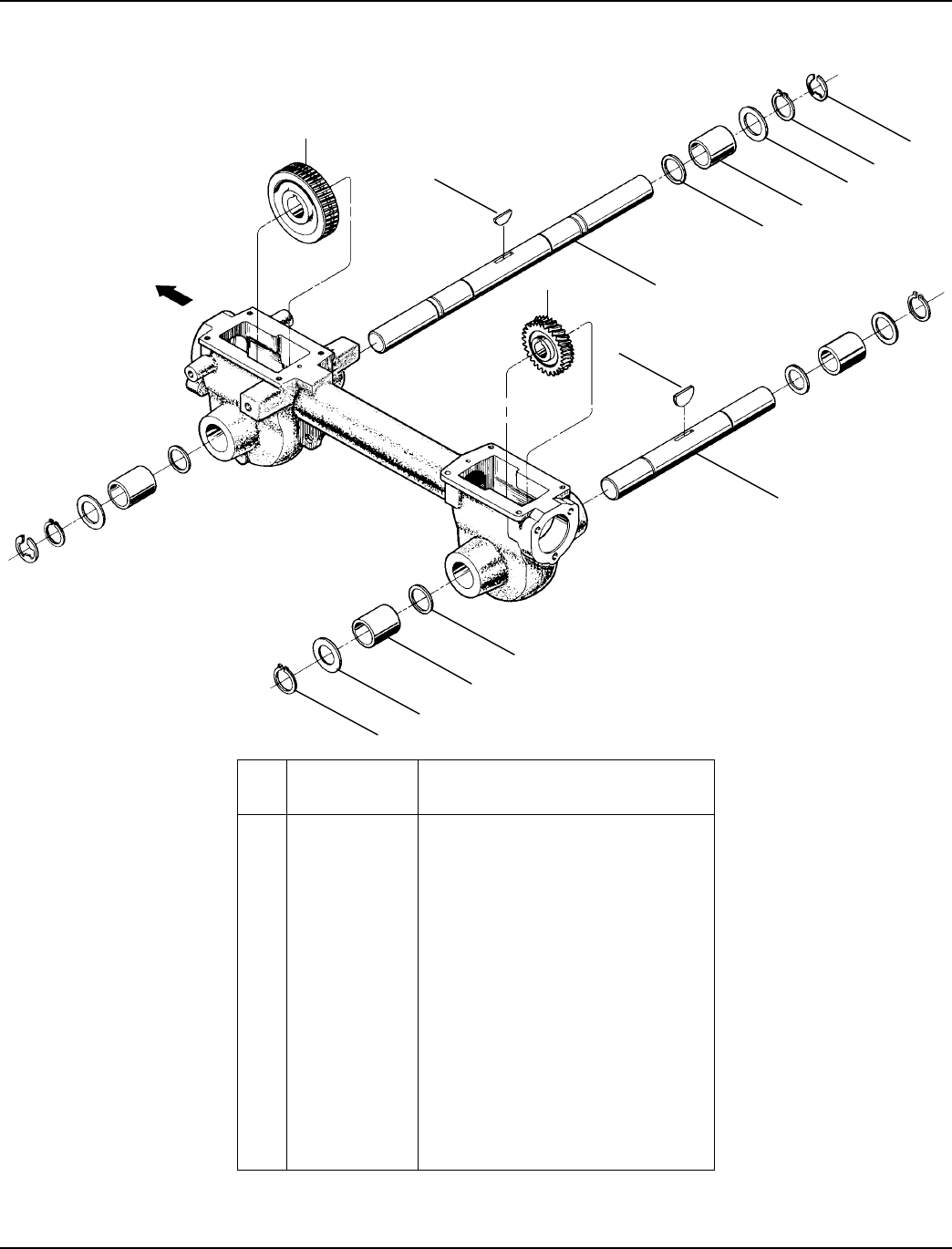
• Remove wheels, clean wheel shaft (A,
Fig. 5-1) and apply thin coating of
grease to the shaft.
• Grease back, front and sides of depth
regulator lever (B, Fig. 5-1).
• Remove tines, clean tine shafts (C, Fig.
5-1). Inspect for rust, rough spots or
burrs (look around holes). File or sand
smooth, coat ends of shaft with grease.
• Oil the threads on the handlebar height
adjustment screws and the handlebar
attaching screws (D, Fig. 5-1).
• Shifting Mechanism. Lightly oil pivot
points for smooth operation (E, Fig. 5-1A).
TRANSMISSION GEAR OIL SERVICE
Check the transmission gear oil level after
every 30 hours of operation or whenever
you notice any oil leak. Operating the
tiller when the transmission is low on oil
can result in severe damage.
A. To Check the Transmission
Gear Oil Level:
1. Check the gear oil level when the trans-
mission is cool. Gear oil will expand in
warm operating temperatures and this
expansion will provide an incorrect oil
level reading.
2. With the tiller on level ground, adjust
the Depth Regulator Lever up or down to
the notch that makes the tiller level..
3. Remove the oil fill plug (A, Fig. 5-2)
from the transmission housing and look
into the oil fill hole. You will see the main
drive shaft on one side of the hole.
4. The gear oil level is correct if the gear
oil is approximately half way up the side
of the drive shaft.
5. If the gear oil level is low, add gear oil
as described next. If the gear oil level is
okay, securely replace the oil fill plug.
IMPORTANT: Do not operate the tiller if
the gear oil level is low. Doing so will
result in severe damage to the transmis-
sion components.
6. If adding only a few ounces of gear
oil, use API rated GL-4 or GL-5 transmis-
sion gear oil having a viscosity of SAE
140, SAE 85W-140 or SAE 80W-90. If
refilling an empty transmission, use only
GL-4 transmission gear oil having a
viscosity of SAE 85W-140 or SAE 140.
NOTE: Do not use automatic transmission
fluid or engine oil in the transmission.
7. While checking frequently to avoid
overfilling, slowly add gear oil into the oil
fill hole until it reaches the halfway point
on the drive shaft.
8. Securely replace the oil fill plug.
CHECK FOR OIL LEAKS
Before each use, check your tiller for
signs of an oil leak – usually a dirty, oily
accumulation either on the unit or on the
floor where it has been parked.
A little seepage around a cover or oil seal
is usually not a cause for alarm. However,
if the oil drips overnight then immediate
attention is needed as ignoring a leak can
result in severe transmission damage.
If a cover is leaking, try tightening any
loose screws. If the screws are tight, a
new gasket or oil seal may be required. If
the leak is from around a shaft and oil
seal, the oil seal probably needs to be
replaced. See your authorized dealer or
contact the factory for service or advice.
IMPORTANT: Never operate the tiller if
the transmission is low on oil. Check the
oil level after every 30 hours of operation
and whenever there is any oil leakage.
CHECK HARDWARE
Check for loose or missing hardware after
every 10 operating hours. Tighten or
replace hardware before using the tiller.
Be sure to check the screws underneath
the tiller hood (lift the hood flap) that
secure the transmission cover and the
depth regulator lever to the transmission.
CHECK TIRE PRESSURE (on
machines equipped with
pneumatic tires)
Check the air pressure in both tires.
Deflate or inflate both tires evenly from
15-to-20 PSI (pounds per square inch).
Be sure that both tires have the same air
pressure or the unit will tend to pull to
one side.
NOTE: Your tiller may not be equipped
with pneumatic tires, eliminating the need
for air pressure checks.
Figure 5-1
A
B
C
D
D
WARNING Before inspecting, cleaning or servicing the unit, shut off engine, wait for all
parts to come to a complete stop, disconnect spark plug wire and move wire away from spark
plug. Failure to follow these instructions can result in serious personal injury or
property damage.
E
Figure 5-1A

Section 5: Maintenance
B. To Drain the Transmission Gear Oil:
The transmission gear oil does not need
to be changed unless it has been contam-
inated with dirt, sand or metal particles.
1. Drain gasoline from the fuel tank or
run the engine until the fuel tank is empty.
See “DANGER” statement above.
2. Drain the oil from the engine.
3. Remove the four screws (B, Figure 5-2)
and washers from the transmission cover
and remove the cover and gasket.
4. Remove the left-side wheel.
5. Tilt the left-side wheel shaft into a
drain pan and allow the gear oil to drain
through the top of the transmission.
6. After draining oil, reinstall the wheel,
install a new gasket (do not reuse old
gasket) and screw on transmission cover.
7. Refill transmission using GL-4 gear oil
(SAE 85W-140 or SAE 140).
8. Refill the engine with motor oil and
replenish the fuel tank with gasoline.
TINES
The tines wear with use and they should
be inspected at the beginning of each
tilling season and after every 30 operating
hours. The tines can be replaced individ-
ually or as a complete set. Refer to the
Parts List Section of this manual for tine
identification information.
NOTE: You must first remove the tiller
hood before removing either a single tine
holder or individual tines. Remove the
two screws at the front of the hood and
the two screws at the rear of the hood
and lift off the hood. Be sure to replace
the hood securely after changing a tine or
tine holders.
A. Tine Inspection:
With use, the tines will become shorter,
narrower and pointed. Badly worn tines
will result in a loss of tilling depth and
reduced effectiveness in general, and
specifically when chopping up and
turning under organic matter.
B. Removing and Installing
Tine Assemblies
1. Use a 9/16" socket, 6" extension, a
ratchet, and a 9/16" box end wrench to
loosen the nut (A, Figure 5-3) and screw
(B) that secure the tine holder to the tine
shaft.
2. Use a rubber mallet to tap the tine
holder loose. Slide tine assembly off.
3. Repeat Steps 1 and 2 above to remove
the other tine assembly.
4. Installing the tine assembly is simply
the reverse of its removal. First be sure
to remove any rust, uneven spots or burrs
from the tine shaft using fine sandpaper.
Then grease the tine shaft before rein-
stalling the tine assemblies. Be sure all
the cutting edges face so they will enter
the soil first when the tiller is moving
forward– this means the cutting edge on
the top of each tine faces toward the
operator position. Tighten hardware.
C. Removing and Installing
Individual Tines
1. Use two 9/16" box end wrenches to
remove the two screws (C, Figure 5-3)
and nuts (D) that secure the tine to its
tine holder.
NOTE: If the nuts are rusted, apply pene-
trating oil, then loosen the hardware.
2. When installing individual tines, do so
in the reverse order from which they were
removed. The two sets of inboard tines
are installed so one set faces toward the
transmission and the other faces away
from it. The single outboard tine set
faces toward the transmission housing.
Also be sure the cutting edge at the top
of each tine faces toward the operator
position. (See Figure 5-3.)
Figure 5-2: Remove oil fill plug (A) to check
gear oil level and to add gear oil. Remove
four cover screws (B) to drain gear oil.
WARNING Before inspecting, cleaning or servicing the unit, shut off engine, wait for all
parts to come to a complete stop, disconnect spark plug wire and move wire away from spark
plug. Failure to follow these instructions can result in serious personal injury or
property damage.
A
B
B
DANGER
Gasoline is highly flammable
and its vapors explosive. Fol-
low these safety practices to
prevent injury or property
damage from fire or explosion.
• Allow the engine and
muffler to cool before
draining the tiller’s gasoline
tank.
• Do not allow open flames,
sparks, matches or smoking
in the area.
• Wipe away spills and push
tiller away from spilled fuel.
• Use only an approved fuel
container and store it safely
out of the reach of children.
• Do not store gasoline where
its vapors could reach an
open flame or spark, or
where ignition sources are
present (such as hot water
and space heaters, furnaces,
clothes dryers, stoves,
electric motors, etc.) WARNING
This is a CRT (counter-rotating
tine) tiller and its tines must
be mounted in the direction
shown in Figure 5-3. If
mounted with curves in the
opposite direction, tiller will
dig poorly and be more likely
to run backward.
Failure to comply could result
in personal injury or property
damage.
21

22
Clutch Bail all the way up to the bottom of
the upper handlebars, you will need to
loosen the belt tension.
Also check the belt for cracks, cuts or
frayed edges and replace it as soon as
possible.
• Check belt tension after the first two
hours of initial operation (new belt).
• Check belt tension after every 10
operating hours.
To Check Forward Belt Tension:
1. Be sure that the engine is stopped and
the spark plug wire is disconnected and
moved away from the spark plug.
2. Loosen nut “C” (Figure 5-4) several
turns so it is about halfway up the
threaded adjustment screw.
3. Lift the Forward Clutch Bail up and
hold it to the bottom of the handlebars.
Measure the length of the clutch bail
spring (A, Figure 5-4) with a ruler. If the
belt tension is correct, the length of the
coiled portion of the spring should be
approximately 1-7/8". Nut “C” should
then be snugged down against the top of
the adjuster (B).
4. If the spring is too short, the belt
tension will be too loose. If the spring is
too long, the belt tension will be too tight.
5. To adjust the length of the spring,
release the Forward Clutch Bail. Thread
the hex nut (C, Fig. 5-4) halfway up the
adjustment screw. Turn the screw inside
the spring (A, Figure 5-4) counterclock-
wise (as viewed from the operator’s
position) while holding the adjuster (B)
steady to increase the length of the
spring, or turn clockwise (as viewed from
the operator’s position) to decrease the
length of the spring.
NOTE: If you have difficulty holding the
adjuster steady by hand, use a pliers or
wrench on the adjuster. While you turn
the screw, keep the Forward Clutch Cable
Figure 5-3: Tines, tine holders and installation hardware.
Section 5: Maintenance
WARNING Before inspecting, cleaning or servicing the unit, shut off engine, wait for all
parts to come to a complete stop, disconnect spark plug wire and move wire away from spark
plug. Failure to follow these instructions can result in serious personal injury or
property damage.
ENGINE
TINE
SHAFT
DENOTES CUTTING EDGE
OF TINE
A
D
C
C
Figure 5-4: Lift bail and check length of Clutch Bail Spring to check for correct belt tension
(1-7/8").
12345
A
C
B
B
OPERATOR
POSITION
CHECKING AND ADJUSTING
FORWARD DRIVE BELT TENSION
Maintaining correct tension on the
forward drive belt is important to good
tilling performance and long belt life. A
loose belt will slip on the engine and
transmission pulleys and cause the tines
and wheels to slow down – or stop com-
pletely – even though the engine is
running at full speed. A loose belt can
also result in premature belt wear.
If you find you can not bring the Forward

Section 5: Maintenance
WARNING Before inspecting, cleaning or servicing the unit, shut off engine, wait for all
parts to come to a complete stop, disconnect spark plug wire and move wire away from spark
plug. Failure to follow these instructions can result in serious personal injury or
property damage.
from turning by gripping the upper end of
the threaded adjuster (B) with pliers.
6. Repeat Step 3 to measure the length
of the clutch bail spring. Once the length
is correct, retighten the hex nut against
the top of the adjuster.
Forward Belt Replacement Information
If the drive belt needs to be replaced, see
your local authorized dealer or phone the
factory as instructed on Page 2. Refer to
the Parts List in the back of this manual
for correct components Use only OEM
(Original Equipment Manufacturer) fre-
placement belts. A substitute belt may
not perform satisfactorily. The procedure
requires average mechanical ability and
commonly available tools.
FORWARD CLUTCH
BAIL ADJUSTMENT
If the Forward Clutch Bail does not
function properly, first check that the
forward drive belt is adjusted properly
(see “Checking and Adjusting Forward
Drive Belt Tension”). If this fails to
correct the problem, contact the factory
technical service department or your
authorized dealer for service advice.
CHECKING AND ADJUSTING
REVERSE DRIVE BELT TENSION
Maintaining correct tension on the
reverse drive belt is important to good
performance and long belt life. A loose
belt will slip on the engine and transmis-
sion pulleys and cause the tines and
wheels to slow down – or stop com-
pletely – even though the engine is
running at full speed. A loose belt can
also result in premature belt wear.
If there is no reverse action when the
Reverse Clutch Control knob is pulled
out, then the belt tension is too loose.
When checking belt tension, also check
the belt for cracks, cuts or frayed edges
and replace it as soon as possible.
• Check belt tension after the first two
hours of break-in operation (new belt).
• Check belt tension after every 10
operating hours.
To Check Reverse Belt Tension:
1. Be sure that the engine is stopped and
the spark plug wire is disconnected and
moved away from the spark plug.
2. Remove the screw in the plastic belt
cover and slide the cover (which is
attached to the forward clutch cable) out
of the way.
3. Have an assistant pull the Reverse
Clutch Control knob all the way out and
hold it in that position. Measure the
length of the cable wire between the end
of the threaded cable adjuster (A, Figure
5-5) and the end of the Z-fitting (B) to
which the cable wire is attached.
4. The belt tension is ideal if the cable
wire length measures between 1/8" to
1/4". If the length is less than 1/8" (and if
there is no reverse action when the tiller
is running), then make the following
adjustments. NOTE: If the length is more
than 1/4", no adjustment is needed, as
long as the reverse action functions
properly.
5. Release the Reverse Clutch Control
knob. Unthread the inner jam nut (C,
Figure 5-6) one to two turns and pull the
threaded cable adjuster (A, Figure 5-6) to
the left until the inner jam nut rests
against the bracket.
6. Prevent the inner jam nut (C) from
turning and tighten the outer jam nut (D)
against the bracket. Prevent the outer
jam nut (D) from turning and tighten the
inner jam nut (C) against the bracket.
7. Measure the gap by repeating Step 3.
Readjust as needed by repeating Steps 5
and 6.
8. Reinstall the belt cover.
Reverse Belt Replacement Information
If the drive belt needs to be replaced, see
your local authorized dealer or phone the
factory as instructed on Page 2. Refer to
the Parts List in the back of this manual
for correct components Use only OEM
(Original Equipment Manufacturer) fre-
placement belts. A substitute belt may
not perform satisfactorily. The procedure
requires average mechanical ability and
commonly available tools.
Figure 5-5: Measure cable wire length to
check for correct reverse belt tension.
A B
Figure 5-6: Move threaded
adjuster (A) to left to
increase belt tension.
DCA
23

24
Section 5: Maintenance
WARNING Before inspecting, cleaning or servicing the unit, shut off engine, wait for all
parts to come to a complete stop, disconnect spark plug wire and move wire away from spark
plug. Failure to follow these instructions can result in serious personal injury or
property damage.
ENGINE OIL SERVICE
Check the engine oil level before starting
the engine each day and check it after each
5 hours of continuous operation. Running
the engine when it is low on oil will quickly
ruin the engine.
It is recommended that you change the
motor oil after every 10 hours of operation
and even sooner when operating in
extremely dirty or dusty conditions. Refer
to the separate Engine Owner’s Manual for
detailed service instructions.
A. To Check the Engine Oil Level:
1. Move the tiller to a level area and shut
off the engine.
2. Level the engine by adjusting the Depth
Regulator Lever. The tines must be in
contact with the ground. Move the Anti-
Reverse Stake back if necessary.
3. Clean the area around the oil dipstick or
oil fill tube to prevent dirt from falling into
the crankcase.
4. On engines with an oil fill tube, remove
the filler cap, add oil (if required) until it
reaches the top of the tube and reinstall the
filler cap.
5. On engines with a dipstick, remove it,
wipe it clean, and reinstall it finger-tight.
Remove the dipstick and check the reading.
Add oil (if required) to bring the level to the
FULL mark. Do not overfill.
B. To Change the Engine Oil:
Change the engine oil as instructed in the
separate Engine Owner’s Manual.
ENGINE CLEANING
Keep the engine clean to assure smooth
operation and to prevent damage from
overheating. Refer to the separate Engine
Owner’s Manual for specific repair and
cleaning instructions. All inspections and
services must be done with the engine shut
off and cool to the touch.
AIR CLEANER SERVICE
The engine air cleaner filters dirt and dust
out of the air before it enters the carbure-
tor. Operating the engine with a dirty,
clogged air filter can cause poor perfor-
mance and damage to the engine. Never
operate the engine without the air cleaner
installed. Inspect and service the air
cleaner more often if operating in very
dusty or dirty conditions.
Service the air cleaner as instructed in the
separate Engine Owner’s Manual.
SPARK PLUG SERVICE
Inspect and clean or replace the spark plug
after every 100 operating hours or
annually. Clean the plug and set the gap as
described in the separate Engine Owner’s
Manual.
In some areas, local law requires using
resistor spark plugs to suppress ignition
signals. If the engine was originally
equipped with a resistor spark plug, use
the same type for replacement.
SPARK ARRESTER SCREEN SERVICE
If the engine muffler is equipped with a
spark arrester screen, remove and clean it
according to the time intervals and instruc-
tions in the separate Engine Owner’s
Manual.
THROTTLE LEVER ADJUSTMENT
If the engine does not respond to various
throttle lever settings, refer to the separate
Engine Owner’s Manual for service infor-
mation or contact your local authorized
engine service dealer.
CARBURETOR/GOVERNOR CONTROL
ADJUSTMENTS
The carburetor was adjusted at the factory
for best operating speed. Refer to the
separate Engine Owner’s Manual for any
adjustment information or see your autho-
rized engine service dealer.
The governor controls the maximum
safe operating speed and protects the
engine and all moving parts from
damage caused by overspeeding. Do
not tamper with the engine governor
settings.
OFF SEASON STORAGE
When the tiller won’t be used for
extended periods, prepare it for storage
as follows:
1. Clean the tiller and engine.
2. Do routine tiller lubrication and check
for loose parts and hardware.
3. Protect the engine and perform rec-
ommended engine maintenance by
following the engine storage instruc-
tions found in the separate Engine
Owner’s Manual. NOTE: Be sure to
protect the fuel lines, carburetor and
fuel tank from gum deposits by
removing fuel or by treating fuel with a
fuel stabilizer (follow engine manufac-
turer’s recommendations).
4. Store unit in a clean, dry area.
5. Never store the tiller with fuel in the
fuel tank in an enclosed area where gas
fumes could reach an open flame or
spark, or where ignition sources are
present (space heaters, hot water
heaters, furnaces, etc.).
WARNING
Operators shall not tamper
with the engine governor
settings on the machine;
the governor controls the
maximum safe operating
speed to protect the
engine and all moving
parts from damage caused
by overspeed. Authorized
service shall be sought if a
problem exists.

25
Section 5: Maintenance
TROUBLESHOOTING
Before performing any corrections, refer to the appropriate information in this Manual, or in the Engine Owner’s Manual, for the
correct safety precautions and operating or maintenance procedures. Contact your local authorized Engine Service Dealer for
engine service. Contact your local authorized equipment dealer or the factory for all other service problems.
PROBLEM POSSIBLE CAUSE CORRECTION
Engine does 1. Spark plug wire disconnected. 1. Reconnect wire.
not start. 2. Engine Throttle Control Lever incorrectly set. 2. Put lever in START position.
3. Fuel tank empty. 3. Add fuel.
4. Choke control (if so equipped) in incorrect position. 4. See Engine Owner’s Manual.
5. Stale gasoline. 5. Drain fuel and add fresh fuel.
6. Dirty air filter(s). 6. Clean or replace filter(s).
7. Defective or incorrectly gapped spark plug. 7. Inspect spark plug.
8. Carburetor out of adjustment. 8. See Engine Service Dealer.
9. Misadjusted throttle control cable. 9. See Engine Service Dealer
10.Dirt or water in fuel tank. 10. See Engine Service Dealer.
Engine runs poorly. 1. Defective or incorrectly gapped spark plug. 1. Inspect spark plug (see Engine Owner’s Manual).
2. Dirty air filter(s). 2. Clean or replace (see Engine Owner’s Manual).
3. Carburetor out of adjustment. 3. See Engine Service Dealer.
4. Stale gasoline. 4. Replace with fresh gasoline.
5. Dirt or water in fuel tank. 5. See Engine Service Dealer.
6. Engine cooling system clogged. 6. Clean air cooling system (see Engine Owner’s Manual).
Engine overheats. 1. Engine cooling system clogged. 1. Clean air cooling area (see Engine Owner’s Manual).
2. Carburetor out of adjustment. 2. See Engine Service Dealer.
3. Oil level is low. 3. Check oil level (see Engine Owner’s Manual).
Engine does not
shut off. 1. Misadjusted throttle control or ignition switch. 1. See Engine Owner’s Manual or Engine Service Dealer.
Wheels and Tines 1. Improper use of controls. 1. Review Sections 3 and 4.
will not turn. 2. Worn, broken, or misadjusted drive belt(s). 2. See “Checking Drive Belt Tension,” Section 5.
3. Internal transmission wear or damage. 3 Contact local dealer or the factory.
4. Bolt loose in transmission pulley. 4. Tighten bolt.
Tines turn, but 1. Wheel Drive Pins not in WHEEL DRIVE. 1. See “Wheel Drive Pins” in Section 3.
wheels don’t. 2. Internal transmission wear or damage. 2. Contact local Dealer or the Factory.
Wheels Turn, but 1. Tine holder mounting hardware missing. 1. Replace hardware.
Tines Don’t. 2. Internal transmission wear or damage. 2. Contact local Dealer or the Factory.
Poor tilling 1. Worn tines. 1. See “Tines” (Section 5).
performance. 2. Improper Depth Regulator setting. 2. See “Tilling Tips & Techniques,” Section 4.
3. Incorrect throttle setting. 3. See Section 4.
4. Forward Drive Belt slipping. 4. See “Checking Forward Drive Belt Tension,” Section 5.

26
Section
6
Parts List
5
1
3
14
2
11 18
17
16
10
9
84
15
12
6
4
15
1
7
9
819
20
13
721
22
24
23
25
7
26
27

27
MODELS 644H & 645A
REF
NO. PART NO. DESCRIPTION
1 1185469 Spirol Pin
2 710-0597 Hex Hd. Screw, 1/4-20 x 1
3 710-0599 Screw, Self-Tapping,1/4-20 x 1/2
4 710-0874 Hex Hd. Screw, 5/16-18 x 1-1/4
5 1186331 Hex Hd. Screw, 5/16-18 x 1.0
6 712-0291 Hex Lock Nut, 1/4-20
7 712-3004A Hex Flange Lock Nut, 5/16-18
8 712-3009 Hex Nut, 5/16-18
9 736-0119 Lock Washer, 5/16
10 GW-55013-1 Hood Bracket, Left Hand
11 GW-55013-2 Hood Bracket, Right Hand
12 GW-55015 Drag Bar
13 GW-55018 Depth Regulator Lever
14 686-04029 Tine Hood Assembly
15 GW-55088 Bushing
16 GW-9384 Spring, Depth Regulator
17 GW-9534 Spacer
18 710-04048 Hex Hd. Flange Screw, 5/16-18 x 1
19 618-04046 Transmission Assembly (CRT)
20 1916569 Flap Stop Bracket
21 1916570 Reverse Stop Arm
22 710-3073 Hex Screw, 5/16-18 x 2.25
23 1916771 Spacer, .462 x .328 x 1.63
24 1107382 Flat Washer, 5/16
25 710-3025 Hex Screw, 5/16-18 x .625
26 1916708 Hood Support Bracket
27 1916707 Channel Support Bracket

28
MODELS 644H & 645A
5
10
2
5
15
1
12
16
21
3
13
20
4
17
11
25
7
22
7
25
20
6
8
20
6
23
14
18
18
7
9

29
MODELS 644H & 645A
REF
NO. PART NO. DESCRIPTION
1 1916719 Cable Assembly, Reverse Clutch
2 1916755 Upper Handlebar
3 1917479 Bail, Forward Clutch
4 1918745 Cable Assembly, Forward Clutch
5 710-0599 Screw, Self-Tapping,1/4-20 x 1/2
6 710-3008 Screw, Hex, 5/16-18 x 3/4
7 712-3009 Hex Lock Nut, 5/16-18
8 GW-55042 Handlebar Support
9 GW-55043 Lower Handlebar
10 GW-55102 Panel
11 GW-55044 Tab, Conduit Mount
12 GW-9855 Screw, #10-24 x 2
13 725-0157 Cable Tie
14 736-3050 Flat Washer, 3/8
15 1916674 Bracket, Reverse Clutch Cable
16 1916712 Spring, Forward Clutch
17 710-0106 Hex Hd. Screw, 1/4-20 x 1-1/4
18 710-0216 Screw, Hex, 3/8-16 x 3/4
20 710-0805 Screw, Hex, 5/16-18 x 1-1/2
21 712-0121 Hex Nut, #10-24
22 712-0291 Hex Lock Nut, 1/4-20
23 712-3000 Hex Nut, 3/8-16
25 736-0119 Lock Washer, 5/16
REF
NO. PART NO. DESCRIPTION
1 1918749 Bumper
2 710-0395 Hex Screw, 5/16-18 x 2-1/4, Gr5
3 712-0267 Nut, Hex, 5/16-18
4 736-0119 Lock Washer, 5/16
14
3
2

30
MODELS 644H & 645A
* Use as required to obtain between .005” and .015” allowable end-play.
REF
NO. PART NO. DESCRIPTION
1 GW-9517 Snap Ring
2 GW-1714 Bearing, Tapered Roller (with race)
3 GW-50043 Support Washer, Rear
4 711-04110 Drive Shaft (CRT)
5 GW-1224-1* Shim, Rear Bearing Cap, .010" thick
GW-1224-2* Shim, same as above, except .030" thick
GW-1224-3* Shim, same as above, except .005" thick
GW-1224-4* Shim, same as above, except .062" thick
— GW-1325C Shim Set (Incl. the following shims:
two #1224-1, two 1224-2 & one #1224-4)
3
4
5
2
2
1

31
MODELS 644H & 645A
* Use as required to obtain between .005” and .030” allowable end-play.
REF
NO. PART NO. DESCRIPTION
1 GW-9512 Retainer, Snap Ring, “E” Type
2 1909950 Retainer, Snap Ring
3 GW-1166-1* Shim, 0.062" thick
GW-1166-2* Shim, 0.030" thick
GW-1166-3* Shim, 0.015" thick
GW-1166-4* Shim, 0.010" thick
GW-1166-5* Shim, 0.005" thick
4 GW-1086 Bronze Bushing
5 711-04092 Wheel Shaft (CRT)
6 GW-9305 Key, Hi-Pro, 1/4 x 1
7 GW-1132-2 Spacer
8 1904278 Worm Gear, Wheel Shaft
9 711-04078 Tiller Shaft
10 GW-1104 Woodruff Key
11 1904279 Worm Gear, Tiller Shaft
1
2
3
4
7
7
4
3
2
FRONT
9
5
6
10
11
8

32
MODELS 644H & 645A
REF
NO. PART NO. DESCRIPTION
1 GW-9727 Plug, Transmission Oil Fill
2 710-04049 Hex Hd. Flange Screw, 5/16-18 x 5/8,Gr. 5
3 736-0119 Lock Washer, 5/16
4 1918377 Rear Cover, Transmission
5 1916641 Front Cover, Transmission
6 GW-50032 Gasket, Housing Cover
7 721-04030 Oil Seal, Drive Shaft
8 721-04031 Oil Seal, Wheel Shaft
9 619-04013 Transmission Housing Assembly
10 721-04036 Oil Seal, Tine Shaft
11 736-3008* Washer, Flat, .344 x .750 x .120
12 718-04008 Rear Bearing Cap
13 710-04048 Hex Hd. Flange Screw, 5/16-18 x 1
14 710-3008 Hex Hd. Flange Screw, 5/16-18 x 3/4
REF
NO. PART NO. DESCRIPTION
2
2
1
5
4
6
6
8
8
9
10
10
12
3
14
13
11*
7
* Included with transmission when purchased as an assembly only.
Remove and discard when installing the transmission on tiller.

33
ENGINE
TINE SHAFT
DENOTES CUTTING EDGE
OF TINE
MODELS 644H & 645A
REF
NO. PART NO. DESCRIPTION
1 710-3008 Hex Hd. Screw, 5/16-18 x 3/4, Grade 5
2 1817060 Single Tine - Right Hand
3 712-3009 Hex Lock Nut, 5/16-18
4 710-3096 Hex Hd. Screw, 3/8-16 x 2
5 1817059 Single Tine - Left Hand
6 1916702 LH Tine Holder
7 1916703 RH Tine Holder
8 1917487 Wheel & Tire Ass’y — Left/Right Side
9 GW-9380 Clevis Pin, .312" x 1-3/4"
10 GW-9338 Hair Pin Cotter
11 712-3000 Hex Lock Nut, 3/8-16
— 1817059 Replacement Tines Set (Incl. three LH tines,
three RH tines and required hardware)
REF
NO. PART NO. DESCRIPTION
LEFT-HAND TINERIGHT-HAND TINE
Hold Tines With Cutting Edge at the TOP
of each tine facing TOWARD You
9
WHEEL SHAFT
9
10
11
6
5
2
3
5
4
2
5
210
8
3
4
1
1
11
3
8
1
1
6

34
MODELS 644H & 645A
9
24
28
20
30
25
27
1
1
11
5
17
19
28
1
12
10
14
16
38
32
31
3
2
7
8
37
19
39
33
4
38
34
FORWARD
CLUTCH CABLE
35
42
28
24 22
22
24
6
13
21 28
16
29
18
36
23
40
REVERSE
CLUTCH CABLE
15
28
26

35
MODELS 644H & 645A
REF
NO. PART NO. DESCRIPTION
1 1107382 Flat Washer, 5/16
2 1108841 Key, 3/16" x 1-1/2"
3 619-04016 Pulley, Engine Drive
4 1916532 Transmission Pulley
5 1916535 Pulley, Reverse Idler
6 1916652 Guard, Belts/Pulleys
7 1916657 Forward Drive Belt
8 1916658 Reverse Drive Belt
9 1916660 Belt Cover
10 1916724 Reverse Return Spring
11 1916725 Belt Guide
12 1916726 Forward Belt Guide
13 1916794 Engine Bracket, Left
14 1916795 Engine Bracket, Right
15 1917326 Bracket, Belt Cover
16 1917746 Shoulder Washer
17 1918731 Reverse Idler Arm
18 1918744 Forward Idler Lever
19 710-0117 Hex Hd. Screw, 5/16-24 x 1
20 710-0237 Hex Hd. Screw, 5/16-24 x 5⁄8
21 710-0376 Hex Hd. Screw, 5/16-18 x 1
22 710-04049 Hex Hd. Screw, 5/16-18 x 5/8
23 710-0520 Hex Hd. Screw, 3/8-16 x 1-1/2
24 710-0599 Screw, Self-Tapping, 1/4-20 x 1/2
25 710-3103 Hex Hd. Screw, 5/16-18 x 2
26 712-3000 Lock Nut, 3/8-16
27 712-3009 Lock Nut, 5/16-18
28 736-0119 Lock Washer, 5/16
29 736-3050 Flat Washer, 3/8
30 736-3090 Flat Washer
31 736-0452 Bell Washer
32 710-0459A Hex Hd. Screw, 3/8-24 x 1.5, GR5
33 GW-50027 Support Washer
34 GW-55034 Forward Return Spring
35 GW-55049 Bracket, Cable Mounting
36 GW-9090 Forward Idler Pulley
37 GW-9301 Key, 3/16" x 1"
38 GW-9929 Flat Washer
39 GW-9944 Belleville Washer
40 710-0395 Hex Screw, 5/16-18 x 2.25 Gr5

TROY-BILT TILLER LIFETIME LIMITED WARRANTY
WHAT PRODUCT All Troy-Bilt branded rear tine walk-behind tillers with gear drive transmissions.
IS COVERED This warranty begins on the date of purchase and is warranted by Troy-Bilt LLC for the life of the
tiller, to the original purchaser only.
WHAT IS COVERED Troy-Bilt LLC will, at its option, repair or replace any part found to be defective in material or
BY THIS WARRANTY workmanship without charge for parts and labor
This limited lifetime warranty also applies to non-powered attachments and accessories.
Powered attachments and accessories are warranted separately by their manufacturers. Refer
to the applicable manufacturer’s warranty on these items for terms and conditions.
WHAT IS NOT This warranty does not apply to parts that have been damaged by accident, alteration, misuse,
COVERED BY THIS abuse, neglect, improper maintenance, vandalism, theft, fire, water, or damage because of peril
WARRANTY or other natural disaster.
The following items are not covered after the first year of this residential use limited warranty:
belts, batteries, bushings, seals, tines, tires, wheels, paint, appearance items, and similar items
that are normally replaced through periodic maintenance.
Charges for pick-up, delivery, and service calls are not covered by this warranty.
Service completed by someone other than an authorized service dealer is not covered by this
warranty.
Parts that are not genuine Troy-Bilt LLC service parts are not covered by this warranty.
The engine is warranted separately by the engine manufacturer. Refer to the engine
manufacturer’s warranty for terms and conditions.
LIMITED If used for commercial, institutional, industrial, rental, or demonstrator purposes, the warranty
COMMERCIAL on the tiller is limited in duration to 90 days from the date of purchase.
USE WARRANTY
This warranty does not apply to parts that have been damaged by accident, alteration, misuse,
abuse, neglect, improper maintenance, vandalism, theft, fire, water, or damage because of
peril or other natural disaster.
HOW TO OBTAIN Warranty service is available, with proof of purchase, through your local authorized service
SERVICE dealer. To locate a dealer in your area, consult your Yellow Pages, or contact Troy-Bilt LLC at
P.O. Box 361131, Cleveland, Ohio 44136-0019, 1-866-840-6483, or log on to our Web site at
www.troybilt.com.
The provisions set forth in this warranty provide the sole and exclusive remedy arising from the sale. Troy-Bilt LLC shall
not be liable for any incidental or consequential damage or expense of any kind, including but not limited to cost of
equipment rental, loss of profits, or costs of hiring services to perform tasks normally performed by the equipment.
Any implied warranties, including any implied warranty of merchantability or fitness for a particular purpose, shall be limited
in duration to the period of ownership by the original purchaser (and a maximum of 90 days from the date of sale if the tiller is
purchased for commercial or other non-residential use).
Some states do not allow the exclusion or limitation of incidental or consequential damages, or limitations on how long an
implied warranty lasts, so the above exclusions or limitations may not apply to you.
This limited warranty gives you specific legal rights, and you may also have other rights which vary from state to state.
For customer assistance, contact your nearest authorized dealer, or contact us at:
TROY-BILT LLC, P.O. Box 361131, Cleveland, Ohio 44136-0019, 1-866-840-6483