Troy Bilt Rzt Series Zt42 Users Manual
ZT42 to the manual af362e38-5207-4f87-b3a5-5038a146b911
2015-01-21
: Troy-Bilt Troy-Bilt-Rzt-Series-Zt42-Users-Manual-349842 troy-bilt-rzt-series-zt42-users-manual-349842 troy-bilt pdf
Open the PDF directly: View PDF
.
Page Count: 76

TROY-BILT LLC, P.O. BOX 361131 CLEVELAND, OHIO 44136-0019
Printed In USA
Op e r a t O r ’s Ma n u a l
Form No. 769-06682
(November 18, 2010)

To The Owner 1
Safe Operation Practices ........................................ 3
Assembly & Set-Up .................................................. 9
Controls & Features ................................................12
Operation ................................................................15
Maintenance & Adjustment................................. 22
Service .................................................................... 28
Troubleshooting .................................................... 33
Replacement Parts ............................................... 34
Attachments & Accessories .................................. 36
Warranties ............................................................. 38
Table of Contents
Customer Support
Please do NOT return the machine to the retailer or dealer without first contacting our Customer Support Department.
If you have difficulty assembling this product or have any questions regarding the controls, operation, or maintenance of
this machine, you can seek help from the experts. Choose from the options below:
Visit us on the web at www.troybilt.com◊
Call a Customer Support Representative at (800) 828-5500 or (330) 558-7220◊
◊
Thank you for purchasing a RZT series tractor manufactured by
Troy-Bilt LLC. It was carefully engineered to provide excellent
performance when properly operated and maintained.
It instructs you how to safely and easily set up, operate and
persons who will operate the machine, carefully follow the
recommended safety practices at all times. Failure to do so could
result in personal injury or property damage.
All information in this manual is relative to the most recent
product information available at the time of printing. Review
this manual frequently to familiarize yourself with the machine,
Manual may cover a range of product specifications for various
models. Characteristics and features discussed and/or illustrated
in this manual may not be applicable to all models.
Troy-Bilt LLC reserves the right to change product specifications,
designs and equipment without notice and without incurring
obligation.
If you have any problems or questions concerning the machine,
phone a authorized Troy-Bilt service dealer or contact us directly.
address and mailing address can be found on this page. We want
to ensure your complete satisfaction at all times.
Throughout this manual, all references to right and left side of the
machine are observed from the operating position
The engine manufacturer is responsible for all engine-related
issues with regards to performance, power-rating, specifications,
machine, for more information.
Thank You
Record Product Information
Before setting up and operating your new equipment, please
locate the model plate on the equipment and record the
assembly forward to locate the model plate on the underside of
the seat pivot bracket. This information will be necessary, should
you seek technical support via our web site, Customer Support
Department, or with a local authorized service dealer.
MO d e l nu M b e r
se r i a l nu M b e r

Important Safe Operation Practices 2
3
General Operation
Read, understand, and follow all instructions on the
machine and in the manual(s) before attempting to
assemble and operate. Keep this manual in a safe place for
future and regular reference and for ordering replacement
parts.
Be familiar with all controls and their proper operation. 2.
Know how to stop the machine and disengage them
quickly.
3.
the instructions and safe operation practices in this manual
and on the machine and should be trained and supervised
by an adult.
Never allow adults to operate this machine without proper
instruction.
To help avoid blade contact or a thrown object injury, 5.
keep bystanders, helpers, children and pets at least 75 feet
from the machine while it is in operation. Stop machine if
anyone enters the area.
Thoroughly inspect the area where the equipment is to be
used. Remove all stones, sticks, wire, bones, toys, and other
foreign objects which could be picked up and thrown by
the blade(s). Thrown objects can cause serious personal
injury.
7.
toward roads, sidewalks, bystanders and the like. Also,
avoid discharging material against a wall or obstruction
which may cause discharged material to ricochet back
toward the operator.
Always wear safety glasses or safety goggles during 8.
operation and while performing an adjustment or repair
to protect your eyes. Thrown objects which ricochet can
cause serious injury to the eyes.
Wear sturdy, rough-soled work shoes and close-fitting
slacks and shirts. Loose fitting clothes and jewelry can be
caught in movable parts. Never operate this machine in
bare feet or sandals.
Be aware of the mower and attachment discharge direction
and do not point it at anyone. Do not operate the mower
without the discharge cover or entire grass catcher in its
proper place.
Do not put hands or feet near rotating parts or under the
cutting deck. Contact with the blade(s) can amputate
hands and feet.
This symbol points out important safety instructions which, if not followed,
could endanger the personal safety and/or property of yourself and others. Read and follow
all instructions in this manual before attempting to operate this machine. Failure to comply
with these instructions may result in personal injury.
When you see this symbol.
This machine was built to be operated according to the safe operation practices in
this manual. As with any type of power equipment, carelessness or error on the part of the
operator can result in serious injury. This machine is capable of amputating hands and feet
and throwing objects. Failure to observe the following safety instructions could result in
serious injury or death.
CALIFORNIA PROPOSITION 65
Engine Exhaust, some of its constituents, and certain vehicle components
contain or emit chemicals known to State of California to cause cancer and birth defects
or other reproductive harm.
Battery posts, terminals, and related accessories contain lead and lead
compounds, chemicals known to the State of California to cause cancer and reproductive
harm. Wash hands after handling

4se c t i O n 2 — iM p O r t a n t sa f e Op e r a t i O n pr a c t i c e s
A missing or damaged discharge cover can cause blade
contact or thrown object injuries.
Stop the blade(s) when crossing gravel drives, walks, or
roads and while not cutting grass.
Watch for traffic when operating near or crossing
roadways. This machine is not intended for use on any
public roadway.
Do not operate the machine while under the influence of
alcohol or drugs.
Mow only in daylight or good artificial light.
Never carry passengers.
Back up slowly. Always look down and behind before and
while backing to avoid a back-over accident. Be aware
and pay attention to the safety system function that
stops power to the blades when driving in reverse. If not
fuctioning properly, contact an authorized dealer for safety
system inspection and repair.
Avoid erratic operation and excessive speed.
Disengage blade(s), set parking brake, stop engine and wait 20.
until the blade(s) come to a complete stop before removing
grass catcher, emptying grass, unclogging chute, removing
any grass or debris, or making any adjustments.
Never leave a running machine unattended. Always turn off
blade(s), place drive control levers in neutral, set parking
brake, stop engine and remove key before dismounting.
Use extra care when loading or unloading the machine into 22.
a trailer or truck. This machine should not be driven up or
down ramp(s), because the machine could tip over, causing
serious personal injury. The machine must be pushed
manually on ramp(s) to load or unload properly.
Muffler and engine become hot and can cause a burn. Do 23.
not touch.
Check overhead clearances carefully before driving under
low hanging tree branches, wires, door openings etc.,
where the operator may be struck or pulled from the
machine, which could result in serious injury.
Disengage all attachment clutches, set the parking brake 25.
to the ‘
levers to the neutral position before attempting to start the
engine.
Your machine is designed to cut normal residential grass of
unusually tall, dry grass (e.g., pasture) or piles of dry leaves.
Dry grass or leaves may contact the engine exhaust and/
or build up on the mower deck presenting a potential fire
hazard.
Use only accessories and attachments approved for this 27.
machine by the machine manufacturer. Read, understand
and follow all instructions provided with the approved
accessory or attachment.
28.
involved in a large percentage of riding mower-related
injuries. These operators should evaluate their ability
to operate the riding mower safely enough to protect
themselves and others from serious injury.
If situations occur which are not covered in this manual, use
care and good judgment. Contact your customer service
representative for assistance.
Slope Operation
Slopes are a major factor related to loss of control and tip-over
accidents which can result in severe injury or death. All slopes
require extra caution. If you cannot back up the slope or if you
feel uneasy on it, do not mow it.
For your safety, use the slope gauge included as part of this
manual to measure slopes before operating this machine on
shown on the slope gauge, do not operate this machine on that
area or serious injury could result.
Do:
Mow across slopes, not up and down. Exercise extreme
caution when changing direction on slopes.
Watch for holes, ruts, bumps, rocks, or other hidden 2.
objects. Uneven terrain could overturn the machine. Tall
grass can hide obstacles.
Use slow speed. Choose a low enough speed so that you 3.
will not have to stop while on the slope. Avoid starting
or stopping on a slope. If the tires are unable to maintain
traction, disengage the blades and proceed slowly and
carefully straight down the slope.
weights or counterweights to improve stability.
Use extra care with grass catchers or other attachments. 5.
These can change the stability of the machine.
Keep all movement on the slopes slow and gradual. Do
not make sudden changes in speed or direction. Rapid
acceleration or deceleration could cause the front of the
machine to lift and rapidly roll over backwards, which
could cause serious injury.
Do Not:
Do not turn on slopes unless necessary; then turn slowly
uphill and use extra care while turning.
Do not mow near drop-offs, ditches or embankments. The 2.
mower could suddenly turn over if a wheel is over the edge
of a cliff, ditch, or if an edge caves in.
Do not try to stabilize the machine by putting your foot on 3.
the ground.
Do not use a grass catcher on steep slopes.
Do not mow on wet grass. Reduced traction could cause 5.
sliding.
Do not tow heavy pull behind attachments (e.g. loaded
dump cart, lawn roller, etc.) on slopes greater than 5
degrees. When going down hill, the extra weight tends
to push the tractor and may cause you to loose control
(e.g. tractor may speed up, braking and steering ability are
reduced, attachment may jack-knife and cause tractor to
overturn).

5se c t i O n 2 — iM p O r t a n t sa f e Op e r a t i O n pr a c t i c e s
Children
Tragic accidents can occur if the operator is not alert to the
presence of children. Children are often attracted to the
machine and the mowing activity. They do not understand
the dangers. Never assume that children will remain where
you last saw them.
Keep children out of the mowing area and in a.
watchful care of a responsible adult other than the
operator.
Be alert and turn machine off if a child enters the b.
area.
To avoid back-over accidents, always look behind c.
and down for small children.
Never carry children, even with the blade(s) shut off. d.
They may fall off and be seriously injured or interfere
with safe machine operation.
Use extreme care when approaching blind corners, e.
doorways, shrubs, trees or other objects that may
block your vision of a child who may run into the
path of the machine.
Keep children away from hot or running engines. f.
They can suffer burns from a hot muffler.
Remove key when machine is unattended to g.
prevent unauthorized operation.
2.
the instructions and safe operation practices in this manual
and on the machine and should be trained and supervised
by an adult.
Towing
Tow only with a machine that has a hitch designed for
towing. Do not attach towed equipment except at the
hitch point.
Follow the manufacturers recommendation for weight 2.
limits for towed equipment and towing on slopes.
Never allow children or others in or on towed equipment.3.
loss of traction and loss of control.
Travel slowly and allow extra distance to stop.5.
Do not shift to neutral and coast downhill.
Do not tow heavy pull behind attachments (e.g. loaded 7.
dump cart, lawn roller, etc.) on slopes greater than 5
degrees. When going down hill, the extra weight tends
to push the tractor and may cause you to loose control
(e.g. tractor may speed up, braking and steering ability are
reduced, attachment may jack-knife and cause tractor to
overturn).
Service
Safe Handling of Gasoline:
To avoid personal injury or property damage use extreme
care in handling gasoline.
Serious
personal injury can occur when gasoline is spilled on
yourself or your clothes which can ignite. Wash your skin
and change clothes immediately.
Use only an approved gasoline container.a.
Never fill containers inside a vehicle or on a truck b.
or trailer bed with a plastic liner. Always place
containers on the ground away from your vehicle
before filling.
When practical, remove gas-powered equipment c.
from the truck or trailer and refuel it on the ground.
If this is not possible, then refuel such equipment on
a trailer with a portable container, rather than from a
gasoline dispenser nozzle.
Keep the nozzle in contact with the rim of the fuel d.
tank or container opening at all times until fueling is
complete. Do not use a nozzle lock-open device.
Extinguish all cigarettes, cigars, pipes and other e.
sources of ignition.
Never fuel machine indoors.f.
Never remove gas cap or add fuel while the engine g.
is hot or running. Allow engine to cool at least two
minutes before refueling.
h.
below bottom of filler neck to allow space for fuel
expansion.
Replace gasoline cap and tighten securely.i.
If gasoline is spilled, wipe it off the engine and j.
equipment. Move machine to another area. Wait 5
minutes before starting the engine.
To reduce fire hazards, keep machine free of grass, k.
leaves, or other debris build-up. Clean up oil or fuel
spillage and remove any fuel soaked debris.
Never store the machine or fuel container inside l.
where there is an open flame, spark or pilot light
as on a water heater, space heater, furnace, clothes
dryer or other gas appliances.
Allow a machine to cool at least five minutes before m.
storing.
General Service
Never run an engine indoors or in a poorly ventilated area.
Engine exhaust contains carbon monoxide, an odorless,
and deadly gas.
Before cleaning, repairing, or inspecting, make certain the 2.
blade(s) and all moving parts have stopped. Disconnect the
spark plug wire and ground against the engine to prevent
unintended starting.
3.
complete stop within approximately (5) five seconds after
operating the blade disengagement control. If the blades
do not stop within the this time frame, your machine
should be serviced professionally by an authorized dealer.
Regularly check the safety interlock system for proper
function, as described later in this manual. If the safety
interlock system does not function properly, have your
machine serviced professionally by an authorized dealer.

6se c t i O n 2 — iM p O r t a n t sa f e Op e r a t i O n pr a c t i c e s
Check the blade(s) and engine mounting bolts at frequent 5.
intervals for proper tightness. Also, visually inspect blade(s)
for damage (e.g., excessive wear, bent, cracked). Replace
which do not meet the original equipment specifications
may lead to improper performance and compromise
Mower blades are sharp. Wrap the blade or wear gloves,
and use extra caution when servicing them.
Keep all nuts, bolts, and screws tight to be sure the 7.
equipment is in safe working condition.
Never tamper with the safety interlock system or other 8.
safety devices. Check their proper operation regularly.
After striking a foreign object, stop the engine, disconnect
the spark plug wire(s) and ground against the engine.
Thoroughly inspect the machine for any damage. Repair
the damage before starting and operating.
Never attempt to make adjustments or repairs to the
machine while the engine is running.
Grass catcher components and the discharge cover are
subject to wear and damage which could expose moving
parts or allow objects to be thrown. For safety protection,
frequently check components and replace immediately
original equipment specifications may lead to improper
Do not change the engine governor settings or over-speed
the engine. The governor controls the maximum safe
operating speed of the engine.
Maintain or replace safety and instruction labels, as
necessary.
etc. to protect the environment.
this product has an Average Useful Life of seven (7) years,
or 270 hours of operation. At the end of the Average Useful
Life have the machine inspected annually by an authorized
service dealer to ensure that all mechanical and safety
systems are working properly and not worn excessively.
Failure to do so can result in accidents, injuries or death.
Do not modify engine
To avoid serious injury or death, do not modify engine in any
way. Tampering with the governor setting can lead to a runaway
engine and cause it to operate at unsafe speeds. Never tamper
with factory setting of engine governor.
Notice Regarding Emissions
Engines which are certified to comply with California and federal
are certified to operate on regular unleaded gasoline, and
may include the following emission control systems: Engine
Modification (EM) and Three Way Catalyst (TWC) if so equipped.
Spark Arrestor
This machine is equipped with an
internal combustion engine and should not be used
on or near any unimproved forest-covered, brush-
exhaust system is equipped with a spark arrestor
meeting applicable local or state laws (if any).
If a spark arrestor is used, it should be maintained in
effective working order by the operator. In the State of California
Federal laws apply on federal lands.
A spark arrestor for the muffler is available through your
nearest engine authorized service dealer or contact the service

7se c t i O n 2 — iM p O r t a n t sa f e Op e r a t i O n pr a c t i c e s
Your Responsibility — Restrict the use of this power machine to persons who read, understand and
follow the warnings and instructions in this manual and on the machine.
SAVE THESE INSTRUCTIONS!
Safety Symbols
This page depicts and describes safety symbols that may appear on this product. Read, understand, and follow all instructions on the
machine before attempting to assemble and operate.
Symbol Description
Read, understand, and follow all instructions in the manual(s) before attempting to
assemble and operate
Do not put hands or feet near rotating parts or under the cutting deck. Contact with the
blade(s) can amputate hands and feet.
This machine may pick up and throw and objects which can cause serious personal injury.
This machine may pick up and throw and objects which can cause serious personal injury.
BYSTANDERS
Keep bystanders, helpers, children and pets at least 75 feet from the machine while it is in
operation.
To reduce the risk of injury, keep hands and feet away. Do not operate unless discharge cover
or grass catcher is in its proper place. If damaged, replace immediately.

8se c t i O n 2 — sa f e Op e r a t i O n pr a c t i c e s
Use this page as a guide to determine slopes where you may not operate safely.
zero turn tractors across the face of slopes rather than up and down. Begin with the first pass across the bottom of
the slope and turn uphill at the end of each pass whenever possible.

Assembly & Set-Up 3
9
Contents of Crate
Tractor Preparation
Remove the upper crating material from the shipping pallet, and
cut any bands or tie straps securing the tractor to the pallet.
Use the lift handle to raise the deck to its highest position.
Engage the transmission bypass rods on each side of the
tractor; then carefully roll the tractor off the shipping pallet.
transmission) are located beneath the frame platform, just inside
Remove the deck wash system nozzle adapter and oil drain tube
from the manual bag and store for future use.
Lower Deck Discharge Chute Deflector
Never operate the mower deck without
the chute deflector installed and in the down
position.
The discharge chute deflector must be installed before operating
the mower.
Remove the keys that are attached with a zip tie to the
chute bracket.
Remove the flange lock nuts from the deck. Do not remove 2.
the push nuts or carriage bolts, leaving them in place will
aid in installing the chute. See Fig. 3-2.

10 se c t i O n 2— as s e M b l y & se t -up
Install the discharge chute deflector using the carriage 3.
bolts, push nuts and flange lock nuts as shown in Fig. 3-3
and securely tighten the hardware.
Install Operator’s Seat
To install the seat proceed as follows:
NOTE: The seat is shipped with the seat switch and seat pan
attached.
Cut any straps securing the seat assembly and the drive
control levers to the tractor. Remove any packing material.
NOTE: Be careful not to cut the wiring harness connecting the
seat and the seat switch.
Remove the two shoulder bolts and lock nuts in the seat 2.
Rotate the seat into position and secure the seat into place 3.
with the previously removed shoulder bolts and lock nuts.
Be careful not to crimp or damage the wire harness while
installing the seat. See Fig. 3-5.
Position Drive Control levers
The drive control levers of the tractor are lowered for shipping
purposes. The flange lock nuts, hex screws, and flat washers that
normally secure the control levers in their operating position
are unfastened and installed in the slotted holes of the control
levers for shipment. The control levers must be repositioned to
operate the tractor. To reposition the control levers for operation,
proceed as follows:
Remove the hex screw, flat washer, and flange lock nut
from the slot of one of the drive control levers.
Lift and swing that control lever upward until the slotted 2.
hole in the lever bracket aligns with one of the holes in the
Seat Pan

11se c t i O n 2 — as s e M b l y & se t -up
Slide the flat washer onto the hex screw. From the outside, 3.
insert the hex screw with washer through the control lever
slot and the hole of the pivot bracket. Secure with the
Note the relative position of the control lever to the pivot
bracket, then repeat the previous steps to reposition the
other control lever in approximately the same position.
5.
Maintenance & Adjustments section for instructions on
final adjustment of the levers.
Connecting the Battery Cables
!
Battery posts, terminals, and related accessories
contain lead and lead compounds, chemicals known
to the State of California to cause cancer and
reproductive harm. Wash hands after handling.
When attaching battery cables, always
followed by the NEGATIVE (Black) wire.
For shipping reasons, both battery cables on your equipment
may have been left disconnected from the terminals at the
factory. To connect the battery cables, proceed as follows:
NOTE:
negative battery terminal is marked Neg. (–).
NOTE: If the positive battery cable is already attached, skip
ahead to step 2.
Remove the plastic cover, if present, from the positive
battery terminal and attach the red cable to the positive
Remove the plastic cover, if present, from the negative 2.
battery terminal and attach the black cable to the negative
battery terminal (–) with the bolt and hex nut. See Fig. 3-7.
3.
terminal to help protect it from corrosion.
NOTE: If the battery is put into service after the date shown
on top/side of battery, charge the battery as instructed in the
the tractor.
Adjusting the Seat
To adjust the position of the seat, pull up and hold the seat
adjustment lever. Slide the seat forward or rearward to the desired
position; then release the adjustment lever. Make sure seat is
locked into position before operating the tractor. See Fig. 3-8.

Controls & Features 4
NOTE:
position on the tractor when facing forward while seated in the
Deck Height Index
The deck height index consists of six index notches
located on the front/right of the seat box frame. Each
notch corresponds to a ⁄ change in the deck height
⁄
inches at the highest notch.
Deck Lift Handle
The deck lift handle is located on the front/right of
the seat box frame, and is used to raise and lower the
mower deck.
push downward to lower the deck, or pull upward to
raise the deck. When the desired height is attained,
move the lift handle to the right until fully in the index
notch.
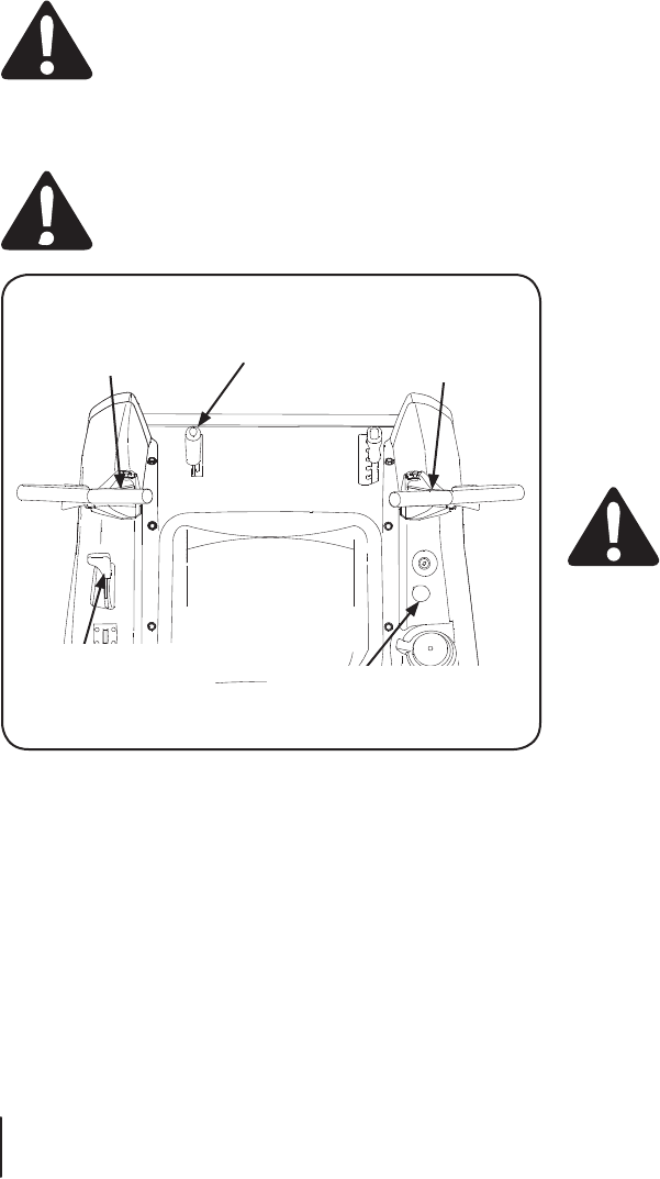
RH and LH Drive Control Levers
space to permit the operator to either sit in the tractor seat, or to
dismount the tractor. The levers must be fully opened out and in
the neutral position to start the tractor engine.
Consequently, these levers control all of the movements of the
tractor. Driving and steering utilizing these control levers is
quite different from conventional tractors, and will take some
the control levers.

13se c t i O n 4 — cO n t r O l s & fe a t u r e s
Ignition Switch
switch has three positions.
— The engine and electrical system is
turned off.
RUN — The tractor electrical system is energized.
START — The starter motor will turn over the engine. Release
the key immediately when the engine starts
NOTE: To prevent accidental starting and/or battery discharge,
remove the key from the ignition switch when the tractor is not
in use.
Power Take-Off (PTO) Switch
clutch mounted on the bottom of the engine
downward to disengage the clutch.
position when starting the engine.
Transmission Bypass Rods
transmission) are located beneath the frame platform, just inside
each rear wheel.
When engaged, the two rods open a bypass within the
hydrostatic transmissions, which allows the tractor to be pushed
short distances by hand. Refer to the Assembly & Set-Up section
for instructions on using the bypass feature.
Never tow your tractor. Towing the
tractor with the rear wheels on the ground may
cause severe damage to the transmissions.
Cup Holder
Storage Tray
Seat Adjustment Lever
The seat adjustment lever is located below the front/left of the
seat. The lever allows for adjustment of the fore to aft position
instructions on adjusting the seat position.
Fuel Tank Cap
Turn the fill cap approximately ⁄ turn and pull upward to
remove. The fuel cap is tethered to the tractor to prevent its loss.
Do not attempt to remove the cap from the tractor.
approximately ⁄ turn clockwise to tighten Always re-install the
fuel cap tightly onto the fuel tank after removing.
Never fill the fuel tank when the
engine is running. If the engine is hot from recently
running, allow to cool for several minutes before
onto the engine and cause a fire.
Hour Meter / Indicator Panel
The hour meter/indicator panel is
Hour Meter Features
The hour meter records the hours that
the tractor has been operated in the
digital display (tenths of an hour - right
most digit).
NOTE: The hour meter is activated whenever the ignition switch
of operation to assure all maintenance procedures are completed
according to the instructions in this manual and the engine
manual.
light briefly illuminates and the battery voltage is briefly
displayed. The display then changes to the accumulated hours.
The Indicator Monitor will also remind the operator of
maintenance intervals for changing the engine oil. The LCD
five minutes after every 50 hours of recorded operation. The
interval. Follow the oil change intervals provided in the engine
manual.
HOURS 1/10
PTO
/
BLADE
PARK
BRAKE
OIL
BATT.

14 se c t i O n 4— cO n t r O l s & fe a t u r e s
Indicator Panel Features
Illuminates and the battery voltage is displayed briefly when the
Illuminates to indicate the battery voltage has dropped below
meter. If this indicator and display come on during operation,
check the battery and charging system for possible causes and/
or contact your Troy-Bilt dealer.
This warning lamp indicates low engine oil pressure. If the
indicator comes on while the engine is running, stop the engine
immediately and check for possible causes. Do not run the
engine while this indicator is illuminated. Contact your Troy-Bilt
dealer to have the tractor and engine inspected.
NOTE: The oil pressure indicator may illuminate when the
the engine is started.
This indicator illuminates when the parking brake is in the
DISENGAGED position and the ignition switch is turned to the
move the parking brake to the ENGAGED position.
This indicator also illuminates when the ignition switch is turned
are in a position other than the fully out in neutral position. Move
the control levers fully outward.
Throttle/Choke Control
in a given position, a uniform engine speed will be
maintained.
to increase the engine speed. The tractor is
designed to operate with the throttle/choke
control in the fast position (full throttle) when
the tractor is being driven and the mower deck
is engaged.
to decrease the engine speed.
When starting the engine, push the control
After starting and warming the engine, move the control
handle rearward until you feel it move past the choke
detent.
FAST
SLOW
Parking Brake Engagement Lever
The parking brake engagement lever is located on the
front/left of the seat box frame, and is used to engage
the parking brake.
lower completely to disengage the parking brake.
NOTE:
opened out in the neutral position when engaging the
parking brake, the engine will stop. The parking brake
must be placed in the engaged position when starting
the tractor engine.
Transmission Oil Expansion Reservoir
The transmission oil expansion reservoir is connected by hoses to
the seat box. The function of the reservoir is to hold the natural
expansion of transmission oil that occurs as the transmission
Under normal operating conditions, no oil should be added
approximately ⁄
reservoir.
the reservoir may be slightly higher than the maximum due to air
air from the lines and the oil level will settle to the maximum.

Operation 5
15
General Safety
manual. Learn to operate this machine SAFELY. Do not risk
competent in its usage to operate this tractor.
Before starting the engine or beginning operation, be
familiar with the controls. The operator should be in the
drive control levers moved fully outward in the neutral
position.
Keep all shields in place. Keep away from moving parts.
Look behind and down to both sides of the tractor before
and while backing up.
Avoid slopes where possible. Never operate on slopes
dangerous operating conditions. Tractors can be rolled
over.
neutral position, engage the parking brake, shut off the
engine and remove the ignition key. Wait for all movement
to stop before servicing or cleaning.
any sudden movements of the levers when starting and
stopping. Keep a firm grip on the control levers.
Be careful when operating near roadways. Stop the tractor
motion and wait for vehicles to pass before operating
along the road.
Do not operate the tractor with the mower deck removed.
Removal of the deck will change the balance of the tractor,
and could contribute to a tractor rollover.
Avoid operation on traction surfaces that are unstable; use
extreme caution if the surface is slippery.
Slow down before turning and come to a complete stop
before any zero turn maneuver.
Do not stop the tractor or park the tractor over
combustible materials such as dry grass, leaves, debris, etc.
Do not fill the fuel tank when the engine is running or
while the engine is hot. Allow the engine several minutes
to cool before refueling. Tighten the fuel cap securely.
Before Operating Your Tractor
Before you operate the tractor, study this manual carefully
to familiarize yourself with the operation of all the
instruments and controls. It has been prepared to help you
operate and maintain your tractor efficiently.
This engine is certified to operate only on clean, fresh,
unleaded regular gasoline. For best results, fill the fuel
tank with only clean, fresh, unleaded gasoline with a pump
sticker octane rating of 87 or higher.
Unleaded gasoline is recommended because it leaves
less combustion chamber deposits and reduces harmful
exhaust emissions. Leaded gasoline is not recommended
and must not be used where exhaust emissions are
regulated.
NOTE:
gasoline left over from the previous season, to minimize
gum deposits in the fuel system.
blends are not approved.
Methyl Tertiary Butyl Ether (MTBE) and unleaded gasoline
approved.
Check the engine oil level.
Clean the air cleaner element if necessary.
Check the tire inflation pressures.
and for maintaining complete control of the tractor.
Safety Interlock System
This tractor is equipped with a safety interlock system for the
protection of the operator. If the interlock system should ever
malfunction, do not operate the tractor. Contact your authorized
Troy-Bilt Dealer.
The safety interlock system prevents the engine from
levers are moved fully outward in the neutral position, the
To avoid sudden movement when disengaging the parking
brake, the safety interlock system will shut off the engine
position other than the fully out in the neutral position
when the parking brake is engaged.
The safety interlock system will shut off the engine if the
operator leaves the seat before engaging the parking
brake.

16 se c t i O n 5— Op e r a t i O n
The safety interlock system will shut off the engine if the
of whether the parking brake is engaged.
NOTE:
position to restart the engine.
mower blades will stop if both drive control levers are
when one or both of the levers are moved back to the
neutral or forward position.
Starting the Engine
This tractor is equipped with a safety
interlock system designed for the protection of the
operator. Do not operate the tractor if any part of
check the functions of the interlock system for
proper operation.
For personal safety, the operator must
be sitting in the tractor seat when starting the
engine.
2.
3.
Move the throttle/choke control lever fully forward into the
NOTE: If the engine is warmed up, it may not be necessary
to place the throttle/choke control in the choke position.
5.
and release it as soon as the engine starts; however, do not
crank the engine continuously for more than 5 seconds at
a time. If the engine does not start within this time, turn
after a few attempts the engine fails to start, do not keep
trying to start it with the choke closed as this will cause
flooding and make starting more difficult.
As the engine warms up, gradually pull the throttle/choke
control lever rearward past the choke detent position.
Do not use the choke position to enrich the fuel mixture,
except as necessary to start the engine.
Allow the engine to run for a few minutes at mid throttle 7.
before putting the engine under load.
8.
indicator light or oil pressure light come on, immediately
Bilt dealer.
Cold Weather Starting
When starting the engine at temperatures near or below
freezing, ensure the correct viscosity motor oil is used in the
engine and the battery is fully charged. Start the engine as
follows:
Be sure the battery is in good condition. A warm battery
has much more starting capacity than a cold battery.
Use fresh winter grade fuel. Winter grade gasoline has 2.
higher volatility to improve starting. Do not use gasoline
left over from summer.
Follow the previous instruction for Starting the Engine.3.
Using Jumper Cables To Start Engine
Batteries contain sulfuric acid and
produce explosive gasses. Make certain the area is
well ventilated, wear gloves and eye protection, and
avoid sparks or flames near the battery.
If the battery charge is not sufficient to crank the engine,
recharge the battery. If a battery charger is unavailable and
the tractor must be started, the aid of a booster battery will be
necessary. Connect the booster battery as follows:
Connect the end of one cable to the disabled tractor
Connect one end of the other cable to the booster 2.
that cable to the frame of the disabled tractor, as far from
the battery as possible.
Start the disabled tractor following the normal starting 3.
instructions previously provided; then disconnect
the jumper cables in the exact reverse order of their
connection.
as soon as possible to eliminate the need for jump starting.

17se c t i O n 5 — Op e r a t i O n
Stopping the Engine
2.
the neutral position.
Engage the parking brake. 3.
Move the throttle/choke control to midway between the
5.
key from the ignition switch.
NOTE: Always remove the key from the ignition switch to prevent
accidental starting or battery discharge if the equipment is left
unattended.
Practice Operation (Initial Use)
type riding tractor. Although and because a zero turn tractor is
more maneuverable, getting used to operating the control levers
takes some practice.
We strongly recommend that you locate a reasonably large,
pedestrians, or animals. You should practice operating the
tractor for a minimum of 30 minutes.
Carefully move (or have moved) the tractor to the practice area.
engaged. While practicing, operate the tractor at approximately
⁄-⁄ throttle and at less than full speed in both forward and
reverse.
Carefully practice maneuvering the tractor using the instructions
are confident that you can safely operate the tractor.
Driving the Tractor
Avoid sudden starts, excessive speed
and sudden stops.
position that allows you to operate the controls. See seat
adjustment in the Adjustments section.
Release the parking brake.2.
3.
neutral position. Refer to Figure 5-2.
NOTE: If the control levers are not even in the neutral position,
refer to Maintenance & Adjustments for instructions to adjust the
levers so that they are even.
Move the throttle/choke control lever forward to the full
NOTE:
full throttle, when performing a practice session the tractor
must be operated at less than full throttle (approximately
Always maintain a firm grip on the
slow or stop the tractor; move levers to neutral
position using your hands.
To drive the tractor, firmly grasp the respective drive 5.
control levers with your right and left hands and continue
with Driving the Tractor Forward on the following page.

18 se c t i O n 5— Op e r a t i O n
Driving the Tractor Forward
Keep all movement of the drive control
levers slow and smooth. Abrupt movement of the
control levers can affect the stability of the tractor
and could cause the tractor to flip over, which may
result in serious injury or death to the operator.
Slowly and evenly move both drive control levers forward.
The tractor will start to move forward. See Fig. 5-3.
As the control levers are pushed farther forward the speed 2.
of the tractor will increase.
To slow the tractor move the controls lever rearward to 3.
attain the desired speed, or move the levers to the neutral
position to stop the tractor.
Always maintain your grasp on the
drive control levers. Do not release the levers to slow
the tractor or to return to neutral.
Turning the Tractor While Driving Forward
When reversing the direction of travel,
possible. Sharper turns increase the possibility of
turf defacement, and could affect control of the
tractor. ALWAYS slow the tractor before making
sharp turns.
To turn the tractor while driving forward, move the control
levers as necessary so that one lever is rearward of the other. The
tractor will turn in the direction of the rearward control lever.
To turn to the left, move the left drive control lever
To turn to the right, move the right drive control lever 2.
rearward of the left lever. See Fig. 5-5.
The greater the fore-to-aft distance between the two 3.
levers, the sharper the tractor will turn.
lever to the neutral position, while moving the other
control lever forward.
NOTE:
the potential for defacement of the turf.
Position
Faster

19se c t i O n 5 — Op e r a t i O n
Driving the Tractor In Reverse
Always look behind and down on both
sides of the tractor before backing up. Always look
behind while traveling in the reverse direction.
Slowly and evenly move both drive control levers rearward.
The tractor will start to move in the reverse direction. See
As the control levers are pushed farther rearward the speed 2.
of the tractor will increase.
To slow the tractor move the controls lever forward to 3.
attain the desired speed, or move the levers to the neutral
position to stop the tractor.
Turning While Driving Rearward
To turn the tractor while driving rearward, move the control
levers as necessary so that one lever is forward of the other. The
tractor will turn in the direction of the forward control lever.
To turn to the left while traveling in reverse, move the left
drive control lever forward of the right lever. See Fig. 5-7.
To turn to the right while traveling in reverse, move the 2.
right drive control lever forward of the left lever. See Fig.
5-8.
The greater the fore-to-aft distance between the two 3.
levers, the sharper the tractor will turn.
lever to the neutral position, while moving the other
control lever rearward.
NOTE:
the potential for defacement of the turf.
Position
Faster

se c t i O n 5— Op e r a t i O n
Executing a Zero Turn
When executing a zero turn, the tractor
tractor is moving can significantly reduce your
control of the tractor and will cause severe turf
defacement to occur.
Stop the forward or reverse motion of the tractor by
moving the two drive control levers to neutral.
To turn clockwise, move the left control lever forward while 2.
simultaneously moving the right control lever rearward.
To turn counterclockwise, move the right control lever 3.
forward while simultaneously moving the left control lever
Stopping the Tractor
Move both drive control levers to the neutral position to
stop the motion of the tractor.
2.
position.
Use the deck lift handle to raise the deck to its highest 3.
position.
If dismounting the tractor, move the drive control handles
fully outward in the neutral position, engage the parking
brake, move the throttle/choke control lever to the fast
key from the switch.
Do not leave the seat of the tractor
levers fully outward in the neutral position, and
engaging the parking brake. If leaving the tractor
unattended, turn the ignition key off and remove
key.
Driving On Slopes
determine slopes where you may not operate safely.
Do not operate on inclines with a slope
⁄
cause serious injury.
Always drive across slopes, never up and down. Control
the speed and direction of the tractor using primarily the
control lever on the downhill side of the tractor, with the
uphill control lever remaining essentially in a fixed position.
Avoid turning downhill if possible. Start at the bottom of a 2.
slope and work upward. Always slow down before turning.
Use extra care and go slowly when turning downhill.3.
Operating The PTO
Move the throttle/choke control lever to approximately the
mid throttle position.
2.
Advance the throttle/choke lever to the operating speed 3.
(full engine speed).
The operator must remain in the tractor seat at all times. If
the operator should leave the seat without turning off the
5.
when both drive control levers are moved to the reverse
position, and will re-engage when one (or both) control
lever(s) is moved to the neutral or forward position.

se c t i O n 5 — Op e r a t i O n
Using the Mower Deck
Make certain the area to be mowed is
free of debris, sticks, stones, wire or other objects
that can be thrown by the rotating blades.
NOTE: Do not engage the mower deck when lowered in grass.
clutch will result. Fully raise the deck or move to a non grassy
area before engaging the mower deck.
Mow across slopes, not up and down. If mowing a slope,
start at bottom and work upward to ensure turns are made
uphill.
2.
area to be mowed.
3.
throttle/choke control to the fast position.
Lower the mower deck to the desired height setting using
the lift handle.
5.
forward to move the tractor forward, and keep the tractor
headed directly toward the alignment point.
The speed of the tractor will affect the quality of the
mower cut. Mowing at full speed will adversely affect the cut
quality. Control the ground speed with the control levers.
When approaching the other end of the strip, slow down
or stop before turning. A U-turn is recommended unless a
pivot or zero turn is required.
Align the mower with an edge of the mowed strip and 7.
Direct the tractor on each subsequent strip to align with a 8.
previously cut strip.
To prevent rutting or grooving of the turf, if possible,
change the direction that the strips are mowed by
mowing.
Be careful when crossing gravel paths
to the highest position before crossing.
NOTE: When stopping the tractor for any reason while on a grass
surface, always:
Engage the parking brake,
Shut engine off and remove the key.
Doing so will minimize the possibility of having your lawn
engine.
Checking the Safety Interlock Circuits
working properly. If a safety circuit is not working as designed,
properly. To check the safety circuits, proceed as follows:
Sitting in the tractor seat with both drive control levers
opened fully outward, disengage the parking brake and
momentarily turn the ignition switch to the start position.
The engine should not crank.
2.
to the engaged position. Momentarily turn the ignition
switch to the start position; the engine should not crank.
3.
and engage the parking brake. Start the engine and move
one of the drive control levers from the fully outward
neutral position. The engine should stop running. Repeat
the procedure with the opposite control lever.
Move both control levers fully outward in the neutral
position and disengage the parking brake; then lift upward
With both control levers fully outward in the neutral 5.
stop.
Start the tractor, disengage the parking brake, and move
the control levers inward to the neutral operating position.
and the mower deck should stop until one or both of the
control levers is moved to the neutral or forward position.

Maintenance & Adjustments 6
Maintenance Schedule
Before
Each use
Every
10 Hours
Every
25 Hours
Every
50 Hours
Every
100 Hours
Prior
to Storing
Check Engine Intake Screen/Cover P
Clean Battery Terminals P P
Lube Front Pivot Axle and Caster Axles P P
Clean Engine Cooling Fins P P
Lube Deck Wheels P P
Maintenance
Before performing any maintenance or
levers fully outward in the neutral position, engage
the parking brake, stop the engine and remove the
key to prevent unintended starting.
Engine
intervals, procedures, specifications and instructions.
Draining the Engine Oil
Locate the oil drain port on the left side of the engine.
2.
the oil fill cap/dipstick from the oil fill tube.
3.
oil drain port. Route the opposite end of the hose into an
appropriate oil collection container with at least a 2.0 quart
capacity, to collect the used oil.
Turn the oil drain valve ⁄-turn, then pull outward to begin
draining oil. After the oil has finished draining, push the
end of the oil drain valve back in and turn ⁄turn to secure
it back in place Re-cap the end of the oil drain valve to
keep debris from entering the drain port.
After the oil has finished draining, push the end of the oil
drain valve back in, until the tabs click into place. Re-cap
the end of the oil drain valve to keep debris from entering
for refilling instructions, oil type and amount.
NOTE: Maintenance, repair, or replacement of the emission control
be performed by any engine repair establishment or individual.
Warranty repairs must be performed by a Troy-Bilt Dealer.
Hydrostatic Transmission
The zero turn tractor is equipped with dual integrated
hydrostatic pumps/transaxles that are sealed and are
maintenance-free. Fluid levels cannot be checked and fluid
cannot be added or changed.

se c t i O n 6 — Ma i n t e n a n c e & ad j u s t M e n t s
General Battery Information
Should battery acid accidentally splatter into
the eyes or onto the skin, rinse the affected area
immediately with clean cold water. If there is any
further discomfort, seek prompt medical attention.
If acid spills on clothing, first dilute it with clean
water, then neutralize with a solution of ammonia/
water or baking soda/water.
NEVER connect (or disconnect) battery charger
clips to the battery while the charger is turned on, as
it can cause sparks.
Keep all sources of ignition (cigarettes, matches,
lighters) away from the battery. The gas generated
during charging can be combustible.
As a further precaution, only charge the battery
in a well ventilated area.
Always shield eyes and protect skin and clothing
when working near batteries.
Batteries contain sulfuric acid and may emit
explosive gases. Use extreme caution when handling
batteries. Keep batteries out of the reach of children.
Battery Maintenance
The battery is filled with battery acid and then sealed at
requires some maintenance to ensure its proper life cycle.
Spray the terminals and exposed wire with a battery
terminal sealer, or coat the terminals with a thin coat of
grease or petroleum jelly, to protect against corrosion.
Always keep the battery cables and terminals clean and
free of corrosion.
Avoid tipping. Even a sealed battery will leak electrolyte
when tipped.
Batteries contain sulfuric acid and may
emit explosive gases. Use extreme caution when
handling batteries. Keep batteries out of the reach
of children.
Tire Maintenance
Check the tire air pressure after every 50 hours of operation or
weekly. Keep the tires inflated to the recommended pressures.
Improper inflation will shorten the tire service life. See the tire
guidelines:
Do not inflate a tire above the maximum pressure shown
on the sidewall of the tire.
Do not reinflate a tire that has been run flat or seriously
service the tire.
Lubrication
Using a pressure lubricating gun, lubricate the front
castor wheel axles and the front pivot axle with No. 2
lubricating oil.
Using the Deck Wash System
When using the deck wash system,
never engage the deck from any position other than
assistant or engage deck in the presence of any
bystanders.
Attach the nozzle adapter to a standard garden hose
connected to a water supply.
Move the tractor to an area within reach of the hose where 2.
the dispersal of wet grass clippings is not objectionable to
stop the engine.
3.
adapter onto the deck wash nozzle at the left end of the
mower deck. Release the lock collar to lock the adapter on
Turn on the water supply.
5.
Turn off the water supply.
7.
the adapter from the nozzle.
Cleaning the Spindle Pulleys
accumulation of grass clippings from around the spindle pulleys
and V-belt. Clean more often when mowing tall, dry grass.

se c t i O n 6— Ma i n t e n a n c e & ad j u s t M e n t s
Using the Transmission Bypass Rods
If for any reason the tractor will not drive or you wish to move the
tractor, the two hydrostatic transmissions are equipped with a
bypass rod that will allow you to manually move the tractor short
distances.
Do not tow the tractor, even with the
bypass rod engaged. Serious transmission damage
will result from doing so.
From just in front of the two rear tires, locate the
2.
on the rod is forward of the keyhole slot in the frame
assembly.
Lower the bypass rod into the keyhole slot and release so 3.
the rod flange is against the front of the frame bracket.
Repeat the above procedure to engage the other bypass
rod on the other side of the tractor.
After moving the tractor, disengage both bypass rods. Lift 5.
the rod and guide the flange of the rod back through the
larger circular opening of the keyhole, then release the rod.
NOTE: The tractor will not drive with the bypass rods in the
engage position.
Battery Storage
When storing the tractor for extended periods, disconnect
the negative battery cable. It is not necessary to remove
the battery.
All batteries discharge during storage. Keep the exterior
of the battery clean, especially the top. A dirty battery will
discharge more rapidly.
The battery must be stored with a full charge. A discharged
battery can freeze sooner than a charged battery. A fully
charged battery will store longer in cold temperatures than
hot.
Recharge the battery before returning to service. Although
the tractor may start, the engine charging system may not
fully recharge the battery.
Tractor Storage
If your tractor is not going to be operated for an extended period
of time (thirty days to approximately six months), the tractor
should be prepared for storage. Store the tractor in a dry and
protected location. If stored outside, cover the tractor (including
the tires) to protect it from the elements. The procedures
outlined below should be performed whenever the tractor is
placed in storage.
Change the engine oil and filter following the instructions
provided in the engine manual packed with this manual.
Never store the tractor with fuel in the
tank indoors or in poorly ventilated enclosures,
where fuel fumes may reach an open flame, spark or
pilot light as on a furnace, water heater, clothes
dryer, etc.
If storing the tractor for 30 days or more:2.
To prevent gum deposits from forming inside a.
malfunction of the engine, the fuel system must be
either completely emptied, or the gasoline must be
treated with a stabilizer to prevent deterioration.
Fuel left in the fuel tank deteriorates
and will cause serious starting problems.
Use a fuel stabilizer:b.
and recommendations.
Add to clean, fresh gasoline the correct
amount of stabilizer for the capacity
(approximately 3 gallons) of the fuel system.
Fill the fuel tank with treated fuel and run the
engine for 2-3 minutes to get stabilized fuel
into the carburetor.

se c t i O n 6 — Ma i n t e n a n c e & ad j u s t M e n t s
Empty the fuel system:c.
fuel consumption with the goal of running
the fuel tank empty.
Run the engine until it begins to stall. Use the
choke to keep the engine running until all fuel
in the carburetor has been exhausted.
Referring to the engine manual, drain the fuel
from the carburetor bowl.
Clean the engine and the entire tractor thoroughly.3.
Fully charge the battery, then disconnect the negative
cable at the battery to prevent possible discharge.
Recharge the battery periodically when in storage.
NOTE: Remove the battery if exposed to prolonged periods
of sub-freezing temperatures. Store in a cool, dry location
where temperatures are above freezing.
Lubricate all lubrication points.5.
NOTE: We do not recommend the use of a pressure washer or
garden hose to clean your tractor. They may cause damage
to electrical components; spindles; pulleys; bearings; or the
engine. The use of water will result in shortened life and reduce
serviceability.
Removing The Tractor From Storage
Check the engine oil.
Fully charge the battery and inflate the tires to the 2.
recommended pressure.
If drained before storing, fill the fuel tank with clean, fresh 3.
gasoline.
Add clean, fresh fuel.
Start the engine and allow to idle for a few minutes to 5.
ensure engine is operating properly.
Drive the tractor without a load to make certain all the
tractor systems are functioning properly.
Adjustments
Shut the engine off, remove the
ignition key and engage the parking brake before
heavy gloves when handling the blades.
Adjusting RH & LH Drive Control Levers
and fore-and-aft for the comfort of the operator. The drive
control levers can be placed in either of two height positions,
and/or can be moved forward or rearward within the range of
the slot in each control lever mounting bracket.
To adjust the drive control lever height, proceed as follows:
Remove the flange lock nut, flat washer, and hex screw
securing the lever to the pivot bracket.
While supporting the control lever to keep it from falling, 2.
remove the hex insert flange lock nut and shoulder screw
from the bottom of the control lever and pivot bracket.
Reposition the control lever to align with the other set of 3.
holes in the pivot bracket and insert the shoulder screw
removed earlier. Fasten with the hex insert flange lock nut
and tighten until snug.
Insert the hex screw with washer through the control lever
slot and the pivot bracket. Thread the flange lock nut onto
the screw, but do not tighten now.
If you are going to adjust the control levers forward or 5.
rearward, proceed to the next step. If not, fully tighten the
flange lock nut.
To adjust the drive control levers forward or rearward, proceed as
follows:
If not already loose, loosen the flange lock nut and rotate
the control lever either forward or rearward to the desired
NOTE: If the control lever is too tight to move, slightly
loosen the hex insert flange lock nut and shoulder screw at
the bottom of the control lever.
Tighten the flange lock nut to fix the control lever in the 2.
adjusted position
Repeat the above procedure to adjust the other control 3.
lever into the same position. Adjust so that both levers are
even with each other when in the neutral position.

se c t i O n 6— Ma i n t e n a n c e & ad j u s t M e n t s
Leveling the Mower Deck
When correctly adjusted the mower deck should be level side to
side, and the front of the deck should be approximately ⁄ inch
lower than the rear of deck.
NOTE:
deck leveling adjustments. See the tire side wall for proper
inflation pressures.
If the cutting deck appears to be mowing unevenly, a side to side
adjustment can be performed. Adjust if necessary as follows:
With the tractor parked on a firm, level surface, place the
deck lift handle in the top notch (highest position) and
rotate both blades so that they are perpendicular to the
tractor frame.
Lower the deck to the middle height position.2.
Measure the distance from the outside left blade tip to the 3.
ground and the distance from the outside right blade tip to
not, proceed to the next step.
Comparing the two measurements, determine whether the
right side of the deck must be raised or lowered.
Loosen, but do not remove, the hex screw on the left deck 5.
Level the deck by using a wrench to turn the adjustment
gear (found immediately behind the hex screw just
loosened) clockwise to lower the left side of the deck, or
counterclockwise to raise the left side of the deck. See Fig.
The deck is properly leveled when both blade tip 7.
measurements taken earlier are equal.
Retighten the hex cap screw on the right deck hanger 8.
bracket when proper adjustment is achieved
The front of the deck should be approximately ⁄ lower than the
rear of the deck. Adjust if necessary as follows:
With the deck raised off of the ground, rotate the outer
blades so that they are parallel to the frame of the tractor.
If the side to side leveling was done correctly, measuring 2.
just the right blade should be acceptable to attain the
correct back to front pitch of the deck.
Measure the distance from the front tip of the blade to the 3.
ground and the distance from the rear tip to the ground.
The front distance should be approximately ⁄ less than
the rear. If it is not, proceed to the next step.
If the front of the deck was too low, turn the flange lock
nuts clockwise against the hanger bracket to shorten the
front hanger rod and raise the front of the deck. Refer to
If the front of the deck was too high, turn the flange lock 5.
nuts counterclockwise to lengthen the front hanger rod
and lower the front of the deck.
NOTE: The deck front hanger rod should be at the front
of the slots of the front deck bracket. If one side of the rod
is not at the front of its slot, turn the inner flange lock nut
on that side until rod just touches the front of the slot.
Then re-measure and re-adjust the front hanger rod as
necessary.
Raise Left

se c t i O n 6 — Ma i n t e n a n c e & ad j u s t M e n t s
Adjusting the Gauge Wheels
Keep hands and feet away from the
discharge opening of the cutting deck.
NOTE: The deck gauge wheels are an anti-scalp feature of the
deck and are not designed to support the weight of the cutting
deck.
The mower deck cutting height can be set in any of six height
⁄
approximately ⁄ to ⁄ above the ground when the deck is set in
the desired height setting.
Using the lift handle, set the deck in the desired height setting,
then check the gauge wheel distance from the ground below. If
necessary adjust as follows:
Visually check the distance between the front gauge wheel
and the ground. If the gauge wheel is near or touching
the ground, it should be raised. If more than ⁄
ground, it should be lowered.
Remove the flange lock nut securing the front gauge wheel 2.
shoulder bolt to the deck. Remove the gauge wheel and
Insert the shoulder bolt into the one of four index holes 3.
in the front gauge wheel bracket that will give the gauge
wheel a ⁄ to ⁄ clearance with the ground and secure
with the flange lock nut.
Note the index hole of the just adjusted wheel, and adjust
the rear gauge wheel into the respective index holes of the
other gauge wheel bracket on the deck.

Service 7
Battery Removal
Battery posts, terminals and related
accessories contain lead and lead compounds. Wash
hands after handling.
The battery is located on the right/rear of the tractor beneath the
seat box frame. To remove the battery:
Remove the two hex tapping screws from the battery
hold-down bracket and remove the bracket. Use care to
avoid losing the trim strip from the bottom of the bracket.
Remove the hex cap screw and sems nut securing the black 2.
negative battery lead to the negative battery post (marked
NEG). Move the cable away from the negative battery post.
Remove the hex cap screw and sems nut securing the red 3.
positive battery lead to the positive battery post (marked
Carefully lift the battery out of the tractor.
Install the battery by repeating the above steps in the 5.
reverse order.
Always connect the positive lead to the
battery before connecting the negative lead. This
will prevent sparking or possible injury from an
electrical short caused by contacting the tractor
body with tools being used to connect the cables.
Charging the Battery
Test and, if necessary, recharge the battery after the tractor has
been stored for a period of time.
higher across the battery terminals. See Fig. 7-2.
Servicing Electrical System
damage caused by excessive amperage. Always use the same
capacity fuse for replacement. If the electrical system does not
function, check for a blown fuse.
If you have a recurring problem with blown fuses, have the
Dealer.
Relays and Switches
There are several safety switches in the electrical system. If a
function of the safety interlock system described earlier is not
functioning properly, have the electrical system checked by your
Troy-Bilt Service Dealer.
Deck Removal
Remove the mower deck from the tractor as follows:
the engine, and set the parking brake.
Move the deck gauge wheels or rollers to their highest 2.
setting (lowest deck setting).
3.
of the engine, using one of the following two methods.
The muffler at the rear of the tractor
may be extremely hot, and could cause serious
burns. Use extreme caution when near the muffler.
Allow the muffler to fully cool before removing the
Releasing Belt Tension with the Idler Pulley
Using the deck lift handle, raise the deck to the position
that provides the most horizontal run of the belt between
the engine.
Voltmeter
Reading
State of
Charge
Charging
Time
Full Charge
280 Min.

se c t i O n 7 — se r v i c e
Working from the middle of the tractor, pivot the idler 2.
bracket and movable idler pulley rearward away from the
and over the idler pulley. See Fig. 7-3.
From beneath the rear of the tractor, slide the belt off of 3.
Rolling the Belt off the PTO Pulley
Using the deck lift handle, raise the deck to the position
that provides the most horizontal run of the belt between
the engine.
Sitting behind the tractor facing forward, reach beneath 2.
Use caution to avoid pinching your
3.
rides out onto the edge of the lower sheave of the pulley.
NOTE: If pulling the right side of the belt, turn the pulley to
the left.
Pin
While still holding the belt downward, continue turning the
Lower the deck to the ground using the deck lift handle.5.
Raise the deck lift arms out of the rear hanger bracket slots 7.
by raising the deck lift handle on the tractor to its highest
position. Refer to Fig. 7-5.
Slide the deck forward so that the deck front hanger rod can 8.
be lifted out of the two slots of the front deck bracket. After
lifting the front hanger rod out of the slots, slide the deck
rearward so that the rod can no longer engage the slots.
Using care to prevent the front hanger rod from falling
back into the deck bracket slots, carefully slide the cutting
deck (from the right side) out from underneath the tractor.

30 se c t i O n 7— se r v i c e
Deck Installation
To install the mower deck, proceed as follows:
While holding the deck front hanger rod upward, carefully
slide the deck underneath the right side of the tractor.
While still holding the front hanger rod, slide the deck 2.
forward until the front hanger rod can be lowered into the
slots of the front deck bracket.
Lower the front hanger rod into the slots of the front deck 3.
bracket, then slide the deck rearward.
Maneuver the deck so that the slots in the two rear deck
hanger brackets approximately align with the deck lift arms
of the tractor. Refer to Fig. 7-5.
Use the tractor deck lift handle to lower the deck lift arms 5.
into the slots of the rear deck hanger brackets.
as necessary to align the holes in the deck lift arms with the
pins. Refer to Fig. 7-5.
When aligned, push each pin fully inward through the lift 7.
arms to secure the arms in the rear hanger bracket slots.
8.
deck; then route the belt rearward beneath the tractor
the bottom of the engine.
following two methods.
The muffler at the rear of the tractor
may be extremely hot, and could cause serious burns.
Use extreme caution when near the muffler. Allow
the muffler to fully cool before installing the belt.
Using the Idler Pulley to Tension the Belt.
Using the deck lift handle, raise the deck to the position that
provides the most horizontal run of the belt between the deck
2.
Route the backside of the belt around the fixed idler pulley 3.
of the deck. Refer to Fig. 7-3.
Working from the middle of the tractor, pivot the idler
bracket/movable pulley rearward against the spring
tension and slide the backside of the belt onto the movable
idler pulley. Refer to Fig. 7-3.
Rolling the Belt into the PTO Pulley.
Using the deck lift handle, raise the deck to the position that
provides the most horizontal run of the belt between the deck
Make certain the belt is in the spindle pulleys of the deck, 2.
and that the backside of the belt is against both the fixed
and movable idler pulleys. Refer to Fig. 7-3.
Sitting behind the tractor, facing forward, make certain the 3.
belt is not twisted; then reach beneath the tractor to grasp
Use caution to avoid pinching your
While holding the belt and pulley together, rotate the 5.
rotating the pulley and belt until the belt is fully rolled into
Replacing the Deck Drive Belt
Remove the deck from beneath the tractor, (refer to Deck
Remove the hex washer screws securing the belt covers 2.
to the deck and remove the belt from the spindle pulleys.
Install the new belt around the spindle pulleys as shown in 3.
Route the belt rearward between the two idler pulleys and
reinstall the deck following the instructions in Deck Installation.
Mower Blade Care
Before performing any maintenance,
your hands by using heavy gloves when handling the
blades. When servicing the mower deck, be careful not
to cut yourself on the sharpened blades.
The cutting blades must be kept sharp at all times. Sharpen the
cutting edges of the blades evenly so that the blades remain
balanced and the same angle of sharpness is maintained.
If the cutting edge of a blade has already been sharpened many
times, or if any metal separation is present, it is recommended
that new blades be installed. New blades are available at your
authorized dealer.
The blades may be removed as follows.
Remove the deck from beneath the tractor, (refer to Deck
expose its underside.

31se c t i O n 7 — se r v i c e
Using the ratchet for leverage, pivot the idler bracket and 3.
the belt off and above the engine pulley and off the idler
pulley.
With the belt loose, lift the belt off, up and over the two
transmission drive pulleys. Remove the belt from the
engine and idler pulleys.
Loop the new belt and slide over and onto the two 5.
transmission pulleys.
Route the belt above the idler bracket back to the engine
engine drive pulley.
Using the ratchet for leverage, pivot the idler bracket and 7.
idler pulley against the spring tension; then slip the belt
down into the engine drive pulley and onto the idler pulley.
Release the idler bracket so that the idler pulley tightens 8.
against the back side of the belt and tensions the drive belt.
Reinstall the deck drive belt.
Tractor Creeping
Creeping is the slight forward or backward movement of the
tractor when the engine is running at high idle and the drive
control levers are opened out in the neutral position.
If after operating the tractor for some time, it begins to creep
while in the neutral position, adjust the transmission control rods
as follows.
(e.g. wall, post, etc.).
2.
approximately one inch of the ground.
With the engine running at high idle and the drive control 3.
levers opened out in the neutral position, and the parking
brake disengaged, check the rear wheels for rotation.
If only one wheel is rotating, locate the transmission
control rod beneath the frame at the front of the rear tire. If
Use a 2. ⁄
assembly when loosening the hex nut securing the blade.
A block of wood may be placed between the deck housing
and the cutting edge of the blade to help in breaking loose
the hex nut securing the blade. See Fig. 7-7.
When reinstalling the blades, be sure they are installed so that 3.
the wind wings are pointing upward toward the top of deck.
5.
Transmission Drive Belt
If the transmission drive belt becomes worn and causes the drive
transmissions to slip, the drive belt must be replaced. To replace
the drive belt, proceed as follows:
of the engine following the instructions in Deck Removal.
From beneath the rear of the tractor, insert a 2. ⁄
into the square hole of the drive idler bracket. See Fig. 7-8.
PTO

se c t i O n 7— se r v i c e
Remove the flange lock nut and hex screw securing the 5.
transmission control rod to the transmission control arm.
Wheel rotation should stop. If it does not, contact your
Troy-Bilt Service Dealer.
If the rotation stops, adjust the control rod up or down as
necessary to align with the hole in the transmission control
arm. Re-insert the hex nut into the hole in the control arm
and secure with the hex lock nut.
If necessary, repeat the previous two steps to adjust the 7.
other transmission control rod.
Lower the tractor and remove the jack.8.
Tractor High Speed Tracking
If the tractor tracks to one side with both drive control levers fully
forward, adjust the control levers as follows:
Check for proper and balanced air pressure in both front
and rear tires. Refill tires if necessary.
2.
Tractor Creeping, to verify that the tractor is not creeping. If
creeping, adjust following the instructions in that sub-section.
Recheck the tracking after making any adjustments to the 3.
transmission control rods.
If uneven tracking persists, note which direction the tractor
is tracking.
If the tractor tracks to the right, adjust the control a.
lever stop bolt on the left side.
If the tractor tracks to the left, adjust the control b.
lever stop bolt on the right side.
Locate the applicable stop bolt on the left or right console. 5.
Loosen the jam nut on the stop bolt, then turn the stop
bolt counterclockwise to make it longer. Recheck the
tracking and fine tune the adjustment as necessary.
NOTE: If the stop bolt is adjusted too far, the tracking
problem will change sides. Make fine tuning adjustments
by shortening the same bolt.
Tighten the jam nut against the console and reposition the 7.
control lever as necessary to make the two control handles
even with each other.

Troubleshooting 8
33
Problem Cause Remedy
Excessive vibration Cutting blade loose or unbalanced.
Damaged or bent cutting blade. 2.
Tighten blade and spindle.
Replace blade. 2.
Uneven cut Deck not leveled properly.
Dull blade. 2.
Uneven tire pressure. 3.
Sharpen or replace blade. 2.
Check tire pressure in all four tires. 3.
Mower will not mulch grass
(If Equipped w/Mulching Kit)
Engine speed too low.
Wet grass. 2.
Excessively high grass. 3.
Dull blade.
(rabbit) position.
Do not mulch when grass is wet. 2.
Mow once at a high cutting height, then 3.
mow again at desired height or make a
narrower cutting swath.
Sharpen or replace blade.

Replacement Parts 9
34
Component Part Number and Description

35se c t i O n 9 — re p l a c e M e n t pa r t s
Component Part Number and Description

Attachments & Accessories 10
36
Part Number Part
Rear Spreader
Sun Shade
The following attachments and accessories are compatible with your Troy-Bilt RZT tractor. See your Troy-Bilt dealer or the retailer from
which you purchased your tractor for information regarding price and availability.

Notes 11
37

FEDERAL and/or CALIFORNIA EMISSION CONTROL WARRANTY STATEMENT
YOUR WARRANTY RIGHTS AND OBLIGATIONS
MTD Consumer Group Inc, the United States Environmental Protection Agency (EPA), and, for those products certified for sale in the state of California, the
California Air Resources Board (CARB) are pleased to explain the emission (evaporative and/or exhaust) control system (ECS) warranty on your outdoor 2006
and later small off-road spark-ignited engine and equipment (outdoor equipment engine) In California, new outdoor equipment engines must be designed, built and
equipped to meet the State’s stringent anti-smog standards (in other states, 1997 and later model year equipment must be designed, built, and equipped to meet
the U.S. EPA small off-road, spark ignition engine regulations. MTD Consumer Group Inc must warrant the ECS on your outdoor equipment engine for the period of
time listed below provided there has been no abuse, neglect or improper maintenance of outdoor equipment engine.
Your ECS may include parts such as the carburetor, fuel-injection system, the ignition system, catalytic converter, fuel tanks, fuel lines, fuel caps, valves, canisters,
filters, vapor hoses, clamps, connectors, and other associated emission-related components.
Where a warrantable condition exists, MTD Consumer Group Inc will repair your outdoor equipment engine at no cost to you including diagnosis, parts and labor.
MANUFACTURER’S WARRANTY COVERAGE:
This emission control system is warranted for two years. If any emission-related part on your outdoor equipment engine is defective, the part will be repaired or
replaced by MTD CONSUMER GROUP INC.
OWNER’S WARRANTY RESPONSIBILITIES:
As the outdoor equipment engine owner, you are responsible for performance of the required maintenance listed in your owner’s manual. MTD Consumer Group
Inc recommends that you retain all receipts covering maintenance on your outdoor equipment engine, but MTD Consumer Group Inc cannot deny warranty solely
for the lack of receipts.
As the outdoor equipment engine owner, you should however be aware that MTD Consumer Group Inc may deny you warranty coverage if your outdoor equipment
engine or a part has failed due to abuse, neglect, or improper maintenance or unapproved modifications.
You are responsible for presenting your outdoor equipment engine to MTD Consumer Group Inc’s distribution center or service center as soon as the problem
exists. The warranty repairs should be completed in a reasonable amount of time, not to exceed 30 days. If you have a question regarding your warranty coverage,
you should contact the MTD Consumer Group Inc Service Department at 1-800-800-7310 or via email at http://support.mtdproducts.com
GENERAL EMISSIONS WARRANTY COVERAGE:
MTD Consumer Group Inc warrants to the ultimate purchaser and each subsequent purchaser that the outdoor equipment engine is: Designed, built and equipped
so as to conform with all applicable regulations; and free from defects in materials and workmanship that cause the failure of a warranted part to be identical in all
material respects to that part as described in MTD Consumer Group Inc’s application for certification.
The warranty period begins on the date the outdoor equipment engine is delivered to an ultimate purchaser or first placed into service. The warranty period is two
years.
Subject to certain conditions and exclusions as stated below, the warranty on emission-related parts is as follows:
Any warranted part that is not scheduled for replacement as required maintenance in the written instructions supplied, is warranted for the warranty period 1.
stated above. If the part fails during the period of warranty coverage, the part will be repaired or replaced by MTD Consumer Group Inc according to subsection
(4) below. Any such part repaired or replaced under warranty will be warranted for the remainder of the period.
Any warranted part that is scheduled only for regular inspection in the written instructions supplied is warranted for the warranty period stated above. Any such 2.
part repaired or replaced under warranty will be warranted for the remaining warranty period.
Any warranted part that is scheduled for replacement as required maintenance in the written instructions supplied is warranted for the period of time before the 3.
first scheduled replacement date for that part. If the part fails before the first scheduled replacement, the part will be repaired or replaced by MTD Consumer
Group Inc according to subsection (4) below. Any such part repaired or replaced under warranty will be warranted for the remainder of the period prior to the
first scheduled replacement point for the part.
Repair or replacement of any warranted part under the warranty provisions herein must be performed at a warranty station at no charge to the owner.4.
Notwithstanding the provisions herein, warranty services or repairs will be provided at all of our distribution centers that are franchised to service the subject 5.
engines or equipment.
The outdoor equipment engine owner will not be charged for diagnostic labor that is directly associated with diagnosis of a defective, emission-related war-6.
ranted part, provided that such diagnostic work is performed at a warranty station.
MTD Consumer Group Inc is liable for damages to other engine or equipment components proximately caused by a failure under warranty of any warranted 7.
part.
Throughout the off-road engine and equipment warranty period stated above, MTD Consumer Group Inc will maintain a supply of warranted parts sufficient to 8.
meet the expected demand for such parts.
Any replacement part may be used in the performance of any warranty maintenance or repairs and must be provided without charge to the owner. Such use will 9.
not reduce the warranty obligations of MTD Consumer Group Inc.
Add-on or modified parts that are not exempted by the Air Resources Board may not be used. The use of any non-exempted add-on or modified parts by the 10.
ultimate purchaser will be grounds for disallowing a warranty claims. MTD Consumer Group Inc will not be liable to warrant failures of warranted parts caused
by the use of a non-exempted add-on or modified part.

GDOC-100223 Rev. A
WARRANTED PARTS:
The repair or replacement of any warranted part otherwise eligible for warranty coverage may be excluded from such warranty coverage if MTD Consumer Group
Inc demonstrates that the outdoor equipment engine has been abused, neglected, or improperly maintained, and that such abuse, neglect, or improper mainte-
nance was the direct cause of the need for repair or replacement of the part. That notwithstanding, any adjustment of a component that has a factory installed,
and properly operating, adjustment limiting device is still eligible for warranty coverage. Further, the coverage under this warranty extends only to parts that were
present on the off-road engine and equipment purchased.
The following emission warranty parts are covered (if applicable):
(1) Fuel Metering System
Cold start enrichment system (soft choke)•
Carburetor and internal parts (or fuel injection system)•
Fuel pump•
Fuel tank•
(2) Air Induction System
Air cleaner•
Intake manifold•
(3) Ignition System
Spark plug(s)•
Magneto ignition system•
(4) Exhaust System
Catalytic converter•
SAI (Reed valve)•
(5) Miscellaneous Items Used in Above System
Vacuum, temperature, position, time sensitive valves and switches•
Connectors and assemblies•
(6) Evaporative Control
Fuel hose•
Fuel hose clamps•
Tethered fuel cap•
Carbon canister•
Vapor lines•

MANUFACTURER’S LIMITED WARRANTY FOR
GDOC-100020 REV. A
The limited warranty set forth below is given by Troy-Bilt LLC with
respect to new merchandise purchased and used in the United States
and/or its territories and possessions, and by MTD Products Limited
with respect to new merchandise purchased and used in Canada and/
or its territories and possessions (either entity respectively, “Troy-
Bilt”).
“Troy-Bilt” warrants this product (excluding its Normal Wear Parts
and Attachments as described below) against defects in material and
workmanship for a period of two (2) years commencing on the date
of original purchase and will, at its option, repair or replace, free of
charge, any part found to be defective in materials or workmanship.
This limited warranty shall only apply if this product has been
operated and maintained in accordance with the Operator’s Manual
furnished with the product, and has not been subject to misuse,
abuse, commercial use, neglect, accident, improper maintenance,
alteration, vandalism, theft, fire, water, or damage because of other
peril or natural disaster. Damage resulting from the installation or use
of any part, accessory or attachment not approved by Troy-Bilt for use
with the product(s) covered by this manual will void your warranty as
to any resulting damage.
Normal Wear Parts are warranted to be free from defects in material
and workmanship for a period of thirty (30) days from the date of
purchase. Normal wear parts include, but are not limited to items
such as: batteries, belts, blades, blade adapters, tines, grass bags,
wheels, rider deck wheels, seats, snow thrower skid shoes, friction
wheels, shave plates, auger spiral rubber and tires.
Attachments — Troy-Bilt warrants attachments for this product
against defects in material and workmanship for a period of one (1)
year, commencing on the date of the attachment’s original purchase
or lease. Attachments include, but are not limited to items such as:
grass collectors and mulch kits.
HOW TO OBTAIN SERVICE: Warranty service is available, WITH
PROOF OF PURCHASE, through your local authorized service dealer.
To locate the dealer in your area:
In the U.S.A.
Check your Yellow Pages, or contact Troy-Bilt LLC at P.O. Box 361131,
Cleveland, Ohio 44136-0019, or call 1-866-840-6483,
1-330-558-7220 or log on to our Web site at www.troybilt.com.
In Canada
Contact MTD Products Limited, Kitchener, ON N2G 4J1, or call 1-800-
668-1238 or log on to our Web site at www.mtdcanada.com.
This limited warranty does not provide coverage in the following
cases:
a. The engine or component parts thereof. These items may carry a
separate manufacturer’s warranty. Refer to applicable manufac-
turer’s warranty for terms and conditions.
b. Log splitter pumps, valves, and cylinders have a separate one-
year warranty.
c. Routine maintenance items such as lubricants, filters, blade
sharpening, tune-ups, brake adjustments, clutch adjustments,
deck adjustments, and normal deterioration of the exterior finish
due to use or exposure.
d. Service completed by someone other than an authorized service
dealer.
e. Troy-Bilt does not extend any warranty for products sold or
exported outside of the United States and/or Canada, and their
respective possessions and territories, except those sold through
Troy-Bilt’s authorized channels of export distribution.
f. Replacement parts that are not genuine Troy-Bilt parts.
g. Transportation charges and service calls.
h. Troy-Bilt does not warrant this product for commercial use.
No implied warranty, including any implied warranty of
merchantability or fitness for a particular purpose, applies after
the applicable period of express written warranty above as to the
parts as identified. No other express warranty, whether written or
oral, except as mentioned above, given by any person or entity,
including a dealer or retailer, with respect to any product, shall
bind Troy-Bilt. During the period of the warranty, the exclusive
remedy is repair or replacement of the product as set forth above.
The provisions as set forth in this warranty provide the sole and
exclusive remedy arising from the sale. Troy-Bilt shall not be liable
for incidental or consequential loss or damage including, without
limitation, expenses incurred for substitute or replacement lawn
care services or for rental expenses to temporarily replace a
warranted product.
Some states do not allow the exclusion or limitation of incidental
or consequential damages, or limitations on how long an implied
warranty lasts, so the above exclusions or limitations may not apply
to you.
In no event shall recovery of any kind be greater than the amount of
the purchase price of the product sold. Alteration of safety features of
the product shall void this warranty. You assume the risk and liability
for loss, damage, or injury to you and your property and/or to others
and their property arising out of the misuse or inability to use the
product.
This limited warranty shall not extend to anyone other than the
original purchaser or to the person for whom it was purchased as a
gift.
HOW STATE LAW RELATES TO THIS WARRANTY: This limited
warranty gives you specific legal rights, and you may also have other
rights which vary from state to state.
IMPORTANT: Owner must present Original Proof of Purchase to
obtain warranty coverage.
Troy-Bilt LLC, P.O. BOX 361131 CLEVELAND, OHIO 44136-0019; Phone: 1-866-840-6483, 1-330-558-7220
MTD Canada Limited - KITCHENER, ON N2G 4J1; Phone 1-800-668-1238

TROY-BILT LLC, P.O. BOX 361131 CLEVELAND, OHIO 44136-0019
Impreso en Estados Unidos de América
Ma n u a l d e l Op e r a d O r
ADVERTENCIA
Formulario No. 769-06682
(Noviembre 18, 2010)

Al propietario 1
Medidas importantes de seguridad ...................... 3
Montaje y Conguración ........................................ 9
Controles y Características ....................................12
Funcionamiento .....................................................15
Mantenimiento y Ajustes ...................................... 22
Servicio ................................................................... 28
Solución de problemas ......................................... 33
Garantías ............................................................... 34
Índice
Asistencia al Cliente
Por favor, NO devuelva la máquina al minorista o distribuidor sin ponerse
en contacto primero con el Departamento de Asistencia al Cliente.
En caso de tener problemas para montar este producto o de tener dudas con respecto a los controles, funcionamiento
o mantenimiento de esta máquina, puede solicitar la ayuda de expertos. Elija entre las opciones que se presentan a
continuación:
Visite nuestro sitio web en www.troybilt.com◊
Llame a un representante de Asistencia al Cliente al (800) 828-5500 ó (330) 558-7220◊
◊
Gracias por comprar un tractor serie RZT fabricado por Troy-Bilt LLC.
El mismo ha sido diseñado cuidadosamente para brindar excelente
rendimiento si se lo opera y mantiene correctamente.
cómo configurar, operar y mantener la máquina con seguridad y
momento las prácticas de seguridad recomendadas y de hacérselas
seguir a cualquier otra persona que opere la máquina. En caso de no
hacerlo podrían producirse lesiones personales o daños materiales.
Toda la información contenida en este manual hace referencia a la
más reciente información de producto disponible en el momento de
la impresión. Revise el manual frecuentemente para familiarizarse
gama de especificaciones de productos de diferentes modelos. Las
características y funciones incluidas y/o ilustradas en este manual
pueden no ser aplicables a todos los modelos. Troy-Bilt LLC se
reserva el derecho a modificar las especificaciones de los productos,
los diseños y el equipo sin previo aviso y sin generar responsabilidad
Este producto cumple con las estrictas normas de seguridad del
máquina, llame a un distribuidor de servicio Troy-Bilt autorizado o
teléfono, dirección del sitio web y dirección postal de Asistencia
al Cliente de Troy-Bilt se encuentran en esta página. Queremos
garantizar su entera satisfacción en todo momento.
En este manual, las referencias al lado derecho o izquierdo de la
máquina se observan desde la posición del operador.
El fabricante del motor es el responsable de todas las
cuestiones relacionadas con el rendimiento, potencia de salida,
entregado por el fabricante del motor, que se envía, en un paquete
por separado, junto con su máquina.
Gracias
Registro de información de producto
Antes de configurar y operar su equipo nuevo, por favor localice
la placa de modelo en el equipo y registre la información en
el área situada a la derecha. Gire el conjunto del asiento hacia
adelante para ubicar la placa de modelo en el lado inferior del
soporte de pivote del asiento. Si tiene que solicitar soporte
técnico a través de nuestro sitio web, el Departamento de
Asistencia al Cliente, o de un distribuidor de servicio autorizado
local, necesitará esta información.
nú M e r O d e M O d e l O
nú M e r O d e s e r i e

Medidas importantes de seguridad 2
3
Funcionamiento General
Lea, entienda y cumpla todas las instrucciones incluidas en
la máquina y en los manuales antes de intentar montarla
y utilizarla. Guarde este manual en un lugar seguro para
consultas futuras y periódicas, así como para solicitar
repuestos.
Familiarícese con todos los controles y con el uso adecuado 2.
de los mismos. Sepa cómo detener la máquina y desactivar
los controles rápidamente.
3.
deben leer y entender las instrucciones de operación y
normas de seguridad contenidas en este manual, y en la
máquina y deben ser entrenados y supervisados por un
adulto.
Nunca permita que los adultos operen esta máquina sin
recibir antes la instrucción apropiada.
5.
observadores, a los ayudantes, niños y mascotas alejados
al menos 25 metros de la máquina mientras está en
funcionamiento. Detenga la máquina si alguien se acerca.
Inspeccione minuciosamente el área donde utilizará el
equipo. Retire todas las piedras, palos, cables, huesos,
juguetes y otros objetos extraños que podrían ser
recogidos y arrojados por la acción de las cuchillas. Los
objetos arrojados por la máquina pueden producir lesiones
graves.
7.
para evitar la descarga de material hacia los caminos, las
veredas, los observadores, etc. Evite además descargar
material contra las paredes u obstrucciones que podrían
hacer que el material descargado rebote contra el
operador.
8.
antiparras de seguridad mientras opera la máquina o
mientras la ajusta o repara. Los objetos arrojados que
rebotan pueden producir lesiones oculares graves.
Utilice zapatos de trabajo resistentes, de suela fuerte,
así como pantalones y camisas ajustados. Las prendas
sueltas o las alhajas pueden quedar atrapadas en las
piezas movibles. Nunca opere la máquina descalzo o con
sandalias.
La presencia de este símbolo indica que se trata de instrucciones
importantes de seguridad que se deben respetar para evitar poner en peligro su seguridad
personal y/o material y la de otras personas. Lea y siga todas las instrucciones de este manual
antes de poner en funcionamiento esta máquina. Si no respeta estas instrucciones puede
provocar lesiones personales. Cuando vea este símbolo.
Esta máquina está diseñada para ser utilizada respetando las normas de seguridad
contenidas en este manual. Al igual que con cualquier tipo de equipo motorizado, un
descuido o error por parte del operador puede producir lesiones graves. Esta máquina es
capaz de amputar manos y pies y de arrojar objetos con gran fuerza. De no respetar las
instrucciones de seguridad siguientes se pueden producir lesiones graves o la muerte.
PROPOSICIÓN 65 DE CALIFORNIA
El escape del motor de este producto, algunos de sus componentes y
algunos componentes del vehículo contienen o liberan sustancias químicas que el estado
de California considera que pueden producir cáncer, defectos de nacimiento u otros
problemas reproductivos.
Los bornes de la batería y los accesorios afines contienen plomo y
California causan cáncer y daños en el sistema reproductivo. Lávese las manos después de
estar en contacto con estos componentes.

4se c c i ó n 2 — Me d i d a s i M p O r t a n t e s d e s e g u r i d a d
Esté atento a la cortadora y a la dirección de la descarga de
los aditamentos y no apunte a nadie. Nunca haga funcionar
la cortadora de césped sin que estén colocados la cubierta
de descarga o todo el colector de recortes de césped.
No ponga las manos o los pies cerca de las piezas rotatorias
o debajo de la plataforma de corte. El contacto con las
cuchillas puede producir la amputación de manos y pies.
Una cubierta de descarga faltante o dañada puede
provocar el contacto con la cuchilla o lesiones por objetos
arrojados.
Detenga la(s) cuchilla(s) cuando atraviese senderos, sendas
o caminos de grava y cuando no esté cortando el césped.
Vigile el tránsito vehicular cuando esté operando cerca de
o en cruces de caminos. Esta máquina no debe utilizarse en
No opere esta máquina bajo los efectos del alcohol o de
drogas.
Corte el césped solamente con luz de día o con una buena
luz artificial.
Nunca transporte pasajeros.
Retroceda lentamente. Siempre mire hacia abajo y hacia
atrás antes y mientras retrocede, para evitar accidentes.
Esté atento y vigile la función del sistema de seguridad que
corta la energía de las cuchillas al conducir marcha atrás.
Si no funciona correctamente, póngase en contacto con
un distribuidor autorizado de para que inspeccionen y
reparen el sistema de seguridad.
máquina suavemente. Evite la operación errática y la
velocidad excesiva.
Desenganche la(s) cuchilla(s), coloque el freno de 20.
estacionamiento, detenga el motor y espere hasta que la(s)
cuchilla(s) se detenga(n) por completo antes de retirar el
colector de césped, vaciar los recortes, destapar el canal,
retirar restos de césped o desechos, o hacer cualquier
ajuste.
Nunca deje la máquina en funcionamiento sin vigilancia.
Apague siempre las cuchillas, coloque las palancas de
control de transmisión en neutral, coloque el freno de
mano, detenga el motor y retire la llave antes de bajarse del
vehículo.
Tenga sumo cuidado al cargar o descargar la máquina en 22.
un remolque o camión. Esta unidad no debe conducirse
en ascenso o descenso de rampas, porque podría ladearse
y provocar lesiones personales graves. En las rampas la
máquina se debe empujar manualmente para cargarla o
descargarla correctamente.
El silenciador y el motor se calientan y pueden causar 23.
quemaduras. No los toque.
Revise el espacio libre por encima de la cabeza antes de
conducir debajo de las ramas bajas de árboles, cables,
entradas de puertas, etc. en los cuales el operador podría
atorarse o ser tirado fuera de la máquina, lo cual podría
resultar en lesiones graves.
Desenganche todos los embragues de los accesorios, 25.
palancas de control de transmisión totalmente hacia afuera
a la posición neutral antes de intentar arrancar la máquina.
La máquina está diseñada para cortar césped residencial
cortar césped demasiado crecido, seco (por ej., pastura)
ni pilas de hojas secas. El césped y las hojas secas pueden
entrar en contacto con el escape del motor y/o acumularse
en la plataforma de la cortadora de césped, convirtiéndose
en un peligro de incendio.
Utilice solamente accesorios y aditamentos aprobados 27.
para esta máquina por el fabricante de la misma. Lea,
comprenda y siga todas las instrucciones proporcionadas
con los accesorios o aditamentos aprobados.
28.
años en adelante están involucrados en un alto porcentaje
de lesiones relacionadas con tractores cortacésped. Estos
operadores deben evaluar su capacidad para operar el
tractor cortacésped en forma suficientemente segura para
protegerse ellos mismos y a los demás contra lesiones
graves.
Si se presentan situaciones que no están previstas en este
ayuda, póngase en contacto con su representante de
asistencia al cliente.
Funcionamiento en pendientes
Las pendientes son un factor importante relacionado con
accidentes por derrape y vuelcos que pueden producir lesiones
graves e incluso la muerte. La operación en pendiente requiere
mayor precaución. Si no puede retroceder en la pendiente o si no
se siente seguro, no realice ninguna operación de corte.
como parte de este manual para medir la pendiente antes de
operar la máquina en una zona inclinada. Si la pendiente es
ese sector, pues podría causar lesiones graves.
Haga lo siguiente:
Corte de forma transversal a las pendiente, no hacia arriba
ni hacia abajo. Tenga mucho cuidado cuando al cambiar de
dirección en pendiente.
Esté atento a los hoyos, surcos, baches, rocas u otros 2.
objetos ocultos. El terreno desnivelado puede voltear la
máquina. El césped alto puede ocultar obstáculos.
Vaya a baja velocidad. Elija una velocidad lo 3.
suficientemente baja, de modo que no tenga que
detenerse mientras está en la pendiente. Evite arrancar o
detenerse en una pendiente. Si los neumáticos no pueden
mantener la tracción, desenganche las cuchillas y avance
lentamente y con cuidado bajando la pendiente.
Siga las recomendaciones del fabricante para los pesos o
contrapesos de las ruedas, para mejorar la estabilidad de la
máquina.
Tenga especial cuidado con los colectores de césped 5.
u otros aditamentos. Los mismos pueden modificar la
estabilidad de la máquina.

5se c c i ó n 2 — Me d i d a s i M p O r t a n t e s d e s e g u r i d a d
lentos y graduales. No cambie repentinamente la velocidad
ni la dirección. La aceleración o la reducción repentina
de velocidad puede hacer que el frente de la máquina
se levante y dé una voltereta hacia atrás, lo que podría
producir lesiones graves.
No haga lo siguiente:
No gire en pendiente a menos que sea necesario; si lo hace,
gire lentamente cuesta arriba y tenga sumo cuidado al
girar.
No corte el césped cerca de barrancas, zanjas o terraplenes. 2.
La cortadora de césped puede volcarse repentinamente
si una de las ruedas está sobre el borde de un acantilado,
zanja o si un borde se desmorona.
No intente estabilizar la máquina poniendo el pie en el 3.
suelo.
No utilice un colector de césped en pendientes empinadas.
5.
causar derrapes.
No remolque cargas pesadas detrás de los aditamentos
(carrito de basura cargado, podadora de rodillos, etc) en
pendientes mayores de 5 grados. Cuando se desplaza
pendiente abajo, el peso adicional tiende a empujar el
tractor y puede hacer que se pierda el control del mismo
(por ejemplo, el tractor se puede acelerar, se reduce la
capacidad para frenar y maniobrar, los accesorios pueden
plegarse como un cortaplumas y hacer que el tractor
vuelque).
Niños
niños se sienten atraídos por este tipo de máquinas y su
funcionamiento. No entienden los riesgos ni los peligros.
Nunca suponga que los niños permanecerán en el mismo
Mantenga a los niños fuera del área de trabajo y bajo a.
estricta vigilancia de un adulto responsable además
del propio operador.
Esté alerta y apague la máquina si un niño ingresa al b.
área.
c. , siempre mire
hacia atrás y abajo por si hay niños.
d.
heridos o interferir con la operación segura de la
máquina.
Tenga extrema precaución cuando se aproxime a e.
esquinas ciegas, portales, arbustos, árboles u otros
objetos que puedan impedirle ver a un niño que se
cruce en el recorrido de la máquina.
Mantenga a los niños alejados de los motores en f.
un silenciador caliente.
Retire la llave cuando deje la máquina sin vigilancia, g.
evite que una persona sin autorización la maneje.
2.
deben leer y entender las instrucciones de operación y
normas de seguridad contenidas en este manual, y en la
máquina y deben ser entrenados y supervisados por un
adulto.
Remolque
un enganche diseñado para remolcar. No acople equipo
remolcado excepto en el punto de enganche.
Siga las recomendaciones del fabricante en lo que respecta 2.
a los límites de peso de los equipos a remolcar y al
remolque en pendientes.
Nunca permita la presencia de niños u otras personas 3.
dentro o sobre los equipos remolcados.
En las pendientes, el peso del equipo remolcado puede
causar pérdida de tracción y pérdida de control de la
máquina.
Desplácese lentamente y deje distancia adicional para 5.
frenado.
No cambie a transmisión neutral para descender.
Servicio
Manejo seguro de la gasolina:
mucho cuidado cuando trabaje con gasolina.
Se puede lesionar gravemente si derrama
gasolina sobre usted o sobre la ropa, ya que ésta se puede
incendiar. Lávese la piel y cámbiese de ropa de inmediato.
Utilice sólo los recipientes para gasolina autorizados.a.
Nunca llene los recipientes en el interior de b.
un vehículo o camión o caja de remolque con
recubrimiento plástico. Coloque siempre los
recipientes en el piso y lejos del vehículo antes de
realizar la carga.
Cuando sea factible, retire el equipo a gasolina del c.
camión o remolque y llénelo en el suelo. Si esto no
es posible, llene el equipo en un remolque con un
contenedor portátil, en vez de con una boquilla
dispensadora de gasolina.
Mantenga la boquilla de llenado en contacto con el d.
borde del depósito de combustible o con la abertura
del recipiente en todo momento, hasta terminar
la carga. No utilice un dispositivo de boquilla de
apertura/cierre.
Apague todos los cigarrillos, cigarros, pipas y otras e.
fuentes de combustión.
Nunca cargue combustible en la máquina en un f.
espacio cerrado.
Nunca saque la tapa de la gasolina ni agregue g.
combustible mientras el motor está caliente o en
marcha. Deje que el motor se enfríe por lo menos
dos minutos antes de volver a cargar combustible.
Nunca llene en exceso el depósito de combustible. h.

6se c c i ó n 2 — Me d i d a s i M p O r t a n t e s d e s e g u r i d a d
Llene el tanque no más de ½ pulgada por debajo
de la base del cuello del tapón de carga, para dejar
espacio para la expansión del combustible.
i.
bien.
Limpie el combustible que se haya derramado sobre j.
el motor y el equipo. Traslade la máquina a otra
zona. Espere 5 minutos antes de encender el motor.
k.
máquina limpia de pasto, hojas y de acumulación
de otros residuos. Limpie los derrames de aceite o
combustible y saque todos los residuos embebidos
en combustible.
Nunca guarde la máquina o el recipiente de l.
combustible en un espacio cerrado donde haya
fuego, chispas o luz piloto, como por ejemplo de
calentadores de agua, calefactores de ambientes,
hornos, secadores de ropa u otros aparatos a gas.
Deje que la máquina se enfríe cinco minutos por lo m.
menos antes de guardarla.
Servicio general
Nunca encienda el motor en espacios cerrados o en una
zona con poca ventilación. El escape del motor contiene
monóxido de carbono, un gas inodoro y letal.
Antes de limpiar, reparar o inspeccionar la máquina, 2.
compruebe que la(s) cuchilla(s) y todas las partes en
movimiento se hayan detenido. Desconecte el cable de la
bujía y póngalo haciendo masa contra el motor para evitar
que se encienda accidentalmente.
Revise periódicamente para asegurarse que las cuchillas 3.
se detengan por completo en aproximadamente cinco (5)
segundos después de accionar el control de desenganche
de las mismas. Si las cuchillas no se detienen dentro de
este lapso de tiempo, su unidad deberá ser reparada por su
distribuidor de servicio autorizado .
Controle periódicamente el funcionamiento del sistema
de bloqueo de seguridad, como se describe más adelante
en este manual. Si el sistema de bloqueo de seguridad no
funciona correctamente, pídale a su distribuidor autorizado
de que le haga un service profesional.
Revise los pernos de montaje de la(s) cuchilla(s) y del 5.
motor a intervalos frecuentes para verificar que estén
bien apretados. Además, inspeccione visualmente la(s)
cuchilla(s) en busca de daños (por ejemplo, desgaste
excesivo, abolladuras, rajaduras, etc.). Reemplace la(s)
piezas que no cumplen con las especificaciones del equipo
original podría resultar en un rendimiento incorrecto y
Las cuchillas de las podadoras son muy afiladas. Envuelva
la cuchilla o utilice guantes y extreme las precauciones
Mantenga todos los pernos, tuercas y tornillos bien 7.
ajustados para asegurarse de que la máquina se encuentra
en condiciones seguras de operación.
Nunca modifique el sistema de bloqueo de seguridad ni 8.
otros mecanismos de seguridad. Controle periódicamente
que funcionen correctamente.
motor, desconecte el cable de la bujía y conecte el motor a
masa. Inspeccione minuciosamente la máquina para ver si
está dañada. Repare el daño antes de arrancar y utilizar la
máquina.
Nunca trate de hacer ajustes o reparaciones a la máquina
mientras el motor está en marcha.
Los componentes del colector de césped y la cubierta
de descarga, están sujetos a desgaste y daños que
podrían dejar expuestas partes móviles o permitir que
frecuentemente todos los componentes y reemplácelos
inmediatamente sólo con piezas del fabricante del equipo
no cumplen con las especificaciones del equipo original
podría resultar en un rendimiento incorrecto y además
No cambie la configuración del regulador del motor ni lo
opere a sobrevelocidad. El regulador del motor controla la
velocidad máxima de funcionamiento seguro del motor.
Mantenga o reemplace las etiquetas de seguridad e
Respete las normas referentes a la disposición correcta y las
reglamentaciones sobre gasolina, aceite, etc. para proteger
el medio ambiente.
este producto tiene una vida útil media de siete (7) años
ó 270 horas de funcionamiento. Al finalizar la vida útil
media, adquiera una máquina nueva o haga inspeccionar
anualmente ésta por un distribuidor de servicio autorizado
para cerciorarse de que todos los sistemas mecánicos y de
seguridad funcionan correctamente y no tienen excesivo
desgaste. Si no lo hace, pueden producirse accidentes,
lesiones o muerte.
No modifique el motor
bajo ninguna circunstancia. Si cambia la configuración del
regulador del motor el motor puede descontrolarse y operar a
velocidades peligrosas. Nunca modifique la configuración de
fábrica del regulador del motor.
Aviso referido a emisiones
Los motores que están certificados y cumplen con las
siguientes sistemas de control de emisiones: Modificación de
motor (EM) y catalizador de tres vías (TWC) si están equipados de
esa manera.

7se c c i ó n 2 — Me d i d a s i M p O r t a n t e s d e s e g u r i d a d
Su responsabilidad—Restrinja el uso de esta máquina motorizada a las personas que lean,
comprendan y respeten las advertencias e instrucciones que figuran en este manual y en la máquina.
GUARDE ESTAS INSTRUCCIONES
Amortiguador de chispas
Esta máquina está equipada con un
motor de combustión interno y no debe ser utilizada
en o cerca de un terreno agreste cubierto por bosque,
malezas o hierba excepto que el sistema de escape del
motor esté equipado con un amortiguador de chispas
que cumpla con las leyes locales o estatales
correspondientes (en caso de existir).
Si se utiliza un amortiguador de chispas el operador lo debe
mantener en condiciones de uso adecuadas. En el Estado
de California las medidas anteriormente mencionadas son
de California). Es posible que existan leyes similares en otros
estados. Las leyes federales se aplican en territorios federales.
a través de su distribuidor autorizado de motores o poniéndose
Safety Symbols
This page depicts and describes safety symbols that may appear on this product. Read, understand, and follow all instructions on the
machine before attempting to assemble and operate.
Symbol Description
leído, entienda, y siga todas las instrucciones en el manual(s) antes de procurar montar y
funcionar
Guarde manos y pies lejos de hacer girar partes.
Quite objetos que pueden ser lanzados por la lámina en cualquier dirección. Lleve gafas de
seguridad..
Quite objetos que pueden ser lanzados por la lámina en cualquier dirección. Lleve gafas de
seguridad.
Guarde a las personas presentes, a los ayudantes y a niños por lo menos 75 pies lejos.
CUESTAS
de descarga o el receptor de hierba estén en su lugar apropiado. De ser dañado, sustituya
inmediatamente.

8se c c i ó n 2 — Me d i d a s d e s e g u r i d a d
Mire y mantenga este nivel con un árbol vertical
o la esquina de un edicio...
o el poste de una empalizada
Doble por la línea de puntos (representa una pendiente de 15°)
15°
Use esta página como guía para determinar en qué pendientes no puede operar el tractor de manera segura.
las pendientes opere con los tractores cortacésped hacia arriba y abajo, nunca de forma transversal.
los tractores de la vuelta de RZT cero a través de la cara de cuestas algo que hacia arriba y hacia abajo. Comience
con el primer paso a través de la parte inferior de la cuesta y dé vuelta cuesta arriba en el extremo de cada paso siempre
que sea posible.

Montaje y Configuración 3
9
Contenido del cajón
Un tractor corta césped Un tubo de drenaje de aceite Un acoplador de manguera para
lavado de plataforma
Un Manual del operador del RZT
Manual
Un Manual del operador del motor
Preparación del tractor
Retire el material de embalaje superior del pálet de embarque, y
corte cualquier banda o tira que fije el tractor al pálet.
Use la manija de elevación para levantar la plataforma a su
posición más alta. Enganche las varillas de derivación de la
transmisión que se encuentran a cada lado del tractor; luego
haga rodar el tractor con cuidado fuera del pálet de embarque.
Las varillas de derivación de la transmisión (una para cada
transmisión, lado derecho y lado izquierdo) están ubicadas
debajo de la plataforma del marco, justo dentro de cada rueda
Retire el adaptador del pico del sistema de lavado de la
plataforma y el tubo de drenaje de aceite de la bolsa manual y
guárdelos para uso futuro.
Bajo la cubierta del canal de descarga del deflector
No utilice nunca la cubierta de la
cortadora sin el deflector del canal instalado y en
posición baja.
El deflector de la tolva de descarga debe estar instalado antes de
operarla.
Quitar las claves que se adjuntan con una brida de plástico
en el soporte de canal.
Retire las tuercas de seguridad con brida de la cubierta. No 2.
retire las tuercas de empuje o pernos, dejando en su lugar
se ayuda en la instalación del vertedero. Véase la figura.
3-2.
Presione

10 se c c i ó n 2 — MO n t a j e y cO n f i g u r a c i ó n
Instale el deflector del canal de descarga con los pernos 3.
del carro, empuje las tuercas y la brida de tuercas como se
muestra en la figura. 3-3 y apriete bien el hardware.
Instale el asiento del operador
NOTA: El asiento es enviado con el interruptor de asiento y
contenedor de asiento anexado.
Corte cualquiera de las tiras que fijan el conjunto del
asiento y las palancas de control de la transmisión al
tractor. Quite cualquier material de empaque.
NOTA: Tenga cuidado de no cortar accidentalmente el cableado
que conecta el asiento al interruptor del asiento.
Quite los dos pernos y tuercas de fijación de hombro en la 5.
Gire el asiento en su posición y asegure el asiento en su
lugar con los pernos de reborde y tuercas de fijación que
extrajo antes. Tenga cuidado de no doblar o dañar el
cableado mientras instala el asiento. Vea la Fig. 3-5..
Coloque las palancas de control de la transmisión en posición.
Las palancas de control de la transmisión del tractor se bajan
para el embarque. Las tuercas de seguridad con brida, los
tornillos hexagonales y las arandelas planas que normalmente
fijan las palancas de control en su posición operativa se aflojan e
instalan en los orificios ranurados de las palancas de control para
el envío. Las palancas de control se deben volver a colocar en su
palancas de control en posición de operación haga lo siguiente:
Quite el tornillo hexagonal, la arandela plana y la tuerca de
seguridad con brida de la ranura de una de las palancas de
control de transmisión.
Levante y gire esa palanca de control hacia arriba hasta que 2.
el orificio ranurado del soporte de la palanca se alinee con
Soporte
Presione
asiente
asiento
Pernos con

11se c c i ó n 2 — MO n t a j e y cO n f i g u r a c i ó n
Retire la cubierta de plástico, si está presente, a partir de la 2.
negativa terminal de la batería y conectar el cable negro
a la terminal de la batería negativo (-) con el tornillo y la
tuerca hexagonal. Ver Fig. 3-7.
Coloque el caucho rojo de arranque en la terminal de la 3.
batería positivo para ayudar a proteger de la corrosión.
NOTA: Si la batería se pone en funcionamiento después de la
fecha indicada en su parte superior o al costado de la misma,
cárguela siguiendo las instrucciones de la sección Mantenimiento
y Ajustes de este manual antes de operar el tractor.
Ajuste del asiento del operador
la palanca de ajuste del asiento. Deslice el asiento hacia adelante
o hacia atrás a la posición deseada; luego suelte la palanca de
de operar el tractor. Vea la Fig. 3-8.
Deslice la arandela plana hacia el tornillo hexagonal. 3.
Desde afuera, inserte el tornillo hexagonal con arandela
a través de la ranura de la palanca de control y el orificio
del soporte de pivote. Fije con la tuerca de seguridad con
respecto del soporte de pivote, luego repita los pasos
previos para volver a colocar en posición la otra palanca de
control en aproximadamente la misma posición.
Consulte las instrucciones para el ajuste final de las 5.
palancas en la Sección de Mantenimiento y Ajustes bajo el
título "Ajuste de las palancas de control de transmisión".
Instalación del cable de la baterías
65 DE CALIFORNIA
Los postes de la batería,
terminales y accesorios relacionados contienen
plomo y compuestos químicos, conocidos por el
Estado de California que causan cáncer y daños en la
reproducción. Lávese las manos después de la
manipulación.
Al conectarse cables de batería,
siempre conectar los terminales positivo (rojo) de
alambre a su terminal en primer lugar, seguido por
el negativo (Negro) alambre.
For shipping reasons, both battery cables on your equipment
may have been left disconnected from the terminals at the
factory. To connect the battery cables, proceed as follows:
NOTA:
El borne negativo de la batería está marcado como Neg (-).
NOTA: Si el cable de batería positivo ya está conectado, vaya
directamente al paso 2
Retire la cubierta de plástico, si está presente, desde la
terminal de la batería positivo y adjuntar el cable rojo a la
hexagonal. Ver Fig. 3-7.

Controles y Características 4
NOTA:
ATRÁS indican esa posición desde el asiento del operador en el
tractor, mirando hacia adelante.
Posicionamiento de la altura de la
plataforma
El posicionamiento de la altura de la plataforma consiste
en seis muescas de posición ubicadas en la parte
delantera del marco del asiento, del lado derecho. Cada
Manija de elevación de la plataforma
La manija de elevación de la plataforma se encuentra
adelante del marco del asiento, del lado derecho,
y se utiliza para levantar y bajar la plataforma de la
cortadora.
Tire de la manija hacia la izquierda para sacarla de
la muesca y empuje hacia abajo para bajar la plataforma o
hacia arriba para levantarla. Cuando alcance la altura deseada,
mueva la manija de elevación hacia la derecha para que encaje
totalmente en la muesca de posicionamiento.
Palancas de control de transmisión LADO DERECHO
y LADO IZQUIERDO
Estas palancas abisagradas giran hacia afuera, hacia el espacio
abierto, para permitir al operador sentarse en el asiento del
tractor o descender del mismo. Las palancas deben estar
totalmente abiertas y en posición neutral para arrancar el motor
del tractor.
Cada palanca controla la transmisión respectiva del lado derecho
o del lado izquierdo. En consecuencia, estas palancas controlan
todos los movimientos del tractor. La conducción del tractor
y la realización de maniobras con estas palancas de control
difieren mucho de las funciones respectivas de los tractores
convencionales, y es necesario practicar para poder dominar
las mismas. Consulte la Sección Funcionamiento para obtener
instrucciones sobre el uso de las palancas de control.

13se c c i ó n 4 — cO n t r O l e s y ca r a c t e r í s t i c a s
Interruptor de encendido
El interruptor de encendido está ubicado
en la consola del lado derecho, a la derecha
del asiento del operador. El interruptor de
encendido tiene tres posiciones.
— Se apagan el motor y el sistema
eléctrico.
— Se activa el sistema eléctrico del tractor.
ARRANQUE — El motor de arranque enciende el motor. Suelte
la llave apenas arranca el motor.
NOTA:
batería, quite la llave del interruptor de encendido cuando el
tractor no se encuentra en uso.
Interruptor de la potencia de arranque (PTO)
está ubicado en la consola del lado derecho, a
la derecha del asiento del operador.
El interruptor de la potencia de arranque
base del cigüeñal del motor. Tire de la perilla
del interruptor hacia arriba para enganchar
el embrague de la potencia de arranque
desenganchar el embrague.
Al arrancar el motor, el interruptor de la potencia de arranque
Varillas de derivación de transmisión
Las varillas de derivación de la transmisión (una para cada
transmisión, lado derecho y lado izquierdo) están ubicadas
debajo de la plataforma del marco, justo dentro de cada rueda
trasera.
Al estar enganchadas, las dos varillas abren una derivación
dentro de las transmisiones hidrostáticas, lo cual permite
empujar el tractor a mano a lo largo de distancias cortas.
Consulte la Sección Mantenimiento y Ajustes para obtener
instrucciones sobre el uso del dispositivo de derivación.
Nunca remolque su tractor. Si se
remolca el tractor con las ruedas traseras apoyadas
en el suelo se pueden causar daños graves a las
transmisiones.
Portacubeta
La portacubeta está ubicada hacia la parte trasera de la consola
del lado derecho, a la derecha del asiento del operador.
Bandeja de almacenamiento
La bandeja de almacenamiento está ubicada en la parte
posterior de la consola del lado derecho.
Palanca de ajuste del asiento
La palanca de ajuste del asiento está ubicada debajo del asiento,
adelante a la izquierda. La palanca permite el ajuste del asiento
del operador, hacia adelante o hacia atrás. Consulte la Sección
Mantenimiento y Ajustes para obtener instrucciones sobre el
ajuste de la posición del asiento.
Tapón del tanque de combustible
El tapón del depósito de combustible está ubicado cerca de
la parte media de la consola del lado izquierdo. Gire el tapón
El tapón del combustible está amarrado al tractor para impedir
que se pierda. No intente retirar el tapón del tractor.
Empuje el tapón hacia abajo sobre el cuello de llenado del
vuelta en el sentido de las agujas del reloj para ajustarlo. Siempre
vuelva a colocar el tapón de manera segura en el depósito de
combustible luego de quitarlo.
Nunca realice la recarga de
combustible en el depósito si el motor está en
funcionamiento. Si el motor está caliente por
haber funcionado hasta hace poco, déjelo enfriar
varios minutos antes de cargar combustible. La
gasolina es muy inflamable y podría salpicar el
motor y causar un incendio.
Medidor horario/Panel indicador
El medidor horario/ panel indicador
está ubicado en la consola del lado
izquierdo, a la izquierda del asiento
del operador.
Características del medidor horario
El medidor horario registra las horas
que el tractor ha funcionado en el
visor digital (dígito más cercano a las
décimas de hora).
NOTA: El medidor horario se activa cuando el interruptor de
registro de las horas reales de operación para asegurar que se
instrucciones de este manual y del manual del motor.
indicador de batería se ilumina brevemente y aparece el voltaje
de la batería por unos segundos. El visor luego muestra las horas
acumuladas.
El monitor del indicador también le recuerda al operador los
intervalos de mantenimiento para el cambio de aceite del motor.
minutos, cada 50 horas de operación registradas. El intervalo
que el motor del tractor se enciende durante el intervalo de
mantenimiento. Respete los intervalos entre cada cambio de
HOURS 1/10
PTO
/
BLADE
PARK
BRAKE
OIL
BATT.

14 se c c i ó n 4 — cO n t r O l e s y ca r a c t e r í s t i c a s
Características del panel indicador
Se ilumina y muestra brevemente el voltaje de la batería
(encendido).
Se ilumina para indicar que el voltaje de la batería ha bajado por
también se muestra en el medidor horario). Si este indicador y el
visor se encienden durante la operación, controle la batería y el
sistema de carga para detectar las causas posibles y/o póngase
en contacto con el distribuidor Cub Cadet.
Esta lámpara de advertencia indica que hay baja presión de
aceite del motor. Si el indicador se enciende mientras el motor
está funcionando, detenga el motor inmediatamente y controle
para encontrar las causas posibles. No haga funcionar el motor
contacto con el distribuidor Cub Cadet para que se realice la
inspección del tractor y del motor.
NOTA: El indicador de presión de aceite se puede iluminar
(encendido), pero se debe apagar cuando arranca el motor.
Este indicador se ilumina cuando el interruptor de la
la posición "ARRANQUE". Controle este indicador si el motor no
arranca cuando el interruptor de encendido está en posición
de "ARRANQUE". Si es necesario, coloque el interruptor de la
Este indicador se ilumina cuando el freno de mano está en
hace girar a la posición "ARRANQUE". Controle este indicador si
el motor no arranca cuando el interruptor de encendido está en
posición de "ARRANQUE". Si es necesario, coloque el freno de
Este indicador también se ilumina cuando se gira el interruptor
de encendido a la posición "ARRANQUE" y las palancas de
control de transmisión del lado derecho y/ del lado izquierdo se
encuentran en una posición distinta de la totalmente neutral.
Mueva las palancas de control totalmente hacia afuera.
Control del regulador/cebador
El control del regulador/cebador está ubicado en la
consola del lado izquierdo, a la izquierda del asiento
del operador. Cuando se lo coloca en cierta posición,
se mantiene una velocidad de motor uniforme.
Empuje la manija de control del regulador/
cebador hacia adelante para aumentar la
velocidad del motor. El tractor se ha diseñado
para operar con el control del regulador/
cebador en posición de velocidad rápida
(aceleración máxima) de marcha del tractor
con la plataforma de la cortadora enganchada.
Tire de la manija de control del regulador/
cebador hacia atrás para reducir la velocidad
del motor.
Cuando arranque el motor, empuje la manija de control
(cebador).
Después de arrancar y calentar el motor, mueva la manija
de control hacia atrás hasta que sienta que pasa el
bloqueador del cebador.
Palanca de enganche del freno de mano
La palanca de enganche del freno de mano está ubicada
hacia adelante/a la izquierda del marco del asiento, y se la
usa para colocar el freno de mano.
Tire de la palanca totalmente hacia arriba y a la izquierda;
freno.
Tire de la palanca hacia arriba para sacarla de la ranura
desenganchar el freno de mano.
NOTA: Si las palancas de control de transmisión del
lado izquierdo y del lado derecho no están totalmente
abiertas en posición neutral al enganchar el freno de
mano, el motor se detiene. El freno de mano se debe
colocar en posición enganchado al arrancar el motor del
tractor.
Depósito de expansión del aceite de
transmisión
El depósito de expansión del aceite de transmisión está
conectado por mangueras a los conjuntos de transmisión de
lado derecho y de lado izquierdo, y está ubicado debajo de la
caja del asiento. La función del depósito es contener la expansión
natural del aceite de transmisión que se produce a medida que la
transmisión se calienta durante el funcionamiento de la máquina.
En condiciones operativas normales, no se debe agregar
base del depósito.
Antes del funcionamiento inicial del tractor, el nivel
de aceite del depósito puede estar levemente por encima
del máximo debido al aire que hay en las líneas de aceite. El
funcionamiento del tractor finalmente purgará el aire de las
líneas y el nivel de aceite se estabilizará en el máximo.
FAST
SLOW

Funcionamiento 5
15
Seguridad general
operador en su totalidad. Aprenda a operar esta máquina
operar este tractor a quienes se hayan familiarizado a
fondo con el uso del mismo.
Antes de arrancar el motor o de empezar a operar,
familiarícese con los controles. El operador debe estar en
el asiento del operador. El interruptor de la potencia de
el freno de mano enganchado y las palancas de control
de transmisión del lado derecho y del lado izquierdo
totalmente hacia afuera, en posición neutral.
Mantenga todos los protectores en su lugar. Guarde
distancia de las partes móviles.
Mantenga a todas las personas y las mascotas a una
distancia segura de la máquina. Siempre mire hacia atrás y
hacia abajo a ambos lados del tractor antes de desplazarse
marcha atrás.
En lo posible evite las pendientes. Nunca opere en
inclinación presentan condiciones de operación peligrosas.
Los tractores pueden voltearse.
Antes de dejar el asiento del operador: Desconecte la
de transmisión del lado derecho y del lado izquierdo
totalmente hacia afuera en posición neutral, enganche
el freno de mano, apague el motor y quite la llave de
encendido. Antes de realizar el mantenimiento o la
limpieza de la máquina, espere hasta que cese totalmente
el movimiento.
pareja y evite realizar movimientos bruscos con las mismas
al arrancar y detenerse. Sujete bien las palancas de control.
Sea cuidadoso al operar cerca de rutas. Detenga el
movimiento del tractor y espere a que pasen los vehículos
antes de operar a lo largo de la ruta.
No haga funcionar el tractor sin la plataforma de la
cortadora. Si se quita la plataforma varía el equilibrio del
tractor y éste podría voltearse.
Evite operar en superficies de tracción inestables; tenga
extrema precaución si la superficie es resbaladiza.
Reduzca la velocidad antes de girar y deténgase
completamente en cualquier maniobra de giro cero.
No detenga ni estacione el tractor sobre materiales
combustibles tales como pasto u hojas secas, desechos, etc.
No llene el tanque de combustible con el motor en
funcionamiento o si el mismo está caliente. Deje enfriar el
motor varios minutos antes de la recarga de combustible.
Apriete el tapón de combustible con firmeza.
Antes de hacer funcionar el tractor
Antes de hacer funcionar el tractor, lea este manual con
atención para familiarizarse con el funcionamiento de
todos los instrumentos y controles. El manual se preparó
con la finalidad de ayudarlo a hacer funcionar y mantener
el tractor eficientemente.
con gasolina sin plomo limpia y fresca, en un surtidor que
indique un octanaje igual a 87 o más.
Se recomienda el uso de gasolina sin plomo porque deja
menos depósitos en la cámara de combustión y reduce las
emisiones de escape perjudiciales. No se recomienda el uso
de gasolina con plomo; no se la debe usar en los lugares en
los cuales las emisiones de escape se encuentran reguladas.
NOTA: Compre gasolina en pequeñas cantidades. No utilice
gasolina sobrante de la temporada anterior, para minimizar
los depósitos de goma en el sistema de combustible.
sin plomo por volumen) es un combustible aprobado.
El éter metílico terciario-butílico (MTBE) y las mezclas de
volumen) son combustibles aprobados. No se aprueba el
uso de otras mezclas de gasolina/éter.
Revise el nivel de aceite del motor.
Limpie el filtro de aire si es necesario.
Controle la presión de inflado de los neumáticos.
Ajuste el asiento para la mayor comodidad del operador,
para una adecuada visibilidad y para mantener el control
completo del tractor.
Sistema de bloqueo de seguridad
Este tractor está equipado con un sistema de bloqueo de
seguridad para protección del operador. Si el sistema de bloqueo
contacto con su distribuidor autorizado Cub Cadet.
El sistema de bloqueo de seguridad evita que el motor
intente arrancar o arranque a menos que se muevan las
palancas de control de transmisión del lado derecho y del
lado izquierdo totalmente hacia afuera en posición neutral,
se enganche el freno mano y se desenganche la potencia
de mano, el sistema de bloqueo de seguridad apaga el
motor si las palancas de control de transmisión del lado
derecho y/o del lado izquierdo se mueven a una posición
distinta de la totalmente neutral con el freno de mano
enganchado.
Si el operador abandona su asiento antes de colocar el
freno de mano, el sistema de bloqueo de seguridad apaga
el motor.

16 se c c i ó n 5— fu n c i O n a M i e n tO
Si el operador abandona su asiento con la potencia de
freno de mano, el sistema de bloqueo de seguridad apaga
el motor.
NOTA:
arrancar el motor.
El sistema de bloqueo de seguridad apaga la potencia de
si las dos palancas de control de transmisión se mueven a
se vuelve a enganchar cuando una o las dos palancas se
mueven nuevamente a la posición neutral o de marcha
directa.
Encendido del motor
Esta unidad está equipada
con un sistema de bloqueo de seguridad para
protección del operador. No opere el tractor si
alguna parte del sistema de bloqueo funciona
mal. Controle periódicamente las funciones del
sistema de bloqueo para verificar que funcionen
adecuadamente.
personal, el operador debe estar sentado en el
asiento del tractor al arrancar el motor.
El operador debe estar sentado en el asiento
del tractor.
2.
Verifique que el interruptor de la potencia de arranque 3.
Coloque la palanca de control del regulador/cebador
NOTA: Si el motor está caliente, tal vez no sea necesario
colocar el control del regulador/cebador en la posición del
cebador.
Gire la llave de encendido en el sentido de las agujas del 5.
reloj a la posición "ARRANQUE" y suéltela cuando arranque
el motor; sin embargo, no dé arranque continuamente
durante más de 5 segundos por vez. Si el motor no arranca
motor de arranque del motor. Inténtelo de nuevo después
de esperar. Si después de unos cuantos intentos el motor no
arranca, no siga intentando ya que con el cebador cerrado se
A medida que se calienta el motor, gradualmente tire de
la palanca de control del regulador/cebador hacia atrás
hasta pasar la posición de bloqueo del cebador. No use
el cebador para enriquecer la mezcla de combustible, a
menos que sea necesario para arrancar el motor.
Deje que el motor funcione unos cuantos minutos a una 7.
aceleración intermedia antes de someterlo a la carga.
8.
la luz del indicador de batería o de presión de aceite,
tractor por el distribuidor Cub Cadet.
Arranque del motor en clima frío
Al arrancar el motor a temperaturas cercanas o inferiores al punto
de viscosidad correcta y que la batería tenga carga completa.
Arranque el motor de la siguiente forma:
Una batería caliente tiene una capacidad de arranque
mucho mayor que una batería fría.
Use combustible fresco para uso invernal. La gasolina 2.
para uso invernal tiene mayor volatilidad a los efectos de
mejorar el arranque. No use gasolina que le haya quedado
del verano.
3.
Uso de cables de puente para arrancar el motor
Las baterías contienen ácido
de que el área esté bien ventilada, use guantes y
protectores de ojos y evite chispas o llamas cerca de
la batería.
Si la carga de la batería no es suficiente para dar arranque al
motor, vuelva a cargar la batería. Si no dispone de un cargador
de batería y debe arrancar el tractor, puede ser necesario usar
una batería de urgencia. Conecte la batería de urgencia de la
siguiente forma:
Conecte el extremo de un cable al borne positivo de la batería
del tractor que no funciona; luego conecte el otro extremo de
ese cable al borne positivo de la batería de urgencia.
Conecte un extremo del otro cable al borne negativo de la 2.
batería de urgencia; luego conecte el otro extremo de ese
cable al bastidor del tractor que no funciona, a la mayor
distancia posible de la batería.
3.
de arranque normales indicadas más arriba; luego
desconecte los cables de puente en orden exactamente
inverso al de la conexión.
más pronto que fuere posible, para eliminar la necesidad
de usar cables de puente para arrancarlo.

17se c c i ó n 5— fu n c i O n a M i e n tO
Detención del motor
Coloque las palancas de control de transmisión del lado 2.
derecho y del lado izquierdo totalmente hacia afuera, en
posición neutral.
Coloque el freno de mano. 3.
Mueva el control del regulador/cebador a distancia media
5.
quite la llave del interruptor de encendido.
NOTA: ASiempre quite la llave del interruptor de encendido
para evitar el arranque accidental o la descarga de la batería si el
equipo queda sin supervisión.
Practique el modo de operación con el tractor (uso inicial)
operar un tractor convencional. Si bien precisamente un tractor
con radio de giro cero es más maniobrable, es necesario practicar
la operación de las palancas de control para acostumbrarse a las
mismas.
Recomendamos enfáticamente que encuentre un "área de
práctica" de superficie razonable, nivelada y abierta, en la cual
no haya obstrucciones, peatones ni mascotas. Debe practicar la
operación del tractor durante 30 minutos por lo menos.
Lleve (o haga que alguien lleve) el tractor al área de práctica con
no debe estar enganchada. Mientras practica, haga funcionar
el tractor a aproximadamente ⁄-⁄ de aceleración y a menos de
la velocidad máxima tanto en marcha directa como en marcha
atrás.
Ejercite cuidadosamente las maniobras con el tractor, usando las
instrucciones de la sección siguiente "Conducción del tractor".
tractor con seguridad.
Conducción del tractor
desarrollar excesiva velocidad y detenerse de
repente.
Ajuste el asiento del operador a la posición más cómoda
que le permita operar los controles. Consulte la forma de
Suelte el freno de mano.2.
Coloque las palancas de control de transmisión del lado 3.
derecho y del lado izquierdo hacia adentro, en posición
neutral. Vea la Figura 5-2.
NOTA: Si las palancas de control no están niveladas en posición
neutral, consulte la Sección Mantenimiento y Ajustes para ajustar
las palancas de manera que queden niveladas.
Coloque la palanca de control del regulador/cebador hacia
adelante, hasta la posición de aceleración máxima (3300-
NOTA: Si bien el motor del tractor se ha diseñado para
funcionar a máxima aceleración, cuando practica el tractor
debe funcionar a menos del máximo (aproximadamente
funcionamiento del motor durante la práctica.
Siempre sujete las palancas
de control para desplazarse más despacio o para
detener el tractor; lleve las palancas a la posición
neutral con las manos.
control de transmisión respectivas con las manos derecha
e izquierda y proceda con Conducción del Tractor marcha

18 se c c i ó n 5— fu n c i O n a M i e n tO
Conducción del tractor hacia adelante
Todos los movimientos de las
palancas de control deben ser lentos y suaves. El
movimiento abrupto de las palancas de control
puede afectar la estabilidad del tractor y podría
hacer que el tractor se voltee, con el resultado de
lesiones graves o incluso la muerte del operador.
Mueva las palancas de control lenta y suavemente hacia
adelante. El tractor comenzará a desplazarse hacia
adelante. Vea la Fig. 5-3.
A medida que las palancas de control se empujan más 2.
hacia adelante, aumenta la velocidad del tractor.
3.
palanca de control hacia atrás hasta alcanzar la velocidad
deseada, o coloque las palancas en la posición neutral para
detener el tractor.
Siempre tome y mantenga
las palancas de control con firmeza. No suelte las
palancas para que el tractor se desplace con mayor
lentitud ni para volver a posición neutral.
Giro con el tractor en marcha directa
Al invertir la dirección del
recorrido, le recomendamos que en lo posible
realice giros graduales en "U". Los giros más agudos
aumentan la posibilidad de que se deteriore el
césped y podrían afectar el control del tractor.
girar en curvas cerradas.
una palanca quede más atrás que la otra. El tractor girará en la
dirección de la palanca que queda más atrás.
lado izquierdo hacia atrás respecto de la palanca derecha.
2.
lado derecho hacia atrás respecto de la palanca izquierda.
Vea la Fig. 5-5.
Cuanto mayor sea la distancia de adelante hacia atrás 3.
entre las dos palancas, más cerrado será el giro que dará el
tractor.
control del lado de giro a la posición neutral, mientras
mueve la otra palanca de control hacia adelante.
NOTA: Los "giros de pivote" sobre el pasto aumentan
significativamente el potencial de que se deteriore el
césped.
ADELANTE
HACIA ADELANTE
LA DERECHA
ADELANTE

19se c c i ó n 5— fu n ci O n a M i e n t O
Conducción del tractor en marcha atrás
Siempre mire hacia atrás y hacia
abajo a ambos lados del tractor antes de desplazarse
marcha atrás. Siempre mire hacia atrás cuando se
desplaza en marcha atrás.
Mueva las dos palancas de control lenta y suavemente
hacia atrás. El tractor comenzará a moverse hacia atrás. Vea
A medida que las palancas de control se empujan más 2.
hacia atrás, aumenta la velocidad del tractor.
3.
la palanca de control hacia adelante hasta alcanzar la
velocidad deseada, o coloque las palancas en la posición
neutral para detener el tractor.
Realizar un giro mientras se conduce marcha atrás
palanca quede más adelante que la otra. El tractor girará en la
dirección de la palanca que queda más adelante.
atrás, mueva la palanca de control del lado izquierdo hacia
adelante respecto de la palanca derecha. Vea la Fig. 5-7.
2.
atrás, mueva la palanca de control del lado derecho hacia
adelante respecto de la palanca izquierda. Vea la Fig. 5-8.
Cuanto mayor sea la distancia de adelante hacia atrás entre 3.
las dos palancas, más cerrado será el giro que dará el tractor.
control del lado de giro a la posición neutral, mientras
mueve la otra palanca de control hacia atrás.
NOTA: Los "giros de pivote" sobre el pasto aumentan
significativamente el potencial de que se deteriore el césped.

se c c i ó n 5— fu n c i O n a M i e n tO
Giro de radio cero
cero, el tractor SE DEBE DETENER. La realización de
un giro de radio cero con el tractor en movimiento
puede reducir significativamente el grado de control
que se tenga sobre el mismo, y dará lugar a un grave
deterioro del césped.
Detenga el movimiento del tractor hacia adelante o hacia
atrás colocando las dos palancas de control en neutral.
2.
la palanca de control del lado izquierdo hacia adelante
mientras mueve simultáneamente la palanca de control
3.
la palanca de control del lado derecho hacia adelante
mientras mueve simultáneamente la palanca de control
Detención del tractor
Mueva las dos palancas de control a la posición neutral
para detener el movimiento del tractor.
2.
hacia abajo a la posición desenganchada.
Use la manija de elevación de la plataforma para levantar la 3.
plataforma a su posición más alta.
Si desciende del tractor, mueva las palancas de control
totalmente hacia afuera en la posición neutral, enganche el
freno de mano, mueva la palanca de control del regulador/
cebador a la posición rápida, gire el interruptor de
No abandone el asiento del
tractor sin desenganchar la potencia de arranque
transmisión totalmente hacia afuera en posición
neutral, y enganche el freno de mano. Si deja el
tractor sin vigilancia, apague el motor girando la
llave de encendido y retírela.
Operación en pendientes
Consulte indicador de pendiente en la Sección Funcionamiento
Seguro para determinar en qué pendientes no puede operar el
tractor de manera segura.
No corte el césped en
aproximada de 2-⁄
podría voltearse y causar lesiones severas.
Siempre conduzca el tractor de forma transversal a la
pendiente, nunca hacia arriba y hacia abajo. Controle la
velocidad y la dirección del tractor usando principalmente
la palanca de control del lado del tractor que queda 'cuesta
abajo', mientras que la palanca de control del lado 'cuesta
arriba' permanece esencialmente fija.
En lo posible evite girar cuesta abajo. Comience en la base 2.
de la pendiente y opere cuesta arriba. Siempre reduzca la
velocidad antes de dar la vuelta.
3.
cuesta abajo.
Funcionamiento de PTO
siguiente forma:
Mueva la palanca de control del regulador/cebador
aproximadamente a la posición de aceleración intermedia.
2.
Adelante la palanca del regulador/cebador a la velocidad 3.
operativa (velocidad máxima del motor).
El operador debe permanecer sentado en el tractor en
todo momento. Si el operador abandona el asiento sin
apagar el interruptor de la toma de fuerza, el motor del
tractor se detiene.
5.
cuando el tractor se desplaza en marcha atrás. La potencia
de control se colocan en posición marcha atrás, y se vuelve
a enganchar cuando una (o las dos) palanca(s) de control se
mueve(n) a la posición neutral o de marcha directa.
SENTIDO DE LAS
EN SENTIDO
CONTRARIO A LAS

se c c i ó n 5— fu n c i O n a M i e n t O
Uso de la plataforma de la cortadora
va a cortar esté libre de desechos, ramitas, piedras,
cables u otros objetos que puedan ser arrojados por
las cuchillas rotativas.
NOTA: No enganche la plataforma de la cortadora cuando esté
baja sobre el pasto. Se produce el desgaste prematuro y la
posible falla de la correa en "V" y del embrague de la potencia
cortadora, levante totalmente la plataforma o lleve la máquina a
un área donde no haya césped.
Corte de forma transversal a la pendiente, no hacia arriba ni
hacia abajo. Si corta el césped en pendiente, comience por
la base y desplácese hacia arriba para asegurar que siempre
se gire cuesta arriba.
Al realizar la primera pasada elija un punto del lado 2.
opuesto del área a cortar.
3.
y mueva el control del regulador/cebador a la posición
rápida.
Baje la plataforma de la cortadora al ajuste de altura
deseado usando la manija de elevación.
Empuje las palancas de control del lado derecho y del lado 5.
izquierdo lentamente y de forma pareja para que el tractor
avance hacia adelante, y mantenga la orientación del
tractor en línea recta hacia el punto de alineación.
NOTA: La velocidad del tractor afecta la calidad del corte
que realiza la cortadora. Si realiza el corte a gran velocidad
la calidad se ve afectada negativamente. Controle la
velocidad absoluta con las palancas de control.
Cuando se acerque al otro extremo de la franja, reduzca
la velocidad o deténgase antes de girar. Se recomienda
realizar un giro en U a menos que sea necesario realizar un
giro de radio cero.
Alinee la cortadora de césped con un borde de la franja 2.
cortada y superponga la pasada aproximadamente 3
pulgadas.
3.
se alinee con la franja ya cortada.
en lo posible varíe la dirección de las franjas de corte
Tenga sumo cuidado al
atravesar senderos de grava o caminos de acceso.
levante la plataforma hasta la posición más alta
antes de cruzar.
NOTA: Siempre que detenga el tractor por cualquier razón en un
área de césped, haga lo siguiente:
Coloque la palanca de cambios en neutral,
Coloque el freno de mano,
Apague el motor y retire la llave.
Eso permitirá reducir al mínimo la posibilidad de que su
césped resulte quemado por el escape caliente del motor
en funcionamiento.
Control de los circuitos de bloqueo de seguridad
Controle periódicamente los circuitos de bloqueo de seguridad
contacto con el distribuidor Cub Cadet para que inspeccione el
seguridad proceda de la siguiente manera:
Sentado en el asiento del tractor con ambas palancas de
control totalmente abiertas hacia afuera, desenganche el
freno de mano momentáneamente y gire el interruptor
de encendido a la posición de arranque. El motor no debe
intentar arrancar.
Enganche el freno de mano y tire del interruptor de la 2.
enganchada. Gire el interruptor de encendido a la posición
de arranque momentáneamente; el motor no debería
intentar arrancar.
3.
hacia abajo, a la posición desenganchada, y coloque el
freno de mano. Arranque el motor y mueva una de las
palancas de control desde la posición neutral totalmente
hacia afuera. El motor debe dejar de funcionar. Repita el
procedimiento con la otra palanca de control.
Mueva las dos palancas de control totalmente hacia afuera
en la posición neutral y desenganche el freno de mano;
luego levante hacia arriba desde el asiento del operador. El
motor debe dejar de funcionar.
Con las dos palancas de control totalmente hacia afuera en 5.
la posición neutral y el freno de mano colocado, enganche
el asiento del operador; el motor se debe detener.
Arranque el tractor, desenganche el freno de mano y
mueva las palancas de control hacia adentro a la posición
operativa neutral. Enganche la potencia de arranque
debe desenganchar y la plataforma de la cortadora se debe
detener hasta que una o las dos palancas de control se
coloca(n) en posición neutral o de marcha directa.

Mantenimiento y Ajustes 6
Calendario de mantenimiento
Antes de
Cada uso
Cada
10 horas
Cada
25 horas
Cada
50 horas
Cada
100 horas
Antes de
almacenar
Inspeccione la pantalla/cubierta de entrada del motor P
Limpie los bornes de la batería P P
Lubrique el eje de pivote delantero y los ejes de las rueditas P P
Limpie las aletas de refrigeración del motor P P
Lubrique las ruedas de la plataforma P P
Mantenimiento
Antes de realizar tareas de
mantenimiento o reparaciones, desconecte la potencia
totalmente hacia afuera hasta la posición neutral,
coloque el freno de mano, apague el motor y retire la
llave, para evitar el encendido accidental del motor.
Motor
Consulte los intervalos, procedimientos, especificaciones e
instrucciones de mantenimiento del motor en el Manual del
Vaciado del aceite del motor
Localice el puerto de drenaje de aceite en el lado izquierdo
del motor.
Abra el tapón protector en el extremo de la válvula de 2.
drenaje de aceite para exponer el orificio de drenaje.
de nivel de llenado de aceite del tubo.
Empuje la manguera de drenaje de aceite (embalada con 3.
este manual) en el puerto de drenaje de aceite. Coloque
el extremo opuesto de la manguera en un recipiente
de recolección de aceite adecuado con al menos una
capacidad de 2.0 cuartos, para recoger el aceite usado.
continuación, tire hacia afuera para comenzar a drenar
el aceite. Después de que el petróleo ha terminado de
drenaje, empuje el extremo de la válvula de drenaje de
Vuelva a tapar el extremo de la válvula de drenaje para
evitar que los desechos entren en el orificio de drenaje.
Después de que el petróleo ha terminado de drenaje, 5.
empuje el extremo de la válvula de drenaje de aceite de
nuevo, hasta que las pestañas en su lugar. Vuelva a tapar
el extremo de la válvula de drenaje para evitar que los
desechos entren en el orificio de drenaje y el Manual del
operador del motor para obtener instrucciones recarga, el
tipo de aceite y la cantidad.
NOTA: El mantenimiento, reparación o reemplazo de los
dispositivos de control de emisiones y sistemas que se están
haciendo a costa del propietario se puede realizar por cualquier
centro de reparaciones de motores o individuales. reparaciones
en garantía deben ser realizadas por un concesionario de Troy-
Bilt.
Transmisión hidrostática
El tractor con radio de giro cero está equipado con bombas
hidrostáticas integradas dobles / transejes que están sellados y
no necesitan mantenimiento. No se puede controlar el nivel de
líquido ni se puede cambiar ni agregar líquido.

se c c i ó n 6 — Ma n t e n i M i e n t O y aj u s t e s
Información general sobre la batería
En caso de que se produzca una salpicadura
accidental de ácido en los ojos o la piel, enjuague
el área afectada inmediatamente con agua limpia
médico inmediatamente.
con agua limpia, luego neutralícelo con una
solución de agua/amoníaco o bicarbonato/agua.
NUNCA conecte (o desconecte) las abrazaderas
del cargador de la batería a la batería si el cargador
está encendido, ya que puede causar chispas.
Mantenga todas las fuentes de combustión
(cigarrillos, cerillas, encendedores) alejadas de la
batería. El gas generado durante la carga puede
ser combustible.
Como precaución adicional, cargue la batería
Siempre proteja sus ojos y su piel y vestimenta
cuando trabaje cerca de baterías.
gases explosivos. Tenga extremo cuidado cuando
manipule baterías. Mantenga las baterías lejos del
alcance de los niños.
Mantenimiento de la batería
La batería se llena con ácido de batería y se sella en fábrica.
Sin embargo, para asegurar un ciclo de vida adecuado es
en el caso de las baterías 'sin mantenimiento'.
Rocíe los bornes y el cable expuesto con un sellador de bornes
de batería, o recubra los bornes con una capa delgada de
grasa o vaselina para protegerla contra la corrosión.
Siempre mantenga limpios y libres de corrosión los cables y
los bornes de la batería.
electrolito si se la inclina.
Las baterías contienen ácido
extremo cuidado cuando manipule baterías.
Mantenga las baterías lejos del alcance de los niños.
Mantenimiento de los neumáticos
Controle la presión de aire de los neumáticos cada 50 horas de
operación o una vez por semana. Mantenga los neumáticos
inflados a las presiones recomendadas. El inflado inadecuado
neumáticos para averiguar las presiones de inflado adecuadas.
Respete las siguientes pautas:
No infle los neumáticos por encima de la presión máxima
que se muestra en el lateral del neumático.
No vuelva a inflar un neumático que se ha utilizado
desinflado o desinflado en extremo. Un gomero calificado
debe inspeccionar y reparar el neumático.
Lubricación
Con una pistola de lubricación a presión, lubrique los ejes de
las ruedas pivotantes delanteras y el eje de pivote delantero
Lubrique periódicamente todos los otros puntos de pivote
con un aceite lubricante de calidad.
Uso del sistema de lavado de la plataforma
Cuando use el sistema de lavado
de la plataforma, nunca enganche la plataforma
desde otra posición que no sea la del asiento del
operador del tractor. No use un asistente ni enganche
Una el adaptador del pico a una manguera de jardín
estándar conectada al suministro de agua.
Desplace el tractor a un área al alcance de la manguera, 2.
no presente inconvenientes para usted. Desconecte la
detenga el motor.
Tire hacia atrás el collarín de ajuste del acople de la boquilla 3.
y empuje el adaptador hacia la boquilla de lavado de la
plataforma en el extremo izquierdo de la plataforma de
corte. Suelte el collarín de ajuste para trabar el adaptador
Abra el suministro de agua.
Desde el asiento del operador del tractor, encienda el 5.
Cierre el suministro de agua.
Tire del collarín de ajuste del adaptador de la boquilla hacia 7.
atrás para desconectar el adaptador de la boquilla.
Limpieza de las poleas del husillo
Una vez por mes retire las cubiertas de la correa para quitar
cualquier acumulación de recortes de césped que haya alrededor
de las poleas del husillo y de la correa en 'V'. Limpie con mayor
frecuencia si corta césped alto y seco.

se c c i ó n 6 — Ma n t e n i M i e n t O y aj u s t e s
Uso de las varillas de derivación de la transmisión
Si por alguna razón el tractor no funciona o usted desea moverlo,
las dos transmisiones hidrostáticas están equipadas con una
varilla de derivación que permite mover manualmente el tractor
a lo largo de distancias cortas.
No remolque el tractor, ni
siquiera con la varilla de derivación enganchada. La
transmisión del tractor sufrirá graves daños.
Ubique las varillas de derivación de transmisión, justo
Tire de una varilla hacia adelante del tractor hasta 2.
que la brida de la varilla quede adelante de la ranura
posicionadora en el conjunto del marco.
Baje la varilla de derivación dentro de la ranura 3.
posicionadora y suéltela, de modo que la brida de la varilla
quede contra el frente del soporte del marco.
Repita el procedimiento indicado más arriba para
enganchar la otra varilla de derivación del otro lado del
tractor.
Después de mover el tractor, desenganche las dos varillas 5.
de derivación. Levante la varilla y guíe la brida de la varilla
hacia atrás a través de la abertura circular más grande del
ojo de llave, luego suelte la varilla.
NOTA: El tractor no funciona si las varillas de derivación se
encuentran en posición enganchada.
Almacenamiento de la batería
Cuando el tractor se guarda durante períodos prolongados,
desconecte el cable negativo de la batería. No es necesario
retirar la batería.
Todas las baterías se descargan durante el almacenamiento.
Mantenga el exterior de la batería limpio, especialmente
la parte superior. Una batería sucia se descarga con mayor
rapidez.
La batería debe guardarse con carga completa. Una batería
descargada se puede congelar más pronto que una batería
cargada. Una batería con carga completa se guarda por
más tiempo en temperaturas frías que en temperaturas
altas.
Vuelva a cargar la batería antes de volver a ponerla en
servicio. Aun cuando el tractor pueda arrancar, el sistema
de carga del motor tal vez no recargue totalmente la
batería.
Almacenamiento del tractor
Si el tractor no a va a funcionar por un período prolongado
(desde treinta días hasta aproximadamente seis meses), se lo
debe preparar para el almacenamiento. Estacione el tractor en un
neumáticos) para protegerlo de los fenómenos climáticos. Cada
vez que se prepara el tractor para dejarlo fuera de uso se deben
realizar los procedimientos descriptos más abajo.
suministradas en el manual del motor entregado con este
manual.
Nunca guarde el tractor con
combustible en el depósito en un lugar cerrado o
con escasa ventilación, donde los gases del
combustible pueden generar fuego, chispas o
encender una luz piloto como la de hornos,
calentadores de agua, secadores de ropa, etc.
Si guarda el tractor por 30 días o más:2.
a.
del carburador del motor y posibles desperfectos en
el motor, el sistema de combustible debe ser vaciado
completamente, o se debe tratar la gasolina con un
estabilizador para evitar el deterioro.
El combustible que queda en el
depósito se deteriora y causa graves problemas de
arranque.
Uso de un estabilizador de combustible:b.
Lea las instrucciones y recomendaciones del
fabricante del producto.
Agregue a la gasolina limpia y fresca la
capacidad (aproximadamente 3 galones) del
sistema de combustible.
Llene el depósito de combustible con
combustible tratado y haga funcionar
el motor 2-3 minutos para estabilizar el
combustible dentro del carburador.

se c c i ó n 6 — Ma n t e n i M i e n t O y aj u s t e s
Vaciado del sistema de combustible:c.
Antes de guardar el tractor, observe el
consumo de combustible a los efectos
de hacer funcionar el tractor hasta que el
depósito esté vacío.
a detenerse. Use el cebador para mantener el
motor en funcionamiento hasta que se haya
agotado todo el combustible del carburador.
Drene el combustible del recipiente del
carburador, consultando el manual del motor.
Limpie perfectamente el motor y toda la unidad.3.
Cargue totalmente la batería, luego desconecte el cable
negativo de la batería para evitar posibles descargas. Vuelva a
cargar la batería periódicamente durante el almacenamiento.
NOTA: Retire la batería si está expuesta a períodos
prolongados de temperaturas inferiores al congelamiento.
Guarde en un lugar fresco y seco, donde las temperaturas
estén por encima del punto de congelamiento.
Lubrique todos los puntos de lubricación.5.
NOTA: No recomendamos el uso de una lavadora de presión
producir daños a los componentes eléctricos, husillos, poleas,
máquina y reducirá su capacidad de servicio.
Retiro del tractor del lugar de guarda
Controle el nivel de aceite.
Cargue totalmente la batería e infle los neumáticos a la 2.
presión recomendada.
Si se vació el depósito de combustible antes de guardar el 3.
tractor, llénelo con gasolina limpia y nueva.
Agregue combustible limpio y fresco.
Arranque el motor y déjelo andar en ralentí unos cuantos 5.
minutos para asegurar que su funcionamiento sea adecuado.
Conduzca el tractor sin carga para estar seguro de que
todos los sistemas del tractor funcionan correctamente.
Ajustes
Apague el motor, retire la llave de
encendido y coloque el freno de mano antes de
guantes pesados cuando maneje las cuchillas.
Ajuste de las palancas de control de transmisión LADO
DERECHO y LADO IZQUIERDO
Las palancas de control del lado derecho y del lado izquierdo se
pueden ajustar hacia arriba o hacia abajo y hacia adelante y hacia
atrás para proporcionar comodidad al operador. Las palancas de
control se pueden colocar en una de dos posiciones de altura, y/o
se pueden desplazar hacia adelante o hacia atrás dentro del rango
de la ranura en el soporte del montaje de cada palanca de control.
siguiente forma:
Quite la tuerca de seguridad con brida, la arandela plana y el
tornillo hexagonal que sujetan la palanca al soporte de pivote.
Mientras sostiene la palanca de control para evitar que 2.
caiga, quite la tuerca de seguridad con brida de bulón
hexagonal y el tornillo con reborde de la base de la palanca
Vuelva a colocar la palanca de control en posición alineada 3.
con los otros juegos de orificios del soporte de pivote e
inserte el tornillo con reborde que quitó antes. Ajuste con
la tuerca de seguridad con brida de bulón hexagonal y
apriete hasta que quede ajustada.
Inserte el tornillo hexagonal con arandela a través de la
ranura de la palanca de control y el soporte de pivote.
Enrosque la tuerca de seguridad con brida en el tornillo,
pero no ajuste todavía.
Si va a ajustar las palancas de control hacia adelante o hacia 5.
atrás, realice el paso siguiente. De lo contrario ajuste la
tuerca de seguridad con brida totalmente.
proceda de la siguiente forma:
Si todavía está apretada, afloje la tuerca de seguridad con
brida y rote la palanca de control hacia adelante o hacia
NOTA: Si la palanca de control está demasiado apretada y
es difícil moverla, afloje levemente la tuerca de seguridad
con brida de bulón hexagonal y el tornillo con reborde de
la base de la palanca de control.
Apriete la tuerca de seguridad con brida para fijar la 2.
palanca de control en la posición ajustada
Repita el procedimiento anterior para ajustar la otra 3.
palanca de control en la misma posición. Ajuste de manera
que las dos palancas queden parejas entre sí cuando se
encuentran en posición neutral.

se c c i ó n 6 — Ma n t e n i M i e n t O y aj u s t e s
Nivelación de la plataforma de la cortadora de césped
Cuando se encuentra correctamente ajustada, la plataforma de
la cortadora de césped debe estar nivelada de lado a lado, y la
parte delantera de la plataforma debe estar aproximadamente ⁄
de pulgada por debajo de la parte trasera de la plataforma.
NOTA: Controle la presión de neumáticos del tractor antes
de realizar cualquier nivelación de la plataforma. Consulte las
paredes laterales de los neumáticos para averiguar las presiones
de inflado adecuadas.
Si la plataforma de corte estuviera realizando el corte de césped
de forma despareja, puede realizarse un ajuste lado a lado. De ser
necesario, realice un ajuste de la siguiente manera:
Con el tractor estacionado sobre una superficie firme y
nivelada, coloque la manija de elevación de la plataforma
en la muesca superior (posición más alta) y rote ambas
marco del tractor.
Baje la plataforma a la posición de altura media.2.
Mida la distancia desde la parte externa de la punta de la 3.
cuchilla izquierda hasta el piso, y desde la parte externa de
la punta de la cuchilla derecha hasta el piso. Las medidas
deben ser iguales. Si no lo son, realice el siguiente paso.
Comparando las dos mediciones determine si el lado
derecho de la plataforma se debe levantar o bajar.
Afloje, pero no quite, el tornillo hexagonal en el soporte de 5.
Nivel de la cubierta mediante el uso de una llave
para activar el engranaje de ajuste (que se encuentra
inmediatamente detrás de la hexagonal de tornillos flojos
sólo) hacia la derecha para bajar la parte izquierda de la
cubierta, o la izquierda para subir el lado izquierdo de la
La plataforma se encuentra correctamente nivelada 7.
cuando las dos mediciones tomadas antes a las puntas de
las cuchillas son iguales.
Una vez alcanzado el ajuste necesario, vuelva a ajustar el 8.
tornillo de cabeza hexagonal de la ménsula de suspensión
derecha de la plataforma.
La parte frontal de la plataforma debe ser de aproximadamente
Ajustar si es necesario lo siguiente:
Con la cubierta levantada del suelo, gire las cuchillas
exteriores para que sean paralelos a la estructura del
tractor.
Si la nivelación lado a lado se ha realizado correctamente, 2.
que mide tan sólo la hoja de derecho debe ser aceptable
para alcanzar el tono correcto al frente de la plataforma.
Mida la distancia desde la punta delantera de la hoja al 3.
suelo y la distancia desde la punta trasera en el suelo.
pulgadas menos que la parte posterior. Si no es así, vaya al
paso siguiente.
Si la parte delantera de la cubierta era demasiado bajo,
gire las tuercas de seguridad con brida hacia la derecha
contra el soporte de suspensión para acortar la varilla de
suspensión delantera y levante la parte delantera de la
Si la parte delantera de la cubierta era demasiado alta, gire 5.
las tuercas de seguridad con brida hacia la izquierda para
alargar la varilla de suspensión delantera y bajar la parte
delantera de la cubierta.
NOTA: La barra de suspensión delantera de la cubierta debe
estar al frente de las ranuras del soporte de la cubierta frontal.
Si un lado de la barra no está en la parte delantera de la ranura,
gire la tuerca de la brida de bloqueo interno de ese lado hasta
que la varilla apenas toque la parte delantera de la ranura. Luego
se vuelve a medir y reajustar la varilla de suspensión delantera

se c c i ó n 6 — Ma n t e n i M i e n t O y aj u s t e s
Ajuste de las ruedas de calibración
Mantenga las manos y pies
alejados de la abertura de descarga de la plataforma
de corte.
NOTA: Las ruedas calibradoras de la plataforma constituyen un
mecanismo para el cuidado del césped y no fueron diseñadas
para soportar el peso de la plataforma de corte.
La parte trasera del tractor la altura de corte se puede ajustar en
cualquiera de las seis posiciones de altura de utilizar el elevador
del tractor cubierta de la manija. Las alturas de la plataforma van
La posición del retenedor de la rueda de cubierta debe ser de
plataforma se encuentra en el ajuste de la altura deseada.
Usando la manija de elevación, fije la plataforma en el valor
de altura deseado, a continuación, comprobar la distancia
de la rueda de calibración y el suelo. Si es necesario, ajustar
la siguiente manera:
Controle visualmente la distancia entre la rueda delantera 2.
de calibre y el suelo. Si la rueda de calibración está cerca
por encima del suelo, debe ser reducido.
Quite la tuerca de sujeción de seguridad con brida de 3.
la rueda delantera de calibre bulón de la espalda a la
cubierta. Retire la rueda de calibración y el perno del
Inserte el perno del hombro en la de cuatro agujeros índice
en el soporte de calibre de la rueda delantera que le dará
con la tuerca de seguridad con brida.
Nota del orificio de posicionamiento de la rueda acaba de 5.
ajustar y ajustar la rueda trasera de calibre en los agujeros
índice respectivo de la escuadra calibre otra rueda en la
cubierta.
Soporte

Servicio 7
Retiro de la batería
Los postes, bornes y accesorios
de la batería contienen plomo y compuestos de
plomo. Lávese las manos después de estar en
contacto con estos componentes.
La batería está ubicada del lado derecho/posterior del tractor,
Quite los dos tornillos autorroscantes hexagonales del
atención para no perder el fleje de compensación de la
Retire el tornillo hexagonal y la tuerca Sems que fijan el 2.
conductor negativo negro de la batería al borne negativo
de la batería (marcado 'NEG'). Aleje el cable del borne
negativo de la batería.
Retire el tornillo hexagonal y la tuerca Sems que fijan el 3.
conductor positivo rojo de la batería al borne positivo de la
Levante con cuidado la batería para sacarla del tractor.
Instale la batería repitiendo los pasos anteriores en orden 5.
inverso.
Siempre conecte el conductor
positivo a la batería antes de conectar el conductor
negativo. Esto evita la generación de chispas o
posibles lesiones producidas por un cortocircuito
eléctrico causado por el contacto del cuerpo del
tractor con las herramientas que se usan para
conectar los cables.
Carga de la batería
Si el tractor ha estado guardado durante un tiempo, pruebe la
batería y, si es necesario, recárguela.
Un voltímetro o medidor de carga debería dar una lectura
Vea la Fig. 7-2.
Mantenimiento del sistema eléctrico
El tractor tiene instalado un fusible para proteger el sistema
eléctrico de los daños causados por el exceso de amperaje.
Siempre reemplace con fusibles de la misma capacidad. Si
el sistema eléctrico no funciona, controle si hay un fusible
quemado.
Si se repite el problema de los fusibles quemados, haga que el
sistema eléctrico del tractor sea revisado por el distribuidor Cub
Cadet.
Relés e interruptores
Si una función del sistema de bloqueo de seguridad descripto
antes no funciona adecuadamente, haga que el distribuidor Cub
Cadet revise el sistema eléctrico.
Retiro de la plataforma
Retire la plataforma de la cortadora de césped del tractor de la
siguiente forma:
Desplace el tractor a una superficie nivelada, desenganche
el freno de mano.
Mueva las ruedas de calibración de la plataforma o los rodillos 2.
a su ajuste más alto (ajuste más bajo de la plataforma).
Retire la correa en 'V' de la polea de la potencia de 3.
de los dos métodos siguientes.
El silenciador en la parte trasera
del tractor puede estar sumamente caliente y podría
causar quemaduras graves. Tenga mucho cuidado
cuando se encuentre cerca del silenciador. Deje que
el silenciador se enfríe totalmente antes de retirar la
Lectura
de voltímetro
Estado
de carga
Tiempo
de carga
Full Charge
280 Min.

se c c i ó n 7— se r v i c i O
Para aflojar la tensión de la correa con la polea loca.
Usando la manija de elevación de la plataforma, levante
la plataforma a la posición que le ofrece mayor recorrido
horizontal de la correa entre las poleas locas de la
plataforma y la polea de la potencia de arranque en la base
del motor.
Desde la parte media del tractor, haga girar el soporte de 2.
polea loca y la polea loca móvil hacia atrás, separándolos
de la parte posterior de la correa en 'V' a una distancia
suficiente que permita levantar la correa hacia arriba, por
encima de la polea loca. Vea la Fig. 7-3.
Desde abajo de la parte trasera del tractor, deslice la correa 3.
en la base del motor.
Haciendo rodar la correa para sacarla de la polea de la
potencia de arranque (PTO).
Usando la manija de elevación de la plataforma, levante
la plataforma a la posición que le ofrece mayor recorrido
horizontal de la correa entre las poleas locas de la
plataforma y la polea de la potencia de arranque en la base
del motor.
Sentado detrás del tractor, mirando hacia adelante, estire la 2.
mano debajo del tractor para agarrar la correa por delante
Tenga cuidado de no pellizcarse
los dedos cuando saca la correa de la polea de la
Tire del lado izquierdo de la correa hacia atrás y hacia 3.
abajo mientras gira manualmente la polea de la potencia
deslice hacia afuera sobre el borde inferior de la polea.
NOTA: Si tira del lado derecho de la correa, gire la polea
hacia la izquierda.
Mientras sostiene la correa hacia abajo, siga girando la
Baje la plataforma al suelo usando la manija de elevación 5.
de la plataforma.
Ubique los pasadores de soporte de la plataforma del
lado izquierdo y del lado derecho que se encuentran
a cada lado de la plataforma. Tire de los pasadores de
soporte de la plataforma hacia afuera y fíjelos en posición
desenganchada para liberar la plataforma de los brazos de
elevación izquierdo y derecho del tractor. Consulte la Fig.
7-5.
Levante los brazos de elevación de la plataforma 7.
sacándolos de las ranuras de la ménsula de suspensión
trasera, levantando la manija de elevación de la plataforma
del tractor a su posición más alta. Consulte la Fig. 7-5.
Correa en V

30 se c c i ó n 7— se r v i c i O
Deslice la plataforma hacia adelante de modo que la varilla de 8.
suspensión delantera de la plataforma se pueda levantar fuera
de las dos ranuras del soporte delantero de la plataforma.
Después de levantar la varilla de suspensión delantera fuera
de las ranuras, deslice la plataforma hacia atrás de modo que
la varilla ya no pueda enganchar las ranuras.
Con cuidado para evitar que la varilla de suspensión
delantera caiga hacia atrás dentro de las ranuras del soporte
de la plataforma, (desde el lado derecho) deslice lentamente
la plataforma de corte hacia afuera desde abajo del tractor.
Instalación de la plataforma
la siguiente manera:
Mientras sostiene la varilla de suspensión delantera hacia
arriba, con cuidado deslice la plataforma debajo del lado
derecho del tractor.
Siga sosteniendo la varilla de suspensión delantera y 2.
deslice la plataforma hacia adelante hasta que la varilla de
suspensión delantera se pueda bajar dentro de las ranuras
del soporte delantero de la plataforma.
Baje la varilla de suspensión delantera dentro de las ranuras 3.
del soporte delantero de la plataforma, luego deslice la
plataforma hacia atrás.
Coloque la plataforma de modo que las ranuras de las
dos ménsulas de suspensión trasera de la plataforma se
alineen aproximadamente con los brazos de elevación de
la plataforma del tractor. Consulte la Fig. 7-5.
Use la manija de elevación de la plataforma del tractor para 5.
bajar los brazos de elevación de la plataforma dentro de las
ranuras de las ménsulas de suspensión trasera de la plataforma.
Tire de los pasadores de soporte de la plataforma hacia
alinear los orificios del brazo de elevación de la plataforma
con los pasadores. Consulte la Fig. 7-5.
Una vez alineados, empuje cada pasador totalmente hacia 7.
adentro a través de los brazos de elevación para fijar los
brazos en las ranuras de las ménsulas de suspensión traseras.
8.
husillo de la plataforma, luego oriente la correa hacia
atrás por debajo del bastidor del tractor , por encima de
los tubos de transmisión, hacia la polea de la potencia de
Instale la correa en 'V' en la polea de la potencia de
El silenciador en la parte trasera del
tractor puede estar sumamente caliente y podría causar
quemaduras graves. Tenga mucho cuidado cuando se
encuentre cerca del silenciador. Deje que el silenciador
se enfríe totalmente antes de instalar la correa.
Usando la polea loca para tensar la correa.
Usando la manija de elevación de la plataforma, levante
la plataforma a la posición que le ofrece mayor recorrido
horizontal de la correa entre las poleas locas de la plataforma
y la polea de la potencia de arranque en la base del motor.
Instale la correa en la polea de la potencia de arranque 2.
3.
loca fija de la plataforma. Consulte la Fig. 7-3.
Desde la parte media del tractor, haga girar el soporte de
la polea loca/polea móvil hacia atrás contra la tensión del
resorte y deslice la parte trasera de la correa en la polea
loca móvil. Consulte la Fig. 7-3.
Haciendo rodar la correa para que ingrese en la polea de la
potencia de arranque (PTO).
Usando la manija de elevación de la plataforma, levante
la plataforma a la posición que le ofrece mayor recorrido
horizontal de la correa entre las poleas locas de la plataforma
y la polea de la potencia de arranque en la base del motor.
2.
la plataforma y que el lado trasero de la correa esté contra
las poleas locas fija y móvil. Consulte la Fig. 7-3.
Sentado detrás del tractor, mirando hacia adelante, 3.
mano debajo del tractor para agarrar la correa y tirar de la
Tenga cuidado de no pellizcarse
los dedos cuando coloca la correa en la polea de la
potencia de arranque.
Tire del lado derecho de la correa hacia atrás y coloque el
lado V angosto de la correa en la polea de la potencia de
Mientras sostiene la correa y la polea juntas, rote la polea 5.
rotando la polea y la correa hasta que la correa se enrolle
Reemplazo de la correa de transmisión de la
plataforma
Retire la plataforma desde abajo del tractor (consulte Retiro
Retire hexagonal tornillos lavadoras que fijan las cubiertas 2.
de la correa a la plataforma y retire la correa de las poleas
Correa

31se c c i ó n 7— se r v i c i O
Instale la nueva correa alrededor de las poleas del husillo 3.
cubiertas de la correa.
Instalación de la plataforma en la página 30.
Cuidado de las cuchillas de la cortadora de césped
Antes de realizar cualquier tarea
de mantenimiento, coloque el interruptor de la
(apagado), enganche la palanca del freno de mano,
(apagado) y retire la llave del interruptor. Cuando
realice el mantenimiento de la plataforma de la
cortadora de césped, tenga cuidado para no
cortarse con las cuchillas filosas.
Las cuchillas de corte deben estar siempre afiladas. Afile los
bordes de corte de las cuchillas de forma pareja de modo que las
cuchillas queden balanceadas y se mantenga el mismo ángulo
de filo.
Si el borde de corte de una cuchilla ya se ha afilado muchas
veces, o si hay alguna separación en el metal, se recomienda
instalar cuchillas nuevas. El distribuidor autorizado le puede
proveer cuchillas nuevas.
Las cuchillas se pueden extraer de la siguiente manera.
Extraiga la plataforma de la parte inferior del tractor,
(consulte la sección Extracción de la plataforma en la
dejar al descubierto su parte inferior.
Use una llave de 2. ⁄
hexagonal en la parte superior del conjunto del husillo
cuando afloje la tuerca hexagonal que fija la cuchilla. Se
puede colocar un bloque de madera entre el alojamiento
de la plataforma y el borde de corte de la cuchilla para
ayudar a aflojar la tuerca hexagonal que fija la cuchilla. Vea
la Fig. 7-7.
3.
de modo que las aletas de ventilación se orienten hacia
arriba hacia la parte superior de la plataforma.
Reinstale la plataforma (consulte Instalación de la 5.
plataforma en la página 30).
Correa de transmisión
Si la correa de transmisión se desgasta y hace que las
correa de transmisión proceda de la siguiente manera:
Retire la correa de transmisión de la plataforma del embrague
siguiendo las instrucciones sobre Retiro de la plataforma.
Desde abajo de la parte trasera del tractor, inserte una llave 2.
de apriete de trinquete de ⁄
cuadrado del soporte de polea loca de la transmisión. Vea
la Fig. 7-8.
3.
de polea loca y la polea loca separándolos del lado posterior
de la correa en 'V'; luego saque la correa levantándola por
encima de la polea del motor y de la polea loca.
Con la correa suelta, saque la correa levantándola por
encima de las dos poleas de transmisión. Retire la correa
del motor y de las poleas locas.
Enganche la nueva correa y pásela por encima de las dos 5.
poleas de transmisión.
Dirija la correa por encima del soporte de polea loca y de
vuelta a la polea de transmisión del motor. Levante la correa
y por encima de la polea de transmisión del motor.
7.
de polea loca y la polea loca contra la tensión del resorte;
luego calce la correa en la polea de transmisión del motor y
en la polea loca.
Suelte el soporte de polea loca de modo que la polea loca 8.
se ajuste contra la parte posterior de la correa y tensione la
correa de transmisión.
Vuelva a instalar la correa de transmisión de la plataforma.
Orificio

se c c i ó n 7— se r v i c i O
Desplazamiento lento del tractor
Desplazamiento lento es el movimiento del tractor hacia
adelante o hacia atrás cuando el motor funciona en ralentí alta y
las palancas de control de transmisión están abiertas hacia afuera
en posición neutral.
Si después de funcionar un tiempo el tractor comienza a
desplazarse lentamente mientras se encuentra en posición
neutral, ajuste las varillas de control de la transmisión de la
siguiente forma.
Coloque el frente del tractor contra un objeto inamovible
(por ejemplo, una pared, un poste, etc.).
Levante con el gato la parte trasera del tractor de modo 2.
que las dos ruedas traseras queden aproximadamente a
una pulgada del suelo.
Con el motor funcionando a ralentí alta y las palancas de 3.
control de transmisión abiertas hacia afuera en posición
neutral y el freno de mano desenganchado, inspeccione la
rotación de las ruedas traseras.
Si solamente gira una rueda, ubique la varilla de control
de transmisión debajo del bastidor, delante del neumático
trasero. Si las dos ruedas rotan, ubique las dos varillas de
Quite el tornillo de la tuerca de fijación y del maleficio del 5.
reborde que asegura la barra de control de la transmisión
al brazo de control de la transmisión. La rotación de la
rueda debe parar. Si no hace, entrar en contacto con a su
distribuidor autorizado del servicio del Cub Cadet.
Si la rotación para, ajuste la barra de control hacia arriba
o hacia abajo cuanto sea necesario para alinear con el
agujero en el brazo de control de la transmisión. Reinserte
la tuerca de maleficio en el agujero en el brazo de control y
Si es necesario, repita los dos pasos previos para ajustar la 7.
otra varilla de control de transmisión.
Baje el tractor y quite el gato.8.
Desvío del tractor a alta velocidad
Si el tractor se desvía hacia un lado cuando ambas palancas de
control de transmisión están totalmente hacia adelante, ajuste
las palancas de control de la siguiente forma:
Controle que la presión de aire esté balanceada y que
sea adecuada en las ruedas delanteras y traseras. Infle los
neumáticos si es necesario.
Realice los primeros tres pasos de la subsección anterior, 2.
'Desvío del tractor' para verificar que el tractor no se esté
describe en esa subsección.
Vuelva a inspeccionar la desviación después de realizados 3.
los ajustes de las varillas de control de la transmisión.
Si persiste el problema de desviación, observe hacia qué
dirección se desvía el tractor.
Si el tractor deja huellas hacia el lado derecho, ajuste a.
el perno de parada de la palanca de control del lado
izquierdo.
Si el tractor deja huellas hacia el lado izquierdo, b.
ajuste el perno de parada de la palanca de control
del lado derecho.
Ubique el perno de parada correspondiente en la consola 5.
Afloje la contratuerca del perno de parada, luego gire el
perno de parada en sentido contrario a las agujas del reloj
para alargarlo. Vuelva a controlar la desviación y retoque el
NOTA: Si el perno de parada se ajusta demasiado, el
problema de desviación pasará al otro lado. Realice los
ajustes mínimos necesarios acortando el mismo perno.
Apriete la contratuerca contra la consola y vuelva a 7.
posicionar la palanca de control si es necesario para que las
dos manijas de control estén emparejadas.

Solución de Problemas 8
33
Problema Causa Solución
Vibración excesiva Cuchilla de corte floja o descentrada.
Cuchilla dañada o curvada. 2.
Apriete la cuchilla y el husillo.
Reemplace la cuchilla. 2.
Corte desigual La plataforma no está correctamente
nivelada.
La cuchilla de la cortadora no está afilada. 2.
3.
lado.
Afile o cambie la cuchilla. 2.
Verifique la presión de los cuatro neumáticos. 3.
La cortadora de césped no
procesa los recortes como
abono
(si está equipada con kit de
abono)
La velocidad del motor es demasiado lenta.
2.
Césped excesivamente alto. 3.
La cuchilla de la cortadora no está afilada.
Coloque el control del regulador/cebador
en la posición FAST (velocidad rápida,
representada por una liebre).
No procese abono cuando el pasto está 2.
mojado.
3.
y luego vuelva a realizar el corte a la altura
deseada, o siga una ruta de corte más
estrecha.
Afile o cambie la cuchilla.

DECLARACIÓN FEDERAL y/o DE CALIFORNIA SOBRE GARANTÍAS EN EL CONTROL DE EMISIONES
SUS DERECHOS Y OBLIGACIONES EN CUANTO A LA GARANTÍA
MTD Consumer Group Inc, la Agencia de Protección Medioambiental de los Estados Unidos (EPA), y para aquellos productos certificados para su venta en el es-
tado de California, el Departamento de los Recursos del Aire de California (CARB) se complacen en explicar la garantía que cubre al sistema de control (ECS) de
emisiones (evaporativas y/o de escape) de su equipo y motor (motor de equipos de exteriores) de encendido por chispa para todo terreno, pequeño, de exteriores
del año 2006 y años posteriores En California, los nuevos motores de equipos de exteriores deben estar diseñados, construidos y equipados para cumplir con las
estrictas normas antipolución del Estado (en otros estados, los equipos del año 1997 y modelos posteriores deben ser estar diseñados, construidos y equipados
para cumplir con las regulaciones de motores de encendido por chispa para todo terreno pequeños de la Agencia de Protección Medioambiental de los Estados
Unidos, (EPA). MTD Consumer Group Inc. debe garantizar el sistema de control de emisiones (ECS) de su motor de equipos de exteriores por el período de
tiempo indicado más abajo, siempre y cuando no exista uso incorrecto, negligencia o mantenimiento inadecuado de dicho motor.
Su ECS puede incluir piezas tales como el carburador, el sistema de inyección de combustible, el sistema de encendido, el convertidor catalítico, los depósitos
de combustible, las líneas de combustible, los tapones de combustible, las válvulas, contenedores, filtros, mangueras de vapor, abrazaderas, conectores y otros
componentes afines relacionados con las emisiones.
Donde exista una condición cubierta por la garantía, MTD Consumer Group Inc. reparará su motor de equipos de exteriores sin costo alguno incluyendo el
diagnóstico, las piezas y la mano de obra.
COBERTURA DE LA GARANTÍA DEL FABRICANTE:
Este sistema de control de emisiones se garantiza por el término de dos años. Si alguna pieza relacionada con las emisiones de su motor de equipos de
exteriores es defectuosa, MTD CONSUMER GROUP INC. reparará o sustituirá dicha pieza.
RESPONSABILIDADES DEL PROPIETARIO SEGÚN LA GARANTÍA:
En su carácter de propietario del motor de equipos de exteriores, usted es responsable del mantenimiento requerido que se especifica en el manual del propieta-
rio. MTD Consumer Group Inc le recomienda que conserve todos los recibos que cubren el mantenimiento de su motor, no obstante lo cual MTD Consumer Group
Inc no podrá denegar el cumplimiento de la garantía únicamente por la falta de los recibos.
Como propietario del motor de equipos de exteriores, usted debe saber que MTD Consumer Group Inc. puede denegar la cobertura de la garantía si su motor o
una pieza del mismo fallan debido a uso incorrecto, negligencia, mantenimiento indebido o a modificaciones no aprobadas.
Usted es responsable de presentar su motor al centro de distribución o servicio técnico de MTD Consumer Group Inc. tan pronto como aparezca el problema. Las
reparaciones cubiertas por la garantía se deben llevar a cabo en un lapso razonable que no exceda de 30 días. Si tiene alguna pregunta respecto de la cobertura
de la garantía, póngase en contacto con el Departamento del Servicio Técnico de MTD Consumer Group Inc. al teléfono 1-800-800-7310 o por correo electrónico
en http://support.mtdproducts.com
COBERTURA DE LA GARANTÍA DE EMISIONES GENERALES:
MTD Consumer Group Inc garantiza al comprador final y a cada comprador subsiguiente que el motor de equipos de exteriores: está diseñado, construido y
equipado de modo de cumplir con todas las regulaciones aplicables y que se encuentra libre de defectos de materiales y de fabricación que pudieren causar la
falla de una pieza garantizada idéntica, en todos los aspectos materiales a la pieza descripta en la solicitud de certificación de MTD Consumer Group Inc.
El período de garantía comienza en la fecha de entrega del motor al comprador final o en la fecha en que la máquina se pone en funcionamiento por primera vez.
El período de garantía es de dos años.
Sujeto a ciertas condiciones y exclusiones que se indican a continuación, la garantía de las piezas relacionadas con las emisiones es la siguiente:
Cualquier pieza garantizada que no esté programada para ser reemplazada como parte del mantenimiento requerido en las instrucciones escritas suminis-1.
tradas se garantiza por el período de garantía arriba mencionado. Si la pieza falla durante el período de cobertura de la garantía, la misma será reparada
o reemplazada por MTD Consumer Group Inc. de acuerdo con el párrafo (4) a continuación. Cualquier pieza reparada o reemplazada según la garantía se
garantizará por el resto del período de garantía.
Cualquier pieza garantizada que esté programada solamente para inspección regular en las instrucciones escritas suministradas se garantiza por el período 2.
de garantía arriba mencionado. Cualquier pieza reparada o reemplazada según la garantía se garantizará por el resto del período.
Cualquier pieza garantizada que esté programada para reemplazo según el mantenimiento requerido de conformidad con las instrucciones escritas suminis-3.
tradas, se garantiza por el período de tiempo anterior a la primera fecha de reemplazo programada para esa pieza. Si la pieza falla antes del primer reemplazo
programado, la misma será reparada o reemplazada por MTD Consumer Group Inc. de acuerdo con el párrafo (4) a continuación. Cualquier pieza reparada o
reemplazada bajo garantía se garantizará por el resto del período anterior al primer reemplazo programado puntual para esa pieza.
La reparación o el reemplazo de cualquier pieza garantizada de conformidad con las disposiciones de la garantía que aquí se estipula se deben realizar en un 4.
centro de garantía sin costo alguno para el propietario.
No obstante las disposiciones que aquí se estipulan, los servicios o reparaciones bajo garantía se suministrarán en todos nuestros centros de distribución bajo 5.
franquicia de mantenimiento para los motores o equipos en cuestión.
El propietario del motor de equipos de exteriores no deberá pagar el trabajo de diagnóstico directamente asociado con una pieza garantizada defectuosa en 6.
relación con las emisiones, siempre y cuando dicho trabajo de diagnóstico se realice en un centro cubierto por la garantía.
MTD Consumer Group Inc es responsable por daños causados a otros componentes de motores o equipos derivados de la falla bajo garantía de cualquier 7.
pieza garantizada.

GDOC-100223
Durante la totalidad del período de garantía del motor y equipo para todo terreno arriba mencionado, MTD Consumer Group Inc mantendrá un suministro 8.
de piezas bajo garantía suficiente para satisfacer la demanda esperada de tales piezas.
Cualquier pieza de reemplazo se podrá usar para el cumplimiento del mantenimiento o las reparaciones bajo garantía y se suministrarán sin cargo para 9.
el propietario. Dicho uso no reducirá las obligaciones de garantía de MTD Consumer Group Inc.
No se podrán usar piezas adicionales ni modificadas que no estén exentas de acuerdo con el Departamento de los Recursos del Aire (Air Resources Board). 10.
El uso de cualquier pieza adicional o modificada no exenta por el comprador final será causal de invalidez de los reclamos bajo garantía. MTD Consumer
Group Inc no tendrá responsabilidad por la garantía de fallas de piezas garantizadas que fueren causadas por el uso de una pieza adicional no exenta
o modificada.
PIEZAS GARANTIZADAS:
La reparación o el reemplazo de cualquier pieza garantizada que de otro modo pudiese estar cubierta por la garantía podrá ser excluida de tal cobertura de
garantía si MTD Consumer Group Inc demuestra que el motor es objeto de uso incorrecto, negligencia o mantenimiento inadecuado, y que tal uso incorrecto,
negligencia o mantenimiento inadecuado fue causa directa de la necesidad de reparación o reemplazo de dicha pieza. No obstante lo antedicho, cualquier ajuste
de un componente con un dispositivo de limitación de ajuste instalado en fábrica y que funcione adecuadamente, podrá ser cubierto por la garantía. Además,
la cobertura bajo esta garantía se extiende solo a piezas que estuvieron presentes en el motor y equipo todo terreno adquiridos.
Están cubiertas las siguientes piezas con garantía para emisiones (de corresponder):
(1) Sistema de medición de combustible
Sistema de mejora para inicio en frío (cebado suave)•
Carburador y piezas internas (o sistema de inyección por combustible)•
Bomba de combustible•
Depósito de combustible•
(2) Sistema de inducción de aire
Purificador de aire•
Colector de admisión•
(3) Sistema de encendido
Bujía(s) de encendido•
Sistema de encendido por magneto•
(4) Sistema de encendido
Convertidor catalítico•
SAI (válvula Reed)•
(5) Componentes varios utilizados en el sistema anterior
Válvulas e interruptores de vacío, temperatura, posición sensibles al tiempo•
Conectores y montajes•
(6) Control evaporativo
Manguera de combustible•
Abrazaderas de la manguera de combustible•
Tapón del combustible atado por correa•
Caja de carbono•
Líneas de vapor•

GARANTÍA LIMITADA DEL FABRICANTE PARA
GDOC-100020 REV. A
La siguiente garantía limitada es otorgada por Troy-Bilt LLC con
respecto a nuevos productos adquiridos y utilizados en Estados
Unidos y/o sus territorios y posesiones, y por MTD Products Limited
con respecto a nuevos productos adquiridos y utilizados en Canadá
y/o sus territorios y posesiones (cualquiera de las dos entidades,
respectivamente, “Troy-Bilt”).
“Troy-Bilt” garantiza este producto (excluidas las Piezas y Accesorios
con Desgaste Normal según se describe más abajo) contra defectos
en los materiales y mano de obra por un período de dos (2) años
a partir de la fecha de compra original y, a su opción, reparará o
reemplazará, sin costo alguno, cualquier pieza que presente defectos
en los materiales o de mano de obra. Esta garantía limitada sólo se
aplicará si el producto ha sido operado y mantenido de acuerdo con
las instrucciones del Manual del Operador que se proporciona con el
producto y no ha sido sujeto a uso inapropiado, abuso, uso comercial,
abandono, accidente, mantenimiento incorrecto, alteración,
vandalismo, robo, incendio, inundación o algún daño debido a otro
peligro o desastre natural. El daño resultante por la instalación o el
uso de piezas, accesorios o aditamentos no aprobados por Troy-Bilt
para su uso con el(los) producto(s) incluido(s) en este manual
anulará la garantía en lo que respecta a esos daños.
Se garantiza que las Piezas con Desgaste Normal están libres
de defectos en los materiales y mano de obra por un período de
treinta (30) días a partir de la fecha de compra. Las piezas sujetas
a desgaste normal incluyen pero no se limitan a: baterías, correas,
cuchillas, adaptadores para cuchillas, dientes, bolsas para pasto,
ruedas, ruedas para la plataforma de la podadora tractor, asientos,
zapatas antideslizantes, ruedas de fricción, placas de raspado, gomas
helicoidales y neumáticos.
Accesorios — Troy-Bilt garantiza que los accesorios de este producto
están libres de defectos de material y mano de obra durante un
período de un (1) año a partir de la fecha de compra o arrendamiento
original del accesorio. Los accesorios incluyen, pero no se limitan a
elementos tales como: colectores de césped y kits para abono.
CÓMO SOLICITAR Y OBTENER SERVICIO TÉCNICO: El servicio de
la garantía está disponible, CON COMPROBANTE DE COMPRA, a
través de su distribuidor local autorizado para el mantenimiento. Para
localizar al distribuidor de su zona:
En Estados Unidos de América
Consulte las páginas amarillas, o póngase en contacto con Troy-Bilt
LLC en P.O. Box 361131, Cleveland, Ohio 44136-0019, llame al 1-866-
840- -6483, o visite nuestro sitio web en www.troybilt.com.
En Canadá
Póngase en contacto con MTD Products Limited, Kitchener, ON N2G
4J1, llame al 1-800-668-1238 ó visite nuestro sitio web en www.
mtdcanada.com.
Esta garantía limitada no suministra cobertura en los siguientes
casos:
a. El motor o las piezas que lo componen. Estos productos pueden
tener garantía del fabricante por separado. Consulte los términos y
condiciones de la garantía aplicable del fabricante.
b. Las bombas, válvulas y cilindros del rompetroncos tienen una
garantía separada de un año.
c. Los artículos necesarios para el mantenimiento de rutina como
por ejemplo lubricantes, filtros, afiladores de cuchillas, sincroni-
zación del motor, los ajustes de los frenos, del embrague o de la
plataforma y el deterioro normal del acabado exterior debido al
uso o exposición.
d. Mantenimiento no realizado por el distribuidor de servicio
autorizado.
e. Troy-Bilt no extiende ninguna garantía para los productos
vendidos o exportados fuera de los Estados Unidos de América
y/o Canadá, y sus respectivas posesiones y territorios, excepto
para aquellos vendidos a través de los canales autorizados de
distribución de exportaciones de Troy-Bilt.
f. Piezas de reemplazo que no son piezas originales de Troy-Bilt.
g. Gastos de transporte y visitas técnicas.
h. Troy-Bilt no garantiza este producto para uso comercial.
No existe ninguna garantía implícita, incluyendo cualquier
garantía implícita de comerciabilidad o adaptabilidad para un
propósito en particular, una vez transcurrido el período aplicable
de garantía escrita según lo antedicho en relación con las piezas
identificadas. Ninguna otra garantía expresa, ni oral ni escrita,
excepto la mencionada anteriormente, extendida por personas
reales o jurídicas, incluidos los distribuidores o los minoristas
con respecto a cualquier producto, obligará a Troy-Bilt. Durante el
plazo de la garantía el único recurso es la reparación o reemplazo
del producto como se indicó anteriormente.
Las disposiciones de esta garantía cubren el recurso de reparación
única y exclusiva que surge de la venta. Troy-Bilt no se hará
responsable de ninguna pérdida o daño incidental o resultante,
incluyendo sin limitación, los gastos incurridos para los servicios
de mantenimiento del césped, o los gastos de arrendamiento para
reemplazar de manera transitoria un producto bajo garantía.
Algunos estados no permiten la exclusión o limitación de los daños y
perjuicios incidentales o directos, o las limitaciones sobre la duración
de las garantías implícitas, por lo que las exclusiones o limitaciones
mencionadas anteriormente pueden no serle de aplicación.
En ningún caso se obtendrá una compensación de ningún tipo por un
monto mayor al precio de compra del producto vendido. La alteración
de las características de seguridad del producto anulará esta garantía.
Usted asume el riesgo y la responsabilidad de las pérdidas, daños
o lesiones que sufran usted y sus bienes y/u otras personas y sus
bienes como resultado del uso incorrecto o de la falta de capacidad
para usar este producto.
Esta garantía limitada cubre solamente al comprador original, o a la
persona que recibió el producto de regalo.
CÓMO SE RELACIONA LA LEGISLACIÓN ESTATAL
CON ESTA GARANTÍA: Esta garantía limitada le otorga
derechos legales específicos y usted también puede tener otros
derechos que varían de un estado a otro.
IMPORTANTE: El propietario debe presentar comprobante de
compra original para obtener la cobertura de la garantía.
Troy-Bilt LLC, P.O. BOX 361131 CLEVELAND, OHIO 44136-0019, Teléfono: 1-866-840-6483, 1-330-558-7220
MTD Canada Limited - KITCHENER, ON N2G 4J1; teléfono 1-800-668-1238