Tyco 579 769 Users Manual _579 769_B
579-769 579-769
579-769 to the manual 7d42de1f-3fc4-4621-b2f3-cc396e8d1142
2015-02-03
: Tyco Tyco-579-769-Users-Manual-460880 tyco-579-769-users-manual-460880 tyco pdf
Open the PDF directly: View PDF
.
Page Count: 70

Fire Alarm
Audio Applications Guide
Guideline for
Designing Emergency
Voice/Alarm
Communications
Systems for Speech
Intelligibility
579-769
Rev. C
© 2005 Tyco Safety Products - Westminster. All rights reserved.
Printed in the U.S.A. All specifications and other information shown were current as of publication, and are subject to change without notice.

Copyright © 2005 Tyco Safety Products – Westminster.
All rights reserved.
All specifications and other information shown were current as of document revision date,
and are subject to change without notice.
Printed in the United States of America.
Tyco, Simplex, and the Simplex logo are trademarks of Tyco International Services (AG) or its
affiliates in the U.S. and/or other countries.
All other products are trademarks of their respective manufacturers. All registered and
unregistered trademarks are the sole property of their respective companies.
This guide is intended as an informational resource and is not intended to provide definitive legal,
engineering, design or architectural advice. Legal, engineering, design, or architectural
requirements and interpretations may vary from jurisdiction to jurisdiction or project to project.
Therefore, no warranty or representation is made about the sufficiency of any of the contents of
this guide. Tyco Safety Products – Westminster, disclaims any and all liability for damages of any
sort claimed to result from the use of this guide. This guide is distributed with no warranties
whatsoever, including but not limited to, warranties of merchantability or fitness for a particular
purpose. Readers with specific questions should consult the appropriate advisor.
Copyrights and Trademarks
Copyrights
Trademarks
Notice
iii
Chapter 1 Speech Intelligibility Overview 1-1
Introduction .............................................................................................................. 1-1
Chapters of this Publication ..................................................................................... 1-1
In this Chapter ......................................................................................................... 1-1
Importance of Audible and Intelligible Emergency Communications .......................... 1-2
Speech Intelligibility Importance .............................................................................. 1-2
Designing for Intelligibility ........................................................................................ 1-2
Chapter 2 Background Information 2-1
Introduction .............................................................................................................. 2-1
In this Chapter ......................................................................................................... 2-1
Basic Audio Math......................................................................................................... 2-2
Ohm’s Law and the Decibel..................................................................................... 2-2
Adding Decibels....................................................................................................... 2-3
Sound and Hearing...................................................................................................... 2-4
The Relationship Between Sound and Hearing ...................................................... 2-4
The Nature of Speech ................................................................................................. 2-5
Introduction .............................................................................................................. 2-5
Consonants and Vowels.......................................................................................... 2-5
Room Acoustics........................................................................................................... 2-6
Introduction .............................................................................................................. 2-6
Reverberation .......................................................................................................... 2-6
Estimating Reverberation Times ............................................................................. 2-7
Countering the Effects of Reverberation ................................................................. 2-7
Speaker Basics............................................................................................................ 2-9
Inverse Square Law................................................................................................. 2-9
Sensitivity............................................................................................................... 2-10
Speaker Dispersion Angle and “Q”........................................................................ 2-10
Speaker Coverage................................................................................................. 2-12
Determining Critical Polar Angle............................................................................ 2-13
Determining Critical Polar Angle............................................................................ 2-14
Power Rating ......................................................................................................... 2-15
Speaker Layouts.................................................................................................... 2-15
Distributed Wall Mounted Systems............................................................................ 2-16
Introduction ............................................................................................................ 2-16
Advantages............................................................................................................ 2-16
Disadvantages ....................................................................................................... 2-16
Design of a Distributed Wall Mount System .......................................................... 2-17
Chapter 3 Speech Intelligibility 3-1
Introduction .............................................................................................................. 3-1
In this Chapter ......................................................................................................... 3-1
Table of Contents
iv
Influences on Intelligibility............................................................................................ 3-2
Introduction .............................................................................................................. 3-2
Background Noise ................................................................................................... 3-3
Reverberation .......................................................................................................... 3-4
Distortion.................................................................................................................. 3-5
Microphone Technique ............................................................................................ 3-5
Measures of Intelligibility ............................................................................................. 3-6
Introduction .............................................................................................................. 3-6
The Common Intelligibility Scale (CIS) .................................................................... 3-6
The STI Method ....................................................................................................... 3-7
STIpa ....................................................................................................................... 3-7
STITEL..................................................................................................................... 3-7
RASTI ...................................................................................................................... 3-7
Percent (%) ALcons................................................................................................. 3-7
Phonetically Balanced Word Scores ....................................................................... 3-7
Practical Measurement of Intelligibility ........................................................................ 3-8
Introduction .............................................................................................................. 3-8
Tools for Predicting Intelligibility .................................................................................. 3-9
Introduction .............................................................................................................. 3-9
Acoustical Modeling Software ................................................................................. 3-9
Chapter 4 Emergency Voice/Alarm Communications Systems 4-1
Introduction .............................................................................................................. 4-1
In this Chapter ......................................................................................................... 4-1
A Typical Emergency Voice/Alarm Communications System ..................................... 4-2
Parts of an Emergency Voice/Alarm Communications System .................................. 4-3
Command Center .................................................................................................... 4-3
Audio Riser .............................................................................................................. 4-3
Transponder ............................................................................................................ 4-3
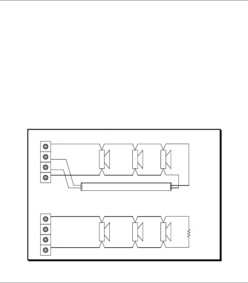
Speaker Circuits ...................................................................................................... 4-4
Chapter 5 Regulatory Issues 5-1
Introduction .............................................................................................................. 5-1
In this Chapter ......................................................................................................... 5-1
Audibility ......................................................................................................................5-2
Tones and SPL ........................................................................................................ 5-2
High Background Noise........................................................................................... 5-3
Large Areas ............................................................................................................. 5-3
Intelligibility .................................................................................................................. 5-4
Intelligibility .............................................................................................................. 5-4
Intelligibility Certification .......................................................................................... 5-5
Chapter 6 Speaker System Design Method 6-1
Introduction .............................................................................................................. 6-1
In this Chapter ......................................................................................................... 6-1
Speaker Design Method .............................................................................................. 6-2
Introduction .............................................................................................................. 6-2
v
Step 1: Room Characteristics................................................................................ 6-2
Step 2: Calculate the Number of Speakers ........................................................... 6-2
Step 3: Audio Power and Individual Speaker Wattage Tap .................................. 6-2
Step 4: Model Design to Predict Intelligibility......................................................... 6-2
Step 5: Verify Final Installation .............................................................................. 6-2
Recommendations for Maximizing System Intelligibility.............................................. 6-3
Maximizing Intelligibility ........................................................................................... 6-3
Applying the Methods .................................................................................................. 6-4
Design Examples..................................................................................................... 6-4
Example 1: Office Space ......................................................................................... 6-4
Example 2: Corridor................................................................................................. 6-6
Example 3: Gymnasium........................................................................................... 6-8
Example 4: Lobby .................................................................................................. 6-10
Conclusion ................................................................................................................. 6-13
In Closing............................................................................................................... 6-13
Chapter 7 Glossary of Terms 7-1
Introduction .............................................................................................................. 7-1
In this Chapter ......................................................................................................... 7-1
Glossary....................................................................................................................... 7-2
Index ...........................................................................................................................IN-1

vi
Refer to the publications and web sites listed below for more information regarding sound, speech,
and audio intelligibility:
• Acoustics – The Construction and Calibration of Speech Intelligibility Tests
ISO/TR 4870:1991(E).
• American National Standard Methods for Calculation of the Speech Intelligibility Index
(ANSI S3.5-1997).
• Handbook for Sound Engineers, Third Edition, Glen M. Ballou, Editor, published by
Butterworth-Heinemann, Woburn, MA.
• The Limits of Wide Dispersion (White Paper), Atlas Sound (www.atlassound.com).
• National Fire Alarm Code (NFPA 72) 2002 Edition, published by National Fire Protection
Association, (http://www.nfpacatalog.org/).
• Objective Rating of Speech Intelligibility by Speech Transmission Index,
International Electrotechnical Commission (IEC), 60268-16, Second Edition, 1998-03.
• Speech Intelligibility – A JBL Professional Technical Note, JBL Professional,
Northbridge, CA.
• Sound System Design Reference Manual, JBL Professional Northbridge, CA.
• Sound Systems for Emergency Purposes, International Electrotechnical Commission (IEC),
60849, 1998-02.
• Sound System Engineering, by Don & Carolyn Davis, published by Howard Sams & Co.
Tyco Safety Products publications:
• STI-CIS System Users Guide (579-377).
• iTool Installation and User’s Guide (579-772).
Related Publications
Related Publications

1-1
INTELLIGIBILITY – The capability of being understood or comprehended.
In simple terms, intelligibility is an evaluation of changes that occur to speech that impact
comprehension. More specifically, intelligibility is concerned with evaluating reductions of the
modulations of speech that cause undesired reductions in speech comprehension. These
modulation reductions can also be thought of as a degradation of signal (speech) to noise ratio.
Over the last few years, the drive towards intelligible Emergency Voice/Alarm Communications
Systems has been gaining momentum throughout the fire alarm industry. NFPA 72®, the National
Fire Alarm Code® now requires that emergency voice/alarm communications systems be
intelligible and discusses methods for verifying intelligibility.
In the past, the fire alarm industry primarily focused concern on audibility requirements, assuming
that if the sound was loud enough it would be sufficiently intelligible. Furthermore, many designs
did not take into account ongoing changes in the construction of the building, the construction
materials used in a building, or its furnishings. It is possible that many emergency voice/alarm
communications systems designed under those conditions do not provide sufficiently intelligible
communications. While those systems may provide highly audible alert and evacuation tones,
speech information may not be properly delivered.
This guide provides general information on the concepts of intelligibility and on the design of
emergency voice/alarm communications systems. It provides you with a better understanding of
the factors affecting the intelligibility of these systems in public spaces and is intended to help
design a system that meets the requirements for speech audibility and intelligibility in a
cost-effective manner.
This guide is separated into the following chapters:
• Chapter 1. Speech Intelligibility Overview: Provides an overview of audio intelligibility and
an introduction to the topics covered in this publication.
• Chapter 2. Background Information: Provides several sections of background material that
are essential to designing an intelligible system. Topics such as room acoustics, speaker design
layouts, and audio math are discussed.
• Chapter 3. Speech Intelligibility: Details the influences and measurements of intelligibility.
• Chapter 4. Emergency Voice/Alarm Communication Systems: Details emergency
voice/alarm communications systems and describes the advantages of an emergency system
compared to a typical non-emergency paging system.
• Chapter 5. Regulatory Issues: Discusses National Fire Protection Agency (NFPA) Codes.
Several excerpts of the 2002 Code are included.
• Chapter 6. Fire Alarm Audio Speaker System Design Method: Provides examples of
speaker designs created by using the Tyco Safety Products iTool.
• Chapter 7. Glossary of Terms: This chapter includes definitions of the important terms
used in this publication.
Refer to the page number listed in this table for information on a specific topic.
Topic See Page #
Importance of Audible and Intelligible Emergency Communications 1-2
Chapter 1
Speech Intelligibility Overview
Introduction
Chapters of this
Publication
In this Chapter

1-2
Emergency voice/alarm communications systems are used in applications where it is necessary to
communicate more detailed information to occupants of a building than the simple evacuation
signal provided by horns or bells. For example, in a high-rise building, evacuation of all of the
occupants at one time could create an unsafe situation in which the routes to evacuation could be
blocked by the sheer number of people trying to exit at once.
An emergency voice/alarm communications system can provide a means to ensure a more orderly
and safe evacuation. However, if the emergency voice/alarm communications system is not
audible (loud enough), or if it is not intelligible (understandable), then emergency information is
not properly communicated. Therefore, a safe response to a fire cannot be reliably achieved.
In some ways an inaudible or unintelligible system is worse than not having a system. This is due
to a possible false sense of security. Also personnel responding to an incident may operate under
the premise that building occupants are getting proper instructions, when in reality they are not.
Historically, the emphasis in emergency voice/alarm communications system design has been on
audibility. These systems have been required to have a sound level that is at least 15 dB above the
average ambient sound level, or 5 dB above the maximum sound level having a duration of at least
60 seconds, whichever is greater. Starting with the 1999 version of the National Fire Alarm Code
(NFPA 72) the fire alarm industry recognized the importance of requiring both audibility and
intelligibility.
Although a specific measure of intelligibility is not currently required by NFPA 72, the Code’s
Annex recommends the use of International Electrotechnical Commission (IEC) 60849 and a
Common Intelligibility Scale (CIS) measurement of 0.70 as a guideline. It is expected that future
versions of NFPA 72 will quantify the measurements required to demonstrate intelligibility.
Properly designing emergency voice/alarm communications systems for intelligibility requires
knowledge of the acoustical factors that influence intelligibility; awareness of the tools available
to predict acoustical performance; and the ability to measure the intelligibility of the completed
installation. It is also necessary to identify complicated areas where experienced sound
professionals using sophisticated audio design tools may be required to achieve the desired
intelligibility.
This document is presented as an introductory guide to understanding intelligibility and its
importance in achieving successful emergency voice/alarm communications systems.
Please refer to the cited references for more information concerning audio systems design.
Importance of Audible and Intelligible Emergency Communications
Speech Intelligibility
Importance
Designing for
Intelligibility

2-1
There are a few fundamental concepts that are necessary to understand when working with
emergency voice/alarm communications systems. This chapter introduces basic concepts of
sound, but is not intended to be an exhaustive treatment of the subject.
Note: Refer to the “Related Documentation” section at the beginning of this manual for
publications containing in-depth discussions of sound and speech.
Refer to the page number listed in this table for information on a specific topic:
Topic See Page #
Basic Audio Math 2-2
Sound and Hearing 2-4
The Nature of Speech 2-5
Room Acoustics 2-6
Speaker Basics 2-9
Distributed Wall Mounted Systems 2-15
Chapter 2
Background Information
Introduction
In this Chapter

2-2
Audio engineers use “Decibels” (dB) to express ratios between levels, such as power, Volts,
Amps, and Sound Pressure Levels (SPL). The decibel is not an absolute measure like Volts and
Amps, rather it is used to make comparisons between two numbers. The decibel is defined as the
logarithm of two power levels, shown below in the equation as P1 and P0:
⎟
⎠
⎞
⎜
⎝
⎛
=
0
1
P
P
log10 Decibel
Equation 2-1. The Decibel
P0 is the reference power and P1 is the power level used for comparison. The logarithm is used in
the decibel in order to make comparisons of power over a very wide range. This is very useful in
audio applications as the ear responds logarithmically to changes in SPL.
You can also use the decibel for voltage comparisons. From Ohm’s Law we know that:
RIV
×
=
Equation 2-2. Ohm’s Law
The electrical power equation:
RIP
R
V
PIVP 2
2
×==×=
Equation 2-3. Power Relationships
Use the following equation to determine the decibel difference between two voltage measurements
powering the same load resistance:
()
()
⎟
⎟
⎠
⎞
⎜
⎜
⎝
⎛
=
⎥
⎥
⎥
⎥
⎦
⎤
⎢
⎢
⎢
⎢
⎣
⎡
=
0
1
2
0
2
1
V
V
log20dB:tosimplifiedbecanwhich
R
V
R
V
log10dB
Equation 2-4. dB and Voltages
The decibel is often used to make comparisons between two different numbers, neither of which is
at an absolute reference level. For instance, if we take two voltage measurements along the length
of a speaker circuit, the power lost to the wiring can be calculated directly. If the voltage at the
amplifier driving a speaker circuit is 25 V (V0) and the voltage at the last speaker on the circuit is
15 V (V1) the power loss due to the wiring is 4.4 dB.
Continued on next page
Basic Audio Math
Ohm’s Law
and the Decibel
Where:
• V = Volts
• I = Amps
• R = Resistance

2-3
When the decibel is used to express SPL, the reference sound pressure is 20 x 10-6 Newtons/m²
which is approximately the threshold for hearing for a normal listener. When using a dB meter to
measure sound, the meter is performing the calculation between the received SPL and the
reference SPL:
⎟
⎠
⎞
⎜
⎝
⎛
×
=−6
spl 1020
SPL
log20dB
Equation 2-5. dB and Sound Pressure Levels
When multiple sound sources are combined, there is an increase in SPL. However, you cannot
add decibels directly:
90 dB + 90 dB is not 180 dB but 93 dB. Doubling the power results in a +3 dB SPL increase.
To add SPL decibels:
1. Convert the decibels back to the original power value (which for SPL, is referenced to 1pW
or 10-12 W).
2. Add the numbers together.
3. Convert the numbers back to decibels.
To add 90 dB + 90 dB:
()( )( )
93
10
002.0
log10dB
W002.0W001.0x2P2
W001.0
101010
P
10
P
10
;
10
P
log9
10
P
log1090
W
10
pW1
P
;
P
P
log10dB
12
3129
12
9
12
12
0
0
12
=
⎟
⎠
⎞
⎜
⎝
⎛
=
==
===
⎟
⎠
⎞
⎜
⎝
⎛
=
⎟
⎠
⎞
⎜
⎝
⎛
=
⎟
⎠
⎞
⎜
⎝
⎛
=
==
⎟
⎟
⎠
⎞
⎜
⎜
⎝
⎛
=
−
−−
−
−
−
−
Equation 2-6. Adding Decibels
Basic Audio Math, Continued
Ohm’s Law
and the Decibel,
(continued)
Adding Decibels

2-4
Sound is created by mechanical vibrations that displace air molecules to create repetitive changes
in air pressure. The ear detects these changes in air pressure, with the magnitude of the pressure
perceived as loudness and the frequency of the changes perceived as pitch.
Due to the physiology of the ear, sound pressure does not correlate directly to the perceived
loudness over all SPL and frequencies. The ear is most sensitive to frequencies between
3 to 5 kHz and much less sensitive to low frequencies. For a low frequency tone to be perceived
as loud as a high frequency sound, it must have a much higher SPL. In addition, the ear’s
sensitivity to the low frequencies also depends on the SPL. At high sound volumes, the loudness
difference between the most sensitive frequencies and low frequencies is reduced.
Figure 2-1. Robinson and Dadson Equal Loudness Curves
The equal loudness curves are used when sound levels are measured with a sound level meter.
If the meter has a “flat” response, then the displayed result shows a larger than perceived level
when sounds with significant low frequencies are measured. For this reason, sound level meters
have a correction or “weighting” filter built-in. This filter can more closely match the displayed
reading with the ear’s response. The most widely used weighting curve (and the one required by
NFPA 72) is the “A” weighted curve, which is approximately the inverse of the 40 phon equal
loudness curve. Meters configured with the “A” weighted filter read out in units of dBA, short for
“A” weighted decibels.
Other common weighting curves are the “B” and “C” curves, which approximate the ear’s
response at higher decibel levels. From a practical standpoint these curves are useful for
estimating the frequency content of the background noise during a room survey, but cannot be
used to validate the audibility of an emergency voice/alarm communications signal.
Note: The ear is capable of perceiving a difference in the sound level only when the sound level
has roughly doubled or halved. The dBA scale is a logarithmic scale, so a doubling of
sound power represents a 3 dBA increase in the SPL of the sound. Therefore, most
listeners can not perceive changes in SPL of less than 3 dBA. For a sound to be
perceived as twice as loud, the power must be increased 10 fold.
Sound and Hearing
The Relationship
Between Sound
and Hearing
The non-linear nature of the ear’s
response to frequencies and
loudness is well documented in
the Fletcher-Munson equal
loudness curves, updated in the
Robinson and Dadson equal
loudness curves that were adopted
in the ISO (International Standards
Organization) Recommendation
R-226.
Note: The MAF Curve in Figure 2-1
represents the “Minimum
Audible Field” Curve.

2-5
The frequency of speech ranges over seven octaves from 125 Hz to 8,000 Hz, with the majority of
frequencies contributing to intelligibility falling between 500 Hz and 4,000 Hz. The creation of
“phonemes,” or the sounds that make up words is created by amplitude modulation of those
frequencies. Amplitude modulations of speech patterns are seen as the peaks and valleys of the
waveform. These modulations range from 0.63 Hz to 12.5 Hz. A typical fragment of speech:
“an emergency has been reported” is shown in the figure below.
Figure 2-2. Speech Pattern that Illustrates Modulations
Consonants generally have the lowest power contribution to speech, but are extremely important
to intelligibility. Consonants like the “T” and “S” sounds are relatively high in frequency, but of a
short duration. Vowels (A, E, I, O, U sounds) carry most of the power of the speech signal.
The Nature of Speech
Introduction
Consonants
and Vowels

2-6
This section is provided as a summary of room acoustics. See the references in the “Related
Documentation” section earlier in this manual for a list of publications containing more thorough
discussions of this subject.
Reverberation is one of the most important contributors to reduced intelligibility, and is the result
of sound being reflected off floors, walls, ceilings and other surfaces. When a message is
broadcast over a speaker system, the listener hears a combination of the direct sound from the
speakers plus the reflected or delayed sound from the reverberation. Reverberation should not be
confused with echoes. An echo is a delayed but distinct reproduction of an original sound, where
reverberation contains the original sound jumbled into something not distinctly identifiable as part
of the original signal.
Note: In the distributed speaker system typical of fire alarm applications, echoes are generally
not a problem, but reverberation can have a major impact on intelligibility.
Reverberation Time (also known as T60 times) is the amount of time it takes for a sound to
diminish to 60 dB below the original level. For example, to estimate a room’s reverberation time,
pop a balloon in a room and time how long it takes for the sound to diminish.
The reverberation in a room is dependent on its dimension, construction, materials, and objects
within the room, including the room’s occupants. People and furnishings are good sound
absorbers. Reverberation levels in occupied and/or furnished rooms can be significantly lower
than levels in unoccupied/unfurnished rooms.
Each surface in a room absorbs or reflects a certain percentage of sound, characterized by the
“Absorption Coefficient” of the material. The absorption coefficient is the ratio of absorbed to
reflected sound, and has a range of 0 to 1. A hard surface, such as glass or marble has a low
absorption coefficient. This indicates that most of the energy is reflected back into the room.
Soft surfaces, such as thick carpeting and acoustic ceiling tiles, have high absorption coefficients.
Frequency content of reverberation depends on the surfaces as well. Very hard surfaces such as
tile reflect most of the frequencies, while soft surfaces like drapes absorb most frequencies. Most
surfaces fall in between, where higher frequencies are absorbed readily and lower frequencies are
either passed through or reflected.
Reverberation is also affected by the room dimensions. In general, the larger the room, the higher
the reverberation times. More precisely, reverberation is dependent on the distance between
opposing surfaces. Two rooms with the same volume (L x W x H) and the same surface materials
can have dramatically different reverberation times.
Continued on next page
Room Acoustics
Introduction
Reverberation

2-7
Several equations are available for estimating the amount of reverberation that can be expected in
a room. The equations take into account the room dimensions and surface materials to provide a
reasonably accurate estimation of a rectangular room’s reverberation time. The formulas below
are commonly used Sabine and Eyring equations:
The Sabine Equation, used when α < 0.2:
α
=S
V049.0
T English Units (ft) α
=S
V16.0
T Metric Units (m)
The Eyring Equation, used when α > 0.2:
)]1([ln)S(
V049.0
Tα−−
= English Units (ft) )]1([ln)S(
V16.0
Tα−−
= Metric Units (m)
Where:
V = Room Volume (L x W X H)
S = Total Surface Area (2LH +2LW + 2WH)
α = Average absorption coefficient, equal to the area of each surface multiplied by the
absorption coefficient for that surface, divided by the total surface area of the room
Equation 2-7. Sabine and Eyring Formulas for Calculating Reverberation Times
• Acoustical treatment:
Adding drapes, wall hangings, carpeting, or specially designed diffusers can absorb sound and
reduce reverberation. If possible, this is perhaps the best method in combating reverberation.
Note: Final room acoustics are often unknown at the time of the system design.
• Speaker Placement:
Because reverberation is caused by reflections, it is important to select speaker locations that
minimize stray energy. Sound system designers are often heard saying “put the sound where
people are and do not put sound where people are not.” This usually implies locating
speakers toward the center of the room, away from walls and other hard surfaces. When
possible, aim speakers towards soft surfaces such as rugs or upholstered furnishings.
These soft surfaces absorb direct sound coming from the speaker, preventing the sound from
scattering throughout the room.
Continued on next page
Room Acoustics, Continued
Estimating
Reverberation Times
Countering the
Effects of
Reverberation

2-8
• Increasing the Signal-to-Noise Ratio:
Intelligibility degradation from reverberation is essentially a signal-to-noise issue, however
when the noise is specifically caused by reverberation it is referred to as the “Direct-to-
Reverberant” ratio. Increasing the direct sound field at the listener improves the direct to
reverberant ratio and therefore the signal-to-noise ratio. You can increase the direct sound in
several ways:
1. Move the speaker closer to the listener and reduce the wattage of the speaker:
This places the sound where it is needed and minimizes excitation of the room’s
reverberation, at the expense of additional speakers.
2. Increase the speaker density and reduce the wattage to each speaker:
This increases the direct sound heard by the listener by creating overlapping regions
of coverage.
3. In areas with high ceilings, specify a more directional speaker:
A speaker that is more focused (has a higher “Q”) concentrates most of the sound energy
in a tighter beam than low “Q” devices. This is important in areas with high ceilings to
reduce the effect of multiple late arriving sounds.
Note: See the section later in this chapter entitled “Speaker Dispersion Angle and ‘Q’”
for more information.
Room Acoustics, Continued
Countering the
Effects of
Reverberation,
(continued)

2-9
Speakers are essentially “point sources” of sound. Sound radiates outward in all directions,
creating a spherical sound pattern. The sound pressure is spread over an increasingly larger
surface area as the sound moves away from the source. This causes a drop in loudness per unit
area. The drop in SPL is referred to as the “Inverse Square Law,” and originates from the fact that
as the diameter of the sound-sphere doubles, the surface area increases by a factor of four. This
behavior of outwardly radiating sound causes a drop in SPL of –6 dB per doubling of distance.
You can calculate the change in SPL at any distance from a speaker as follows:
D1 D2
Δ dB
spl
= 20 log
⎟
⎟
⎠
⎞
⎜
⎜
⎝
⎛
2
1
D
D
Equation 2-8. The Inverse Square Law
The figure below illustrates how SPL decreases with distance as you move away from a speaker:
Figure 2-3. dB and Distance Chart
Continued on next page
Speaker Basics
Inverse Square Law

2-10
The amount of sound that a speaker can be expected to produce is found in the speaker’s
sensitivity rating provided in the manufacturer’s literature. “Sensitivity” is the amount of sound
(SPL) produced by the speaker with a known signal frequency, power level and distance from the
speaker. For fire alarm listed speakers approved under UL Standard 1480, the sensitivity is rated
at 1 W of power and 10 feet (3 meters) from the speaker. By knowing the speaker’s sensitivity,
you can determine the on-axis SPL (SPL measurements taken directly in-line with the speaker) at
any distance from the speaker using the following equation:
SPL = Sensitivity + 20 log ⎥
⎦
⎤
⎢
⎣
⎡
D
Dr
Equation 2-9. On-Axis SPL Calculation
Simplex speakers have two sensitivity ratings listed on their respective data sheets, a reverberant
chamber test as required by UL Standard 1480 and an anechoic rating as defined by ULC-S541.
The reverberant chamber specification is derived from a test where the speaker’s sound is emitted
in a chamber specifically designed to reflect all of the sound so that a total sound power
measurement can be made. Correlating the speaker’s reverberant chamber sensitivity rating with
real-world acoustics has proven to be difficult. Typically, the anechoic rating at 1 kHz is more
representative of real world performance.
The speaker sensitivity rating, while useful for comparing speaker models, tends to oversimplify
the true response of a speaker. Speakers “beam” sounds analogous to the way a flashlight
produces light: the beam of sound is loudest directly in-line with the device and becomes quieter
the farther the listener moves away from the center. This beaming effect is also dependent on the
frequency of the signal.
The beaming effect is referred to as the directivity or “polar response” of the speaker, and is
occasionally provided by manufacturers in the form of “polar plots.” For typical fire alarm
speakers the beam is very wide for low frequencies (low directivity) and becomes more focused
for higher frequencies. When determining coverage area, it is common practice to use the
directivity information at 2 kHz: a critical band for intelligibility. Fire alarm speakers produce the
highest output in the 800Hz to 4 kHz frequency range.
Continued on next page
Speaker Basics, Continued
Sensitivity
Speaker Dispersion
Angle and “Q”
Where:
• SPL = Sound Pressure Level
• D = Distance from the speaker
• Dr = The reference distance
• Sensitivity = The SPL at the
reference distance.

2-11
The figure below includes a typical polar plot graph and the interpretation of the dispersion angle.
87dB
87dB
Sensitivity = 93dB @10 Feet, 1 W
Simplex 4902-9721
Ceiling Mount Speaker
Polar Plot - 2kHz 0
º
6dB/division
75
º off axis
Dispersion Angle
Figure 2-4. Speaker Polar Plot Interpretation
The “Coverage Angle” is defined as the angle where the speaker SPL drops 6 dB from the
on-axis SPL. For the speaker above, the coverage angle is 150 degrees.
Another common representation of speaker directivity is “Directivity Factor” or “Q.” For
speakers having a conical coverage pattern (typical of single driver speakers used in fire alarm
applications), “Q” is determined by:
Equation 2-10. Directivity Factor “Q” for a Conical Source
For the speaker above, the coverage angle (θ) is 150 degrees at 2 kHz, resulting in a “Q” of 2.7.
Continued on next page
Speaker Basics, Continued
Speaker Dispersion
Angle and “Q”
(continued)
Note: See Figure 2-5 on
the following page
for a more detailed
view of a Speaker
Polar Plot. Ceiling
Q =
⎟
⎠
⎞
⎜
⎝
⎛
−2
θ
cos1
2

2-12
Using the polar information of the speaker, in combination with the distance between the speaker
and the listener, you can determine the area that a speaker can cover. The “Coverage Area” is
defined as the plane where the SPL at the edge of the plane drops 6 dB below the on-axis SPL,
as illustrated below:
93dB
93dB
Floor
Listener level
10' high ceiling
99dB @5' 1W
Simplex 4902-9721
Ceiling Mount Speaker
Polar Plot - 2kHz 0º
6dB/division
75º off axis
51º off axis
97dB
93dB
97dB
93dB
Coverage Diameter
Distance off axis
D2
D2
5.0'
10.0'
Dispersion Angle
Critical Polar Angle
12.8' 6dB variation
Figure 2-5. Speaker Coverage
Coverage area is determined by a combination of speaker polar loss and the inverse square loss
off-axis. To illustrate, consider a speaker with no polar loss, i.e. the speaker’s SPL is the same
over all angles. As the listener moves away from the center of the speaker, the distance to the
speaker increases resulting in a lower SPL. From the Inverse Square Law, the off-axis SPL is 6
dB lower than the on-axis SPL when the distance from the speaker to the listener has doubled.
From simple geometry, it can be determined that the maximum useable coverage angle is 120
degrees:
60°
Listener
Height
Ceiling
Height
2x Ceiling Height-Listener Height
-6dB edge of
coverage area
Figure 2-6. Maximum Theoretical Coverage Angle
Continued on next page
Speaker Basics, Continued
Speaker Coverage

2-13
Real world speakers have some polar loss at angles less than the rated dispersion angle. In order
to determine the actual coverage area for a particular speaker, the “Critical Polar Angle” for the
speaker must be found. The critical polar angle is the angle where the sum of the distance loss and
the polar loss is 6 dB less than the on-axis SPL.
For example, consider the Simplex 4902 series speakers. The dB loss as a function of angle off-
axis can be determined from the polar plot as illustrated in figure 2-7 below. Because this speaker
has symmetrical dispersion, only the data from one quadrant is required. Adding the polar losses
and distance losses yields the total loss for the speaker along the listener plane. Inspecting the
total loss data reveals that the critical angle is between 40 and 50 degrees. Using the spreadsheet’s
forecast function pinpoints the angle at which the SPL drops 6dB as 51degrees. Because of
symmetry this angle is doubled to end up with a critical polar angle of 102 degrees.
Figure 2-7. Critical Polar Angle Calculations
Continued on next page
Speaker Basics, Continued
Speaker Coverage,
(continued)
Determining Critical
Polar Angle
0° 10° 20° 30° 40° 50° 60°
Angle Off-Axis (θ) 0° 10° 20° 30° 40° 50° 60°
Polar Loss (1) 0.0 dB 0.0 dB -0.1 dB -0.5 dB -1.3 dB -1.8 dB -3.0 dB
+ Distance Loss (2) 0.0 dB -0.1 dB -0.5 dB -1.2 dB -2.3 dB -3.8 dB -6.0 dB
= Total Loss 0.0 dB -0.1 dB -0.6 dB -1.7 dB -3.6 dB -5.6 dB -9.0 dB
52°
104°
Notes:
(2) Distance Loss calculated as 20*log(cos(θ))
-6dB Point
Critical Polar Angle
(1) Polar Loss interpreted from polar plot

2-14
Once the critical polar angle has been determined, calculate the coverage area for a given speaker-
to-listener distance:
Coverage Circle Diameter = 2 D2 tan ⎟
⎠
⎞
⎜
⎝
⎛
2
θ
Coverage Area = π
2
22
θ
tanD ⎟
⎟
⎠
⎞
⎜
⎜
⎝
⎛⎟
⎠
⎞
⎜
⎝
⎛
Where D2 is the distance from the speaker to the
listener and θ is the critical polar angle. (Refer to Figure 2-5, Speaker Coverage Diagram)
Equation 2-11. Coverage Area Calculations
The following table contains coverage areas calculated for Simplex TrueAlert Ceiling Mount
speakers at various ceiling heights with a listener height of 5 feet (1.5 meters).
Table 2-1. Simplex 4902 Speaker Coverage for Varying Ceiling Heights
Listener Height = 5 Feet Listener Height = 1.5 Meters
Ceiling
Height
Coverage
Diameter
Coverage
Area
Ceiling
Height
Coverage
Diameter
Coverage
Area
8 ft 7.7 ft 46 ft2 2.5 m 2.6 m 5.1 m2
10 ft 12.8 ft 129 ft2 3.0 m 3.8 m 11.6 m2
12 ft 17.9 ft 252 ft2 3.5 m 5.1 m 20.6 m2
14 ft 23.0 ft 417 ft2 4.0 m 6.4 m 32.2 m2
16 ft 28.2 ft 623 ft2 4.5 m 7.7 m 46.3 m2
18 ft 33.3 ft 870 ft2 5.0 m 9.0 m 63.0 m2
20 ft 38.4 ft 1158 ft2 5.5 m 10.2 m 82.3 m2
6.0m 11.5 m 104.2 m2
Some observations about speaker coverage area:
• Low ceilings require more speakers per square foot of floor space than high ceilings.
• The Simplex 4902 series 4-inch speakers cover an area with a diameter slightly larger than
twice the distance from the ear to the ceiling.
• The smaller the speaker, the wider the dispersion, therefore the larger the coverage area.
Continued on next page
Determining Critical
Polar Angle

2-15
Speakers used for emergency voice/alarm communication system are wired as “Constant Voltage”
systems, where the maximum power output of the amplifier is obtained at a certain speaker
voltage, such as 25 V or 70.7 V. The power output of a speaker, and thus the resulting SPL is
controlled by wattage taps on the speakers themselves. The minimum wattage tap for a
UL Standard 1480 listed speaker is 1/4 W. For example, the Simplex 4902 Series speakers have
wattage taps in 3 dB increments: 1/4 W, 1/2 W, 1 W and 2 W. Each wattage tap doubles the
power delivered by the speaker, and so increases the SPL output by 3 dB for each increasing tap.
An increase of 3 dB is considered a just noticeable increase in SPL, changing the wattage tap from
1/4 W to 2 W increases the perceived loudness by slightly less than double.
Many rooms require more than one speaker, the question then becomes, “how many speakers do I
need, and how far apart should they be placed?” The answer invariably is “that depends.” There are
many layout patterns to choose from, each suitable for different room geometries, background noise
and reverberation times. See Table 2-2 “Layout Pattern Selection Guide” for some recommendations.
The most common layout pattern is the rectangular pattern shown in Figure 2-7 below.
Table 2-2. Layout Pattern Selection Guide
Pattern Description
2x Edge-to-
Edge
Not recommended except for
tone only signaling or small rooms with
low noise and low reverberation.
1.4x Edge-to-
Edge
Uses fewer speakers than Edge-to-
Edge pattern. Only appropriate for
rooms with low noise and low
reverberation.
Edge-to-Edge Preferred layout pattern for most
areas.
Minimum
Overlap
Use with areas of high reverberation
and/or high ceilings.
Full Overlap
For the worst areas, generally provides
excellent intelligibility for even difficult
areas. Use with caution, this type of
pattern can result in lower than
expected intelligibility due to multiple
speaker interaction. Modeling is
recommended for areas that would
need this layout pattern.
Speaker Basics, Continued
Power Rating
Speaker Layouts
Speaker Layout
Pattern
Increase in SPL
Over Single
Speaker
Variation in
Coverage
2x Edge-to-Edge 0.2 dB –10.4 dB
1.4x Edge-to-
Edge 0.4 dB –6.8 dB
Edge-to-Edge 0.7 dB –4.4 dB
Minimum Overlap 2.0 dB –2.0 dB
Full Overlap 5.2 dB –1.4 dB
Table 2-3. SPL Variation by Layout Pattern
Figure 2-7. Speaker Layout Patterns
Edge to Edge
(Standard layout )
Minimum Overlap Full Overlap
1.4x Edge-to-Edge
2x Edge-to-Edge
Speaker layout patterns
(rectangular placement)

2-16
The preceding sections apply primarily to ceiling mounted speakers, generally referred to as
“Distributed Overhead Systems.” Another useful mounting strategy is the “Distributed Wall
Mount System.” Under this configuration, the speakers are placed on walls or columns, and are
aimed into the room. Advantages and disadvantages of distributed wall mount systems are
described in the following sections.
• For narrow areas such as hallways, fewer speakers and less amplifier power may be needed to
cover the same size area. This is because all of the speaker’s sound contributes to useable
audibility.
• Mounting can be on more than one wall. This further improves the distribution of direct
sound to the listener.
• Wall mounted speakers put sound directly into the listener area. This can reduce the
excitation of the reverberant field.
• Combination speaker strobe units permit voice and visual notification in a single appliance.
• The sound field from wall mount speakers is more likely to encounter obstructions from
furnishings such as cubicle walls in office environments or movable partitions in conference
rooms. If the furnishings in a room are likely to change, a distributed overhead system or a
combination wall mount and overhead design should be considered. This minimizes the
variation of audibility and intelligibility.
• In rooms with low, hard ceilings the sound emitting from the top hemisphere of the coverage
pattern is reflected off the ceiling and down to the listener. This can increase the reverberant
field sound level and result in delayed arrival of sound. These factors both contribute to a
reduction in intelligibility.
Continued on next page
Distributed Wall Mounted Systems
Introduction
Advantages
Disadvantages

2-17
The design of a distributed wall mount system is similar to an overhead system, with some
important differences. In a wall mount system the speaker-to-listener distance depends on the
listener location in the room. Therefore the audibility calculations must be done with the listener
at the farthest distance from the speaker. In a room with speakers mounted along a single wall, the
farthest distance (lowest SPL) can be taken within 3 feet (1 meter) of the opposing wall.
In general, the wall mount speakers are located between 80 and 96 inches above the floor. This
satisfies the requirements for speaker-strobe combination units. The figure below shows the
typical coverage of a wall mount speaker.
Wall
Wall
Simplex Wall Mount Speaker
Coverage Example
52º off axis
On Axis
-6dB
Viewed from ceiling
Room Depth
Coverage Width
Critical Polar Angle
3' off wall
Figure 2-8. Wall Mount Speaker Coverage Pattern
The coverage patterns for wall mount speakers are the same for distributed overhead systems, with
the goal of minimizing SPL variations in the protected area. Equation 2-11 can be applied to wall
mounted systems by replacing the speaker to listener distance (D2) with the room width minus
3 feet. In a wall-mounted system, it is generally more appropriate to consider the diameter of
coverage rather than the coverage area. The coverage diameter defines the width of wall
coverage, and ultimately the speaker spacing depending on the coverage overlap pattern.
Table 2-4. Wall Mounted Speaker Coverage Width Vs. Room Depth
Wall Mounted Speakers (In Feet) Wall Mounted Speakers (In Meters)
Room
Width
Coverage Width
3 Feet from Wall
Opposite Speaker
Room
Width
Coverage Width
1 Meter from Wall
Opposite Speaker
10 Feet 18 Feet 2.5 Meters 3.8 Meters
12 Feet 23 Feet 3.0 Meters 5.1 Meters
14 Feet 28 Feet 3.5 Meters 6.4 Meters
16 Feet 33 Feet 4.0 Meters 7.7 Meters
18 Feet 38 Feet 4.5 Meters 9.0 Meters
20 Feet 44 Feet 5.0 Meters 10.2 Meters
5.5 Meters 11.5 Meters
6.0 Meters 12.8 Meters
Continued on next page
Distributed Wall Mounted Systems, Continued
Design of a
Distributed Wall
Mount System

2-18
The coverage patterns for a distributed wall mount system are similar to ceiling mount designs,
except only a single row is used in the pattern. Because of the typically larger potential speaker-
to-listener distance, only edge-to-edge and tighter spacing patterns should be used to provide
adequate intelligibility.
Care must be taken not to overextend the penetration into the room that can be expected from a
wall mount speaker. Rooms greater than 20 feet wide should not be treated with a single wall of
speakers. When designing a system where the opposite wall is greater than 15 feet away from the
speaker, minimum overlap or full overlap patterns should be selected. See the figure below for
typical wall mount speaker coverage pattern examples:
Figure 2-9. Typical Wall Mount Speaker Coverage Layouts
Distributed Wall Mounted Systems, Continued
Design of a
Distributed Wall
Mount System,
(continued)
Edge-edge
Minimum-Overlap
Full-Overlap

3-1
Intelligibility is a measure of the capability of a message to be comprehended. In simplest terms,
it is the reduction of the modulations of speech that reduce speech intelligibility. The modulation
reductions can also be thought of as a reduction in the signal (the speech) to noise ratio.
Not all frequencies contained in speech contribute equally to intelligibility. While low frequencies
(vowels) make up the largest power portion of the power of a speech signal, it is the higher
frequencies (the consonants) that contribute most to intelligibility.
Refer to the page number listed in this table for information on a specific topic.
Topic See Page #
Influences and Intelligibility 3-2
Measures of Intelligibility 3-6
Practical Measurement of Intelligibility 3-8
Tools for Predicting Intelligibility 3-9
Chapter 3
Speech Intelligibility
Introduction
In this Chapter

3-2
The figure below lists the relative contributions of each frequency band:
Octave Band Contribution to Intelligibility
0%
5%
10%
15%
20%
25%
30%
35%
125 250 500 1000 2000 4000 8000
Frequency component of speech
Relative Contribution to intelligibility
Figure 3-1. Frequency of Speech Contribution to Intelligibility
Audibility is relatively straight-forward and deficiencies are relatively easy to correct. Intelligibility
is a more complex characteristic of an installed audio system, involving room acoustics, speaker
placement, and psycho-acoustic effects. There are many factors that affect the intelligibility of
messages presented over public address systems in public and private spaces. Some major
intelligibility factors include:
• Background noise.
• The configuration of the space being addressed.
• The acoustical properties of the materials on the walls, floors, and ceilings.
• The distortion and bandwidth of the sound equipment.
• The characteristics of the person speaking (male/female, accent, microphone technique, etc.)
Some of these factors are under the control of the system designer however many are not.
The challenge of good audio system design is to compensate for the factors which cannot be
controlled. This ensures that the system installed can provide intelligible messages in emergency
situations.
Continued on next page
Influences on Intelligibility
Introduction

3-3
Background noise causes a reduction in signal-to-noise ratio over all frequencies and modulations.
Consider the comparison of the speech signal below with and without added noise:
No Noise With Added Noise
Figure 3-2. The Speech Pattern “An Emergency Has Been Reported” with Added Noise
Creating an intelligible system in the presence of background noise requires adequate signal-to-
noise ratio. In general, if the speech signal is 10 dB higher than the noise, the intelligibility loss
due to background noise is minimal.
The figure below shows degradation as a function of signal-to-noise ratio:
CIS degredation from background noise (broad spectrum)
0.5
0.55
0.6
0.65
0.7
0.75
0.8
0.85
0.9
0.95
1
-4 -3 -2 -1 0 1 2 3 4 5 6 7 8 9 10 11 12 13 14 15 16
Signal to Noise Ratio dBA
Intelligibility (CIS Scale)
Figure 3-3. Degradation of CIS vs. Signal-to-Noise Ratio
Note: There are limits to increasing the speech signal-to-noise ratio. Above approximately
90 dB the intelligibility of speech actually decreases with increasing volume. This
implies that areas with background noise greater than 80 to 90 dB can pose a challenge to
the system designer.
Continued on next page
Influences on Intelligibility, Continued
Background Noise
CIS Degradation from Background Noise (Broad Spectrum)

3-4
Some types of background noise have a greater impact on intelligibility than others depending on
the frequency content of the noise. Noise generated by several conversations occurring
simultaneously, such as in areas of public assembly, (an airport terminal or shopping mall)
generally require a higher signal-to-noise ratio than noise generated by HVAC units. HVAC noise
tends to have most of its energy concentrated in one or two octave bands in the lower frequency
range, which has a lesser contribution to speech intelligibility than mid bands. NFPA 72
recognizes this fact, and states:
“In areas where background noise is generated by machinery and is fairly constant, a frequency
analysis can be warranted.”
Note: See Chapter 5 “Regulatory Issues” of this manual for more NFPA Codes and Guidelines.
There are limits to how much sound can be produced to overcome background noise. Take the
case of a manufacturing area with 90 dB average background noise. To overcome the noise, the
speaker must produce 105 dB at the listener, and could exceed 120 dB near the speaker, depending
how far the speaker is from the listener. The maximum SPL allowed by NFPA 72 is 110 dB
(lower in some jurisdictions) and is clearly an excessively loud system, possible hearing damage
could result. In these cases, visual notification would be preferred, with speakers located in areas
away from the noise sources in areas designated for evacuation message broadcast.
Reverberation is the effect of sound being reflected off of surfaces from many different directions.
Unlike echoes, which are a distinct reflection of the sound, reverberation is essentially the effect of
many small echoes.
Note: See Chapter 2 for more information on reverberation.
Because reverberation contains portions of the original speech delayed from the original source,
the reverberant sound becomes noise, interfering with intelligibility. Reverberation has a smearing
effect on the sound that the listener hears as shown in the figure below. The speech modulations
are reduced by sounds arriving after the original sound. Notice that the valleys of the modulations
are now filled with the reflected sounds reducing the overall modulations.
Figure 3-4. The Speech Pattern “An Emergency Has Been Reported” with Reverberation
Reverberation times typically range from less than 400 ms for typical office spaces with carpeting
and cubicles to several seconds for gymnasiums and auditoriums. In general, rooms with
reverberation times higher than 1.5 seconds must be designed using professional analysis and
modeling.
Note: Chapter 6 provides examples of different settings such as office spaces, gymnasiums, and
corridors to demonstrate the differences in reverberation time.
Continued on next page
Influences on Intelligibility, Continued
Background Noise,
(continued)
Reverberation

3-5
Distortion of the speech waveform can come from many sources, however it is usually exhibited
by an overdriven signal, causing the peaks of the waveform to be clipped. “Clipping” is caused by
some part of the electrical signal path within the fire alarm system exceeding the capacity of the
components. The most common cause of clipping is improper use of the microphone, where the
operator is shouting into the microphone, overdriving the system. Because clipping itself does not
reduce modulations, the intelligibility effects of clipping are generally not as severe as noise and
reverberation effects. A properly installed, operated, and maintained Simplex Fire Alarm Audio
System has minimal distortion and reproduces speech with excellent clarity.
Proper microphone technique can be a major speech intelligibility factor in emergency voice/alarm
communications systems. Unfortunately, this is one area over which the system designer has no
control. Although this is not normally considered during the measurement of speech intelligibility
or during system acceptance testing, it should be considered in the training and use of the system.
For this reason, when possible, use of pre-recorded messages or digitally compiled phrases may be
preferred. These messages provide a consistent sound level output and a controlled speech pattern
and pace that may be more intelligible than an unpracticed announcement via microphone.
Influences on Intelligibility, Continued
Distortion
Microphone
Technique

3-6
International Electrotechnical Commission (IEC) 60849 defines intelligibility as:
“a measure of the proportion of the content of a speech message that can be correctly understood.”
Because “understanding” involves evaluation by a human, intelligibility is by definition difficult
to quantify absolutely. What is intelligible to one person may not be intelligible to another. Some
people have hearing problems that render it difficult for them to understand what others easily
understand. Some people talk more quickly than others, or with an accent, so that they may not be
understandable in environments in which other speakers are easily understood.
In an effort to create quantifiable measures of intelligibility, the test methods take the subjective
elements, the talker and the listener, out of consideration. It is assumed that the speaker has an
average tone of voice and speaks at a normal speed. It is also assumed that the listener has
average hearing and is fluent in the language being spoken. If either the speaker or listener
deviates from the “average” the intelligibility of the communications is affected.
Several methods have been developed to measure and quantify the transmission quality of speech
with respect to intelligibility. These methods are used for rating intelligibility and take into
account room acoustics, as well as the various components of the sound system. The intelligibility
ratings derived by these methods can then be used to compare speech transmission quality at
different positions within one room or for different conditions within a space.
IEC 60849 Second Edition (1998) states that a minimum intelligibility level of 0.7 on the
Common Intelligibility Scale (CIS) must be met in all areas that require an emergency voice/alarm
communications system. NFPA 72 references IEC 60849 and a CIS score of 0.70 as the preferred
method of determining intelligibility. This makes understanding the CIS important to understanding
measurements of intelligibility.
The CIS is not a method of measuring intelligibility itself, but is a standardized scale to which a
variety of measurement methods are correlated. This allows a number of different measurement
techniques to be used with a common baseline to which they can be compared. Each of the test
methods described in the following sections has been correlated to the CIS, and can be used to
determine a CIS rating.
The correlation between the CIS-STI and CIS-%ALcons measurement methods is provided in the
following figure:
Table 3-1. Correlation of CIS and with STI and %ALcons
EXCELLENT GOOD FAIR
CIS 1.00 0.98 0.95 0.93 0.90 0.87 0.84 0.81 0.78 0.74 0.70
RASTI 1.00 0.95 0.90 0.85 0.80 0.75 0.70 0.65 0.60 0.55 0.50
STI 1.00 0.95 0.90 0.85 0.80 0.75 0.70 0.65 0.60 0.55 0.50
%ALcons 0.0 1.0 1.3 1.7 2.2 2.9 5.0 5.0 6.6 8.7 11.4
POOR BAD
CIS 0.65 0.60 0.54 0.47 0.39 0.29 0.16 0.00 0.00 0.00
RASTI 0.45 0.40 0.35 0.30 0.25 0.20 0.15 0.10 0.05 0.00
STI 0.45 0.40 0.35 0.30 0.25 0.20 0.15 0.10 0.05 0.00
%ALcons 14.9 19.5 25.6 33.6 44.0 57.7 75.7 100 100 100
Continued on next page
Measures of Intelligibility
Introduction
The Common
Intelligibility
Scale (CIS)

3-7
As described in Chapter 2, speech consists of the frequency of the sound being uttered and the
amplitude modulation of that sound into the phonemes that create words. The STI (Speech
Transmission Index) method measures the modulation transfer function for 14 modulation
frequency bands spaced at 1/3-octave intervals from 0.63 Hz to 12.5 Hz, across seven frequency
bands from 125 Hz to 8 KHz. These 98 measurement points (7 x 14) are weighted and combined
to create a number between 0.0 (totally unintelligible) and 1.0 (perfectly intelligible). The
standardization of the carriers and modulation frequencies to be used, as well as the weighting to
be applied, has now been standardized by IEC 60268-16. The STI method is the most accurate of
all intelligibility measures, however the procedure can take as long as 20 minutes per test.
Alternate methods such as STIpa, STITEL, and RASTI (described below) are subsets of the
STI method with faster measurement times.
This is a special adaptation of the STI method for the measurement of speech intelligibility for
public address (PA) systems. It is a modification to the STI method that has been correlated to
within +/- 0.03 CIS of a full STI measurement. The STIpa method is implemented in the
Simplex/GoldLine intelligibility measurement system.
The STITEL method is a special adaptation of the STI method used for the measurement of speech
intelligibility for telephone systems. It reduces the 14 modulation frequencies to seven and applies
one to each of the seven octave bands simultaneously.
The Rapid Acoustics Speech Transmission Index (RASTI) is a simplified version of the STI
method that uses two octave bands instead of seven with four modulation frequencies measured in
one band and five in the other, for a total of nine measurements.
The “Articulation Loss of Consonants” (ALcons) is a measurement method for speech
intelligibility that is based upon the importance of consonant sounds in the overall perception of
speech. It uses specially chosen simple words in transmission tests. ALcons is expressed in
percent (%ALcons). This is a subjective test with a much greater potential for variations in score
than some of the other tests described.
The Phonetically Balance (PB) word score is described in ISO/TR 4870, and consists of specially
chosen words selected from a known population transmitted to a panel of listeners. This is a
subjective test with a much greater potential for variations in score than some of the other tests
described.
Measures of Intelligibility, Continued
The STI Method
STIpa
STITEL
RASTI
Percent (%) ALcons
Phonetically
Balanced Word
Scores

3-8
Measurement of intelligibility can be complicated, and it sometimes includes subjective analysis.
To effectively implement intelligible systems in real buildings requires that a simple, accurate, and
repeatable method of measuring intelligibility must be available. Fortunately, there are instruments
on the market that meet this need. One of these is the STI-CIS meter available from SimplexGrinnell.
The meter uses the STIpa method to provide a fast and easy measurement of total system speech
intelligibility. It measures both intelligibility and audibility, as it also has a built in dB meter.
The meter automatically converts the STIpa measurement to CIS so that demonstrating that a
system meets the requirements of NFPA 72 is easy and intuitive.
A proprietary test tone is played through the system which the analyzer uses to determine
reduction in speech modulation.
Figure 3-5. STI-CIS Intelligibility Measurement System
Practical Measurement of Intelligibility
Introduction
Microphone
AC Ada
p
ter
STIpa
Test Tone CD
AC Ada
p
ter
STI-CIS Analyzer Talkbox
Volume
Control
Microphone
Holder
CD Player
Speaker

3-9
Several tools varying in levels of complexity can assist the sound system designer in producing a
system of acceptable intelligibility. These range from simple layout guides for speaker placement
to complex computer modeling tools which can accurately simulate and predict sound system
performance in complex spaces. These tools also have the ability to listen to simulations of
system performances at any location within the space.
The tools selected should be based on the complexity and characteristics of the particular
installation. In many cases, layout guides and “rules of thumb” are adequate to produce an
effective design. In other cases, sophisticated modeling and analysis is necessary.
There are a number of computer modeling and simulation tools available to the sound system
designer that provides reliable predictions of speech intelligibility and audio coverage throughout
the modeled space. These tools can help the designer through difficult situations or in designing
emergency voice/alarm communications system for spaces with complex audio environments.
The best known and widely used of these modeling programs is “EASE” from Renkus-Heinz®.
Another program is “Modeler” available from Bose® Corporation. Both of these programs have
shown good correlation between predicted results and actual measurements when the system is
modeled accurately. These programs provide a reliable means to confidently design and build
more complicated systems that require minimum speech intelligibility levels.
The two listed programs require significant training and expertise to use, as well as a fair amount
of time to build models that are complete enough to provide accurate results. For small to medium
sized projects, it usually is not cost effective to use these modeling tools. However, for larger or
more complex projects, the costs of modeling tools are easily justified. It is much less expensive
to use the modeling tools to design the system properly the first time than to have to troubleshoot
problems after installation.
For the smaller projects typical in a fire alarm layout, Tyco Safety Products has developed
software called “iTool” that can be used to design a speaker system that meet requirements for
most areas. This tool is not an acoustical modeling package. It is designed to assist the Speaker
System Designer with calculations of reverberation and assist with speaker placement.
Note: See Chapter 6 of this manual for design examples that use the iTool. Refer to the iTool
Installation and User’s Guide (579-772) for more information.
Tools for Predicting Intelligibility
Introduction
Acoustical Modeling
Software

3-10

4-1
An emergency voice/alarm communications system is designed to provide a highly reliable voice
reinforcement and distribution network. These systems must deliver messages to building
occupants for evacuation in an organized and safe manner. The system can deliver recorded
messages automatically before emergency personnel arrive at the scene, and alarm paging systems
can also be used to deliver live spoken messages from the emergency personnel to the occupants.
Refer to the page number listed in this table for information on a specific topic:
Topic See Page #
A Typical Emergency Voice/Alarm Communications System 4-2
Parts of an Emergency Voice/Alarm Communications System 4-3
Chapter 4
Emergency Voice/Alarm Communications Systems
Introduction
In this Chapter

4-2
The figure below illustrates a typical emergency voice/alarm communications system:
Figure 4-1. Typical Emergency Voice/Alarm Communications System
While an emergency voice/alarm communications system is similar to a non-emergency paging
system, there are certain features that make emergency systems much more reliable than standard
paging systems:
• Backup Power Source (Batteries or Generator):
Allows the system to operate for as long as several days during a power failure.
• Dedicated Power Feed:
Isolates fire alarm power circuits from other branch circuits, preventing a fault from a
non-alarm circuit causing a fault at the fire alarm.
• Supervision of All Critical Signal Paths:
From the microphone through the last speaker in the system, all wiring is supervised for
shorts, opens, and Earth faults.
• Access Control:
Locked cabinet permits only authorized personnel to access to the system.
• Fixed Gain Controls:
The system is factory calibrated and sealed to prevent the user from tampering with the gain,
avoiding over-driving or under-driving the system.
• Local Mode Operation:
Alarm signals are available even if amplifiers lose communications with the command center.
A Typical Emergency Voice/Alarm Communications System
Advantages
Typical Emergency
Voice/Alarm
Communications
System

4-3
A command center should be located at the building entrance and act as a communications center
for emergency personnel. The command center is used to display the system status and control the
annunciation system. This area typically includes the equipment required to generate and
distribute messages throughout the building’s emergency network.
Voice paging equipment in the command center typically includes:
• A dedicated master microphone.
• Speaker selection switches (routing switches), used to select paging zones that cover the
entire building or specific areas.
• System auxiliary audio inputs, including remote microphones and connections to other
emergency systems.
• Recorded messages for automatic voice announcements.
• Signal processing electronics.
• Emergency personnel phone equipment.
• Audio riser distribution amplifiers.
Note: It is possible to have multiple command centers within a emergency network, each with a
microphone and speaker select switches. However, only one command center may be in
control at a time, with a clear indication of who is in control.
The audio riser is the wiring that connects the command center with the amplification equipment.
There are several types of risers depending on the application:
• Analog Riser: A system with only one or two channels uses analog risers, where only one
channel is transmitted on a pair of wires. The analog riser uses shielded wire to prevent noise
pickup as it travels throughout the building. It can be configured for Class A or Class B
operation.
• Digital Riser: Applications needing more than two channels use a digital system that
transmits multiple channels of digital audio throughout the building. A single pair of wires is
used to transmit up to eight channels of digitally encoded audio signals. The digital riser is
considered a Signaling Line Circuit (SLC), and is wired in a Style 4 or Style 7 configuration.
• Fiber Optic Riser: The analog riser and digital risers are available with a fiber optic
distribution media. Fiber optic systems have the advantage of immunity to electrical noise
and Earth faults.
A transponder receives the riser from the command center, amplifies and distributes signals to the
speaker circuits. The transponder also interfaces to detection equipment and other signaling
circuits (strobes, deluge valves, etc.) and communicates status back to the command center.
There is typically one transponder for every three floors in a high rise building.
Voice paging equipment included in a transponder is:
• Audio Riser Interface Modules: Receives the riser for distribution to the amplifiers and
includes protection and isolation components.
• Amplifiers: Amplifies the audio signal to produce 25 V or 70.7 Vrms for distribution to
the NACs.
• NACs (Notification Appliance Circuits): Distribution points to the speaker circuits,
provides electrical supervision of opens, shorts, and Earth faults of the field wiring.
The speaker routing switches at the command center are used to selectively turn the NACs on.
Continued on next page
Parts of an Emergency Voice/Alarm Communications System
Command Center
Audio Riser
Transponder

4-4
Speaker circuits convert electrical power from amplifiers into sound. These circuits are wired in a
daisy-chain fashion, with a single path of electrical continuity from the NAC to the last speaker in
the circuit. The speaker circuits can be wired in Class A or Class B configurations. Class A
operation allows the circuit to operate through a single Open, while Class B circuits only detect
the Open. Neither circuit operates through a Short Circuit condition, but either can report the
trouble.
Note: Speaker circuits are normally supervised with DC voltage during the standby or
non-alarm state when the speaker circuits are OFF. To use speaker circuits for non-alarm
paging or background music applications you must have approval of the AHJ (Authority
Having Jurisdiction). Specially designed hardware is available to supervise speaker
circuits when used for non-alarm content.
Speaker circuits are known as constant voltage systems, where a full volume output tone produce
25 V or 70.7 V. Wattage taps on the speaker sets the individual speaker volume. The designer
can select from 1/4 W to 2 W in a typical fire alarm speaker.
Class A Wiring
Speaker
Class A NAC
B+
A+
B-
A-
Class B Wiring
Class B NAC
B+
B-
End of Line
Resistor
Speaker
Speaker
Speaker
Speaker
Speaker
Figure 4-2. Class A and B Speaker Circuit Wiring
Parts of an Emergency Voice/Alarm Communications System, Continued
Speaker Circuits

5-1
The governing specifications for the US Fire Alarm Market are found in the installation standard,
NFPA 72® “National Fire Alarm Code.” The fire alarm audio system is defined within the class of
“Notification Appliances.” NFPA 72 defines, among other things, requirements for audibility and
intelligibility.
Some key specifications for the design of speaker systems are found in the “Notification
Appliances for Fire Alarm Systems” chapter of NFPA 72.
IMPORTANT: This chapter contains excerpts of NFPA 72 2002 National Fire Alarm
Code. Always verify which version of the code is enforced locally.
Refer to the page number listed in this table for information on a specific topic:
Topic See Page #
Audibility 5-2
Intelligibility 5-4
Chapter 5
Regulatory Issues
Introduction
In this Chapter

5-2
For emergency messages to be heard, NFPA 72 suggests that the sound level of the emergency
evacuation tone to be measured at 5-feet. This is the average “ear level” of someone standing.
The messages must be 15 dBA above normal ambient sound or 5 dBA above sounds lasting longer
than 60 seconds. When performing a site investigation for speaker placement and power settings,
a survey of the area with a dBA reading sound level meter is used to determine the proper sound
level required. In sleeping areas, the audibility requirements are the same except measurements
are taken at the normal ear level for someone sleeping (at pillow level).
From NFPA 72, 2002 Edition:
“7.4.2.1* To ensure that audible public mode signals are clearly heard, unless otherwise
permitted by 7.4.2.2 through 7.4.2.5, they shall have a sound level at least 15 dB above the
average ambient sound level or 5 dB above the maximum sound level having a duration of at least
60 seconds, whichever is greater, measured 1.5 m (5 ft) above the floor in the occupiable area,
using the A-weighted scale (dBA).”
When measuring tones, the SPL must be maintained in all parts of the building, however several
cases receive special consideration. Elevators (7.4.2.2) and restrooms (7.4.2.5) are cited.
When determining the level of background noise, it is not necessary to take into consideration
sources such as construction equipment or other sources that would not normally be present.
It is however required to take into consideration normal noise sources that last longer than
60 seconds; vacuum cleaners are cited as an example in Annex A.7.4.1.3.
When designing for new construction where a survey is not possible, Annex A of NFPA 72
provides guidance of the anticipated ambient sound level.
From NFPA 72, 2002 Edition:
A.7.4.2 The typical average ambient sound level for the occupancies specified in Table A.7.4.2 are
intended only for design guidance purposes. The typical average ambient sound levels specified
should not be used in lieu of actual sound level measurements.
Table A.7.4.2 Average Ambient Sound Level According to Location
Location Average Ambient Sound Level (dBA)
Business occupancies 55
Educational occupancies 45
Industrial occupancies 80
Institutional occupancies 50
Mercantile occupancies 40
Mechanical rooms 85
Piers and water-surrounded structures 40
Places of assembly 55
Residential occupancies 35
Storage occupancies 30
Thoroughfares, high density urban 70
Thoroughfares, medium density urban 55
Thoroughfares, rural and suburban 40
Tower occupancies 35
Underground structures and windowless buildings 40
Vehicles and vessels 50
Note: Audibility must be verified at the time of system commissioning and periodically verified
in accordance with the requirements stated in the “Inspection, Testing, and Maintenance”
chapter of NFPA 72.
Continued on next page
Audibility
Tones and SPL

5-3
To meet the 15 dBA requirement, there are cases where high levels of background noise require
extremely high levels of emergency annunciation to overcome the noise. When background noise
exceeds 105 dBA or when the SPL calculations require greater than 110 dBA, the use of visual
notification appliances is warranted.
There are cases where the background noise can be reduced or eliminated by allowing the
emergency voice/alarm communications system to remove the source of the noise. For example,
background music can be disabled during an alarm condition.
Very large areas such as arenas pose a particular challenge to meeting NFPA 72 requirements.
These areas have sound systems installed that produce tens of thousands watts of power, however
these systems are not typically designed to meet NFPA 72 requirements. If the systems are
engineered to provide adequate SPL and intelligibility then it would make sense from a
performance perspective to use the systems for emergency evacuation. By working closely with
the AHJ and the building’s owner, it may be possible to allow the use of the existing PA system.
However, some modifications may be required.
Audibility, Continued
High Background
Noise
Large Areas

5-4
Intelligibility has historically been a difficult parameter to measure. Unlike SPL that can easily be
measured with a relatively common dBA meter, intelligibility measurements have previously
required trained acoustical engineers or sophisticated/high end evaluations. NFPA 72 requires that
voice messages to areas of buildings be intelligible without defining a preset limit within the main
body (enforceable part) of NFPA 72.
From NFPA 72, 2002 Edition:
7.4.1.4* Where required, emergency voice/alarm communications systems shall be capable of the
reproduction of prerecorded, synthesized, or live (e.g., microphone, telephone handset, and radio)
messages with voice intelligibility.
Working without a preset limit gives the AHJ latitude to determine adequate intelligibility.
NFPA 72 provides guidance for determining adequate intelligibility with the explanatory
information in the Annex.
From NFPA 72, 2002 Edition:
A.7.4.1.4 Voice intelligibility should be measured in accordance with the guidelines in Annex A of
IEC 60849, Second Edition: 1998, Sound systems for emergency purposes. When tested in
accordance with Annex B, Clause B1, of IEC 60849, the system should exceed the equivalent of a
common intelligibility scale (CIS) score of 0.70. Intelligibility is achieved when the quantity Iav-,
as specified in B3 of IEC 60849, exceeds this value. Iav is the arithmetical average of the
measured intelligibility values on the CIS and (sigma) is the standard deviation of the results.
Objective means of determining intelligibility are found in Part 16 of IEC 60268, The objective
rating of speech intelligibility by speech transmission index. Subject-based techniques for
measuring intelligibility are defined by ANSI S3.2, Method for Measuring the Intelligibility of
Speech Over Communications Systems. ANSI S3.2 should be considered an acceptable alternative
to ISO TR 4870, where referenced in IEC 60268, Part 16, Second Edition: 1998, The objective
rating of speech intelligibility by speech transmission index.
As technology for intelligibility analysis equipment advances, many expect the main body of
NFPA 72 will be changed to require a minimum fixed intelligibility score, that is verifiable with
the equipment designed for this purpose. The SimplexGrinnell STICIS meter and TALKBOX
signal generator is the first such system developed to provide a measurement system that is nearly
as easy to use as a dBA meter, provides readout in CIS units, and is portable.
Note: See the “Measures of Intelligibility” section in Chapter 3 of this guide for more
information. The system uses a subset of the STI method outlined in IEC60628.
Continued on next page
Intelligibility
Intelligibility

5-5
There is significant explanatory information in Annex A, recently revised for the 2002 edition:
From NFPA 72, 2002 Edition:
A.7.4.1.4.
The designer of an intelligible voice/alarm system should possess skills sufficient to properly
design a voice/alarm system for the occupancy to be protected. System designs for many smaller
occupancies can be accomplished satisfactorily, if not optimally, based upon experience with the
performance of other systems in similar spaces. For existing construction, relatively simple
acoustic measurements combined with knowledge of the chosen loudspeaker’s performance
characteristics can frequently result in satisfactory performance using mathematical formulas
developed for the purpose.
For occupancies that do not yet exist, the designer should have an understanding of the acoustic
characteristics of the architectural design, as well as the acoustic performance properties of
available loudspeakers. Architecturally, this includes the physical size and shape of the space, as
well as the acoustic properties of the walls, floors, ceilings, and interior furnishings. A proper
design analysis can sometimes reveal that an intelligible system is not achievable unless some
features of the architectural design are changed. The designer should be prepared to defend such
conclusions and, if necessary, refuse to certify the installation of such a system. While “hand
calculations” and experience work well for simpler installations, more complex designs are
frequently better and more cost-effectively analyzed using one of a number of readily available
computer-based design programs.
The designer and the authority having jurisdiction should both be aware that the acoustic
performance parameters of the chosen loudspeakers, as well as their placement in the structure,
play a major role in determining how many devices are necessary for adequate intelligibility. The
numerical count of devices for a given design and protected space cannot, by itself, be used to
determine the adequacy of the design. Sometimes, the acoustic problems of certain placement
constraints can be satisfactorily overcome through the careful selection of loudspeakers with the
requisite performance characteristics, rather than by increasing their number.
There might be applications where not all spaces will require intelligible voice signaling. For
example, in a residential occupancy such as an apartment, the authority having jurisdiction and
the designer might agree to a system that achieves the required audibility throughout the
apartment, but does not result in intelligible voice signaling in the bedrooms. The system would be
sufficient to awaken and alert. However, intelligibility might not be achieved in the bedrooms with
the doors closed and the sounder in the adjacent hallway or room. In some cases this can require
that messages repeat a sufficient number of times to ensure that occupants can reach a location
where the system is sufficiently intelligible to be understood. Systems that use tone signaling in
some areas and voice signaling in other areas would not require voice intelligibility in those areas
only covered by the tone.
Reverberation times can drop significantly with the presence of plants, furniture, carpeting etc.
If the Certificate of Occupancy (CO) requires intelligibility testing before signing off on the
installation, certain factors should be considered:
• Consider designing to the worst case conditions. This is usually an unfurnished room,
the addition of absorbing materials enhance intelligibility.
• Audibility measurements taken in an unfurnished area can drop by as much as 3 dB with the
addition of absorptive materials.
• For large areas where the reverberation times are expected to drop dramatically, request a
delay in intelligibility testing until furnishings are added.
Intelligibility, Continued
Intelligibility,
(continued)
Intelligibility
Certification

5-6

6-1
This chapter covers a design methodology that can be used to design a speaker system for an
emergency voice/alarm communications system.
The ability to design an emergency voice/alarm communications system which is highly
intelligible at a reasonable cost, represents a significant advantage to the customer. Achieving an
acceptable level of intelligibility by trial and error can be extremely costly. A systematic approach
to the design using basic guidelines and simple models can yield excellent results with a minimum
investment of time.
It is important to understand the physical and acoustical characteristics of the space in which the
system is installed. This requires rough measurements or estimates of the dimensions of the space
and basic acoustical characteristics of the surfaces and furnishings. These factors determine the
reverberation time which influences intelligibility. More sophisticated modeling tools provide
accurate predictions of the reverberation time at any location within the modeled space. Simple
calculations however, provide reasonably accurate assessments that are more than adequate for
most installations.
Longer reverberation times require more care in the system design and even acoustical treatments
to be applied to the room to achieve acceptable levels of speech intelligibility. The lower the
reverberation time, the easier it is to provide a system with highly intelligible speech messaging.
Many spaces requiring emergency voice/alarm communications systems inherently have low
reverberation such as office buildings, retail stores, etc. Acoustical treatments are rarely required
and normal speaker layout rules apply. Churches, train stations, airport, etc. on the other hand
usually have high reverberation times and can require very special techniques to achieve
acceptable intelligibility levels. The sophisticated modeling tools may be required in these
instances.
For most cases a simple calculation of reverberation time can be helpful. Once the acoustical
characteristics of the room are understood, the speaker layout can be achieved.
Refer to the page number listed in this table for information on a specific topic:
Topic See Page #
Design Method 6-2
Recommendations for Maximizing System Intelligibility 6-3
Applying the Methods 6-4
Conclusion 6-13
Chapter 6
Speaker System Design Method
Introduction
In this Chapter

6-2
The steps below summarize the speaker system design method. Use these steps in conjunction
with the Tyco Safety Products iTool (described later in this chapter).
Determine if the room requires advanced design methods. Some characteristics of a difficult
location/space include:
• High Background Noise Levels (Greater than 80 dB).
• Large Spaces with High Ceilings (Greater than 15-foot high ceilings).
• Unique Room Shapes (Rooms with many different angles, spherical shapes, etc.).
• High Reverberation Times (T60 > 1.5).
Use the steps below to calculate the number of speakers:
1. Determine the speaker-to-listener distance (D2).
2. Using D2 and the speaker's polar response, calculate the speaker's coverage area.
3. Select a layout pattern and calculate the number of speakers required for the area.
Use these steps below to determine the required audio power:
1. Using the speaker's sensitivity and speaker-to-listener distance, calculate the listener SPL for
each of the wattage taps. Subtract the SPL variation based on the coverage pattern from
Table 2-3.
2. Determine the SPL requirements by adding the required signal-to-noise ratio (usually 15dB)
to the background noise levels.
3. From Step 1, select the wattage tap that satisfies the SPL requirements determined in Step 2.
4. Multiply the wattage tap selection by the number of speakers in the room to determine the
total audio power required.
This optional step is recommended for areas of high reverberation or of complex geometry.
Modern modeling tools such as EASE® from Renkus-Heinz and Modeler® from Bose use
sophisticated ray-tracing algorithms to accurately predict intelligibility.
As part of system commissioning the audibility for every area must be verified. This can be
accomplished with a simple SPL meter set to read decibels with the “A” weighted filters applied.
The audibility of the primary evacuation signal is measured, typically a temporal coded horn or
slow whoop horn is used. The audibility of emergency voice/alarm communications messages is
typically not recorded due to the varying nature of speech.
Speaker Design Method
Introduction
Step 1:
Room
Characteristics
Step 2:
Calculate the
Number of Speakers
Step 3:
Audio Power and
Individual Speaker
Wattage Tap
Step 4:
Model Design to
Predict Intelligibility
Step 5:
Verify Final
Installation

6-3
Use the following recommendations to maximize system intelligibility:
• Ensure at least an 8 dBA signal-to-noise ratio with regard to the speech signal.
Note: This can result in a higher than 15 dB signal-to-noise ratio for notification tones. If
the notification tones become too loud for a particular location, consider reducing the volume
of the tone with respect to the speech signal.
• Ensure adequate direct sound field coverage for the type of space. Speaker layout pattern
selection is critical in providing sufficient coverage at a reasonable cost. In areas with high
reverberation times it is possible to improve intelligibility by decreasing the separation
between the loudspeakers and the listeners. This increases the ratio of direct to reverberant
sound and improves intelligibility, but usually requires more loudspeakers to provide the same
level of coverage.
• Improve signal-to-noise ratio by putting speakers where people are located. This assures
good coverage and minimizes stray acoustical that adds to reverberation without contributing
to intelligibility. In rooms with high ceilings, the areas near the edge of the room can be
covered more effectively with wall mount speakers.
• In areas with high ceilings, directional speakers should be selected to avoid multiple speaker
interactions.
• Care must be taken to avoid signal distortion. It is critical to ensure that signal levels are
properly adjusted so that signal distortion does not occur. Properly installed and maintained
emergency voice/alarm communications systems deliver low distortion by design.
• Apply acoustic treatments to reduce reverberation.
Recommendations for Maximizing System Intelligibility
Maximizing
Intelligibility

6-4
The following examples illustrate the design methodology outlined earlier in this chapter.
For these examples, computer based modeling was employed using Tyco Safety Products “iTool”
to demonstrate intelligibility.
Note: See the iTool Installation and User’s Guide (579-772) for iTool installation and operation
instructions. The screens in this publication were current at the time of print. The iTool
software interface may appear slightly different on your system.
A common system design involves office space. These spaces are typically benign acoustically,
with low reverberation times and low background noise levels. Consider a large office area with
the following specifications:
• Dimensions = 340’ L x 54’ W x10’ H
• Flooring = Carpeted Floor Over Concrete
• Ceiling = Acoustic Tile
• Walls = Gypsum over 2” x 4”, (16” on center) and 0.375” Plywood Paneling
• Ambient Noise = 55 dB (Typical background noise for an office setting).
This information is entered into the iTool:
Figure 6-1. iTool Office Space Example
The following basic results are attained from the iTool:
• The iTool reverberation time calculator estimates a reasonable T60 time of 0.4 seconds.
Modest reverberation times are to be expected in a room with acoustic ceiling tile and
carpeting.
• Using an Edge-to-Edge pattern, the resulting total number of speakers is 135 tapped at
0.25 W, for a total of 34 W of audio power required.
Continued on next page
Applying the Methods
Design Examples
Example 1:
Office Space

6-5
Click the “Speaker Location” tab on the iTool for more detailed information. The following
screen shows a speaker location guide for the office space:
Figure 6-2. Office Space Speaker Location Guide
SPL distribution information, reverberation time results, and speaker coverage information are
also available:
Continued on next page
Applying the Methods, Continued
Example 1:
Office Space,
(continued)
Figure 6-3. Office Space SPL Distribution Figure 6-4. Office Space Reverberation Time Results
and Coverage Information
Speaker Location Tab

6-6
In this example, consider a standard office corridor with the following specifications:
• Dimensions = 100’ L x 12’ W x10’ H
• Flooring = Tile
• Ceiling = Acoustic Tile
• Walls = Gypsum over 2” x 4”, (16” on center)
• Ambient Noise = 60 dB
Figure 6-5. Corridor Design Example
The following basic results are attained from the iTool:
• The iTool reverberation time calculator estimates a reasonable T60 time of 0.7 seconds.
• Using wall mount speakers in an Edge-to-Edge pattern, the resulting total number of speakers
is 5 tapped at 0.25 W, for a total of 1.25 W of audio power required.
Continued on next page
Applying the Methods, Continued
Example 2: Corridor

6-7
Click the “Speaker Location” button on the iTool for more detailed information. The following
screen shows a speaker location guide for the corridor:
Figure 6-6. Corridor Speaker Location Guide
SPL distribution information, reverberation time results, and speaker coverage information are
also available:
Continued on next page
Applying the Methods, Continued
Example 2: Corridor,
(continued)
Figure 6-7. Corridor SPL Distribution Figure 6-8. Corridor Reverberation Time
Results and Coverage Information

6-8
Gymnasiums are notoriously bad acoustic environments. Extremely high reverberation times can
be expected because of the large room volume plus the hard walls, wood floors, and plaster or
metal ceilings. Gymnasiums typically require surface treatments and sound absorbers and
specialized speaker clusters and/or speakers with high Q values. In addition, the background noise
is highly dependent on the use of the gym; if there is an audience the noise level can get very high.
Consider this gymnasium example with the following specifications:
• Dimensions = 80’ L x 160’ W x 20’ H
• Flooring = Wood
• Ceiling = Gypsum
• Walls = Gypsum
• Ambient Noise = 50 dB
This information is entered into the iTool:
Figure 6-9. iTool Gymnasium Example
The following basic results are attained from the iTool:
• The iTool reverberation time calculator estimates a very high T60 time of 5.2 seconds.
Note: Additional detailed modeling is most likely necessary due to the high T60 time.
• Using the iTool with an Edge-to-Edge pattern, the resulting total number of speakers is
8 tapped at 0.25 W, for a total of 2 W of audio power required.
Continued on next page
Applying the Methods, Continued
Example 3:
Gymnasium

6-9
Click the “Speaker Location” button on the iTool for more detailed information. The following
screen shows a speaker location guide for the gymnasium:
Figure 6-10. Gymnasium Speaker Location Guide
SPL distribution information, reverberation time results, and speaker coverage information are
also available:
Continued on next page
Applying the Methods, Continued
Example 3:
Gymnasium,
(continued)
Figure 6-11. Gymnasium SPL Distribution Figure 6-12. Gymnasium Reverberation Time Results
and Coverage Information

6-10
During an intelligibility survey in an office building, an employee lobby area measured 0.60 CIS
intelligibility, failing the NFPA suggested 0.70. This room is characterized by tile floor, hard
walls, and one wall made up mostly of glass, see the figure below. The SPL is adequate at 79 dB
for an average background noise level of 47 dB.
Figure 6-13. Lobby Example
Lobby Example:
• Dimensions = 24’ L x 16’ W x 10’ H
• Flooring = Tile
• Ceiling = Acoustic Tile
• Walls = Three Walls of Finished Wood, One Glass
• Ambient Noise = 50 dB
Figure 6-14. Lobby Example
The following basic results are attained from the iTool:
• The iTool reverberation time calculator estimates a reasonable T60 time of 0.62 seconds.
• Using an Edge-to-Edge pattern, the resulting total number of speakers is 4 tapped at 0.25 W,
for a total of 1 W of audio power required.
Continued on next page
Applying the Methods, Continued
Example 4:
Lobby

6-11
The existing design had two wall mounted speakers, to the left and right of the entrance doors.
Figure 6-15. Lobby Layout
The following screens below show the lobby speaker location guide and the SPL distribution for
the lobby:
Continued on next page
Applying the Methods, Continued
Example 4:
Lobby, (continued)
Figure 6-17. Lobby SPL Distribution
Figure 6-16. Lobby Speaker Location Guide
Stairwell Command Center
Reception Desk

6-12
The following screen shows the reverberation time and speaker coverage information:
Figure 6-18. Lobby Reverberation Time and Speaker Coverage Information
Applying the Methods, Continued
Example 4:
Lobby, (continued)

6-13
Designing Emergency Voice/Alarm Communications Systems for Speech Intelligibility requires
awareness of the area dimensions, anticipated background noise level; wall, ceiling, and floor
materials; anticipated occupancy, and any other characteristics that may influence the desired
acoustical properties. This guide has presented a summary of those considerations in order to
better understand the concept of speech intelligibility.
If an area is quite large, or is expected to have significant reverberation characteristics, or has
other complicating influences such as high ambient noise, speaker selection and placement will
require sophisticated modeling tools to determine the equipment needed for proper speech
intelligibility. However, if the areas of concern are easily defined, are relatively small, and are
expected to provide minimal reverberation, the methods described in this guide provide a good
reference toward understanding proper speaker selection and placement.
Contact your local SimplexGrinnell representative for additional information concerning the
STI-CIS Analyzer and for information about the Simplex line of Emergency Voice/Alarm
Communications Systems.
Conclusion
In Closing

6-14

7-1
This chapter contains a glossary of technical terms that are used throughout this manual.
Refer to the page number listed in this table for information on a specific topic.
Topic See Page #
Glossary 7-2
Chapter 7
Glossary of Terms
Introduction
In this Chapter

7-2
This list provides brief descriptions of various terms relating to this publication:
ABSORPTION COEFFICIENT – The ratio of absorbed-to-reflected sound. The absorption
coefficient has a range of 0 to 1.
“A” WEIGHTED DECIBEL – The ear is less sensitive to low frequency pitch at low volume
levels, the “A” weighted correction curve is applied to SPL measurements to equalize the loudness
of sounds over the hearing range. Meters configured with the “A” weighted filter read out in units
of dBA, short for “A” Weighted Decibel.
AHJ – The “Authority Having Jurisdiction” is the organization or person responsible for
approving fire alarm installations for occupancy.
AUDIBILITY – A measure of loudness of a sound. When used with respect to fire alarm
systems, audibility is regarded as the evacuation signal level above background noise.
CIS – The “Common Intelligibility Scale” is a standardized scale that correlates a variety of
intelligibility measurement methods.
CLIPPING – When part of the electrical signal path exceeds the capacity of the component audio
“Clipping” can occur, causing a reduction in intelligibility.
COMBINATION SYSTEM – A fire alarm system that is also used for non-fire alarm functions.
Combination Systems contain not only typical configurations of fire alarm and emergency
voice/alarm communications systems, but also sound systems for background music and paging
for non-emergency messaging.
COMMAND CENTER – The area of a building (usually near the entrance) that acts as the
communications center for emergency personnel. The command center is used to display the fire
alarm system status and control the annunciation system. This area typically includes the
equipment required to generate and distribute messages throughout the building’s fire alarm audio
network.
CONSTANT VOLTAGE – Speakers used for a distributed emergency evacuation system are
wired as a “Constant Voltage” system, where the voltage at each speaker is the same (typically
25V or 70.7V) at the maximum power output of the amplifier.
COVERAGE ANGLE – The angle where the speaker Sound Pressure Level (SPL) drops 6 dB
from the on-axis SPL.
COVERAGE AREA – The plane where the Sound Pressure Level (SPL) at the edge of the plane
drops 6 dB below the on-axis SPL.
CRITICAL POLAR ANGLE – The angle where the sum of the distance loss and the polar loss
is 6 dB less than the on-axis Sound Pressure Level (SPL).
DECIBEL – A unit used to express relative difference in power, usually between acoustic or
electric signals, equal to ten times the common logarithm of the ratio of two power levels or
20 times the common logarithm of the ratio of two voltage levels.
DIGITAL RISER – A digital system that transmits multiple channels of digital audio throughout
a facility. A single pair of wire is used to transmit up to eight channels of digitally encoded audio
signals. The digital riser is considered a signaling line circuit, and is wired in a Style 4 or Style 7
configuration.
DIRECTIVITY FACTOR “Q” – A common representation of speaker directivity for speakers
having a conical coverage pattern (typical of single driver speakers used in fire alarm
applications). Q is determined by an equation covered in Chapter 2 of this manual.
Continued on next page
Glossary
Glossary or Terms

7-3
DISTORTION – The undesired change in the waveform of a signal that can lead to diminished
clarity in reception or reproduction.
ECHO – The repetition of sound by reflection of sound waves from a surface.
FIBER OPTIC RISER – An analog or digital risers that uses fiber optic distribution media.
Fiber optic systems have the advantage of immunity to electrical noise and Earth faults.
FREQUENCY – The number of repetitions per unit time of a complete waveform as of an
electric current.
INTELLIGIBILITY – The capability of being understood or comprehended.
INVERSE SQUARE LAW – A drop in Sound Pressure Levels (SPLs) is referred to as the
“Inverse Square Law.” The law originates from the fact that as the diameter of the sound-sphere
doubles, the surface area increases by a factor of four. This behavior of outwardly radiating sound
causes a drop in SPL of –6dB per doubling of distance. (See Chapter 2 of this manual to see this
law applied.)
NFPA – The “National Fire Protection Agency (NFPA)” is the organization responsible for
several codes and guidelines related to the Fire Alarm/Protection Industry. Many of these codes
are referenced and discussed in this publication.
OCTAVE – A tone that is eight full tones (diatonic degrees) above or below another given tone.
(One tone has twice as many vibrations per second as the other.)
OHM’s LAW – Electrical current is directly proportional to voltage and inversely proportional to
resistance I = E/R.
PHON – A unit of subjective loudness.
PHONEMES – The sounds that make up spoken words.
POLAR PLOTS – The correlation between speaker SPL and off-axis angle that is occasionally
provided by manufacturers.
REVERBERATION – (Also known as T60 times) is the amount of time it takes for a sound to
diminish to 60 dB below the original level. Reverberation is produced when sound reflects off
walls and other surfaces. What the listener hears is the direct sound from the speaker plus the
reflected sound from the reverberation.
RISER – The riser is the wiring that connects the command center with the amplification
equipment. There are several types of risers depending on the application: Analog, Digital, and
Fiber Optic.
SENSITIVITY – The sensitivity is the amount of sound (Sound Pressure Level) produced by the
speaker with a known signal frequency, power level and distance from the speaker.
SOUND PRESSURE LEVELS (SPL’s) – The level of sound pressure that is typically expressed
in decibels.
STI METHOD – An intelligibility measurement method that measures the modulation transfer
function for 14 modulation frequency bands spaced at 1/3-octave intervals from 0.63 Hz to
12.5 Hz, across seven frequency bands from 125 Hz to 8 kHz.
TRANSPONDER – Receives the riser from the command center, amplifies and distributes
signals to the speaker circuits. The transponder also interfaces to detection equipment and other
signaling circuits (strobes, deluge valves, etc.) and communicates status back to the command
center.
Glossary, Continued
Glossary or Terms,
(continued)
7-4
IN-1
%
%ALcons, 3-7
A
acoustical treatment, 2-7
acoustics, 2-6
AHJ, 7-2
Amplifiers, 4-3
audibility, 5-2, 7-2
audio riser interface modules, 4-3
B
background noise, 3-3, 5-3
C
Ceiling height, 2-14
CIS, 3-6, 7-2
clipping, 7-2
combination system, 7-2
command center, 4-3, 7-2
Common Intelligibility Scale (CIS), 3-6
constant voltage, 7-2
coverage angle, 7-2
critical polar angle, 2-13, 2-14, 7-2
D
dB and distance chart, 2-9
decibel, 7-2
Decibel, 2-2
decibels, adding, 2-3
design method, 6-2
digital riser, 7-2
directivity factor, 2-11
directivity factor, 7-2
distortion, 3-5, 7-3
distributed speaker, 3-9
E
echo, 7-3
emergency voice evacuation systems, 1-1
emergency voice/alarm communications
system, 4-2
equal loudness curves, 2-4
F
fiber optic riser, 7-3
fire alarm audio systems, 4-3
frequency, 7-3
G
Glossary of Terms, 7-1
I
intelligibility, 3-2, 5-4, 7-3
Intelligibility, 1-1
intelligibility, certification, 5-5
inverse square law, 2-9, 7-3
M
Microphone technique, 3-5
N
NACs, 4-3
NFPA, 7-3
O
Ohm’s Law, 2-2, 7-3
Overview, 1-1
P
percent ALcons, 3-7
phon, 7-3
phonetically balanced word scores, 3-7
polar plots, 2-10, 7-3
power ratings, 2-15
publications, related, v
R
RASTI, 3-7
regulatory issues, 5-1
related publications, v
reverberation, 2-6, 3-4, 7-3
Reverberation, estimating times, 2-7
riser, 4-3, 7-3
riser, analog, 4-3
riser, digital, 4-3
riser, fiber optic, 4-3
Robinson and Dadson equal loudness
curves, 2-4
room design calculator, 6-4
S
Sabine and Eyring equations, 2-7
sensitivity, 7-3
signal-to-noise ratio, increasing, 2-8
sound pressure levels (SPL), 7-3
Sound Pressure Levels (SPL), 2-2
speaker circuits, 4-4
speaker coverage, 2-12
Index
IN-2
speaker dispersion angle, 2-10
Speaker layout patterns, 2-15
speaker placement, 2-7
speaker, sensitivity, 2-10
speech pattern, 3-4
speech pattern, modulations, 2-5
STI method, 3-7, 7-3
STI-CIS Intelligibility Measurement
System, 3-8
STIpa, 3-7
STITEL, 3-7
system design tools, 3-9
T
transponder, 4-3, 7-3
V
voice alarm systems, 4-2
W
wall mounted speakers, 2-16
wall mounted speakers, advantages, 2-16
wall mounted speakers, design, 2-17
wall mounted speakers, disadvantages, 2-16
word scores, 3-7


7-1
579-769
Rev. C
Printed in the U.S.A. Specifications and other information shown were current as of publication, and are subject to change without notice.
© 2005 Tyco Safety Products – Westminster. All rights reserved.