UTStarcom Korea Technologies UTS-600FSU Local loop desk phone User Manual CERTIFICATE OF COMPLIANCE
UTStarcom Korea Technologies Ltd. Local loop desk phone CERTIFICATE OF COMPLIANCE
Contents
- 1. Manaul
- 2. Updated manual
Manaul

360 Herndon Parkway Work Order: 2002018 Revision: 2
Suite 1400 Quote Number: QRTL02-241 Revision:
Herndon, VA 20170 FCC CFR 47 Rules and Regulations
http://www.rheintech.com Industry Canada Standard(s)
Page 39 of 85
© Rhein Tech Laboratories, Inc.
APPENDIX I: MANUAL

Instruction Manual

CONTENTS
WARNING! FCC RF EXPOSURE COMPLIANCE.......................................................................... 1
1. BEFORE USING THIS PRODUCTS ...................................................................... 2
1.1 EXPLANATION OF ALERT SYMBOLS USED IN THIS MANUAL .............................. 2
1.2 FOR SAFE OPERATION - IT IS IMPORTANT YOU READ THIS........................... 3
Telephone handling instructions .......................................................................................................... 3
FOR SAFE OPERATION - IT IS IMPORTANT YOU READ THIS (continue) ...... 4
1.3 FOR SAFE OPERATION - IT IS IMPORTANT YOU READ THIS........................... 5
AC Adapter handling instructions ...................................................................................................... 5
FOR SAFE OPERATION - IT IS IMPORTANT YOU READ THIS (continue) ...... 6
1.4 CAUTION OF USING.............................................................................................................................. 7
1.5 FEATURES OF DESKTOP TELEPHONE UTS600................................................... 8
Benefits................................................................................................................................................................... 8
1.6 CHECK PACKEAGE CONTENTS.................................................................................................. 9
1.7 NAMES AND FUNCTIONS......................................................................................................... 10
2. OPERATION........................................................................................................................... 12
2.1 PREPARATION .......................................................................................................................................... 12
2.2 Antenna Orientation ............................................................................................................................................... 13
Antenna Type Determination Guidelines............................................................................................. 13
Main Unit Site Selection ................................................................................................................................14
Installation Accessories, Standard and Special Tools ................................................................... 14
Coaxial Cable Installation ................................................................................................................................. 16
Antenna Installation.............................................................................................................................................. 17
2.3 OPERATION................................................................................................................................................. 21
Placing a Call ............................................................................................................................................................. 21
Receive a Call ............................................................................................................................................................ 22
3. MAINTENANCE.................................................................................................................. 22
4. SPECIFICATIONS ........................................................................................................................ 22

1
WARNING! FCC RF EXPOSURE COMPLIANCE
This PCS base station complies with the Federal Communications Commission (FCC) RF
exposure limits for General Population/Uncontrolled exposure environment. In addition, it
complies with the following Standards and Guidelines:
• FCC 96-326, Guidelines for Evaluating the Environmental Effects of Radio-Frequency
Radiation.
• FCC OET Bulletin 65 Edition 01-01 (2001) Supplement C, Evaluating Compliance with
FCC Guidelines for Human Exposure to Radio Frequency Electromagnetic Fields.
• ANSI/IEEE C95.1-1992, IEEE Standard for Safety Levels with Respect to Human
Exposure to Radio Frequency Electromagnetic Fields, 3 kHz to 300 GHz.
• ANSI/IEEE C95.3-1992, IEEE Recommended Practice for the Measurement of
Potentially Hazardous Electromagnetic Fields - RF and Microwave.
Antenna Installation Requirement:
The antenna(s) used for this transmitter must be installed to provide a separation
distance of at least 20 cm from all persons and must not be co-located or operating in
conjunction with any other antenna or transmitter.

2
1. BEFORE USING THIS PRODUCTS
1.1 EXPLANATION OF ALERT SYMBOLS USED IN THIS MANUAL
So that user can use this product in the correct safe manner, this instruction manual
uses various alert symbols. These symbols are for the prevention of injury to the user
or others and for the prevention of property damage.
The following shows the symbols and explains their meaning.
Please learn these symbols before reading this manual.
Example of alert symbols
This symbol indicates that ignorance of the
symbol and the instruction given together wit
h
it or erroneous on the product may cause a
n
imminent hazard which directly results i
n
personal serious injury or death.
This symbol implies a factor that may cause
personal serious injury or death due to
ignorance of the symbol and of the instructions
given together with it or erroneous operations
of the product.
This symbol implies a factor that may cause
p
ersonal injury or property damage due to
ignorance of the symbol and of the instructions
given together with it or erroneous operations
on the
p
roduct.
This symbol indicates CAUTION (includes DANDER and
WARNING), the pictures in the triangle show caution
details.(The left picture shows a general warning.)
These symbol indicate actions that must not be performed.
Carefully read the given instructions and DO NOT carry
out these actions. (The left picture shows DO NOT
DISASSEMBLE.)
These symbol indicate actions that must be followed.
Carefully read the given instructions and always carr
y
them out. (The left picture shows REMOVE PLUG.)
DO NOT
DISASSEBLE
DO NOT
PERFORM
REMOVE
PLUG
INSTRUCTIONS

3
1.2 FOR SAFE OPERATION - IT IS IMPORTANT YOU READ THIS
Telephone handling instructions
Otherwise, continued use may cause
fire. Take it to the dealer
p
rom
p
tl
y
.
In the event that smoke (o
r
strange odors) comes fro
m
this telephone, immediately
Otherwise, it may cause fire o
r
explosion
Do not turn this telephone o
n
where there is dust o
r
flammable substance such as
p
ropane gas or gasoline.
Otherwise, use of telephone may
adversely affect medical electronic
equipment.
When using in hospitals,
always follow the directions
of that medical facility
Otherwise, it may cause electric
shock or breakage.
Do not insert any metal
p
ieces or foreign matter into
crevices on this phone.
Otherwise, it may cause breakage.
Do not give it a strong shoc
k
or throw it.
Use this phone may cause electric
equipment to malfunction.
Examples of sensitive electronic
equipment include:
Hearing aids, medical apparatus
(pacemakers included), fire alarms,
automatic doors and othe
r
automatic control equipment.
If you are using a pacemaker o
r
some other medical apparatus, as
k
medical apparatus makers or dealers
about the effect which will be
caused by the radio wave from the
tele
p
hone.
Do not turn this telephone on
near electronic equipment
that uses sensitive controls
or weak signals.
Otherwise, it may cause damage o
r
an accident such as fire or in
j
ur
y
.
Do not disassemble o
r
modify this telephone.

4
FOR SAFE OPERATION - IT IS IMPORTANT YOU READ THIS (continue)
N
ever attempt to dry you
r
telephone if it is gets wet b
y
p
lacing it in a microwave
oven, also never place this
p
hone in or on microwave
ovens, high voltage
containers or electronic
cooking equipment.
Otherwise, it may cause injury by
tumblin
g
or breaka
g
e.
Do not get on this telephone.
(Especially be careful with
small children.)
Otherwise, it may cause a fire or
a
b
reaka
g
e.
Do not put this telephone i
n
a dusty, humid or hot place.
Otherwise, it may cause a breakage.
Do not put this telephone
near heaters or fires.

5
1.3 FOR SAFE OPERATION - IT IS IMPORTANT YOU READ THIS
AC Adapter handling instructions
Otherwise, it may cause an electric
shock or fire.
Do not damage AC adapte
r
b
y forcefully bending o
r
b
undling the AC adapte
r
code.
Connecting to the wrong powe
r
source may cause a fire or breakage.
Always use the designed
p
ower source.
Otherwise, it may cause breakage,
dire or in
j
ur
y
.
Do not make a short circui
t
b
etween the DC outpu
t
terminals.
Otherwise, it may cause an electric
shock or breakage. Take it to the
dealer promptly.
In case of dropping o
r
breaking AC adapter,
immediately unplug AC
adapter form AC outlet.
Otherwise, it may cause an electric
shock.
Do not handle AC adapter o
r
DC plug of the AC adapte
r
with wet hand.
Otherwise, it may cause electric
shock or breaka
g
e.
Do not insert any metal
p
ieces or foreign matter into
crevices on this phone.
Otherwise, it may cause breakage
and in
j
ur
y
b
y
hittin
g
y
ou or others.
Do not swing the AC adapte
r
by holding the cord.
Otherwise, it may cause an electric
shock or fire.
Do not place heavy items on
AC adapter cord and do no
t
modify it.

6
FOR SAFE OPERATION - IT IS IMPORTANT YOU READ THIS (continue)
Otherwise, it may cause a fire.
Do not leave pr use in direc
t
sunshine or places with high
temperature.
Pulling the AC adapter by its cor
d
may cause cord damage, with ma
y
r
esu
lt in fir
e
o
r
soc
k
.
Always unplug the AC
adapter to be by hold1ng
its case.
Otherwise, continued use may cause
a fire or electric shock.
Repairing by yourself is dangerous,
so take it to the dealer promptly.
In the event that smoke o
r
strange odors from AC
adapter, unplug the AC
Adapter from the AC outle
t
immediately.
Otherwise, it may cause a fire,
electric shock and breakage.
Unplug AC adapter from AC
outlet during thunder shower.
Using AC adapter may cause
a
b
reaka
g
e.
Always use the designated
AC adapter.
Otherwise, it may cause a fire,
electric shock or emission.
If the AC adapter is expose
d
to water, unplug the AC
adapter from the AC outle
t
immediately.
(Especially, be careful with small
children.)
Otherwise, it may cause injury b
y
tumbling or breaking.
Do not get on the AC
ada
p
ter.
O
th
e
r
w
i
se,
it m
ay
cause
a
fir
e.
Do not use table tap,
divergence point o
r
divergence socket adapter to
p
ut many loads on one AC
outlet.

7
1.4 CAUTION OF USING
About water and rain
Do not use it in bathroom or plunge it into water.
Try to avoid telephone from getting wet by rain drops etc.
If the phone gets wet, immediately wipe it with dry cloth.
Operating environment
You may hear some noise when cars or motor cycles pass by.
You may hear some noise or your phone call may be cut off if you use it by OA
equipment or electrical equipment.
You may hear some noise or your phone call may be cut off if you use it near a
microwave oven because of the electromagnetic waves.
If you use this telephone near the TV or radio, the screen may get messy or you
may hear some noise.
Try to use this telephone where it can get strongest radio wave. The usable area
can be restricted by the surrounding environment (wall, furniture etc.).
Radio waves can be jammed by material of furniture, so avoid using it near them.

8
1.5 FEATURES OF DESKTOP TELEPHONE UTS600
UTS600 Desktop Telephone is a digital wireless telephone that incorporated PHS digital
cordless-phone technology in an ordinary touch-tone telephone.
UTS600 connects wirelessly to existing PHS network rather than a landline.
UTS600 operates just like an ordinary wire-line telephone.
You pick up the handset, hear a dial tone, and enter the phone number on the keypad
and waits for a connection.
UTS600 includes common wire-line phone features such as call waiting, redial and
hook flash, which can be accessed with a single key.
Benefits
• High Voice Quality
• Removable Whip Antenna
• External Directional High-gain Antenna (Option, Ga=10dBi, 14dBi)
• External Power Supply Unit with built-in back-up battery (Option)
• External Earphone & Microphone Jack for FAX
• 3 Function keys

9
1.6 CHECK PACKEAGE CONTENTS
Check package components after opening box.
Desktop Telephone Whip Antenna
AC Adapter

10
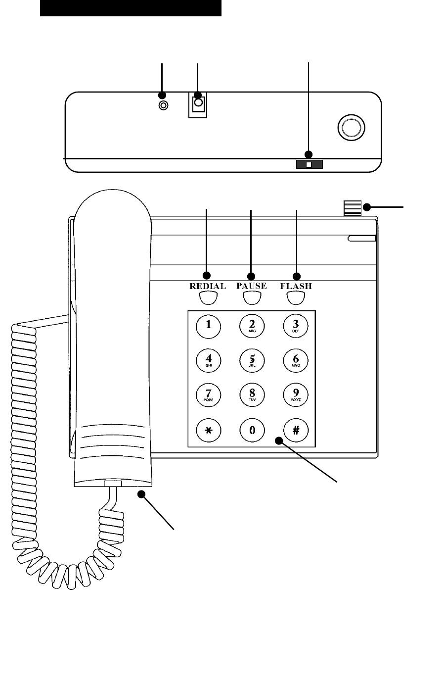
1.7 NAMES AND FUNCTIONS
1 Earphone/Microphone Jack
2. DC IN Jack
3. Ringer Volume Switch
4. REDIAL key
5. PAUSE key
6. FLASH Key
7. Antenna Connector
8. Handset
9. Keypad
1 2 3
4 5 6 7
8
9
11
a. Earphone/Microphone Jack
Connect earphone and external microphone instead of handset receiver and
microphone.
b. DC IN Jack
DC Power supply connector for telephone.
Connect DC plug of attached AC adapter
c. Ringer Volume Switch
Select Ringer Sound Level by this switch to "High" or "Low".
d. REDIAL Key
Press this key to place a call by redial.
e. PAUSE Key
Press this key to hold a conversation.
f. FLASH Key
Press this key to use "Hook Flash" function.
g. Antenna Connector
Connect attached whip antenna or an external high gain antenna (option).
h. Handset
i. Key Pad

12
2. OPERATION
2.1 PREPARATION
Connect Whip Antenna to Desktop Telephone antenna connector.
Flex the Whip Antenna as shown below.
Insert AC plug of AC adapter into AC outlet, and insert DC plug into the Desktop
Telephone DC IN jack..
Antenna Connector
Desktop Telephone
Whip Antenna
To AC Outlet
AC Adapter
Desktop Telephone
DC Plug

13
2.2 Antenna Orientation
Careful placement of the antenna is necessary to ensure clear reception. Position the
antenna so that it is:
• In clear view of a Radio Port
• Not blocked by buildings, summer foliage nor heavy
traffic of large vehicles
• At least 2 meters in height, use Coverage Map and
on-site measurements to determine exact height,
usually 2 meters or higher
• Directed towards the strongest RSS measurement,
for directional antenna only
• On a wall or pole that is sufficiently strong, make
sure wall or pole can withstand winds common to
the area
• Away from other objects such as poles, trees,
buildings, and so on that block the signal from the
Radio Port; in general the minimum distance is 750
mm.
Antenna Type Determination Guidelines
The Coverage Map shows Radio Port locations and the area covered by the RP. The
type of antenna installed depends on its distance from the Radio Port. In general:
If distance is… Then use…
Less than 500m 4.5 dBi omni or directional
antenna
Between 400m and 700m 7 dBi omni or directional
antenna
Greater than 700m 10 dBi directional antenna
Table 2-1: Antenna Type Determination Guidelines
There may be exceptions to the requirements in Table 2-1 identified by on-site RSS
measurements and/or by the specific radio environment.
14
Main Unit Site Selection
Choose a suitable location for the FSU Main Unit. Make sure the site will not expose
the device to:
• Direct sunlight
• Dampness or moisture
• Dust
• Magnetic fields
• Vibration
• Extremes of heat, cold or humidity.
Install the FSU on a stable surface, such as a desk or wall. Consider the length of the
AC Adapter cord in determining the Main Unit’s location. To avoid possible
interference from the connected telephone, make sure the Main Unit is installed at least
1 meter away. To minimize the length of coaxial cable between the main unit and the
antenna, position the indoor main unit as close as possible to the outdoor antenna.
Note : Make sure that the FSU Main Unit is positioned so that the green
LEDs are visible to the subscriber. When reporting trouble, the
subscriber will be asked the status of the LEDs.
Installation Accessories, Standard and Special Tools
This section lists all the equipment needed for and FSU installation. Be sure to have
all of these items on hand before beginning.
Accessories:
• Coaxial cable
• Coaxial cable connector (2 pieces)
• Marker
• PVC tape
• Self-adhesive rubber tape
• Earth cable
• Solderless grounding terminal (optional)
• Bracket for cable
15
• U-bolt for pole mount
• Terminal lug
• Terminal lug crimper
Note : In areas where lightning may strike, a lightning protector is
required.
Standard Installation Tools:
• Wire cutter
• Adjustable wrench
• Pliers
• Cutter
• Flat screwdriver
• Phillips (or Plus) screwdriver
• Electric drill
• Step ladder
• AC power extension cord
Special Tools for Cable Termination:
• Cable stripper
• Crimper
Antenna Orientation Instruments:
• Map
• Compass
• Binoculars
Measuring Receiver or Equivalent:
• Measuring receiver
• Memory card
• AC adapter
• Adapter (3-poles→2-poles conversion)

16
• Coaxial cable adapter TNC-J/SM-J (optional)
• 5 meters of coaxial cable (optional)
• Power cable
Coaxial Cable Installation
Once the locations for the antenna and the main unit have been determined, use the
procedures in this section to install the cable.
1. Measure and cut a length of cable to fit between the
main unit and the antenna.
2. Run the cable between the main unit and the
antenna.
3. Using the cable stripper, strip both ends of the
coaxial cable. Refer to the figure below for exact
dimensions to strip.
6mm 6mm
3mm
Figure 2-1: Stripped Coaxial Cable
4. Carefully mount the coaxial cable terminals onto the
cable ends.
5. Affix the cable terminals using the crimper.

17
Antenna Installation
NOTE : The antenna shown in this manual is one of the three types of
antennae used in the UTStarcom-WLL system.
1. Unpack the FSU Antenna and accessories. Make
sure all parts are in good condition. The FSU
Antenna and accessories are shown in Figure 2-2.
(1) Antenna (1) Bracket
(2) Bolt (M6)
(2) Hexagon Nut
(2) Spring Washer
(4) Plain Washer
(2) Screws
(2) small Plain Washer
(2) small Spring Washer
Figure 2-2 : FSU Antenna and Accessories

18
2. Assemble the FSU antenna by attaching the bracket
to the antenna according to Figure 2-3.
Figure 2-3: Antenna Bracket Assembly
3. After installing the antenna, use the PHS Signal
Analyzer to check the receiving signal level.
Measure the reception level (RX LVL) at the TNC
connector on the FSU. Target values are as
follows:
• RX LVL: more than -78dBm (35dBµV)
• Frame Error Rate: less than 2%

19
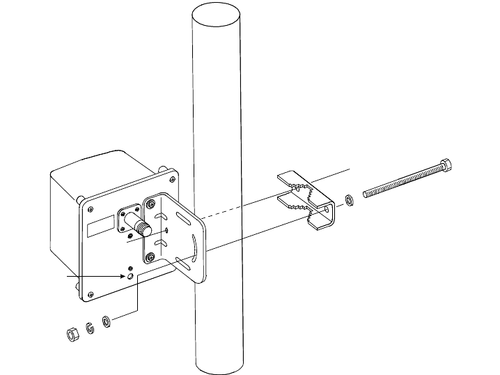
4. At the site selected for the FSU antenna, tentatively
mount the antenna and take several RSS
measurements approximately 15 cm from the
antenna. Position the antenna where it receives that
strongest signal. Then mount the antenna on a pole.
Refer to the figure below for assembly of the bracket
onto the pole
Weep Hole
Figure 2-4 : Antenna Mounted On Pole
Note : Make sure that the weep hole is positioned at the lower edge of the
antenna bracket as shown in Figure 2-4.
5. After installing the antenna, use the PHS Signal
Analyzer to check the receiving signal level.
Measure the reception level (RX LVL) at the TNC
connector on the FSU. Target values are as
follows:
• RX LVL: more than -78 dBm (35
dBµV)
• Frame Error Rate: less than 2%

20
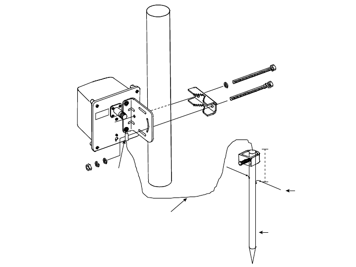
WARNING : DEPENDING ON LOCATION, IT MAY BE
NECESSARY TO GROUND THE ANTENNA TO
PREVENT DAMAGE BY LIGHTNING. REFER TO
THE FIGURE BELOW FOR A DIAGRAM OF THE
EARTH CABLE CONNECTION.
AWG 12
copper wire
insulated
6 inches above ground
ground line
5 ft. by .5 inch
copper clad rod
Terminal Lug
Figure 2-5 : Earth Cable Connection
6. Attach a terminal lug to the lower bracket screw and
tighten screw.
7. Plug insulated copper wire into the terminal lug and
use the terminal lug crimper to affix the copper wire
to the terminal lug.
8. Attach the other end of the copper wire to a copper
clad rod as shown in the figure above.

21
9. Connect the coaxial cable to the antenna as shown in
Figure 2-6.
Coaxial Cable
Figure 2-6 : Coaxial Cable Connection to Antenna
10. Wrap the cable connection first with the
self-adhesive rubber tape. Stretch the tape until it is
½ its original width. Then wrap the PVC tape around
the rubber tape.
2.3 OPERATION
Desktop Phone will start its function when you insert the DC plug into DC IN jack.
It will communicate with PHS base station automatically, and operation will be
available after few seconds.
Placing a Call
Pick up handset.
Dial tone will be heard from the handset receiver.
Dial a telephone number of your party.
Ring-back tone will be heard from handset receiver.
When your party answer your call, conversation will be available.
Hang up the handset when you finish the conversation.
You can call the party you last called by depressing "REDIAL" key for less than
1 second after hearing dial tone.

22
Receive a Call
Ringing tone will be heard from desktop telephone when it receive a call.
Conversation will be available when you pick up the handset.
Placing a call on hold
Place a call on hold by depressing "PAUSE" key when you want to temporarily
stop the conversation.
While the other party is placed on hold, they can not hear you.
They hear a hold melody during holding.
You can go back to the conversation by depressing "PAUSE" key again.
Using the Flash function
You can catch the another call during conversation by depressing "FLASH" key.
3. MAINTENANCE
Whip it with a dry soft cloth.
When the dirt is too much, use a diluted neutral detergent with a well wrung towel,
then wipe with a dry soft cloth.
Do not use benzene, thinner or alcohol.
It may cause color-change or deterioration of the paint or writing.
4. SPECIFICATIONS
Radio frequency band 1,900MHz
Transmission power 10nW
Power source DC 4V, 300mA
External dimensionsApproximately 197 (width) x 162 (depth) x 85.5 (height) mm
Mass Approximately 650g