Walker Mc 18 Hp Users Manual
!! Walker-25 Walker Lawn Mower Manuals - Lawn Mower Manuals – The Best Lawn Mower Manuals Collection
MC (18 HP) to the manual b9e741d1-e1c5-4cb6-9e8b-d44746aa5cc0
2015-02-03
: Walker Walker-Mc-18-Hp-Users-Manual-476322 walker-mc-18-hp-users-manual-476322 walker pdf
Open the PDF directly: View PDF
.
Page Count: 88
- OWNER’S MANUAL
- Foreword
- Table of Contents
- General Information
- Specifications
- Component Identification
- Safety Instructions
- Assembly Instructions
- SETUP INSTRUCTIONS
- Tire Installation (Tractor)
- Battery Service
- Wet Battery Service
- Dry Battery Service
- Battery Charging
- Battery Installation
- Battery Installation
- Mower Deck Assembly
- Deck Caster Wheels Installation
- Deck Caster Wheel Installation
- Deck Discharge Chute Installation (GHS Rear Discharge Models Only)
- Discharge Chute and PTO Shaft Guard Installation on Rear Discharge Deck
- Deck Discharge Shield Installation (Side Discharge Models Only)
- Discharge Shield Installation on Side Discharge Deck
- PTO Shaft Guard Installation
- Tilt-Up Roller Wheel Installation
- Tilt-Up Spring and Roller Wheel Installation on Rear Discharge Deck
- Mower Deck lnstallation on Tractor
- Deck Installation
- Installing PTO Quick Coupler
- Coupler Ring “Locked” Position
- Mower Deck Installation (PTO Shaft Connection)
- Deck Counterweight Spring Installation
- Deck Leveling
- Deck Leveling
- PREOPERATING CHECKLIST
- Deck Secured in TILT-UP Position
- Operating Instructions
- CONTROL IDENTIFICATION, LOCATION, AND FUNCTION
- Ignition Switch
- Operating Controls
- Ignition Switch
- Engine Choke
- Engine Throttle
- Choke and Throttle Location
- Forward Speed Control (FSC)
- Steering Levers
- Blade Clutch (PTO)
- Parking Brake
- Transmission Lockout Levers
- Lockout Lever Location
- Hourmeter
- Oil Pressure Warning Light
- Circuit Breaker (5 Amp)
- Light Switch (For Optional Lights)
- Operating Controls (Top View from Drivers Point of View)
- STARTING THE ENGINE
- ADJUSTING GROUND SPEED AND STEERING
- Correct Operator Hand Position on the Controls
- ENGAGING THE MOWER
- Blade Clutch Engaged
- Blade Clutch Disengaged
- STOPPING THE MACHINE
- ADJUSTING CUTTING HEIGHT
- Cutting Height Adjustment
- TRANSMISSION LOCKOUT
- Lockout Lever - Freewheel Position
- Lockout Lever - Normal Operating Position
- RECOMMENDATIONS FOR MOWING
- Side Discharge Shield in Lowest Position
- Maximum Recommended Side Slope
- RECOMMENDATIONS FOR TILT-UP DECK OPERATION/TRANSPORT
- GRASS HANDLING SYSTEM (GHS)
- GHS Flow and Components
- General Information
- Blower Intake Cover
- Clogging Checklist
- Blade Rotation for GHS Mower Deck (view from underneath)
- Using the Tilt-Up Deck
- Using the GHS Catcher
- Powerfil ®
- “Full” Signal Horn
- Cleaning the GHS Exhaust Screen
- Grass Catcher Screen Removal for Cleaning
- Dumping the Catcher
- Tailgate Dumping
- Catcher Door Safety Latch
- Using the Dump Bag
- Positioning Dump Bag on Catcher
- Dumping Catcher into Dump Bag
- Maintenance Instructions
- MAINTENANCE SCHEDULE CHART - RECOMMENDED SERVICE INTERVALS - MODEL MC
- IMPORTANT TIPS FOR CARE OF THE KOHLER ENGINE
- LUBRICATION
- Engine Oil
- Engine Break-In Oil
- Checking Engine Crankcase Oil Level
- Dipstick Operating Range
- Changing Engine Crankcase Oil/Oil Filter
- Oil Drain/Oil Filter Location
- Grease Fitting and Oil Point Lubrication
- Mower Deck Gearbox Lubrication
- Mower Deck Gearboxes
- DSD52 Mower Deck Lubrication
- Blade Spindle Lubrication
- Gearbox, Dolly Wheel, and U-Joint Lubrication
- Tractor PTO Gearbox Lubrication
- Checking Gearbox Oil Level
- Dipstick Location, Tractor PTO Gearbox
- Changing Gearbox Oil
- Gear Axle Lubrication
- Hydrostatic Transmission Fluid
- Checking Hydrostatic Transmission Fluid Level
- Transmission Reservoir and Air Bleed Plug Location
- Changing Hydrostatic Transmission Fluid
- Chassis and Deck Lubrication Points
- Chassis and Deck Lubrication Points
- CLEANING
- Engine Air Cleaner System
- Turbine Precleaner
- Engine Air Cleaner System Components
- Donaldson Radialseal™ Air Cleaner
- Air Cleaner Components (shown with cover being removed)
- Air Restriction Gauge Location
- Air Filter Element Replacement
- Proper Orientation of Air Cleaner Cover
- Engine Cooling System
- Air Intake System
- Cylinder Head Cooling Fins
- Engine Air Intake Screen and Cooling Fin Access Panels
- Cooling System Airflow
- Grass Buildup in Mower Housing
- Deck Secured in TILT-UP Position
- GHS Blower
- Collapse Blower Belt Tightener to Remove GHS Blower Drive Belt
- GHS Exhaust Screen
- Hydrostatic Transmission Cooling Fins
- Hydrostatic Transmission Cooling Fins
- CHECKING/SERVICING
- Security of Air Filtration Components
- Battery
- Electrolyte Level
- Cleaning the Terminals
- Charging the Battery
- Tire Pressure
- Sharpen Mower Blades
- Mower Blade Profile For Sharpening
- Blade Balanced on Magnetic Wall-MountedBalancer
- Drive Belts
- Mower Deck Gearbox Oil Seals
- Spark Plugs
- Fuel Lines and Clamps
- Engine Starter
- Engine Valve Clearance
- Blade Brake Action
- REPLACING/REPAIRING
- Drive Belts
- Belt Locations
- Engine PTO Drive Belt (3 Groove Power Band)
- Engine PTO Drive Belt Removal
- Jackshaft Drive Belt
- Jackshaft Drive Belt (Disengaged)
- Jackshaft Drive Belt (Engaged)
- GHS Blower Drive Belt
- GHS Blower Drive Belt Assembly (Disengaged) Blower Drive Belt Spring Removal
- GHS Blower Drive Belt Assembly (Engaged)
- Hydrostatic Ground Drive Belt
- Hydrostatic Ground Drive Belt Assembly (Disengaged)
- Hydrostatic Ground Drive Belt Assembly (Engaged)
- Fuel Filter
- Fuel Filter Location
- Blade Overload Shear Bolts
- Cutting Blade Shear Bolts
- PTO Shear Pin
- PTO Shear Pin
- Mower Blades
- Mower Deck Gearbox Replacement
- Mower Deck Gearboxes
- GHS Blower Assembly (and/or Blower Wheel)
- GHS Blower Assembly Removal
- Remove Skid Bar for GHS Blower Removal
- Blower Wheel Removal
- Pressing Blower Wheel Out of Housing
- Blower Wheel Installation
- GHS Blower Assembly Installation
- GHS Blower Components
- ADJUSTMENTS
- Safety Switches
- Steering Levers
- Steering Lever Adjustment
- Blade Clutch (PTO)
- Clutch Engagement/Belt Tension
- PTO Clutch Engaged
- Clutch Disengagement/Brake Action
- PTO Clutch Disengaged
- Stop Block Eccentric Adjustment - Step 1
- PTO Belt Tightener Stop Block Adjustments
- Clutch Idler Pulley Travel Adjustment - Step 2
- Clutch Idler Pulley Travel Adjustment
- Blade Brake Band Adjustment - Step 3
- Blade Brake Band Adjustment
- Blade Brake Band Adjustment
- Brake Actuator Rod Adjustment
- Transmission Control
- Set Forward Travel Limit (Stop) - Step 1
- Forward Speed Control Stop and Steering Lever Adjustment
- Steering Lever End Play Adjustment - Step 2
- Neutral Function Adjustment - Step 3
- Neutral Function Adjustment
- Straight Ground Travel Adjustment - Step 4
- Straight Ground Travel Adjustment
- Forward Speed Control Friction Lock
- Forward Speed Control Friction Lock
- Tilt-Up Deck Adjustable Stop
- Tilt-Up Deck Adjustable Stop
- Carburetor
- Engine Idle Adjustment
- Carburetor Adjustment
- GHS “Full” Signal Horn with Grass-Pak® Switch
- Troubleshooting (When Horn Fails to Operate)
- Checking the Grass-Pak® Switch
- ELECTRICAL SYSTEM
- Circuit Breakers
- Circuit Breaker Location
- Wiring Diagram - Model MC
- LIMITED WARRANTY
- Sound - Model MC
- Vibration - Model MC

OWNER’S MANUAL
Safety, Assembly, Operating, and Maintenance Instructions
Model MC (18 HP)
(Covers Serial Numbers 03-61061 and on)
Please Read and Save These Instructions Effective Date: 04-15-03
For Safety, Read All Safety and Operation P/N 6000-8
Instructions Prior to Operating Machine Price $5.00
™

Foreword
Thank you. . .for purchasing a Walker mower. Every effort has been made to provide you with the
most reliable mower on the market, and we are sure you will be among our many satisfied custom-
ers. If for any reason this product does not perform to your expectations, please contact us at (970)
221-5614. Every customer is important to us. Your satisfaction is our goal.
Please. . .read this manual thoroughly! This manual is to be used in conjunction with the engine
manufacturer’s manual for the specific engine on the mower model you have purchased. Before you
operate your new mower, please read this entire manual. Some of the information is crucial for prop-
er operation and maintenance of this mower - it will help protect your investment and ensure that the
mower performs to your satisfaction. Some of the information is important to your safety and must
be read and understood to help prevent possible injury to the operator or others. If anything in this
manual is confusing or hard to understand, please call our service department, at (970) 221-5614,
for clarification before operating or servicing this mower.
This manual covers Model MC with the Kohler Command CH18 (18.0 HP) gasoline engine.
All shields and guards must be in place for the proper and safe operation of this machine.
Where they are shown removed in this manual, it is for illustration purposes only. Do not operate
this machine unless all shields and guards are in place.
Specifications given are based on the latest information available at the time this manual was pro-
duced.
Walker Mfg. Co. is continually striving to improve the design and performance of its products. We
reserve the right to make changes in specifications and design without thereby incurring any obli-
gation relative to previously manufactured products.
Sincerely,
WALKER MANUFACTURING COMPANY
Bob Walker, President

Table of Contents
General Information ________________ 1
HIGHLIGHTED INFORMATION _____________ 1
GLOSSARY ____________________________ 1
IDENTIFYING NUMBER LOCATIONS________ 1
ENGINE SERIAL NUMBER LOCATION ______ 2
SERVICING OF ENGINE AND DRIVETRAIN
COMPONENTS__________________________ 2
Specifications________________________ 3
ENGINE________________________________ 3
ELECTRICAL SYSTEM ___________________ 3
TRANSMISSION_________________________ 3
BLADE DRIVE __________________________ 4
TIRE SIZE ______________________________ 4
TIRE PRESSURE ________________________ 4
DIMENSIONS (Tractor and Mower) _________ 4
MOWER DECK__________________________ 5
CURB WEIGHT__________________________ 5
DRIVE BELTS___________________________ 5
GHS SYSTEM (Optional)__________________ 6
SEAT__________________________________ 6
FRAME/BODY CONSTRUCTION ___________ 6
Component Identification___________ 7
Safety Instructions _________________ 10
BEFORE OPERATING___________________ 10
OPERATING___________________________ 11
MAINTENANCE ________________________ 12
SAFETY, CONTROL,
AND INSTRUCTION DECALS _____________ 14
Assembly Instructions _____________ 16
SETUP INSTRUCTIONS _________________ 16
Tire Installation (Tractor)_______________ 16
Battery Service_______________________ 16
Wet Battery Service __________________ 16
Dry Battery Service __________________ 16
Battery Charging ____________________ 17
Battery Installation ___________________ 17
Mower Deck Assembly ________________ 17
Deck Caster Wheels Installation ________ 17
Deck Discharge Chute Installation ______ 18
Deck Discharge Shield Installation ______ 18
PTO Shaft Guard Installation __________ 18
Tilt-Up Roller Wheel Installation ________ 18
Mower Deck lnstallation on Tractor ______ 19
Deck Installation ____________________ 19
Deck Leveling ______________________ 21
PREOPERATING CHECKLIST ____________ 22
Operating Instructions_____________ 24
CONTROL IDENTIFICATION,
LOCATION, AND FUNCTION _____________ 24
Ignition Switch_______________________ 24
Engine Choke________________________ 25
Engine Throttle ______________________ 25
Forward Speed Control (FSC) __________ 25
Steering Levers ______________________ 25
Blade Clutch (PTO) ___________________ 25
Parking Brake _______________________ 26
Transmission Lockout Levers __________ 26
Hourmeter __________________________ 26
Oil Pressure Warning Light ____________ 26
Circuit Breaker (5 Amp) _______________ 26
Light Switch (For Optional Lights)_______ 26
STARTING THE ENGINE_________________ 28
ADJUSTING GROUND
SPEED AND STEERING _________________ 28
ENGAGING THE MOWER________________ 30
STOPPING THE MACHINE _______________ 31
ADJUSTING CUTTING HEIGHT ___________ 31
TRANSMISSION LOCKOUT ______________ 32
RECOMMENDATIONS FOR MOWING ______ 33
RECOMMENDATIONS FOR TILT-UP DECK
OPERATION/TRANSPORT _______________ 34
GRASS HANDLING SYSTEM (GHS) _______ 35
General Information __________________ 36
Clogging Checklist ___________________ 37
Using the Tilt-Up Deck ________________ 38
Using the GHS Catcher________________ 38
Powerfil ® _________________________ 38
“Full” Signal Horn ___________________ 38
Cleaning the GHS Exhaust Screen ______ 38
Dumping the Catcher _________________ 39
Tailgate Dumping ___________________ 39
Using the Dump Bag _________________ 39

Table of Contents
Maintenance Instructions__________ 41
MAINTENACE SCHEDULE CHART ________ 41
IMPORTANT TIPS FOR CARE
OF THE KOHLER ENGINE _______________ 42
Fuel System _________________________ 42
Starting/Stopping_____________________ 42
Cooling System ______________________ 42
Air Cleaner System ___________________ 42
Oil _________________________________ 42
LUBRICATION _________________________ 43
Engine Oil ___________________________ 43
Engine Break-In Oil __________________ 43
Checking Engine Crankcase Oil Level ___ 43
Changing Engine Crankcase Oil/Oil Filter _43
Grease Fitting and Oil Point Lubrication __ 44
Mower Deck Gearbox Lubrication _______ 44
DSD52 Mower Deck Lubrication_________ 45
Tractor PTO Gearbox Lubrication _______ 46
Checking Gearbox Oil Level ___________ 46
Changing Gearbox Oil ________________ 46
Gear Axle Lubrication _________________ 46
Hydrostatic Transmission Fluid _________ 46
Checking Hydrostatic
Transmission Fluid Level ______________ 46
Changing Hydrostatic Transmission Fluid _47
CLEANING ____________________________ 50
Engine Air Cleaner System _____________ 50
Turbine Precleaner __________________ 50
Donaldson Radialseal™ Air Cleaner _____ 51
Engine Cooling System________________ 52
Air Intake System ___________________ 52
Cylinder Head Cooling Fins ____________ 53
Grass Buildup in Mower Housing________ 53
GHS Blower _________________________ 54
GHS Exhaust Screen __________________ 55
Hydrostatic Transmission Cooling Fins __ 55
CHECKING/SERVICING _________________ 55
Security of Air Filtration Components ____ 55
Battery______________________________ 55
Electrolyte Level ____________________ 55
Cleaning the Terminals _______________ 56
Charging the Battery _________________ 56
Tire Pressure ________________________ 56
Sharpen Mower Blades ________________ 56
Drive Belts __________________________ 57
Mower Deck Gearbox Oil Seals _________ 58
Spark Plugs _________________________ 58
Fuel Lines and Clamps ________________ 58
Engine Starter________________________ 58
Engine Valve Clearance________________ 58
Blade Brake Action ___________________ 58
REPLACING/REPAIRING ________________ 59
Drive Belts __________________________ 59
Engine PTO Drive Belt _______________ 61
Jackshaft Drive Belt _________________ 62
GHS Blower Drive Belt _______________ 63
Hydrostatic Ground Drive Belt _________ 64
Fuel Filter ___________________________ 65
Blade Overload Shear Bolts ____________ 65
PTO Shear Pin _______________________ 66
Mower Blades _______________________ 66
Mower Deck Gearbox Replacement______ 67
GHS Blower Assembly ________________ 68
GHS Blower Assembly Removal _______ 68
Blower Wheel Removal ______________ 68
Blower Wheel Installation _____________ 69
GHS Blower Assembly Installation ______ 69
ADJUSTMENTS________________________ 70
Safety Switches ______________________ 70
Steering Levers ______________________ 70
Blade Clutch (PTO) ___________________ 71
Clutch Engagement/Belt Tension _______ 71
Clutch Disengagement/Brake Action ____ 72
Stop Block Eccentric Adjustment _______ 73
Clutch Idler Pulley Travel Adjustment ___ 73
Blade Brake Band Adjustment _________ 73
Transmission Control _________________ 74
Set Forward Travel Limit (Stop) ________ 74
Steering Lever End Play Adjustment ____ 75
Neutral Function Adjustment __________ 75
Straight Ground Travel Adjustment _____ 76
Forward Speed Control Friction Lock ____ 76
Tilt-Up Deck Adjustable Stop ___________ 77
Carburetor __________________________ 77
Engine Idle Adjustment _______________ 77
GHS “Full” Signal Horn
with Grass-Pak® Switch _______________ 78
Troubleshooting
(When Horn Fails to Operate) __________ 78
ELECTRICAL SYSTEM __________________ 79
Circuit Breakers______________________ 79
Wiring Diagram - Model MC ____________ 80
Operator’s Notes___________________ 81
Warranty___________________________ 83

General Information
1
HIGHLIGHTED INFORMATION
Walker Manufacturing recommends that any service
requiring special training or tools be performed by
an authorized Walker Mower Dealer. There are sev-
eral general practices to be aware of in the area of
safety. Most accidents associated with the opera-
tion or maintenance of a Walker Mower are caused
by disregarding basic safety precautions or specific
warnings. Such accidents, in most cases, can be
prevented by being aware of the dangers present.
Information of special importance has been high-
lighted in bold type in this manual. Refer to Safety
Instructions for the meanings of DANGER, WARN-
ING, CAUTION, IMPORTANT, and NOTE.
GLOSSARY
There are many terms that are either unique to this
equipment or that are used as acronyms. The fol-
lowing terms and their definitions will help while
using this manual:
•DECK is the mowing attachment mounted on
the front of the tractor which includes the carrier
frame, deck housing, blade drive gearboxes,
and cutter blades.
•FORWARD SPEED CONTROL (FSC) controls
the maximum forward speed of the tractor;
functioning as a cruise control.
•GRASS HANDLING SYSTEM (GHS) collects
mowed material and deposits it in the catcher.
•GRASS-PAK SWITCH is mounted on the
grass delivery spout (in the catcher) and acti-
vates the “full” signal horn when the grass
catcher is full.
•GROUND DRIVE refers to the dual hydrostatic
transmissions which drive the main wheels.
•HYDROSTATIC TRANSMISSION transmits
and controls power from the ground drive belt to
the main drive wheel.
•LEFT HAND (LH) refers to the left-hand side of
the tractor when the operator is seated facing
forward in the tractor seat.
•POWER TAKE-OFF (PTO) transmits engine
power to run the cutter blades and GHS blower.
•POWERFIL spreads the mowed material
throughout the interior of the grass catcher by
an oscillating delivery spout.
•RIGHT HAND (RH) refers to the right-hand side
of the tractor when the operator is seated facing
forward in the tractor seat.
•SIDE DISCHARGE (SD) mows but does not
collect the mowed material.
•STEERING LEVERS steer the tractor by con-
trolling the dual hydrostatic transmissions.
•TRACTOR is the prime mover, including the en-
gine, drive train, operator seat, and controls to
operate the mower.
•TRANSMISSION LOCKOUT releases the hy-
drostatic transmissions to permit freewheeling
the tractor.
IDENTIFYING NUMBER LOCATIONS
The tractor serial number plate is affixed to the trac-
tor body just below the left rear corner of the seat.
The mower deck serial number plate is affixed
alongside the angle iron framing on the RH side of
the RH mower blade drive. Model and serial num-
bers are helpful when obtaining replacement parts
and maintenance assistance. For ready reference,
please record these numbers in the space provided.
Fill In By Purchaser
Tractor Model No. _______________________
Tractor Serial No. _______________________
Deck Serial No. _______________________
Engine Model No. _______________________
Engine Serial No. _______________________
Date of Purchase _______________________

General Information
2
Tractor Serial Number Location
Mower Deck Serial Number Location
ENGINE SERIAL NUMBER LOCATION
Refer to the engine manual that accompanies this
manual for the location of the engine serial number.
For the mower model covered by this manual,
an engine manual is available covering the Kohler
Command CH18 gasoline engine.
Engine Serial Number Location
SERVICING OF ENGINE AND DRIVETRAIN
COMPONENTS
The detailed servicing and repair of the engine,
hydrostatic transmission, and gearboxes are not cov-
ered in this manual. Only routine maintenance and
general service instructions are provided. For the
service of these components during the limited war-
ranty period, it is important to find a local, authorized
servicing agent of the component manufacturer. Any
unauthorized work done on these components dur-
ing the warranty period may void the warranty. If
you have any difficulty finding an authorized outlet or
obtaining warranty service, please contact our Ser-
vice Department for assistance:
Walker Manufacturing Company
5925 E. Harmony Road
Fort Collins, CO 80528
1-970-221-5614
Service manuals are available for each of these
components from their respective manufacturers as
follows:
Kohler Engines Kohler Company
Kohler, WI 53044
Hydrostatic Eaton Corporation
Transmissions 15151 Highway 5
Eden Prairie, MN 55344
Gearboxes (Deck) Tecumseh Products Co.
900 North Street
Grafton, Wl 53024
Serial Number
Serial Number
Serial Number

Specifications
3
MODEL MC
ENGINE
Manufacturer/Model Kohler Command CH18, 2 Cyl., Gasoline (Air-Cooled)
Displacement 38.0 cu. in. (624 cc)
HP (@ 3600 RPM) 18.0
Max. RPM (No Load) 3750
Governed RPM 3600
Max. Torque [ft-lb (N⋅m) @ RPM] 30 (41) @ 2500
Idle RPM 1200 ± 75
Spark Plug Type Champion® RC12YC
Spark Plug Gap .030 in. (.76 mm)
Crankcase Capacity 2 qts (1.9 liters)
Crankcase Lubricant API SG or SH Grade Oil Only with 10W-30 Viscosity above 0° F
(-18° C), or 5W-20 or 5W-30 Viscosity below 32° F (0° C)
Fuel Tank Capacity 3 Gallons (11.4 liters)
Fuel Regular Grade Unleaded Gasoline (87 Octane)
Cooling System Capacity Air Cooled
ELECTRICAL SYSTEM
Battery 12 Volt, 35 AH, 295 CCA
Charging System Flywheel Alternator
Charging Output 15 Amp DC (Regulated)
System Polarity Negative Ground
Ignition Electronic Capacitive Discharge
Starter 12 Volt Electric Ring-Gear Type, Solenoid Shift
Interlock Switch Ignition Lockout by Seat Switch, Transmission Neutral and Blade Clutch
Circuit Breaker Auto Reset (30A)
TRANSMISSION
Manufacturer/Model Dual Hydrostatic, Eaton Model 7, Each Wheel Independently Driven
Steering Hand Lever Control / Individual Wheel
Forward Speed Control Precision Friction Lock Lever, Cruise Control, with Neutral-Park
Position
Service Brake Dynamic Braking through Hydrostatic Transmission
Parking Brake Mechanical Pin Lock in Transmission Gear
Neutral Transmission Release by Manual Dump Valve
Final Drive Gear Drive Axle

Specifications
4
MODEL MC
TRANSMISSION (continued)
Transmission Fluid
Factory Service Mobil 1 Synthetic Motor Oil (15W-50)
Alternate Transmission Fluid SAE 30W Straight Viscosity Motor Oil
Transmission Fluid Capacity 1 qt (1 liter)
Transmission Cooling Cooling Fan Mounted on Drive Pulley
Ground Travel Speed
Forward m.p.h. (km/h)
Reverse m.p.h. (km/h) 0-5 (0-8) Infinitely Variable
0-5 (0-8) Infinitely Variable
BLADE DRIVE
PTO Shaft Quick Disconnect Spline Shaft with Two High-Speed U-Joints
Blade Spindle Each Blade (2) Mounts Direct on Peerless Right Angle
Gearbox with Tee Gearbox in Center Connected to PTO Shaft
(Complete Geared Drive, Peerless Model 1000 Gearboxes)
Blade Drive Clutch and Brake Manual Belt Tightener Clutch and Band Brake
(Stops Blades within Five (5) Seconds of Disengagement)
Max. Blade Speed
[22 in. (56 cm) Blade] @ 3600
RPM Engine
2900 RPM
[16700 FPM (5090 m/min)]
TIRE SIZE
Deck Caster Wheel 2.80/2.50-4 Pneumatic (4-Ply)
Deck Caster Wheel (Optional) 8.25 x 2.75 Semi-Pneumatic
Drive 18 x 8.50-8 (4-Ply)
Drive (Optional Narrow Tire) 18 x 6.50-8 (4-Ply)
Rear 13 x 6.50-6 (4-Ply)
TIRE PRESSURE
Deck Caster Wheel 20 PSI (137 kPa)
Drive 15 PSI (103 kPa)
Rear 20 PSI (137 kPa)
DIMENSIONS (Tractor and Mower)
Length
36 in. (91 cm) GHS Model 87 in. (221 cm)
42 in. (107 cm) GHS Model 89 in. (226 cm)
Width
36 in. (91 cm) SD Model
(with Deflector) 41-3/4 in. (106 cm)
42 in. (107 cm) SD Model
(with Deflector) 47-3/4 in. (121 cm)
36 in. (91 cm) GHS Model 37 in. (94 cm)
42 in. (107 cm) GHS Model 43 in. (109 cm)

Specifications
5
MODEL MC
DIMENSIONS (continued)
Height
SD Model 37-1/2 in. (95 cm)
GHS Model 44-1/2 in. (112 cm)
Wheel Base (Tractor) 42-1/4 in. (107 cm)
Tread Width (Tractor)
Standard Tires 28-1/4 in. (72 cm)
Optional Tires 29-3/4 in. (76 cm)
MOWER DECK
Width of Cut SD/GHS 36 or 42 in. (91 or 107 cm)
Cutting Height 1 to 4 in. (3 to 10 cm)
Height Adjustment 7 Positions - 1/2 in. (1 cm) Increment Hitch Pins Installed in
Multi-Position Deck Support
Blade Size
36 in. (91 cm) SD Model 20 in. (51 cm) Two (2) Clockwise-Rotating Blades with a 4 in.
(10 cm) Center Overlap
36 in. (91 cm) GHS Model 20 in. (51 cm) Two (2) Counter-Rotating Blades with a 4 in.
(10 cm) Center Overlap
42 in. (107 cm) SD Model 22 in. (56 cm) Two (2) Clockwise-Rotating Blades with a 2 in.
(5 cm) Center Overlap
42 in. (107 cm) GHS Model 22 in. (56 cm) Two (2) Counter-Rotating Blades with a 2 in.
(5 cm) Center Overlap
Deck Suspension Torsion-Flex Frame with Caster Wheels and
Counterweight Springs
CURB WEIGHT (Approximate)
SD Tractor Only 645 lb (293 kg)
GHS Tractor Only 735 lb (334 kg)
SD Tractor and 36 in. SD Deck 775 lb (352 kg)
SD Tractor and 42 in. SD Deck 810 lb (368 kg)
GHS Tractor and 36 in. GHS Deck 860 lb (390 kg)
GHS Tractor and 42 in. GHS Deck 895 lb (406 kg)
DRIVE BELTS
Engine PTO Walker P/N 8230
Jackshaft Drive Gates 3VX395 (or Walker P/N 6251)
Ground Drive, Micro-V Walker P/N 7248
Blower (GHS Model) Walker P/N 7234-1

Specifications
6
MODEL MC
GHS SYSTEM (Optional)
Blower 4 x 10 x 1/4 in. (10 x 25 x 1 cm) Three-Blade Paddle Wheel
(Driven by Mower Engine)
Blower Brake Band Brake (Works in Combination with PTO Clutch, Stops
Blower within Five (5) Seconds of PTO Disengagement)
Max. Blower Speed 3600 RPM
Grass Catcher Capacity 63 Gallons (238 liters)/6.7 Bushels
Optional Grass Catcher Capacity*89 Gallons (335 liters)/9.5 Bushels
Full Signal Oscillating Vane Switch Mounted on Grass Delivery Spout Triggers
Horn Signal
Powerfil ®Oscillating Delivery Spout Driven by 12 Volt Electric Gearmotor
Spreads Material throughout Interior of Catcher @ 25 Cycles/Minute
SEAT Contour-Molded, with Nylon Backed Vinyl Cover and Integral
Foam Cushion
FRAME/BODY CONSTRUCTION
Frame All Welded Unitized Steel Chassis
Body 14 Gauge Steel
Deck 11 Gauge Steel
GHS Catcher and Chutes Molded Cross-Linked Polyethylene (UV Stabilized)
*Optional (9.5 Bushel) Grass Catcher adds approx. 5 lb (2 kg) and 5 in. (13 cm) in Height
NOTE: The manufacturer reserves the right to make changes in specifications shown herein at any time
without notice or obligation.

Component Identification
7
Front View and Right Side View
NOTE: Control Identification
shown in Operating
Instructions section.
Catcher Door
Safety Latch Turbine
Precleaner
Grass Handling System
9.5 Bushel Catcher
Anti-Scuff
Roller
Catcher Lift /
Dump Handle
Transmission Control
Rod Adjustment Nut
(RH)
Deck Lift Handle
(Cutting Height Adjustment)
Tilt-Up Hook
(Not Visible)
Deck
Caster Wheels
Counterweight Spring
and Protective Cover
Spring Clip
Tilt-Up
Latch
Footrests
Tilt-Up
Deck Handle
Deck Support Pins
and Height Adjustment
Hitch Pins
Transmission Control Rod
Adjustment Nut (LH)
Fuel Tank and Cap
Deck Support Arms

Component Identification
8
Oil
Filter
Oil Drain
Plug
Tailpipe
Muffler
Left Hand
Drive Wheel
Catcher Lift /
Dump Handle
Catcher Door
Gas Spring
Removable Grass
Catcher Screen
(Not Visible)
Catcher
Door
Catcher
Door Handle
Anti-Scuff
Roller
Tailwheel Fork
and Wheel
Catcher Exhaust
Deflector
Catcher Door
Gas Spring
Protective Cover
Rear View and Left Side View

Component Identification
9
Negative (-)
Battery Cable
LH Hydrostatic
Transmission
RH Hydrostatic
Transmission
GHS Blower
Muffler Heat Shield
30 Amp
Circuit Breaker
RH Transmission
Lockout Lever
PTO Gearbox
Dipstick
Precleaner
Tube
Fuel Pump
Donaldson
Air Cleaner Air Cleaner
Cover Rubber Bumper
(Body Support)
Air Restriction
Indicator
(Not Visible)
Rubber Bumper
(Body Support)
Air Intake
Hose
Fuel Tank Cap
Jackshaft
PTO
Clutch Lever
Turbine
Precleaner
Positive (+)
Battery Cable
Muffler
Oil Fill/
Dipstick
Throttle and
Choke Linkage
Neutral Safety
Switch
LH Transmission
Lockout Lever
Battery
Top View (Engine Compartment)

Safety Instructions
10
Pay particular attention to any information labeled
DANGER, WARNING, CAUTION, IMPORTANT,
and NOTE in this manual.
When you see the Safety Alert Symbol ( ),
read, understand, and follow the instructions. Fail-
ure to comply with safety instructions may result in
personal injury.
The seriousness or degree of importance of each
type of information is defined as follows:
IMPORTANT: Identifies mechanical information de-
manding special attention, since it deals with the pos-
sibility of damaging a part or parts of the machine.
NOTE: Identifies information worthy of special
attention.
Walker Manufacturing cannot predict every poten-
tially dangerous situation. Therefore, items labeled
as such in this manual do not cover all conceivable
situations. Any person using procedures, tools, or
control techniques not recommended by Walker
Manufacturing must take full responsibility for safety.
The Walker Rider Lawnmower has been designed
with many safety features to protect the operator from
personal harm or injury. However, it is necessary for
the operator to use safe operating procedures at all
times. Failure to follow safety instructions con-
tained in this manual may result in personal in-
jury or damage to equipment or property.
If you have any questions concerning setup, opera-
tion, maintenance, or safety, please contact your
authorized Walker Mower Dealer or call Walker
Manufacturing Company at (970) 221-5614.
BEFORE OPERATING
1. Read and understand the contents of this
Owner’s Manual before starting and operat-
ing the machine. Become thoroughly familiar
with all machine controls and how to stop the
machine and disengage the controls quickly.
Replacement Owner’s Manuals are available
by sending the Model and Serial Number to:
Walker Manufacturing Company
5925 East Harmony Road
Fort Collins, CO 80528
2. Never allow children to operate rider mower.
Do not allow adults to operate without proper
instruction.
3. Clear the area to be mowed of any foreign
objects which may be picked up and thrown by
cutter blades. Pick up all sticks, stones, wire,
and any other debris.
4. Keep everyone, especially children and pets, a
safe distance away from the area being mowed.
Do not mow with bystanders in the area.
5. Do not operate the machine barefoot or wearing
sandals, sneakers, tennis shoes, or similar light-
weight footwear. Wear substantial protective
footwear.
DANGER
An IMMEDIATE hazard that WILL result in
severe personal injury or DEATH, if warn-
ing is ignored and proper safety precau-
tions are not taken.
WARNING
A POTENTIAL hazard that COULD result in
severe personal injury or DEATH, if warn-
ing is ignored and proper safety precau-
tions are not taken.
CAUTION
Possible hazards or unsafe practices that
MAY result in MODERATE personal injury
or property damage, or machine damage, if
warning is ignored and proper safety pre-
cautions are not taken.

Safety Instructions
11
6. Do not wear loose fitting clothing that could get
caught in moving parts. Do not operate this
machine while wearing shorts; always wear
adequate protective clothing, including long
pants. Wearing safety glasses, safety shoes,
and a helmet is advisable and required by some
local ordinances and insurance regulations.
7. Prolonged exposure to loud noise can cause
impairment or loss of hearing. Operator hear-
ing protection is recommended; particularly
for continuous operation of the GHS Model due
to blower noise level. Wear a suitable hearing
protective device, such as earmuffs or earplugs.
8. Keep all protective shields and safety de-
vices in place. If a protective shield, safety
device, or decal is damaged, unusable, or miss-
ing, repair or replace it before operating the ma-
chine.
9. Be sure interlock switches are functioning
correctly, so the engine cannot be started un-
less the Forward Speed Control lever is in the
NEUTRAL-PARK position, and the PTO clutch
is in the DISENGAGED position. Also, the en-
gine should stop if the operator lifts off the seat
with the PTO clutch in the ENGAGED position.
10. Handle gasoline with care. Gasoline is highly
flammable and its vapors are explosive:
a. Use an approved fuel container.
b. Never add fuel to a running engine or hot
engine (allow hot engine to cool several
minutes).
c. Keep matches, cigarettes, cigars, pipes,
open flames, or sparks away from the fuel
tank and fuel container.
d. Always fill the fuel tank outdoors using care.
Fill to about one inch from the top of the tank.
Use a funnel or spout to prevent spilling.
e. Replace the machine fuel cap and container
cap securely and clean up any spilled fuel
before starting the engine.
11. Never attempt to make any adjustments
while the engine is running, except where
specifically instructed to do so.
12. The electrical system battery contains sulfuric
acid. Avoid any contact with skin, eyes, and
clothing. Keep the battery and acid out of reach
of children.
OPERATING
1. Operate the mower only in daylight or in
good artificial light with good visibility of the area
being mowed.
2. Sit on the seat when starting the engine and
operating the machine. Keep feet on the deck
footrests at all times when the tractor is moving
and/or mower blades are operating.
3. For a beginning operator, learn to steer (ma-
neuver) the tractor with a slow engine speed
before attempting any mowing operation.
Be aware that, with the front mounted mower
configuration, the back of the tractor swings to
the outside during turns.
4. Remember, for an emergency stop, the forward
motion of the tractor can always be stopped by
pulling the Forward Speed Control (FSC) into
the NEUTRAL-PARK position.
5. In case either of the transmission drive belts
break during operation, and if the machine is on
a slope, the machine will freewheel down the
slope. To maintain control, immediately (1)
Release the steering levers and simultaneously
(2) Move the FSC to the NEUTRAL-PARK posi-
tion. When the machine is stopped or moving
slowly, engage the parking brake.
NOTE: This is exactly the same procedure used to
normally stop and park the machine.
6. Disengage the blade clutch and put the FSC in
the NEUTRAL-PARK position before starting
the engine (an ignition interlock switch normally
prevents starting of the machine if these con-
trols are in the OPERATING position).
7. Do not run the engine in a confined area
without adequate ventilation. Exhaust fumes
are hazardous and can be deadly.
8. Do not carry passengers - maximum seating
capacity is one (1) person.

Safety Instructions
12
9. Watch for holes, rocks, and roots in the terrain
and for other hidden hazards. When mowing
tall grass, mow higher than desired to expose
any hidden obstacles. Then, clean the area and
mow to the desired height.
10. Avoid sudden starts or stops. Before backing
the machine up, look to the rear to be sure no
one is behind the machine. Watch carefully for
traffic when crossing or working near roadways.
11. Disengage the blade drive when transporting
the machine across drives, sidewalks, etc. Ne-
ver raise the mower deck while blades are
rotating.
12. The maximum recommended side slope op-
erating angle is 20 degrees or 33% grade.
When operating the machine on a slope, reduce
speed and use caution to start, stop, and ma-
neuver. To prevent tipping or loss of control of
the machine, avoid sharp turns or sudden
changes in direction.
13. Never adjust cutting height with the engine
running. Before adjusting cutting height or
servicing, disengage the blade clutch (PTO),
stop the engine, and remove the ignition key.
Wait for all movement to stop before getting off
the seat.
NOTE: A blade/blower brake should normally
stop drive line rotation within five (5) seconds of
disengaging the PTO clutch.
14. For side discharge mower decks, do not oper-
ate with the grass deflector chute removed.
Keep the deflector in the lowest possible posi-
tion.
15. For tractors equipped with tilt-up deck, observe
the following recommendations:
a. Do not move tractor with deck in tilt-up po-
sition.
b. Never tilt body forward with deck in tilt-up
position.
16. For GHS equipped models, do not operate the
machine with the grass catcher in the DUMP
position or with the back door OPEN. Dan-
gerous projectiles may be thrown out of the dis-
charge chute or the back of the grass catcher.
17. For GHS equipped models, use care when
closing the grass catcher door. Keep fingers
and hands away from the hinge and pinch
points when the door is being closed. Also,
keep fingers and hands clear of the door frame.
The door is held closed with springs and the
door may slam shut with considerable force.
18. In case of a clogged or plugged mower deck
or GHS catching system:
a. Disengage the blade clutch (PTO) and turn
the engine off before leaving the seat.
b. LOOK to make sure blade drive shaft and
blower drive pulley movement has stopped
before trying to unclog the system.
c. Disconnect the spark plug wires.
d. Never place hands under the deck or in the
GHS blower - use a stick or similar tool to
remove clogged material.
19. If the cutting blades strike a solid object or the
machine begins to vibrate abnormally, immedi-
ately disengage the blade clutch (PTO), stop
the engine, and wait for all moving parts to
stop. To prevent accidental starting, disconnect
the spark plug wires. Thoroughly inspect the
mower and repair any damage before restarting
the engine and operating the mower. Make sure
cutter blades are in good condition and blade
nuts are torqued to 60 ft-lb (81.3 N⋅m).
20. Do not touch the engine or muffler while the
engine is running or immediately after stopping
the engine. These areas may be hot enough to
cause serious burns.
21. When leaving the machine unattended, dis-
engage the blade clutch (PTO), stop the en-
gine, and remove the key.
MAINTENANCE
1. To prevent accidental starting of the engine
when servicing or adjusting the machine, re-
move the key from the ignition switch and dis-
connect the spark plug wires.

Safety Instructions
13
2. To reduce fire hazards, keep the engine free of
grass, leaves, excessive grease, and dirt.
3. Keep all nuts, bolts, and screws tight to ensure
the machine is in a safe, working condition.
Check the blade mounting nuts frequently, mak-
ing sure they are tight.
4. Perform only maintenance instructions de-
scribed in this manual. Unauthorized main-
tenance operations or machine modifications
may result in unsafe operating conditions.
5. If the engine must be running to perform a main-
tenance adjustment, keep hands, feet, and
clothing away from moving parts. Do not wear
jewelry or loose clothing.
6. Always use the proper engine service man-
ual when working on the engine. Unautho-
rized maintenance operations or modifications
to the engine may result in unsafe operating
conditions.
7. Altering the equipment or engine in any manner
which adversely affects its operation, perfor-
mance, durability, or use will VOID the warran-
ty and may cause hazardous conditions.
8. Never attempt to disconnect any safety devices
or defeat the purpose of these safety devices.
9. Do not change the engine governor settings or
overspeed the engine. The governor has been
factory-set for maximum-safe engine operating
speed.
10. Use genuine factory replacement parts.
Substitute parts may result in product malfunc-
tion and possible injury to the operator and/or
others.
11. Use care when charging the battery or per-
forming maintenance on the battery and electri-
cal system:
a. Make sure the battery charger is unplugged
before connecting or disconnecting cables
to the battery.
b. Charge the battery in a well-ventilated
space, so gases produced while charging
can dissipate. Make sure the battery vents
in the caps are open.
c. Keep sparks, flames, and smoking materi-
als away from the battery at all times. To
avoid sparks, use care when removing bat-
tery cables from posts.
d. Disconnect both battery cables before
unplugging any wiring connectors or mak-
ing repairs on the electrical system.
IMPORTANT: Keep all applicable manuals
immediately accessible to anyone who may
operate or service this machine.

Safety Instructions
14
Adjacent to Blower Discharge Chute
through Body (5804)
SD Deck Discharge Shield (5848) Front Body Adjacent to
RH Steering Lever (6807) Hydrostat Oil
Reservoir (5810-2)
Rear of Grass Catcher Exhaust Screen (5869)
Engine Shroud (5855)
SAFETY, CONTROL, AND INSTRUCTION DECALS
Safety, Control, and Instruction Decals are installed on the machine;
if any are missing, illegible, or damaged, a replacement should be ordered and installed before
putting the machine into operation. The Decal Part Number is listed below and in the Parts Manual.
Each End of Mower Deck (5808)
Catcher Safety Latch,
RH Side (5874)
Underside of Body (5861)
Gear Axle (5810-1) LH Side of Body,
Above Muffler (5805)

Safety Instructions
15
Fender, RH Side (7802)
Catcher Door Hinge Bar, LH and RH Sides (5868)
Deck Carrier Frame (8653)
Deck Gearbox Cover (5807-3)
On Engine (6810)
SAFETY, CONTROL, AND INSTRUCTION DECALS
Safety, Control, and Instruction Decals are installed on the machine;
if any are missing, illegible, or damaged, a replacement should be ordered and installed before
putting the machine into operation. The Decal Part Number is listed below and in the Parts Manual.
Deck Carrier Frame (8647)
Deck Carrier Frame (5865)
Right Side, Below Operator Seat (7809)
Top of Blower Housing (5819)
Fender, LH Side (5802-2)
Jackshaft Support Adjacent
to Dipstick (7827)
Rear Bumper (5815)

Assembly Instructions
16
SETUP INSTRUCTIONS
Walker Mowers are shipped partially assembled.
After uncrating the tractor and mower deck, initial
setup is required.
NOTE: During the process of unpacking, any dam-
aged or missing parts should be noted and reported
to the delivering carrier immediately (put in writing
within 15 days). The carrier will provide directions
for proceeding with a claim to receive compensation
for damage.
Tire Installation (Tractor)
•Install the drive tires using the eight (8) lug bolts
that are supplied with the owner’s packet of mater-
ials. Drive tires are 18 x 8.50-8, 4-ply; rear tire is
13 x 6.50-6, 4-ply.
•Check and adjust the inflation of the tires. The
tire inflation recommendations are:
Drive = 15 PSI (103 kPa)
Rear = 20 PSI (137 kPa)
Battery Service
Tilt mower body up (lift on rear of body) for battery
access. Check the battery for electrolyte level and
charge. The electrolyte level should be at the bot-
tom of the vent wells [1/4 to 1/2 in. (6 to 13 mm)
above plates]. If the specific gravity is less than
1.225, the battery needs charging. If the battery
has been shipped dry, or is wet but needs service,
refer to the following instructions.
IMPORTANT: Make sure battery is securely
mounted in the frame. A loose battery may cause
damage to the case resulting in acid leakage and se-
vere damage to the machine. A hazard may be cre-
ated by damage to critical working parts and safety
systems.
Wet Battery Service
If the battery has been shipped wet, but the electro-
lyte level is low or the battery needs to be charged
then:
1. Fill each battery cell with drinking water to the
bottom of the vent wells.
2. Charge battery. Refer to Battery Charging in
this section.
Dry Battery Service
To fill (activate) battery with electrolyte (if battery has
been shipped dry):
1. Remove the battery hold down bar, disconnect
the battery cables and lift the battery out of the
tray.
IMPORTANT: Battery must be removed from
the mower before filling with electrolyte.
IMPORTANT: Obtain and use only battery
grade sulfuric acid electrolyte with a 1.265 spe-
cific gravity to activate the battery. DO NOT use
water or any other liquid during initial activation.
2. Remove the filler caps and carefully fill each cell
until the electrolyte is just above the plates.
DANGER
Activating a battery can be dangerous.
The battery should be taken to a reliable
service station, battery store, or power
equipment dealer where a trained techni-
cian can activate the battery safely. DO
NOT attempt to activate the battery unless
you are experienced in battery service
work. The following activation and charg-
ing instructions are provided for use by a
trained battery technician.
DANGER
Battery electrolyte is a poisonous and cor-
rosive sulfuric acid solution.
•Avoid spillage and contact with skin,
eyes, and clothing - causes severe burns.
•To prevent accidents, wear safety gog-
gles and rubber gloves when working with
electrolyte.
•Neutralize acid spills with baking soda
and water solution.

Assembly Instructions
17
3. After the battery is filled with electrolyte, replace
the filler caps and charge the battery. Refer to
Battery Charging.
Battery Charging
1. Charge the battery at 15 amps for 10 minutes.
DO NOT exceed 20 amps maximum recom-
mended charging rate. Charge until specific
gravity is at least 1.250. Total charging time
should not exceed one (1) hour.
2. After charging the battery, adjust the electrolyte
level to the bottom of the vent wells [1/4 to 1/2 in.
(6 to 13 mm) above the plates].
IMPORTANT: DO NOT overfill the battery.
Electrolyte will overflow through the vented caps
onto parts of the machine and WILL result in
severe corrosion.
3. Install battery.
Battery Installation
IMPORTANT: Make sure battery is securely
mounted in the frame. A loose battery may cause
damage to the case resulting in acid leakage and se-
vere damage to the machine. A hazard may be cre-
ated by damage to critical working parts and safety
systems.
Install the battery in the mower as shown in Battery
Installation photo. Connect the positive and nega-
tive cables to the proper battery terminal (red cable
and boot connects to the Positive (+) terminal).
Slide the rubber boot up and over the battery post,
making sure it covers the post completely to pre-
vent an electrical short.
Battery Installation
Mower Deck Assembly
Deck Caster Wheels Installation
1. Remove the bolt, nut, axle spacer tube, and
spacer washers from each deck caster wheel
fork.
NOTE: Spacer washers are used only when
the optional semi-pneumatic deck wheels (8.25
x 2.75) are installed.
2. Fit the axle spacer tube through the wheel hub,
position the spacer washer on each side of the
hub (if used), and fit the assembly into the wheel
fork.
3. Insert the 3/8-16 x 4-1/2 in. bolt through the
wheel fork with the bolt head to the outside and
install the 3/8-16 in. Keps nut.
4. Tighten the bolt and nut until the axle spacer
tube bottoms against the inside of the wheel
fork (will not turn) while the wheel and spacer
washers (if used) spin freely without binding.
DANGER
BATTERIES PRODUCE EXPLOSIVE GASES
•Charge the battery in a well-ventilated
area, so that gases produced while charg-
ing can dissipate.
•Keep sparks, flames, and smoking mate-
rials away from the battery at all times.
•Make sure the battery cap vents are open
after the battery is filled with acid (check
manifold vent on each cap).
•Make sure the battery charger is unplug-
ged before connecting or disconnecting
cables to the battery.
WARNING
Make sure the battery cap vents are open.
Improper venting of the battery COULD
cause a battery explosion.
Battery Clamp
Secured by
Wing Nut(s)
(+) Battery Cable
Connection

Assembly Instructions
18
Deck Caster Wheel Installation
NOTE: If semi-pneumatic wheels are installed,
make sure the spacer washers fit over the spacer
tube and are not caught between the fork and the
end of the tube. The washers should move freely
on the axle spacer tube.
5. Grease the caster wheel bearings and caster
pivot bearings - one grease fitting for each wheel
and each pivot.
Deck Discharge Chute Installation
(GHS Rear Discharge Models Only)
Mount the discharge chute hinge on top of the deck
discharge opening using the 1/4-20 x 1/2 in. socket
button head bolt and 1/4-20 ESNA nut. Position the
bolt with the head inside of the chute and the nut on
the outside.
Discharge Chute and PTO Shaft Guard
Installation on Rear Discharge Deck
Deck Discharge Shield Installation
(Side Discharge Models Only)
Attach the deck side discharge shield by positioning
the shield hinge lug in front of the deck mount and
fastening with two 3/8-16 x 1-1/4 in. bolts, 3/8-16
ESNA nuts, and 3/8 in. wave spring washers. The
wave washers fit between the two hinging surfaces.
Tighten the nuts until the shield moves freely but is
not loose.
Discharge Shield Installation
on Side Discharge Deck
PTO Shaft Guard Installation
Position the shaft guard as shown and mount with
two 1/4-20 x 1/2 in. bolts.
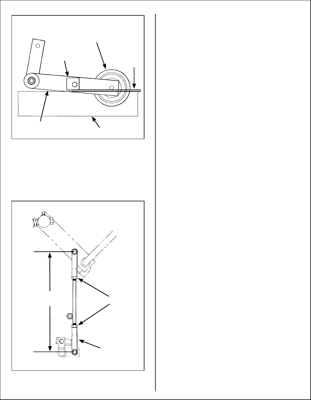
Tilt-Up Roller Wheel Installation
Mount the two (2) tilt-up roller wheels on the brack-
ets on the rear skirt of the deck housing using the
P/N 8490 axle bolt, 3/8 in. wave spring washer and
3/8-16 in. Whiz locknut. Tighten the axle bolt until
the wheel rolls freely, but is not loose.
Spacer Washer
Axle Spacer Tube
Grease Fitting
Locations
Attach Guard
Attach
Chute
Nut on Top
Carrier Frame
Tube Sockets
WARNING
DO NOT operate the machine without the
grass deflector chute attached and in the
lowest possible position.
Attach Shield

Assembly Instructions
19
Tilt-Up Spring and Roller Wheel
Installation on Rear Discharge Deck
Mower Deck lnstallation on Tractor
Deck Installation
1. Lightly grease each deck support arm (2) on the
tractor. Refer to Mower Deck Installation pho-
to on next page for location of deck support arm.
2. Engage the deck carrier frame tube sockets on
the tractor support arms (refer to Discharge
Chute and PTO Shaft Guard Installation photo
for socket location). Slide the deck onto the sup-
port arms: all the way if SD equipped model,
approximately 3 in. (76 mm) if GHS equipped
model.
NOTE: When installing the DSD52 Mower
deck, make sure to retract the dolly wheel after
mounting the deck on the tractor.
3. If the deck is rear discharge (GHS equipped
model), the rear discharge chute will need to be
aligned and connected to the blower inlet dur-
ing the last 2 in. (51 mm) of slide action on the
support arms.
NOTE: Raising the mower body may be help-
ful in fitting and guiding the deck chute into the
blower.
4. Install the hitch pin through the hole on the end
of each support arm to lock the deck in place
(refer to Deck Counterweight Spring Installa-
tion photo). Two (2) hitch pins are included in
the owner’s packet of materials.
5. Connect the mower deck PTO drive shaft
assembly to the tractor with the splined quick
disconnect coupler. This coupler simplifies
shaft alignment and installation.
a. Use the arrows on the shaft and tube to
align and slide the PTO quick coupler onto
the deck splined shaft.
b. Reaching under the tractor, pull the ring
back on the coupler, slide onto the spline
shaft on the tractor, and release the ring.
IMPORTANT: To prevent damage to the mower,
make sure the PTO shaft assembly is securely locked
on the tractor, with the locking balls fully seated in the
groove and the ring in the full forward position (refer
to the Coupler Ring “Locked” Position photo). Af-
ter installation, pull on the shaft to check for security.
Installing PTO Quick Coupler
Coupler Ring “Locked” Position
Attach Spring
Roller Wheels
Pull Back Spring-Loaded
Coupler Ring
Spring-Loaded Coupler Ring
In Fully Forward Position

Assembly Instructions
20
6. Raise the mower body (instead of lifting the
front of deck) and clip the counterweight springs
to the receptacle on front of body. Lower the
body to tension the springs. (Refer to Deck
Counterweight Spring Installation Photo.)
Mower Deck Installation
(PTO Shaft Connection)
7. With the counterweight springs connected, the
weight on the deck caster wheels should be
15 to 25 Ib (6.8 to 11.3 kg). Check this weight
by lifting on the front of the deck carrier frame. If
required, the spring tension can be adjusted by
tightening or loosening the elastic stop nuts
located underneath the lower spring hook.
Refer to Deck Counterweight Spring Installa-
tion photo.
Deck Counterweight Spring Installation
Arrows on Shaft and Tube
(used to align when sliding together)
PTO
Connection
Grease Deck
Support Arms
Counterweight Springs
Clip Onto Body
With Body Tilted Up
Hitch Pins
Lock Deck On
Support Arms
Spring Tension Adjustment
Nut Located Under Lower
Spring Hook (Not Visible)

Assembly Instructions
21
Deck Leveling
1. Position mower on a smooth, level surface. Set
the cutting height to the highest position - 4 in.
(102 mm) - for easy access under the deck to
measure blade height. Refer to ADJUSTING
CUTTING HEIGHT in Operating Instructions.
NOTE: A block of wood cut 4 in. (102 mm) high
is a convenient gauge to measure blade height
above ground during the leveling process.
2. Check the side-to-side level. Rotate each blade
sideways and measure the distance from blade
tip to ground on each side. If measurements
vary more than 1/8 in. (3 mm), add a washer
shim under the deck support pins on the low side
to level the deck.
3. Check the front-to-rear level. Rotate the blades
to point forward. Measure the distance from
blade tip to ground on the front and rear. The
rear of the blade should be 1/8 to 1/4 in. (3 to 6
mm) higher than the front of the blade; shim the
rear (or front) deck support pins equally to
achieve at least 1/8 in. (3 mm) difference.
NOTE: The mower deck and support frame are
jig welded; within normal tolerances, very little, if
any, shimming should be required to level the
deck. Tire pressure will influence the levelness
of the deck. Check the tire pressure as a possi-
ble cause of the deck not being level.
WARNING
The machine must be shut off during this
procedure.
Deck Leveling
Should be 1/8 in. (3 mm)
to 1/4 in. (6 mm) higher
at the rear of the blade
4 in. (102 mm)
Wood Block
4 in. (102 mm)
Wood Block
Should not vary more
than 1/8 in. (3 mm)
side-to-side

Assembly Instructions
22
PREOPERATING CHECKLIST
Before operating the mower for the first time, and as
a routine before daily operations, it is important to
make sure the mower is properly prepared and
ready for operation. The following is a list of items to
be checked. (For a mower with frequent operation,
some of these items will not need to be checked ev-
ery day, but the operator should be aware of the con-
dition of each.)
For proper fuels and lubricants refer to Specifica-
tions.
FILL FUEL TANK
Fill the fuel tank using clean, fresh automotive grade
unleaded gasoline (87 octane rating minimum).
IMPORTANT: DO NOT permit dirt or other foreign
matter to enter the fuel tank. Wipe dirt from around
the filler cap before removing. Use a clean fuel stor-
age container and funnel.
IMPORTANT: DO NOT mix oil with gasoline. Al-
ways use fresh, automotive grade gasoline. DO
NOT use premium, white, or high-test gasoline. DO
NOT use additives, such as carburetor cleaners, de-
icers, or moisture removing agents. DO NOT use
gasoline blended with methyl alcohol.
CHECK ENGINE CRANKCASE OIL LEVEL
Check the engine crankcase oil level before use and
after each 5 hours of continuous operation. Refer
to LUBRICATION for Checking Engine Crankcase
Oil Level in Maintenance Instructions.
CHECK AND SERVICE ENGINE AIR CLEAN-
ER SYSTEM
•Check air restriction gauge to make sure there is
no red indication showing.
•Check condition, cleanliness, and security of the
complete air cleaner system (clean air filter
every 100 hours). For detailed procedures,
refer to CLEANING the Engine Air Cleaner
System in Maintenance Instructions.
ADJUST CARBURETOR (Initial Start-up Only)
Refer to ADJUSTMENTS of Carburetor in Mainte-
nance Instructions.
CHECK ENGINE COOLING SYSTEM
Check that the engine cooling air intake screen is
free of obstruction by grass clippings or debris and
clean if required. Also, cylinder head cooling fins
should be inspected and cleaned if any build-up of
debris is noted [remove two (2) cylinder head ac-
cess panels to inspect and clean].
Check performance of the cooling system by start-
ing the engine, holding a hand adjacent to the cylin-
der heads, and feeling the cooling airflow.
DANGER
Handle gasoline with care. Gasoline is
highly flammable and its vapors are ex-
plosive. Use safe refueling procedures:
•DO NOT fill fuel tank with the engine run-
ning.
•If the engine is hot, allow to cool before
refueling.
•Use an approved fuel container.
•Fuel the mower outdoors.
•DO NOT smoke while refueling.
•Avoid spilling fuel; use a funnel or spout.
•DO NOT overfill the fuel tank; fill up to
about 1 in. (25 mm) below the top of tank.
DANGER
Make sure to keep hands clear of exhaust
pipe, muffler, and moving parts when
checking airflow.

Assembly Instructions
23
CHECK GEAR AXLE OIL LEVEL
Refer to Gear Axle Lubrication in Maintenance In-
structions.
INSPECT FOUR (4) DRIVE BELTS
Engine PTO Drive, Jackshaft Drive, Hydrostatic
Ground Drive, and GHS Blower Drive (if equipped).
CHECK HYDROSTATIC TRANSMISSION OIL
LEVEL
Refer to LUBRICATION for Checking Hydrostatic
Transmission Fluid Level in Maintenance Instruc-
tions.
CHECK BATTERY ELECTROLYTE LEVEL
Refer to CHECKING/SERVICING the Battery in
Maintenance Instructions.
CHECK FUNCTION OF OIL PRESSURE
WARNING LIGHT
Turn ignition key to the RUN position. The oil pres-
sure light should operate, indicating normal function.
CHECK TIRE PRESSURE
Deck Caster Wheel = 20 PSI (137 kPa)
Drive = 15 PSI (103 kPa)
Rear = 20 PSI (137 kPa)
CHECK AND CLEAN GRASS BUILDUP UN-
DERNEATH MOWER DECK (and inside GHS
blower, if equipped)
Refer to CLEANING the GHS Blower in Mainte-
nance Instructions for blower cleaning information.
The tilt-up deck can be secured in the raised position
by unlocking the deck lock levers on each side of the
carrier frame and inserting the deck hook into the tilt-
up latch on the tractor body. Before operating the
tractor, make sure to re-engage the deck lock levers
after lowering the deck to the normal operating po-
sition.
Deck Secured in TILT-UP Position
CHECK MOWER BLADE CONDITION, SHARP-
NESS, AND SECURITY OF MOUNTING
The blade mounting nut should be tightened to
60 ft-lb (81.3 N⋅m). If blade sharpening is required,
refer to CHECKING/SERVICING for Sharpen
Mower Blades in Maintenance Instructions.
ADJUST MOWER CUTTING HEIGHT, IF RE-
QUIRED
Position the hitch pins in the four deck support pins.
Refer to the “Cutting Height Adjustment” decal on
the deck gearbox cover.
PERFORM ANY ADDITIONAL PROCEDURES
called for on the MAINTENANCE SCHEDULE
CHART in Maintenance Instructions.
DANGER
Never operate cutter blades with deck in
raised position because it is hazardous.
CAUTION
Do not operate machine with deck tilt-up
pivot joint unlocked.
DANGER
Do not operate the mower with deck in tilt-
up position. Do not move the tractor with
the deck in the tilt-up position.
Tilt-Up Latch
Deck Lock Lever
Tilt-Up Lift Handle
Tilt-Up Latch
Tilt-Up Hook
on Deck

Operating Instructions
24
CONTROL IDENTIFICATION, LOCATION, AND
FUNCTION Ignition Switch
The ignition switch is located on the right front of the
body and is used to start and stop the engine. The
switch has three positions: “O” is the OFF position,
RUN is the position the key returns to after starting,
and “S” is the START position. When starting the
engine, turn the key clockwise to the “S” position.
Do not hold the key in the “S” position longer than 10
seconds. If the engine does not start, return the key
to the “O” position for at least 60 seconds before
making a restart attempt. Prolonged cranking can
damage the starter motor and shorten battery life.
Release the key when the engine starts, and it will
return to the RUN position. To stop the engine, rotate
the key counterclockwise to the “O” position.
CAUTION
Before operating the mower, become fa-
miliar with the location and function of
all operator controls. Knowing the loca-
tion, function, and operation of these
controls is important for safe and effi-
cient operation of the mower.
Operating Controls
Parking
Brake
Blade Clutch
(PTO)
Light Switch
(Optional, Not Shown)
Hourmeter
Forward Speed Control (FSC)
Steering Levers
Oil Pressure
Warning Light
5 Amp
Circuit Breaker
Ignition Switch

Operating Instructions
25
Ignition Switch
Engine Choke
The choke control lever (black knob) is located on
the left side of the seat. To start a cold engine, move
the choke control forward to the ON position. After
engine starts, move the choke control toward the
OFF position, keeping enough choke to allow the
engine to run smoothly as it warms up. As soon as
possible, move the choke to the OFF position. A
warm engine requires little or no choke for starting.
IMPORTANT: Make sure the choke is in the OFF
position during normal engine operation; running
with the choke in the ON position CAN damage the
engine.
Engine Throttle
The throttle control lever (red knob) is located on the
left side of the seat and is used to control engine
speed. Moving the lever forward toward the FAST
position increases engine speed; moving it back-
ward toward the IDLE position decreases engine
speed.
Choke and Throttle Location
Forward Speed Control (FSC)
Forward Speed Control (FSC) has two functions:
One is to set forward travel speed, and the other is
to establish the NEUTRAL-PARK position. When
the FSC lever is moved into the FORWARD posi-
tion, a friction lock holds any forward speed setting
from 0 to 5 mph (0 to 8 km/h). The ground speed is
proportional to the lever position; the further the le-
ver is advanced forward, the faster the tractor
moves. It is not necessary to hold the FSC in posi-
tion since the friction lock maintains the selected le-
ver position. Pulling back on the steering levers
overrides the FSC setting and slows or stops for-
ward travel. Releasing the steering levers allows
the tractor to resume forward travel at the speed set
by the FSC lever. To stop and park the machine, the
FSC lever is moved backward to the NEUTRAL-
PARK position.
Steering Levers
Each drive wheel is controlled by its own indepen-
dent steering lever, for both steering function and
FORWARD/REVERSE motion. The FSC lever sets
the maximum forward speed, and also sets the for-
ward position of the steering levers. The steering le-
vers operate only with a backward pulling
movement of the lever, which causes the drive
wheel for that lever to first slow down, stop, and then
reverse with a full backward lever stroke. The levers
are released to the FORWARD position for “straight-
ahead” ground travel.
NOTE: Pushing forward on the steering levers will
not cause any change in tractor motion - there will
be no steering lever reaction and there will be no
machine damage.
Blade Clutch (PTO)
The blade clutch lever has two positions. Pulling the
lever UP engages the PTO that drives the mower
blades. Pushing the lever DOWN disengages the
PTO and engages the blade brake.
NOTE: On GHS equipped models, the Powerfil ®
motor and Grass-Pak® full signal switch are activat-
ed by engaging the blade clutch. Refer to Using the
GHS Catcher in this section for a complete descrip-
tion of GHS operation.
ON
OFF
START
Throttle Choke

Operating Instructions
26
Parking Brake
The parking brake functions by locking a pin into the
hydrostatic transmission pinion gear teeth. Moving
the lever FORWARD engages the parking brake;
moving the lever BACKWARD releases the brake.
IMPORTANT: Stop the tractor completely before
engaging the parking brake. The parking brake uses
a positive mechanical lock similar to the PARK po-
sition on an automotive automatic transmission. If
the tractor is moving when the brake is engaged, it
will result in sudden stoppage and possible internal
damage to the axle drive.
NOTE: If pressure on the parking brake pin (e.g.,
parked on a hill) makes it impossible to release the
parking brake with the parking brake lever, move the
mower gently forward or backward to release the
pin.
Transmission Lockout Levers
The transmission lockout levers disengage the hy-
drostatic transmissons. By lifting the lever on top of
the transmission and locking it into place with the
lockout cam, the hydrostatic transmissions are re-
leased to permit freewheeling. By releasing the cam
and lowering the lever, the transmissions are en-
gaged for normal operation. The transmission lever
in the LOCKOUT position is used to enable moving
the machine without the engine running (e.g., for ser-
vice). Refer to TRANSMISSION LOCKOUT in this
section for operating instructions.
Lockout Lever Location
NOTE: The transmission plunger on the side of the
transmission case (activated by the LOCKOUT LE-
VER) must be completely released during operation
of the mower, otherwise operation of the transmis-
sion will be erratic.
Hourmeter
The hourmeter, which is located on the left front of
the body, displays operating time accumulated
while the ignition switch is in the ON position.
Oil Pressure Warning Light
The oil pressure warning light indicates that engine
oil pressure is below the safe operating range [below
3 to 5 PSI (21 to 34 kPa)]. This light will come on
when the ignition is turned ON, but should go off after
the engine is started. If the light fails to come on when
the ignition switch is turned ON, it could indicate a
burned out bulb. If the light comes on during engine
operation, stop the engine immediately and correct
the source of the problem before further engine op-
eration.
IMPORTANT: Continued operation of the engine
with an illuminated oil pressure warning light MAY
cause severe engine damage (if a low oil pressure
condition exists).
Circuit Breaker (5 Amp)
A 5-amp, manual-reset circuit breaker is located be-
low the ignition switch. The button pops up if the cir-
cuit breaker trips. This circuit breaker protects the
circuits to the safety switch relays, time delay mod-
ule, and GHS.
Light Switch (For Optional Lights)
Operates headlights (when installed).
Lockout
Levers
Transmission
Plunger

Operating Instructions
27
THROTTLE
BLADE CLUTCH (PTO)
Pull Up to Engage
PARKING
BRAKE
LEFT WHEEL
STEERING LEVER
Forward Position
(No Control Change)
Neutral-Park
Position
Reverse Drive
Wheel Motion
Position
RIGHT WHEEL
STEERING LEVER
The Forward Speed Control also Establishes the Neutral-Park Position of the Steering Levers
FORWARD SPEED
CONTROL LEVER (FSC)
Full Forward
Ground Speed
Position
Intermediate
Ground Speed
Position
Neutral-Park
Position
Disengaged
Position
Idle
Position
ON Position
OFF Position
CHOKE
Engaged
Position
Fast
Throttle
Position
Engaged
Position
Disengaged
Position
Operating Controls (Top View from Drivers Point of View)

Operating Instructions
28
STARTING THE ENGINE
1. Before attempting to start the engine, make
sure the operator is in the seat, the Forward
Speed Control is in NEUTRAL-PARK position,
and the blade clutch and parking brake are
DISENGAGED.
NOTE: Release parking brake to prevent extra
load on the starter if the transmission neutral is
slightly out of adjustment.
2. Move the choke lever to the ON position and
move the throttle 1/4 to 1/2 open (toward
FAST). Turn the ignition switch to the START
position to start the engine. Release the key to
RUN position as soon as the engine starts.
NOTE: The choke may not be required if the
engine is warm.
IMPORTANT: If the engine fails to start after
approximately 10 seconds of cranking, the
engine should be checked before further crank-
ing. Turn the key to the OFF position and allow
a 60 second cool-down period between starting
attempts. Failure to follow these guidelines can
damage the starter motor and shorten battery
life.
3. After the engine starts, make sure the oil pres-
sure light goes off. If not, stop the engine imme-
diately and find the cause of the problem. Make
sure the oil pressure light is off prior to engaging
the mower blades and beginning operation.
4. Gradually move the choke to the OFF position,
keeping enough choke on to allow the engine
to run smoothly as it warms up. As soon as
possible, move the choke to the OFF position.
IMPORTANT: Make sure the choke is in the
OFF position during normal engine operation;
running with the choke in the ON position CAN
damage the engine.
ADJUSTING GROUND SPEED AND STEERING
IMPORTANT: If the DSD52 Mower deck is in-
stalled on the tractor, make sure the dolly wheel is
retracted BEFORE moving.
CAUTION
Before operating the mower, read and un-
derstand all Safety Instructions and Operat-
ing Instructions.
WARNING
NEVER run the engine in an enclosed or
poorly ventilated area. Engine exhaust
contains carbon monoxide, an odorless
and deadly gas.
CAUTION
A safety interlock switch system PRE-
VENTS CRANKING the engine with either
the Forward Speed Control or the blade
clutch (PTO) out of neutral. If the engine
cranks otherwise, the safety system is not
working and should be repaired or ad-
justed before operating the mower. DO
NOT disconnect safety switches; they are
for the operator’s protection.
CAUTION
Learn to START, STOP, and MANEUVER
the mower in a large, open area.
If the operator has not operated a ma-
chine with LEVER STEERING OR DUAL
HYDROSTATIC TRANSMISSIONS, steer-
ing and ground operation should be
learned and practiced until the operator is
completely comfortable handling the ma-
chine BEFORE ATTEMPTING TO MOW.
DANGER
Keep feet on footrests at all times when
the machine is moving.

Operating Instructions
29
1. Move the FSC out of NEUTRAL-PARK position
to the desired forward speed. DO NOT hold for-
ward on steering levers. It is not necessary to
hold the FSC lever in position since a friction
lock maintains the selected lever position (and
forward travel speed).
NOTE: This is exactly the same procedure
used to normally stop and park the machine.
NOTE: If the FSC lever will not stay in the
selected position, the friction lock needs to be
adjusted. Refer to ADJUSTMENTS of Forward
Speed Control Friction Lock in Maintenance
Instructions.
2. Steer by pulling the lever on the side of desired
direction of turn, e.g., pull the LH lever to turn
left. To minimize the possibility of overcontrol,
use only one hand on both steering levers.
WARNING
In case either of the transmission drive
belts break during operation, and if the
machine is on a slope, the machine will
freewheel down the slope. To maintain
control, immediately (1) Release the
steering levers and simultaneously (2)
Move the FSC to the NEUTRAL-PARK
position. When the machine is stopped
or moving slowly, engage the parking
brake.
Beginning Recommendations are:
♦Learn operation of the mower in an open
area away from buildings, fences, and ob-
structions. Learn operation on flat ground
BEFORE operating on slopes.
♦Start maneuvering the mower with SLOW
engine speed and SLOW Forward Speed
Control setting until familiar with all operat-
ing characteristics.
♦Remember it is not necessary to hold the
steering levers forward (a unique Walker
feature); always PULL on the levers for
steering or for reverse motion of the mower.
♦Learn to operate the mower with your left
hand on the steering levers and right hand
on Forward Speed Control. The use of two
hands on the steering levers tends to cause
overcontrol.
♦Learn to operate the steering levers with
smooth action. Jerky movements are hard
on the transmission and lawn. For sharp
turns, do not allow the inside wheel to stop
and twist on the grass. Pull the steering le-
ver controlling the inside wheel into reverse
for a smooth “rolling” turn (one wheel roll-
ing forward while the other rolls backward).
♦Practice maneuvering the mower until
you can make it go exactly where you are
aiming.
♦Remember, for an emergency stop, or in
case of loss of control, machine movement
can always be stopped quickly by pulling
the Forward Speed Control into the NEU-
TRAL-PARK position.

Operating Instructions
30
Correct Operator Hand Position
on the Controls
3. Reverse direction of the mower by pulling both
levers backward.
NOTE: Smooth action on the steering levers
will produce smooth mower operation. Remem-
ber to keep the engine and ground speed slow
until learning the control response.
4. The FSC may be adjusted forward for faster
ground speed and backward for slower ground
speed. When mowing, ground speed should be
adjusted to match the load on the cutter blades,
i.e., as the engine pulls down in heavy cutting,
pull back on the FSC lever to reduce ground
speed. Adjusting ground speed helps maintain
a balance between engine power and blade
speed for high-quality cutting action.
5. Stop ground travel by pulling both steering le-
vers backward to the NEUTRAL position (trac-
tor not moving) and then moving the FSC lever
to the NEUTRAL-PARK position.
NOTE: If the tractor creeps forward or back-
ward with the FSC lever in the NEUTRAL-PARK
position, the transmission control needs to be
adjusted. Refer to ADJUSTMENTS of Trans-
mission Control in Maintenance Instructions.
ENGAGING THE MOWER
1. Set the engine throttle at about 1/3 speed. Do
not attempt to engage the blade clutch at
high engine speeds. This will drastically short-
en drive belt life. Use only moderate engine
speed when engaging the blade clutch.
2. Pull the blade clutch lever SLOWLY up to en-
gage the mower blades.
IMPORTANT: DO NOT engage the blade clutch
when transporting the mower across drives, side-
walks, loose materials, etc. DO NOT engage the
blade clutch with the PTO shaft disconnected
(the mower deck removed from tractor).
Pull Steering
Levers With
Left Hand
Keep Feet On Footrest
When Moving
Forward Speed Control
(FSC)
CAUTION
A safety interlock switch (seat switch) will
cause the engine to stop if the blade
clutch is engaged and the operator is not
in the seat. The function of this switch
should be checked by the operator rais-
ing off the seat and engaging the blade
clutch; the engine should stop. If the
switch is not working, it should be re-
paired or replaced before operating the
mower. DO NOT disconnect the safety
switches; they are for the operator’s pro-
tection.
CAUTION
If the cutting blades strike a stationary ob-
ject while mowing, stop the mower imme-
diately, disconnect the spark plug wires,
lift the deck, and inspect the deck and
blades thoroughly for damage. Make sure
that the blade timing has not been dis-
turbed (the blades should be at 90 degrees
to each other). Refer to REPLACING/RE-
PAIRING the Blade Overload Shear Bolts
in Maintenance Instructions if blades are out
of time. Also, make sure the blade retain-
ing nuts are torqued to 60 ft-lb (81.3 N⋅m).

Operating Instructions
31
Blade Clutch Engaged
Blade Clutch Disengaged
STOPPING THE MACHINE
1. Slow the engine to a fast idle; put the throttle in
the 1/2 throttle position.
2. Pull the steering levers to the NEUTRAL posi-
tion and then move the FSC lever backward to
the NEUTRAL-PARK position.
3. Disengage the blade clutch.
IMPORTANT: DO NOT disengage the blade
clutch with high engine speed (above 1/2 throt-
tle) since the brake action on the blade drive will
cause premature wear of the brake band.
4. Slow the engine to idle, put throttle in IDLE po-
sition; and turn the ignition switch OFF.
5. Engage the parking brake.
IMPORTANT: The hydrostatic transmissions
lock to prevent the mower from rolling freely with
the engine stopped. However, if the mower is
parked on a slope, it is necessary to ENGAGE
the parking BRAKE to prevent the mower from
creeping. This is due to a small amount of slip-
page in the hydrostatic transmissions, especially
when transmission fluid is warm.
ADJUSTING CUTTING HEIGHT
Engaged
Position
Disengaged
Position
WARNING
A brake stops the cutter blades (and
blower on GHS equipped models) from
freewheeling within five (5) seconds after
disengaging the clutch. If the brake sys-
tem malfunctions and the blades do not
stop within five (5) seconds, the brake
should be adjusted or repaired before op-
erating the mower. Refer to ADJUST-
MENTS of Blade Clutch (PTO) in
Maintenance Instructions.
WARNING
Remove the key from the ignition switch
when leaving the mower unattended. This
will prevent children and inexperienced
operators from starting the engine.
WARNING
The engine must be stopped before ad-
justing cutting height. Disengage the
blade clutch (PTO), stop the engine, and
remove the ignition key. Wait for all move-
ment to stop before getting off the seat.

Operating Instructions
32
Cutting height is adjusted by positioning the four re-
tainer hitch pins in a series of seven vertical holes on
the deck support pins. Lift handles have been pro-
vided on each end of the deck to assist in raising the
deck while positioning the hitch pins. Cutting
heights range from 1 in. (25 mm) [top holes] to 4 in.
(102 mm) [bottom holes] in 1/2 in. (13 mm) incre-
ments.
Cutting Height Adjustment
TRANSMISSION LOCKOUT
IMPORTANT: DO NOT TOW this mower with the
transmission lockout engaged. Towing can produce
excessive internal pressure and damage the trans-
mission.
To move the mower with the engine NOT running
(dead battery, maintenance, etc.), the hydrostatic
transmissions are unlocked (released).
1. Raise the body.
2. Lift the transmission lockout lever on both the
RH and LH transmissions and secure into place
with the locking cam.
3. The mower will “freewheel” with the levers in the
LOCKOUT position. The levers must be in the
highest position to completely unlock the trans-
missions.
Lockout Lever - Freewheel Position
4. After moving the mower, release the locking
cam, placing the lever DOWN in the normal OP-
ERATING position. Make sure the transmission
lockout plunger on the side of the transmission
case (activated by the lockout lever) is com-
pletely released, otherwise the transmission
operation will be erratic.
Lockout Lever - Normal Operating Position
Hitch Pin
Deck Support
Pin
Lift Handle
Cam in
LOCKOUT
Position
Plunger
Depressed
Lockout Lever
Cam in
UNLOCKED
Position
Lockout Lever
Plunger
Released

Operating Instructions
33
RECOMMENDATIONS FOR MOWING
IMPORTANT: Operate the engine at full speed
when mowing, to allow the engine to produce full
horsepower and to increase efficiency of the engine
cooling system.
•Keep the mower deck and discharge chute clean.
•Mow with sharp blades. A dull blade tears the
grass (resulting in poor lawn appearance) and uses
extra power (slowing the mowing speed).
•It is preferable to cut grass when it is dry and not
too tall. Mow frequently and do not cut grass too
short. (For best appearance, cut off 1/3 or less of
existing grass height.)
•When mowing, operate the engine at or near full
throttle for the best cutting action and performance
of the grass handling system (GHS). Mowing with a
lower engine RPM causes the mowing blade to not
cut clean and tear the grass. The engine is designed
to be operated at full speed.
•When mowing in adverse conditions (tall and/or
wet grass), mow the grass twice. Raise the mower to
the highest setting - 4 in. (102 mm) - for the first pass
and then make a second pass cutting to the desired
height.
•Use a slow setting on the FSC for trimming
operations.
•Make sure the mower is leveled properly for a
smooth cut. Refer to Deck Leveling in Assembly
Instructions.
•Use an alternating stripe mowing pattern for
best appearance and vary the direction of the stripe
each time the grass is mowed to avoid wear patterns
in the grass.
•Avoid damage to the grass by slipping and skid-
ding of the drive tires. Use smooth control move-
ments of the steering levers since the hydrostatic
transmissions are “power boosted controls” and jerk-
ing the levers can easily slip the tires. For sharp
turns, do not allow the inside wheel to stop and twist
on grass; pull inside steering lever into reverse for a
smooth “rolling” turn (one wheel rolling forward while
the other rolls backward).
•When using a side discharge mower deck, the
side discharge shield must not be removed and
must be kept in the lowest possible position to
deflect grass clippings and thrown objects down-
ward. Orient the side discharge away from side-
walks or streets to minimize cleanup of clippings.
When mowing close to obstacles, orient the side dis-
charge away from obstacles to reduce the chance of
damage to property by thrown objects.
Side Discharge Shield in Lowest Position
•When operating on a slope, reduce speed and
use caution to start, stop, and maneuver. Avoid
sharp turns or sudden changes in direction. The
maximum recommended side slope operating
angle is 20 degrees or 33% grade.
Maximum Recommended Side Slope
Maximum Recommended
Side Slope - Do Not Operate
on Steep Slopes

Operating Instructions
34
RECOMMENDATIONS FOR TILT-UP DECK
OPERATION/TRANSPORT
To avoid potential deck and/or tractor damage while
using the tilt-up deck, the following recommenda-
tions are offered:
•Do not move the tractor with the deck in the tilt-
up position since both the roller wheels (on the back
of the deck) and the GHS discharge chute may be
damaged by moving the tractor. The tilt-up configu-
ration should only be used when the tractor is
parked.
•The tractor body should never be tilted for-
ward with the deck in the tilt-up position. This can
cause the deck to unhook from the tractor and fall
with considerable force, potentially causing deck or
tractor damage and/or bodily injury.
•When transporting a tractor with the deck in the
tilt-up position (on a truck or trailer), the deck
should be secured to the vehicle with a strap or
rope (stop vertical movement). This will prevent the
deck from bouncing on the rear roller wheels (caus-
ing breakage). This will also prevent the deck from
unhooking from the tractor and falling, potentially
causing deck or tractor damage. Damage to other
items parked in front of the deck may also occur.

Operating Instructions
35
GRASS HANDLING SYSTEM (GHS)
GHS Model Only
GHS Flow and Components
PTO and Blade
Gear Drive
PTO
Clutch
Rear Discharge
Mower Deck
Deck
Discharge Chute
Blower
Body Chute
Assembly
Grass Catcher
Catcher
Door Spring
Catcher
Door
Exhaust
Deflector
Exhaust Screen
(Removable)
Catcher Door
Safety Latch
Grass-Pak®
Vane Switch
“Full” Signal
Horn
Actuator
Rod
Powerfil ®
Drive Motor
Dump Handle
Powerfil ®
Delivery Spout
Delivery
Chute
Shear Pin
Shear
Bolt

Operating Instructions
36
General Information
The Grass Handling System (GHS) consists of a
rear discharge mower deck connected to a 10 in.
(25 cm) blower and a rear mounted grass catcher
with 6.7 bushel (238 liters) capacity or optional 9.5
bushel (335 liters) capacity. The GHS blower oper-
ates any time the mower blade clutch is engaged
and moves grass through the rear discharge deck
chute into the grass catcher. Blower airflow is ex-
hausted out the back of the grass catcher, through a
filtering screen. When the grass catcher is full and
needs to be emptied, a “full” signal horn alerts
the operator. When the “full” signal horn sounds, it
is important to stop mowing to prevent overfilling
and clogging of the blower system.
IMPORTANT: Normally, the GHS blower operates
with no maintenance or cleaning required. How-
ever, under certain operating conditions, the inside
of the blower housing may accumulate a deposit of
dirt, causing wear and binding of the blower wheel.
Normally, dirt buildup occurs when mowing a com-
bination of dirty and damp grass, especially in
the springtime. When operating in these condi-
tions, check the blower wheel frequently for
binding and clean the blower housing as required.
Refer to CLEANING the GHS Blower in Mainte-
nance Instructions.
NOTE: In Autumn, when using the GHS mower to
vacuum leaves, it is recommended to raise the
front of the mower deck 2 to 3 notches [1 to 1-1/2
in. (25 to 38 mm)] higher than the rear. This will
avoid “bulldozing” leaves, particularly when the
leaves are piled in a thick layer. To make this ad-
justment, the hitch pins in the two (2) front deck
support pins are repositioned 2 to 3 notches higher
while leaving the rear pins in their original position.
NOTE: When a side discharge or mulching mow-
er deck is installed on the GHS model, a blower
intake cover should be installed in the blower intake
tube. This cover “unloads” the blower and seals
the intake to effectively eliminate power loss and
blower noise when the blower is not being used.
Blower Intake Cover
DANGER
NEVER operate the GHS catcher with the
back door open. Objects may be thrown
out the back of the catcher with sufficient
force to cause serious injury to bystand-
ers or property damage.
DANGER
ROTATING BLOWER BLADES
NEVER operate the GHS blower with the
blower discharge chute uncovered (grass
catcher in the dump position) since dan-
gerous projectiles may be thrown. NEVER
put hands into the blower discharge chute
for any reason. Use a stick or similar in-
strument to remove any material if clog-
ging has occurred.
CAUTION
NEVER leave grass clippings in the grass
catcher after mowing. Damp clippings
generate heat as they decompose. This
MAY cause spontaneous combustion.
Blower
Intake Cover

Operating Instructions
37
Clogging Checklist
In case of clogging, there will be a distinct change
in the sound of the blower, i.e., the blower sound
will stop. Also, the mower deck will begin to leave a
trail of grass clippings. When this occurs, stop the
engine, disconnect the spark plug wires, and make
sure all movement has stopped before attempt-
ing to unclog.
Normally, any clogging will first develop at the back
of the mower deck in the discharge opening into the
blower chute. Clogging at this point does not indi-
cate a particular problem in this part of the
system, but is a symptom of something restrict-
ing the flow of material throughout the entire
system. The following list of items should be
checked if a pattern of clogging begins to develop.
All of these items are capable of causing clogging at
the back of the deck.
•Check to see if the RH and LH mower blades are
installed for the correct rotation - install blades so
the cutting edges move toward each other.
Blade Rotation for GHS Mower Deck
(view from underneath)
•Check the amount of flat section remaining at
blade tip. This is the area that is ground away (re-
moved) when the blades are sharpened. If too much
of the flat section is removed, the “air lift” performance
or “shovel” effect of the blade deteriorates to the point
that discharge of grass clippings into the blower
chute is marginal. Replace cutter blades if less than
3/4 in. (19 mm) flat section remains at the blade tip.
•Check that the interior of the deck housing and
baffling is reasonably clean and free of grass and
dirt buildup. While some degree of material buildup
can be tolerated, a point is finally reached where the
flow of air and grass clippings is restricted.
NOTE: One condition that quickly causes a
buildup of material in the deck housing is mowing
grass and/or weeds which are “juicy.” The material
collects under the deck with sticky, green juice. Clo-
ver and weeds are especially a problem. The
mower deck will need to be cleaned frequently when
operating in these conditions.
•Check the deck cutting height setting. When
working in thick, tall grass, lower deck settings
[1 to 2 in. (25 to 51 mm) cutting heights] tend to
restrict airflow from moving into and under the
deck. Raising the deck cutting height will signifi-
cantly increase airflow and reduce clogging when
working in thick, tall grass.
•Check the interior of the chute connecting the
mower deck to the blower for smoothness and
freedom from obstruction.
•Check the blower wheel for bent blades and
excessive clearance between the blade tip and the
blower housing. A clearance greater than 1/8 in.
(3 mm) will cause a significant loss of blower
performance.
•Check the blower discharge chute into the grass
catcher for smoothness and freedom from ob-
struction.
•Check the elbow inside the grass catcher for a
buildup of material in the radius of the elbow. In
certain conditions (damp/dirty grass) a considerable
“clump” of material can accumulate at this point,
greatly restricting material and airflow.
•Check that the openings in the removable air
exhaust screen in the grass catcher are not
plugged. If the screen is clogged, refer to Cleaning
the GHS Exhaust Screen in this section.
DANGER
NEVER place hands under the mower deck
or in the GHS blower discharge chute. Use
a stick or similar tool to remove any
clogged material.
FORWARD
Blades Must Operate at
Right Angles (90 Degrees)
Mounting Nut
Torque = 60 ft-lb
(81.3 N⋅m)
Rear Discharge
Chute

Operating Instructions
38
Remember, anything that restricts airflow or material
flow along the entire path from the mower deck to
the grass catcher can cause clogging.
Using the Tilt-Up Deck
Refer to CLEANING of Grass Buildup in Mower
Housing in Maintenance Instructions.
Using the GHS Catcher
Powerfil ®
The GHS catcher has an oscillating grass delivery
spout (POWERFIL®) which is designed to spread
grass clippings throughout the interior of the grass
catcher (even when mowing wet, heavy grass). The
oscillating action may be checked by turning the
ignition switch to the ON position and moving the
blade clutch to the ENGAGED position. The spout
should oscillate approximately 25 cycles per
minute.
NOTE: If the grass spout fails to oscillate, the clutch
switch should be checked for function (the switch
closure is adjustable).
“Full” Signal Horn
The GHS catcher has a “full” signal horn to alert
the operator to dump the catcher when it is full (to
prevent overfilling and clogging). The “full” signal
horn is activated by a vane switch (Grass-Pak®
switch) mounted on the grass delivery spout. Oscil-
lating action of the spout triggers the vane switch as
grass begins to fill in around the spout when the
catcher is almost full.
The “full” signal function may be checked by turning
the ignition switch ON, engaging the blade clutch
(engine not running), opening the catcher back door,
and triggering the Grass-Pak® vane by hand as it
oscillates. The horn should sound as the switch is
moved in both directions.
The “full” signal horn is designed to operate (sound)
when the grass catcher is almost full. The timing of
the signal is adjustable by changing the position of
the vane on the Grass-Pak® switch. If the signal is
coming on too soon (catcher not completely full) or
too late (grass clogging in catcher spout and deliv-
ery chute), refer to ADJUSTMENTS of GHS “Full”
Signal Horn in Maintenance Instructions.
NOTE: The horn signal should be adjusted to
sound BEFORE the catcher is completely full to
give the operator time to react and stop mowing. An
indication the horn signal is coming on too late (de-
layed too much) is if grass clippings are falling out of
the grass catcher delivery chute when the catcher is
dumped.
Cleaning the GHS Exhaust Screen
To remove the grass catcher screen for cleaning,
open the catcher door, push forward and pull down
on the grass catcher screen knobs (on either side of
the screen), and slide the screen out. Use a high
pressure washer or water spray and brush to clean
the screen.
Keeping the catcher exhaust screen clean and open
is essential to good performance of the catching
system. In some mowing conditions, e.g., wet and
dirty, it will be necessary to clean the screen fre-
quently to avoid clogging the mower deck, blower,
and chutes due to airflow restriction.
Grass Catcher Screen Removal for Cleaning
WARNING
DO NOT test the Grass-Pak® switch with
the engine running. Projectiles may be
thrown out of the grass delivery spout,
and COULD cause serious injury.
Grass Catcher
Screen
Removal
Knobs

Operating Instructions
39
Dumping the Catcher
For dumping, the catcher either tailgate dumps into
a disposal area or dumps into the optional dump
bag. The dump bag is a reusable nylon fabric bag
designed to conveniently move grass clippings from
the catcher to a remote disposal area or container.
Tailgate Dumping
1. Open the back door by lifting on the door handle.
NOTE: To prevent accidental door closure, a
safety latch locks the door open in the fully
opened position while the catcher is being
dumped.
2. Tilt the catcher back to dump by lifting on the
catcher lift handle on the lower front corner of
the catcher.
3. Lower the catcher smoothly down to the normal
operating position. DO NOT allow the catcher
to drop down.
4. Close the door by holding the door handle
with the left hand and releasing the safety
latch on the door hinge mechanism with the
right hand. The safety latch is released by
pressing in on the top of the latch. Then,
smoothly close the door, working against the
spring pressure that holds the door closed.
DO NOT let the door slam shut by releasing
the door before it is closed.
Catcher Door Safety Latch
Using the Dump Bag
1. Open the back door by lifting on the door han-
dle.
NOTE: To prevent accidental door closure,
a safety latch locks the door open in the
fully opened position while the catcher is be-
ing dumped.
2. Orient the dump bag with one of the handle
straps on the bag opening facing up.
Positioning Dump Bag on Catcher
Safety
Latch
Tailgate Door
Handle
Hook Bag
on Bumper

Operating Instructions
40
3. Hook the bottom of the bag over the rear
bumper while lifting on the handle strap.
4. Tilt the catcher back to dump into the bag by lift-
ing on the catcher lift handle on the lower
front corner of the catcher with the one hand
while continuing to hold up on the bag strap
with the other hand. Refer to photos for posi-
tioning the bag and dumping.
Dumping Catcher into Dump Bag
5. Lower the catcher smoothly down to the normal
operating position. DO NOT allow the catcher
to drop down.
6. Close the door by holding the door handle with
the left hand and releasing the safety latch on
the door hinge mechanism with the right hand.
The safety latch is released by pressing in on
the top of the latch. Then, smoothly close the
door, working against the spring pressure that
holds the door closed. DO NOT let the door
slam shut by releasing the door before it is
closed.
Catcher Lift /
Dump Handle

Maintenance Instructions
41
CAUTION
Maintenance procedures requiring special training or
tools should be performed by a trained technician.
MAINTENANCE SCHEDULE CHART - RECOMMENDED SERVICE INTERVALS - MODEL MC
Service Item Daily 25
Hours 100
Hours 200
Hours Yearly Every
2Years Ref.
Page
Check Engine Crankcase Oil Level x 43
Check/Clean Engine Air Cooling System* x 52
Check Security of Air Filtration Components x 55
Check Air Filter Restriction Gauge x 51
Clean Grass Buildup Under Deck x 53
Clean GHS Exhaust Screen* x 38
Clean GHS Blower* x 54
Service Mower Blades x 56
Check Function of Oil Pressure Warning Light x 23
Lubricate Grease Fittings and Oil Points* x 44
Check PTO Gearbox Oil Level** x 46
Check Battery Electrolyte Level x 55
Check Hydrostatic Transmission Fluid x 46
Check Tire Pressure x 56
Check Drive Belts (Jackshaft, Engine PTO,
GHS Blower, Ground Drive) x57
Check Gearbox Oil Seals x 58
Check Turbine Precleaner* x 50
Check/Clean Air Filter Element ∆x51
Change Engine Crankcase Oil ∆∆ x43
Check/Adjust Blade Clutch (PTO)/
Brake Action x71
Check Oil Level in Gear Axle x 46
Clean Hydrostatic Transmission Cooling Fins x 55
Clean Engine Cooling Fins x 52
Check/Regap Spark Plugs x 58
Change Engine Oil Filter x 43
Check Fuel Lines and Clamps x 58
Replace Air Filter Element
and Vacuator™ Valve ∆x51
Replace Fuel Filter x65
Service Battery x55
Check/Adjust FSC Friction Lock x 76
Service Solenoid Shift Starter x 58
Check Engine Valve Clearance x 58
Change Gear Axle Oil ∆∆∆ x46
Change Hydrostatic Transmission Fluid ∆∆∆ x47
Replace Fuel Lines and Clamps x58
∗More often in extremely dusty or dirty conditions
(refer to notes about air cleaner element in
IMPORTANT TIPS FOR CARE OF KOHLER ENGINE)
∗∗ Change PTO gearbox oil and filter after first
100 hours of operation (break-in period)
∆Air cleaner is remote mounted Donaldson Radialseal™
unit, replace filter every year or after 6 cleanings
∆∆ Change engine oil and filter after first 5 hours of
operation of a new engine (break-in period)
∆∆∆ Change every 2 years or 1000 hours
CAUTION
When performing maintenance with the
mower body raised, a safety prop should
be installed from back of body to chassis
frame (fail-safe protection in case of fail-
ure of body lift support). For GHS Model,
empty grass catcher before raising body.

Maintenance Instructions KOHLER TIPS
42
IMPORTANT TIPS FOR CARE OF THE KOHLER
ENGINE
Fuel System
•Fuel must be clean - free from water, dirt, and or-
ganic material.
•Change fuel filter on a regular basis and when
contamination is suspected or found in the fuel.
Starting/Stopping
•Start engine with the throttle advanced off idle (1/
4 to 1/2 throttle). This will aid starting, especially in
cold weather.
•Keep the battery fully charged.
•Match crankcase oil viscosity to the ambient tem-
perature, allowing the engine to crank faster and
start easier.
•Allow engine to run at idle for a few seconds be-
fore stopping engine to avoid run-on or backfiring.
Cooling System
•Keep engine air intake screen and cylinder head
fins free of grass clippings, chaff, and dirt. Inspect
intake screen and cooling fins for cleanliness and no
damage.
•Periodically remove two access panels in the en-
gine shroud to inspect and clean cylinder head cool-
ing fins.
•Check performance of the cooling system by
starting the engine, holding a hand adjacent to the
cylinder head, and feeling the cooling airflow.
•Operate the engine at full speed when mowing.
This allows the engine to produce full horsepower
and move more cooling air through the engine cool-
ing fins.
Air Cleaner System
•Use only Donaldson air cleaner elements. After-
market elements may not seal in the air cleaner
housing, allowing dirt to enter the engine. Also, af-
termarket filters often skimp on the filtration media
and require more frequent cleaning and replace-
ment (see following instructions).
•Use the air flow restriction gauge to indicate the
need to service the air filter.
•Do frequently check the Turbine Precleaner for
free movement of the internal fan.
•DO NOT overservice or frequently “disturb” the
air filter. A dirty air filter actually cleans better than
a new one. Changing and cleaning the air filter too
often can actually reduce filter efficiency and in-
crease the opportunity for traces of dust to enter the
engine. Wait until the element really needs servicing
as indicated by the air flow restriction gauge.
•When the air filter element is removed or re-
placed, make sure all dust is cleaned out of the air
cleaner housing and hose. Use a damp cloth and
wipe the interior of the canister and hose clean (a lit-
tle dirt left here will be sucked into the engine and
reduce engine life). When the filter is reinstalled,
make sure the element is held tight and straight in
the canister for proper seating and sealing.
•Periodically check the air intake hose for cuts,
nicks, etc., and the hose clamps for tightness.
Oil
•Use only multi-viscosity oils as specified with the
viscosity matching ambient temperatures for the en-
gine operating conditions. This will aid starting in
cold weather and assure proper lubrication in hot
weather.
•Use only Kohler oil filters. Aftermarket filters
may not seal properly and/or have the incorrect
pressure relief valve for proper lubrication.
DANGER
Make sure to keep hands clear of exhaust
pipe, muffler, and moving parts when
checking airflow.

Maintenance Instructions LUBRICATION
43
LUBRICATION
Proper lubrication is an important maintenance pro-
cedure. It reduces wear and makes the machine qui-
eter and easier to operate.
Engine Oil
Engine Break-In Oil
No special break-in oil is required. The engine is
serviced with 10W-30, Service Class SG oil from the
factory. Change the oil after the initial engine break-
in period of 5 hours. Thereafter, change oil after
every 100 hours of operation.
Checking Engine Crankcase Oil Level
Check the engine crankcase oil level before use and
after each 8 hours of continuous operation.
IMPORTANT: The importance of checking and
maintaining the proper crankcase oil level cannot be
overemphasized. Check the oil level BEFORE
EACH USE.
1. Park the mower on a level surface with the en-
gine stopped. Also, make sure the engine is
cool and oil has had time to drain into the sump
[allow at least five (5) minutes after stopping
the engine].
IMPORTANT: NEVER check or add oil with the
engine running.
2. Before removing the dipstick, clean the area
around the dipstick to keep any dirt or debris out
of the engine.
3. Remove the dipstick, wipe off with a clean rag,
then reinsert the dipstick into the tube and press
all the way down.
4. Remove the dipstick again and check the oil lev-
el on the dipstick. The oil level should be within
the “Operating Range” on the dipstick (between
the “L” mark and the “F” mark).
IMPORTANT: DO NOT operate engine without
a sufficient oil supply in the crankcase. DO NOT
operate with the oil level below the “L” mark or
above the “F” mark on the dipstick.
5. If additional oil is needed, refer to Specifications
for proper crankcase lubricant. Fill up to, but
not above, the “F” mark on the dipstick.
IMPORTANT: DO NOT overfill the crankcase
(oil above “F” mark) as this CAN result in engine
overheating, loss of power, and possible en-
gine damage.
Dipstick Operating Range
Changing Engine Crankcase Oil/Oil Filter
Change the engine crankcase oil after every 100
hours of operation and replace the oil filter every
other oil change (every 200 hours of operation).
WARNING
DO NOT attempt to lubricate the machine
with the engine running. Disengage the
PTO clutch, shut off the machine, and re-
move the ignition key.
Full Mark
Low Mark

Maintenance Instructions LUBRICATION
44
1. Park the mower on a level surface with the en-
gine stopped. The engine oil should be warm
before draining. If not warm from operation,
start the engine and run a few minutes to warm
the oil.
2. Before removing the dipstick, clean the area
around it to keep any dirt or debris out of the en-
gine.
3. Remove the dipstick and oil drain plug and drain
the oil into a suitable container. Be sure to allow
ample time for complete drainage.
Oil Drain/Oil Filter Location
4. Before removing the oil filter, clean the area
around the filter to keep dirt and debris out of
the engine.
5. Remove the old oil filter and wipe off the filter
mounting surface on the engine.
6. Apply a thin coating of clean oil to the rubber
gasket on the replacement oil filter.
IMPORTANT: Use ONLY oil filters from the en-
gine manufacturer (Kohler 12-050-01). After-
market oil filters may not seal properly and/or
may not have the correct pressure relief valve
for proper lubrication.
7. Install the new oil filter on the engine. Turn the
filter clockwise until the rubber gasket contacts
the sealing surface, then tighten an additional
1/2 turn.
8. Reinstall the drain plug. Make sure it is tight-
ened to 10 ft-lb (13.6 N·m).
9. Fill the crankcase with new, clean oil. Use only
crankcase lubricants recommended by the en-
gine manufacturer. Refer to Specifications in
this manual or the engine owner’s manual. Use
the recommended oil viscosity for the expected
ambient temperature. Oil with the correct vis-
cosity will aid starting in cold weather and assure
proper lubrication in hot weather. Fill up to, but
not above, the “F” mark on the dipstick.
Crankcase capacity is 1.85 quarts (1.75 liters)
plus 1/2 pint (.24 liters) for the new oil filter.
IMPORTANT: Check the dipstick reading be-
fore adding the last 1/2 pint of oil and fill only to
the “F” mark. DO NOT overfill the crankcase
(oil above “F” mark) as this CAN result in en-
gine overheating, loss of power, and possible
engine damage.
10. Start the engine and check for oil leaks around
the oil filter. Stop the engine, recheck the oil lev-
el, and add oil if necessary. (When the engine
is first operated with a new oil filter, the oil level
drops slightly as the filter is filled with oil.)
Grease Fitting and Oil Point Lubrication
Lubricate the grease fittings and oil points after ev-
ery 25 hours of operation. Lubricate more often
when operating in dusty or dirty conditions. Use
SAE general purpose lithium or molybdenum base
grease for grease fittings and light machine oil (SAE
10) to lubricate oil points. Lubricate the locations
shown in the Chassis and Deck Lubrication
Points illustration.
NOTE: PTO universal joints (on the deck and trac-
tor) require routine lubrication after every 8 hours of
running time.
Mower Deck Gearbox Lubrication
NOTE: These instructions apply to all mower
decks with gear-driven blades. Refer to DSD52
Mower Deck Lubrication in this section for the
DSD52 deck with belt-driven blades.
Drain Plug
Oil Filter

Maintenance Instructions LUBRICATION
45
The mower deck gearboxes (tee gearbox and blade
drive gearboxes) are connected as a unitized assem-
bly, and oil flows freely between them. The gearboxes
are permanently lubricated (oil filled) and sealed re-
quiring no scheduled lubrication. However, the gear-
box oil seals should be checked every 25 hours for
indication of an oil leak; particularly the lower seals
on the blade drive gearboxes should be inspected,
since they operate in a dirty environment. If an oil leak
is noted, replace the oil seal and relubricate the gear-
box assembly as follows:
1. Remove gearbox cover (footrest). Deck orien-
tation should be the normal operating position.
Mower Deck Gearboxes
(shown with gearbox cover removed for clarity)
2. Clean the area around the individual gearbox
cover plates to prevent contaminants from en-
tering the gearcase.
3. Remove the screws securing the cover plates
on the blade drive gearboxes.
4. Check the level of lubricant in the gearboxes. If
the lubricant is low, add SAE E.P. (Extreme
Pressure) 90W oil until the oil level is up to (sub-
merges) the horizontal shaft in the gearbox
(shaft parallel to cover plate).
NOTE: In case the gearboxes are completely
drained of oil, approximately 5 fl. oz. (15 cl) of oil
per gearbox is required to refill the gear drive
assembly.
NOTE: Since the gearboxes are connected as
a unit by connector tubes, it is necessary to add
oil slowly. Allow a few minutes after adding oil
for the oil to flow throughout the assembly and
the oil level to stabilize before reassembly.
IMPORTANT: DO NOT overfill the deck gear-
boxes. The gearbox assembly is not vented,
and overfilling with oil will cause excessive pres-
sure and result in oil leaks.
5. Check condition of the cover gasket and replace
if worn or damaged. Reinstall gearbox cover
plates; torque screws to 24 in-lb (2.7 N⋅m).
DSD52 Mower Deck Lubrication
There are several special lubrication requirements
for the DSD52 mower deck in addition to the require-
ments detailed in the Chassis and Deck Lubrica-
tion illustration. Lubricate the locations shown in the
Blade Spindle Lubrication and Gearbox, Dolly
Wheel, and U-Joint Lubrication photos and check
and maintain oil in the belt drive gearbox.
1. Lubricate the blade spindles every 25 hours
with two (2) shots of SAE general purpose lithi-
um or molybdenum base grease.
Blade Spindle Lubrication
2. Check the oil level in the belt drive gearbox ev-
ery 100 hours (or sooner if a visible oil leak has
developed). With the deck in the normal oper-
ating position, remove the level plug in the side
of the gearcase. Add SAE E.P. (Extreme Pres-
sure) 90W oil to maintain the oil level to the plug.
If the oil level is low, check the gearbox for any
indication of an oil leak. If an oil leak is noted,
the gearbox will need to be removed and rebuilt.
3. Lubricate the dolly wheel pivot every 25 hours
with general purpose grease.
Blade Drive
Gearboxes
Tee
Gearbox
Blade
Spindles

Maintenance Instructions LUBRICATION
46
4. Lubricate the U-Joint in the drive shaft every
8 hours with SAE general purpose lithium or
molybdenum base grease.
Gearbox, Dolly Wheel, and U-Joint Lubrication
Tractor PTO Gearbox Lubrication
Checking Gearbox Oil Level
Check the gearbox oil level every 25 hours, and if
necessary, add oil [SAE E.P. (Extreme Pressure)
90W gear lube] to maintain oil level to the FULL
mark on the dipstick.
IMPORTANT: DO NOT overfill the PTO gearbox to
avoid oil leakage out of the dipstick standpipe.
If the oil level is low, check the gearbox for any indi-
cation of an oil leak. If an oil leak is noted, the gear-
box will need to be removed and rebuilt.
Dipstick Location, Tractor PTO Gearbox
Changing Gearbox Oil
The tractor PTO gearbox is oil filled and vented. No
scheduled oil change is required. However, chang-
ing the oil after the first 100 hour break-in period
will extend gearbox life and is recommended.
1. Remove the drain plug in the bottom of the
gearcase, drain the oil, and reinstall the plug.
2. Refill the gearbox through the dipstick stand-
pipe using 7 to 8 fl. oz. (21 to 24 cl) of SAE E.P.
(Extreme Pressure) 90W gear lube.
3. Check that the oil level is at the FULL mark on
the dipstick. DO NOT overfill.
Gear Axle Lubrication
•The gear axle oil lubrication is SAE 80W-90 (API
GL-5) gear lube.
•Check the axle oil level after every 100 hours of
operation by removing the oil level plug. If additional
oil is needed, remove the breather vent on top of ax-
le and fill until oil is at the level plug.
•Change axle oil every 1000 hours or two (2)
years.
Hydrostatic Transmission Fluid
Checking Hydrostatic Transmission Fluid Level
Hydrostatic transmission fluid level should be
checked every 25 hours of machine operation. It is
preferable to check the fluid level when fluid is
cold. Check fluid level as follows:
1. Park the mower on a level surface. Stop the
engine and wipe dirt and contaminants from
around the reservoir cap and air bleed plug.
IMPORTANT: Before removing the reservoir
cap, clean any dirt from around it. Any dirt or con-
taminants entering the transmission will acceler-
ate wear and eventually cause loss of power to
the drive wheels.
2. Remove the reservoir cap and check the level
of the fluid. The reservoir has a fluid level COLD
mark and HOT mark. The reservoir oil level
should ALWAYS be at or above the COLD
mark and NEVER above the HOT mark.
Dolly Wheel
Pivot
U-Joint
Level Plug
Belt Drive
Gearbox
Dipstick
PTO
Gearbox
Jackshaft

Maintenance Instructions LUBRICATION
47
Transmission Reservoir
and Air Bleed Plug Location
3. If the fluid is below the COLD mark (or the trans-
mission is not performing properly), loosen the
air bleed plug (located on the top of transmis-
sion case next to the plastic reservoir).
a. If a small amount of fluid leaks from around
the air bleed plug:
* The transmission is full of fluid.
* Tighten the plug and fill the reservoir to
the COLD level mark.
b. If no fluid leaks from around the air bleed
plug:
* Slowly add fluid into the reservoir until
fluid starts to leak from around the plug.
(Transmissions are serviced from the
factory with Mobil 1 (15W50) Synthet-
ic Oil). When it is necessary to add flu-
id, refer to Specifications for the proper
fluid.
* As soon as there is fluid leaking from
around the air bleed plug, tighten the
plug and fill the reservoir to the COLD
level mark. Wipe any excess oil off of
the transmission housing.
IMPORTANT: DO NOT overfill the transmission
reservoir. This will result in oil leaking out of the res-
ervoir cap vent when the transmission warms up. It
is preferable to add fluid to the transmission when it
is cold and make sure the oil is not above or be-
low the COLD level mark.
IMPORTANT: The transmission reservoir has a fine
mesh screen in the bottom to trap dirt and foreign
particles from entering the transmission. When fill-
ing the reservoir, fluid will flow quite slowly through
this screen; so it is essential that there is fluid at the
bleed plug before the transmission is considered full.
IMPORTANT: Any attempt to remove or in any way
alter the filtering screen in the transmission reservoir
could cause damage to the transmission and will
VOID any transmission warranty.
Changing Hydrostatic Transmission Fluid
The hydrostatic fluid should be changed every 1000
hours or two (2) years. Also, the fluid should be
changed if the natural color of the fluid has be-
come black or milky (indicating possible over-
heating or water contamination of fluid). The trans-
mission is refilled using the factory service fluid
noted in TRANSMISSION Specifications. The fluid is
changed as follows:
1. Park the mower on a level surface and stop the
engine.
2. Remove the lower drain plug and the air bleed
plug. Allow the fluid to drain out.
IMPORTANT: Clean any dirt from around the
plugs and reservoir cap before removing them.
3. Reinstall the lower drain plug, making sure the
rubber O-ring on the plug is in place and in
good condition.
4. Refill the transmission through the air bleed
plug hole until it is as full as possible.
IMPORTANT: Avoid fluid contamination when fill-
ing the reservoir. Use clean container, spout, fun-
nel, etc. when pouring the fluid into the reservoir.
5. Rotate the transmission input shaft about five (5)
revolutions to allow any trapped air to escape.
6. Before installing the air bleed plug, fill the reser-
voir with fluid allowing a small amount to leak
out of the air bleed plug hole.
7. Install the air bleed plug and fill the reservoir to
the COLD level line.
Cold Level
Reservoir Cap
Hot Level
Air Bleed Plug

Maintenance Instructions LUBRICATION
48
Ident Lubrication No.
No. Location Type Places Ident Lubrication No.
No. Location Type Places
1 Deck Caster Wheel Fork Pivot Grease 2
2 Deck Caster Wheel Bearing Grease 2
3 Tee Gearbox, Deck Oil*1
4 Blade Drive Gearbox Oil*2
5 PTO Shaft Guard Hinge Oil 1
6 Universal Joint Shaft Assembly Grease** 1
7 Pivot Assembly, Tilt-Up Deck Grease 4
8 Deck Support Arm Socket Grease 2
9 Body Hinge Point Oil 2
10 FSC Actuator Rod Pivot Pins Oil 2
11 FSC Lever Pivot Grease 1
12 FSC Lever Fork Grease 1
(Grease Slide Area)
13 (FSC) Friction Body Pivot Grease 1
14 Steering Lever Pivot Grease 4
15 Deck Roller Wheel Oil 2
16 Deck Support Arm Pivot Grease 2
17 Deck-to-PTO Coupling Grease 1
(Grease Slide Area)
18 Universal Joint Tube Assembly Grease** 1
19 Universal Joint Quick Connect Grease 1
Spline (Grease Slide Area)
20 Parking Brake Lever Grease 1
21 Gear Axle Oil*** 2
22 Belt Tightener Pivot, Grease 1
Jackshaft Drive
23 Clutch Actuator Push Rod Grease 2
24 PTO Clutch Lever Pivot Grease 1
25 Belt Tightener Pivot, Grease 1
PTO Clutch
26 Brake Actuator Rod and Brake Oil 3
Band Pivot Pins (Clevis)
27 Brake Actuator Pivot Grease 1
28 Anti-Scuff Roller Wheel Oil 2
29 Catcher Hinge Point Oil 2
30 Choke Control Cable Ends Oil 2
31 Throttle Control Cable Ends Oil 2
32 Engine Oil Oil*** 1
33 Belt Tightener Pivot, Grease 1
Blower Drive (GHS Model Only)
34 Belt Tightener Pivot, Grease 1
Ground Drive
35 PTO Gearbox Dipstick Oil*** 1
36 Hydrostatic Drive Oil*** 2
37 Choke Control Pivot Oil 1
38 Throttle Control Pivot Oil 1
39 Discharge Chute Hinge Oil 1
40 Tilt-Up Latch Assembly Oil 1
41 Steering Lever Support Oil 1
*Gearboxes are permanently lubricated and
sealed requiring no scheduled lubrication.
Oil level should be checked only when an oil
leak is noted. Refer to Mower Deck Gear-
box Lubrication in this section.
** Grease every eight (8) hours.
*** Refer to Gear Axle Lubrication, Engine
Oil, Tractor PTO Gearbox Lubrication, and
Hydrostatic Transmission Fluid in this sec-
tion.
NOTE: DGHS42 Tilt-Up Deck is shown for reference.
For other Deck Lubrication Points, Refer to
Deck and Carrier Frame Illustrated Parts
Manual.

Maintenance Instructions LUBRICATION
49
2
10
13 11
12
23
25
23 24
27 26
211
4
8
7
7
29 29
32
31
30
28 28
32 & 37
33
21
22
31 & 38
35
36
34
9
41
40
14
39
15
16
21
3
4
5
6
7
7
8
9
15
14
17
18
19
20
16
Chassis and Deck Lubrication Points

Maintenance Instructions CLEANING
50
CLEANING
Engine Air Cleaner System
There are two main components in the engine air
cleaner system: a turbine precleaner and a Donald-
son Radialseal™ air cleaner. Each component is
checked, cleaned and maintained on a different
schedule based on the filtering action required.
Each component is serviced as follows:
Turbine Precleaner
The turbine precleaner is mounted on a remote air
intake tube connected to the Donaldson air cleaner.
A spinning fan driven by the intake airflow separates
dust from the air, giving the initial stage of air clean-
ing. Dust particles are exhausted through a single
small vent in the side of the housing. Since no dust
is trapped, the precleaner operates without clean-
ing. The only maintenance required is to check the
operation of the internal fan every 100 hours. Verify
operation:
1. Look into the exhaust vent while shining a light
into the intake.
2. Start the engine and watch the fan begin to spin
as the throttle is advanced.
If the fan is not spinning, service or replace the pre-
cleaner as required.
Donaldson
Air Cleaner
Vacuator™
Valve
Donaldson Air
Cleaner Cover
Air Intake
Hose
Turbine Precleaner
Precleaner Tube
Engine
Air Cleaner
Cartridge
Hose
Clamp
Safety
Filter
Air
Restriction
Gauge
Brass
Elbow
Engine Air Cleaner System Components

Maintenance Instructions CLEANING
51
Donaldson Radialseal™ Air Cleaner
A remote mounted Donaldson Radialseal™ air
cleaner provides the air filtering function. The paper
filter element slides over an outlet tube inside the air
cleaner canister with radial sealing action, eliminat-
ing the possibility of dust leaks due to improper filter
installation. Intake design, internal baffling, and a
Vacuator™ valve provide dust separation and auto-
matic precleaning action. Daily or frequent servicing
of the air cleaner is not required. Use the air re-
striction gauge on the air cleaner outlet to indicate
when the air filter needs servicing -- a red flag will
appear when the filter is overly restricting airflow into
the engine.
IMPORTANT: Use only Donaldson air filter ele-
ments for replacement (Donaldson P822686 or
Walker 5090-1). Aftermarket filters may not seal
properly or filter efficiently.
Air Cleaner Components
(shown with cover being removed)
IMPORTANT: The Donaldson air cleaner uses a dry
paper-type air filter element. NEVER apply oil to the
paper element.
Air Restriction Gauge Location
Clean and inspect the paper element after every
100 hours of service and replace the element year-
ly or after six (6) cleanings (or when dirty or dam-
aged). More frequent cleaning may be required
when operating in extremely dusty conditions as in-
dicated by the air restriction gauge. Service the air
cleaner as follows:
1. Release the top and bottom cover latches and
remove the air cleaner cover. Wash the cover
and Vacuator™ valve. Check that these com-
ponents are in good condition. The Vacuator™
valve is subject to wear and deterioration and
should be replaced yearly or when damaged.
The lips of the valve should close and fit togeth-
er; any cracks, deformation, or wear in the valve
is cause for replacement.
2. Remove the filter element by pulling it out of the
canister. There will be some initial resistance as
the filter seal breaks loose and slides off of the
outlet tube. Gently move the end of the filter up
and down and side to side or twist to loosen the
seal. Use gentle action to minimize the amount
of dust dislodged as the filter is removed.
3. Clean the filter element using low pressure
compressed air [less than 100 PSI (689 kPa)].
Blow out the filter from the interior of the ele-
ment while turning the element.
NOTE: Washing the element in water or clean-
ing solution is not recommended. Replace the
element if it does not clean up with compressed
air.
Cover Canister
Vacuator™
Valve
Radialseal™
Filter Element
Cover
Latch
Air Restriction
Gauge
Push Button to Reset
Indicator After Service

Maintenance Instructions CLEANING
52
4. Use a bright light inside the element to inspect
for damage. Check the element very carefully
for pin holes or other damage that will allow
dirt to leak through the paper media. Replace
element if necessary.
5. Check the condition and resilience of the radial
sealing surface (inside of the open end) of the
filter. Replace the filter if any cracks, tears, or
other damage to the sealing surface are noted.
6. Use a clean, damp cloth and wipe the interior of
the air cleaner canister clean. Use special care
to clean both the inside and outside surfaces
of the outlet tube.
IMPORTANT: Any dust left on the inside of the
outlet tube will go into the engine and cause
wear.
7. Check the outside surface of the outlet tube for
smoothness and cleanness (this is the sealing
surface).
8. Insert and seat the filter element carefully into
the canister, applying pressure at the outer rim
of the filter; not at the flexible center. Make sure
the filter element is completely in place before
installing the cover.
IMPORTANT: DO NOT use the cover latches
to force the filter into the canister -- the cover
should fit on with no extra force.
NOTE: DO NOT use petroleum based lubri-
cants on the sealing surfaces of the filter; use tal-
cum powder or dry silicone lubricants if required
for filter installation.
Air Filter Element Replacement
9. Install the cover with the word “TOP” properly
oriented to the top of the canister. Give the cov-
er a slight twist as it reaches the canister to
make sure the tab inside the cover goes into a
slot, otherwise the cover will not fit properly.
Make sure both the top and bottom cover latch-
es are securing the cover in place.
Proper Orientation of Air Cleaner Cover
10. Check the air intake hose for cuts, nicks, etc.,
and the hose clamps for tightness.
11. Reset the air restriction indicator (press button
on bottom).
Engine Cooling System
Air Intake System
To prevent engine overheating and possible engine
damage, clean grass clippings, chaff, and dirt from
the rotating engine air intake screen after every 8
hours of operation. In certain mowing conditions
(dry grass, leaves, tree “cotton”, etc.), it may be nec-
essary to check and clean the screen several times
each day to prevent engine overheating.
Radial Sealing
Surface Radialseal™
Filter Element
Outlet Tube
Canister
CAUTION
Operating the engine with a blocked air
intake screen, dirty or plugged cooling
fins, and/or cooling shrouds removed will
cause engine damage from overheating.
Cover Latch
Vacuator™
Valve
Cover Latch Orient to Top
of Canister

Maintenance Instructions CLEANING
53
Cylinder Head Cooling Fins
It is essential for performance and longevity of the
air-cooled engine to keep the cylinder head cooling
fins clean and free of obstruction. After every 8
hours of operation, check the performance of the
cooling system by starting the engine, holding a
hand adjacent to the cylinder head, and feeling the
cooling airflow. If there is little or no airflow, clean the
cooling fins as described below.
Every 100 hours, inspect and clean the cooling fins
(more often when operating in extremely dusty, dirty
conditions). Remove the two (2) cooling fin access
panels in the engine shroud and clean the cooling
fins and external surfaces using compressed air.
Make sure to reinstall the access panels before op-
erating the engine.
Engine Air Intake Screen
and Cooling Fin Access Panels
Cooling System Airflow
Grass Buildup in Mower Housing
1. Raise the deck lock lever handle on each side
of the carrier frame and pull out to release car-
rier frame for tilting action.
2. Using the carrier frame lift handle, raise deck to
the TILT-UP position and insert the deck hook
into the tilt-up latch on the tractor body.
Deck Secured in TILT-UP Position
DANGER
Make sure to keep hands clear of exhaust
pipe, muffler, and moving parts when
checking airflow.
Kohler Engine
Shroud
Engine Air
Intake Screen
Engine Cooling
Fin Access Panels
DANGER
Before raising or removing the mower
deck for cleaning, stop the engine, re-
move the ignition key, and disconnect the
spark plug wires.
Check Airflow
with Hand
Cylinder
Head
Tilt-Up Latch
Deck Lock Lever
Tilt-Up Lift Handle
Tilt-Up Latch Tilt-Up Hook
on Deck

Maintenance Instructions CLEANING
54
3. Clean grass buildup underneath the deck using
a pressure washer (and scraper if required).
NOTE: While some degree of material buildup
in the mower deck housing can be tolerated, a
point is finally reached where cutting quality
deteriorates and clogging begins to occur
because of too much buildup on the baffling and
housing.
4. Lower the deck to the normal operating position
and re-engage the deck lock levers.
GHS Blower
Normally, the GHS blower operates with no mainte-
nance or cleaning. However, when mowing grass
that is dirty and damp (especially springtime mow-
ing), a deposit of dirt may accumulate inside the
blower housing, causing wear and binding of the
blower wheel. When operating in these conditions,
inspect the blower frequently for dirt buildup.
NOTE: A visual clue of binding of the blower wheel
is the blower blade tips are polished from rubbing
on dirt.
When a dirt deposit is found, use a high pressure
washer or water spray to clean the inside of the
housing as follows:
1. Remove the GHS blower drive belt by unhook-
ing the belt tension spring from the hook on the
chassis frame (located above the blower pul-
ley). Lift the belt tightener idler pulley up and roll
the belt off of the blower pulley. The belt should
be clear of the blower pulley, allowing free
movement of the blower wheel.
IMPORTANT: With the belt removed, the blow-
er wheel must spin freely. Any binding or drag-
ging of the wheel is an indication of dirt
buildup. This buildup must be cleaned to
avoid abrasive wear of the blower blades, ex-
cessive power loss and eventual loss of blower
performance (clogging).
2. Use a pressure washer or water spray, and di-
rect the spray inside the blower housing against
the blower blades. Water pressure will cause
the blower wheel to begin to spin and the com-
bination of spinning action and water will effec-
tively wash the inside of the housing. Spray may
be directed against the blower blades vertically
and horizontally to cause rotation in both direc-
tions for thorough washing action. Wash blow-
er until the blower wheel spins freely in both
directions.
3. Reinstall the GHS blower drive belt by reversing
the removal procedure.
Collapse Blower Belt Tightener
to Remove GHS Blower Drive Belt
DANGER
Do not operate the mower with deck in tilt-
up position. Do not move the tractor with
the deck in the tilt-up position.
CAUTION
Do not operate machine with deck tilt-up
pivot joint unlocked.
DANGER
Before attempting to wash the blower,
stop the engine, remove the ignition key,
and disconnect the spark plug wires.
GHS Blower
Drive Belt
Blower
Pulley
Blower
Drive Pulley
Belt Tightener
Idler Pulley

55
Maintenance Instructions CLEANING/
CHECKING/SERVICING
GHS Exhaust Screen
Refer to Cleaning the GHS Exhaust Screen in Op-
erating Instructions.
Hydrostatic Transmission Cooling Fins
Keeping the cooling fins on the hydrostatic transmis-
sions clean and free of obstruction is essential to
avoid overheating the transmission fluid and short-
ening transmission life. The cooling fins should be
checked every 100 hours; and cleaned if neces-
sary.
To clean the fins, use compressed air and/or a pres-
sure washer. The cooling fins extend all the way
around the housing -- the fins underneath need to be
clean as well as the more visible fins above. Also,
pay close attention to the area under the drive pul-
ley.
IMPORTANT: In case an oil leak develops on the
input shaft, the cooling fan blowing dusty air and oil
on the transmission will quickly pack the cooling
fins with oily dirt. If this condition occurs, replace
the seal immediately to avoid overheating and dam-
aging the transmission. The input shaft assembly
and seal are easily replaced without removing the
transmission from the machine.
An additional procedure in maintaining transmission
cooling is to inspect the cooling fans. Replace the
fan(s) if blades are missing or damaged.
Hydrostatic Transmission Cooling Fins
CHECKING/SERVICING
Security of Air Filtration Components
NOTE: The following inspection is only an exter-
nal inspection and should be done without “dis-
turbing” the filtration components.
On a daily basis, visually inspect the external condi-
tion of the complete air cleaner system. The follow-
ing items should be inspected:
1. Check the Donaldson Radialseal™ air cleaner
canister for damage. Make sure the cover is in
place and the cover latches are secure - do not
run the engine without the air cleaner cover in
place and secure.
2. Inspect the air intake hose for cracks, nicks,
cuts, etc., and check the hose clamps for tight-
ness.
Battery
NOTE: For initial battery service during setup, re-
fer to Battery Service in Assembly Instructions.
IMPORTANT: Make sure battery is securely mount-
ed in the frame. A loose battery may cause damage
to the case resulting in acid leakage and severe dam-
age to the machine. A hazard may be created by
damage to critical working parts and safety systems.
Electrolyte Level
The battery electrolyte level should be checked af-
ter every 25 hours of operation. To check electro-
lyte level:
1. Remove battery cell filler caps.
2. Check the electrolyte level. If the level is below
the bottom of the vent well, fill with drinking wa-
ter to the bottom of the vent wells [1/4 to 1/2 in.
(6 to 13 mm) above the plates].
3. Replace filler caps.
Cooling Fins
Cooling Fan
DANGER
To prevent accidental starting of the en-
gine when servicing or adjusting the ma-
chine, remove the key from the ignition
switch and disconnect the spark plug
wires.

56
Maintenance Instructions CHECKING/SERVICING
IMPORTANT: DO NOT overfill the battery. Electro-
lyte will overflow through the vented caps onto parts
of the machine and WILL result in severe corrosion.
Cleaning the Terminals
If battery terminals are corroded, remove battery
from the mower. Using a wire brush, remove corro-
sion with a solution of one part baking soda and
four parts water. Rinse with clean water. Coat the
terminals with petroleum jelly or terminal protector
spray to retard further corrosion.
Charging the Battery
Check the battery charge by measuring the specific
gravity of electrolyte; if specific gravity is less than
1.225, the battery will need to be charged as follows:
1. Charge the battery at 15 amps for 10 minutes.
DO NOT exceed 20 amps maximum recom-
mended charging rate. Charge until specific
gravity is at least 1.250. Total charging time
should not exceed one (1) hour.
2. After charging the battery, use drinking water to
adjust the electrolyte level to the bottom of the
vent wells [1/4 to 1/2 in. (6 to 13 mm) above the
plates].
Tire Pressure
Inflate tires to pressures shown below:
Deck Caster Wheel = 20 PSI (137 kPa)
Drive = 15 PSI (103 kPa)
Rear = 20 PSI (137 kPa)
Sharpen Mower Blades
Check mower blade(s) for straightness, sharp-
ness, condition of the cutting edge, and balance
every 10 hours of operation (or more often when
mowing abrasive type grass or operating on sandy
soils). Replace blades if worn, bent, cracked, or
otherwise damaged (refer to REPLACING/RE-
PAIRING the Mower Blades in this section). Use the
following procedure to check and sharpen blades:
NOTE: Keep blades sharp - cutting with dull
blades not only yields a poor mowing job but slows
the cutting speed of the mower and causes extra
wear on the engine and blade drive by pulling hard.
1. Stop the engine, remove ignition key, and dis-
connect the spark plug wires before raising the
mower deck to service blades.
2. Raise the deck and secure it in either the UP po-
sition using the deck lift rod (non-tilt deck) or in
the TILT-UP position. Refer to CLEANING the
Grass Buildup in Mower Housing in this sec-
tion for deck raising instructions.
3. Check the blades for straightness by marking
the blade tip position inside the deck housing,
and then rotating the opposite end of the blade
to the same position and comparing. If the dif-
ference in blade tip track is more than 1/8 in.
(3 mm), the blade is bent and should be re-
placed.
DANGER
BATTERIES PRODUCE EXPLOSIVE
GASES
• Charge the battery in a well-ventilated
area, so that gases produced while charg-
ing can dissipate.
• Keep sparks, flames, and smoking ma-
terials away from the battery at all times.
• Make sure the battery cap vents are open
(check manifold vent on each cap).
• Make sure the battery charger is un-
plugged before connecting or discon-
necting cables to the battery.
DANGER
NEVER operate cutter blades with the
deck in the raised position.

57
Maintenance Instructions CHECKING/SERVICING
4. If the blade cutting edge is dull or nicked, it
should be sharpened. Remove blades for
sharpening by grasping the end of the blade us-
ing a rag or a thick, padded glove, while loosen-
ing and removing the nut, lock washer, and flat
washer that mounts the blade.
5. Grind cutting edge at the same bevel as the
original. Sharpen only the top of the cutting
edge to maintain sharpness.
NOTE: Blades can be sharpened with an elec-
tric blade sharpener, conventional electric grind-
er, or a hand file.
Mower Blade Profile For Sharpening
6. Check blade balance by positioning the blade
horizontally on a blade balancer or use a nail or
shaft through the center hole. If either end of the
blade rotates downward, grind (remove) metal
on that end until the blade will balance. The
blade is properly balanced when neither end
drops. Balance of a blade is generally main-
tained by removing an equal amount of material
from each end of the blade when sharpening.
Blade Balanced on Magnetic
Wall-Mounted Balancer
7. Mount the blade with wing tips pointing up into
the housing. Reinstall the blade, washer, lock
washer, and nut. Tighten the nut to 60 ft-lb
(81.3 N⋅m).
NOTE: When reinstalling blades on GHS models,
remember, the blades turn toward each other
(counter-rotate) and the RH and LH blade cannot be
switched. Check for proper blade rotation before in-
stalling blades on the deck. Refer to Blade Rota-
tion for GHS Mower Deck illustration shown in
Clogging Checklist in Operating Instructions for
correct blade rotation.
Drive Belts
Raise the body and inspect the condition of the
four (4) belts (3 belts on SD models) every 25 hours
of operation - engine PTO drive, jackshaft drive, hy-
drostatic ground drive, and GHS blower drive. If the
belts show signs of cracking or deteriorating, the
belts should be replaced. Refer to REPLACING/
REPAIRING the Drive Belts in this section.
WARNING
DO NOT try to straighten a blade that is
bent. NEVER weld a broken or cracked
blade. ALWAYS replace with a new blade
to assure safety.
CAUTION
ALWAYS wear eye protection and gloves
when sharpening a blade.
30°
Do Not Grind or
Sharpen on Underside
Sharpen at
Original 30° Angle
Intersection
Wear Area
Wing
Tip
Blade Balancer

Maintenance Instructions CHECKING/SERVICING
58
Mower Deck Gearbox Oil Seals
The mower deck gearbox seals should be inspected
every 25 hours for evidence of oil leaking; particu-
larly the lower oil seal on the blade drive gear-
box. This seal is protected by the trash guard on the
blade hub and seal protector plate on the housing,
but is still vulnerable to seal damage due to operat-
ing in an adverse environment. The mower blade
must be removed for inspection of the seal, so it is
recommended to inspect the gearbox seals when
blades are removed for sharpening. If an oil leak
is noted, the seal should be replaced and the gear-
box assembly relubricated. Refer to Mower Deck
Gearbox Lubrication in this section.
Spark Plugs
Every 200 hours of operation, remove the spark
plugs, inspect, clean, and reset the gap (or replace
with new plugs). Before removing the spark plugs,
clean the area around the base of the plugs to keep
dirt and debris out of the engine. Clean spark plugs
with a wire brush. DO NOT use an abrasive grit type
cleaner. If the electrodes are burned short or pitted,
replace plugs with Champion type RC12YC (or
equivalent). Check spark plug gap with a wire-type
feeler gauge and set the gap at 0.030 in. (.76 mm).
Reinstall and tighten to between 18 and 22 ft-lb
(24.4 to 29.8 N⋅m).
Fuel Lines and Clamps
Every year, inspect the fuel supply line from the tank
to engine for deterioration or damage. Also, inspect
the fuel line clamps for tightness. Good preventive
maintenance calls for complete replacement of fuel
lines and clamps every two (2) years.
Engine Starter
Yearly or every 500 hours disassemble and clean
the solenoid shift starter. Refer to the Kohler Service
Manual for this procedure or contact an authorized
Kohler engine dealer to perform this service.
Engine Valve Clearance
Yearly or every 500 hours, check and adjust the
Kohler engine valve clearance. Refer to the Kohler
Service Manual for specifications and procedure to
check the valve clearance or contact an authorized
Kohler engine dealer to perform this service.
Blade Brake Action
Check the function of the cutter blade brake (and
blower brake on GHS models) by engaging the
blade clutch (PTO), operating the engine at full throt-
tle, then disengaging the clutch and measuring how
quickly the blades stop. Watch the rotation of the
blade drive shaft and blower pulley as a visual indi-
cation that movement has stopped. If the brake is
working properly, all rotation will stop five (5)
seconds after disengagement of the clutch. If the
brake system malfunctions - blades do not stop in
five (5) seconds - adjust or repair the brake before
operating the mower. Refer to ADJUSTMENTS of
Blade Clutch (PTO) in this section.
WARNING
It is important to check and maintain blade
brake action for safe operation of the ma-
chine.

59
Maintenance Instructions REPLACING/REPAIRING
REPLACING/REPAIRING
IMPORTANT: ALWAYS use genuine factory re-
placement parts. Substitute parts CAN result in
product malfunction and possible injury to the oper-
ator and/or others.
Drive Belts
There are four (4) individual belts on GHS models
or three (3) belts on SD models:
•Engine PTO Drive Belt (3 Groove Power Band)
•Jackshaft Drive Belt
•GHS Blower Drive Belt (GHS Model Only)
•Hydrostatic Ground Drive Belt
The belts may be removed and replaced using the
procedures described on the following pages.
DANGER
To prevent accidental starting of the en-
gine when replacing parts or repairing the
machine, remove the key from the ignition
switch and disconnect the spark plug
wires.

Maintenance Instructions REPLACING/REPAIRING
60
Jackshaft
Drive Belt
Engine PTO
Belt
GHS Blower Belt
(GHS Model Only)
Hydrostatic Ground
Drive Belt
Belt Locations

Maintenance Instructions REPLACING/REPAIRING
61
Engine PTO Drive Belt (3 Groove Power Band)
1. To remove the engine PTO drive belt:
a. Remove the jackshaft drive belt from its
idler pulley (by pushing down on idler pul-
ley) and let the belt drop down out of the
way.
NOTE: Step (a) is not essential to removing
the PTO belt, but it makes more room to work
with the PTO belt.
b. Push the clutch idler pulley down (until the
PTO belt tightener stop block contacts the
frame) and then shift the belt off the idler
pulley (to the inside).
c. Raise the clutch lever (engage position) to
lift the clutch idler away from the belt.
d. Next remove the belt from the engine pul-
ley and then the PTO drive pulley.
2. Install the PTO drive belt by reversing the re-
moval procedure.
IMPORTANT: Make sure the belt is installed
inside the four (4) belt guide pins.
Refer to ADJUSTMENTS of Blade Clutch
(PTO) in this section to check and make the fol-
lowing adjustments:
a. Clutch engagement for proper belt tension
b. Clutch disengagement and brake action
Engine PTO Drive Belt Removal
Pull UP to Engage
Engine
PTO Belt
Clutch
Linkage PTO Belt
Tightener Arm
Engine
Pulley
Clutch Idler
Pulley
Belt
Guide
Belt Guides
(Bottom Guide Not Visible)
Blade Clutch Lever
in the DOWN Position
PTO Drive
Pulley
Belt
Guide
PTO Belt Tightener
Stop Block
Micro-V
Pulley

Maintenance Instructions REPLACING/REPAIRING
62
Jackshaft Drive Belt
1. To remove the jackshaft drive belt:
a. Remove the engine PTO drive belt, as
described in previous section.
Jackshaft Drive Belt (Engaged)
Jackshaft Drive Belt (Disengaged)
Idler Pulley
Engine
Pulley
Tension Spring
Jackshaft
Jackshaft
Drive Belt
Push Idler Pulley
b. Relax the belt by depressing the spring-
loaded idler arm.
c. Roll the belt off the jackshaft pulley and
remove.
2. Reverse the removal procedure to replace the
jackshaft drive belt.
Idler Arm
Jackshaft
Jackshaft
Drive Belt
Tension Spring
Engine
Pulley

Maintenance Instructions REPLACING/REPAIRING
63
GHS Blower Drive Belt
1. Remove the GHS blower drive belt by unhook-
ing the belt tension spring from the hook on the
chassis frame (located above the blower pul-
ley). Lift the belt tightener idler pulley up and roll
belt off the pulleys.
Blower
Pulley
Belt Tightener
Idler Pulley
(Disengaged)
Blower Drive
Pulley
GHS Blower
Drive Belt
Idler Pulley
(Engaged)
GHS Blower Drive Belt Assembly (Disengaged)
Blower Drive Belt Spring Removal
2. Reverse the procedure to install the GHS blow-
er drive belt and spring.
GHS Blower Drive Belt Assembly (Engaged)

Maintenance Instructions REPLACING/REPAIRING
64
Hydrostatic Ground Drive Belt
1. To remove the hydrostatic ground drive belt:
a. Raise the spring-loaded belt tightener arm
and idler pulley to relax belt.
b. Slide belt off pulleys, then release the idler.
Hydrostatic
Ground Drive Belt
Idler Pulley
Belt Tightener Arm Jackshaft
Transmission
Drive Pulley
Spring
Hydrostatic Ground Drive Belt Assembly (Disengaged)
2. Reverse the procedure to install the hydrostatic
ground drive belt.
Belt Tightener Arm
Idler Pulley
Hydrostatic
Ground Drive Belt
Spring
Hydrostatic Ground Drive Belt Assembly (Engaged)

Maintenance Instructions REPLACING/REPAIRING
65
Fuel Filter
Model MC is equipped with an in-line fuel filter. Vi-
sually inspect the filter periodically, and replace the
filter yearly.
Fuel Filter Location
IMPORTANT: Replace the fuel filter only in a clean
area where the fuel line and connections will not be
contaminated by any dust and dirt.
1. Expand and slide clamps on either side of the
filter away from filter and pull fuel lines off filter.
2. Replace filter.
Blade Overload Shear Bolts
The cutting blade is keyed to the blade hub by two
(2) shear bolts (10-24 x 5/8 in. stainless steel ma-
chine screws). These bolts are designed to shear
and protect the blade drive gearbox from damage if
the blade encounters a shock load.
Cutting Blade Shear Bolts
NOTE: Tightening the 5/8-18 blade mounting nut
to 60 ft-lb (81.3 N⋅m) is also important for proper
shock load protection. It is important to not over-
tighten the mounting nut since this defeats (over-
rides) the function of the shear bolts.
If these bolts shear, remove the blade and install new
bolts. Refer to CHECKING/SERVICING in this sec-
tion for Sharpen Mower Blades which describes the
blade removal and installation procedure.
DANGER
Gasoline is extremely flammable and can
be highly explosive. To minimize danger:
• Use only an approved fuel container for
gasoline.
• DO NOT allow open flames or sparks
near the machine while performing main-
tenance or refueling; DO NOT smoke
while working with fuel.
• Wipe up spilled gasoline immediately
and completely.
In-Line
Fuel Filter
Cutting Blade
Shear Bolts

Maintenance Instructions REPLACING/REPAIRING
66
After reinstalling the blade, check blade timing by
moving blades through one (1) complete revolu-
tion. Make sure blade tips pass clear of each other.
If timing is incorrect, refer to Mower Deck Gearbox
Replacement in this section.
PTO Shear Pin
The PTO drive shaft connection to the deck gearbox
has a shear pin to provide shock load protection to
the mower deck drive. This system provides prima-
ry shock protection in case of blade impact and will
normally shear before the individual shear bolts on
the blade hub.
When the PTO pin has sheared, use the following
procedure to replace it:
1. Loosen the two bolts securing the PTO shaft
guard on the deck; lift the guard off. (Holes in
guard are slotted for easy removal.)
2. Rotate U-joint on shaft to align the shear pin
hole with the hole (and shear pin fragment) in
the shaft. Use a punch to drive the remaining
portion of the old shear pin out.
3. Install new shear pin and secure with cotter pin.
PTO Shear Pin
IMPORTANT: Use only Walker P/N 8067-10
shear pins for replacement to provide proper
shock protection -- these pins are hardened to
shear under a specific amount of load.
4. Reinstall the PTO shaft guard.
Before operating the deck, inspect the blade over-
load shear bolts and also check blade timing (on
gear driven decks) by moving blades through one (1)
complete revolution. Make sure blade tips pass
clear of each other. If timing is incorrect, refer to
Mower Deck Gearbox Replacement in this section.
Mower Blades
Mower blades are removed and remounted as de-
scribed in Sharpen Mower Blades instructions.
During the course of sharpening and inspecting
mower blades, if there are any of the following con-
ditions of wear or damage, blades should be re-
placed for reasons of safety and performance of the
machine:
•An excessive amount of the flat section of the
blade has been ground away (removed) when the
blade is sharpened. Replace the blade when less
than a 3/4 in. (19 mm) flat section remains at the
blade tip.
•Examine ends of the blade carefully, especially
the intersection where the flat section of the blade
turns up to form the “wing tip” (refer to Mower Blade
Profile for Sharpening illustration in Sharpen
Mower Blades instructions). Since sand and abra-
sive material can wear metal away in this area, the
blade should be replaced when metal thickness
has worn to 1/16 in. (1.6 mm) or less.
•Check the blades for straightness by marking
blade tip position inside the deck housing and then
rotating the opposite end of the blade to the same
position and comparing. If the difference in blade tip
track is more than 1/8 in. (3 mm), the blade is bent
and should be replaced.
•Inspect the blade surface, especially in formed
areas, for cracks. Replace the blade if any cracks
are found.
Cotter Pin
U-Joint
Tube Assembly
Shear Pin
Split Spring Pin
U-Joint
Shaft Assembly
DANGER
When blades are operated over sandy
soil, and if blades are allowed to wear, a
“slot” may be worn into the wing tip of
blade. Eventually a piece of the blade may
break off creating a serious potential for
injury or damage.

Maintenance Instructions REPLACING/REPAIRING
67
Reinstall the blades following procedure from Sharp-
en Mower Blades instructions. If blades are re-
placed, always use Walker original equipment
blades to ensure safety and optimum performance.
The quality and performance of replacement blades
offered by other manufacturers cannot be guar-
anteed, they could be dangerous.
Mower Deck Gearbox Replacement
NOTE: Deck gearbox(es) may be changed with
the deck mounted on the tractor. However, the deck
may be removed from the tractor making the overall
job of removing the gearbox assembly easier. Refer
to Deck Installation in Assembly Instructions and re-
verse the procedure to remove the deck.
To replace the mower deck gearbox(es), use the fol-
lowing procedure:
1. Remove mower blades. Refer to procedure in
Sharpen Mower Blade instructions.
2. Remove gearbox cover (two machine screws)
and PTO shaft guard (two 1/4-20 bolts).
3. Remove two (2) 3/8-16 mounting bolts from
each blade drive gearbox and lift the entire
gearbox assembly from the deck (including
PTO drive shaft).
4. Remove the screws securing the cover plates
on the gearboxes and remove the covers. Re-
move all covers to be sure oil is completely
drained from all gearboxes.
NOTE: With oil flow throughout the unitized
gear drive assembly; if one gearbox has internal
damage or excessive wear, the remaining gear-
boxes and connector tubes should be complete-
ly disassembled and thoroughly flushed out with
solvent before reassembly.
5. Drain and properly dispose of oil.
6. Remove the four (4) bolts mounting the gearbox
to the connector tube and slide the gearbox off
the splined drive shaft coupling.
7. Install the new gearbox on the spline coupling
of the drive shaft. Establish correct timing of
the blade drive gearboxes by setting flats on
the output shaft at 90 degrees when connecting
the gearbox(es) to the spline coupling. Make
sure the timing is correct before proceeding
with assembly.
8. Reinstall the four (4) bolts mounting the gearbox
to the connector tube but do not tighten them
at this time; leave connector tube bolts finger-
tight.
9. Position the gear drive assembly on the deck
and install the 3/8-16 bolts mounting the entire
assembly. Leave the mount bolts finger-tight.
10. Torque all the connector tube bolts to 80 in-lb
(9 N⋅m); then tighten the deck mount bolts.
NOTE: This fastener tightening sequence aligns
the gearbox assembly with the deck housing and
eliminates the possibility of mounting the unitized
assembly in a bind.
11. Fill gearbox assembly with oil. Refer to Mower
Deck Gearbox Lubrication in this section for
instructions.
12. Reassemble remaining items onto deck to com-
plete installation. After installing blades, check
that the blade timing is correct by moving the
blades through one (1) complete revolution.
Make sure blade tips pass clear of each other.
WARNING
DO NOT try to straighten a blade that is
bent. NEVER weld a broken or cracked
blade. ALWAYS replace with a new blade
to assure safety.
CAUTION
ALWAYS use genuine factory replacement
parts. Substitute parts CAN result in prod-
uct malfunction and possible injury to the
operator.

Maintenance Instructions REPLACING/REPAIRING
68
Mower Deck Gearboxes
(Shown with Gearbox Cover Removed for Clarity)
GHS Blower Assembly (and/or Blower Wheel)
GHS Blower Assembly Removal
1. Remove the mower deck. Refer to Deck Instal-
lation in Assembly Instructions and reverse the
procedure to remove the deck.
Remove Skid Bar for
GHS Blower Removal
2. Remove the blower faceplate by removing six
(6) 1/4-20 nuts.
3. Remove the GHS blower drive belt. Refer to
REPLACING/REPAIRING the Drive Belts in
this section for instructions.
4. Remove the blower assembly from the chassis
as follows:
a. Remove the blower skid bar by removing
front and rear mounting bolts from the skid
bar (underneath the blower) and removing
the bolt connecting the blower housing to
the skid bar.
b. Remove the blower belt tightener idler arm
assembly by removing the pivot bolt.
c. Remove two (2) bolts mounting the blower
housing to the frame.
d. Lower the blower assembly straight down
out of the chassis frame and remove.
Blower Wheel Removal
When required, replace the blower wheel using the
following procedure:
1. Loosen blower pulley set screws and remove
the pulley using a wheel puller.
2. Remove the locking collar from the back bear-
ing (closest to the pulley) by loosening the set
screw and rotating the collar counterclockwise
(use punch to drive).
3. Press blower wheel out of the housing using a
wheel puller hooked to lugs on the bearing hous-
ing. The bearings have been secured in the
housing with a retaining compound - Loctite®
RC/680, and considerable force will be re-
quired to break this bond. After the bearings
have “broken loose” from the housing, only light
pressure should be required to remove the
wheel assembly out of the housing.
NOTE: It may or may not be possible to remove
the front bearing from the blower wheel without
damaging it. If the bearing is damaged, it will
need to be replaced along with the wheel.
Mower Deck
Gearboxes
Connector Tubes
Skid Bar
Mounting Bolts
Blower Assembly Skid Bar

69
Maintenance Instructions REPLACING/REPAIRING
Pressing Blower Wheel Out of Housing
Blower Wheel Installation
1. To install the blower wheel, reverse the remov-
al procedures. The front bearing is mounted
on the blower wheel shaft, secured by a locking
collar. Drive the locking collar clockwise with a
punch, and tighten the set screw.
2. Press blower wheel and front bearing into the
blower housing. Use Loctite® RC/680 retaining
compound on the outer bearing race and inside
the bearing housing.
3. Press the rear bearing into place, using Loctite®
on both the outer bearing race and the housing.
4. Install the locking collar on the rear bearing and
install the blower pulley to complete the blower
assembly. Torque the blower pulley set screws
to 250 in-lb (28.3 N⋅m).
GHS Blower Assembly Installation
Reinstall the blower assembly into the mower using
the reverse procedures of GHS Blower Assembly
Removal.
Wheel Puller
Hooked to Lugs
on Bearing Housing
Blower Pulley
5/16-18 x 5/8 SQH
Set Screw
Face Plate
7/16-14 Hex Nut
7/16 Split Lock Washer
5/16-18 x 3/4 SQH
Set Screw
3/16 x 3/16 x 1 Key
1/4-20 x 3/8
Set Screw
Housing
1/4-20 x 3/8
Set Screw
Blower Wheel
Bearing (3/4)
Bearing (3/4)
Intake Tube
5/16-18 Whiz Locknut
Skid Bar
3/8-16 x 1 Hex Bolt
3/8-16 Keps Nut
5/16-18 x 3/4 Hex Bolt
7/16-14 x 1-1/4 Hex Bolt
GHS Blower Components

70
Maintenance Instructions ADJUSTMENTS
ADJUSTMENTS
Safety Switches
There are three (3) safety interlock switches on the
tractor; Seat Switch, FSC Neutral - Park Switch, and
PTO Switch.
If any of the following conditions occur during start-
ing or operating, a safety interlock switch may be
malfunctioning. Contact your Walker dealer for trou-
bleshooting and/or replacement.
Slight adjustments can be made by carefully bend-
ing the leaf switch up or down as needed.
•With an operator in the seat, the engine starts
with the Forward Speed Control (FSC) and/or the
PTO engaged.
•With an operator in the seat, the engine starts but
dies soon after the Forward Speed Control (FSC) or
PTO is engaged.
•Without an operator on the seat, the engine starts
and continues to run with the Forward Speed Con-
trol (FSC) and/or PTO engaged.
•With an operator in the seat, the Forward Speed
Control (FSC) and PTO disengaged and panel horn
works, but the starter is not engaging.
Steering Levers
An adjustment range of approximately 3 inches is
available on the steering levers - the levers can be
adjusted forward or aft depending on the arm length
of the operator. The levers can be adjusted by loos-
ening the locknut at the pivot point and the locknut
holding the lever in position in the adjustment slide.
Adjust levers into most comfortable position and
tighten both locknuts.
Steering Lever Adjustment
DANGER
If the engine must be running to perform
a maintenance adjustment, keep hands,
feet, and clothing from moving parts. DO
NOT wear jewelry or loose clothing.
Locknut
(Position)
Adjustment
Slide
Locknut
(Pivot Point)

Maintenance Instructions ADJUSTMENTS
71
Blade Clutch (PTO)
Clutch Engagement/Belt Tension
The clutch engagement and PTO belt tension are ad-
justed using the clutch actuator rod. Initially, after in-
stalling a new PTO belt, after 10 hours and every
100 hours thereafter, check and adjust for the two di-
mensions in the clutch actuator rod as shown in the
PTO Clutch Engaged and PTO Clutch Disen-
gaged illustrations.
Adjust the bolt head clearance [1/4 in. to 3/8 in.
(6.35 mm to 9.53 mm)] first (clutch engaged), then
adjust uncompressed spring length (clutch dis-
engaged). The spring must be adjusted to an un-
compressed overall length of 2 in. (51 mm). If ad-
justments are needed more frequently than every
100 hours to maintain the linkage dimensions, it may
suggest problems with pulley wear or belt misalign-
ment.
1/4 in. to 3/8 in.
(6.35 mm to 9.53 mm)
Clutch
Actuator Rod
PTO Belt
Tightener Arm Locknut Spring
Compressed
Blade Clutch
Lever Engaged
PTO Clutch Engaged

Maintenance Instructions ADJUSTMENTS
72
Clutch Disengagement/Brake Action The declutched or disengaged position of the
blade clutch idler pulley is adjustable and is set to
give belt release without excessive slack and to
apply the blade brake. The blade brake is activated
by the brake actuator rod linkage to the clutch idler
pulley mechanism. The brake is designed to stop
the blades within five (5) seconds after disengaging
the clutch.
WARNING
It is important to check and maintain
blade brake action for safe operation of
the machine.
PTO Clutch Disengaged
Spring Overall Length
2 in.
(51 mm)
Knuckle
Joint
Adjustment
Nut
Spring
Uncompressed
Blade Clutch
Idler Pulley
Blade Clutch
Lever Disengaged

Maintenance Instructions ADJUSTMENTS
73
Use the following procedures to check and adjust
clutch disengagement and brake action:
Stop Block Eccentric Adjustment - Step 1
Use the stop block attached to PTO belt tightener
arm to set the bottom position of the clutch idler pul-
ley in the disengaged position. The stop block
should contact the chassis to stop the clutch idler
pulley from moving further down in the disengaged
position. If the stop block is not contacting the
chassis in the disengaged position, it will be neces-
sary to loosen the brake band adjustment nut.
The stop block is an “eccentric” block that will allow
four adjustment positions from 5/16 in. (8 mm) to
11/16 in. (17 mm).
PTO Belt Tightener Stop Block Adjustments
Clutch Idler Pulley Travel Adjustment - Step 2
Adjust the stop block to give 1 in. (25 mm) to 1-1/2
in. (38 mm) pulley travel from “clutch engaged” to
“clutch disengaged”. To check and adjust the pulley
travel, first engage the clutch, then measure the dis-
tance the pulley moves down as the clutch is disen-
gaged and the stop block contacts the frame.
NOTE: The importance of this adjustment is if the
pulley travel is excessive and the belt develops too
much slack, the belt will derail when disengaged.
Clutch Idler Pulley Travel Adjustment
Blade Brake Band Adjustment - Step 3
After the pulley travel is set, make the following ad-
justment as needed:
1. Adjust the blade brake band, using the adjust-
ment nut until there is a gap of approximately
1/8 in. (3 mm) between the PTO belt tightener
stop block and chassis. If there are not enough
threads on the brake band for adjustment,
lengthen the brake actuator rod.
Blade Brake Band Adjustment
11/16 in.
(17 mm) 9/16 in.
(14 mm)
7/16 in.
(11 mm) 5/16 in.
(8 mm)
Engage
Disengage
Pulley
Travel
1 in. to 1-1/2 in.
(25 mm to 38 mm)
Stop Block
Contacting Frame
Stop
Block
Brake Actuator
Rod
Blade Brake Band
Adjustment Nut

Maintenance Instructions ADJUSTMENTS
74
Blade Brake Band Adjustment
NOTE: The length of the actuator rod is adjusted
by disconnecting the bottom clevis and shortening
or lengthening accordingly. The standard pre-set
length of the actuator rod is set at the factory at
8-1/4 in. (209 mm).
Brake Actuator Rod Adjustment
2. After adjustments are complete, check blade
brake action as described in CHECKING/SER-
VICING the Blade Brake Action in this section.
If blades do not stop within five (5) seconds,
check the following:
a. Recheck 1/8 in. (3 mm) gap between stop
block and chassis.
b. Make sure clutch and brake linkage are
working freely (no binding).
c. Check the brake band lining.
d. Check the brake drum on the pulley. If
excessive wear is present, it will be neces-
sary to replace worn parts.
Transmission Control
IMPORTANT: The proper adjustment of the trans-
mission control stops is essential for efficient oper-
ation and life of the transmission. These stops are
properly adjusted at the factory and should only re-
quire readjustment if the transmission or related
control linkage is removed or changed.
NOTE: It would not be unusual for a new machine,
after initial 5 or 10 hours of operation, to begin to not
travel straight (this is due to the break-in of the
transmissions). In this case, proceed to Straight
Ground Travel Adjustment - Step 4.
IMPORTANT: The following adjustment procedures
are sequential. Check and adjust each function in
the order given.
Set Forward Travel Limit (Stop) - Step 1
1. Move the Forward Speed Control (FSC) lever to
the most FORWARD position.
2. Check clearance of the RH and LH steering le-
ver actuator arms with the frame and adjust for-
ward stop bolt so each lever clears the frame
by at least 1/16 in. (1.6 mm). Clearance of the
arm to the frame should be checked while ap-
plying pressure back on the arm to remove
any slack in the linkage.
3. Tighten the jam nut on the forward travel stop
adjusting bolt.
Blade Clutch
Idler Pulley
1/8 in.
(3 mm)
PTO Belt Tightener Chassis
Stop Block
8-1/4 in.
(209 mm)
Bottom
Clevis
Locknuts

Maintenance Instructions ADJUSTMENTS
75
Forward Speed Control Stop
and Steering Lever Adjustment
Steering Lever End Play Adjustment - Step 2
1. Position the FSC lever to the most FORWARD
position.
2. Loosen the adjustment nut on each steering le-
ver actuator until end play develops between
the lever actuator and the adjustment nut (slid-
ing on transmission control rod).
3. Hold the actuator back as shown (against the
spring pressure) and tighten the nut to the point
where the end play is removed and then tight-
en two additional turns.
IMPORTANT: If the adjustment nut is too loose
(end play exists) excessive loads are placed on
transmission internal control stops. If the adjust-
ment nut is too tight (preferred condition), the max-
imum forward travel speed is reduced.
Neutral Function Adjustment - Step 3
1. Move the FSC lever to the NEUTRAL-PARK
position (rear travel limit).
2. Start the engine (operate first at idle and then
normal operating speeds) and check for move-
ment of the drive wheels.
NOTE: If the engine will not start, check and ad-
just the neutral safety switch (see item 4 below).
Neutral Function Adjustment
3. If drive wheels are moving, stop the engine and
adjust the FSC neutral stop by adjusting the
FSC actuator clevis (see Neutral Function Ad-
justment photo for clevis location). If the drive
wheels are moving backward, remove the cotter
pin and clevis pin and screw the clevis forward.
If the drive wheels are moving forward, screw
the clevis backward. Restart the engine and
check for wheel movement (several “trial and er-
ror” adjustments may be required). At this point
it may not be possible to adjust both wheels
stationary since the differential adjustment has
not been made. (This is covered by the Straight
Ground Travel Adjustment - Step 4.) In this
case, the neutral adjustment should be made for
one wheel stationary and the other moving for-
ward slightly.
4. Check and adjust the neutral safety switch
for closure and function with the FSC in neutral
(the engine will not start when the switch is
open). Use panel nuts on the switch body to
adjust switch position for closure in neutral. Re-
fer to adjustment description for Safety Switch-
es in this section.
Steering
Adjustment Nut
Steering Lever
Actuator Arms
Forward Travel
Stop Bolt
CAUTION
NEVER attempt to disconnect any safety
devices or defeat the purpose of these
safety devices.
LH Steering Lever
(For Orientation)
FSC Actuator
Clevis

Maintenance Instructions ADJUSTMENTS
76
Straight Ground Travel Adjustment - Step 4
1. Sit in the seat, start the engine (operate at nor-
mal speed), and with the FSC in the NEUTRAL-
PARK position check for forward movement of
either drive wheel (if either wheel moves back-
ward, refer back to Neutral Function Adjust-
ment - Step 3 and readjust). Tighten the
steering lever adjustment nut on the side of
the mower with the wheel moving forward
until wheel movement stops.
2. Check for straight ground track on a level sur-
face (with hands off the steering levers). Set
the FSC at several different speeds and ob-
serve if the mower moves in a straight line (use
cement joint or other line on the ground for ref-
erence).
NOTE: The final tracking adjustment is made
with the mower moving, since the adjustment is
quite sensitive and is more easily “fine tuned”
when moving.
3. If travel is not straight, tighten the adjustment
nut that is on the same side of the mower as
the wheel that is moving too fast, e.g., the
mower tracks to the right, indicating the LH wheel
is moving too fast, tighten the LH adjustment nut.
Straight Ground Travel Adjustment
Forward Speed Control Friction Lock
The FSC friction lock is adjusted to hold the select-
ed forward speed when the steering levers are
moved and yet the friction is not too heavy to make
moving the control difficult (too much friction).
The procedure for checking and adjusting the FSC
friction lock is as follows:
Forward Speed Control Friction Lock
1. Place the FSC in the full FORWARD position
and pull both steering levers back; the FSC le-
ver should not move. If the FSC lever moves
back when the steering levers are pulled back,
the friction needs to be increased.
2. With the steering levers held back, move the
FSC lever back from the FORWARD position.
With a proper amount of friction adjusted, the
FSC lever should move back with a slight
amount of resistance (friction). If the FSC lever
movement is “stiff”, the friction needs to be de-
creased.
3. The FSC friction is increased or decreased by
tightening or loosening the friction adjust-
ment nut. Loosen or tighten the nut and check
the control function until conditions of both
steps 1 and 2 (above) are met.
End Wrench on
Adjustment Nut
Friction Washer
Friction
Adjustment Nut
FSC Actuator

Maintenance Instructions ADJUSTMENTS
77
Tilt-Up Deck Adjustable Stop
When the carrier frame hinge joint is properly adjust-
ed, the deck lock levers should move in and out of the
engaged and disengaged positions freely. All four
hitch pins used for height adjustment should sit flush
on the washers above the deck pin bushing. On a
level surface, if any pin is sticking up (likely the front
pins), tighten the opposite side or loosen the same
side to lower the pin. Adjustments are made by loos-
ening the jam nut and tightening or loosening the set
screws on the Deck Mount Pivot Brackets. Retighten
the jam nut when the adjustment is complete.
Tilt-Up Deck Adjustable Stop
Carburetor
The fixed main jet carburetor is designed to deliver
the correct fuel-to-air mixture to the engine under all
operating conditions. The high idle is set at the fac-
tory and cannot be adjusted. The low idle mixture
screw is also set at the factory and normally does
not need adjustment. The only adjustment normally
made to the carburetor is to set the idle speed.
However, if the engine exhibits any of the following
symptoms, it may be necessary to adjust or service
the carburetor: black, sooty exhaust smoke; lack of
power; engine miss or backfire; hard to start; rough
running; stalls at low idle speed.
NOTE: Due to the technical requirements of mod-
ern carburetors, refer to the Kohler Service Manual
or contact an authorized Kohler engine dealer for
carburetor adjustments and service not described in
this section.
Since the carburetor main jet is non-adjustable, for
operation above 5000 ft (1,524 m) above sea level,
it may be necessary to change the carburetor main
jet for best fuel economy and power. Contact an au-
thorized Kohler dealer to change the carburetor
main jet.
Engine Idle Adjustment
IMPORTANT: Some emission certified engines
may not have an adjustable idle mixture needle
valve; it is fixed from the factory and the adjustable
screw is "capped". In this case, only the idle speed
is adjustable and only Step 4 of the instructions be-
low applies.
1. Gently close the idle mixture needle valve by
turning it clockwise until it bottoms lightly.
IMPORTANT: The needle valve and carburetor
seat may be damaged by turning the adjust-
ment screw too tight.
2. Preliminary Setting: Turn the idle mixture nee-
dle valve out (counterclockwise) 1-1/2 turns
from the closed position. This initial adjust-
ment will allow the engine to be started and
warmed up prior to the final adjustment.
CAUTION
DO NOT change the engine governor set-
tings or overspeed the engine. The gov-
ernor has been factory set for maximum
safe engine operating speed.
Set Screw
Jam Nut
CAUTION
ALWAYS use the proper engine service
manual when working on the engine. Un-
authorized maintenance operations or
modifications to the engine MAY result in
unsafe operating conditions.

Maintenance Instructions ADJUSTMENTS
78
Carburetor Adjustment
3. Start the engine and allow it to warm up by run-
ning at 1/2 throttle for approximately five (5)
minutes. The engine must be warm before
making final settings.
4. Move the throttle to the idle position. Adjust idle
speed for 1200 rpm (± 75 rpm) by adjusting the
idle speed screw. Check the idle speed using a
tachometer.
5. With the engine idling, adjust the idle mixture by
turning the idle mixture needle valve in (slowly)
from the preliminary setting until engine speed
decreases and then back out approximately 3/4
to 1 turn to obtain the best low speed perfor-
mance.
6. Recheck idle speed after the final idle mixture
adjustment.
GHS “Full” Signal Horn with Grass-Pak® Switch
If the GHS “full” signal horn is not sounding when the
catcher is full, the following troubleshooting instruc-
tions apply:
Troubleshooting (When Horn Fails to Operate)
1. Check the horn.
a. Disconnect the two wires from the Grass-
Pak® switch electric connector plug and
make a jumper wire connection between
these wires (bypassing switch).
b. Turn the ignition switch ON and move the
blade clutch to the ENGAGED position
(engine not running) to make the horn
sound.
c. If the horn does not sound, the horn is bad
and needs to be replaced.
d. If the horn does sound, proceed to step 2.
2. Check the Grass-Pak® switch.
a. Reconnect the wires to the Grass-Pak®
switch electric connector plug.
b. Turn the ignition switch ON and move the
blade clutch to the ENGAGED position
(engine not running).
c. Open the catcher back door and trigger the
Grass-Pak® vane by hand as it oscillates.
d. The horn should sound as the switch is
moved in both directions. If the horn does
not sound, the switch is bad and needs to
be replaced.
DANGER
The engine must be running to adjust the
carburetor for engine idle. To guard
against injury, keep hands, feet, face, and
other parts of body away from the muffler/
exhaust pipe, other hot parts of the engine,
and moving or rotating parts of the engine.
Low Idle Mixture
Needle Valve
(May be Non-Adjustable)
Fixed Main Jet Under
Shutdown Solenoid
Idle Speed
Screw
WARNING
DO NOT test the Grass-Pak® switch with
the engine running. Projectiles CAN be
thrown out of the grass delivery spout and
CAN cause serious injury to bystanders or
property damage.

79
Maintenance Instructions ADJUSTMENTS/
ELECTRICAL SYSTEM
Checking the Grass-Pak® Switch
ELECTRICAL SYSTEM
For troubleshooting, refer to Wiring Diagram.
IMPORTANT: Disconnect both battery cables be-
fore unplugging any wiring connectors or making re-
pairs on the electrical system.
Circuit Breakers
A master circuit breaker is mounted on a bracket be-
hind the battery. The circuit breaker may have either
the manual or automatic reset function -- both types
have been used. See Circuit Breaker Location
photo.
Circuit Breaker Location
Grass-Pak®
Vane Switch
30 Amp
Circuit Breaker
Circuit Breaker
Mounting Bracket

80
Maintenance Instructions ELECTRICAL SYSTEM
Wiring Diagram - Model MC
B
A
M
S1
S2
G
87
30
8586
30
8685
8586
87A
87A
30
STARTER SOLENOID
STARTER
RECTIFIER/REGULATOR
MAGNETO
OIL PRESSURE SWITCH
ENGINE
CASE GROUND
TO MOTOR MOUNT
POWERFIL
MOTOR
GRASS PAK
SWITCH
R
R
HORN
OPTIONAL
LIGHT
OPTIONAL
LIGHT
30 AMP
CIRCUIT
BREAKER
CHASSIS
GROUND
BATTERY
OIL
PRESSURE
LIGHT
OPTIONAL
LIGHTS
5 AMP
CIRCUIT
BREAKER
PTO
INTERLOCK
SWITCH
HOUR METER
SEAT
SWITCH TIME
DELAY
MODULE
FSC
RELAY - B
RELAY - C
RELAY - A
NEUTRAL
INTERLOCK
SWITCH
OFF
RELAY - A
IGNITION RELAY
START
PTO ON OPEN
30 + 87A
30 + 87A
OFF
RELAY - B
START RELAY
START
PTO ON
OPEN
30 + 87
OPEN
OFF
RELAY - C
DELAY RELAY
START
RUN
OPEN
OPEN
30 + 87A
WALKER MODEL MC
Beginning S/N 2001-49399
S1 = START CIRCUIT
S2 = START/ACCESSORY CIRCUIT
M = MAGNETO GROUND CIRCUIT
B = BATTERY CIRCUIT
A = ACCESSORY CIRCUIT
G = GROUND CIRCUIT
IGNITION SWITCH CIRCUITS
OFF
START
RUN
G + M
B + A / S1 + S2
B + A
ORG
ORG BLK
BLK
BLK
BLK
BLU
ORG
ORG
BRN
BLK
YEL
YEL
RED
PUR
WHT
WHT
BLU
PUR
PUR
PUR
RED
RED
BRN GRA
BLK/WHT
GRN
REDRED
BLU
BLK
BLK
RED
RED RED
RED
RED
YEL
BLK
BLK
WHT
RED
RED
BRN/WHT
GRN
PUR
YEL
WHT
GRN
BLK
WHT
RED
GRAGRA
BRN
BLK
BLK
BRN
GRA GRA
GRN
GRA
ORG
PUR
WHT
WHT
WHT
WHT
RED RED
GRN
BRN
BRN/WHT
WHT
+
-

81
Operator’s Notes

82
Operator’s Notes

83
LIMITED WARRANTY
FOR
WALKER
COMMERCIAL RIDER MOWER
1. WHAT THIS WARRANTY COVERS, AND FOR HOW LONG:
Walker Manufacturing company will, at its option, repair or replace, without charge, any part covered by this warranty which
is found to be defective in material and/or workmanship within one (1) year* after date of sale to the original retail pur-
chaser unless the product is used for rental purposes, in which case this warranty is limited to ninety (90) days. At
Walker’s request, customer will make the defective part available for inspection by Walker and/or return the defective part
to Walker, transportation charges prepaid. All parts and components of the Walker Mower are covered by this warranty
except the following components which are warranted separately by their respective manufacturers:
Kohler Engine
Kubota Engine
Kawasaki Engine
Eaton Hydraulic Transmission
Peerless Gearboxes
Battery
Tires
The available warranties covering these items are furnished with each mower. Walker does not assume any warranty obli-
gation, liability or modification for these items, which are covered exclusively by the stated warranty of the respective man-
ufacturers noted above.
* An extended three (3) year warranty is offered on the Walker P/N 6200-8 Gear Axle Assembly.
2. WHAT THIS WARRANTY DOES NOT COVER:
A. This warranty does not cover defects caused by depreciation or damage caused by normal wear, accidents, improper
maintenance, improper use or abuse of the product, alterations, or failure to follow the instructions contained in the
Owner’s Manual for operation and maintenance.
B. The customer shall pay any charges for making service calls and/or for transporting the mower to and from the place
where the inspection and/or warranty work is performed.
3. HOW TO OBTAIN SERVICE UNDER THIS WARRANTY:
Warranty service can be arranged by contacting the dealer where you purchased the mower or by contacting Walker Man-
ufacturing Company, 5925 East Harmony Road, Ft. Collins, CO 80528. Proof of the date of purchase may be required to
verify warranty coverage.
4. WARRANTY LIMITATION:
A. THERE IS NO OTHER EXPRESS WARRANTY. ANY WARRANTY THAT MAY BE IMPLIED FROM THIS
PURCHASE INCLUDING MERCHANTABILITY AND FITNESS FOR A PARTICULAR PURPOSE IS HEREBY
LIMITED TO THE DURATION OF THIS WARRANTY AND TO THE EXTENT PERMITTED BY LAW ANY AND ALL
IMPLIED WARRANTIES ARE EXCLUDED. Some states do not allow limitations on how long an implied warranty
lasts, so the above limitations may not apply to you.
B. WALKER WILL NOT BE LIABLE FOR ANY INCIDENTAL, CONSEQUENTIAL, OR SPECIAL DAMAGES AND/OR
EXPENSES IN CONNECTION WITH THE PURCHASE OR USE OF THE MOWER. Some states do not allow the
exclusion or limitation of incidental or consequential damages, so the above limitation(s) or exclusion(s) may not
apply to you.
C. Only the warranty expressed in this limited warranty shall apply and no dealer, distributor, or individual is authorized
to amend, modify, or extend this warranty in any way. Accordingly, additional statements such as dealer advertising
or presentations, whether oral or written, do not constitute warranties by Walker, and should not be relied upon.
D. This warranty gives you specific legal rights, and you may also have other rights which vary from state to state.

WALKER MFG. CO. • 5925 E. HARMONY ROAD, FORT COLLINS, CO 80528 • (970) 221-5614
FORM NO. 041503 PRINTED IN USA www.walkermowers.com ©2003 WALKER MFG. CO
Sound - Model MC
Sound Test
Sound test conducted was in accordance
with 79/113/EEC and was performed on
28 January 98 under the conditions listed:
General Condition: Cloudy
Temperature: 32 (F)o0(C)
o
Wind Speed: < 5 mph (< 8 kmh)
Humidity: 58%
Barometric Pressure: 25.0" HG (636 mm Hg)
Lwa
105
OPERATOR
Vibration - Model MC
Vibration Level
Vibration levels at the operators handles
were measured in the vertical, lateral, and
longitudinal directions using calibrated
vibration test equipment.
Tests were performed on 28 January 98 under the
conditions listed:
LpA
92
0.7g
General Condition: Cloudy
Temperature: 32 (F)o0(C)
o
Wind Speed: < 5 mph (< 8 kmh)
Humidity: 58%
Barometric Pressure: 25.0" HG (636 mm Hg)