Weider 16 8St Users Manual *WESY69100 168645
Weider-Club-16-8St-System-Wesy6910-Users-Manual-734145 weider-club-16-8st-system-wesy6910-users-manual-734145
Weider-Wesy69100-Owner-S-Manual weider-wesy69100-owner-s-manual
16.8ST to the manual 872164a9-806d-40fa-8436-847a256d292a
2015-01-26
: Weider Weider-16-8St-Users-Manual-233649 weider-16-8st-users-manual-233649 weider pdf
Open the PDF directly: View PDF
.
Page Count: 33

CAUTION
Read all precautions and instruc-
tions in this manual before using
this equipment. Save this manual
for future reference.
Patent Pending
Model No. WESY69100
Serial No.
The serial number is found in the
location shown below. Write the
serial number in the space above.
Serial Number Decal
QUESTIONS?
As a manufacturer, we are
committed to providing complete
customer satisfaction. If you
have questions, or if there are
missing parts, we will guarantee
complete satisfaction through
direct assistance from our factory.
TO AVOID UNNECESSARY
DELAYS, PLEASE CALL DIRECT
TO OUR TOLL-FREE CUSTOMER
HOT LINE. The trained techni-
cians on our customer hot line
will provide immediate assis-
tance, free of charge to you.
CUSTOMER HOT LINE:
1-800-999-3756
Mon.ÐFri., 6 a.m.Ð6 p.m. MST
Visit our website at
www.weiderfitness.com
new products, prizes,
fitness tips, and much more!
USERÕS MANUAL

2
Limited Warranty . . . . . . . . . . . . . . . . . . . . . . . . . . . . . . . . . . . . . . . . . . . . . . . . . . . . . . . . . . . . . . . . . . . . . . . 2
Important Precautions . . . . . . . . . . . . . . . . . . . . . . . . . . . . . . . . . . . . . . . . . . . . . . . . . . . . . . . . . . . . . . . . . . . 3
Before You Begin . . . . . . . . . . . . . . . . . . . . . . . . . . . . . . . . . . . . . . . . . . . . . . . . . . . . . . . . . . . . . . . . . . . . . . 4
Assembly . . . . . . . . . . . . . . . . . . . . . . . . . . . . . . . . . . . . . . . . . . . . . . . . . . . . . . . . . . . . . . . . . . . . . . . . . . . . 5
Cable Diagram . . . . . . . . . . . . . . . . . . . . . . . . . . . . . . . . . . . . . . . . . . . . . . . . . . . . . . . . . . . . . . . . . . . . . . . 21
Adjustment . . . . . . . . . . . . . . . . . . . . . . . . . . . . . . . . . . . . . . . . . . . . . . . . . . . . . . . . . . . . . . . . . . . . . . . . . . 22
Trouble-shooting and Maintenance . . . . . . . . . . . . . . . . . . . . . . . . . . . . . . . . . . . . . . . . . . . . . . . . . . . . . . . . 24
Weight Resistance Chart . . . . . . . . . . . . . . . . . . . . . . . . . . . . . . . . . . . . . . . . . . . . . . . . . . . . . . . . . . . . . . . . 25
Ordering Replacement Parts . . . . . . . . . . . . . . . . . . . . . . . . . . . . . . . . . . . . . . . . . . . . . . . . . . . . . . Back Cover
Note: A PART LIST/EXPLODED DRAWING and a PART IDENTIFICATION CHART are attached in the center of
this manual.
Table of Contents
WHAT IS COVEREDÑThe entire CLUB WEIDER 16.8ST Training System (ÒProductÓ) is warranted to be free of all defects in mate-
rial and workmanship.
WHO IS COVEREDÑThe original purchaser or any person receiving the Product as a gift from the original purchaser.
HOW LONG IS IT COVEREDÑICON Health & Fitness, Inc. (ÒICONÓ), warrants the product for one year after the date of purchase.
Labor is covered for one year.
WHAT WE DO TO CORRECT COVERED DEFECTSÑWe will ship to you, without charge, any replacement part or component, pro-
viding the repairs are authorized by ICON first and are performed by an ICON trained and authorized service provider, or, at our
option, we will replace the Product.
WHAT IS NOT COVEREDÑAny failures or damage caused by unauthorized service, misuse, accident, negligence, improper
assembly or installation, alterations, modifications without our written authorization or by failure on your part to use, operate, and
maintain as set out in your UserÕs Manual (ÒManualÓ).
WHAT YOU MUST DOÑAlways retain proof of purchase, such as your bill of sale; store, operate, and maintain the Product as spec-
ified in the Manual; notify our Customer Service Department of any defect within 10 days after discovery of the defect; as instruct-
ed, return any defected part for replacement or, if necessary, the entire product, for repair.
USERÕS MANUALÑIt is VERY IMPORTANT THAT YOU READ THE MANUAL before operating the Product. Remember to do the
periodic maintenance requirements specified in the Manual to assure proper operation and your continued satisfaction.
HOW TO GET PARTS AND SERVICEÑSimply call our Customer Service Department at 1-800-999-3756 and tell them your name
and address and the serial number of your Product. They will tell you how to get a part replaced, or if necessary, arrange for ser-
vice where your Product is located or advise you how to ship the Product for service. Before shipping, always obtain a Return
Authorization Number (RA No.) from our Customer Service Department; securely pack your Product (save the original shipping car-
ton if possible); put the RA No. on the outside of the carton and insure the product. Include a letter explaining the product or prob-
lem and a copy of your proof of purchase if you believe the service is covered by warranty.
ICON is not responsible or liable for indirect, special or consequential damages arising out of or in connection with the use or per-
formance of the product or damages with respect to any economic loss, loss of property, loss of revenues or profits, loss of enjoy-
ment or use, costs of removal, installation or other consequential damages of whatsoever nature. Some states do not allow the
exclusion or limitation of incidental or consequential damages. Accordingly, the above limitation may not apply to you.
The warranty extended hereunder is in lieu of any and all other warranties and any implied warranties of merchantability or fitness
for a particular purpose is limited in its scope and duration to the terms set forth herein. Some states do not allow limitations on how
long an implied warranty lasts. Accordingly, the above limitation may not apply to you.
No one is authorized to change, modify or extend the terms of this limited warranty. This warranty gives you specific legal rights and
you may have other rights which vary from state to state.
ICON HEALTH & FITNESS, INC., 1500 S. 1000 W., LOGAN, UT 84321-9813
Limited Warranty

3
Important Precautions
1. It is the responsibility of the owner to ensure
that all users of the training system are ade-
quately informed of all precautions.
2. Read all instructions in this manual and in
the accompanying literature before using the
training system.
3. If you feel pain or dizziness at any time while
exercising, stop immediately and begin cool-
ing down.
4. Use the training system only on a level sur-
face. Cover the floor or carpet beneath the
training system to protect the floor or carpet.
5. Inspect and tighten all parts often. Replace
any worn parts immediately.
6. The training system is designed to be used
by only one person at a time.
7. Always stand on the foot plate when perform-
ing an exercise that could cause the training
system to tip.
8. Keep children under the age of 12 and pets
away from the training system at all times.
9. Keep hands and feet away from moving parts.
10. Make sure the cables remain on the pulleys
at all times. If the cables bind while you are
exercising, stop immediately and make sure
the cables are on all of the pulleys.
11. Always wear athletic shoes for foot protec-
tion when exercising.
12. Never release the press arm, leg lever, lat bar,
leg press, ab strap, or ankle strap while
weights are raised. The weights will fall with
great force.
13. Always disconnect the lat bar from the train-
ing system when performing an exercise that
does not use it.
14. The training system is intended for home use
only. Do not use the training system in a
commercial, rental or institutional setting.
WARNING: To reduce the risk of serious injury, read the following important precau-
tions before using the training system.
The warning decals shown at the right have been
placed on the training system in the locations shown
on page 4. Note that decal number 1 has been placed
in two locations. If a decal is missing or illegible,
please call our Customer Service Department at
1-800-999-3756 and order a free replacement decal.
Place the decal on the training system in the location
shown.
Warning Decal No. 3
Warning Decal No. 1
Warning Decal No. 2
WARNING: Before beginning this or any exercise program, consult your physician. This
is especially important for persons over the age of 35 or persons with pre-existing health problems.
Read all instructions before using. ICON assumes no responsibility for personal injury or property
damage sustained by or through the use of this product.
¥ Keep clear of
this area.
Keep hands and
fingers clear of
this area.

4
ASSEMBLED
DIMENSIONS:
Height: 81 in.
Width: 72 in.
Length: 64 in.
Low Pulley Station
Foot Plate
High Pulley Station
Curl Pad
Shroud
Seat
Leg Press
Backrest
Leg Lever
Thank you for selecting the versatile CLUB WEIDER¨
16.8ST training system. The CLUB WEIDER 16.8ST
offers a selection of weight stations designed to devel-
op every major muscle group of the body. Whether
your goal is to tone your body, build dramatic muscle
size and strength, or improve your cardiovascular sys-
tem, the CLUB WEIDER 16.8ST will help you to
achieve the results you want.
For your benefit, read this manual carefully before
using the training system. If you have additional
questions, please call our Customer Service
Department toll-free at 1-800-999-3756, Monday
through Friday, 6 a.m. until 6 p.m. Mountain Time
(excluding holidays). To help us assist you, please
note the product model number and serial number
before calling. The model number is WESY69100. The
serial number can be found on a decal attached to the
training system (see the front cover of this manual).
Please refer to the drawing below and familiarize
yourself with the major parts of the training system.
Before You Begin
AB Pulley Station
Press Arm
Backrest
Adjustment
Tube
Lat Bar
Weight Stack
Warning
Decal
No. 2
Warning
Decal
No. 1
Warning
Decal
No. 1
Warning
Decal
No. 3

5
Assembly
Make sure you have the following tools:
¥ Two adjustable wrenches
¥ One standard screwdriver
¥ One phillips screwdriver
¥ One rubber mallet
¥ You will also need grease or petroleum jelly, a
small amount of soapy water, and clear tape or
masking tape.
Note: Assembly will be more convenient if you have
a socket set, a set of open-end or closed-end
wrenches, or a set of ratchet wrenches.
How to Identify Parts
To help you identify the small parts used in assembly,
we have included a PART IDENTIFICATION CHART
in the center of this manual. Place the chart on the
floor and use it to easily identify parts during each
assembly step. Note: Some small parts may have
been pre-attached. If a part is not in the parts
bag, check to see if it has been pre-attached.
How to Orient Parts
As you assemble the training system, make sure
that all parts are oriented exactly as shown in the
drawings.
Tightening Parts
Tighten all parts as you assemble them, unless
instructed to do otherwise.
Questions?
If you have questions after reading the assembly
instructions, please call our Customer Service
Department toll-free at 1-800-999-3756 Monday
through Friday, 6 a.m. until 6 p.m. Mountain Time.
Assembly Requires Two Persons
For your convenience and safety, assemble the
training system with the help of another person.
Set Aside Enough Time
Due to the many features of the training system,
the assembly process will require a few hours. By
setting aside plenty of time and by deciding to
make the task enjoyable, assembly will go smoothly.
You may want to assemble the training system over
a couple of evenings.
Select a Location for the Training
System
Because of its weight and size, the training system
should be assembled in the location where it will be
used. Make sure that there is enough room to walk
around the training system as you assemble it.
How to Unpack the Box
To make assembly as easy as possible, we have
divided the assembly process into four stages. The
parts needed for each stage are found in individual
bags. Important: Wait until you begin each stage
to open the parts bag for that stage. Place all
parts of the training system in a cleared area and
remove the packing materials. Do not dispose of
the packing materials until assembly is completed.
Make Assembly Easier for Yourself!
Everything in this manual is designed to
ensure that the training system can be
assembled successfully by anyone. Before
beginning assembly, make sure to read the
information on this page; this brief intro-
duction will save you much more time than
it takes to read it!
The Four Stages of the Assembly Process
Frame AssemblyÑYou will begin by assembling
the base and the uprights that serve as the skele-
ton of the training system.
Arm AssemblyÑDuring this stage you will
assemble the press arm and the leg lever, han-
dles, leg press, and other miscellaneous parts.
Cable AssemblyÑDuring this stage you will
attach the cables and pulleys that connect the
arms and other parts to the weights.
Seat AssemblyÑDuring this stage you will
assemble the seats, the backrests, the curl pad,
the shroud, and other miscellaneous parts.

6
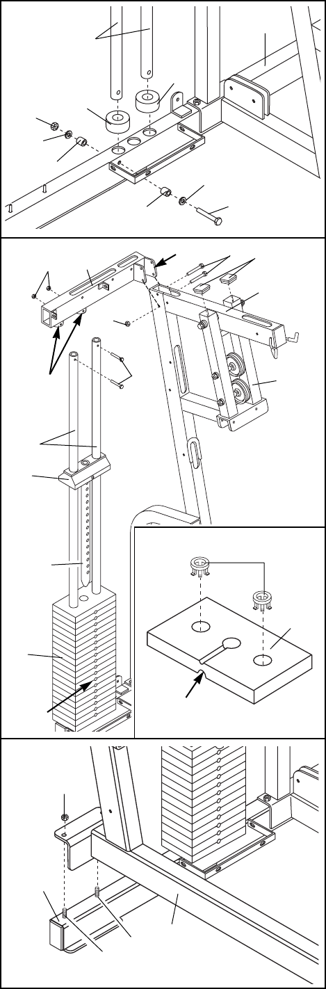
1.
Open the parts bag labeled ÒFRAME ASSEMBLY.Ó
Press a 2Ó x 3Ó Inner Cap (24) into the Main Upright
(3) in the indicated location.
Press a 2Ó x 3Ó Inner Cap (24) into each end of the
Stabilizer (5).
Inset three 3/8Ó x 3 3/4Ó Carriage Bolts (52) and a
3/8Ó x 5Ó Carriage Bolt (82) into the indicated holes in
the Stabilizer (5).
Attach the Main Upright (3) to the Stabilizer (5) with
the two indicated 3/8Ó x 3 3/4Ó Carriage Bolts (52) and
two 3/8Ó Nylon Locknuts (50). Do not tighten the
Nylon Locknuts yet.
1
24
5
52
82
50
24
24
3
52
2. Press 2Ó Square Inner Caps (33) into the Leg Lever
(29) and the front leg on the Base (8) as shown.
Note: Do not insert the 2Ó Square Inner Cap fully
into the Base; it will need to be removed later to
attach the Curl Post (not shown).
Align the bracket on the Base (8) with the holes in the
Main Upright (3). Attach the Base with a 3/8Ó x 4Ó Bolt
(65), a 3/8Ó Flat Washer (55), and a 3/8Ó Nylon
Locknut (50). The Bolt must be inserted from the
side shown. Do not tighten the Nylon Locknut yet.
Next, insert two 5/16Ó x 3Ó Bolts (78) into the Base (8)
and the Main Upright (3) and finger tighten a 5/16Ó
Nylon Locknut (81) onto each Bolt. Do not tighten
the Nylon Locknuts yet.
Before beginning assembly, make sure you
have read and understood the information on
page 5. This brief introduction will save you
much more time than it takes to read it!
2
65
50 55
78
33
29
8
Front Leg
Bracket
3
81
3
3. Attach the Foot Plate (4) to the Base (8) with a 3/8Ó x
5 1/2Ó Bolt (57) and a 3/8Ó Nylon Locknut (50).
57
4
8
50
Frame Assembly

4. Place two Weight Bumpers (19) over the indicated
holes in the Stabilizer (5).
Insert the two Weight Guides (23) into the Weight
Bumpers (19) and the Stabilizer (5).
Attach the indicated Weight Guide (23) to the
Stabilizer (5) with a 3/8Ó x 2 1/2Ó Bolt (54), two 3/8Ó
Flat Washers (55), two 5/8Ó x 1/2Ó Pulley Bushings
(42), and a 3/8Ó Nylon Jam Nut (63).
4
23
19
55
5
19
63
55
42
42 54
5. See the inset drawing. Open the parts bag labeled
ÒWeight InsertsÓ. Press two Weight Inserts (77) into
the indicated holes in each Weight (26). Make sure
the large pin groove is oriented as shown.
Slide all nineteen Weights (26) onto the Weight
Guides (23). Make sure the Weights are oriented
correctly. The holes must be on the side shown.
Slide the Top Weight (16) and the Weight Tube (36)
onto the Weight Guides (23). Insert the Weight Tube
into the Weights (26).
Slide the welded tubes on the Top Frame (1) over the
upper ends of the Weight Guides (23). Align the
bracket on the Top Frame with the indicated holes in
the Main Upright (3). Insert two 3/8Ó x 3Ó Bolts (45)
into the holes. Thread a 3/8Ó Nylon Locknut (50) onto
the lower Bolt. Do not thread a Locknut onto the
upper Bolt yet.
Attach the Weight Guides (23) to the Top Frame (1)
with two 3/8Ó x 1 3/4Ó Bolts (60) and two 3/8Ó Nylon
Locknuts (50).
Press two 2Ó Square Inner Caps (33) into the Press
Frame (12).
545 33
1
60
50
50
23
16
36
26
Welded
Tubes
Bracket
Holes
3
12
77
26
Large Pin
Groove
7
6. Slide the Leg Press Base (84) onto the 3/8Ó x 3 3/4Ó
Carriage Bolt (52) and the 3/8Ó x 5Ó Carriage Bolt (82)
in the end of the Stabilizer (5). Tighten a 3/8Ó Nylon
Locknut (50) onto the 3/8Ó x 3 3/4Ó Carriage Bolt. Do
not place a Nylon Locknut on the 3/8Ó x 5Ó
Carriage Bolt yet.
6
84
82
52
50
5

8
7. Turn the Adjustment Knob (9) counterclockwise to
loosen it. Pull out the Knob as far as possible and
slide the Seat Frame Channel (88) into the Sliding
Seat Frame (74). Release the Knob and let it snap
into one of the adjustment holes in the Seat Frame
Channel. Tighten the Knob fully.
Press a 2Ó Square Inner Cap (33) and an Angle Cap
(99) onto the indicated ends of the Seat Frame
Channel (88).
7
9
99
88
74
33
Adjustment
Holes
8. Attach the Seat Frame Channel (88) to the Leg Press
Base (84) with four 3/8Ó x 3Ó Carriage Bolts (107) and
four 3/8Ó Nylon Locknuts (50).
8
107
50
88
84
107
50

9
Arm Assembly
46
12
54
33
20
9
9
20
33
10. Attach the Press Arm (46) to the Press Frame (12)
with two 3/8Ó x 2 1/2Ó Bolts (54) and two 3/8Ó Nylon
Locknuts (50).
Insert a 2Ó Square Inner Cap (33) into each end of
the Press Arm (46).
Turn one of the Adjustment Knobs (9) counterclock-
wise to loosen it. Pull out the Knob as far as possible
and slide a Handle (20) into the Press Arm (46).
Release the Knob and let it snap into one of the
adjustment holes in the Handle. Tighten the Knob
fully. Repeat for the other Handle.
10
50
11. Attach the Handles (105) to the Sliding Seat Frame
(74) with four 1/4Ó x 1 1/2Ó Bolts (101) and four 1/4Ó
Nylon Locknuts (25).
Press a 2Ó Square Inner Cap (33) into the indicated
end of the Sliding Seat Frame (74).
101
101 105
25
33
74
11
25
105
9
9. Open the parts bags labeled ÒARM ASSEMBLYÓ.
Attach the Leg Lever Lock (11) to the front leg of the
Base (8) with a 5/16Ó x 3Ó Bolt (78), three 5/16Ó Flat
Washers (80), and a 5/16Ó Nylon Locknut (81). Do not
overtighten the Nylon Locknut; the Leg Lever
Lock must pivot easily.
78
11
80
80
81
Front
Leg
8

10
87
97
98
84
50
13. Attach the Leg Press Attachments (100) to the Rear
and Forward Leg Press Uprights (97, 98) with two
3/8Ó x 3Ó Bolts (45) and two 3/8Ó Nylon Jam Nuts (63).
13 45
100
100
98
12. Attach the Rear and Forward Leg Press Uprights (97,
98) to the Leg Press Base (84) with two 3/8Ó x 3 1/4Ó
Bolts (87) and two 3/8Ó Nylon Locknuts (50). Note:
The Rear Leg Press Upright (97) has an extra hole
in it.
Press two 2Ó Square Inner Caps (33) into the Rear
and Forward Leg Press Uprights (97, 98).
33
63
97
12
14. Attach the Leg Press Plate (85) to the Leg Press
Attachments (100) with two 3/8Ó x 3 1/4Ó Bolts (87),
eight 3/8Ó Flat Washers (55), and two 3/8Ó Nylon Jam
Nuts (63).
Note: All of the eight 3/8Ó Flat Washers (55) must
be between the Leg Press Attachments (100) and
the welded tube on the Leg Press Plate (85).
14
85
100
87
55
55 Welded
Tube
63

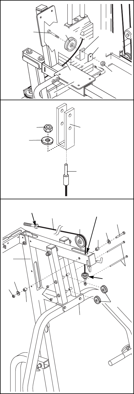
17. Wrap the Leg Press Cable (76) under a 4Ó Pulley
(35). Attach the Pulley and a Cable Trap (44) to the
Leg Press Base (84) with a 3/8Ó x 3 3/4Ó Bolt (92), a
3/8Ó Flat Washer (55), and a 3/8Ó Nylon Locknut (50).
Be sure that the Cable (76) is routed in the direc-
tion shown, and that the Cable Trap (44)is posi-
tioned to hold the Cable in the pulley groove.
18. Wrap the Leg Press Cable (76) around a 4Ó Pulley
(35). Attach the Pulley and a Cable Trap (44) to the
3/8Ó x 5Ó Carriage Bolt (82) in the Stabilizer (5) with a
3/8Ó Nylon Locknut (50).
Be sure that the Cable (76) is routed in the direc-
tion shown, and that the Cable Trap (44)is posi-
tioned to hold the Cable in the pulley groove.
16. Wrap the Leg Press Cable (76) up around a 4Ó Pulley
(35). Attach the Pulley and a Cable Trap (44) to the
Rear Press Upright (97) with a 3/8Ó x 3 3/4Ó Bolt (92),
a 3/8Ó Flat Washer (55), and a 3/8Ó Nylon Locknut
(50).
Be sure that the Cable (76) is routed in the direc-
tion shown, and that the Cable Trap (44) is posi-
tioned to hold the Cable in the pulley groove.
16
55
44
97
35
76
50
17
44
84
76
55
92
50
18
76
50
35
82
5
44
15. Open the parts bags labeled ÒCABLE ASSEMBLYÓ
and Ò4 PULLEYS.Ó Refer to the Cable Diagram on
page 21 as you assemble the cables.
Identify the Leg Press Cable (76) by referring to
page 21. Attach the Leg Press Cable to the indicated
hole in the Leg Press Base (84) with a 3/8Ó x 3Ó Bolt
(45), two 3/8Ó Flat Washers (55), a 5/8Ó x 1/4Ó
Bushing (90), and a 3/8Ó Nylon Jam Nut (63).
15
55
55
76
90
84
63
45
Cable Assembly
11
92
35

20. Remove the pre-assembled 4Ó Pulley (not shown)
from the Pulley Bracket (91).
Attach the end of the Leg Press Cable (76) to the
Pulley Bracket (91) with a 1/4Ó Flat Washer (71) and
a 1/4Ó Nylon Locknut (25).
Lay the Pulley Bracket (91) and the Leg Press
Cable (76) aside; they will be attached in step 28.
20
71
25 91
76
19. Wrap the Leg Press Cable (76) around a 4Ó Pulley
(35). Attach the Pulley and a Cable Trap (44) to the
welded bracket on the Stabilizer (5) with a 3/8Ó x 2Ó
Bolt (62) and a 3/8Ó Nylon Locknut (50).
19
50
62
12
21. Identify the High Cable (73), which has a ball on
one end and a bolt on the other end.
Feed the end of the High Cable (73) with the bolt up
through the indicated slot in the Main Upright (3).
Feed almost all of the Cable through the slot.
Slide a 3/8Ó Flat Washer (55) and a 5/8Ó x 1/2Ó Pulley
Bushing (42) onto a 3/8Ó x 2 1/2Ó Bolt (54).
Wrap the High Cable (73) around a 4Ó Pulley (35).
Hold the Pulley inside the indicated slot in the Main
Upright (3). Insert the 3/8Ó x 2 1/2Ó Bolt (54) through
the Main Upright and the Pulley.
Slide another 5/8Ó x 1/2Ó Pulley Bushing (42) and 3/8Ó
Flat Washer (55) onto the 3/8Ó x 2 1/2Ó Bolt (54).
Tighten a 3/8Ó Nylon Jam Nut (63) onto the Bolt.
Remove the pre-assembled 4Ó Pulleys (35) from the
Press Frame (12), and set them aside.
21
Ball
Bolt Slot
35
12
73
55
54
59
42
55
3
42
63
35
50
35
76
5
44
Bracket

13
22. Remove the upper 3/8Ó x 3Ó Bolt (45) from the Top
Frame (1) and the Main Upright (3).
Feed the bolt on the High Cable (73) down through
the indicated slot in the Main Upright (3) in the direc-
tion shown.
Wrap the High Cable (73) around a 4Ó Pulley (35) in
the direction shown. Attach the Pulley inside the slot
in the Main Upright (3) with a 3/8Ó x 2 1/2Ó Bolt (54),
two 3/8Ó Flat Washers (55), two 5/8Ó x 1/2Ó Pulley
Bushings (42), and a 3/8Ó Nylon Jam Nut (63).
Re-insert the 3/8Ó x 3Ó Bolt (45) and secure it with a
3/8Ó Nylon Locknut (50). Note: The Cable (73) must
be seated in the groove of the Pulley (35) before
the Bolt is attached.
22
Bolt
Slot
35
73
55
54
42
55
3
42
63
45
50
1
24. Wrap the High Cable (73) down around a 4Ó Pulley
(35) in the direction shown. Feed the bolt on the High
Cable (73) back through the slot in the Main Upright
(3) as shown. Attach the Pulley to the Press Frame
(12) with a 3/8Ó x 8 1/2Ó Bolt (59) and a 3/8Ó Nylon
Locknut (50).
23
24
Bolt
Slot
35
73
Welded Tube
55
55
50
59
73
42
55
59
50
3
12
35
12
Slot
Bolt
42
54
35
23. Feed the bolt on the High Cable (73) under the weld-
ed tube on the Press Frame (12) as shown. Wrap the
High Cable down around a 4Ó Pulley (35) in the direc-
tion shown. Attach the Pulley to the Press Frame (12)
with a 3/8Ó x 8 1/2Ó Bolt (59) and a 3/8Ó Nylon Locknut
(50).
Wrap the High Cable (73) down around another 4Ó
Pulley (35). Attach the Pulley inside the indicated slot
in the Main Upright (3) with a 3/8Ó x 2 1/2Ó Bolt (54),
two 3/8Ó Flat Washers (55), two 5/8Ó x 1/2Ó Pulley
Bushings (42), and a 3/8Ó Nylon Jam Nut (63). 63

14
25. Wrap the High Cable (73) around a 4Ó Pulley (35).
Attach the Pulley inside the slot in the Main Upright
(3) with a 3/8Ó x 2 1/2Ó Bolt (54), two 3/8Ó Flat
Washers (55), two 5/8Ó x 1/2Ó Pulley Bushings (42),
and a 3/8Ó Nylon Jam Nut (63).
25
55
42
63
3
35
42
55
54
73
26. Disassemble the pre-assembled Pulley Plates (31).
Wrap the High Cable (73) around a 4Ó Pulley (35) in
the direction shown. Attach the Pulley and a Cable
Trap (44) to the upper holes in the indicated ends of
the Pulley Plates (31) with a 3/8Ó x 1 3/4Ó Bolt (60) and
a 3/8Ó Nylon Jam Nut (63). Make sure the Cable is
in the groove of the Pulley and that the Cable
Trap is oriented so it holds the Cable in place.
26
73
60
31
44
35
31
63
These adjustment
holes must be at
the bottom
27. Feed the bolt on the High Cable (73) up through the
indicated slot in the Top Frame (1).
Wrap the High Cable (73) over a 4Ó Pulley (35). Feed
the bolt on the High Cable back down through the slot
in the Top Frame (1).
Attach the 4Ó Pulley (35) inside the slot in the Top
Frame (1) with a 3/8Ó x 2 1/2Ó Bolt (54), two 3/8Ó Flat
Washers (55), two 5/8Ó x 1/2Ó Pulley Bushings (42),
and a 3/8Ó Nylon Jam Nut (63).
27
1
35
42 55
54
63
42
73
55
Bolt
Slot

15
28. Wrap the High Cable (73) around a 4Ó Pulley (35).
Attach the Pulley and a Cable Trap (44) to the top
hole in the Pulley Bracket (91) attached to the Leg
Press Cable (76), with a 3/8Ó x 1 3/4Ó Bolt (60) and a
3/8Ó Nylon Jam Nut (63).
29. Feed the bolt on the High Cable (73) up through the
next slot in the Top Frame (1).
Wrap the High Cable (73) around a 4Ó Pulley (35) in
the direction shown and attach the Pulley to the Top
Frame (1) with a 3/8Ó x 2 1/2Ó Bolt (54), two 3/8Ó Flat
Washers (55), two 5/8Ó x 1/2Ó Pulley Bushings (42),
and a 3/8Ó Nylon Jam Nut (63).
28
29
44
63
73
73
1
35
63
55
55
54
42
35
30. Feed the bolt on the High Cable (73) down through
the next slot in the Top Frame (1).
Wrap the High Cable (73) around a 4Ó Pulley (35) in
the direction shown. Attach the Pulley to the Top
Frame (1) with a 3/8Ó x 2 1/2Ó Bolt (54), two 3/8Ó Flat
Washers (55), two 5/8Ó x 1/2Ó Pulley Bushings (42),
and a 3/8Ó Nylon Jam Nut (63).
30 42
35
54
55
55
63
73
1
31. IMPORTANT: Follow both Cables (73, 76 [not
shown]) from end to end; make sure that they are
in the grooves of the pulleys, and that the Cables
and pulleys move smoothly.
Thread the 1/2Ó Plain Nut (68) part way onto the bolt
at the end of the High Cable (73).
Place the 1 1/2Ó Flat Washer (40) on top of the
Weight Tube (36). Tighten the bolt at the end of the
High Cable (73) into the threaded hole in the Weight
Tube until the Cables (73, 76 [not shown]) are tight.
Tighten the 1/2Ó Plain Nut (68) against the 1 1/2Ó Flat
Washer (40).
31
Bolt
36
26
40
68
73
60
76
91

16
34. Route the Low Cable (72) through the indicated slot
in the Main Upright (3) and the Base (8).
Wrap the Low Cable (72) around a 4Ó Pulley (35) in
the direction shown. Attach the Pulley inside the weld-
ed bracket on the Main Upright (3) with a 3/8Ó x 2Ó
Bolt (62) and a 3/8Ó Nylon Locknut (50) as shown. 50
3
72
8
35
62
Slot
32. Locate the Low Cable (72), which is the only remain-
ing Cable. Note that it has a large ball on one end
and a small ball on the other.
Route the small ball on the Low Cable (72) through
the indicated slots in the Leg Lever (29) and the front
leg on the Base (8).
Attach a 4Ó Pulley (35) inside the slot in the front leg
of the Base (8) with a 3/8Ó x 2 1/2Ó Bolt (54), two 3/8Ó
Flat Washers (55), two 5/8Ó x 1/2Ó Pulley Bushings
(42), and a 3/8Ó Nylon Jam Nut (63).
33. Attach a 4Ó Pulley (35) inside the slot in the Leg Lever
(29) with a 3/8Ó x 2 1/2Ó Bolt (54), two 3/8Ó Flat
Washers (55), two 5/8Ó x 1/2Ó Pulley Bushings (42),
and a 3/8Ó Nylon Jam Nut (63).
Attach the 1/2Ó x 1 3/4Ó Bushing (94) inside the bot-
tom of the Leg Lever (29) with a 5/16Ó x 2 1/2Ó Bolt
(96), two 5/16Ó Flat Washers (80), and a 5/16Ó Nylon
Jam Nut (79).
Refer to the inset drawing. Press the Tab (93) onto
the cage as shown. Secure the Tab with a 1/4Ó x 1Ó
Bolt (95), a Large Washer (104), and a 1/4Ó Nylon
Locknut (25). Make sure that the Low Cable (72) is
on top of the Tab and the 1/2Ó x 1 3/4Ó Bushing (94).
Press a 2Ó Square Inner Cap (33) into the bottom of
the Leg Lever (29). Note: It may be easier to attach
the 2Ó Square Inner Cap and the 1/2Ó x 1 3/4Ó
Bushing (94) if you pivot the Leg Lever upward.
32
55
42
72
29
8
63 Slots
Large Ball
42
55
54
35
34
33
63 79
54
96
29
33
42
94
Slot
42
55
55 72
35
95
104
25
72
80
Cage
Bracket
31
35
72
35
Adjustment
Holes
44
35. Wrap the Low Cable (72) over a 4Ó Pulley (35). Slide
the Pulley and a Cable Trap (44) between the two
Pulley Plates (31). Make sure the Cable is in the
groove of the Pulley and that the Cable Trap is
oriented so it will hold the Cable in place.
Attach the 4Ó Pulley (35) and the Cable Trap (44) to
the lowest holes in the Pulley Plates (31) with a 3/8Ó x
1 3/4Ó Bolt (60) and a 3/8Ó Nylon Jam Nut (63).
60
63
93

37. Note: The top weight (not shown) may need to be
lifted to complete this step.
Feed the end of the Low Cable (72) through the indi-
cated slot in the Main Upright (3).
Wrap the Low Cable (72) around a 4Ó Pulley (35).
Attach the Pulley inside the slot in the Main Upright
(3) with a 3/8Ó x 2 1/2Ó Bolt (54), two 3/8Ó Flat
Washers (55), two 5/8Ó x 1/2Ó Pulley Bushings (42),
and a 3/8Ó Nylon Jam Nut (63).
37
Slot
63 42
36. Wrap the Low Cable (72) around a 4Ó Pulley (35).
Attach the Pulley to the front hole in the welded
bracket on the Main Upright (3) with a 3/8Ó x 2Ó Bolt
(62) and a 3/8Ó Nylon Locknut (50).
36
55
35
42
72
3
55
54
3
50
72
62
35
17

18
Seat Assembly
39. Attach the Backrest (41) to the Backrest Frame (15)
with four 1/4Ó x 3/4Ó Bolts (17).
Press a 3/4Ó Round Inner Cap (34) into each end of
the pad bar on the Backrest Frame (15). Slide a
Foam Pad (30) onto each end of the pad bar.
Press 1Ó x 2Ó Inner Caps (43) into the top and bottom
of the Backrest Frame (15).
39
17
43
43
17
41
15
34
30
34
Pad
Bar
30
9
38. Open the parts bag labeled ÒARM AND SEAT
ASSEMBLY.Ó
Attach a Seat (13) to the Seat Upright (37) with four
1/4Ó x 3/4Ó Bolts (17).
Turn the Adjustment Knob (9) counterclockwise to
loosen it. Pull out the Knob as far as possible and
slide the Seat Upright (37) into the seat frame on the
Main Upright (3). Release the Knob and let it snap
into one of the adjustment holes in the Seat Upright.
Tighten the Knob fully.
Adjustment
Holes
13
3
17
37
17
38
40. Locate the Adjustment Knob (9) on the backrest tube
of the Main Upright (3). Turn the Knob counterclock-
wise to loosen it. Pull out the Knob as far as possible
and slide the Backrest Frame (15) into the backrest
tube.
Release the Adjustment Knob (9) and let the Knob
snap into one of the adjustment holes on the
Backrest Frame (15). Tighten the Knob fully.
40
3
9
15
Adjustment
Holes
Backrest
Tube

19
42. Attach the Leg Press Backrest (70) to the Sliding
Seat Frame (74) with four 1/4Ó x 3/4Ó Bolts (17).
41. Attach the remaining Seat (13) to the Sliding Seat
Frame (74) with four 1/4Ó x 3/4Ó Bolts (17).
42
17
41
13
17
74
74
44
38
Bracket 39
26
5
44. Slide the four Tinnerman Clips (38) down over the
slots in the bracket on the Stabilizer (5).
Insert the Weight Pin (39) under one of the Weights
(26).
38
43. Press 3/4Ó Round Inner Caps (34) into the ends of the
two Pad Tubes (28).
Slide one Pad Tube (28) into the hole in the front leg
on the Base (8). Slide a Foam Pad (30) onto each
end of the Pad Tube.
Slide the other Pad Tube (28) into the hole in the Leg
Lever (29). Slide a Foam Pad (30) onto each end of
the Pad Tube.
34
8
29
34
30
28
34
30
30
34
43
70

20
49. Make sure that all parts have been properly tight-
ened. The use of the remaining parts will be
explained in ADJUSTMENT, beginning on page 22 of
this manual.
Before using the training system, pull each cable a
few times to make sure that the cables move smooth-
ly over the pulleys. If one of the cables does not
move smoothly, find and correct the problem.
45. Attach the upper end of the Shroud (56) to the two
ÒLÓ-brackets on the Top Frame (1) with two 1/4Ó x 3/4Ó
Bolts (17), two 1/4Ó Flat Washers (71), and two 1/4Ó
Nylon Locknuts (25). Make sure that the indicated
corner of the Shroud is lined up with the indicated
corner of the Top Frame. The Bolts must be
inserted through the square holes in the Shroud.
Do not tighten the Bolts yet.
45
71
ÒLÓ-Brackets
1
25
17
56
46. Attach the lower end of the Shroud (56) to the bracket
on the Stabilizer (5) with four #8 x 3/4Ó Screws (32).
The Screws must be inserted through the square
holes in the Shroud and into the Tinnerman Clips (38).
Tighten the bolts used in step 45.
47. Insert a 1Ó Round Inner Cap (103) into each end of
the Lat Bar (61).
46
47
32
32 56
103
103
61
32
38
38
5Bracket
Align
Corners
17
71
48. Attach the Curl Pad (21) to the Curl Post (83) with
four 1/4Ó x 3/4Ó Bolts (17).
83
17
21
48
IMPORTANT: If the cables are not properly installed, they may be damaged when heavy weight is used. If
there is any slack in the cables, you will need to remove the slack by tightening the cables. See TROU-
BLE-SHOOTING AND MAINTENANCE on page 24.

21
Cable Diagram
The diagram below shows the proper routing of the Low Cable (72), the High Cable (73), and the Leg Press
Cable (76). The numbers show the correct route for each Cable. Make sure that the Cables are routed cor-
rectly, that the pulleys move smoothly, and that the cable traps do not touch or bind the Cables.
Incorrect Cable routing can damage the training system.
High Cable (73)
Large Ball
Low Cable (72)
Leg Press Cable (76)
2
8
10
12
9
1
3
764
5
11
6
Cable ID Chart
72
73
76
4
2
3
1
12
6
5
4
3
5

Attaching the Lat Bar, Ankle Strap, or Ab Strap
The Lat Bar (61), Ankle Strap (10), and Ab Strap (75) can
be attached to the cable at the desired pulley station with
a Cable Clip (69). For some exercises, the Chain (67)
should be connected between the attachment and the
cable with two Cable Clips. Adjust the length of the
Chain between the accessory and the cable so the
accessory is in the correct starting position for the
exercise to be performed.
Adjusting the Height of the Seat
To adjust the height of the Seat (13), loosen the indicated
Adjustment Knob (9). Pull out the Knob as far as possible
and slide the Seat Upright (37) to the desired position.
Release the Knob so that it snaps into one of the adjust-
ment holes in the Seat Upright. Fully retighten the Knob.
22
13
937
Adjustment
The instructions below describe how each part of the training system can be adjusted. Refer to the exercise
poster accompanying this manual to see how the training system should be set up for each exercise. IMPOR-
TANT: When attaching the lat bar, ankle strap, or ab strap, make sure that the accessories are in the cor-
rect starting position for the exercise to be performed. If there is any slack in the cables or chain as an
exercise is performed, the effectiveness of the exercise will be reduced.
61
69
10
67
69
75
Changing the Weight Setting
To change the setting of the weight stack, insert the
Weight Pin (39) under the desired Weight (26). Be sure
to insert the Weight Pin until the ball is touching the
Weights. The setting of the weight stack can be changed
from 10 pounds to 200 pounds, in increments of 10
pounds.
Note: Due to the cables and pulleys, the amount of
resistance at each exercise station may vary from
the weight setting. Use the WEIGHT RESISTANCE
CHART on page 25 of this manual to find the approx-
imate amount of resistance at each weight station. 26
39 Ball

Adjusting the Position of the Backrest
To adjust the position of the Backrest (41), first loosen the
Adjustment Knob (9). Pull the Knob out as far as possible
and slide the Backrest Frame (not shown) to the desired
position. Release the Knob so that it snaps into one of
the adjustment holes on the Backrest Frame. Fully
retighten the Knob.
Using the Leg Lever Lock
Some exercises, such as the preacher curl, can be per-
formed more comfortably with the Leg Lever (29) locked.
To lock the Leg Lever (29), turn the Leg Lever Lock (11)
until it engages the Pad Tube (28) on the Leg Lever.
23
941
Adjusting the Position of the Press Arm Handles
To adjust the position of a Handle (20) on the Press Arm
(46), unscrew the Adjustment Knob (9) until it is loose.
Pull out the Adjustment Knob as far as possible and slide
the Handle to the desired position. Snap the Adjustment
Knob into one of the adjustment holes in the Handle.
Tighten the Adjustment Knob.
Note: Both Handles (20) should always be adjusted to
the same position.
11
28
29
9
20
20
46
9
Attaching the Curl Pad
Remove the 2Ó Square Inner Cap (33) from the front leg
on the Base (8). Slide the Curl Post (83) onto the front leg
on the Base and secure it with the Curl Knob (89).
8
89
33

24
Tightening the Cables
Woven cable, the type of cable used on the training sys-
tem, can stretch slightly when it is first used. If there is
slack in the cables before resistance is felt, the cables
should be tightened.
To tighten the cables, insert the Weight Pin (39) under
the third Weight (26) from the top. Next, loosen the 1/2Ó
Plain Nut (68) securing the bolt at the end of the High
Cable (73). Tighten the bolt two turns into the Weight
Tube (36) until the cables feel tighter. Tighten the Plain
Nut to prevent the bolt from turning.
Note: For clarity, the drawing shows the shroud
removed; it is not necessary to remove the shroud.
36
Bolt
73
Additional slack can be removed by moving the indicated
4Ó Pulleys (35) to different holes in the Pulley Plates (31).
To do this, remove the 3/8Ó x 1 3/4Ó Bolt (60), the Cable
Trap (44), and the 3/8Ó Nylon Jam Nut (63) from the
lower Pulley. Move the Pulley to a higher hole and re-
attach it with the Bolt, Cable Trap, and Nylon Jam Nut.
Make sure that the Low Cable (72) is in the groove
of the Pulley and that the Cable Trap is turned as
shown. The upper pulley can be adjusted in the
same way.
Slack can also be removed by moving the indicated 4Ó
Pulley (35) to the lower hole in the Pulley Bracket (91).
To do this, remove the 3/8Ó x 1 3/4Ó Bolt (60), the Cable
Trap (44), and the 3/8Ó Nylon Jam Nut (63) from the
Pulley. Move the Pulley to the lower hole and re-attach
it with the Bolt, Cable Trap, and Nylon Jam Nut. Make
sure that the High Cable (73) is in the groove of the
Pulley and that the Cable Trap is turned as shown.
Note: If a cable tends to slip off the pulleys, the
cable may have become twisted. Remove the cable
and re-install it.
If a cable needs to be replaced, refer to the back cover
of this manual.
60
44
Trouble-shooting and Maintenance
Inspect and tighten all parts each time you use the training system. Replace any worn parts immediately. The
training system can be cleaned using a damp cloth and mild non-abrasive detergent. Do not use solvents.
63
35
60
73
91
39
26
63
31
35
72
35
44
68

25
This chart shows the approximate weight resistance at each weight station. ÒTopÓ refers to the 10 lb. top weight.
The other numbers refer to the 10 lb. weight plates. Note: The actual resistance at each station may vary due to
differences in individual weight plates as well as friction between the cables, pulleys, and weight guides.
Weight Resistance Chart
Arm Lower Upper AB Leg Leg
Weight Press Pulley Pulley Pulley Lever Press
Plates (lbs.) (lbs.) (lbs.) (lbs.) (lbs.) (lbs.)
Top 24 11 13 13 11 28
135 22 25 24 22 51
246 34 36 35 34 74
357 46 48 46 46 97
468 57 60 57 57 120
579 69 72 68 69 143
690 80 83 79 80 167
7102 92 95 90 92 190
8113 104 107 102 104 213
9124 115 119 113 115 236
10 135 127 130 124 127 259
11 146 138 142 135 138 282
12 157 150 154 146 150 305
13 168 162 166 157 162 328
14 179 173 177 168 173 351
15 190 185 189 179 185 374
16 201 196 201 190 196 397
17 213 208 213 201 208 420
18 224 219 224 213 219 443
19 235 231 236 224 231 466

26
THE FOUR BASIC TYPES OF WORKOUTS
Muscle Building
The only way to increase the size and strength of
your muscles is to push them close to their maximum
capacity. When you progressively increase the inten-
sity of your exercise, your muscles will continually
adapt and grow. You can tailor each individual exer-
cise to the proper intensity level in two ways:
¥ by changing the amount of resistance used
¥ by changing the number of repetitions or sets per-
formed. (A ÒrepetitionÓ is one complete cycle of an
exercise, such as one sit-up. A ÒsetÓ is a series of
repetitions.)
The proper amount of resistance for each exercise
depends upon the individual user; you must gauge
your limits and select the amount of resistance that is
right for you. Begin with 3 sets of 8 repetitions for
each exercise you perform. Rest for 3 minutes after
each set. When you can complete 3 sets of 12 repeti-
tions without difficulty, increase the resistance.
Toning
You can tone your muscles by pushing them to a
moderate percentage of their capacity. Select a mod-
erate amount of resistance and increase the number
of repetitions in each set. Complete as many sets of
15 to 20 repetitions as possible without discomfort.
Rest for 1 minute after each set. Work your muscles
by completing more sets rather than by using high
resistance.
Weight Loss
To lose weight, use a low amount of resistance and
increase the number of repetitions in each set.
Exercise for 20 to 30 minutes, resting for a maximum
of 30 seconds between sets.
Cross Training
For a complete and well-balanced fitness program,
cross training is a very effective. One example of a
balanced program is:
¥ Plan weight training workouts on Monday,
Wednesday and Friday.
¥ Plan 20 to 30 minutes of aerobic exercise, such as
cycling or swimming, on Tuesday and Thursday.
¥ Rest from both weight training and aerobic exercise
for at least one full day each week to give your body
time to regenerate.
The combination of weight training and aerobic exer-
cise will reshape and strengthen your body and devel-
op your heart and lungs.
PERSONALIZING YOUR EXERCISE PROGRAM
Specifying the exact length of time for each workout,
as well as the number of repetitions or sets for each
exercise, is a highly individual matter. It is very impor-
tant to avoid overdoing it during the first few months
of your exercise program. You should progress at
your own pace and be sensitive to your bodyÕs sig-
nals. If you experience pain or dizziness at any time
while exercising, stop immediately and begin cooling
down. Find out what is wrong before continuing.
Remember that adequate rest and a proper diet are
important factors in any exercise program.
WARMING UP
Begin each workout with 5 to 10 minutes of stretching
and light exercise to warm up. Warming up prepares
your body for more strenuous exercise by increasing
circulation, raising your body temperature and deliver-
ing more oxygen to your muscles.
WORKING OUT
Each workout should include 6 to 10 different exercis-
es. Select exercises for every major muscle group
with emphasis on the areas that you want to develop
the most. To give balance and variety to your work-
outs, vary the exercises from session to session.
Schedule your workouts for the time of day when your
energy level is the highest. Each workout should be
followed by at least one day of rest. Once you find the
schedule that is right for you, stick with it.
EXERCISE FORM
You will gain the greatest benefits from exercising by
maintaining proper form. This requires moving
through the full range of motion for each exercise and
moving only the appropriate parts of the body.
Exercising in an uncontrolled manner will leave you
feeling exhausted. On the exercise poster accompa-
nying this manual, you will find photographs showing
the correct form for several exercises. A description of
each exercise is also provided, along with a list of the
muscles affected. Refer to the muscle chart on page
27 to find the locations of the muscles.
The repetitions in each set should be performed
smoothly and without pausing. The exertion stage of
each repetition should last about half as long as the
return stage. Proper breathing is important. Exhale
during the exertion stage of each repetition and inhale
during the return stroke. Never hold your breath.
Exercise Guidelines

27
MUSCLE CHART
A. Sternomastoid (neck)
B. Pectoralis Major (chest)
C. Biceps (front of arm)
D. Obliques (waist)
E. Brachioradials (forearm)
F. Hip Flexors (upper thigh)
G. Abductor (outer thigh)
H. Quadriceps (front of thigh)
I. Sartorius (front of thigh)
J. Tibialis Anterior (front of calf)
K. Soleus (front of calf)
L. Rectus Abdominus (stomach)
M. Adductor (inner thigh)
N. Trapezius (upper back)
O. Rhomboideus (upper back)
P. Deltoid (shoulder)
Q. Triceps (back of arm)
R. Latissimus Dorsi (mid back)
S. Spinae Erectors (lower back)
T. Gluteus Medius (hip)
U. Gluteus Maximus (buttocks)
V. Hamstring (back of leg)
W. Gastrocnemius (back of calf)
N
O
P
Q
R
S
T
U
W
V
M
L
J
G
F
H
I
K
E
C
D
B
A
Rest for a short period of time after each set. The ideal
resting periods are:
¥ Rest three minutes after each set for a muscle build-
ing workout
¥ Rest one minute after each set for a toning workout
¥ Rest 30 seconds after each set for a weight loss
workout
Plan to spend the first couple of weeks familiarizing
yourself with the equipment and learning the proper
form for each exercise.
COOLING DOWN
End each workout with 5 to 10 minutes of stretching.
Include stretches for both your arms and legs. Move
slowly as you stretch and do not bounce. Ease into
each stretch gradually and go only as far as you can
without strain. Stretching at the end of each workout is
very effective for increasing flexibility.
STAYING MOTIVATED
For motivation, keep a record of each workout. List the
date, the exercises performed, the resistance, and the
numbers of sets and repetitions completed. Record
your weight and key body measurements at the end of
every month.
Remember, the key to achieving the greatest results is
to make exercise a regular and enjoyable part of your
everyday life.

1 1/2" Flat Washer (40)
3/8" Flat Washer (55)
5/16" Nylon Jam Nut (79)
1/4" Flat Washer (71)
5/16" Flat Washer (80)
1/4" x 1 1/2" Screw (49)
3/8" Nylon Locknut (50)
Large Washer (104)
1/4" x 3/4" Bolt (17)
1/4" x 1" Bolt (95)
#10 x 1" Tap Screw (7)
1/4" x 1 1/2" Bolt (101)
#8 x 3/4" Screw (32)
3/8" Nylon Jam Nut (63)
1/4" Nylon Locknut (25)
1/4" Nylon Jam Nut (51)
5/16" Nylon Locknut (81)
1/2" Plain Nut (68)
5/16" x 3" Bolt (78)
5/16" x 2 1/2" Bolt (96)
1/2" Nylon Jam Nut (48)
Part Identification ChartÑWESY69100 R1000A

3/8" x 1 3/4" Bolt (60)
3/8" x 3 3/4" Carriage Bolt (52)
3/8" x 5 1/2" Bolt (57)
3/8" x 2" Bolt (62)
3/8" x 2 1/2" Bolt (54)
3/8" x 3" Bolt (45)
3/8" x 4" Bolt (65)
3/8" x 1 1/2" Button Cap Screw (2)
3/8" x 3" Carriage Bolt (107)
3/8" x 5" Carriage Bolt (82)
1/2" x 3 1/2" Bolt (22)
3/8" x 3 1/4" Bolt (87)
3/8" x 3 3/4" Bolt (92)
3/8" x 8 1/2" Bolt (59)

Cable Clip (69)
3/4" Round Inner Cap (34)
1" x 2Ó Inner Cap (43)
1" Round Inner Cap (103) 5/8Ó x 1/2Ó Pulley Bushing (42)
1/2Ó x 3/4Ó Long Bushing (106)
1/2Ó x 1 3/4Ó Bushing (94)
5/8Ó x 1/4Ó Bushing (90)
2" x 3Ó Inner Cap (24)
2" Square Inner Cap (33)
1/4Ó x 7/8Ó Flange Bushing (47)
1 1/8Ó x 1/2Ó Flange Bushing (18)

Part ListÑModel No. WESY69100 R1000A
1 1 Top Frame
2 1 3/8Ó x 1 1/2Ó Button Cap Screw
3 1 Main Upright
4 1 Foot Plate
5 1 Stabilizer
6 1 Leg Lever Bumper
7 1 #10 x 1Ó Tap Screw
8 1 Base
9 5 Adjustment Knob
10 1 Ankle Strap
11 1 Leg Lever Lock
12 1 Press Frame
13 2 Seat
14 2 Plastic Sleeve
15 1 Backrest Frame
16 1 Top Weight
17 22 1/4Ó x 3/4Ó Bolt
18 6 1 1/8Ó x 1/2Ó Flange Bushing
19 2 Weight Bumper
20 2 Handle
21 1 Curl Pad
22 1 1/2Ó x 3 1/2Ó Bolt
23 2 Weight Guide
24 3 2Ó x 3Ó Inner Cap
25 8 1/4Ó Nylon Locknut
26 19 Weight
27 1 Pivot Rod
28 2 Pad Tube
29 1 Leg Lever
30 6 Foam Pad
31 2 Pulley Plate
32 4 #8 x 3/4Ó Screw
33 12 2Ó Square Inner Cap
34 6 3/4Ó Round Inner Cap
35 21 4Ó Pulley
36 1 Weight Tube
37 1 Seat Upright
38 4 Tinnerman Clip
39 1 Weight Pin
40 1 1 1/2Ó Flat Washer
41 1 Backrest
42 22 5/8Ó x 1/2Ó Pulley Bushing
43 2 1Ó x 2Ó Inner Cap
44 7 Cable Trap
45 5 3/8Ó x 3Ó Bolt
46 1 Press Arm
47 2 1/4Ó x 7/8Ó Flange Bushing
48 1 1/2Ó Nylon Jam Nut
49 4 1/4Ó x 1 1/2Ó Screw
50 25 3/8Ó Nylon Locknut
51 4 1/4Ó Nylon Jam Nut
52 3 3/8Ó x 3 3/4Ó Carriage Bolt
53 2 Plastic Sleeve Bushing
54 12 3/8Ó x 2 1/2Ó Bolt
55 37 3/8Ó Flat Washer
56 1 Shroud
57 1 3/8Ó x 5 1/2Ó Bolt
58 2 Grip
59 2 3/8Ó x 8 1/2Ó Bolt
60 5 3/8Ó x 1 3/4Ó Bolt
61 1 Lat Bar
62 3 3/8Ó x 2Ó Bolt
63 21 3/8Ó Nylon Jam Nut
64 1 Weight Support
65 1 3/8Ó x 4Ó Bolt
66 1 Weight Cover
67 1 Chain
68 1 1/2Ó Plain Nut
69 3 Cable Clip
70 1 Leg Press Backrest
71 3 1/4Ó Flat Washer
72 1 Low Cable
73 1 High Cable
74 1 Sliding Seat Frame
75 1 Ab Strap
76 1 Leg Press Cable
77 38 Weight Insert
78 3 5/16Ó x 3Ó Bolt
79 1 5/16Ó Nylon Jam Nut
80 5 5/16Ó Flat Washer
81 3 5/16Ó Nylon Locknut
82 1 3/8Ó x 5Ó Carriage Bolt
83 1 Curl Post
84 1 Leg Press Base
85 1 Leg Press Plate
86 2 Hand Grip
87 4 3/8Ó x 3 1/4Ó Bolt
88 1 Seat Frame Channel
89 1 Curl Knob
90 1 5/8Ó x 1/4Ó Bushing
91 1 Pulley Bracket
92 2 3/8Ó x 3 3/4Ó Bolt
93 1 Tab
94 1 1/2Ó x 1 3/4Ó Bushing
95 1 1/4Ó x 1Ó Bolt
96 1 5/16Ó x 2 1/2Ó Bolt
97 1 Rear Leg Press Upright
98 1 Forward Leg Press Upright
99 1 Angle Cap
100 2 Leg Press Attachment
101 4 1/4Ó x 1 1/2Ó Bolt
102 1 Chart Decal
103 2 1Ó Round Inner Cap
104 1 Large Washer
105 2 Handle
106 1 1/2Ó x 3/4Ó Long Bushing
107 4 3/8Ó x 3Ó Carriage Bolt
# 1 UserÕs Manual (not illustrated)
Key No. Qty. Description Key No. Qty. Description

52
50
50
24
19
35
62
63
54
63 54
63
50
45 54
54
63 24
33
81
78
50
65
78
80
80 11
63
54
34 30
28
30
34
8
5
17
41
15
34
30
34
30
17
7
6
55 55
55
55
55
55
55
55
55
9
33
3
17
17
37
13
35
50
72
54
55
42
35
42 35
42
42
63
60
31
35
31
44
44
35
42
42
35
42
42 35
14
73
42
42
14 43
43
28
30
34
34
30
55
63
54
48
22
29
33
72
35
42
42 35 42
42
33
69
67
75
38
38
57
4
50
55
81
47
47
55
10
9
55
80 55
21
83
89
17
17
62
50
94 93
80
80
79
96
52
82
35
44
60
63
25
71
76
33
33
35
58
20
20
46
33
33
55
27
63
23
73
36
68
40
63
55
42
49
2
16
51
64
66
51 106
32
17
17
32
71
25
71
102
56
32
24
50
44
35
62
107
107
33
33
50
50
50
55
50
55
45
63
55
55
50
50
50
45
63
55
55
35
35
35
44
44 44
33
92 92
87
87
99
90
17
17
17
17
17
9
101
101
25
25
33
1
63
54
42
35
42
35
42
55
63
60
50
55
42
35
42
63 55
55
25
9
9
53
53
74
86
86
88
84
97
98
100
95
91
103
103
54
13
70
104
76
105
105
85
87
63
35
42
26 39
77
77
63 59
55
18
18 18
12
50
50
61
Exploded DrawingÑModel No. WESY69100 R1000A

Ordering Replacement Parts
To order replacement parts, simply call our Customer Service Department toll-free at 1-800-999-3756, Monday
through Friday, 6 a.m. until 6 p.m. Mountain Time (excluding holidays). To help us assist you, please be prepared
to give the following information:
¥ The MODEL NUMBER of the product (WESY69100)
¥ The NAME of the product (CLUB WEIDER¨16.8ST training system)
¥ The SERIAL NUMBER of the product (see the front cover of this manual)
¥ The KEY NUMBER and DESCRIPTION of the part(s) (see the PART LIST and EXPLODED DRAWING attached
in the center of this manual).
Part No. 168645 R1000A Printed in Canada © 2000 ICON Health & Fitness, Inc.
Weider¨is a registered trademark of ICON Health & Fitness, Inc.