Weider Club Bench Rack Habr60 Users Manual *HABR60 170919
Weider-Habr600-Owner-S-Manual weider-habr600-owner-s-manual
2015-05-18
: Weider Weider-Club-Bench-Rack-Habr60-Users-Manual-733263 weider-club-bench-rack-habr60-users-manual-733263 weider pdf
Open the PDF directly: View PDF
.
Page Count: 12

QUESTIONS?
As a manufacturer, we are com-
mitted to providing complete
customer satisfaction. If you
have questions, or if there are
missing parts, we will guarantee
complete satisfaction through
direct assistance from our factory.
TO AVOID UNNECESSARY
DELAYS, PLEASE CALL DIRECT
TO OUR TOLL-FREE CUSTOMER
HOT LINE. The trained techni-
cians on our customer hot line
will provide immediate assis-
tance, free of charge to you.
CUSTOMER HOT LINE:
1-800-322-2211
Mon.–Fri., 6 a.m.–6 p.m. MST
Model No. HABR60
CAUTION
Read all precautions and instruc-
tions in this manual before
using this equipment. Save this
manual for future reference.
USER’S MANUAL
Patent Pending
Visit our website at
www.weiderfitness.com
new products, prizes,
fitness tips, and much more!
Space-Saving Bench and Rack

Important Precautions . . . . . . . . . . . . . . . . . . . . . . . . . . . . . . . . . . . . . . . . . . . . . . . . . . . . . . . . . . . . . . . . . . . 2
Before You Begin . . . . . . . . . . . . . . . . . . . . . . . . . . . . . . . . . . . . . . . . . . . . . . . . . . . . . . . . . . . . . . . . . . . . . . 3
Assembly . . . . . . . . . . . . . . . . . . . . . . . . . . . . . . . . . . . . . . . . . . . . . . . . . . . . . . . . . . . . . . . . . . . . . . . . . . . . 4
Adjusting the Weight Bench . . . . . . . . . . . . . . . . . . . . . . . . . . . . . . . . . . . . . . . . . . . . . . . . . . . . . . . . . . . . . . 6
Suggested Exercises . . . . . . . . . . . . . . . . . . . . . . . . . . . . . . . . . . . . . . . . . . . . . . . . . . . . . . . . . . . . . . . . . . . 7
Exercise Guidelines . . . . . . . . . . . . . . . . . . . . . . . . . . . . . . . . . . . . . . . . . . . . . . . . . . . . . . . . . . . . . . . . . . . . 8
Part List . . . . . . . . . . . . . . . . . . . . . . . . . . . . . . . . . . . . . . . . . . . . . . . . . . . . . . . . . . . . . . . . . . . . . . . . . . . . 10
Exploded Drawing . . . . . . . . . . . . . . . . . . . . . . . . . . . . . . . . . . . . . . . . . . . . . . . . . . . . . . . . . . . . . . . . . . . . .11
Ordering Replacement Parts . . . . . . . . . . . . . . . . . . . . . . . . . . . . . . . . . . . . . . . . . . . . . . . . . . . . . .Back Cover
Limited Warranty . . . . . . . . . . . . . . . . . . . . . . . . . . . . . . . . . . . . . . . . . . . . . . . . . . . . . . . . . . . . . . . Back Cover
Table of Contents
WEIDER is a registered trademark of ICON Health & Fitness, Inc.
2
1. Read all instructions in this manual before
using the weight bench. Use the weight
bench only as described in this manual.
2. It is the responsibility of the owner to ensure
that all users of the weight bench are ade-
quately informed of all precautions.
3. The weight bench is intended for home use
only. Do not use the weight bench in any
commercial, rental, or institutional setting.
4. Use the weight bench only on a level surface.
Cover the floor beneath the weight bench to
protect the floor or carpet.
5. Always wear athletic shoes for foot protec-
tion while exercising.
6. Keep children under 12 and pets away from
the weight bench at all times.
7. Inspect and tighten all parts each time you
use the weight bench. Replace any worn
parts immediately.
8. Always place the heaviest weights on the
bottom rungs of the dumbbell rack.
9. The weight bench is designed to hold a maxi-
mum of 360 pounds, including the user and
weights. The rack is designed to hold a maxi-
mum of 150 pounds.
10. If you feel pain or dizziness at any time while
exercising, stop immediately and begin cool-
ing down.
WARNING: Before beginning this or any exercise program, consult your physician. This
is especially important for persons over the age of 35 or persons with pre-existing health problems.
Read all instructions before using. ICON assumes no responsibility for personal injury or property
damage sustained by or through the use of this product.
WARNING: To reduce the risk of serious injury, read the following important precautions
before using the weight bench.
Important Precautions

3
Dumbbell Rack
Seat
Thank you for selecting the versatile CLUB WEIDER®
Space-Saving Bench and Rack. The CLUB WEIDER
Space-Saving Bench and Rack are designed to help
you develop every major muscle group of the body.
Whether your goal is a shapely figure, dramatic
muscle size and strength, or a healthier cardiovascular
system, the Space-Saving Bench and Rack will help
you achieve the specific results you want.
For your benefit, read this manual carefully before
using the Space-Saving Bench and Rack. If you
have additional questions, please call our Customer
Service Department toll-free at 1-800-322-2211,
Monday through Friday, 6 a.m. until 6 p.m. Mountain
Time (excluding holidays). To help us assist you,
please note the product model number before calling.
The model number is HABR60.
Before reading further, please familiarize yourself with
the parts that are labeled in the drawing below.
Before You Begin
Backrest
The decal shown above has been placed on the weight bench and the dumbbell rack. If the decal is
missing, or if it is not legible, please call our Customer Service Department toll-free at 1-800-322-2211,
Monday through Friday, 6 a.m. until 6 p.m. Mountain Time, to order a free replacement decal. Apply the
replacement decal to the location shown.

4
Before beginning assembly, carefully read the
following information and instructions:
•Place all parts in a cleared area and remove the
packing materials. Do not dispose of the packing
materials until assembly is completed.
•As you assemble the weight bench, make sure all
parts are oriented as shown in the drawings.
The following tools (not included) may be
required for assembly:
• Two (2) adjustable wrenches
• One (1) rubber mallet
Assembly will be more convenient if you have a
socket set, a set of open-end or closed-end
wrenches, or a set of ratchet wrenches.
Assembly
2. Press a Bench Frame Inner Cap (9) into each end
of the Bench Frame (17).
1. Pivot both Bench Legs (11) down to the position
shown.
Insert a Stabilizer (25) into one of the Bench Legs
(11) as shown. Attach the Stabilizer with two M8 x
85mm Bolts (18), four M8 Washers (26), and two
M8 Nylon Locknuts (28).
Attach the other Stabilizer (25) to the other Bench
Leg (11) in the same way.
Press Stabilizer Outer Caps (10) onto the ends of
both Stabilizers (25).
9
11
25
10
10
18
26
26
1
28
17
2

3. Raise the Backrest (1) to the desired position and
hold it. Secure the Backrest by inserting the
Backrest Pin (16) completely through the desired
holes in the Backrest Frames (4, 5) and the welded
tube in the Bench Frame (17).
5
4. Tap an Axle Cap (22) onto one end of the Axle (20).
Next, slide a Wheel (21) onto the Axle.
Insert the Axle (20) through the Support Leg (24).
Slide the other Wheel (21) onto the Axle (20) and
tap the other Axle Cap (22) onto the end of the Axle.
3
4
5
4
24
22
21
20 21
22
17
16
1
6. Make sure all parts are properly tightened
before you use the weight bench.
5. Press Stabilizer Outer Caps (10) onto the ends of
the stabilizer on the Dumbbell Rack (19).
Attach the Support Leg (24) to the Dumbbell Rack
(19) with the M10 x 95mm Bolt (13) and an M10
Nylon Locknut (8).
24
13
19
10
8
5

This section explains how to adjust the weight bench. See the EXERCISE GUIDELINES on page 8 for important
information on how to get the most benefit from your exercise program. Refer to the SUGGESTED EXERCISES
on pages 7 and 8 to see the correct form for several exercises.
Inspect and tighten all parts each time you use the weight bench. Replace any worn parts immediately. The
weight bench can be cleaned with a damp cloth and a mild, non-abrasive detergent. Do not use solvents.
ADJUSTING THE BACKREST
Before beginning an exercise, adjust the Backrest (1) to
the position that is best suited for the exercise. To do
this, insert the Backrest Pin (16) through the appropri-
ate holes in the Backrest Frames (4, 5) and the welded
tube in the Bench Frame (17).
STORING THE BENCH
To store the bench, fold the Bench Legs (11) under the
bench and snap them into the Plastic Clip (not shown).
6
Adjusting the Weight Bench
WARNING: Always secure the
Backrest (1) in position with the Backrest Pin (16)
when performing an exercise. 16
17
1
5
4
11
11 Plastic
Clip

7
Flyes
Bend your elbows as you lower the dumbbells to
the side. Note: A variation of this exercise can
be performed with the backrest raised.
Military Press
Press the dumbbells up in a straight line.
Bent Over Row
Lift the dumbbell in a straight line.
Seated Front Raise
Raise the dumbbells to the front until your arms
are horizontal.
Seated Lat Raise
Raise the dumbbells to the side until they are
level with your head.
Biceps Curl
Keep your upper arm stationary.
IMPORTANT: This page and page 8 show a
selection of exercises that can be performed
using the weight bench. Although the pho-
tographs show different weight benches, the
exercises are performed in the same way.
For more exercise information, refer to the
EXERCISE GUIDELINES on page 8. For muscle
locations, refer to the muscle chart on page 10.
Suggested Exercises
Bench Press
Press the dumbbells up in a straight line. Note: A
variation of this exercise can be performed
with the backrest raised.

8
Alternate French Curl
Keep your upper arms stationary.
Forearm Curl—(a) Palm Up, (b) Palm Down
Keep your arm stationary. Raise and lower the
dumbbell using only wrist motion.
Triceps Kick Back
Keep your upper arm stationary and move the
dumbbell straight back.
THE FOUR BASIC TYPES OF WORKOUTS
Muscle Building
The only way to increase the size and strength of your
muscles is to push them close to their maximum
capacity. When you progressively increase the intensi-
ty of your exercise, your muscles will continually adapt
and grow. You can tailor each exercise to the proper
intensity level in two ways:
• by changing the amount of weight used
• by changing the number of “repetitions” or “sets” per-
formed (A repetition is one complete cycle of an
exercise, such as one sit-up. A set is a series of rep-
etitions).
The proper amount of weight for each exercise
depends upon the individual user; you must select the
amount of weight that is right for you. Begin with 3
sets of 8 repetitions for each exercise you perform.
Rest for 3 minutes after each set. When you can com-
plete 3 sets of 12 repetitions without difficulty, increase
the amount of weight.
Toning
You can tone your muscles by pushing them to a mod-
erate percentage of their capacity. Select a moderate
amount of weight and increase the number of repeti-
tions in each set. Complete as many sets of 15 to 20
repetitions as possible without discomfort. Rest for 1
minute after each set. Work your muscles by complet-
ing more sets rather than by using more weight.
Weight Loss
To lose weight, use a low amount of weight and
increase the number of repetitions in each set.
Exercise for 20 to 30 minutes, resting for a maximum
of 30 seconds between sets.
Cross Training
Many people desire a complete and balanced fitness
program. Cross training is an efficient way to accom-
plish this. One example of a balanced program is:
• Plan weight training workouts on Monday,
Wednesday, and Friday.
• Plan 20 to 30 minutes of aerobic exercise, such as
cycling or swimming on Tuesday and Thursday.
• Rest from both weight training and aerobic exercise
for at least one full day each week to give your body
time to regenerate.
The combination of weight training and aerobic exer-
cise will reshape and strengthen your body and devel-
op your heart and lungs.
Exercise Guidelines
Shoulder Shrug
Keep your arms straight and shrug your shoul-
ders up as far as possible.

9
PERSONALIZING YOUR EXERCISE PROGRAM
Specifying the exact length of time for each workout,
as well as the number of repetitions or sets for each
exercise, is a highly individual matter. It is very impor-
tant to avoid overdoing it during the first few months
of your exercise program. You should progress at
your own pace and be sensitive to your body’s sig-
nals. If you experience pain or dizziness at any time
while exercising, stop immediately and begin cooling
down. Find out what is wrong before continuing.
Remember that adequate rest and a proper diet are
important factors in any exercise program.
WARMING UP
Begin each workout with 5 to 10 minutes of stretching
and light exercise to warm up. Warming up prepares
your body for more strenuous exercise by increasing
circulation, raising your body temperature and deliver-
ing more oxygen to your muscles.
WORKING OUT
Each workout should include 6 to 10 different exercis-
es. Select exercises for every major muscle group,
with emphasis on the areas that you want to develop
the most. To give balance and variety to your work-
outs, vary the exercises from session to session.
Schedule your workouts for the time of day when your
energy level is the highest. Each workout should be
followed by at least one day of rest. Once you find the
schedule that is right for you, stick with it.
EXERCISE FORM
You will gain the greatest benefits from exercising by
maintaining proper form. This requires moving
through the full range of motion for each exercise and
moving only the appropriate parts of the body.
Exercising in an uncontrolled manner will leave you
feeling exhausted. On pages 7 and 8 of this manual,
you will find photographs showing the correct form for
several exercises. A description of each exercise is
also provided.
The repetitions in each set should be performed
smoothly and without pausing. The exertion stage of
each repetition should last only about half as long as
the return stage. Proper breathing is important: exhale
during the exertion stage of each repetition, and inhale
during the return stroke. Never hold your breath.
Rest for a short period of time after each set. The
ideal resting periods are:
• Rest for three minutes after each set for a muscle
building workout
• Rest for one minute after each set for a toning work-
out
• Rest for 30 seconds after each set for a weight loss
workout
Plan to spend the first couple of weeks familiarizing
yourself with the equipment and learning the proper
form for each exercise.
COOLING DOWN
End each workout with 5 to 10 minutes of stretching.
Include stretches for both your arms and legs. Move
slowly as you stretch and do not bounce. Ease into
each stretch gradually and go only as far as you can
without strain. Stretching at the end of each workout
is very effective for increasing flexibility.
STAYING MOTIVATED
For motivation, keep a record of each workout. List
the date, the exercises performed, the weight plus the
numbers of sets and repetitions completed. Record
your weight and key body measurements at the end
of every month.
Remember, the key to achieving the greatest results
is to make exercise a regular and enjoyable part of
your everyday life.

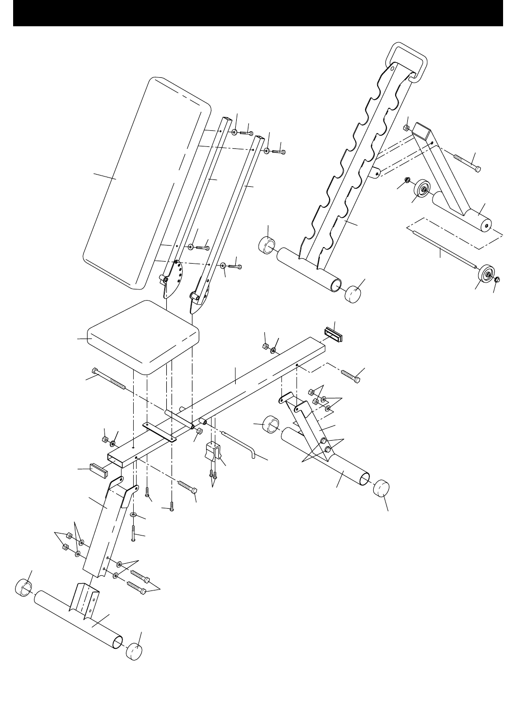
10
Note: “#” indicates a non-illustrated part. Specifications are subject to change without notice. See the back cover
of the user’s manual for information about ordering replacement parts.
Key No. Qty. Description Key No. Qty. Description
Part List—Model No. HABR60 R1000A
1 1 Backrest
2 5 M6 Washer
3 4 M6 x 38mm Screw
4 1 Right Backrest Frame
5 1 Left Backrest Frame
6 1 Seat
7 1 M10 x 195mm Bolt
8 2 M10 Nylon Locknut
9 2 Bench Frame Inner Cap
10 6 Stabilizer Outer Cap
11 2 Bench Leg
12 2 M6 x 16mm Screw
13 1 M10 x 95mm Bolt
14 2 Clip Screw
15 1 Plastic Clip
16 1 Backrest Pin
17 1 Bench Frame
18 4 M8 x 85mm Bolt
19 1 Dumbbell Rack
20 1 Axle
21 2 Wheel
22 2 Axle Cap
23 1 M6 x 50mm Bolt
24 1 Support Leg
25 2 Stabilizer
26 10 M8 Washer
27 2 M8 x 90mm Bolt
28 6 M8 Nylon Locknut
# 2 5-pound Weight
# 2 10-pound Weight
# 2 15-pound Weight
# 1 User’s Manual
MUSCLE CHART
A. Sternomastoid (neck)
B. Pectoralis Major (chest)
C. Biceps (front of arm)
D. Obliques (waist)
E. Brachioradials (forearm)
F. Hip Flexors (upper thigh)
G. Abductor (outer thigh)
H. Quadriceps (front of thigh)
I. Sartorius (front of thigh)
J. Tibialis Anterior (front of calf)
K. Soleus (front of calf)
L. Rectus Abdominus (stomach)
M. Adductor (inner thigh)
N. Trapezius (upper back)
O. Rhomboideus (upper back)
P. Deltoid (shoulder)
Q. Triceps (back of arm)
R. Latissimus Dorsi (mid back)
S. Spinae Erectors (lower back)
T. Gluteus Medius (hip)
U. Gluteus Maximus (buttocks)
V. Hamstring (back of leg)
W. Gastrocnemius (back of calf)
N
O
P
Q
R
S
T
U
W
V
M
L
J
G
F
H
I
K
E
C
D
B
A

4
1
3
5
2
3
2
3
2
3
2
10
10
9
6
9
27
23
16
10
11
14
8
15
10
27
17
19
22
21
20
13
24
22
21
8
10
10
11
25
18
28
18
25
7
12
26
26
26
28
26
26
2
28 26
26
28 26
Exploded Drawing—Model No. HABR60 R1000A
11

Part No. 170919 R1100A Printed in China © 2000 ICON Health & Fitness, Inc.
To order replacement parts, simply call our Customer Service Department toll-free at 1-800-322-2211, Monday
through Friday, 6 a.m. until 6 p.m. Mountain Time (excluding holidays). To help us assist you, please be pre-
pared to give the following information when calling:
• The MODEL NUMBER of the product (HABR60)
• The NAME of the product (CLUB WEIDER®Space-Saving Bench and Rack)
• The KEY NUMBER and DESCRIPTION of the desired part(s) (see the PART LIST and the EXPLODED
DRAWING on pages 10 and 11).
Ordering Replacement Parts
ICON Health & Fitness, Inc. (ICON), warrants this product to be free from defects in workmanship and mate-
rial, under normal use and service conditions, for a period of ninety (90) days from the date of purchase. This
warranty extends only to the original purchaser. ICON's obligation under this warranty is limited to replacing
or repairing, at ICON's option, the product at one of its authorized service centers. All products for which war-
ranty claim is made must be received by ICON at one of its authorized service centers with all freight and other
transportation charges prepaid, accompanied by sufficient proof of purchase. All returns must be pre-autho-
rized by ICON. This warranty does not extend to any product or damage to a product caused by or attribut-
able to freight damage, abuse, misuse, improper or abnormal usage or repairs not provided by an ICON
authorized service center, products used for commercial or rental purposes, or products used as store display
models. No other warranty beyond that specifically set forth above is authorized by ICON.
ICON is not responsible or liable for indirect, special or consequential damages arising out of or in connection
with the use or performance of the product or damages with respect to any economic loss, loss of property,
loss of revenues or profits, loss of enjoyment or use, costs of removal, installation or other consequential dam-
ages of whatsoever nature. Some states do not allow the exclusion or limitation of incidental or consequen-
tial damages. Accordingly, the above limitation may not apply to you.
The warranty extended hereunder is in lieu of any and all other warranties and any implied warranties of mer-
chantability or fitness for a particular purpose is limited in its scope and duration to the terms set forth herein.
Some states do not allow limitations on how long an implied warranty lasts. Accordingly, the above limitation
may not apply to you.
This warranty gives you specific legal rights. You may also have other rights which vary from state to state.
ICON HEALTH & FITNESS, INC., 1500 S. 1000 W., LOGAN, UT 84321-9813
Limited Warranty