Weslo 831219020 User Manual CROSSWALK 5.2T Manuals And Guides 1302197L
User Manual: Weslo 831219020 831219020 WESLO WESLO CROSSWALK 5.2T - Manuals and Guides View the owners manual for your WESLO WESLO CROSSWALK 5.2T #831219020. Home:Fitness Equipment Parts:Weslo Parts:Weslo WESLO CROSSWALK 5.2T Manual
Open the PDF directly: View PDF
.
Page Count: 28

®
Model No. 831.21902.0
Serial No.
Write the serial number in the space
above for reference.
Serial Number
Decal
•Assembly
•Operation
•Maintenance
•Part List and Drawing
Sears, Roebuck and Co.
Hoffman Estates, IL 60179
LL
User's Manual

TABLE OF CONTENTS
WARNING DECAL PLACEMENT ............................................................... 2
IMPORTANT PRECAUTIONS .................................................................. 3
BEFORE YOU BEGIN ........................................................................ 5
PART IDENTIFICATION CHART ................................................................ 6
ASSEMBLY ................................................................................ 7
OPERATION AND ADJUSTMENT ............................................................. 12
HOW TO FOLD AND MOVE THE TREADMILL ................................................... 18
TROUBLESHOOTING ...................................................................... 19
EXERCISE GUIDELINES .................................................................... 22
PART LIST ................................................................................ 23
EXPLODED DRAWING ...................................................................... 24
ORDERING REPLACEMENT PARTS ................................................... Back Cover
90-DAY FULL WARRANTY ........................................................... Back Cover
WARNING DECAL PLACEMENT
This drawing shows the location(s) of the
warning decal(s). If a decal is missing or illeg-
ible, call 1=866=699=3756 and request a free
replacement decal. Apply the decal in the
location shown. Note: The decal(s) may not be
shown at actual size.
Protect yourself and
ot_l_ s Irom rEsk ot se_iou_
_nj_ry.Readthe_s_,s
manu_land:
Hol_r_, o
e_ la ell, de _rrr;r
a .i,a. _s_a0
aqa_ _ien,&
2

iMPORTANT PRECAUTIONS
WARNING: Toreducetheriskofburns,fire,e ect.oshock,orinjurytopersons,read
all important precautions and instructions in this manual and all warnings on your treadmill before
using your treadmill. Sears assumes no responsibility for personal injury or property damage sus-
tained by or through the use of this product.
1. it is the responsibility of the owner to ensure 12.
that all users of this treadmill are adequately
informed of all warnings and precautions.
.Before beginning any exercise program,
consult your physician. This is especially
important for persons over age 35 or persons
with pre-existing health problems.
Plug the power cord into asurge suppressor
(not included), and plug the surge suppres-
sor into an appropriate outlet (see page 12).
To avoid overloading the circuit, do not plug
other electrical devices, except for low-power
devices such as cell phone chargers, into
the surge suppressor or into an outlet on the
same circuit.
.
.
Use the treadmill only as described in this
manual.
The treadmill is intended for home use only.
Do not use the treadmill in any commercial,
rental, or institutional setting.
13. Use only asurge suppressor that meets all of
the specifications described on page 12. To
purchase asurge suppressor, see your local
Sears store, call the telephone number on the
back cover of this manual, or see your local
electronics store.
.
.
,
.
.
10.
11.
Keep the treadmill indoors, away from mois-
ture and dust. Do not put the treadmill in a
garage or covered patio, or near water.
Place the treadmill on alevel surface, with
at least 8 ft. (2.4 m) of clearance behind it
and 2 ft. (0.6 m) on each side. Do not place
the treadmill on any surface that blocks air
openings. To protect the floor or carpet from
damage, place a mat under the treadmill.
Do not operate the treadmill where aerosol
products are used or where oxygen is being
administered.
Keep children under age 12 and pets away
from the treadmill at all times.
The treadmill should be used only by per-
sons weighing 250 Ibs. (113 kg) or less.
Never allow more than one person on the
treadmill at a time.
Wear appropriate exercise clothes while
using the treadmill. Do not wear loose
clothes that could become caught in the
treadmill. Athletic support clothes are recom-
mended for both men and women. Always
wear athletic shoes. Never use the treadmill
with bare feet, wearing only stockings, or in
sandals.
14.
15.
16.
17.
18.
19.
Failure to use a properly functioning surge
suppressor could result in damage to the
control system of the treadmill, if the control
system is damaged, the walking belt may
s!ow, accelerate, or stop unexpectedly, which
may result in a fall and serious injury.
Keep the power cord and the surge suppres-
sor away from heated surfaces.
Never move the walking belt while the power
is turned off. Do not operate the treadmill
if the power cord or plug is damaged, or if
the treadmill is not working properly. (See
TROUBLESHOOTING on page 19 if the tread-
mill is not working properly.)
Read, understand, and test the emergency
stop procedure before using the treadmill
(see HOW TO TURN ON THE POWER on
page 14).
Never start the treadmill while you are stand-
ing on the walking belt. Always hold the
handrails or upper body arms while using the
treadmil!.
The treadmill is capable of high speeds.
Adjust the speed in small increments to
avoid sudden jumps in speed.
3

20. The heart rate monitor is not a medical 24.
device. Various factors, including the user's
movement, may affect the accuracy of heart
rate readings. The heart rate monitor is 25.
intended only as an exercise aid in determin-
ing heart rate trends in general.
21. Never leave the treadmill unattended while
it is running. Always remove the key, press
the power switch into the off position (see
the drawing on page 5 for the location of the
power switch), and unplug the power cord
when the treadmill is not in use.
22. Do not attempt to move the treadmill until it
is properly assembled. (See ASSEMBLY on
page 7, and HOW TO FOLD AND MOVE THE
TREADMILL on page 18.) You must be able to
safely lift 45 ibs. (20 kg) to move the treadmill.
23. When folding or moving the treadmill, make
sure that the storage latch is holding the
frame securely in the storage position.
26.
27.
Never insert any object into any opening on
the treadmill.
inspect and properly tighten all parts of the
treadmill regularly.
DANGER: A waysunplugthepower
cord immediatelyafteruse, beforeclean-
ingthe treadmill, and before performing the
maintenance and adjustment procedures
described in this manual. Never remove the
motor hood unless instructed to do so by an
authorized service representative. Servicing
other than the procedures in this manual
should be performed by an authorized ser-
vice representative only.
Over exercising may result in serious injury
or death, if you feel faint or if you experience
pain while exercising, stop immediately and
cool down.
SAVE THESE iNSTRUCTiONS
4

BEFORE YOU BEGIN
Thank you for selecting the new WESLO _
CROSSWALK 5.2T treadmill. The CROSSWALK 5.2T
treadmill offers a selection of features designed to
make your workouts at home more effective. And
when you're not exercising, the unique treadmill can
be folded up, requiring less than half the floor space of
other treadmills.
For your benefit, read this manual carefully before
using the treadmill. If you have questions after
reading this manual, please see the back cover of this
manual. To help us assist you, note the product model
number and serial number before contacting us. The
model number and the location of the serial number
decal are shown on the front cover of this manual.
Before reading further, please review the drawing
below and familiarize yourself with the labeled parts.
Length: 5 ft. 8 in. (173 cm)
Width: 2 ft. 5 in. (74 cm)
Handrail
Storage Latch
Console
Key/Clip
Motor Hood
Power Switch
Walking Belt Power Cord
Foot Rail Wheel
Platform Cushion
Idler Roller
Adjustment Screws
5

PART iDENTiFiCATiON CHART
Use the drawings below to identify small parts used for assembly. The number in parentheses below each draw-
ing is the key number of the part, from the PART LIST near the end of this manual. The number following the key
number is the quantity used for assembly. Note: If a part is not in the hardware kit, check to see if it is preat=
tached, if it is not, call 1=866=699=3756. Extra parts may be included.
©
M5 Star
Washer (7)-2 M8 Star M10 Star
Washer (5)-6 Washer (9)-4
M4.2 x 18mm
Screw (58)-2 M4.2 x 19mm
Screw (10)-4
1/4" x 3 1/2" Screw (103)-4
1/4" Flat Washer
(101)-4
M5 x 16mm
Screw (85)-2
M10 Nut (73)-4
M8 x 15mm
Bolt (8)-6
M10 x 58mm Bolt (2)-4
6

ASSEMBLY
To watch an assembly I-_'lml![_l_bym_ •
video, go to
http ://productvideo.co/
assembly/kmart/weslo
or use your mobile
phone or smartphone to r_u--='_" _ .
read the QR code at the
right. A reader applica-
tion such as ShopSavvy
must be installed on your mobile phone or
smartphone.
Assembly requires two persons.
Place all parts in a cleared area and remove the
packing materials. Do not dispose of the packing
materials until you finish all assembly steps.
After shipping, there may be an oily substance
on the exterior of the treadmill. This is normal. If
there is an oily substance on the treadmill, wipe
it off with a soft cloth and a mild, non-abrasive
cleaner.
Left parts are marked "L" or "Left" and right parts
are marked "R" or "Right."
To identify small parts, see page 6.
Assembly requires the following tools:
the included hex keys
one adjustable wrench
one Phillips screwdriver (]_zb=====_
needlenose pliers
To avoid damaging parts, do not use power tools.
.Go to www.wesloservice.com/registration on
your computer and register your product.
•activates your warranty
•saves you time if you ever need to contact
Customer Care
•allows us to notify you of upgrades and offers
Note: If you do not have Internet access, call
1-866-699-3756 and register your product.
7

.With the help of a second person, carefully tip
the treadmill onto its side. Unfold the Frame (51)
away from the Uprights (53, 54).
Orient the Base (52) as shown. Attach the Base
to the Left Upright (53) and the Right Upright
(54) with four M10 x 58mm Bolts (2) and four
MIO Nuts (73). Start all four Nuts, and then
tighten them.
With the help of a second person, carefully tip
the treadmill so that the Base (52) is flat on the
floor.
54
53
73
.Set the console assembly face down on a soft
surface to avoid scratching it.
Identify the Right Handrail (33), which has a
large hole in the location shown. Hold the Right
Handrail near the console assembly.
Next, insert the console wire into the large hole
in the side of the Right Handrail (33). Using
needlenose pliers, carefully grasp the connector
and pull the console wire out of the hole near the
bracket on the Right Handrail.
3
Console
Assembl_
Console Wire
Bracket )nnector
Large
Hole
33

,Set the Right Handrail (33) on the console
assembly. Make sure that the console wire is
not pinched. Remove the tie from the bracket
on the Right Handrail. If necessary, press the
Cage Nut (102) back into place.
Start an M5 x 16mm Screw (85) with an M5
Star Washer (7) into the Right Handrail, and
then start two M4.2 x 19mm Screws (10) into
the Right Handrail. Tighten the M5 x 16ram
Screw and then tighten the two M4.2 x 19ram
Screws; do not overtighten the Screws.
Attach the Left Handrail (not shown) to the
console assembly in the same way. Note:
There is no wire on the left side.
4
Console
Assembl,
Console Wire
102
Tie
33 10
,With the help of a second person, hold the con-
sole assembly near the Right Upright (54).
Connect the Wire Harness (39) to the console
wire. See the inset drawing. The connectors
should slide together easily and snap into
place. If they do not, turn one connector and try
again. IF YOU DO NOT CONNECT THE CON-
NECTORS PROPERLY, THE CONSOLE MAY
BECOME DAMAGED WHEN YOU TURN ON
THE POWER. If there is a wire tie on the Wire
Harness, remove the wire tie. Insert the con-
nectors and the excess wire downward into the
Right Upright (54).
Console
Wire
Console
Y
Console
Wire \
39
9

6. 6
Set the console assembly on the Uprights (53,
54). Make sure that no wires are pinched.
Start four M8 x 15mm Bolts (8) with four M8 Star
Washers (5) into the Uprights as shown. Do not
tighten the Bolts yet.
Console Assembly
5
_54
5
.Start an M8 x 15mm Bolt (8) with an M8 Star
Washer (5) into each Upright (53, 54). Then,
firmly tighten all six M8 x15ram Bolts (8).
7
8 5
.Attach the Latch Housing (48) to the Left Upright
(53) with two M4.2 x 18mm Screws (58); start
both Screws, and then tighten both of them.
48
10

9. 9
Attach the Left Upper Body Arm (105) to the Left
Upright (53) with two 1/4" x 3 1/2" Screws (103),
two 1/4" Flat Washers (101), and two M10 Star
Washers (9). Make sure that the Left Upper
Body Arm is on the side of the console assem-
bly shown.
Attach the Right Upper Body Arm (not shown)
in the same way.
103
Console
Assembl,
101
10. Make sure that all parts are properly tightened before you use the treadmill. Keep the included hex keys
in a secure place. One of the hex keys is used to adjust the walking belt (see page 20). To protect the floor or
carpet, place a mat under the treadmill.
11

OPERATION AND ADJUSTMENT
HOW TO CONNECT THE POWER CORD
Use aSurge Suppressor
Your treadmill, like other electronic equipment, can be
damaged by sudden voltage changes in your home's
power. Voltage surges, spikes, and noise interfer-
ence can result from weather conditions or from other
appliances being turned on or off. To decrease the
risk of damaging the treadmill, always use a surge
suppressor with the treadmill. To purchase asurge
suppressor, see precaution 13 on page 3.
Use only a surge suppressor that is UL 1449 listed as a
transient voltage surge suppressor (TVSS). The surge
suppressor must have a UL suppressed voltage rating
of 400 volts or less and a minimum surge dissipation of
450 joules. The surge suppressor must also be electri-
cally rated for 120 volts AC and 15 amps. There must
be a monitoring light on the surge suppressor to indi-
cate whether it is functioning properly. Failure to use a
properly functioning surge suppressor could result
in damage to the control system of the treadmill
and serious injury to users.
Plug in the Power Cord
The treadmill must be grounded. If it should malfunc-
tion or break down, grounding provides a path of least
resistance for electric current to reduce the risk of elec-
tric shock. The treadmill power cord has a plug with a
grounding pin (see drawing 1 on this page).
Plug the power cord into a surge suppressor, and plug
the surge suppressor into an appropriate outlet that is
properly installed and grounded in accordance with all
local codes and ordinances. The outlet must be on a
nominal 120=volt circuit capable of carrying 15 or
more amps. To avoid overloading the circuit, do
not plug other electrical devices, except for low=
power devices such as cell phone chargers, into
the surge suppressor or into an outlet on the same
circuit. IMPORTANT: The treadmill is not compat=
ible with GFCl-equipped outlets and may not be
compatible with AFCl=equipped outlets.
Grounded Outlet
Grounding Pin
Grounding
Surge
Suppressor
A temporary
adapter may
be used to
connect the
surge sup-
pressor to
a 2-pole
receptacle
if a properly
grounded
outlet is not
available.
)ole Receptacle
Adapter
Metal
Screw
The lug or wire extending from the adapter must
be connected with a metal screw to a permanent
ground such as a properly grounded outlet box cover.
Some 2=pole receptacle outlet box covers are not
grounded. Before using an adapter, contact a quali-
fied electrician to determine whether the outlet box
cover is grounded. The temporary adapter should
be used only until a properly grounded outlet can
be installed by a qualified electrician.
12

CONSOLE DIAGRAM
E
E
E
E
E
E
E
E
WEIGHT LOSS
TARGET PULSE
©
Sj t.SB%,s_3P,....
SELECT
START
STOP
PERFORMANCE
A WARNING:
Io reduce rsk of se ious
_str_o_ and_h_
K_ _ildro_aw_y
_. ADVERTENClA:
entiond_eEm_u_ldel
U_oMante_g_a_os
_o_do_
--Clip
FEATURES OF THE CONSOLE
The treadmill console offers a selection of features
designed to make your workouts more effective.
When the manual mode of the console is selected, the
speed of the treadmill can be changed with the touch
of a button. As you exercise, the displays will provide
continuous exercise feedback. You can even measure
your heart rate using the thumb heart rate monitor.
The console also offers four preset workouts. Each
workout automatically controls the speed of the tread-
mill as it guides you through an effective exercise
session.
To turn on the power, see page 14. To use the man=
ual mode, see page 14. To use a preset workout,
see page 16.
IMPORTANT: If there is asheet of plastic on the
console, remove the plastic. To prevent damage
to the walking platform, wear clean athletic shoes
while using the treadmill. The first time the tread=
mill is used, observe the alignment of the walking
belt, and center the walking belt if necessary (see
page 20).
13

HOW TO TURN ON THE POWER
iMPORTANT: if the treadmill has been exposed to
cold temperatures, allow it to warm to room tem-
perature before turning on the power, if you do not
do this, you may damage the console displays or
other electrical components.
Plug in the power cord (see
page 12). Next, locate the
power switch on the tread-
mill frame near the power
cord. Make sure that the
switch is in the reset
position.
Reset
Next, stand on the foot rails of the treadmill. Locate
the clip attached to the key (see the drawing on page
13), and slide the clip securely onto the waistband of
your clothes. Then, insert the key into the console.
After a moment, the displays will light, iMPORTANT:
in an emergency, the key can be pulled from the
console, causing the walking belt to slow to a
stop. Test the clip by carefully taking a few steps
backward; if the key is not pulled from the console,
adjust the position of the clip.
HOW TO USE THE MANUAL MODE
1. insert the key into the console.
See HOW TO TURN ON THE POWER above.
2. Select the manual mode.
When the key is
inserted, the manual
mode will be selected.
If you have selected a
preset workout, reselect
L!,L! LI
F1F"iF_FI ]F_E3 CALS.
U, UUU OlST,| U,U
the manual mode by pressing the Workout Select
button repeatedly until only zeros appear in the
displays.
3. Start the walking belt.
To start the walking belt, press the Start button or
the Speed increase button. The walking belt will
begin to move at 1 mph. As you exercise, change
the speed of the walking belt as desired by press-
ing the Speed increase and decrease buttons.
Each time you press one of the buttons, the speed
setting will change by 0.1 mph; if you hold down
the button, the speed setting will change by 0.5
mph. Note: After you press the buttons, it may take
a moment for the walking belt to reach the selected
speed setting.
To stop the walking belt, press the Stop button.
The time will begin to flash in the display. To restart
the walking belt, press the Start button or the
Speed increase button.
4. Follow your progress with the displays.
The track--The track
represents a distance
of 1/4 mile (400 m). As
you walk or run on the
treadmill, the indicators
around the track will
Ill Jr
appear in succession until the entire track appears.
The track will then disappear and the indicators will
again begin to appear in succession. The center
of the track will show the number of laps that you
have completed.
14

The lower left
display--As you ex-
ercise, the lower left u._u_ DtSr.
display can show the
elapsed time and the
distance that you have
walked or run. Note: When a preset workout is se-
lected, the lower left corner of the display will show
the time remaining in the workout instead of the
elapsed time.
The lower right
display--The lower
right display can show
the speed of the walking
belt and the approxi-
mate number of calories
that you have burned.
The priority display--
The upper display is the
priority display. The pri-
ority display can show
the elapsed time, the
distance that you have
C Cl' ! !
r13
I,gU gDIST,1L_,S SP_E°
walked or run, the speed of the walking belt, or the
approximate number of calories you have burned.
Press the Priority Display button repeatedly until
the priority display shows the information that you
are most interested in viewing. Note: While infor-
mation is shown in the priority display, the same in-
formation will not be shown in the lower left or right
display.
To reset the displays, press the Stop button, re-
move the key, and then reinsert the key.
Note: The console can
display speed and dis-
tance in either miles
or kilometers. To see
which unit of measure-
C
ment is selected, hold down the Stop button, insert
the key into the console, and then release the
Stop button. An M for metric kilometers or an E
for English miles will appear in the priority display.
Press the Speed increase button to change the
unit of measurement. When the desired unit of
measurement is selected, remove the key and then
reinsert it.
5. Measure your heart rate if desired.
.
To measure your heart rate, stand on the foot
rails and place your thumb on the heart rate moni-
tor (see the drawing on page 13). Do not press
too hard, or the circulation in your thumb
will be restricted and your pulse may not be
detected. When your pulse is detected, a heart-
shaped indicator in the lower right display will flash
each time your heart beats, one or two dashes will
appear, and then your heart rate will be shown. For
the most accurate heart rate reading, hold your
thumb on the heart rate monitor for at least 15
seconds.
if the displayed heart rate appears to be too high
or too low, or if your heart rate is not displayed, lift
your thumb for a few seconds, and then reposition
your thumb on the heart rate monitor. Make sure to
stand still while measuring your heart rate.
When you are finished exercising, remove the
key from the console.
Step onto the foot rails, press the Stop button,
remove the key from the console, and put it in a
secure place. When you are finished using the
treadmill, press the power switch into the off posi-
tion and unplug the power cord. IMPORTANT: If
you do not do this, the treadmill's electrical
components may wear prematurely.
15

HOW TO USE A PRESET WORKOUT
1. insert the key into the console.
See HOW TO TURN ON THE POWER on page 14.
2. Select one of the four preset workouts.
To select a preset work-
out, press the Workout
Select button repeat-
edly; "P- 1," "P- 2," "P-
3," or "P- 4" will appear
in the priority display for
P- I
F'IF'I,F_F1 _ "IF"I
U _,,,,,,J'_,,JU DIST, _ _,L,J SPEED
a few seconds to show which workout is selected.
The maximum speed of the workout and the dura-
tion of the workout will also appear in the display
for a few seconds.
Each workout consists of 30 one-minute segments.
One speed setting is programmed for each seg-
ment. Note: The same speed setting may be pro-
grammed for consecutive segments. The profiles
on the console show how the speed of the walking
belt will change during the workouts.
3. Start the walking belt.
Press the Start button or the Speed increase button
to start the workout. When you press the button,
the treadmill will automatically adjust to the speed
setting that is programmed for the first segment.
Hold the handrails and begin walking.
At the end of each segment, a series of tones will
sound. If a different speed setting is programmed
for the next segment, the speed setting will flash
in the display to alert you and the treadmill will
automatically adjust to the new speed setting. The
workout will continue in this way until the last seg-
ment ends. The walking belt will then slow to a
stop.
If the speed setting is too high or too low during
the workout, you can manually override the setting
by pressing the Speed buttons; however, when
the current segment of the workout ends, the
treadmill will automatically adjust to the speed
setting for the next segment.
To stop the workout temporarily, press the Stop
button. The time will begin to flash in the display.
To restart the workout, press the Start button or the
Speed increase button. The walking belt will begin
to move at 1 mph. When the next segment begins,
the treadmill will automatically adjust to the speed
setting programmed for the next segment.
4. Follow your progress with the displays.
See step 4 on pages 14 and 15.
5. Measure your heart rate if desired.
See step 5 on page 15.
6. When you are finished exercising, remove the
key from the console.
See step 6 on page 15.
16

HOW TO CHANGE THE iNCLINE OF THE TREADMILL HOW TO USE THE UPPER BODY ARMS
To vary the intensity of your exercise, you can change
the incline of the treadmill. There are two incline levels.
Before changing the incline, remove the key and
unplug the power cord. Next, fold the treadmill to the
storage position (see page 18).
Incline
Pin
Incline Pin_
To change the incline, first remove the incline pin
from one of the incline legs. Adjust the incline leg to
the desired position, and then fully reinsert the incline
pin. Adjust the other incline leg in the same way.
CAUTION: Before using the treadmill, make sure
that both incline legs are at the same height and
that both incline pins are fully inserted into the
incline legs.
After you have adjusted the incline legs, lower the
treadmill (see page 18).
As you walk on the treadmill, you can hold the hand-
rails or use the upper body arms. To exercise your
arms, shoulders, and back for a total body workout,
move the upper body arms forward and back as you
walk on the treadmill.
To vary the intensity of your upper body exercise, the
resistance of the upper body arms can be adjusted. To
increase the resistance, turn the resistance knobs
clockwise; to decrease the resistance, turn the knobs
counterclockwise.
Upper Body
3
17
obs

HOW TO FOLD AND MOVE THE TREADMILL
HOW TO FOLD THE TREADMILL
Remove the key and unplug the power cord.
CAUTION: You must be able to safely lift 45 Ibs. (20
kg) to raise, lower, or move the treadmill.
.Hold the metal frame firmly in the location shown
by the arrow below. CAUTION: Do not hold the
frame by the plastic foot rails. Bend your legs
and keep your back straight. Raise the frame
about halfway to the vertical position.
.Hold the treadmill firmly with your right hand as
shown. Pull the latch knob to the left and hold it.
Raise the frame until the catch is past the latch pin.
Then, slowly release the latch knob; make sure
that the catch is resting against the latch pin.
To protect the floor or carpet, place a mat under the
treadmill. Keep the treadmill out of direct sunlight.
Do not leave the treadmill in the storage position in
temperatures above 85° F (30° C).
HOW TO MOVE THE TREADMILL
Before moving the treadmill, fold it as described at the
left. CAUTION: Make sure that the catch is resting
against the latch pin. Moving the treadmill may
require two people.
1. Hold the frame and one of the handrails, and place
one foot against a wheel.
Frame
Handrail
Wheel_
.Pull back on the handrail until the treadmill will roll
on the wheels, and carefully move it to the desired
location. CAUTION: Do not move the treadmill
without tipping it back, do not pull on the frame,
and do not move the treadmill over an uneven
surface.
3. Place one foot against a wheel, and carefully lower
the treadmill.
HOW TO LOWER THE TREADMILL FOR USE
.
.
See drawing 2. Hold the upper end of the treadmill
with your right hand as shown. Pull the latch knob
to the left and hold it. Next, lower the frame until it
is past the latch pin. Then, release the latch knob.
See drawing 1 at the left. Hold the metal frame
firmly with both hands, and lower it to the floor.
CAUTION: Do not hold the frame by the plastic
foot rails, and do not drop the frame. Bend your
legs and keep your back straight.
18

TROUBLESHOOTING
Most treadmill problems can be solved by follow-
ing the simple steps below. Find the symptom that
applies, and follow the steps listed, if further assis-
tance is needed, see the back cover of this manual.
SYMPTOM: The power does not turn on
a. Make sure that the power cord is plugged into a
surge suppressor and that the surge suppressor
is plugged into a properly grounded outlet (see
page 12). Use only a surge suppressor that meets
all of the specifications described on page 12.
iMPORTANT: The treadmill is not compatible
with GFCl-equipped outlets and may not be
compatible with AFCl-equipped outlets.
b. After the power cord has been plugged in, make
sure that the key is inserted into the console.
C. Check the power switch located on the treadmill
frame near the power cord. If the switch protrudes
as shown, the switch has tripped. To reset the
power switch, wait for five minutes and then press
the switch back in.
Tripped Reset
b. Make sure that the power cord is plugged in. If the
power cord is plugged in, unplug it, wait for five
minutes, and then plug it back in.
c. Remove the key from the console, and then
reinsert it.
d. If the treadmill still will not run, please see the back
cover of this manual.
SYMPTOM: The displays of the console do not
function properly
a. Remove the key from the console and UNPLUG
THE POWER CORD. Remove the three indicated
M4.2 x 19mm Washer Head Screws (20) and the
two M5.5 x 25mm Screws (25). Then, carefully
remove the Motor Hood (65).
20
SYMPTOM: The power turns off during use
a. Check the power switch (see the drawing above).
If the switch has tripped, wait for five minutes and
then press the switch back in.
19

Locate the Reed Switch (89) and the Magnet (62)
on the left side of the Pulley (71). Turn the Pulley
until the Magnet is aligned with the Reed Switch.
Make sure that the gap between the Magnet
and the Reed Switch is about 1/8 in. (3 ram). If
necessary, loosen the M4.2 x 13mm Tek Screw (3),
move the Reed Switch slightly, and then retighten
the Screw. Reattach the Motor Hood (not shown),
and run the treadmill for a few minutes to check for
a correct speed reading.
1/8 in.- 71
3-
89/
Top View
SYMPTOM: The walking belt slows when walked on
a. Use only a surge suppressor that meets all of the
specifications described on page 12.
b, If the walking belt is overtightened, treadmill per-
formance may decrease and the walking belt may
become damaged. Remove the key and UNPLUG
THE POWER CORD. Using the hex key, turn both
idler roller screws counterclockwise, 1/4 of a turn.
When the walking belt is properly tightened, you
should be able to lift each edge of the walking belt
2 to 3 in. (5 to 7 cm) off the walking platform. Be
careful to keep the walking belt centered. Then,
plug in the power cord, insert the key, and run the
treadmill for a few minutes. Repeat until the walk-
ing belt is properly tightened.
C, Your treadmill features a walking belt coated with
high-performance lubricant. IMPORTANT: Never
apply silicone spray or other substances to
the walking belt or the walking platform unless
instructed to do so by an authorized service
representative. Such substances may deterio=
rate the walking belt and cause excessive wear.
If you suspect that the walking belt needs more
lubricant, see the back cover of this manual.
d. If the walking belt still slows when walked on, see
the back cover of this manual.
SYMPTOM: The walking belt is off=center or slips
when walked on
a, if the walking belt is off=center, first remove the
key and UNPLUG THE POWER CORD. If the
walking belt has shifted to the left, use the hex
key to turn the left idler roller screw clockwise 1/2
of a turn; if the walking belt has shifted to the
right, turn the left idler roller screw counterclock-
wise 1/2 of a turn. Be careful not to overtighten the
walking belt. Then, plug in the power cord, insert
the key, and run the treadmill for a few minutes.
Repeat until the walking belt is centered.
b
2-3
Idler Roller Screws
2O

b. if the walking belt slips when walked on, first
remove the key and UNPLUG THE POWER
CORD. Using the hex key, turn both idler roller
screws clockwise, 1/4 of a turn. When the walk-
ing belt is correctly tightened, you should be able
to lift each edge of the walking belt 2 to 3 in. (5 to
7 cm) off the walking platform. Be careful to keep
the walking belt centered. Then, plug in the power
cord, insert the key, and carefully walk on the
treadmill for a few minutes. Repeat until the walk-
ing belt is properly tightened.
SYMPTOM: The upper body arms squeak during
use
a. (Note: Correcting this problem requires a small
amount of white marine grease, available at
hardware stores.) Turn the Resistance Knob (A)
counterclockwise and remove it. Next, remove
the Resistance Cone (B) and the Left Upper
Body Arm (105), along with the Resistance Plate
(C), Washers (D), Spring Washer (E), Thrust
Washers (F), and Thrust Bearing (G). (Note: If the
Resistance Plate [C] comes out of the Resistance
Cone [B], press it back in.) Apply a thin layer of
white marine grease to the outer surface of the
Resistance Cone (B). Then, reattach all parts in the
order shown below.
CGD
A
21

EXERCISE GUiDELiNES
These guidelines will help you to plan your exercise
program. For detailed exercise information, obtain a
reputable book or consult your physician. Remember,
proper nutrition and adequate rest are essential for
successful results.
EXERCISE iNTENSITY
Whether your goal is to burn fat or to strengthen your
cardiovascular system, exercising at the proper inten-
sity is the key to achieving results. You can use your
heart rate as a guide to find the proper intensity level.
The chart below shows recommended heart rates for
fat burning and aerobic exercise.
165 155 I45 140 130 i25 115 _
145 138 130 125 118 110 103 _
125 120 115 110 105 95 90
20 30 40 50 60 70 80
To find the proper intensity level, find your age at the
bottom of the chart (ages are rounded off to the near-
est ten years). The three numbers listed above your
age define your "training zone." The lowest number is
the heart rate for fat burning, the middle number is the
heart rate for maximum fat burning, and the highest
number is the heart rate for aerobic exercise.
Burning Fat--To burn fat effectively, you must exer-
cise at a low intensity level for a sustained period of
time. During the first few minutes of exercise, your
body uses carbohydrate calories for energy. Only after
the first few minutes of exercise does your body begin
to use stored fat calories for energy. If your goal is to
burn fat, adjust the intensity of your exercise until your
heart rate is near the lowest number in your training
zone. For maximum fat burning, exercise with your
heart rate near the middle number in your training
zone.
Aerobic Exercise-- if your goal is to strengthen your
cardiovascular system, you must perform aerobic
exercise, which is activity that requires large amounts
of oxygen for prolonged periods of time. For aerobic
exercise, adjust the intensity of your exercise until your
heart rate is near the highest number in your training
zone.
WORKOUT GUIDELINES
Warming Up--Start with 5 to 10 minutes of stretch-
ing and light exercise. A warm-up increases your body
temperature, heart rate, and circulation in preparation
for exercise.
Training Zone Exercise--Exercise for 20 to 30 min-
utes with your heart rate in your training zone. (During
the first few weeks of your exercise program, do not
keep your heart rate in your training zone for longer
than 20 minutes.) Breathe regularly and deeply as you
exercise; never hold your breath.
Cooling Down--Finish with 5 to 10 minutes of stretch-
ing. Stretching increases the flexibility of your muscles
and helps to prevent post-exercise problems.
EXERClSE FREQUENCY
To maintain or improve your condition, complete three
workouts each week, with at least one day of rest
between workouts. After a few months of regular exer-
cise, you may complete up to five workouts each week,
if desired. Remember, the key to success is to make
exercise a regular and enjoyable part of your everyday
life.
22

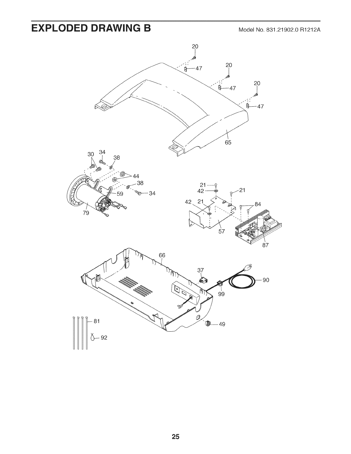
PART LIST Model No. 831.21902.0 R1212A
Key No. Qty. Description Key No. Qty. Description
1 2 M10 x 110ram Bolt 55 1 Idler Roller
2 4 M10 x 58ram Bolt 56 1 Motor Belt
3 2 M4.2 x 13ram Tek Screw 57 1 Electronics Bracket
4 9 M4.2 x 16ram Screw 58 2 M4.2 x 18ram Screw
5 6 M8 Star Washer 59 1 Motor Bracket
6 1 Warning Decal 60 1 Left Idler Roller Bracket
7 2 M5 Star Washer 61 1 Right Idler Roller Bracket
8 6 M8 x 15mm Bolt 62 1 Magnet
9 6 M10 Star Washer 63 6 Base Pad
10 10 M4.2 x 19ram Screw 64 1 Catch
11 2 Frame Spacer 65 1 Motor Hood
12 1 Console Base 66 1 Belly Pan
13 4 M6 x 58ram Bolt 67 1 Left Foot Rail
14 2 M10 Flat Washer 68 1 Right Foot Rail
15 1 Key/Clip 69 4 Wheel Spacer
16 2 M10 Nut 70 2 Wheel
17 2 Handgrip 71 1 Drive Roller/Pulley
18 2 Resistance Assembly 72 4 M8 Flat Washer
19 4 M8 x 30ram Bolt 73 4 M10 Nut
20 3 M4.2 x 19ram Washer Head Screw 74 2 Frame Cap
21 6 M4.2 x 13ram Screw 75 4 M5.5 x 30ram Screw
22 1 Left Handrail 76 1 Walking Belt
23 1 Upright Grommet 77 4 Handrail Cap
24 1 Latch Pin Assembly 78 2 Platform Cushion
25 6 M5.5 x 25ram Screw 79 1 Drive Motor
26 6 M4.2 x 19ram Tek Screw 80 3 Wire Tie
27 2 M8 x 35ram Bolt 81 4 8" Tie
28 4 M4.2 x 13ram Guide Screw 82 2 M8 x 52mm Bolt
29 2 M6 x 70mm Screw 83 1 Reed Switch Clip
30 2 1/4" Motor Screw 84 2 M4 x 10ram Screw
31 1 M8 x 102ram Bolt 85 2 M5 x 16ram Screw
32 4 M6 Flat Washer 86 1 Walking Platform
33 1 Right Handrail 87 1 Controller
34 2 M8 x 20ram Bolt 88 1 Console Crossbar
35 2 M10 x 65ram Bolt 89 1 Reed Switch
36 2 M6 Star Washer 90 1 Power Cord
37 1 Power Switch 91 1 Console
38 2 Motor Star Washer 92 1 Releasable Tie
39 1 Wire Harness 93 2 Belt Guide
40 2 Incline Pin 94 2 Upper Body Arm Insert
41 4 M4.2 x 13ram Washer Head Screw 95 2 Incline Leg
42 4 Electronics Star Washer 96 2 U-nut
43 4 M6 Nut 97 2 Drive Roller Washer
44 6 Motor Tension Nut/Platform Nut 98 2 Rear Cushion
45 2 Wheel Housing 99 1 Power Cord Grommet
46 2 M8 Nut 100 1 M8 Nut
47 3 Hood Clip 101 4 1/4" Flat Washer
48 1 Latch Housing 102 2 Cage Nut
49 1 Belly Pan Grommet 103 4 1/4" x 3 1/2" Screw
50 2 Cushion Fastener 104 2 #10 x 3/4" Screw
51 1 Frame 105 1 Left Upper Body Arm
52 1 Base 106 1 Right Upper BodyArm
53 1 Left Upright 107 2 1/4" Lock Washer
54 1 Right Upright * - User's Manual
Note: Specifications are subject to change without notice. For information about ordering replacement parts, see
the back cover of this manual, if apart is missing, call 1-866=699-3756. *These parts are not illustrated.
23

72
4O
95
25-4i
67
71
76
/
o/
107
_<_ 36
29
61
44
51
86
31
97
m
X
"U
r"'
0
m
m
Z
o
cz.
(D
Z
o
oo
GO
i,o
GO
0
IX)
IX)
IX)

EXPLODED DRAWING BModel No. 831.21902.0 R1212A
30 34 38
66
42 21
57
65
84
37
99
25

EXPLODED DRAWING C Model No. 831.21902.0 R1212A
10/
88
t
10.--_
77
33
77
77
22
102
¢!
8
10 10
77
8
"_---7
"'_--85
@--102
103_
1_ 9
14_@'_..
u u
43
69
45 %63
16 '_26
73
11
i
i
i
i
2--_%63
_---26
63-_,
i
26--4
13
101
11
52 --_.
23--0.
39
73
914 1
,_i
i
u
il)2
i
g--26
26

EXPLODED DRAWING D Model No. 831.21902.0 R1212A
12 91
17
__._.. _104
_94
15
--17
106
104
80
27
4

Your Home
For repair--in your home--of all major brand appliances, lawn and garden equipment,
or heating and cooling systems, no matter who made it, no matter who sold it!
For the replacement parts, accessories, and user's manuals that you need to do-it-yourself.
For Sears professional installation of home appliances
and items like garage door openers and water heaters.
1-800-4-MY-HOME _ (1-800-469-4663)
Call anytime, day or night (U.S.A. and Canada)
www.sears.com www.sears.ca
Our Home
For repair of carry-in items like vacuums, lawn equipment,
and electronics, call or go on-line for the location of your nearest
Sears Parts & Repair Center.
1-800-488-1222 Call anytime, day or night (U.S.A. only)
www.sears.com
To purchase a protection agreement (U.S.A.)
or maintenance agreement (Canada) on a product serviced by Sears:
1-800-827-6655 (U.S.A.) 1-800-361-6665 (Canada)
iiiiiiiiiiiiiiiiiii
iiiiiiiiiiiiiiiiiii
iiiiiiiiiiiiiiiiiii
iiiiiiiiiiiiiiiiiii
iiiiiiiiiiiiiiiiiii
iiiiiiiiiiiiiiiiiii
iiiiiiiiiiiiiiiiiii
iiiiiiiiiiiiiiiiiii
iiiiiiiiiiiiiiiiiii
iiiiiiiiiiiiiiiiiii
iiiiiiiiiiiiiiiiiii
iiiiiiiiiiiiiiiiiii
iiiiiiiiiiiiiiiiiii
iiiiiiiiiiiiiiiiiii
iiiiiiiiiiiiiiiiiii
iiiiiiiiiiiiiiiiiii
Para pedir servicio de reparaci6n a domicilio, y para ordenar piezas: :::i::i::iiiiiiiiiiiiiiiiiiiiiiiiiiiiiiiiiiiiiiii!iii!i!!!__
(R)Registered Trademark /TMTrademark /SMService Mark of Sears Brands, LLC
(R)Marca Registrada /TMMarca de Fb.brica /SMMarca de Servicio de Sears Brands, LLC
f90-DAY FULL WARRANTY
If this Sears Treadmill Exerciser fails due to a defect in material or workmanship within 90 days of the
date of purchase, call 1-800-4-MY-HOME _"(1-800-469-4663) to arrange for free repair (or replacement if
repair proves impossible).
This warranty does not apply when the Treadmill Exerciser is used commercially or for rental purposes.
This warranty gives you specific legal rights, and you may also have other rights which vary from state to
state.
Sears, Roebuck and Co., Hoffman Estates, IL 60179
J
J
Part No. 340712 R1212A Printed in China © 2012 ICON IP, Inc.