Whirlpool 121802 Users Manual 6510413
If not then 6510413 Manual: ://www.whirlpoolwaterheaters.com/s/6510413
E1F50RD045V to the manual a038d799-0f65-40ee-97e5-ee87b7560f98
2015-01-23
: Whirlpool Whirlpool-121802-Users-Manual-308203 whirlpool-121802-users-manual-308203 whirlpool pdf
Open the PDF directly: View PDF
.
Page Count: 16

1
Residential Electric
Water Heater
Installation
Instructions and
Use & Care Guide
To obtain technical, warranty or service assistance during or
after the installation of this water heater, call toll free
1-877-817-6750
When calling for assistance, please have the following
information ready:
1. Model number
2. 7 Digit product number
3. Serial number
4. Date of installation
5. Place of Purchase
Water Heater Safety ............................................................................... 2
Installing Your Water Heater .................................................................3-8
Unpacking Instructions ............................................................... 3
Location Requirements ............................................................... 4
Electrical Requirements .............................................................. 5
Water System Piping ................................................................... 6
Installation Checklist ................................................................... 8
Operating Your Water Heater ............................................................. 9-11
Water Temperature Regulation ................................................... 9
Adjusting the Thermostat/High Limit Control ............................ 10
Operational Conditions ............................................................. 11
Maintenance of Your Water Heater ..................................................12-13
Trouble Shooting Chart ......................................................................... 13
Repair Parts Illustration ......................................................................... 14
Thermostat Wiring Chart and Diagram .................................................. 15
Table of Contents Page
6510413
W10123243
January 2007

2
Your safety and the safety of others are very important.
We have provided many important safety messages in this manual and on your appliance. Always read and obey all
safety messages.
This is the safety alert symbol.
This symbol alerts you to potential hazards that can kill or hurt you and others.
All safety messages will follow the safety alert symbol and either the word “DANGER” or
“WARNING.” These words mean:
You can be killed or seriously injured if you don’t
immediately follow instructions.
You can be killed or seriously injured if you don’t
follow instructions.
All safety messages will tell you what the potential hazard is, tell you how to reduce the chance of injury, and tell you
what can happen if the instructions are not followed.
Important Safety Instructions
CAUTION: Hydrogen gas is produced in a hot water system served by this heater that has not been used for a long
period of time (2 weeks or more). Hydrogen gas is extremely fl ammable. To reduce the risk of injury under these
conditions, it is recommended that the hot water faucet be opened for several minutes at the kitchen sink before
using any electrical appliance connected to the hot water system. When hydrogen is present, there will probably be
an unusual sound such as air escaping through the pipe as the water begins to fl ow. There should be no smoking or
open fl ame near the faucet at the time it is open.
The California Safe Drinking Water and Toxic Enforcement Act requires the Governor of California to publish a list of
substances known to the State of California to cause cancer, birth defects, or other reproductive harm, and requires
businesses to warn of potential exposure to such substances.
WARNING: This product contains a chemical known to the State of California to cause cancer, birth defects, or other
reproductive harm.
This appliance can cause low-level exposure to some of the substances included in the Act.
WATER HEATER SAFETY

3
INSTALLING YOUR WATER HEATER
Consumer Information
This water heater should be installed in accordance with
the local code authority having jurisdiction, the power
company or electric utility, and this installation manual.
In the absence of local code requirements, follow the
regulations set forth in the latest edition of The National
Electric Code, NFPA 70. This is available from the
following:
National Fire Protection Association
1 Batterymarch Park
Quincy, MA 02269
American National Standards Institute
1430 Broadway
New York, NY 10018
Check your phone listings for the local authorities having
jurisdiction over your installation.
Consumer Responsibilities
This manual has been prepared to acquaint you with the
installation, operation and maintenance of your electric
water heater and to provide important safety information in
these areas.
We urge you to read all of the instructions thoroughly
before attempting the installation or operation of this water
heater. This manual should be kept for future reference.
The manufacturer of this water heater will not be liable
for any damages caused by failure to comply with the
installation and operating instructions outlined in this
manual.
If you lack the necessary skills required to properly install
this water heater or you have diffi culty following the
directions, you should not proceed but have a qualifi ed
person perform the installation of this water heater.
Examples of a qualified person include: licensed plumbers,
authorized gas company personnel, and authorized
service personnel.
Massachusetts code requires this water heater to be
installed in accordance with Massachusetts 248-CMR 2.00:
State Plumbing Code and 248-CMR 5.00.
A data plate identifying your water heater can be found
adjacent to the element door. When referring to your water
heater always have the information listed on the data plate
readily available.
Retain your original receipt as proof of purchase.
Unpacking the Water Heater
Removing Packaging Materials
IMPORTANT: Do not remove any permanent instructions,
labels, or the data label from either the outside of the water
heater or on the inside of water heater panels.
• Remove exterior packaging and place installation
components aside.
• Inspect all parts for damage prior to installation and
start-up.
• Completely read all instructions before attempting to
assemble and install this product.
• After installation, dispose of/recycle all packaging
materials.
WARNING
Excessive Weight Hazard
Use two or more people to move and install
water heater.
Failure to do so can result in back or
other injury.

4
Location Requirements
Site location
Select a location near the center of the water piping
system. It must be installed indoors and in a vertical
position on a level surface.
The water heater should be located in an area not subject
to freezing temperatures. Water heaters located in
unconditioned spaces (i.e., attics, basements, etc.) May
require the water piping and drain piping to be insulated to
protect against freezing. The drain and controls must be
easily accessible for operation and service.
This water heater does not have suffi cient capacity for use
with a spa or hot tub.
NOTE: Local codes and requirements in your area
may require the installation of your water heater be
accomplished in a way that the bottom element is elevated
from the fl oor at least 18 inches.
2 1/2” Maximum
Pipe to
adequate
drain
At least 2” greater than the
diameter of the water heater
IMPORTANT: The water heater should be located in an
area where leakage of the tank or connections will not
result in damage to the area adjacent to the water heater or
to lower floors of the structure. Due to the normal corrosive
action of the water, the tank will eventually leak after an
extended period of time. Also any external plumbing leak,
including those from improper installation, may cause
early failure of the tank due to corrosion if not repaired.
If the owner/operator is uncomfortable with making the
repair a qualified person should be contacted. A suitable
metal drain pan should be installed under the water heater
as shown below, to help protect the property from damage
which may occur from condensate formation or leaks in
the piping connections or tank. The pan must limit the
water level to a maximum depth of 2-1/2 inches and be
two inches wider than the heater and piped to an adequate
drain. Locate the water heater near a suitable indoor
drain. Outside drains are subject to freezing temperatures
which can obstruct the drain line. The piping should be at
least 3/4” ID and pitched for proper drainage. Under no
circumstance will the manufacturer or seller of this water
heater be held liable for any water damage which is caused
by your failure to follow these instructions.
Figure 1
Residential Garage
Installation
Vehicle
Stop
Drain
Drain
Pan
NOTE: The water heater shall be located so it is not subject
to physical damage by moving vehicles or area fl ooding.
State of California
NOTE: The water heater must be braced, anchored, or
strapped to avoid moving during an earthquake. Contact
local utilities for code requirements in your area or call
1-877-817-6750 and request instructions.

5
Electrical Requirements
If you lack the necessary skills required to properly install
the electrical wiring to this water heater, do not proceed but
have a qualifi ed electrician perform the installation.
When making the electrical connections, always make
sure:
• The electrical supply has the proper overload fuse or
breaker protection.
• Wire sizes and connections comply with all applicable
codes.
• Wiring enclosed in approved conduit (if required by
local codes).
• The water heater and electrical supply are properly
grounded.
Figures 3, 4, and 5 are provided as reference drawings
for the 120/240v 2-wire models only. Always reference
the wiring diagram located on the water heater for the
correct electrical connections and connect the electrical
supply to the water heater in accordance with local utility
requirements and codes.
When installing the electrical wiring to the water heater:
1. Be sure tank is completely filled with water before
making any electrical connections. (See Figure 2)
2. Disconnect the electric power.
3. Loosen the screw holding the junction box cover to the
top of the water heater and set aside.
4. Connect the electrical supply to the water heater.
A standard 1/2 inch opening has been made in the
junction box for conduit connections.
5. Connect ground wire to green ground screw in the
junction box of the water heater. Reinstall the junction
box cover.
Figure 3
120/240V 2-Wire Models
Junction Box
Cover
Ground
Wire Conduit
White Wire (120V Models)
Red Wire (240V Models) Black Wire
Green
Ground
Screw
Black
White
Approved Connectors
Figure 4
Wiring Diagram
120V Models Only Overload
Protection
Neutral
Hot
Circuit
Breaker
To 120V
Power Supply
Electrical
Service Ground
Ground
Screw
Black
Red
Approved Connectors
Figure 5
Wiring Diagram
208/240v Models Only Overload
Protection
To 208/240v
1 Phase
Power supply
Electrical
Service ground
L1
L2
Circuit
Breaker
Ground
Screw
WARNING
Fire Hazard
Use 10 gauge solid copper
wire.
Use a UL listed or
CSA approved strain relief.
Connect ground wire to green
ground screw.
Failure to do so can result in
death, fire, or electrical shock.
NOTE: Applying electrical power to elements that are not submerged
in water will destroy them. The manufacturer will not warranty any
elements damaged in this manner.
Figure 2
Heating Element
WARNING
Electric Shock Hazard
Disconnect power before
servicing.
Replace all parts and panels
before operating.
Failure to do so can result in
death or electrical shock.

6
Water System Piping
Piping, fi ttings, and valves should be installed according to
the installation drawing (Figure 6). If the indoor installation
area is subject to freezing temperatures, the water piping
must be properly insulated.
Water supply pressure should not exceed 80% of the
working pressure of the water heater. The working
pressure is stated on the water heater’s data plate. If this
occurs a pressure limiting valve with a bypass may need
to be installed in the cold water supply line. This should
be placed on the supply to the entire house in order to
maintain equal hot and cold water pressures.
IMPORTANT:
• Heat must not be applied to the water fittings on the
heater as they may contain nonmetallic parts. If solder
connections are used, solder the pipe to the adapter
before attaching the adapter to the hot and cold water
fittings.
• Always use a good grade of joint compound and be
certain that all fittings are tight.
Piping Installation
1. Install the water piping and fittings as shown in Figure
6. Connect the cold water supply (3/4” NPT) to the
fitting marked “C”. Connect the hot water supply (3/4”
NPT) to the fitting marked “H”.
IMPORTANT: Some models may contain energy sav-
ing heat traps to prevent the circulation of hot water
within the pipes. Do not remove these inserts.
2. The installation of unions in both the hot and cold
water supply lines are recommended for ease of
removing the water heater for service or replacement.
3. Some local codes may require, and the manufacturer
of this water heater recommends, installing a tempering
valve or an anti-scald device in the domestic hot water
line as shown in Figures 7 and 8. These valves reduce
the point-of-use temperature of the hot water by mixing
cold and hot water and are readily available. Contact
a licensed plumber or the local plumbing authority for
more information.
4. If installing the water heater in a closed water system,
install an expansion tank in the cold water line as
specified under “Closed System/Thermal Expansion.”
5. Install a shut off valve in the cold water inlet line. It
should be located close to the water heater and be
easily accessible. Know the location of this valve and
how to shut off the water to the heater.
6. Install a temperature and pressure relief valve and
discharge line in the opening marked “T & P RELIEF
VALVE”. Install as specified under “Temperature and
Pressure Relief Valve.”
7. After piping has been properly connected to the water
heater, open the nearest hot water faucet and allow
the tank to completely fill with water. To purge the
lines of any excess air and sediment, keep the hot
water faucet open for 3 minutes after a constant flow
of water is obtained. Close the faucet and check all
connections for leaks.
Figure 7
Tempering Valve
Side Water Connections
Follow The Tempering
Valve’s Manufacturer’s
Installation Instructions
Tempered
Water
Hot
Water Out
Cold Water In
Tempering Valve
Set To 120° F Maximum
Figure 8
Tempering Valve
Top Water Connections
Follow the tempering
valve manufacturer’s
instructions
Cold
Water
Inlet
Hot
Water
Outlet
Tempered
Water To
Fixtures Tempering Valve
(Set To 120° F)
In a closed system use a
thermal expansion tank.
Pressure
Reducing
Cold Water
Inlet
Cold Water
Inlet Valve
Hot
Water
Outlet
Union
Temperature And
Pressure Relief Valve
Discharge Line
6 Inches Maximum
Above Drain
Drain Line
3/4 Inch ID
Minimum
Drain
Drain Pan
2-1/2 Inch Depth Maximum
1 Inch
Minimum Massachusetts: Install a
vacuum relief in cold water
line per section 19 MGL 142.
Figure 6
Water Piping Installation

7
Please note the following:
• The system should be installed only with piping that is
suitable for potable (drinkable) water such as copper,
CPVC, or polybutylene. This water heater must not be
installed using iron piping or PVC water piping.
• Use only pumps, valves, or fittings that are compatible
with potable water.
• Use only full flow ball or gate valves. The use of valves
that may cause excessive restriction to water flow is
not recommended.
• Use only 95/5 tin-antimony or other equivalent solder.
Any lead based solder must not be used.
• Piping that has been treated with chromates, boiler
seal, or other chemicals must not be used.
• Chemicals that may contaminate the potable water
supply must not be added to the piping system.
Periodic discharge of the temperature and pressure relief
valve may be due to thermal expansion in a closed water
supply system. The water utility supply meter may contain a
check valve, backflow preventer or water pressure reducing
valve. This will create a closed water system. During
the heating cycle of the water heater, the water expands
causing pressure inside the water heater to increase. This
may cause the temperature and pressure relief valve to
discharge small quantities of hot water. To prevent this, it
is recommended that a diaphragm-type expansion tank
(suitable for potable water) be installed on the cold water
supply line. The expansion tank must have a minimum
capacity of 1.5 U.S. gallons for every 50 gallons of stored
water. Contact the local water supplier or plumbing
inspector for information on other methods to control this
situation.
IMPORTANT: Do not plug or remove the temperature and
pressure relief valve.
Closed System/Thermal Expansion
For protection against excessive pressures and
temperatures, a temperature and pressure relief valve must
be installed in the opening marked “T & P RELIEF VALVE”
(See Figure 9).
CAUTION: To reduce the risk of excessive pressures
and temperatures in this water heater, install temperature
and pressure relief protective equipment required by local
codes, but no less than a combination temperature and
pressure relief valve certifi ed by a nationally recognized
testing laboratory that maintains periodic inspection of the
production of listed equipment or materials, as meeting
the requirements for Relief Valves and Automatic Shutoff
Temperature and Pressure
Relief Valve
Figure 9
Temperature And Pressure
Relief Valve Installation Optional Location
Some Models Only
Temperature And
Pressure Valve
Discharge Line
3/4 Inch Min.
Do Not Cap Or Plug
6 Inch
Maximum
Drain Pan
Drain
Explosion Hazard
If the temperature and pressure relief valve
is dripping or leaking, have a qualified
person replace it.
Examples of a qualified person include:
licensed plumbers, authorized gas company
personnel, and authorized service
personnel.
Do not plug valve.
Do not remove valve.
Failure to follow these instructions can
result in death or explosion.
WARNING
Explosion Hazard
If the temperature and pressure relief valve
is dripping or leaking, have a qualified
person replace it.
Examples of a qualified person include:
licensed plumbers, authorized gas company
personnel, and authorized service
personnel.
Do not plug valve.
Do not remove valve.
Failure to follow these instructions can
result in death or explosion.
WARNING

8
Devices for Hot Water Supply Systems, ANSI Z21.22 -
latest edition. This valve must be marked with the maximum
set pressure not to exceed the marked maximum working
pressure of the water heater. Install the valve into an
opening provided and marked for this purpose in the water
heater, and orient it or provide tubing so that any discharge
from the valve exits only within 6 inches above, or at any
distance below, the structural fl oor, and does not contact
any live electrical part. The discharge opening must not be
blocked or reduced in size under any circumstance.
IMPORTANT: Only a new temperature and pressure relief
valve should be used with your water heater. Do not use an
old or existing valve as it may be damaged or not adequate
for the working pressure of the new water heater. Do not
place any valve between the relief valve and the tank.
The Temperature & Pressure Relief Valve:
• Shall not be in contact with any electrical part.
• Shall be connected to an adequate discharge line.
• Shall not be rated higher than the working pressure
shown on the data plate of the water heater.
The Discharge Line:
• Shall not be smaller than the pipe size of the relief
valve or have any reducing coupling installed in the
discharge line.
• Shall not be capped, blocked, plugged or contain
any valve between the relief valve and the end of the
discharge line.
• Shall terminate a maximum of 6 inches above a floor
drain or external to the building.
• Shall be of material listed for hot water distribution.
• Shall be installed to allow complete drainage of both
the valve and discharge line.
Solar Installation
If this water heater is used as a solar storage heater or
as a backup for the solar system, the inlet water supply
temperatures to the water heater tank may be in excess of
120°F. A tempering valve or other temperature limiting valve
must be installed in the inlet water supply line to limit the
supply temperature to 120°F.
NOTE: Solar water heating systems can often supply water
with temperatures exceeding 180°F and may result in water
heater malfunction.
Water Heater Location
□ Centrally located with the water piping system.
□ Located indoors and in a vertical position. Protected
from freezing temperatures.
□ Provisions made to protect the area from water
damage. Metal drain pan installed and piped to an
adequate drain.
□ Sufficient room to service the water heater.
Water System Piping
□ Temperature and pressure relief valve properly
installed with a discharge line run to an open drain
and protected from freezing.
□ All piping properly installed and free of leaks.
□ Heater completely filled with water. (See Figure 2)
□ Closed system pressure buildup precautions
installed.
□ Tempering valve (when applicable) installed per
manufacturer’s instructions (see “Water Temperature
Regulation” section).
Electrical Connections
□ Wiring and connections comply with all applicable
codes.
□ Water heater and electrical supply are properly
grounded.
□ Proper overload fuse or circuit breaker protection
installed.
INSTALLATION
CHECKLIST

9
OPERATING YOUR WATER HEATER
Before Using
1. Make sure the water heater has been properly
installed. See “Installing Your Water Heater” section.
2. Completely fill the tank with water. (See Figure 2)
3. After the water heater tank is completely filled with
water, connect electrical power to the water heater.
4. Read the “Water Temperature Regulation” section of
this manual. If the instructions are not clear, contact a
qualifi ed person.
5. Adjust the thermostat to the desired temperature
setting as described under “Adjusting the Thermostat/
High Limit Control” section.
IMPORTANT: Do not attempt to operate this water heater
if the thermostat(s), or surrounding insulation has been
exposed to water in any way. Immediately call a qualifi ed
person to inspect the water heater and replace any
thermostat or insulation that has been exposed to water.
Do not attempt to repair these parts. Water heaters
subjected to fl ood conditions or any time the thermostat(s)
have been submerged in water require replacement of the
entire water heater.
Safety Shut-off
This water heater is designed to automatically shut-off
in the event that the water temperature exceeds 170°F
or 77°C. A high limit control switch is used to shut off the
power to the elements if the water temperature exceeds
170°F or 77°C. The high limit control switch can be
reset by fi rmly pushing in the red reset button located on
the thermostat. Follow the instructions under “Adjusting
the Thermostat/High Limit Control”, section to properly
reset the high limit control. If the high limit control switch
continues to shut-off the water heater contact a qualifi ed
person for service.
Water Temperature Regulation
Water temperature over 125°F can cause
severe burns instantly or death from scalds.
Children, disabled and elderly are at highest
risk of being scalded.
Feel water before bathing or showering.
Temperature limiting valves are available.
WARNING
The thermostat is adjusted to a temperature setting
of 120°F or lower when it is shipped from the factory.
Water temperature can be regulated by adjusting the
thermostat to the preferred setting as shown in “Adjusting
the Thermostat/High Limit Control.” The preferred starting
point is 120°F. There is a hot water scald potential if the
thermostat is set too high.
IMPORTANT: Adjusting the thermostat past 120°F on the
thermostat will increase the risk of scald injury in the times
shown below.
Water
Temperature °F
Time for 1st
Degree Burn
(Less Severe Burns)
Time for
Permanent Burns
2nd & 3rd Degree
(Most Severe Burns)
110
116
116
122
131
140
149
154
(normal shower temp.)
(pain threshold)
35 minutes
1 minute
5 seconds
2 seconds
1 second
instantaneous
45 minutes
5 minutes
25 seconds
5 seconds
2 seconds
1 seconds
(U.S. Government Memorandum, C.P.S.C., Peter L. Armstrong, Sept. 15,1978)
NOTE: During low demand periods when hot water is not
being used, a lower thermostat setting will reduce energy
losses and may satisfy your normal hot water needs. If hot
water use is expected to be more than normal, a higher
thermostat setting may be required to meet the increased
demand.
When leaving your home for extended periods (vacations,
etc.) turn the thermostat to its lowest setting. This will
maintain the water at low temperatures with minimum
energy losses and prevent the tank from freezing during
cold weather.

10
Adjusting the Thermostat/High Limit Control
This water heater is equipped with one or more adjustable temperature regulating thermostats and a manual reset high
limit control. The following procedures must be performed when changing the temperature of the stored water or resetting
the high limit control. Upper and lower thermostats must be adjusted to the same temperature.
IMPORTANT: Before attempting to adjust the thermostat, make sure you read the section of “Water Temperature
Regulation” section. If the instructions are not clear, contact a qualifi ed person.
1. Disconnect the electric power.
2. Remove the access cover(s) and fold up the insulation from the thermostat(s). Do not remove the plastic cover.
3. Using a screwdriver to adjust the thermostat pointer, set the thermostat(s) to the desired water temperature.
Be sure the RED reset button (High Limit Control) is pushed in. If needed, push in firmly to reset.
4. Fold the insulation down, making sure the thermostat(s) are well covered. Replace the access cover(s).
5. Reconnect power.
150°F 90°F
125°F
Optional
Door
Access
Cover
Thermostat / High Limit Control
Access
Covers
Red
Reset
Button
Thermostat
Pointer
Thermostat
Setting
Double
Element
Heater
Single
Element
Heater
Figure 10
Thermostat
Insulation
(Shown Folded)
Insulation
(Shown Folded)
Insulation
(Shown Folded)

11
Operational Conditions
Anode Rod/Water Odor
Each water heater contains at least one anode rod, which
will slowly deplete while protecting the glass-lined tank
from corrosion and prolonging the life of the water heater.
Once the anode is depleted, the tank will start to corrode,
eventually developing a leak. Certain water conditions will
cause a reaction between this rod and the water. The most
common complaint associated with the anode rod is a “rotten
egg smell” produced from the presence of hydrogen sulfide
gas dissolved in the water.
IMPORTANT: Do not remove this rod permanently as it will
void any warranties. The parts list includes a special anode
that can be ordered if water odor or discoloration occurs.
NOTE: This rod may reduce but not eliminate water odor
problems. The water supply system may require special
filtration equipment from a water conditioning company to
successfully eliminate all water odor problems.
Artificially softened water is exceedingly corrosive because
the process substitutes sodium ions for magnesium and
calcium ions. The use of a water softener may decrease the
life of the water heater tank.
The anode rod should be removed from the water heater
tank every 3 years for inspection. The following are typical
(but not all) signs of a depleted anode rod:
• The majority of the rods diameter is less than 3/8”.
• Significant sections of the support wire (approx. 1/3 or
more of the anode rod’s length) are visible.
If the anode rod show signs of either or both it should be
replaced.
NOTE: Whether reinstalling or
replacing the anode rod, check for
any leaks and immediately correct if
found.
In replacing the anode:
1. Turn off power to the water
heater.
2. Shut off the water supply and
open a nearby hot water faucet
to depressurize the water tank.
3. Drain approximately 5 gallons
of water from tank (Refer to the
“Draining and Flushing” section
for proper procedures). Close
drain valve.
4. Remove old anode rod.
5. Use Teflon® tape or approved
pipe sealant on threads and
install new anode rod.
6. Turn on water supply and open nearby hot water faucet
to purge air from water system. Check for any leaks and
immediately correct any if found.
7. Restart the water heater as directed under the
“Operating Your Water Heater” section. See the “Repair
Parts Illustration” section for anode rod location.
®TEFLON is a registered trademark of E.I. Du Pont De Nemours and Company.
Water Heater Sounds
During the normal operation of the water heater, sounds or
noises may be heard. These noises are common and may
result from the following:
1. Normal expansion and contraction of metal parts
during periods of heat-up and cool-down.
2. Sediment buildup in the tank bottom will create
varying amounts of noise and may cause premature
tank failure. Drain and flush the tank as directed under
the “Draining and Flushing” section.
Stacking
Stacking occurs when a series of short draws of hot water
(3 gallons or less) are taken from the water heater tank.
This causes increased cycling of the heater elements and
can result in increased water temperatures at the hot water
outlet. An anti-scald device is recommended in the hot
water supply line to reduce the risk of scald injury.
Figure 11:
Anode Rod Depletion

12
MAINTENANCE OF YOUR WATER HEATER
Temperature and Pressure
Relief Valve
Manually operate the temperature and pressure relief valve
at least once a year to make sure it is working properly.
To prevent water
damage, the valve
must be properly
connected to a
discharge line which
terminates at an
adequate drain.
Standing clear of the
outlet (discharged
water may be
hot), slowly lift and
release the lever
handle on the
temperature and pressure relief valve to allow the valve to
operate freely and return to its closed position. If the valve
fails to completely reset and continues to release water,
immediately disconnect the electrical power, close the cold
water inlet valve and call a qualifi ed person.
Figure 12
Temperature and Pressure
Relief Valve
Manual Relief
Valve
Discharge line to drain
Draining and Flushing
The water heater should be drained if being shut down
during freezing temperatures. It is recommended that the
tank be drained, and fl ushed every 6 months to remove
sediment which may buildup during operation. To drain the
tank perform the following steps:
1. Disconnect the electrical power to the water heater.
2. Open a hot water faucet until water is no longer hot.
3. Close the cold water inlet valve and open a hot water
faucet.
4. Connect a hose to the drain valve and terminate it to an
adequate drain.
5. Open the water heater drain valve and the nearest
hot water faucet. Allow all the water to drain from the
tank. Flush the tank with water as needed to remove
sediment.
6. Close the drain valve and completely refill the water
heater tank.
7. Reconnect electrical power to the water heater.
If the water heater is going to be shut down for an extended
period, the drain valve should be left open.
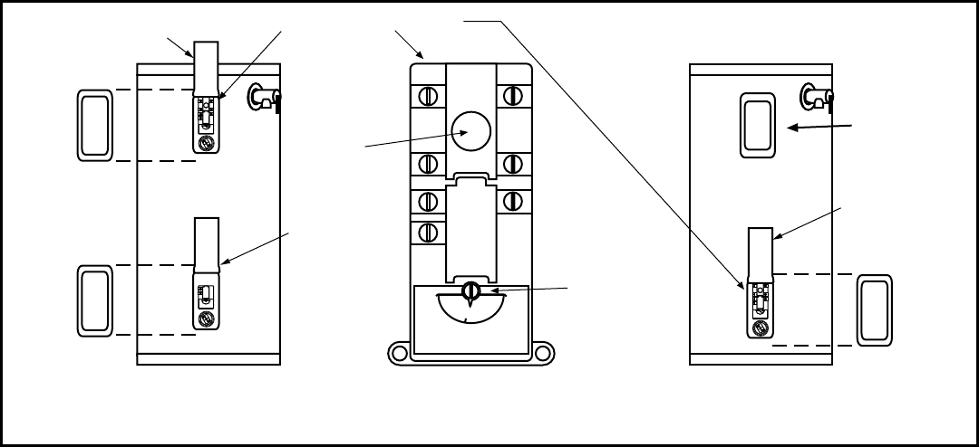
Heating Element Replacement
WARNING
Electric Shock Hazard
Disconnect power before
servicing.
Replace all parts and panels
before operating.
Failure to do so can result in
death or electrical shock.
Replacement heating elements must be of the same style
and voltage/wattage rating as the ones presently in the
water heater. This information can be found on the fl ange
or terminal block of the element or on the water heater data
plate.
1. Disconnect the electrical power to the water heater.
2. Drain the water heater as directed in the “Draining
and Flushing” section.
3. Remove the access cover(s). Fold up the insulation
from the heater element(s). Remove the plastic
thermostat cover from the thermostat(s) making sure to
disengage the attachment point from the thermostat.
4. Disconnect the electrical wires from the heating
element(s) by loosening the screws (Figure 13).
Remove the screw-in element(s) by turning the
element(s) counterclockwise with a 1-1/2 inch socket
wrench. Remove the existing gasket(s).
Explosion Hazard
If the temperature and pressure relief valve
is dripping or leaking, have a qualified
person replace it.
Examples of a qualified person include:
licensed plumbers, authorized gas company
personnel, and authorized service
personnel.
Do not plug valve.
Do not remove valve.
Failure to follow these instructions can
result in death or explosion.
WARNING

13
5. Clean the area where the gasket(s) fits to the tank. If
you are replacing the bottom element, remove the
accumulated sediment on the bottom of the tank.
6. Make sure the replacement element(s) has the correct
voltage and wattage rating by matching it to the rating
plate on the water heater. Position the new gasket(s)
on the element and insert it into the water heater
tank (Figure 14). Tighten the element by turning it
clockwise until secure.
7. Close the drain valve. Open the nearest hot water
faucet and allow the tank to fill completely with water.
Figure 14
Spud
Screw-in
Element
Gasket
Thermostat
Holding
Bracket
To purge the lines of any excess air and sediment,
keep the hot water faucet open for 3 minutes after a
constant flow of water is obtained.
8. Check for leaks around the element(s).
9. Reconnect the electrical wires to the element and
securely tighten the screws. Replace the plastic
thermostat cover making sure the attachment points
are engaged on the thermostat.
10. Replace the access cover(s).
11. Make certain the tank is filled with water. Applying
electric current to heater elements not submerged in
water will destroy them.
12. Reconnect electrical power to the water heater.
TROUBLESHOOTING CHART
PROBLEM POSSIBLE CAUSE(S) CORRECTIVE ACTION
NO HOT WATER 1. No power to heater
2. High Temperature Limit Switch open
3. Non-Functioning upper thermostat
1. Turn on electrical switch. Check for blown fuses
or tripped breaker
2. Reset. Check for source of trouble and correct
3. Replace thermostat
INSUFFICIENT HOT WATER 1. Non-Functioning thermostats
2. Non-Functioning lower element
3. Improper calibration
4. Thermostats set too low
5. Sediment or lime in tank
6. Heater too small for job
7. Wrong piping connections
8. Leaking faucets
9. Wasted hot water
10. Long runs of exposed pipe
11. Hot water piping on outside wall
1. Replace thermostats
2. Replace element
3. Replace thermostats
4. Set thermostats to desired temperature
5. Drain. Determine if water treatment is needed
6. Install adequate water heater
7. Correct piping
8. Repair faucets
9. Advise customer
10. Insulate piping
11. Insulate piping
HIGH OPERATION COSTS 1. Improper Calibration
2. Thermostats set too high
3. Sediment or lime in tank
4. Heater too small for job
5. Wrong piping connections
6. Leaking faucets
7. Wasted hot water
8. Long runs of exposed piping
9. Hot water piping in exposed wall
1. Replace thermostats
2. Set thermostat to desired setting
3. Drain. Flush-Provide water treatment if needed
4. Install adequate heater
5. Correct piping
6. Repair faucets
7. Advise customer
8. Insulate piping
9. Insulate piping
SLOW HOT WATER
RECOVERY
1. Non-Functioning upper element
2. Non-Functioning lower element
1. Replace element
2. Replace element
DRIP FROM RELIEF VALVE 1. Excessive water pressure
2. Closed system
1. Use Pressure Reducing Valve and Pressure
Relief Valve
2. See “Closed System/Thermal Expansion” section
THERMOSTAT DOES NOT
SHUT OFF
1. Non-Functioning thermostats
2. Improper calibration
1. Replace thermostats
2. Replace thermostats
WATER ODOR 1. Sulfides in the water 1. See “Anode Rod/Water Odor” section
Figure 13
Screws
Wires
Element

14
REPAIR PART ILLUSTRATION
ITEM
NO.
PARTS DESCRIPTION
1ACCESS DOORS
2THERMOSTAT COVERS (UPPER & LOWER)
3UPPER THERMOSTAT
4LOWER THERMOSTAT
5ELEMENT
6ELEMENT GASKET
7TEMPERATURE AND PRESSURE RELIEF VALVES
8HEAT TRAPS
9DIP TUBE
10 HEAT TRAP/DIP TUBE COMBINATION
11 ANODE ROD
12 HEAT TRAP/ANODE ROD COMBINATION
13 JUNCTION BOX COVER
14 DRAIN VALVE
REPAIR PARTS
Repair parts may be ordered through your plumber, local
distributor, home improvement center, or by calling
1-877-817-6750. When ordering repair parts always give
the following information:
1. Model, serial and product number
2. Item number
3. Parts description
REPAIR PARTS LIST
LEGEND
Special anode rod (See “Anode Rod/Water Odor” section)
Temperature and Pressure Relief Valve is required, but may not
be factory installed.
Specify thermostat type when ordering
1
1
2
3
5
6
7
2
6
4
5
8
7
10
9
8
11
12
14
13
ALTERNATE
T & P
LOCATION

15
THERMOSTAT WIRING DIAGRAM
LOWER
ELEMENT
KCALB
KCALB
EULB
EULB
UPPER
ELEMENT
YELLOW
YELLOW
L1 L2
FUSED DISCONNECT
OR CIRCUIT BREAKER
RED
UPPER
THERMOSTAT
&
HIGH LIMIT
CONTROL
GROUND
SCREW
ELECTRICAL
SERVICE
GROUND
WIRING NO. 6
INTERLOCKING
(NON-SIMULTANEOUS)
WIRING FOR DOUBLE
ELEMENT HEATER
LOWER
THERMOSTAT
BLACK
BLACK
HOT NEUTRAL
FUSED DISCONNECT
OR CIRCUIT BREAKER
ETIHW
THERMOSTAT
&
HIGH LIMIT
CONTROL
WIRING NO. 1
SINGLE ELEMENT HEATER
HEATING
ELEMENT
GROUND
SCREW
ELECTRICAL
SERVICE
GROUND
BLACK
BLACK
L1 L2
FUSED DISCONNECT
OR CIRCUIT BREAKER
D
ER
THERMOSTAT
&
HIGH LIMIT
CONTROL
WIRING NO. 7
SINGLE ELEMENT HEATER
D
ER
HEATING
ELEMENT
GROUND
SCREW
ELECTRICAL
SERVICE
GROUND
120
V
1500*
2000
2500
3000
3500
4000
4500
5000
5500
6000
9000
12000
15
20
30
30
-
-
-
-
-
-
-
-
WATT
LOAD
BRANCH CIRCUIT SIZING GUIDE
Based on N.E.C. NFPA NO. 70 - 1999
15
15
15
20
20
25
30
30
35
35
50
70
15
15
15
15
20
20
25
30
30
30
45
60
208
V
240
V
Recommend
Over Current
Protection Rating
12
10
10
8
-
-
-
-
-
-
-
-
14
14
14
12
10
10
10
10
8
8
6
3
14
14
14
12
12
10
10
10
10
8
6
4
120
V
208
V
240
V
Copper Wire Size
AWG Based on N.E.C.
Table 310 -16 (60°C)
* Wattages less than 1500 may be wired 14 gauge with 15 amp
protection
ETIHW
WHIRLPOOL is a registered trademark of Whirlpool, U.S.A. © 2007 Whirlpool Corporation. All rights reserved.
Manufactured under license by American Water Heater Company, Tennessee.
16