Whirlpool Ed5Fvgxss04 Users Manual
2015-01-23
: Whirlpool Whirlpool-Ed5Fvgxss04-Users-Manual-305191 whirlpool-ed5fvgxss04-users-manual-305191 whirlpool pdf
Open the PDF directly: View PDF
.
Page Count: 21

1
CABINET PARTS
For Model: ED5FVGXSS04
(Stainless Steel)
05−08 Litho in U.S.A. (jdc)(bay) Part No. W10208118 Rev. A
REFRIGERATOR

CABINET PARTS
2
For Model: ED5FVGXSS04
(Stainless Steel)
W10208118
Illus. Part
No. No. DESCRIPTION Illus. Part
No. No. DESCRIPTION Illus. Part
No. No. DESCRIPTION
1 Literature Parts
2318594 Use & Care Guide
W10142157
Service & Wiring
Sheet
W10196284
Energy Guide
628370 Modular Icemaker
Service Sheet
2 2174748 Front Roller (2)
3 3400517 Screw
4 2196236 Roller (Rear) (2)
5 489427 Screw
6 2155013 Clip, Grille
7 489478 Screw
9 2203771 Hinge Top RC
10 8281227 Screw
11 3400858 Screw
12 Hinge Cover FC
2203407B Black
13
W10138965
Hinge Bottom
14 Filler, Wrapper
2304848 Black
15 Grille
2260500B Black
16 489497 Screw
17 489464 Screw
18 2304888 Drain Fitting
19 1108438 Extension Tube
20 1108439 Clip, Drain Tube
21 2188735 Cover, Unit
22 Hinge Cover RC
2203408B Black
23 549193 Clamp, Service Cord
24 489084 Screw
25 2155311 Door Closer,
Lower Cam (2)
26 489483 Screw
27 Cabinet (Not a
Serviceable Part)
28 2203770 Hinge Top, FC
29 2260519 Block, Housing
Support
30 2260507 Housing, Water
Filter
31 4396841 Water Filter
32 489500 Screw
33 Cap, Water
Filter
2260502B Black
34 3400113 Screw
35 2255012 Tube, Filter
Outlet
36 2319867 Tube, Filter
Inlet
37 Button, Water
Filter
2260503B Black
38 3400858 Screw

REFRIGERATOR LINER PARTS
3
For Model: ED5FVGXSS04
(Stainless Steel)
W10208118
Illus. Part
No. No. DESCRIPTION
1 Liner (Not A
Serviceable Part)
2
W10175967
Escutcheon, Meat
Pan Control
3 2182757 Slide, Meat
Pan Control
4 2257741 Louver
5 2311637 Wire Harness,
Dual Crisper
6 489290 Screw (2)
7 2256035 Bracket,
Dual Crisper
Light
8 2319866 Shelf Ladder
9 489478 Screw
10 2152019 Air Diffuser
Cover
11 2256085 Bracket Retainer
12
W10151374
Air Diffuser
Assembly
13 2150331 Cover, Conduit
14
W10004810
Screw
15 2162085 Socket
16 2307107 Reservoir
17 527949 Light Bulb
18 2209769 Light Lens
19 2172840 Strap
20 488280 Screw (2)

REFRIGERATOR SHELF PARTS
4
For Model: ED5FVGXSS04
(Stainless Steel)
W10208118
Illus. Part
No. No. DESCRIPTION
1
W10141749
Shelf Assembly,
Spillguard (3)
2 2209698 Cover, Crisper
3 2179259 Glass, Cover
4 2179350 Deflector
5 2311726 Cover, Meat Pan
6 2188652 Crisper Pan
7 2188654 Meat Pan
8 2196485 Stud Assembly
9 3400894 Screw
10 2196483 Stud Assembly
11 8281158 Screw
12
W10141752
Glass, Cover
13 2255593 Trim, Handle
14 2179342 Slide, Humidity
Control
15 2179343 Body, Humidity
Control

5
FREEZER LINER PARTS
For Model: ED5FVGXSS04
(Stainless Steel)
W10208118

6
FREEZER LINER PARTS
For Model: ED5FVGXSS04
(Stainless Steel)
W10208118
Illus. Part
No. No. DESCRIPTION
1 Liner (Not A
Seviceable Part)
2 2171713K Door, Ice
Compartment
3 2174267K Shelf, Upper
4 2174268K Shelf (2)
5 842534 Clip, Air Duct (2)
6 2196206 Support, Stud (4)
7 3400893 Screw
8 2176134 Grommet
9 2182971 Freezer Bin
10 Slide, Basket
2261449 Right Side
2261448 Left Side
11
W10004810
Screw
12 1115373 Switch, Rocker Arm
13 8281158 Screw
14 2196483 Stud Assembly
15 3400893 Screw
16 2171714K Shelf, Top
Compartment
17 2171705 Lens, Light
18 527949 Light Bulb
19 2162085 Light Socket
20 2196207 Stud, Rear
21 Slide, Container
1119237 Left Side
1119293 Right Side
22 489100 Screw

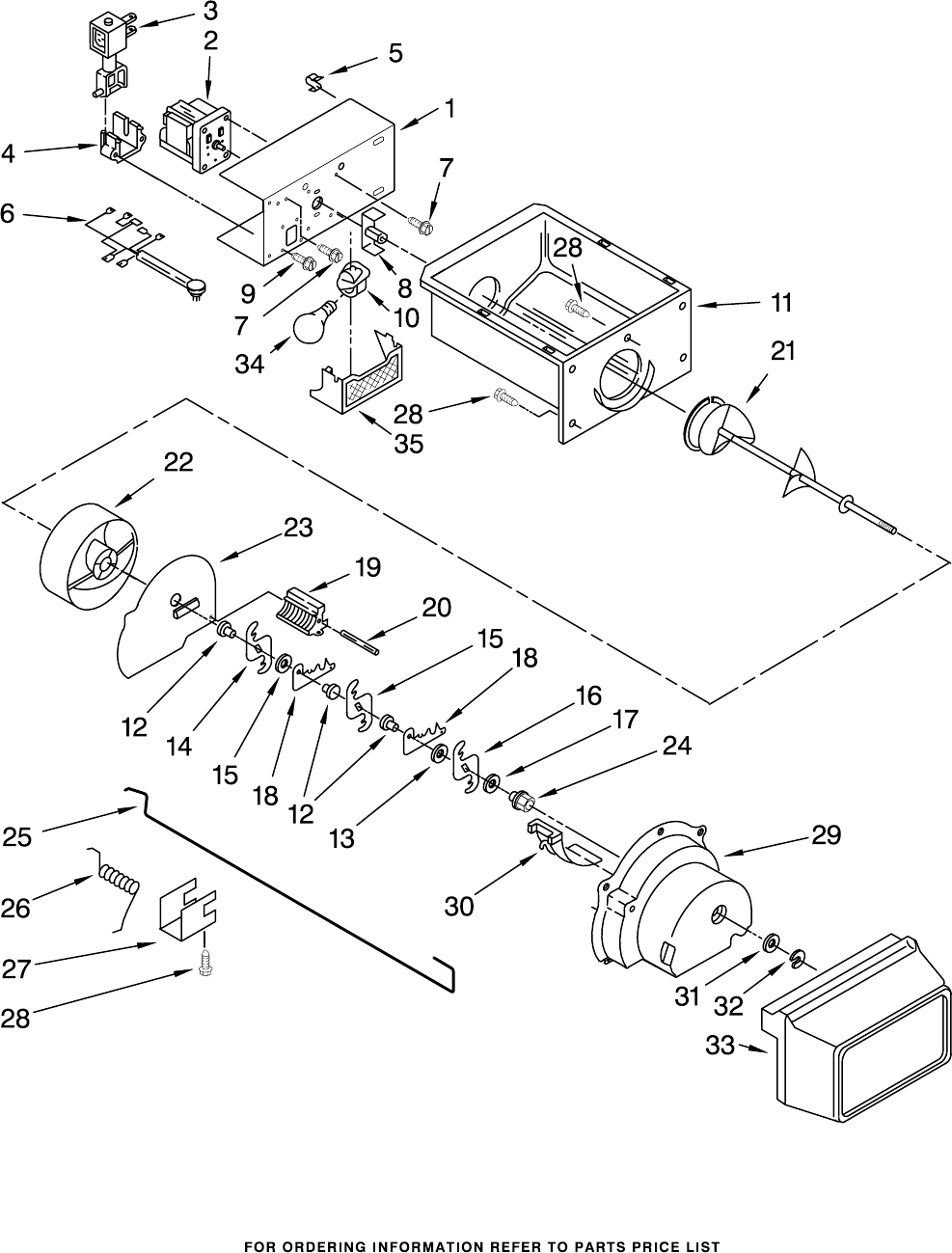
MOTOR AND ICE CONTAINER PARTS
7
For Model: ED5FVGXSS04
(Stainless Steel)
W10208118

MOTOR AND ICE CONTAINER PARTS
8
For Model: ED5FVGXSS04
(Stainless Steel)
W10208118
Illus. Part
No. No. DESCRIPTION
1 2254587 Bracket, Motor
2
W10181208
Motor, Dispenser
3 2152713 Soleniod Assembly
4 2149100 Guide, Soleniod
5 1115374 Clip, Wiring
6 2206501 Wiring Assembly,
Ice Dispenser
7 489399 Screw
8
W10140958
Coupling, Motor
9 489478 Screw
10 2162085 Socket, Light
11 2196091 Ice Container
12 1119005 Spacer, Step (3)
13 1119007 Spacer, Flat (2)
14 2257022 Blade, Rotary
15 2257023 Blade, Rotary
16 2257024 Blade, Rotary
17 489235 Washer, Plain
18 1119009 Blade, Fixed (2)
19 2157405 Block, Blade
20 489229 Roll Pin
21 2196295 Auger
22 2305377 Drum
23 2171682 Floating Baffle
24 1119018 Nut, Bearing
25 2155231 Control Arm
26 1119020 Spring, Return
27 1119021 Retainer Clip, Rod
28 488886 Screw
29 2180348 Housing, Crusher
30 1119017 Deflector, Ice
31 489234 Washer, Plain
32 489236 Retainer Ring
33 2204321 Front Cover,
Ice Container
34 527949 Light Bulb
35 2171706 Light Lens,
Dispenser
100 2209780 Ice Container
Assembly

9
REFRIGERATOR DOOR PARTS
For Model: ED5FVGXSS04
(Stainless Steel)
W10208118

REFRIGERATOR DOOR PARTS
10
For Model: ED5FVGXSS04
(Stainless Steel)
W10208118
Illus. Part
No. No. DESCRIPTION
1 Refrigerator Door
(Includes Item 6)
2206825S Stainless Steel
2 2256101 Door, Compartment
3 489491 Screw
4 2203828K Door Bin (3)
5 Extension, Handle
2193353B Black
6 Door Gasket,
Magnetic (Repair)
2221313 Black
7 Handle, Center
2186649B Black
8 2182178 Door Closer,
Upper Cam
9 489420 Screw
10 Bracket, Door Stop
2206629B Black
11 2255121 Nameplate
12 2182181 Thimble, Top
13 2156022 Trivet
14 3400012 Screw

11
FREEZER DOOR PARTS
For Model: ED5FVGXSS04
(Stainless Steel)
W10208118

12
FREEZER DOOR PARTS
For Model: ED5FVGXSS04
(Stainless Steel)
W10208118
Illus. Part
No. No. DESCRIPTION
1 Freezer Door
(Includes Item 8
And Dispenser
Front Parts)
2318425S Stainless Steel
2 Handle, Center
2186649B Black
3 489491 Screw
4 Extension, Handle
2193353B Black
5 2313199K Trim, Door (4)
6 3400012 Screw
7 Door Gasket,
Magnetic (Repair)
2221314 Black
8 2209681 Trim, Door Shelf
9 488500 Screw
10 2206601 Wire Harness
11 2182179 Door Closer,
Upper Cam
12 489420 Screw
13 Bracket, Door Stop
2206629B Black
14 2195917 End Cap (8)
15 2182181 Thimble, Top

13
DISPENSER FRONT PARTS
For Model: ED5FVGXSS04
(Stainless Steel)
W10208118

DISPENSER FRONT PARTS
14
For Model: ED5FVGXSS04
(Stainless Steel)
W10208118
Illus. Part
No. No. DESCRIPTION
1 Housing, Dispenser
(Not Serviced)
2 3196537 Screw
3 2194719 Retainer, Levers
4 2304772 Spring, Torsion
5 2196195 Pin
6 2180353 Door, Ice
7 2304355 Door Mechanism
Assembly
8 2205686 Mechanism Delay
9 Grille, Overflow
2206670B Black
10 2304317 Water Fitting
Assembly (Includes
Water Tube)
11 Lever, Ice
Dispenser
2195089B Black
12 2180224 Guide, Ice
13 2180200 Lamp Holder
14 2162361 Switch (4)
15 2183771 Bracket, Control
16 3406124 Bulb, Light
17 Lever, Water
Dispenser
2195090B Black
18 2180279 Switch Assembly
19 Overlay, Front
Cover
(Not Available
Order #23)
20 2187408 Wire Assembly
21 Front Cover,
Housing
(Not Available,
Order #23)
22 489000 Screw
23 Front Cover
Assembly
(Includes Items
18, 19, 20 & 21)
2318424B Black
24 625834 Spacer, Switch (2)
25 2195051 Strain Relief
26 2304673 Bracket, Dispenser

UNIT PARTS
15
For Model: ED5FVGXSS04
(Stainless Steel)
W10208118

UNIT PARTS
16
For Model: ED5FVGXSS04
(Stainless Steel)
W10208118
Illus. Part
No. No. DESCRIPTION Illus. Part
No. No. DESCRIPTION Illus. Part
No. No. DESCRIPTION
1 2169104 Insulation−Sound
2 2225834 Fan, Blade
3
W10121484
Condenser
Assembly
(Also Order #9)
4 489464 Screw
5 2208280 Clip, Wire
6 8533993 Screw
7 2161302 Sleeve
9 2216914 Clip, Condenser
10 2223313 Bale Strap
11 2304885 Start−Device,
Combination
(Start Relay and
Overload)
12 2205765 Tube Suction
13 2264017 Capacitor
14 2188823 Evaporator
15 2161324 Clamp
16
W10130108
Fan, Motor
17 1105523 Tray, Evaporator
18 2217194 Heat Shield
19 Drier
W10177049
Production
2317845 Service
20
W10120460
Compressor
(Includes Items
11, 13, 19 & 27)
(Also Order
876765 Tube Kit)
21 2304904 Unit Mounting
Frame
22 2187510 Unit, Harness
23 2181929 Fan, Motor Bracket
24 2323198 Heater, Defrost
25 2304287 Clip
26 489373 Screw (4)
27 4387558 Grommet (4)
28 489340 Screw
29 2196202 Air Baffle
30 2155547 Clip, Heat Shield
31 2304899 Unit Cover, Bottom
32 489396 Clip
33 2305374 Unit Mounting
Rail
34 8281232 Screw
35 2260517 Guard, Fan
36 489427 Screw
37 488649 Screw
38 2320322 Connector, Water
Tube
Following Parts Not Illustrated
and Optional Parts Not Included
978025 Valve, Access
(1/4")
978026 Valve, Access
(5/16")
978027 Valve, Access
(3/8")
978028 Valve, Access
(1/2")
978029 Valve, Access
(5/8")
978030 Valve, Access
(3/4")
876764 Valve, Access
(3/16")
REFRIGERANT CHARGE
5.0 oz.
(R−134A)

AIR FLOW PARTS
17
For Model: ED5FVGXSS04
(Stainless Steel)
W10208118
Illus. Part
No. No. DESCRIPTION
1 2182120 Fan Scroll
2 2155590 Retainer,
Fan Motor
4 2321799 Bi−Metal, Defrost
5 2203593 Air Duct Freezer
6
W10131845
Fan Motor
7 2169142 Fan Blade
8 2304241 Gasket, Evaporator
Cover (2)
9 2176759 Fan Grommet (2)
10 2182146 Duct, Icemaker
11
W10129821
Harness, Fan
Evaporator
(Includes #4)
12 2155789 Gasket, Fan Scroll
13 2172840 Wire Tie
14 2203876 Gasket
15 2203841 Cover, Evaporator
(Includes #8)
16 8281159 Screw
17 489478 Screw
18 2203595 Support, R.S
19 2203596 Support, L.S

CONTROL PARTS
18
For Model: ED5FVGXSS04
(Stainless Steel)
W10208118
Illus. Part
No. No. DESCRIPTION Illus. Part
No. No. DESCRIPTION Illus. Part
No. No. DESCRIPTION
1 2200137 Control Box
2 1110629 Mounting Bracket
3 3196537 Screw (4)
4 2149705 Light Switch
5 2188375 Defrost Timer
6 489398 Screw (2)
7 940014 Hole Plug
8 2198202 Thermostat
Assembly
9 487869 Screw
10 2182195 Cam Assembly
11 1110560 Bearing Body
12 2196062 Clip, Damper
Control
13 1110559 Pivot Arm
14 627068 Screw
15 2162085 Light Socket
16 2196001 Thermostat,
Barrier
17 527949 Light Bulb
18 2206512 Control Box
Harness
19 1115374 Clip, Wiring
20 1115375 Clip, Wiring
21 1123960 Connecting Rod
22 489285 Fastener, Push−On
23
W10127398
Escutcheon,
Control Box
24 2182111 Thermostat knob
25 2197871 Knob, Air Control
26 489203 Spring Washer

19
ICEMAKER PARTS
For Model: ED5FVGXSS04
(Stainless Steel)
W10208118

ICEMAKER PARTS
20
For Model: ED5FVGXSS04
(Stainless Steel)
W10208118
Illus. Part
No. No. DESCRIPTION
1 489084 Screw
2 2209774 Chute, Water
3 628379 Clip, Fuse
4 2223137 Tube, Water
5 489478 Screw
6 2315534 Filter Valve Asm
7 2208136 Tube Clip
8 2174155 Cover
9 488649 Screw
10
W10122527
Mold & Heater
Assembly (Also
Order 542638
11 628515 Cup, Water Fill
12 627843 Ejector
13 2182124 Ice Striper
14 2194712 Support
15 2315522 Retainer,
Thermostat
16 628397 Thermostat (Also
Order 542369
Cement
Alumilastic)
17 8533917 Screw
18 489276 Screw
19 2304354 Shut Off Arm
20 628320 Bracket
21 626691 Module Assembly
(Includes Items
23 and 24)
22 488208 Screw
23 626683 Motor
24 489136 Screw
100
W10122507
Complete Icemaker
Assembly

21
OPTIONAL PARTS (NOT INCLUDED)
For Model: ED5FVGXSS04
(Stainless Steel)
W10208118
Illus. Part
No. No. DESCRIPTION Illus. Part
No. No. DESCRIPTION Illus. Part
No. No. DESCRIPTION
PAINT, PRESSURIZED SPRAY
(12 oz.)
350942 Primer, White
8171357 Graphite
PAINT, TOUCH−UP (1/2oz.)
80051 Graphite
Important: The spray paint is
not to be used where the paint
may make contact with the door
gaskets.
PAINT, BULK (1 qt.)
8171358 Graphite
Miscellaneous
8129 Coil Brush
212643 Sealer, Gum
(4 Feet)
479502 Tape, Vinyl
(3/4 x 108")
505587 Sealer, Mastic
(1 Qt.)
503695 Cork, Sealer
(1/4 Pound)
542638 Grease, Silicone
(1/2 Oz.)
542639 Cement,
Alumilastic
(1−1/4 Oz.)
799833 Kit, Evaporator
Repair
(Aluminum Epoxy)
833938 Kit, Terminal
Connector
TORX SCREW WRENCH
1117510 Torx Key