Whirlpool Lte5243Dq0 Users Manual
LTE5243DQ0 Repair Part List - 4377553
LTE5243DZ0 to the manual 28466335-0f4b-5184-71eb-326aa1f9aabd
2015-01-23
: Whirlpool Whirlpool-Lte5243Dq0-Users-Manual-308088 whirlpool-lte5243dq0-users-manual-308088 whirlpool pdf
Open the PDF directly: View PDF
.
Page Count: 18

WASHER/DRYER CONTROL PANEL PARTS
1
For Models: LTE5243DQ0, LTE5243DZ0
(Designer White) (Designer Almond)
12−95 Litho in U.S.A. (dhb) Part No. 4377553
WASHER/DRYER
LAUNDRY SYSTEM
Illus. Part
No. No. DESCRIPTION Illus. Part
No. No. DESCRIPTION Illus. Part
No. No. DESCRIPTION
1 3404403 Harness, Console
Wiring (Automatic)
(Includes Illus.
1A, 1B & 1C)
1A 3350130 Plug, Terminal
(2−Way)
(Connects With
Main Dryer
Harness)
1B 696073 Receptacle,
Connector
(Connects With
Lower Automatic
Harness)
1C 352089 Disconnect Block
(Connects With
Automatic Timer)
2 3948891 Timer, Control
(60 Hz.)
(Automatic Washer)
6 694338 Bracket, Control
7 692993 End Cap, Console
(L.H. & R.H.)
8 348689 Screw, End Cap
Mounting (4)
(6−32 x 3/4)
9 694091 Screw, Mounting (2)
#8 Posidrive
10 3362987 Switch, Water Level
11 339554 Screw
12 3363042 Switch, Water
Temperature
13 693711 Sleeve, Console
Lock Screw (2)
14 693151 Spring, Console
Lock (2)
15 693710 Screw, Console
Lock (2)
16 696165 Timer, Control
(60 Hz.) (Dryer)
(Timer Motor
Not Serviceable)
17 693175 Strut, Console
18 660936 Switch,
Push−To−Start
19 693152 Bumper, Console (5)
20 96435 Screw, Timer
Mounting (2)
21 694037 Clip, Console
22 3400801 Screw, Dryer
Timer Mounting (2)
(8−32 x 3/16)
23 Panel, Control
3404262 White
3404263 Almond
24 Knob, Timer
(Dryer)
3396150 White
3396151 Almond
25 Knob,
Push−To−Start
3396161 White
3396164 Almond
27 Knob, Control (2)
3358435 White
3358436 Almond
28 Dial, Timer
(Washer)
3403095 White
3403096 Almond
29 Knob, Timer
(Washer)
3364291 White
3364293 Almond
31 692983 Lock, Console (2)
32 694419 Buzzer

DRYER FRONT PANEL AND DOOR PARTS
2
For Models: LTE5243DQ0, LTE5243DZ0
(Designer White) (Designer Almond)
4377553
Illus. Part
No. No. DESCRIPTION Illus. Part
No. No. DESCRIPTION Illus. Part
No. No. DESCRIPTION
1 692728 Harness, Door
Switch
(Includes Illus. 1A)
1A 717253 Plug, Terminal
(2−Way)
(Connects With
Main Dryer
Harness)
2 347207 Switch, Door
3 691581 Lever, Door Switch
4 Panel, Front
692619 White
692620 Almond
5 3390734 Seal, Door
6 695656 Door, Rear
7 Door, Front
348205 White
689314 Almond
9 349462 Bearing & Seal
10 685203 Clip, Felt
Pad (2)
11 696144 Strike, Panel
12 98129 Screw, Door
Switch
Mounting (2)
13 343641 Screw,
10−16 x 1/2 (2)
(Front Panel
To Side Panel)
14 3389441 Catch, Door
15 Handle, Door
686711 White
689308 Almond
16 692846 Support Protector
18 339554 Screw, Console
Strut Mounting
19 694091 Screw, Door
Mount To
Hinge & Panel (10)
20 348023 Hinge & Pin,
Door (2)

DRYER CABINET AND MOTOR PARTS
3
For Models: LTE5243DQ0, LTE5243DZ0
(Designer White) (Designer Almond)
4377553

DRYER CABINET AND MOTOR PARTS
4
For Models: LTE5243DQ0, LTE5243DZ0
(Designer White) (Designer Almond)
4377553
Illus. Part
No. No. DESCRIPTION Illus. Part
No. No. DESCRIPTION Illus. Part
No. No. DESCRIPTION
1 660658 Clamp, Motor
Mounting (2)
343481 (Alt.)
685441 (Alt.)
2 3398046 Motor, Main Drive
(60 Hz.)
4 3388706 Resistor
5 696541 Bracket, Motor
6 3390405 Panel, Rear
7 343641 Screw, 10−16 x 1/2
8 307972 Cover, Terminal
Block
9 90296 Clip
10 Panel, Side (L.H.)
3402293 White
3402294 Almond
14 3399602 Elbow, Upper
15 3394083 Clip, Front
Panel (2)
16 98234 Clip, Ground
17 3399603 Elbow, Lower
18 686770 Support,
Protector
19 3393657 Restrainer, Belt
20 3394652 Belt, Drive
21 3396426 Pulley, Motor
(60 Hz.)
22 691366 Idler & Bracket
23 692771 Nut, Idler
Bracket To Base
24 3399632 Base, Dryer
25 692400 Nut, Push−In
26 692926 Cove, Transition
Panel (Black)
27 Panel, Transition
692933 White
692934 Almond
28 692641 Top, Dryer
29 Panel, Side (R.H.)
3402287 White
3402288 Almond
30 693145 Latch, Lid
31 Closure, Control
Area
692781 White
692782 Almond
32 354975 Screw & Washer (3)
(Lid Latch
Mounting)
33 693304 Screw & Washer (2)
(Transition Panel
To Closure)
34 697776 Screw, Ground
(10−32 x 1/2)
35 3390631 Screw, 10−16 x 3/8
36 357021 Capacitor, Motor
Start (Automatic
Washer)
37 357030 Clamp, Capacitor
38 343641 Screw, Capacitor
Mounting
(10−16 X 1/2)

DRYER BULKHEAD PARTS
5
For Models: LTE5243DQ0, LTE5243DZ0
(Designer White) (Designer Almond)
4377553

DRYER BULKHEAD PARTS
6
For Models: LTE5243DQ0, LTE5243DZ0
(Designer White) (Designer Almond)
4377553
Illus. Part
No. No. DESCRIPTION Illus. Part
No. No. DESCRIPTION Illus. Part
No. No. DESCRIPTION
1 343641 Screw, 10−16 x 1/2
2 3395396 Clip, Air Duct
To Bulkhead
3 696547 Air Duct &
Bracket
4 90767 Screw, 8−18 x 3/8
5 3398128 Thermostat,
Internal Bias
6 3393008 Screw, Terminal
Block To
Bracket (2)
7 690261 Block, Terminal
8 3388703 Washer
9 3400800 Screw, 8−18 x 3/4
10 3398161 Clip, Heater Box
To Bulkhead
11 3401380 Heater Box
12 3398062 Element, Heater
13 339956 Seal, Air Duct
To Bulkhead
14 696426 Wheel, Blower
15 3399849 Fuse, Thermal
16 696658 Seal, Fan
Scroll
17 696418 Fan Scroll
18 3390647 Screw, 8−18 x 1/2
19 696818 Thermostat,
Heater Box
(225 F)
(107.2 C)
21 3399507 Shaft, Drum
Roller (R.H.)
22 695943 Drum, Dryer
23 3394508 Ring, Bearing
24 685207 Baffle, Drum (3)
25 697777 Screw, Baffle
Mounting (6)
(11−16 x 7/8)
26 345648 Seal, Drum Rear
27 695931 Bulkhead
28 348399 Lint Screen
29 685273 Cover, Lint
Screen Outlet
30 690997 Tri−Ring (4)
31 3399506 Shaft, Drum
Roller (L.H.)
32 3397588 Roller, Support (2)
33 348197 Washer, Support (4)
34 3359452 Nut, 3/8−16 (2)
35 3390631 Screw, 10−16 x 3/8
(Bulkhead To
Base)
36 3398873 Harness, Main
Dryer Wiring
(Includes Nos.36A,
36B & 36C)
36A 717252 Receptacle,
Terminal (2−Way)
(Connects With
Door Switch
Harness)
36B 3395683 Receptacle,
Multi−Terminal
(Connects With
Motor)(Dryer)
36C 62889 Receptacle,
Terminal
(2−Way)
(Connects With
Automatic Console
Harness)
37 693141 Clip, Wiring
Harness (3)
38 694045 Cord, Power
38A 694415 Clip, Strain
Relief
(Power Cord)
39 279457 Wire Kit (For
Heater Element
Wiring Harness
Repair)
41 279393 Screw Kit
(For Terminal
Block)
42 279318 Terminal, Tinned
& Brass (3)
(Includes Illus. 41)
43 697776 Screw, Ground (2)
(10−32 x 1/2)
48 359702 Cap, Screw
49 255563 Clip, Strain
Relief

DRYER SUPPORT AND WASHER PARTS
7
For Models: LTE5243DQ0, LTE5243DZ0
(Designer White) (Designer Almond)
4377553
Illus. Part
No. No. DESCRIPTION
1 694304 Cover, Channel
2 692647 Support,
Dryer (L.H.)
3 343641 Screw, 10−16 x 1/2
4 3400000 Screw,
10−24 x 3/8 (8)
(Washer Cabinet
To Dryer Supports)
5 692646 Support,
Dryer (R.H.)
6 3388677 Harness, Upper
(Automatic)
(Includes Illus.
6A, 6B & 6C)
6A 696074 Plug, Terminal
(12−Way)
(Connects With
Automatic Console
Harness)
6B 62889 Plug, Terminal
(3−Way)
(Connects With
Automatic Lid
Switch Harness)
6C 62505 Block, Disconnect
(Connects With
Automatic Washer
Motor)
7 3347812 Clip, Wiring
Harness (4)
8 3405028 Clip
9 685463 Kit, Grounding
10 685449 Wire, Ground
11 90016 Clip, Pressure
Switch Hose (2)
12 693141 Clip, Harness
And Hose
13 22965 Strap, Ground
14 120361 Nut, Hex
15 132848 Screw, 10−24 x 1

WASHER TOP AND LID PARTS
8
For Models: LTE5243DQ0, LTE5243DZ0
(Designer White) (Designer Almond)
4377553
Illus. Part
No. No. DESCRIPTION Illus. Part
No. No. DESCRIPTION Illus. Part
No. No. DESCRIPTION
3 Lid
3398843 White
3398844 Almond
4 384475 Bumper, Lid (2)
5 384458 Hinge, Lid (L.H.)
7 3351355 Screw, Lid
Hinge Mounting (4)
8 343641 Screw, 10−16 X 1/2
(2)
9 692985 Clip, Spring (2)
(Top To Cabinet)
12 Top
384693 White
384694 Almond
13 19119 Bumper, Lid
Hinge (2)
14 21258 Bearing, Lid
Hinge (2)
15 3356311 Screw & Washer,
Lid Switch
Shield (2)
16 358684 Strike, Lid
Switch
17 384459 Hinge, Lid (R.H.)
18 274707 Screw, Ground
(10−24 X 1/2)
20 271166 Nut, Ground
Screw (10−24)
22 3355806 Switch, Lid
23 90016 Clip, Harness
Routing

WASHER CABINET PARTS
9
For Models: LTE5243DQ0, LTE5243DZ0
(Designer White) (Designer Almond)
4377553

WASHER CABINET PARTS
10
For Models: LTE5243DQ0, LTE5243DZ0
(Designer White) (Designer Almond)
4377553
Illus. Part
No. No. DESCRIPTION
1 356746 Clip, Condenser
(2)
2 343641 Screw, 10−16 X 1/2
3 62863 Screw, Mixing
Valve Mounting (2)
(10−16 X 3/8)
4 370451 Clamp, Hose
5 3360389 Valve, Water
Mixing
6 660626 Clamp, Hose
7 692699 Hose, Water Inlet
(Siphon Break To
Mixing Valve)
8 Cabinet
696013 White
696014 Almond
9 690989 Screw, Ground
10 696710 Hose, Drain
11 692400 Nut, Push−In (2)
12 660975 Plug, Top To
Cabinet
689587 (Alt.)
694010 (Alt.)
13 356739 Connector, Hose
14 660626 Clamp, Hose
15 356471 Cap, Siphon Break
16 356363 Siphon Break
17 272861 Clamp, Hose
18 696394 Hose, Water Inlet
(Siphon Break To
Tub Ring)
21 660628 Clamp, Hose
22 3394083 Clip, Front Panel (2)
23 358652 Link, Leveling
24 359364 Clip, Leveling
Mechanism (2)
25 98234 Clip, Ground
26 345670 Lock, Top (2)
27 Panel, Front
692628 White
692629 Almond
28 367594 Foot, Front (2)
29 358594 Foot, Rear (2)
30 3400000 Screw, 10−24 X 3/8
(Washer Cabinet
To Dryer Supports)
32 3390046 Protector,
Edge

BRAKE, CLUTCH, GEARCASE, MOTOR AND PUMP PARTS
11
For Models: LTE5243DQ0, LTE5243DZ0
(Designer White) (Designer Almond)
4377553
Illus. Part
No. No. DESCRIPTION Illus. Part
No. No. DESCRIPTION
1 387948 Brake And
Drive Tube
(Complete)
(Refer To Page
16 For Further
Breakdown)
2 63292 Washer, Spin
Tube Thrust
3 62697 Ring, Spin
Tube Support
4 63283 Ring, Retainer
5 3351342 Clutch (Complete)
6 3946793 Band And Lining
(Includes Illus.
7 & 8)
7 3364271 Spring, Clutch
8 62646 Cap, Clutch
Spring (2)
9 3360630 Gearcase
(Complete)(Refer
To Page 15 For
Further
Breakdown)
10 3357334 Screw,
(3) (Gearcase
To Tub Support)
11 62611 Plate, Motor
Mount To
Gearcase
13 3364003 Coupling, Motor
& Isolating
14 661600 Motor,
Main Drive
16 3946532 Plate, Motor
18 3363394 Pump, Complete
19 62700 Retainer, Pump
20 62850 Switch, Main
Drive Motor
21 62691 Grommet,
Motor (4)
22 3349637 Retainer,
Motor (2)
23 3350013 Foam
24 3387485 Screw (2)
#10−16 x 5/8
25 3355454 Clip
(Anti−Rattle)

MACHINE BASE PARTS
12
For Models: LTE5243DQ0, LTE5243DZ0
(Designer White) (Designer Almond)
4377553
Illus. Part
No. No. DESCRIPTION
1 285203 Centerpost
Bearing Kit
(Incls. Illus.
10, 11, & 12)
3 64137 Shield, Tub
4 388492 Spring,
Counterweight
5 3350397 Suspension
Assembly (3)
6 63755 Base
10 356934 Seal, Centerpost
(2)
11 3347047 Bearing,
Centerpost (2)
12 357409 Seal, Centerpost
(3)
13 63134 Ring, Sound
Deadening
14 343641 Screw,
10−16 X 1/2
(2)
15 63636 Bracket,
Counterweight
Spring
17 63637 Shield, Tub
18 3351021 Nut,
1/2 − 13 (3)
19 63740 Tub Support
and Drum
21 64247 Screw, 10−16
22 90767 Screw, 8A X 3/8
(4)
23 386011 Screw & Washer
(Base To Cabinet)
24 696044 Block, Restraint
(2)

TUB AND BASKET PARTS
13
For Models: LTE5243DQ0, LTE5243DZ0
(Designer White) (Designer Almond)
4377553
Illus. Part
No. No. DESCRIPTION
1 3355758 Cap,
Agitator
2 358237 Screw & Washer
(5/16−24 x 1)
3 63840 Filter, Agitator
4 3349098 Agitator
5 64175 Tub Ring &
Gasket (Includes
Illus. 7, 14 & 15)
6 21366 Nut, Spanner
7 3359587 Gasket,
Tub Ring
8 3351985 Basket
9 63782 Tub
10 389140 Block,
Basket Drive
11 696238 Hose, Pressure
Switch
12 371502 Clamp, Hose
13 386929 Hose, Tub
To Pump
14 352155 Clip, Retaining
(2)
15 356398 Tube,
Drain Off
16 357640 Screw & Washer
(Tub Mounting)
(4)
17 383727 Gasket,
Centerpost

Illus. Part
No. No. DESCRIPTION
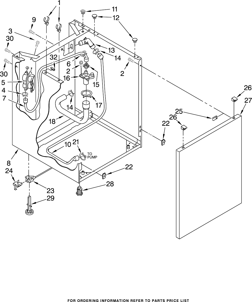
WASHER WATER SYSTEM PARTS
1 285321 Sleeve Kit,
Plastic Drain
Hose (Contains
2 Sleeves)
2 65349 Clamp, Hose (2)
3 16272 Connector,
Straight
4 285320 Siphon Break
Kit
(Not Included)
5 661575 Hose, Corrugated
Plastic Drain
(5−1/2 Ft.)
661577 Hose, Corrugated
Plastic Drain
(10 Ft.)
(Not Included)
6 3357027 Nozzle, Drain
Hose
9 3357331 Clamp, Hose
10 356739 Connector, Hose
11 3354858 Hose, Inlet (2)
12 285442 Connector Kit,
Plastic Drain
Hose
14
For Models: LTE5243DQ0, LTE5243DZ0
(Designer White) (Designer Almond)
4377553

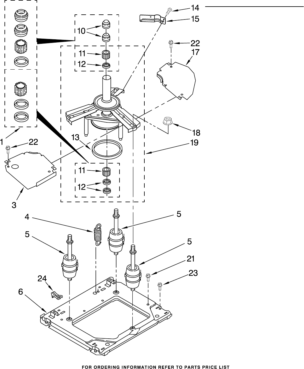
GEARCASE PARTS
Illus. Part
No. No. DESCRIPTION
GC−215C
1 3360630 Gearcase
(Complete)
2 285202 Cover, Gearcase
3 3349985 Seal, Gearcase
Cover
4 285195 Sealer, Gasket
(.20 Fl. Oz.) (6 ml)
5 63320 Pinion, Spin
(Includes Illus. 25)
6 356427 Seal, Spin
Pinion
7 389387 Shaft, Agitator
(Complete)
8 90369 Ring, Retaining (2)
9 62677 Retainer, Spring
10 62676 Spring, Agitate
11 63273 Gear, Agitate
(Includes 15 and 29)
12 62619 Washer, Agitate
Gear
13 62580 Cam Follower
(Includes 14)
14 62581 Cam, Agitate
(Includes 13)
15 285509 Shaft, Agitator
(Includes 11 and 29)
16 62618 Washer, Cam Thrust
17 16018 Bearing, Thrust
18 85529 Ball, Bearing
19 389230 Bottom and Pinion,
Gearcase
21 285352 Seal, Thrust Plug
22 3351614 Screw, Gearcase
Cover, Mounting (8)
(10−24 x 3/8)
23 3362552 Ring, Retaining
24 285735 Washer Kit,
Thrust
25 62570 Gear, Spin
26 388253 Neutral Assembly
27 3349296 Rack, Connecting
28 62621 Actuator, Shift
29 388815 Washer,
Intermediate
15
For Models: LTE5243DQ0, LTE5243DZ0
(Designer White) (Designer Almond)
4377553

Illus. Part
No. No. DESCRIPTION
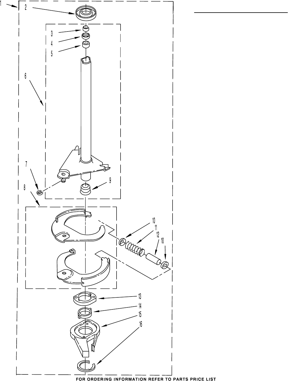
BRAKE AND DRIVE TUBE PARTS
BD−313B
BD−313B
1 387948 Brake And
Drive Tube
(Complete)
2 62658 Ring, Thrust
3 91939 Seal, Oil
4 356427 Seal, Drive Tube
5 356937 Spacer,
Drive Tube
6 64027 Tube,
Basket Drive
(Includes Illus.
3, 4, 5 & 9)
7 64035 Ring, Retaining
8 64232 Brake Shoe
9 62703 "T" Bearing,
Spin Tube
10 62648 Cap, Brake
Spring (2)
11 63748 Spring, Brake
12 62909 Sleeve, Brake
Spring
13 661516 Cam, Brake
Release
63023 (Alt.)
3348288 (Alt.)
14 63022 Sleeve, Cam
15 64194 Driver, Brake
Cam
16 90368 Ring, Retaining
16
For Models: LTE5243DQ0, LTE5243DZ0
(Designer White) (Designer Almond)
4377553

SALES ACCESSORY PARTS
LCK 4500
17
For Models: LTE5243DQ0, LTE5243DZ0
(Designer White) (Designer Almond)
4377553
Illus. Part
No. No. DESCRIPTION
1 694609 Exhaust Deflector
Kit (Complete)
2 687128 Screw, Mounting
(2)
(10−16 X 1/2)
(Hex Washer Head)
3 279823 Side Exhaust
Extension Kit
(Complete)
4 488729 Screw,
5 3395536 Clip

MISCELLANEOUS PARTS
18
LITERATURE AND OPTIONAL PARTS
For Models: LTE5243DQ0, LTE5243DZ0
(Designer White) (Designer Almond)
4377553
Illus. Part
No. No. DESCRIPTION
1 3359934 Miscellaneous
Parts Bag
2 16123 Washer, Inlet
Hose (4)
3 370445 Clamp, Hose
4 367594 Foot, Front (2)
5 358594 Foot, Rear (2)
6 3347868 Tie, Cable
7 3357331 Clamp, Hose
(Upper Drain)
Illus. Part
No. No. DESCRIPTION Illus. Part
No. No. DESCRIPTION Illus. Part
No. No. DESCRIPTION
LIT3397612
Instructions,
Installation
LIT3401098
Guide, Use & Care
LIT3397739
Tag, Energy
Guide
LIT3404404
Label, Wiring
Diagram
LITERATURE PARTS OPTIONAL PARTS NOT INCLUDED
PAINT, TOUCH−UP (1/2oz.)
72017 White
72107 Almond
PAINT, PRESSURIZED SPRAY
(13 oz.)
350941 Leveler (Thinner)
350938 Primer, Gray
350930 White
350956 Almond
PAINT, BULK (1 qt.)
799344 White (Uncut)
978883 Almond (Uncut)
OIL
350572 Oil, Gearcase
(16 Oz.)
LUBRICANT
285208 Lubricant (Use
Only in Brake
Shoe Assembly
On Roller and
Pin)
SEALER
285195 Sealer, Gasket
(.20 Fl. Oz.)
(6 ml)